SKYLINE - Haut-parleur DCYBEL - Notice d'utilisation et mode d'emploi gratuit
Retrouvez gratuitement la notice de l'appareil SKYLINE DCYBEL au format PDF.
| Intitulé | Description |
|---|---|
| Type de produit | Enceinte connectée |
| Caractéristiques techniques principales | Son haute définition, connectivité Bluetooth et Wi-Fi, compatibilité avec les assistants vocaux |
| Alimentation électrique | Adaptateur secteur inclus, compatible avec les prises standards |
| Dimensions approximatives | 25 cm x 15 cm x 10 cm |
| Poids | 1,5 kg |
| Compatibilités | Compatible avec iOS et Android, intégration avec des services de streaming |
| Type de batterie | Batterie lithium-ion rechargeable |
| Tension | 5V |
| Puissance | 20W |
| Fonctions principales | Lecture de musique, contrôle vocal, gestion des appareils connectés |
| Entretien et nettoyage | Nettoyer avec un chiffon doux, éviter les produits abrasifs |
| Pièces détachées et réparabilité | Disponibilité des pièces détachées à travers le service client |
| Sécurité | Certifications CE et RoHS, protection contre les surcharges électriques |
| Informations générales utiles | Garantie de 2 ans, support technique disponible en ligne |
FOIRE AUX QUESTIONS - SKYLINE DCYBEL
Questions des utilisateurs sur SKYLINE DCYBEL
0 question sur cet appareil. Repondez a celles que vous connaissez ou posez la votre.
Poser une nouvelle question sur cet appareil
Téléchargez la notice de votre Haut-parleur au format PDF gratuitement ! Retrouvez votre notice SKYLINE - DCYBEL et reprennez votre appareil électronique en main. Sur cette page sont publiés tous les documents nécessaires à l'utilisation de votre appareil SKYLINE de la marque DCYBEL.
MODE D'EMPLOI SKYLINE DCYBEL
Cet appareil est destiné à un usage domestique uniquement. Toute utilisation autre que celle prévue pour cet appareil, ou pour une autre application que celle prévue, par exemple une application commerciale, est interdite.
Aération
Prévoyez un espace libre d'au moins 10 cm tout autour du produit.
Il convient que l'aération ne soit pas gênée par l'obstruction des ouvertures d'aération par des objets tels que journaux, nappes, rideaux, etc.
Il convient de ne pas placer sur l'appareil des sources de flammes nues, telles que des bougies allumées.
Cet appareil n'est pas destiné à être utilisé sous un climat tropical.
L'appareil ne doit pas être exposé à des égouttements d'eau ou des éclaboussures et de plus qu'aucun objet rempli de liquide tel que des vases ne doit être placé sur l'appareil.
Lorsque la prise du réseau d'alimentation ou une prise placée sur l'appareil est utilisée comme dispositif de déconnexion, ce dispositif doit demeurer aisément accessible.
Il convient d'attirer l'attention sur les problèmes d'environnement à la mise au déchet des piles.
Attention
Danger d'explosion si la pile n'est pas remplacée correctement. Ne remplacer que par le même type ou un type équivalent.
Les piles (piles installées) ne doivent pas être exposées à une chaleur excessive telle que celle du soleil, d'un feu ou d'origine similaire.
Déposez vos piles usagées auprès d'installations de recyclage pour protégér notre environnement.

Nos emballages / produits peuvent faire l'objet d'une consigne de tri, pour en savoir plus : www.quefairededeshdechets.fr
Instructions importantes de sécurité


ATTENTION : AFIN DE RÉDUIRE TOUT RISQUE DE CHOC ÉLECTRIQUE, NE DEMONTEZ PAS LE BOITIER (OU LE CAPOT ARRÊRE) DE L'APPAREIL. AUCUNE PIECE INTERNE N'EST RÉPARABLE PAR L'UTILISATEUR. POUR TOUTES LES RÉPARATIONS, FAITES APPEL À UN RÉPARATEUR QUALIFIÉ.

Cet appareil contient des pièces sous haute tension pouvant représenter un risque d'électrocution.
La documentation fournie avec cet appareil comporte d'importantes instructions d'utilisation et d'entretien.
Ce symbole indique que l'appareil est conforme aux normes européennes de sécurité et de compatibilité électromagnétique.
AVERTISSEMENT : Pour réduire les risques d'incendie et d'électrocution, n'exposez pas cet appareil à la pluie ou à l'humidité.
- Examinez soigneusement le produit : s'il est endommagé d'une manière ou d'une autre, contactez le magasin où vous l'avez acheté.
- Ne placez PAS l'appareil après une source de chaleur, par exemple une flamme nue, un radiateur, une grille de distribution de chauffage, un réchaud ou tout autre appareil (y compris les amplificateurs) produit de la chaleur.
- Disposez le câble de manière à ce qu’il ne puisse pas être piétiné ou écrasé, notamment au niveau de la prise mâle, de la prise de courant et du connecteur de branchement sur l’appareil.
- Utilisez UNIQUEMENT les accessoires préconisés par le fabricant.
- DÉBRANCHEZ l'appareil quand il y a un orage et avant toute période de non utilisation prolongée.
- Si un dysfonctionnement se produit, n'essayez pas de réparer l'appareil vous-même, consultez un technicien qualifié pour effectuer les réparations ou un entretien.
- Utilisez cet appareil uniquement pour son usage prévu, tel que décrit dans ce manuel d'instructions.
Pile de la télécommande
La pile doit être remplaçée uniquement par un adulte. Ne laissez pas un enfant utiliser la télécommande sauf si le porte-pile est attaché.
La télécommande fonctionne avec une pile lithium de type CR2025 fournie. Cette pile est accessible et peut être remplacée.
Pour remplacer la pile, sortez le porte-pile situé en bas de la télécommande pour enlever la pile.
Cette pile doit être mise au rebut dans un point de recyclage local.
Première utilisation
Enlevez et jetez le film isolant.
- Poussez et faites glisser le porte-pile.
- Remplacez la pile avec une pile neuve de type CR2025 dans le porte-pile en veillant à ce que la face imprimée soit orientée vers le haut.
- Réinsérez le porte-pile dans la télécommande.


Remarque : Retirez la pile de la télécommande avant toute période de non utilisation prolongée pour éviter tout dommage ou blessure pouvant être causé par une fuite possible de la pile.
Boutons de contrôlé
Haut
- Prise AUX
- Port de CHARGE USB (utilisé pour charger les appareils portables)
- Indicateurs lumineux pour la source Bluetooth, la radio FM et la source AUX
- Bouton C : play/pause/scan FM stations
- Bouton VOL+ : augmentation du volume
- Bouton VOL- : diminution du volume
- Bouton SOURCE
- Bouton TUNE+
- Bouton TUNE-
- Bouton
- Appuyez sur ce bouton pour mettre en marche l'unité ou pour la mettre en veille.

- Bouton de télécommande
- Haut-parleurs large bande
- Aigus

- Woofer
- Orifice de ventilation
- Prise d'entrée CC (DC IN)
- Antenne
Boutons de la télécommande

- STANDBY (VEILLE) /
- VOL-
- SOURCE
- PAIR (Apparié)
- Mode égaliseur : JAZZ/CLASSIQUE/POP
- TUNE-
- / ST
- : Sourdine
- VOL+
- TUNE+
- La plage de fonctionnement de la télécommande est de 5 mètres environ selon un angle droit ou gauche de 30 degrés environ par rapport au capteur de l'appareil.
- Pour éviter les interférences, ne placez pas d'objets devant le capteur infrarouge.
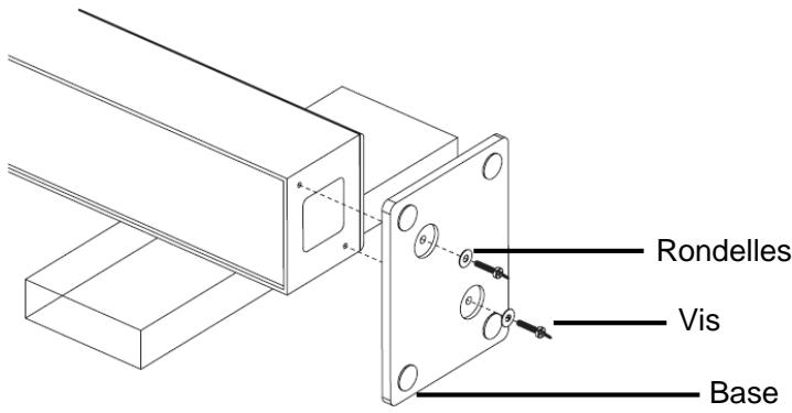
Installation

Attachez la base au boîtier principal en utilisant les vis et les rondelles fournies.
Appariement du haut-parleur avec un appareil bluetooth
- Branchez l'adaptateur secteur fourni à la prise d'entrée CC du haut-parleur, puis branchez l'autre extrémité de l'adaptateur à une prise électrique.
- Appuyez sur du haut-parleur ou de la télécommande pour mettre l'unité en marche.
- Appuyez de manière répétée sur le bouton SOURCE du haut-parleur ou de la télécommande jusqu'à ce que l'indicateur Bluetooth clignote en VERT.
- Activez la fonction Bluetooth de l'appareil et placez l'appareil près de l'unité.
- Réglez votre apparéil Bluetooth afin de rechercher le haut-parleur et sélectionnez "SKYLINE" dans la liste des apparéils déetectés.
- Remarque: S'il est demandé d'entrer un code PIN, entrez 0000.
- Une fois l'apparition réussie, l'indicateur lumineux Bluetooth s'allumera en VERT.
- Démarrez la lecture sur l'appareil Bluetooth.

- La portée efficace d'utilisation entre l'appareil et la source Bluetooth associée est de 10m environ dans un espace ouvert.
- Cette unité ne peut être connectée qu'à une seule source audio en même temps.
- Lorsque vous sélectionnez la source Bluetooth, cette unité se connecte automatiquement au dernier appareil Bluetooth connecté. L'appareil se déconnecte de la source Bluetooth s'il est réglé sur un type de source (par exemple AUX).
Déconnecter un appareil bluetooth
Lorsque l'appareil Bluetooth est connecté, appuyez sur le bouton et maintenez-le enfoncé sur le haut-parleur durant environ 2 secondes ou appuyez sur le bouton PAIR de la télécommande pour déconnecter l'appariement en cours.
L'indicateur lumineux Bluetooth clignotera en VERT.
Lecture de base
| Lecture | Appuyez sur √sur le haut-parleur ou appuyez sur MO/ST de la télécommande. |
| Pause | |
| Saut | Appuyez sur TUNE+ sur le haut-parleur ou sur la télécommande pour acceder à la plage suivante et appuyez sur TUNE- pour acceder à la plage précédente. |
| Réglage du volume | Appuyez plusieurs fois sur VOL+ / VOL- pour régler le niveau sonore désiré.Pour désactiver le son, appuyez sur de la télécommande.Appuyez à nouveau pour réactiver le son.Remarque : Vous pouvez également régler le niveau du volume avec le contrôle du volume de l'appareil Bluetooth. |
| Réglage de l'égaliseur | Appuyez sur JAZZ, CLASSIC ou POP sur la télécommande pour sélectionner le mode d'égaliseur désiré. |
Écoute de la RADIO FM
- Appuyez de manière répétée sur le bouton SOURCE on du haut-parleur ou de la télécommande jusqu'à ce que l'indicateur FM s'allume en VERT.
- Appuyez de manière répétée sur TUNE- / TUNE+ pour faire défiler les fréquences vers le haut/bas pour acceder aux stations de radio.
- Pour lancer une recherche automatique des stations, appuyez et maintenez le
bouton TUNE- / TUNE+ enfoncé jusqu'à ce que l'indicateur FM clignote en VERT. Relâchez le bouton et les fréquences commenceront à défilérer. La syntonisation s'arrête quand une station est trouvée.
- Pourcherer toutes les stations disponibles, appuyez et maintenez le bouton enforcé sur le haut-parleur jusqu'à ce que l'indicateur FM clignote en VERT puis relâchéz le bouton. 20 stations peuvent être mémorisées.
- Appuyez de manière répétée sur pour écouter les stations mémorisées.
- Pour permuter entre la réception stéreo et mono, appuyez de manière répétée sur
M/O-ST sur la télécommande.
- La radio recevra automatiquement la diffusion des stations FM en stéréo (si elles sont disponibles).
Alternativement, vous pourriez utiliser un réglage manuel des stations de radio pour les recevoir uniquement en mono.
Cela peut être préféré si la puissance du signal est faible, et si le niveau de bruit de fond est élevé.
CHARGE USB
Sur le dessus du haut-parleur se trouve un port USB DE CHARGE. Vous pouvez connecter n'importe quel câble de charge USB (non fourni) et utiliser le haut-parleur comme une batterie externe pour la recharge.
Remarque: Assurez-vous que le haut-parleur est mis en marche pour charger les appareils (charge à 5V, 2.1A).

Utilisation de la SOURCE auxiliaire
- Branchez une extrémité du câble audio fourni dans la prise du casque de votre appareil.
- Branchez l'autre extrémité du câble audio dans la prise AUX située au-dessus du haut-parleur.
- Appuyez sur permettre le haut-parleur en marche.
- Appuyez de manière répétée sur SOURCE jusqu'à ce que l'indicateur lumineux AUX s'allume en VERT.
- Utilisez les boutons de contrôle de votre appareil audio pour la lecture musicale.
- Remarque: Seuls les boutons de volume VOL+ et VOL- sur le haut-parleur ou sur la télécommande fonctionnent lorsqu'un appareil est branché à la prise AUX.
- Pour arrêter la lecture, déconnectez votre appareil de la prise AUX.

Nettoyage et entretien
Éteignez et débranchez l'unité de la prise secteur avant de procéder au nettoyage ou à un entretien.
Nettoyez l'unité avec un chiffon doux et légèrement humide, puis essuyez-la avec un chiffon sec.
Ne l'immergez jamais dans l'eau.
N'utilisez pas de nettoyant chimique ou abrasif.
Échelle de fréquences : FM: 87,5 MHz - 108 MHz
Alimentation : CC 18V, 3.2A
Puissance de consommation: 60W
Mise au rebut

Nous sommes des revendeurs responsables et nous respectons l'environnement.
Nous vous encourageons à respecter les procédures de mise au rebut correcte de votre produit, des éléments d'emballage et, si applicable, des accessoires et des piles. Cela aide à préserver les ressources naturelles et à garantir que les matériaux sont recyclés d'une manière non dangereuse pour la santé et l'environnement.
Vous devez respecter les lois et réglementations concernant la mise au rebut. Les produits électriques et les piles/batteries usagées doivent être mis au rebut séparément des ordures ménagères quand ils sont en fin de vie.
Contactez le magasin d'achat du produit et votre municipalité pour obtenir des informations concernant la mise au rebut et le recyclage.
Les batteries et les piles doivent être mises au rebut dans un point de recyclage local.
Quels que soient votre panne et le lieu d'achat de votre produit en France, avant de vous déplacer en magasin Darty, appelez le 0 978 970 970 (prix d'un appel local) 7j/7 de 7h à 22h.
Le service après-vente est joignable du lundi au samedi au +32 2 334 00 00

Utiliser uniquement les systèmes d'alimentation énumérés dans les instructions d'utilisation. Adaptateur spécifique
Fabricant: Shenzhen Shi Guangkaiyuan Technology., Ltd
Modèle: GKYPA0320180UL
Tension d'entrée: 100-240V~, 50/60Hz, 1,5A ma
Tension de sortie: 18V DC à 3,2 A
En raison des modifications et améliorations apportées à nos produits, de petites incohérences peuvent apparaître dans ces instructions. Veuillez nous excuser pour la gène occasionnée.
Darty Holdings SNC © 14 route d'Aulnay 93140 Bondy, France 27 / 07 / 2015
Notice Facile