GC-F3998BLQ - Réfrigérateur LG-GOLDSTAR - Notice d'utilisation et mode d'emploi gratuit
Retrouvez gratuitement la notice de l'appareil GC-F3998BLQ LG-GOLDSTAR au format PDF.
| Type de produit | Réfrigérateur combiné |
| Capacité totale | 399 litres |
| Dimensions approximatives | 1780 mm (H) x 700 mm (L) x 730 mm (P) |
| Poids | 80 kg |
| Alimentation électrique | 220-240 V, 50 Hz |
| Classe énergétique | A+ |
| Fonctions principales | Réfrigération, congélation, contrôle de la température |
| Système de refroidissement | Froid ventilé |
| Type de thermostat | Électronique |
| Entretien et nettoyage | Nettoyage régulier des surfaces, dégivrage manuel |
| Pièces détachées et réparabilité | Disponibilité des pièces chez les revendeurs agréés |
| Sécurité | Système de verrouillage de porte, alarme de température |
| Compatibilités | Compatible avec les accessoires LG |
| Garantie | 2 ans |
FOIRE AUX QUESTIONS - GC-F3998BLQ LG-GOLDSTAR
Questions des utilisateurs sur GC-F3998BLQ LG-GOLDSTAR
0 question sur cet appareil. Repondez a celles que vous connaissez ou posez la votre.
Poser une nouvelle question sur cet appareil
Téléchargez la notice de votre Réfrigérateur au format PDF gratuitement ! Retrouvez votre notice GC-F3998BLQ - LG-GOLDSTAR et reprennez votre appareil électronique en main. Sur cette page sont publiés tous les documents nécessaires à l'utilisation de votre appareil GC-F3998BLQ de la marque LG-GOLDSTAR.
MODE D'EMPLOI GC-F3998BLQ LG-GOLDSTAR
Manuel de l'utilisateur
Lisez avec attention ce Manuel de l'utilisateur avant d'utiliser le réfrigerateur et gardez-le toujours pour toute référence.
| Table des matières | |
| Introduction | Enregistrement 44 |
| Importantes Instructions de Sécurité 44 | |
| Identification des pièces 47 | |
| Installation | Installation 48 |
| Mise en marche 48 | |
| Opération | Contrôle de la Température 49 |
| • Réfrigérateur 49 | |
| • Congélateur 49 | |
| Fonction 51 | |
| • Congélation rapide 51 | |
| • Vacances 51 | |
| • Blocage 52 | |
| • Test automatique 52 | |
| Dégivrageg 52 | |
| Faire les Glaïons 52 | |
| Suggestion sur la Conservation des Aliments | Conservation des alimentés 53 |
| Soin et Entretien | Informations Générales 54 |
| Remplacement des lampes 54 | |
| Nettoyage 55 | |
| Trouver les Pannes | Trouver les pannes 56 |
| Pour inverser le sens d'ouverture des Portes | Précautions 58 |
| Comment Renverser la Porte 58 | |
Enregistrement
Le modèle et le numéro de série se trouvent à l'arrière de l'unité. Ce numéro est unique pour l'unité et ne se trouve pas sur d'autres. Vous pouvez enregistrer ici les informations nécessaires et conserver ce manuel comme un enregistrement permanent de votre achat. Mettez ici votre reçu.
Date d'achat : Acheté auprès du vendeur : Adresse du vendeur : Numéro de téléphone du vendeur : Modèle No. : Série No. :
Importantes instructions de sécurité
Ce réfrigérateur-congélateur doit être installé correctement et placé selon les Instructions d'installation avant d'être utilisé.
Ne débranchez jamais votre réfrigérateur congélateur en tirant sur le cable d'alimentation. Prenez fermement la fiche pour l'enlever de la prise.
Quand vous déplacez votre appareil, faites attention à ne pas passer sur le câble d'alimentation et à ne pas l'endommager.
Quand votre réfrigérateur-congélateur est en marche, ne touchez pas les surfaces froides du compartiment congélateur, surtout avec les mains humides ou mouillées. La peau pourrait se coller à ces surfaces extrêmement froides.
Les enfants doivent être supervisés pour éviter qu'ils jouent avec l'appareil.
Ne modifiez ni ne rallongez le cordon d'alimentation
Ne pas utiliser une rallonge
L'accessibilité de la Prise d'alimentation
Remplacement de la Corde d'Alimentation Danger
Ne pas Conserver
Mise à Terre
Instructions de sécurité
Débranche la fiche d'alimentation avant de nettoyer le réfrigérateur-congélateur.
N'endommagez pas, ne pliez pas, ne tirez pas, ne tordez pas le câble
d'alimentation car un câble d'alimentation endommagé peut causer un incendie ou une décharge électrique.
Ne mettez jamais des produits en verre dans le congélateur parce qu'ils pourraient se casser quand leur contenu est congelé.
Autrement, vous risquez de provoquer un short électrique ou un incendie.

Si possible, branchez seulement le réfrigerateur-congélateur à une prise électrique pour le protéger et pour protéger d'autres appareils ou des lampes d'une surcharge.
Le réfrigerateur-congélateur doit être positionné pour que la prise d'alimentation soit accessible pour la déconnexion en cas d'accident.
Si la corde d'alimentation est endommagée, elle doit être remplacée par le fabricant ou par l'agent de service ou par quelqu'un qualifié similaire pour éviter le hasard.
Risque d'enfermer un enfant.
Avant de jeter votre vieux réfrigérateur ou congélateur : Enlevez les portes.
Laissez les étagères en place pour que les enfants ne puissent pas se glisser facilement à l'intérieur.
N'emmagasinez pas ou n'utilisez pas de l'essence ou d'autres produits inflammables en proximité de cet appareil ou d'autres appareils.
Dans le cas d'un court-circuit électrique, la mise à terre réduit le risque de chocs ELECTRIQUES en fournissant un câble de fuite au courant électrique. Pour prévenir tout choc électrique, l'appareil doit être mis à terre.
Une utilisation impropre de la fiche de terre peut provoquer un choc électrique.
Consultez un électricien qualifié si vous n'avez bien compris les instructions de mise à terre ou si vous avez quelques doutes sur le fait que l'appareil a été correctement mis à terre.
Importantes instructions de sécurité
Faites attention à ce que les ouvertures d’aération de votre unité ne soient pas obstruées. A Ne pas utiliser de dispositif mécanique ou autres moyens pour accélérer le procédé de décongélation. Ne pas endommager le circuit réfrigérant. A Ne pas utiliser de dispositifs électriques à l’intérieur des compartiments du stockage de nourriture, excepté s’ils sont du même type recommandé par le fabricant. Le réfrigérant ainsi que le gaz d’isolation utilisé dans l’unité demande des procédures spéciales de destruction. Lors de la destruction de l’unité, consultez un agent de service ou une personne similaire qualifiée.

Cet appareil contient du réfrigérant d'isobutane (R600a), gaz naturel avec la compatibilité environnementale élevé, mais également combustible. Au cours du transport et de l'installation de l'appareil, des soins particuliers devraient être pris pour s'assurer qu'une pièce du circuit de réfrigeration n'est endommagée. Le réfrigérant renversé hors des pipes pourrait mettre le feu ou causer des blessures à l'œil. Si une fuite est détectée, évitez tout contact avec des flammes ou des sources potentielles d'incendie et aérez la salle dans laquelle l'appareil est localisé pendant plusieurs minutes.
Afin d'éviter la création d'un gaz inflammable si une fuite dans le circuit de frigorification se produit, aérez la pièce. La pièce dans laquelle l'appareil est localisé dépend de la quantité de réfrigerant utilisée. La salle doit être de 1 m² pour chaque 8g de réfrigerant de R600a à l'intérieur de l'appareil. La quantité de réfrigerant dans votre appareil est indiquée sur la plaque d'identité à l'intérieur de l'appareil.
Ne faites jamais fonctionner un appareil montrant des signes de mauvais fonctionnement. Dans le doute, consultez votre revendeur.
Identification des pièces

NOTE
Si vous avez trouvé quelques pièces pour votre appareil, celles-ci pourraient être des pièces utilisées sur d'autres modèles.
Mise en marche
- Choisissez un bon emplacement. Placez votre réfrigerateur-congélateur dans un endroit où il est facile à utiliser.
- Evitez de placer l'appareil à côté d'une source de chaleur, de la lumière directe du soleil ou d'une source d'humidité.
- Il doit y avoir une bonne circulation d'air autour de votre réfrigérateur-congélateur pour qu'il fonctionne bien.
- Pour éviter des vibrations, l'appareil doit être nivelé. Si nécessaire, réglez les vis de nivellement pour compenser un plancher inégal.
L'avant doit être légèrement plus élevé que l'arrière pour faciliter la fermeture de la porte.
Des vis de nivellement peuvent être utilisées pour incliner légèrement le corps du réfrigérateur.
Vissez les vis de nivellement dans le sens des aiguilles d'une montre (↓) pour soulever l'appareil, dans le sens contraire des aiguilles d'une montre (↑) pour l'abaisser.
- Nettoyez complètement votre réfrigérateur-congélateur et enlevez toute la poussière accumulée pendant le transport.
- Installez les accessoires comme les barquettes à glaçons, etc. dans leurs emplacements. Ils sont emballés ensemble pour prévenir de possibles dommages pendant le transport.
- Branchez le câble d'alimentation à une prise. Ne branchez pas d'autres appareils à la même prise.
- Pour garantir une bonne circulation de l'air autour du réfrigérateur, veuillez aménager suffisamment d'espace des deux côtés ainsi qu'au-dessus de l'appareil et conserver un intervalle de 5 cm entre l'arrière de l'unité et le mur.
Quand votre réfrigérateur-congélateur est installé, il a besoin de 2-3 heures pour se stabiliser à la température normale de fonctionnement avant de le remplir avec de la nourriture fraîche ou congelée.
Si la fiche d'alimentation est débranchée, attendez 5 minutes avant de le remettre en marche.
Votre réfrigerateur-congélateur est maintenant prêt à l'utilisation.
Contrôle de la température
Votre réfrigerateur-congélateur possède deux contrôles où vous pouvez régler la température dans le réfrigerateur et dans le congélateur.
- Réglez d'abord le TEMP. CONTROL à "4". Puis réglez la température du compartiment comme vous le désirez.
- Si vous désirez une température légèrement plus élevée ou plus BASSE, tournez la poignée respectivement sur MIN ou MAX.
TEMP. CONTROL
Quand la température ambiantes est BASSE, réglez le contrôleur du réfrigérateur sur l'option 'Min'.
Congélateur
Panneau de Contrôle pour Réglage de la Température
| LED(88) | LED(BAR) | |||
| Panneau d'affichage des fonctions | nofrost* | nofrost* | ||
| FRZ_TEMR. | VACATION | FRZ_TEMR. | VACATION | |
| SUPER FRZ. | CHILD LOCK | SUPER FRZ. | CHILD LOCK | |
| LG | LG | |||
| Bouton Super Freezer | Bouton d'arrêt | Bouton Super Super FRZ SUPER FRZ CHILD LOCK CHILD LOCK CHILD LOCK | ||
| Bouton de réglage de température pour le compartment freezer | Bouton Vacances | |||
- La Température initiale du Compartment Freezer est de -18°C. Vous pouvez alors régler la température du compartment comme vous voulez.
FRZ. TEMP:

FRZ. temp.

FRZ. TEMP.

FRZ_TEMP.

- Quand vous pressez les boutons de contrôle de température, la température du compartiment Freezer change dans l'ordre suivant.
La température intérieure réelle varie selon le statut des aliments, car la température affichée sur le panneau est une température cible, et non pas la température réelle du réfrigérateur.
La fonction de réfrigération est faible au début. S'il vous plaît réglez la température comme ci-dessus au bout d'un minimum de 2-3 jours d'utilisation.
Fonction
- S'il vous plaît sélectionnez cette fonction pour une congélation rapide.
- Cette fonction est utile lorsque vous voulez congeler les aliments rapidement. Pressez une fois le bouton 'SUPER FRZ' (Super Freezer) et l'opération de congélation rapide commence, avec la lampe allumée.
- L'opération de Congélation Rapide prend 3 heures environ. Quand cette opération est finie, l'appareil revient automatiquement à la température régée auparavant. Si vous avez arrêté l'opération de congélation rapide, pressez encore une fois le bouton 'SUPER FRZ', la lampe s'éteint, l'opération de Congélation Rapide s'arrête et le réfrigérateur revient à la température régée auparavant.
SUPER FRZ.



Sélectionner "On"
Sélectionner "Off"
Vacances
- Cette fonction fait le travail de frigo-freezer au mode puissance-épargne, qui est utile lorsque vous partez hors la maison, car ceci réduit la consommation d'énergie autant que possible.
Si vous pressez 'VACATION', l'opération commence avec la lampe allumée (ON) et si vous pressez de nouveau, l'opération s'arrête.

VACATION
VACATION
VACATION Sélectionner "On"
VACATION Sélectionner "Off"
Blocage
- Si vous pressez ce bouton, celui-ci arrête la marche des autres boutons.
- "Blocage" ou "Déblocage" se répètent en appuyant sur le bouton 'LOCK'. (Pour "Bloquer" ou "Débloquer" pressez le bouton 'LOCK' pendant 2 secondes.)
- Quand 'LOCK' est activé, les autres boutons ne marcheront pas.

CHILD LOCK


Sélectionner "LOCK"
Sélectionner "UNLOCK"
Test automatique
Cette fonction vous permet de contrôler les problèmes pendant les opérations. Si vous pensez avoir un problème avec votre réfrigérateur-congélateur, appuyez sur la touche de contrôle de la température :
- Si l'indicateur se déplace vers le haut ou vers le bas, votre réfrigérateur-congélateur n'a pas de problème.
- Si l'indicateur ne se délace pas vers le haut ou vers le bas, laissez le courant branché et appelez l'agent d'assistance le plus proche.
Dégivrage
- Pour faire des glaçons, remplissez la barquette d'eau et placez-la dans le congélateur.
- Si vous désirez rapidement des glaçons, appuyez sur le bouton 'QUICK FREEZE'.
- Pour enlever les glaçons, tenez la grille à ses extrémités et tordez-la délicatement.

Vacances
Pour enlever facilement les glaçons, faites couler un peu d'eau sur la barquette avant de la tordre.
Faire les glaïeuls
Le dégivrage commence automatiquement.
L'eau de dégivrage tombe dans le réseau d'évaporation et s'évapore automatiquement.
Conservation des aliments
- Ne conserve pas de nourriture qui est périsable à de basses températures, comme les bananes ou le melon.
- Laissez refroidir la nourriture chaude avant de la mesurer au réfrigérateur. Mettre les aliments chauds dans le réfrigérateur-congélateur pourrait gâcher les autres aliments, et augmenter la facture d'électricité.
- Quand vous conservez les aliments, utilisez un récipient avec un couvercle. Cela empêche l'humidité de s'évaporer et aide les aliments à conserver leur goût et leur pouvoir nutritif.
- Ne bloquez pas la ventilation d'air avec des aliments. Une bonne circulation d'air froid permet de bien conserver la température de votre réfrigérateur-congélateur.
- N'ouvre pas fréquemment la porte. Ouvrir la porte fait entrer de l'air chaud dans le réfrigérateur-congélateur, et fait augmenter la température.
- Pour pouvoir régler facilement le contrôle de température, ne conservez pas d'aliments à côté du cadran de réglage de la température.
- Ne mettez jamais trop d'aliments dans le récipient sur la porte, s'il est trop plein il pourrait bloquer la porte.
- Ne conservez pas de bouteilles dans le compartiment congélateur, elles pourraient se casser quand elles se congèlent.
- Ne recongelez pas des aliments décongelés. Cela provoque une perte de goût et de pouvoir nutritif.
Si vous placez votre réfrigérateur-congélateur dans un endroit chaud et humide, si vous ouvrez fréquemment sa porte ou si vous conservez beaucoup de légumes, de la rosée pourrait se former, ce qui n'influence pas ses performances. Enlevez la rosée avec un chiffon.
Informations générales
- 1~2 heures de manque de courant ne font aucun mal aux aliments conservés. Essayez d'éviter d'ouvrir et de fermer la porte trop fréquemment.
- Enlevez les aliments du réfrigérateur-congélateur et fixez les aliments libres avec un ruban.
- Tournez les vis de nivellement jusqu'au bout de leur course avant de déplacer le réfrigérateur-congélateur. Sinon, les vis pourraient érafler le plancher ou bien empêcher le déplacement du réfrigérateur-congélateur.

- Le tuyau anti-condensation est installé autour du panneau avant du réfrigerateur-congélateur, ce qui sépare le compartiment réfrigerateur du compartiment congélateur pour éviter la formation de rosée.
- Surtout après l'installation ou quand la température de la pièce est élevée, le réfrigerateur-congélateur peut devenir chaud, ce qui est tout à fait normal.
Remplacement des lampes
- Débranchez le câble d'alimentation de la prise.
- Enlevez les étagères du réfrigérateur.
- Pour enlever le couvercle de la lampe, insérez un tournevis dans la partie inférieure du couvercle et retirez le couvercle.
- Tournez la lampe dans le sens contraire des aiguilles d'une montre.
- Remontez le tout en sens inverse. La lampe remplacée doit avoir les mêmes specifications que l'original.

| Avant de nettoyer | NettoyageDébranchez le courant. |
| Extérieur | Nettoyez l'extérieur du réfrigérateur-congélateur avec un chiffon couple imbibé d'eau chaude ou de liquide détergent. Si vous utilisez un détergent, faites attention de l'essuyer avec un chiffon propre et sec. |
| Intérieur | Nettoyez l'extérieur du réfrigérateur-congélateur avec un chiffon couple imbibé d'eau chaude ou de liquide détergent. Si vous utilisez un détergent, faites attention de l'essuyer avec un chiffon propre et sec. |
| Après le nettoyage | Contrôlez que le cable d'alimentation ne soit pas endommagé, que la fiche ne soit pas surchauffée et que la fiche soit fermement insérée dans la prise. |
| ▲ Attention | Faites attention de bien sécher l'appareil avec un chiffon après l'avoir lavé avec de l'eau. N'utilisez pas de détergents abrasifs, de pétrole, de benzène, de solvants, d'acide chlorhydrique, d'eau bouillante, de brosses rugueuses, etc., cela pourrait endommager des pieces de votre réfrigérateur-congélateur. |
Cristaux de gel ou de glace sur les aliments
Avant d'appeler l'assistance, contrôlez cette liste.
Cela pourrait vous permettre d'économiser du temps et de l'argent.
Cette liste contient des événements courants qui ne sont pas le résultat de défaut de main-d'œuvre ou de matériel de cet appareil.
Causes possibles
- La fiche d'alimentation pourrait être débranchée de la prise électrique. Branchez-la.
- Le fusible de l'appartement a sauté ou le disjoncteur s'est déclenché. Contrôlez et/ou remplacez le fusible et remettez en fonction le disjoncteur. Coupure courant. Contrôlez les lampes de la maison.
- Le contrôle de température n'est pas réglé sur la bonne position. Faites référence à la section Contrôle Température.
- L'appareil est placé trop près d'une source de chaleur.
- Temps chaud - ouvertures trop fréquentes de la porte.
- La porte est restée ouverte trop longtemps.
- Emballages bloquent la porte ouverte. Oublient le conduit d'air dans le compartiment congélateur.
- Le plancher sur lequel est installé le réfrigérateur-congélateur est inégal ou bien le réfrigérateur-congélateur est instable. Nivelez-le en tournant les vis de nivellement.
- Des objets non nécessaires sont placés derrière le réfrigérateur-congélateur.
- La porte est restée légèrement ouverte ou les emballages la bloquent ouverte.
- La porte a été ouverte trop souvent ou pendant trop longtemps.
- Le gel sans emballages est normal.
Causes possibles
- Ce phénomène se produit dans un espace humide. Essuyez avec une serviette sèche.
- Ouvertures de la porte trop fréquentes ou pendant trop longtemps.
- Avec un temps humide, l'air transporte de l'humidité dans le réfrigerateur quand la porte est ouverte.
- Les alimentés avec une forte odeur peuvent être couverts ou emballés.
- Contrôlez les alimentés gâchés.
- L'intérieur doit être nettoyé. Faites référence à la section NETTOYAGE.
- Des emballages d'aliments laissent la porte ouverte. Déplacez-les pour permettre la fermeture de la porte.
- Réfrigerateur-congélateur n'est pas nivelé. Réglez les vis de nivellement.
- Le plancher sur lequel est installé le réfrigérateur-congélateur est inégal ou bien le réfrigérateur-congélateur est installé de manière instable. Soulevez légèrement l'avant grâce aux vis de nivellement.
- Le courant n'arrive pas à la prise.
- Les lampes doivent être replacées. Faites référence à la section Remplacement des lampes.

Élimination de votre ANCIEN appareil
- Ce symbole, représentant une poubelle sur roulettes barrée d’une croix, signifie que le produit est couvert par la directive européenne 2002/96/EC.
- Les éléments électriques et électroniques doivent être jetés séparément, dans les vidés-ordures prévus à cet effet par votre municipalité.
- Une élimination conforme aux instructions aidera à réduire les conséquences négatives et les risques éventuels pour l'environnement et la santé humaine.
- Pour plus d'informations concernant l'élimination de votre ancien appareil, veuillez contacter votre mairie, le service des ordures ménagères ou encore le magasin où vous avez acheté ce produit.
Pour inverser le sens d'ouverture des portes
Votre réfrigérateur-congélateur a été conçu avec des portes réversibles qui peuvent s'ouvrir du côté droit ou du côté gauche en fonction de la disposition de votre cuisine.
- Avant d'inverser les portes, vous devez tout d'abord retirer tous les alimentés et accessoires, comme les étagères et les plateaux, qui ne sont pas fixés à l'appareil.
- Utilisez une Clé Dynamométrique ou une Clé à Molette pour fixer ou desserrer le boulon.
- Ne pas coucher le réfrigerateur sur le sol. Ceci provoquera des problèmes.
- Faites attention de ne pas faire tomber les portes lors de leur démontage ou montage.
Comment renverser la porte
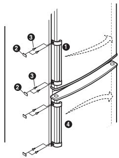
- Sortez la vis 3 après avoir sorti l'écrou 2 à gauche de la poignée du réfrigerateur 1, séparez ensuite la poignée du réfrigerateur 1. Sortez la poignée du freezer 4 dans l'ordre dans lequel vous avez séparé la poignée du réfrigerator 1. (La poignée dérobée n'a pas besoin de suivre cette procédure)
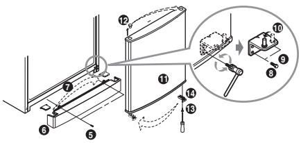
- Sortez la vis ⑤ et la couverture de fond ⑥, séparez ensuite le boulon ⑦ de la couverture de fond et mettez-le dans la même position mais sur le côté droit. Sortez la charnière inférieure droite ⑨ et le goujon ⑩ après avoir séparé la vis ⑧. Mettez le goujon ⑩ dans le trou correspondant de la charnière inférieure. Sortez la porte du freezer ⑪, enlevez ensuite le BOULON ⑫ de la porte ⑭ après avoir sorti la vis ⑮, mettez ensuite l'arrêt de porte dans la position correspondante sur le côté gauche.
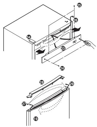
- Sortez la couverture de charnière supérieure ⑰, prenez les deux câbles ⑱. Sortez la vis ⑲, sortez la charnière du milieu ⑳, sortez ensuite la porte du réfrigerateur ㉑. Retirez le boulon ㉒ ㉓ après avoir enlevé la vis ㉔, mettez ensuite l'arrêt de porte dans la position correspondante sur le côté gauche. Sortez la vis ㉕, sortez ensuite la charnière supérieure droite ㉖.




- Détruisez les deux petits boulons sur la façade de la couverture de front ⑧ avec un tournevis, sortez ensuite la vis ② et ⑤. Sortez la couverture de front ③. Déplacez le cable ② à gauche, mettez la couverture de front ③ et la vis. Sortez les petits boulons du sac alternatif, et mettez-les ensuite.
- Enlevez le petit boulon de la porte du réfrigerateur 19, sortez ensuite le petit boulon. Déplacez le câble 29 de gauche vers la position correspondante sur le côté droit. Mettez le petit boulon, installez ensuite le petit boulon dans la position correspondante sur le côté droit.
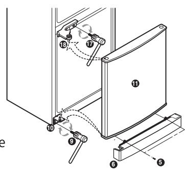
- Installez la charnière inférieure et la porte du freezer, installez ensuite la charnière du milieu. Sortez le boulon du freezer. Installez la porte du freezer, prenez la charnière supérieure du sac alternatif et installez-la sur la partie supérieure gauche. Retirez le cable des trous individuels et connectez ces cables. Prenez les petits boulons du sac alternatif, installez ensuite les petits boulons. Installez la couverture de base.
- Sortez le boulon du côté droit de la porte, installez-le ensuite dans le trou à vis gauche (vous pourrez voir ce trou après avoir enlevé la poignée gauche). Installez la poignée et la vis sortiesAAPARAVANT dans la position correspondante sur le côté droit. (La poignée dérobée n'a pas besoin de suivre cette procédure). L'installation est alors terminée.




Remarque
L'inversement des portes n'est pas couvert par la garantie.
Notice Facile