CDL 110 DFCR - Chaudière FALCON - Notice d'utilisation et mode d'emploi gratuit
Retrouvez gratuitement la notice de l'appareil CDL 110 DFCR FALCON au format PDF.
| Intitulé | Description |
|---|---|
| Type de produit | Four à gaz |
| Caractéristiques techniques principales | Four à convection avec plusieurs foyers |
| Alimentation électrique | Non applicable (fonctionne au gaz) |
| Dimensions approximatives | Largeur : 110 cm, Profondeur : 60 cm, Hauteur : 90 cm |
| Poids | Environ 100 kg |
| Compatibilités | Compatible avec divers accessoires de cuisson |
| Type de batterie | Non applicable (fonctionne au gaz) |
| Tension | Non applicable (fonctionne au gaz) |
| Puissance | Puissance de cuisson variable selon les foyers |
| Fonctions principales | Cuisson, rôtissage, grillade |
| Entretien et nettoyage | Nettoyage régulier des grilles et des surfaces intérieures |
| Pièces détachées et réparabilité | Disponibilité de pièces détachées via le fabricant |
| Sécurité | Équipé de dispositifs de sécurité pour éviter les fuites de gaz |
| Informations générales utiles | Vérifier les normes de gaz avant installation |
FOIRE AUX QUESTIONS - CDL 110 DFCR FALCON
Questions des utilisateurs sur CDL 110 DFCR FALCON
0 question sur cet appareil. Repondez a celles que vous connaissez ou posez la votre.
Poser une nouvelle question sur cet appareil
Téléchargez la notice de votre Chaudière au format PDF gratuitement ! Retrouvez votre notice CDL 110 DFCR - FALCON et reprennez votre appareil électronique en main. Sur cette page sont publiés tous les documents nécessaires à l'utilisation de votre appareil CDL 110 DFCR de la marque FALCON.
MODE D'EMPLOI CDL 110 DFCR FALCON
Classic Deluxe 110 Mixte
Mode d'emploi et instructions d'installation et d'entretien
Classic Deluxe 110 Dual Fuel
Brûleurs de table de cuisson 3
Table de cuisson vitrocéramique / Plaque à griller 4
Gril 6
Fours 7
Horloge 8
Cuisson avec minuterie 9
Fonctions du four Multifonctions 10
Grilles de four 11
Handyrack 11
Eclairage du four 12
Rangement 12
Nettoyage de la cuisine 12
Dépannage 16
Consignes générales de sécurité 18
Entretien et pièces de rechange 19
Installation 20
Entretien 24
Fiche technique 29
Schéma de câblage 58
Mise en garde
Les composants accessibles deviendront chauds pendant l'utilisation. Éloignez les enfants de la cuisinière pour prévenir les risques de brûlures et débouillez.
Tout comme vous, votre cuisinière a besoin d'air frais. Les flammes des brûleurs produisent des gaz de combustion, de la chaleur et de l'humidité. Veillez à ce que la cuisine soit bien ventilée : laissez les ouvertures de ventilation naturelle ouvertes ou installez une hotte aspirante à évacuation extérieure. En cas d'utilisation simultanée de plusieurs brûleurs ou d'utilisation prolongée de la cuisinière, ouvrez une fenêtre ou mettez en marche une hotte aspirante. Pour des informations plus détaillées, reportez-vous aux Instructions d'installation.
Ne posez pas d'objets lourds sur la table en vitrocéramique. Même si la surface en vitrocéramique est très résistante, un impact violent ou la chute accidentelle d'un objet sur la surface risque de la fissurer.
Dès qu'une fissure est visible sur la surface, mettez immédiatement la cuisinière hors tension et faites-la réparer.
Veillez à prévenir toute infiltration d'eau dans la cuisinière.
La cuisinière est chaude pendant et après l'utilisation. Il importe donc de faire preuve de vigilance en présence d'enfants en bas âge. Si vos jeunes enfants viennent dans la cuisine, veillez absolument à ne pas les laisser sans surveillance à peu.
Nous vous recommandons de lire les « Consignes générales de sécurité » (en particulier si vous n'avez jamais utilisé de cuisinière mixte). Elles contiennent des conseils de base en vue d'une utilisation sûre de votre cuisinière.
Alimentation en gaz et électricité
Vérifiez que l'alimentation en gaz est en marche et que l'alimentation électrique de la cuisinière est raccordée et en marche. La cuisinière a besoin d'électricité.
Odeur de neuf
Une légère odeur de neuf peut se dégager lors de la première utilisation de la cuisinière. Elle disparaîtra rapidement à l'utilisation.
Avant la première utilisation de l'appareil, assurez-vous qu'il ne reste aucun matériel d'emballage, puis, régalez les jours sur 230°C et faites-les marcher pendant une heure afin d'éliminer l'odeur de neuf.
Avant la première utilisation du grill, allumez-le et faites-le marcher pendant 30 minutes, avec la echefrite bien en place, et en laissant la porte du grill ouverte.
Veillez à ce que la pièce soit bien ventilée, en ouvrant les fenêtres, par exemple, ou en mettant la hotte en marche. Il est recommandé aux personnes souffrant de problèmes respiratoires ou d'allergies de quitter la pièce pendant ce temps.
Brûleurs de table de cuisson

Le schéma à côté de chaque bouton indique le brûleur associé à ce bouton. Chaque brûleur a un dispositif de sécurité spécial qui coupe l'alimentation en gaz en cas d'extinction de la flamme.
Un dispositif d'allumage par étincelle est déclenché lorsqu'on appuie sur le bouton.
Appuyez sur un bouton et mettez-le sur le symbole grande flamme (A). Le dispositif d'allumage produit une étincelle et allume le gaz.


Continuez d'appuyer sur le bouton pendant quelques secondes pour permettre l'alvéee du gaz dans le brûleur.
Si le brûleur s'éteint lorsque vous relâchez le bouton de commande, le dispositif de sécurité n'a pas été enclenché. Mettez le bouton de commande sur la position Arrêt [Off] et attendez une minute avant d'essayer de nouveau, en appuyant un peu plus longtemps sur le bouton.
Lorsque vous appuyez sur le bouton de commande, une étincelle se produit à chaque brûleur – ceci est normal. N'essayez jamais de démonter ou de nettoyer autour d'un brûleur lorsqu'un autre brûleur est allumé. Vous pourriez recevoir une décharge électrique.
Tournez le bouton pour régler la hauteur de flamme.
Le symbole petite flamme indique la « position minimum ». Tournez le bouton vers celle-ci lorsque le contenu du réseau de cuisson est parvenu à ébullition.

Veillez à ce que les flammes ne dépassent pas les récipients de cuisson.
Utilisez un couvercle sur les récipients de cuisson pour porter à ébullition plus rapidement.
N'utilisez pas de casseroles ou marmites à fond concave ou à fond à rebord incurvé vers le bas.


L'utilisation de dispositifs de mijotage, de type plaques d'amiate ou plaques métalliques, est DECONSEILLEE. Ces dispositifs diminueront les performances de la cusinière et risquent d'endommager les grilles de la table de cuisson.
N'utilise pas de récipients de cuisson instables ou déformés susceptibles de se renverser, ni de récipients de cuisson à fond de très petit diamètre (casseroles à lait, poêleuses individuelles, etc.).

Le diamètre minimum recommandé pour les récipients de cuisson est de 120mm.
Le diamètre maximum pour les récipients de cuisson est de 250 mm
Le brûleur Wok (coup de feu) est donc pour fournir une chaleur uniforme sur une grande surface. Il est parfait pour les grandes poèles et la friture rapide à feu vif. Les petits brûleurs sont plus adaptés aux récipients de cuisson plus petits.
Soulevez et tirez les éléments du brûleur pour les nettoyer. Reportez-vous à la section «Nettoyage de la cuisinière».
En cas de débordement, essuyez dès que possible la surface en émail autour des brûleurs de la table de cuisson. Tâchez d'essuyer la substance renversée pendant que l'émail est encore chaud.
Remarque:
Les récipients en aluminium peuvent laisser des traces métalliques au niveau des grilles de la table de cuisson. Ces traces sont sans incidence sur la durabilité de l'émail et peuvent être éliminées à l'aide d'un nettoyant pour métaux.
Support spécial de wok
Le support spécial de Wok se place sur la grille du brûleur Wok droit et est donc pour être utilisé avec un Wok Typhoon™ Professional 35 cm (Référence de pièce 13840S). Il est disponible en grands magasins.
Si vous utilisez un autre modèle de Wok, vérifiez qu’il repose correctement sur le support spécial. Les Woks peuvent avoir des tailles et des formes très variées. Il est important que le Wok repose correctement sur le support - mais si le Wok est trop petit, il ne sera pas bien maintenu en place par le support spécial.

Le support spécial de Wok doit être utilisé uniquement sur le brûleur Wok à triple élément.

Lorsque vous placez le support spécial, vérifiez que le Wok repose bien sur les barres avant et arrière et qu’il est bien soutenu par une grille de la table de cuisson.

Vérifiez que le support spécial est stable et que le Wok est placé à niveau sur le brûleur.

Le support spécial deviendra très chaud pendant l'utilisation – laissez-le refroidir suffisamment longtemps avant de le retirer.

Informations importantes
N'utilise jamais de solvants pour peinture, de cristaux de soude, de nettoyants caustiques, de poudres biologiques, d'eau de Javel, de nettoyants chlorés, de produits abrasifs à gros grain ou de sel.
Il est recommandé d'utiliser de l'eau savonneuse chaude, un tampon récurreur savonnée humide, un produit de nettoyage semi-liquide ou un tampon récurreur en nylon pour nettoyer la cuisine.
Table de cuisson vitrocéramique/ plaque à griller

La partie gauche de la table de cuisson est à double usage. Elle peut être utilisée comme table vitrocéramique pour le chauffage d'une casserole, ou bien pour le chauffage de la plaque à griller fournie.
Utilisation avec une casserole
La zone arrêtée, indiquée par un cercle, s'utilise pour la cuisson avec une casserole.

Deux éléments permettent d'utiliser la totalité de la surface ou seulement la partie arrêtée.

Le voyant au-dessus du bouton de commande s'allume lorsqu'une commande est mise en marche et reste allumé pendant le refroidissement de la surface.
Vous pouvez aussi placer une grande poissonnière sur les deux zones de cuisson. Tournez le bouton en sens horaire pour chauffer la totalité de la surface.
Prenez toujours garde lorsqu vous touchez la surface, car même éteinte, elle peut être encore très chaude.
Utilisez uniquement des casseroles conçues pour les tables de cuisson en vitrocéramique.
Les plats de cuisson en vitrocéramique ne conviennent pas du fait de leur faible conductivité.
Utilisez des casseroles à fond écais, lisse et plat. Ceci permet un transfert de chaleur maximal de la table de cuisson à la casserole, d'où une cuisson plus rapide et plus économique.
N'utilisez jamais de wok à fond rond, même avec un support.
Les casseroles, les adaptations sont celles qui, à l'état froid, sont très légèrement bombées vers l'intérieur. En plaçant une règle sur le fond de ces casseroles, on peut constater que la surface est légèrement incurvée vers le milieu. Sous l'effet de la chaleur, le métal se dilate et la totalité du fond du récipient de cuisson est en contact avec la surface de cuisson.
Veillez à ce que le fond du récipient de cuisson soit propre et que cela pour éviter que des résidus d'aliments ne brûlent et n'attachent sur la plaque de la table de cuisson. Ceci permet également d'éviter les rayures et les dépôts (tels que les particules de calcaire).
Veillez à toujours utiliser des récipients de la même taille (ou légèrement plus grands) que le diamètre indiqué sur la surface de cuisson. L'utilisation de récipients plus petits entraîne une perte de chaleur et, en cas de débordement, le contenu du récipient attachera à la surface de cuisson. Utilisez un couvercle sur les récipients de cuisson pour porter à ébullition plus rapidement.
Soulevez toujours les récipients pour les retirer de la surface de cuisson. Ne les faites pas glisser sur la surface, car vous risquez de la marquer et de la rayer.


Mettez toujours le bouton de commande sur la position arrêt [Off] avant de désteroler un récipient de la surface de cuisson.
Même si la surface en vitrocéramique est très résistante, un impact violent ou la chute accidentelle d'un objet (une salière, par exemple) risque de la fissurer. Si la surface est fissurée, mettez immédiatement la cuisinière hors tension et faites-la réparer.
Veillez à prévenir toute infiltration d'eau dans la cuisinière.
Nettoyez la surface après chaque utilisation pour prévenir les rayures et les taches.
Lorsque vous cuisinez sur la table de cuisson, le foyer utilisé pourra s’éclairer et s’éteindre. Ceci est dû à un dispositif de sécurité qui limite la température de la table de cuisson. Ceci est tout à fait normal, surtout à des températures élevées. Toutefois, si cela se produit fréquemment avec un réseau de cuisson particulier, cela peut venir du fait que celui-ci ne convient pas à une table de cuisson en vitrocéramique car il est trop petit ou a un fond trop irrégulier.
La table de cuisson sera endommagée de façon permanente en cas de déversement accidentel de sucre sur la surface. Veillez donc à nettoyer immédiatement et soigneusement la zone tachée. Ne laissez jamais sécher des taches de sucre avant de les nettoyer.
Si du sucre ou des aliments à forte teneur en sucre, des objets en aluminium ou en plastique ont fondu accidentellement sur la surface de la table de cuisson, retirez-les immédiatement de la partie chaude de la table à l'aide d'un racloir à lame pour ne pas abîmer la surface. Reportez-vous à la section « Nettoyage de la cuisinière »
Ne coupez jamais des aliments directement sur la surface de cuisson.
Ne faites pas cuire des aliments directement sur la surface de cuisson, c'est-à-dire sans les mettre au préalable dans un récipient ou un ustensile de cuisson.
N'utilisez pas la table de cuisson comme plan de travail.
Ne faites pas glisser des ustensiles sur la table de cuisson.
Ne placez rien entre le fond du récipient de cuisson et la surface de cuisson (plaque d’amiante, feuille de papier aluminium ou support de Wok, par exemple).
Ne laissez pas des ustensiles, des aliments ou des produits combustibles sur la table de cuisson lorsqu'elle n'est pas en service (torchon, ou poêle contenant de l'huile, par exemple).
Ne placez pas de plastique, de feuille de papier aluminium ou de récipients en plastique sur la table de cuisson.
Ne laissez pas les foyers allumés s'ils ne sont pas utilisés pour la cuisson.
N'utilisez pas des récipients de cuisson plus grands ou plus petits qu'un foyer. Placez toujours les récipients de cuisson bien au centre du foyer.
Ne laissez jamais qui que ce soit grimper ou se tenir sur la table de cuisson.
Utilisation avec la plaque à griller

La plaque à griller est donc pour être montée en toute sécurité sur les goupilles de positionnement au-dessus de la surface de cuisson en vitrocéramique.

N'essayez pas de l'utiliser sur l'un des brûleurs à gaz. Elle ne sera pas bien maintenue en place et vous risquez d'abîmer la surface antiadhésive.
Deux éléments permettent d'utiliser la totalité de la surface ou seulement la partie arrêté.
Tournez le bouton en sens horaire pour chauffer la totalité de la surface.

Tournez-le en sens anti-horaire pour chauffer uniquement le foyer arrêté.

Le voyant au-dessus du bouton de commande s'allume lorsqu'une commande est mise en marche et reste allumé pendant le refroidissement de la surface.
La plaque à griller se place sur deux goupilles de positionnement. Vérifiez qu'elle est placée correctement.
Elle s'utilise pour la cuisson directe des aliments. N'utilisez pas de récipients de cuisson sur cette plaque. La plaque à griller a une surface antiadhésive susceptible d'être endommagée par des ustensiles de cuisine métalliques (spatules, par exemple). Utilisez des ustensiles en bois ou en plastique thermorésistant.
Avant l'utilisation, vous pouvez enduire la plaque d'une légère couche d'huile à friture.
Préchauffez la plaque à griller pendant 5 minutes au maximum avant d'y déposer les aliments. Un préchauffage plus long risque de l'endommager.
Mettez le bouton de commande sur un réglage inférieur pour diminuer la température de la plaque à griller.
Utilisez les réglages suivants comme guide de cuisson sur la plaque à griller.
| Supérieur/Moyen: | Crèpes, Bacon, Côtelettes, Steak,Hamburgers. |
| Moyen/Inférieur: | Galettes de pommes de terre, Oeufs, Galettesde poisson. |
Avec la pratique, vous vous familiariserez rapidement avec les réglages corrects adaptés à la préparation de vos plats.
La plaque à griller deviendra très chaude pendant l'utilisation – laissez-la refroidir suffisamment longtemps avant de la retirer.
Utilisez uniquement des gants de cuisine secs
L'emploi de gants humides sur des surfaces chaudes peut provoquer des brûlures par la vapeur. Ne laissez jamais des gants de cuisine entrer en contact avec des éléments chauffants chauds.
N'utilisez pas de torchon ou autre chiffon épais à la place d'un gant de cuisine. Ils risquent de s'enflammer au contact d'une surface chaude.
Ne faites jamais fonctionner la cuisineire avec les mains mouillées.
Un espace situé dans le coin droit arrêté de la plaque à griller vous permet de déverser l'excess de GRAISSE éprouss la cuisson. Faites attention – la plaque peut être très chaude.

Après utilisation, nettoyez la plaque avec de l'eau savonneuse chaude et un chiffon doux. Laissez refroidir la plaque avant de la nettoyer.
Attention : des composants accessibles risquent devenir chauds pendant l'utilisation du grill. éloignez les enfants de la cuisinière.
Avant la première utilisation du gril, allumez-le et faites-le marcher pendant 30 minutes, avec la lèchefrite bien en place, et en laissant la porte du grill ouverte.
Veillez à ce que la pièce soit bien ventilée, en ouvrant les fenêtres, par exemple, ou en mettant la hotte en marche. Il est recommandé aux personnes souffrant de problèmes respiratoires ou d'allergies de quitter la pièce pendant ce temps.
Utilisation du grillette
Ouvrez la porte du grill et tirez le support de la lèchefrite vers l'avant au moyen de la poignée.

Placez les aliments sur la grille, puis insérez le support de la lèchefrite dans l'enceinte du grill. Vérifiez qu'il est inséré à fond.
Le gril a deux éléments qui permettent de chauffer la totalité de la l'échefrite ou seulement la partie droite de celle-ci.
Tournez le bouton en sens horaire pour chauffer la totalité du grill.

Tournez-le en sens anti-horaire pour chauffer la partie droite. Le voyant au-dessus de la commande de grill s'allumera.
Pour obtenir les meilleurs résultats possibles, préchauffez pendant 2 minutes avec la lèchefrite en place. Placez les aliments sur la grille de la lèchefrite, puis insérez le support. Tournez le bouton de commande pour régler la chaleur du grill.
Vérifiez que le support de la lèchefrite est inséré à fond.
Ne fermez jamais la porte du grill lorsque celui-ci est en marche.
La grille de la lèchefrite est réversible pour permettre deux positions de grill.


Ne laisse jamais le grill en marche pendant plus de quelques instants si la lèchefrite n'est pas en place sous le grill.
Pour obtenir les valeurs résultats possibles, notamment pour griller des tranches de pain, préchauffez pendant deux minutes avec la lèchefrite en place.
Vous pouvez retirer la grille de la lèchefrite et y déposer les aliments pendant le préchauffage.
La grille de la lèchefrite est réversible pour permettre deux positions de gril.
La l'échefe et le support sont amovibles pour faciliter le nettoyage. Reportez-vous à la section « Nettoyage de la cuisine »
Lorsque vous tirez la l'échafaud vers l'avant, le bord large est-il à l'avant? Il est important qu'il soit situé à l'avant.

L'appareil devient chaud lorsqu'il est en marche. veillez à ne pas toucher les éléments chauffants à l'intérieur du four.
Avant d'utiliser l'appareil pour la première fois, réglez les jours sur 230°C et faites-les marcher pendant une heure afin d'éliminer l'odeur de neuf. Pour éliminer l'odeur de neuf, assurez-vous que la pièce est bien aérée, en ouvrant les fenêtres, par exemple, ou en mettant la hotte en marche. Il est recommandé aux personnes souffrant de problèmes respiratoires ou d'allergies de quitter la pièce pendant ce temps.
Four gauche

Le four gauche est un four Multifonctions. Outre le ventilateur du four et l'élément du ventilateur, le four est doté de deux éléments chauffants supplémentaires, l'un visible dans la voûte, et l'autre sous la sole. Veillez à ne pas toucher l'élément supérieur et le déflecteur.
de l'élément lors de l'insertion ou du retrait des plats dans le four. Pour un complément d’informations au sujet de ce four, veuillez vous reporter à la section « Four Multifonctions »

Le four Multifonctions est doté de deux commandes, un sélecteur de fonction et un bouton de réglage de température.
| Tournez le sélecteur de fonction pour lemettre sur une fonction de cuisson. | |
| Tournez le bouton de réglage de température du four pour lemettre sur la température requise. | |
| Levoyant du four sera allumé jusqu'à ce que le four attaigne la température requise.II s'allumera et s'éteindra pendant la cuisson. |
Four droit

Le ventilateur dans le four droit brasse l'air chaud continuellement, assurant ainsi une cuisson plus rapide et plus uniforme.
En général, les températures de cuisson recommandées pour un four ventilé sont plus basses que celles pour un four conventionnel.
| Le bouton de commande du four ventilé droit est à droite du panneau de commande. | |
| Tournez le bouton de réglage de température du four pour lemettre sur la température requise. | |
| Le voyant du four sera allumé jusqu'à ce que le four attaigne latempérature requise. Il s'allumeraet s'éteindra pendant la cuisson. |
Horloge
Vous pouvez utiliser la minuterie pour allumer et éteindre le four Multifonctions gauche. L'horloge doit être réglée sur l'heure actuelle pour que ce four puisse fonctionner.
Réglage de l'heure

Appuyez sans relâcher, comme indiqué ci-dessus. En même temps, appuyez sur (-) ou (+) jusqu’à l’affichage de l’heure correcte. N’oubliez pas qu’il s’agit d’une horloge 24 heures. Si vous faites une erreur ou si vous vous trompez de bouton, mettez l’appareil hors tension pendant une ou deux minutes, puis recommencez la procédure.
Réglage du temps de cuisson (minuterie)
| Appuyez sans relâcher sur (®). | 8:00 |
| ® - + | |
| ○○○○○ |
| En même temps, appuyez sur (-) ou (+) jusqu'à l'affichage de l'heure de cuisson requise. | 0:20 0:15 - + |
Vous pouvez vérifier le temps de cuisson qui reste en appuyant sur (_) et annuler le signal sonore en appuyant sur (_).
Arrêt automatique
Utilisez cette fonction lorsque vous avez mis le four en marche manuellement.
| Maintenez enforcé le bouton « Heure d'Arrêt » (□). | 0.00 △ ∏ □ - + ○ ○ ○ ○ |
En même temps, appuyez sur (-) ou (+) jusqu'à ce que «Heure d'arrêt» s'affiche. AUTO sera affiché. Le signal sonore indiquera la fin de la cuisson. METTEZ D'ABORD LE BOUTON DE COMMANDE DU FOUR SUR LA POSITION 0, puis appuyez une fois sur ( ) pour arrêter le signal sonore, appuyez de nouveau sur ( ) pour revenir au fonctionnement manuel.
Mise en marche et arrêt automatiques du four
Avant de régler la minuterie, vous devez avoir deux chiffres à l'esprit.
Le «temps de cuisson», c'est-à-dire la durée pendant laquelle vous voulez que le four fonctionne.
«L'heure d'arrêt», c'est-à-dire l'heure à laquelle vous voulez que le four s'arrête
Vous ne pouvez pas régler directement une heure de mise en marche – celle-ci est réglée automatiquement lorsque vous régalez le temps de cuisson et l'heure d'arrêt.
| Maintenez enforcé le bouton « Temps de cuisson » ( ). En même temps, appuyez sur (-) ou (+) jusqu'à ce que « Temps de cuisson» s'affiche. | 0:20 O: 10 - + |
| Maintenez enforcé le bouton « Heure d'accêt » (¯).En même temps, appuyez sur (-) ou (+) jusqu'à l'affichage de «l'houre d'accêt».AUTO sera affché. | 14:20 |
| ○ - +○○○○○ |
Réglez la fonction et la température du four.
Le signal sonore indiquera la fin de la cuisson. METTEZ D'ABORD LE BOUTON DE COMMANDE DU FOUR SUR LA POSITION ARRET
(OFF), puis appuyez une fois sur (®) pour arrêter le signal sonore, appuyez de nouveau sur (®) pour revenir au fonctionnement manuel.
Si vous êtes absent pendant la cuisson, ne vous inquiétez pas au sujet de l'arrêt du signal sonore, celui-ci s'arrête après un certain temps. À votre retour, mettez les boutons de fonction et de température du four sur 0, puis appuyez deux fois sur (®), pour revenir au fonctionnement manuel.
AUTO est affiché, et vous devez remettre le four sur fonctionnement manuel.
Lorsqu'on annule un réglage automatique, tout temps de cuisson déjà réglé doit être remis sur 0.00 avant que l'on puisse revenir au fonctionnement manuel en appuyant sur le bouton (①).
Fonction de verrouillage
Lorsque la fonction de verrouillage est activée, l'horloge fonctionne comme de coutume mais le four est verrouillé et ne peut s'allumer. De cette façon, s'il arrivait à votre enfant de sélectionner un programme de cuisson, la mise en route du programme ne serait pas activée et le four ne s'allumerait pas.
Mise en marche de la fonction de verrouillage
Vérifiez que l'horloge est sur le mode manuel et annulez tout programme en cours.
Appuyez sans relâcher sur les boutons Minuterie (⋅) et Temps de cuisson (⋅) pendant 8 secondes environ.
« On » ([Marche]) sera affiché.

Appuyez une fois sur le bouton +
Le symbole de clé (l) et « Off » ([Arrêt]) s'affichent. Relâchez les boutons.

À présent, les fonctions de commande du four sont verrouillées.
Après quelques secondes, l'affichage indique de nouveau l'heure et le symbole de la clé (l).

Arrêt de la fonction de verrouillage
Appuyez sans relâcher sur les boutons Minuterie (⋅) et Temps de cuisson (⋅) pendant 8 secondes environ.
Off ([Arrêt]) sera affiché.


Appuyez une fois sur le bouton « + ». Le symbole de clé disparaît et « On » ([Marche]) s'affiche. Relâchez les boutons.

Après quelques secondes, l'affichage indique de nouveau l'heure. Une fois créées, les fonctions de commande du four et de l'horloge peuvent être utilisées normalement.
Cuisson avec minuterie
La minuterie ne peut commander que le four Multifonctions gauche.
Vous pouvez régler le four pour qu'il se mette en marche à un moment donné dans les 24 heures après le réglage.
Si vous désirez cuire plusieurs plats simultanément, CHOISSEZ des plats nécessitant approximativement le même temps de cuisson. Cependant, la cuisson de certains plats peut être légèrement « ralentie » en utilisant des petits plats de cuisson et en les recouvrant d'une feuille de papier aluminium, ou « accélérée » en utilisant de plus petites quantités ou des plats de cuisson plus grands.
Évitez d'utiliser des aliments rapidement périssables (poisson, porc, etc.) si vous prévoyez une longue période d'attente, surtout par temps chaud.
Ne placez pas des aliments chauds dans le four.
N'utilisez pas un four déjà chaud.
N'utilisez pas ce mode de cuisson si le four adjacent est chaud.
Evitez d'utiliser du vin ou de la bière si vous prévoyez une période d'attente, ceci afin de prévenir le risque de fermentation.
Pour empêcher la crème de tourner, ajoutez-la aux plats juste avant de servir.
Enduisez les légumes frais de matière grasse fondue ou faites-les tremper dans une solution d'eau et de jus de citron, pour prévenir leur décoloration pendant la période d'attente.
La cuisson des tartes aux fruits, tartes à la crème ou autres mélanges humides sur fonds de tartes non cuits ne donnera de bons résultats que si la période d'attente avant la cuisson est courte. Les plats contenant des restes de viande ou de volaille cuite ne doivent pas être cuits automatiquement si la période d'attente est longue.
Décongelez complètement les volailles entières avant de les mettre au four.
Vérifiez que la viande et la volaille sont complètement cuites avant de les servir.
Four gauche et four droit
Avant d'utiliser l'appareil pour la première fois, réglez les jours sur 230°C et faites-les marcher pendant une heure afin d'éliminer l'odeur de neuf. Pour éliminer l'odeur de neuf, assurez-vous que la pièce est bien aérée, en ouvrant les fenêtres, par exemple, ou en mettant la hotte en marche. Il est recommandé aux personnes souffrant de problèmes respiratoires ou d'allergies de quitter la pièce pendant ce temps.
Pour ne pas endommager le revêtement émaillé intérieur, ne placez pas de moulés à viande ou de plaques de cuisson sur la partie inférieure du four et ne recouvrez pas la sole du four de papier aluminium.
Veillez à ce que les grilles soient toujours insérées à fond dans le four.
Placez les plaques de cuisson, moules à viandes, etc., à niveau, au centre des grilles du four. Éloignez les plaques et les plats de cuisson des bords du four, afin de ne pas trop dorer les aliments.
Pour dorer un plat uniformément, il est recommandé d'utiliser
une plaque de cuisson de dimensions
maximales 340mm× 340mm
La cuisson d'aliments à haute teneur en eau peut produire une « bouffée de vapeur » à l'ouverture de la porte du four. Lorsque vous ouvrez la porte du four, reculez-vous et attendez que la vapeur se soit dissipée.
Lorsque le four est en marche, ne laissez pas la porte du four ouverte plus longtemps que nécessaire, afin de prévenir une surchauffe des boutons de commande.

Laissez toujours un « doigt de largeur » entre des plats placés sur une grille de four. Ceci afin de faciliter la circulation de chaleur autour des plats. - Les panneaux internes autonettoyants (voir la section « Nettoyage de la cuisine ») sont plus efficaces lorsqu'on évite les projections grasses. Couvrez la viande pendant la cuisson. Pour réduire les projections grasses lorsque vous ajoutez des légumes dans la graisse chaude autour d'un rôti, séchez soigneusement les légumes ou enduisez-les d'un peu d'huile à friture. - Si vous souhaitez dorer un fond de tarte, préchauffez une plaque de cuisson pendant 15 minutes avant de placer le plat au centre de la plaque. - Placez les plats susceptibles de bouillir et déborder pendant la cuisson sur une plaque de cuisson.
Fonctions du four multifonctions
Le four Multifonctions permet de nombreuses utilisations variées. Nous vous conseillons de bien surveiller la cuisson jusqu'à ce que vous soyez familiarisé avec chaque fonction. N'oubliez pas : toutes les fonctions ne conviennent pas à tous les types d'aliments.

Réponse rapide
Le réglage Réponse Rapide permet un préchauffage
ultrarapide du four. Elle utilise l'élément du four ventilé et la chaleur supplémentaire d'un des éléments de la voûte du four. Les fours ventilés Rangemaster préchauffent rapidement, mais la fonction Réponse Rapide accélère le préchauffage pour vous permettre de commencer la cuisson plus rapidement.
Pour utiliser la fonction Réponse Rapide, il suffit de tourner le bouton de commande de fonction sur R et de régler à la
température requise. Le voyant sur le panneau de commande à côté du symbole R s'allumera. Lorsque le four aura atteint la température requise, le voyant s'éteindra, ainsi que l'élément dans la voûte du four. L'élément du ventilateur et le ventilateur du four continueront à maintenir la température de cuisson.
Si vous choisissez de placer des aliments dans le four froid avant la cuisson tout en utilisant la fonction Réponse Rapide, veillez à ce que les gâteaux, etc. ne soient pas placés trop haut dans le four.
Comme pour tout type de cuisson, en particulier pour les volailles, viandes et plats préparés, vérifie que les aliments sont bien chauds avant de servir.

Décongélation
Avec cette fonction, le ventilateur du four brasse
uniquement de l'air froid. Il n'y a pas de chaleur. Cette fonction permet de décongeler des aliments, en petites quantités, par exemple des desserts, gâteaux à la crème, morceaux de viande, poisson et volaille.
Ce type de décongélation accélère le processus de décongélation et protège les aliments des mouches. Placez les morceaux de viande, poisson et volaille sur une grille, au-dessus d'une plaque prévue pour l'égouttement. N'oubliez pas de nettoyer la grille et la plaque après décongélation.
La porte du four doit être fermée pendant la décongélation.
Des aliments plus volumineux, tels que des poulets entiers et des rôts, ne doivent pas être décongelés de cette façon. Nous vous conseillons de les décongeler au réfrigérateur.
Ne décongelez pas des alimentés dans un four tiège ou à côté d'un four en marche ou encore chaud.
Vérifiez que les alimentés à base de produits laitiers, de viande et de volaille sont complètement décongelés avant de les cuire.

Four ventilé
- Cette fonction commande le ventilateur et l'élément autour de celui-ci. Une chaleur uniforme est produite dans le four, ce qui permet la cuisson rapide de grandes rés d'aliments.
La cuisson par four ventilé est particulièrement utile pour la cuisson simultanée d'aliments sur plusieurs grilles et est une excellente fonction « polyvalente ». Vous devrez peut-être diminuer la température de 10°C environ pour des plats que vous aviez l'habitude de cuire dans un four conventionnel.
Si vous souhaitez préchauffer le four, attendez que le voyant s'eteigne avant de mettre le plat au four.

Cuisson au four avec grill ventilé
Cette fonction commande le ventilateur pendant que
l'élément chauffant supérieur est en marche. On obtient ainsi une chaleur plus uniforme, moins intense que celle d'un grill conventionnel. Pour obtenir les valeurs résultats possibles, placez les aliments à griller sur une grille sur un plat à rôtir qui doit être plus petit que l'échappatoire de grill conventionnel. Ceci assure une meilleure circulation de l'air. Ce type de cuisson est idéal pour les morceaux de viande ou de poisson écais, car la circulation de l'air diminue l'intensité de la chaleur du grill. La porte du four doit être fermée pendant la cuisson au grill pour éviter un gaspillage d'énergie. Vous constaterez que vous devrez
moins surveiller et tourner les aliments cuits de cette façon. Ce type de cuisson nécessite un préchauffage du four.

Four ventilé mixte
Cette fonction commande le ventilateur et brasse l'air
chauffé par les éléments chauffants de la voûte et de la sole du four. Cette fonction, qui combine la cuisson ventilée et la cuisson conventionnelle (chaleur supérieure et inférieure), est un moyen de cuisson idéal pour les aliments volumineux (gros rôti, par exemple) pour lesquels une cuisson complète est très importante. On peut également faire cuire des plats simultanément sur deux grilles, mais les plats devront être intervertis pendant la cuisson, car, avec cette fonction, la chaleur est plus intense dans la voûte du four qu'au niveau de la sole.
Ce mode de cuisson est intensif et rapide ; surveillez les aliments cuits ainsi jusqu'à ce que vous soyez familiarisé avec cette fonction.

Four conventionnel (chaleur de voûte et de sole)
Cette fonction combine la chaleur fournie par les éléments supérieurs et inférieurs. Elle est particulièrement utile pour la cuisson des aliments rôtis et des pâtes à tartes, gâteaux et biscuits. Les aliments cuits sur la grille supérieure gratineront et doreront plus rapidement que ceux placés sur la grille inférieure car la chaleur est plus intense dans la voûte du four qu'au niveau de la sole, comme dans le cas de la fonction « Four ventilé mixte ». Des aliments similaires cuits ainsi devront être intervertis pour cuire uniformément. Cette fonction permet donc de cuire des aliments nécessitant des températures de cuisson différentes, en utilisant la zone moins chaude dans la partie inférieure du four et la zone plus chaude dans la partie supérieure du four.

Élément gratineur
Cette fonction utilise uniquement l'objet situé dans la voûte du four. C'est une fonction utile pour gratiner ou finir des gratins de pâtes, des légumes en sauce et des lasagnes, le plat à gratiner étant déjà chaud avant la mise en marche de l'objet supérieur.

Chaleur inférieure
Cette fonction utilise uniquement l'élément inférieur. Elle permettra de dorer le fond d'une pizza ou d'une quiche ou de terminer la cuisson d'un fond de tarte sur une grille inférieure. C'est également une chaleur douce, parfaite pour le mijotage de plats placés au milieu du four ou pour réchauffer des assiettes.
Les fonctions Élément gratineur et Chaleur inférieure sont des adjonctions utiles à votre four et vous permettent de finir vos plats à la perfection. Vous constaterez rapidement que leur utilisation contribue à étendre vos compétences culinaires.
Four droit
Le ventilateur dans le four droit brasse l'air chaud continuellement, assurant ainsi une cuisson plus rapide et plus uniforme.
En général, les températures de cuisson recommandées pour un four ventilé sont plus basses que celles pour un four conventionnel.
Grilles de four

Le protège-grille doit être à l'arrière, et pointer vers le haut.
Outre les grilles plates, certains modèles sont fournis avec une grille surbaissée. La grille surbaissée augmente les possibilités d'espacement entre les grilles de four.
Grille plate

Grille surbaissée

Les grilles de four s'insèrent et s'extrait facilement.
Tirez la grille vers l'avant jusqu'à ce que l'arête de la grille soit arrêtée par les butées d'arrêt latérales du four.

Soulevez la partie avant de la grille pour faire passer l'arrière de la grille sous la butée d'arrêt, puis tirez la grille vers l'avant.


Pour remettre la grille en place, mettez la grille à niveau avec une glissière latérale du four, puis insérez la grille à fond jusqu'à ce que les extrémités soient en contact avec la butée d'arrêt de la grille. Soulevez l'avant de la grille pour que les extrémités dépassent les butées, puis abaissez l'avant pour permettre la grille à l'horizontal, avant de l'insérer à fond.
Le Handyrack peut supporter un poids maximum de 5,5 kg. Il ne doit être utilisé qu'avec le moule à viande fourni, qui est spécialement créé pour être utilisé avec le Handyrack. Tout autre récipient de cuisson risque d'être instable.

Le Handyrack se monte uniquement sur la porte du four gauche. Il est facile de surveiller les aliments faisant ainsi car vous pouvez y accéder lorsque la porte est ouverte. Vous pouvez le monter sur deux positions. Retirez une des grilles et placez l'autre selon les besoins.
Lorsque le Handyrack est utilisé sur sa position supérieure maximum, d'autres plats peuvent être cuits sur une grille placée à la position inférieure du four.
Lorsque le Handyrack est utilisé sur sa position inférieure maximum, d'autres plats peuvent être cuits sur une grille placée à la deuxième position du four.
Pour monter le Handyrack, placez un côté sur le support de la porte.


Faites sortir l'autre côte pour l'accrocher sur l'autre support.
Éclairage du four

Appuyez sur le bouton approprié pour allumer l'une des lampes de four.
Si l'une des lampes est défectueuse, mettez la cuisinière hors tension avant de changer l'ampoule. Pour des informations détaillées sur la façon de changer une ampoule, reportez-vous à la section « Dépannage ».
Rangement

Le tiroir inférieur permet le rangement des plaques de cuisson et autres ustensiles de cuisine. Il peut devenir très chaud; n'y rangez pas d'objets susceptibles de fondre ou de s'enflammer. Pour extraire le tiroir, ouvrez-le complètement et tirez vers le haut.

Nettoyage de la cuisinière
Informations importantes
Avant un nettoyage complet, mettez la cuisinière hors tension. N'oubliez pas de la remettre sous tension et de régler l'horloge lorsque le nettoyage est terminé.
N'utilisez jamais de solvants pour peinture, de cristaux de soude, de nettoyants caustiques, de poudres biologiques, d'eau de Javel, de nettoyants chlorés, de produits abrasifs à gros grain ou de sel. Ne mélangez pas plusieurs produits nettoyants, car ils risquent de réagir entre eux et d'avoir des effets nocifs. N'utilisez pas de nettoyeur à vapeur sur votre cuisinière.
Des produits de nettoyage recommandés sont indiqués au « Tableau de nettoyage » à la fin de cette section.
Toutes les parties de la cuisinière peuvent être lavées à l'eau savonnée chaude, mais veillez à prévenir toute infiltration d'eau dans l'appareil.
Brûleurs de table de cuisson
Certains modèles ont un anneau de garniture séparé qui se place sur la tête du brûleur.
Les têtes et chapeaux de brûleurs sont démontables pour faciliter le nettoyage. Vérifiez qu'ils sont complètement secs avant de les remettre en place.
Brûleurs mono-élément


Lors de la remise en place de la tête du brûleur, assurez-vous que l'encoche est en face de l'électrode ou du trou sur le socle. Vérifiez que la tête du brûleur est à niveau et que le chapeau est bien centré sur la tête du brûleur.
Brûleur de wok
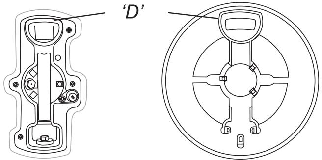
Le brûleur de Wok est un peu plus complexe, mais est aussi démontable à des fins de nettoyage.

Brûleur de wok
Lors du remontage des éléments du brûleur de Wok, retournez le grand anneau de garniture et repérez la partie en forme de « D ».

Tournez la tête jusqu'à ce que le « D » corresponde à celui situé sur le socle du brûleur. Retournez la tête et placez-la sur le socle du brûleur.
Pour monter le petit brûleur interne, trouvez la grande encoche d'électrode sur le bord du brûleur. Alignez-la sur l'électrode d'allumage blanche et placez le brûleur interne sur le grand anneau du socle.

Montez les deux chapeaux de brûleur, en vérifiant qu'ils sont placés correctement.
Table vitrocéramique
La table de cuisson se nettoie très facilement avec un produit recommandé.
ATTENTION: N'utilise pas de produits nettoyants ou tampons de nettoyage abrasifs, aérosols, tampons de nettoyage pour four ou détachants sur la table de cuisson.
Entretien quotidien
Tout d'abord, assurez-vous que les voyants de chaleur résiduelle sont éteints et que la surface de cuisson est froide. Appliquez une petite quantité (2 cm de diamètre environ) de produit nettoyant semi-liquide pour surface vitrocéramique au centre de chaque zone à nettoyer. À l'aide de papier essuie-tout propre et humide, étalez le produit nettoyant sur la surface de cuisson, comme pour nettoyer une vitre. Pour finir, essuyez la surface avec du papier essuie-tout propre et sec.
Nettoyage des déversements accidentels
En cas de déversement ou débordement accidentel pendant la cuisson, éteignez la cusinière et essuyez autour de la zone chaude avec du papier essuie-tout propre. Si les alimentés déversés (autres qu'une substance sucrée) se trouvent dans une zone chaude de la table de cuisson, attendez que cette-ci ait entièrement refroidi pour nettoyer et suivez les instructions ci-dessous (« Nettoyage des déversements brulés »). En cas de fonte accidentelle d'un object ou de déversement d'aliments à force teneur en sucre (confiture, sauce tomate, etc.) sur la table de cuisson, ENLEVEZ IMMEDIATEMENT les alimentés déversés à l'aide d'un racloir à lame pendant que la table est encore chaude. IMPORTANT : Utilisez un gant isolant pour ne pas vous brûler. Raclez le plus gros des alimentés déversés ou de toute matière qui aurait fondu sur la zone de cuisson et poussez-les vers une zone froide. Mettez ensuite la cusinière sur la position Arrêt [OFF] et laissez-la refroidir avant de nettoyer à nouveau. Lorsque la surface de cuisson est refroidie et que les voyants de chaleur résiduelle sont éteints, suivez la procédure de nettoyage quotidien désrite plus haut.
Nettoyage des déversements brûlés
Vérifiez que les voyants de chaleur résiduelle sont éteints et que la table de cuisson a refroidi. Retirez toute matière brûlée à l'aide d'un racloir à lame simple.
Tenez le racloir à un angle d'environ au-dessus de la surface et raclez la matière brûlée comme si vous enleviez la peinture d'une fenêtre.

Important: Procédez avec précaution si vous utilisez un racloir coupant.
Lorsque le plus gros a été enlevé à l'aide du racloir, suivez la procédure de nettoyage quotidien décrite plus haut.
Nettoyage des traces métalliques
Le fait de faire glisser des récipients en aluminium ou en cuivre sur la table de cuisson peut marquer la surface. Ces marques ressemblant souvent à des rayures, mais sont faciles à éliminer au moyen de la procédure de nettoyage des déversements accidentels décrite plus haut. Dans le cas de marques tenaces, utilisez un produit nettoyant semi-liquide et un racloir à lame, en procédant selon la méthode décrite plus haut.
Grill
Lavez la lèchefrite et la grille à l'eau savonneuse chaude. Après les grillades de viandes ou d'aliments salissants, faites tremper dans l'évier, pendant quelques minutes, immédiatement après la cuisson. Les taches tenaces sur la grille peuvent être enlevées à l'aide d'une brosse en nylon. La lèchefrite peut aussi être lavée au lave-vaisselle.
Pour retarder le support de la lèchefrite, tirez la lèchefrite vers l'avant.

Soulevez la l’échefrite du support. Le support est maintenu sur les glissières latérales par deux clips de chaque côté.

Pour chaque côté, soutenez la glissière latérale d'une main et, de l'autre, soulevez le support pour le dégager des clips latéraux.

Par sécurité, repoussez les glissières latérales dans l'enceinte du grill.
Pour faciliter le nettoyage de l'enceinte du grill, vous pouvez retarder les glissières latérales en les décrochant des côtés de l'enceinte. Vous pouvez nettoyer les glissières en les essuyant avec un chiffon doux imbibé de détergent doux.

N'utilisez pas de produit abrasif.
NE LAVEZ PAS les glissières latérales au lave-vaissette.
Après le nettoyage, raccrochez les glissières latérales sur les côtes de l'enceinte du grill. Pour remonter le support, tirez les glissières latérales vers l'avant, et, pour chaque côté, soutenez la glissière et appuyez sur le support pour le réinsérer dans les glissières. Replacez la l'échefrite.
Panneau de commande et portes des fours
N'utilisez pas de produits nettoyants abrasifs, y compris des produits nettoyants semi-liquides (Cif, par exemple) sur les surfaces en acier inoxydable brossé. Les autres résultats s'obtiennent avec des détergents liquides.
Le panneau et les boutons de commande doivent être nettoyés uniquement avec un chiffon doux imbibé d'eau savonneuse chaude. Essuyez avec un chiffon humide propre, puis lustrez à l'aide d'un chiffon sec. Les portes des jours doivent être nettoyées uniquement avec un chiffon doux imbibé d'eau savonneuse chaude.
Tableau nettoyage
Table de cuisson
| Composant | Finition | Méthode de nettoyage recommmandée |
| Surface de la table de cuisson | Email ou acier inoxydable | Eau chaude savonneuse, chiffon doux. FrottezDoucement avec un tampon à récurer en nylon pour éliminer les taches tenaces. |
| Grilles de table de cuisson, et support spécial Wok (selon les modèles) | Fonte à revêtement émaillé | Produit nettoyant semi-liquide Cif (Faberge Lever) et un tampon à récurer en nylon.Lave-vaisselle. |
| Chapeaux de brûleurs | Produit nettoyant semi-liquide, tampon à récurer en nylon. Lave-vaisselle. | |
| Anneaux de garniture (selon les modèles) et têtes de brûleurs | Aluminium | Cif ou autre produit nettoyant semi-liquide avec un chiffon doux. Ne frottez pas trop fort. |
| Plaque à griller (selon les modèles) | Surface antiadhésive | Laissez refroidir. Lavez à l'eau savonneuse chaude. N'utilise pas de produits nettoyants/tampons abrasifs. Lave-vaisselle. |
Table vitrocéramique
| Composant | Finition | Méthode de nettoyage recommmandée |
| Table vitrocéramique | Vitrocéramique | Enlevez tout résidu alimentaire brûlé à l'aide d'un racloir pour table vitrocéramique. Nettoyez avec un produit nettoyant semi-liquide pour vitrocéramique et lustrez avec un chiffon doux. N'utilise pas de produits nettoyants pour vitrocéramique sur le pourtour de la table. Nettoyez le pourtour de la table uniquement avec de l'eau savonneuse chaude et un chiffon doux. |
Extérieur de la cuisinière
| Composant | Finition | Méthode de nettoyage recommmandée |
| Porte, pourtour de portet et extérieur du tiroir derangement | Email ou peinture | Eau savonneuse chaude, chiffon doux.Frottez doucement les tâches tenaces avec un détergent liquide. |
| Acier inoxydable | « Swiss Cleaner » de Kuhn Rikon | |
| Côtés et plinthe | Surface peinte | Eau savonneuse chaude, chiffon doux. |
| Dosseret/Grille arrrière | Email ou acier inoxydable | Eau savonneuse chaude, chiffon doux. Nettoyez soigneusement avec un produit nettoyant semi-liquide, si nécessaire. |
| Panneau de commande | Peinture, émail ou acier inoxydable | Eau tiège savonneuse. Ne pas utiliser de produits nettoyants abrasifs sur les caractères. |
| Boutons de commande/ Poignées | Plastique/Chrome | Eau tiège savonneuse, chiffon doux. |
| Vitre de portedour/ Couvercle en verre | Verre trempé | Eau savonneuse chaude, produit nettoyant semi-liquide, si nécessaire. |
Fours
| Composant | Finition | Méthode de nettoyage recommmandée |
| Côtés, sole et voute du four - PAS LES PANNEAUX AUTONETTOYANTS DE FOUR (Voir ci-dessous) | Tout produit nettoyant pour four utilisable avec l'émail. ATTENTION : PRODUITS NETTYANTS CORROSIFS/CAUSTIQUES POUR FOUR - SUIVEZ LES INSTRUCTIONS DU FABRICANT. Evitez tout contact avec les éléments du four. | |
| Panneaux autonettoyants de four (selon les modèles) | Email spécifique partiellement autonettoyant | Cette surface est autonettoyante à 200°C et plus; vous pouvez aussi retarder les panneaux et les nettoyer avec de l'eau savonneuse chaude et une Brosse en nylon. (Voir la section «Fours » dans « Nettoyage de la cuisine »). |
| Grilles de four, Handyrack, Grille de grill | Chrome | Tout produit nettoyant pour four utilisable avec le chrome. Tampon récureur savonneux. Lave-vaisse. |
| Lèchefrite/Moule à viande | Eau savonneuse chaude. Tampon récureur savonneux. Lave-vaisse. |
Pour les surfaces émaillées, utilisez un produit nettoyant recommendé pour l'émail vitrifié. Un nettoyage régulier est recommandé. Pour faciliter le nettoyage, essuyez les taches immédiatement. Pour éviter les projections grasses dans le four, recouvrez les rôts de papier aluminium ou utilisez un sac de cuisson. Enrobez les légumes de matière grasse avant de les placer autour de la viande.
Fours
Les fours sont dotés de panneaux amovibles à revêtement émaillé qui sont partiellement autonettoyants. Ceci n'empêche pas complètement la formation de taches sur le revêtement, mais réduit le nettoyage manuel nécessaire.
Le nettoyage automatique des panneaux est plus efficace à une température supérieure à 200°C. Si, en général, vous utilisez le four à des températures inférieures, retirez occasionnellement les panneaux et essuyez-les avec un chiffon non pelucheux imbibé d'eau savonneuse chaude. Séchez et replacez les panneaux dans le four chauffé à 200°C pendant environ une heure. Ceci assurera un bon fonctionnement des panneaux autonettoyants.
N'utilisez pas de paille de fer ou tout autre matériel susceptible de rayer la surface. N'utilisez pas de tampons de nettoyage pour fours.
Dépose des panneaux internes de four
Certains panneaux internes de four sont amovibles afin de permettre leur nettoyage et le nettoyage derrière les panneaux. Retirez d'abord les grilles du four.
Les panneaux latéraux des fours peuvent être retirés. Chaque panneau latéral est maintenu en place par quatre vis de fixation. Les panneaux peuvent être retirés sans avoir à enlever les vis. Soulevez chaque panneau latéral pour le décrocher des vis. Tirez-le ensuite vers l'avant.

Après retrait des panneaux internes, vous pouvez nettoyer l'intérieur émaillé du four.
De la vapeur s'échappe du four
Pendant la cuisson d'aliments à haute teneur en eau (frites surgelées, par exemple), un peu de vapeur peut être visible sur la grille arrière. Faites attention en ouvrant la porte du four, une bouffée de vapeur peut s'échapper momentanément à l'ouverture du four. Reculez-vous et attendez que la vapeur se soit dissipée.
Le ventilateur du four est bruyant
Le bruit du ventilateur peut changer pendant le chauffage du four - ceci est tout à fait normal.
Quels sont les produits de nettoyage commandés pour la cuisinière?
Pour plus d'informations sur les produits de nettoyage recommandés, reportez-vous à la section « Nettoyage ». Certains produits nettoyants contiennent des produits chimiques susceptibles d'abimer les surfaces de la cuisinière.
Le gril ne cuit pas correctement
Utilisez-vous la lèchefrite et la grille fournies avec la cuisinière? Utilisez-vous la lèchefrite sur les glissières et non pas directement sur la surface inférieure de l'enceinte du gril? La lèchefrite est-elle insérée à fond jusqu'à la butée?
Lorsque vous tirez la lèchefrite vers l'avant, le bord large est-il à l'avant? Il est important qu'il soit situé à l'avant.

Les boutons de commande deviennent chauds lorsqu je utilise le four ou le gril; comment faire pour empêcher cela?
Ceci est dû à la chaleur provenant du four ou du grill. Ne laissez pas la porte du four ouverte. Lorsque vous utilisez le grill, vérifiez que la lèchefrite du grill est insérée à fond jusqu'à la « butée arrière »
En cas de problème concernant l'installation, si mon installateur d'origine ne peut pas venir résoudre le problème, à qui incombent les frais?
C'est à vous qu'incombent ces frais. Les sociétés d'entretien factureront leurs interventions si elles réparent une installation effectuée par votre installateur d'origine. Il est de votre intérêt de contacter votre installateur d'origine.
Disjoncteurs différentiels
Lorsque l'installation de la cuisinière est protégée par un dispositif pour courant résiduel (DCR) d'une sensibilité de 30 milliampères, l'utilisation combinée de votre cuisinière et d'autres appareils domestiques peut occasionnellement causer des disjonctions fortes. Dans ce cas, il est utile de protéger le circuit de la cuisinière avec un dispositif de 100mA. Cette intervention doit être effectuée par un électricien qualifié.
Panne de courant
En cas de panne de courant, les brûleurs de la table de cuisson peuvent être allumés avec une allumette.
Les alimentés cessent trop lentement, trop rapidement, ou brûlent
Les temps de cuisson peuvent être différents de ceux de votre ancien four. Essayez une cuisson à une autre température.
La cuisson au four n'est pas uniforme
N'utilisez pas de plat ou de plaque de cuisson de dimensions supérieures à 340 mm x 340 mm.
Dans le cas de la cuisson d'un grand plat, vous devrez peut-être le tourner pendant la cuisson.
Si vous utilisez deux grilles, vérifiez qu'il y a assez de place pour permettre à la chaleur de circuler. Lorsque vous insérez une plaque de cuisson dans le four, veillez à la placer au centre de la grille.
Vérifiez que le joint d'étanchéité de la porte n'est pas endommagé et que le loquet de porte est réglé de façon à ce que la porte soit bien appuyée contre le joint.
Un réseau d'eau placé sur la grille doit avoir une profondeur uniforme. (S'il est plus profond à l'arrière, par exemple, l'arête de la cuisinière doit être levé ou l'avant de la cuisinière abaissé). Si la cuisinière n'est pas à niveau, demandez à votre fournisseur de la mettre à niveau.
Le four multifonctions gauche ne s'allume pas lorsqu'il est actionné manuellement.
L'appareil est-il sous tension ? L'horloge est-elle éclairée ?
Si ce n'est pas le cas, l'alimentation électrique est peut-être défectueuse. Le sectionneur de l'alimentation électrique de la cuisinière est-il sur la position Marche?
L'heure a-t-elle été réglée?
Avez-vous sélectionné une fonction pour la cuisson ?
Le symbole clé (l) s'affiche-t-il ? Reportez-vous à la section Horloge des générantes instructions pour un complément d'informations sur la fonction de verrouillage de l'horloge.
Le four multifonctions gauche ne s'allume pas lorsqu'il est actionné automatiquement.
La minuterie est réglée correctement, mais le bouton du four a-t-il été laissé par erreur sur ARRET [OFF] ?
Le symbole clé (l) s'affiche-t-il ? Reportez-vous à la section Horloge des instructions pour un complément d'informations sur la fonction de verrouillage de l'horloge.
Avez-vous sélectionné une fonction pour la cuisson ?
Si le fait de mettre le bouton de réglage sur une température inférieure n'a pas eu d'effet ou a eu un effet temporaire, vous devrez peut-être remplacer le thermostat. Cette intervention doit être effectuée par un spécialiste de l'entretien.
L'éclairage du four ne fonctionne pas
L'ampoule a probablement grillé. Vous pouvez acheter une ampoule de rechange (non couverte par la garantie) dans un magasin d'accessoires électriques.
Demandez une ampoule à culot vissable Edison 15 W 240 V, POUR FOURS. Cette ampoule doit pouvoir résister à une température de 300°C.

Mettez l'appareil hors tension.
Assurez-vous que le four a refroidi. Ouvrez la porte du four et retirez les grilles du four.
Dévissez le couvercle de l'ampoule en tournant en sens anti-horaire. Il peut être très difficile à dévisser.


Dévissez l'ampoule avec précaution, pour ne pas risquer de vous blesser.
Vissez l'ampoule de rechange, puis revissez le couvercle de l'ampoule. Remettez l'appareil sous tension et vérifiez que l'ampoule fonctionne.
Défaillance de l'allumage ou des brûleurs de la table de cuisson
L'appareil est-il sous tension ? L'horloge est-elle éclairée ?
Si ce n'est pas le cas, l'alimentation électrique est peut-être défectueuse.
Les encoches du générateur d’étincelles (électrode d’allumage) ou du brûleur sont-elles obstruées par des débris?
L'anneau de garniture du brûleur est-il placé correctement ?
Les chapeaux des brûleurs sont-ils placés correctement?
Voir la section «Nettoyage de la cuisinière»
Les brûleurs de la table de cuisson ne s'allument pas
Assurez-vous que les éléments du brûleur ont été replacés correctement après avoir été essuyés ou retirés pour nettoyage. Vérifiez que l'alimentation en gaz n'est pas défectueuse. Pour ce faire, vérifiez que le fonctionnement de vos autres appareils à gaz. Les brûleurs produisent-ils une étincelle lorsque vous appuyez sur le bouton? Si ce n'est pas le cas, vérifiez que la cuisinière est sous tension – l'horloge est-elle éclairée?
Consignes générales de sécurité
Cet appareil doit être installé par une personne compétente, conformément aux instructions d'installation. L'installation doit être conforme aux réglementations en vigueur, ainsi qu'aux prescriptions de la Compagnie d'électricité locale.
Ouvrez portes et fenêtres pour évacuer le gaz appelez votre fournisseur de gaz.
Cette cuisinière est donc uniquement pour un usage domestique. Toute autre utilisation n'engage ni la responsabilité, ni la garantie du fabricant.
L'utilisation d'un appareil de cuisson à gaz produit de la chaleur et de l'humidité dans la pièce contenant l'appareil. Veillez à ce que la cuisine soit bien ventilée : laissez les ouvertures de ventilation naturelle ouvertes ou installez un dispositif de ventilation mécanique (hotte d'extraction mécanique).
Une utilisation intensive prolongée de l'appareil peut nécessiter une ventilation supplémentaire (ouverture d'une fenêtre, par exemple) ou une ventilation plus efficace (augmentation de la puissance du dispositif d'extraction mécanique, par exemple).
La cuisinière doit faire l'objet d'un entretien effectué par un technicien d'entretien qualifié, lequel doit utiliser uniquement des pièces de rechange approuvées. Demandez à l'installateur de vous indiquer l'emplacement du commutateur de commande de la cuisinière. Notez cet emplacement à des fins de référence. Laissez toujours la cuisinière refroidir et mettez-la hors tension avant de la nettoyer ou d'effectuer une intervention d'entretien, sauf indication contraire dans les générales instructions.
Toutes les parties de la cuisinière deviennent chaudes lorsque l'appareil est en marche et resteront chaudes même lorsque la cuisson est terminée.
Prenez garde lorsque vous touchez la cuisinière; pour limiter les risques de brûlure, vérifiez toujours que les commandes sont sur ARRET (OFF) et que la cuisinière a refroidi avant de la nettoyer.
Au besoin, utilisez des gants de cuisine secs - l'emploi de gants humides risque de causer des brûlures dues à la vapeur lors du contact avec une surface chaude. Ne faites jamais fonctionner la cuisinière avec les mains mouillées.
N'utilisez pas de torchon ou autre chiffon épais à la place d'un gant de cuisine. Ils risquent de s'enflammer au contact d'une surface chaude.
Nettoyez avec précaution. Si vous utilisez une éponge ou un chiffon humide pour essuyer des taches sur une surface chaude, prenez garde aux brûlures par la vapeur. Certains produits nettoyants peuvent produire des vapeurs nocives au contact d'une surface chaude.
N'utilisez pas des casseroles instables et tournez les manches vers l'intérieur de la table de cuisson.
Ne laissez jamais les bébés, les tout-petits et les jeunes enfants s'approcher de la cuisinière. Ne les laissez jamais s'asseoir ni monter sur une partie de la cuisinière. Apprenez-leur à ne pas jouer avec les commandes ou avec une partie quelconque de la cuisinière.
Ne rangez jamais dans des placards au-dessus d'une cuisinière quoi que ce soit susceptible d'attirer l'attention des enfants - des enfants grimpant sur une cuisinière pour atteindre des objets risquent de se blesser gravement.
Nettoyez uniquement les composants indiqués dans les instructions.
Pour des raisons d'hygiène et de sécurité, la cuisinière doit toujours être propre, afin de prévenir le risque d'incendie causé par l'accumulation de graisse et autres particules alimentaires.
Veillez à ce que les revêtements muraux inflammables, rideaux, etc. soient toujours suffisamment éloignés de la cuisinière.
N'utilise pas d'aerosols à proximité de la cuisinière lorsque celle-ci est en marche.
N'entreposez pas de matériaux combustibles ou de liquides inflammables à proximité de la cuisinière.
N'utilisez pas d'eau pour éteindre les incendies dus à la graisse. Ne soulevez jamais un réipient de cuisson qui a pris feu. Éteignez la cuisinière. Étouffez un réipient qui a pris feu sur une table de cuisson, en le recouvrant complètement avec un couvercle de taille appropriée ou une plaque de cuisson. Si possible, utilisez un extincteur à poudre chimique ou à mousse de type polyvalent.
Ne laissez jamais la cuisinière en marche sans surveillance si les brûleurs de la table de cuisson sont réglés sur haute température. Le débordement des récipients peut produire de la fumée et des taches de gras qui risquent de s'enflammer.
Ne portez pas de vêtements amples ou flottants lorsqu vous utilisez la cuisinière. Prenez garde lorsque vous essayez d'atteindre des objets dans des placards situés au-dessus de la table de cuisson. Des matériaux inflammables risquent de s'enflammer au contact d'une surface chaude et de provoquer des brûlures graves.
Faites très attention lors du chauffage des graisses et des huiles car celles-ci risquent de s'enflammer en cas de surchauffe. Si possible, utilisez un thermomètre à bain de friture pour prévenir une surchauffe de l'huile au-delà du point de fumée.
Ne laissez jamais une friteuse sans surveillance. Faites toujours chauffer l'huile lentement, en la surveillant. Les friteuses ne doivent être remplies qu'à un tiers de leur capacité. Une friteuse trop pleine peut déborder lorsqu'on y plonge des aliments. Si vous utilisez un mélange d'huile et de graisse pour la friture, mélangez-les avant de chauffer, ou pendant la fonte des graisses.
Les aliments à frire doivent être le plus sec possible. La présence de cristaux de glace sur des aliments congelés ou d'humidité sur des aliments frais peut provoquer une ébullition et un débordement de l'huile. Surveillance attentivement pour prévenir les débordements et la surchauffe pendant la friture à haute ou moyenne température. N'essayez jamais de déplacer un réseau de cuisson contenant de l'huile chaude, en particulier une friteuse. Attendez que l'huile ait refroidi.
Lorsque le grill est en marche, ne vous servez pas de la grille d'évacuation (la grille le long de la partie arrière de la cuisine) pour réchauffer des assiettes ou des plats, sécher des torchons ou ramollir du beurre.
Si vous utilisez un appareil électrique à proximité de la table de cuisson, veillez à ce que le cordon de l'appareil n'entre pas en contact avec la table de cuisson.
Veillez à prévenir toute infiltration d'eau dans la cuisine.
Seuls certains types de bénépents en verre, vitrocéramique, terre cuite ou autres bénépents émaillés peuvent être utilisés sur la table de cuisson; les autres risquent de se briser en raison du changement soudain de température.
N'autorisez personne à grimper, se tenir ABOUT ou s'accrocher sur ou à une partie de la cuisinière.
Pour ne pas endommager le revêtement émaillé intérieur, ne placez pas de moules à viande ou de plaques de cuisson sur la partie inférieure du four et ne recouvrez pas la sole du four de papier aluminium. Ne recouvrez pas les grilles, les panneaux internes ou la voûte du four de papier aluminium.
Veillez à ce que la cuisine soit bien ventilée en permanence. Utilisez des extracteurs ou des hottes aspirantes dans la mesure du possible.
Ne chauffez jamais des récipients alimentaires qui n'ont pas été ouverts. La pression accumulée à l'intérieur du récipient peut le faire éclater et blesser l'utilisateur.
La cuisine est conçue uniquement pour la cuisson domestique et ne doit pas être utilisée à d'autres fins.
N'UTILISEZ PAS le four pour chauffer la cuisine ; non seulement c'est un gaspillage d'énergie, mais il peut y avoir surchauffe des boutons de commande.
Lorsque le four est en marche, NE LAISSEZ PAS la porte du four ouverte plus longtemps que nécessaire.
Les caractéristiques techniques de cette cuisine ne doivent pas être modifiées.
Cet appareil est lourd ; prenez garde lorsqu vous le déplacez. Lorsque la cuisinière n'est pas utilisée, vérifiez que les boutons de commande sont sur la position Arrêt (Off).
Entretien et pièces de rechange
Veuillez remplir la fiche technique ci-dessous et la conserver à des fins de référence ultérieure – cette information nous permettra d'identifier exactement votre cuisinière et de mieux répondre à vos besoins. Cette fiche vous fera gagner du temps et vous sera très utile plus tard en cas de problème concernant votre cuisinière. Nous vous conseillons également de conserver votre facture d'achat avec la présente brochure. Vous devrez peut-être présenter cette facture pour valider une visite sur place dans le cadre de la garantie.
| Type de combustible : Mixte |
| Nom de l'appareil : Falcon Classic Deluxe 110 |
| Couleur de l'appareil* |
| Numéro de série de l'appareil* : |
| Nom et adresse du détaillant : |
| Date d'achat : |
| Nom et adresse de l'installateur : |
| Date d'installation : |
- Cette information figure sur le badge technique de l'appareil.
En cas de problème
Dans le cas où vous auriez un problème avec votre cuisine, veuillez d'abord suivre la suite de la présente brochure, en particulier la section de dépannage, pour vérifier que l'appareil est utilisé correctement.
Si le problème persiste, contactez votre fournisseur.
Remarque
Si votre appareil n'est plus couvert par la garantie, notre fournisseur de services d'entretien peut vous facturer cette visite.
Si vous devez appeler un technicien d'entretien et si le défaut n'est pas la responsabilité du fabricant, notre fournisseur de services d'entretien se réserve le droit de facturer son intervention.
Les rendez-vous non respectés par le client peuvent être facturés.
Après la période de garantie
Nous recommandons un entretien périodique de nos appareils pendant toute leur vie utile afin de garantir des performances et une efficacité optimales.
Les travaux d'entretien doivent être effectués uniquement par des personnes techniquement compétentes et qualifiées.
Pièces de rechange
Pour garantir une performance optimale et sûre, nous recommandons l'utilisation exclusive de pièces d'origine. N'utilisez pas de commandes de gaz remises à neuf ou non autorisées. Contactez votre fournisseur.
Cette cuisinière est conçue uniquement pour un usage domestique. Toute autre utilisation n'engage ni la responsabilité, ni la garantie du fabricant.
Avant l'installation, vérifiez que la cuisinière convient au type de gaz et à la tension d'alimentation électrique. Reportez-vous au badge technique de la cuisinière.
Vérifiez le type de gaz prévu pour votre cuisinière sur le badge technique.
Modification
Cet appareil est de catégorie : -
G 20 20 millibars
CAT II2E3+
Un kit de modification permettant l'utilisation d'autres gaz est fourni avec la cuisinière. Si la cuisinière doit être modifiée pour fonctionner avec un autre gaz, nous recommandons d'effectuer cette modification avant l'installation. Reportez-vous aux Instructions de modification fournies avec le kit de modification. Après modification de l'appareil, veuillez apposer l'étiquette de modification sur la partie appropriée du badge technique, pour permettre d'identifier le type de gaz utilisé pour l'installation de la cuisinière.
Mesures/règlements de sécurité
Cet appareil doit être installé par une personne compétente. L'installation doit être conforme aux réglementations en vigueur, ainsi qu'aux prescriptions de la Compagnie d'électricité locale. Lisez les instructions avant d'installer ou d'utiliser cet appareil.
Dans votre intérêt et par souci de sécurité, légalement, tous les appareils à gaz doivent être installés par des personnes compétentes. Une installation incorrecte n'engage ni la responsabilité, ni la garantie du fabricant, et peut donner lieu à des poursuites.
Avant l'installation, vérifie que la cuisinière convient au type de gaz et à la tension d'alimentation électrique. Reportez-vous au badge technique.
Installe la cuisinière dans un endroit bien ventilé.
Ventilation
Cet appareil n'est pas raccordé à un dispositif d'évacuation des produits de combustion. Il doit être installé et raccordé conformément à la réglementation en vigueur concernant l'installation. Prêtez particulièrement attention à la réglementation en vigueur concernant la ventilation.
Respectez la réglementation locale sur la ventilation, mais au minimum :
Toutes les pièces nécessitent une fenêtre ouvrable ou un dispositif équivalent, et certaines pièces nécessitent une mise à l'air libre permanente en plus de la fenêtre ouvrable. La cuisinière ne doit pas être installée dans une chambre-salon de volume inférieur à 20 m3. En cas d'installation dans une pièce de volume inférieur à 5 m3, une mise à l'air libre de surface utile de 100 cm2 est nécessaire ; en cas d'installation dans une pièce de volume entre 5 m3 et 10 m3, une mise à l'air libre de surface utile de 50 cm2 est nécessaire ; si le volume est supérieur à 11 m3, aucune mise à l'air permanente n'est nécessaire. Cependant, si la pièce a une porte ouvrant directement sur l'extérieur, aucune mise à l'air libre permanente n'est nécessaire, même pour une
pièce entre 5 m3 et 10 m3. Si la pièce contient d'autres appareils à combustible, une ventilation supplémentaire peut être nécessaire.
Emplacement de la cuisinière
La cuisinière ne peut être installée dans une cuisine/un salon-cuisine, mais PAS dans une pièce contenant une baignoire ou une douche.
Remarque:
Un appareil utilisable avec du gaz de pétrole liquéfié (GPL) ne doit pas être installé dans une pièce ou un espace intérieur souterrain, par exemple dans un sous-sol.
Positionnement de la cuisinière
Les schémas indiquent les cotes minimales recommandées entre la cuisinière et les surfaces adjacentes.
Ne placez pas la cuisinière sur un support.

Le pourtour de la table de cuisson doit être au niveau ou au-dessus de tout plan de travail adjacent. Au-dessus du niveau de la table de cuisson, laissez un espace de 75 mm entre chaque côté de la cuisinière et toute surface verticale adjacente.
Pour les surfaces non combustibles (telles que le métal non peint ou les carrelages), cette cote peut être de 25 mm.
Laissez un espace de 650 mm au minimum entre la partie supérieure de la table de cuisson et une surface horizontalement combustible.

- Toute hotte de cuisinière doit être installée conformément aux instructions du fabricant de hotte.
Les surfaces des meubles et des murs de chaque côté et à l'arrête de l'appareil doivent être résistantes à la chaleur, aux éclaboussures et à la vapeur. Certains types de meubles de cuisine en vinyle ou en stratifié sont particulièrement susceptibles aux risques de dommages thermiques et de décoloration. Nous déclinons toute responsabilité pour des dommages résultant d'une utilisation normale de la cuisinière.
et subsis par des matériaux qui se décollent ou se décolorent à des températures de moins de 65°C au-dessus de la température ambience.
Par mesure de sécurité, ne placez pas de rideaux directement derrière la cuisinière.
Nous recommandons de laisser un espace de 1 110 mm entre les unités pour permettre le déplacement de la cuisinière. La cuisinière ne doit pas être encastrée. Elle doit pouvoir être déplacée vers l'avant et vers l'arrière pour le nettoyage et l'entretien.
Si la cuisinière est près d'un coin de la cuisine, un dégagement de 130mm est nécessaire pour permettre l'ouverture des portes du four. La cote d'ouverture des portes est légèrement inférieure à ce dégagement, mais ceci inclut une marge de sécurité pour la protection des mains lors de l'ouverture de la porte.

Déballage de la cuisinière
N'enlevez : aucun emballage de la cuisinière tant que celle-ci n'est pas directement en face de l'emplacement où elle sera installée (sauf si, dans son emballage externe, la cuisinière ne peut pas passer par une porte).
Coupez les courroies d'emballage et ôtez le carton recouvrant la cuisinière, mais laissez la cuisinière sur le plateau d'emballage. Reportez-vous à la feuille d'instructions de déballage fournie.
Déplacement de la cuisinière
La cuisinière est très lourde. Faites très attention.
Nous recommandons de faire appel à deux personnes pour déplacer la cuisinière. Assurez-vous que le revêtement du sol est solidement fixé en place ou retirez-le afin de ne pas l'abimer en déplaçant la cuisinière. Vous devrez utiliser l'outil de mise à niveau.
Depuis l'arrière, inclinez la cuisinière vers l'avant et retirez la partie arrière du socle d'emballage en polystyrène.

Répétez cette procédure à l'avant et retirez la partie avant du socle. Tirez le tiroir jusqu'à la butée.
Insérez l'outil de mise à niveau dans le dispositif de réglage rectangulaire comme illustré ci-dessous.
ABAISSEZ LE GALET AVANT en effectuant 14 tours complets (360^) en sens inverse. (Tournez et retirez l'outil de mise à niveau 56 fois).
ABAISSEZ LES DEUX GALETS ARRIERE.
Insérez d'abord l'outil de mise à niveau dans l'écrou de réglage hexagonal comme illustré ci-dessous.
Effectuez 10 tours complets (360^) en sens horaire. (Tournez et retirez l'outil de mise à niveau 20 fois).
Assurez-vous d'abaisser les DEUX GALETS ARRIERE. Il y a deux écrous de réglage, un pour chaque galet, aux coins avant inférieurs de la cuisine. Dépliez le bord arrêté du plateau d'emballage. Inclinez la cuisinière vers l'avant avec précaution pour la dégager de son socle d'emballage. Poussez la cuisinière près de sa position
finale, en laissant juste assez de place pour pouvoir avoir accès à l'arrêté.

Modification en vue de l'utilisation d'un autre gaz
À ce stade, vous devez effectuer la modification nécessaire si vous souhaitez utiliser la cuisinière avec un autre type de gaz. Reportez-vous aux instructions fournies avec le kit de modification.
Mise à niveau
Nous vous recommandons d'utiliser un niveau à bulle placé sur l'une des grilles de four pour vérifier le niveau.
Placez la cuisinière à l'emplacement prévu pour son installation, en veillant à ne pas exercer de force de torsion lorsque vous l'insérez entre les éléments de cuisine, pour ne pas l'endommager ou endommager les éléments.
Les galets réglables permettent la mise à niveau de la cuisinière. Pour régler la hauteur de l'arrière de la cuisinière, utilisez l'outil de mise à niveau fourni pour tourner les écrous de réglage aux coins avant inférieurs de l'appareil.
Réglez la hauteur du galet avant pour permettre la cusinière à niveau. Tournez en sens horaire pour lever la cuisinière et en sens anti-horaire pour l'abaisser.
Lorsque la hauteur et le niveau sont corrects, levez l'avant de la cuisinière d'un tour du dispositif de réglage du galet avant.
Dévissez les supports avant jusqu'à ce qu'ils touchent le sol. Vissez le dispositif de réglage du galet avant en sens anti-horaire pour remonter le galet avant, de sorte que l'avant de la cuisinière repose sur les supports, et non pas sur le galet avant, afin de prévenir tout mouvement accidentel de la cuisinière.
Laissez l'outil de mise à niveau sur le dispositif de réglage avec la poignée tournée vers l'arrière de la cuisinière, pour que le client puisse l'utiliser, s'il le désire, pour déplacer l'appareil.
Replacez le tiroir après l'avoir inséré sur les glissières latérales.
Montage des poignées
Déposez les vis Allen 4 mm des portes à l'aide de la clé hexagonale. Vissez les poignées de porte.
Les poignées doivent être au-dessus des fixations.

Déposez les vis Allen 4 mm des coins supérieurs du panneau avant et montez la barre ornamentale avant.
Montage du dosseret (option)
Déposez les deux vis de fixation (vis à pans creux hexagonales 3 mm) et les écrous qui traversent la partie supérieure de la grille arrière. Maintenez le dosseret en place. D’arrière, replacez les 2 vis et les écrous.
Dispositif stabilisateur
Un dispositif stabilisateur doit être monté sur la cuisinière si celle-ci est alimentée en gaz par un tuyau flexible. Tout dispositif stabilisateur doit être attaché à la structure de la pièce et doit pouvoir être défait pour permettre le déplacement de la cuisinière à des fins de nettoyage ou d'entretien.
Tuyau flexible de gaz
Un robinet d'isolement de gaz doit être monté entre l'alimentation en gaz et le tuyau flexible de raccordement. Le tuyau flexible (non fourni avec la cuisinière) doit être conforme aux normes en vigueur. En cas de doute, contactez votre fournisseur.
Le raccord d'admission de la cuisinière est de type interne ISO 7-1. Si le raccordement doit être de type ISO 228-1, utilisez le raccord d'adaptation ISO 7-1-ISO 228-1 fourni dans le kit de modification. Appliquez un produit d'étanchéité pour filetage approprié à l'extrémité ISO 7-1.

Vissez le raccord dans l'admission de la cuisinière et serrez manuellement. À l'aide de deux outils appropriés, l'un placé au niveau de l'admission située sur la cuisinière, pour assurer sa stabilité, et l'autre sur le raccord, vissez le raccord dans l'admission.
Couple minimum 15 Nm. Couple maximum 20Nm. Raccordement du tuyau flexible au connecteur.
Le tuyau doit être monté de sorte que les raccords d'entrée et de sortie soient verticaux pour que le tuyau pendente en forme de « U »
Il est difficile de donner des cotes précises, étant donné que la hauteur de la cuisinière est réglable et que chaque raccordement est différent. Idéalement, le raccord d'alimentation domestique doit être dans la partie ombragée indiquée sur le schéma.
représentant l'arrière de l'appareil (« B » sur le schéma). Sinon, effectuez un raccordement latéral.

Vue arrière
A admission de gaz de l'appareil B emplacement du raccord d'alimentation en gaz
Lorsque le raccordement est terminé, effectuez un essai de pression pour contrôler l'étanchéité de la cuisinière. Lors du contrôle de l'étanchéité, n'utilisez pas de liquide détergent pour vaisselle, qui risque d'endommager le matériel. Utilisez un produit conçu spécifiquement pour la détection des fuites.
ATTENTION : N'UTILISEZ PAS DE FLAMME POUR DETECTOR LES FUITES DE GAZ.
Essai de pression
Raccordez la cuisine à l'alimentation en gaz. Contrôlez l'étanchéité de l'appareil.
La pression de gaz peut être mesurée au niveau d'un des gicleurs des brûleurs de la table de cuisson centrale. Retirez la tête d'un des brûleurs. Montez le manomètre sur le gicleur. Allumez le brûleur de la table de cuisson et allumez un des autres brûleurs.
Après avoir vérifié la pression, fermez les robinets et replacez la tête du brûleur.
Replacez le chapeau du brûleur, en veillant à le remonter correctement sur le corps du brûleur.
Raccordement électrique
Cette cuisinière doit être installée par un électricien qualifié, conformément à la réglementation en vigueur et aux prescriptions de la Compagnie d'électricité locale.
MISE EN GARDE : CET APPAREL DOIT ETRE MIS A LA TERRE
Remarque
La cuisinière doit être raccordée à l'alimentation électrique correcte, indiquée sur l'étiquette de tension sur l'appareil, par le biais d'une unité de commande de cuisinière appropriée à interrupteur bipolaire (avec une séparation de contact de 3 mm au minimum entre les pôles). Cette cuisinière ne doit pas être raccordée à une prise d'alimentation domestique ordinaire.
La charge électrique totale de cet appareil est de 11,1 kW à 230 VCA.
Il doit être raccordé à une alimentation électrique monophasée ou multiphasée permettant une intensité maximale d'au moins 48 Ampères. (Sauf si les réglementations locales permettent de réduire cette charge par l'application de facteurs de diversité).
Alimentations triphasées
En raison des charges de phase, l'appareil ne doit pas être accorder à une alimentation triphasée plus neutre (3N) 16 A maximum par phase.
Pour les raccordements multiphasés, l'appareil doit être raccordé uniquement à une alimentation triphasée plus neutre (3N) avec une capacité d'alimentation de 25 A par phase.
Le câblage doit permettre les charges maximales approximatives suivantes sur chaque phase : -
| Phase 1 | 21,3 Ampères |
| Phase 2 | 16,4 Ampères |
| Phase 3 | 10,3 Ampères |


230VAC 50Hz
3N AC 230/400V 50Hz
Pour accéder au bornier d'alimentation secteur, retirez le boîtier électrique sur le panneau arrière. Raccordez les câbles d'alimentation secteur aux bornes correctes pour votre type d'alimentation électrique (voir fig.). Vérifiez que les connecteurs sont montés correctement et que les vis des bornes sont bien serrées. Fixez le câble d'alimentation secteur à l'aide du serre-câble.
Ces appareils sont de type X pour ce qui est de la protection contre la surchauffe des surfaces adjacentes.
Disjoncteurs différentiels
Lorsque l'installation de la cuisinière est protégée par un dispositif pour courant résiduel (DCR) d'une sensibilité de 30 milliampères, l'utilisation combinée de votre cuisinière et d'autres appareils domestiques peut occasionnellement causer des disjonctions fortuites. Dans ce cas, il est utile de protéger le circuit de la cuisinière avec un dispositif de 100mA. Cette intervention doit être effectuée par un électricien qualifié.
Table de cuisson
Contrôlez le fonctionnement de chaque brûleur. Un dispositif de sécurité coupe l'alimentation en gaz du brûleur en cas d'extinction de la flamme et un dispositif d'allumage est activé lorsqu'on appuie sur le bouton de commande. Pour chaque brûleur, mettez le bouton de commande sur le symbole grande flamme. Appuyez sur le bouton de commande pour activer l'alimentation en gaz du brûleur. Le gaz doit s'éclairer. Continuez d'appuyer sur le bouton de commande pendant 10 secondes environ.
Si le brûleur s'éteint lorsque vous relâchez le bouton de commande, le dispositif de sécurité n'a pas été enclenché. Attendez une minute, puis essayez de nouveau en appuyant un peu plus longtemps sur le bouton de commande.
Contrôle des fours
L'horloge doit être réglée sur l'heure actuelle pour que le four Multifonctions gauche puisse fonctionner.
Pour le réglage de l'horloge, voir la section « Horloge »
Allumez les fours. Vérifiez que le ventilateur du four ventilé se met en marche et que le four commence à chauffer. Eteignez les fours.
Montage de la plinthe
Montez la plinthe intérieure à l'avant inférieur de la cuisine à l'aide des cinq vis fournies.

Montez la plinthe extérieure (une vis à chaque extrémité) sur la plinthe intérieure. Une encoche permet d'ajuster la position de la plinthe extérieure, qui peut être déplacée vers le haut ou le bas.

À plinthe intérieure, B plinthe extérieure, C vis fixant la plinthe extérieure
Conseils à la clientèle
Veuillez indiquer vos coordonnées au début de cette section. Veuillez indiquer au client comment faire fonctionner la cuisinière et lui remettre les générales instructions.
Entretien
AVANT TOUTE INTERVENTION D'ENTRETIEN SUR UN COMPOSANT D'ALIMENTATION EN GAZ. COUPEZ LE GAZ.
Contrôlez l'étanchéité de l'appareil une fois l'intervention d'entretien terminée. Lors du contrôle de l'étanchéité, n'utilisez pas de liquide détergent pour vaisselle, qui risque d'endommager le matériel. Utilisez un produit conçu spécifiquement pour la détection des fuites.
N'utilisez pas de commandes de gaz remises à neuf ou non autorisées.
Débranche l'alimentation électrique avant toute intervention d'entretien, notamment si vous devez retirer un des éléments suivants : panneau de commande, panneau latéral, plaque de cuisson ou tout composant ou boîtier électrique.
Avant de rebrancher l'alimentation électrique, effectuez les contrôles de sécurité nécessaires.
Remarque - Les références au four gauche et droit s'entendent vu de l'avant.
1 Dépose du panneau de commande
Débranchez l'appareil de l'alimentation électrique.
Retirez tous les boutons de commande.
Ouvrez la porte du gril et du four côté et retirez les 4 vis de fixation au-dessous du panneau de commande.

Déposez la barre ornamentale en dévissant les 2 vis de fixation des supports d'extrémité.

Retirez les 2 vis cruciformes qui étaient cachées par les supports d'extrémité de la barre ornementale.
Le panneau de commande devrait s'abaisser légèrement. Il est maintenu sur la partie supérieure par deux trous sur le bord supérieur, un de chaque côté, qui s'insèrent sur des languettes sur le panneau intérieur.
Décrochez le panneau de commande du panneau intérieur et tirez-le vers l'avant.
Débranche le câblage à l'arrière.
Remontez en procédant dans l'ordre inverse. Pour rebrancher les fils électriques, reportez-vous au schéma de câblage. Contrôlez le fonctionnement de la minuterie.
2. Dépose de la table de cuisson
Débranche l'appareil de l'alimentation électrique.
Attention
Le matériel de la table de cuisson craint beaucoup plus les rayures sur le dessous que sur le dessus de la table.
Veillez à ne pas toucher ni rayer le dessous de la surface en vitrocéramique, ce qui diminuerait sa résistance et pourrait faire éclater la surface de cuisson.
Retirez les grilles de la table de cuisson et les têtes des brûleurs. Retirez les vis de fixation des brûleurs sur la table de cuisson.
Retirez les 6 vis et les 2 goujons de fixation de la table de cuisson sur le chassis.

Tout en veillant à ne pas endommager les électrodes du brûleur, soulevez avec précaution la table de cuisson, débranchez le fil de terre (situé à l'arrière, à droite) de la traverse arrière et retirez la table de cuisson.
Remontez en procédant dans l'ordre inverse, en veillant à rebrancher les fils. Veillez à ne pas endommager les électrodes d'allumage des brûleurs.
N'oubliez pas de rebrancher les fils de terre lors de la remise en place des vis de fixation, car ils font partie intégrante de la mise à la terre de la cuisinière.
Contrôlez le fonctionnement des brûleurs.
3. Dépose des panneaux latéraux
Débranchez l'appareil de l'alimentation électrique.
Déposez le panneau de commande – voir 1. Tirez la cuisinière vers l'avant. Retirez les 4 vis de fixation sur chaque panneau (1 à l'avant du socle, 1 en haut et 2 à l'arête).
Remontez en procédant dans l'ordre inverse.
4. Dépose de l'interrupteur d'éclairage
Débranchez l'appareil de l'alimentation électrique.
Déposez le panneau de commande – voir 1.
N. B. L'interrupteur d'usage peut être endommagé pendant la dépose. Pour extraire l'interrupteur de l'encadrement, maintenez le corps de l'interrupteur depuis l'arrête du panneau de commande et tournez d'un coup sec. Pour extraire l'encadrement, repliez ses languettes de fixation et poussez-le vers l'avant. Pour monter le nouvel encadrement sur le panneau de commande, alignez d'abord la clavette saillante sur le corps de l'encadrement et la découpe sur le panneau de commande, puis enfoncez pour insérer l'encadrement. Pour monter le nouvel interrupteur sur l'encadrement, alignez les parties-clés et enfoncez pour insérer. Enfoncez le nouveau bouton depuis l'avant.
Remontez le panneau de commande en procédant dans l'ordre inverse et contrôlez le fonctionnement de l'interrupteur.
5 Remplacement d'un contacteur d'allumage
Remplacez le robinet de gaz comme indiqué à la Section 9.
6. Dépôt de l'horloge
Débranchez l'appareil de l'alimentation électrique.
Déposez le panneau de commande (voir 1). Tirez pour retirer les boutons de commande de la minuterie.
Pour détacher l'ensemble minuterie/support du panneau de commande, retirez les deux vis de fixation.
Pour détacher la minuterie de son support de montage, appuyez sur les languettes en plastique situées sur le boîtier de la minuterie tout en tirant la minuterie vers l'avant.
Remontez en procédant dans l'ordre inverse. Pour rebrancher les fils électriques, reportez-vous au schéma de câblage. Contrôlez le fonctionnement de la minuterie.
7. Dépose d'un thermostat
Débranchez l'appareil de l'alimentation électrique.
Déposez le panneau de commande et la table de cuisson (voir 1 & 2). Ouvrez la porte du four. Retirez les accessoires du four et tirez sur le panneau de voute pour l'extraire (le cas échéant). Tirez la cuisinière vers l'avant pour accéder au boîtier situé à l'arrière de la cuisinière. Retirez les quatre vis de fixation du boîtier et retirez celui-ci. Le tube capillaire du thermostat du four est fixé à la plaque arrière du four par une plaque de mise à la terre. Retirez les vis et la plaque.

Four droit
Retirez le couvercle du tube en verre du thermostat (2 vis). Dégagez le tube en verre des clips de retenue à l'arrière du four.
Sortez le tube capillaire du four. Débranchez le câblage du thermostat. Retirez les deux vis de fixation du thermostat sur le panneau de montage. Remplacez le thermostat et remontez en procédant dans l'ordre inverse. Vérifiez que le tube en verre est bien fixé à l'arête du four et qu'il est centré entre les clips.
N'oubliez pas de remonter la plaque de mise à la terre.
Contrôlez le fonctionnement du thermostat.
8. Remplacement du régulateur de grill ou de table vitrocéramique
Débranchez l'appareil de l'alimentation électrique.
Déposez le panneau de commande et la table de cuisson (voir 1 & 2). Débranchez le câblage du régulateur. Retirez les deux vis de fixation du régulateur sur le panneau de montage. Placez le nouveau régulateur et remontez en procédant dans l'ordre inverse. Contrôlez le fonctionnement du régulateur.
AVANT TOUTE INTERVENTION SUR UN COMPOSANT D'ALIMENTATION EN GAZ, COUPEZ LE GAZ.
9. Dépose d'un robinet de table de cuisson
Débranche l'appareil de l'alimentation électrique.
Déposez le panneau de commande et la table de cuisson (voir 1 & 2).
Débranchez le fil du dispositif de sécurité (FSD) de l'arrière du robinet. Dévissez le raccord de compression situé à l'arrière du robinet. Retirez les fixations du robinet sur la conduite de gaz. Débranchez le câblage du contacteur d'allumage.
Retirez le robinet. Retirez le joint et jetez-le. Montez un joint neuf sur le robinet de rechange. Remontez en procédant dans l'ordre inverse. Contrôlez l'étanchéité de l'appareil. Contrôlez l'allumage de la table de cuisson.
10. Remplacement d'un injecteur de brûleur de tableau de cuisson
Retirez le chapeau et la tête du brûleur. Retirez le gicleur d'usage. Placez le nouvel injecteur. Remontez en procédant dans l'ordre inverse. Contrôlez l'étanchéité de l'appareil.
11. Remplacement d'une électrode de brûleur de tableau de cuisson
Retirez les grilles de la table de cuisson et le chapeau du brûleur. Retirez la vis de fixation de l'électrode. Tirez l'électrode verticalement de façon à tenir le fil entre le pouce et l'index. Retirez l'électrode, tout en continuant à tenir le fil. Montez la nouvelle electrode sur le fil. Vissez l'électrode sur le brûleur. Replacez le chapeau du brûleur. Contrôlez le fonctionnement de l'allumage. Replacez les grilles.
12 Dépose ou remplacement d'un brûleur de table de cuisson
Déposez la table de cuisson (voir 2).
Les brûleurs, à l'exception du brûleur de Wok droit, sont montés sur des barres supports. Pour ces brûleurs, débranchez les tuyaux d'alimentation en gaz. Retirez les vis de fixation des supports, à l'avant et à l'arrière. Soulevez pour retirer les supports et les brûleurs. Les brûleurs sont fixés au support par 2 vis. Dévissez le brûleur à remplacer et montez le nouveau brûleur. Remontez en procédant dans l'ordre inverse. Contrôlez le fonctionnement du brûleur.
Brûleur de wok droit
Débranchez les tuyaux d'alimentation en gaz du brûleur. Remplacez le brûleur et remontez en procédant dans l'ordre inverse. Contrôlez le fonctionnement du brûleur.
13. Dépose d'une porte de four
Ouvrez la porte du four. Desserrez les deux vis supérieures de la charnière.
Soutenez la porte et retirez la vis située le plus après de l'axe de la charnière. Faites pivoter la charnière vers le haut pour l'extraire de l'axe sur la porte.
Levez la porte pour la dégager de la charnière inférieure.
Remontez en procédant dans l'ordre inverse.
Lors de la remise en place de la porte, veillez à ce que la douille de charnière en nylon soit en place entre l'axe de charnière et le support de charnière en bas et en haut.
14. Remplacement du panneau extérieur de porte du four
Tirez la cuisinière vers l'avant afin de pouvoir accéder aux côtes. Entrouvez la porte du four et retirez les vis de fixation du panneau avant des côtes de porte (deux de chaque côté).

Soulevez le panneau de porte extérieur avec précaution.
Retirez la poignée de porte du panneau en dévissant les 2 écrous de fixation. Montez la poignée de porte sur le nouveau panneau. Montez le panneau sur la porte. Remontez en procédant dans l'ordre inverse.
15. Remplacement du verrouillage de porte du four
Retirez le panneau de porte extérieur (voir 14). Retirez les vis « B » de fixation de l'ensemble du dispositif de verrouillage sur le panneau de porte extérieur. Montez le nouveau dispositif de verrouillage et remontez en procédant dans l'ordre inverse.
Contrôlez le fonctionnement de la porte.

16. Réglage de la gâche du loquet de porte de four
Ouvrez la porte du four, desserrez l'écrou de verrouillage à la base de la gâche et serrez ou desserrez jusqu'à obtention du réglage requis. Resserrez l'écrou de verrouillage.
17. Remplacement du joint d'étanchéité de porte de four
Ouvrez la porte du four. Le joint est maintenu en place par des petits crochets placés sur la face arrière. Depuis le coin, tirez sur le joint en diagonale, en l'éloignant du centre de la porte, jusqu'à ce que ce crochet se défasse. Passez au crochet suivant et défaites-le, ainsi que les suivants, de la même façon. Vous pouvez forcer si les crochets résistent car le joint usage sera mis au rebut.

Lors de la pose d'un nouveau joint, positionnez le raccord dans le bas. Accrochez le nouveau joint dans un des orifices situés à un angle de la porte et poursuivez l'opération sur tout le tour de façon à mettre chaque crochet en place.
18. Dépose d'un élément de grill
Débranche l'appareil de l'alimentation électrique.
Retirez la l'échefe de l'enceinte du grill. Dans l'enceinte du grill, retirez la protection émaillée avant de la voûte du grill, les 2 vis et les rondelles. Retirez les 2 vis et les rondelles de fixation du support avant de l'élement du grill. Retirez les vis des éléments du grill.
Retirez les éléments avec précaution ; débranchez les fils des bornes des éléments, en notant leur position. Si vous ne pouvez pas débrancher les fils de cette façon, tirez la cuisine vers l'avant afin de pouvoir accéder à l'arête, dévissez le boîtier électrique sur la plaque arête et débranchez les bornes de l'arête.
Placez les nouveaux éléments et remontez en procédant dans l'ordre inverse. Contrôlez le fonctionnement du grill.
19. Dépose de la partie arrière interne du four
Ouvrez la porte du four et retirez les 4 vis et rondelles de fixation de la partie arrière interne à l'arrière du four.

Soulevez la partie arrière interne avec précaution. Remontez dans l'ordre inverse, en veillant à bien serrer les 4 vis et rondelles.
20. Remplacement d'un ventilateur de four
Débranchez l'appareil de l'alimentation électrique.
Tirez la cuisinière vers l'avant afin de pouvoir accéder à l'arrière. Otez les vis de fixation du boîtier électrique sur la plaque arrière et retirez le boîtier. Débranchez les 3 bornes raccordées au ventilateur, en notant leur emplacement. Retirez la partie arrière interne du four (voir 20). Maintenez les pales du ventilateur et défaites l'écrou central (filetage gauche), les 2 rondelles en laiton, les pales et le jonc d'accès. Dévissez les écrous de serrage et les rondelles (3 de chaque) et soulevez pour extraire le ventilateur de la partie arrière de la cuisinière. Montez le nouveau ventilateur en procédant dans l'ordre inverse. Contrôlez le fonctionnement du four.
21 Dépose d'un protecteur thermique d'élément de four
Débranchez l'appareil de l'alimentation électrique.
Tirez la cuisinière vers l'avant afin de pouvoir accéder au boîtier arrière. Dévissez et enlevez le boîtier. Le protecteur thermique est situé sur la plaque de mise à la terre, à côté des raccords d'éléments du four. Débranchez le câblage du protecteur thermique. Retirez les fixations du protecteur sur la plaque de mise à la terre et retirez le protecteur. Insérez le protecteur de rechange et remontez en procédant dans l'ordre inverse.
22. Dépose d'un élément de four
Débranchez l'appareil de l'alimentation électrique.
Retirez la partie arrière interne du four (voir 19).

Retirez 2 vis situées en haut de l'élément et 1 vis en bas de l'élément à l'intérieur du four. Retirez l'élément avec précaution, débranchez les fils des bornes de l'élément, en notant notamment leur position. Si vous ne pouvez pas débrancher les fils de cette façon, tirez la cuisinière vers l'avant afin de pouvoir accéder à l'arrière, dévissez le boîtier électrique sur la plaque arrière et débranchez les bornes de l'arrière.
Insérez le nouvel élément et remontez en procédant dans l'ordre inverse. Contrôlez le fonctionnement du four.
23. Dépose des éléments inférieurs et supérieurs du four gauche
Débranche l'appareil de l'alimentation électrique.
Élément inférieur
Tirez la cuisinière vers l'avant pour pouvoir accéder aux boîtiers situés à l'arrière de l'appareil. Dévissez et enlevez le boîtier.

Retirez les 2 vis « A » de façon à permettre à la plaque de descendre. Retirez les 2 vis « B », abaissez la plaque supérieure et sortez-la par la fente à l'arête de la cuisinière.
Débranchez les bornes, en notant notamment leurs positions.
Retirez les fixations d'élément et retirez l'élément. Remplacez l'élément et remontez en procédant dans l'ordre inverse.
Élément supérieur
Ouvrez la porte du four gauche et retirez les fixations de l'écran thermique. Retirez les fixations du support d'élement supérieur et retirez l'élement. Remplacez l'élement et remontez en procédant dans l'ordre inverse. Contrôlez le fonctionnement du four.
24. Remplacement de la table vitrocéramique
Déposez la table de cuisson, voir 2. Montez la nouvelle table vitrocéramique.
Remontez en procédant dans l'ordre inverse. Contrôlez le fonctionnement de la table vitrocéramique.
25. Remplacement d'un élément de table de cuisson
Déposez la table de cuisson, voir 2. Les éléments sont à présent accessibles.
Remontez en procédant dans l'ordre inverse. Contrôlez le fonctionnement de la table vitrocéramique.
26. Remplacement de l'ampoule d'éclairage de four
Mettez l'appareil hors tension.
Assurez-vous que le four a refroidi. Ouvrez la porte du four et retirez les grilles.
Dévissez le couvercle de l'ampoule en tournant en sens anti-horaire. Il peut être très difficile à dévisser.


Dévissez l'ampoule avec précaution, pour ne pas risquer de vous blesser.

Montez une ampoule à culot vissable Edison 15 W 240 V, POUR FOURS. Cette ampoule doit pouvoir résister à une température de 300°C.
Vissez l'ampoule de rechange, puis revissez le couvercle de l'ampoule. Remettez l'appareil sous tension et vérifiez que l'ampoule fonctionne.
27 Réglage de l'angle de la porte du four
La charnière du bas de la porte peut être réglée afin de modifier l'angle de la porte.
Desserrez les vis de fixation de la charnière inférieure, et utilisez le cran et un tournevis à lame plate pour régler la position de la charnière.
Resserrez les vis de la charnière.
Effet du réglage de la charnière - exagéré pour plus de clarté


Ligne centrale de l'axe de charnière

Omission de la porte du four pour plus de clarté
Elle est fournie préréglée pour une utilisation avec du gaz naturel de type H.
INSTALLATEUR: Veillez remettre les présentes instructions à l'utilisateur.
EMPLACEMENT DU BADGE TECHNIQUE : Arrière de la cuisine, badge auxiliaire de numéro de série sous l'ouverture de la porte du four.
| Gaz | Electricité | |
| Gaz naturel | 20 mbars | 220 – 240 V 50 Hz |
| Butane | 29 mbars | |
| Propane | 37 mbars | |
(Reportez-vous au badge technique de l'appareil pour les pressions d'essais)
| Dimensions | Hauteur hors tout | minimum 896 mm | maximum 925 mm |
| Largeur hors tout | 1 100 mm Voir « Positionnement de la cuisinière » | ||
| Profondeur hors tout | 648 mm | ||
| Espace prévu pour fixation | Voir « Positionnement de la cuisinière » | ||
| Espace minimum au-dessus de la table de cuisson | 650 mm | ||
| Raccordements | Gaz : | Electricité |
| Rp 1/2 au niveau du côté arrêté droit | 220 – 240 V 50 Hz |
Puisances
| Table vitrocéramique | |
| Élement avant | 1,1 kW |
| Élement arrêté | 1,1 kW |
| Fours | Multifonctions | Convection |
| Catégorie d'efficacité énergétique | ||
| Sur une échelle de A (plus efficace) à G (moins efficace) | B | A |
| Consommation d'énergie basée sur une charge standard | 0,90 kWh | 0,85 kWh |
| Volume disponible (litres) | 62 | 67 |
| Taille | Moyenne | Grande |
| Temps de cuisson – charge standard | 41 minutes | 38 minutes |
| Surface de cuisson | 1400 cm2 | 1400 cm2 |
| Grid | 2,3 kW |
Charge électrique totale maximale à 230 V 11,1kW (total approximatif comprenant éclairages de jours, ventilateur de four, etc.)
Le raccord indiqué sur le schéma de câblage est pour une alimentation monophasée. Les capacités nominales sont pour 230 V 50 Hz
Code element
A1 Régulateur de puissance du grill A2 Eléments du grill B1 Thermostat du four Multifonctions gauche B2 Commande des fonctions du four Multifonctions B3 Élément de sole du four Multifonctions B4 Élément de voute du four Multifonctions (paire extérieure) B5 Élément gratineur du four Multifonctions (paire intérieure) B6 Élément du ventilateur du four Multifonctions B7 Ventilateur du four Multifonctions C1 Régulateur de puissance de la table de cuisson C2, C3 Éléments de la table de cuisson D Horloge F1 Thermostat du four droit F2 Bloc-interrupteurs du four droit F3 Élément du four ventilé droit F4 Ventilateur du four droit G1 Contenteurs d'allumage G2 Générateur d'allumage H Interrupteur d'éclairage du four I Éclairage du four J Protecteur thermique K Néon
Code couleur
b Bleu n Noir br Brun o Orange Rouge violet w Blanc y Jaune
Notice Facile