DHT1196X - Hotte DE DIETRICH - Notice d'utilisation et mode d'emploi gratuit
Retrouvez gratuitement la notice de l'appareil DHT1196X DE DIETRICH au format PDF.
| Type d'appareil | Hotte aspirante décorative |
| Mode d'installation | Plafond |
| Matériau | Acier inoxydable |
| Nombre de vitesses | 3 |
| Type de filtration | Charbon actif et filtre à graisse |
| Éclairage | LED intégré |
| Niveau sonore | Non précisé |
| Débit d'air | Non précisé |
| Commande | Électronique |
| Dimensions (L x P x H) | Non précisé |
| Puissance | Non précisé |
| Consommation électrique | Non précisé |
| Type d'évacuation | Évacuation ou recyclage |
| Accessoires inclus | Non précisé |
| Couleur | Acier inoxydable |
| Garantie | Non précisé |
FOIRE AUX QUESTIONS - DHT1196X DE DIETRICH
Questions des utilisateurs sur DHT1196X DE DIETRICH
0 question sur cet appareil. Repondez a celles que vous connaissez ou posez la votre.
Poser une nouvelle question sur cet appareil
Téléchargez la notice de votre Hotte au format PDF gratuitement ! Retrouvez votre notice DHT1196X - DE DIETRICH et reprennez votre appareil électronique en main. Sur cette page sont publiés tous les documents nécessaires à l'utilisation de votre appareil DHT1196X de la marque DE DIETRICH.
MODE D'EMPLOI DHT1196X DE DIETRICH
Découvir les produits De Dietrich, c'est éprouver des emotions uniques que leurs peuvent produit des objets de valeurs.
L'attrait est immédiatès le premier regard. La qualité du design s'illustré par l'esthétique intemporelle et les finitions soignées rendant chaque object éligant et raffiné en parfaitie harmonie les uns avec les autres.
Vient ensuite l'irrésistante envie de toucher. Le design De Dietrich capitalise sur des matériaux robustes et prestigieux; l'authentique est privilégie.
En associant la technologie la plus évoluée aux matériaux nobles, De Dietrich s'assure la réalisation de produits de haute facture au service de l'art culinaire, une passion partagée par tous les amoureux de la cuisine.
Nous vous souhaitons beaucoup de satisfaction dans l'utilisation de ce nouvel apparéil et serons heures de recueiller vos suggestions et de répondre à vos questions. Nous vous invitons à les formulier auprès de notre service consommateur ou sur notre site internet.
Nous vous invitons à enregistrer votre produit sur www.de-dietrich.com pour profiter des avantages de la marque.
En vous remerciant de votre confiance.
De Dietrich
Retrouvez toutes les informations de la marque sur www.de-dietrich.com Visitez La Galerie De Dietrich, 6 rue de la Pétinière à Paris VIIIème Ouvert du mardi au samedi de 10h à 19h.
Service Consommateurs 0892 02 88 04.
1 / A L'ATTENTION DE L'UTILISATEUR
- Consignes de sécurité 04
- Respect de l'environnement 05
Description de votre apparéil 06
2 / INSTALLATION DE VOTRE APPAREIL
Utilisation en version évacuation 07
- Utilisation en version recyclage 07
Raccordement electrique 08
Montage de la hotte 09
Montage de la cheminée Evacuation extérieure 10
^ 念 Recyclage 11
3 / UTILISATION DE VOTRE APPAREIL
- Description des commandes 12
4 / ENTRETIEN ET NETTOYAGE DE VOTRE APPAREIL
- Nettoyage du filtré cassette 13
- Changement du filtré charbon 13
- Nettoyage de la surface extérieure 13
- Changement de la lampe 13
- Entretenir votre apparéil 14
5/ANOMALIES DE FONCTIONNEMENT 15
6/SERVICEAPRES-VENTE 15
Dans le souci d'une amélioration constante de nos produits, nous nous réservons le droit d'apporter à leurs caractéristiques techniques, fonctionnelles ou esthétiques toutes modifications liées à leur évolution.

Important :
Avant de mesure toute apparéil en marche, veuilles dire attentivement ce guide d'installation et d'utilisation afin de vous familiariser plus rapidement avec son fonctionnement.
Important
Conservez cette notice d'utilisation avec votre apparéil. Si l' apparéil devait être vendu ou cédé à une autre personne, assurez-vous que la notice d'utilisation l'accompagne. Merci de prendre connaissance de ces conseils avant d'installer et d'utiliser votre apparéil. Ils ont été rédigés pour leur sécurité et celle d'autrui.
- CONSIGNES DE SECURITE
-Cet apparéil a été concu pour être utilisé par des particuliers dans leur lieu d'habitation.
- Cet apparéil n'est pas prévu pour être utilisé par des personnes (y compris les enfants) dont les capacities physiques, sensorielles ou mentales sont réduites, ou des personnes dénuées d'expérience ou de connaissance, sauf si elles ont pu bénéficier, par l'intémediaire d'une personne responsable de leur sécurité, d'une surveillance ou d'instructions préalables concernant l'utilisation de l' apparéil. Il convient de surveiller les enfants pour s'assurer qu'ils ne jouent pas avec l' apparéil.
-A la réception de l'appareil, déballez-le ou faites le déballer immédiatement. Vérifiiesz son aspect général. Faites les évientuelles réserves par écrit sur le bon de livraison dont vous gardez un exemplaire.
-Votre appeareil est destiné à un usage domestique normal. Ne l'utilise pas à des fins commerciales ou industrielles ou pour d'autres buts que celui pour lequel il a ete concu.
- Ne modifies pas ou n'essayer pas de modifier les caractéristiques de cet apparéil. Cela représentait un danger pour vous.
- Les réparations doivent être exclusivement effectuees par un spécialiste agreé.
- Débranche toujours la hotte avant de procédé à son nettoyage ou à son entretien.
-Aérez convenablement la pièce en cas de fonctionnement simultané de la hotte et d'autres apparèils alimentés par une source d'énergie différente de l'énergie électrique. Ceci afin que la hotte n'aspire pas les gaz de combustion.
- Il est interdirit de flamber des mets ou de faire fonctionner des foyers gaz sans recipients
de cuisson, au dessous de la hotte (les flammes aspirées risqueraient de déterminer l'appareil).
- Les fritures effectuees sous l'appareil doivent faire l'objet d'une surveillance constante. Les huiles et graisses portees a très haute température peuvent prendre feu.
- Respectez la fréquence de nettoyage et de remplacement des filtres. L'accumulation de dépôts de graisse risque d'occasionner un incendie.
- Le fonctionnement au dessus d'un foyer à combustible (bois, charbon...) n'est pas autorisé.
- N'utilise jamais d'appareils à vapeur ou à haute pression pour nettoyer votre apparéil (exigences relatives à la sécurité électrique).
- Dans le souci d'une amélioration constante de nos produits, nous nous réservons le droit d'apporter à leurs caractéristiques techniques, fonctionnelles ou esthétiques toutes modifications de leurs caractéristiques liées à l'évolution technique.
-Afin de retrouver aisément à l'avoir les références de votre apparéil, nous vous conseillons de les noter en page "ServiceAprès-Vente et Relations Consommateurs". (Cette page vous explique également où les trouver sur votre apparéil).
Attention
Dans le cas d'une cuisine chauffée avec un apparéil raccordé à une cheminée (ex : poële), il faut installer la hotte en version recyclage. Ne pas utiliser la hotte sans les filtres cassettes.
Une ventilation convenable de la pierce doit etre prévue lorsqu'une hotte de cuisine est utilisée simultanement avec des appeareils utilisants du gaz ou un autre combustible.
- RESPECT DE L'ENVIRONNEMENT
- Les matériaux d'emballage de cet apparéil sont recyclables. Participez à leur recyclage et contribuez ainsi à la protection de l'environnement en les déposant dans les conteneurs Municipaux prévus à cet effet.
- Notre apparéil contient également de nombreux matériaux recyclables. Il est donc marqué de

ce logo afin de vous indiquer que les apparciels usagés ne doivent pas être mélangés avec d'autres déchets. Le recyclage des apparciels qu'organise votre fabricant sera ainsi réalisé dans les mêlèures conditions, conformément à la directive européen 2002/96/CE sur les déchets d'équipements électriques etlectroniques. Adressez vous à votre mairie ou à votre revendeur pour connaître les points de collecte des apparciels usagés les plus proches de votre domicile.
- Nous vous remercions pour votre collaboration à la protection de l'environnement.

Attention
L'installation est réservée aux installateurs et techniciens qualifiés.

Attention
Avant la première utilisation du filtre cassette, retirez le film de protection.

Attention
Les parties accessibles de cet apparéil peuvent devenir chaudes lorsqu'il est utilisé avec des apparéils de cuisson.
DESCRIPTION DE VOTRE APPAREIL


Ouiies

Envelope

Cheminee

Commandes
- L'appareil doit être débranché pendant l'installation ou dans l'eventualité d'une intervention.
- Vérifiez que la tension du réseau correspond à la tension mentionnée sur la plaque signalétique située à l'intérieur de la hotte.
- Si l'installation électrique de votre habitation nécessite une modification pour le branchement de votre apparéil, faites appel à un électricien qualifié.
- Si la hotte est utilisé en version évacuation, ne raccordez pas l'appareil à un conduit d'évacuation de fumées de combustion (chaudière, cheminée, etc...) ou à une VMC (ventilation mecanique contrôle).
- Le conduit d'évacuation, quel qu'il soit ne doit pas déboucher dans les combles.
- Installez la hotte à une distance de sécurité d'au moins 70cm d'un plan de cuisson électrique, gaz ou mixte.
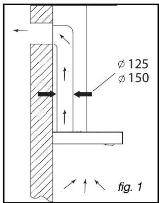
- UTILISATION EN VERSION EVACUATION
You possedez une sortie vers l'extérieur
(fig. 1)
Votre hotte peut etre raccordede sur celle-ci par Iintermedaire d'une gaine d'évacuation non fou-. nie (minimum 0 125mm ,emailee, en alu,flexible ou en matière ininflammable).Si voire gaine est inférieure a 125~mm de diametre,passez obliga-. toirement en mode recyclage.
- UTILISATION EN VERSION RECYCLAGE
You ne possedez pas de sortie vers l'extérieur
(fig. 2)
Tous nos apparèils ont la possibilité de fonctionner en mode recyclage.
Dans ce cas, ajoutez un filtré à charbon actif (en option) qui retiendra les odeurs.
(voir Chapitre 4: Changement du filtré carbon)


RACCORDEMENT ELECTRIQUE
Lors de l'installation et des opérations d'entretien, l'appareil doit être débranché du réseau électricque, les fusibles doivent être coupés ou retirees.
Le raccordement électrique est à réaliser après assemblage et fixation.
Vérifiez que:
- la puissance de l'installation est suffisante,
- les lignes d'alimentation sont en bon etat
- le diamètre des fils est conforme aux règes d'installation.

Attention
Cet apparéil est livre avec un cable d'alimentation H 05 VVF à 3 conducteurs de 0,75 mm2 (neutre, phase et terre). Il doit être branché sur réseau 220-240 V monophasé par l'intémediaire d'une prise de courant normalisée CEI 60083 qui doit rester accessible après installation, conformément aux règles d'installation.
Notre responsabilité ne saurait etree engagee en cas d'accident consecutif a une mise a la terre inexistante ou incorrete. Le fusible de sua installation doit etre de 10 ou 16 A. Si le cable d'alimentation est endommaged, faites appel au service apres-vente afin d'eviter un danger.

Attention
Si l'installation électrique de votre habitation nécessite une modification pour le branchement de votre apparéil, faites appel à un électricien qualifié.

Attention
Si la hotte presente unequelconque anomalie, debranchez l'appareil ou enlevez le fusible correspondant à la ligne de branchement de l'appareil.
MONTAGE DE LA HOTTE

Attention
L'installation doit etre conforme aux reglements en vigueur pour la ventilation des locaux. En France, ces reglements sont indiques dans le DTU 61.1 du CSTB. En particulier, l'air evacué ne doit pas etre envoyedans un conduit utilise pour evacuer les fumées d'appareils utilisant du gaz ou autre combustible. L'utilisation de conduits désaftectes ne peut se faire qu'aefore accord d'un spécialiste competent..
La distance minimale entre le plan de cuisson et la partie la plus BASSE de la hotte doit etre de 70~cm .Si les instructions de la table de cuisson installee sous la hotte specifieune distance plus grande que 70~cm ,elle-ci doit etre prise en compte.
- Tracez un trait horizontal à 70 cm minimum du plan de cuisson (A/fig.1).
- Tracez un trait vertical (B/fig.1) sur le mur, centré par rapport au plan de cuisson en allant du plafond jusqu'en limite du trait horizontal precedent (A).
- Placez contre le mur le gabarit de perçage (C/fig. 1).
Dans le cas d'un mur creux, utilisez des chevilles et vis adaptees.
- Percez les 2 trouss.Enforcez les 2 chevilles.
- Vissez la barrette de fixation au mur (C/fig. 2) au mur avec les 2 vis (D/fig.2).
- Accrochez la hotte aspirante par ses suspensions (E/fig. 2).
-
Réglez la hauteur et le niveau en manoeuvrant les vis de réglage (E /fig. 2) des supports (la vis du haut pour l'horizontalité, la vis du bas pour le placage au mur).
-
Mettre la vis anti-soulèvement (D/fig 1)
- Retirez le ruban adhesif du boitier composant (F fig.3)
-Soulevez le boitier d'environ 2cm,puis le degager,faites lui faire 1/4 de tour,puis le glissez et le fixez a l'aide des 2 vis sur le dessus du moteur (fig 3).
Attention de ne pas blesser les câbles pendant la rotation et la fixation.



MONTAGE DE LA CHEMINEE
Evacuation extérieure
- Fixez contre le mur, en appui sur le plafond, le support de cheminée métallique avec les deux vis (fig. 1).
- Montez le clapet anti-retour sur la sortie du moteur (fig. 2). Ce clapet anti-retour permet d'obstruer l'entrée d'air venant de l'extérieur.
- Dans le cas d'une gaine diamètre 125mm , utilisez l'adaptateur fourni (fig. 3).
Si vous gaine extérieure est inférieure à 125 mm, il est obligatoire de raccorderiste hotte en mode recyclage.
- Emboîtez l'extrémité de la gaine sur la sortie moteur (fig. 4).
- Préparez votre cheminée téléscopique ennant soin de dissimuler les ouïes (B/fig. 4).
Emboiter la cheminée ainsi assemblée sur la hotte et levez la partie supérieure pour ajuster la hauteur, puis la visser (G/fig. 4) sur le support de cheminée métallique (A/fig. 4).

Conseil
Pour une utilisation optime de votre apparéil, nous vous conseillons le raccordement à une gaine diamètre 150 mm (non livrée). Limiter au maximum le nombre de coude et la longueur de la gaine. Dans le cas où la hotte fonctionne en évacuation extérieure, il convient d'assurer une arrivée d'air frais suffisante pour éviter demettre la pièce en dépression.



A Support de cheminée
B Cheminée telscopique
Gaine
D Adaptateur
E Clapet anti-retour
F Sortie moteur
G Vis de maintain de la cheminée

Recyclage
- Retirez le clapet anti-retour (fig. 1).
Fixez contre le mur, en appui sur le plafond, le deflecteur plastique de fumée avec les deux vis (fig. 2). Prendre soit de centerer le deflecteur par rapport au trait vertical trace sur le mur (fig. 2). Pour les modèles > à 700mm ajouter les 2 entreprises fournies dans la pochette (A/fig 2).
- Emboîtez une extrémité de la gaine sur le défecteur et l'autre extrémité sur la sortie moteur (fig. 3).
- Préparez votre cheminée enPNANT SOIN DE placer les ouies vers le haut de maniere à ce qu'elles soient visibles (B/fig.3).
- Emboîtez la cheminée ainsi assemblée (C/fig 3) sur la hotte et levez la partie supérieure pour ajuster la hauteur, puis la visser sur le déflecteur de fumée (A/fig. 3) avec les deux vis (F/fig. 3).


A Deflecteur de fumee
Ouies
Cheminée téléscopique
Gaine
Support moteur
Vis de maintain de la cheminée

- DESCRIPTION DES COMMANDES (*Selon modèles)

A Eclairage
B Marche / Arrêt
C Sélection des vitesses de 1 à 4 Mode automatique*
D Afficheur
3 Affichage des vitesses (1,2,3,ou 4) F Saturation des filtrres
Temporisation / Arrêt différé (10 min)
- MODE AUTOMATIQUE (selon modele)
Ces hottes ont un sens inné de l'adaptation. Equipées de capteurs sensoriels, elles se déclenchent automatiquementès lors qu'elles détectent toute émission de chaleur ou de vapeur, adaptable spontanément la vitesse d'aspiration et cèssent de fonctionner une fois les dernières fumées évacuées.
Sélection du type de table en mode automatique *
Pour selectionner votre type de table, votre hotte doit'être arrêtée.
Effectuez un appui long (>2s) sur ^1CS afin d'etre en mode configuration.
Appuyer sur pour selectionner le type de table : Par défaut I (table induction) clignote, un autre appui, l'afficheur indique U pour une table vitro et G pour une table gaz. Un appui court sur ICS permet de valider votrechoix.
Les symboles (sensibilité minimum), (sensibilité moyenne) et (sensibilité maximum) clignotent simultanément. Àpres 10 sec d'attente la sensibilité moyenne sera conservée.
Pour modifier la sensibilité faire un appui court sur ⑥
Pour valider faire un appuis court sur ICS.
Votrecfguration est valide automatique apres 10s.

Conseil
Ce guide d'installation et d'utilisation est valable pour plusieurs modèles. De légères différences de détails et d'équipements peuvent apparaître entre votre apparéil et les descriptions générées.
Passage en mode automatique
Effectuez un appui court sur ICS, un point apparait su l'afficheur. Un R clignote繇 qu'une source de chaleur est detectee, la hotte se met en route. A la fin de la cuisson, la hotte continue de fonctionner de 40 sec a 10 min.
Un appui court sur ICS desactive le mode automatique.
Un appui court sur ① désactive le mode automatique, la hotte reste en position 1.
DEMARRAGE DE LA HOTTE EN MODE MANUEL
Un appui sur la touche ① permet de demarrer la hotte en vitesse 1.
- Sélection des vitesses
- Chaque pression sur le bouton "choix de vitesse" définit le cycle suivant : vitesse 1-2-3 ou 4 puis return à la vitesse 1.
- A chaque nouvelle utilisation, votre hotte redémarre à la vitesse 1.
- Sélection de la temporisation
Un appui sur enclenche la temporisation; la hotte s'arrête au terme de 10 minutes. Sur l'afficheur, la vitesse clignote pour vous signaler que votre hotte est en mode temporisation.
Un autre appui sur 10' arrête la temporisation
ECLAIRAGE
Un appui court sur la touche permit d'allumer ou d'eteindre l'éclairage de votre hotte. Si vous oubliez de l'éteindre, cela se fera au terme de 9 heures.
ARRET DE LA HOTTE
Un appui maintenu sur la touche ① permutation d'arrête la hotte.
Elle s'éteindra automatiquement au terme de 9 heures de fonctionnement
INDICATEUR DE SATURATION DU FILTRE CASSETTE
Après 30 heures de fonctionnement de la hotte, le symbole clignote sur l'afficheur pendant 2 minutes. Ce message vous indique qu'il est nécessaire de laver votre filtre cassette.
Un appui long sur la touche ① eteindra le F.
FR 4/ENTRETIEN ET NETTOYAGE DE VOTRE APPAREIL

Attention
Débranche (soit en-retirant la prise, soit en actionnant le disjoncteur) l'appareil avant de procéder à l'entretien et au nettoyage de l'appareil. Un entretien régulier de votre apparéil est une garantie de bon fonctionnement, de bon rendement et de durabilité.

Attention
Le non-respect des instructions de nettoyage de l'appareil et des filtres peut occasionner des incendies. Veuillez respecter strictement les consignes d'entretien.
- NETTOYAGE DU FILTRE CASSETTE
Il doit être nettoyé toutes les 30 heures d'utilisation environ ou une fois par mois minimum. Utilisez une Brosse, de l'eau chaude et un détergent doux. Rincez-le et séchez-le soignement avant de le remettre en place.
- Démontage du filtré cassette (fig. 1)
- Actionnez la poignée intégrée du filtré cassette.
- Basculez le contrôle cassette vers le bas.
- CHANGEMENT DU FILTRE CHARBON (suivant modele)
Remplacez-le toutes les 120 heures d'utilisation environ.
- Retirez le filtré cassette en le déclipant(fig. 1).

- NETTOYAGE DE LA SURFACE EXTERIEURE
Pour nettoyer l'extérieure de votre hotte utilisez de I'eau savonneuse, mais n'utilise pas de crèmes à recycler, ni d'éponge gratoir.
- CHANGEMENT DE LAMPE
Modèle avec lampe halogène
- Retirez le hublot (fig. 2).
- Changez la lampe halogène G4-20W-12V.
- Replacez l'ensemble en effectuant les opérations en sens inverse.


Attention
Avant toute intervention, la hotte doit être mise hors tension, soit en退还 la prise, en actionnant le disjoncteur.
ENTRETENIR VOTRE APPAREIL
| ENTRETIEN... | COMMENT PROCEDER ? | PRODUITS/ACCESSOIRES A UTILISER |
| Enveloppe et accessoires | N'utilisez jamais de tampons métalliques, de produits abrasifs ou de brosses trop dures. | Pour nettoyer la carroserie et le hublot d'éclairage, utilisez exclusivement des nettoyants menagers du commerce dilués dans de l'eau, puis rincez à l'eau claire et essuyez avec un chiffon doux. |
| Filtre cassette | Ce filtre retient les vapeurs gras- ses et les poussières. Il est l'élement assurant une part importante de l'efficacité de votre hotte. Dans le cas de taches persistan- tes, utilisez une crème non abra- sive, puis rincez à l'eau claire. | Avec un nettoyant menager du commerce, puis rincez abondam- ment et séchez. |
| Filtre charbon actif (selon modèle ou en option) | Ce filtre retient les odeurs et doit être changé au moins tous les ans en fonction de votre utili- sation.Commandez ces filtres chez votre revendeur et notez la date de changement. |
Pour préserver votre appareil, nous vous recommendons d'utiliser les produits d'entretien Clearit.

L'expertise des professionnelles au service des particuliers
Clearit you propose des produits professionnels et des solutions adaptées pour l'entretien quotidien de vos apparèils électroménagers et de vos cuisines.
Vou les trouvez en vente chez votre revendeur habitual, ainsi que toute une ligne de produits accessoires et consommables.
| SYMPTOMES | SOLUTIONS |
| La hotte ne fonctionne pas... | Vérifiez que: • il n'y a pas de coupure de courant. • une vitesse a été effectivement sélectionnée. |
| La hotte a un rendement insuffisant... | Vérifiez que: • la vitesse moteur sélectionnée est suffisante pour la quantité de fumée et de vapeur dégagée. • la cuisine est suffisamment aérée pour permettre une prise d'air. • le filtré à charbon n'est pas usage (hotte en version recyclage) |
| La hotte s'est arrêtée au cours du fonctionnement | Vérifiez que: • il n'y a pas de coupure de courant. • le dispositif à coupure omnipolaire ne s'est pas enclenché. |
Les éventuelles interventions sur votre apparéil doivent être effectuées par un professionneliel qualifié dépositaire de la marque. Lors de votre appel, mentionnez la référence complète de votre apparéil (modèle, type, numéro de série). Ces renseignements figurent sur la plaque signatétique (Fig.1).

PIÉÇES D'ORIGINE
Lors d'une intervention d'entretien, demandez l'utilisation exclusive de pieces détachéées certifiées d'origine.

Pour en savoir plus sur tous les produits de la marque :
informations, conseils, les points de vente, les spécialistes après-vente.
- Pour communiquer :
nous sommes à l'écoute de toutes vos remarques, suggestions, propositions auxquelles nous vous répondrons personnellement.
Vous pouvez nous écrire:
Service Consommateurs
DE DIETRICH
BP 9526
95069 CERGY PONTOISE CEDEX
ou nous téléphoner au :
0892
02 88 04
0,337€ TTC/mm depuis un poste fixe
- Service fourni par Brandt Customer Services, société par actions simplifiée au capital de 2.5000.000 euros, 5/7 avenue des Béthunes, 95310 Saint Ouen l'Aumone - RCS Pontoise 440 303 303
Brandt Appliances - société par actions simplifiée au capital de 10.000.000 euros RCS Nanterre 440 302 347.
Notice Facile