CLASSIC 110 CERAMIC - Plaque de cuisson FALCON - Notice d'utilisation et mode d'emploi gratuit
Retrouvez gratuitement la notice de l'appareil CLASSIC 110 CERAMIC FALCON au format PDF.
| Type de produit | Cuisinière à gaz avec four en céramique |
| Caractéristiques techniques principales | Four à convection, 5 brûleurs, commandes manuelles |
| Alimentation électrique | 230 V |
| Dimensions approximatives | Largeur : 110 cm, Profondeur : 60 cm, Hauteur : 90 cm |
| Poids | Environ 100 kg |
| Compatibilités | Compatible avec des ustensiles de cuisson standard |
| Type de batterie | Non applicable |
| Tension | 230 V |
| Puissance | Brûleurs : 1,5 kW à 3,5 kW selon le modèle |
| Fonctions principales | Cuisson, rôtissage, grillade |
| Entretien et nettoyage | Nettoyage à l'eau savonneuse, éviter les produits abrasifs |
| Pièces détachées et réparabilité | Disponibilité de pièces détachées auprès des revendeurs agréés |
| Sécurité | Équipée de dispositifs de sécurité pour éviter les fuites de gaz |
| Informations générales utiles | Garantie de 2 ans, installation par un professionnel recommandée |
FOIRE AUX QUESTIONS - CLASSIC 110 CERAMIC FALCON
Questions des utilisateurs sur CLASSIC 110 CERAMIC FALCON
0 question sur cet appareil. Repondez a celles que vous connaissez ou posez la votre.
Poser une nouvelle question sur cet appareil
Téléchargez la notice de votre Plaque de cuisson au format PDF gratuitement ! Retrouvez votre notice CLASSIC 110 CERAMIC - FALCON et reprennez votre appareil électronique en main. Sur cette page sont publiés tous les documents nécessaires à l'utilisation de votre appareil CLASSIC 110 CERAMIC de la marque FALCON.
MODE D'EMPLOI CLASSIC 110 CERAMIC FALCON
110 Ceramic/110 Vitrocéramique
User Guide
&
Instructions d'installation et d'entretien

U109371-04
Avant de commencer... 29
Cuisson avec la table de cuisson 31
Conseils pour la cuisson avec minuterie 35
Conseils généraux pour la cuisson au four 35
Fonctions du four Multifonctions 35
Grilles de four 36
Handyrack 37
Eclairage du four principal 37
Rangement 37
Nettoyage de la cuisine 37
Dépannage 39
Installation 41
Entretien 46
Scheme de cablage - Table de Cuisson 50
Scheme de cablage - Fours 52
Fiche technique 54
Avant de commencer…
Nous vous remercions d'avoir acheté une cuisinière Classic Deluxe. Installée et utilisée correctement, cette cuisinière vous donnera de nombreuses années de service fiable. Il est donc important de dire la presente section avant de commencer, en particulier si vous n'avez jamais utilisé de cuisinière à table de cuisson en vitrocéramique.
Cet apparéil est donc uniquement pour un usage domestique. Toute autre utilisation n'engage ni la responsabilité, ni la garantie du fabricant. En particulier, n'utilise PAS la cusinière pour chauffer la cuisine - non seulement cette pratique invalidera les réclamations, mais elle constituya un gaspillage d'énergie et un risque de surchauffe des boutons de commande.
Installation et Entretien
L'installation électrique doit être conforme à la norme BS 7671 ou à la réglementation nationale et locale en vigueur. La cusinière doit faire l'objet d'un entretien effectué par un technicien d'entretien qualifié, lequel doit utiliser uniquement des pieces de rechange approuvées. Demandez à l'installateur de vous indiquer l'emplacement du commutateur de commande de la cusinière. Notez cet emplacement à des fins de réference. Laissez toujours la cusinière refroidir et mettez-la hors tension avant de la nettoyer ou d'effectuer une intervention d'entretien, sauf indication contraire dans les Presents instructions.
Alimentation électrique
Vérifiez que la cusinière est raccordée à l'alimentation électrique et sous tension.
Odeur de neuf
Une légère odeur de neuf peut se dégager lors de la première utilisation de la cusinière. Elle disparaïtra rapidement à l'usage. Avant la première utilisation de l'appareil, assurez-vous qu'il ne reste aucun matériel d'emballage, puis, réglez les fours sur 200^ et faites-les marcher pendant une heures afin d'éliminer l'odeur de neuf. Avant la première utilisation du grill, allumez-le et faites-le marcher pendant 30 minutes, avec la léchefrite bien en place, et en laissant la porte du grill ouverte.
Veiliez à ce que la pièce soit bien ventilée, en ouvrant les fenêtres, par exemple, ou en mettant la hotte en marche. Il est recommendé aux personnes souffrant de problèmes respiratoires ou d'allergies de quitter la pièce pendant ce temps.
Sécurité personnelle
Les parties accessibles de la cusinière deviendront chaudes lorsque celle-ci est en marche et resteront chaudes même après la cuisson. Ne laissez pas les bébés et les enfants s'approcher de la cusinière.
Faites particulièrement attention lorsque vous touchez les zones de cuisson sur la table de cuisson.
Pour prévenir les risques de brûlure, vérifietz derniers que les commandes sont sur ARRET (OFF) et que la totalité
de la surface de la table de cuisson a refroidi avant de la nettoyer.
Au besoin, utilisez des gants isolants secs - l'emploi de gants humides risque de causeur des brûlures dues à la vapeur lors du contact avec une surface chaude. Ne faites jamais fonctionner la cuisineire avec les mains mouillées. N'utilisez pas de torchon ou autre chiffon écais à la place d'un gant isolant. Ils risquent de s'enflammer au contact d'une surface chaude.
N'utilise pas de casseroles instables et tournez les manches vers l'intérieur de la table de cuisson. Eteignez toujours la cusinière avant desterolir un récipient de la table de cuisson.
Ne place pas des ustensiles (autres que les recipients de cuisson) sur la table de cuisson lorsque celle-ci est en marche. Ils risquent devenir chauds et de causeurs des brûlures.
Veillez à ce que les revêtements muraux ou les rideaux combustibles soient toujours suffisamment éloignés de la cuisinière et ne portez jamais de vêtements amples ou flottants lors de l'utilisation de la cuisinière. N'utilise pas d'áerosols ou tout autre produit potentièlement combustible ou inflammable à proximate de la cuisinière.
Lorsque le grill est en marche, ne vous servez pas de la grille d'évacuation (la grille le long de la partie arrêté de la cusinière) pour réchauffer des assiettes ou des plats, sécher des torchons ou ramollir du beurre.
Veillez à ne pas toucher les éléments chauffants à l'intérieur du four.
Les poulets entiers ou les rôts doivent être décongelés au réfrigérateur. Ne décongelez pas les alimentés dans un four tiège ou à côté d'un four en marche ou encore tiège.
La cuisson d'aliments à haute teneur en eau peut produit une « bouffée de vapeur » à l'ouverture de la porte du four. Lorsque vous ouvrez la porte du four, recULEZ-vous et attendez que la vapeur se soit dissipée :

Lorsque le four est en marche, NE LAISSEZ PAS la porte du four ouverte plus longtemps que nécessaire.
Lorsque la cuisine n'est pas en service, assurez-vous que les boutons de commande sont sur la position Arrêt (Off).
Si vous utilisez un apparéil électrique à proximité de la table de cuisson, veillez à ce que le cordon de l' apparéil n'entre pas en contact avec la table de cuisson.
Ne chauffez jamais des recipients alimentaires qui n'ont pas eté ouverts. La pression accumulée à l'intérieur du recipient peut le faire éclater et blesser l'utilisateur.
Ne recouvre pas les grilles, les panneaux internes ou la voute du four de papier aluminium.
Utilisez des recipients de cuisson à fond plat et adaptations à la taille du foyer utilisé. L'utilisation de recipients trop petits exposera une partie du foyer et pourrait être à l'origine de brûlures.
Ne laisseriez jamais la cusinière en marche sans surveillance si les foyers de la table de cuisson sont régles sur maximum. Le débordement des recipiens peut produit de la fumée et des taches de gras qui risquent de s'enflammer. Faites très attention lors du chauffage des graisses et des huiles car celles-ci risquent de s'enflammer en cas de surchauffe. Si possible, utilisez un thermomètre à bain de friture pour prévenir une surchauffe de l'huile au-delà du point de fumée. Ne laisserz jamais une friteuse sans surveillance. Faites toujours chauffer l'huile lentement, en la surveillant. Les friteuses ne doivent être remplies qu'à un tiers de leur capacité. Une friteuse trop pleine peut déborder lorsqu'on y plonge des alimentents. Si vous utilisez un mélange d'huile et de graisse pour la friture, mélangez-les avant de chauffer, ou pendant la fonte des graisses.
Les alimentes à frire doivent être le plus sec possible. La présence de cristaux de glace sur des alimentes congelés ou d'humidité sur des alimentes frais peut provoquer une ébullition et un débordement de l'huile. Surveillance attentivement pour prévenir les débordements et la surchauffe pendant la friture à haute ou moyenne température. N'essayez jamais de déplacer un-scriptent de cuisson contenant de l'huile chaude, en particulier une friteuse. Attendez que l'huile ait refroidi. N'utilise pas d'eau pour éteindre les incendies dus à laGRAisse. Ne soulevez jamais un-scriptent de cuisson qui a pris feu. Eteignez la table de cuisson. Etouffez un-scriptent qui a pris feu sur une table de cuisson, en le recouvrant complètement avec un couvercle de taille appropriée ou une plaque de cuisson. Si possible, utilisez un extincteur à poudre chimique ou à mousse de type polyvalent.
Cet apparéil est lourd; prenez garde lorsqu vous le déplacez.
Conseils relatifs à l'utilisation de la table de cuisson
Ne faites jamais cuire des alimentes à même la table de cuisson :

Ne découpez pas des alimentés sur la table de cuisson.
Ne laissez PAS des ustensiles, alimentés ou produits combustibles sur la table de cuisson lorsque celle-ci n'est pas en service (torchon, ou poèle contenant de l'huile, par exemple).
Ne placez PAS des feuilles en plastique ou aluminium ou des recipients en plastique sur la table de cuisson.
Ne laissez PAS les foyers allumés s'ils ne sont pas utilisés pour la cuisson.
N'autorisez JAMAIS qui que ce soit à grimper ou se tenir debout sur la table de cuisson.
Ne déposez pas d'objets lourds sur la table de cuisson. Meme si la surface en vitrocéramique est très résistante, un impact
violent ou la chute accidentelle d'un objet sur la surface risque de la fissurer :

Dès l' apparition d'une fissure sur la table de cuisson, mettez immédiatement la cusinière hors tension et faites-la réparer.
SOULEVEZ toujours les recipients pour les prisoner de la table de cuisson. Ne les faites pas glisser sur la surface, car vous risquez de la marquer et de la rayer. Mettez toujours le bouton de commande sur la position arrêt [Off] avant de prisoner un recipient.

Ne placez rien entre le fond du écipient de cuisson et la table de cuisson (plaque d'amiate, feuille de papier aluminium ou support de Wok, etc.).
Veillez à prévenir toute infiltration d'eau dans la cusinière.
Ne faites pas chauffer des recipients de cuisson vides. Vous risqueriez d'abimer la table de cuisson et le recipient.
Seuls certains types de récipients en verre, vitrocérément, terre cuite ou autres récipients émailés peuvent être utilisés sur la table de cuisson; les autres risquent de se briser en raison du changement soudain de température.
Nettoyez la surface après chaque utilisation pour prévenir les rayures et les taches. Mais veillez à nettoyer avec précaution car certains produits nettoyants peuvent produit des vapeurs nocives au contact d'une surface chaude.
N'utilise pas de produits nettoyants ou tampons de nettoyage abrasifs, aerosols, tampons de nettoyage pour four ou detachants sur la table de cuisson.
Evitez d'essuyer toute partie de la table de cuisson tant que celle-ci n'a pas refroidi et que l'indicateur de chaleur résiduelle n'est pas eteint. Cette recommandation ne s'applique pas aux déversements de substances sucrées (voir "Nettoyage de la cuisinière").Après nettoyage,utilisez un chiffon sec ou du papier essue-tout pour eliminer les traces de nettoyant semi-liquide.
Entretien de la cuisineire
En raison de la condensation de vapeur pendant la cuisson, vous devrez peut-être essuyer (avec un chiffon doux) des gouttelettes d'eau Presentses sur la garniture extérieure du four. Cette précaution contribuera également à prévenir les taches et la décoloration de l'extérieur des fours dues aux vapeurs de cuisson.
Cuisson avec la table de cuisson

Utilisez uniquement des recipients de cuisson conçus pour les tables de cuisson en vitrocéramique.
Nous recommendons l'emploi de récipients de cuisson en acier inoxydable et en acier émailé, étant donné que les récipients à fond en cuivre ou en aluminium laissent des marques difficilles à éliminer sur la table de cuisson.
Les plats de cuisson en vitrocéramique ne convennent pas du fait de leur faible conducivité.
Le type de récipient de cuisson utilisé et la quantité d'aliments ont une incidence sur le réglage requis. Pour les quantités d'aliments importantes, utilisez un réglage plus élevé.

Utilisez des reçipients de cuisson à fond écais, lisse et plat. Ceci assure un transfert de chaleur optimal entre la table et le récipient de cuisson, et donc une cuisson plus rapide et plus économique.
N'utilise jamais de Wok à fond rond, même avec un support :

Les récipiens de cuisson les mistrs adaptés sont ceux qui, à l'etat froid, sont très légèrement bombés vers l'intérieur. En plaçant une règle sur le fond de ces récipiens, on peut constater que la surface est légèrement incurvée vers le milieu. Sous l'effet de la chaleur, le métal se dilate et la totalité du fond du récipient est en contact avec la surface de cuisson.
Veillez à ce que le fond du récipient de cuisson soit propre et sec pour éviter que des résidus alimentaires ne brûlent et n'attachent sur la table de cuisson. Ceci permet également de prévenir les rayures et les dépôts (teils que les particules de calcaire).

Veillez à toutes utiliser des récipiens de même taille (ou légèrement plus grands) que le diamètre indiqué sur la surface de cuisson. L'utilisation de récipiens plus petits entraîne une perte de chaleur et en cas de débordement, le contenu du récipient attachera sur la surface de cuisson. Utilisez un couvercle sur les récipiens de cuisson pour porter à ébullition plus rapidement.

Chaque foyer de la table de cuisson est doté d'unvoyant. Ces voyants s'allument après activation d'une commande de la table de cuisson et restent allumés pendant le refroidissement de la surface. Faites toujours attention avant de toucher la surface de la table de cuisson, car même éteinte, elle peut être encore chaude.

Les puissances des foyers sont indiquées ci-dessus.

Les foyers sur lesquels figurent deux cercles concentriques comportent un élément interne et un élément externe. Tournez le bouton de commande en sens horsaire pour chauffer la totalité du foyer lorsque vous utilisez des grands récipiens de cuisson. Pour les petits récipiens, tournez en sens antihoraire pour ne chauffer que la partie interieure.
Lors de l'utilisation de la table de cuisson, le foyer utilisé pourra s'éclairer et s'eteindre. Ceci est dù à un dispositif de sécurité qui limite la température de la table de cuisson. Ceci est tout à fait normal, surtout à
des températures élevées. Toutefois, si cela se produit souvent avec un réseau particulier, ceci peut être dû au fait que le réseau ne convient pas à une table de cuisson en vitrocéramique car il est trop petit ou a un fond trop irrégulier.

8
Ce modèle comporte un foyer double fonction sur la partie droite de la table de cuisson. Le cercle interieur délimite un foyer de 1,2 kW, et le cercle extérieur inclut le chauffe-plats, qui peut server à tener les alimentés au chaud pendant que vous finissez la préparation du repas.
Mettez le bouton de commande sur la première position (chauffe-plats) pourCHAUffer la totalité du foyer à faible température. Tournez davantage le bouton de commande pour utiliser normalement le foyer interieur.
Ouvrez la porte du grill et tirez le support de la lèchefrite vers l'avant à l'aide de la poignée :

Le grill a deux éléments qui permettent deCHAuffer la totalité de la lèchefrite ou seulement la partie droite de cette-ci.
Tournez le bouton de commande pour régler la chaleur du gril. Pour un chauffage total, tournez le bouton en sens horaire : Pour le chauffage de la partie droite, tournez le bouton en sens antihoraire.

Levoyantacote de la commandedu gril s'allumera.
Pour obtenir lesassageurs résultats possibles, prechauffez le grill pendant 2 minutes avec le support du grill en place. Vous
pouvez-retirer la lèchefrite et y déposer les alimentés pendant le préchauffage du grille.
Après préchauffage, retirez le support du grill de l'enceinte du grill. Replacez la lèchefrite et réinsérez le support du grill dans l'enceinte du grill. Vérifie qu'il est bien inséré.
La grille de la l'echefrite est réversible pour permettre deux positions de gril :

Ne laissez jamais le grill en marche pendant plus de quelques instantsi si la lèchefrite n'est pas en place sous le grill.
Ne fermez jamais la porte du grill lorsque celui-ci est en marche.
Fours
L'horloge doit être réglée sur l'heure pour que le four Multifonctions gauche puisse fonctionner. Voir les instructions de la section « Horloge » pour le réglage de l'heure.
Remarque - Les références au four gauche et droit s'entendant vu de l'avant.
Four gauche
Le four gauche est un four Multifonctions. Outre le ventilateur du four et l'objet du ventilateur, le four est doté de deux éléments chauffants supplémentaires, l'un visible dans la voûte, et l'autre sous la sole. Veillez à ne pas toucher l'objet supérieur et le déflecteur de l'objet lors de l'insertion ou du retrait des plats dans le four.

Le four Multifonctions est doté de deux commandes, un sélecteur de fonction et un bouton de réglage de température.

Tournez le sélecteur de fonction pour lemettre sur une fonction de cuisson. Fonctions du four Multifonctions

Tournez le bouton de réglage de température du four pour lemettre sur la température requise.

Levoyant du four sera allumé jusqu'à ce que le four attaigne la température requise. Il s'allumera et s'eteindra pendant la cuisson.
Four droit
Le ventilateur dans le four droit brasse l'air chaud continuellement, assurant ainsi une cuisson plus rapide et plus uniforme.
En général, les températures de cuisson recommendées pour un four ventilé sont plus basses que celles pour un four conventionnel.

Le bouton de commande du four ventilé droit est à droite sur le panneau de commande.

Tournez le bouton de réglage de température du four pour lemettre sur la température requise.

Levoyant du four sera allumé jusqu'à ce que le fouratteigne la température requise. Il s'allumera et s'éteindra pendant la cuisson.
Horloge
Réglage de l'heure

Appuyez sans relâcher, comme indiqué ci-dessus. En même temps, appuyez sur (-) ou (+) jusqu'à l'affichage de l'heure correcte. N'oubliez pas que c'est une horloge 24 heures. Si vous faites une erreur ou si vous vous trompez de bouton, mettez l'appareil hors tension pendant une ou deux minutes, puis recommencez la procédure.
Minuterie
| Appuyez sans relâcher sur le bouton Minuterie (®)... | 8:00 ® - + |
| En même temps, appuyez sur (-) ou (+) jusqu'à l'affichage du temps de cuisson requis. | 0:20 △ √ √ - + |
Le bouton (_) yous permet également de vérifier le temps de cuisson restant et d'annuler le signal sonore.
Arrêt automatique du four gauche
Vous pouvez utiliser cette fonction après mise en marche manuelle du four.
| Appuyez sans relâcher sur le bouton Heure d'accrit (¯).. | 0.00 |
| ... - + | |
| ○○○○○○ |
En même temps, appuyez sur (-) ou (+) jusqu'à l'affichage de «l'Heure d'arrêt». AUTO sera affchéé. Le signal sonore indiquera la fin de la cuisson. METTEZ D'ABORD LE BOUTON DE COMMANDE DU FOUR SUR LA POSITION 0, puis appuyez une fois sur (مَمَنَبُ) pour arrêtier le signal sonore, appuyez de nouveau sur (مَمَنَبُ) pour revenir au fonctionnement manuel.
Mise en marche et arrêt du four avec minuterie
Avant de régler la miniterie,CHOISSEZ le « temps de cuisson», c'est-à-dire la durée pendant laquelle vous voulez que le four fonctionne, et « l'heure d'arrêt», c'est-à-dire l'heure à laquelle vous voulez que le four s'arrête.
Vous ne pouvez pas régler directement une heures de mise en marche – celle-ci est réglée automatiquement lors de la sélection du temps de cuisson et de l'heure d'arrêt.


Réglez le four sur la température requise. Le signal sonore indiquera la fin de la cuisson. METTEZ D'ABORD LE BOUTON DE COMMANDE DU FOUR SUR LA POSITION 0 (Arrêt), puis appuyez une fois sur (凹) pour arrêtier le signal sonore, appuyez de nouveau sur (凹) pour revenir au fonctionnement manuel.
Si vous étés absent pendant la cuisson, ne vous inquiétez pas au sujet de l'arrêt du signal sonore, celui-ci s'arrêtea après un certain temps. A votre retour, METTEZ D'ABORD LE BOUTON DE COMMANDE DU FOUR SUR 0 (Arrêt), puis appuyez deux fois sur (ò) pour revenir au fonctionnement manuel.
AUTO est affché, et vous foulez remetre le four sur fonctionnement manuel.
Lorsqu'on annule un réglage automatique, tout temps de cuisson déjà réglé doit être remis sur 0.00 avant que l'on puisse revenir au fonctionnement manuel en appuyant sur le bouton ().
Fonctions spéciales de l'horloge
Fonction de verrouillage
Après activation de la fonction de verrouillage, le four droit peut fonctionner normalement mais le four gauche est verrouillé et ne s'allumera pas.
Activation de la fonction de verrouillage
Vérifiéz que l'horloge est sur le mode manuel et annulez tout programme en cours.



Désactivation de la fonction de verrouillage


Les fonctions de commande du four gauche et de l'horloge peuvent maintenant être utilisées normalement.
Conseils pour la cuisson avec minuterie
Si vous désirez cuir plusieurs plats simultanément, choisissez des plats nécessitant approximativement le même temps de cuisson. Cependant, la cuisson de certains plats peut être légèrement « ralentie » en utilisant des petits plats de cuisson et en les recouvrant d'une feuille de papier aluminium, ou « accéléée » en utilisant de plus petites quantités ou des plats de cuisson plus grands.
Evitez d'utiliser des alimentes rapidement périssables (poisson, porc, etc.) si vous prévoyez une longue période d'attente,URTout par temps chaud.
Ne placez pas des alimentes chauds dans le four qui sera utilisé avec la fonction minuterie.
N'utilise pas un four deja chaud avec la fonction minuterie.
N'utilise pas la fonction minuterie avec un four si le four adjacent est deja chaud.
Décongelez complètement les volailles entières avant de lesmettre au four. Assurez-vous que les viandes et volailles sont bien cuites avant de les servir.
Conseils généraux pour la cuisson au four
Veillez à ce que les grilles soient toujours insérées à fond dans le four.
Placez les plaques de cuisson, moules à viandes, etc., à niveau, au centre des grilles du four. Eloignez les plaques et les plats de cuisson des bords du four, afin de ne pas trop dorer les alimentes.
Pour dorer un plat uniformément, il est recommandé d'utiliser une plaque de cuisson de dimensions maximales 340mm× 340mm
Laissez toujours un « doigt de largeur » entre des plats placés sur une grille de four. Ceci afin de facilititer la circulation de chaleur autour des plats.
Les panneaux internes autonettoyants (voir la section « Nettoyage de la cuisine ») sont plus efficaces lorsqu'on évite les projections grasses. Couvrez la viande pendant la cuisson.
Pour réduire les projections grasses lorsque vous ajoutez des légumes dans laGRAISSÉchaude autour d'un roti, séchez soignement les légumes ou enduisez-les d'un peu d'huile à friture.
Si vous souhaitez dorer un fond de tarte, préchauffez une plaque de cuisson pendant 15 minutes avant de placer le plat au centre de la plaque.
Placez les plats susceptibles de bouillir et déborderpendant la cuisson sur une plaque de cuisson.
Fonctions du four Multifonctions
Le four Multifonctions permet de nombreuses utilisations variees. Nous vous conseillons de bien surveiller la cuisson jusqu'à ce que vous soyez familiarisé avec chaque fonction. N'oubliez pas : toutes les fonctions ne conviennent pas à tous les types d'aliments.
Réponse Rapide Le réglage Réponse Rapi
préchauffage ultrarapide du four. Elle utilise l'élément du four ventilé et la chaleur supplémentaire d'un des éléments de la voûte du four. Pour utiliser la fonction Réponse Rapide, il suffit de tournier le bouton de commande de fonction sur R et de régler à la température requise. Le voyant sur le panneau de commande à côté du symbole R s'allumera. Lorsque le four aura atteint la température requise, le voyant s'éteindra, ainsi que l'élément dans la voûte du four. L'élement du ventilateur et le ventilateur du four continue sur àmaintenir la température de cuisson可以选择.
Décongélation
Avec cette fonction, le ventilateur du four brasse uniquement de l'air froid. Elle permet de décongeler des aliments, en petites quantités, par exemple des desserts, gâteaux à la crème, morceaux de viande, poisson et volaille et protégé les aliments des mouches. Placez les alimentés à décongeler sur une grille, au-dessus d'une plaque prévue pour l'égouttement. N'oubliez pas de nettoyer la grille et la plaque après décongélation. La porte du four doit être fermée pendant la décongélation. Vérifiez que les alimentés à base de produits laitiers, la viande et la volaille sont complètement décongelés avant de les cuire.
Four ventilé Cette fonction com
l'élement chauffant autour de celui-ci. Une chaleur uniforme est produit partout dans le four, ce qui permet la cuisson rapide de grandes quantités d'aliments.
La cuisson par four ventilé est particulièrement utile pour la cuisson simultanée d'aliments sur plusieurs grilles et est une excellente fonction « polyvalente ». Vous devrez peut-être diminuer la température de 10^ environ pour des plats que vous aviez l'habitude de cuire dans un four conventionnel. Si vous souhaitez préchauffer le four, attendez que levoyant s'éteigne avant demettre leplat au four.
Cuisson au four avec grill ventilé Cette fonction commande le ventilateur pendan
que l'élement chauffant supérieur est en marche. On obtient ainsi une chaleur plus uniforme, moins intense que celle d'un grill conventionnel. Pour obtenir les valeurs résultats possibles, placez les alimentés à griller sur une grille sur un plat à roir qui doit être plus petit qu'une l'échefrite de grill conventionnel. Ceci assure une meilleure circulation de l'air.
Ce type de cuisson est idéal pour les morceaux de viande ou de poisson écais, car la circulation de l'air diminue l'intensité de la chaleur du grill. La porte du four doit être fermée pendant la cuisson au grill pour éviter un gaspillage d'énergie. Vous constaterez que vous devrez moins surveiller et tourner les alimentés cuits de cette façon.
Ce type de cuisson nécessite un préchauffage du four.

Four ventilé mixte
Cette fonction commande le ventilateur et brasse
l'air chauffé par les éléments chauffants de la voûte et de la sole du four. Cette fonction, qui combine la cuisson ventilée et la cuisson conventionnelle (chaleur supérieure et inférieure), est un moyen de cuisson idéal pour les alimentés volumineux (gros roti, par exemple) pour lesquels une cuisson complète est très importante. On peut également faire cuire des plats simultanément sur deux grilles, mais les plats devront être intervertis pendant la cuisson, car, avec cette fonction, la chaleur est plus intense dans la voûte du four qu'au niveau de la sole Ce mode de cuisson est intensif et rapide; surveillez les alimentés cuits ainsi jusqu'à ce que vous soyez familiarisé avec cette fonction.

Four conventionnel (chaleur de voute et de sole)
Cette fonction combine la chaleur fournie par les éléments supérieur et inférieurs. Elle est particulièrement utile pour la cuisson des alimentes rôtis et des pâtes à tartes, gâteaux et biscuits. Les alimentes cuits sur la grille supérieure gratineront et doreront plusrapidement que ceux placés sur la grille inférieure car la chaleur est plus intense dans la voûte du four qu'au niveau de la sole, comme dans le cas de la fonction « Four ventilé mixte ». Des alimentéssemblables cuits ainsi devront être intervennis pour cuire uniformément.

Elément gratineur
Cette fonction utilise uniquement l'objet situé
Dans la voûte du four. C'est une fonction utile pour gratiner ou finir des Gratis de pâtes, des légumes en sauce et des lasagnes. Le plat à gratiner doit être déjà chaud avant l'utilisation de cette fonction.

Chaleur inférieure
Cette fonction utilise uniquement l'objet
inéférieur. Elle permettra de dorer le fond d'une pizza ou d'une quiche ou de terminer la cuisson d'un fond de tarte sur une grille inférieure. C'est également une chaleur douce, parfaite pour le mijotage de plats placés au milieu du four ou pour réchauffer des assiettes.
Grilles de four

Le protège-grille doit être à l'arrière, et pointer vers le haut. Outre les grilles plates, certains modèles sont fournis avec une grille surbaissée. La grille surbaissée augmente les possibilités d'espacement entre les grilles de four.


Les grilles de four s'inserent et s'extraient facilement :
| Tirez la grille vers l'avant jusqu'à ce que l'arrière de la grille soit arrêté par les butées d'accrit latérales du four. | → |
| Soulevez l'avant de la grille pour faire passer l'arrière de la grille sous la butée d'accrit, puis tirez la grille vers l'avant. | → ↑ |

Pour remettre la grille en place, mettez la grille à niveau avec une glissière latérale du four, puis insérez la grille à fond jusqu'à ce que les extrémités soient en contact avec la butée d'arrêt de la grille. Soulevez l'avant de la grille pour que les extrémités poussent dépasser les butées, puis abaissez l'avant pourmettre la grille à l'horizontal, avant de l'insérer à fond.
Handyrack
Le Handyrack peut supporter un poids maximum de 5,5 kg. Il ne doit être utilisé qu'avce le moule à viande fourni, qui est spécialement concu pour être utilisé avec le Handyrack. Tout autre recipient de cuisson risque d'être instable.

Le Handyrack se monte uniquement sur la porte du four gauche. Il est facile de surveiller les alimententscisant ainsi car vous pouzez y acceder lorsque la porte est ouverte.Vous pouze le monter sur deux positions.Retirez une des grilles et placez l'autre selon les besoin. Lorsque le Handyrack est utilisé sur sa position supérieure maximum, d'autres plats peuvent etre cuits sur une grille placée a la position inférieure du four ou placee directement sur la sole du four.Lorsque le Handyrack est utilisé sur sa position inférieure maximum, d'autres plats peuvent etre cuits directement sur la sole du four.
| Pour monter le Handyrack, insérez un côté sur le support de la porte. | Extraire l'autre côté pour l'accrocher sur l'autre support. |
Eclairage du four principal
Appuyez sur le bouton approprié pour allumer l'éclairage du four.

Si l'éclairage du four principal est défectueux, mettez la cuisinière hors tension avant de changer l'ampoule. Pour des informations détaillées sur la façon de changer une ampoule de four, reportez-vous à la section « Dépannage »
Rangement

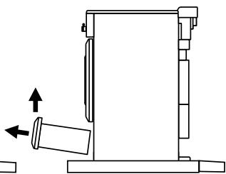
Le tiroir inférieur permet le rangement des plaques de cuisson et autres ustensiles de cuisine. Il peut devenir très chaud; n'y rangez pas des objets susceptibles de fondre ou de s'enflammer. Pour-retirer le tiroir, ouvrez-le complètement et tirez vers le haut:

Nettoyage de la cusinière
Avant un nettoyage complet, mettez la cuisineire hors tension. Laissez-la ensuite refroidir.
N'utilise jamais de solvants pour peinture, de cristaux de soude, de nettoyants caustiques, de poudres biologiques, d'eau de Javel, de nettoyants chlorés, ni de produits abrasifs à gros grain ou de sel. Ne mélangez pas plusieurs produits nettoyants, car ils risquent de réagir entre eux et d'avoir des effets nocifs.
Toutes les parties de la cuisine ne peuvent etre lavées à l'eau savonneuse chaude, mais voirlez a prévenir toute infiltration d'eau dans I'appareil.
N'oubliez pas de remettre sous tension et de régler de nouveau l'horloge avant d'utiliser la cusinière.
Nous avons développé une gamme de produits nettoyants qui permettent d'obtenir des résultats optimaux sans abimer les surfaces émailées et peintes. Des informations complémentaires figurent dans la brochure Collection Ustensiles de cuisine [Cookware Collection] fournie avec votre cusinière ou sur notre site Internet www.rangemaster.co.uk.
Table de cuisson
Entretien quotidien
Vérifiez tout d'abord que tous les indicateurs de chaleur résiduelle sont éteints et que la table de cuisson a refroidi. Appliquez une petite quantité de nettoyant semi-liquide pour surface vitrocéramique au centre de chaque zone à nettoyer. A l'aide de papier essue-tout propre et humide, étalez le produit nettoyant sur la surface de cuisson. Pour finir, essuyez la surface avec du papier essue-tout propre et sec.
Nettoyage des déversements accidentels
En cas de déversement ou débordement accidentel pendant la cuisson, éteignez la cusinière et essuyez autour de la zone chaude avec du papier essuie-tout propre. Si les alimentés renversés (autres qu'une substance sucrée) se trouvent sur une zone chaude de la table de cuisson, attendez que cette-ci ait entièrement refroidi pour nettoyer et suivez les instructions ci-dessous (« Nettoyage des déversements brûlés »). En cas de fonte accidentelle d'un objet ou de déversement d'aliments à forté teneur en sucre (confiture, sauce tomate, etc.), ENLEVEZ IMMEDIATEMENT les alimentés déversés à l'aide d'un racloir à lame pendant que la table est encore chaude.
IMPORTANT : Utilisez un gant isolant pour ne pas vous brûler.
Raclez le plus gros des alimentés déversés ou de toute matière qui aurait fondu sur la zone de cuisson et poussez-les vers une zone froide. Mettez ensuite la cusinière sur la position Arrêt [OFF] et laissez-la refroidir avant de nettoyer à nouveau. Lorsque la surface de cuisson a refroidi et que les indicateurs de chaleur résiduelle sont éteints, suivez la procédure de nettoyage quotidien déscripte plus haut.
Nettoyage des déversements brûlés
Vérifiez que les indicateurs de chaleur résiduelle sont éteints et que la table de cuisson a refroidi. Retirez toute matière brûlée à l'aide d'un racloir à lame simple. Tenez le racloir à un angle d'environ 30^ au-dessus de la surface et raclez pour éliminer les dépôts :

Lorsque le plus gros à été enlevé à l'aide du racloir, suivez la procédure de nettoyage quotidien décrite plus haut.
Nettoyage des traces métalliques
Le fait de faire glisser des recipients en aluminium ou en cuivre sur la table de cuisson peut marquer la surface. Ces marques ressemblant souvent à des rayures, mais sont facies à éliminer au moyen de la procédure de nettoyage des déversements accidentels décrite plus haut. Dans le cas de marques tenaces, utilisez un produit nettoyant semi-liquide et un racloir à lame, en procédant selon la méthode décrite plus haut.
Gril Coulissant « Glide-Out »
Lavez la lèchefrite et la grille à l'eau savonneuse chaude.
Après les grillades de viandes ou d'aliments salissants, faites tremper dans l'évier, pendant quelques minutes, immédiatement après la cuisson. Les taches tenaces sur la grille peuvent être enlevées à l'aide d'une brose en nylon.
La lèchefrite peut aussi être lavée au lave-vaiselle. Avant de retarder des composants du grill pour les nettoyer, assurez-
vous qu'ils ont refroidi ou protégéz-vous avec des gants isolants.
Procedez comme suit pour-retirer la l'echefrite à des fins de nettoyage:
Pour retarder le support de la l'echefrite, tirez la l'echefrite vers l'avant :

Soulevez la l'echefrite du support. Le support est maintainu sur les glissieres laterales par deux clips de chaque cote:

Pour chaque côté, soutenez la glissière laterale d'une main et, de l'autre, soulevez le support pour le dégager des clips lateraux :

Par sécurité, repoussez les glissières laterales dans l'enceinte du grill. Pour faciliter le nettoyage de l'enceinte du grill, vous pouvez夕阳er les glissières laterales en les décrochant des côtés de l'enceinte et essuyer les côtés avec un chiffon doux imbibé de détergent doux.
N'utilisez pas de produit abrasif.
NE LAVEZ PAS les glissières laterales au lave-vaissette.
Après nettoyage, raccrochez les glissières latérales sur les côtés de l'enceinte du gril. Pour remonter le support, tirez les glissières latérales vers l'avant, et, pour chaque côté, soutenez la glissière et appuyez sur le support pour le réinsérer dans les glissières. Replacez la l'échefrite.

Lors de la remise en place de la lèchefrite, assurez-vous que le bord large est à l'avant :

Panneau de commande et portes des fours
Le panneau et les boutons de commande doivent être nettoyés uniquement avec un chiffon doux imbibé d'eau savonneuse chaude. Lustrez ensuite à l'aide d'un chiffon sec.
Cuisinières à portes vitrées
Le panneau avant de la porte de chaque four peut être retiret pour permettre le nettoyage des panneaux en verre. Si le bord supérieur de la porte du four de votre cuisineira est une rangée de trough et que les bords lateraux comportent des vis, vous pouvez le démonter à des fins de nettoyage.
Tirez la cusinière vers l'avant pour pouvoir acceder aux parties laterales (voir la section « Déplacement de la cusinière » des générées instructions).
Entrouvre la porte du four et retirez les vis de fixation du panneau avant sur les côts de la porte (deux de chaque côté):

Soulevez le panneau de porte extérieur avec précaution. Vous pouvez à présent nettoyer la face interieure des panneaux, en veillant à ne pas déplacer ni mouiller les joints d'étanchéité de la porte.
La porte est dotée d'un triple vitrage, mais les deux panneaux interieurs sont fixes et ne doivent pas'être séparés. ÀpRES nettoyage, reposez le panneau de porte extérieur avec précaution et replacez les vis de fixation.
Panneaux de four
Les deux jours sont dotés de panneaux à revêtement émailrés partiellement autonettoyants. Ceci n'empêche pas complètement la formation de taches sur le revêtement, mais réduit le nettoyage manuel nécessaire.
Le nettoyage automatique des panneaux est plus efficace à une température supérieure à 200^ . Si, en général, vous utilisez le four à des températures inférieures, retirez occasionnellement les supports de grille et essuyez les panneaux avec un chiffon non pelucheux imbibé d'eau savonneuse chaude. Séchez et replacez les panneaux dans le four chauffé à 200^ pendant environ une heures. Ceci assurera un bon fonctionnement des panneaux autonettoyants.
N'utilise pas de paille de fer ou tout autre matériel susceptible de rayer la surface.
Dépannage
Une fissure est visible sur la surface de la table de cuisson
Mettez immédiatement la cusinière hors tension et faites-la réparer. N'utilise pas la cusinière tant qu'elle n'a pas été réparée.
La table de cuisson est rayée
Utilisez toujours les méthodes de nettoyage recommendées dans les prsentes instructions, et Veillez à utiliser des recipients de cuisson à fond lisse et propre Les traces laissées par les recipients en aluminium et en cuivre, de même que les dépôts mineraux dus à l'eau et aux alimentés, peuvent être éliminés à l'aide d'un produit nettoyant semi-liquide. Il n'est pas toujours possible d'éliminer les toutes petites rayures, mais celles-ci s'estomperont à la longue après plusieurs nettoyages.
Le ventilateur du four est bruyant
Le bruit du ventilateur peut changer pendant le chauffage du four - ceci est tout à fait normal.
Le gril ne cuit pas correctement
Utilisez-vous la l'echefrite et la grille fournies avec la cuisine ? Utilisez-vous la l'echefrite sur les glissières et non pas directement sur la surface inférieure de l'enceinte du grill ? La l'echefrite est-elle insérée à fond jusqu'à la butée arrête ?
Les boutons de commande deviennent chauds lorsqu'utilise le four ou le gril. Comment faire pour empêcher cela ?
Ceci est dû à la chaleur provenant du four ou du grill. Ne laissez pas la porte du four ouverte. Lorsque vous utilisez le grill, assurez-vous que la lèchefrite du grill est bien insérée jusqu'à la « butée arrière »
En cas de problème concernant l'installation, si mon installateur d'origine ne peut pas venir résoudre le problème, à qui incombent les frais?
C'est à vous qu'incombent ces frais. Les sociétés d'entretien factureront leurs interventions si elles réparent une installation effectuee par votre installerur d'origine. Il est de votre intérêt de contacter votre installerur d'origine.
La ciisson au four n'est pas uniforme
N'utilisez pas de plat ou de plaque de cuisson de dimensions supérieures à 340 mm x 340 mm. Dans le cas d'un grand plat, vous devrez peut-être le tourner pendant la cuisson. Si vous utilisez deux grilles, vérifiez qu'il y a assez de place pour permettre à la chaleur de circuler. Lorsque vous insérez une plaque de cuisson dans le four, veillez à la placer au centre de la grille. vérifiez que le joint d'étanchéité de la porte n'est pas endommagé et que le loquet de porte est régle de façon à ce que la porte soit bien appuyée contre le joint.
Un reçipient d'eau place sur la grille doit avoir une profondeur uniforme. (S'il est plus profond à l'arrière, par exemple, l'arrière de la cusinière doit être levé ou l'avant de la cusinière abaisse). Si la cusinière n'est pas à niveau, demandez à votre fournisseur de la dette à niveau.
Le four gauche ne s'allume pas lorsqu'il est mis en marche manuellement.
L'appareil est-il sous tension? L'horloge est-elle éclairée? Si ce n'est pas le cas, l'alimentation électrique est peut-être défectueuse. Le sectionneur de l'alimentation électrique de la cuisine est sur la position Marche?
L'heure a-t-elle ete reglee?
Le symbole clé (l) s'affiche-t-il pour indiquer le verrouillage du four ? Reportez-vous à la section « Horloge » des générées instructions pour un complément d'informations sur la fonction de verrouillage de l'horloge.
Le four gauche ne s'allume pas avec la mise en marche automatique.
En supposant que la minuterie a eté régée correctement, le bouton de commande du four a-t-il eté laissé par erreur sur ARRET (OFF)?
Le symbole clé (l) s'affiche-t-il pour indiquer le verrouillage du four ?
Avec le temps, la température du four de la cusinière devient plus chaude
Si le fait demettre le bouton de réglage sur une température inférieure n'a pas eu d'effet ou a eu un effet-temporaire, vous devrez peut-être replacer le thermostat. Cette intervention doit être effectuee par un spécialiste de l'entretien.
L'éclairage du four ne fonctionne pas
L'ampoule a probablement grillé. Vous pouvez acheter une ampoule de rechange (non couverte par la garantie) dans un magasin d'accessoires électriques. Demandez une ampoule à culot vissable Edison 15 W 240 V, POUR FOURS. Cette ampoule doit pouvoir résister à une température de 300^ . Veuillez vous reporter à la brochure « Conseils à la clientèle » pour vous procurer des pieces de rechange par correspondence.

Avant de-retirer l'ampoule usagée,mettez la cuisinière hors tension et assurez-vous que le four a refroidi. Ouvrez la portedu four et retirez les grilles du four.
Four gauche
Retirez les grilles et les revêtements latéraux du four. Retirez le revêtement arrêté du four.
Four droit
Retirez la partie arrêté interne du four (voir "Entretien").Une fois que le couvercle est accessible, dévissez-le de l'ampoule en tournant en sens antihoraire (il peut être très difficile à dévisser):

Dévissez l'ampoule (sens antihoraire), en vous protégeant les mains avec un gant pour ne pas vous blesser.

Vissez l'ampoule de rechange, puis revissez le couvercle de l'ampoule.
Remettez l'appareil sous tension et contrôle le fonctionnement de l'éclairage.
Installation
A l'intention de l'installateur
Avant de commencer l'installation, veuillez replir la fiche ci-dessous. Ceci permettra à votre client de vous contacter facilement en cas de problème relatif à l'installation.
| Nom de l'installateur |
| Société de l'installateur |
| Numéro de téléphone de l'installateur |
Respectez les prescriptions et réglementations de sécurité cédssous :
Cette cusinière doit être installée par un électricien qualifié, en conformité avec les normes/codes de pratiques Britanniques en vigueur, en particulier BS 7671, ou à toutes les règlementations nationales et locales en vigueur, et uniquement dans un endroit bien ventilé. Lisez les instructions avant d'installer ou d'utiliser cet apparéil.
Ventilation
Cet apparéil n'est pas raccordé à un dispositif d'évacuation des produits de combustion. Prétez particulièrement attention à la réglementation en vigueur concernant la ventilation.
Toutes les pieces nécessitent une fenêtre ouvrable ou un dispositif équivalent, et certaines pieces nécessitent une mise à l'air libre permanente en plus de la fenêtre ouvrable.
Emplacement de la cusinière
La cusinière peut être installée dans une cuisine/un salon-cuisine, mais PAS dans une piece contenant une baignoire ou une douche.
Cet apparéil est conçu uniquement pour un usage domestique. Toute autre utilisation n'engage ni la responsabilité, ni la garantie du fabricant.
L'installation de la cusinière nécessitera l'emploi du matériel indiqué ci-dessous.
Multimètre (pour les contrôleles électriques)
Outil de mise à niveau (fourni avec la cuisinière)
Vou aurez aussi besoin des outils suivants :
- Perceuse électrique
- Foret à maconnerie (necessaire seulement pour montages sur sol en pierre ou en béton)
- Chevilles (necessaire seulement pour montage sur sol en pierre ou en béton)
- Metre en acier
- Tournevis cruciforme
- Tournevis à lame plate
- Niveau à bulle
- Crayon
- Clé réglable
- Vis pour le montage de l'équerre stabilisatrice
Vérification des pieces
| Grille de l'échefrite | 3 grilles de four plates et 1 grille surbaissée |
| Handyrack | Plat à rôtir |
| Plinthes intérieures et extérieures | Outil de mise à niveau et clés hexagonales |
Positionnement de la cuisineire
Les schémas indiquent les cotes minimales recommandées entre la cusinière et les surfaces adjacentes.
Ne placez pas la cuisineire sur un support.

Le pourtour de la table de cuisson doit être au niveau ou au-dessus de tout plan de travail adjacent. Au-dessus du niveau de la table de cuisson, laissez un espace de 75 mm entre chaque côté de la cusinière et toute surface verticale adjacente. Pour les surfaces non combustibles (telles que le métal non peint ou les carrelages), cette cote peut être de 25 mm.
Laissez un espace de 650 mm au minimum entre la partie supérieure de la table de cuisson et une surface horizontally combustible.

- Toute hotte de cuisine doit être installée conformément aux instructions du fabricant de hotte.
Les surfaces des meubles et des murs de chaque côté et à l'arrière de l'appareil doivent être résistantes à la chaleur, aux éclaboussures et à la vapeur. Certains types de meubles de cuisine en vinyle ou en stratifié sont particulièrement susceptibles aux risques de dommages thermiques et de décoloration.
Nous recommendons de laisser un espace de 1110 mm entre les unités, pour permettre le déplacement de la cusinière. La cusinière ne doit pas être encastrée. Elle doit pouvoir être déplacée vers l'avant et vers l'arrière pour le nettoyage et l'entretien. Si la cusinière doit être encastrée, place-la à niveau avec l'élement d'un côté, puis montez l'élement de l'autre côté.
Si la cuisine est pres d'un coin de la cuisine, un dégagement de 130 mm est nécessaire pour permettre l'ouverture des portes du four. La cote d'ouverture des portes est légèrement inférieure à ce dégagement, mais ceci inclut une marge de sécurité pour la protection des mains lors de l'ouverture de la porte.

Déballage de la cusinière
N'enlevez aucun emballage de la cusinière tant que cette-ci n'est pas directement en face de l'emplacement où elle sera installée (sauf si, dans son emballage externe, la cusinière ne peut pas passer par une porte).
Coupez les courroies d'emballage et otez le carton recouvrant la cusinière, mais laissez la cusinière sur le plateau d'emballage. Reportez-vous à la feuille d'instructions de déballage fournie.
Déplacement de la cusinière
Si vous déplacez la cusinière après son installation, mettez-la hors tension et déplacez-la progressivement, en vous assurant que le cable électrique est suffisamment long pour permettre le déplacement. Si la cusinière est dotée d'une chaîne stabilisatrice, défaites-la pour pouvoir manœuvrer la cusinière. N'oubliez pas de la remetre en place lorsque vous replaces la cusinière.
La cuisine est lourde, deux personnes seront peut'être nécessaires pour la déplacer.
Assurez-vous que le revêtement du sol est solidement fixé en place ou retirez-le afin de ne pas l'abîmer en déplaçant la cusinière. Deux galets arrêtè de mise à niveau et deux supports avant facilitent le déplacement de la cusinière. De plus, ce modèle est doté d'un autre galet avant accessible après retrait du tiroir de rangement.
Levez légèrement l'avant de la cusinière et tirez-la vers l'avant pour pouvoirPTRirer le socle d'emballage en polystyrène.
Depuis l'avant, inclinez la cusinière vers l'avant et PTRize la partie avant du socle d'emballage en polystyrène. Repetez cette procedure à l'arriere et PTRize la partie arriere du socle.



Ouvrez le tiroir au maximum, et soulevez-le pour le retirer.

Insérez l'outil de mise à niveau sur le dispositif de réglage rectangulaire comme illustré ci-dessous.

ABAISSEZ LE GALET AVANT en tournant la clé de 14 tours complets (360°) en sens horsaire. (Tournez et retirez l'outil de mise à niveau 56 fois).
ABAISSEZ LES DEUX GAETS ARRIERE.
Insérez d'abord l'outil de mise à niveau dans l'écrou de réglage hexagonal comme illustré ci-dessous.

Tournez l'outil de 10 tours complets (360^) en sens hora. (Tournez et retirez l'outil de mise à niveau 20 fois).

Veillez à abaiser les DEUX GALETS ARRIRERE. Il y a deux écrous de réglage, un pour chaque galet, aux coins avant inférieurs de la cusinière.

Dépliez le bord arrêté du plateau d'emballage, puis, après avoir ouvert la porte du grill et la porte du four droit pour avoir une bonne prise sous la partie inférieure du panneau de commande, levez l'avant de la cuisine :
Poussez la cuisine est pres de sa position finale, en laissant juste assez de place pour pouvoir avoir accès à l'arrière.
N'utilise pas les poignées de portes ou les boutons de commande pour déplacer la cuisineire.
Mise à niveau
Nous vous recommendons d'utiliser un niveau à bulle placé sur une des grilles de four pour vérifier le niveau.
Placez la cusinière à l'emplacement prévu pour son installation, en veillant à ne pas exercer de force de torsion lorsque vous l'insérez entre les éléments de cuisine, pour ne pas l'endommager ou endommager les éléments.
Les galets régibles permettent la mise à niveau de la cusinière. Pour régler la hauteur de l'arrière de la cusinière, utilisez l'outil de mise à niveau pour tourner les écrous de réglage aux coins avant inférieurs de l'appareil. Réglez ensuite la hauteur du support/galet avant pourmettre la cusinière à niveau.
Lorsque la hauteur et le niveau sont corrects, levez l'avant de la cusinière d'un tour du dispositif de réglage du galet avant. Dévissez les supports avant jusqu'à ce qu'ils touchent le sol. Vissez le dispositif de réglage du galet avant en sens antihoraire pour remonter le galet avant, de sorte que l'avant de la cusinière repose sur les supports, et non pas sur le galet avant, afin de prévenir tout mouvement accidentel de la cusinière.
Laissez l'outil de mise à niveau sur le dispositif de réglage avec la poignée tournée vers l'arrière de la cuisinière, pour que le client puisse l'utiliser, s'il le désire, pour déplacer l'appareil.
Replacez le tiroir après l'avoir insere sur les glissieres laterales.
Montage d'un dispositif stabilisateur
Le montage d'une équerre ou d'une chaine stabilisatrice sur la cusinière est recommendé (mais non obligatoire). Avant le montage d'un dispositif stabilisateur, lisez les générées instructions ainsi que les instructions de montage fournies avec le dispositif.

- Placez la cusinière à l'emplacement prévu et mettez-la à niveau.
- Tracez une ligne au crayon à 70 mm du bord avant des supports de mise à niveau.
- Tracez l'axe pour l'équre r à 500 mm du côte gauche de la cuisine.
- Déplacez la cuisineire vers l'avant.
- A partir de la ligne au crayon mesurez 550 mm vers l'arrête pour indiquer le bord avant de l'équerre. Placez l'équerre de sorte qu'elle soit éloignée de l'axe de la cusinière pour réduire le risque d'entravement du cable électrique ou du tuyau flexible de gaz. Attachez l'équerre au sol.
- Mesurez la hauteur entre le niveau du sol et le bord de prise à l'arrête de la cusinière. Ajoutez 3 mm à cette cote et montez l'équerre stabilisatrice à cette hauteur (entre le niveau du sol et le revers du membre supérieur) et vérifie que l'équerre ne génne pas le brûleur du four.


Raccordement électrique
La cusinière doit être raccordée à l'alimentation électrique correcte, indiquée sur l'étiquette de tension sur l'appareil. Ceci doit être effectué par le biais d'une unité de commande de cusinière appropriée à interrupteur bipolaire (avec une séparation de contact de 3 mm au minimum entre les pôles).
Cette cuisinière ne doit pas etre raccordee a une prise d'alimentation domestique ordinaire.
MISE EN GARDE : CET APPAREIL DOIT ETRE MIS A LA TERRE.

Alimentation monophasée

Alimentation triphasée
Pour acceder au bornier d'alimentation secteur, retirez le boitier électrique sur le panneau arrière. Raccordez les câbles d'alimentation secteur aux bornes correctes pour votre type d'alimentation électrique (voir fig.). Vérifiez que les connecteurs sont montés correctement et que les vis des bornes sont bien serrées. Fixez le cable d'alimentation secteur à l'aide du serre-câble.
Table de cuisson
Contrôlez le fonctionnement de chaque foyer.
Contrôle des fours
L'horloge doit être réglée sur l'heure pour que le four Multifonctions gauche puisse fonctionner (voir la section « Horloge »).
Allumez les fours. Vérifiéz que les ventilateursurs des fours se mettent en marche et que les fours commencent à chauffer. Eteignez les fours.
Montage des plinthes
Montez la plinthe interieure à l'avant inférieur de la cuisine à l'aide des cinq vis fournies.

Montez la plinthe extérieure (une vis à chaque extrémité) sur la plinthe interieure. Une encoche permet d'ajuster la position de la plinthe extérieure, qui peut être déplacée vers le haut ou le bas.

Assistance clientèle
Veuillez indiquer vos coordonnées au début de cette section.
Veuillez indiquer au client comment faire fonctionner la cuisine et lui remettre les générates instructions.
Merci.
Entretien
Débranche l'alimentation électrique avant toute intervention d'entretien, notamment si vous devez-retirer un des éléments suivants : panneau de commande, pannaux latéraux, table de cisson ou tout composant ou boitier électrique.
Avant de rebrancher l'alimentation électrique, effectuez les contrôle des sécurité nécessaires.
1 Dépose du panneau de commande
Débranche l'alimentation électrique.
Retirez tous les boutons de commande.
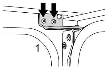
Ouvrez les portes du grille et du four croit et retirez les trois vis de fixation sous le panneau de commande.
Le panneau de commande devrait s'abaiser légèrement. Il est maintainu sur la partie supérieure par deux troughs, un de chaque côté, qui s'insèrent sur des languettes sur le panneau interieur.
Décrochez le panneau de commande du panneau interieur et tirez-le vers l'avant.



Débranche le câblage à l'arrière.
Remontez en procedant dans l'ordre inverse. Pour rebrancher les fils électriques, reportez-vous au schéma de câblage.
Contrôlez le fonctionnement de la minuterie.
2. Dépose d'un panneau létral
Débranche l'alimentation électrique.
Déposez le panneau de commande (voir point 1). Tirez la cuisine et vers l'avant. Retirez les quatre vis de fixation sur chaque panneau (une à la partie avant inférieure, une à la partie avant supérieure et deux à l'arrête).
Remontez en procedant dans l'ordre inverse.
3. Soulèvement de la table de cuisson
Débranche l'alimentation électrique.
Tirez la cusinière vers l'avant. Dévissez les deux vis situées à l'arrière de chaque côté de la cusinière sous la garniture du grill. Poussez la table vers l'arrière pour défaire le support de retenue avant. Soulevez la table de cuisson.
Maintenez la table de cuisson en position haute à l'aide de la barre située au revers de la table, en plaçant l'extrémité libre dans le trou central dans la partie supérieure du panneau de commande interieur.
Attention
La table de cuisson risque beaucoup plus d'être rayée sur le revers que sur la surface supérieure.
Veillez à ne pas toucher ni rayer le revers de la table en vitrocéramique pour éviter de réduire sa résistance et pour prévenir les risques de fissures.
4. Replacement d'un élément de table de cuisson
Débranche l'alimentation électrique.
Soulevez la table de cuisson (voir point 3). Les éléments sont à présent accessibles. Notez les positions des raccords de fils et l'orientation des éléments en prévision du remontage. Débranchez les fils, dévissez la vis centrale et retirez l'élément et le ressort, avec précaution. Dévissez les deux vis pour retarder le ressort. Remontez en procédant dans l'ordre inverse, et en utilisant les mêmes vis. Remarque: L'orientation de l'élément est importante. Utilisez les numérores à l'arrête de l'élément pour replacer correctement le ressort.
5. Remplacement de l'interrupteur d'éclairage
Débranche l'alimentation électrique.
Déposez le panneau de commande (voir point 1).
N.B. L'interrupteur usage peut être détruit pendant la dépose. Retirez l'interrupteur usage en tenant fermement le corps de l'interrupteur depuis l'arrière du panneau de commande et en tournant d'un coup sec. Pour extraire l'encadrement, repliez ses languettes de fixation et poussez-le vers l'avant. Pour monter le nouvel encadrement sur le panneau de commande, alignez d'abord la clavette saillante du corps de l'encadrement et la découpe sur le panneau de commande, puis poussez pour insérer.
Pour monter le nouvel interrupteur sur l'encadrement, alignez les parties clavétées et poussez pour insérer. Montez le nouveau bouton en le poussant depuis l'avant.
Remontez le panneau de commande en procédant dans l'ordre inverse et contrôle le fonctionnement de l'interrupteur.
6. Déposé de la minutesie
Débranche l'alimentation électrique.
Déposez le panneau de commande (voir point 1). Tirez pour enlever le(s)bouton(s)de commande de la minuterie.
Retirez l'ensemble minuterie / support de montage du panneau de commande après avoir retire le vis de fixation.
Pour détacher la minuterie de son support de montage, appuyez sur les languettes en plastique situées sur le boîtier de la minuterie tout en tirant la minuterie vers l'avant.
Remontez en procédant dans l'ordre inverse. Pour rebrancher les fils électriques, reportez-vous au schéma de câblage. Contrôlez le fonctionnement de la minuterie.
AVERTISSEMENT - L'ENTRETIEN DOIT ETRE EFFECTUÉ UNIQUEMENT PAR UNE PERSONNE HABILITÉE.
Débranche l'appareil de l'alimentation électrique avant une intervention d'entretien. Une fois le travail terminé, effectuez les contrôle des sécurité nécessaires.
7. Replacement d'un thermostat
Débranche l'appareil de l'alimentation électrique.
Déposez le panneau de commande (voir point 1) et soulevez la table de cuisson (voir point 3). Ouvrez la porte du four. Retirez les accessoires du four et le panneau de VOûte (le cas échéant).
Four droit : retirez le couvercle du tube en verre du thermostat (deux vis). Dégagez le tube en verre des clips de retenue à l'arrête du four.
Four gauche : Tirez la cusinière vers l'avant pour avoir accès au boîtier situé à l'arrête de la cusinière. Retirez le boîtier après avoir dévissé ses quatre vis de fixation.
Sortez le tube capillaire du thermostat du four. Débranchez le câblage du thermostat. Retirez les deux vis de fixation du thermostat sur la plaque de montage. Insérez le nouveau thermostat et remontez en procédant dans l'ordre inverse. Vérifiez que le tube en verre est bien fixé à l'arrête du four, en position centrale, entre les clips de retenue.
Contrôlez le fonctionnement du thermostat.
8. Remplacement d'un régulateur de grill
Débranche l'alimentation électrique.
Déposez le panneau de commande et soulevez la table de cuisson (voir points 1 et 3). Débranchez le câblage du régulateur. Retirez les deux vis de fixation du régulateur sur la plaque de montage. Insérez le nouveau régulateur et remontez en procédant dans l'ordre inverse. Contrôlez le fonctionnement du régulateur.
9. Remplacement d'une porte de four
Remplacement d'une porte de four
Ouvrez la porte du four. Soutenez la porte et déposez les deux vis de fixation de la charnière supérieure et du joint à l'avant du four. Retirez la porte de la charnière inférieure en la levant légèrement pour la dégager de l'appareil.


La porte est lourde, faites attention.
Remontez en procedant dans l'ordre inverse.
10. Réglage de l'angle de la porte du four
La charnière inférieure de la porte peut être ajustée afin de modifier l'angle de la porte. Desserrez les vis de fixation de la charnière inférieure, et utilisez le cran et un tournevis à lame plate pour changer la position de la charnière et la régler.
Resserrez les vis de la charnière.
Effet de l'ajustement de la charnière - exagéré pour plus de clarté



Ligne centrale de I'axe de charnière.
Omission de la porte du four pour plus de clarté.
11. Remplacement d'un panneau de porte extérieur de four
Tirez la cusinière vers l'avant pour pouvoir acceder aux côts. Entrouvre la porte du four et retirez les vis de fixation du panneau avant des côts de la porte (deux de chaque côté).

Soulevez le panneau de porte extérieur avec précaution.
Retirez la poignée de porte du panneau après avoir dévissé les deux écrous de fixation. Montez la poignée sur le nouveau panneau.
Posez le panneau sur la porte. Remontez en procédant dans l'ordre inverse.
12. Remplacement du verrouillage de porte de four
Retirez le panneau de porte extérieur du four (voir point 11). Retirez les vis « B » fixant l'ensemble du dispositif de verrouillage au panneau de porte interieur. Posez le verrouillage de rechange et remontez en procédant dans l'ordre inverse.
Contrôlez le fonctionnement de la porte.

AVERTISSEMENT - L'ENTRETIEN DOIT ETRE EFFECTUÉ UNIQUEMENT PAR UNE PERSONNE HABILITÉE.
Débranche l'appareil de l'alimentation électrique avant une intervention d'entretien. Une fois le travail terminé, effectuez les contrôle des sécurité nécessaires.
13. Réglage de la gâche du loquet de porte de four
Ouvrez la portedu four et desserrez le contre-écrou de la partie inférieure de la gache :
Réglez la gâche vers l'intérieur ou l'extérieur jusqu'à obtention du réglage requis. Resserrez le contre-écrou.

14. Remplacement d'un joint de porte de four
Ouvrez la porte du four. Le joint est maintainu en place par des petits crochets insérables dans des trous sur la face arrrière de la porte pour le four principal et sur la face avant pour le four haut. Depuis le coin, tirez sur le joint
en diagonale, en l'éloignant du centre de la porte, jusqu'à ce que ce crochet se défasse. Passez au crochet suivant et défaites-le, ainsi que les suivants, de la même façon.
Vous pouvez forcer si les crochets résistant car le joint usage sera mis au rebut.

Soulevez la partie arrêté interne avec précaution. Remontez dans l'ordre inverse, en veillant à bien serrer les quatre vis et rondelles.
15. Dépose de la porte du grill
Déposez le panneau de commande (voir point 1). Déposez le panneau gauche (voir point 2). Retirez le cache de protection central (cinq vis - deux en haut, deux en bas et une au milieu). Retirez les deux vis à tête noyée (une de chaque côté) qui retientment les bras articulés du grill à l'avant de l'enceinte du grill.
REMARQUE : Les bras sont sur ressorts. Procedez avec soin pour-retirer la portedu gril.Conservez les garnitures d'etanchete.
Remontez dans l'ordre inverse, en veillant à placer la garniture d'étanchéité entre le bras articulé et l'avant de l'enceinte du grin.
16. Dépose d'un protecteur thermique d'élement de four
Débranche l'alimentation électrique.
Tirez la cusinière vers l'avant pour pouvoir acceder au boîtier. Dévissez et retirez le boîtier. Le protecteur thermique est situé sur la plaque de mise à la terre, à côté des raccords d'éléments du four. Débranchez le câblage du protecteur thermique. Retirez les fixations du protecteur sur la plaque de mise à la terre et retirez le protecteur. Insérez le protecteur de rechange et remontez en procédant dans l'ordre inverse.
17. Dépose de la partie arrière interne du four
Débranche l'alimentation électrique.
Ouvrez la porte du four et retirez les grilles. Retirez les vis et rondelles de fixation de la partie arrrière interne - quatre pour le four gauche, comme indiqué sur le schéma, et deux pour le four droit.

Dégagez la partie arrêté interne avec précaution. Remontez en procédant dans l'ordre inverse, en veillant à bien serrer les vis et rondelles.
18. Dépose de l'élement du four ventilé
Débranche l'alimentation électrique.
Retirez la partie arrière interne du four (voir point 17).

Retirez les deux vis sur la partie supérieure de l'objet et la vis sur la partie inférieure de l'objet à l'intérieur du four. Dégagez les éléments avec précaution et débranchez les fils des bornes des éléments, en veillant à noter leurs positions. S'il n'est pas possible de débrancher les fils de cette façon, tirez la cuisinière vers l'avant pour pouvoir acceder à
AVERTISSEMENT - L'ENTRETIEN DOIT ETRE EFFECTUÉ UNIQUEMENT PAR UNE PERSONNE HABILITÉE.
Débranche l'appareil de l'alimentation électrique avant une intervention d'entretien. Une fois le travail terminé, effectuez les contrôle des sécurité nécessaires.
l'arrière, dévissez le boîtier électrique sur la plaque arrête et débranchez les bornes de l'arrière.
Insérez le nouvel élément et remontez en procédant dans l'ordre inverse. Contrôlez le fonctionnement du four.
19. Dépose du ventilateur du four
Débranche l'alimentation électrique.
Tirez la cusinière vers l'avant pour pouvoir acceder à l'arrière. Dévissez et retirez le boîtier électrique sur la plaque arrière. Débranchez les 3 bornes raccordées au ventilateur, en veillant à noter leurs positions. Déposez la partie arrière interne du four (voir point 17). Maintenez les pales du ventilateur et défaites l'écrou central (filetage gauche), les deux rondelles en laiton, les pales et le jonc d'arrêt. Dévissez les écrous de fixation et les rondelles (trois de chaque) et retirez le ventilateur de la partie arrière de la cusinière. Insérez le nouveau ventilateur et remontez en procédant dans l'ordre inverse. Contrôlez le fonctionnement du four.
20. Dépose des éléments inférieurs et supérieurs du four gauche
Débranche l'appareil de l'alimentation électrique.
Elément inférieur
Tirez la cusinière vers l'avant pour pouvoir acceder aux boîtiers situés à l'arrière de l'appareil. Dévissez et retirez le boîtier.

Retirez les 2 vis « A » pour permettre l'abaissement de la plaque. Retirez les 2 vis « B », abaissez la plaque supérieure et sortez-la par la fente à l'arrête de la cuisinière.
Défaites les branchements de bornes, en veillant à noter leurs positions.
Retirez l'objet après avoir défait ses fixations. Remplacez l'objet et remontez en procédant dans l'ordre inverse.
Elément supérieur
Ouvrez la porte du four gauche et défaites les fixations de l'écran thermique. Retirez les fixations du support d'élément supérieur et retirez l'élement. Remplacez l'élement et remontez en procédant dans l'ordre inverse. Contrôlez le fonctionnement du four.
21. Dépose de l'élement du grill
Débranche l'alimentation électrique.
Retirez la lèchefrite de l'enceinte du grill, retirez la protection avant émaillée de la voute du grill après avoir défait deux vis et rondelles.
Retirez les deux vis et les rondelles de fixation du support avant de l'objet du grill. Retirez les vis des éléments du grill.
Dégagez les éléments avec précaution et débranchez les fils des bornes des éléments, en veillant à noter leurs positions. S'il n'est pas possible de débrancher les fils de cette façon, tirez la cusinière vers l'avant pour pouvoir acceder à l'arrière, dévissez le boitier électrique sur la plaque arrière et débranchez les bornes de l'arrière.
Insérez le nouvel élément et remontez en procédant dans l'ordre inverse. Contrôlez le fonctionnement du grille.
22. Remplacement de l'ampoule déclairage du four Débranchez l'alimentation électrique.
Assurez-vous que le four a refroidi. Ouvrez la porte du four et retirez les grilles du four. Retirez la lèchefrite et le support de l'enceinte du grin.
Dévissez le couvercle de l'ampoule en tournant en sens antihoraire. Il peut être très difficile à dévisser.

Dévissez l'ampoule avec précaution, pour ne pas risquer de vous blesser.

Montez une ampoule à culot vissable Edison 15 W 240 V, POUR FOURS. Cette ampoule doit pouvoir résister à une température de 300^ .
Vissez l'ampoule de rechange, puis revissez le couvercle de l'ampoule. Remettez l'appareil sous tension et contrôle le fonctionnement de l'éclairage.

Les raccords indiqués sur le schéma de câblage sont pour une alimentation monophasée. Les capacités nominales sont pour 230V 50Hz
| Code | Élément |
| A1 | Régulateur de puissance du gril |
| A2 | Éléments du gril |
| A3 | Interrupteur avant du gril |
| B1 | Thermostat du four Multifonctions gauche |
| B2 | Commande des fonctions du four Multifonctions |
| B3 | Interrupteur avant du thermostat du four Multifonctions gauche |
| B4 | Élément de sole du four Multifonctions |
| B5 | Élément de VOûte du four Multifonctions (paire extérieure) |
| B6 | Élement gratineur du four Multifonctions (paire intérieure) |
| B7 | Élement du ventilateur du four Multifonctions |
| B8 | Ventilateur du four Multifonctions |
| D | Horloge |
| E | Terre |
| F1 | Thermostat du four droit |
| F2 | Bloc-interrupteurs du four droit |
| F3 | Élément du four ventilé droit |
| F4 | Ventilateur du four droit |
| G1 | Ventilateur de refroidissement |
| H | Interrupteur d'éclairage du four |
| I | Eclairage du four |
| J | Protecteur thermique |
| K | Voyant |
| Code | Couleur |
| b | Bleu |
| bl | Noir |
| br | Brun |
| o | Orange |
| r | Rouge |
| v | Violet |
| w | Blanc |
| y | Jaune |

Les raccords indiqués sur le schéma de câblage sont pour une alimentation monophasée. Les capacités nominales sont pour 230V 50Hz
| Code | Éléments |
| A | Régulateur d'énergie double extrémité gauche de la table de cuisson |
| B | Régulateur d'énergie partie arrêté gauche de la table de cuisson |
| C | Régulateur d'énergie partie avant gauche de la table de cuisson |
| D | Régulateur d'énergie partie arrêté droit de la table de cuisson |
| E | Borne de mise à la terre |
| F | Régulateur d'énergie partie avant droit de la table de cuisson |
| G | Contrôleur droit chauffe-plates de la table de cuisson |
| H | Indicateurs de la table de cuisson |
| J | Élément chauffe-plates |
Fiche technique
A L'INTENTION DE L'INSTALLATEUR : Veuillez remetre les prsentes instructions à l'utiliseur:
EMPLACEMENT DU BADGE TECHNIQUE : Arrière de la cusinière, badge auxiliaire de numéro de série sous l'ouverture de la porte du four.
Dimensions
| Hauteur hors tout | minimum 900 mm | maximum 925 mm |
| Largeur hors tout | 1100 mm. | |
| Profondeur hors tout | 648 mm | |
| Cote minimale au-dessus de la table de cuisson | 650 mm | |
Puisances
Charge électrique totale maximale à 230 V 50 Hz 15,6 kW (total approximatif complenant éclairages de fours, ventilateur de four, etc.)

Table de cuisson
| Fours | Multifonctions | Convection |
| Catégorie d'efficacité énergétique sur une échelle de A (plus efficace) à G (moins efficace | B | A |
| Consommation d'énergie basée sur une charge standard | 0.90 kWh | 0.85 kWh |
| Volume utilisable (litres) | 62 | 67 |
| Taille | Moyenne | Grande |
| Temps de cuisson – charge standard | 41 minutes | 38 minutes |
| Surface de cuisson | 1400 cm2 | 1400 cm2 |
| Grill | 2.3 kW |
Notice Facile