MODERN TOLEDO XT DUAL FUEL - Cuisinière dual fuel FALCON - Notice d'utilisation et mode d'emploi gratuit
Retrouvez gratuitement la notice de l'appareil MODERN TOLEDO XT DUAL FUEL FALCON au format PDF.
| Type de produit | Cuisinière à double combustible |
| Caractéristiques techniques principales | Four à convection, 5 foyers, surface en acier inoxydable |
| Alimentation | Gaz et électricité |
| Dimensions approximatives | Largeur : 90 cm, Profondeur : 60 cm, Hauteur : 90 cm |
| Poids | Environ 100 kg |
| Compatibilités | Compatible avec les bouteilles de gaz et le gaz de ville |
| Fonctions principales | Cuisson, rôtissage, grillade, cuisson à la vapeur |
| Entretien et nettoyage | Nettoyage à l'eau savonneuse, pièces amovibles pour un nettoyage facile |
| Pièces détachées et réparabilité | Disponibilité des pièces détachées via le service après-vente |
| Sécurité | Système de sécurité pour l'arrêt automatique du gaz, protection contre la surchauffe |
| Informations générales utiles | Garantie de 2 ans, manuel d'utilisation inclus |
FOIRE AUX QUESTIONS - MODERN TOLEDO XT DUAL FUEL FALCON
Questions des utilisateurs sur MODERN TOLEDO XT DUAL FUEL FALCON
0 question sur cet appareil. Repondez a celles que vous connaissez ou posez la votre.
Poser une nouvelle question sur cet appareil
Téléchargez la notice de votre Cuisinière dual fuel au format PDF gratuitement ! Retrouvez votre notice MODERN TOLEDO XT DUAL FUEL - FALCON et reprennez votre appareil électronique en main. Sur cette page sont publiés tous les documents nécessaires à l'utilisation de votre appareil MODERN TOLEDO XT DUAL FUEL de la marque FALCON.
MODE D'EMPLOI MODERN TOLEDO XT DUAL FUEL FALCON
Instructions d'utilisation et d'installation
Dual Fuel
| Sécurité avant tout | 4 |
| Brûleurs de table de cuisson | 4 |
| Plaque à griller | 5 |
| Support spécial de Wok | 6 |
| Chauffe-plats | 6 |
| Fours | 6 |
| Horloge | 7 |
| Cuisson avec minuterie | 8 |
| Four multifonctions | 9 |
| Handygrill | 11 |
| Utilisation du Handygrill | 11 |
| Grilles de four | 11 |
| Eclairage de four | 12 |
| Rangement | 12 |
| Nettoyage de la cusinière | 13 |
| Dépannage | 15 |
| Consignes générales de sécurité | 17 |
| Entretien et pièces de rechange | 18 |
| Installation | 20 |
| Positionnement de la cusinière | 20 |
| Modification en vue de l'utilisation d'un autre gaz | 25 |
| Intervention d'entretien | 26 |
| Fiche technique | 54 |
| Schéma de câblage | 55 |
| Modification en vue de l'utilisation d'un autre gaz | 56 |
Sécurité avant tout
Mise en garde
Les composants accessibles deviendront chauds pendant l'utilisation. Eloignez les enfants de la cuisine pour prévenir le risque de brûlures et d'ébouillantage.
Tout comme vous, votre cuisinière a besoin d'air frais. Les flammes des brûleurs produits des gaz de combustion, de la chaleur et de l'humiidity. Veiliez à ce que la cuisine soit bien ventilée : laissez les ouvertures de ventilation naturelle ouvertes ou installez une hotte aspirante à évacuation extérieure. En cas d'utilisation simultanée de plusieurs brûleurs ou d'utilisation prolongée de la cuisinière, ouvre une fenêtre ou mettez en marche une hotte aspirante. Pour des informations plus détaillées, reportez-vous aux Instructions d'installation.
Nous vous conseillons de dire les « Consignes générales de sécurité», en particulier si vous n'avez jamais utilisé de cusinière à gaz. Nous y donnons des conseils de base en vue d'une'utilisation sure d'une cusinière à gaz
Alimentation en gaz et électricité
Vérifiez que l'alimentation en gaz est en marche et que l'alimentation électrique de la cusinière est raccordée et en marche. La cusinière a besoin d'électricité.
Odeur de neuf
Une légère odeur de neuf peut se dégager lors de la première utilisation de la cusinière. Elle disparaître rapidement à l'utilisation.
Avant d'utiliser l'appareil pour la première fois, réglez les jours sur 240^ et faites-les marcher pendant une heures afin d'éliminer l'odeur du neuf. Veillez à ce que la pièce soit bien aérée, en ouvrant les fenêtres, par exemple.
Brûleurs de table de cuisson

Le schéma à côté de chaque bouton indique le brûleur associé à ce bouton.
Chaque brûleur a un dispositif de sécurité spécial qui coupe l'alimentation en gaz en cas d'extinction de la flamme.
Appuyez simultanément sur le bouton d'allumage et sur le bouton d'un des brûleurs que vous tournerez jusqu'au symbole de la grande flamme ().
Ou allumez avec une allumette.


Continuez d'appuyer sur le bouton pour permettre l'arrivee du gaz dans le bruleur pendant quelques secondes.
Si le brûleur s'éteint lorsque vous relâchéze le bouton de commande, le dispositif de sécurité n'a pas été enclenché. Tournez bouton de commande sur la position Arrêt et attendez une minute avant d'essayer de nouveau, en appuyant sur le bouton pendant un peu plus longtemps. Lorsque vous appuyez sur le bouton d'allumage, uneétincelle se produit à chaque brûleur, ce qui est tout à fait normal. N'essayez jamais de démonter ou de nettoyer
autour d'un brûleur lorsqu'un autre est en fonctionnement.
Vous pouriez receivevoir une décharge électrique.
Tournez le bouton pour régler la hauteur de flamme.

Le symbole petite flamme indique la « position minimum ». Tournez le bouton vers celle-ci lorsqu'un plat est parvenu à ébullition.

Veillez à ce que les flammes ne dépassent pas des récipients de cuisson. Utilisez un couvercle sur les récipients de cuisson pour porter à ébullition plus rapidement.
N'utilise pas de casseroles ou marmites à fond concave ou à fond à rebord incurve vers le bas.
L'utilisation de dispositifs de mijotage, de type plaques d'amiate ou plaques métalliques, est DECONSEILLEE. Ces dispositifs diminuérer les performances de la cusinière et risquent d'endommager les grilles de la table de cuisson.
N'utilise pas de récipiens de cuisson instables ou déformés susceptibles de se renverser, ni de récipiens de cuisson à fond de très petit diamètre (casseroles à lait, pocheuses individuelles, etc)
Le diamètre minimum recommendé pour les récipients de cuisson est de 120mm . Le diamètre maximum recommendé pour les récipients de cuisson est de 250mm .
Le brûleur Wok (coup de feu) à triple élément chauffant (sur certains modèles seulement) est conçu pour fournir une chaleur uniforme sur une grande surface. Il est idéal pour les grandes poèles et la friture rapide à feu vif. Les petits brûleurs convennent davantage aux recipients de cuisson plus petits.
Si la flamme d'un brûleur s'éteint, tournez le bouton pour fermer le gaz et attendez une minute avant de rallumer.
Vous pouvez-retirer les éléments du brûleur pour les nettoyer. Reportez-vous à la section « Nettoyage de la cuisine »
En cas de débordement, essuyezès que possible la surface en émail située autour des brûleurs de la table de cuisson. Essayez d'essuyer la substance renversée pendant que l'émail est encore chaude.
Remarque:
Les reçipients en aluminium peuvent laisser des traces de métal au niveau des grilles de la table de cuisson. Ces traces sont sans incidence sur la durabilité de l'émail et l'emploi d'un nettoyant pour métaux permettra de les supprimer.
Plaque à griller
La plaque à griller se pose sur une grille de la table de cuisson, d'avant en arrêté

Elle s'utilise pour la cuisson directe des alimentents. N'utilise pas de recipients de cuisson sur cette plaque. La plaque à griller a une surface antiadhésive susceptible d'être endommagée par des ustensiles de cuisine métalliques (spatules, par exemple). Utilisez des ustensiles en bois ou en plastique thermoresistant.
Ne la placez pas transversalement - elle sera mal placee et instable.
Ne la placez pas sur le brûleur du Wok - elle n'est pas conscience pour être placée sur la grille du brûleur du Wok.
Placez la plaque à griller sur la grille des brûleurs de la table de cuisson. Vérifiez qu'elle est placee correctement. Avant l'utilisation, vous pouvez enduire la plaque d'une légere couche d'huile à friture. Allumez les brûleurs de la table de cuisson. Reglez la hauteur de flamme selon les besoin.
Préchauffez la plaque à griller pendant 5 minutes au maximum avant d'y déposer les aliments. Un préchauffage plus long risque de l'endommager.
Pour réduire l'intensité de la flamme des brûleurs, tournez les boutons de commande sur la position basse, indiquée par le symbole de la petite flamme.
Veillez à ce qu'il y ait toujours suffisamment de place autour de la plaque à griller pour permettre l'échéppement des gaz. N'utilise jamais deux plaques à griller côte à côte. Les recipients de cuisson de grande taille doivent aussi être espacés.

Avec la pratique, vous saurez vite exploiter au moins l'espace sur votre cuisine pour la préparation de vos plats.
Après la cuisson, laissez refroidir la plaque à griller avant de la nettoyer.
Français
Support spécial de Wok
Le support spécial de Wok est conçu pour permettre l'utilisation d'un Wok professionnel TyphoonTM 35 cm (Code de piece 13840S).
Il est en vente auprès des grands détaillants.

Si vous utilisez un autre modèle de Wok, vérifie qu'il repose correctement sur le support spécifique. Les Woks peuvent avoir des tailles et des formes très variees. Il est important que le Wok repose correctement sur le support - mais si le Wok est trop petit, il ne sera pas bien maintainu en place par le support spécifique.
Le support spécial de Wok doit être utilisé uniquement sur le brûleur Wok à triple élément.

Lors de la pose du support, vérifie qu'il repose bien sur les barres de la grille et qu'il reste stable. Veillez à ce que le Wok soit de niveau sur le brûleur.
Le support spécial deviendra très chaud pendant l'utilisation - attendez suffisamment longtemps pour le laisser refroidir avant de le retirer.
Chauffe-plats
Utilisez le chauffe-plats pour garder les alimentents au chaud pendant que vous terminez la préparation du repas. Tournez le bouton de commande en sens anti-horaire pour lemettre sur «On». Levoyant «CHAUD» («HOT») s'allumera. Pour obtenir les autres résultats, préchauffez un plat de service et son couvercle pendant 10 minutes avant d'y déposer les alimentents.
ATTENTION: Si, à la suite de dommages, etc. une fissure est visible sur la surface du chauffe-plats, mettez immédiatement l'appareil hors tension au niveau de la prise murale et faites réparer la cusinière
Ne remettez pas la cusinière sous tension tant qu'elle n'a pas eté réparée.
Fours
L'appareil devient chaud lorsqu'il est en marche.
Veillez à éviter de toucher les éléments chauffants qui se trouvent à l'intérieur du four.
Avant d'utiliser l'appareil pour la première fois, réglez les jours sur 240^ et faites-les marcher pendant une heures afin d'éliminer l'odeur du neuf. Pour chasser l'odeur du neuf, voirlez à ce que la pièce soit bien aérée, en ouvrant les fenêtres, par exemple.
L'horloge doit être réglée sur l'heure actuelle pour que les jours multifonctions puisent fonctionner. Voir les instructions de la section « Horloge » pour le réglage de l'horloge.
Four gauche
Le four gauche est un four multifonctions. Outre le ventilateur de four et l'objet du ventilateur, le four est doté de deux éléments chauffants supplémentaires, l'un visible dans la voûte, et l'autre sous la sole. Veillez à ne pas toucher l'objet supérieur et le déflecteur de l'objet lors de l'insertion ou du retrait des plats dans le four. Pour un complément d'informations au sujet de ce four, veillez vous reporter à la section «Fonctions du four multifonctions».

Le four multifonctions est doté de deux commandes, un sélecteur de fonction et un bouton de réglage de température

Tournez le sélecteur de fonction pour leMETTE sur une fonction de cuisson désirée.

Mettez le bouton de réglage de température du four sur la température requise.
Levoyant du four s'allumera jusqu'à ce que le four attaigne la température requise. Il s'allumera et s'éteindra pendant la cuisson.
Four droit
Le ventilateur dans le four droit brasse l'air chaud continuellement, assurant ainsi une cuisson plus rapide et plus uniforme.
En général, les températures de cuisson recommendées pour un four ventilé sont plus basses que celles pour un four conventionnel.

Le bouton de commande du four ventilé droit est à l'extrémité droite du panneau de commande.

Positionnez le bouton de réglage de température du four sur la température désirée.

Levoyant du four s'allumera jusqu'à ce que le four atteigne la température requise. Il s'allumera et s'éteindra pendant la cuisson.
Horloge
Vous pouvez utiliser la minuterie pourmettre en marche et eteindre le four multifonction situé à gauche. L'horloge doitetre réglee sur l'heure actuelle pour que le four multifonctions situéàgauche puisse fonctionner.
Réglage de l'heure

Appuyez sans relâcher, comme indiqué. En même temps, appuyez sur (-) ou (+) jusqu'à l'affichage de l'heure correcte. N'oubliez pas que c'est une horloge 24 heures. Si vous faites une erreur, ou si vous vous trompez de bouton, mettez l'appareil hors tension pendant une ou deux minutes, puis recommencez la procédure.
Réglage de la minuterie pour la cuisson (minuterie)


Vous pouvez vérifier le temps de cuisson qui reste en appuyant sur () et annuler le signal sonore en appuyant sur () .
Arrêt automatique
Utilisez cette fonction lorsque vous avez mis le four en marche manuellement.

En même temps, appuyez sur (-) ou (+) jusqu'à ce que «Heure d'arrêt» s'affiche. AUTO sera affchéé. Le signal sonore indiquera la fin de la cuisson. METTEZ D'ABORD LE BOUTON DE COMMANDE DU FOUR SUR LA POSITION 0, puis appuyez une fois sur (凹) pour arrêtier le signal sonore, appuyez de nouveau sur (凹) pour revenir au fonctionnement manuel.
Mise en marche et arrêt automatiques du four
Avant de régler la minuterie, vous devez avoir deux chiffres à l'esprit.
Le «temps de cuisson», c'est-à-dire la durée pendant laquelle vous pouze que le four fonctionne.
«L'heure d'arrêt», c'est-à-dire l'heure à laquelle vous pouze que le four s'arrête
Vous ne pouvez pas régler directement une heures de mise en marche – celle-ci est réglée automatiquement lorsque vous réglez le temps de cuisson et l'heure d'arrêt.
François
| Maintenez enforcé le bouton « Temps de cuisson » (¯). En même temps, appuyez sur (-) ou (+) jusqu'à ce que «Temps de cuisson» s'affiche. | 0:20 △ ➁ ➁ - + ○ ○ ○ ○ |
| Maintenez enforcé le bouton « Heure d'accêt » (□). En même temps, appuyez sur (-) ou (+) jusqu'à l'affchage de « l'heure d'accêt». AUTO sera affché. | 14:20 |
Réglez la fonction et la température du four.
Le signal sonore indiquera la fin de la cuisson. METTEZ D'ABORD LE BOUTON DE COMMANDE DU FOUR SUR LA POSITION ARRET (OFF), puis appuyez une fois sur (图) pour arrêter le signal sonore, appuyez de nouveau sur (图) pour revenir au fonctionnement manuel.
. Si vous étes absent pendant la cuisson, ne vous inquiétez pas au sujet de l'arrêt du signal sonore, celui-ci s'arrête après un certain temps. A votre retour, mettez les boutons de fonction et de température du four sur 0, puis appuyez deux fois sur (), pour revenir au fonctionnement manuel.
AUTO est affché, et vous foulez remettre le four sur fonctionnement manuel.
Lorsqu'on annule un réglage automatique, tout temps de cuisson déjà réglé doit être remis sur 0.00 avant que l'on puisse revenir au fonctionnement manuel en appuyant sur le bouton (®).
Fonctions spéciales de l'horloge
Fonction de verrouillage
Lorsque la fonction de verrouillage est activée, l'horloge fonctionne comme de coutume mais le four est verrouillé et ne peut s'allumer. De cette façon, s'il arrivait à votre enfant de seLECTIONner un programme de cuisson, la mise en route du programme ne serait pas activée et le four ne s'allumerait pas.
Mise en marche de la fonction de verrouillage
Vérifiez que l'horloge est sur le mode manuel et annulez tout programme en cours.
| Appuyez sans relâcher sur les boutons Minuterie (®) et Temps de cuisson (™) pendant 8 secondes environ. « On » ([Marche]) sera affché. | . ® |
| ® - + | |
| ® |
| Appuyez une fois sur le bouton « + ». Le symbole de clé (ì) et « Of » ([Arrêt]) s'affichent. Relâchez les boutons. |
| A liéSENT, les fonctions de commande du four sont verrouillées. Après quelques secondes, l'affichage indique de nouveau l'heure et le symbole de la clé (Î). | 6.30 O. 1/2 1/2 1/2 - + ○ ○ ○ ○ ○ ○ |
Arrêt de la fonction de verrouillage
| Appuyez sans relâcher sur les boutons Minuterie (®) et Temps de cuisson (™) pendant 8 secondes environ. « Of » ([Arrêt]) sera affché. | ♀ . ♀ ♀ ♂ . . . . . - + ♀ ♀ ♀ ♀ - + |
| Appuyez une fois sur le bouton « + ». Le symbole de clé (ǐ) disparaît et « On » ([Marché]) s'affiche. Relâchéz les boutons. | . . . . . . . . . . . . . . . . . . . . . . . . . . . . . . . . . . . . . . . . . . . . . . . . . . . . . . . . . . . . . . . . . . . . . . . . . . . . . . . . . . . . . . . . . . . . . . . . . . . . . . . . . . . . . . . . . . . . . . . . . . . . . . . . . . . . . . . . . . . . . . . . . . . . . . . . . . . . . . . . . . . . . . . . . . . . . . . . . . . . . . . . . . . . . . . . . . . . . . . . .. . . . . . . . . . . . . . . . . . . . . . . . . . . . . . . . . . . . . . . . . . . . . . . . . . . . . . . . . . . . . . . . . . . . . . . . . . . . . . . . . . . . . . . . . . . . . . . . . . . . . O. O. O. O. O. O. O. O. O. O. O. O. O. O. O. O. O. O. O. O. O. O. O. O. O. O. O. O. O. O. O. O. O. O. O. O. O. O. O. O. O. O. O. O. O. O. O. O. O. O. O. O. O. O. O. O. O. O. O. O. O. O. O. O. O. O. O. O. O. O. O. O. O. O. O. O. O. O. O. O. O. O. O. O. O. O. O. O. O. O. O. O. O. O. O. O. O. O. O. O. O O. O. O. O. O. O. O. O. O. O. O. O. O. O. O. O. O. O. O. O. O. O. O. O. O. O. O. O. O. O. O. O. O. O. O. O. O. O. O. O. O. O. O. O. O. O. O. O. O. O. O. O. O. O. O. O. O. O. O. O. O. O. O. O. O. O. O. O. O. O. O. O. O. O. O. O. O. O. O. O. O. O. O. O. O. O. O. O. O. O. O. O. O. O. O. O. O. O. O. O |
Après quelques secondes, l'affichage indique de nouveau l'heure.
Aopsis, les fonctions de commande du four et de l'horloge peuvent etre utilisées normalement.
Cuisson avec minuteurie
La minuterie ne peut commander que le four multifonctions.
Vous pouvez régler le four pour qu'il se mette en marche à n'importé quel moment des 24 heures qui suivent
Si vous désirez cuire plusieurs plats simultanément,CHOISSEZ des plats nécessitant approximativementle même temps de cuisson. Cependant, la cuisson decertains plats peut etre legerement «ralentie» en utilisantdes petits plats de cuisson et en les recouvrant d'une
feuille de papier aluminium, ou « accéléée » en utilisant de plus petites quantités ou des plats de cuisson plus grands.
Evitez d'utiliser des alimentes rapidement périsibles (poisson, porc, etc.) si vous prévoyez une longue période d'attente, sur tout par temps chaud.
Ne placez pas d'aliments chauds dans le four.
N'utilisez pas un four deja chaud.
N'utilise pas ce mode de cuisson si le four adjacent est chaud.
Evitez d'utiliser du vin ou de la bière si vous prévoyez une période d'attente, ici afin de prévenir le risque de fermentation.
Pour empêcher la crème de tourner, ajoutez-la aux plats juste avant de servir.
Enduisez les légumes frais de matière grasse fondue ou faites-les tremper dans une solution d'eau et de jus de citron, pour prévenir leur décoloration pendant la période d'attente.
Les tartes aux fruits, tartes à la crème ou autres mélanges humides sur fonds de tartes non cuits neodonneront debons résultats que si la période d'attente avant la cuisson est courte. Les plats contenant des restes de viande ou de volaille cuite ne doivent pas etre cuits automatiquement si la période d'attente est longue.
Décongelez complètement les volailles entières avant de lesmettre au four.
Vérifiez que la viande et la volaille sont complètement cuites avant de les servir.
Four gauche et four droit
Avant d'utiliser l'appareil pour la première fois, réglez les jours sur 240^ et faites-les marcher pendant une heures afin d'éliminer l'odeur du neuf. Pour chasser l'odeur du neuf, voirlez à ce que la pièce soit bien aérée, en ouvrant les fenêtres, par exemple.
Veillez à ce que les grilles soient toujours insérées à fond dans le four. Ne place pas une grille directement sur une autre grille. Si vous utilisez plusieurs grilles, laissez toujours au minimum un espace de glissière entre chaque grille.
Dans un four ventilé les plats sont cuits à une température plus BASSE que dans un four traditionnel. Lorsque vous suivez une recette, réduisez la température indiquée de 10^ et le temps de ciisson de 5-10 minutes. La température dans un four ventilé ne varie pas selon la position dans le four – vous pouvez donc utiliser n'importe celle grille.
Pour obtenir lesassageurs résultats, prechauffez le four jusqu'à l'extinction duvoyant du four.
Placez les plaques de cuisson, moules à viandes, etc., à niveau, au centre des grilles du four. Eloignez les plaques et les plats de cuisson des bords du four, afin d'éviter de trop dorer les alimentents.
La cuisson d'aliments à haute teneur en eau peut produit une «bouffée de vapeur» à l'ouverture de la portedu four. Lorsque vous ouvrez la porte du four, reculez-vous et attendez que la vapeur se soit dissipée.

Lorsque le four est en marche, ne laissiez pas la porte du four ouverte plus longtemps que nécessaire, afin de prévenir une surchauffe des boutons de commande.
- Laissez toujours un «doigt de largeur» entre des plats placés sur une grille de four. Ceci afin de facilititer la circulation de chaleur autour des plats.
- Les panneaux internes Cook & Clean (autonettoyants) (voir la section «Nettoyage de la cuisine ») sont plus efficaces lorsqu'on évite les projections grasses. Couvre la viande pendant la cuisson.
Pour diminuer les projections grasses lorsque vous ajoutez des légumes dans laGRAisse chaude autour d'un roti, séchez soigneusement les légumes ou enduisez-les d'une légère couche d'huile à friture. - Si vous souhaitez dorer un fond de tarte, préchauffez la plaque de cuisson pendant 15 minutes avant de placer le plat au centre de la plaque.
- Placez les plats susceptibles de bouillir et déborderpendant la cuisson sur une plaque de cuisson.
Assurez-vous que les viandes et volailles sont bien cuites avant de les servir.
Four multifonctions
Le four de gauche de votre cuisinière est un four multifonctions. Son utilisation peut être très variée. Nous vous conseillons de bien surveiller la cuisson jusqu'à ce que vous soyez familiarisé avec chaque fonction. N'oubliez pas : toutes les fonctions ne convennent pas à tous les types d'aliments.
N'oubliez pas : toutes les cusinières sont différentes - les températures de vos nouveaux jours peuvent être différentes de celles de votre ancienne cusinière.
Français
Fonctions du four multifonctions

Décongélation
Avec cette fonction, le ventilateur du four brasseient de l'air froid. Il n'y a pas de chaleur. Cette impermet de décongeler des alimentents, en petites s, par exemple des desserts, gâteaux à la crème, x de viande, poisson et volaille.
Ce type de décongélation accélère le processus de décongélation et protège les alimentés des insectes. Placez les morceaux de viande, poisson et volaille sur une grille, audessus d'une plaque prévue pour l'égouttement. N'oubliez pas de nettoyer la grille et la plaque après décongélation.
La porte du four doit être fermée pendant la décongélation.
Des alimentés plus volumineux, tels que des poulets entiers et des rôts, ne doivent pas être décongelés de cette façon. Nous vous conseillons de les décongeler au réfrigérateur.
Ne décongelez pas des alimentés dans un four tiède ou à côté d'un four en marche ou encore chaud.
Vérifiez que les alimentés à base de produits laitiers, la viande et la volaille sont complètement décongelés avant de les cuire.

Four ventile
Cette fonction commande le ventilateur et
l'élement chauffant autour de celui-ci. Une chaleur uniforme est produit partout dans le four, ce qui permet la cuisson rapide de grandes quantités d'aliments.
La cuisson par four ventilé est particulièrement utile pour la cuisson simultanée d'aliments sur plusieurs grilles et est une excellente fonction « polyvalente ». Vous devrez peut-être diminuer la température de 10^ environ pour des plats que vous aviez l'habitude de cuire dans un four conventionnel.
Si vous souhaitez préchauffer le four, entendez que levoyant s'éteigne avant de mettre le plat au four.

Gril ventilé
Cette fonction commande le ventilateur pendant
que l'élement chauffant supérieur est en marche. On obtient ainsi une chaleur plus uniforme, moins intense que celle d'un grill conventionnel. Pour obtenir les mêleurs résultats possibles, placez les alimentes à griller sur la plaque à griller sur le plateau de four de luxe. Ce type de cuisson est idéal pour les morceaux de viande ou de poisson écais, car la circulation de l'air diminue l'intensité de la chaleur du grill. La porte du four doit être fermée pendant la cuisson au grill pour éviter un gaspillage d'énergie. Vous constaterez que vous devrez moins surveiller et tournier les alimentés cuits de cette façon. Ce type de cuisson nécessite un préchauffage du four.

Four ventile mixte
Cette fonction commande le ventilateur et brasse
l'air chauffé par les éléments chauffants de la voûte et de la sole du four. Cette fonction, qui combine la cuisson ventilée et la cuisson conventionnelle (chaleur supérieure et inférieure), est un moyen de cuisson idéal pour les alimentés volumineux (gros roti, par exemple) pour lesquels une cuisson compte est très importante. On peut également faire cuire des plats simultanément sur deux grilles, mais les plats devront être intervertis pendant la cuisson, car, avec cette fonction, la chaleur est plus intense dans la voûte du four qu'au niveau de la sole.
Ce mode de cuisson est intensif et rapide; surveillez les alimentés cuits de la sorte jusqu'à ce que vous soyez familiarisé avec cette fonction.

Four conventionnel (chaleur de voûte et de sole)
Cette fonction combine la chaleur fournie par les éléments supérieurs et inférieurs. Elle est particulièrement utile pour la cuisson d'aliments rôtis et des pâtes à tartes, gâteaux et biscuits. Les alimentents cuits sur la grille supérieure gratineront et doreront plus rapidement que ceux placés sur la grille inférieure car la chaleur est plus intense dans la voûte du four qu'au niveau de la sole, comme dans le cas de la fonction « Four ventilé mixte ». Des alimententssemblables cuits de la sorte devront être intervertis pour cuire uniformément. Cette fonction permet donc de cuire des alimentents nécessitant des températures de cuisson différentes, en utilisant la partie moins chaude dans la partie inférieure du four et la partie plus chaude dans la partie supérieure du four.

Elément gratineur
Cette fonction utilise uniquement l'objet situé dans la voûte du four. C'est une fonction utile pour gratiner ou finir des gratins de pâtes, des légumes en sauce et des lasagnes, le plat à gratiner étant déjà chaud avant la mise en marche de l'objet supérieur.

Chaleur inférieure
Cette fonction utilise uniquement l'objet inférieur. Elle permettra de dorer le fond de votre pizza ou de votre quiche ou de terminer la cuisson d'un fond de tarte sur une grille inférieure. C'est également une chaleur douce, parfaite pour le mijotage de plats placés au milieu du four ou pour réchauffer des assiettes.
Les fonctions Elément gratineur et Chaleur inférieure sont des adjonctions utiles à votre four et vous permettent de finir vos plats à la perfection. Vous constaterezrapidement que leur utilisation contribue àétendre vos compétences culinaires.
Handygrill
Le poids maximum supportable par le Handygrill est de 5,5 kg. Il ne doit être utilisé qu'avec le plat fourni, qui est spécialement créé pour cuisiner avec le Handygrill. Tout autre réseau de cuisson risque d'être instable.
Le Handygrill se monte sur la porte du four. Il est facile de surveiller les alimentents faisant ainsi car vous pouvez y acceder lorsque la porte est ouverte. Vous pouze le monter sur différentes positions. En fonction de la position adoptée pour le monter, il peut s'avérer nécessaire de retarder ou de repositionner les grilles du four.
Utilisation du Handygrill

Cuisson avec le grill ventilé
La porte du four doit être fermée durant la cuisson avec le grill ventilé.
Le dispositif de support de grilles à l'intérieur de la porte du four multifonctions (four gauche) permet de positionner le Handygrill sur quatre hauteurs différentes
Lorsque you utilisez Handygrill lors de la cuisson avec le grill ventilé, vous pouvez surveiller les alimentés sans avoir à sortir la lèchefrite du four.
N'oubliez pas de nettoyer la lèchefrite après chaque cuisson avec le grill car une accumulation de graisse peut s'avérer dangereuse et n'est pas hygiénique.
Prenoz garde lors de l'ouverture et de la fermeture de la porte du four lorsque vous utilisez le Handygrill.
Tableau de cuisson des grillades
La position du Handygrill sur les supports de porte du four dépend de la taille des alimentés à griller.
Préchauffez le four en sélectionnant la fonction de cuisson avec le grill ventilé et avec la porte du four fermé pendant une période de 5-10 minutes avant l'utilisation.
Veillez à toujours déterminer au préalable le niveau du grill avant de préchauffer car la grille et le écipient de cuisson Handygrill deviendront très chauds.
Le second niveau à partir du haut est généralement le plus utile pour la cuisson au grill. Utilisez l'emplacement du haut uniquement pour griller des alimentés ou pour procéder à une cuisson très rapide comme pour le cas du steak minute.
Ces temps de cuisson ne sont qu'indicatifs.
| Plat | Température | Temps de cuisson en minutes |
| Saucisses | 200-Max | 5-10 de chaque côté |
| Bacon | 200-Max | 5-7 de chaque côté |
| Burgers | 200-Max | 5-10 de chaque côté |
| Côtelettes ou Steak | 200-Max | 10-15 de chaque côté |
| Morceau de poulet | 200-Max | 10-15 de chaque côté |
| Steak de saumon | 200-Max | 10-15 |
Autres utilisations
Vous pouvez aussi vous servir de Handygrill et de la l'echefrite pour rottir des alimentes.
Retirez le support de la lèchefrite et placez la grille au niveau du centre du four. Utilisez les réglages du four ventilé ou du four conventionnel et suivez les indications de temps précisées dans le tableau de cuisson pour la cuisson d'aliments rôtis. Veillez à utiliser uniquement le écipient de cuisson fourni dans le Handygrill. Tout autre écipient de cuisson risque d'être instable
Montage du Handygrill
Alignez les extrémités du Handygrill sur les deux trous situés dans les supports de montage de la porte du four.

côtégauche

côté droit
Insérez les extrémités dans les deux montants au même moment.

côtégauche

côté droit
Insérez la grille sur les montants.
Grilles de four

la grille de retenue doit être placee bien au fond, pointes vers le haut. En complément des grilles plates certains modèles sont équipés d'une grille surbaissée. La grille surbaissée
Français
augmente les possibilités d'espacement entre les grilles de four.
Grille plate

Grille surbaissée

Les grilles du four peuvent être facilement retirees et remises en place.
Tirez la grille vers l'avant jusqu'à ce que l'arrête de la grille soit arrêté par les butées d'accès laterales du four.

Soulevez la partie avant de la grille pour faire passer l'arrière de la grille sous la butée d'arrêt, puis tirez la grille vers l'avant.


Pour remettre la grille en place, mettez la grille à niveau avec une glissière latérale du four, puis insérez la grille à fond jusqu'à ce que les extrémités soient en contact avec la butée d'arrêt de la grille. Soulevez l'avant de la grille pour que les extrémités poussent dépasser les butées, puis abaissez l'avant pourmettre la grille à l'horizontal, avant de l'insérer à fond.
Vapeur
Pendant la cuisson d'aliments à haute teneur en eau (frites surgelées, par exemple) un peu de vapeur peut être visible à la grille à l'arrière du chauffe-plats. Ceci est tout à fait normal.
Eclairage de four
Appuyez sur le bouton approprié pour allumer l'éclairage du four.
Si l'un des éclairages est défectueux, mettez la cusinière hors tension avant de changer l'ampoule. Pour des informations détaillées sur la façon de changer une ampoule d'éclairage de four, reportez-vous à la section « Dépannage »
Rangement
Le tiroir peut devenir très chaud; n'y rangez pas d'objets susceptibles de fondre ou de s'enflammer.
Le tiroir peut être retire de la cusinière à des fins de nettoyage, etc.
Pour-retirer le tiroir, tirez vers l'avant.


Soulevez l'extrémité des clips de fixation en plastique (un de chaque côté) pour défaire les dispositifs de maintain du tiroir sur les glissières laterales, tout en tirant le tiroir vers l'avant, en l'éloignant des glissières laterales.

Dans un but de sécurité, repoussez les glissières du tiroir.
Remise en place du tiroir
Replacez le tiroir sur les glissières laterales, puis pousse à fond pour le remettre en place, en veillant à ce qu'il soit à niveau. Les dispositifs de maintainien doivent s'enclencher pourmaintenir le tiroir sur les glissières laterales.
Nettoyage de la cuisineire
Informations importantes
Avant un nettoyage complet, mettez la cuisineire hors tension. N'oubliez pas de remettre sous tension et de régler de nouveau l'horloge avant d'utiliser la cuisineire.
N'utilisez jamais de solvants pour peinture, de cristaux de soude, de nettoyants caustiques, de poudres biologiques, d'eau de Javel, de nettoyants chlorés, de produits abrasifs à gros grain ou de sel. Ne mélangez pas plusieurs produits nettoyants, car ils risquent de réagir entre eux et d'avoir des effets nocifs.
Le matériel recommendé pour le nettoyage est spécifique dans la partie « Tableau de nettoyage » à la fin de cette section.
Toutes les parties de la cuisine ne peuvent etre lavées à l'eau savonneuse chaude, mais veilz à prévenir toute infiltration d'eau dans l'appareil.
Brûleurs de table de cuisson
Certains modèles ont un anneau de garniture séparé qui se place sur la tête du brûleur
Les têtes et chapeaux de brûleurs sont amovibles pour faciliter le nettoyage. Vérifié qu'ils sont absolument secs avant de les remettre en place.
Les brûleurs avec un seul annexe de garniture

A
A chapeau, B tete, C encoche, D electrode, E socle
Lors de la remise en place de la tete du brûleur, assurez-vous que l'encoche est en face de l'électrode ou du trou sur le socle. Vérifiez que la tete du brûleur est de niveau et que le chapeau est bien au centre sur la tete du brûleur.
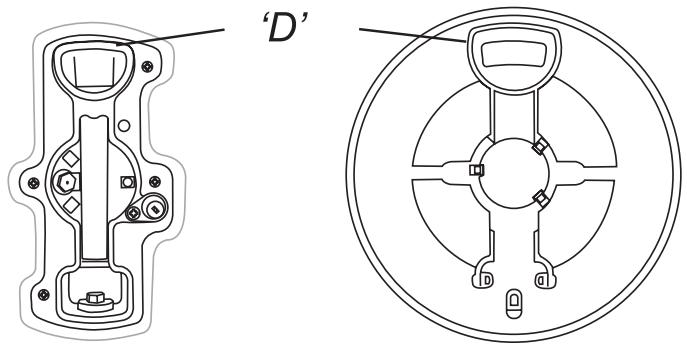
Le brûleur de Wok
Le brûleur de Wok est un peu plus compliqué mais il peut aussi être retiree pour le nettoyage.

Bruleur de Wok
A chapeau de brûleur interne, B chapeau de brûleur externe
C chapeau de bruleur interne D chapeau de bruleur externe
E socle du bruleur de Wok
Lorsque vous remettez en place les éléments du brûleur de Wok, returnez l'anneau de garniture et cherchez la partie en forme de « D ».

Tournez la tête jusqu'à ce que le « D » se trouve en face de celui此時 sur le socle du brûleur. Retournez la tête dans le bon sens et placez-la sur le socle du brûleur.
Pour installer le petit brûleur interne, cherchez l'encoche plus large de l'électrode sur le bord du brûleur. Mettez-la en face de l'électrode d'allumage blanche et placez le brûleur interne sur le grand annexe du socle.
Table de cuisson
| Partie | Finition | Conseils de nettoyage |
| Dessus de la table de cuisson | Email ou acier inoxydable | Eau chaude savonneuse, chiffon doux. FrotterDoucement les tâches tenaces avec un tampon à récurer en nylon. |
| Grilles de cuisson, et support spécial Wok (selon les modèles) | Fonte avec revêtement émailled ou acier inoxydable | Nettoyant Cif crème - Faberge Lever et un tampon à récurer en nylon.Lave-vaiselle. |
| Zone de réchauffage (selon les modèles) | Verre trempé | Eau chaude savonneuse, nettoyant crème/tampon à récurer si nécessaire. |
| Chapeaux de brûleur | Nettoyant crème, tampon à récurer en nylon. Lave-vaiselle. | |
| Anneaux de garniture de brûleur (selon les modèles) et tête de brûleur | Aluminium | Du Cif ou autre nettoyant crème avec un chiffon doux. Ne pas frottier trop fort. |
| Plaque chauffante (selon les modèles) | Surface antiadhésive | Laisser refroidir. Laver dans de l'eau chaude savonneuse. Ne pas utiliser de produits nettoyants ou de tampons abrasifs.Lave-vaiselle. |
Extérieur de la cuisineire
| Partie | Finition | Conseils de nettoyage |
| Porte, encadrement de la porte et extérieur du tiroir de rangement | Email ou peinture | Eau chaude savonneuse, chiffon doux.Frotter doucement les tâches tenaces avec un détergent liquide. |
| Acier inoxydable | Chiffon E-Cloth ou chiffon multi-usage microfibre plus Vileda, produits d'entretien Freudenberg Household Products LP (supermarché). | |
| Parties latérales et plinthe | Surface peinte | Eau chaude savonneuse, chiffon doux. |
| Dosseret/Grille arrière | Email ou acier inoxydable | Eau chaude savonneuse, chiffon doux. Nettoyer soigneusement avec un nettoyant crème, si nécessaire. |
| Panneau de commande | Peinture, émail ou acier inoxydable | Eau tiège savonneuse. Ne pas utiliser de produits nettoyants ou de tampons abrasifs. |
| Boutons de commande/Poignées | Plastique/Chrome | Eau tiège savonneuse, chiffon doux. |
| Vitre de la porte du four/Couvercle en verre | Verre trempé | Eau chaude savonneuse, nettoyant crème/tampon à récurer si nécessaire. |
Four et Grill
| Partie | Finition | Conseils de nettoyage |
| Parties latérales, supérieures et inférieures du fourAttention pas les panneauxautonettoyants du four ! | Tout produit nettoyant pour four convenant à l'émail.ATTENTION : NETTOYANTS CORROSIFS/CAUSTIQUES POURFOUR - SUIVRE LES INSTRUCTIONS DU FRABRICANT. Eviter toutcontact avec les autres parties du four. Protégé le brûleur desfours à gaz avec du papier aluminium lors du nettoyage del'intérieur du four. | |
| Pannaaux autonettoyants du four(selon les modèles) | Email spécifique qui s'autonettoie | Cette surface s'autonettoie à 200°C et au-delà, ou les panneaux peuvent être retirés et nettoyés avec de l'eau chaudesavonneuse et une Brosse en nylon. (Se référer à la section« Les Fours » dans « Nettoyer votre cuisinière »). |
| Grilles du four, Handyrack, Gril Trivet,récipient de cuisson Handygrill (selonles modèles) | Chrome | Tout nettoyant pour four convenant au chrome. Tamponimbibé de savon. Lave-vaisselle. |
| L'echefrite/Plat à viande, l'echefriteHandygrill (selon les modèles) | Eau chaude savonneuse. Tampon en paille de fer imbibé desavon. Lave-vaisselle. |

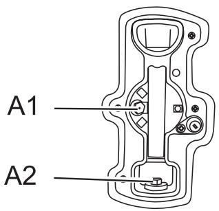
A Encoche de I'electrode
B Electrode d/allumage
A的前提,mettezlesdeuchapeauxdebruleurenvousassurantquilsontbienpositionnés.
Handygrill
Lavez le lèchefrite et la grille à l'eau chaude savonneuse.
Après les grillades de viandes ou d'aliments salissants, faites tremper dans l'évier, pendant quelques minutes, immédiatement après la cuisson. Les taches tenaces sur la grille peuvent être enlevées à l'aide d'une brose en nylon.
Plaque à griller
Nettoyez toujours la plaque à griller après usage. Attende
qu'elle soit complètement refroidie avant de la retiree.
Plongez la plaque dans de l'eau savonneuse chaude. Utilisez
un chiffon doux ou, dans le cas de taches tenaces, une
brosse à vaisselle en nylon.
N'UTILISEZ JAMAIS DE PRODUITS NETTOYANTS CAUSTIQUES OU ABRASIFS QUI ABIMERONT LA SURFACE.
Panneau de commande et portes des fours
N'utilise pas de produits nettoyants abrasifs, y compris des produits nettoyants semi-liquides, sur les surfaces en acier inoxydable. Pour obtaining les valeurs résultats possibles, utilisez un produit détergeant liquide.
Le panneau et les boutons de commande doivent être nettoyés uniquement avec un chiffon doux imbibé d'eau savonneuse chaude. Veiliez à prévenir toute infiltration d'eau dans l'appareil. Essuyez avec un chiffon humide propre, puis lustrez à l'aide d'un chiffon sec. Les portes des fours doivent être nettoyées uniquement avec un chiffon doux imbibé d'eau savonneuse chaude.
Fours
Les jours sont dotés de panneaux amovibles à revêtement émaillé qui sont partiellement autonettoyants. Ceci n'empêche pas complètement la formation de taches sur le revêtement, mais réduit le nettoyage manuel nécessaire. Le nettoyage automatique des panneaux est plus efficace à une température supérieure à 200^ . Si, en général, vous utilisez le four à des températures inférieures, occasionnellement retirez les panneaux et essuyez-les
avec un chiffon non pelucheux imbibé d'eau savonneuse chaude. Séchez et replacez les panneaux dans le four chauffé à 200^ pendant environ une heures. Ceci assurera un bon fonctionnement des panneaux autonettoyants.
N'utilisez pas de paille de fer (ou tout autre matériel susceptible de rayer la surface). N'utilisez pas de tampons de nettoyage pour fours.
Retrait des panneaux internes du four
Certains panneaux intérieurs du four sont amovibles afin de permettre leur nettoyage et le nettoyage de la partie du four à l'arrête des panneaux. Retirez d'abord les grilles du four.
Les panneaux latéraux de chaque four peuvent être retirés. Chaque panneau létal du four est maintainu en place par quatre vis de fixation. Les panneaux peuvent être retirés sans avoir à enlever les vis. Soulevez chaque panneau létal pour le décrocher des vis. Tirez-le ensuite vers l'avant.

Après retrait des panneaux internes, vous pouvez nettoyer l'intérieur émailé du four.
Dépannage
De la vapeur s'échappe du four
Pendant la cuisson d'aliments à haute teneur en eau (frites surgelées, par exemple) un peu de vapeur peut être visible à la grille arrête. Faites attention en ouvrant la porte du four, une bouffée de vapeur peut s'échapper momentarily à l'ouverture du four. Reculez-vous et attendez que la vapeur se soit dissipée
Le ventilateur du four est bruyant
Le bruit du ventilateur peut changer pendant le chauffage du four - ceci est tout à fait normal.
Quel matériel est recommendé pour le nettoyage de la cuisine ?
Reportez-vous à la section « Nettoyage » pour en savoir plus sur le matériel recommendé pour le nettoyage. Certains nettoyants contiennent des substances chimiques qui peuvent endommager les surfaces de votre cuisinière – lisez donc attentivement les instructions du fabricant avant utilisation.
Les boutons de commande deviennent chauds lorsque j'utilise le four ou le grill; comment faire pour empêcher cela?
Ceci est d'à la chaleur provenant du four. Ne laissez pas la porte du four ouverte.
Français
En cas de problème concernant l'installation, si mon installateur d'origine ne peut pas venir résoudre le problème, à qui incombent les frais?
C'est à vous qu'incombent ces frais. Les sociétés d'entretien factureront leurs interventions si elles réparent une installation effectuee par votre installerur d'origine. Il est de votre intérêt de contacter votre installerur d'origine.
Disjoncteur différentiel
Lorsque l'installation de la cusinière est protégée par un disjoncteur différentiel d'une sensibilité de 30 milliampères, l'utilisation combinée de votre cusinière et d'autres apparils domestiques peut occasionnellement causeur des disjonctions fortuites. Dans ce cas, il est utile de protégger le circuit de la cusinière avec un dispositif de 100mA . Cette intervention doit être effectuee par un electricien qualifie.
Les alimentés cièsent trop lentement, trop rapidement, ou brûlent
Les temps de cuisson peuvent être différents de ceux de votre ancien four. En fonction des goûts de chacun, les températures devront peut-être être modifiées dans un sens ou dans l'autre, pour obtenir les résultats que vous recherchez. Essayez une cuisson à des températures plus élevées ou plus basses.
La cuisson au four n'est pas uniforme
Dans le cas de la cuisson d'un grand plat, vous devrez peut-être le tourner pendant la cuisson.
Si vous utilisez deux grilles, vérifie qu'il y a assez de place pour permettre à la chaleur de circuler. Lorsque vous insérez une plaque de cuisson dans le four, voirlez à la placer bien au centre de la grille.
Vérifiez que le joint d'étanchéité de la porte n'est pas endommagé et que le loquet de porte est régle de façon à ce que la porte soit bien appuyée contre le joint.
Un réseau d'eau place sur la grille doit avoir une profondeur uniforme. (S'il est plus profund à l'arrière, par exemple, l'arrière de la cusinière doit être levé ou l'avant de la cusinière abaisse). Si la cusinière n'est pas à niveau, demandez à votre fournisseur de laMETTE à niveau.
Le four multifonction de gauche ne s'allume pas lorsqu'il est actionné manuellement.
Avez-vous sélectionné une fonction pour la cisson ?
L'appareil est-il sous tension? L'horloge est-elle éclairée?
Si ce n'est pas le cas, l'alimentation électrique est peut-être défectueuse. Le sectionneur de l'alimentation électrique de la cusinière est-il sur la position Marche?
L'heure a-t-elle ete reglee?
Le symbole de la clé (l) s'affiche-t-il? Reportez-vous à la section Horloge des générées instructions pour un complément d'informations sur la fonction de verrouillage de l'horloge.
Le four multifonctions de gauche ne s'allume pas lorsqu'il est en mode automatique.
La minuterie est reglee correctement, mais le bouton du four a-t-il ete laissé sur ARRET [OFF] par erreur?
Le symbole de la clé (l) s'affiche-t-il? Reportez-vous à la section Horloge des générées instructions pour un complément d'informations sur la fonction de verrouillage de l'horloge.
Avez-vous sélectionné une fonction pour la cisson ?
Avec le temps, la température du four de la cuisinière devient plus chaude
Si le fait demettre le bouton de réglage sur une
température inférieure n'a pas eu d'effet ou a eu un effet
temporaire, vous devrez peut-etre replacer le thermostat.
Cette intervention doit être effectuee par un spécialiste de
l'entretien.
L'éclairage du four ne fonctionne pas
L'ampoule a probabilité grillé. Vous pouvez acheter une ampoule de rechange (non couverte par la garantie) dans un magasin de produits électriques. Demandez une ampoule à culot vissable Edison 15 W 240 V, POUR FOURS. Ce doit être une ampoule spéciale, pouvant résister à une température de 300^ .
Ouvrez la porte du four et retirez le Handygrill (le cas échéant) et les grilles du four.
Mettez l'appareil hors tension.
Dévissez le couvercle de l'ampoule en tournant en sens anti-horaire.
Il peut être très difficile à dévisser
Dévissez l'ancienne ampoule, faites attention à vos doigts car le verre peut éclater.
Vissez l'ampoule de rechange, puis revissez le couvercle de l'ampoule. Remettez l'appareil sous tension et vérifie que l'ampoule fonctionne.
Défaillance de l'allumage ou des brûleurs de table de cuisson
L'appareil est-il sous tension? L'horloge est-elle éclairée? Si ce n'est pas le cas, l'alimentation électrique est peut-être défectueuse.
Les encoches du générateur d'étincelles (électrode d'allumage) ou du brûleur sont-elles obstruées par des débris ?
L'anneau de garniture du brûleur est-il placé correctement? Les chapeaux des brûleurs sont-ils placés correctement?
Voir la section «Nettoyage de la cusinière»
Les brûleurs de la table de cuisson ne s'allument pas
Assurez-vous que les éléments du brûleur ont été correctement replacés après avoir été essuyés ou retirés pour nettoyage.
Vérifiez que l'alimentation en gaz n'est pas défectueuse.
Pour ce faire, vérifie le fonctionnement de vos autresitateurs a gaz.
Les brûleurs produits-ils une étincelle lorsque vous appuyez sur le bouton? Si ce n'est pas le cas, vérifie que la cuisine est sous tension - l'horloge est-elle éclairée?
Consignes générales de sécurité
Cet apparéil doit être installé par une personne compétente, conformément aux instructions d'installation. L'installation doit être conforme aux réglementations en vigueur, ainsi qu'aux prescriptions de la Compagnie d'électricité locale.
Si vous sentez une odeur de gaz
N'actionnez aucun interrupteur électrique, ni pour allumer, ni pour éteindre.
Ne fumez pas.
N'utilisez pas de flammes ouvertes.
Coupez le gaz au compteur ou au niveau de la bouteille de gaz.
Ouvrez portes et fenètres pour évacuer le gaz.
Eloignez toute personne de l'endetroit concenné.
Appeler votre fournisseur de gaz.
Cette cusinière est conçue uniquement pour un usage domestique. Toute autre utilisation n'engage ni la responsabilité, ni la garantie du fabricant.
L'utilisation d'un apparéil de cuisson à gaz produit de la chaleur et de l'humidité dans la piece contenant l' apparéil. Veillez à ce que la cuisine soit bien ventilée : laissez les ouvertures de ventilation naturelle ouvertes ou installez un dispositif de ventilation mécanique, (hotte d'extraction mécanique).
Une utilisation intensive prolongée de l'appareil peut nécessiter une ventilation supplémentaire (ouverture d'une fenêtre, par exemple) ou une ventilation plus efficace (augmentation de la puissance du dispositif d'extraction mécanique par exemple).
La cusinière doit faire l'objet d'un entretien effectué par un technicien d'entretien qualifié, lequel doit utiliser uniquement des pieces de rechange approvées.
Demandez à l'installateur de vous indiquer l'emplacement du commutateur de commande de la cuisineire. Notez cet emplacement à des fins de reférence. Laissez toujours la cuisineire refroidir et mettez-la hors tension avant de la nettoyer ou d'effectuer une intervention d'entretien, sauf indication contraire dans les Presents instructions.
Toutes les parties de la cuisine deviennent chaudes lorsque l'appareil est en marche et resteront chaudes même lorsque la cuisson est terminée.
Prenoz garde lorsqu vous touche la cusinière ; pour limiter les risques de brûlure, vérifietz dernus que les commandes sont sur ARRET (OFF) et que la cusinière a refroidi avant de la nettoyer.
Au besoin, utilisez des gants de cuisine secs – l'emploi de gants humides risque de causeur des brûlures dues à la
vapeur lors du contact avec une surface chaude. Ne faites jamais fonctionner la cusinière avec des mains mouillées.
N'utilise pas de torchon ou autre chiffon épais à la place d'un gant de cuisine. Ils risquent de s'enflammer au contact d'une surface chaude.
Nettoyez avec précaution. Si vous utilisez une éponge ou un chiffon humide pour essuyer des taches sur une surface chaude, prenez garde aux brûlures par la vapeur. Certains produits nettoyants peuvent produit des vapeurs nocives au contact d'une surface chaude.
N'utilise pas de casseroles instables et tournez les manches vers l'intérieur de la table de cuisson.
Ne laïsez jamais les bébés, les tout-petits et les jeunes enfants s'approcher de la cusinière. Ne les laïsez jamais s'asseoir ni monter sur une partie de la cusinière. Apprenez-leur à ne pas journer avec les commandes ou avec une partie quelconque de la cusinière.
Ne rangez jamais dans des placards au-dessus d'une cusinière quoi que ce soit susceptible d'attirer l'attention des enfants - des enfants grimpant sur une cusinière pour atteindre des objets risquent de se blesser gravement.
Nettoyez uniquement les pieces indiquées dans les presents instructions.
Pour des raisons d'hygiène et de sécurité, la cusinière doit toujours être propre, afin de prévenir le risque d'incendie causé par l'accumulation de graisse et autres particules alimentaires.
Veillez à ce que les revêtements muraux inflammables, rideaux, etc. soient toujours suffisamment éloignés de la cuisineire.
N'utilise pas d'áerosols à proximé de la cuisine réelle que cette-ci est en marche.
N'entreposez pas de matériaux combustibles ou de liquides inflammbables à proximé de la cusinière.
N'utilise pas d'eau pour eteindre les incendies dus à la graisse. Ne soulevez jamais un recipient de cuisson qui a pris feu. Eteignez la cusinière. Etouffez un recipient qui a pris feu, sur un plan de travail, en le recouvrant complètement avec un couvercle de taille appropriée ou une plaque de cuisson. Si possible, utilisez un extincteur à poudre chimique ou à mousse de type polyvalent.
Ne laissiez jamais la cusinière en marche sans surveillance si les brûleurs de la table de cuisson sont régles sur haute températures. Le débordement des recipients de cuisson peut produit de la fumée et des taches de gras qui risquent de s'enflammer.
Ne portez pas de vêtements amples ou flottants lorsque vous utilisez la cusinière. Prenez garde lorsque vous essayez d'atteindre des objets dans des placards situés au-dessus de la table de cuisson. Des matériaux inflammbles risquent de s'enflammer au contact d'une surface chaude et provoquer des brûlures graves.
Français
Faites très attention lors du chauffage des graisses et des huiles car celles-ci risquent de s'enflammer en cas de surchauffe.
Si possible, utilisez un thermomètre à bain de friture pour prévenir une surchauffe de l'huile au-delà du point de fumée.
Ne laissez jamais une friteuse sans surveillance. Faites toujours chauffer l'huile lentement, en la surveillant. Les friteuses ne doivent être remplies qu'à un tiers de leur capacité. Une friteuse trop pleine peut déborder lorsqu'on y plonge des alimentents. Si vous utilisez un mélange d'huile et de graisse pour la friture, mélangez-les avant de chauffer, ou pendant la fonte des graisses.
Les alimentés à frire doivent être le plus sec possible. La présence de cristaux de glace sur des alimentés congelés ou d'humidité sur des alimentés frais peut provoquer une ébullition et un débordement de l'huile. Surveillez attentivement pour prévenir les débordements et la surchauffependant la friture à haute ou moyenne température. N'essayez jamais de déplacer un réseau de cuisson contenant de l'huile chaude, en particulier une friteuse. Attendeze que l'huile ait refroidi.
Lorsque le grill est en marche, ne vous servez pas de la grille d'évacuation (la grille le long de la partie arrêté de la cusinière) pour réchauffer des assiettes ou des plats, secher des torchons ou ramollir du beurre.
Si vous utilisez un apparéil électrique à proximité de la table de cuisson, veillez à ce que le cordon de l' apparéil n'entre pas en contact avec la table de cuisson.
Veillez à prévenir toute infiltration d'eau dans la cuisineire.
Seuls certains types de recipients en verre, vitrocérémente, terre cuite ou autres recipients émailles peuvent etreutilisés sur la table de ciusson;les autres risquent de se briser en raison du changement soudain de température.
N'autorisez personne à grimper, se tenirABOUT ou s'accrocher sur ou à une partie de la cuisineire.
Ne recouvre pas les grilles, les panneaux internes ou la voûte du four de papier aluminium.
Veillez à ce que la cuisine soit bien ventilée en permanence. Utilisez des extracteurs ou des hottes aspirantes dans la mesure du possible.
Ne chauffez jamais des recipients alimentaires qui n'ont pas eté ouverts. La pression accumulée à l'intérieur du recipient peut le faire éclater et blesser l'utilisateur.
La cuisine est donc uniquement pour la curisson domestique et ne doit pas ettre utilisée a d'autres fins.
N'UTILISEZ PAS le four pour chauffer la cuisine; non seulement c'est un gaspillage l'énergie, mais il peut y avoir surchauffe des boutons de commande.
Lorsque le four est en marche, NE LAISSEZ PAS la portedu four ouverte plus longtemps que nécessaire.
Les caractéristiques techniques de cette cuisine ne doivent pas été modifiées.
Cet apparéil est lourd; prenez garde lorsque vous le déplacez.
Lorsque la cusinière n'est pas utilisée, vérifie que les boutons de commande sont sur la position Arrêt (Off).
Entretien et pieces de rechange
Veuillez replir la fiche technique ci-dessous et la conserver à des fins de référence ultérieure – cette information nous permettra d'identifier exactement votre cusinière et de mieux répondre à vos besoin. Cette fiche vous fera gagner du temps et vous sera très utile plus tard en cas de problème concernant votre cusinière. Nous vous conseillons également de conserver votre commande et facture d'achat avec la présente brochure. Vous devrez peut-êtreprésenter ces documents pour valider une visite sur place dans le cadre de la garantie.
| Type de combustible : Mixte |
| Nom de l'appareil: Falcon Toledo XT 110 |
| Couleur de l'appareil*: |
| Numéro de série de l'appareil*: |
| Nom et adresse du détaillant: |
| Date d'achat: |
| Nom et adresse de l'installateur: |
| Date d'installation: |
- Cette information figure sur le badge technique de l'appareil.
En cas de problème
Dans le cas peu probable où vous auriez un problème avec votre cuisinière, veuilles d'abord dire le reste de la présente brochure, en particulier la section de dépannage, pour vérifier que l'appareil est utilisé correctement.
Si le problème persiste, contactez votre fournisseur.
Remarque
Si vous appeareil n'est plus couvert par la garantie, notre fournisseur de services d'entretien peut vous facturer cette visite.
Si vous devez faire appel à un technicien d'entretien et si le défaut n'est pas la responsabilité du fabricant, notre fournisseur de services d'entretien se réserve le droit de facturer son intervention.
Les rendez-vous non respectés par le client peuvent être facturés
Après la période de garantie
Nous recommendons un entretien périodique de nos apparèils pendant toute leur vie utile afin de garantir des performances et une efficacité optimes. Les travaux d'entretien doivent être effectués uniquement par des personnes techniquement compétentes et qualifiées.
Pèces de rechange
Pour garantir une performance optimale et sure, nous recommendons l'utilisation exclusive de pieces d'origine. N'utilisez pas de commandes de gaz remises à neuf ou non autorisées. Contactez votre fournisseur
INSTALLATION
Une fois le travail terminé, vérifie que les alimentations de gaz et d'électricité sont correctement rebranchées.
Installation
Cet apparéil de cuisson est conçu uniquement pour un usage domestique. Toute autre utilisation n'engage ni la responsabilité, ni la garantie du fabricant Vérifiez le type de gaz prévu pour votre cuisinière sur le badge technique de l' apparéil.
Modification
| Cet apparéil est de catégorie :- | CAT II2H3+ /2E3+ CAT II 2H3+ CAT II 2E3+ CAT II 2E3B/P |
Un kit de modification permettant l'utilisation d'autres gaz est fourni avec la cusinière. Si la cusinière doit être modifiée pour fonctionner avec un autre gaz, nous recommendons d'effectuer cette modification avant l'instruction. Pour plus de détails, reportez-vous à la section Modification des générées instructions.
Mesures/Règlements de sécurité
Cet apparéil doit être installé par une personne compétente. L'installation doit être conforme aux réglementations applicables, ainsi qu'aux prescriptions de la Compagnie d'électricité locale. Lisez les instructions avant d'installer ou d'utiliser cet apparéil. Dans votre intérêt et par souci de sécurité, légalement, tous les apparéils à gaz doivent être installés par des personnes compétentes. Une installation incorrecte n'engage ni la responsabilité, ni la garantie du fabricant, et peut donner lieu à des poursuites. Avant l'installation, vérifie que la cusinière convient au type de gaz et à la tension d'alimentation électrique. Reportez-vous au badge technique. Cet apparéil peut être modifié afin d'être utilisé avec d'autres types de gaz. Installez la cusinière dans un endroit bien ventilé.
Ventilation
Cet apparéil n'est pas raccordé à un dispositif d'évacuation des produits de combustion. Il doit être installé et raccordé conformément à la réglementation en vigueur concernant l'installation. Prétez particulièrement attention à la réglementation en vigueur concernant la ventilation. Respectez la réglementation locale sur la ventilation, mais au minimum : -
Toutes les pieces nécessitent une fenêtre ouvrable ou un dispositif équivalent, et certaines pieces nécessitent une mise à l'air libre permanente en plus de la fenêtre ouvrable. La cusinière ne doit pas être installée dans une chambrisalon de volume inférieur à 20 m3. En cas d'installation dans une piece de volume inférieur à 5 m3, une mise à l'air libre de surface utile de 100 cm2 est nécessaire; en cas d'installation dans une piece de volume entre 5 m3 et 10 m3, une mise à l'air libre de surface utile de 50 cm2 est nécessaire; si le volume est supérieur à 11 m3, aucune mise à l'air permanente n'est nécessaire. Cependant, si la piece a
une porte ouvrant directement sur l'extérieur, aucune mise à l'air libre permanente n'est nécessaire, même pour une piece entre 5 m3 et 10 m3. Si la piece contient d'autres appeareils à combustible, une ventilation supplémentaire peut être nécessaire.
Emplacement de la cuisineire
La cuisine peut être installée dans une cuisine/un salon-cuisine, mais PAS dans une piece contenant une baignoire ou une douche.
NOTA :
Un apparéil utilisable avec du gaz de petrole liquéfié (GPL) ne doit pas être installé dans une piece ou un espace interieur souterrain, par exemple dans un sous-sol.
Positionnement de la cusinière
Les schémas indiquent les cotes minimales recommendées entre la cuisine et les surfaces adjacentes.
Ne placez pas la cuisineire sur un support.

Le pourtour de la table de cuisson doit être au niveau, ou au-dessus de tout plan de travail adjacent. Au-dessus du niveau de la table de cuisson, laissez un espace de 75 mm entre chaque côte de la cusinière et toute surface verticale adjacente.
Pour les surfaces non-combustibles (telles que le métal non peint ou les carreages) cette cote peut être de 25 mm.
Laissez un espace de 650 mm au minimum entre la partie supérieure de la table de cuisson et une surface horizontally combustible.

- Toute hotte de cuisinière doit être installée conformément aux instructions du fabricant de hotte.
INSTALLATION
Une fois le travail terminé, vérifie que les alimentations de gaz et d'électricité sont correctement rebranchées.
Les surfaces des meubles et des murs de chaque côté et à l'arrière de l'appareil doivent être résistantes à la chaleur, aux éclaboussures et à la vapeur. Certains types de meubles de cuisine en vinyle ou en stratifié sont particulièrement susceptibles aux risques de dommages thermiques et de décoloration. Nous déclinons toute responsabilité pour des dommages résultat d'une'utilisation normale de la cusinière et subis par des matériaux qui se décollent ou se décolorent à des températures de moins de 65^ au-dessus de la température ambiente.
Dans un but de sécurité, ne placez pas de rideaux directement derrière la cusinière.
Nous recommendons de laisser un espace de 1110 mm entre les unités pour permettre le déplacement de la cuisine. Si la cuisine doit être encastrée, placez-la à niveau avec l'objet d'un côté, puis montez l'objet de l'autre côté.
Si la cuisine est pres d'un coin de la cuisine, un dégagement de 130mm est nécessaire pour permettre l'ouverture des portes du four

Déballage de la cusinière
N'enlevez aucun emballage de la cusinière tant que celle-ci n'est pas directement en face de l'emplacement où elle sera installée (sauf si, dans son emballage externe, la cusinière ne peut pas passer par une porte).
Coupez les courroies d'emballage et otez le carton recouvrant la cusinière, mais laissez la cusinière sur le plateau d'emballage. Reportez-vous à la feuille volante relative au déballage.
Déplacement de la cusinière
La cusinière est très lourde. Faites très attention. Nous recommendons de faire appel à deux personnes pour déplacer la cusinière. Assurez-vous que le revêtement du sol est solidement fixé en place ou retirez-le afin de ne pas l'abimer en déplaçant la cusinière. Vous devrez utiliser l'outil de mise à niveau.
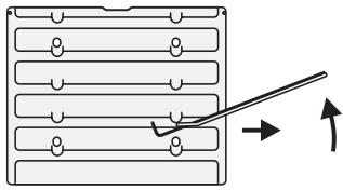
Depuis l'arrière, inclinez la cusinière vers l'avant et retirez la partie arrrière du socle d'emballage en polystyrene.


Répétez cette procédure à l'avant et retirez la partie avant du socle. Tirez le tiroir jusqu'à la butée.

Soulevez l'extrémité des clips de fixation en plastique (un de chaque côte) pour défaire les dispositifs de maintainen du tiroir sur les glissières laterales, tout en tirant le tiroir vers l'avant, en l'éloignant des glissières laterales. Par sécurité, repoussez les glissières du tiroir. Rangez le tiroir dans un lieu s ur et attendez que l'installation soit terminée avant de le reposer.
Baissez les gaets.
Placez la clé hexagonale sur le galet central du mécanisme d'abaissement (C dans la fig. ci-dessous).

A galet arrêté gauche, B galet arrêté droit, C galet central
BAISSEZ LE GALET AVANT en faisant 14 tours complets (360°) dans le sens des aiguilles d'une montre.
INSTALLATION
Une fois le travail terminé, vérifie que les alimentations de gaz et d'électricité sont correctement rebranchées.
Maintenant BAISSEZ LES DEUX GALETS ARRIERE.
Insérez d'abord l'outil de mise à niveau dans l'écrou de réglage hexagonal comme illustré ci-dessous.
Faites 10 tours complets (360^) dans le sens des aiguilles d'une montre. (Ce qui signifie tourner et-retirer l'outil de mise à niveau 20 fois)

Assurez-vous de baissez les DEUX GALETS ARRIRE. Il y a deux écrous de réglage, un pour chaque galet, aux coins avant inférieurs de la cuisine.
Déroulez le bord arrêté du plateau d'emballage. Avec précaution, inclinez la cusinière vers l'avant pour la retirez de son socle d'emballage. Poussez la cusinière pres de sa position finale, en laissant juste assez de place pour pouvoir avoir accès à l'arrière.

Modification en vue de l'utilisation d'un autre gaz
Si vous souhaitez modifier l'appareil en vue de l'utilisation d'un autre gaz, une modification s'impose. Reportez-vous à la section de la brochure concernant les modifications.
Mise à niveau
Nous vous recommendons d'utiliser un niveau à alcool place sur une des grilles de four pour vérifier le niveau.
Placez la cusinière à l'emplacement prévu pour son installation, en veillant à ne pas exercer de force de torsion lorsque vous l'insérez entre les éléments de cuisine, pour ne pas l'endommager ou endommager les éléments.
Les galets réglibes permettent la mise à niveau de la cusinière. Pour régler la hauteur de l'arrière de la cusinière, utilisez l'outil de mise à niveau fourni pour tourner les écrous de réglage aux coins avant inférieurs de l'appareil.
Réglez la hauteur du galet avant pourmettre la cusinière à niveau.Tournez en sens horaire pour lever la cusiniere et en sens anti-horaire pour l'abaiser.
Lorsque la hauteur et le niveau sont corrects, levez l'avant de la cusinière d'un tour du dispositif de réglage du galet avant. Dévissez les supports avant jusqu'à ce qu'ils touchent le sol. Vissez le dispositif de réglage du galet avant en sens anti-horaire pour remonter le galet avant, de sorte que l'avant de la cusinière repose sur les supports, et non pas sur le galet avant, afin de prévenir tout mouvement accidentel de la cusinière.
Laissez l'outil de mise à niveau sur le dispositif de réglage avec la poignée de l'outil tournée vers l'arrière de la cuisine, pour que le client puisse l'utiliser, s'il le désire, pour déplacer l'appareil.
Raccordement de gaz
Dispositif stabilisateur
Un dispositif stabilisateur doit être monté sur la cusinière si celle-ci est alimentée en gaz par le biais d'un tuyau flexible. Tout dispositif stabilisateur doit être attaché à la structure de la pierce et doit pouvoir être défait pour permettre le déplacement de la cusinière à des fins de nettoyage ou d'entretien.
Tuyau flexible de gaz
Un robinet d'isolement de gaz doit être monté entre l'alimentation en gaz et le tuyau flexible de raccordement. Le tuyau flexible (non fourni avec la cusinière) doit être conforme aux normes appropriées. En cas de doute, contactez votre fournisseur.
Les boîtiers arrêté de la cusinière limitent la position du point d'alimentation. L'alimentation en gaz domestique doit être terminée par un raccord orienté vers le bas.
Le raccord de l'appareil estitué juste au-dessous du niveau de la table de cuisson, à l'arrêtre de la cusinière. (« A » sur le schéma)
Le raccord d'admission de la cusinière est de type ISO 7-1 interne. Si vous doivent utiliser un raccord ISO 228-1, trouvez le raccord ISO 7-1/ISO 228-1 dans le kit de conversion.
Enduisez l'extrémité du raccord ISO 7-1 de mastic d'étanchéité pour filets.

Vissez le raccord sur l'admission de la cuisineire, en serrant uniquement à la main. Placez deux outils appropriés - un sur
INSTALLATION
Une fois le travail terminé, vérifie que les alimentations de gaz et d'électricité sont correctement rebranchées.

l'admission pour prévenir tout mouvement et un autre sur le raccord - et serrez le raccord sur l'admission de la cuisineire.
Couple minimum 15 Nm.
Couple maximum 20 Nm
Raccordez le tuyau flexible au raccord.
Montez le tuyau de façon à ce que les raccords d'admission et de sortie soient verticaux et que le tuyau pende en forme de «U».
Il est difficile de donner des cotes précises, étant donné que la hauteur de la cusinière est régliable et que chaque raccordement est différent. Idealement, le raccord d'alimentation domestique doit être dans la partie ombrée indiquée sur le schéma représentant l'arrêtre de l'appareil.
Lorsque le raccordement est terminé, effectuez un essai de pression pour contrôle l'étanchéité de la cuisine. Lors du contrôle de l'étanchéité, n'utilise pas de liquide détergent pour vaisse, qui risque d'endommager le matériel. Utilisez un produit conçu spécifique pour la détention des fuites.
Essai de pression
La pression de gaz peut être mesurée au niveau de l'injecteur d'un des brûleurs centraux de la table de cuisson. Retirez la grille, la tête et le chapeau du brûleur. L'injecteur est à présent accessible.
Les pressions d'essay sont indiquées sur la Fiche technique, au verso de la présente brochure.
Remettez en place le chapeau du brûleur, en veillant à le remonter correctement sur le corps du brûleur.
Raccordement électrique
Cette cuisinière doit être installée par un électricien qualifié, conformément à la réglementation appropriée et aux prescriptions de la compagne d'électricité locale.
MISE EN GARDE : CET APPAREIL
DOIT ETRE MIS A LA TERRE
Remarque
La cusinière doit être raccordée à l'alimentation électrique correcte, indiquée sur l'étiquette de tension sur l'appareil, par le biais d'une unité de commande de cusinière appropriée à interrupteur bipolaire (avec une séparation de contact de 3 mm au minimum entre les pôles). Cette cusinière ne doit pas être raccordée à une prise
d'alimentation domestique ordinaire.
La charge électrique totale de cet apparéil est de 5,1 kW environ. Le cable utilisé doit avoir un calibre adapté à la charge et être conforme à toutes les prescriptions locales.
Pour acceder au bornier d'alimentation secteur, retirez le boitier électrique sur le panneau arrêté.
Raccordez les câbles d'alimentation secteur aux bornes correctes pour votre type d'alimentation électrique.



230VAC 50Hz

3N ac 230/400V 50Hz人
INSTALLATION
Une fois le travail terminé, vérifie que les alimentations de gaz et d'électricité sont correctement rebranchées.
Vérifiez que les connecteurs sont montés correctement et que les vis des bornes sont bien serrées. Fixez le cable d'alimentation secteur à l'aide du serre-cable.
Disjoncteurs-detecteurs de fuites de terre commandés par injection de courant
Lorsque l'installation de la cusinière est protégée par un dispositif pour courant résiduel (DCR) d'une sensibilité de 30 milliampères, l'utilisation combinée de votre cusinière et d'autres apparèils domestiques peut occasionnellement cause des disjonctionsfortuites. Dans ce cas, il est utile deprotégéleré circuit de la cusinière avec un dispositif de 100mA . Cette intervention doit être effectuee par un électricien qualifie.
Table de cuisson
Contrôlez le fonctionnement de chaque brûleur. Un dispositif de sécurité coupe l'alimentation en gaz du brûleur en cas d'extinction de la flamme. Pour chaque brûleur, mettez le bouton de commande sur le symbole grande flamme. Appuyez sur le bouton de commande. Ceci ouvre l'alimentation en gaz du brûleur. Continue d'appuyer sur le bouton de commande, et appuyez sur le bouton d'allumage ou allumez avec une allumette. Continue d'appuyer sur le bouton de commande pendant 5 secondes environ.
Si le brûleur s'éteint lorsque vous relâchez le bouton de commande, le dispositif de sécurité n'a pas été enclenché. Attendez une minute, puis essayez de nouveau en appuyant sur le bouton de commande pendant un peu plus longtemps.
Contrôle des jours
L'horloge doit être réglée sur l'heure actuelle pour que les jours multifonctions puisent fonctionner.
Pour le réglage de l'horloge, voir la section «Horloge».
Mettez le four en marche et vérifie que le ventilateur du four se met en marche et que le four commence àCHAuffer. Eteignez le four.
Montage de la plinthe
Dévissez les 3 vis le long du bord inférieur avant de la cusinière. Insérez l'encôche centrale en forme de trou de serrure sur la vis centrale. Tournez et insérez les encoches d'extrémités en trou de serrure sur leurs vis respectives. Serrez les vis de fixation.
Remise en place du tiroir
Replacez le tiroir sur les glissières laterales, puis poussez à fond pour le remettre en place, en veillant à ce qu'il soit de niveau. Les dispositifs de maintainien doivent s'enclencher pourmaintenir le tiroir sur les glissières laterales.
Conseils à la clientèle
Veuillez indiquer au client comment faire fonctionner la cuisine et lui remettre les prementes instructions.
Merci.
Modification en vue de l'utilisation d'un autre gaz
Vérifiez sur la Fiche technique au verso de la presente brochure si la cusinière peut être modifiée pour pouvoir utiliser le gaz de votrechoix.
Cette modification doit être effectuee par une personne competente. Avres modification, l'installation doit etre conforme aux reglementations applicables, ainsi qu'aux prescriptions de la compagnie d'électricité locale. Lisez les instructions avant d'effectuer une modification sur cet appareil.
Une modification incorrecte n'engage ni la responsabilité, ni la garantie du fabricant, et peut donner lieu à des poursuites.
Les générées instructions doivent être utilisées en conjunction avec les autres instructions relatives à cet apparéil, en particulier en ce qui concerne les informations sur les normes, le positionnement de la cuisine, le choix des tuyaux de raccordement appropriés, etc
Lors de l'entretien ou du remplacement de composants d'alimentation en gaz, débranchez le gaz avant le début de l'intervention et, au terme de cette-ci, effectuez les contrôles de sécurité nécessaires pour les apparèils à gaz.
N'utilise pas de commandes de gaz remises à neuf ou non autorisées.
Débranche l'appareil avant toute intervention d'entretien. Avant de rebrancher l'alimentation électrique, effectuez les contrôle des sécurité nécessaires.
Injecteurs
Retirez les chapeaux et les têtes des brûleurs. Retirez les gicleurs usages. Montez les gicleurs de rechange (les gicleurs corrects sont indiqués sur la Fiche technique au verso de la présente brochure). Remontez en procédant dans l'ordre inverse.
Réglage du robinet de commande
Débranche l'alimentation d'électricité.
Ouvrez la porte du four et du grill et retirez les vis de fixation au-dessous du panneau de commande. Sur certains modèles, une plaque sous le panneau de commande est maintainue en place par les vis de fixation inférieures.
Tirez pour enlever tous les boutons de commande.
Faites glisser le panneau de commande vers la droite, puis tirez vers l'avant.
Soulevez le panneau de commande et tirez-le vers l'avant.
Veillez à ne pas endommager les câbles ou trop les tirer.
Modification en vue de l'utilisation d'autres gaz
Dévissez la vis de dérivation du robinet.

A l'aide d'une pince à bec long, retirez la vis de dérivation avec précaution et montez la vis de rechange correcte. Reportez-vous à la section Données techniques au dos de la présente brochure pour connaître la taille correcte. Serrez la vis.
Remontez le panneau de commande.
Etiquette autocollante
Apposez l'etiquette appropriée sur le badge technique pour indiquer le gaz à utiliser avec la cuisineire.
Essai de pression
Raccordez la cuisine à l'alimentation en gaz. Contrôlez l'étanchéité de l'appareil.
Les pressions d'essay sont indiquées sur la Fiche technique, au向社会 de la presente brochure.
La pression de gaz peut être mesurée au niveau d'un des giclleurs de brûleur de la table de cuisson gauche. Retirez la tête d'un brûleur. Montez le manomètre sur le giclaur.
Allumez le brûleur de la table de cuisson et allumez l'un des autres brûleurs.
Après avoir vérifié la pression, fermez les robinets et remplacez la tête du brûleur.
Remettez en place le chapeau du brûleur, en veillant à le remonter correctement sur le corps du brûleur.
Contrôlez l'étanchéité de l'appareil.
Contrôlez le fonctionnement de tous les brûleurs.
AVERTISSEMENT - INTERVENTION D'ENTRETIEN NE DEVANT ETRE EFFECTUEE QUE PAR UNE PERSONNE QUALIFIÉE
Avant toute intervention d'entretien, débranchez les alimentations de gaz et d'électricité. Une fois le travail terminé, effectuez les contrôle des sécurité nécessaires.
Intervention d'entretien
AVANT TOUTE INTERVENTION D'ENTRETIEN SUR UN COMPOSANT ACHEMINANT DU GAZ, COUPEZ LE GAZ.
Contrôlez l'étanchéité de l'appareil une fois l'intervention d'entretien terminée. Lors du contrôle de l'étanchéité, n'utilise pas de liquide détergent pour vaisse, qui risque d'endommager le matériel. Utilisez un produit spécifique pour la détction des fuites.
N'utilise pas de commandes de gaz remises à neuf ou non autorisées.
Débranchez l'alimentation d'électricité avant toute intervention d'entretien, notamment si vous doivent retirer l'un des éléments suivants : panneau de commande, panneau lésimal, plaque de cuisson ou tout composant électrique ou boîtier.
Avant de rebrancher l'alimentation électrique, effectuez les contrôles de sécurité nécessaires.
Nota - Les références au four gauche et droit s'appliquent lorsqu'l'on regarde le four depuis l'avant.
1 Retrait du panneau de commande
Débranche l'appareil de l'alimentation d'électricité
Ouvrez les portes du four et retirez les vis de fixation sous le panneau de commande. NB Certains modèles comportent une plaque sous le panneau de commande maintainue par les vis de fixation inférieures.
Retirez tous les boutons de commande.
Faites glisser le panneau de commande vers la droite, puis tirez vers l'avant. Veillez à ne pas endommager les cables ou trop les tirer.
Soulevez le panneau de commande et tirez-le vers l'avant.
Débranchez le câblage à l'arrière. Remontez en procedant dans l'ordre inverse. Pour remettre les fils électriques, reportez-vous au schéma de câblage. Contrôlez le fonctionnement de la minuterie.
2. Retrait des plaques de cuisson
Débranche l'appareil de l'alimentation d'électricité
Avancez la cuisine pour acceder à l'arrière.
Plaque de gauche
Depuis l'arrière, retirez les vis maintainant la grille d'évacuation à la plaque de cuisson. Retirez la grille, les têtes et les chapeaux des brûleurs. Retirez les 4 vis et rondelles fixant la grille de la plaque de cuisson au châssis. Levez l'avant de la plaque de cuisson et retirez-la.
Plaque de droite
Depuis l'arrière, retirez les vis maintainant la grille d'évacuation à la plaque de cuisson. Si la plaque de gauche n'a pas été enlevée, desserrez les vis retenant la grille de gauche. Retirez la grille, les têtes des brûleurs, les chapeaux et les anneaux de garniture. Retirez les vis maintainant le brûleur Wok à la plaque de cuisson. Retirez les 4 vis et
rondelles fixant la grille de gauche au chassin. En prenatal soin de ne pas endommager l'électrode du brûleur Wok, levez la grille et retirez-la.
Remontez en procédant dans l'ordre inverse en vous assurant que les câbles de l'électrode sont bien branchés. Lorsque vous replacez la table de cuisson de croite, faites attention à ne pas endommager l'électrode d'allumage du brûleur Wok.

Il est important que les câbles de terre soient rebranchés lorsque les vis de fixation sont replacées car ils contribuent à la connexion de la cusinière à la terre.
Vérifiez que le brûleur fonctionne correctement.
3. Retrait des panneaux latéraux
Débranche l'appareil de l'alimentation d'électricité
Retirez le panneau de commande – voir point 1. Tirez la cuisine et vers l'avant. Retirez les 4 vis de fixation de chaque panneau (1 à l'avant du socle, 1 en haut et 2 à l'arrête).
Remontez en procedant dans l'ordre inverse.
4. Retrait de l'interrupteur d'allumage ou déclairage
Retirez le panneau de commande - voir point 1.
N.B. Il se peut que l'ancien interrupteur soit détruit au cours de l'opération de retrait. Retirez l'ancien interrupteur de l'encadrement en prénant bien en main le corps de l'interrupteur depuis l'arrière du panneau de commande et en tournant d'un coup sec. Retirez ensuite l'encadrement de l'interrupteur en returnant les languettes de verrouillage et poussez vers l'avant. Posez le nouvel encadrement sur le panneau de commandes. Commencez par aligner la clé en relief figurant sur la partie principale avec la découpe du panneau de commandes, puis poussez depuis l'avant.
Montez le nouvel interrupteur sur l'encadrement en alignant les parties-clés et en,enfant pour lemettre en place.
Posez le nouveau bouton en le poussant depuis l'avant.
Remettez le panneau de commandes en place en procédant dans l'ordre inverse et effectuez un essai pour vérifier que l'interrupteur fonctionne correctement.
5. Retrait de la minuterie
Débranchez l'appareil de l'alimentation d'électricité
Retirez le panneau de commande – voir point 1. Tirez pour enlever le(s) bouton(s) de commande de la minuterie.
Retirez l'ensemble de minuterie/support de montage du panneau avant en retardant les vis de fixation.
AVERTISSEMENT - INTERVENTION D'ENTRETIEN NE DEVANT ETRE EFFECTUEE QUE PAR UNE PERSONNE QUALIFIÉE
Avant toute intervention d'entretien, débranchez les alimentations de gaz et d'électricité. Une fois le travail terminé, effectuez les contrôle des sécurité nécessaires.
Retirez la minuterie de son support de montage en appuyant sur les languettes en plastique situées sur le boîtier de la minuterie tout en tirant l'unité vers l'avant.
Remontez en procédant dans l'ordre inverse. Pour remetter les fils électriques, reportez-vous au schéma de câblage. Contrôlez le fonctionnement de la minuterie.
AVANT DE MANIPULER TOUT COMPOSANT ACHEMINANT DU GAZ, FERMEZ L'ARRIVEE DU GAZ.
6 Retrait d'un thermostat
Débranche l'appareil de l'alimentation d'électricité
Retirez le panneau de commandes et la grille de la plaque de cisson concernée. Ouvrez la porte du four. Retirez les éléments de cisson du four et tirez sur le panneau de vous pour l'extraire (le cas échéant).
Four droit
Retirez les deux fixations retenant le couvercle du tube en verre du thermostat. Dégagez le tube en verre du thermostat des clips de retenue sur le panneau arrêté du four.
Four gauche
Retirez les deux vis maintenant le tube en verre du thermostat au couvercle de ventilateur du four situé à l'arrière du four. Avancez la cusinière afin de pouvoir acceder à la partie arrière. Retirez les deux boîtiers en retardant les vis de fixation avant de les retirer complètement. Sortez le tube capillaire du four. Débranchez les fils du thermostat et défaites les deux fixations retenant la commande à la plaque de montage. Posez la pièce de rechange et remontez en procédant dans l'ordre inverse. Vérifiez que le tube en verre est solidement fixé à l'arrière du four et qu'il est positionné entre les clips de retenue.
Vérifiez que le thermostat fonctionne correctement.
7 Retrait d'un protecteur thermique d'élément de four
Débranche l'appareil de l'alimentation d'électricité
Avancez la cusinière afin de pouvoir acceder au boitier du couvercle. Dévissez les vis du couvercle et le retirer. Le protecteur se trouve sur la plaque de terre, à côté des raccords d' éléments du four. Débranchez le câblage du protecteur. Défaites les fixations qui retiennent le protecteur à la plaque de terre et le retirer. Posez la commande de rechange et remontez en procédant dans l'ordre inverse.
8. Changement des robinets de commande de table de cuisson
Retirez le panneau de commandes (voir point 1). Soulevez l'avant de la table de cuisson concernée (voir point 2).
Débranchez le fil FSD de l'arrête du robinet. Défaites le raccord de compression situé à l'arrête du robinet. Retirez les fixations retenant le robinet à la conduite de gaz.
Débranche le câblage du contacteur d'allumage. Retirez le
robinet. Retirez et mettez le joint au rebut. Posez le nouveau joint sur le robinet de rechange. Remontez en procédant dans l'ordre inverse. Contrôlez l'étanchéité de l'appareil. Contrôlez l'allumage de la table de cuisson.
9 Retrait d'un injecteur de brûleur de table de cuisson
Retirez le chapeau et la tête du brûleur. Retirez le giclaur usageé. Installer le nouvel injecteur. Remontez en procedant dans l'ordre inverse. Contrôlez l'étanchéité de l'appareil.
10 Retrait de l'électrode d'allumage d'étincelle d'un brûleur de table de cuisson
Retirez la grille, les têtes et les chapeaux de brûleur pour avoir accès à l'injecteur. Retirez la vis maintainant l'électrode au corps du brûleur. Soulevez l'électrode et débranchez le cable.
Remarque
Veillez à empêcher le fil d'allumage de retomber dans l'orifice de dégagement.
11. Retrait ou changement d'un brûleur de table de cuisson
Retirez la plaque de cuisson (voir point 2).
Brûleurs de la table de cuisson de gauche
Retirez l'écran thermique (2 vis). Les brûleurs sont montés en 2 parties sur un support cruciforme. Débranchez les tuyaux d'alimentation en gaz des brûleurs. Retirez la vis à droite qui maintient le support cruciforme. Faites glisser le support vers la droite pour le défaire du côté gauche. Soulevez le support cruciforme pour faire apparaitre les brûleurs. Les brûleurs sont fixés au support cruciforme par 2 vis. Retirez le brûleur concerné et installez le nouveau à la place. Remontez en procédant dans l'ordre inverse. Vérifiez que le fonctionnement du brûleur est satisfaisant.
Brûleur Wok de droite
Débranchez les tuyaux d'alimentation en gaz du brûleur. Posez le nouveau brûleur et remontez en procédant dans l'ordre inverse. Vérifiez que le fonctionnement du brûleur est satisfaisant.
12 Retrait de la porte du four
Ouvrez la porte du four. Soutenez la porte et retirez les deux vis qui retiennent la charnière supérieure au cadre avant de l'appareil. Retirez la porte de la charnière inférieure en la levant légèrement afin de la dégager de l'appareil.
Remontez en procedant dans l'ordre inverse.
13 Retrait du panneau de porte extérieur du four
Avancez la cusinière afin de pouvoir acceder aux côtes. Entrouvre la porte du four et retirez les vis de fixation du panneau avant des côtes de porte (deux de chaque côté).
AVERTISSEMENT - INTERVENTION D'ENTRETIEN NE DEVANT ETRE EFFECTUEE QUE PAR UNE PERSONNE QUALIFIÉE
Avant toute intervention d'entretien, débranchez les alimentations de gaz et d'électricité. Une fois le travail terminé, effectuez les contrôle des sécurité nécessaires.

Soulevez le panneau de porte extérieur avec précaution.
Retirez la poignée de porte du panneau en dévissant les 2 écrous de retenue. Posez la poignée de porte sur le nouveau panneau.
Montez le panneau sur la porte. Remontez en procédant dans l'ordre inverse.
14. Retrait du verrouillage de porte
Retirez le panneau de porte extérieur (voir point 13). Retirez les vis «B» fixant l'ensemble du dispositif de verrouillage au panneau de porte extérieur. Posez le nouveau loquet et remontez en procédant dans l'ordre inverse.
Vérifiez que la porte fonctionne correctement.

15 Réglage de la gâche du loquet de porte du four
Ouvrez la porte du four et desserrez l'écrou de verrouillage au niveau de la partie inférieure de la gâche. Réglez la gâche vers l'intérieur ou l'extérieur, selon le cas, jusqu'à ce que le fonctionnement de la porte soit satisfaisant. Resserrez l'écrou de verrouillage.
15 Retrait du joint de porte du four
Ouvrez la porte du four. Le joint est maintain en place à l'aide de petits crochets placés sur la face arrrière. Depuis l'angle, tirez sur le joint dans le sens de la diagonale et à l'écart du centre de la porte, jusqu'à ce que le crochet se défasse. Passez au crochet suivant et libéréz-le, ainsi que les suivants, selon le même procédé. Vous pouvez forcer si les crochets résistant car l'ancien joint sera mis au rebut.

Lors de la pose d'un nouveau joint, positionnez le raccord dans le bas. Accrochez le nouveau joint dans l'un des orifices situés à un angle de la porte et poursuivez l'opération sur tout le tour de façon àmettre chaque crochet en place.
17. Changement du générateur d'étincelle
Débranche l'appareil de l'alimentation d'électricité
Avancez la cusinière afin de pouvoir acceder aux boîtiers situés à l'arrière de l'appareil. Retirez les fixations retenant le couvercle et soulevez pour le prisoner. Défaites les branchements de borne en veillant à prendre note de leurs emplacements. Défaites les fixations retenant le générateur d'étincelle et retirez le dispositif.
Installes le nouveau générateur d'étincelle et rebranchez les câbles. Remontez en procedant dans l'ordre inverse. Référez-vous au schéma de cablage. Vérifiez le fonctionnement de l'allumage.
18 Retrait des fils d'electrode de table de cuisson
Débranche l'appareil de l'alimentation d'électricité
Avancez la cusinière afin de pouvoir acceder à la partie arrrière. Retirez la table de cuisson – Voir point 2. Retirez le boîtier de protection et débranchez tous les fils HT au niveau du générateur. Débranchez le cable au niveau de l'électrode. Tirez le faisceau gainé de fils HT et faites-le ressortir par la colonne arrrière. Retirez le fil à changer de la gaine et placez-y le fil de rechange. Remettez les fils dans la colonne arrrière. Rebranchez les fils au générateur et à l'électrode du four. Remontez en procédant dans l'ordre inverse et contrôlez l'allumage.
19 Retrait de la partie arrière interne du four
Ouvrez la porte du four. Retirez les éléments de cuisson du four. Pour le four de gauche, dévissez les deux vis de fixation du tube en verre du thermostat.

Retirez les fixations retenant la partie arrête interne à l'arrête du four.
Soulevez le panneau amovable pour le retirer. Remontez en procédant dans l'ordre inverse. Vérifiez que les fixations sont solidement serrées.
AVERTISSEMENT - INTERVENTION D'ENTRETIEN NE DEVANT ETRE EFFECTUEE QUE PAR UNE PERSONNE QUALIFIÉE
Avant toute intervention d'entretien, débranchez les alimentations de gaz et d'électricité. Une fois le travail terminé, effectuez les contrôtres de sécurité nécessaires.
20 Remplacement d'un ventilateur de four
Débranche l'appareil de l'alimentation d'électricité
Avancez la cusinière afin de pouvoir acceder aux boîtiers situés à l'arrière de l'appareil. Retirez les fixations retenant le couvercle et soulevez pour le retirer. Retirez le câblage du ventilateur en prénant note de l'emplacement des branchements. Retirez la partie arrière interne, comme indiqué à la Section 22. Maintenez les pales du ventilateur et défaites l'écrou central (filetage gauche), les rondelles en cuivre, les pales et lejonge d'arrêt. Défaites les fixations retenant le ventilateur et retirez celui-ci de la cavity. Posez lapiece de rechange et remontez les pieces en procédant dans l'ordre inverse. Vérifiez que le four fonctionne correctement.
21 Retrait d'un élément du ventilateur de four
Débranche l'appareil de l'alimentation d'électricité
Avancez la cusinière afin de pouvoir acceder aux boîtiers situés à l'arrière de l'appareil. Retirez les fixations retenant le couvercle et souvevez pour le prisoner. Défaites les branchements de borne en veillant à prendre note de leurs emplacements. Retirez la partie arrière interne, comme indiquée à la Section 22

Retirez les fixations retenant l'objet dans le four et souvevez pour extraire l'objet avec précaution. Posez l'objet de rechange et remontez les pieces en procédant dans l'ordre inverse. Vérifiez que le four fonctionne correctement.
22 Retrait des éléments inférieur et supérieur du four gauche
Débranche l'appareil de l'alimentation d'électricité
Elément inférieur
Avancez la cusinière afin de pouvoir acceder aux boîtiers situés à l'arrête de l'appareil. Retirez les fixations retenant le couvercle et soulevez pour le retirer.

Retirez les 2 vis « A » de façon à permettre à la plaque de descendre. Retirez les 2 vis « B », abaissez la plaque supérieure et lasorting par la fente menagée à l'arrête de la cuisine.
Défaites les branchements de borne en veillant à prendre note de leurs emplacements.
Retirez les fixations de support d'élement et enlevez l'élement. Remplacez l'élement et remontez en procédant dans l'ordre inverse.
Elément supérieur
Ouvrez la porte de four gauche et défaites les fixations retenant l'écran thermique. Retirez les fixations de support d'élément supérieur et enlevez l'élement. Remplacez l'élement et remontez en procédant dans l'ordre inverse. Vérifiez que le four fonctionne correctement.
23. Changement du néon de chauffe-plats
Retirez la plaque de cuisson de croite (voir point 2). Avec précaution, placez la plaque de cuisson à l'envers sur une surface plane. Retirez 2 vis en Maintenant le support du néon sur le cadre du chauffe-plats. Installez le nouveau néon avec son support.
Remontez en procédant dans l'ordre inverse et vérifie que tout fonctionne correctement.
24. Changement du chauffe-plats
Retirez la plaque de cuisson de croite, voir point 2. Installer la nouvelle plaque de cuisson et remontez dans l'ordre inverse.
Vérifiez que le brûleur feu vif et que le chauffe-plats fonctionne correctement.
English
Fiche technique / Technical Data

| Fours | Multifonctions | Convection forée |
| Classement selon son efficacité énergétique sur une échelle allant de A (économe) à G (peu économe) | B | A |
| Consommation d'énergie Calculée en charge normalisée | 0.90kWh | 0.85kWh |
| Volume utile (litres) | 62 | 67 |
| Type | Volume moyen | Grand volume |
| Temps de cuisson en charge normale (minutes) | 41 minutes | 38 minutes |
| Surface de cuisson | 1400cm2 | 1400cm2 |
Scheme de câblage
Le raccord indiqué sur le schéma de câblage est pour une alimentation monophasée. Les capacités nominales sont pour 230 V 50 HZ
Légende du schéma de câblage
A Interrupteur du chauffe-plats
B Chauffe-plats 147 W
C Thermostat de four multifonctions gauche
D Commande des fonctions du four multifonctions
F Element de sole du four multifonctions 1.0kW
E Terre
G Elément de ventilateur du four multifonctions 2.5kW
H Elément de voyage du four multifonctions (paire extérieure) 1.2kW
I Elément de gratinage du four multifonctions (paire interieure) 1.15kW
J Ventilateur du four multifonctions
K Horloge
L Sous tension
M Thermostat du four droit
N Neutre
O Elément de four ventilé droit 2.5kW
P Ventilateur du four droit
Q Interrupteurs d'éclairage du four
R Eclairage de four
S Générateur d'allumage
T Protecteur thermique
U Néon
V Interrupteur d'allumage
Code couleur
b Bleu
br Brun
bk Noir
or Orange
Rouge
v Violet
w Blanc
y Jaune
Circuit Diagram
Modification en vue de l'utilisation d'un autre gaz Conversion to another gas






B, C, D, E
| I2E, I2E+, I2H | I2H | I2S | I2L | I3+ | I3B/P | I3B/P | |
| G20 | G20 | G25.1 | G25 | G30 | G31 | G30/31 | G30/31 |
| 20mbar | 25mbar | 25mbar | 25mbar | 29mbar | 37mbar | 50mbar | 30mbar |
| A1 | 80 | 80 | 95 | 95 | 54 | 47 | 54 |
| A2 | 129 | 114 | 123 | 123 | 77 | 72 | 77 |
| kW | 3.5 | 3.5 | 3.3 | 3.5 | 3.5 | 3.5 | 3.5 |
| B | 128 | 124 | 136 | 136 | 87 | 81 | 87 |
| kW | 3.0 | 3.0 | 2.8 | 3.0 | 3.0 | 3.0 | 3.0 |
| C | 134 | 124 | 135 | 135 | 87 | 81 | 87 |
| kW | 3.0 | 3.0 | 2.8 | 3.0 | 3.0 | 3.0 | 3.0 |
| D | 109 | 96 | 105 | 105 | 68 | 60 | 68 |
| kW | 1.7 | 1.7 | 1.6 | 1.7 | 1.7 | 1.7 | 1.7 |
| E | 75 | 70 | 76 | 76 | 51 | 46 | 51 |
| kW | 1.0 | 1.0 | 0.95 | 1.0 | 1.0 | 1.0 | 1.0 |

| I2E, I2E+, I2H | I2H | I2S | I2L | I3+ | I3B/P | I3B/P | |
| G20 | G20 | G25.1 | G25 | G30 | G31 | G30/31 | G30/31 |
| 20mbar | 25mbar | 25mbar | 25mbar | 29mbar | 37mbar | 50mbar | 30mbar |
| A | 96 | 96 | 96 | 96 | 57 | 50 | 57 |
| B | 54 | 54 | 54 | 54 | 40 | 34 | 40 |
| C | 54 | 54 | 54 | 54 | 40 | 34 | 40 |
| D | 39 | 39 | 39 | 39 | 32 | 24 | 32 |
| E | 38 | 38 | 38 | 38 | 28 | 23 | 28 |
Notice Facile