MODERN TOLEDO XT DUAL FUEL - Dual fuel cooker FALCON - Free user manual and instructions
Find the device manual for free MODERN TOLEDO XT DUAL FUEL FALCON in PDF.
User questions about MODERN TOLEDO XT DUAL FUEL FALCON
0 question about this device. Answer the ones you know or ask your own.
Ask a new question about this device
Download the instructions for your Dual fuel cooker in PDF format for free! Find your manual MODERN TOLEDO XT DUAL FUEL - FALCON and take your electronic device back in hand. On this page are published all the documents necessary for the use of your device. MODERN TOLEDO XT DUAL FUEL by FALCON.
USER MANUAL MODERN TOLEDO XT DUAL FUEL FALCON
Instructions for Use and Installation
U107221 - 01

FR
BE
Français 4
GB
IE
English 28


Fiche technique 54
Technical Data 54
François
| Be safe | 30 |
| Hotplate Burners | 30 |
| The Griddle | 31 |
| The Wok cradle | 31 |
| Warmer | 32 |
| The Ovens | 32 |
| The Clock | 32 |
| Cooking using the timer | 34 |
| Multi-function oven | 35 |
| The Handygrill | 35 |
| Using your Handygrill | 36 |
| Oven shelves | 36 |
| Oven light | 37 |
| Storage | 37 |
| Cleaning your cooker | 37 |
| Troubleshooting | 40 |
| General Safety Instructions | 41 |
| Service and spares | 42 |
| Installation | 44 |
| Positioning the Cooker | 44 |
| Conversion to another gas | 48 |
| Servicing | 49 |
| Technical Data | 54 |
| Circuit Diagram | 55 |
| Conversion to another gas | 56 |
Be safe
Warning
Accessible parts will become hot in use. To avoid burns and scalds children should be kept away
You need clean fresh air - so does your cooker. Burner flames produce exhaust gases, heat and moisture. Make sure that the kitchen is well ventilated: keep natural ventilation holes open or install a powered cooker hood that vents outside. If you have several burners on or use the cooker for a long time, open a window or turn on an extractor fan. For more detail see the Installation Instructions.
We recommend you read 'General Safety Instructions' (especially if you have not used a dual fuel cooker before) where we describe some basic guidelines on how to use a.
duel fuel cooker safely..
Gas and Electricity on
Make sure that the gas supply is turned on and that the cooker is wired in and switched on. The cooker needs electricity.
Peculiar smells
When you first use your cooker it may give off a slight odour.
This should stop after a little use.
Before using for the first time, to dispel manufacturing odours turn the ovens to 240^ C and run for an hour. Make sure the room is well ventilated to the outside air, by opening windows for example.
Hotplate Burners

The drawing by each knob indicates which burner that knob controls.
Each burner also has a special safety device that stops the flow of gas if the flame goes out.
Press the igniter button, and push in and turn a knob to the large flame symbol (A).
Alternatively light with a match.


Keep holding the knob pressed in to let the gas through to the burner for few seconds.
If, when you let go of the control knob, the burner goes out, the safety device has not held in. Turn the control to the off position and wait one minute, then try again this time holding in the control knob for slightly longer
When igniter button is pressed in, sparks will be made at every burner - this is normal. Do not attempt to disassemble or clean around any burner while another burner is on. An electric shock could result.
Adjust the flame height to suit by turning the knob.
On this cooker the low position is beyond high, not between high and off. The small flame marks the 'low position'.

Turn the knob towards it after the contents of a pan have boiled
Make sure flames are under the pans. Using a lid will help the contents boil more quickly.
Pans and kettles with concave bases or down turned base rims should not be used.
Simmering aids, such as asbestos or mesh mats, are NOT recommended. They will reduce burner performance and could damage the pan supports.
Avoid using unstable and misshapen pans that may tilt easily and pans with a very small base diameter e.g. milk pans, single egg poachers. The minimum pan diameter recommended is 120mm .
The maximum pan base diameter is 250mm
The Wok burner is designed to provide even heat over a large area. It is ideal for large pans and stir frying. For heating smaller pans the smaller burners may be more efficient.
If a burner flame goes out, turn the control knob off and leave it for one minute before relighting it.
You can remove the burner parts for cleaning, see the 'Cleaning your cooker' section of the instructions.
You should wipe the enamel top surface of the cooker around the hotplate burners as soon as possible after spills occur. Try to wipe them off while the enamel is still warm.
Note:
Use of aluminium pans may cause metallic marking of the pan supports. This does not affect the durability of the enamel and may be cleaned off with a proprietary metal cleaner.
The Griddle
The griddle fits a single pan support, front to back.

It is designed for cooking food on directly. Don't use pans of any kind on it. The griddle surface is non-stick and metal cooking utensils (e.g. spatulas) will damage the surface. Use heat resistant plastic or wooden utensils.
Don't put it crossways - it will not fit properly and will be unstable.
Don't put it on the Wok burner - it is not designed to fit the Wok burner pan support.
Position the griddle over the hotplate burners resting on the pan support. The griddle can be lightly brushed with cooking oil before use. Light the hotplate burners. Adjust the flame heights to suit.
Preheat the griddle for a maximum of 5 minutes before adding food. Leaving it longer may cause damage. Turn the control knobs towards the low position, marked with the small flame symbol, to reduce the burner flames.
Always leave space around the griddle for the gases to escape. Never fit two griddles side by side. Large pans should also be spaced well apart.

Experience will soon familiarise you with the correct setting to use for cooking.
After cooking allow the griddle to cool before cleaning.
The Wok cradle
The Wok cradle is designed to fit a TyphoonTM Professional 35cm Wok (Part Code 13840S)
This is available from leading retailers.

If you use a different Wok make sure that it fits the cradle. Woks vary very widely in size and shape. It's important that the Wok sits down on the pan support - but if the Wok is too small the cradle will not support it properly.
The cradle should be used on the triple ring Wok burner only.

When you fit the cradle check that it is properly located on the pan support fingers and that it is stable. Make sure the Wok is sitting level in the ring.
The cradle will get very hot in use - allow plenty of time for it to cool before you pick it up.
English
Warmer
Use the warmer for keeping food warm while the final touches are put to a meal. Turn the control knob anticlockwise to the on position. The 'HOT' indicator lights up. For best results, pre-heat a covered serving dish for 10 minutes before adding food to it.
CAUTION: If a crack in the Warmer surface becomes visible, due to accidental damage etc., isolate the appliance from the electricity supply immediately by turning it off at the wall and arrange for its repair.
Do not reconnect the cooker to the electricity supply until after repair!
The Ovens
During use the appliance becomes hot. Care should be taken to avoid the touching heating elements inside the oven.
Before using for the first time, to dispel manufacturing odours turn the ovens to 240^ C and run for an hour. To clear the smell make sure the room is well ventilated to the outside air, by opening windows for example.
The clock must be set to the time of day before the Multifunction oven will work. See 'The Clock' section for instructions on setting the time of day.
The Left Hand Oven
The left hand oven is a Multi-function oven. As well as the oven fan and fan element, it is fitted with two extra heating elements, one visible in the top of the oven and the second under the oven base. Take care to avoid touching the top element and element deflector when placing or removing items from the oven. For more detail on this oven see the section 'Multi-function oven'.


The Multi-function oven has two controls, a function selector and a temperature setting knob.

Turn the function selector control to a cooking function. This is the fan oven setting.

Turn the oven temperature knob to the temperature you need.
The oven indicator light will glow until the oven has reached the temperature you selected. It will then cycle on and off during cooking.
The Right Hand Oven
The fan in the right hand oven circulates hot air continuously, which means faster more even cooking.
The recommended cooking temperatures for a fanned oven are generally lower than a non-fanned oven.

The right hand fan oven control is at the right hand end of the control panel.

Turn the oven temperature knob to the temperature you need.
The oven indicator light will glow until the oven has reached the temperature you selected. It will then cycle on and off during cooking.
The Clock
You can use the timer to turn the left hand Multifunction oven on and off. The clock must be set to the time of day before the left hand Multifunction oven will work.
To set the time of day

Press and hold as above. At the same time, press (-) or (+) until the correct time shows. Don't forget it's a 24 hour clock. If you make a mistake or press the wrong button, turn off the power supply for a minute or two and start again.
To time something that's cooking (minute minder)
| Press and hold the Minute Minder (○). | 0:00 □ ∩ ▽ - + ○ ○ ○ ○ |
| At the same time press (-) or (+) until the time you want to cook for is shown. | 0.20 □ 10 □ - + |
You can check time remaining by pressing and cancel the beeper by pressing
To stop automatically
Use when you have started the oven manually.
| Press and hold the Stop Time (□) button. | 0.00 □----□-+○○○○○ |
At the same time press (-) or (+) until your required 'Stop Time' shows. AUTO will show in the display. When your cooking is finished the beeper sounds. TURN THE OVEN KNOB TO 0 FIRST, then press once to stop the beep, press again to return to manual cooking.
To start and stop the oven automatically
Before you set the clock, you must have two numbers clearly in mind.
The 'cook period', which is the period of time you want the oven to cook.
The 'stop time', which is the time of day you want the oven to stop cooking.
You cannot set a start time directly - this is set automatically by setting the cooking period and stop time.
| Press and hold the Cook Time (□) button. At the same time press (-) or (+) until your required 'cook period' shows. | 0:20 □ □ - + ○ ○ ○ ○ |
| Press and hold the Stop Time (☐) button. At the same time press (-) or (+) until your required 'stop time' shows. AUTO will show in the display. | 14:20 |
Set the oven to the required temperature. When your cooking is finished the beeper sounds. TURN THE OVEN KNOB TO 0 (off) FIRST, then press once to stop the beep, press again to return to manual cooking.
If you are out, don't worry about the beeper going off, it stops after a while. When you return, TURNS THE OVEN KNOB TO 0 (off) FIRST, then press twice, to return to manual cooking.
AUTO is showing, you want to reset to manual cooking.
When cancelling an automatic setting, any cooking time already set must be returned to 0.00 before you can return to manual, by pressing the button.
Clock Special Features
Key Lock
When the key lock is activated, the clock can be operated as usual but the oven is locked and will not come on. This means that your child could select a cook program but the program will not be activated and oven will not be switched on.
To activate the key lock
Make sure that the clock is in manual mode and cancel any active programs.
| Hold the Minute Minder (▲) and Cooktime (▲) buttons for about 8 seconds. ‘On’ will appear on the display. |
| Press the "+" button once. The key symbol (ì) and 'Of' will appear on the display. Let go of the buttons. |
| The clock oven control functions are now locked. After a few seconds the display will revert to show the time of day and the key symbol (I). | 6.30 □ □ □ - + ○ ○ ○ ○ ○ |
English
To turn off the key lock
| Hold the Minute Minder (▲) and Cooktime (▲) buttons for about 8 seconds. ‘Of’ will appear on the display. |
After a few seconds the display will revert to show the time of day.
The oven and the clock oven control functions can now be used normally.
Cooking using the timer
The timer can control the Multifunction oven only.
You can set the oven to turn on any time over the following 24 hour period
If you want to cook more than one dish, choose dishes that require approximately the same time. However, dishes can be 'slowed down' slightly by using small containers and covering them with aluminium foil, or 'speeded up' slightly by cooking smaller quantities or placing in larger containers.
Very perishable foods such as pork or fish should be avoided if a long delay period is planned, especially in hot weather.
Don't place warm food in the oven.
Don't use an oven already warm.
Don't use if an adjoining oven is warm.
Avoid using wine or beer if there is a delay period, as fermentation may take place.
To avoid curdling, cream should be added to dishes just before serving.
Fresh vegetables, which may discolour during a delay period, should be coated in melted fat or immersed in a water and lemon juice solution.
Many frozen foods are ideal for delayed cooking and can be placed in the oven while still frozen.
Fruit pies, custard tarts or similar wet mixtures on top of uncooked pastry are only satisfactory if there is a short delay period. Dishes containing leftover cooked meat or poultry should not be cooked automatically if there is a delay period.
Whole poultry must be thoroughly defrosted before placing in the oven.
Check that meat and poultry are fully cooked before serving.
Both Ovens
Before using for the first time, to dispel manufacturing odours turn the ovens to 240^ C and run for an hour. To clear the smell make sure the room is well ventilated to the outside air, by opening windows for example.
The wire shelves should always be pushed firmly to the back of the oven. The shelves should not be fitted directly one above the other. When cooking on more than one shelf always leave at least one runner space between them.
Food is cooked at lower temperature in a fan oven than in a conventional oven. When using recipes, reduce the temperature by 10^ C and the cooking time by 5-10 minutes. The temperature in a fanned oven does not vary with height in the oven - so you can use any shelf.
For best results pre-heat the oven until the oven indicator light goes out.
Baking trays meat tins etcetera should be placed level centrally on the oven's wire shelves. Keep all trays and containers away from the sides of the oven, as overbrowning of the food may occur.
For even browning, the maximum recommended size for a baking tray is 330mm by 290mm .
Cooking high moisture content foods can create a 'steam burst', when the oven door is opened. When opening the oven stand well back and allow any steam to disperse.
When the oven is on, don't leave the door open for longer than necessary, otherwise the knobs may get very hot.

- Always leave a 'fingers width' between dishes on the same shelf. This allows the heat to circulate freely around them.
- The Cook & Clean oven liners (see Cleaning your cooker) work better when fat splashes are avoided. Cover meat when cooking.
- To reduce fat splashing when you add vegetables to hot fat around a roast, dry them thoroughly or brush lightly with cooking oil.
- If you want to brown the base of a pastry dish, preheat a baking tray for 15 minutes before placing the dish in the centre of the tray.
- Where dishes may boil and spill over during cooking, place them on a baking tray.
Ensure meat and poultry is fully cooked before serving
Multi-function oven
The left hand oven of your cooker is Multi-function. It has many varied uses. We suggest you keep a careful eye on your cooking until you are familiar with each function. Remember - not all functions will be suitable for all food types.
Please remember that all cookers vary - temperatures in your new ovens may differ to those in your previous cooker.
Multi-function oven functions

Defrost
This function operates the fan to circulate cold air only. No heat is applied. This enables small items such as desserts, cream cakes and pieces of meat, fish and poultry to be defrosted.
Defrosting in this way speeds up the process and protects the food from flies. Pieces of meat, fish and poultry should be placed on a rack, over a tray to catch any drips. Be sure to wash the rack and tray after defrosting.
Defrost with the oven door closed.
Large items, such as whole chickens and joints should not be defrosted in this way. We recommend this be carried out in a refrigerator.
Defrosting should not be carried out in a warm oven or when an adjoining oven is in use or still warm.
Ensure that dairy foods, meat and poultry are completely defrosted before cooking.

Fan oven
This function operates the fan and the heating element around it. An even heat is produced throughout the oven, allowing you to cook large amounts quickly.
Fan oven cooking is particularly suitable for baking on several shelves at one time and is a good 'all-round' function. It may be necessary to reduce the temperature by approximately 10^ for recipes previously cooked in a conventional oven.
If you wish to pre-heat the oven, wait until the indicator light has gone out before inserting the food.

Fanned grilling
This function operates the fan whilst the top element is on. It produces a more even, less fierce heat than a conventional grill. The supplied pan can be used either on an oven shelf or on the Handygrill rack (see the Handygrill section of the instructions). The pan is designed to allow air circulation. Thick pieces of meat or fish are ideal for grilling in this way, as the circulated air reduces the fierceness of the heat from the grill. The oven door should be kept closed whilst grilling is in progress, so saving energy. You will also find that the food needs to be watched and turned less than for normal grilling. Pre-heat this function before cooking.

Fan assisted oven
This function operates the fan, circulating air
heated by the elements at the top and the base of the oven. The combination of fan and conventional cooking (top and base heat) makes this function ideal for cooking large items that need thorough cooking, such as a large meat roast. It is also possible to bake on two shelves at one time, although they will need to be swapped over during the cooking time, as the heat at the top of the oven is greater than at the base, when using this function.
This is a fast intensive form of cooking; keep an eye on the food cooking until you have become accustomed to this function.

Conventional oven
(top and base heat)
This function combines the heat from the top and base elements. It is particularly suitable for roasting and baking pastry, cakes and biscuits. Food cooked on the top shelf will brown and crisp faster than on the lower shelf, because the heat is greater at the top of the oven than at the base, as in 'Fan assisted oven' function. Similar items being cooked will need to be swapped around for even cooking. This means that foods requiring different temperatures can be cooked together, using the cooler zone in the lower half of the oven and hotter area to the top.

Browning element
This function uses the element in the top of the oven only. It is a useful function for the browning or finishing of pasta dishes, vegetables in sauce, shepherds pie and lasagne, the item to be browned being already hot before switching to the top element.

Base heat
This function uses the base element only. It will crisp up your pizza or quiche base or finish off cooking the base of a pastry case on a lower shelf. It is also a gentle heat, good for slow cooking of casseroles in the middle of the oven or for plate warming.
The Browning and Base heat functions are useful additions to your oven, giving you flexibility to finish off items to perfection. With use, you will soon realise how these functions can combine to extend your cooking skills.
The Handygrill
The maximum weight than can be held by the Handygrill is 5.5kg . It should only be used with the supplied tin, which is designed to fit the rack. Any other vessel could be unstable.
The Handygrill fits on the oven door. Food cooking on it is easy to attend to, because it's accessible when the door is opened. It can be fitted at different heights. Depending on
English
the height that it is fixed, the oven shelves may need to be removed or repositioned to suit.
Using your Handygrill

Fan Grilling
Fanned grilling is carried out with the oven door closed.
The racking on the inside of the Multifunction Oven door (left hand oven) allows you to position the Handygrill at any of four different levels.
Using the Handygrill for fan grilling gives you the ability to tend the food without having to lift the grill pan out of the oven.
It is important to remember to clean the grill pan after each grilling session, as a build up of fat would dangerous and unhygienic.
Be careful when opening and closing the oven door whilst using the Handygrill.
Grilling Cooking Chart
The position of the Handygrill on the oven door brackets will depend upon the size of the food being grilled.
Pre-heat the oven on the fanned grilling function with the oven door closed for 5-10 minutes before use.
Always decide on the level at which to grill before the preheating period as the Handygrill rack and pan will get very hot.
The second level from the top is the most useful for normal grilling. Only use the top position for toast or very quick cook items such as minute steak.
These timings are recommendations only
| Food | Temperature | Cooking Time Minutes |
| Sausages | 200-Max | 5-10 per side |
| Bacon | 200-Max | 5-7 per side |
| Burgers | 200-Max | 5-10 per side |
| Chop or Steak | 200-Max | 10-15 per side |
| Chicken Portion | 200-Max | 10-15 per side |
| Salmon Steak | 200-Max | 10-15 |
Other uses
The Handygrill and pan can also be used for roasting.
Remove the trivet from the pan and position the rack at the height of the centre of the oven. Use the fan or conventional
oven settings and follow the guide time in the cooking chart for roasting. Only use the supplied pan in the Handygrill rack - any other vessel could be unstable.
To fit the Handygrill
Line up the ends of the Handygrill rack with a pair of holes in the mounting brackets on the oven door.

left hand side

right hand side
Slide the ends into both uprights at the same time.


left hand side
right hand side
Hook the rack on to the uprights.
Oven shelves

the shelf guard should be at the back pointing upwards
As well as the flat shelves some models are supplied with a drop shelf. The drop shelf increases the possibilities for oven shelf spacing.

Flat shelf

Drop shelf
The oven shelves can be easily removed and refitted.
Pull the shelf forward until the back of the shelf is stopped by the shelf stop bumps in the oven sides.
Lift up the front of the shelf so the back of the shelf will pass under the shelf stop and then pull the shelf forward.



To refit the shelf, line up the shelf with a groove in the oven side and push the shelf back until the ends hit the shelf stop. Lift up the front so the shelf ends clear the shelf stops, and then lower the front so that the shelf is level and push it fully back.
Steam
When cooking foods with high water content (e.g. oven chips) there may be some steam visible at the grille at the rear of the hotplate. This is perfectly normal.
Oven light
Press the appropriate button to turn on the oven light. If the oven light fails, turn off the power supply before you change the bulb. See the 'Troubleshooting' section for details on how to change an oven light bulb.
Storage
The drawer can get very warm, don't store anything in it that may melt or catch fire.
The drawer can be removed completely for cleaning etc.
To remove the drawer pull it forward.


Lift up the ends of the plastic clips (one each side) to release the catches holding the drawer to the side runners and at the same time pull the drawer forward and away from the side runners.

For safety's sake push the drawer runners back out of the way.
To refit the draw
Rest the drawer back on the side runners and, keeping it level, push it right back. The clips should click into position holding the drawer to the side runners.
Cleaning your cooker
Essential information
Before thorough cleaning isolate the electricity supply. Remember to switch on the electricity supply and reset the clock before using the cooker.
Never use paint solvents, washing soda, caustic cleaners, biological powders, bleach, chlorine based bleach cleaners, coarse abrasives or salt. Don't mix different cleaning products - they may react together with hazardous results.
Recommended cleaning materials are shown in the 'Cleaning Table' at the end of this section.
All parts of the cooker can be cleaned with hot soapy water - but take care that no surplus water seeps into the appliance.
Hotplate burners
Some models have a separate trim ring, which fits on the burner head.
The burner heads and caps can be removed for cleaning.
Make sure they are absolutely dry before replacing.
English
The single ring burners

A

C
E

A cap, B head, C notch, D electrode, E base
When refitting the burner head, make sure that the notch lines up with the electrode or hole in the base. Check that the burner head is level and that the cap is fitted centrally on the burner head.
The Wok burner
The Wok burner is a little more complicated but it also can be taken apart for cleaning.

A

B

C

D

E
Wok burner
A inner burner cap,
B outerburnercap
C inner burner head
D outer burner head
E Wok burner base
When reassembling the Wok burner, turn over the large base ring and find the 'D' shaped area.

D

Turn the head until the 'D' matches the one on the burner base. Turn the head over and place it on the burner base. To fit the small inner burner, find the larger electrode notch in the burner rim. Line this up with the white ignition electrode and place the inner burner on the large base ring.

A electrode notch
B ignition electrode
Now fit the two burner caps, making sure that they are sitting down properly.
Handygrill
The pan and grid should be washed in hot soapy water. After grilling meats or any foods that soil, leave to soak for a few minutes in the sink immediately after use. Stubborn particles may be removed from the grid by using a nylon brush.
Control Panel and Doors
Avoid using any abrasive cleaners including cream cleaners, e.g. Cif, on brushed Stainless Steel surfaces. For best results use a liquid detergent e.g. Domestos Multi Surface Cleaner.
The control panel and control knobs should only be cleaned with a soft cloth wrung out in clean hot soapy water. Wipe with a clean dampened cloth then polish with a dry cloth.
The oven doors should only be cleaned with a soft cloth wrung out in clean hot soapy water.
Ovens
The ovens have removable panels that have been coated with a special enamel that partly cleans itself. This does not stop all marks on the lining, but helps to reduce the amount of manual cleaning needed.
The Cook & Clean panels work better above 200^ C . If you do most of your cooking below this temperature,
Cleaning Table
Hotplate
| Part | Finish | Recommended Cleaning Method |
| Hotplate Top | Enamel or Stainless Steel | Hot soapy water, soft cloth. Any stubborn stains remove gently with a nylon scourer. |
| Pan Supports, Wok Cradle (some models only) | Enamel coated Cast Iron or Stainless Steel | Cif Cream Cleaner- Faberge Lever and a nylon scourer. Dishwasher. |
| Burner Caps | Enamel | Cream cleaner, nylon scourer. Dishwasher |
| Burner Trim Rings (some models only) and Burner Head | Aluminium | Cif or other cream cleaner with a soft cloth. Be careful not to be over vigorous. |
| Griddle Plate (some models only) | Non-Stick Surface | Allow to cool. Wash in hot soapy water. Do not use abrasive cleaners/scourers. Dishwasher. |
Outside of cooker
| Part | Finish | Recommended Cleaning Method |
| Door, Door surround and Storage Drawer exterior. | Enamel or paint | Hot soapy water, soft cloth. Any stubborn stains, remove gently with a liquid detergent. |
| Stainless Steel | E Cloth or Vileda Microfibre Plus All Purpose Cloth Freudenberg Household Products LP (supermarket) | |
| Sides and Plinth | Painted surface | Hot soapy water, soft cloth |
| Splashback/Rear Grille | Enamel or Stainless Steel | Hot soapy water, soft cloth. Cream cleaner, with care, if necessary. |
| Control panel | Paint, Enamel or Stainless Steel | Warm soapy water. Do not use abrasive cleaners on lettering. |
| Control Knobs/Handles | Plastic/ Chrome | Warm soapy water, soft cloth. |
| Oven Door Glass/Glass Lid | Toughened glass | Hot soapy water, cream cleaner/scourer if necessary. |
Ovens
| Part | Finish | Recommended Cleaning Method |
| Sides, floor & roof of oven - NOT COOK & CLEAN OVEN PANELS (see below) | Enamel | Any proprietary oven cleaner that is suitable for enamel. CAUTION: CORROSIVE/CAUSTIC OVEN CLEANERS - FOLLOW MANUFACTURERS INSTRUCTIONS. Do not allow contact with the oven elements. |
| Cook & Clean Oven Panels (some models only) | Special enamel that partly cleans itself | This surface cleans itself at 200°C and above, or the panels can be removed and washed with hot soapy water and a nylon brush. (see ‘The Ovens’ in ‘Cleaning your cooker’) |
| Oven Shelves, Handyrack, Grill Trivet, Handygrill rack (some models only) | Chrome | An oven interior cleaner that is suitable for chrome. Soap filled pad. Dishwasher. |
| Grill Pan/Meat Tin, Handygrill Pan (some models only) | Enamel | Hot soapy water. Soap filled steel wool pad. Dishwasher. |
Cleaners listed are available from Supermarkets or electrical retailers as stated. Cleaner manufacturer in Italics
For enamelled surfaces use a cleaner that is approved for use on vitreous enamel.
Regular cleaning is recommended. For easier cleaning, wipe up any spillages immediately.
To help keep your oven clean, cover meat when roasting, with foil or use a roasting bag. Brush vegetables with fat before placing around the meat.
English
occasionally remove the panels and wipe with a lint free cloth and hot soapy water. The panels should then be dried and replaced and the oven heated at 200^ C for about one hour. This will ensure the Cook & Clean panels are working effectively.
Don't use steel wool (Brillo) or any other materials that will scratch the surface. Don't use oven cleaning pads.
Removing the Oven Linings
Some of the lining panels can be removed for cleaning and for cleaning behind. Remove the shelves first.
The side panels of either oven can be removed.
Each side of the oven is fixed with four fixing screws. You don't have to remove the screws to remove the oven linings. Lift each side panel upwards and they will slide off the screws. Then pull them forwards.

Once the linings are removed, the oven enamel interior can be cleaned.
Troubleshooting
Steam is coming from the oven
When cooking foods with a high water content (e.g. oven chips) there may be some steam visible at the rear grille. Take care when opening the oven door, as there may be a momentary puff of steam when the oven door is opened. Stand well back and allow any steam to disperse.
The oven fan is noisy
The note of the oven fan may change as the oven heats up - this is perfectly normal.
What cleaning materials are recommended for the cooker?
See the 'Cleaning' section for recommended cleaning materials. Some cleaners contain chemicals that may damage the surfaces of your cooker.
The knobs get hot when I use the ovens, can I avoid this?
Yes, this is caused by heat rising from the oven and heating them up. Don't leave the oven door open.
If there is an installation problem and I don't get my original installer to come back to fix it who pays?
You do. Service organisations will charge for their call-outs if they are correcting work carried out by your original installer. It's in your interest to track down your original installer.
Current Operated Earth Leakage Breakers
Where the cooker installation is protected by a 30 milliamp sensitivity residual current device (RCD), the combined use of your cooker and other domestic appliances may occasionally cause nuisance tripping. In these instances the cooker circuit may need to be protected by fitting 100mA device. This work should be carried out by a qualified electrician.
Food is cooking too slowly, too quickly, or burning
Cooking times may differ from your previous oven. Check that you are using the recommended temperatures and shelf positions. See the oven cooking guide. The oven control settings and cooking times are intended to be used only as a guide. Individual tastes may require the temperature to be altered either way, to get the results you want. Try cooking at a higher temperature setting.
The oven is not cooking evenly
Do not use a tin or baking tray larger than 330mm × 290mm . If you are cooking a large item, be prepared to turn it round during cooking.
If two shelves are used, check that space has been left for the heat to circulate. When a baking tray is put into the oven, make sure it is placed centrally on the shelf.
Check that the door seal is not damaged and that the door catch is adjusted so that the door is held firmly against the seal.
A dish of water when placed on the shelf should be the same depth all over. (For example, if it is deeper at the back, then the back of the cooker should be raised up or the front lowered). If the cooker is not level arrange for your supplier to level it for you.
The left hand Multi-function oven not coming on when turned on manually
Have you set a cooking function?
Is the power on? Is the clock illuminated?
If not there may be something wrong with the power supply. Is the cooker supply on at the isolator switch?
Has the time of day been set?
Is the key symbol (l) showing in the display? See the Clock section of the instructions for more information on the key lock feature of the clock.
The left hand Multi-function oven not coming on when automatic cooking
Timer set correctly but oven knob left OFF by mistake?
Is the key symbol (l) showing in the display? See the Clock section of the instructions for more information on the key lock feature of the clock.
Have you set a cooking function?
Oven temperature getting hotter as the cooker gets older
If turning the knob down has not worked or only worked for a short time then you may need a new thermostat. This should be fitted by a service person.
The oven light is not working
The bulb has probably blown. You can buy a replacement bulb (which is not covered under the guarantee) from a good electrical shop. Ask for an Edison screw fitting 15w 240v lamp, FOR OVENS. It must be a special bulb, heat resistant to 300^ .

Turn off the power supply.
Make sure the oven is cool. Open the oven door and remove the oven shelves.
Unscrew the bulb cover by turning anticlockwise. It may be very stiff.


Taking care to protect your fingers in case the bulb should shatter, unscrew the old bulb.
Screw in the new bulb, screw back the bulb cover. Turn on the electricity supply and check that the bulb now lights.
Hotplate ignition or hotplate burners faulty
Is the power on? Is the clock illuminated? If not there maybe something wrong with the power supply.
See 'power supply' section further on.
Are the sparker (ignition electrode) or burner slots blocked by debris?
Is the burner trim correctly located?
Are the burner caps correctly located?
See the section entitled 'Cleaning'
Hotplate burners will not light
Make sure that the burner parts have been replaced correctly after wiping or removing for cleaning.
Check that there is not a problem with your gas supply. You can do this by making sure that other gas appliances you may have are working.
Do the burners spark when you push the button? If not check the power is on - is the clock illuminated?
General Safety Instructions
This appliance must be installed by a competent person. The installation must be in accordance with the installation instructions and comply with the relevant regulations and also the local gas and electricity supply companies' requirements.
If you smell gas
Don't turn electric switches on or off.
Don't smoke
Don't use naked flames
Do turn off the gas at the meter or cylinder
Do open doors and windows to get rid of the gas
Do keep people away from the area affected
Call your gas supplier.
This appliance is designed for domestic cooking only. Use for any other purpose could invalidate any warranty or liability claim.
The use of a gas cooking appliance results in the production of heat and moisture in the room in which it is installed.
Ensure that the kitchen is well ventilated: keep natural ventilation holes open or install a mechanical ventilation device, (mechanical extractor hood).
Prolonged intensive use of the appliance may call for additional ventilation, for example opening a window, or more effective ventilation, for example increasing the level of mechanical ventilation where present.
The cooker should be serviced by a qualified service engineer and only approved spare parts used. Have the installer show you the location of the cooker control switch.
Mark it for easy reference. Always allow the cooker to cool and then switch off at the mains and before cleaning or carrying out any maintenance work, unless specified otherwise in this guide.
All parts of the cooker become hot with use and will retain heat even after you have stopped cooking.
Take care when touching cooker, to minimize the possibility of burns, always be certain that the controls are in the OFF position and that it is cool before attempting to clean the cooker.
Use dry oven gloves when applicable - using damp gloves might result in steam burns when you touch a hot surface. Never operate the cooker with wet hands.
Do not use a towel or other bulky cloth in place of a glove. They might catch fire if they touch a hot surface.
Clean with caution. If a wet sponge or cloth is used to wipe spills on a hot surface, be careful to avoid steam burns. Some cleansers can produce noxious fumes if applied to a hot surface.
Do not use unstable saucepans and position the handles away from the edge of the hotplate.
English
Babies, toddlers and young children should not be allowed near the cooker at any time. They should never be allowed to sit or stand on any part of the appliance. Teach them not to play with controls or any other part of the cooker.
Never store anything of interest to children in cabinets above a cooker - children climbing on the cooker to reach them could be seriously injured.
Clean only parts listed in this guide.
In the interests of hygiene and safety the cooker should be kept clean at all times as a build up in fats and other food stuff could result in a fire.
Always keep combustible wall coverings or curtains etc. a safe distance away from your cooker.
Do not spray aerosols in the vicinity of the cooker while it is in on.
Do not store or use combustible materials, or flammable liquids in the vicinity of this appliance.
Do not use water on grease fires. Never pick up a flaming pan. Turn the controls off. Smother a flaming pan on a surface unit by covering the pan completely with a well fitting lid or baking tray. If available use a multipurpose dry chemical or foam-type fire extinguisher.
Never leave the hotplate unattended at high heat settings. Pans boiling over can cause smoking and greasy spills may catch on fire.
Never wear loose-fitting or hanging clothes while using the appliance. Be careful when reaching for items stored in cabinets over the hotplate. Flammable material could be ignited if brought in contact with a hot surface unit and may cause severe burns.
Take great care when heating fats and oils, as they will ignite if they get too hot.
Use a deep fat thermometer whenever possible to prevent overheating fat beyond the smoking point.
Never leave a chip pan unattended. Always heat fat slowly, and watch as it heats. Deep fry pans should be only one third full of fat. Filling the pan too full of fat can cause spill over when food is added. If you use a combination of oils or fats in frying, stir them together before heating, or as the fats melt.
Foods for frying should be as dry as possible. Frost on frozen foods or moisture on fresh foods can cause hot fat to bubble up and over the sides of the pan. Carefully watch for spills or overheating of foods when frying at high or medium high temperatures. Never try to move a pan of hot fat, especially a deep fat fryer. Wait until the fat is cool.
Do not use the top of the flue (the slot along the back of the cooker) for warming plates, dishes, drying tea towels or softening butter.
When using an electrical appliance near the hotplate, be sure that the cord of the appliance does not come into contact with the hotplate.
Take care that no water seeps into the appliance
Only certain types of glass, glass-ceramic, earthenware or other glazed containers are suitable for hotplate cooking; others may break because of the sudden change in temperature.
Do not allow anyone to climb, stand or hang on any part of the cooker.
Do not use aluminium foil to cover shelves, linings or the oven roof.
Make sure that your kitchen is well ventilated at all times. Use extractor fans or hoods when fitted.
Never heat unopened food containers. Pressure build up may make container burst and cause injury.
The cooker is designed for cooking foods only and must not be used for any other purpose.
The oven should NOT be used for heating the kitchen, not only does this waste fuel but the control knobs may become overheated.
When the oven is on DO NOT leave the oven door open for longer than necessary.
The specification of this cooker should not be altered.
This appliance is heavy, take care when moving it.
When the cooker is not in use ensure that the control knobs are in the off position.
Service and spares
Please complete the appliance details below and keep them safe for future reference - this information will enable us to accurately identify your particular appliance and help us to help you. Filling this in now will save you time and inconvenience if you later have a problem with your appliance. It may also be of benefit to keep your purchase receipt with this leaflet. You may be required to produce the receipt to validate a warranty field visit.
| Fuel Type: | Dual Fuel |
| Name of Appliance | Falcon Toledo XT 110 |
| Colour* | |
| Appliance Serial Number * | |
| Retailers Name & Address | |
| Date of Purchase | |
| Installers Name & Address | |
| Date of Installation |
.* This information is on the appliance data badge
If you have a problem
In the unlikely event that you have a problem with your appliance, please refer to rest of this booklet, especially the problem solving section, first to check that you are using the appliance correctly. If you are still having difficulty, contact your retailer
Please note
If your appliance is outside the warranty period, our service provider may charge for this visit. If you request an engineer to visit and the fault is not the responsibility of the manufacturer, our service provider reserves the right to make a charge. Appointments not kept by you may be subject to a charge.
Out of Warranty
We recommend that our appliances are serviced regularly throughout their life to maintain the best performance and efficiency. Service work should only be carried out by technically competent and suitably qualified personnel.
Spare Parts
To maintain optimum and safe performance, only use genuine spare parts. Do not use re-conditioned or unauthorised gas controls. Contact your retailer.
Installation
This appliance is designed for domestic cooking only. Use for any other purpose could invalidate any warranty or liability claim. Check the appliance data badge to determine which gas the cooker is set for.
Conversion
This appliance is supplied as: -
G 20 20millibar
CAT II 2H3+
CAT II 2E3+
CAT II 2E3B/P
A conversion kit for other gases is supplied with the cooker. If the appliance is to be converted to another gas we recommend that this is done before installation. See the Conversion section of this instruction for more details.
Safety Requirements/Regulations
This appliance must be installed by a competent person. The installation must comply with the relevant regulations and also the local electricity supply company requirements. Read the instructions before installing or using this appliance. In your own interest and that of safety, it is law that all gas appliances be installed by competent persons. Failure to install the appliance correctly could invalidate any warranty or liability claims and lead to prosecution. Before installation, ensure that cooker is suitable for your gas type and supply voltage. See the data badge. This appliance can be converted for use on other gases. Install in a well-ventilated space.
Provision of Ventilation
This appliance is not connected to a combustion products evacuation device. It shall be installed and connected in accordance with current installation regulations. Particular attention shall be given to the relevant requirements regarding ventilation. Local regulations regarding ventilation must be adhered to but as a minimum: -
All rooms require an openable window or equivalent, while some rooms require a permanent vent in addition to the openable window. The cooker should not be installed in a bedsitting room with volume less than 20m3 . If it is installed in a room of volume less than 5m3 an air vent of effective area 100cm2 is required; if it is installed in a room of volume between 5m3 and 10m3 , an air vent of effective area 50cm2 is required; while if the volume exceeds 11m3 , no air vent is required. However, if the room has a door that opens directly to the outside, no air vent is required even when the room volume is between 5m3 and 10m3 . If there are other fuel burning appliances in the same room, more ventilation may be required.
Location of Cooker
The cooker may be installed in a kitchen/kitchen diner but NOT in a room containing a bath or shower.
NOTE:
An appliance for use on Liquid Petroleum Gas must not be installed in a room or internal space below ground level e.g. in a basement.
Positioning the Cooker
The diagrams below show the minimum recommended distance from the cooker to nearby surfaces.
The cooker should not be placed on a base.

The hotplate surround should be level with, or above, any adjacent work surface. Above hotplate level a gap of 75mm should be left between each side of the cooker and any adjacent vertical surface.
For non-combustible surfaces (such as unpainted metal or ceramic tiles) this can be reduced to 25mm .
A minimum space of 650mm is required between the top of the hotplate and a horizontal combustible surface.

*Any cooker hood should be installed in accordance with the hood manufacturer's instructions.
Surfaces of furniture and walls at the sides and rear of the appliance should be heat, splash and steam resistant. Certain types of vinyl or laminate kitchen furniture are particularly prone to heat damage and discolouration. We cannot accept responsibility for damage caused by normal use of the cooker to any material that de-laminates or discolours at temperatures less than 65^ above room temperature.
INSTALLATION
Check the appliance is electrically safe and gas sound when you have finished.
For safety reasons curtains must not be fitted immediately behind the cooker.
We recommend a gap of 1110mm between units to allow for moving the cooker. Do not box the cooker in; it must still be possible to move the cooker in and out for cleaning and servicing.
A clearance of 130 ~mm is required if the cooker is near a corner of the kitchen to allow the oven doors to open. The actual opening of the doors is slightly less but this allows for some protection of your hand as you open the door.

Unpacking the Cooker
Do not take any packaging off the cooker until it is directly in front of the place it is to be installed (unless it will not fit through a door in its outer packaging).
Cut the banding straps and lift the cardboard box off the cooker, leaving the cooker standing on the base packaging. See the loose unpacking sheet.
Moving the Cooker
The cooker is very heavy. Take great care.
We recommend two people manoeuvre the cooker. Ensure that the floor covering is firmly fixed, or removed to prevent it being disturbed when moving the cooker around. You will need the levelling tool.
From the back tilt the cooker forward and remove the rear half of the polystyrene base pack.


Repeat from the front and remove the front half of the poly base. Pull the drawer out to its furthest point.



Lift up the ends of the plastic clips (one each side) to release the catches holding the drawer to the side runners and at the same time pull the drawer forward and away from the side runners. For safety's sake push the drawer runners back out of the way. Put the drawer somewhere safe - do not refit it until the installation is complete.
Lower the Rollers.
Fit the Allen key tool to the centre roller lowering mechanism (C in the fig. below).

A left rear roller, B right rear roller, C centre roller
LOWER THE FRONT ROLLER by doing 14 complete (360^) turns clockwise.
First fit the levelling tool on the hexagonal adjusting nut as shown below.
Make 10 complete (360^) turns clockwise. (This means turning and removing the levelling tool 20 times).
INSTALLATION
Check the appliance is electrically safe and gas sound when you have finished.

Make sure you lower BOTH REAR ROLLERS. There are two adjusting nuts, one for each roller, at both the front bottom corners of the cooker.
Unfold the rear edge of pack base tray. Carefully push the cooker backwards into position. Take care not to damage the power cable. Push the cooker close to its final position, leaving just enough space to get behind it.

When you are satisfied with the height and level, raise the front of the cooker by one turn of the front roller adjuster. Screw down the front feet to meet the floor. Screw the front roller adjuster anticlockwise to raise the front roller so that the front of the cooker is supported on the feet, not the front roller, to prevent accidental movement of the cooker.
Leave the levelling tool in the storage drawer, so that the customer can use it if they wish to move the cooker.
Gas Connection
Restraining device
A restraining device should be fitted when the cooker is connected to a flexible gas supply. Any restraining device should be secured to the fabric of the building and should be able to be released so that the cooker can be pulled out for cleaning and maintenance.
Flexible Gas Hose
A gas shut off valve must be fitted between the gas supply and the connection hose. The flexible hose (not supplied with the cooker) must be in accordance with the relevant standards. If in doubt contact, your supplier.
The rear cover boxes limit the position of the supply point. The house gas supply needs to terminate with a down facing connection.
The appliance connection is located just below hotplate level at the rear of the cooker. ('A' in the figure)
The inlet connection on the cooker is ISO 7-1 internal. If you require a ISO 228-1 connection find the ISO 7-1 to ISO 228-1 connector in the conversion kit. Apply a suitable thread sealing compound to the ISO 7-1 end.
Levelling
You are recommended to use a spirit level on a shelf in one of the ovens to check for level.
Place the cooker in its intended position taking care not to twist it within the gap between the kitchen units as damage may occur to the cooker or the units.
The rollers can be adjusted to level the cooker. To adjust the height of the rear of the cooker use the levelling tool supplied to turn the adjusting nuts at the front bottom corners of the cooker.
Adjust the height of the front roller to level the cooker. Turn clockwise to raise the cooker and anticlockwise to lower.

INSTALLATION
Check the appliance is electrically safe and gas sound when you have finished.

Screw the connector into the cooker inlet until it is finger tight. Using two suitable tools, one on the inlet on the cooker to make sure it is held steady and one on the connector, tighten the connector into the inlet on the cooker.
Minimum torque 15Nm.
Maximum torque 20Nm
Connect the hose to the connector.
In the UK
For Natural Gas the flexible hose must be in accordance with B.S.669.
For LP Gas it should be capable of 50mbar pressure, 70^ temperature rise and carry a red stripe, band or label.
If in doubt contact, your supplier.
Screw connect the threaded end of the hose into the gas inlet in the underside of the connector block on the back of the cooker.
The hose should be fitted so that both inlet and outlet connections are vertical so that the hose hangs downwards in a 'U' shape.
Because the height of the cooker can be adjusted and each connection is different it is difficult to give precise dimensions. Ideally the house supply connection should be in the shaded area shown in the figure showing the back of the cooker. ('B' in the figure)
After completing the gas connection, check the cooker is gas sound with a pressure test. When checking for gas leaks do not use washing up liquid - this can corrode. Use a product specifically manufactured for leak detection.
Pressure testing
The gas pressure can be measured at the injector of one of the centre hotplate burners. Remove the pan support, burner head and cap. The injector is now accessible.
See Technical data section at the back of this book for test pressures.
Reassemble burner top, making sure it is reassembled in the correct way on the burner body.
Electrical Connection
This appliance must be installed by a qualified electrician to comply with the relevant regulations and also the local electricity supply company requirements.
WARNING: THIS APPLIANCE MUST BE EARTHED
Note
The cooker must be connected to the correct electrical supply as stated on the voltage label on the cooker, through a suitable cooker control unit incorporating a double pole switch having a contact separation of at least 3mm in all poles. This cooker must not be connected to an ordinary domestic power point.
The total electrical load of the appliance is approximately 5.1kW . The cable size used should be suitable for this load and comply with all local requirements.
Access to the mains terminal is gained by removing the electrical terminal cover box on the back panel.
Connect the mains cable to the correct terminals for your electrical supply type.


230VAC 50Hz


3N ac 230/400V 50Hz人
Check that the links are correctly fitted and that the terminal screws are tight. Secure the mains cable using the cable clamp.
Current Operated Earth Leakage Breakers
Where the installation is protected by a 30-milliamp sensitivity residual current device (RCD), the combined use of your cooker and other domestic appliances may occasionally cause nuisance tripping. In these instances the cooker circuit may need to be protected by fitting a100mA device. This work should be carried out by a qualified electrician.
Hotplate
Check each burner in turn. There is a flame safety device that stops the flow of gas to the burner if the flame goes out. For each burner, turn the control knob to the large
WARNING - SERVICING TO BE CARRIED OUT ONLY BY AN AUTHORISED PERSON Disconnect from electricity and gas before servicing. Check appliance is safe when you have finished.
Conversion to another gas
Check in the Technical Data section at the back of the book that the cooker is convertible to the gas you want to use.
This conversion must be performed by a competent person. After conversion the installation must comply with the relevant regulations and also the local electricity supply company requirements. Read the instructions before converting this appliance.
Failure to convert the appliance correctly could invalidate any warranty or liability claims and lead to prosecution.
This instruction must be used in conjunction with the rest of the appliance instruction, in particular for information on Standards, cooker positioning, connection hose suitability etc.
When servicing or replacing gas-carrying components disconnect from gas before commencing operation and check appliance is gas sound after completion.
Do not use re-conditioned or unauthorised gas controls.
Disconnect from the electricity supply before commencing servicing. Before electrical re-connection, check that the appliance is electrically safe.
Injectors
Remove burner caps and heads. Remove old jets. Fit the new jets. See the Technical Data section at back of the book for the correct jets. Reassemble in reverse order.
Tap adjustment
Disconnect from electricity supply.
Open the oven doors and remove the fixing screws underneath the control panel. NB some models have a plate under the facia held in place by the bottom fixing screws.
Pull off all the control knobs.
Slide the control panel to the right and then pull forward.
Take care not to damage or strain the wiring.
Lift the control panel, pull forward.
Take care not to damage or strain the wiring.
To convert to another gas.
Unscrew the tap bypass screw.

Using a pair of long nose pliers carefully remove the bypass screw and fit the correct replacement screw. See the
Technical Data section at back of the book for the correct size. Tighten the screw down.
Refit the control panel.
Stick on label
Stick the appropriate label on to the data badge to indicate the gas the appliance is now set for.
Pressure Testing
Connect the appliance to the gas supply. Check the appliance is gas sound.
See Technical data section at the back of this book for test pressures.
The gas pressure can be measured at one of the left hand hotplate burner jets. Lift off a burner head. Fit the pressure gauge to the jet. Turn on the hotplate burner and turn on and light one of the other burners.
After checking the pressure, turn the taps off and replace the burner head.
Reassemble burner top, making sure it is reassembled in the correct way on the burner body.
Check the appliance is gas sound.
Check operation of all the burners.
Servicing
BEFORE SERVICING ANY GAS CARRYING COMPONENTS.
TURN OFF THE GAS SUPPLY
Check the appliance is gas sound after completion of service. When checking for gas leaks do not use washing up liquid - this can corrode. Use a product specifically manufactured for leak detection.
Do not use re-conditioned or unauthorized gas controls.
Disconnect from the electricity supply before commencing servicing, particularly before removing any of the following: - control panel, side panels, hotplate tray or any electrical components or covers.
Before electrical re-connection, check that the appliance is electrically safe.
Note - References to LH and RH oven apply as viewed from the front.
1 To Remove the Control Panel
Disconnect from electricity supply.
Open the oven doors and remove the fixing screws underneath the control panel. NB some models have a plate under the facia held in place by the bottom fixing screws.
Pull off all the control knobs.
Slide the control panel to the right and then pull forward. Take care not to damage or strain the wiring.
Lift the control panel, pull forward.
Disconnect the wiring from the rear. Reassemble in reverse order. When replacing leads refer to the wiring diagram.
Check operation of timer.
2. To Remove Hotplate Trays
Disconnect from electricity supply.
Pull the cooker forward to gain access to the rear
Left hand tray
From the rear remove the screws securing the flue grille to the hotplate tray. Remove pan supports, burner heads and caps. Remove the 4 screws and washers holding the hotplate tray to the frame. Raise the front of the hotplate then withdraw.
Right hand tray
From the rear remove the screws securing the flue grille to the hotplate tray. If the LH hotplate has not been removed, slacken the screws holding the LH tray. Remove pan support, burner head, caps and trim rings. Remove the screws holding the Wok burner to the hotplate. Remove the 4 screws and washers holding the RH tray to the frame. Taking care not to damage the Wok burner electrode, lift tray and withdraw.
Reassemble in reverse order ensuring that the leads are reconnected. When replacing the RH hotplate take care not to damage the ignition electrode of the Wok burner.

It is important that the rear earthing leads are replaced when the fixing screws are refitted as they from part of the cooker earthing.
Check for correct burner operation.
3. To Remove Side Panels
Disconnect from electricity supply.
Remove the Control Panel - see 1. Pull the cooker forward. Remove the 4 retaining screws for each panel (1 at the front base, 1 on the top and 2 at the rear).
Reassemble in reverse order.
4. To Remove Ignition or Light Switch
Remove the Control Panel - see 1.
NB. The old switch may be destroyed during removal. Remove the old switch from its bezel by gripping the switch body behind the control panel and twisting sharply. The switch bezel can then be removed by folding back its locking wings and pushing forward. Fit the new bezel to the control panel by first lining up the raised key on its body with the cutout in the control panel and pushing it in from the front. Assemble the new switch to the bezel by lining up the key sections and pushing home. Fit the new button by pushing in from the front.
Replace Control Panel in reverse order and test for correct operation.
5. To Remove Clock
Disconnect from electricity supply.
Remove the Control Panel (See 2). Pull off the timer control button(s).
Remove the timer/mounting bracket assembly from the control panel by removing the fixing screws.
Remove the timer from its mounting bracket by depressing the plastic lugs on the timer case, at the same time pulling the unit forward.
Reassemble in reverse order. When replacing leads refer to the wiring diagram. Check operation of timer.
BEFORE SERVICING ANY GAS CARRYING COMPONENTS
TURN OFF GAS SUPPLY.
6. To Remove a Thermostat
Disconnect from the electricity supply.
Remove control panel and appropriate hotplate tray. Open oven door. Remove oven furniture and slide out oven roof liner if fitted.
WARNING - SERVICING TO BE CARRIED OUT ONLY BY AN AUTHORISED PERSON Disconnect from electricity and gas before servicing. Check appliance is safe when you have finished.
RH oven
Remove the two fixings that secure the thermostat phial cover. Unclip the thermostat phial from the clips in the oven back panel.
LH oven
Remove the two screws holding the thermostat phial to the oven fan cover at the rear of the oven. Pull the unit forward to access the rear of the cooker. Remove the both cover boxes by removing the fixing screws and lifting clear. Feed the thermostat capillary clear of the oven. Disconnect the wires from the thermostat and undo the two fixings that secure the control to the mounting plate. Fit the replacement and re-assemble in reverse order. Ensure that the phial is clipped to the oven rear, positioned centrally between the clips.
Check that the thermostat functions correctly.
7 To Remove an Oven element Thermal Cut-Out.
Disconnect from the electricity supply.
Pull the cooker forward to gain access to the cover box. Undo the cover screws and lift clear. The cutout is located on the earth plate beside the oven element connections. Disconnect the cutout wiring. Undo the fixings that secure the cutout to the earth plate and remove. Fit replacement control and re-assemble in reverse order.
8. To Change Hotplate Control Taps
Remove the Control Panel (see 1). Lift up the appropriate hotplate tray front (see 2).
Unplug the FSD lead from the rear of the tap. Undo compression fitting at the rear of the tap. Remove the fixings that secure the tap to the gas rail. Remove the tap. Remove and discard the gasket seal. Fit new gasket seal to replacement tap. Re-assemble in reverse order. Check the appliance is gas sound. Check hotplate ignition.
9. To Change Hotplate Burner Injector
Remove burner cap and head. Remove old jet. Fit new injector. Reassemble in reverse order. Check appliance is gas sound.
10. To Change Hotplate Burner Electrode
Lift off pan supports, remove burner cap. Remove the screw holding the electrode. Pull electrode vertically up sufficiently to grip the lead between thumb and forefinger. Pull off the electrode, but keep hold of the lead. Fit new electrode to the lead. Fix electrode in burner with screw. Replace burner cap. Check the burner ignition. Replace pan supports.
11. To Remove or Change a Hotplate Burner.
Remove the hotplate tray (see 2).
LH hotplate burners
Remove heat shield (2 screws). The burners are mounted in 2's on cross supports. Disconnect the burner feed pipes at the burners. Remove the screw on the right holding the cross support. Slide the support to the right to release in from the left hand location. Lift the cross support and burners clear. The burners are fixed to the cross supports with 2 screws. Remove the appropriate burner and fit the new one. Reassemble in reverse order. Check burner operation is satisfactory.
RH Wok burner
Disconnect the burner feed pipes at the burner. Fit the new one and reassemble in reverse order. Check burner operation is satisfactory.
12. To Remove an Oven Door
Open oven door. Support the door and remove the two screws securing the upper hinge and gasket to the cooker front. Remove the door from the lower hinge by lifting slightly and moving outwards.
Reassemble in reverse order.
13. To Change Oven Door Outer Panel
Move the cooker forward to gain access to the sides.
Open the oven door slightly and remove the front panel fixing screws from the door sides (two each side).

Carefully lift off the outer door panel.
Remove door handle from panel by unscrewing 2 retaining nuts. Fit door handle to new panel
Fit panel to door. Reassemble in reverse order.
WARNING - SERVICING TO BE CARRIED OUT ONLY BY AN AUTHORISED PERSON Disconnect from electricity and gas before servicing. Check appliance is safe when you have finished.
14. To Change Oven Door Latch
Remove outer door panel (see 13). Remove screws 'B' holding latch assembly to inner door panel. Fit new catch and reassemble in reverse order.
Check correct door operation.

15. To Adjust an Oven Door Catch Keep
Open oven door, slacken off locknut at base of keep, and screw in or out as required until required fit is obtained. Retighten locking nut.
16. To Change Oven Door Seal
Open oven door. The seal is held in place by small hooks on the rear face. At the corner pull seal diagonally away from the door centre until that hook is released. Proceed to the next hook and release it in a similar way, and so on. Use force if the hooks are stiff, as the old seal will be discarded.

When fitting new seal, position the seal join at the bottom. Hook the new seal in one of the corner holes of the door, and proceed round the door snapping in each hook in turn.
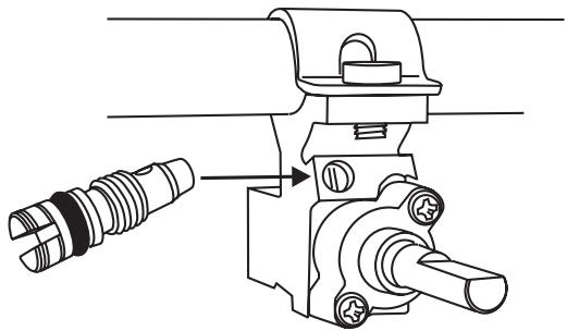
17. To Change Ignition Generator
Disconnect from electricity supply.
Pull cooker forward to gain access to the cover box at the rear of the cooker. Remove the screws securing the cover and lift clear. Pull off all the leads to the generator noting their positions. Slacken the two screws holding generator to cooker and remove generator.
Fit new generator to cooker and replace leads. Reassemble in reverse order. Refer to wiring diagram. Check ignition performance.
18. To Remove the Hotplate Electrode Leads
Disconnect from the electricity supply.
Pull the unit forward to access the rear of the appliance. Remove the hotplate - see 2. Remove the cover box and disconnect all HT leads at the generator. Disconnect the lead at the electrode. Pull the sleeved bundle of HT leads up through the rear upright. Pull the appropriate lead from the sleeve and push in the replacement. Replace the leads in the rear upright. Re-connect the leads at the generator and oven electrode. Re-assemble in reverse order and check ignition.
19. To Remove Oven Inner Back
Open the oven door. Remove oven furniture. For the LH oven unscrew the 2 thermostat phial fixing screws.

Remove the fixings that secure the inner back to the oven rear.
Lift the removable panel away. Re-assemble in reverse order. Ensure that the retaining fixings are fully tightened. For the LH oven unscrew the 2 thermostat phial fixing screws. Remove the screws that secure the inner back to the oven rear. Lift the removable panel away. Re-assemble in reverse order. Ensure that the retaining fixings are fully tightened.
20. To Replace an Oven Fan
Disconnect from the electricity supply.
Pull the unit forward to access the cover boxes at the rear of the appliance. Remove the fixings that secure the cover and lift it clear. Remove the fan wiring, noting the connection positions. Remove the inner back as detailed in Section 21. Hold the fan blades and undo the centre nut (LH thread), brass washers, fan blade and circlip. Undo the fixings that retain the fan and remove it from the cavity rear. Fit the replacement and re-assemble parts in reverse order. Check that the oven operates satisfactorily.
WARNING - SERVICING TO BE CARRIED OUT ONLY BY AN AUTHORISED PERSON Disconnect from electricity and gas before servicing. Check appliance is safe when you have finished.
Disconnect from electricity supply.
Pull the unit forward to access the cover boxes at the rear of the appliance. Remove the fixings that secure the cover and lift it clear. Undo the terminal connections noting their positions. Remove the inner back as detailed in Section 22.

Remove the fixings that secure the element within the oven and lift the element away carefully. Fit the replacement element and re-assemble parts in reverse order. Check that the oven operates correctly.
22. To Remove the LH Oven Bottom and Top Elements
Disconnect from the electricity supply.
Bottom Element
Pull the cooker forward to access the cover boxes at the rear of the unit. Remove the fixings that secure the cover and lift it clear.

Remove the 2 screws 'A' and allow the plate to drop down.
Remove the 2 screws B, lower the upper plate and remove through the slot in the cooker back.
Undo the terminal connections, noting their positions.
Remove the element fixings and withdraw element. Replace the element and re-assemble parts in reverse order.
Top Element
Open the LH oven door and undo the fixings that secure the heat shield. Remove the top element bracket fixings and withdraw element. Replace the element and re-assemble parts in reverse order. Check that the oven operates satisfactorily.
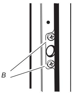
23. To Change Warmer Neon
Remove RH hotplate (see 2). Carefully place hotplate upside down on a suitable flat surface. Remove 2 screws holding neon bracket to Warmer frame. Fit new neon and bracket assembly.
Reassemble in reverse order and check for correct operation.
24. To Change Warmer
Remove RH hotplate, see 2. Fit new RH hotplate and reassemble in reverse order.
Check High burner and Warmer operation is satisfactory.
Connection shown in circuit diagram is for single phase. Ratings are for 230V 50Hz
Key to circuit diagram
A Warmer Switch
BWarmer 147W
C Left hand Multifunction oven thermostat
D Multi function oven function control
F Multi function oven base element 1.0kW
H Multi function oven top element (outer pair) 1.2kW
Multi function oven browning element (inner pair) 1.15kW
J Multi function oven fan 2.5kW
K Clock
L Live
M Right hand fan oven thermostat
N Neutral
O Fan oven element 2.5kW
P Right hand oven fan
Q Oven light switches
R Oven light bulbs
S Spark generator
T Cut-outs
U Neon
V Ignition switch
Colour Code
b Blue
br Brown
bl Black
or Orange
Red
v Violet
w White
y Yellow
| Ovens | Multifunction | Forced air convection |
| Energy efficiency class : on a scale of A (more efficient) to G (less efficient) | B | A |
| Energy consumption based on standard load | 0.90kWh | 0.85kWh |
| Usable volume (litres) | 62 | 67 |
| Size | Medium | Large |
| Time to cook standard load | 41 minutes | 38 minutes |
| Baking area | 1400cm2 | 1400cm2 |

Clarence Street, Royal Leamington Spa,
Warwickshire, CV31 2AD, England.
Tel: +44 (0) 1926 457400 Fax: +44 (0) 1926 450526
E-mail: consumers @rangemaster.co.uk
EasyManual