LTE 14-H211 - Réfrigérateur SCHOLTES - Notice d'utilisation et mode d'emploi gratuit
Retrouvez gratuitement la notice de l'appareil LTE 14-H211 SCHOLTES au format PDF.
| Type d'appareil | Lave-vaisselle |
| Capacité | Non précisé |
| Nombre de programmes | Non précisé |
| Consommation d'eau | Non précisé |
| Consommation d'énergie | Non précisé |
| Niveau sonore | Non précisé |
| Type de chargement | Panier inférieur, panier à couverts, panier supérieur |
| Fonctions spéciales | Produit de rinçage, sel régénérant |
| Sécurité | Sécurité générale, sécurité hors gel |
| Entretien | Nettoyage filtre, bras de lavage, filtre d'entrée d'eau |
| Installation | Mise en place et mise à niveau, raccordements eau et électricité |
| Options | Options de lavage |
| Transport | Non précisé |
| Économie d'énergie | Économies et respect de l'environnement |
| Durée d'absence | Conseils en cas d'absence prolongée |
FOIRE AUX QUESTIONS - LTE 14-H211 SCHOLTES
Questions des utilisateurs sur LTE 14-H211 SCHOLTES
0 question sur cet appareil. Repondez a celles que vous connaissez ou posez la votre.
Poser une nouvelle question sur cet appareil
Téléchargez la notice de votre Réfrigérateur au format PDF gratuitement ! Retrouvez votre notice LTE 14-H211 - SCHOLTES et reprennez votre appareil électronique en main. Sur cette page sont publiés tous les documents nécessaires à l'utilisation de votre appareil LTE 14-H211 de la marque SCHOLTES.
MODE D'EMPLOI LTE 14-H211 SCHOLTES
Mise en place et mise à niveau
Raccordements eau et électricité
Conseils pour le premier lavage
\section*{Caracteristiques techniques}
Transport
En cas d'absence pendant de longues périodes/
Sécurité hors gel
Description de l'appareil, 4
Vuedsemble
Tableau de bord
Charger les paniers, 5
Panier inférieur
Panier à couverts
Panier supérieur
Mise en marche et utilisation, 6-7
Mettre en marche le lave-vaisselle
Charger le produit de lavage
Options de lavage
Programmes, 8
Tableau des programmes
Produit de rinceage et sel regénérant, 9
Charger le produit de rinceage
Charger le sel régénérant
Entretienetsoin,10
Coupure de l'arrivée d'eau et de courant
Nettoyer le lave-vaisselle
Eviter les mauvaises odeurs
Nettoyer les bras de lavage
Nettoyage du filtré d'entrée d'eau
Nettoyer les filtres
Economies et respect de l'environnement
Anomalies et remèdes, 12
A Conserver ce mode d'emploi pour pouvoir le consulter à tout moment. En cas de vente, de cession ou de déménagement, s'assurer qu'il accompagne bien l'appareil.
A Lire attentivement les instructions : elles contiennent des conséils importants sur l'installation, l'utilisation et la sécurité de l'appareil.
A En cas de déménagement, transporter l'appareil verticalément; si besoin est, l'incliner sur le dos.
A Cet apparéil est concu pour un usage domestique ou autres applications similaires, telles que :
- lieux aménagés en espace cuisine pour le personnel de magasins, bureaux et autres lieux de travail ;
- fermes;
- utilisation par les clients d'hoteels, de motelels ou autres locaux de type résidentiel ;
- chambres d'hôtes.
Mise en place et mise à niveau
- Deballer l'appareil et s'assurer qu'il n'a pas ete endommagé pendant le transport.
S'il est abimé, ne pas le raccorder et contacter le revendeur. - Installer le lave-vaiselle de maniere à ce que les côtés et la paroi arrêté touchent aux meubles adjacents ou au mur.
L'appareil peut être encastré sous un plan de travail continu* (voir feuille de Montage). - Installer le lave-vaisselle sur un sol plat et rigide.
Compenser les irrégularités en vissant ou en dévissant les pieds avant jusqu'à ce que l'horizontalité de l'appareil soit parfaite. Une bonne horizontalité garantit la stabilité de l'appareil et supprime tout risque de vibrations, bruits et déplacements.
4*. Pour régler la hauteur du pied arrêté, agir sur la douille rouge à six pans située dans la partie avant du lave-vaisselle, en bas et au milieu, à l'aide d'une clé mâle à six pans, ouverture 8 mm. Tourner dans le sens des aiguilles d'une montre pour augmenter la hauteur et dans le sens inverse pour la diminuier. (consulter la notice d'instructions encastré jointe à la documentation)
Raccordements eau et électricité
A L'adaptation des installations électriques et les travaux de plomberie de l'installation doivent être effectués par du personnel qualifié.
A Le lave-vaisselle ne doit pas écraser les tuyaux ou le cable d'alimentation électrique.
Utiliser des tuyaux neufs pour effectuer le raccordement de l'appareil au réseau de distribution de l'eau.
Ne pas réutiliser les anciens tuyaux.
Les tuyaux d'amnée et d'évacuation de l'eau et le cable d'alimentation électrique peuvent être orientés vers la droite ou vers la gauche pour simplifier l'installation.
Raccord du tuyau d'amnée de l'eau
- A une prise d'eau froide: bien visser le tuyau d'amenée à un robinet à embout filtré 3/4 gaz; avant de visser, faire couler l'eau jusqu'à cequelle devienne limpide et dépourvue d'impuretés qui pourrait engorger l'appareil.
- A une prise d'eau chaude: en cas d'installation de chauffage centralisé (radiateurs), le lave-vaisse peut être alimenté avec de l'eau chaude de réseau ne dépassant pas 60^ .
Visser le tuyau au robinet en procédant comme pour la prise d'eau froide.
Si la longueur du tuyau d'amene ne suffit pas, s'adresser à un magasin spécialisé ou à un technicien/agréé (voir Assistance).
A La pression de l'eau doit être comprise entre les valeurs reportées dans le tableau des Caracteristiques techniques (voir ci-contre).
A Faire attention à ce que le tuyau ne soit ni pié ni écrasé.
Raccordement du tuyau d'évacuation de l'eau
raccorder le tuyau d'évacuation, sans le plier, à une conduite d'évacuation ayant au moins 4 cm de diamètre.

Le tuyau d'évacuation doit être placé entre 40 et 80 cm au-dessus du sol ou du plan d'appui du lave-vaisselle (A).
Avant de raccorder le tuyau d'évacuation de l'eau au siphon de l'évier,steroler le bouchon en plastique (B).
Sécurité anti-fuite
Pour éviter tout risque d'inondation, le lava-vaisselle : est équipé d'un dispositif qui coupe l'arrivée de l'eau en cas d'anomalie ou de fuite à l'intérieur de l'appareil.
Quelques modèles sont équipés d'un dispositif de sécurité supplémentaire New Acqua Stop★ qui garantit contre tout risque d'inondation même en cas de rupture du tuyau d'amnée de l'eau.
ATTENTION: TENSION DANGEREUSE!
Il ne faut enaucun cas couper le tuyau d'amenée de I'eau car il contient des parties sous tension.
- Présent uniquement sur certains modèles.
Raccordement electrique
Avant de brancher la fiche dans la prise de courant, s'assurer que:
- la prise dispose de mise à la terre et est conforme aux normes;
- la prise est bien apte à supporter la puissance maximale de l'appareil reportée sur la plaque signalétique fixée à la contre-porte (voir paragraphe Description du lavevaisselle);
- la tension d'alimentation est bien comprise entre les valeurs figurant sur la plaque signalétique de la contre-porte;
- la prise est bien compatible avec la fiche de l'appareil. Autrement, faire remplacer la fiche par un technicien agréé (voir Assistance); n'utiliser ni rallonges ni prises multiples.
Aùpèrs installation de l'appareil, le cable d'alimentation électrique et la prise de courant doivent être facilement accessibles.
A Le cable ne doit etre ni plie ni trop ecrase
Afin d'éviter tout danger, faire changer le cordon d'alimentation abîné, par le fabricant ou par son service après-vente. (Voir Assistance)
A Nous déclinons toute responsabilité en cas de non-respect des normes enumeratedes ci-dessus.
| Caracteristiques techniques | |
| Dimensions | largeur 59.5 cmhauteur 82 cmprofondeur 57 cm |
| Capacité | 14 couverts standard |
| Pression eud'alimentation | 0,05 ÷ 1 MPa (0,5 ÷ 10 bar)7,25 - 145 psi |
| Tensiond'alimentation | Voir étiquette descaracteristiques |
| Puissance totaleabsorbée | Voir étiquette descaracteristiques |
| Fusible | Voir étiquette descaracteristiques |
| CE | Cet apparéil est conforme auxDirectives Communautairessuivantes:- 2006/95/EC (Basse Tension)-2004/108/EC (CompatibleElectromagnétique)- 2005/32/EC (Comm. Reg.1275/2008) (Ecodesign)-97/17/EC (Etiquetage)- 2002/96/EC (DEEE) |
Ruban anti-condensation*
Après avoir encastré le lave-vaisselle, ouvrir la porte et coller le ruban adhésif transparent sous le plan en bois pour le protégé contre la formation de condensation.
Conseils pour le premier lavage
Une fois l'installation terminée et tout de suite avant le premier lavage, replir complètement d'eau le réservoir à sel et ajouter environ 1 kg de sel (voir Produit de rincege et sel régénérant) : il est tout à fait normal que de l'eau déborde. Sélectionner le degré de durée de l'eau (voir Produit de rincege et sel régénérant). - Àpres replissage du réservoir à sel, le voyant SEL s'éteint.
A Le manque de replissage du réservoir à sel, peut endommager l'adoucisseur d'eau et l'élement chauffant.
Transport
Sortir toute la vaisse du lave-vaisse et bloquer les parties mobiles.
L'appareil doit être vidé de l'eau résiduelle comme suit:
s'assurer que le robinet de l'eau est bien ouvert et sélectionner le programme ECO. Le programme démarre. Au bout de 5 minutes, stopper le programme en appuyant sur le bouton ON/OFF jusqu'à au bip et jusqu'à ce que les voyants s'éteignent. Attendre 5 minutes environ avant de déposer l'appareil. Fermer le robinet et débrancher le tuyau d'acciviée et de vidange.
Transporter l'appareil en position verticale pour éviter que la présence eventuelle de résidu d'eau puisse endommager les composants du lave-vaisselle.
En cas d'absence pendant de longues périodes/ Sécurité hors gel
Si l'appareil se trouve dans un endroit à risque de gel ou en cas d'absence prolongée (par ex. maison de vacances), vider complètement l'appareil.
- Proceder aux opérations de vidage de l'eau résiduelle (voir transport)
- Débrancher les raccordements électriques et fermer le robinet de l'eau.
- Laisser la porte entrouverte.
-
Au retour, effectuer un cycle de lavage à vide.
-
Présent uniquement sur certains modèles.
FR
Vue d'ensemble

- Panier supérieur
- Bras de lavage supérieur
- Clayettes rabattables
- Réglage hauteur du panier
- Panier inférieur
- Bras de lavage inférieur
- Panier à couverts
- Filtre lavage
- Réservoir à sel
- Bacs produit de lavage et réservoir à produit de rinçage
- Plaque signalétique
- Tableau de bord***
Tableau de bord

*** Uniquement pour modèles tout intégrables.
* Présent uniquement sur certains modèles.
Le nombre et les types de programmes et des options, variant selon le modele de lave-vaisse.
Avant de charger les paniers, débarrasser la vaisse des déchets plus importants et vider les verres et les coupes.
Après avoir chargé le lave-vaisselle, s'assurer que les bras de lavage tournent librement.
Panier inférieur et panier à couverts
Le panier du bas peut contenir des casseroles, des couvercles, des assiettes, des saladiers, des couverts etc. Les assiettes et couvercles de grandes dimensions doivent etre de préfERENCE rangés sur les cotsés du panier.


Certains modèles de lave-vaisselle sont pourvus de tiges rabattables*, qui peuvent être utilisés en position verticale pour accueillir les assiettes ou en position horizontale pour accueillir casseroles, saladiers et poèles.


Le panier à couverts peut varier selon le modele de lave-vaiselle etetre séparable ou non séparable.Le panier à couverts non séparable doitetre place obligatoirement dans la partie avant du panier inférieur.




Ils sont tous deux équipés de grilles supérieures permettant de mistraxranger les couverts.
Ranger les couteaux et les ustensiles de cuisine pointus et coupants dans le panier à couverts, pointes tournées vers le bas, ou, à plat, sur les clayettes rabattables du panier supérieur.
- Présent uniquement sur certains modèles. Leur nombre et leur position varient.
Panier supérieur
Réserve au chargement de la vaisse fragile et légère: verres, tasses, petites assiettes, saladiers bas.


Clayettes rabattables à inclinaison variable

Les clayettes peuvent être placées à deux hauteurs différentes afin d'optimiser la disposition de la vaisselle dans le panier. Les verres à pied peuvent être placés en position stable contre les clayettes, en insérant la tige de leurs pieds dans les fentes prévues à cet effet.

Certains modèles de lave-vaisselle sont dotés d'un plateau coulissant qui peut être utilisé pour conténir les couverts à service ou les tasses de petite taille. Pour de更好地 performances de lavage, éviter demettre sous le plateau de la vaisselle encourbrante.
Régler la hauteur du panier supérieur
Pour faciliter le rangement de la vaisselle, il est possible de régler le panier supérieur en position haute ou BASSE.
A Régler de préférence la hauteur du panier supérieur quand ce dernier est VIDE.
Ne JAMAIS soulever ou abaiser le panier d'un seul côté.

Ouvrir les butées des glissières du panier à droite et à gauche et sortir le panier. Positionner le panier en position haute ou basse, le faire glisser le long des glissières jusqu'à ce que les roues avant entrent elles aussi et refermer les butées (voir figure).

Si le panier est équipé de poignées Dual Space (voir figure), sortir le panier du haut en fin de corse, saisir les poignées sur les côts du panier et déplacer vers le haut ou vers le basl; laisser redescendre le panier en l'accompagnant.
Vaisse n'allant pas au lave-vaisse
- Objects en bois, avec des manches en bois ou en corne ou ayant des parties collées.
- Objets en aluminium, cuivre, laiton ou étain.
- Vaisselle en plastique non thermoresistant.
- Porcelaines anciennes ou peintes à la main.
- Argenterie ancienne. Les pieces d'argenterie non ancienne peuvent par contre être lavées avec un programme délicat après s'était assure qu'elles n'entrent pas en contact avec d'autres métaux.
A Nous vous conseillons utiliser de la vaiselle adapte pour passer au lave-vaiselle.
Metre en marche le lave-vaissselle
- Ouvrir le robinet de l'eau.
- Ouvrir la porte et appuyer sur la touche ON/OFF : un bip court retentit, levoyant ON/OFF, l'afficheur et les voyants options s'allument.
- Doser le produit de lavage (voir plus bas).
- Charger les paniers (voir Charger les paniers).
- Sélectionner le programme selon le type de vaissselle et son degré de salissure (voir tableau des programmes) appuyer sur la touche P.
- Sélectionner les options de lavage (voir ci-contre).
- Fermer la porte pour faire démarrer le programme: un bip prolongéannounce le démarrage du programme.
- A la fin, deux bips courts et un bip prolongé annunciert la fin du programme et le numéro du programme se met à clignoter sur l'afficheur. Ouvrir la porte, appuyer sur la touche ON/OFF pour êtreindre l'appareil, fermer le robinet de l'eau et débrancher la fiche de la prise de courant.
- Attendre quelques minutes avant de sorting la vaisse pour éviter de se brûler. Décharger les paniers en commencer par celui du bas.
A - Pour réduire sa consommation d'énergie, la machine s'eteint automatiquement dans certaines conditions de NON-utilisation.
A PROGRAMMES AUTO*: grâce à un capteur spécial, ce modèle de lave-vaiselle peut évaluer le degré de salissure et selectionner le lavage le plus efficace et le plus économique.
La durée des programmes automatiques peut varier du fait de l'intervention du capteur.
A En cas de vaisselle peu sale ou precedemment rincee a I'eau, reduire considerrablement la quantite de produit de lavage.
Modifier un programme en cours
En cas d'erreur de sélection d'un programme, il est possible de le modifier, à condition qu'il viennent tout juste de démarrer : ouvrir la porte en faisant attention à la vapeur chaude qui s'échappe, appuyer de façon prolongée sur la touche ON/OFF, un bip prolongé announce que l'appareil est étéint. Rallumer l'appareil à l'aide de la touche ON/OFF et sélectionner le nouveau programme ainsi que les options éventuelles, fermer la porte pour faire démarrer.
Introduire de la vaisselle en cours de lavage
Sans eteindre l'appareil, ouvrir la port en faisant attention a la vapeur chaude qui s'échappe et introduire la vaisse. Fermer la porte: le cycle redémarre.
Interruptions accidentelles
En cas d'ouverture de la porte en cours de lavage ou de coupure de courant, le programme s'arrête. Il redémarre du point où il a été interrompu lors que le courant revient ou que la porte est refermée.
Charger le produit de lavage
Un bon résultat de lavage dépend aussi d'un bon dosage du produit de lavage. Un excès de produit de lavage ne lave pas moins et pollue l'environnement.
N'utiliser que du produit de lavage spécial lave-vaisse.
A NE PAS UTILISER de produits pour laver la vaisselle à la main.
A Une utilisation excessive de produit de lavage peut laisser des résidus de mousse en fin de cycle.
A L'utilisation de pastilles n'est conseillée que pour les modèles qui prévoient l'options PASTILLES MULTIFONCTION.
Pour obtenir des performances de lavage et de séchage optimes, utiliser des produits de lavage en poudre, du liquide de rinçage et du sel.
bac A: Produit de lavage
bac B: Produit de prélavage

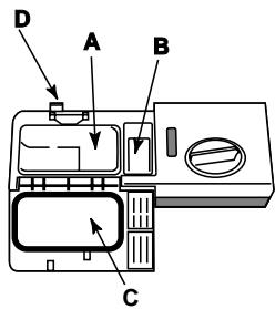
- Appuyer sur la touche D pour ouvrir le couvercle C.
- Pour doser le produit de lavage se reporter au tableau des
programmes:
- en poudre: bacs A et B.
- pastilles: si le programme en prévoit 1, placer cette dernière dans le bac A et fermer le
courcle; s'il en prévoit 2,mettre
la deuxieme dans le fond de la cuve.
- Eliminer les résidus de produit de lavage sur les bords du bac et fermer le couvercle jusqu'àau déclic.
Options de lavage
Si une option n'est pas compatible avec le programme sélectionné, (voir tableau programmes) la led correspondante clignote 3 fois de suite et 2 bips courts retentissant.
Départ différé
Il est possible de différer de 3, 6, 9 heures le démarrage du programme:
- Appuyer sur la touche DEPART DIFFERE: à chaque pression, un signal sonore retentit et le temps sélectionné est affchéé;
- Sélectionner le programme et fermer la porte: le compte à rebours démarre après le bip;
- A l'expiration du décai d'attente, le voyant s'éteint et le programme démarre.
Pour modifier le déliai d'attente et sélectionner un temps inférieur appuyer sur la touche DEPART DIFFERE. Pour l'annuler, appuyer plusieurs fois de suite sur la touche jusqu'à ce que levoyant du déliai d'attente sélectionné s'éteigne. Le programme démarre des fermeture de la porte.
Demi-charge dans le panier supérieur ou inférieur
Le programme demi-charge permet de laver une petite vaisselle et de faire des économies d'eau, d'électricité et de produit de lavage. Sélectionner le programme, appuyer sur la touche DEMI-CHARGE: le triangle correspondant à la charge可以选择 s'allume et le lavage n'est lancé que dans le panier supérieur ou que dans le panier inférieur.
A Penser à ne ranger la vaisse que dans le panier supérieur ou inférieur et à réduire de moitié la quantité de produit de lavage.
Pastilles Multifonction
Cette option permet d'optimiser le résultat de lavage et de sechage.
En cas d'utilisation de pastilles multifonction, appuyer sur la touche PASTILLES MULTIFONCTION. Le voyant correspondant s'allume. L'option "Pastilles
Multifonction" prolonge la durée du programme.
A L'option pastilles multifonction reste mémorisée lors des allumages suivants de l'appareil à moins qu'elle n'ait été désactivée.
A6000000000000000000000000000000000000000000000000000000000000000000000000000000000000000
L'utilisation de pastilles n'est conseillée que pour les modèles qui prévoient l'options PASTILLES MULTIFONCTION.
PROGRAMME AUTO-NETTOYAGE
Ce programme de lavage spécial pour l'hygiene interieure du lave-vaisselle permet de le laver à fond et de réduire ainsi la formation de mauvaises odeurs.

ATTENTION
Le programme de lavage AUTO-NETTOYAGE doit être effectué à vide et avec des produits d'entretien spéciaux lave-vaisselle monodose (se conformer aux instructions reportées sur l'emballage).
Option Economie de temps
Cette option permet de réduire la durée des principaux programmes tout en assurant les mêmes performances de lavage et de séchage
Après avoir sélectionné le programme, appuyer sur la touche Option Economie de Temps, l'allumage duvoyant et un bip court annonçant que la sélection a eu lieu.
Pour désélectionner cette option, appuyer à nouveau sur la même touche.
Option nuit
Cette option permet un fonctionnement encore plus silencieux en prolongeant la durée des programmes, ideale car elle permet de profiter du tarif électricité nocturne.
Après avoir sélectionné le programme, appuyer sur la touche Option Nuit, l'allumage duvoyant et un bip court annoncent que la sélection a eu lieu.
Pour désélectionner cette option, appuyer à nouveau sur la même touche.

Les Options Economie de temps et Nuit ne.
nt pas compatibles entre elles.

Les Options Economie de temps et Nuit ne sont pas compatibles avec l'option DEMI-ARGE.
Remarques:
Pour obtenir des performances optimes avec les programmes "Quotidien 60' et Rapide" il est conseillé de respecter le nombre de couverts indiqué.
| Tableau des options | A | B | C | D | E |
| Départ différé | Demi-charge | Pastilles Multifonction | Economie de temps | Nuit | |
| 1. Auto Super Lavage | Oui | Oui | Oui | Oui | Non |
| 2. Auto Normal | Oui | Oui | Oui | Oui | Oui |
| 3. Quotidien 60' | Oui | Oui | Oui | Non | Non |
| 4. Trempage | Oui | Oui | Non | Non | Non |
| 5. Bio | Oui | Oui | Oui | Non | Oui |
| 6. Rapide | Oui | Non | Oui | Non | Non |
| 7. Verres | Oui | Oui | Oui | Non | Non |
| 8. Auto Lavage Duo | Oui | Non | Oui | Oui | Non |
| 9. Ultra Intensif | Oui | Oui | Oui | Non | Non |
| 10. Special Invité | Oui | Oui | Non | Non | Non |
| 11. Auto-Nettoyage | Oui | Non | Non | Non | Non |
- Présent uniquement sur certains modèles.
Pour les OPTIONS, consulter le tableau Options à la page Mise en marche et Utilisation.
A Le nombre et les types de programmes et des options, variant selon le modele de lave-vaiselle.
| Indications sur le choix des programmes | Programme | Produit de lavage (A) = bac A (B) = bac B | Progr. prévoyant le séchage | Options | Durée du programme (tolerance ±10% Hrs. Min | ||
| Poudre | Liquide | Pastilles | |||||
| Vaissselle et casseroles très sales (déconseilé pour la vaisse lfragile) | 1. Super Lavage | 35 g (A) | 35 ml (A) | 1 (A) | Oui | A-B-C-D | 2:25' |
| Vaissselle et casseroles normalement sales. Programme standard quotidien. | 2. Normal | 29 g (A)6 g (B) | 29 ml (A)6 ml (B) | 1 (A) | Oui | A-B-C-D-E | 1:50' |
| Vaissselle du jour en quantité réduite. (4 couverts + 1 casserole + 1 poèle). | 3. Quotidien 60' | 25 g (A) | 25 ml (A) | 1 (A) | Non | A-B-C | 1:00' |
| Lavage préalable dans l'attente de compléter le chargement au repas suivant | 4. Trempage | Non | Non | Non | Non | A-B | 0:08' |
| Lavage écologique à faible consommation d'électricité pour vaissselle et casseroles. | 5. Bio* | 29 g (A)6 g (B) | 29 ml (A)6 ml (B) | 1 (A) | Oui | A-B-C-E | 3:00' |
| Cycle économique et rapide pour vaissselle peu sale, tout de suite après l'utilisation. (2 assiétes + 2 verres + 4 couverts +1 casserole + 1 petite poèle) | 6. Rapide | 25 g (A) | 25 ml (A) | 1 (A) | Non | A-C | 0:25' |
| Cycle économique et rapide pour vaissselle fragile ne supportant pas les haute Températures, tout de suite après l'utilisation. (verres à pied dans le panier supérieur + assiétes fragiles, panier inférieur). | 7. Verres | 35 g (A) | 35 ml (A) | 1 (A) | Oui | A-B-C | 1:30' |
| Lavage différencié dans les deux paniers : délicat dans celui du haut pour verres et cristal, énergétique dans celui du bas pour les casseroles. | 8. Lavage Duo | 35 g (A) | 35 ml (A) | 1 (A) | Oui | A-B-C-D | 1:45' |
| Casseroles extrèment sales ou avec incrustations d'aliments. | 9. Ultra Intensif | 35 g (A)5 g (B) | 35 ml (A)5 ml (B) | 1 (A)1 (fond de cuve) | Oui | A-B-C | 2:35' |
| Cycle de rincege et de séchage pour vaissselle peu utilisée; à dépoussiérer seulement. | 10. Special Invité | Non | Non | Non | Oui | A-B | 0:32' |
| Cycle de lavage spécial pour l'hygiène intérieure du lave-vaisselle à utiliser à VIDE avec des produits d'entretien spéciaux lave-vaisse. | 11. Auto Nettoyage | Non | Non | Non | Non | A | 0:40' |
Pour simplifier le dosage du produit de lavage, prendre note que:
1 cuillere à soupe = 15 gr. de poudre = 15 ml de liquide environ - 1 cuillere à café = 5 gr. de poudre = 5 ml de liquide environ
* Le programme Bio est conforme a la norme EN-50242. Il a une durée de lavage plus longue que les autres programmes mais c'est aussi celui qui consomme le moins d'energie et qui respecte le plus l'environnement.
Note pour les laboratoires d'essay: pour toutes informations détaillées sur les conditions d'essay comparatif EN, s'adresser à: ASSISTENZA_EN_LVS@indesitcompany.com
A N'utiliser que des produits de lavage spéciaux lave-vaisse.
Ne pas utiliser de Sel alimentaire ou industriel ni de produits pour lavage de la vaisselle à la main. Se conformer aux instructions reportées sur l'emballage.
A En cas d'utilisation d'un produit multifonction, pas besoin d'ajouter de produit de rinceage mais nous conseillons par contre d'ajouter du sel, rundout en cas d'eau dure ou très durée. Se conformer aux instructions reportées sur l'emballage.
A S'il n'y a pas de rajout de sel ni de produit de rinceage, il est normal que les voyants SEL et produit DE RINÇAGE restent allumés.
Charger le produit de rençage
Le produit de rinceage aide au séchage de la vaissele car il fait glisser l'eau de la surface et évite ainsi la formation de traces ou de taches.
Il faut replir le réserve à produit de rinceage:
- quand levoyant PRODUIT DE RINÇAGE* du bandeau s'allume;

- Ouvr le réservoir en tournant le couvercle (G) dans le sens inverse des aiguilles d'une montre.
- Verser le produit de rinceage sans le faire deborder. Si cela se produit, nettoyer aussitot avec un chiffon sec.
- Revisser le couvercle.
Ne JAMAIS verser le liquide de rinçage directement à l'intérieur de la cuve.
Régler la dose de produit de rinceage
Si le résultat du séchage n'est pas satisfaisant, le dosage du produit de rincege peut être régle. A l'aide d'un tournevis agir sur le dispositif de réglage (F) et l'amener sur une des 6 positions au besoin (il est régle en usine sur 4):
- si la vaisse presente des traces, l'amener sur des chiffres plus bas (1-3).
- s'il y a des gouttes d'eau ou des taches de calcaire, le régler sur des chiffres plus élevés (4-6).
Réglage durée de l'eau
Chaque lave-vaisselle est équipé d'un adoucisseur d'eau qui, grâce à du sel régénérant spécial lave-vaisselle, fournit de l'eau de lavage sans calcaire.
Ce lave-vaisselle permet d'opérer un réglage pour réduire la pollution et optimiser les performances de lavage selon la durée de l'eau. Se renseigner auprès de l'organisme distributeur de l'eau.
- Ouvrir la porte et appuyer sur la touche ON/OFF pourmettre l'appareil sous tension.
-
Appuyer 5 secondes de suite sur la touche P; deux bips courts retentissent et le numero correspondant au degré de durée sélectionné clignote lentement sur l'afficheur (l'adoucisseur d'eau est réglé sur le n° 3).
-
Appuyer sur la touche P à plusieurs reprises jusqu'à ce que le degré de durée dé voulu soit atteint (1-2-3-4-5* Voir tableau durée de l'eau).
- Pour quitter cette fonction, attendre quelques secondes ou appuyer sur une touche des options* ou eteindre l'appareil à l'aide de la touche ON/OFF.
En cas d'utilisation de pastilles de lavage multifonction, replir tout de même le réservoir à sel.
| Tableau de durété de l'eau | Autonomie moyenne** réservoir à sel | |||
| niveau | °dH | °fH | mmol/l | mois |
| 1 | 0 - 6 | 0 - 10 | 0 - 1 | 7 mois |
| 2 | 6 - 11 | 11 - 20 | 1,1 - 2 | 5 mois |
| 3 | 12 - 17 | 21 - 30 | 2,1 - 3 | 3 mois |
| 4 | 17 - 34 | 31 - 60 | 3,1 - 6 | 2 mois |
| 5* | 34 - 50 | 61 - 90 | 6,1 - 9 | 2/3 semaines |
| De 0°f à 10°f nous vous conseillons de ne pas utiliser de sel. * la sélection 5 peut prolonger la durée. ** avec 1 cycle de lavage par jour. | ||||
(°dH = dureté en degrés allemands - °fH = dureté en degrés français - mmol/l = millimol/litre)
Charger le sel régénérant
Pour obtenir de bons résultats de lavage, s'assurer que le réservoir à Sel n'est jamais vide. Le sel regénérant élimine le calcaire présente dans l'eau et évite ainsi qu'il ne se dépose sur la vaisselle.
Le réservoir à Sel qui se trouve dans la partie inférieure du lavevaisselle (voir Description) doit être rempli:
- quand le flotteur vert* n'est plus visible à travers le couvercle du sel;
- quand levoyant SEL* du bandeau s'allume;

- Sortir le panier inférieur et dévisser le couvercle du réservoir dans le sens inverse des aiguilles d'une montre.
-
Lors de la première mise en service : replir le réservoir d'eau à ras bord.
-
Utiliser l'entonnoir (voir figure) pour replir le réservoir de sel à ras bord (1 kg environ). Il est tout à fait normal qu'il y ait un peu d'eau qui déborde.
- Enlever l'entonnoir*, éliminer les résidus de Sel sur le filetage. Avant de revisser le couvercle, il faut le rincer à l'eau courante en le plaçant tête en bas et en faisant couler l'eau à travers les quatre fentes en étoile situées dans la partie inférieure du couvercle. (Bouchon réservoir à Sel avec flotteur vert)
Nous conseillons d'effectuer cette opération à chaque chargement de sel.
Fermer soigneusement le couvercle pour éviter que du produit de lavage pénétre à l'intérieur du réservoir pendant le lavage (ela pourrait endommager irrémédiablement l'adoucisseur).
En cas de rajout de sel, effectuer cette opération juste avant un cycle de lavage pour éliminer aussi t la solution saline qui a débordé.
- Présent uniquement sur certains modèles.
FR
Coupure de l'arrivée d'eau et de courant
- Fermer le robinet de l'eau après chaque lavage pour éviter tout risque de fuites.
- Débrancher la fiche de la prise de courant lors du nettoyage de l'appareil et pendant tous travaux d'entretien.
Nettoyer le lave-vaisselle
- Pour nettoyer l'extérieur et le bandeau de commande, utiliser un chiffon humide non abrasif. N'utiliser ni solvants ni abrasifs.
- Pour nettoyer la cuve interieure et enlever toute tache, utiliser un chiffon imbibé d'eau additionnée d'un peu de vinaigre.
Eviter les mauvaises odeurs
- Laisser toujours la porte entrouverte pour éviter toute stagnation d'humidité.
- Nettoyer régulierement les joints d'étanchéité de la porte et des bacs à produits de lavage avec une éponge humide. On évitera ainsi les incrustations de déchets d'aliment qui sont les principaux responsables de la formation de mauvaises odeurs.
Nettoyer les bras de lavage
Il peut arriver que des déchets restent collés aux bras de lavage et bouchent les orifices de sortie de l'eau : mistroux vaut les contrôleur de temps en temps et les nettoyer avec une petite Brosse non métallique.
Les deux bras de lavage sont tous deux démontables.

Pour démonter le bras
supérieur, il faut dévisser la
bague de fixation en
plastique (tourner dans le
sens inverse des aiguilles
d'une montre). Il faut remonter
le bras giclreur supérieur,
orifices orientés vers le haut.

Pour démonter le bras de lavage inférieur, pousser sur les languettes situées sur les côtes et tirer vers le haut.
Nettoyage du filtré d'entrée d'eau*
Si les tuyaux de l'eau sont neufs ou sils sont restés longtemps inutilisés, avant d'effectuer le raccordement, faire couler l'eau jusqu'à ce qu'elle devienne limpide et dépourvue d'impuretés. Faute de quoi, un engagement pourrait se produit au point d'arrivée de l'eau et endommager le lave-vaisselle.
A Nettoyer, périodiquement le filtré d'entrée de l'eau situé à la sortie du robinet.
- Fermer le robinet de l'eau.
- Dévisser l'extrémité du tuyau d'arrivée de l'eau,steroler le filtré et le laver soigneusement à l'eau courante.
- Remetre le filtrer en place et visser le tuyau.
Nettoyer les filtres
Les trois filtres qui compose le groupe filtrant débarrassent l'eau de lavage des résidus d'aliments avant de la remettre en circulation : pour obtenir de bons résultats de lavage, il faut les nettoyer.
A Nettoyer les filtrres régulierement.
A Ne pas utiliser le lave-vaisselle sans filtres ou avec filtre mal fixé.
- Àprousequelquéslavages,contrôlerlegoupefiltrant et,sinénecessaire,le laver soigneusement à l'eau courante avecune petite brosse non métallique en procédant comme suit :
- tournier le filtré cylindrique C dans le sens inverse des aiguilles d'une montre pour le sortir de son emplacement (fig. 1).
- Exercer une légère pression sur les ailettes latérales du gobelet filtré B pour le faire sortir (Fig. 2);
- Dégager le filtré inox A. (fig. 3).
- Examiner la cavité et éliminer tout résidu de nourriture. NE JAMAIS RETIRER la protection de la pompe de lavage (pièce noire) (fig.4).
1

2

3

4

Après avoir nettoyé les filtrés, remettre soigneusement le groupe filtrant à sa place, cette opération est fondamentale pour un bon fonctionnement du lave-vaiselle.
- Présent uniquement sur certains modèles.
A Cet apparéil a été concu et fabriqué conformément aux normes internationales de sécurité. Ces avertissements sont fournis pour des raisons de sécurité, il faut les dire attentivement.
Sécurité générale
- Cet electroménager n'est pas destiné à être utilisé par des personnes (enfants compris) dont les capacities physiques, sensorielles ou mentalles sont réduites ou qui ne disposent pas des connaissances ou de l'expérience nécessaires, à moins qu'elles n'aient été formées et encadrées pour l'utilisation de cet apparéil par une personne responsable de leur sécurité.
- Les enfants doivent être surveillés par un adulte pour éviter qu'ils ne jouent avec l'appareil.
- Cet apparéil est conçu pour un usage de type non professionnel à l'intérieur d'une habitation.
- Cet apparéil est destiné au lavage de vaisse à usage domestique, il ne doit être utilisé que par desadultes et selon les instructions reportées dans cette notice.
- Ne pas installer l'appareil à l'estérieur, même dans un endroit protégé, car il est extrémement dangereux de l'exposer à la pluie et aux orages.
- Ne pas toucher au lave-vaisse pieds nus.
- Ne jamais tirer sur le cable pour débrancher la fiche de la prise de courant.
- Fermer le robinet de l'eau et débrancher la fiche de la prise de courant avant d'effectuer tous travaux de nettoyage et d'entretien.
- En cas de panne, n'essayer enaucun cas d'acceder aux mécanismes internes pour tenter de la réparer.
- Ne jamais toucher à la résistance.
- Ne pas s'appuyer à la porte ouverte ou s'y asseoir : l'appareil pourrait basculer.
- Ne pas garder la porte ouverte pour éviter de buter contre elle en risquant de se faire mal.
Garder les produits de lavage et de rinçage hors de la portée des enfants. - Les emballages ne sont pas des jouets pour enfants.
Mise au rebut
- Mise au rebut du matériel d'emballage: se conformer aux réglementations locales, les emballages pourront ainsi être recyclés.
- La Directive Européenne 2002/96/EC sur les Déchets des Equipements Electriques et Electroniques (DEEE), exige que les apparèils menagers usages ne soient pas jetés dans le flux normal des déchets municipaux Les apparèils usages doivent être collectés séparément afin d'optimiser le taux de récapération et le recyclage des matériaux qui les composent et réduire l'impact sur la santé humaine et l'environnement Le symbole de la "poubelle barrée" est apposé sur tous les produits pour rappeler les obligations de collecte séparée
Pour de plus amples renseignements sur la mise au rebut des électroménagers, les possesseurs peuvent s'adresser au service public prévu à cet effet ou aux commercants.
Economies et respect de l'environnement
Faire des économies d'eau et d'électricité
- Ne faire fonctionner le lave-vaisselle que quand il est rempli au maximum de sa capacité. Dans l'attente de replir la machine, lancer le cycle de Trempage pour éviter la formation de mauvaises odeurs (voir Programmes).
-
Sélectionner un programme adapté au type de vaisselle et à son degré de salissure, consulter pour cela le tableau des programmes :
-
pour de la vaisse lormalement sale, désirir le programme Eco (economique), il limite la quantité d'eau et d'électricité utilisée.
- pour une quantité réduite de vaisse, désirer l'option Demi-charge* (voir Mise en marche etutilisation).
- Si le contrat de fourniture d'électricité prévoit des tranches horaires à prix réduit, effectuer les lavages pendant ces heures creuses. Dans ce cas, l'utilisation de l'option Départ différé* (voir Mise en marche et utilisation) est une aide précieuse pour organiser les lavages.
Produits de lavage sans phosphates, sans chloré et aux enzymes
- Il est vivement conseilé d'utiliser des produits de lavage sans phosphates et sans chlore, plus indiqués pour la protection de l'environnement.
- Les enzymes développent une action particulièrement efficace à des températures ayantant 50^ , les produits de lavage aux enzymes permettent donc de selectionner des lavages à de basses températures et d'obtenir les mêmes résultats qu'à une température de 65^ .
-
Pour bien doser le produit de lavage, il faut tenir compte des indications du fabricant, de la durée de l'eau, de la quantité de vaisse et de son degré de salissure pour éviter tout gaspillage. Bien que biodégradables, les produits de lavage contiennent des éléments qui altermènt l'équilibre de la nature.
-
Présent uniquement sur certains modèles.
Si l'appareil présente des anomalies de fonctionnement, préceder aux contrôles suivants avant de prendre contact avec le service d'assistance technique.
| Anomalies: | Causes / Solutions possibles: |
| Le lave-vaiselle ne démarre pas ou n'obéit pas aux commandes | • Eteindre l'appareil à l'aide de la touche ON-OFF, rallumer au bout d'une minute environ et préselectionner le programme. • La fiche n'est pas bien branchée dans la prise de courant. • La porte du lave-vaiselle n'est pas bien fermée. |
| La porte ne ferme pas | • La serrure est enclenchée; pousser énergiquement sur la porte jusqu'àu "clic". |
| Le lave-vaiselle ne vidange pas. | • Le programme n'est pas encore terminé. • Le tuyau d'évacuation de l'eau est plie (voir Installation). • L'évacuation de l'évier est bouchée. • Le filtre est bouché par des déchets de nourriture. |
| Le lave-vaiselle est bruyant. | • La vaisse s'entrechoque ou butte contre les bras de lavage. • Excédent de mousse: le produit de lavage n'est pas bien dosé ou n'est pas approprié (voir Mise en marche et utilisation). (voir Mise en marche et utilisation). |
| La vaisse et les verres représentent des dépôts de calcaire ou une couche blanchâtre. | • Il manque du sel régénérant ou son réglage n'est pas adapté à la durée de l'eau (voir Produit de rincege et sel). • Le couvercle du réservoir à sel n'est pas bien fermé. • Il n'y a plus de produit de rincege ou son dosage est insuffisant. |
| La vaisse et les verres représentent des traces blanches ou des reflets bleuâtres. | • Le dosage du produit de rincege est excessif. |
| La vaisse n'est pas sèche. | • Un programme sans séchage a été sélectionné. • Il n'y a plus de produit de rincege ou son dosage est insuffisant (voir Produit de rincege et sel). • Le réglage du produit de rincege n'est pas approprié. • La vaisse est en matière au antiadhésif ou en plastique. |
| La vaisse n'est pas propre. | • Les paniers sont trop charges (voir Charger les paniers). • La vaisse n'est pas bien rangée. • Les bras de lavage ne tournent pas librement. • Le programme de lavage n'est pas assez puissant (voir Programmes). • Excédent de mousse: le produit de lavage n'est pas bien dosé ou n'est pas approprié (voir Mise en marche et utilisation). (voir Mise en marche et utilisation). • Le couvercle du réservoir à produit de rincege n'est pas bien fermé. • Le filtre est sale ou bouché (voir Entretien et soin). • Il manque du sel régénérant (voir Produit de rincege et sel). |
| Il n'y a pas d'arrivée d'eau - Alarme robinet fermé. (des bips courts retentissent) (le voyant ON/OFF clignote et l'écran affiche le numéro 6). | • Il y a une coupure d'eau. • Le tuyau d'arrivée de l'eau est plie (voir Installation). • Ouvrir le robinet, l'apparil se met en marche au bout de quelques minutes. • L'apparil s'est bloqué car vous n'avez pas donné suite aux bips d'advertissement. Eteindre l'apparil à l'aide de la touche ON/OFF, ouvrir le robinet et au bout de 20 secondes rallumer en appuyant à nouveau sur la même touche. Reprogrammer l'apparil et le remettre en marche. |
| Alarme sur le tuyau d'arrivée de l'eau/Filtre arrivée eau bouché. (le voyant ON/OFF clignote et l'écran affiche le numéro 7) | • Appuyer sur la touche ON/OFF pour éteindre l'appareil. Fermer le robinet de l'eau pour éviter tout risque d'inondation, débrancher la fiche de la prise de courant. S'assurer que le filtre d'arrivée de l'eau n'est pas bouché par des impuretés. (voir chapitre "Entretien et Soin") |
- Présent uniquement sur certains modèles.
EN
English,13
Contents
Installation, 14-15
NEVER pour the rinse aid directly
Excluir a agua e a corrente électrique
Limpar a maquina de lavar louça
Antes de colocar a ficha électrique na.tomada,certifique-se de que:
Notice Facile