FLUENDO PLUS 11 CF B - Chauffe-eau CHAFFOTEAUX - Notice d'utilisation et mode d'emploi gratuit

Retrouvez gratuitement la notice de l'appareil FLUENDO PLUS 11 CF B CHAFFOTEAUX au format PDF.

📄 24 pages PDF ⬇️ Français FR 💬 Question IA 9 questions ⚙️ Specs 🖨️ Imprimer
Notice CHAFFOTEAUX FLUENDO PLUS 11 CF B - page 3
Assistant notice
Powered by ChatGPT
En attente de votre message
Informations produit

Marque : CHAFFOTEAUX

Modèle : FLUENDO PLUS 11 CF B

Catégorie : Chauffe-eau

Type d'appareilChauffe-eau instantané à gaz
AlimentationGaz
InstallationMurale
CapacitéInstantanée (sans réservoir)
Débit d'eauNon précisé
Puissance thermiqueNon précisé
Type de gazNon précisé
AllumageAutomatique
Contrôle de températureRéglable
DimensionsNon précisé
PoidsNon précisé
NormesConforme aux normes européennes
UtilisationIntérieur
Type de ventilationNon précisé
MaintenanceEntretien régulier recommandé
GarantieNon précisé

FOIRE AUX QUESTIONS - FLUENDO PLUS 11 CF B CHAFFOTEAUX

Comment réinitialiser le CHAFFOTEAUX FLUENDO PLUS 11 CF B ?
Pour réinitialiser le CHAFFOTEAUX FLUENDO PLUS 11 CF B, éteignez l'appareil, attendez quelques minutes, puis rallumez-le. Si le problème persiste, consultez le manuel d'utilisation pour des instructions spécifiques.
Que faire si l'eau ne chauffe pas ?
Vérifiez que le thermostat est réglé correctement. Assurez-vous également que le circuit d'eau est ouvert et qu'il n'y a pas de fuites. Si le problème persiste, il peut être nécessaire de purger le système.
Comment vérifier la pression de l'eau ?
La pression de l'eau doit être entre 1 et 2 bars. Vous pouvez vérifier la pression à l'aide du manomètre situé sur le panneau avant de l'appareil.
Pourquoi le voyant d'alerte s'allume-t-il ?
Le voyant d'alerte peut s'allumer pour plusieurs raisons, notamment une pression d'eau trop basse, un problème de surchauffe ou un souci avec l'alimentation électrique. Consultez le manuel pour des solutions spécifiques.
Comment nettoyer les filtres de l'appareil ?
Pour nettoyer les filtres, coupez l'alimentation électrique, ouvrez le panneau d'accès et retirez les filtres. Rincez-les à l'eau claire et laissez-les sécher avant de les remettre en place.
Que faire si l'appareil fait des bruits étranges ?
Des bruits inhabituels peuvent être le signe d'un problème avec le circulateur ou l'accumulation de calcaire. Vérifiez ces composants et envisagez de faire appel à un professionnel si nécessaire.
L'appareil ne s'allume pas, que faire ?
Vérifiez si l'appareil est bien branché et si le disjoncteur n'a pas sauté. Si tout semble en ordre mais qu'il ne s'allume toujours pas, contactez un technicien.
Comment effectuer l'entretien régulier de l'appareil ?
Un entretien régulier comprend le nettoyage des filtres, la vérification de la pression d'eau et des températures, ainsi que des contrôles visuels pour déceler d'éventuelles fuites.
Quels produits de nettoyage utiliser pour le CHAFFOTEAUX FLUENDO PLUS 11 CF B ?
Utilisez uniquement des produits de nettoyage non agressifs et spécialement conçus pour les chaudières. Évitez les acides et les produits abrasifs.

Téléchargez la notice de votre Chauffe-eau au format PDF gratuitement ! Retrouvez votre notice FLUENDO PLUS 11 CF B - CHAFFOTEAUX et reprennez votre appareil électronique en main. Sur cette page sont publiés tous les documents nécessaires à l'utilisation de votre appareil FLUENDO PLUS 11 CF B de la marque CHAFFOTEAUX.

MODE D'EMPLOI FLUENDO PLUS 11 CF B CHAFFOTEAUX

Mode d’emploi pour l’utilisateur Notice technique d’installation et d’entretien

Cette notice est destinée aux appareils installés en France FLUENDO PLUS

GENERALITES (à lire attentivement par l’utilisateur et le professionnel qualifié) .................................................................................... 3 Avertissements avant l’installation ...........................................3 Normes et sécurité .......................................................................4

  • Conditions de garantie p. 5
  • Utilisation p. 6
  • Tableau de commande p. 6
  • Mise en marche p. 7
  • Réglage de la température d’eau p. 7
  • Arrêt de l’appareil p. 7
  • Pannes et dysfonctionnement p. 8
  • NOTICE TECHNIQUE D’INSTALLATION ET D’ENTRETIEN (réservée au professionnel qualifié) p. 9
  • Description du produit p. 10
  • Vue globale p. 10
  • Schéma de principe p. 10
  • Dimensions p. 11
  • Distances minimales pour l’installation p. 11
  • Installation p. 12
  • Avertissements avant l’installation p. 12
  • Positionnement de l’appareil p. 13
  • Raccordement gaz p. 13
  • Raccordement hydraulique p. 13
  • Raccordement évacuation des gaz brûlés p. 13
  • Schéma électrique p. 14
  • Mise en service p. 15
  • Remplissage du circuit hydraulique p. 15
  • Circuit électrique p. 15
  • Alimentation gaz p. 15
  • Premier allumage p. 15
  • Vérification du réglage gaz p. 16
  • Changement de gaz p. 17
  • Tableau récapitulatif transformation gaz p. 17
  • Informer l’utilisateur p. 18
  • Système de protection de l’appareil p. 19
  • Conditions d’arrêt de sécurité de l’appareil p. 19
  • Tableau des codes erreur p. 19
  • Dispositif d’anomalie de tirage p. 19
  • Entretien p. 20
  • Remarques générales p. 20
  • Instructions pour démontage de l’habillage et inspection de l’appareil p. 20
  • Test de fonctionnement p. 21
  • Vidange de l’installation p. 21
  • Plaque signalétique p. 21
  • Caractéristiques techniques p. 22
  • Fiche de produit L’installation et la première mise en service de l’appareil doivent être effectuées par un professionnel conformément aux réglementations en matière d’installation en vigueur dans le pays et aux réglementations éventuelles des autorités locales et des organismes préposés à la santé publique. p. 23

1. Bâtiments d’habitation

Conditions réglementaires d’installation et d’entretien L’installation et l’entretien de l’appareil doivent être effectués par un professionnel qualifié, conformément aux textes réglementaires et règles de l’art en vigueur notamment : - Arrêté du 2 août 1977 modifié Règles Techniques et de Sécurité applicables aux installations de gaz combustible et hydrocarbures liquéfiés situées à l’intérieur des bâtiments d’habitation et de leurs dépendances - Norme DTU P 45-204 Installations de gaz (anciennement DTU 61-1 Installations de gaz - Avril 1982 + additif n° 1 juillet 1984) - Norme NF C 15-100 Installations électriques à basse tension-Règles. Cet appareil sert à produire de l’eau chaude à usage domestique. Il doit être raccordé à un réseau de distribution d’eau chaude adapté à ses performances et à sa puissance. Toute utilisation autre que celle prévue est interdite. Le fabricant ne peut en aucun cas être tenu responsable de dommages dérivant d’une utilisation incorrecte ou du nonrespect des instructions contenues dans cette notice. L’installation, l’entretien et toute autre intervention doivent être effectués conformément aux normes en vigueur et aux indications fournies par le fabricant. Le fabricant décline toute responsabilité en cas de dommages subis par des personnes, des animaux ou des biens des suites d’une mauvaise installation de l’appareil. En cas de panne et/ou de mauvais fonctionnement, éteindre l’appareil et fermer le robinet du gaz. Ne pas essayer de le réparer soi-même, faire appel à un professionnel qualifié. Avant toute intervention d’entretien/réparation de l’appareil, fermer le robinet gaz et débrancher l’alimentation électrique. Pour toute réparation, faire appel à un professionnel qualifié et exiger l’utilisation de pièces détachées originales. Le nonrespect de ce qui précède peut compromettre la sécurité de l’appareil et faire déchoir toute responsabilité du fabricant. En cas de travaux ou d’opérations d’entretien de structures placées près des conduits ou des dispositifs d’évacuation de fumées et de leurs accessoires, éteindre l’appareil en fermant le robinet du gaz et en coupant l’alimentation électrique. Une fois que les travaux sont terminés, faire vérifier par un professionnel le bon état de fonctionnement des conduits et des dispositifs. Pour le nettoyage des parties extérieures, éteindre l’appareil. Nettoyer avec un chiffon imbibé d’eau savonneuse. Ne pas utiliser de détergents agressifs, d’insecticides ou de produits toxiques. Pour un fonctionnement sûr, écologique et une économie d’énergie, veiller au respect de la réglementation en vigueur. En cas d’utilisation de kits ou d’options, il est recommandé de n’utiliser que des produits ou accessoires CHAFFOTEAUX.

2. Etablissements recevant du public

Conditions réglementaires d’installation L’installation et l’entretien de l’appareil doivent être effectués conformément aux textes réglementaires et règles de l’art en vigueur, notamment : Règlement de sécurité contre l’incendie et la panique dans les établissements recevant du public : a) Prescriptions générales : - Articles GZ Installations aux gaz combustibles et hydrocarbures liquéfiés - Articles CH Chauffage, ventilation, réfrigération, conditionnement d’air et production de vapeur et d’eau chaude sanitaire b) Prescriptions particulières à chaque type d’établissements recevant du public (hôpitaux, magasins, etc...). Généralités Réglementation à respecter - conseils de sécurité FLUENDO PLUS

AVERTISSEMENTS AVANT L’INSTALLATION

Appareil atmosphériques type B11 (sans ventilateur) et appareils d’extraction d’air Si des appareils d’extraction d’air vers l’extérieur (hottes aspirantes, extracteurs d’air, etc...) sont installés, ne pas oublier que l’aspiration ne doit pas créer de dépression dans la pièce où se trouve l’appareil. Si un de ces appareils fonctionne en même temps que le chauffe-eau, il risquerait de se produire un refoulement des fumées. Dans ce cas, l’implantation d’un dispositif de verrouillage est indispensable.

Normes de sécurité Légende des symboles : FLUENDO PLUS Généralités Le non-respect des avertissements comporte un risque de lésions et peut même entraîner la mort. Le non-respect de l’avis de danger peut porter atteinte et endommager, gravement dans certains cas, des biens, plantes ou animaux.

N’effectuer aucune opération exigeant l’ouverture de l’appareil. Electrocution par contact avec des composants sous tension. Lésions sous forme de brûlures dues à la présence de composants surchauffés ou de blessures provoquées par des saillies et des bords tranchants. N’effectuer aucune opération exigeant la dépose de l’appareil. Electrocution par contact avec des composants sous tension. Explosions, incendies ou intoxications dus au gaz s’échappant des tuyaux débranchés. Inondations dues à l’eau s’échappant des tuyaux débranchés. Ne pas abîmer le câble d’alimentation électrique. Electrocution provoquée par des fils sous tension dénudés. Ne jamais poser d’objets sur l’appareil. Lésions provoquées par la chute de l’objet par suite de vibrations. Endommagement de l’appareil ou des objets placés en dessous causé par la chute de l’objet à cause des vibrations. Ne pas monter sur l’appareil. Lésions provoquées par la chute de l’appareil. Endommagement de l’appareil ou des objets placés en dessous par la chute de l’appareil détaché de ses supports. Ne pas grimper sur des chaises, des tabourets, des échelles ou des supports instables pour nettoyer l’appareil. Lésions provoquées par chute d’une hauteur élevée ou par coupure (échelle pliante). N’effectuer aucune opération de nettoyage de l’appareil sans avoir auparavant éteint l’appareil et amené l’interrupteur extérieur sur OFF. Electrocution par contact avec des composants sous tension. Ne pas utiliser d’insecticides, de solvants ou de produits de nettoyage agressifs pour l’entretien de l’appareil. Endommagement des parties peintes ou en plastique. Ne pas utiliser l’appareil pour des usages autres qu’un usage domestique habituel. Endommagement de l’appareil du fait d’une surcharge de fonctionnement. Endommagement des objets indûment traités. Ne pas permettre à des enfants ou à des personnes inexpérimentées d’utiliser l’appareil. Endommagement de l’appareil dû à un usage impropre. En cas d’odeur de brûlé ou de fumée s’échappant par l’appareil, couper l’alimentation électrique, fermer le robinet du gaz, ouvrir les fenêtres et appeler un technicien. Lésions dues à des brûlures ou à inhalation de fumée, intoxication. En cas de forte odeur de gaz, fermer le robinet du gaz, ouvrir les fenêtres et appeler un technicien. Explosions, incendies ou intoxications. Cette appareil peut être utilisé par des enfants de plus de 8 ans et par des personnes à capacités physiques, mentales réduites et ayant peu d’expérience ou connaissance s’ils sont sous supervision et si des instructions ont été données pour l’utilisation sécuritaire de l’appareil et si les risques sont connus. Enfants ne doivent pas jouer avec l’appareil. Nettoyage et entretien ne devraient pas être eff ectués par les enfants sans surveillance. CHAFFOTEAUX vous remercie de votre confiance. Les dispositions ci-dessous ne peuvent réduire ou supprimer la garantie légale des vices cachés (art 1641 et suivants du Code Civil). Le non respect des normes en vigueur, des consignes de cette notice entraînent la résiliation de la garantie. Cette notice forme un tout avec l’appareil. Elle doit être conservée avec soin et doit suivre l’appareil en cas de cession à un autre propriétaire ou utilisateur et/ou de transfert sur une autre installation. Lisez attentivement les instructions et les conseils fournis par ce manuel. Ce chauffe-eau est conforme aux exigences de la directive - 2009/142/CEE sur les appareils à gaz - 2004/108/CEE sur la compatibilité électromagnétique - 2006/95/CEE sur la sécurité électrique - 2009/125/CE Energy related products - 814/2013 Règlement délégué (EU) Un appareil présumé à l’origine d’un sinistre doit rester sur place à la disposition des experts, le sinistré doit informer son assureur. La garantie s’exerce en France Métropolitaine uniquement. Elle se limite à l’échange ou la fourniture gratuite des pièces reconnues défectueuses ou, en cas de panne non réparable, du chauffe-eau électrique lui-même, à l’exclusion des frais de main-d’œuvre et de déplacement et de toute indemnisation ou prolongation de garantie. Les pièces d’usure sont exclues de la garantie. Cette garantie pièces constructeur est subordonnée à : Ce chauffe-eau sert à produire de l’eau chaude à usage domestique. Il doit être raccordé à un réseau de distribution d’eau chaude sanitaire adapté à ses performances et à sa puissance. Toute utilisation autre que celle prévue est interdite. Le fabricant ne peut en aucun cas être tenu responsable de dommages dérivant d’une utilisation impropre, incorrecte et déraisonnable ou du non-respect des instructions contenues dans cette notice. Ce chauffe-eau doit être installé et régulièrement entretenu par un technicien qualifié en conformité avec les règles de l’art, les normes en vigueur, et les instructions de cette notice. Pour le nettoyage des parties extérieures, éteindre l’appareil. Nettoyer avec un chiffon imbibé d’eau savonneuse. Ne pas utiliser de détergents agressifs, d’insecticides ou de produits toxiques. Le fabricant décline toute responsabilité en cas de dommages subis par des personnes, des animaux ou des biens suite à une mauvaise installation de l’appareil. Si l’appareil est installée à l’intérieur du logement, vérifier que les dispositions relatives à l’entrée de l’air et à la ventilation du local soient respectées (selon les lois en vigueur). L’installation, la mise en service, l’entretien, et le recyclage en fin de vie sont à la charge de l’acheteur. − L’établissement d’un certificat de conformité de l’installation visé par un organisme agréé par le Ministère de l’industrie (arrêté du 2 août 1977 modifié). L’entreprise qui établi le certificat de conformité est une entreprise inscrite dans une démarche de qualité pour les travaux sur les installations de gaz, et soumise à des contrôles réguliers de la part d’un organisme de contrôle indépendant tel que Qualigaz, à l’occasion desquels l’entreprise peut échanger sur les aspects techniques et réglementaires. − Un entretien annuel réalisé par un professionnel qualifié qui devra notamment vérifier, nettoyer et régler l’appareil au moins une fois par an, voire plus si nécessaire (conformément à la circulaire ministérielle du 09/08178). manuel d’utilisation Conditions de garantie FLUENDO PLUS

MODE D’EMPLOI POUR L’UTILISATEUR

Sont notamment exclues de la garantie les défaillances dues à : 1 Une installation non conforme - Installation effectuée par une personne non qualifiée - Appareil ayant subi des chocs ou chutes. - Appareil difficilement accessible. - Raccordement hydraulique électrique ou gaz non conforme - Modification de la nature ou de la pression inadéquate ou irrégulière de l’eau ou du gaz - Fixations inappropriées. 2 Des conditions d’environnement anormales - Appareil installé dans un endroit soumis au gel ou aux intempéries. - Alimentation avec une eau de puits ou de pluie, ou présentant des critères particulièrement anormaux. A ce titre dans le cas d’une dureté de l’eau supérieure à 20 °f, il est nécessaire d’ajouter un adoucisseur d’eau afin de réduire les dépôts de calcaire dans l’échangeur, la garantie ne couvrant pas les dommages causés par le calcaire. - Alimentation électrique présentant des surtensions importantes (réseau, foudre ...).

FLUENDO PLUS manuel d’utilisation 3 Un défaut d’entretien - Entretien réalisé par une personne non qualifiée - Connexions électriques mal serrées. - Filerie en mauvais état. - Carrosserie soumise à des agressions extérieures. - Modification de l’appareil ou utilisation de pièces non adaptées ou non référencées par le constructeur. Fin de vie En cas de dépose définitive de l’appareil, s’adresser à un professionnel du secteur pour effectuer les opérations nécessaires. Pour le nettoyage des parties extérieures : - éteindre l’appareil - tourner le bouton jusqu’à la position OFF et enlever les piles. Utilisation ATTENTION!! Ne pas utiliser ou stocker de substances facilement inflammables dans la pièce ou est installé l’appareil. ATTENTION!! Cette appareil peut être utilisé par des enfants de plus de 8 ans et par des personnes à capacités physiques, mentales réduites et ayant peu d’expérience ou connaissance s’ils sont sous supervision et si des instructions ont été données pour l’utilisation sécuritaire de l’appareil et si les risques sont connus. Enfants ne doivent pas jouer avec l’appareil. Nettoyage et entretien ne devraient pas être eff ectués par les enfants sans surveillance. Tableau de commande

1 - Bouton ON/OFF et réglage température ECS

- rapport d’erreurs - remplacer les piles Mise en place des piles - Déclipser le couvercle où se trouvent les piles à remplacer. - Insérer 2 piles (1,5 V LR20) dans le compartiment approprié en respectant les polarités indiquées sur l’appareil.

Arrêt de l'appareil Pour éteindre l'appareil, tournez le bouton à la position OFF. Les piles usagées ne peuvent être dispersées dans l’environnement Les piles usagées ne peuvent pas être utilisées. Mise en marche - Vérifier que le robinet d’alimentation eau-froide est ouvert - Vérifier que le robinet gaz est ouvert - Vérifier que les piles fournies (1,5 V LR20) sont correctement insérées dans l’emplacement dédié. - Tourner le bouton entre les positions des min et max.

Ouvrez un robinet d’eau chaude, l’appareil se met automatiquement en marche. Remarque: Si l’appareil n’est pas activé, vérifier que le robinet gaz et le robinet d’eau froide sont ouverts. Vérifier que les piles sont en place. Dès la fermeture du robinet eau chaude, l’appareil s’éteint automatiquement Pour arrêter complètement l'appareil, fermer le robinet du gaz et enlever les piles. Remarque : Si l’appareil est installé dans un endroit ou il y a un risque de gel, il est recommandé de le vider. Procéder comme suite - Tourner le bouton en position OFF - Fermer le robinet gaz - Enlever les piles. - Fermer le robinet d’entrée eau froide - Ouvrir les robinets d’eau chaude jusqu’à vider complètement l’appareil et les conduits. manuel d’utilisation ATTENTION!! Remarque: En fonction des conditions (débit et température de l’eau froide qui alimente l’appareil), la température demandée peut ne pas être atteinte. FLUENDO PLUS Remplacement des piles - Décrocher le couvercle du compartiment des piles placées sur le fond de l’appareil. - Retirer les piles et les remplacer en respectant les polarités indiquées sur l’appareil. Entretien annuel obligatoire L’entretien est obligatoire et indispensable pour assurer la sécurité, le bon fonctionnement et la durée de vie de l’appareil. Il doit être réalisé tous les ans conformément à la réglementation. Reglage de la temperature de l’eau Il est possible d’ajuster la puissance et la température de l’eau grâce au bouton de réglage entre 35 et 65°C. - tourner à droite pour augmenter la puissance et la température - tourner à gauche pour réduire la puissance et la température.

ATTENTION!! L'eau à une temperature supérieure à 50 °C provoque de graves brûlures. Vérifier toujours la température de l'eau avant l'utilisation. manuel d’utilisation FLUENDO PLUS Pannes et dysfonctionnement Pour toute réparation, faire appel à un technicien qualifié et exiger l’utilisation de pièces détachées d’origine. Le nonrespect de ce qui précède peut compromettre la sécurité de l’appareil et faire déchoir toute responsabilité du fabricant. En cas de travaux ou de maintenance de structures placées près des conduits ou des dispositifs d’évacuation de fumée et de leurs accessoires, éteignez l’appareil et une fois que les travaux sont terminés faites vérifier par un professionnel le bon état de fonctionnement des conduits ou des dispositifs. L’appareil est sécurisé grâce à des contrôles internes réalisés par la carte électronique, qui placent l’appareil en arrêt lorsqu’un dysfonctionnement apparaît. En cas de blocage, la led rouge s’allume (voir le tableau ci-dessous). Led rouge Description Contrôles à faire Fixe Piles épuisées Remplacer les piles L’appareil ne produit pas d’eau chaude. L’appareil ne s’allume pas - Vérifier que le robinet gaz est ouvert - Vérifier que le robinet entrée eau froide est ouvert - Vérifier que le bouton ne se trouve pas en position OFF - Vérifier / remplacer les piles Simple éclat Double éclats Triple éclair Quatre éclats Eteindre l’appareil - tourner le bouton sur la position OFF, fermer le robinet de gaz et retirer les piles. Contacter un technicien qualifié. Cinq éclats ATTENTION!! Ne jamais essayer de réaliser la réparation ou l’entretien de cet appareil vous-même. Ne remettre l’appareil en service que lorsque la panne a été résolue par un professionnel qualifié.

Dispositif d’anomalie de tirage : Ce dispositif sert à bloquer l’appareil en cas d’anomalie concernant l’évacuation des fumées. Au bout de 12 minutes, l’appareil remet en marche sa procédure d’allumage ; si les conditions sont redevenues normales, l’appareil redémarre normalement, autrement il se bloque et le cycle est répété. En cas de mauvais fonctionnement ou d’interventions répétées, fermez le robinet du gaz, débranchez et appelez le service après-vente ou un professionnel du secteur pour vérifier la cause du mauvais fonctionnement et remédier au défaut d’évacuation des gaz brûlés. ATTENTION!!

CARBONE. LE DISPOSITIF D’ANOMALIE DE TIRAGE NE DOIT JAMAIS ÊTRE MIS HORS SERVICE. LES

RÉALISÉES PAR UN PROFESSIONNEL QUALIFIÉ AVEC DES PIÈCES D’ORIGINE CONSTRUCTEUR. Changement de gaz Ces appareils sont prévus pour fonctionner soit au gaz naturel soit au gaz propane. Le changement de gaz doit être effectué par un professionnel qualifié. NOTICE TECHNIQUE D’INSTALLATION ET D’ENTRETIEN (réservée au professionnel qualifié) Vue globale Schéma de principe

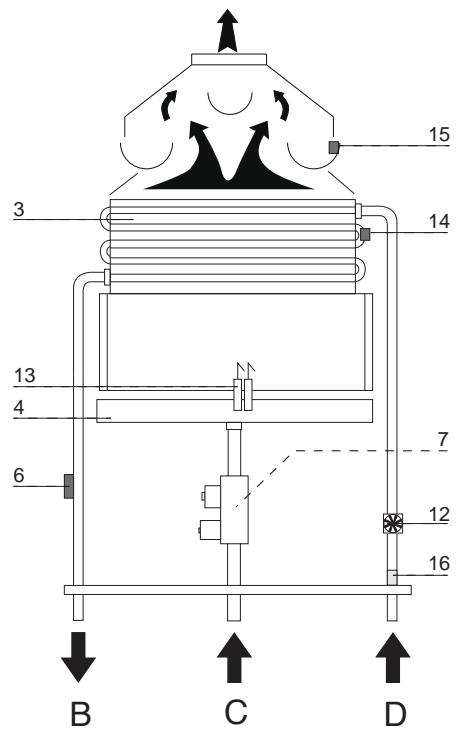
Hotte fumée Châssis Échangeur Brûleur Collecteur gaz Sonde eau chaude sanitaire Vanne gaz Bouton ON/OFF et réglage température eau chaude Boîtier carte électronique Led: rouge - rapport d’erreurs orange - réglage en cour Boîtier carte allumage Débitmètre Électrodes d’allumage et d’ionisation Thermostat de surchauffe Détecteur d’anomalie de tirage Filtre entrée eau froide

B. Sortie eau chaude sanitaire 1/2" C. Entrée gaz 1/2" D. Entrée eau froide 1/2"

16 EU B. Sortie eau chaude sanitaire 1/2" C. Entrée gaz 1/2" D. Entrée eau froide 1/2"

Distances minimales pour l’installation Afin de permettre l’entretien de l'appareil, il est nécessaire de respecter les distances minimales figurant dans le schéma. Pour positionner l'appareil correctement, utiliser un niveau.

Avertissements avant l’installation Cette notice forme un tout avec l’appareil. Elle doit être conservée avec soin et doit suivre l’appareil en cas de cession à un autre propriétaire ou utilisateur et/ou de transfert sur une autre installation. Lisez attentivement les instructions et les conseils fournis par ce manuel. FLUENDO PLUS Installation Ce chauffe-eau est conforme aux exigences de la directive - 2009/142/CEE sur les appareils à gaz - 2004/1 08/CEE sur la compatibilité électromagnétique - 2006/95/CEE sur la sécurité électrique - 2009/125/CE Energy related products - 814/2013 Règlement délégué (EU). Ce chauffe-eau doit être installé et régulièrement entretenu par un technicien qualifié en conformité avec les règles de l’art, les normes en vigueur, et les instructions de cette notice. Pour le nettoyage des parties extérieures, éteindre l’appareil. Nettoyer avec un chiffon imbibé d’eau savonneuse. Ne pas utiliser de détergents agressifs, d’insecticides ou de produits toxiques. Pour un fonctionnement sûr, écologique et une économie d’énergie, veiller au respect de la réglementation en vigueur. En cas d’utilisation de kits ou d’options, il est recommandé de n’utiliser que des produits ou accessoires CHAFFOTEAUX. Certificats de conformité pour les rénovations L’installation d’un chauffe-eau gaz doit obligatoirement faire l’objet d’un Certificat de Conformité visé par Qualigaz ou tout autre organisme agréé par le Ministère de l’Industrie (arrêté du 2 août 1977 modifié) de modèle 2 pour une installation neuve complétée ou modifiée. Aucun objet inflammable ne doit se trouver à proximité de l’appareil. S’assurer que l’environnement de l’appareil et les installations où il sera raccordé, sont conformes aux normes en vigueur. Si des poussières et/ou vapeurs nocives se trouvent dans le local où l’appareil est installé, celle-ci devra fonctionner à l’aide d’un autre circuit d’air. ATTENTION!! L’échangeur doit toujours être rempli d’eau avant la mise en route

RÉALISÉES PAR UN PROFESSIONNEL QUALIFIÉ AVEC DES PIÈCES D’ORIGINE CONSTRUCTEUR. ATTENTION!! S’assurer que les passages d’évacuation et de ventilation ne soient pas obstrués. S’assurer que les conduits d’évacuation n’aient pas de pertes. L’appareil sert à chauffer l’eau à une température inférieure à la température d’ébullition. Avant de raccorder le chauffe-eau, il est nécessaire de : - procéder à un nettoyage de l’installation afin de retirer les éventuels résidus qui pourraient compromettre le fonctionnement du chauffe-eau. - vérifier la prédisposition de l’appareil pour le fonctionnement avec le type de gaz disponible (lire les indications figurant sur l’étiquette de l’emballage et sur la plaque portant les caractéristiques de l’appareil) - contrôler l’évacuation des fumées : le tuyau d’évacuation de fumées ne doit présenter aucune éraflure. Aucun autre appareil ne doit y être relié sauf raccordement conforme aux normes en vigueur. Veiller à ce qu’en cas de raccordement à des tuyaux d’évacuation de la fumée existants, ceuxci soient parfaitement propres et ne présentent aucune scorie car si celles-ci se détachent, elles pourraient empêcher le passage des fumées et mettre les habitants en danger. Veiller à ce qu’en cas de raccordement à des tuyaux d’évacuation de fumées non adaptés, un tuyau intérieur ait été posé. - en cas d’eau très dure (>20°F), il y a risque d’entartrage et de diminution par conséquent de l’efficacité de fonctionnement des composants de la chaudière. Les appareils de type B11 bs sont à chambre de combustion ouverte et sont prévus pour être raccordées à un conduit d’évacuation des produits de combustion. L’air comburant est prélevé directement dans le local dans lequel l’appareil est installé. Ce type d’appareil ne peut être installé dans un local ne répondant pas aux prescriptions de ventilation appropriées. L’évacuation des fumées est à tirage naturel. De plus, ce type d’appareil est équipé d’un dispositif de contrôle de l’évacuation correcte des produits de combustion. Pour ne pas entraver le fonctionnement correct de l’appareil, l’endroit prévu pour son installation doit respecter les valeurs limite de température et être protégé des conditions atmosphériques. L’appareil est conçu pour un montage mural et doit être installé sur un mur capable de supporter le poids. Les distances minimales qui permettent l’accès aux différentes parties de l’appareil doivent être respectées. NAZIONE

CATEGORIA II2E+3+ Vérifier la prédisposition de l’appareil pour le fonctionnement avec le type de gaz disponible (lire les indications figurant sur l’étiquette de l’emballage et sur la plaque portant les caractéristiques de l’appareil) Vérifier à l’aide des étiquettes apposées sur l’emballage et de la plaque signalétique sur l’appareil et de la plaque signalétique sur l’appareil, qu’il est bien destiné au pays ou il doit être installé et que la catégorie et que la catégorie de gaz pour laquelle l’appareil a été conçu correspond à l’une des catégories autorisées dans le pays de destination. Le circuit d’alimentation du gaz doit être réalisé selon les normes spécifiques et ses dimensions doivent y être conformes. Il faut également considérer la puissance maximale de l’appareil et veiller à ce que les dimensions et le raccordement du robinet de fermeture soient corrects. Avant l’installation, il est conseillé de procéder à un nettoyage minutieux de l’arrivée de gaz afin de retirer les éventuels résidus qui pourraient compromettre le fonctionnement de l’appareil. Il est également important de vérifier la pression du gaz qui sera utilisé pour l’alimentation de l’appareil car si elle s’avère insuffisante, cela risque de réduire la puissance du générateur et d’entraîner une perte de confort pour l’utilisateur. Vue raccords hydraulique

Légende: B. Sortie eau chaude sanitaire 1/2” C. Entrée gaz 1/2” D. Entrée eau froide 1/2” G. Filtre entrée eau froide et réducteur de débit L’appareil est équipé d’un filtre “G” sur l’entrée eau froide. En cas de saleté dans l’eau à nettoyer périodiquement. IMPORTANT Ne jamais faire fonctionner l’appareil sans filtre RAPPEL : Dans le cas d’une dureté de l’eau supérieure à 20°f, il est nécessaire de prévoir un traitement de l’eau. La garantie de couvre pas les dommages causés par le calcaire. Installation Raccordement gaz Ce chauffe-eau a été conçu pour une utilisation avec les gaz figurant dans les catégories présentées dans le tableau suivant. Raccordement hydraulique Les raccordements à l’eau et au gaz de l’appareil sont présentés sur le schéma. Vérifier que la pression statique au point de soutirage ne dépasse passe 4 bar. Dans le cas contraire, mettre en place un réducteur de pression (NF DTU 60.1). FLUENDO PLUS Positionnement de l'appareil En choisissant le lieu d’installation de l’appareil, respecter les dispositions de la réglementation en vigueur. - L’APPAREIL DOIT ÊTRE INSTALLÉ EN POSITION PARFAITEMENT VERTICALE. - L’appareil ne doit pas être installé près d’une source de chaleur. - Ne pas installer l’appareil dans une pièce où la température peut descendre à 0°C. Veiller à ce que le mur et les fixations soient suffisamment résistants pour supporter le poids de l’appareil - Prendre les précautions nécessaires pour limiter les effets sonores indésirables. Raccordement évacuation des gaz brûlés L’appareil doit être raccordé à un conduit d’évacuation des gaz brûlés conforme aux réglementations applicables en la matière. Ce type d’appareil ne peut être installé dans un local ne répondant pas aux prescriptions de ventilation appropriées. ATTENTION!! S’ASSURER QUE LES PASSAGES D’ÉVACUATION ET DE VENTILATION NE SOIENT PAS OBSTRUÉS. S’ASSURER QUE LES CONDUITS D’ÉVACUATION N’AIENT PAS DE PERTES. La partie du conduit de fumée qui passe à travers la paroi du logement doit être entourée d’un matériau isolant d’au moins 11 mm d’épaisseur et 300 mm de longueur, car la température de conduit de fumée peut être inférieure à la température ambiante de plus de 60K.

Electrode ionisation Electrode allumage Vanne gaz Débistat Carte principal Bouton ON/OFF et réglage température eau chaude

8. Sonde température eau chaude

jaune- 15 orange - 14 marron - 13 rouge - 12 rouge - 12 noir - 10 orange - 9 vert - 8 bianco - 7 noir - 6 orange - 5 vert - 4 orange - 3 rouge - 2 noir - 1 Procéder impérativement à la première mise en fonction de l’appareil au contrôle de réglage gaz. Remplissage du circuit hydraulique Procéder comme suit: - ouvrir progressivement le robinet entrée eau froide; - ouvrir un robinet d’eau chaude. ATTENTION : L’échangeur doit toujours être rempli d’eau avant la mise en route Vérifier que: - le robinet gaz est ouvert; - les conduits d’évacuation des produits de la combustion soient appropriés et non obstrués. - les bouches de ventilation du local soient ouvertes Tourner le bouton entre les positions de maximum et minimum. Ouvrir un robinet eau chaude. ATTENTION!! L’eau à une température supérieure à 50 °C provoque de graves brûlures. Vérifier toujours la température de l’eau avant l’utilisation. FLUENDO PLUS Circuit électrique - Positionner correctement les piles dans le compartiment en respectant la polarité. Premier allumage Le premier allumage doit être effectué par un professionnel qualifié Mise en route Mise en service Pour garantir la sécurité et le fonctionnement correct de l’appareil, la mise en service doit être effectuée par un professionnel qualifié conformément aux règles en vigueur. Alimentation Gaz - vérifier que le type de gaz distribué correspond à celui indiqué sur la plaque signalétique de l’appareil - ouvrir les portes et les fenêtres - éviter tout contact avec des étincelles ou des flammes, - vérifier l’étanchéité de l’installation gaz. Pour cela ouvrir le robinet gaz de l’installation et mettre le robinet de gaz de l’appareil en position fermée pendant 10 minutes. Le compteur ne doit indiquer aucun passage de gaz.

Vérification du réglage gaz

Contrôle de la pression d’alimentation.

1. Fermer le robinet gaz

2. Desserrer la vis “b” et insérer le tuyau de raccordement

du manomètre dans la prise de pression.

3. Ouvrir le robinet gaz

4. Mettre l’appareil en fonction en ouvrant le robinet d’eau

chaude. La pression d’alimentation doit correspondre à celle prévue pour le type de gaz pour lequel l’appareil a été conçu. ATTENTION!! Si la pression d’alimentation ne correspond pas à celle indiquée dans le Tableau récapitulatif transformation gaz NE PAS FAIRE FONCTIONNER L’APPAREIL.

Éteindre l’appareil en fermant le robinet d’eau chaude Fermer le robinet gaz Retirer le manomètre et serrer la vis “b”. Ouvrir le robinet gaz et vérifier l’étanchéité de la vis de mesure.

Vis de réglage maximum/minimum et allumage lente

Contrôle de la pression maximale et minimale (voir le Tableau récapitulatif transformation gaz)

1. Fermer le robinet gaz.

2. Desserrer la vis “a” et insérer le tuyau de raccordement

du manomètre dans la prise de pression.

3. Ouvrir le robinet gaz.

4. Enlever les piles.

5. Placer le microrupteur 1 en position ON et réinsérer les

piles. Ouvrir un robinet d’eau chaude. (Mode TEST activé - la led est orange et clignote).

6. Placer le microrupteur 2 en position ON

(L’appareil est forcé à la puissance maximale).

7. Régler, à l’aide de la vis orange, la pression maximale au

brûleur en vous reportant au tableau.

8. Placer le microrupteur 2 en position OFF

(L’appareil est forcé à la puissance minimale).

9. Régler, à l’aide de la vis orange, la pression minimale au

brûleur en vous reportant au tableau..

10. Repositionner le microrupteur 1 en position OFF (Mode

TEST fermé). La LED est orange, tous les réglages sont mémorisés. Fermer le robinet d’eau chaude.

11. Fermer le robinet gaz, retirer le manomètre et serrer la

vis “a”. Vérifier l’étanchéité de la vis après avoir ouvert le robinet gaz. ATTENTION: Chaque fois que le microrupteur 1 est placé sur ON, il est nécessaire de régler la pression au maximum et au minimum de la puissance de l’appareil. Contrôle de la puissance d’allumage lent (voir le Tableau récapitulatif transformation gaz)

1. Fermer le robinet gaz

2. Desserrer la vis “a” et insérer le tuyau de raccordement

du manomètre dans la prise de pression.

3. Ouvrir le robinet gaz

4. Enlever les piles

5. Placer le microrupteur 1 en position ON et réinsérer les

piles. Ouvrir un robinet d’eau chaude. (Mode TEST activé - la led est orange et clignote)

6. Placer le microrupteur 3 en position ON

(L’appareil est forcé à la puissance d’allumage lent).

7. Régler, à l’aide de la vis orange, la pression d’allumage

lent en vous vous reportant au tableau.

8. Placer le microrupteur 3 en position OFF

9. Repositionner le microrupteur 1 en position OFF

(Mode TEST fermé). Le LED est orange, tous les réglages sont mémorisés. Fermer le robinet d’eau chaude

10. Fermer le robinet gaz, retirer le manomètre et serrer la

vis “a”. Vérifier l’étanchéité de la vis après avoir ouvert le robinet gaz Les réglages à suivre de la pression maximale et minimale et de l’allumage lent doivent être effectués séparément suivant les instructions en complétant les étapes ci-dessous. Ces réglages nécessaires au cours du premier allumage et/ou lors d’une transformation gaz nécessitent de positionner en position ON ou OFF les microrupteurs identifiés ci-dessous. Changement de gaz Ces appareils sont prévus pour fonctionner avec différents types de gaz. Le changement de gaz doit être effectué par un professionnel qualifié. Ce changement de gaz est assuré par un kit et sa notice. Tableau récapitulatif transformation gaz Indice de Wobbe inférieur (15°C;1013mbar) MJ/m3 45.67 G31 G31 G25 G30 propane G20 G25 G30 propane

Pression gaz au brûleur - maximum mbar 15,0

Pression gaz au brûleur - minimum mbar

Injecteur nr. Ø injecteur

Pression gaz au brûleur - maximum mbar

Pression gaz au brûleur - minimum mbar

Injecteur nr. Ø injecteur

ATTENTION!! Après la modification de la position des microrupteurs n°. 4 - 5 - 6 - 7 – 8 (tableau page suivant) suivant le type de gaz, il est nécessaire afin de mémoriser les réglages (appareil en mode stand-by) de: - enlever les piles - attendre 10 secondes - Insérer les piles. Procéder ensuite aux réglages de la pression maximale, minimale et d’allumage lent gaz comme indiqué dans la page précédente.

Microrupteurs Position microrupteurs, voir le tableau ci-dessous. MOD. GAZ Mise en route

Réglage à la puissance maximum OFF Réglage à la puissance minimum

Mode test OFF Réglage d’usine

Réglage de l’allumage lente

Informer l’utilisateur L’installateur est tenu d’informer l’usager sur les modalités de fonctionnement de l’installation. − Informer le client que pour toute réparation, il doit faire appel à un professionnel qualifié et exiger l’utilisation de pièces détachées d’origine. Le non-respect de ce qui précède peut compromettre la sécurité de l’appareil et faire déchoir toute responsabilité du fabricant − Délivrer à l’usager le manuel d’instruction, en l’informant qu’il doit être conservé à proximité de l’appareil. − Informer l’usager sur les tâches qui lui incombent, c’est-àdire :

1. Ne pas obstruer les dispositifs de ventilation

2. Faire exécuter, comme la réglementation le prévoit,

l’entretien annuel de l’installation

3. Régler les consignes et les dispositifs de régulation pour

une correcte gestion de l’installation

4. Ne modifier, en aucun cas, les réglages d’alimentation

d’air de combustion et du gaz de combustion.

Tableau des erreur Led (rouge) Description Contrôles à faire Fixe Piles épuisées Remplacer les piles Simple éclat L'appareil ne s’allume pas

1. Vérifier que le capteur

de débit d'eau est correctement connecté

2. Remplacer les piles

Double éclats Pas de flamme

de ionisation est correctement positionné Triple éclats Vanne gaz défectueux Vérifier que le diaphragme gaz n'est pas obstrué ou bloqué Surchauffe

1. Vérifier une éventuelle

obstruction du conduit fumée

2. Vérifier si la pression

d'entrée eau froide n'est pas trop basse. Quatre éclats ATTENTION!!

CARBONE. LE DISPOSITIF D’ANOMALIE DE TIRAGE NE DOIT JAMAIS ÊTRE MIS HORS SERVICE. LES

RÉALISÉES PAR UN PROFESSIONNEL QUALIFIÉ AVEC DES PIÈCES D’ORIGINE CONSTRUCTEUR. Système de protection de l'appereil Les anomalies sont signalées par la LED rouge. Dispositif d’anomalie de tirage Ce dispositif sert à bloquer l’appareil en cas d’anomalie concernant l’évacuation des fumées. Au bout de 12 minutes, l’appareil remet en marche sa procédure d’allumage ; si les conditions sont redevenues normales, l’appareil redémarre normalement, autrement il se bloque et le cycle est répété. En cas de mauvais fonctionnement ou d’interventions répétées, fermez le robinet du gaz, débranchez et appelez le service après-vente ou un professionnel du secteur pour vérifier la cause du mauvais fonctionnement et remédier au défaut d’évacuation des gaz brûlés. FLUENDO PLUS Conditions d’arret de securite de l’appareil L’appareil est sécurisé grâce à des contrôles internes réalisés par la carte électronique, qui placent l’appareil en arrêt lorsqu’un dysfonctionnement apparaît. Fermer l’appareil, fermer le robinet gaz et contacter un technicien qualifié.

1. Vérifier si le câble de la

sonde est correctement Sonde connectés Cinq éclats température eau

2. Vérifier si la pression

défectueuse d'entrée eau froide n'est pas trop basse.

FLUENDO PLUS Entretien L’entretien est une opération essentielle pour la sécurité, le bon fonctionnement et la durée de vie de l’appareil. Il doit être effectué conformément aux réglementations en vigueur. Il est nécessaire d’effectuer périodiquement l’analyse de la combustion pour contrôler le rendement et la pollution générés par l’appareil en fonction des normes en vigueur. Remarques générales Il est nécessaire d’effectuer au moins une fois par an les contrôles suivants :

1. Contrôle visuel de l’état général de l’appareil.

2. Contrôle de l’étanchéité du circuit d’eau avec changement

des joints (si nécessaire) et contrôle de l’étanchéité.

3. Contrôle de l’étanchéité du circuit de gaz avec

changement des joints (si nécessaire) et contrôle de l’étanchéité.

4. Contrôle visuel de la combustion et au besoin.

Démontage et nettoyage du brûleur et des injecteurs.

5. Nettoyage de l’oxydation sur la sonde de détection de

flamme à l’aide d’une toile émeri.

6. Démontage et nettoyage, si besoin de la chambre de

7. Nettoyage de l’échangeur principal.

8. Contrôle du fonctionnement du système de sécurité

du chauffage : sécurité température limite et dispositif d’anomalie de tirage

9. Contrôle du fonctionnement du système de sécurité

du circuit gaz : sécurité absence de gaz ou de flamme (ionisation).

10. Contrôle de l’efficacité de la production d’eau chaude

(Vérification du débit et de la température).

11. Nettoyage du filtre à l’entrée d’eau froide (ne jamais faire

fonctionner l’appareil sans filtre).

12. Contrôle général du fonctionnement de l’appareil.

Avant de procéder aux opérations d’entretien : - fermer le robinet gaz - enlever les piles - fermer les robinets d’eau.

Instructions pour démontage de l’habillage et inspection de l’appareil. Avant toute intervention sur l’appareil, fermer le robinet gaz et débrancher. Pour accéder à l’intérieur de l’appareil : - dévisser les 3 vis L - décrocher le panneau du châssis par des crochets E

Démontage et recyclage de l’appareil Nos produits sont conçus et fabriqués à partir de composants dont des matières sont recyclables. L’appareil murale et ses accessoires doivent être différencier correctement. Les emballages utilisés pour le transport de l’appareil doivent être repris par l’installateur/distributeur. ATTENTION!! Recyclage de l’appareil et des accessoires doit se faire conformément à la réglementation. Gas mbar Gas mbar Gas mbar

3. Modèle - N° de série

4. Référence commerciale

5. Numéro homologation

6. Pays de destination - catégorie gaz

8. Type installation

9. Données électriques

10. Pression maxi sanitaire

14. Débit calorifique nominal chauffage

15. Puissance utile chauffage

17. Rendement puissance appareil

20. Température ambiante de fonctionnement

22. Température maxi sanitaire.

Vidange de l’installation Dès qu’il existe un risque de gel, l’installation doit être vidangée de la manière suivante : - fermer le robinet d’arrivée eau de l’installation, - ouvrir tous les robinets de l’eau chaude et de l’eau froide, - vider par les points les plus bas de l’installation (s’il y en a de prévus).

FLUENDO PLUS Test de fonctionnement Après avoir effectué des opérations d’entretien, remplir l’appareil et : - mettre en fonction de l’appareil - vérifier les réglages et le bon fonctionnement de tous les organes de commande, de régulation et de contrôle. - vérifier l’étanchéité et le bon fonctionnement de l’évacuation des gaz de combustion et prélèvement de l’air.

Modèle : FLUENDO PLUS ONT B 11 EU ONT B 14 EU ONT B 16 EU Caractéristiques techniques Certification CE (pin) Type appareil B11bs Catégorie gaz II2E+3+ Débit calorifique (G20) max

Débit calorifique (G25) max

Température maximale eau chaude

Température minimale eau chaude

Pression d’alimentation eau maximale admissible (1) bar

Température d’émission de gaz à la puissance minimum

Débit massique de gaz d’échappement MAX g/s

Température ambiante minimum d’utilisation

FLUENDO PLUS Débit air necessaire pour la combusion Dimensions Alimentation électrique - Batterie Allumage (1) Au-delà de 4 bar en pression statique au point de soutirage, il convient de mettre en place un réducteur de pression (NF DTU 60.1)

Profil de soutirage déclaré

Niveau de puissance acoustique, à l’intérieur LWA Émissions d’oxydes d’azote NOx (*) Pour la liste des codes des modèles équivalents se référer à l’annexe A, qui est une partie intégrante du manuel d’utilisation, d’installation et d’entretien.

FICHE DE PRODUIT - EU 812/2013

Marque CHAFFOTEAUX Modèle(s): [informations d’identification du ou des modèles concernés] FLUENDO PLUS Profil de soutirage déclaré

Classe d’efficacité énergétique pour le chauffage de l’eau

Efficacité énergétique pour le chauffage de l’eau ηwh

Consommation annuelle d’électricité - sanitaire AEC kWh

Consommation annuelle de combustible - sanitaire AFC

Réglages du thermostat du chauffe-eau

Niveau de puissance acoustique, à l’intérieur LWA

Caractéristiques techniques voir Annexe A (*) FLUENDO PLUS Modèles équivalents

IMPORTANT !! Les produits, sans étiquette et la fiche relative aux chuaffe-eau et un dispositif solaire, requis par la règlement 812/2013, ne sont pas destineés à être utilisés pour ces systèmes. La réalisation de ces systèmes est autorisé en utilisant le code de kit 3632077. Dans le kit sont inclus l’étiquette et la fiche pour les produit combinés.

Trouvez la Station Technique la plus proche de chez vous à l'adresse suivante www.chaffoteaux.fr , rubrique Service. Il suffit d'entrer le numéro de votre département et le type d'appareil à dépanner, alors les coordonnées de nos partenaires régionaux les plus proches vous seront transmises. Pour toute réparation, faire appel à un professionnel qualifié et exiger l’utilisation de pièces détachées d’origine. Le non-respect de ce qui précède peut compromettre la sécurité de l’appareil et faire déchoir toute responsabilité du fabricant.