HAC300V - Hachoir à viande BRANDT - Notice d'utilisation et mode d'emploi gratuit
Retrouvez gratuitement la notice de l'appareil HAC300V BRANDT au format PDF.
| Type d'appareil | Mini-hachoir |
| Capacité du bol | Environ 0,5 à 1 litre |
| Puissance | Non précisé |
| Nombre de vitesses | 1 |
| Fonction pulse | Oui |
| Matériau du bol | Verre |
| Matériau des lames | Acier inoxydable |
| Type d'alimentation | Électrique |
| Longueur du cordon | Non précisé |
| Couleur | Blanc et transparent |
| Accessoires inclus | Non précisé |
| Dimensions | Compact |
| Poids | Léger |
| Sécurité | Verrouillage du bol |
| Entretien | Pièces compatibles lave-vaisselle |
FOIRE AUX QUESTIONS - HAC300V BRANDT
Téléchargez la notice de votre Hachoir à viande au format PDF gratuitement ! Retrouvez votre notice HAC300V - BRANDT et reprennez votre appareil électronique en main. Sur cette page sont publiés tous les documents nécessaires à l'utilisation de votre appareil HAC300V de la marque BRANDT.
MODE D'EMPLOI HAC300V BRANDT
Vou venez d'acquerir un mini-hachoir BRANDT et nous vous en remercions.
Nous avons mis dans cet apparéil toute notre passion, notre savoir-faire pour qu'il réponde au mieux à vos besoin. Innovant, performant, nous l'avonsçu pour qu'il soit aussi toujours facile à utiliser.
Vous trouvez également dans la gamme des produits BRANDT, un vaste choix de petit électroménager, que vous pourrez coordonnner à votre nouveau mini-hachoir.
Bien entendu, dans un souci permanent de satisfaire le最好的 possible vos exigences vis à vis de nos produits, notre service consommateurs est à votre disposition et à votre écoute pour répondre à toutes vos questions ou suggestions.
Et connectez-vous aussi sur notre site www.brandt.com où vous trouvez tous nos produits, ainsi que des informations utiles et complémentaires.
www.brandt.com
BRANDT
Dans le souci d'une amélioration constante de nos produits, nous nous réservons le droit d'apporter à leurs caractéristiques techniques, fonctionnelles ou esthétiques toutes modifications liées à leur évolution.

Important : Avant demettrevoireappareil en marche,veuillez lire attentivementceguide d'installation etd'utilisationafinde vous familiariserplusrapidementavecsonfonctionnement
SOMMAIRE
1) A L'ATTENTION DE L'UTILISATEUR 4
a) Consignes de sécurité 4
b) Données techniques 7
c) Protection de l'environnement 7
2) PRESENTATION DE VOTRE APPAREIL 8
a) Description du mini-hachoir. 8
b) Avant la première utilisation 8
3) UTILISATION DE VOTRE APPAREIL 8
a) Utilisation du mini-hachoir 8
b) Guide de préparation 9
c) Conseils d'utilisation 10
4) ENTRETIEN ET NETTOYAGE DE VOTRE APPAREIL 10
5) GARANTIE ET SERVICE APRES-VENTE 10
a) Garantie 10
b) Service après-vente 11
1) A L'ATTENTION DE L'UTILISATEUR

Conservez ce mode d'emploi avec votre apparéil. En cas de vente ou de cession de cet apparéil à une autre personne, assurez vous de transmettre ce mode d'emploi au nouveau professionnel. Merci de prendre connaissance de ces conseils avant d'installer et d'utiliser votre apparéil. Ils ont été rédigés pour leur sécurité et celle d'autrui.
a) Consignes de sécurité
Installation et branchement :
- Cet apparéil est destiné uniquement à un usage domestique. Il ne peut être utilisé qu'en milieu couvert, fermé et chauffé tel qu'une cuisine ou toute autre piece répondant aux mêmes specifications.
- Àprous avoir retireé votre produit de son emballage, vérifie que l'appareil soit en parfait état et particulièrement que la fiche ou le cable d'alimentation ne soient pas endommages. En cas de doute, s'adresser au service après-vente de votre revendeur.
- Avant de brancher l'appareil, s'assurer que la tension du secteur corresponde bien à celle indiquée sur la plaque signalétique de l'appareil.
- L'utilisation d'adaptateurs et/ou de rallonges est déconseillée. Si ces éléments s'avéraient indispensable, utilisez seulement des adaptateurs
et des rallonges qui respectent les normes de sécurité en vigueur.
- Avant d'utiliser cet apparéil, placez-le sur une surface sèche, lisse et stable.
- Cet apparéil ne doit pas être utilisé par des enfants.
- Gardez l'appareil et son cordon d'alimentation hors de portée des enfants.
- Les enfants ne doivent pas jouer avec l'appareil.
Lors de l'utilisation :
- Cet apparéil peut être utilisé par des personnes à capacités physiques, sensorielles ou mentales réduites, seulement après leur avoir donné les informations nécessaires concernant l'utilisation de l' apparéil, afin qu'ils aient conscience des dangers encourus.
- N'utilisez cet apparéil que pourtraiter des aliments.
- Ne pas abandonner l'appareil allumé ou le faire fonctionner à vide, car il peut représentater une source de danger.
- Ne tirez jamais sur le cordon mais débranchez l'appareil en tenant la prise.
- Toujours déconnecter l'appareil de l'alimentation si on le laisse sans surveillance et avant montage, démontage ou nettoyage.
- Les couteaux sont très tranchants, manipuez-les avec précaution, afin d'eviter de vous couper.
- Ne replissez pas le bol au-delà du niveau maximum.
-
Ne pas enlever le bol du bloc moteur lorsqu' l'appareil est en fonctionnement.
-
N'introduisez jamais votre main dans le bol, ni d'autres objets, lorsque l'appareil est en marche. En cas de besoin, débranchez l'appareil et utilisez une spatule pour enlever les alimentents collés aux parois du bol.
- Ne jamais toucher les couteaux en mouvement; attendre toujours qu'ils cessent de tourner.
- L'utilisation d'accessoires non recommandés par le fabricant de l'appareil peut entraîner des dangers ou des blessures.
Entretien et nettoyage :
- Avant tout nettoyage, s'assurer que le cordon d'alimentation de l'appareil soit débranché. Laissez refroidir l'appareil avant de le nettoyer.
- Le cordon d'alimentation ne peut être remplaced. Si le cable est endommagé, il convient demettre l'appareil au rebut. Ce produit est garanti par votre distributeur. Pour plus de détails, veuillez vous reporter aux conditions de garantie fournies par celui-ci.
- Pour vous protégger des risques de chocoléctrique, n'immergez enaucuncasla base de l'appareil dans I'eau ou autres liquides.
- Ne pas utiliser de produits chimiques, de laine d'acier ou de nettoyants abrasifs pour nettoyer l'extérieur de l'appareil, cela risque de le détériorer.
- Le nettoyage et l'entretien de l'appareil ne doit pas être faits par des enfants à moins qu'ils aient plus de 8 ans et qu'ils soient supervisés.
Utilisation non conforme :
Utilisez cet apparéil uniquement pour les usages décrits dans ce manuel.
- Le fabricant se dégage de toute responsabilité en cas d'utilisations non conformes.
- Cet apparéil est exclusivement destiné à un usage domestique dans des habitations privées. L'utilisation de ce produit dans des locaux commun ou professionnels tels que local de pause de bureau ou atelier, local de camping, hôtel etc. ne répond pas à une utilisation conforme telle que définie par le constructeur.
b) Données techniques
| Modèle | HAC300V |
| Alimentation | 220-240V~ 50/60Hz |
| Consummation | 300W |
| Dimensions | H225 x L158 x P187mm |
| Poids net | 1.62 Kg |
c) Protection de l'environnement

Arrivé en fin de vie, ce produit ne doit pas être jeté avec les ordures menagères. Il doit être apporté dans une déchetterie ou à votre revendeur. Cela permet d'éviter les conséquences néfastes pour l'environnement et pour la santé, decouulant d'une élimination inappropriée, et de recycler les matériaux en vue de réaliser des économies d'énergie et de ressources significatives.
Un logo vous rappelant que vous ne devez pas le jeter avec les ordures menagères apparaît sur le produit. Pour de plus amples informations, contacter votre mairie ou le magasin où vous avez acheté ce produit
2) PRESENTATION DE VOTRE APPAREIL
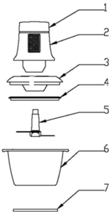
a) Description du mini-hachoir

| Numéro | Nom |
| 1 | Bouton pression |
| 2 | Bloc moteur |
| 3 | Couvercle de sécurité |
| 4 | Joins |
| 5 | Couteau 2 lames |
| 6 | Bol mélangeur |
| 7 | Tapis antidérapant |
b) Avant la première utilisation
- Déballez l'appareil, enlevez tous les papiers et plastiques. Vérifiez qu'il ne reste pas de morceaux d'emballages à l'intérieur de l'appareil.
- Lavez soigneusement le bol et la lame à l'eau savonneuse. Essuyez le bloc moteur avec un chiffon légèrement humide. Puis, séchez toutes ces parties soigneusement.
3) UTILISATION DE VOTRE APPAREIL
a) Utilisation du mini-hachoir
- Placez l'appareil sur une surface plane et stable.
- Mettez en place le couteau deux lames (5) sur I'axe central du bol mélangeur (6).
- Versez les ingrédents coupés en petits morceaux dans le bol, sans dépasser le niveau maximum indiqué sur la paroi.
-
Placez le couvercle de sécurité (3) sur le bol. Si le joins en caoutchouc (4) n'a pas eté préalablement mis en place, veuilles le fixer sur le couvercle de sécurité.
-
Placez le bloc moteur (2) sur le bol mélangeur (6).
- Branchez le cordon d'alimentation sur une prise secteur.
- Appuyez sur le bouton pression (1).
! N'utilise jamais l'appareil en continu pendant plus de 30 secondes afin d'éviter qu'il ne surchauffe.
! L'appareil ne démarre pas si les parties ne sont pas correctement assemblées.
Toujours bien tenir le moteur pendant que vous actionnez le bouton pression.
! Ne jamais hacher de produits trop liquides tels que de l'eau.
-
Relâchéz la pression pour arrêté le mini-hachoir.
-
Attendez que les lames s'arrêtent complètement avant dePTRir le couvercle.
-
Débranchez l'appareil puis, déboitez le bol mélangeur du bloc moteur. Vous pouvez alors enlever les lames avant de vider le contenu du bol mélangeur.
b) Guide de préparation
Pour vous aider, voici un guide de préparation. Ces informations sont données à titre indicatif.
| Ingrédients | Quantité | Temps nécessaire à la préparation |
| Oignons | 150g | 15 secondes |
| Ail | 150g | 10 secondes |
| Persil | 30 g | 5 pressions |
| Pain | 100g | 10 secondes |
| Noiséttes/Cacahuètes/Amandes | 150g | 30 secondes |
| Fromage | 200g | 15 secondes |
| Jambon | 200g | 20 secondes |
| Viande | 250g | 15 secondes |
| Chocolat | 10g | 10 secondes |
| Fruits et légumes | 200g | 15 secondes |
c) Consels d'utilisation
- Pour les aliments durs (exemple : fromage) coupez en dés pour éviter de bloquer les lames.
- Travailliez par pressions sur le bouton marche.
- Si les alimentés restent collés sur la paroi du bol, décollez les morceaux à l'aide d'une spatule, répartissez-les dans le bol et effectuez 2 ou 3 impulsions supplémentaires.
4) ENTRETIEN ET NETTOYAGE DE VOTRE APPAREIL
! Débranchez toujours l'appareil avant derialdeur à son nettoyage.
- Lavez à l'eau savonneuse le bol mélangeur et le couteau deux lames. Rincez à l'eau claire puis séchez-les soigneusement
Remarque : le bol mélangeur et le couteau deux lames peuvent également être lavés au lave-vaisselle.
- Essuyez le bloc moteur avec un chiffon légèrement humide puis séchez-le soignexeusement. Ne jamais plonger cette partie dans de l'eau ou tout autre liquide.
- N'utilisez pas de produits détergents abrasifs pour le nettoyage.
5) GARANTIE ET SERVICE APRES-VENTE
a) Garantie
Ce produit est garanti par toute distributeur. Pour plus de détails, veuillez vous reporter aux conditions de garantie fournies par celui-ci
- Interventions
Les éventuelles interventions sur votre apparéil doivent être effectuees par un professionnel
qualifié dépositaire de la marque. Lors de votre appel, mentionnez la référence de votre apparéil ainsi que le numéro de série en dessous (S/N).
Ces renseignements figurent sur la plaque signalétique collée sur l'appareil.
b) Service après-venture
- Relations consommateurs
Pour en savoir plus sur nos produits vous pouvez consulter notre site : www.brandt.com
Vous pouvez nous contacter :
Via notre site, www.brandt.com rubrique « CONTACT ».
Par e-mail a l'adresse suivante : relations.consohmateurs@groupebrandt.com
Par courrier à l'adresse postale suivante:
Service Consommateurs BRANDT
5 av des Béthunes,
CS69526
95 060 CERGY PONTOISE CEDEX
Par téléphone du lundi au vendredi de 8h30 à 18h00 au

Brandt
Dear Customer,
Service Consommateurs BRANDT
5 av des Béthunes,
CS69526
95 060 CERGY PONTOISE CEDEX
Notice Facile