AOYG 54 LATT.UE UNITE MAXI MULTI 14000W - Chauffage électrique ATLANTIC - Notice d'utilisation et mode d'emploi gratuit
Retrouvez gratuitement la notice de l'appareil AOYG 54 LATT.UE UNITE MAXI MULTI 14000W ATLANTIC au format PDF.
| Type de produit | Unité Maxi Multi |
| Caractéristiques techniques principales | ATLANTIC AOYG 54 LATT.UE, 14000W |
| Alimentation électrique | 230V / 400V triphasé |
| Dimensions approximatives | Dimensions non spécifiées |
| Poids | Poids non spécifié |
| Compatibilités | Compatible avec systèmes de chauffage multi-sources |
| Tension | 230V / 400V |
| Puissance | 14000W |
| Fonctions principales | Chauffage, production d'eau chaude sanitaire |
| Entretien et nettoyage | Vérification annuelle recommandée |
| Pièces détachées et réparabilité | Disponibilité de pièces détachées à vérifier auprès du fabricant |
| Sécurité | Conforme aux normes de sécurité en vigueur |
| Informations générales | Produit destiné à un usage résidentiel et professionnel |
FOIRE AUX QUESTIONS - AOYG 54 LATT.UE UNITE MAXI MULTI 14000W ATLANTIC
Téléchargez la notice de votre Chauffage électrique au format PDF gratuitement ! Retrouvez votre notice AOYG 54 LATT.UE UNITE MAXI MULTI 14000W - ATLANTIC et reprennez votre appareil électronique en main. Sur cette page sont publiés tous les documents nécessaires à l'utilisation de votre appareil AOYG 54 LATT.UE UNITE MAXI MULTI 14000W de la marque ATLANTIC.
MODE D'EMPLOI AOYG 54 LATT.UE UNITE MAXI MULTI 14000W ATLANTIC
Notice d’installation A l’usage du personnel autorisé seulement.
Multi-splits DC Inverter Bi-splits Réfrigérant - R410A AOY G 14 LA C 2 AOY G 18 LA C 2
Unités intérieures Muraux design ASYG 7/9/12/14* LU Muraux compacts ASYG 7/9/12/14* LMCE Cassettes* AUYG 7/9/12 LVL et AUYG 12 LVLBB Consoles* AGYG 9/12 LVC Gainables compacts* ARYG 7/9/12 LLT et ARYG 12 LLTB Micro-gainables* ARYG 7/9/12 LSL
* Compatibles seulement avec le modèle AOYG 18 LAC2.
NI 923 129 H Unités extérieures
NOTICE SIMPLIFIÉE Découpez soigneusement votre notice simplifiée de télécommande, puis pliez-la en 2 comme indiqué ci-dessous.
Conservez votre notice simplifiée de télécommande à proximité de votre installation.
Traduction faite en français sur ce visuel.
AUTO FROID DESHU VENTIL CHAUD Oscillation des volets.
BALAYAGE Réglage de la position horizontale.
POSITION (*selon modèle)
Réglage de la position verticale.
POSITION Mode économie d’energie
ECONOMIE Mode hors gel à 10°C
10°C CHAUD SILENCE : Vitesse silencieuse.
PETITE : Petite vitesse.
MOYEN. : Moyenne vitesse.
GRANDE : Grande vitesse.
Choix de la vitesse du ventilateur :
VENTIL : Ventilateur.
DESHU : Déshumidification en mode
FROID : Climatisation
AUTO : Choix automatique du mode
Choix des différents types de fonctionnement :
MODE ECONOMIE Traduction faite en français sur ce visuel.
SILENCIEUX VEILLE VENTIL AUTO
Réinitialisation de la télécommande.
REINIT Réglage de l’heure.
POSITION Réglage de la position de soufflage des volets.
REG. HORLOGE Oscillation des volets.
BALAYAGE Activation du détecteur de présence (LT).
PRESENCE Réduction de la vitesse du ventilateur du groupe extérieur.
GROUPE EXT. SILENCIEUX Mode économie d’energie, changement de la consigne de T°C.
ECONOMIE Puissance max, augmente les performances de la machine.
PUISS. MAX Mode hors gel à 10°C
10°C CHAUD MOYEN. : Moyenne vitesse. PETITE : Petite vitesse. SILENCE : Vitesse silencieuse.
GRANDE : Grande vitesse.
VENTIL Choix de la vitesse du ventilateur : AUTO : Automatique.
Choix des différents types de fonctionnement : AUTO : Choix automatique du mode CHAUD/FROID. FROID : Climatisation (+18°C à +30°C). DESHU : Déshumidification en mode FROID. VENTIL : Ventilateur. CHAUD : Chauffage (+16°C à +30°C).
ENVOYER Envoie les informations des programmations horaires de la télécommande vers le climatiseur. SUIVANT Validation du choix dans la programmation horaire. PROGRAMMATION MINUTERIE JOURNALIERE Mettre en Marche l’appareil : Appuyez sur , un bip retenti et le voyant vert OPERATION s’allume. ,
Si l’appareil est déjà allumé, passez à l’étape suivante : appuyez sur clignote. l’icone Choisissez le mode de muniterie avec jusqu’à ce que les icones & clignotent.
, Appuyez sur réglez l’heure de mise en marche de l’appareil Nota : le réglage est de 5 minutes en 5 minutes. , pour terminer enAppuyez sur voyer les données. Idem pour paramétrer l’heure d’arrêt. Changer de programme dans le paramétrage.
vous accédez au programme suivant (ex: ).
pour passer tous les jours,
Ce changement s’opère dans la partie de choix des jours. après
Notice d’utilisation simplifiée des télécommandes AR-REA1E et AR-REA2E Cette notice résume les actions principales de votre télécommande, et vous donne une traduction française des différentes touches. Elle ne se substitue en aucun cas à la notice d’utilisation de votre climatiseur que vous devez conserver.
Coordonnées de l’installateur
PROGRAMMATION MINUTERIE JOURNALIERE
Mettre en Marche l’appareil : Appuyez sur
un bip retentit et le voyant vert OPERATION s’allume.
Si l’appareil est déjà allumé, passez à l’étape suivante :
Appuyez sur , l’icône apparaît.
Réglez l’heure d’arrêt de l’appareil avec « + et - ». Appuyez une nouvelle fois sur
régler l’heure de mise en marche, apparaît. l’icône
Appuyez encore sur pour mettre en marche la minuterie, l’icône apparaît.
Pour annuler la programmation, appuyez une dernière fois sur
PROGRAMMATION MINUTERIE VEILLE , apparaît.
Choisissez la durée avec « + et - ».
Nota : on peut régler de 5 min à 9h55, le temps de veille.
Votre minuterie est activée.
Nota : Le changement de programme permet de réaliser plusieurs programmations dans la même journée. Activer la programmation Hebdomadaire.
REINITIALISER Réinitialisation de la télécommande.
Activer la programmation Journalière. Activer la programmation du mode veille.
Notice d’utilisation simplifiée des télécommandes
AR-RAH1E et AR-RAH2E Cette notice résume les actions principales de votre télécommande, et vous donne une traduction française des différentes touches. Elle ne se substitue en aucun cas à la notice d’utilisation de votre climatiseur que vous devez conserver.
Coordonnées de l’installateur
Réglage de la position horizontale des volets, maintenir appuyé durant 2 sec. pour activer le balayage.
POSITION *selon modèle
Réglage de la position verticale des volets, maintenir appuyé durant 2 sec. pour activer le balayage.
POSITION *selon modèle
SILENCE : Vitesse silencieuse.
PETITE : Petite vitesse.
MOYEN. : Moyenne vitesse.
GRANDE : Grande vitesse.
Choix de la vitesse du ventilateur :
VENTILATION Traduction faite en français sur ce visuel.
Remise à zéro de l’encrassement du filtre.
MAINTENANCE Mode économie d’energie
mode CHAUD/FROID. FROID : Climatisation (+18°C à +30°C). DESHU : Déshumidification en mode FROID. VENTIL : Ventilateur. CHAUD : Chauffage (+16°C à +30°C).
Choix des différents types de fonctionnement : AUTO : Choix automatique du
VEILLE Traduction faite en français sur ce visuel.
VENTIL AUTO Réinitialisation de la télécommande.
REG. HORLOGE Réduction de la vitesse du ventilateur du groupe extérieur.
GROUPE EXT. SILENCIEUX Mode économie d’energie
ECONOMIE La puissance max augmente les performances de la machine.
PUISS. MAX Mode hors gel à 10°C
10°C CHAUD SILENCE : Vitesse silencieuse.
PETITE : Petite vitesse.
MOYEN : Moyenne vitesse.
GRANDE : Grande vitesse.
Choix de la vitesse du ventilateur :
VENTIL DESHU : Déshumidification en mode FROID. VENTIL : Ventilateur. CHAUD : Chauffage (+16°C à +30°C).
FROID : Climatisation (+18°C à +30°C).
Choix des différents types de fonctionnement : AUTO : Choix automatique du mode CHAUD/FROID.
Notice d’utilisation simplifiée des télécommandes AR-REB1E Cette notice résume les actions principales de votre télécommande, et vous donne une traduction française des différentes touches. Elle ne se substitue en aucun cas à la notice d’utilisation de votre climatiseur que vous devez conserver.
Coordonnées de l’installateur
PROGRAMMATION MINUTERIE JOURNALIERE
Cette notice résume les actions principales de votre télécommande, et vous donne une traduction française des différentes touches. Elle ne se substitue en aucun cas à la notice d’utilisation de votre climatiseur que vous devez conserver.
Nota : vous pouvez régler 2 plages horaires dans la même journée.
Réglez l’heure d’enclenchement , avec et faites de validez avec même pour réglez l’heure d’arrêt.
pour choisir Utilisez le bouton le jour ou la semaine à programmer. . Validez le choix avec
Pressez le bouton durant 2 sec., l’icône
Appuyez ensuite sur jusqu’à l’affichage
PROGRAMMATION HEBDOMADAIRE Mettre en marche l’appareil :
Notice d’utilisation simplifiée de
télécommande AR-WAE1E Validez et changez de jour avec .
Pour annuler tout type de programmation pressez le bouton :
Réglez le délai avant l’arrêt
Appuyez sur , l’affichage apparaît.
PROGRAMMATION MARCHE DIFFERE Réglez le délai avant l’arrêt de la machine avec .
Appuyez sur , apparaît. l’affichage
PROGRAMMATION ARRET DIFFERE Coordonnées de l’installateur
Mettre en Marche l’appareil , Appuyez sur un bip retenti et le voyant vert OPERATION s’allume.
Si l’appareil est déjà allumé, passez à l’étape suivante : l’icône
Réglez l’heure de mise en marche de l’appareil Idem pour régler l’heure d’arrêt Votre minuterie est activée.
Choisissez la durée avec
Nota : Les possibilitées de veilles sont 30 min - 1h - 2h - 3h - 5h - 7h - 9h. Votre minuterie est activée. Annule toute programmation.
Réglez l’heure d’Arrêt
Réglez la température
Sélectionnez le mode de fonctionnement
Réglez l’heure de Marche
Sélectionnez un jour de la semaine (ou tous les jours)
Etapes de programmation :
) : Valider la sélection
Réglage automatique de la température
Réglage de la plage de la température de consigne
Réglage de la programmation hebdomadaire
Réglage du minuteur auto OFF MENU (accès administrateur : appui simultané sur
Réglage du mode économique
Réinitialisation de l’indication de filtre
Réglage de l’heure actuelle
Réglage du minuteur «ON»
Appuyez ensuite sur le bouton ENTER
Réglage de la direction du flux d’air
MENU (accès utilisateur : un appui sur le bouton menu)
SILENCE : Vitesse silencieuse.
PETITE : Petite vitesse
MOYEN : Moyenne vitesse.
Pour activer la fonction, appuyez sur les boutons ou
Sélectionnez la fonction
Programmation hebdomadaire
Boutons de navigation dans les menus et réglage de la température
GRANDE : Grande vitesse.
AUTO Choix de la vitesse du ventilateur :
: Chauffage (+16°C à +30°C).
: Déshumidification en mode FROID.
DESHU : Ventilateur.
: Climatisation (+18°C à +30°C).
: Choix automatique du mode CHAUD/FROID.
AUTO Choix des différents types de fonctionnement :
MODE DE FONCTIONNEMENT (MODE MARCHE / ARRÊT DE L’APPAREIL
Coordonnées de l’installateur
Cette notice résume les actions principales de votre télécommande, et vous donne une traduction française des différentes touches. Elle ne se substitue en aucun cas à la notice d’utilisation de votre climatiseur que vous devez conserver.
Notice d’utilisation simplifiée de
télécommande UTY-RLRY Gamme
AVERTISSEMENTS Eurovent Certification est un organisme indépendant qui test les climatiseurs et valide les performances annoncées par les fabricants. Notre partenaire Fujitsu participe au programme de certification EUROVENT des climatiseurs (Programme AC).
Cet appareil utilise le réfrigérant R410A Faire attention sur les points suivants : • Il faut utiliser des liaisons frigorifiques et des outils spéciaux pour des machines fonctionnant au R410A. • Les modèles utilisant du R410A ont un Schrader (pour charger et réaliser le tirage au vide) de diamètre différent. Pensez à vérifier vos flexibles avant de commencer l’installation. • Etre plus attentif qu’avec les autres modèles lors de l’installation, ne pas faire entrer dans les liaisons frigorifiques de l’eau, de l’huile et de la poussière. Pour le stockage des liaisons, vérifier que les extrémités soient bien bouchées. • Lors de la phase de charge en réfrigérant, toujours le faire en phase liquide. • La mise en service de ce climatiseur nécessite l’appel d’un installateur qualifié, possédant une attestation de capacité conformément aux articles R 543-75 à 123 du code de l’environnement et de ses arrêtés d’application. Ainsi que tout autre opération réalisée sur des équipements nécessitant la manipulation de fluides frigorifiques.
OUTILS SPECIAUX POUR R410A Détails
La pression est forte et ne peut être mesurée à l’aide de manomètres standards. Pour éviter de mélanger les différents fluides, les diamètres des différents ports ont changé. Il est recommandé d’utiliser un manifold avec des manomètres ayant une plage de mesure de -0.1 à 5.3 MPa (-1 à 53 bars )(HP) et de -0.1 à 3.8 MPa (-1 à 38 bars) (BP).
Pour augmenter la résistance à la pression, la taille et le matériel ont été changés.
Pompe à vide Détecteur de fuites
Il faut utiliser une pompe à vide adaptée (contenant de l’huile de synthèse POE). Il faut utiliser un détecteur de fuites dédié aux HFC.
II AVERTISSEMENT • Quand un appareil est installé ou déplacé, ne pas mélanger de gaz autre que le R410A.
II ATTENTION • Quand les liaisons frigorifiques installées sont inférieures à 3 m, le bruit de l’unité extérieure est transféré sur l’unité intérieure ce qui causera un bruit anormal.
II ATTENTION Cet appareil fait partie d’un ensemble constituant un climatiseur. Il ne peut être installé seul ou avec des éléments non autorisés par le constructeur. Lisez complètement les informations de sécurité ci-dessous avant d’installer ou d’utiliser le climatiseur.
Cet appareil ne renferme aucune pièce réparable par l’utilisateur. Confiez votre appareil à un centre de réparation agréé pour toute réparation. Ne mettez pas l’installation sous tension tant que les travaux de raccordement ne sont pas totalement terminés.
N’essayez pas d’installer le climatiseur ou un des éléments de celui-ci par vous-même.
Cet appareil doit obligatoirement être installé par du personnel qualifié possédant une attestation de capacité pour la manipulation des fluides frigorigènes. Référez-vous aux lois et règlements en vigueur sur le lieu d’installation.
L’installation doit être réalisée en respectant impérativement les normes en vigueur sur le lieu d’installation et les instructions d’installation du constructeur.
En cas de déménagement, faites appel à votre centre de réparation agréé pour le débranchement et l’installation de l’appareil.
Si du fluide frigorigène fuit lors de l’installation, ventilez la pièce. Si du fluide qui a fuit est directement exposé à des flammes, des gaz toxiques pourraient être produits.
Utilisez toujours une ligne d’alimentation indépendante protégée par un disjoncteur omnipolaire avec ouverture des contacts supérieures à 3 mm pour alimenter l’appareil. L’installation doit toujours être reliée à la terre et équipé d’un disjoncteur de protection des personnes contre les risques d’électrocution. Régime de neutre et câblage d’alimentation : Les appareils de climatisation Atlantic / Fujitsu sont prévus pour fonctionner avec les régimes de neutre suivants : TT et TN. Le régime de neutre IT ne convient pas pour ces appareils (utiliser un transformateur de séparation). Les alimentations monophasées sans neutre (entre phases) sont strictement à proscrire. En ce qui concerne les appareils triphasés, le neutre doit également toujours être distribué (TT ou TN). Il convient de surveiller les enfants pour s’assurer qu’ils ne jouent pas avec l’appareil.
Les appareils ne sont pas anti-déflagrants et ne doivent donc pas être installés en atmosphère explosible. Ne jamais toucher les composants électriques immédiatement après que l’alimentation ait été coupée. Un choc électrique peut se produire. Après la mise hors tension, toujours attendre 10 minutes avant de toucher aux composants électriques.
Cet appareil n’est pas prévu pour être utilisé par des personnes (y compris les enfants) dont les capacités physiques, sensorielles ou mentales sont réduites, ou des personnes dénuées d’expérience ou de connaissance, sauf si elles ont pu bénéficier par l’intermédiaire d’une personne responsable de leur sécurité, d’une surveillance ou d’instructions préalables concernant l’utilisation de l’appareil. Ces climatiseurs sont destinés à un usage résidentiel et tertiaire, pour assurer le confort thermique des utilisateurs. Ils ne sont pas destinés à être utilisés dans des lieux où l’humidité est excessive (fleuriste, serre d’intérieur, cave à vin …), où l’air ambiant est poussiéreux et où les interférences électromagnétiques sont importantes (salle informatique, proximité d’antenne de télévision ou relais).
3.1. Procédure d’installation 3.2. Installation de l’évacuation des condensats
4. CONFIGURATION DU SYSTÈME
4.1. Modèle AOYG 14 LAC2 4.2. Modèle AOYG 18 LAC2 4.3. Limitation des longueurs des liaisons frigorifiques 4.4. Comment utiliser l’adaptateur (sur le port de connexion de l’unité extérieure)
5. RACCORDEMENT DES LIAISONS FRIGORIFIQUES
5.1. Réalisation des évasements 5.2. Mise en forme des liaisons frigorifiques 5.3. Raccordement des liaisons frigorifiques
6. MISE EN SERVICE DE L’INSTALLATION
6.1. Test d’étanchéité (mise en pression des liaisons frigorifiques et de l’unité intérieure) 6.2. Tirage au vide des liaisons frigorifiques et de l’unité intérieure 6.3. Charge complémentaire (si nécessaire) 6.4. Mise en gaz de l’installation 6.5. Vérifications de l’absence de fuites sur le circuit 6.6. Essais de l’appareil 6.7. Fin de la mise en service
7. CÂBLAGE ÉLECTRIQUE
7.1. Caractéristiques de l’alimentation 7.2. Raccordements électriques 7.3. Connexion des câbles et fils électriques sur les borniers 7.4. Préparation des connexions électriques 7.5. Câblage de l’interconnexion et de l’alimentation sur l’unité extérieure
8. TEST DE FONCTIONNEMENT
8.1. Unité intérieure 8.2. Unité extérieure
1.1. Accessoires pour la pose de l’unité intérieure livrés avec l’appareil 1.2. Autres accessoires
3.1. Choix de la sortie pour le raccordement 3.2. Démontage du couvercle inférieur 3.3. Découpage des passages des liaisons 3.4. Installation du couvercle inférieur 3.5. Mise en place du support mural
4. MISE EN PLACE DES LIAISONS FRIGORIFIQUES ET DU TUYAU D’ÉVACUATION
4.1. Percements en vue de la mise en place des liaisons frigorifiques 4.2. Mise en place du tuyau d’évacuation des condensats et des liaisons frigorifiques 4.3. Mise en place du bouchon et du tuyau d’évacuation des condensats 4.4. Mise en forme des liaisons frigorifiques
5. CÂBLAGE ÉLECTRIQUE
5.1. Schéma de câblage 5.2. Câblage de l’interconnexion sur l’unité intérieure
7.1. Démontage et remontage de la grille d’entrée d’air 7.2. Démontage et remontage du panneau de façade
1.1. Accessoires pour la pose de l’unité intérieure 1.2. Option
3.1. Choix de la sortie pour le raccordement 3.2. Comment préparer le passage de la tuyauterie ? 3.3. Mise en place du support mural
4. MISE EN PLACE DES LIAISONS FRIGORIFIQUES ET DU TUYAU D’ÉVACUATION
4.1. Mise en place du tuyau d’évacuation des condensats et des liaisons frigorifiques 4.2. Mise en place du bouchon et du tuyau d’évacuation des condensats 4.3. Mise en place de l’unité intérieure
5. CÂBLAGE ÉLECTRIQUE
5.1. Schéma de câblage 5.2. Câblage de l’interconnexion sur l’unité intérieure
7.1. Démontage et remontage de la grille d’entrée d’air 7.2. Démontage et remontage du panneau de façade
1.2. Accessoires pour le montage de la façade 1.3. Autres accessoires
10.1. Positionnement pour l’ancrage des boulons 10.2. Fixation du corps de l’unité intérieure
11. INSTALLATION DU TUYAU D’ÉVACUATION DES CONDENSATS
11.1. Généralités 11.2. Installation 11.3. Isolation calorifique des raccords frigorifiques
12. CÂBLAGE DE L’INTERCONNEXION SUR L’UNITÉ INTÉRIEURE
12.1. Schéma de câblage 12.2. Câblage de l’interconnexion sur l’unité intérieure
13. MONTAGE DE LA FAÇADE (UTG-UFYD-W)
13.1. Sélection des voies de soufflage (facultatif) 13.2. Retirez la grille de reprise 13.3. Mise en place de la façade sur le corps de l’appareil 13.4. Montage de la grille de reprise d’air
CASSETTES AUYG 7 9 12 LVL ET AUYG 12 LVLBB (COMPATIBLE UNIQUEMENT AVEC AOYG 18 LAC2) 1. ACCESSOIRES
1.1. Accessoires pour la pose de l’unité intérieure livrés avec l’appareil 1.2. Procédure de démontage de la grille de reprise d’air
1.1. Accessoires pour la pose de l’unité intérieure livrés avec l’appareil 1.2. Autres accessoires
3.1. Installation du support mural 3.2. Comment préparez le passage des liaisons 3.3. Passage du tuyau d’évacuation des condensats 3.4. Installation de l’unité intérieure 3.5. Encastrer l’unité intérieure 3.6. Retrait et installation des panneaux droit et gauche 3.7. Câblage de l’interconnexion sur l’unité intérieure
5.1. Avant l’installation de la télécommande filaire 5.2. Modification du câble de la télécommande filaire 5.3. Modification du contact entrée/sortie externe 5.4. Démontage du couvercle du boîtier électrique 5.5. Connexion des câbles sur la carte électronique
1.1. Accessoires pour la pose de l’unité intérieure 1.2. Autres accessoires
3.1. Dimensions de l’installation 3.2. Installation de l’unité intérieure
4. INSTALLATION DE L’UNITÉ AU SOL
4.1. Dimensions de l’installation 4.2. Installation de l’unité intérieure 4.3. Installation de l’isolation calorifique
6.1. Schéma de câblage 6.2. Câblage de l’interconnexion sur l’unité intérieure
7. PARAMÉTRAGE DES PONTS
7.1. Paramétrage de la fonction d’évacuation des condensats (JM1) 7.2. Paramétrage de la fonction temporisation du ventilateur (JM3)
8. ACCESSOIRES EN OPTION
8.1. Contacts entrée/sortie externe 8.2. Sonde déportée 8.3. Télécommande et récepteur infrarouge UTY-LRHYM 8.4. Grille intelligente (UTD-GSXA-W en option) 8.5. Fixation de tous les câbles
MICRO-GAINABLES ARYG 07 09 12 LSL (COMPATIBLE UNIQUEMENT AVEC AOYG 18 LAC2) 1. ACCESSOIRES
1.1. Accessoires pour la pose de l’unité intérieure 1.2. Accessoires en option
3.1. Dimensions de l’installation 3.2. Installation de l’unité intérieure
4. INSTALLATION DES LIAISONS FRIGORIFIQUES
4.1. Choix des liaisons 4.2. Exigences pour les liaisons 4.3. Raccordement des liaisons 4.4. Installation de l’isolation calorifique
5. INSTALLATION DU TUYAU D’ÉVACUATION DES CONDENSATS
5.1. Méthode d’installation 5.2. Finition
6. CÂBLAGE ÉLECTRIQUE
6.1. Schéma de câblage 6.2. Préparation des connexions électriques 6.3. Procédure de câblage
7.1. Contacts entrée/sortie externe 7.2. Sonde déportée 7.3. Récepteur infrarouge 7.4. Grille intelligente 7.5. Fixation des câbles des options 7.6. Micro-interrupteur DIP 101
8. TEST DE FONCTIONNEMENT (TEST RUN)
8.1. Vérification avant l’essai de fonctionnement
TÉLÉCOMMANDES 1. TÉLÉCOMMANDE INFRAROUGE
1.1. Accessoires 1.2. Télécommande infrarouge optionnelle 1.3. Mise en place des piles 1.4. Installation 1.5. Paramétrage de la télécommande 1.6. Codage de la télécommande
2. TÉLÉCOMMANDES FILAIRES
2.1. Accessoires 2.2. Télécommandes filaires optionnelles 2.3. Installation de la télécommande AR-WAE1E 2.4. Installation de la télécommande UTY-RLRY
3. FONCTIONS ET PARAMÈTRES À RÉGLER
AVERTISSEMENTS GÉNÉRALITÉS Alimentation :
Le climatiseur sera toujours alimenté par une ligne spéciale protégée en tête par un disjoncteur omnipolaire avec ouverture des contacts supérieures à 3 mm dont le calibre est indiqué ci-dessous.
• Sur cette famille d’appareils, l’alimentation se fait sur l’unité extérieure pour les unités intérieures. • Bien vérifier la référence de l’appareil avant de commencer les travaux de connexion électrique.
Le respect des normes en vigueur et en particulier de la NF C 15-100 est impératif.
• Calibre des protections à utiliser en tête de ligne d’alimentation et sections de câbles conseillées (Tableau 1).
Nota : Les sections ci-dessous sont données à titre indicatif. Dans tous les cas, il appartient à «l’homme de l’art» de vérifier la conformité de son installation.
UNITÉS EXTÉRIEURES Tableau 1
Câble d’alimentation
Câble d’interconnexion
Calibre disjoncteur 16 A
Puissance absorbée (Mode froid)
1 090 W AOYG 18 LAC2
1 560 W Diamètre des liaisons Liquide
Câble d’alimentation
Câble d’interconnexion
ASYG 7 LU ASYG 9 LU ASYG 12 LU Sur l’unité extérieure
5 400 W Diamètre des liaisons Liquide
Gaz 9,52 mm 3/8 " 12,70 mm 1/2"
* compatible uniquement avec l’AOYG 18 LAC2.
Câble d’alimentation
Câble d’interconnexion
Puissance nominale Frigorifique
5 000 W ASYG 12 LMCE Sur l’unité extérieure
Diamètre des liaisons Liquide
Gaz 9,52 mm 3/8" 12,70 mm 1/2"
* compatible uniquement avec l’AOYG 18 LAC2. Cassettes 600 X 600 Tableau 5
Câble d’alimentation
Puissance nominale Câble d’interconnexion Frigorifique Calorifique
AUYG 7 LVL* AUYG 9 LVL* AUYG 12 LVL* / AUYG 12 LVLBB*
Sur l’unité extérieure
3 960 W Diamètre des liaisons Liquide
* compatible uniquement avec l’AOYG 18 LAC2. Consoles
Appareils AGYG 9 LVC* AGYG 12 LVC*
Câble d’alimentation
Câble d’interconnexion
Sur l’unité extérieure
* compatible uniquement avec l’AOYG 18 LAC2.
Diamètre des liaisons
Câble Câble d’alimentation d’interconnexion
Appareils ARYG 7 LLT*
Sur l’unité extérieure
4 000 W Diamètre des liaisons Liquide
* compatible uniquement avec l’AOYG 18 LAC2. Micro Gainables Tableau 8
Câble d’alimentation
Câble d’interconnexion
ARYG 07 LSL ARYG 09 LSL Sur l’unité extérieure
Diamètre des liaisons Liquide
* compatible uniquement avec l’AOYG 18 LAC2.
AVERTISSEMENTS TOUTES LES UNITÉS Liaisons frigorifiques : • Utilisez exclusivement du tube spécifique pour utilisation frigorifique : - cuivre recuit à forte teneur en cuivre (99% minimum), - poli intérieurement, - déshydraté, - bouchonné. Epaisseur - minimum 0,8 mm - maximum 1,0 mm
Résistance à la pression : 50 bars minimum • Des liaisons frigorifiques de ce type sont disponibles en tant qu’accessoires ATLANTIC Climatisation et Ventilation. • N’utilisez pas de pâte bleue ou d’étanchéité pour les liaisons frigorifiques car elle les obstrue. Son utilisation entraînera la mise hors garantie de l’appareil. Nota : L’unité extérieure peut être installée au-dessus ou audessous de l’unité intérieure. Ne dépassez pas les longueurs de tuyaux indiquées dans le tableau ci-dessous.
Longueur par unité intérieure Maxi.
Longueur totale maxi.
De longueur mini. à longueur standard : Pas de charge complémentaire requise. De longueur standard à longueur maxi. : Charge complémentaire requise.
Plage de fonctionnement : Mode de fonctionnement
Température air ambiant (unité intérieure)*
Température air extérieur (unité extérieure)*
AVERTISSEMENTS CHOIX DE L’EMPLACEMENT DES UNITÉS Le choix de l’emplacement est une chose particulièrement importante, car un déplacement ultérieur est une opération délicate, à mener par du personnel qualifié. Décidez de l’emplacement de l’installation après discussion avec le client.
II AVERTISSEMENT • Assurez-vous que les murs pourront supporter le poids tant de l’unité intérieure que de l’unité extérieure, pour éviter leurs chutes et des blessures éventuelles.
II ATTENTION Fig. 1*
1 m ou plus Commutateur et disjoncteur
Commutateur et disjonteur
• Assurez-vous d’avoir correctement fixez l’unité extérieure pour qu’elle résiste aux tremblements de terre, typhons ou autres vents violents.
* Exemple donné pour une installation avec un appareil de type cassette.
• Ne pas installer l’unité extérieure prés de la rambarde d’un balcon, afin qu’un enfant ne puisse grimper dessus et basculer dans le vide.
• Si des enfants de moins de 10 ans peuvent approcher des unités, prenez toutes les mesures nécessaires pour qu’ils ne puissent toucher à celles-ci.
II ATTENTION Ne pas installer l’unité intérieure ou extérieure dans les lieux suivants : • Les bords de mers, où la forte concentration de sel peut détériorer les parties métalliques provoquant des chutes de pièces ou des fuites d’eau provenant des unités. • Une pièce contenant de l’huile minérale et sujette aux projections d’huile ou de vapeur (une cuisine par exemple). Cela pourrait détériorer les parties plastiques et provoquerait la chute de pièces ou des fuites d’eau provenant des unités. • Lieu de production de substances qui compromettent l’équipement, tel que le gaz sulfurique, le gaz de chlore, l’acide, ou l’alcali. Il fera corroder les tuyaux de cuivre et les joints causant la fuite de liquide réfrigérant. • Une zone où on produit de l’ammoniaque et où des animaux peuvent uriner sur l’unité extérieure. • Un endroit avec des fuites de gaz combustible, contenant les fibres de carbone ou des poussières inflammables en suspension, ou des particules volatiles inflammables tels que du diluant pour peinture ou de l’essence. Si le gaz fuit et se répand autour de l’unité, il peut s’enflammer. • Installez l’unité intérieure, l’unité extérieure, les câbles d’alimentation, les câbles d’interconnexion et les câbles de la télécommande au minimum à 1 m d’une télévision ou d’un récepteur radio. Cette précaution est destinée à éviter les interférences sur le signal de réception de la télévision ou du bruit sur le signal radio (Cependant, même à plus d’1 m les signaux peuvent être encore perturbé).
• L’unité extérieure ne doit pas être installée penchée de plus de 3°. • Ne pas installer l’unité extérieure à proximité d’équipement générant des interférences électromagnétiques. Cela provoquera des dysfonctionnements du système de commande et de maintenance. • Ne pas installer dans une zone habitée par de petits animaux susceptibles d’être à l’origine de pannes ou d’incendie, s’ils sont en contact avec des parties électriques dans l’appareil. • L’emplacement doit être bien ventilé, à l’abri de la pluie et des rayons du soleil. • Si l’unité extérieure est installée à proximité du public, installez une barrière protectrice ou un équivalent pour empêcher l’accès. • Choisissez un emplacement loin des échappements de gaz de refoulement, de suie, de poussière, ou de débris. • Soyez attentif à ne pas gêner votre voisinage avec le souffle de la sortie d’air, le bruit ou les vibrations de l’unité. Si l’unité doit être installé à proximité de vos voisins veillez à obtenir leurs accords. • Prenez les mesures appropriées dans les régions froides pour protéger l’unité de l’accumulation de neige, des chutes de neige, ou du gèle. Pour assurer un fonctionnement normal, installez des gaines d’entrée et de sortie. • Prévoyez suffisamment d’espace autour des tuyaux (gaz et liquide) lors du transport, de l’installation, de la maintenance et pour l’accès. • Prévoyez le même espace pour la reprise d’air à l’arrière de l’unité extérieure que ceux indiqués dans les Fig. 2 à Fig. 5.
Pour l’installation de l’évacuation des condensats de l’unité extérieure
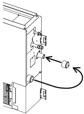
Adaptateur 9,52 mm → 12,7 mm
Pour la connexion des unités intérieures de taille 14 sur les ports de connexion de l’unité extérieure A ou B. (Modèle AOYG 18 LAC2 uniquement)
2. CHOIX DE L’EMPLACEMENT DE L’UNITÉ EXTÉRIEURE II ATTENTION • Assurez-vous que les murs ou plafonds pourront supporter le poids tant de l’unité intérieure que de l’unité extérieure.
II AVERTISSEMENT • N’installez jamais ces appareils à un endroit où des fuites de gaz ou de combustibles gazeux pourraient advenir (ces appareils ne sont pas antidéflagrants). • N’installez pas ces appareils près de sources de chaleur. • Si des enfants de moins de 10 ans peuvent approcher des unités, prenez toutes les mesures nécessaires pour qu’ils n’y touchent pas.
II ATTENTION • L’unité extérieure ne doit pas être installée penchée de plus de 3°. • Fixez solidement l’unité extérieure, si elle est exposée à des vents forts. • Veillez à bien installer les manchons isolants sur les liaisons liquide et gaz afin d’éviter les fuites des condensats. • Pour les modèles réversibles, utilisez des manchons résistants à une température de + de 120°C. • En complément, si le passage des liaisons frigorifiques se trouve dans un endroit où l’humidité excède 70 %, protégez-les avec un manchon isolant. Si l’humidité atteint 80 %, utilisez des manchons d’une épaisseur d’au moins 15 mm et des manchons d’une épaisseur de 20 mm au moins si l’humidité dépasse 80%. • Si l’isolation est imparfaite, de la condensation se formera à la surface des manchons. • Les manchons seront d’une résistance calorifique correspondant à une conductibilité de 0,045 W (m.K), ou moins (à 20°C).
1. Installez l’unité extérieure à un endroit capable de supporter son poids et qui ne propage pas les vibrations, et où elle pourra être installée horizontalement. 2. Assurez-vous d’avoir l’espace indiqué afin d’assurer une bonne circulation de l’air. 3. Si possible, n’installez pas l’unité face aux rayons directs du soleil. 4. N’installez pas l’unité à proximité d’une source de chaleur, de vapeur ou de gaz inflammables. 5. Durant le fonctionnement en mode chaud, de l’eau de condensation s’écoule de l’unité extérieure. Veillez à prendre toutes les mesures nécessaires pour que cette eau s’écoule sans encombre et sans provoquer de dommages aux bâtiments. En particulier, si l’appareil est simplement posé au sol, le simple fait de le surélever légèrement (8 cm minimum) permet un bon écoulement. 6. N’installez pas l’unité à un endroit exposé à des vents forts ou à de la poussière. 7. N’installez pas l’unité dans un endroit de passage. 8. Evitez d’installer l’unité extérieure à un emplacement où elle risque d’être soumise à des salissures ou à des écoulements importants d’eau (par exemple sous un chéneau défectueux). 9. Pensez à vérifier si le passage des liaisons vers les unités intérieures est possible et aisé.
INSTALLATION DE L’UNITÉ EXTÉRIEURE Fig. 5 - Obstacle derrière, sur une installation de plusieurs unités
Fig. 2 - Obstacle derrière l’unité
Fig. 3 - Obstacles derrière et en face de l’unité Déplacement de l’unité extérieure
• Ne pas toucher les ailettes, vous pourriez vous blesser.
• Portez l’unité extérieure avec précaution, en la tenant par les poignées droite et gauche. Si vous portez l’unité par le couvercle, vous pouvez vous pincer les mains et les doigts. • Assurez-vous de prendre les poignées sur les côtés de l’unité pour ne pas déformer la grille d’aspiration. Fig. 6
Fig. 4 - Obstacles derrière, sur un des côtés et audessus de l’unité
Si les obstacles sont plus éloignés, considérez qu’il n’y en a pas. 21
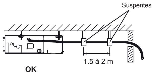
INSTALLATION DE L’UNITÉ EXTÉRIEURE 3.2. Installation de l’évacuation des condensats
3. INSTALLATION DE L’UNITÉ EXTÉRIEURE 3.1. Procédure d’installation
II ATTENTION • Effectuez l’installation d’évacuation des condensats selon la notice, et assurez-vous qu’ils s’écoulent correctement. Si l’installation n’est pas menée à bien, l’eau peut s’égoutter vers le bas depuis l’unité.
• Fixez les 4 boulons d’ancrages à l’emplacement indiqué par les flèches (Fig. 7). • Ne pas installer l’unité directement sur le sol. Vérifiez que l’emplacement choisi pour l’installation est à même de supporter son poids. • Les fondations devront supporter les berceaux de l’unité extérieure et avoir une épaisseur totale de 50 mm ou plus. • Selon les conditions d’installation l’unité extérieure, des vibrations peuvent se propager pendant le fonctionnement provoquant par exemple du bruit. Aussi, vous pouvez fixer au moment de l’installation des produits pour amortir le bruit (exemple : supports antivibratiles - accessoires climatisation). • Assurez-vous lors de la pose des fondations d’avoir suffisamment d’espace pour installer les raccordements frigorifiques. • Fixez solidement l’unité extérieure aux fondations (utilisez un jeu (non fourni) comprenant des boulons M10, des écrous et des rondelles). • Les boulons devront dépasser de 20 mm.
• Dans les régions froides, n’utilisez pas la sortie de condensats : l’eau qui s’écoule peut prendre en glace dans le tube par temps très froid. De plus, les orifices de l’embase de l’unité extérieure ne devront jamais être bouchés. Dans certains cas, il peut être nécessaire de prévoir une résistance antigel pour l’écoulement. • Sur les appareils réversibles, de l’eau de condensation s’écoule pendant l’utilisation en mode chauffage. Dans ce cas, raccordez l’écoulement des condensats à un tuyau PVC de 16 mm de diamètre, en prenant toutes les précautions pour éviter la prise en glace de l’évacuation. • Lorsque la sortie des condensats est raccordée, bouchez les orifices inutilisés à la base de l’unité extérieure avec les bouchons en caoutchouc et finissez avec du mastic afin d’éviter tout risque de fuite. Fig. 9
Emplacement du tuyau d'évacuation des condensats
Emplacement du tuyau d'évacuation des condensats
Fixez fermement avec des boulons sur un bloc solide. (Utilisez 4 ensembles boulon, écrou et rondelle M10 non fournis.)
Tuyau d'évacuation des condensats
INSTALLATION DE L’UNITÉ EXTÉRIEURE 4.2. Modèle AOYG 18 LAC2
4. CONFIGURATION DU SYSTÈME Fig. 13
4.1. Modèle AOYG 14 LAC2
Fig. 11 Alimentation 230 V ~ 50 Hz
Câble d'alimentation
Câble d'alimentation
• La puissance totale des unités intérieures raccordées doit être comprise entre 14 000 et 21 000 BTU. • Veillez à bien vérifier la disposition des raccordements dans le Dossier technique car la disposition des raccordements y est spécifiée. Le fonctionnement ne peut pas être garanti si l’appareil est raccordé suivant une méthode qui n’y est pas spécifiée. Ceci peut provoquer la défaillance du produit. • Veillez à effectuer le raccordement à la fois sur l’unité intérieure et sur l’unité extérieure. Pour installer une unité intérieure, reportez-vous aux explications du paragraphe de l’unité intérieure choisie.
II ATTENTION • La puissance totale des unités intérieures raccordées doit être comprise entre 14 000 et 24 000 BTU. • Veillez à bien vérifier la disposition des raccordements dans le Dossier technique car la disposition des raccordements y est spécifiée. Le fonctionnement ne peut pas être garanti si l’appareil est raccordé suivant une méthode qui n’y est pas spécifiée. Ceci peut provoquer la défaillance du produit. • Veillez à effectuer le raccordement à la fois sur l’unité intérieure et sur l’unité extérieure. Pour installer une unité intérieure, reportez-vous aux explications du paragraphe de l’unité intérieure choisie. Port de connexion de Modèles d’unités intérieures l’unité extérieure connectables
Port de connexion de Modèles d’unités intérieures l’unité extérieure connectables A
* Quand vous raccordez les unités intérieures de taille 14 à l’unité extérieure, l’adaptateur fourni est nécessaire. (Pour de plus amples informations, reportez-vous au § 4.4. Comment utiliser l’adaptateur.) Fig. 14
UNITÉ B ø6,35, ø9,52 UNITÉ A ø6,35, ø9,52
INSTALLATION DE L’UNITÉ EXTÉRIEURE 4.3. Limitation des longueurs des liaisons frigorifiques
• Appliquez de l’huile frigorifique sur le filetage du port de connexion de l’unité extérieure qui reçoit l’écrou flare.
• La longueur maximale des connexions est donnée dans le Tableau 10.
• Utilisez des clés appropriées pour éviter d’abîmer les filetages des connexions en serrant trop fortement l’écrou flare.
• Si l’éloignement des unités intérieures et extérieure est plus important que celui mentionné ci-dessous, l’installation ne peut être garantie.
• Utilisez des clés en même temps sur l’écrou flare (non fourni) et l’adaptateur pour les serrez. Tableau 12
Total de la longueur maximum (a+b)
Longueur maximum pour chaque unité intérieure (A ou B)
9,52 mm (3/8")12,70 mm (1/2")
Longueur minimum pour chaque unité intérieure (A ou B)
Hauteur de dénivelé maximum entre unité extérieure et unité intérieure (H1)
Hauteur de dénivelé maximum entre unités intérieures (H2)
Longueur total minimum (a+b)
II ATTENTION Si la longueur totale des liaisons dépasse 20m, il est nécessaire d’ajouter une charge de complémentaire de fluide frigorifique. (voir paragraphe 6.3 Charge complémentaire) Tableau 11
Puissance des unités int.
ø des liaisons liquide* 6,35 mm - 1/4"
* épaisseur de 0,8 mm. ** Utilisé l’adaptateur fourni.
II ATTENTION Le fonctionnement de l’installation ne peut être garanti si les combinaisons de taille, longueur, épaisseur des liaisons et connexions aux vannes mentionnées ci-dessus ne sont pas respectées. 4.4. Comment utiliser l’adaptateur (sur le port de connexion de l’unité extérieure) • Lors de l’utilisation de l’adaptateur, faites attention à ne pas trop serrez les écrous, ou la plus petite liaison peut être endommagée.
5. RACCORDEMENT DES LIAISONS FRIGORIFIQUES II ATTENTION • N’utilisez pas de pâte bleu ou d’étanchéité pour les liaisons frigorifiques car elle les obstrue. Son utilisation entraînera la mise hors garantie de l’appareil. • N’utilisez pas d’huile minérale ordinaire sur les raccords “Flare”. • Utilisez de l’huile frigorifique POE en évitant au maximum qu’elle ne pénètre dans le circuit, au risque de réduire la longévité du matériel. • N’utilisez pas une liaison usagée, mais un tube neuf de qualité frigorifique (voir page 18). • Utilisez de l’azote sec pour chasser la limaille dans les tuyaux et pour éviter l’introduction d’humidité nuisible au fonctionnement de l’appareil. 5.1. Réalisation des évasements 1. Coupez les liaisons avec un coupe-tube sans les déformer à la longueur adéquate. 2. Ebavurez soigneusement en tenant la liaison vers le bas pour éviter l’introduction de limaille dans cette dernière. 3. Récupérez les écrous “Flare” sur l’unité intérieure et l’unité extérieure. 4. Enfilez les écrous sur les tubes avant évasement. 5. Procédez à l’évasement en laissant dépasser la liaison de la côte “A” de la matrice de la dudgeonnière (Fig. 15 et Tableau 13). 6. Après évasement, vérifiez l’état de la portée. Celle-ci ne doit présenter aucune rayure ou amorce de rupture. Vérifiez également la côte “L”. (Fig. 17)
INSTALLATION DE L’UNITÉ EXTÉRIEURE Fig. 15
Les liaisons seront mises en forme exclusivement à la cintreuse ou au ressort de cintrage afin d’éviter tout risque d’écrasement ou de rupture.
• Ne cintrez pas le cuivre à un angle de plus de 90°. • Pour pouvoir cintrer correctement les liaisons à la cintreuse, n’hésitez pas à les dégager de leur isolant dans le cas contraire il y a risque d’écrasement. • Après cintrage, refermez l’isolant avec de la colle Néoprène et assemblez avec du ruban adhésif.
Vérifiez si (L) est évasé correctement et s'il n'est ni craquelé, ni rayé.
5.3. Raccordement des liaisons frigorifiques
II ATTENTION • Soignez particulièrement le positionnement du tube face à son raccord. Si la liaison est mal alignée, le serrage à la main est impossible et le filetage risque d’être endommagé. Tableau 13
Diamètre des liaisons
• Ne retirez les bouchons des liaisons et des robinets que lorsque vous êtes sur le point d’effectuer le branchement ! • Utilisez toujours 2 clés pour le serrage afin de bien visser les écrous Flare dans l’axe du tuyau. • La petite liaison doit toujours être raccordée avant la grosse. • Utilisez une clé dynamométrique comme spécifiée. Sinon les écrous flare pourraient se briser après un certain temps, provoquant des fuites de fluide et générant des gaz dangereux au contact d’une flamme. • Après raccordement, assurez-vous que les tuyaux ne touchent pas le compresseur ou le panneau externe. Sinon elles vibreront et produiront du bruit.
Diamètre des liaisons
Largeur de l’écrou flare
Retirez les bouchons des liaisons frigorifiques.
Après avoir correctement positionné les raccords face à face, serrez les écrous à la main jusqu’au contact et finissez à la clé dynamométrique (Fig. 18) selon les couples indiqués dans le Tableau 15.
5.2. Mise en forme des liaisons frigorifiques
• Pour une meilleure étanchéité effectuer un double serrage (serrez une fois au couple puis déserrez puis resserez de nouveau au couple).
II ATTENTION • Ne cintrez pas les liaisons avec un rayon de courbure de moins de 100 mm. • Ne cintrez jamais plus de trois fois la liaison au même endroit sous peine de voir apparaître des amorces de rupture (écrouissage du métal).
INSTALLATION DE L’UNITÉ EXTÉRIEURE
6. MISE EN SERVICE DE L’INSTALLATION Fig. 19
II ATTENTION • Cette opération est effectuée par un professionnel qualifié possédant une attestation de capacité conformément au code de l’environnement. • L’utilisation d’une pompe à vide est impératif. Liaison frigorifique (Liquide) Vanne 2 voies (Liquide)
Unité B Vanne 3 voies (Gaz) Raccord Flare
Unité A Raccord Flare Liaison frigorifique (Gaz)
• Utilisez une pompe à vide, des manomètres et des flexibles n’ayant servi exclusivement qu’avec du réfrigérant R410A afin de ne pas endommager l’installation. • L’unité extérieure ne contient pas de réfrigérant supplémentaire pouvant servir à purger l’installation ou à contrôler les fuites. • Une charge complémentaire est éventuellement nécessaire (voir conditions).
• Afin de ne pas déformer le panneau externe, positionnez les éléments principaux avec une clé et serrez avec une clé dynamométrique. • Ne pas prendre appuie sur le bouchon aveugle au risque de causer une fuite.
NB : L’utilisation de flexibles avec vannes ¼ de tour facilite les manipulations lors de la mise en service (pas de purge des flexibles car possibilité de les tirer au vide et de les isoler). Les vannes sont à positionner à l’opposé du jeu de manomètres.
6.1. Test d’étanchéité (mise en pression des liaisons frigorifiques et de l’unité intérieure) Clé de maintien
1. Retirez le capuchon de protection de l’orifice de charge (Schrader) situé sur la vanne «gaz» (grosse) et raccordez dessus le flexible bleu (coté muni d’un poussoir de valve en bon état), l’autre coté du flexible bleu étant relié au robinet bleu du manomètre BP.
Diamètre des écrous flare
2. Raccordez le flexible jaune sur une bouteille d’azote munie de son détendeur, l’autre coté du flexible jaune étant relié à la voie centrale du jeu de manomètres. S’assurer que les robinets rouge du manomètre HP et bleu du BP sont fermés. 3. Ouvrez le robinet de la bouteille d’azote, régler son détendeur à une pression de sortie d’environ 10 à 15 bars puis ouvrez le robinet bleu du manomètre BP pour obtenir la pression désirée dans les liaisons frigorifiques et dans l’unité intérieure. Fermez le robinet de la bouteille d’azote. 4. Contrôlez l’étanchéité du circuit en appliquant une solution savonneuse sur les raccords coté unité intérieure et coté unité extérieure (plus sur les éventuelles brasures réalisées sur les liaisons frigorifiques). Vérifier que la pression indiquée par le manomètre BP ne baisse pas.
INSTALLATION DE L’UNITÉ EXTÉRIEURE 6.2. Tirage au vide des liaisons frigorifiques et de l’unité intérieure 1. Purgez l’azote du circuit en ouvrant le robinet rouge du manomètre HP (revenir à la pression atmosphérique), débrancher la bouteille d’azote et refermer les robinets des manomètres BP et HP. 2. Remplacez la bouteille d’azote par la pompe à vide. Fig. 21 Jeu de manomètres
LO HI Pompe à tirage au vide
La première chose à faire est de déterminer la quantité de R410A à charger. Cette opération est à effectuer par un spécialiste agréé uniquement. Tableau 16 Longueur des liaisons frigorifiques
La charge doit être exécutée comme suit : 1. Remplacez la pompe à vide par une bouteille de R410A (charge en phase liquide). 2. Ouvrez le robinet de la bouteille. 3. Ouvrez prudemment et légèrement le robinet bleu du manomètre BP et surveiller la valeur affichée par la balance.
N.B. : Possibilité d’intercaler un vacuomètre entre la pompe à vide et le jeu de manomètres pour plus de précision (nécessite un 2ème flexible). 3. Mettez la pompe à vide en fonctionnement, ouvrir le robinet bleu du manomètre BP et attendre que le vide dans le circuit descende en dessous de 0,01 bar (10 mbar). Laisser la pompe à vide fonctionner encore 15 minutes minimum. 4. Vérifiez la tenue du vide en fermant le robinet bleu du manomètre BP, en arrêtant la pompe à vide et en ne débranchant aucun flexible. Au bout d’une dizaine de minutes, la pression ne doit pas avoir remonté sinon rechercher la fuite et recommencer le tirage au vide au début. 5. Reprenez le tirage au vide pendant le temps nécessaire. Fermer le robinet bleu du manomètre BP puis arrêter et débrancher la pompe à vide. 6.3. Charge complémentaire (si nécessaire)
4. Dès que la valeur affichée correspond à la valeur calculée, fermez le robinet bleu du manomètre BP puis celui de la bouteille de fluide sans débrancher aucun flexible. N.B. : Si la charge complémentaire n’a pas pu être atteinte (pression trop basse dans la bouteille), il sera nécessaire de poursuivre l’opération, installation en fonctionnement, (en FROID et en mode TEST) et en ouvrant doucement le robinet du manomètre BP pour éviter un afflux soudain de fluide à l’état liquide à l’aspiration du compresseur. 6.4. Mise en gaz de l’installation Retirez les capuchons d’accès aux commandes des vannes de l’unité extérieure et les ouvrir à fond (sens anti-horaire) avec une clé Allen de 4 mm sans forcer sur la butée et en commençant par la vanne «liquide» (petite). Fig. 22 Flexible de service avec un obus de vanne Port de charge Bouchon aveugle
L’unité extérieure est préalablement chargée avec 1.200 kg de R410A pour le modèle 14 et 1.300 kg de R410A pour le modèle 18. Le Tableau 16 permet de déterminer rapidement la charge complémentaire de R410A à introduire, en fonction de la longueur de la liaison frigorifique.
Port de charge Vanne 3 voies
Utilisez une clé Allen de 4 mm de côté
INSTALLATION DE L’UNITÉ EXTÉRIEURE 6.5. Vérifications de l’absence de fuites sur le circuit Une fois l’installation mise en gaz comme décrit précédemment, vérifier avec un détecteur de gaz halogéné électronique, les raccords et les éventuelles brasures sur les liaisons frigorifiques (si les dudgeons ainsi que les étapes 6.1 et 6.2 ont été correctement réalisés, il ne doit pas y avoir de fuite à cette étape). 6.6. Essais de l’appareil Mettez l’appareil en FROID et en mode TEST puis procéder aux essais et mesures nécessaires. Mettez ensuite l’appareil en CHAUD et en mode TEST puis procéder aux essais et mesures nécessaires. 6.7. Fin de la mise en service Remettez l’appareil en FROID et en mode TEST. Procéder au rapatriement du fluide frigorifique dans l’unité extérieure (PUMP DOWN) pour pouvoir débrancher le flexible bleu et éventuellement la bouteille de fluide sans fuite de fluide frigorifique (dans ce cas, laisser ouvert le robinet du manomètre BP). Arrêtez l’installation en prenant soin que la pression ne descende pas en dessous de 0bar , puis débrancher le flexible bleu. Réouvrez les vannes de l’unité extérieure en commençant par la vanne "liquide" (petite). Remettez en place les capuchons des vannes et de la prise de pression (Schrader) et les resserrer à la clé selon les couples de serrage indiqués. Remettez l’installation en fonctionnement. Donner les explications et laisser les documents nécessaires au client.
6,35 mm (1/4") 9,52 mm (3/8")
Couple de serrage 20 à 25 N●m
Bouchon du port de charge
7.1. Caractéristiques de l’alimentation L’alimentation sera prévue dans le respect des normes en vigueur et en particulier de la NF C 15-100. L’appareil doit être alimenté par une ligne spéciale protégée en tête par un disjoncteur omnipolaire d’ouverture minimale entre contacts de 3 mm. Le câble utilisé sera de type H07RNF. Une protection différentielle de 30 mA sera par ailleurs prévue. • Dans tous les cas, le respect de la norme française NF C 15-100 est impératif. • N’utilisez jamais de prise de courant pour l’alimentation. • Cet appareil est prévu pour fonctionner sous une tension nominale de 230 Volts 50Hz. • A aucun moment (y compris lors des phases de démarrage), la tension ne doit passer en dessous de 198 V ou au-dessus de 264 V aux bornes de l’appareil. VOIR EN PAGE 11 LES SECTIONS DE CÂBLE. Les sections de câble sont données à titre indicatif. Il y a lieu pour l’installateur, qui est dans tous les cas ″l’homme de l’art″, de vérifier qu’elles correspondent aux besoins et aux normes en vigueur. Schémas de liaison à la Terre et câblage d’alimentation : Les appareils de climatisation Atlantic / Fujitsu sont prévus pour fonctionner avec les schémas de liaison à la Terre (régimes de neutre) suivants : TT et TN. Le schéma de liaison IT ne convient pas pour ces appareils (utiliser un transformateur de séparation). Les alimentations monophasées sans neutre (entre phases) sont strictement à proscrire. En ce qui concerne les appareils triphasés, le neutre doit également toujours être distribué (TT ou TN). 7.2. Raccordements électriques
Diamètre des bouchons aveugles
7. CÂBLAGE ÉLECTRIQUE
II AVERTISSEMENT • Le contrat souscrit pour l’alimentation doit pouvoir couvrir non seulement la puissance de l’appareil mais également la somme de tous les appareils susceptibles de fonctionner en même temps. • Lorsque le voltage est trop bas ou s’effondre lors du démarrage de l’appareil, celui-ci peut avoir du mal à démarrer. Dans ce cas, consultez votre agence EDF. • Les raccordements de câblage doivent être réalisés par une personne qualifiée et conformément aux spécifications. • Avant de raccorder les câbles, vérifiez que l’alimentation électrique est coupée (OFF).
INSTALLATION DE L’UNITÉ EXTÉRIEURE II AVERTISSEMENT II ATTENTION
• Un disjoncteur différentiel doit être installé sur l’alimentation électrique de l’unité extérieure. Un choix et une installation inappropriée du disjoncteur provoqueront un choc électrique ou un incendie.
• L’électricité statique présente dans le corps humain peut endommager la carte de circuit imprimé lorsque vous la manipulez pour configurer l’adresse, etc. Tenez compte des points suivants : - Mettez l’unité intérieure, l’unité extérieure et l’équipement en option à la terre. - Coupez l’alimentation électrique (disjoncteur).
• Ne raccordez pas l’alimentation électrique au bornier d’interconnexion. • Un câblage incorrect peut endommager l’ensemble du système. • Connectez correctement le câble d’interconnexion au bornier. Une installation incorrecte peut provoquer un incendie. • Veillez à protéger l’isolant du câble de raccordement à l’aide du collier. Une isolation endommagée peut provoquer un court-circuit. • N’installez jamais de condensateur d’amélioration du facteur de puissance. Le condensateur peut surchauffer sans améliorer le facteur de puissance. • Avant toute opération d’entretien sur l’unité, mettez l’interrupteur d’alimentation sur OFF. Ensuite, ne touchez pas les composants électriques pendant 10 minutes en raison du risque de choc électrique. • Raccordez l’unité à la terre. Une mise à la terre incorrecte peut provoquer des chocs électriques.
II ATTENTION • La puissance primaire de l’alimentation ne concerne que l’utilisation de cet appareil. • Utilisez un disjoncteur capable de gérer les hautes fréquences. L'unité extérieure étant contrôlée par un onduleur, un disjoncteur à haute fréquence est nécessaire pour empêcher un dysfonctionnement du disjoncteur. • Lorsque le tableau électrique se trouve en extérieur, refermez et verrouillez-le afin qu'il ne puisse pas être facilement accessible. • Ne fixez pas ensemble le câble d'alimentation électrique et le câble de raccordement.
- Touchez la partie métallique (la boîte de commande non peinte par exemple) de l'unité intérieure ou extérieure pendant 10 secondes minimum. Évacuez l'électricité statique de votre corps. - Ne touchez jamais le bornier ou le motif de la carte électronique. 7.3. Connexion des câbles et fils électriques sur les borniers Avec du fil souple Le fil souple type HO7RNF est utilisable moyennant quelques précautions : 1. Dénudez l’extrémité des conducteurs sur environ 10 mm. 2. Avec une pince à sertir, posez en bout de fil une cosse ronde à sertir du diamètre correspondant aux vis du bornier. 3. Serrez fermement la cosse sur le bornier à l’aide d’un tournevis approprié afin de ne pas endommager ou casser la vis. 4. L’utilisation de fils souples sans cosses rondes serties est formellement déconseillée. Fig. 23 1
Manchon Vis avec une rondelle
• Commencez le câblage après la fermeture des interrupteurs et des disjoncteurs. • Utilisez un disjoncteur différentiel, pour éviter des dysfonctionnements sur l’unité extérieure Inverter.
• En employant un disjoncteur différentiel spécialisé pour la protection de la terre, assurez-vous également d’installer un interrupteur différentiel. • Veillez à toujours préserver la longueur maximale du câble de d’interconnexion. • Ne croisez pas les câbles d’alimentation de l’unité extérieure. • Une longueur supérieure à la longueur maximale peut provoquer un dysfonctionnement.
Vis avec une rondelle Câble
INSTALLATION DE L’UNITÉ EXTÉRIEURE 7.4. Préparation des connexions électriques
ALIMENTATION L N Câble d'alimentation ou Câble d'interconnexion Fil de Terre
Schéma des câblages à réaliser des unités intérieures sur l’unité extérieure
Câble d'alimentation Câbles d'interconnexion
Câble d'alimentation 230V 50 Hz · 1ø
Câble d'interconnexion
B A Unité extérieure
3. Comme illustré ci-dessous, tirez le câble d’alimentation et le câble d’interconnexion. Fig. 28
7.5. Câblage de l’interconnexion et de l’alimentation sur l’unité extérieure
Câble d'alimentation Câbles d'interconnexion
1.Retirez les 6 vis. Soulevez le couvercle du bornier, puis tirez-le vers l’extérieur pour le retirer.Tirez ensuite le couvercle du cache vanne vers l’extérieur pour le retirer. Fig. 26
Couvercle du bornier 4. Replacez les couvercles. Fig. 29
Couvercle du bornier
Couvercle du cache vanne
2. Raccordez le câble d’alimentation et le câble d’interconnexion au bornier. Attachez les câbles un serre-câble. Protégez toujours les câbles au passage du serre-câble avec de la gaine de protection PVC d’épaisseur 1 mm.
Couvercle du cache vanne
6 INSTALLATION DU TUYAU II INSTALLATION DE L’UNITÉ EXTÉRIEURE 8. TEST DE FONCTIONNEMENT La méthode de test de fonctionnement peut être différente selon l’unité intérieure raccordée. Consultez la notice d’installation fourni avec chaque unité intérieure.
II ATTENTION • Branchez toujours le courant 12 heures avant la mise en marche afin de protéger le compresseur. 8.1. Unité intérieure • Le fonctionnement normal de toutes les touches de la télécommande. • Le fonctionnement normal des voyants «OPERATION», «FILTER» et «TIMER». • Le fonctionnement normal des volets de déflexion d’air. • L’écoulement normal de l’eau de condensation (si besoin est, versez un peu d’eau doucement dans l’échangeur de l’appareil avec une pissette pour vérifier le bon écoulement). • Vérifiez qu’il n’y a aucun bruit ni vibrations anormaux en fonctionnement. 8.2. Unité extérieure • Vérifiez qu’il n’y a aucun bruit ni vibrations anormaux en fonctionnement. • Vérifiez que ni le bruit, ni le courant d’air, ni l’eau ou la glace sortant de l’unité extérieure ne gênent le voisinage. • Vérifiez encore qu’il n’y a aucune fuite de gaz. Ne laissez pas le climatiseur fonctionner en mode « test » trop longtemps. Pour la méthode de fonctionnement, reportez-vous au notice d’utilisation et effectuez le contrôle de fonctionnement. 9. RÉCUPÉRATION DU FLUIDE (PUMP DOWN) Pour éviter de décharger le fluide frigorigène dans l’atmosphère au moment de changer l’unité d’emplacement ou de la mettre au rebut, récupérez celui-ci en effectuant un fonctionnement en Froid ou un fonctionnement en Froid forcé en suivant la procédure suivante. (Quand le fonctionnement en Froid ne peut pas démarrer en hiver par exemple, démarrez un fonctionnement en Froid forcé.)
1. Effectuez la purge de l’air du flexible de service en raccordant le flexible de service d’un jeu de manomètre à l’orifice de charge de la vanne à 3 voies (UNITÉ A et UNITÉ B) et en ouvrant légèrement la vanne de Basse Pression. 2. Fermez complètement la tige de manœuvre de la vanne à 2 voies (UNITÉ A et UNITÉ B). 3. Démarrez le fonctionnement en Froid ou suivez le fonctionnement en Froid forcé. (UNITÉ A et UNITÉ B). Si vous utilisez la télécommande, appuyez sur le bouton TEST DE FONCTIONNEMENT (TEST RUN) après avoir démarré le fonctionnement en Froid avec la télécommande. Le voyant OPERATION et le voyant TIMER commencent à clignoter simultanément pendant le test de fonctionnement. Si vous utilisez le bouton « MANUEL AUTO (MANUAL AUTO) » de l’unité intérieure (si vous avez perdu la télécommande ou autre.), continuez à appuyer sur le bouton « MANUEL AUTO (MANUAL AUTO) » de l’unité intérieure pendant plus de 10 secondes. (Le fonctionnement en Froid forcé ne peut pas démarrer si le bouton « MANUEL AUTO (MANUAL AUTO) » n’est pas maintenue enfoncée pendant plus de 10 secondes.) 4. Fermez la tige de manœuvre de la vanne à 3 voies (UNITÉ A et UNITÉ B) quand le relevé du manomètre indique 0,05~0 Mpa. 5. Arrêtez le fonctionnement. (UNITÉ A et UNITÉ B). Appuyez sur le bouton « MARCHE/ARRÊT (START/ STOP) » de la télécommande pour arrêter le fonctionnement. Appuyez sur le bouton « MANUEL AUTO (MANUAL AUTO) » si vous arrêtez le fonctionnement depuis l’unité intérieure. (Il n’est pas nécessaire de maintenir le bouton enfoncée pendant plus de 10 secondes.)
II ATTENTION • Pendant la récupération de fluide, veillez à ce que le compresseur soit hors tension avant d’enlever les liaisons frigorifiques. Ne retirez pas la liaison frigorifique lorsque le compresseur fonctionne avec une vanne 2 ou 3 voies ouverte. Ceci peut générer une pression anormale dans le cycle frigorifique pouvant provoquer une détérioration de l’appareil, voire des blessures.
INSTALLATION DES UNITÉS INTÉRIEURES ASYG 7 LU ASYG 9 LU ASYG 12 LU * n’est pas compatible avec l’AOYG 14 LAC2.
1. ACCESSOIRES 1.1. Accessoires pour la pose de l’unité intérieure livrés avec l’appareil Les accessoires d’installation suivants sont livrés avec les appareils (sauf mention contraire). Utilisez-les conformément aux instructions.
II ATTENTION • Les accessoires standards sont systématiquement présents dans les emballages. • Veillez à bien récupérer accessoires et notices avant de vous débarrasser des emballages.
Installation de l’unité intérieure
Télécommande infrarouge
Commande de l’appareil
Support de la télécommande infrarouge
Fixation de la télécommande
Alimentation de la télécommande
Finition de l’installation de l’unité intérieure
Installation de l’unité intérieure
Fixation du support de la télécommande
Pour isoler la liaison gaz, uniquement sur le modèle ASYG 14 LU*.
INSTALLATION DES UNITÉS INTÉRIEURES
1.2. Autres accessoires Désignation
Télécommande filaire UTY-RVNYM Code 875 019
Cette télécommande vous permet d’effectuer une programmation hebdomadaire et d’afficher les fonctions dans la langue de votre choix parmi 9 langues différentes (reportez-vous à la notice d’installation NI 923 095). Prévoir une télécommande par unité intérieure.
Télécommande filaire simplifiée UTY-RSNYM Code 809 459
La télécommande filaire simplifiée est d’une grande facilité d’utilisation et permet d’accéder aux fonctions basiques du climatiseur (mode de fonctionnement, température de consigne...) (Reportez-vous à la notice d’installation NI 923 083). Prévoir une télécommande par unité intérieure.
Platine interface UTY-TWBXF-2 Code 875 004
Pour la connexion d’une télécommande filaire ou d’une télécommande filaire simplifiée ou d’une commande externe. Ce kit est composé de : - Une platine interface - Un contact entrée (CNA01) - Un contact sortie (CNB01 et CNB02) - Un contact télécommande filaire (CNC01) (Reportez-vous à la notice d’installation NI 923 090)
Contact entrée (CNA01) Code 809 623 Contacts sortie (CNB01 et CNB02) Code 894 053*
Pour commande externe sur la platine électronique de UTY-TWBXF-2 * A commander au SAV - tél. : 04 72 10 27 50.
2. CHOIX DE L’EMPLACEMENT DES UNITÉS Le choix de l’emplacement est une chose particulièrement importante, car un déplacement ultérieur est une opération délicate, à mener par du personnel qualifié. Décidez de l’emplacement de l’installation après discussion avec le client.
II AVERTISSEMENT • Assurez-vous que les murs ou plafonds pourront supporter le poids tant de l’unité intérieure que de l’unité extérieure. • Installez l’unité intérieure sur le mur à une hauteur de plus de 180 cm.
II ATTENTION • N’installez jamais ces appareils à un endroit où des fuites de gaz ou de combustibles gazeux pourraient advenir (ces appareils ne sont pas antidéflagrants). • N’installez pas ces appareils près de sources de chaleur. • Si des enfants de moins de 10 ans peuvent approcher des unités, prenez toutes les mesures nécessaires pour qu’ils ne puissent toucher à celles-ci.
Accessoires non fournis • Câble pour l’interconnexion électrique (4 conducteurs). • Liaison cuivre recuit de type frigorifique dans les longueurs et diamètres adéquats. • Ruban adhésif pour le maintien des liaisons. • Bande toilée pour l’assemblage des tuyauteries. • Bouchon pour obturer le passage mural du tuyau d’évacuation. • Colliers rilsan et serre-câbles. • Tuyau d’évacuation des condensats. • Vis autotaraudeuses et vis à bois. • Mastic pour obturer l’espace entre les liaisons et les gaines d’isolation. 1. Afin d’éviter tout risque de vibration ou de bruit parasite, utilisez pour votre installation un mur de construction solide. 2. L’entrée et la sortie d’air ne doivent en aucun cas être obstruées. L’emplacement doit permettre une bonne répartition de l’air climatisé dans le local. 3. Evitez d’installer l’appareil dans un endroit exposé aux rayons directs du soleil.
INSTALLATION DES UNITÉS INTÉRIEURES 4. L’emplacement sera prévu de façon à permettre une maintenance aisée de l’appareil ainsi qu’une connexion facile avec l’unité extérieure. Les figures ci-dessous donnent quelques cotes importantes à respecter qui permettront une installation facile et des interventions de dépannage sans problème. 5. De même, vérifiez que l’écoulement gravitaire des eaux de condensation sera aisé à réaliser. 6. Installez l’appareil dans un emplacement où il sera aisé d’installer un tuyau d’évacuation. Si c’est impossible, votre distributeur peut vous fournir une pompe de relevage adaptée.
2. Levez la partie centrale du couvercle. 3. Enlevez les attaches en appuyant sur les côtés du couvercle (deux emplacements). 4. Retirez le couvercle en le tirant vers vous. Fig. 32 Cache vis
120 mm ou plus 110 mm ou plus
(bouchon évacuation des condensats) Support de la télécommande
Télécommande filaire
Vis (Petite) Câble d'interconnexion Conforme au type 245 IEC57
3.3. Découpage des passages des liaisons
3. INSTALLATION 3.1. Choix de la sortie pour le raccordement Le raccordement des liaisons frigorifiques peut s’effectuer dans les six directions indiquées par les chiffres , , , , et (Fig. 31).
Lorsque les liaisons sont raccordées dans les directions , , et , coupez sur le côté du panneau avant, le sillon prévu pour les liaisons, à l’aide d’un outil adéquat. Fig. 34 Pour sortie gauche
Pour sortie inférieure gauche
Pour sortie droite
3.2. Démontage du couvercle inférieur 1. Retirez les caches vis et les vis du couvercle inférieur (3 emplacement pour chaque). 34
Pour sortie inférieure droite
3.4. Installation du couvercle inférieur 1. Poussez les attaches des cotés du couvercle inférieur dans les encoches (deux emplacements).
INSTALLATION DES UNITÉS INTÉRIEURES
2. Appuyez sur le haut du couvercle et sur les repères en forme de triangle situé sur le couvercle inférieur (deux emplacements). 3. Fixez les vis (3 emplacements), puis les caches vis (3 emplacements). Fig. 35 (2)
3.5. Mise en place du support mural Fixation directe sur le mur : Avant de fixer le support mural sur le mur, mettez-le de niveau en enfonçant le crochet au centre du support mural dans le mur avec le manche d’un tournevis en assurant sa mise à niveau avec un niveau à bulle ou un fil à plomb. • Pour fixer le support mural, utilisez au moins 5 vis et chevilles à travers les trous en périphérie du support mural. • Sur un mur en béton, placez dans le mur des boulons d’ancrage correspondants aux trous du support mural. Fig. 36 Support mural
II ATTENTION • Attention, si le support mural est mal positionné, de l’eau risque de s’écouler le long du mur et sur le sol.
4. MISE EN PLACE DES LIAISONS FRIGORIFIQUES ET DU TUYAU D’ÉVACUATION II AVERTISSEMENT • Veillez à mettre en place l’écoulement des condensats selon les instructions décrites ci-après. • Procédez à cette installation dans un environnement le moins humide possible afin d’éviter la formation de condensation nuisible au bon fonctionnement des liaisons frigorifiques.
II ATTENTION • N’enlevez l’écrou “ Flare ” sur l’unité intérieure qu’immédiatement avant le raccordement. • Les liaisons seront mises en forme exclusivement à la cintreuse ou au ressort de cintrage afin d’éviter tout risque d’écrasement ou de rupture. • Ne cintrez jamais plus de 3 fois les liaisons au même endroit sous peine de voir apparaître des amorces de rupture (écrouissage du métal). • Insérez le tuyau d’évacuation et le bouchon des condensats fermement. Le tuyau d’évacuation doit être dirigé vers le bas pour éviter les fuites d’eau. • Lors de l’insertion, assurez-vous de ne pas introduire de la matière en plus de l’eau. Si n’importe quel autre matière est jointe, elle pourrait causer des détériorations et une fuite d’eau. • Après avoir enlevé le tuyau d’évacuation, assurez-vous de ne pas oublier de remonter le bouchon d’évacuation. • Assurez-vous de fixer le tuyau d’évacuation des condensats en dessous des liaisons frigorifiques avec un adhésif. • Lors de l’installation, assurez-vous de prendre les précautions nécessaire afin d’empêcher l’eau des condensats de geler à de basse température. Un tuyau d’évacuation bloqué par de l’eau gelée peut entraîner une fuite d’eau pour l’unité intérieure. 4.1. Percements en vue de la mise en place des liaisons frigorifiques 1. Percez un trou de 65 mm de diamètre dans le mur comme indiqué dans la Fig. 37. 2. Percez avec une légère pente vers l’extérieur (5 à 10 mm). 3. Toujours bien aligner le centre du trou sinon des fuites d’eau pourraient survenir. 4. Coupez le fourreau d’une longueur correspondant à l’épaisseur du mur, obturez-le à l’aide du bouchon, fixez-le avec du ruban adhésif et insérez le fourreau dans le trou (Fig. 38). 5. Lorsque les directions (à droite) ou (sortie à gauche) sont utilisées, percez avec une pente légèrement plus importante (10 mm au moins) pour laisser libre l’écoulement d’eau. 35
INSTALLATION DES UNITÉS INTÉRIEURES Fig. 37
Ruban adhésif trop serré
Fig. 38 Fixez avec du ruban adhésif 5 à 10 mm plus bas
II ATTENTION Ne serrez pas trop l’isolant avec le ruban adhésif. Cela empêcherait son efficacité et risque de produire de la condensation sur le manchon. • Avant de passer la liaison frigorifique et le tuyau d’évacuation des condensats à travers le mur, entourez les liaisons visibles avec du ruban adhésif. Suspendez ensuite l’unité intérieure sur les crochets du haut du support mural (Fig. 41). Fig. 41 Unité intérieure
II ATTENTION • Veillez à toujours bien centrer le trou. Un alignement incorrect peut entraîner des fuites. • En l’absence de gaine, le câble qui relie l’unité extérieure aux unités intérieures risque d’être endommagé au contact d’une pièce métallique.
Après avoir suspendu l’unité intérieure par les crochets du haut, clipsez les 2 encoches basses dans les crochets de l’unité intérieure en la rabattant et en la poussant contre le mur.
4.2. Mise en place du tuyau d’évacuation des condensats et des liaisons frigorifiques
4.3. Mise en place du bouchon et du tuyau d’évacuation des condensats
Pour visualiser les différentes sorties, veuillez-vous reporter au paragraphe 3.1 Choix de la sortie pour le raccordement (Fig. 31).
Pour visualiser les différentes sorties, veuillez-vous reporter au paragraphe 3.1 Choix de la sortie pour le raccordement (Fig. 31).
Pour sortie arrière droite , sortie droite et sortie inférieure .
Pour sortie arrière droite , sortie droite et sorties inférieures et .
Laissez le tuyau de sortie des condensats et le bouchon en place tel quel. Pour sortie arrière gauche , sortie gauche .
Sortie droite Attachez avec du ruban adhésif
Sortie inférieure 36
Sortie arrière droite Tuyau d'évacuation des condensats (en-dessous)
Après les avoir enlevés, inversez le tuyau d’évacuation des condensats et le bouchon en les enfonçant à fond jusqu’à ce qu’ils butent contre l’orifice du bac (Fig. 42).
INSTALLATION DES UNITÉS INTÉRIEURES Fig. 45
Fig. 42 Pour une sortie à gauche découpez une ouverture avec un outil adéquat.
Bouchon Retirez le bouchon en tirant sur l'extrémité avec des pinces. Puis retirez l'isolant.
Méthode d’installation du bouchon du tuyau d’évacuation des condensats • Utilisez une clé Allen hexagonale (coté de 4 mm) pour insérer le bouchon jusqu’à ce qu’il soit en contact avec le robinet de purge (Fig. 43). Fig. 43 Pas d'espace
Robinet de purge Tuyau d'évacuation des condensats
Vis Fixation (bleu) 4.4. Mise en forme des liaisons frigorifiques Pour visualiser les différentes sorties, veuillez-vous reporter au paragraphe 3.1 Choix de la sortie pour le raccordement (Fig. 31). Pour sortie gauche , sortie arrière gauche . • Coudez (rayon d’environ 70 mm minimum) la partie de la liaison frigorifique raccordée au climatiseur au moyen d’une cintreuse et cintrez-la comme illustré dans la Fig. 46, de manière à ce qu’il n’y ait pas plus de 35 mm d’espace entre la liaison et le mur. Fig. 46
Liaison liquide (Ø 6,35 mm) Robinet de purge Isolant
Pour retirer le tuyau d’évacuation des condensats, enlevez la vis de maintien (Fig. 44). Pour réintroduire le tuyau d’évacuation des condensats, insérez le tuyau sur la sortie et revissez le support (Fig. 45). Après avoir déposé le tuyau d’évacuation des condensats, n’oubliez pas de le remplacer par le bouchon correspondant sur la sortie droite. Fig. 44 Vis
Tuyau d'évacuation des condensats
Aligner les repères Cintrage (70 mm) avec une cintreuse Liaison gaz (Ø 9,52 mm ou Ø 12,7 mm) Suspendez l’unité intérieure par les crochets hauts du support mural de fixation. Insérez une cale entre l’unité intérieure et le support mural de fixation pour isoler le bas de l’unité intérieure du mur. Fig. 47
INSTALLATION DES UNITÉS INTÉRIEURES
5. Fixez le câble avec le serre-câble et remettre le cache bornier en place.
5. CÂBLAGE ÉLECTRIQUE 5.1. Schéma de câblage
II AVERTISSEMENT Fig. 51
• Chaque câble doit être connecté fermement. • Les câbles ne devront pas toucher les liaisons frigorifiques.
• Des câbles mal connectés au bornier peuvent être à l’origine d’une surtension ou de dysfonctionnements. • Les câbles connectés doivent correspondre aux numéros des borniers.
Unité intérieure Bornier
Alimentation Interconnexion
Veuillez connecter sur le bornier spécifié
5.2. Câblage de l’interconnexion sur l’unité intérieure 1. Retirez le cache bornier (enlevez une vis). 2. Retirez le serre câble (enlevez une vis). Fig. 49
3. Préparez les câbles comme indiqué (Fig. 50) 4. Connectez complètement le câble dans le bornier. Fig. 50
Câble d'interconnexion 38
Après avoir fini la vérification des fuites sur le circuit frigorifique, installez l’isolant. Isolez le tuyau d’évacuation des condensats pour éviter qu’il ne gèle. 1. Isolez entre les liaisons Isolez les liaisons d’aspiration et de refoulement séparément. Sorties arrière droite , droite et inférieure . • Pour les sorties arrière droite , droite et inférieure , enveloppez les liaisons avec de l’isolant. Fixez le tout avec du ruban adhésif. Sorties arrière gauche , gauche . • Enveloppez les liaisons frigorifiques et les liaisons côté unité intérieure avec de la bande de finition. • Attachez le câble d’alimentation, le câble d’interconnexion et le câble de la télécommande aux liaisons avec du ruban adhésif. • Enveloppez les câbles, les liaisons et le tuyau d’évacuation des condensats avec de la bande de finition. Fig. 52 Faire se chevaucher les isolants Liaison
6. FINITIONS Ligne de Terre
Câble d'interconnexion
Fixer les liaisons ensemble sans espace
Liaison unité intérieure Ruban adhésif
INSTALLATION DES UNITÉS INTÉRIEURES Fig. 53
OUI Liaison Enveloppez avec le ruban adhésif Tuyau d'évacuation des condensats
7. DEMONTAGE ET REMONTAGE DE LA FAÇADE ET DE LA GRILLE D’ENTRÉE D’AIR DE L’UNITÉ INTÉRIEURE Fig. 54 L'isolant A est utilisé quand le diamètre de la liaison gaz est de Ø12.70 mm.
7.1. Démontage et remontage de la grille d’entrée d’air
Accolez les isolants l'un contre l'autre et enveloppez ceux-ci avec l'isolant A afin qu'il n'y ait aucun espace.
Fig. 55 - Sortie gauche et arrière gauche Sortie gauche Câble d'interconnexion
Pour une sortie à l'arrière gauche Câble d'interconnexion Passage dans le mur Liaisons
Demontage : 1. Ouvrez la grille d’entrée d’air. 2. Maintenez la grille d’entrée d’air, soulevez la grille de support et sécurisez la grille d’entrée d’air. 3. Retirez les vis du loquet d’ouverture sur la partie supérieure de la façade (2 emplacements à gauche et à droite). 4. Appuyez sur le loquet vers le bas pour ouvrir. 5. Ouvrir la grille à horizontale, et tirez-la vers vous pour la retirer. Fig. 58
Tuyau d'évacuation des condensats
2. Attachez le câble d’interconnexion le long des liaisons avec du ruban adhésif. 3. Attachez les liaisons sur le mur extérieur avec des colliers (non fournis, Fig. 56). 4. Remplissez le fourreau (non fourni dans le mur) avec du mastic (non fourni) pour éviter que l’eau et le vent n’y pénètre (Fig. 56). 5. Attachez le tuyau d’évacuation des condensats au mur extérieur etc.. Fig. 56 Fourreau à l'extérieur Collier
Tuyau NON d'évacuation des condenstas
Grille de reprise Grille de reprise
(4) (2) Loquet d'ouverture
Remontage : 1. Mettez la grille d’entrée d’air à l’horizontale et poussez les axes de rotation dans les encoches de fixation sur la partie supérieure de la façade (2 emplacements à gauche et à droite). 2. Maintenez la grille d’entrée d’air, soulevez le support de grille et sécurisez la grille d’entrée d’air. 3. Appuyez sur le loquet d’ouverture, et verrouiller la prise d’axe de fixation de la grille. 4. Fixez le loquet d’ouverture sur la partie supérieure de la façade avec les vis (2 emplacements à gauche et à droite). 39
INSTALLATION DES UNITÉS INTÉRIEURES 5. Soulevez un peu le support de grille d’entrée d’air et le remettre le support de grille à sa position initiale. 6. Fermez la grille d’entrée d’air.
Fig. 62 Unité intérieure
Encoches inférieures Crochets inférieures (3 emplacements) (3 emplacements)
Encoches inférieures (4 emplacements)
Crochets inférieures (2 emplacements)
7.2. Démontage et remontage du panneau de façade Démontage : 1. Démontez la grille d’entrée d’air comme indiqué précédemment. 2. Retirez le cache bornier (retirez 1 vis). 3. Retirez les 4 vis. 4. Démontez complètement le panneau en tirant vers l’avant la partie supérieure.
Crochets inférieures (2 emplacements) (2 emplacements)
Crochets supérieurs (3 emplacements)
Trous supérieurs (3 emplacements)
Façade Unité intérieure
Crochets au centre (2 emplacements)
Loquets (2 emplacements)
Fig. 60 Vis (4 emplacements)
II ATTENTION • Installez fermement la grille d’entrée d’air et le panneau de façade afin d’éviter qu’ils ne se détachent et risquent de provoquer des incidents et blessures. • Pour cela, vérifiez soigneusement que les crochets de fixation soient bien enclenchés.
8. INSTALLATION DES KITS OPTIONNELS Fig. 61
Ce climatiseur peut être connecté soit à une télécommande filaire (UTY-RVNYM), soit à une télécommande filaire simplifiée (UTY-RSNYM), soit à un appareil externe à l’aide du kit platine interface (UTY-TWBXF-2), et des contacts entrée et sortie (voir les accessoires en «1.2. Autres accessoires», page 33).
Remontage : 1. Tout d’abord, présentez la partie inférieure du panneau de façade en positionnant les crochets de maintien en face de leurs encoches. Fixez ensuite le panneau en poussant celui-ci afin d’enclencher les crochets supérieurs. 2. Serrez les 4 vis. 3. Utilisez la vis de fixation pour maintenir le cache bornier. 4. Fixez la grille d’entrée d’air. 40
INSTALLATION DES UNITÉS INTÉRIEURES ASYG 7 LMCE ASYG 9 LMCE ASYG 12 LMCE * n’est pas compatible avec l’AOYG 14 LAC2.
MURAUX COMPACTS ASYG 7 9 12 14 LMCE 1. ACCESSOIRES STANDARDS LIVRÉS AVEC L’APPAREIL 1.1. Accessoires pour la pose de l’unité intérieure
Les accessoires d’installation suivants sont livrés avec les appareils (sauf mention contraire). Utilisez-les conformément aux instructions. II ATTENTION • Les accessoires standards sont systématiquement présents dans les emballages. • Veillez à bien récupérer accessoires et notices avant de vous débarrasser des emballages. Désignation
Installation de l’unité intérieure
Télécommande infrarouge
Commande de l’appareil
Support de la télécommande infrarouge
Fixation de la télécommande
Alimentation de la télécommande
Finition de l’installation de l’unité intérieure
Installation de l’unité intérieure
Fixation du support de la télécommande
Pour isoler la liaison gaz, uniquement sur le modèle ASYG 14. 41
INSTALLATION DES UNITÉS INTÉRIEURES Muraux compacts
1.2. Option Désignation Télécommande filaire UTY-RVNYM Code 875 019 Télécommande filaire simplifiée UTY-RSNYM Code 809 459
Kit platine interface UTY-XCBXZ2-2 Code 875 022
Contact entrée - Marche, Arrêt ou Arrêt forcé (CNA01) Code 809 623 (1) Contact sortie - Etat de fonctionnement (CNB01) Code 894 053 (2) Contact sortie - Etat des erreurs (CNB02) Code 894 053 (2) (1) (2)
Usage Cette télécommande vous permet d’effectuer une programmation hebdomadaire et d’afficher les fonctions dans la langue de votre choix parmi 9 langues différentes (reportez-vous à la notice d’installation NI 923 095). Prévoir une télécommande par unité intérieure. La télécommande filaire simplifiée est d’une grande facilité d’utilisation et permet d’accéder aux fonctions basiques du climatiseur (mode de fonctionnement, température de consigne...) (Reportez-vous à la notice d’installation NI 923 083). Prévoir une télécommande par unité intérieure. Pour la connexion d’une télécommande filaire ou d’une télécommande filaire simplifiée ou d’une commande externe. Ce kit est composé de : - Une platine interface - Un contact entrée (CNA01) - Un contact sortie (CNB01 et CNB02) - Un contact télécommande filaire (CNC01) (Reportez-vous à la notice d’installation NI 923 096)
Pour commande externe.
A commander au 04 72 10 27 50 A commander au 04 72 10 27 50
Accessoires non fournis • Câble pour l’interconnexion électrique (4 conducteurs). • Liaison cuivre recuit de type frigorifique dans les longueurs et diamètres adéquats. • Ruban adhésif pour le maintien des liaisons. • Bande toilée pour l’assemblage des tuyauteries. • Bouchon pour obturer le passage mural du tuyau d’évacuation. • Colliers Rilsan et serre-câbles. • Tuyau d’évacuation des condensats. • Vis autotaraudeuses et vis à bois. • Mastic pour obturer l’espace entre les liaisons et les gaines d’isolation.
Muraux compacts 2. CHOIX DE L’EMPLACEMENT DES UNITÉS Le choix de l’emplacement est une chose particulièrement importante, car un déplacement ultérieur est une opération délicate, à mener par du personnel qualifié. Décidez de l’emplacement de l’installation après discussion avec le client. II AVERTISSEMENT • Assurez-vous que les murs ou plafonds pourront supporter le poids tant de l’unité intérieure que de l’unité extérieure. • Installez l’unité intérieure sur le mur à une hauteur de plus de 180 cm. II ATTENTION • N’installez jamais ces appareils à un endroit où des fuites de gaz ou de combustibles gazeux pourraient advenir (ces appareils ne sont pas antidéflagrant). • N’installez pas ces appareils près de sources de chaleur. • Si des enfants de moins de 10 ans peuvent approcher des unités, prenez toutes les mesures nécessaires pour qu’ils ne puissent toucher à celles-ci.
INSTALLATION DES UNITÉS INTÉRIEURES Fig. 63 63 mm ou plus
(Bouchon mural) Support de télécommande
Vis autotaraudeuse (petit modèle)
3. INSTALLATION 3.1. Choix de la sortie pour le raccordement Le raccordement des liaisons frigorifiques peut s’effectuer dans les six directions indiquées par les chiffres , , , , et (Fig. 64). Fig. 64 (Arrière)
Sortie arrière droite
1. Afin d’éviter tout risque de vibration ou de bruit parasite, utilisez pour votre installation un mur de construction solide. 2. L’entrée et la sortie d’air ne doivent en aucun cas être obstruées. L’emplacement doit permettre une bonne répartition de l’air climatisé dans le local. 3. Evitez d’installer l’appareil dans un endroit exposé aux rayons directs du soleil. 4. L’emplacement sera prévu de façon à permettre une maintenance aisée de l’appareil ainsi qu’une connexion facile avec l’unité extérieure. Les figures ci-dessous donnent quelques cotes importantes à respecter qui permettront une installation facile et des interventions de dépannage sans problème. 5. De même, vérifiez que l’écoulement gravitaire des eaux de condensation sera aisé à réaliser. 6. Installez l’appareil dans un emplacement où il sera aisé d’installer un tuyau d’évacuation. Si c’est impossible, votre distributeur peut vous fournir une pompe de relevage adaptée.
Lorsque les liaisons sont raccordées dans les directions , , et , coupez sur le côté du panneau avant, le sillon prévu pour les liaisons, à l’aide d’un outil adéquat. 3.2. Comment préparer le passage de la tuyauterie ? 1. Percez un trou de 65 mm de diamètre dans le mur, à l’emplacement précisé (Fig. 65). 2. Percez le trou de manière à ce que son orifice extérieur soit de 5 à 10 mm plus bas que l’orifice intérieur (Fig. 66). 3. Toujours bien aligner le centre du trou sinon des fuites d’eau pourraient survenir. 4. Coupez le fourreau d’une longueur correspondant à l’épaisseur du mur, obturez-le à l’aide du bouchon, fixez-le avec du ruban adhésif et insérez le fourreau dans le trou (Fig. 66). 43
INSTALLATION DES UNITÉS INTÉRIEURES
5. Lorsque les directions (à droite) ou (sortie à gauche) sont utilisées, percez avec une pente légèrement plus importante (10 mm au moins) pour laisser libre l’écoulement d’eau. Fig. 65 Support mural Repères de centrage
2. Avant de fixer le support mural sur le mur, mettez-le de niveau en enfonçant le crochet au centre du support mural dans le mur avec le manche d’un tournevis en assurant sa mise à niveau avec un niveau à bulle ou un fil à plomb. • Pour fixer le support mural, utilisez au moins 5 vis et chevilles à travers les trous en périphérie du support mural. • Sur un mur en béton, placez dans le mur des boulons d’ancrage correspondants aux trous du support mural. Fig. 68 Support mural
Fig. 66 Fixez avec du ruban adhésif 5 à 10 mm plus bas Fourreau Bouchon (Intérieur)
II ATTENTION • Veillez à toujours bien centrer le trou. Un alignement incorrect peut entraîner des fuites. • En l’absence de gaine, le câble qui relie l’unité extérieure à l’unité intérieure risque d’être endommagé au contact d’une pièce métallique. 3.3. Mise en place du support mural 1. Enlevez le support mural de l’unité intérieure en dévissant les vis comme indiqué sur la figure suivante. Fig. 67
II ATTENTION • Attention, si le support mural est mal positionné, de l’eau risque de s’écouler le long du mur et sur le sol. 4. MISE EN PLACE DES LIAISONS FRIGORIFIQUES ET DU TUYAU D’ÉVACUATION Pour visualiser les différentes sorties, veuillezvous reporter au paragraphe 3.1 Choix de la sortie pour le raccordement (Fig. 64). II AVERTISSEMENT • Veillez à mettre en place l’écoulement des condensats selon les instructions décrites ciaprès. • Procédez à cette installation dans un environnement le moins humide possible afin d’éviter la formation de condensation nuisible au bon fonctionnement des liaisons frigorifiques.
Muraux compacts II ATTENTION • N’enlevez l’écrou “ Flare ” sur l’unité intérieure qu’immédiatement avant le raccordement. • Les liaisons seront mises en forme exclusivement à la cintreuse ou au ressort de cintrage afin d’éviter tout risque d’écrasement ou de rupture. • Ne cintrez jamais plus de 3 fois les liaisons au même endroit sous peine de voir apparaître des amorces de rupture (écrouissage du métal). • Insérez le tuyau d’évacuation et le bouchon des condensats fermement. Le tuyau d’évacuation doit être dirigé vers le bas pour éviter les fuites d’eau. • Lors de l’insertion, assurez-vous de ne pas introduire de la matière. Si des particules ou résidus sont introduits, cela pourrait causer des détériorations et une fuite d’eau. • Après avoir enlevé le tuyau d’évacuation, n’oubliez pas de remonter le bouchon d’évacuation. • Assurez-vous de fixer le tuyau d’évacuation des condensats en dessous des liaisons frigorifiques avec un adhésif. • Lors de l’installation du tuyau d’évacuation à l’extérieur, protégez-le contre le gel. Un tuyau d’évacuation bloqué par de l’eau gelée peut entraîner une fuite d’eau pour l’unité intérieure. 4.1. Mise en place du tuyau d’évacuation des condensats et des liaisons frigorifiques Pour les sorties : arrière et , à droite , inférieure et . • Installez la tuyauterie de l’unité intérieure dans la direction du trou réalisé dans le mur et assemblez le tuyau d’évacuation et les liaisons au moyen de ruban adhésif vinyle. (Fig. 69). • Le tuyau d’évacuation doit être monté en dessous des liaisons frigorifiques. • Enveloppez les tuyaux de l’unité intérieure visibles de l’extérieur de ruban adhésif ou faitesles cheminer dans une goulotte.
INSTALLATION DES UNITÉS INTÉRIEURES Fig. 69
Sortie droite Fixez avec de l'adhésif Liaisons frigorifiques Sortie arrière Sortie inférieure
Tuyau d'évacuation des condensats
Fig. 70 Ruban adhésif trop serré
II ATTENTION Ne serrez pas trop l’isolant avec le ruban adhésif. Cela empêcherait son efficacité et risque de produire de la condensation sur le manchon. Pour les sorties : arrière gauche , à gauche . • Permutez le bouchon et le tuyau d’évacuation des condensats : enlevez le bouchon en tirant sur son téton à l’aide de pinces et montez le tuyau d’évacuation sur la sortie gauche. (Fig. 71). 4.2. Mise en place du bouchon et du tuyau d’évacuation des condensats Pour sortie arrière droite , sortie droite et sorties inférieures et . Laissez le tuyau de sortie des condensats et le bouchon en place tel quel. Pour sortie arrière gauche , sortie gauche . Après les avoir enlevés, inversez le tuyau d’évacuation des condensats et le bouchon en les enfonçant à fond jusqu’à ce qu’ils butent contre l’orifice du bac (Fig. 71).
Fig. 74 Pour une sortie gauche, découpez une ouverture avec un outil adéquat.
Emplacement de la vis Fixation Robinet de purge Vis
Bouchon d'évacuation Retirez le bouchon en tirant sur l'extrémité avec des pinces.
Tuyau d'évacuation des condensats
Tuyau d'évacuation des condensats
Méthode d’installation du bouchon du tuyau d’évacuation des condensats 4.3. Mise en place de l’unité intérieure • Utilisez une clé Allen hexagonale (coté de 4 Les travaux de plomberie peuvent être facilités mm) pour insérer le bouchon jusqu’à ce qu’il soit en traçant, cintrant, et en fixant temporairement en contact avec le robinet de purge (Fig. 72). la conduite de raccordement, le tuyau d’évacuation et le câble de connexion comme illustré sur la Fig. 75, à l’avance. (Sortie par la gauche). Fig. 72 Pas d'espace
Pour retirer le tuyau d’évacuation des condensats, enlevez la vis de maintien (Fig. 73).
Alignez les repères.
Liaison frigorifique gaz (Ø9.52 ou 12.7 mm)
Pour réintroduire le tuyau d’évacuation des • Après avoir fait passer les liaisons de l’unité condensats, insérez le tuyau sur la sortie et intérieure et le tuyau d’évacuation dans l’orifice revissez le support (Fig. 74). pratiqué dans le mur, accrochez l’unité intérieure sur les crochets situés en haut du support mural. Après avoir déposé le tuyau d’évacuation des condensats, n’oubliez pas de le remplacer par le • Insérez une pièce d’écartement en carton entre bouchon correspondant sur la sortie droite. l’unité intérieure et le support mural, et éloignez ainsi le bas du climatiseur du mur pour la suite Fig. 73 des travaux si nécessaire. (Fig. 76). Vis
Tuyau d'évacuation des condensats
Unité intérieure (Cale) Fixation 46
Muraux compacts • Insérez les deux crochets du bas dans les trous de fixation correspondants et abaissez celui-ci en le repoussant contre le mur. (Fig. 77).
INSTALLATION DES UNITÉS INTÉRIEURES Fig. 78 Unité intérieure Bornier
Fig. 77 Unité intérieure
Support mural Crochets supérieurs
Veuillez connecter sur le bornier spécifié
• L’unité intérieure est positionnée avec précision dans le sens horizontal et vertical.
1. Retirez le cache bornier (enlevez une vis). 2. Retirez le serre câble (enlevez une vis). Fig. 79 Serre-câble
• Le tuyau d’évacuation se trouve en dessous des liaisons frigorifiques dans la gaine qui traverse le mur. 5. CÂBLAGE ÉLECTRIQUE 5.1. Schéma de câblage II AVERTISSEMENT • Chaque câble doit être connecté fermement. • Les câbles ne devront pas toucher les liaisons frigorifiques. • Des câbles mal connectés au bornier peuvent être à l’origine d’une surtension ou de dysfonctionnements. • Les câbles connectés doivent correspondre aux numéros des borniers.
3. Préparez les câbles comme indiqué (Fig. 80). 4. Connectez fermement les câbles dans le bornier. Fig. 80
Vérifiez que : • Les crochets du haut et du bas sont fermement engagés et que l’unité ne bouge ni d’avant en arrière, ni de gauche à droite.
5.2. Câblage de l’interconnexion sur l’unité intérieure
Câble d'interconnexion
INSTALLATION DES UNITÉS INTÉRIEURES 5. Fixez le câble avec le serre-câble et remettre le cache bornier en place. Fig. 81
Fig. 83 Liaison Enveloppez avec le ruban adhésif
Tuyau d'évacuation des condensats
L'isolant A est utilisé quand le diamètre de la liaison gaz est de Ø12.70 mm.
6. FINITIONS Après avoir fini la vérification des fuites sur le circuit frigorifique, installez l’isolant. Isolez le tuyau d’évacuation des condensats pour éviter qu’il ne gèle.
Accolez les isolants l'un contre l'autre et enveloppez ceux-ci avec l'isolant A afin qu'il n'y ait aucun espace.
1. Isolez entre les liaisons. Isolez les liaisons d’aspiration et de refoulement séparément.
Fig. 85 - Sortie gauche et arrière gauche
Sorties arrière droite , droite et inférieure et . • Pour les sorties arrière droite , droite et inférieure et , enveloppez les liaisons avec de l’isolant. Fixez le tout avec du ruban adhésif. Sorties arrière gauche , gauche .
Sortie gauche Câble d'interconnexion
Pour une sortie à l'arrière gauche Passage Câble d'interconnexion dans le mur Liaisons
Liaisons Tuyau d'évacuation
2. Attachez le câble d’interconnexion le long des liaisons avec du ruban adhésif. • Enveloppez les liaisons frigorifiques et les liai- 3. Attachez les liaisons sur le mur extérieur avec des colliers (non fournis, Fig. 86). sons côté unité intérieure avec de la bande de 4. Remplissez le fourreau (non fourni dans le finition. mur) avec du mastic (non fourni) pour éviter • Attachez le câble d’alimentation, le câble d’inque l’eau et le vent n’y pénètrent (Fig. 86). terconnexion et le câble de la télécommande 5. Attachez le tuyau d’évacuation des aux liaisons avec du ruban adhésif. condensats au mur extérieur etc.. • Enveloppez les câbles, les liaisons et le tuyau 6. Effectuez les vérifications suivantes (Fig. 87). d’évacuation des condensats avec de la bande de finition. Fig. 82 Faire se chevaucher les isolants Liaison
Fixer les liaisons ensemble sans espace
Liaison unité intérieure Ruban adhésif
INSTALLATION DES UNITÉS INTÉRIEURES Fig. 86 Fourreau à l'extérieur Collier
2. Verrouillez chaque support de grille en les enclenchant dans les encoches prévues. Fig. 89
3. Appuyez sur les 4 emplacements pour fermer complètement le grille de d’entrée d’air (Fig. 90). Fig. 90
7. DEMONTAGE ET REMONTAGE DE LA FAÇADE ET DE LA GRILLE D’ENTRÉE D’AIR DE L’UNITÉ INTÉRIEURE 7.1. Démontage et remontage de la grille d’entrée d’air Démontage : 1. Ouvrez la grille d’entrée d’air. 2. Appuyez doucement sur les supports de montage gauche et droite de la grille d’entrée vers l’extérieur (a) (Fig. 88). 3. Enlever la grille d’entrée en tirant en direction de la flèche (b). Fig. 88
7.2. Démontage et remontage du panneau de façade Démontage : 1. Démontez la grille d’entrée d’air comme indiqué précédemment. 2. Retirez le cache bornier (retirez 1 vis) (Fig. 91). 3. Retirez les caches vis. 4. Retirez les 6 vis. 5. Démontez complètement le panneau en tirant vers l’avant la partie supérieure (Fig. 92). Fig. 91 Vis (cache bornier) Câche bornier
a Vis (6 emplacements) 4 vis (Ne pas enlever)
Remontage : 1. Maintenez la grille d’entrée d’air à l’horizontale et poussez les supports de la grille dans les encoches de fixation (c) sur la partie supérieure de la façade (2 emplacements à gauche et à droite) (Fig. 89). 49
INSTALLATION DES UNITÉS INTÉRIEURES Fig. 92
Remontage : 1. Tout d’abord, présentez la partie inférieure du panneau de façade en positionnant les crochets de maintien en face de leurs encoches (Fig. 93). 2. Fixez ensuite le panneau en poussant celui-ci afin d’enclencher les 3 crochets supérieurs. 3. Serrez les 6 vis. 4. Utilisez la vis de fixation pour maintenir le cache bornier. 5. Remontez les 3 caches vis. 6. Remontez la grille d’entrée d’air. Fig. 93 Crochets supérieurs (3 positions)
Trous supérieurs (3 positions)
Panneau avant Unité intérieure
Crochets centraux (2 positions)
II ATTENTION • Installez fermement la grille d’entrée d’air et le panneau de façade afin d’éviter qu’ils ne se détachent et risquent de provoquer des incidents et blessures. • Pour cela, vérifiez soigneusement que les crochets de fixation soient bien enclenchés. 8. INSTALLATION DES KITS OPTIONNELS Ce climatiseur peut être connecté soit à une télécommande filaire (UTY-RVNYM), soit à une télécommande filaire simplifiée (UTY-RSNYM), soit à un appareil externe à l’aide du kit platine interface (UTY-XCBXZ2-2), et du contact entrée et sortie (voir les accessoires en 1.2. Option, page 42).
1.2. Accessoires pour le montage de la façade Désignation
Pour cacher le connecteur.
Pour monter les câbles de suspension sur la grille de reprise.
Pour suspendre la grille de reprise.
Vis avec petit pas de vis (M4 x 10 mm)
Pour accrocher les câbles de suspension.
Vis avec grand pas de vis (M4 x 10 mm)
Pour fixer les équerres en L et les câbles de suspension.
Vis avec petit pas de vis (M5 x 12 mm)
Pour fixer la façade.
Vis avec grand pas de vis (M4 x 12 mm)
Pour monter le capot du connecteur.
1.3. Autres accessoires Désignation
Télécommande filaire UTY-RVNYM Code 875 019
Cette télécommande vous permet d’effectuer une programmation hebdomadaire et d’afficher les fonctions dans la langue de votre choix parmi 9 langues différentes (reportez-vous à la notice d’installation NI 923 095). Prévoir une télécommande par unité intérieure.
Télécommande filaire simplifiée UTY-RSNYM Code 809 459
La télécommande filaire simplifiée est d’une grande facilité d’utilisation et permet d’accéder aux fonctions basiques du climatiseur (mode de fonctionnement, température de consigne...) (Reportez-vous à la notice d’installation NI 923 083). Prévoir une télécommande par unité intérieure.
Obturateur avec isolant UTR-YDZB Code 898 264
Pour condamner une voie de soufflage
Kit air neuf UTZ-VXAA Code 809 372
Plenum qui permet d’insuffler à travers la façade de la cassette des débits d’air neuf.
Contact entrée (CN 102) Code 809 623 Contact sortie (CN 103) Code 894 053*
Pour commande externe sur la carte électronique de l’unité intérieure (* A commander au SAV : 04 72 10 27 50).
INSTALLATION DES UNITÉS INTÉRIEURES
9. CHOIX DE L’EMPLACEMENT DES UNITÉS Choix des directions de soufflage
Le choix de l’emplacement est une chose particulièrement importante, car un déplacement ultérieur est une opération délicate, à mener par du personnel qualifié.
Les directions de soufflage pourront être choisies parmi celles proposées ci-dessous.
Décidez de l’emplacement de l’installation après discussion avec le client.
Fig. 94 100 mm ou plus*
II ATTENTION • N’installez jamais ces appareils à un endroit où des fuites de gaz ou de combustibles gazeux pourraient advenir (ces appareils ne sont pas antidéflagrants). • N’installez pas ces appareils près de sources de chaleur. • Si des enfants de moins de 10 ans peuvent approcher des unités, prenez toutes les mesures nécessaires pour qu’ils ne puissent toucher à celles-ci. • N’installez pas ces appareils près de bords de mers, où la forte concentration de sel peut détériorer les parties métalliques provoquant des chutes de pièces ou des fuites d’eau provenant des unités. • N’installez pas ces appareils près d’une pièce contenant de l’huile minérale et sujette aux projections d’huile ou de vapeur (une cuisine par exemple). Cela pourrait détériorer les parties plastiques et provoquerait la chute de pièces ou des fuites d’eau provenant des unités. • N’installez pas ces appareils dans un lieu de production de substances qui compromettent l’équipement, tel que le gaz sulfurique, le gaz de chlore, l’acide, ou l’alcali. Il fera corroder les tuyaux de cuivre et les joints causant la fuite de liquide réfrigérant. • N’installez pas ces appareils dans une zone où on produit de l’ammoniaque et où des animaux peuvent uriner sur l’unité extérieure. • Installez l’unité intérieure, l’unité extérieure, les câbles d’alimentation, les câbles d’interconnexion et les câbles de la télécommande au minimum à 1 m d’une télévision ou d’un récepteur radio. Cette précaution est destinée à éviter les interférences sur le signal de réception de la télévision ou du bruit sur le signal radio (Cependant, même à plus d’1 m les signaux peuvent être encore perturbé). • Prenez toutes les précautions nécessaires pour que l’unité ne tombe pas.
II AVERTISSEMENT • Assurez-vous que les murs ou plafonds pourront supporter le poids tant de l’unité intérieure que de l’unité extérieure. • L’unité extérieure ne doit pas être installée penchée de plus de 5°.
*Veillez laissez un espace suffisant pour l'accès lors de la maintenance.
Pour une installation avec 3 directions de soufflage, pensez à effectuer le paramétrage nécessaire sur la télécommande (voir le «5. Fonctions et paramètres à régler», page 101) et assurez-vous de bien utiliser un obturateur (vendu en accessoire). Le paramétrage de la hauteur sous plafond « Haut » ne peut être utilisé avec une installation avec 3 directions de soufflage. Par conséquent, il ne sert à rien de modifier le paramétrage. Installation de l’unité intérieure 1. Afin d’éviter tout risque de vibration ou de bruit parasite, utilisez pour votre installation un plafond ou une dalle de plancher de construction solide. 2. L’entrée et la sortie d’air ne doivent en aucun cas être obstruées. L’emplacement doit permettre une bonne répartition de l’air climatisé dans le local. 3. L’emplacement sera prévu de façon à permettre une maintenance aisée de l’appareil. Les figures ci-après donnent quelques cotes importantes à respecter qui permettront une installation facile et des interventions de dépannage sans problème. 4. Une pompe de relevage est intégrée dans la cassette. Si votre installation nécessite une hauteur de relevage trop importante (supérieure à 40 cm au niveau de la cassette), ATLANTIC Climatisation & Ventilation peut fournir une pompe de relevage adaptée. 5. L’espace disponible en faux plafond doit être suffisant : 262 mm au moins.
INSTALLATION DES UNITÉS INTÉRIEURES Fig. 95
Fig. 97 Passage du tuyau d'évacuation des condensats (Diamètre extérieur 26.1) 102 mm 40 mm 99 mm
6. Ne pas installer l’appareil dans un lieu où les vibrations et le bruit seront amplifiés. Il est possible d’installer les modèles AUYG 12, 14, et 18 à une hauteur de 3 m maximum. Pensez à effectuer le paramétrage nécessaire sur la télécommande (voir le «12. Câblage de l’interconnexion sur l’unité intérieure», page 56), en fonction de la hauteur d’installation. 10. INSTALLATION DE L’UNITÉ INTÉRIEURE 10.1. Positionnement pour l’ancrage des boulons
Boîtier de commande Plafond Liaison liquide
10.2. Fixation du corps de l’unité intérieure 1. Vissez l’écrou à épaulement large (écrou spécial A), puis l’écrou à épaulement étroit (écrou spécial B) sur les tiges filetées (Fig. 98). 2. Présentez le corps de l’unité intérieure de façon à ce que les tiges filetées passent dans les boutonnières de suspension, entre les écrous spéciaux (Fig. 98). 3. Ajustez les hauteurs au moyen des boulons B pour une parfaite mise à niveau du climatiseur. 4. Pour ce faire, utilisez un niveau à bulle ou un tuyau transparent rempli d’eau (Fig. 99). Fig. 98
570 (unité intérieure)
580 – 660 (ouverture dans le faux plafond)
540 mm (position des boulons)
Espace de maintenance
INSTALLATION DES UNITÉS INTÉRIEURES II ATTENTION • Veillez à ce que l’unité intérieure soit bien horizontale par rapport au plafond sur lequel elle est fixée.
Fig. 102 Pente de 1/100 ou plus Dia. ext. 33 mm ou plus
11. INSTALLATION DU TUYAU D’ÉVACUATION DES CONDENSATS 11.1. Généralités • Pour le collecteur prévoyez un écoulement avec une pente de 1/50 à 1/100 minimum, sans remontée, ni siphon. • Utilisez un tube en PVC (VP25) de 32 mm de diamètre extérieure et raccordez-le avec du ruban adhésif pour assurer l’étanchéité. • Si le tube est long, prévoyez des suspentes (Fig. 101). • Pas de prise d’air ! • Isolez le tube dans la partie située à l’intérieur des locaux en l’entourant d’un manchon isolant pour éviter tout risque de condensation. • Si une remontée du tuyau d’évacuation est nécessaire, faites-la à moins de 150 mm du départ de l’appareil et sans excéder 700 mm ou moins depuis le plafond avec une marge de 300 mm depuis le corps de l’appareil par rapport au faux plafond. Ne dépassez pas ces cotes, cela pourrait entraîner des fuites. • Si la totalité de la tuyauterie est installée 100 mm plus bas que la sortie d’évacuation des condensats, utilisez du tube de 33 mm de diamètre extérieure ou plus avec une pente de 1/100 minimum.
Fixez le tuyau d'évacuation des condensats Collier de serrage
Pente 1/100 au-dessus
VP25 Pente de 1/100 à 1/50
II AVERTISSEMENT • Ne pas brancher le tuyau d’évacuation des condensats sur le réseau des égouts, car il peut s’échapper du dioxyde de souffre dû à l’usure de l’échangeur. • Isolez correctement les raccords pour éviter les fuites d’eau. • Pour vérifier le bon fonctionnement de l’évacuation des condensats, après l’installation, utilisez des morceaux de tuyaux transparents aux sorties et à la l’extrémité du tuyau sortant du corps de l’unité intérieure.
II ATTENTION • Ne pas appliquer d’adhésif sur la sortie des condensats de l’unité intérieure. (utilisez le tuyau joint et le branchez au tuyau d’évacuation). 11.2. Installation
Horizontal ou surélevé
1. Fixez l’adaptateur (fourni dans les accessoires) à la sortie d’évacuation de l’unité (Fig. 104) et fixez le collier de serrage comme indiqué Fig. 105. 2. Utilisez de l’adhésif pour coller le tuyau rigide PVC ou un tuyau coudé. (Posez une bande adhésive de couleur à partir de la limite de la jauge pour assurer l’étanchéité) Fig. 106. 3. Vérifiez l’évacuation des condensats. 4. Posez l’isolant (fourni dans les accessoires) pour couvrir l’évacuation et les parties du corps de l’unité intérieure.
INSTALLATION DES UNITÉS INTÉRIEURES Fig. 104
Entourez l’isolant autour du collier de serrage. Assurezvous de bien aligner sur le haut.
Fig. 107 - Vue de dessus (c)
Tuyau PVC (non fourni) Fixez l'adaptateur (fourni)
Assurez-vous de ne pas avoir d'espace Fixez l'isolant
Fig. 108 - Vue en coupe (c)
Veillez à aligner en haut.
Fig. 105 - Vue de dessus (a) Collier de serrage
Note : Vérifiez l’évacuation des condensats 20 mm Portion visible transparente
Fig. 106 - Vue de coté (b)
Versez environ 1 litre d’eau comme indiqué Fig. 109 ou depuis la sortie d’air au bac de condensation. Vérifiez d’éventuelles anomalies telles que des bruits anormaux et si la pompe de vidange fonctionne normalement. Fig. 109
Zone ou coller l'adhésif 35 mm
Tuyau d'évacuation des condenstas Cache câble Pissette
INSTALLATION DES UNITÉS INTÉRIEURES 11.3. Isolation calorifique des raccords frigorifiques Vérification de l’absence de fuite sur le circuit. Une fois le circuit mis en pression comme décrit précédemment, vérifiez avec un détecteur de gaz halogéné agréé, les raccords de l’installation. Installez le manchon isolant sur les raccords frigorifiques côté unité intérieure (gros et petit tubes).
12. CÂBLAGE DE L’INTERCONNEXION SUR L’UNITÉ INTÉRIEURE 12.1. Schéma de câblage
II AVERTISSEMENT • Chaque câble doit être connecté fermement. • Les câbles ne devront pas toucher les liaisons frigorifiques • Des câbles mal connectés au bornier peuvent être à l’origine d’une surtension ou de dysfonctionnements.
Manchon isolant Manchon isolant Corps Corps
• Les câbles connectés doivent correspondre aux numéros des borniers. Fig. 111
Assurez que la manchon Assurez que la manchon isolant couvre tout letout raccord isolant couvre le raccord
Unité intérieure Bornier
ATTENTION ATTENTION Appliquez soigneusement le manchon contre contre le corpsledecorps l’appareil sans laisser d’espace Appliquez soigneusement le manchon de l’appareil sans laisser d’espace
Serrez Serreztrès très soigneusement soigneusement lelemanchon manchon
Type 245 IEC57 Unité extérieure (Taille de câble 1.5mm2 ) ou boîtier de répartition Ligne d'alimentation
230 V Ligne de commande
Veuillez connecter sur le bornier spécifié
Pas Pas d’espace d’espace Manchon isolant Manchon isolant
Fig. 113 Rouge Rouge Blanc Blanc Noir Noir
Ligne Ligne d'alimentation d'alimentation
Ligne dede Ligne commande commande
Côté unité Côté unité intérieure intérieure
12.2. Câblage de l’interconnexion sur l’unité intérieure 1. Retirez le couvercle du boîtier électrique et installez les câbles d’interconnexion. Fig. 114 Vis
Couvercle du boîtier électrique
INSTALLATION DES UNITÉS INTÉRIEURES
2. Après avoir installé les câbles, fixez-les avec des serre-câbles.
Serre-câbles (accessoire) Serrez bien. Détail (a)
Câble de transmission
Câble de télécommande filaire (en option)
13.2. Retirez la grille de reprise
Lien (accessoire) Coupez l’excédent
Passez le lien dans l’orifice et serrez bien
1. Retirer la grille de reprise d’air, en faisant coulisser les 2 loquets vers l’intérieur, comme indiqué dans la Fig. 117. Fig. 117
Serre-câbles (accessoire) Serrez bien
Lien (accessoire) Coupez l’excédent
Câble de transmission Câble de télécommande filaire (en option)
Passez le lien dans l’orifice et serrez bien
2. Ouvrir ensuite la grille de reprise d’air et retirez-la. 13. MONTAGE DE LA FAÇADE (UTG-UFYD-W)
13.1. Sélection des voies de soufflage (facultatif) Il est possible d’obturer une seule voie de soufflage avec les obturateurs. Pour éliminer la voie de soufflage inutilisée, prendre comme illustré dans la Fig. 116 le départ des tuyaux frigorifiques comme repère. Voir Fig. 116 pour les configurations possibles.
INSTALLATION DES UNITÉS INTÉRIEURES 13.3. Mise en place de la façade sur le corps de l’appareil 1. Fixez la façade sur l’unité intérieure.
3. Réalisez le raccordement électrique comme indiqué dans la Fig. 122. Fig. 122
2. Alignez les repères sur la façade avec le tube d’écoulement et le tube de l’unité intérieure.
Rangez les câbles comme indiqués ci-dessous. Fig. 123
Remettez en place le couvercle du boîtier électrique. Fig. 124
II ATTENTION Utilisez exclusivement les vis fournies pour la mise en place de la façade sur le corps de l’appareil. Fig. 121
Pour remettre la grille d’entrée d’air, suivez la procédure dans l’ordre inverse. Il est possible d’installer la grille dans les 4 sens, selon le choix de l’utilisateur.
II ATTENTION • Ne modifiez pas la position des volets à la main. Mettez l’appareil sous tension pour manœuvrer les volets. • Respectez le sens de montage de la façade. • Ne laissez pas d’espace entre la grille de façade et le corps du climatiseur. • La façade est pourvue d’un accessoire pour éviter d’ouvrir totalement la grille. • Lisez la notice d’installation jointe à la façade, avant de l’installer.
INSTALLATION DES UNITÉS INTÉRIEURES
13.4. Montage de la grille de reprise d’air
1. Montez des équerres en L Montez les 2 équerres en L aux 2 positions indiquées à l’aide des vis à grand pas. Fig. 125 - Grille de reprise
N.B. : Le grille de reprise peut être tournée et être installée dans les 4 sens pour s’adapter au préférence de l’utilisateur. Fig. 130
Câbles de suspension
Equerre en L Fig. 131
Couple de serrage : 0,8-1,2N.m 2.
4. Remontez la grille de reprise.
Mettez en position les 2 vis à petit pas sur les 2 équerres en L.
3. Attachez les câbles de suspension sur la façade. Attachez les câbles de suspension aux 2 positions indiquées sur la façade du côté de l’ouverture de la grille de reprise.
* n’est pas compatible avec l’AOYG 14 LAC2.
AUYG 12 LVL* / AUYG 12 LVLBB* AUYG 14 LVL** / AUYG 14 LVLBB** AUYG 18 LVL** / AUYG 18 LVLBB**
** ne sont pas compatibles avec l’AOYG 14 et 18 LAC2.
1. ACCESSOIRES 1.1. Accessoires pour la pose de l’unité intérieure livrés avec l’appareil Les accessoires d’installation suivants sont livrés avec les appareils (sauf mention contraire). Utilisez-les conformément aux instructions.
II ATTENTION • Les accessoires standards sont systématiquement présents dans les emballages. • Veillez à bien récupérer accessoires et notices avant de vous débarrasser des emballages. Désignation
Isolation de la liaison frigorifique gaz
Ecrou à épaulement A (large)
Ecrou à épaulement B (petit)
Gabarit d’installation
Pour repérer la découpe au plafond de l’unité intérieure
Télécommande infrarouge
Commande de l’appareil
Pour l’alimentation de la télécommande infrarouge
Support de télécommande
Fixation de la télécommande
Vis autotaraudeuses (ø 3 X 12)
Montage du support de la télécommande infrarouge
Fixation de l’unité intérieure
INSTALLATION DES UNITÉS INTÉRIEURES
5. Fermez la grille de reprise. Fermez la grille de reprise et faire passer la boucle des câbles de suspension autour des têtes de vis placés au point 2. comme indiqué sur la Fig. 132.
1.2. Procédure de démontage de la grille de reprise d’air Suivez le point 4 à 7 du paragraphe 6.4 en sens inverse. Note : - Pour changer l’orientation de la grille de reprise, vous devez suivre les indications du point 3 au point 4 du paragraphe 6.4, puis changer la position des câbles de suspension. - Pour nettoyer le filtre, vous devez suivre les indications du point 4 du paragraphe 6.4.
2. INSTALLATION DES KITS OPTIONNELS Suspendre
6. Finissez de visser les vis à petit pas pour maintenir les câbles de suspension.
Ce climatiseur peut être connecté soit à une télécommande filaire (UTY-RVNYM), soit à une télécommande filaire simplifiée (UTY-RSNYM), à l’aide d’un connecteur fourni avec la télécommande, soit un kit air neuf ou encore à un appareil externe à l’aide de contact entrée et sortie (voir les accessoires en «1.3. Autres accessoires», page 51.
Fig. 133 Type Kit air neuf
N° du connecteur CN6
Télécommande filaire ou filaire simplifiée
7. Refermez complètement la grille de reprise. Fig. 134
INSTALLATION DES UNITÉS INTÉRIEURES AGYG 9 LVC* AGYG 12 LVC* AGYG 14 LVC**
* n’est pas compatible avec l’AOYG 14 LAC2. ** ne sont pas compatibles avec l’AOYG 14 et 18 LAC2.
1. ACCESSOIRES 1.1. Accessoires pour la pose de l’unité intérieure livrés avec l’appareil Les accessoires d’installation suivants sont livrés avec les appareils (sauf mention contraire). Utilisez-les conformément aux instructions.
II ATTENTION • Les accessoires standards sont systématiquement présents dans les emballages. • Veillez à bien récupérer accessoires et notices avant de vous débarrasser des emballages.
Fixation de l’unité intérieure
Télécommande infrarouge
Commande de l’appareil
Pour l’alimentation de la télécommande infrarouge
Support de télécommande
Fixation du support de la télécommande
Finition de l’installation de l’unité intérieure
Vis autotaraudeuse (petite)
Montage du support de la télécommande infrarouge
Vis autotaraudeuse (grande)
Installation du support métallique
1.2. Autres accessoires
Télécommande filaire UTY-RVNYM Code 875 019
Cette télécommande vous permet d’effectuer une programmation hebdomadaire et d’afficher les fonctions dans la langue de votre choix parmi 9 langues différentes (reportez-vous à la notice d’installation NI 923 095). Prévoir une télécommande par unité intérieure.
Télécommande filaire simplifiée UTY-RSNYM Code 809 459
La télécommande filaire simplifiée est d’une grande facilité d’utilisation et permet d’accéder aux fonctions basiques du climatiseur (mode de fonctionnement, température de consigne...) (Reportez-vous à la notice d’installation NI 923 083). Prévoir une télécommande par unité intérieure.
Contact entrée (CN 14) Code 809 623 Contact sortie (CN 20) Code 894 053*
Pour commande externe sur la carte électronique de l’unité intérieure * A commander au SAV - tél : 04 72 10 27 50.
INSTALLATION DES UNITÉS INTÉRIEURES 2. CHOIX DE L’EMPLACEMENT DES UNITÉS Le choix de l’emplacement est une chose particulièrement importante, car un déplacement ultérieur est une opération délicate, à mener par du personnel qualifié. Décidez de l’emplacement de l’installation après discussion avec le client.
II ATTENTION • N’installez jamais ces appareils à un endroit où des fuites de gaz ou de combustibles gazeux pourraient advenir (ces appareils ne sont pas antidéflagrants). • N’installez pas ces appareils près de sources de chaleur. • Si des enfants de moins de 10 ans peuvent approcher des unités, prenez toutes les mesures nécessaires pour qu’ils ne puissent toucher à celles-ci. • N’installez pas ces appareils près de bords de mers, où la forte concentration de sel peut détériorer les parties métalliques provoquant des chutes de pièces ou des fuites d’eau provenant des unités. • N’installez pas ces appareils près d’une pièce contenant de l’huile minérale et sujette aux projections d’huile ou de vapeur (une cuisine par exemple). Cela pourrait détériorer les parties plastiques et provoquerait la chute de pièces ou des fuites d’eau provenant des unités. • N’installez pas ces appareils dans un lieu de production de substances qui compromettent l’équipement, tel que le gaz sulfurique, le gaz de chlore, l’acide, ou l’alcali. Il fera corroder les tuyaux de cuivre et les joints causant la fuite de liquide réfrigérant. • N’installez pas ces appareils dans une zone où on produit de l’ammoniaque et où des animaux peuvent uriner sur l’unité extérieure. • Installez l’unité intérieure, l’unité extérieure, les câbles d’alimentation, les câbles d’interconnexion et les câbles de la télécommande au minimum à 1 m d’une télévision ou d’un récepteur radio. Cette précaution est destinée à éviter les interférences sur le signal de réception de la télévision ou du bruit sur le signal radio (Cependant, même à plus d’1 m les signaux peuvent être encore perturbé). • Prennez toutes les précautions nécessaires pour que l’unité ne tombe pas.
II AVERTISSEMENT • Assurez-vous que les murs ou plafonds pourront supporter le poids tant de l’unité intérieure que de l’unité extérieure. • L’unité extérieure ne doit pas être installée penchée de plus de 5°.
Accessoires non fournis • Câble pour l’interconnexion électrique (4 conducteurs). • Liaison cuivre recuit de type frigorifique dans les longueurs et diamètres adéquats. • Ruban adhésif pour le maintien des liaisons. • Bande toilée pour l’assemblage des tuyauteries. • Bouchon pour obturer le passage mural du tuyau d’évacuation. • Colliers Rilsan et serre-câbles. • Tuyau d’évacuation des condensats. • Vis autotaraudeuses et vis à bois. • Mastic pour obturer l’espace entre les liaisons et les gaines d’isolation. 1. Afin d’éviter tout risque de vibration ou de bruit parasite, utilisez pour une installation un mur de construction solide. 2. L’entrée et la sortie d’air ne doivent en aucun cas être obstruées. L’emplacement doit permettre une bonne répartition de l’air climatisé dans le local. 3. L’emplacement sera prévu de façon à permettre une maintenance aisée de l’appareil. Les figures ci-après donnent quelques cotes importantes à respecter qui permettront une installation facile et des interventions de dépannage sans problème. 4. De même, vérifiez qu’il sera aisé de changer le filtre de l’unité. 5. Evitez d’installer l’appareil dans un endroit exposé aux rayons directs du soleil. 6. Installez l’appareil dans un emplacement où il sera aisé d’installer un tuyau d’évacuation des condensats. Fig. 135 10 cm ou plus 8 cm ou plus
15 cm ou moins par rapport au sol
(Bouchon du mur) Support de télécommande
Conforme au Type 245 IEC57
INSTALLATION DES UNITÉS INTÉRIEURES 3.2. Comment préparez le passage des liaisons
3. INSTALLATION DE L’UNITÉ INTÉRIEURE Le raccordement des liaisons frigorifiques peut s’effectuer dans les 6 directions indiquées dans la Fig. 136. Quand le raccordement des lignes frigorifiques est connecté dans les directions et , coupez sur le côté du panneau avant, le sillon prévu pour les conduites, à l’aide d’une scie à métaux. Quand le raccordement des liaisons frigorifiques est connecté dans la direction et , pratiquez une encoche dans la partie mince du panneau avant, à l’avant et vers le bas.
1. Percez un trou de 65 mm de diamètre dans le mur, à l’emplacement précisé sur la figure suivante. 2. Veillez à toujours bien centrer le trou. Un alignement incorrect peut entraîner des fuites. 3. Coupez une section de gaine à sceller correspondant à l’épaisseur du mur, obturez-la avec un bouchon, fixez le bouchon à l’aide de ruban adhésif et insérez le tuyau dans le trou. 4. Pour un raccordement à gauche et à droite, percez le trou un peu plus bas, de manière à ce que les condensats puissent s’écouler librement. Fig. 138 - Raccordement à droite ou arrière gauche
59 inférieure droite
arrière inférieure gauche gauche
3.1. Installation du support mural 1. Installez le support mural de sorte qu’il soit correctement positionné horizontalement et verticalement afin d’éviter l’écoulement des condensats au sol. 2. Installez le support mural de sorte qu’il soit assez solide pour résister au poids d’un adulte. • Accrochez le support mural à l’aide de 5 vis ou plus par les trous indiqués dans la figure suivante. • Assurez-vous qu’une fois fixé le support ne bouge pas.
Fig. 139 - Raccordement à droite ou inférieure gauche Unité : mm
Méthode de positionnement
II ATTENTION • Installez le support mural horizontalement et perpendiculairement. 65
INSTALLATION DES UNITÉS INTÉRIEURES Fig. 140
Fig. 142 Tuyau d'évacuation des condensats
Fixez le bouchon avec du ruban adhésif
MUR Bouchon Tuyau d'évacuation des condensats
II AVERTISSEMENT • En l’absence de gaine, le câble qui relie l’unité extérieure aux unités intérieures risque d’être endommagé au contact d’une pièce métallique.
L’unité intérieure est fabriquée avec le tuyau d’évacuation des condensats connecté à gauche et le bouchon appliqué à droite. 1. 2. 3. 4.
Enlevez les deux panneaux latéraux. Enlevez la vis et le collier de l’embout. Retirez le bouchon. Connectez le tuyau d’évacuation des condensats à droite, replacez les vis et permutez le bouchon à gauche.
3.3. Passage du tuyau d’évacuation des condensats
Méthode d’installation du bouchon : Utilisez une clé Allen (4 mm) pour insérer le bouchon comme indiqué sur la figure suivante. Fig. 143
• Pour aligner le tuyau d’évacuation des condensats et le bouchon, s’assurer de bien les insérer verticalement. Une inclinaison pourrait provoquer des fuites. • Lors de l’insertion, s’assurer de n’attacher aucun autre matériau. Cela pourrait provoquer des détériorations ou des fuites. • Après avoir enlevé le tuyau d’évacuation des condensats, s’assurer de ne pas oublier de remettre en place le bouchon. • S’assurer de bien fixer le tuyau d’évacuation des condensats avec l’isolant sur la partie basse du raccordement. • Lors de l’installation, assurez-vous de prendre les précautions nécessaires afin d’empêcher l’eau des condensats de geler à de basse température. Un tuyau d’évacuation bloqué par de l’eau gelée peut entraîner une fuite d’eau pour l’unité intérieure.
INSTALLATION DES UNITÉS INTÉRIEURES
3.4. Installation de l’unité intérieure
• Si la sortie d’air supérieure ou inférieure est bloquée, le climatiseur ne pourra pas refroidir ou chauffer la pièce correctement. • Ne bloquez pas le récepteur infrarouge avec le support. Sinon, celui-ci interférera avec le signal de la télécommande et réduira de manière significative la distance des signaux pouvant être reçus. • Utilisez un support avec des barres verticales, que si l’espace ouvert représente au moins 75%. Si le support a des barres horizontales ou un espace ouvert inférieur à 75%, la performance peut être réduite. • Quand l’unité intérieure est encastrée dans un mur, le temps pour que la température ambiante atteigne la température de consigne est plus long que pour une installation normale.
La fixation sur le mur, se fait à l’aide des crochets de l’unité intérieure sur ceux du support mural.
II AVERTISSEMENT • Fixez l’unité intérieure à l’aide de 4 vis. • Installez l’unité intérieure à un endroit solide pouvant résister au poids d’un adulte. • Dans les deux cas, une mauvaise installation, pourrait engendrer le basculement ou la chute de l’appareil. Fig. 144
Sortie d'air supérieure
Fig. 145 Crochets de l'unité intérieure (2 emplacements)
Sortie d'air inférieure Support mural
Fig. 147 10 cm ou plus
Espace d'encastrement
3.5. Encastrer l’unité intérieure • Lors de l’installation, utilisez un support avec des barres supérieures et inférieures horizontales étroites de sorte que le flux d’air des sorties d’air supérieure et inférieure n’entre pas en contact avec les barres. • Si les barres horizontales bloquent la sortie d’air inférieure, utilisez une cale, pour ajuster la taille de l’unité intérieure.
INSTALLATION DES UNITÉS INTÉRIEURES II ATTENTION • Il est absolument nécessaire de régler la fonction n° 23 sur la valeur 2 pour les installations encastrées (voir § «5. Fonctions et paramètres à régler», page 101). 3.6. Retrait et installation des panneaux droit et gauche
3. Retrait des panneaux droit et gauche : - Retirez la grille d’entrée d’air (se reporter au 1.). - Retirez les 4 vis. - Placez les doigts sur l’indication [] signalée sur la figure suivante, tirez à l’avant, et décrochez le panneau. Fig. 150
1. Retrait de la grille d’entrée d’air : - Ouvrez la grille d’entrée d’air. - Retirez les attaches. - Décrochez la grille d’entrée d’air. Fig. 148
Grille d'entrée d'air
Indication [] Fig. 151
Panneau gauche Panneau droit
Crochets de montage Panneau avant
Panneau droit Fig. 152
Grille d'entreé d'air Base 2. Installation de la grille d’entrée d’air : - Mettez en place les crochets de la grille d’entrée d’air sur le panneau avant. - Soulevez la grille de prise vers le haut. - Raccrochez les attaches. - Fermez la grille.
INSTALLATION DES UNITÉS INTÉRIEURES
4. Installation des panneaux droit et gauche : - Replacez les crochets et repositionnez les panneaux. - Replacez les 4 vis. - Replacez la grille d’entrée d’air.
3. Dénudez les câbles et recourbez-les comme indiqué sur la figure suivante. Fig. 155
3.7. Câblage de l’interconnexion sur l’unité intérieure
II AVERTISSEMENT • Chaque câble doit être connecté fermement. • Les câbles ne devront pas toucher les liaisons frigorifiques. • Des câbles mal connectés au bornier peuvent être à l’origine d’une surtension ou de dysfonctionnements. • Les câbles connectés doivent correspondre aux numéros des borniers.
3.7.1. Schéma de câblage
4. Insérez les câbles d’interconnexion dans les borniers et serrez fermement les vis. Fig. 156
Bornier unité intérieure
Unité intérieure Bornier
Type 245 IEC57 Unité extérieure (Taille de câble 1.5mm2 ) ou boîtier de répartition 230 V 230 V
230 V Ligne d'alimentation
Veuillez connecter sur le bornier spécifié
Bornier unité extérieure
Câbles d'interconnexion
5. Attachez le câble d’interconnexion avec le serre-câble. 3.7.2. Câblage de l’interconnexion sur l’unité intérieure
1. Dévissez la vis et retirez le couvercle du boîtier électrique. 2. Retirez le serre-câble. Fig. 154 Serre-câble
Câble d'interconnexion Couvercle du boîtier
INSTALLATION DES UNITÉS INTÉRIEURES
4. FINITIONS Fig. 160 - Raccordement à l’arrière gauche
4.1. Isolation des liaisons frigorifiques 1. Entourez les liaisons frigorifiques avec de l’isolant. 2. Positionnez et vissez un collier pour maintenir ces dernières en place.
Conduit de raccordement mural
Câble d'interconnexion Liaisons frigorifiques
Tuyau d'évacuation des condensats
4.2. Evacuation des condensats
1. Remplissez l’espace entre l’orifice externe du trou qui traverse le mur et le tube avec du mastic d’étanchéité afin d’éviter l’entrée d’eau de pluie et du vent. 2. Attachez le tuyau d’évacuation des condensats au mur extérieur. Fig. 161
OUI Tuyau d'évacuation des condensats
NON NON Tuyau d'évacuation des condensats surélevé
Accumulation d'eau dans le tuyau Air
NON Câble Enveloppez chaque liaison avec de l'isolant
Tuyau d'évacuation des condensats plongé dans l'eau
NON NON 50 mm ou moins au-dessus du sol
Tuyau d'évacuation des condensats surélevé
Côté droit du collier
Fig. 159 - Raccordement gauche
Câble de connexion Liaison
5. INSTALLATION DES KITS OPTIONNELS Ce climatiseur peut être connecté soit à une télécommande filaire UTY-RVNYM ou une télécommande filaire simplifiée UTY-RSNYM à l’aide d’un connecteur fourni avec la télécommande soit à un appareil externe à l’aide de contact entrée et sortie (voir «1.2. Autres accessoires», page 63). 5.1. Avant l’installation de la télécommande filaire • Lorsque vous utilisez la télécommande filaire, plusieurs fonctions ne pourront être utilisées sur ce climatiseur.
Tuyau d'évacuation des condensats
II ATTENTION • Avant l’installation, assurez-vous d’avoir coupé l’alimentation. • Ne pas toucher l’échangeur. • Pendant l’installation et le démontage, assurez-vous de ne pas accrocher les fils ou de les tirer trop fort ou il peut en résulter des dommages au climatiseur.
INSTALLATION DES UNITÉS INTÉRIEURES 5.4. Démontage du couvercle du boîtier électrique
II ATTENTION • Évitez les rayons directs du soleil. • Choisissez un endroit qui ne sera pas soumis à la chaleur d’un four, etc. • Après avoir installé la télécommande, vérifiez que le climatiseur reçoit bien le signal. • Ne reliez pas la télécommande filaire au bornier d’alimentation. • Lorsque vous reliez la télécommande filaire à l’unité intérieure, utilisez le connecteur prévu à cet effet fourni avec la télécommande filaire. • La longueur maximum de câble pour la télécommande filaire est de 10m. Assurez-vous d’isoler la connexion lorsque vous allongez le câble. 5.2. Modification du câble de la télécommande filaire 1. Utilisez un outil adéquat pour couper l’extrémité du câble de la télécommande filaire et enlevez l’isolation. 2. Connectez le câble et le connecteur fourni.
1. Référez-vous au §3.6 Retrait et installation des panneaux droit et gauche pour retirez le panneau gauche. 2. Enlevez la couvercle du boîtier électrique puis la protection intérieure. Fig. 164
Carte électronique Protection intérieure Couvercle du boîtier électrique ]
Fig. 162 Connecteur (fourni) Blanc Rouge Blanc Rouge Câble de la télécommande filaire
Important : Assurez-vous d’isoler la connexion entre les deux.
5.5. Connexion des câbles sur la carte électronique 1. Connectez le câble sur la carte électronique et placez le câble dans les crochets. Fig. 165 CN 14 CN 20 Carte CN 6 (SORTIE) (ENTREE) électronique
5.3. Modification du contact entrée/sortie externe 1. Dénudez les fils reliés au connecteur du contact externe et le câble non fourni. Utilisez un raccord isolé serti pour relier le câble et les fils du contact. 2. Branchez les fils du contact et le câble. Fig. 163 - Exemple contact sortie (CN20) Contact sortie externe en option
Raccord isolé Câble (non fourni)
Important : Veillez à souder les câbles et à isoler la connexion entre les fils.
Télécommande filaire ou filaire simplifiée
INSTALLATION DES UNITÉS INTÉRIEURES 2. Replacez le couvercle du boîtier électrique. 3. Fixez le câble de la télécommande filaire à l’aide d’un serre-câble et d’une vis. (Fourni avec la télécommande filaire) 4. Fixez les câbles des contacts entrée/sortie externes. Fig. 166
Connectez le câble de la télécommande filaire
Consoles 5. Installez le couvercle. Pour cela reportez-vous au § 5.5 Démontage du couvercle du boîtier électrique et faire la manipulation en sens inverse. 6. Puis installez le panneau gauche. Pour cela, reportezvous au § 3.6 Retrait et installation des panneaux droit et gauche et faire la manipulation en sens inverse.
INSTALLATION DES UNITÉS INTÉRIEURES ARYG 7 LLT* * n’est pas compatible avec l’AOYG 14 LAC2.
ARYG 9 LLT* ARYG 12 LLT* / ARYG 12 LLTB * ARYG 14 LLT** / ARYG 14 LLTB ** ARYG 18 LLT** / ARYG 18 LLTB **
** ne sont pas compatibles avec l’AOYG 14 et 18 LAC2.
1. ACCESSOIRES STANDARDS LIVRÉS AVEC L’APPAREIL 1.1. Accessoires pour la pose de l’unité intérieure Les accessoires d’installation suivants sont livrés avec les appareils (sauf mention contraire). Utilisez-les conformément aux instructions.
II ATTENTION • Les accessoires standards sont systématiquement présents dans les emballages. • Veillez à bien récupérer accessoires et notices avant de vous débarrasser des emballages. Désignation
Pour le positionnement de l’unité intérieure.
Pour suspendre l’unité intérieure.
Isolation du raccord frigorifique de l’unité intérieure (gaz).
Isolation du raccord frigorifique de l’unité intérieure (liquide).
Pour attacher le câble d’alimentation, de la télécommande et d’interconnexion.
Pour fixer les manchons.
Modèles ARYG 7 / 9 / 12 / 14
Pour connecter le tuyau d’évacuation des condensats.
Pour fixer l’adaptateur.
INSTALLATION DES UNITÉS INTÉRIEURES Désignation
Pour isoler l’adaptateur.
Télécommande filaire
Pour commander l’appareil.
Câble de la télécommande
Pour la connexion de la télécommande.
Vis autotaraudeuse (M4 x 16 mm)
Pour l’installation de la télécommande.
1.2. Autres accessoires Désignation Télécommande filaire UTY-RVNYM Code 875 019
Télécommande filaire simplifiée UTY-RSNYM Code 809 459
Usage Cette télécommande vous permet d’effectuer une programmation hebdomadaire et d’afficher les fonctions dans la langue de votre choix parmi 9 langues différentes (reportez-vous à la notice d’installation NI 923 095). Prévoir une télécommande par unité intérieure. La télécommande filaire simplifiée est d’une grande facilité d’utilisation et permet d’accéder aux fonctions basiques du climatiseur (mode de fonctionnement, température de consigne...) (Reportez-vous à la notice d’installation NI 923 083). Prévoir une télécommande par unité intérieure.
Télécommande et récepteur infrarouge UTY-LRHYM Code 809 457
Commande de l’appareil (reportez-vous à la NI 923 082)
Sonde déportée UTY-XSZX Code 809 742
Pour mesure la température d’ambiance.
Contact entrée (CN 102) Code 809 623 Contact sortie (CN 103) Code 894 053* Grille intelligente UTD-GXSA Code 809526
Pour commande externe sur la carte électronique de l’unité intérieure. (* A commander au SAV - n° 04 72 10 27 50). -
INSTALLATION DES UNITÉS INTÉRIEURES
2. CHOIX DE L’EMPLACEMENT DES UNITÉS Installation de l’unité intérieure
Le choix de l’emplacement est une chose particulièrement importante, car un déplacement ultérieur est une opération délicate, à mener par du personnel qualifié.
1. Choisissez un support épais et insensible aux vibrations, à un emplacement susceptible de supporter le poids de l’installation.
Décidez de l’emplacement de l’installation après discussion avec le client.
2. L’entrée et la sortie d’air ne doivent en aucun cas être obstruées.
3. Installez l’unité intérieure de façon à permettre une connexion aisée vers l’unité extérieure.
• N’installez jamais ces appareils à un endroit où des fuites de gaz ou de combustibles gazeux pourraient advenir (ces appareils ne sont pas antidéflagrants). • N’installez pas ces appareils près de sources de chaleur. • Si des enfants de moins de 10 ans peuvent approcher des unités, prenez toutes les mesures nécessaires pour qu’ils ne puissent toucher à celles-ci. • N’installez pas ces appareils près de bords de mers, où la forte concentration de sel peut détériorer les parties métalliques provoquant des chutes de pièces ou des fuites d’eau provenant des unités. • N’installez pas ces appareils près d’une pièce contenant de l’huile minérale et sujette aux projections d’huile ou de vapeur (une cuisine par exemple). Cela pourrait détériorer les parties plastiques et provoquerait la chute de pièces ou des fuites d’eau provenant des unités. • N’installez pas ces appareils dans un lieu de production de substances qui compromettent l’équipement, tel que le gaz sulfurique, le gaz de chlore, l’acide, ou l’alcali. Il fera corroder les tuyaux de cuivre et les joints causant la fuite de liquide réfrigérant. • N’installez pas ces appareils dans une zone où on produit de l’ammoniaque et où des animaux peuvent uriner sur l’unité extérieure. • Installez l’unité intérieure, l’unité extérieure, les câbles d’alimentation, les câbles d’interconnexion et les câbles de la télécommande au minimum à 1 m d’une télévision ou d’un récepteur radio. Cette précaution est destinée à éviter les interférences sur le signal de réception de la télévision ou du bruit sur le signal radio (Cependant, même à plus d’1 m les signaux peuvent être encore perturbé). • Prendre toutes les précautions nécessaires pour que l’unité ne tombe pas.
4. Installez l’unité intérieure de façon à permettre une connexion aisée vers l’unité extérieure. 5. Installez l’appareil dans un emplacement où il sera aisé d’installer les tuyaux gaz, liquide et d’évacuation des condensats. 6. Ne pas installez l’appareil dans un lieu où les vibrations et le bruit seront amplifiés. 7. Prévoyez un accès facile aux filtres et au boîtier de commande pour la maintenance. 8. Tenez compte de l’entretien et de la maintenance dans le choix de l’emplacement. Laissez suffisamment d’espace pour que l’accès au climatiseur soit aisé, notamment pour retirer les filtres. 3. INSTALLATION DE L’UNITÉ AU PLAFOND 3.1. Dimensions de l’installation Prendre en compte la maintenance et laisser suffisamment d’espace autour de l’unité intérieure (Fig. 168 et Fig. 169). Vérifier également qu’il est possible de changer les filtres. Fig. 168 Côté gauche
• Assurez-vous que les murs ou plafonds pourront supporter le poids tant de l’unité intérieure que de l’unité extérieure. • L’unité extérieure ne doit pas être installée penchée de plus de 5°.
INSTALLATION DES UNITÉS INTÉRIEURES
3.2.1. Exemple d’installation au plafond
Fig. 169 300 mm ou plus
20 mm ou plus Plafond
Espace de maintenance
20 mm ou plus (lorsqu'il n'y a pas de plafond)
Fig. 170 Espace de maintenance
Connexion des gaines (non fournis) 1. Entrée sur le côté • Installez la gaine (non fourni) sur la bride d’entrée. • Fixez la bride sur le châssis à l’aide de vis (non fournis). • Attachez la bride et la gaine à l’aide d’adhésif aluminium pour éviter toute fuite d’air.
II ATTENTION • Lorsque la gaine est installée sur l’entrée, ne pas mettre les filtres livrés en accessoire mais acheter d’autres filtres pour mettre à l’extrémité de la gaine. 2. Sortie sur le côté • Installez la gaine en l’ajustant sur la bride de sortie. • Attachez la bride et la gaine à l’aide d’adhésif aluminium pour éviter toute fuite d’air. • Isolez les gaines afin d’éviter la condensation.
II ATTENTION Espace de maintenance
• Veuillez expliquer les méthodes de manipulation et de lavage du matériel acheté au client. 400 mm ou plus
3.2. Installation de l’unité intérieure Installez le climatiseur comme indiqué ci-après. Le suivi de cette procédure vous garantit une bonne installation.
II ATTENTION • Choisissez un emplacement pour l’installation de l’unité intérieure suffisamment solide pour supporter au moins 5 fois son poids. • Vérifiez que ce support ne risque pas de propager les vibrations de l’appareil.
• Assurez-vous d’isoler les gaines afin d’éviter la condensation. • Assurez-vous d’isoler entre les gaines et les murs si vous utilisez des gaines métalliques.
• Vérifiez que les gaines supportent la pression statique externe de l’appareil.
• Pour empêcher les utilisateurs de toucher les parties intérieures de l’unité intérieure, il faut installer des grilles sur l’entrée et la sortie de l’appareil. Ces grilles ne devront s’enlever qu’à l’aide d’outils. • Lorsqu’on branche la gaine sur la sortie de l’unité intérieure, il faut éviter toutes possibilités de fuites d’eau (condensation). • La pression statique à l’extérieur doit être inférieure à 90 Pa (la plage disponible est comprise entre 0 et 90 Pa). Replacez le couvercle comme suit : • Enlevez les vis, et ensuite enlevez le couvercle et la grille de protection du ventilateur. • Puis installez le couvercle comme indiqué sur la Fig. 171.
INSTALLATION DES UNITÉS INTÉRIEURES Fig. 171
Fig. 174 - Reprise directe - Soufflage à l’avant
Grille de protection du ventilateur
Grille d'entrée d'air (non fourni)
Fig. 175 - Dimensions bride soufflage
Fig. 172 - Reprise à l’arrière - Soufflage à l’avant Isolant
Adhésif aluminium (non fourni) Bride
Grille d'entrée d'air (non fourni)
Fig. 173 - Reprise direct avec gaine - Soufflage à l’avant Isolant
Fig. 176 - Dimensions bride de reprise
Vis pour la fixation de la bride (M4x10mm)
A B ARYG 7 / 9 / 12 / 14 650 mm P200x2=400mm
ARYG 18 850 mm P200x3=600mm
3.2.2. Installation des filtres • Installez les filtres sur l’unité intérieure comme indiqué sur les Fig. 177 et Fig. 178.
Grille d'entrée d'air (non fourni)
Fig. 178 3.2.4. Installation de l’unité intérieure
1. Fixation de l’unité intérieure Fig. 181 Equerre Boulon d'ancrage
Ecrou spécial A (fourni)
3.2.3. Positionnement des trous et installation des boulons d’ancrage • Utilisez le gabarit pour pouvoir positionner les 4 trous à percer.
Rondelle (fournis) Ecrou spécial B (fourni)
Rondelle (fournis) Unité intérieure
Pour le positionnement des boulons d'ancrage
Ecrou spécial B (fourni)
INSTALLATION DES UNITÉS INTÉRIEURES
2. Mise à niveau de l’unité intérieure Déterminez l’horizontale en positionnant le niveau sur le dessus de l’appareil.
4.1. Dimensions de l’installation La position au sol nécessite une compensation de température. Se reporter au § «5. Fonctions et paramètres à régler», page 101.
Fig. 183 Plafond Niveau
II ATTENTION • Laissez un espace de 100 mm ou plus entre l'orifice d'entrée et le plafond. • Attachez l'unité solidement avec les écrous spéciaux A et B.
INSTALLATION DES UNITÉS INTÉRIEURES 4.2. Installation de l’unité intérieure Installez le climatiseur comme indiqué ci-après. Le suivi de cette procédure vous garantit une bonne installation.
II ATTENTION • Choisissez un emplacement pour l’installation de l’unité intérieure suffisamment solide pour supporter au moins 5 fois son poids. • Vérifiez que ce support ne risque pas de propager les vibrations de l’appareil.
Replacez le couvercle comme suit : • Enlevez les vis, et ensuite enlevez le couvercle et la grille de protection du ventilateur. • Puis installez le couvercle comme indiqué sur la figure suivante. Fig. 186
4.2.1. Exemple d’installation au plafond Connexion des gaines (non fournis) 1. Entrée sur le côté • Installez la gaine (non fourni) sur la bride d’entrée. • Fixez la bride sur le châssis à l’aide de vis (non fournis). • Attachez la bride et la gaine à l’aide d’adhésif aluminium pour éviter toute fuite d’air.
Couvercle Grille de protection du ventilateur
II ATTENTION • Lorsque la gaine est installée sur l’entrée, ne pas mettre les filtres livrés en accessoire mais acheter d’autres filtres pour mettre à l’extrémité de la gaine. 2. Sortie sur le côté • Installez la gaine en l’ajustant sur la bride de sortie. • Attachez la bride et la gaine à l’aide d’adhésif aluminium pour éviter toute fuite d’air. • Isolez les gaines afin d’éviter la condensation.
II ATTENTION • Vérifiez que les gaines supporte la pression statique externe de l’appareil.
4.2.2. Installation des filtres • Installez les filtres sur l’unité intérieure comme indiqué sur les Fig. 187 et Fig. 188. Fig. 187
• Assurez-vous d’isoler les gaines afin d’éviter la condensation. • Assurez-vous d’isoler entre les gaines et les murs si vous utilisez des gaines métalliques. • Veuillez expliquer les méthodes de manipulation et de lavage du matériel acheté au client. • Pour empêcher les utilisateurs de toucher les parties intérieures de l’unité intérieure, il faut installer des grilles sur l’entrée et la sortie de l’appareil. Ces grilles ne devront s’enlever qu’à l’aide d’outils. • Lorsqu’on branche la gaine sur la sortie de l’unité intérieure, il faut éviter toutes possibilités de fuites d’eau (condensation). • La pression statique à l’extérieur doit être inférieure à 90 Pa (la plage disponible est comprise entre 0 et 90 Pa). 80
• Déplacez le bouchon comme indiqué sur la figure suivante.
• Paramétrez le § «7. Paramétrage des ponts», page 87. • La pompe de relevage ne peut être utilisée lors d’une installation au sol. 4.2.3. Installation de l’unité intérieure 1. Fixation de l’unité intérieure • Pour prévenir tout risque de chute, fixez bien l’unité intérieure au sol ou au mur. • Pour éviter toute vibration sur l’unité intérieure, insérez une entretoise entre l’unité intérieure et le sol ou le mur et fixez-la. 2. Mise à niveau de l’unité intérieure Déterminez l’horizontale en positionnant le niveau sur le dessus de l’appareil.
II ATTENTION • Attachez l'unité solidement avec les écrous spéciaux A et B.
INSTALLATION DES UNITÉS INTÉRIEURES 4.3. Installation de l’isolation calorifique • Après avoir vérifié qu’aucune fuite de gaz ne se produit, isolez les 2 parties des raccords frigorifiques sur les petits et gros tuyaux avec un manchon isolant. • Terminez l’isolation en fixant le manchon aux deux extrémités au moyen de colliers rilsan comme indiqué la Fig. 192. • Enveloppez les deux extrémités des manchons avec du ruban adhésif vinyle de manière à ce qu’il n’y ait pas d’espace.
ø extérieur Tuyau d’évacuation des condensats
Fig. 193 - Installation au plafond Tuyau d'évacuation des condensats Sortie d'air Bouchon
Fig. 192 Manchon isolant fourni Couvrir cette partie avec de l'isolant.
Positionnez le tuyau plus bas que ce point (sortie du bac).
II ATTENTION • L’isolant doit s’adapter étroitement sans espace. 5. MISE EN PLACE DU TUYAU D’ÉVACUATION DES CONDENSATS
OK II ATTENTION Prise d'air
• Effectuez l’installation du tuyau d’évacuation des condensats conformément aux indications fournies. En particulier, veillez à intervenir dans un environnement suffisamment tempéré pendant l’installation du tuyau d’évacuation des condensats afin d’éviter que des problèmes de condensation entraînent des fuites d’eau. Utilisez de la colle pour tube PVC pour connecter le tuyau d’évacuation des condensats afin qu’il n’y ait pas de fuites. Utilisez un tuyau d’évacuation des condensats avec le diamètre indiqué dans le Tableau 19. • Ne pas créer de remontée, de piège ou de prise d’air. • Prévoyez une légère pente (1/100 ou plus). • Prévoyez des supports tout le long du tube. • Utilisez un isolant pour éviter la condensation ou le gel. • Toujours isoler le tube d’évacuation des condensats côté intérieur (épaisseur 8 mm ou plus).
INSTALLATION DES UNITÉS INTÉRIEURES II ATTENTION Fig. 197
• La pompe de relevage ne peut être utilisée lors d’une installation au sol. • Paramétrez le § «7. Paramétrage des ponts», page 87. • Assurez-vous de connecter les tuyaux pour l’évacuation des condensats sans possibilité de fuites. • Pour éviter la condensation et le ruissellement, il faut toujours isoler l’évacuation des condensats de l’unité intérieure. Prévoyez un écoulement avec une pente de 1/50 à 1/100 minimum, sans remontée ni siphon. • Utilisez du tube PVC rigide pour évacuation et connectez-le avec de la bande adhésive afin d’éviter les risques de fuite. Si le tube est long, prévoyez des suspentes. • Pas de prise d’air ! • Isolez le tube dans sa partie à l’intérieur des locaux pour éviter la condensation. Fig. 196
VP30 ou plus (Diamètre extérieur 38 mm ou plus) Pente de 1/100 ou plus
II AVERTISSEMENT • Ne pas relier le tuyau d’évacuation des condensats à un égout, là où du gaz sulfureux se forme. (Une érosion de l’échangeur pourrait se produire.) • Isolez les pièces correctement afin que de l’eau ne puisse s’écouler au niveau des raccordement de cellesci. • Vérifiez l’évacuation après la réalisation par l’utilisation de la portion transparente de la sortie de l’évacuation et la sortie du tuyau d’évacuation.
II ATTENTION Espace de 1.5 à 2 m Suspentes
Horizontal ou vers le haut
Accessoires non fournis Diamètre extérieur 32 mm
• Ne pas appliquer d’adhésif sur la sortie d’évacuation de l’unité. (Utilisez l’adaptateur fourni et reliez la tuyau d’évacuation des condensats.)
Méthode d’installation du tuyau d’évacuation des condensats
1. Assurez-vous d’utiliser l’adaptateur et le collier de serrage fournis. (l’installation est la même quel que soit le côté choisi pour l’évacuation des condensats). Fig. 198 Collier de serrage
MAUVAIS Observez la méthode suivante pour mettre en commun les tuyaux d’évacuations de plusieurs unités intérieures.
Adaptateur Orifice d'évacuation des condensats
- Lorsque une pompe de relevage est utilisée (Installation au plafond).
Tuyau d'évacuation des condensats
4 mm ou moins 20 mm - Lorsque une pompe de relevage n’est pas utilisée (Evacuation naturelle).
Serrez le collier de serrage en positionnant la vis à la verticale. La vis doit être positionnée du côté droit de l’adaptateur comme indiqué ici.
II ATTENTION Fig. 200
• Ne pas connecter à l’orifice d’évacuation avec du ruban adhésif, cela peut causer des dégâts et des fuites d’eau.
Zone d'application de l'adhésif
Raccord (non fourni) 3. Après avoir installé l’adaptateur , vérifiez si l’évacuation est régulière.
Tuyau d'évacuation des condensats
- Lorsque une pompe de relevage n’est pas utilisée (Evacuation naturelle). Fig. 203
4 mm ou moins Pente descendante de 2,5 à 5 mm
II ATTENTION • Lorsque une pompe de relevage n’est pas utilisée, ne pas connecter l’adaptateur livré en accessoire et le tuyau PVC dure directement. 2. Insérez l’adaptateur jusqu’à ce qu’il butte contre le bac d’évacuation des condensats.
Fig. 201 Zone d'application de l'adhésif Raccord (non fourni) Tuyau d'évacuation des condensats VP 25 (non fourni) 4 mm ou moins
OUI NON II ATTENTION
• Pour empêcher qu’il y ait trop de tension sur l’adaptateur, évitez de le plier ou de le vriller, cela peut causer des fuites.
INSTALLATION DES UNITÉS INTÉRIEURES
4. Après avoir vérifié l’évacuation des condensats, attachez l’isolant B comme indiqué Fig. 205 à Fig. 209. Pour éviter qu’il y ait de l’espace entre l’adaptateur et le collier de serrage , appuyez fermement sur l’isolant B .
- Lorsque une pompe de relevage est utilisée (Installation au plafond).
Encoche Appuyez fermement
Encoche Assurez-vous qu'il n'ait pas d'espace
- Lorsque une pompe de relevage n’est pas utilisée (Evacuation naturelle). Fig. 206
Enroulez l'isolant autour de l'adaptateur Etape 3 - Finition Vérifiez qu’il n’y ait aucun espace entre l’unité intérieure et l’isolant du tuyau d’évacuation des condensats.
Assurez-vous qu'il n'ait pas d'espace
- Lorsque une pompe de relevage est utilisée (Installation au plafond).
Fig. 207 Appliquez l'isolant contre l'unité
Ne pas couvrir la plaque situé en dessous.
INSTALLATION DES UNITÉS INTÉRIEURES - Lorsque une pompe de relevage n’est pas utilisée (Evacuation naturelle).
Fig. 213 Unité intérieure Bornier
Ne pas couvrir le couvercle du boîtier électrique
Type 245 IEC57 Unité extérieure (Taille de câble 1.5mm2 ) ou boîtier de répartition Ligne d'alimentation
230 V Ligne de commande
Vérification de l’écoulement normal de l’eau de condensation : Versez un peu d’eau doucement dans l’appareil avec une pissette pour vérifier le bon fonctionnement de la pompe de relevage et s’il n’y a pas de bruit anormal (Fig. 212). Fig. 212
Veuillez connecter sur le bornier spécifié
Fig. 215 Rouge Rouge Blanc Blanc NoirNoir
Ligne Ligne d'alimentation d'alimentation
Ligne de de Ligne commande commande
Côté unité Côté unité intérieure intérieure
6.2. Câblage de l’interconnexion sur l’unité intérieure 1. Retirez le couvercle du boîtier électrique et installez les câbles d’interconnexion. Fig. 216 Vis
II ATTENTION • S’assurer que l’évacuation des condensats se fasse convenablement.
Couvercle du boîtier électrique Retirez les 4 vis, puis le couvercle du boîtier électrique.
6. CÂBLAGE ÉLECTRIQUE 6.1. Schéma de câblage
II AVERTISSEMENT • Chaque câble doit être connecté fermement. • Les câbles ne devront pas toucher les liaisons frigorifiques • Des câbles mal connectés au bornier peuvent être à l’origine d’une surtension ou de dysfonctionnements. • Les câbles connectés doivent correspondre aux numéros des borniers.
2. Connectez le câble d’interconnexion et le câble d’alimentation sur le bornier spécifique et fixez les câbles à l’aide d’un collier rilsan.
INSTALLATION DES UNITÉS INTÉRIEURES 7.2. Paramétrage de la fonction temporisation du ventilateur (JM3)
Cette fonction permet de retarder l’arrêt du ventilateur en mode froid quand le climatiseur est arrêté. Câble de la télécommande 1 : Rouge 2 : Blanc 3 : Noir Terre Collier (moyen)
Fonction temporisation du ventilateur
*paramétrage en usine Fig. 219 - Position des ponts
Câble d'alimentation
Le paramétrage du JM 2 est interdit. Câble de la télécommande
Câble d'alimentation
7. PARAMÉTRAGE DES PONTS 7.1. Paramétrage de la fonction d’évacuation des condensats (JM1) En cas de non-utilisation de la pompe d’évacuation des condensats fournie, paramétrez le switch sur «Invalide». JM1
Fonction évacuation des condensats
*paramétrage en usine
8. ACCESSOIRES EN OPTION Ce climatiseur peut être connecté soit à une télécommande filaire UTY-RVNYM, une télécommande filaire simplifiée UTY-RSNYM, Télécommande et récepteur infrarouge UTY-LRHYM, une sonde déportée UTY-XSZX ou à l’aide d’un connecteur fourni avec la télécommande soit à un appareil externe à l’aide de contact entrée et sortie (voir «1.2. Autres accessoires», page 74). 8.1. Contacts entrée/sortie externe 1. Dénudez les fils reliés au connecteur du contact externe et le câble non fourni. Utilisez un raccord isolé serti pour relier le câble et les fils du contact. 2. Branchez les fils du contact et le câble. Fig. 220 - CN 103 contatc sortie Contact sortie externe en option
Raccord isolé Câble (non fourni)
Important : Veillez à souder les câbles et à isoler la connexion entre les fils. 87
INSTALLATION DES UNITÉS INTÉRIEURES Fig. 221 - Connecteurs
Connecteur sortie (CN103) Connecteur entrée (CN102)
Connecteur de la sonde déportée (CN8) Collier (moyen)
Fig. 222 - Câblage Collier (moyen)
Attachez avec ces câbles.
Attachez avec ces câbles.
8.2. Sonde déportée • Retirez le contact existant et remplacez-le par le contact de la sonde déportée (assurez-vous d’utiliser le contact approprié). • Le contact d’origine doit être isolé pour qu’il ne touche pas les circuits électriques. Paramétrage de la correction de la température de la pièce Lorsque la sonde déportée est connectée, configurez le paramétrage des fonctions de l’unité intérieure comme indiqué ci-dessous. • Réglez le numéro de fonction «30» (déclencheur de température mode froid) sur «01». • Réglez le numéro de fonction «31» (déclencheur de température mode chaud) sur «01».
8.3. Télécommande et récepteur infrarouge UTYLRHYM • Connectez le câble du récepteur à la borne du récepteur (CN13). Fig. 224
Connecteur récepteur (CN13)
INSTALLATION DES UNITÉS INTÉRIEURES 8.5. Fixation de tous les câbles
Fig. 225 Collier (moyen)
• N’attachez pas le câble d’alimentation avec d’autres câbles. Fig. 227 Collier
Passe câble** Passage de câble
Attachez avec ces câbles.
Câble de la grille intelligente Câble de la télécommande Autres câbles (en option) Colliers* Câble d'alimentation
Évitez de recouvrir l'entrée d'air avec le câblage.
8.4. Grille intelligente (UTD-GSXA-W en option) • Coupez le pont JM2 et connectez le câble de la grille intelligente sur le connecteur (CN11). Fig. 226 Connecteur (CN11)
Évitez que le câblage ne touche le plafond.
* Utilisez un collier fourni dans l’unité intérieure ou dans l’accessoire. ** Passe câble fourni dans la grille d’intelligente.
II ATTENTION • Pour protéger les câbles après ouverture d’un trou, enlevez toutes les bavures qui ont pu se former.
Ouvrez le passage et mettez le passe câble (fourni avec la grille intelligente).
Attachez avec ces câbles.
INSTALLATION DES UNITÉS INTÉRIEURES Micro-gainables
MICRO-GAINABLES ARYG 07 09 12 LSL (COMPATIBLE UNIQUEMENT AVEC AOYG 18 LAC2) ARYG 07 LSL ARYG 09 LSL ARYG 12 LSL 1. ACCESSOIRES 1.1. Accessoires pour la pose de l’unité intérieure Les accessoires d’installation suivants sont livrés avec les appareils (sauf mention contraire). Utilisez-les conformément aux instructions. II ATTENTION • Les accessoires standards sont systématiquement présents dans les emballages. • Veillez à bien récupérer accessoires et notices avant de vous débarrasser des emballages.
Pour le positionnement de l’unité intérieure.
Pour suspendre l’unité intérieure.
Isolation des raccords frigorifiques de l’unité intérieure (gaz). Isolation des raccords frigorifiques de 1 (petit) l’unité intérieure (liquide). Pour attacher le câble de la télécom2 (moyen) mande et d’interconnexion. 1 (grand)
Pour fixer les manchons. -
Pour connecter le tuyau d’évacuation des condensats.
Pour fixer l’adaptateur.
Pour isoler l’adaptateur.
Télécommande avec accessoires
Pour commander l’appareil.
Usage Cette télécommande vous permet d’effectuer une programmation hebdomadaire et d’afficher les fonctions dans la langue de votre choix parmi 9 langues différentes (reportez-vous à la notice d’installation NI 923 095). Prévoir une télécommande par unité intérieure. La télécommande filaire simplifiée est d’une grande facilité d’utilisation et permet d’accéder aux fonctions basiques du climatiseur (mode de fonctionnement, température de consigne...) (Reportez-vous à la notice d’installation NI 923 083). Prévoir une télécommande par unité intérieure. Kit constitué d’un récepteur infra-rouge et de sa télécommande infra-rouge (reportez-vous à la notice NI 923 105).
Télécommande filaire
Télécommande filaire simplifiée
Unité de réception infraUTY-LBTYM rouge
Pour mesurer la température ambiante.
Interfaces Wi-Fi W-LAN UTY-TFSXZ1
Pour une application via le Wi-Fi.
Kit de connexion externe UTY-XWZXZG
Pour la commande sortie.
INSTALLATION DES UNITÉS INTÉRIEURES 2. CHOIX DE L’EMPLACEMENT DE L’UNITÉ Le choix de l’emplacement est une chose particulièrement importante, car un déplacement ultérieur est une opération délicate, à mener par du personnel qualifié. Décidez de l’emplacement de l’installation après discussion avec le client. II ATTENTION • Assurez-vous que les murs pourront supporter le poids des unités intérieures, pour éviter leurs chutes et des blessures éventuelles. II AVERTISSEMENT Ne pas installer l’unité intérieure dans les lieux suivants : • Les bords de mer, où la forte concentration de sel peut détériorer les parties métalliques provoquant des chutes de pièces ou des fuites d’eau provenant des unités. • Une pièce contenant de l’huile minérale et sujette aux projections d’huile ou de vapeur (une cuisine par exemple). Cela pourrait détériorer les parties plastiques et provoquerait la chute de pièces ou des fuites d’eau provenant des unités. • Lieu de production de substances qui compromettent l’équipement, tel que le gaz sulfurique, le gaz de chlore, l’acide, ou l’alcali. Il fera corroder les tuyaux de cuivre et les joints causant la fuite de liquide réfrigérant. • Une zone où on produit de l’ammoniaque et où des animaux peuvent uriner sur l’unité extérieure. • Un endroit avec des fuites de gaz combustible, contenant les fibres de carbone ou des poussières inflammables en suspension, ou des particules volatiles inflammables tels que du diluant pour peinture ou de l’essence. Si le gaz fuit et se répand autour de l’unité, il peut s’enflammer. • Ne pas utiliser l’unité pour des cas spéciaux, comme le stockage de nourriture, les plantes etc... Cela peut dégrader la qualité des objets stockés. • Ne pas installer l’unité près d’une source de chaleur, vapeur ou de gaz inflammable. • Ne pas installer l’unité intérieure dans un endroit où il y a un risque de fuite de gaz dangereux.
• Installez l’unité intérieure, l’unité extérieure, les câbles d’alimentation, les câbles d’interconnexion et les câbles de la télécommande au minimum à 1 m d’une télévision ou d’un récepteur radio. Cette précaution est destinée à éviter les interférences sur le signal de réception de la télévision ou du bruit sur le signal radio (cependant, même à plus d’1 m les signaux peuvent être encore perturbés). • Si des enfants de moins de 10 ans peuvent approcher des unités, prenez toutes les mesures nécessaires pour qu’ils ne puissent toucher à celles-ci. • Prendre des précautions pour éviter la chute de l’unité intérieure. 1. Choisissez un support épais et insensible aux vibrations, à un emplacement susceptible de supporter le poids de l’installation. 2. L’entrée et la sortie d’air ne doivent en aucun cas être obstruées. 3. Installez l’unité intérieure de façon à permettre une connexion aisée vers l’unité extérieure. 4. Installez l’unité intérieure de façon à permettre une connexion aisée vers l’unité extérieure. 5. Installez l’appareil dans un emplacement où il sera aisé d’installer les tuyaux gaz, liquide et d’évacuation des condensats. 6. Ne pas installer l’appareil dans un lieu où les vibrations et le bruit seront amplifiés. 7. Prévoyez un accès facile aux filtres et au boîtier de commande pour la maintenance. 8. Tenez compte de l’entretien et de la maintenance dans le choix de l’emplacement. Laissez suffisamment d’espace pour que l’accès au climatiseur soit aisé, notamment pour retirer les filtres.
INSTALLATION DES UNITÉS INTÉRIEURES Micro-gainables
3. INSTALLATION DE L’UNITÉ AU PLAFOND 3.1. Dimensions de l’installation
Ajustez la direction de soufflage en fonction de la forme de la pièce et de l’emplacement. Fig. 231
Espace de maintenance 300 mm ou plus*
Prendre en compte l’espace de maintenance et laisser suffisamment d’espace autour de l’unité intérieure.
Unité intérieure Côté gauche
Accès pour la maintenance
* : Au-delà de 100 mm lors d'une prise d'air par le dessous
1400 mm ou plus pour le passage de l'évacuation des condensats
3.2. Installation de l’unité intérieure
Fig. 229 Prise d’air latérale
(S’il n’y a pas de plafond)
Fig. 230 Prise d’air par dessous 100 mm ou plus
Installez le climatiseur comme indiqué ci-après. Le suivi de cette procédure vous garantit une bonne installation. II ATTENTION L’installation de l’unité doit être effectuée par un nombre de personnes suffisant et avec un équipement adéquat pour le poids de l’unité. Un nombre insuffisant de personnes ou avec des outils inadéquats risque de causer la chute de l’unité ou des dommages corporels. Si l’unité est fixée uniquement à l’aide de la façade, il existe un risque que l’unité se détache. Confirmez les directions de reprise d’air et de sortie d’air avant l’installation de l’unité.
3.2.1. Exemple d’installation au plafond Connexion des gaines (non fourni)
1. Entrée sur le côté • Installez la gaine (non fourni) sur la bride d’entrée. • Fixez la bride sur le châssis à l’aide de vis (non fourni). • Attachez la bride et la gaine à l’aide d’adhésif aluminium pour éviter toute fuite d’air.
INSTALLATION DES UNITÉS INTÉRIEURES II ATTENTION • Lorsque la gaine est installée sur l’entrée, ne pas mettre les filtres livrés en accessoire mais acheter d’autres filtres pour mettre à l’extrémité de la gaine. 2. Sortie sur le côté • Installez la gaine en l’ajustant sur la bride de sortie. • Attachez la bride et la gaine à l’aide d’adhésif aluminium pour éviter toute fuite d’air. • Isolez les gaines afin d’éviter la condensation. II ATTENTION Vérifiez que les gaines supportent la pression statique externe de l’appareil. Assurez-vous d’isoler les gaines afin d’éviter la condensation. Assurez-vous d’isoler entre les gaines et les murs si vous utilisez des gaines métalliques. Veuillez expliquer les méthodes de manipulation et de lavage du matériel acheté au client. Pour empêcher les utilisateurs de toucher les parties intérieures de l’unité intérieure, il faut installer des grilles sur l’entrée et la sortie de l’appareil. Ces grilles ne devront s’enlever qu’à l’aide d’outils. Lorsqu’on branche la gaine sur la sortie de l’unité intérieure, il faut éviter toutes possibilités de fuites d’eau (condensation). • Modèles ARYG 07 09 12 : La pression statique doit être comprise entre 0 et 30 Pa. • Modèles ARYG 14 18 : La pression statique doit être comprise entre 0 et 50 Pa
Enlevez le couvercle et la grille de protection du ventilateur. Puis installez le couvercle comme indiqué sur la figure suivante.
Fig. 232 Vis screw Couvercle Cover
Fig. 233 - Entrée sur le côté - Sortie sur le côté Isolant (non fourni) Bande d’aluminium Bride (non fournie)
AIR Filtre (non fourni)
Replacez le couvercle comme suit : • Enlevez les vis (6 vis pour les tailles 07, 09,12, 14 et 7 vis pour le modèle 18)
Grille d'entré d'air (non fournie)
AIR Fig. 234 - Entrée sur le côté - Sortie sur le côté avec gaine Isolant (non fourni) Adhésif aluminium Bride (non fourni)
Bride (non fourni) Adhésif aluminium Vis pour la fixation de la bride (M4 x 10 mm) (non fournies)
AIR Filtre (non fourni)
Grille d'entré d'air (non fournie) AIR
INSTALLATION DES UNITÉS INTÉRIEURES Micro-gainables
Fig. 235 - Entrée par le dessous - Sortie sur le côté Gaine (non fournie)
Grille d'entrée d'air (non fournie)
• Installez les filtres sur l’unité intérieure comme indiqué sur les Fig. 238 et Fig. 239. Fig. 238
3.2.2. Installation des filtres
AIR Fig. 236 - Sortie sur le côté
A Filtre (accessoire)
Fig. 237 - Entrée sur le côté
3.2.3. Positionnement des trous et installation des boulons d’ancrage • Utiliser le gabarit pour pouvoir positionner les 4 trous à percer. Fig. 240
Pour le positionnement des boulons d'ancrage 95
INSTALLATION DES UNITÉS INTÉRIEURES Micro-gainables
Si le boulon d’ancrage dépasse de 20 mm, l’ouverture et la fermeture du coffret électrique du gainable sera difficile. De même pour l’accès à la pompe de relevage (maintenance, remplacement...).
2. Mise à niveau de l’unité intérieure Déterminez l’horizontale en positionnant le niveau sur le dessus de l’appareil. Fig. 244
ARYG 07 09 12 14 752 mm
3.2.4. Installation de l’unité intérieure 1. Fixation de l’unité intérieure
Fig. 242 Equerre Boulon d'ancrage
Ecrou spécial A (accessoire)
AIR Rondelle (accessoire)
CORRECT Ecrou spécial B (non fourni)
INTERDIT Fig. 243 Boulon d'ancrage Equerre Ecrou spécial A (non fourni) Rondelle (accessoire)
Ecrou spécial B (non fourni)
II ATTENTION • Attachez l'unité solidement avec les écrous spéciaux A et B.
INSTALLATION DES UNITÉS INTÉRIEURES
4. INSTALLATION DES LIAISONS FRIGORIFIQUES II ATTENTION • Faites attention qu’il n’y ait pas de poussières qui pénètrent dans les liaisons. • Quand vous stockez les liaisons, veillez à les protéger (bouchon ou adhésif). • Soudez en utilisant de l’azote à travers les liaisons.
4.1. Choix des liaisons II ATTENTION N’utilisez pas des liaisons usagées. Utilisez des liaisons propres à l’intérieur et à l’extérieur (Poli intérieurement, déshydratée et bouchonnée), sans substances susceptibles de générer des problèmes lors de l’utilisation (sulfure, oxyde, poussière, chutes de découpe, huile ou eau). • Utilisez exclusivement du tube spécifique pour utilisation frigorifique : - Cuivre recuit à forte teneur en cuivre (99% minimum). Il est souhaitable que la quantité d’huile résiduelle soit inférieure à 40 mg/10 m. N’utilisez pas de liaisons écrasées, déformées ou décolorées (en particulier à l’intérieur). Sinon, la vanne de détente ou le tube capillaire pourraient être obstrués. Un mauvais choix de liaisons provoquera de faibles performances. Il est nécessaire de choisir des matériaux adaptés au fluide frigorigène R410A (pression plus élevée). • Les épaisseurs des liaisons sont indiquées dans le tableau 1. • N’utilisez pas de liaisons plus fines. Tableau 20 Diamètre des liaisons 6,35 mm (1/4") 9,52 mm (3/8") 12,70 mm (1/2") 15,88 mm (5/8")
Epaisseur 0.80 mm 0.80 mm 0.80 mm 1.00 mm
4.2. Exigences pour les liaisons II ATTENTION • Référez-vous à la notice d’installation de l’unité extérieure pour connaître la longueur de raccordement de la liaison ou le dénivelé. II AVERTISSEMENT • Procédez à l’isolation thermique des liaisons gaz et liquide afin d’éviter toute condensation. • Utilisez des manchons isolants d’une résistance à la chaleur supérieure à 120°C. • En complément, si le niveau d’humidité aux endroits où le passage des tuyaux frigorifiques risque d’excéder 70%, protégez ces derniers avec des manchons isolants. Utilisez un manchon plus épais de 15 mm si l’humidité atteint 80%, et un manchon plus épais de 20 mm si l’humidité dépasse 80 %. II AVERTISSEMENT • Si les épaisseurs recommandées ne sont pas respectées dans les conditions décrites précédemment, de la condensation se formera à la surface des isolants. • Enfin, veillez à utiliser des manchons isolants dont les caractéristiques de conductivité calorifique seront égale à 0,045 W/(m.K) ou inférieure si la température égale 20°C.
4.3. Raccordement des liaisons 4.3.1. Réalisation des évasements 1. Coupez les liaisons avec un coupe-tube sans les déformer à la longueur adéquate. 2. Ebavurez soigneusement en tenant la liaison vers le bas pour éviter l’introduction de limaille dans cette dernière. 3. Récupérez les écrous “Flare” sur l’unité intérieure et l’unité extérieure. 4. Enfilez les écrous sur les tubes avant évasement. 5. Procédez à l’évasement en laissant dépasser la liaison de la cote “A” de la matrice de la dudgeonnière (Fig. 245 et Tableau 21). 6. Après évasement, vérifiez l’état de la portée. Celle-ci ne doit présenter aucune rayure ou amorce de rupture. (Fig. 247).
INSTALLATION DES UNITÉS INTÉRIEURES Micro-gainables
4.3.2. Mise en forme des liaisons frigorifiques
II ATTENTION Dudgeonniére
• Ne cintrez jamais plus de trois fois la liaison au même endroit sous peine de voir apparaître des amorces de rupture (écrouissage du métal). Liaison
Les liaisons seront mises en forme exclusivement à la cintreuse ou au ressort de cintrage afin d’éviter tout risque d’écrasement ou de rupture.
• Ne cintrez pas le cuivre à un angle de plus de 90°. • Pour pouvoir cintrer correctement les liaisons à la cintreuse, n’hésitez pas à les dégager de leur isolant dans le cas contraire il y a risque d’écrasement. • Après cintrage, refermez l’isolant avec de la colle Néoprène et assemblez avec du ruban adhésif.
4.3.3. Raccordement des liaisons frigorifiques
Fig. 247 Vérifiez si (L) est évasé correctement et s'il n'est ni craquelé, ni rayé.
II ATTENTION Soignez particulièrement le positionnement du tube face à son raccord. Si la liaison est mal alignée, le serrage à la main est impossible et le filetage risque d’être endommagé. Retirez les bouchons des liaisons et des robinets que lorsque vous êtes sur le point d’effectuer le branchement !
Tableau 21 Diamètre des liaisons
Tableau 22 Diamètre des liaisons 6,35 mm (1/4")
Largeur de l’écrou flare 17 mm
Utilisez toujours 2 clés pour le serrage afin de bien visser les écrous Flare dans l’axe du tuyau. Le petite liaison doit toujours être raccordée avant la grosse. Utilisez une clé dynamométrique comme spécifiée. Sinon les écrous flare pourraient se briser après un certain temps, provoquant des fuites de fluide et générant des gaz dangereux au contact d’une flamme.
Retirez les bouchons des liaisons frigorifiques. Après avoir correctement positionné les raccords face à face, serrez les écrous à la main jusqu’au contact et finissez à la clé dynamométrique (Fig. 248) selon les couples indiqués dans le Tableau 23.
INSTALLATION DES UNITÉS INTÉRIEURES Micro-gainables Fig. 248
Clé dynamométrique Liaison côté unité intérieure
Manchon isolant fourni Couvrir cette partie avec de l'isolant.
Liaison Collier (grand) (Accessoires)
II ATTENTION Tableau 23 Diamètre des écrous flare
II ATTENTION • Raccordez les liaisons de sorte que le couvercle du boîtier de commande puisse s'enlever facilement. • Bien isoler les liaisons pour être sûr qu'il n'y ait pas de fuites dans le boîtier de commande.
4.4. Installation de l’isolation calorifique Isolation calorifique des raccords frigorifiques • Après avoir vérifié qu’aucune fuite de gaz ne se produit, isolez les 2 parties des raccords frigorifiques sur les petits et gros tuyaux avec un manchon isolant. • Terminez l’isolation en fixant le manchon aux deux extrémités au moyen de colliers Rilsan comme indiqué la Fig. 249. • Enveloppez les deux extrémités des manchons avec du ruban adhésif vinyle de manière à ce qu’il n’y ait pas d’espace.
L’isolant doit s’adapter étroitement sans espace.
5. INSTALLATION DU TUYAU D’ÉVACUATION DES CONDENSATS L’unité intérieure est équipée d’une pompe de relevage intégrée.
II ATTENTION Installez le tuyau d’évacuation des condensats conformément aux instructions suivantes. Procédez à cette intervention dans une atmosphère ambiante tempérée afin d’éviter tout risque de condensation qui pourrait entraîner des fuites. Assurez-vous d’isoler correctement le tuyau d’évacuation des condensats de façon à ce que l’eau ne s’écoule pas des pièces raccordées. Le tuyau d’évacuation des condensats installé doit présenter une pente descendante d’au moins 1/100. Veillez également à ce que les tuyaux d’évacuation soient correctement isolés.
5.1. Méthode d’installation 1. Installez l’adaptateur dans l’orifice de l’unité intérieure. Fixez le collier de serrage autour de l’adaptateur dans les dimensions indiquées. Attachez-le fermement à l’aide du collier de serrage. 2. Fixez le tuyau d’évacuation (non fourni). Utilisez un tuyau PVC rigide (VP25), diamètre extérieur 38 mm, et raccordez-le à l’adaptateur à l’aide de ruban adhésif vinyle de manière à éviter toute fuite. 99
INSTALLATION DES UNITÉS INTÉRIEURES 3. Contrôlez l’étanchéité de l’évacuation 4. Entourez l’adaptateur avec l’isolant.
• Etape 1 à 3 Fig. 253
Fig. 250 Collier de serrage (accessoires) 15 mm
Zone d’application de l’adhésif
Appliquez l’isolant contre l'unité Unité intérieure
Raccord (non fourni) Encoche
Tuyau PVC (VP25) (non fourni) 5~10 mm
4 mm ou moins 20 mm Adaptateur (Accessoires) ETAPE 1
Fig. 251 Tuyau d'évacuation des condensats
Fig. 254 Appuyez fermement
Serrez le collier de serrage en positionnant la vis à l’horizontale. La vis doit être positionnée du côté droit de l’adaptateur comme indiqué ici. 5. Après avoir vérifié l’évacuation des condensats, attachez l’isolant B comme indiqué Fig. 252. Pour éviter qu’il y ait de l’espace entre l’adaptateur et le collier de serrage , appuyez fermement sur l’isolant B .
Encoche Appuyez fermement ETAPE 2
Fig. 255 Encoche Appuyez fermement
Fig. 252 Appuyez fermement
Assurez-vous qu’il n’y ait pas d’espace.
Déroulez l’isolant sur le joint. 3 Isolant B (accessoire)
INSTALLATION DES UNITÉS INTÉRIEURES Micro-gainables 5.2. Finition
Vérifiez qu’il n’y ait aucun espace entre l’unité intérieure et l’isolant du tuyau d’évacuation des condensats. - Lorsqu’une pompe de relevage est utilisée:
5.2.1. Installation d’unités groupées
Observez la méthode suivante pour l’installation des tuyaux d’évacuations de plusieurs unités intérieures. Fig. 259
VP30 ou plus [Ø ext. 38 mm ou plus] Pente 1/100 ou plus
Ne recouvrez pas la plaque
II ATTENTION - Lorsque une pompe de relevage n’est pas utilisée (évacuation naturelle): Fig. 257 Ne recouvrez pas le couvercle du boîtier électrique
S’assurer que l’évacuation des condensats se fasse convenablement. Vérification de l’écoulement normal de l’eau de condensation : Versez environ un litre d’eau doucement dans l’appareil avec une pissette pour vérifier le bon fonctionnement de la pompe de relevage et s’il n’y a pas de bruit anormal. Fig. 260
CORRECT Espace de 1,5 à 2 m Suspentes Tuyau
VP25 [Ø ext 32 mm ou plus] 700 mm ou moins
INTERDIT Prise d’air
INSTALLATION DES UNITÉS INTÉRIEURES 6. CÂBLAGE ÉLECTRIQUE 6.1. Schéma de câblage Fig. 261 : Câblage de l’interconnexion (vers l’unité extérieure) Ligne Terre Ligne de puissance
3. Ne serrez pas trop fermement la cosse sur le bornier à l’aide d’un tournevis approprié afin de ne pas endommager ou casser la vis. 4. L’utilisation de fils souples sans cosses rondes serties est formellement déconseillée. 5. Respecter les couples de serrage indiqué tableau 5. 6. Ne pas fixer deux câbles avec une vis sur la même borne. II ATTENTION Utilisez une cosse ronde sertie et serrez selon les couples de serrage, sinon un échauffement peut se produire et causer de lourd dégâts. Fig. 264
Fig. 262 : Câblage de la télécommande
Type 2 fils Rouge Blanc
Vis avec rondelle spéciale
Vis avec rondelle spéciale
Cosse ronde sertie Cosse ronde sertie Bornier Câble
* Branchez la télécommande à la terre si elle dispose d’un câble terre
6.2. Préparation des connexions électriques Câble d’alimentation Réglez la longueur du câble d’alimentation pour éviter une tension excessive sur le câble, en vous référant à la figure ci-dessous. Fig. 263 20
Câble d’alimentation ou d’interconnexion
Le fil souple type HO7RNF est utilisable moyennant quelques précautions 1. Dénudez l’extrémité des conducteurs sur environ 10 mm. 2. Avec une pince à sertir, posez en bout de fil une cosse ronde à sertir du diamètre correspondant aux vis du bornier. 102
INSTALLATION DES UNITÉS INTÉRIEURES Micro-gainables 6.3. Procédure de câblage
II ATTENTION Veuillez respecter le schéma précédent pour effectuer un câblage correct. Un mauvais câblage peut provoquer un dysfonctionnement des unités.
Installez les câbles de telle sorte qu’il ne puissent pas se toucher par la suite.
Ligne de commande Ligne d'alimentation
Pour accéder au câblage électrique, veuillez suivre les instructions de démontage. 1. Retirez le couvercle du boîtier de commande. 2. Connectez les câbles d’alimentation, de la télécommande et l’interconnexion. Fig. 265
Vers l'unité Câble d'interconnexion extérieure
Sélectionnez suivant le type de télécommande utilisé (2 fils ou 3 fils): 2 fils: 2 wire 3 fils: 3 wire
Interrupteur DIP Carte du circuit imprimé (PCB) unité intérieure Télécommande à 3 fils
Télécommande à 2 fils
Couvercle Y1 Y2 Y3 TO REMOTE CONTROL UNIT
Connexion des pièces en option
Câble de la télécommande
Câble de la télécommande
* Branchez la télécommande à la terre si elle dispose d’un câble terre
3. Après avoir branché les câbles sans trop les tendre, sécurisez le câble de la télécommande, le câble d’interconnexion et le câble d’alimentation avec des serre-câbles sous le bornier et au niveau de la base des vannes.
INSTALLATION DES UNITÉS INTÉRIEURES Micro-gainables
Le climatiseur peut être connecté avec les accessoires optionnels suivants : Tableau 25 Ex IN
Nom de l'accessoire Câble de la télécommande
Câble d’interconnexion Serre-câble
Serre-câble (Moyen) (accessoire) Évitez de couvrir l'entrée d'air avec les câbles
Câble d’interconnexion
UTY-XWZXZG Kit de connexion externe UTY-XSZX Sonde déportée UTY-XCSX Carte d’entrée et de sortie externe UTY-LBTYM Unité de réception infrarouge Grille intelligente UTD-GXSA-W ou
UTD-GXSB-W CN47 *1 CN8 CN65 CN48 CN11
*1 : Se référer à la fonction n°60 pour le paramétrage d’une sortie externe.
Évitez de toucher le plafond avec les câbles
4. Remontez le couvercle du coffret électrique.
II ATTENTION Remplissez de mastic les espaces entre les passages de câbles afin d’empêcher la condensation et le passage d’insectes dans le coffret électrique. Veillez à ne pas réaliser le câblage de la télécommande en parallèle avec le câble de l’interconnexion unité intérieure/unité extérieure, ou avec celui de l’alimentation de l’installation. Cela pourrait entraîner une mauvaise transmission des opérations.
INSTALLATION DES UNITÉS INTÉRIEURES Micro-gainables 7.3.1. Méthodes de branchement
7.1. Contacts entrée/sortie externe
• Modification des fils Dénudez le câble relié au connecteur du kit de câblage. Dénudez le câble (non fourni) et utilisez un manchon connecteur serti isolé pour raccorder ce câble et le câble du kit de câblage, puis soudez le fil.
7.1.1. Entrée externe
II ATTENTION • Assurez-vous d’avoir isoler la connexion entre les câbles. Fig. 269 (en option - accessoires) Contact entrée/sortie
• Le mode « Opération/Arrêt » ou le mode « Arrêt forcé » peuvent être sélectionnés dans les paramétrages des fonctions de l’unité intérieure. • Un câble pair torsadé (22AWG) doit être utilisé. La longueur maximum du câble ne doit pas dépasser 150 m. • Utilisez un câble d’entrée et de sortie externe approprié à l‘installation. • Le branchement des fils doit être distinct de la ligne d’alimentation. CN8 (capteur de la télécommande) Fig. 271
Soudez et isolez la connexion
• Emplacement des connexions et des câblages. Dans la figure suivante, tous les connecteurs sont connectés pour les besoins de la présentation. Lors d’une installation, les connexions diffèrent selon l’équipement.
Bornier (Entrée externe)
CN48 CN65 Ex IN TO REMOTE CONTROL UNIT (récepteur Entré / sortie infrarouge) externe carte électronique
CN47 (Sortie externe)
Appareil connecté Bornier
7.1.2. Contact sans tension
Lorsqu’une alimentation n’est pas nécessaire au dispositif d’entrée que vous souhaitez connecter, utilisez un contact sans tension.
* 1: Utilisation de l’interrupteur DC 12 V à 24 V, 1 mA à 15 mA. II ATTENTION • Isolez les câbles. Après avoir ouvert le passage des câbles, retirez les bavures au bord du trou.
ARRÊT Carte électronique
• Lors de l’affichage de « Opération/Arrêt »
MARCHE ARRÊT Fig. 275 Carte électronique
DEL Appareil connecté
• Lorsque la fonction est paramétrée sur Arrêt » mode 1.
«Opération/Carte électronique
Si la fonction 60 est paramétrée sur «00».
Appareil connecté Signal
d’entrée Commande OFF(Arrêt) → ON (Marche) Opération Relais (non fourni) ON (Marche) → OFF (Arrêt) Arrêt
Réglage Câble (non fourni) des fonctions 00
• Lorsque la fonction est paramétrée sur «Arrêt forcé ». Signal d’entrée Résistance OFF(Arrêt)→ON (Marche) ON DEL (Marche) → OFF (Arrêt)
Commande Opération Arrêt
Appareil connecté * Lorsque l’arrêt forcé est activé, l’unité intérieure s’arrête et l’utilisation de la fonction Opération/Arrêt par la télécommande est restreinte.
• Lorsque la fonction est paramétrée sur «Opération/ Arrêt » mode 2. Signal Câble d’entrée (non fourni)
OFF→ ON ON → OFF Contact externe en option Commande
Opération Arrêt (télécommande désactivée)
7.1.3. Sortie externe
Un câble pair torsadé (22AWG) doit être utilisé. La longueur maximum du câble ne doit pas dépasser 25 m. Utilisez un câble de sortie externe approprié à l‘installation. Tension de sortie : Haute 12 V DC ± 2 V, basse 0 V. Intensité admissible : 50mA • Lors de l’interverrouillage avec un périphérique externe
MARCHE Fig. 274Etat ARRÊT Carte électronique Appareil connecté
CN47 Relais (non fourni)
Carte électronique CN47
12 V DC Arrêt du ventilateur de l’unité intérieure Fonctionnement du ventilateur de l’unité intérieure Arrêt chauffage externe Marche chauffage externe
12 V DC INSTALLATION DES UNITÉS INTÉRIEURES Micro-gainables 7.2. Sonde déportée
7.3. Récepteur infrarouge
• Connectez le câble du récepteur à la borne du récepteur (CN18).
1. Retirez le contact existant et remplacez-le par le contact de la sonde déportée (assurez-vous d’utiliser le contact approprié). 2. Le contact d’origine doit être isolé pour qu’il ne touche pas les circuits électriques. Paramétrage de la correction de la température de la pièce
• Utilisez 7 broches pour le câble du récepteur. • En premier lieu, raccordez le câble du récepteur à la carte de circuit imprimé de télécommande. • Attachez le noyau qui est fourni entre la carte de circuit imprimé de télécommande et le lien. • Utilisez l’orifice du conduit si un câble extérieur est utilisé.
Lorsque la sonde déportée est connectée, configurez le paramétrage des fonctions de l’unité intérieure comme indiqué ci-dessous. 1. Réglez le numéro de fonction «30» (déclencheur de température mode froid) sur «00». 2. Réglez le numéro de fonction «31» (déclencheur de température mode chaud) sur «02».
• Connectez le câble du récepteur à la borne du récepteur (CN12). Fig. 278
Serre-câble (médium/accessoires)
Ouvrez ce passage de câble Bague traversée de câble (accessoire de la grille)
Grille intelligente (CN11)
Bague traversée de câble**
Câble grille intelligente Câble télécommande
Autres câbles optionnels Serre-câble* Câble d’alimentation
II ATTENTION • *Isolez les câbles. Après avoir ouvert le passage des câbles, retirez les bavures au bord du trou.
Le câblage ne doit pas toucher le plafond.
Ne pas obstruer l’entrée d’air avec le câblage Plafond
* Accessoire founi avec l’unité intérieure ** Accessoire fourni avec l’option • Ne pas attacher le câble d’alimentation avec les autres câbles.
INSTALLATION DES UNITÉS INTÉRIEURES Micro-gainables 7.6. Micro-interrupteur DIP 101
8. TEST DE FONCTIONNEMENT (TEST RUN)
II ATTENTION Après avoir ouvert le passage des câbles, retirez les bavures au bord du trou. Le micro-interrupteur DIP 101 permet de définir l’utilisation ou non de la pompe de relevage intégrée et de la grille intelligente. Le micro-interrupteur peut être utilisé aussi lorsqu’un chauffage additionnel est installé. Lorsque le fonctionnement est arrêté alors que l’unité intérieure fonctionne avec le chauffage auxiliaire, le fonctionnement continue 1 minute. Modifiez les paramétrages avec le micro-interrupteur DIP SW101. Fig. 281
Avant le test de fonctionnement, vérifier les points de la liste ci-dessous : L’unité extérieure est-elle installée de façon sûre ? Avez-vous effectuer une recherche de fuite de gaz ? L’isolation thermique est-elle complète (liaisons frigorifiques gaz et liquide, tuyau d’évacuation des condensats, etc...) ? L’écoulement des condensats s’effectue-t’il sans problème ? Les câbles sont-ils correctement connectés ? Les câbles sont-ils ceux spécifiés ?
Y1 Y2 Y3 TO REMOTE CONTROL UNIT
La terre est-elle solidement connectée ? Aucun obstacle n’obstrue l’aspiration et le souf flage des unités intérieures ou extérieures ? Avez-vous effectuer la charge en fluide comme indiqué ? Les vannes 3 voies (gaz et liquide) sont-elles ouvertes ? Avez-vous mis sous-tension l’unité pendant plus de 6 heures ?
8.1. Vérification avant l’essai de fonctionnement
Après avoir vérifié tous ces points, vous pouvez débuter la procédure d’essai de fonctionnement. Reportez-vous à l’unité extérieure. Interrupteur DIP SW101
Etat interrupteur DIP SW101 ON
Pompe de relevage Désactivé Grille intelli* gente Désactivé Délai ventila* teur Activé *
INSTALLATION DES TÉLÉCOMMANDES
1. TÉLÉCOMMANDE INFRAROUGE 1.1. Accessoires Les accessoires d’installation suivants sont livrés avec les appareils (sauf mention contraire). Utilisez-les conformément aux instructions.
II ATTENTION • Les accessoires standards sont systématiquement présents dans les emballages. • Veillez à bien récupérer accessoires et notices avant de vous débarrasser des emballages. Références : - AR-RAH1E pour AUYG 7 9 12 14 18 LVL et AGYG 9 12 et 14 LVC
- AR-REA2E pour ASYG 7 9 12 et 14 LU
- AR-REB1E pour ASYG 7 9 12 et 14 LMCE Désignation
Télécommande infrarouge
Commande de l’appareil
Alimentation de la télécommande
Support de la télécommande infrarouge
Fixation de la télécommande
Fixation du support de la télécommande
1.2. Télécommande infrarouge optionnelle 1.2.1. Télécommande infrarouge UTY-LBTYM Récepteur et télécommande infrarouge en option pour les modèles ARYG 07, 09, 12 LSL. Reportez-vous à la notice d’installation NI 923 105. 1.2.2. Télécommande infrarouge UTY-LRHYM Récepteur et télécommande infrarouge en option pour les modèles ARYG 07, 09, 12 LTT. Reportez-vous à la notice d’installation NI 923 082.
INSTALLATION DES TÉLÉCOMMANDES 1.3. Mise en place des piles
II ATTENTION • Ne laissez pas les piles à la portée d’enfants. • Si vous n’utilisez pas la télécommande pendant une longue période, enlevez les piles pour éviter d’éventuelles fuites qui pourraient endommager l’appareil. • Si du liquide s’écoulant des piles entre en contact avec la peau, les yeux ou la bouche, rincez immédiatement avec beaucoup d’eau et consultez votre médecin. • Les piles usées doivent être enlevées immédiatement et recyclées de manière appropriée. • Ne tentez jamais de recharger des piles.
II AVERTISSEMENT • Ne mélangez jamais des piles neuves et des piles usées, ni différents types de piles. • Les piles durent environ un an dans des conditions d’utilisation normales. Si la portée de fonctionnement de la télécommande diminue, remplacez les piles et appuyez sur le bouton RESET avec la pointe d’un stylo ou un autre objet pointu.
1.3.2. Télécommande AR-REA2E / AR-REB1E Mise en place des piles (R03/LR03 x 2). 1. Faites glisser le couvercle avant et retirez-le. Faites-le glisser dans la direction de la flèche. Fig. 283
2. Insérez les piles. Veillez à ne pas inverser les polarités (+ / -). Fig. 284
3. Fermez le couvercle avant. 1.4. Installation
1.3.1. Télécommande AR-RAH1E Mise en place des piles (R03/LR03 x 2). 1. Appuyez sur le couvercle au dos de la télécommande et tirez dans le sens de la flèche . 2. Insérez les piles. Veillez à ne pas inverser les polarités (+ / -). 3. Fermez le couvercle. Fig. 282
II ATTENTION • Vérifiez que l’emplacement choisi permet la transmission du signal vers l’unité intérieure. • Evitez les emplacements soumis directement au rayonnement solaire ou à proximité d’une source de chaleur. Installez la télécommande de façon à ce que la cellule photo-électrique du climatiseur permette la réception du signal de la télécommande. Le signal est transmis jusqu’à 7 m pour la télécommande AR-RAH1E et 6 m pour la télécommande ARREA2E. Lors de l’installation vérifiez que la télécommande fonctionne correctement.
INSTALLATION DES TÉLÉCOMMANDES 1.4.1. Télécommande AR-RAH1E
1.4.2. Télécommande AR-REA2E / AR-REB1E
1. Vissez le support de la télécommande sur un mur 1. Vissez le support de la télécommande sur un mur ou un pilier à l’aide des 2 vis fournies. (Fig. 285). ou un pilier à l’aide des 2 vis fournies. (Fig. 288). Fig. 288
Support de la télécommande
2. Installez la télécommande sur son support. Fig. 286
Vis autotaraudeuse (petite)
2. Installez la télécommande sur son support. Fig. 289
(1) Positionnez Télécommande (2) Insérez
3. Pour utiliser la télécommande, enlevez-la de son support comme indiqué sur la Fig. 287. Fig. 287 Tirez vers le haut Tirez vers l'avant
1.5. Paramétrage de la télécommande 1.5.1. Télécommande AR-RAH1E Avant de paramétrer les unités, il faut vérifier le codage de la télécommande. Pour plus de détails concernant l’intérêt du codage, voir le § 2.4 Codage de la télécommande, page 115.
ETAPE 1 Sélection du codage de la télécommande Procédez comme suit pour sélectionner le codage de la télécommande. (N.B. Le climatiseur ne pourra pas recevoir le signal s’il n’a pas été correctement paramétré). Appuyez simultanément sur les boutons FAN et SET TEMP (), et sur le bouton RESET pour accéder au paramétrage des fonctions. Puis, relâchez RESET en premier. 1. Appuyez () pour Le code code du 112
sur le bouton SET TEMP () ou changer le code A -> b -> c -> d. sur l’affichage doit correspondre au climatiseur (réglé en usine sur A).
INSTALLATION DES TÉLÉCOMMANDES S’il n’est pas nécessaire de modifier le code, ap- 3. Appuyez sur le bouton SET TEMP ( ) ou () puyez sur le bouton MODE et allez directement à pour sélectionner le paramétrage de la valeur. l’ETAPE 2. (Appuyez sur le bouton MODE pour basculer 2. Appuyez sur le bouton TIMER MODE et vérifiez entre les chiffres gauche et droite.) Pour paraque l’unité intérieure reçoit bien le signal. métrer d’autres fonctions, appuyez sur la touche 3. Appuyez sur le bouton MODE de nouveau FAN. pour valider le code, puis continuez avec 4. Appuyez sur le bouton TIMER MODE, puis sur le l’ ETAPE 2. bouton START/STOP pour valider les réglages. 5. Appuyez sur le bouton RESET pour quitter le mode de réglage des fonctions. Fig. 290 6. Après avoir réglé les fonctions, mettez l’appareil hors tension, puis remettez-le sous tension. Fig. 291
Numéro de la fonction Paramétrage de la valeur
II AVERTISSEMENT • Le code du climatiseur est réglé sur A en usine. Pour modifier ce code reportez-vous à la page 115, § 2.4 Codage de la télécommande. • La télécommande remet le code à A lors du remplacement des piles de la télécommande. Si vous utilisez un code autre que A, vous devez alors régler le code de nouveau après le remplacement des piles. Si vous ne connaissez pas le code du climatiseur, essayez chaque code (A -> b -> c -> d) jusqu’à trouver celui qui fait fonctionner le climatiseur.
II ATTENTION • Après avoir éteint l’appareil, attendre au moins 10 secondes avant de l’allumer à nouveau. Sinon le paramétrage des fonctions ne sera pas effectif.
1.5.2. Télécommande AR-REA2E ETAPE 2 Sélection du numéro de fonction et paramétrage de la valeur
Effectuer les paramétrages des fonctions, selon les conditions d’installation et usage de la télécommande.
Ce paragraphe présente la méthode de paramétrage des différentes fonctions, à l’aide de la télécommande infrarouge. Chaque installation nécessite un réglage particulier. Tous les paramètres sont présentés au § «3. Fonctions et paramètres à régler», page 136. Effectuez les réglages appareil éteint.
1. Appuyez sur le bouton SET TEMP () ou () pour sélectionner le numéro de fonction. (Appuyez sur le bouton MODE pour basculer entre les chiffres gauche et droite.) 2. Appuyez sur le bouton FAN pour paramétrer la valeur. (Appuyez de nouveau sur le bouton FAN pour revenir à la sélection du numéro de fonction).
• Vérifier que le travail de câblage pour l’unité extérieure est terminé. • Vérifier si le couvercle du boîtier électrique sur l’unité extérieure est en place. Ce paragraphe présente la méthode de paramétrage des différentes fonctions, à l’aide de la télécommande infrarouge. Chaque installation nécessite un réglage particulier. Des paramètres incorrects peuvent provoquer le dysfonctionnement de l’unité intérieure. Tous les paramètres sont présentés au «3. Fonctions et paramètres à régler», page 136.
INSTALLATION DES TÉLÉCOMMANDES • Régler le code du signal de l’unité intérieure et de la télécommande. • Il faut paramétrer les valeurs pour chaque de fonction. • Le nouveau paramétrage ne sera pas pris en compte si des numéros ou des valeurs non valides sont sélectionnés.
1.5.3. Télécommande AR-REB1E Effectuez les réglages appareil éteint.
Procédez comme suit pour sélectionner le codage de la télécommande. (N.B. Le climatiseur ne pourra pas recevoir le signal s’il n’a pas été correctement paramétré).
Pour entrer dans le mode paramétrage appuyez simultanément sur les boutons POWERFUL et SET TEMP ( / ) ) ( puis appuyez sur reset avec la pointe d’un stylo. 1. Appuyez sur le bouton SET TEMP ( / ) pour sélectionner le numéro de fonction. (Appuyez sur le bouton 10°C HEAT pour basculer entre les chiffres gauche et droite.) 2. Appuyez sur le bouton POWERFUL pour paramétrer la valeur. (Appuyez de nouveau sur le ) ( bouton POWERFUL pour revenir à la sélection du numéro de fonction). 3. Appuyez sur le bouton SET TEMP ( / ) pour sélectionner le paramétrage de la valeur. (Appuyez sur le bouton 10°C HEAT pour basculer entre les chiffres gauche et droite.) 4. Appuyez sur le bouton MODE, validez les réglages dans l’ordre indiqué, en vous assurant que le bip retentisse. 5. Ensuite, appuyez sur le bouton START/STOP ) , en vous assurant que le bip retentisse. ( 6. Appuyez sur RESET pour quitter le mode paramétrage. 7. Après avoir réglé les fonctions, mettez l’appareil / ) ( hors tension, puis remettez-le sous tension. Fig. 292 Numéro de la fonction
Paramétrage de la valeur
Avant de paramétrer les unités, il faut vérifier le codage de la télécommande.
ETAPE 1 Sélection du codage de la télécommande
Pour entrer dans le mode paramétrage appuyez simultanément sur les boutons POWERFUL et (SET) TEMP ( / ) puis appuyez sur reset avec la pointe d’un stylo. 1. Appuyez sur le bouton SET TEMP ( / ) pour changer le code A -> b -> c -> d. Le code sur l’affichage doit correspondre au code du climatiseur (réglé en usine sur A). S’il n’est pas nécessaire de modifier le code, appuyez sur le bouton 10°C HEAT et allez directement à l’ETAPE 2. 2. Appuyez sur le bouton MODE et vérifiez que l’unité intérieure reçoit bien le signal. 3. Appuyez sur le bouton 10°C HEAT de nouveau pour valider le code, puis continuez avec l’ ETAPE 2.
II AVERTISSEMENT • La télécommande remet le code à A lors du remplacement des piles de la télécommande. Si vous utilisez un code autre que A, vous devez alors régler le code de nouveau après le remplacement des piles. Si vous ne connaissez pas le code du climatiseur, essayez chaque code (A -> b -> c -> d) jusqu’à trouver celui qui fait fonctionner le climatiseur.
ETAPE 2 Sélection du numéro de fonction et paramétrage de la valeur Ce paragraphe présente la méthode de paramétrage des différentes fonctions, à l’aide de la télécommande infrarouge. Chaque installation nécessite un réglage particulier. Tous les paramètres sont présentés au § «3. Fonctions et paramètres à régler», page 136. Effectuez les réglages appareil éteint.
II ATTENTION • Après avoir éteint l’appareil, attendre au moins 10 secondes avant de l’allumer à nouveau. Sinon le paramétrage des fonctions ne sera pas effectif. 114
Pour entrer dans le mode paramétrage appuyez simultanément sur les boutons POWERFUL et SET TEMP ( / ) puis appuyez sur reset avec la pointe d’un stylo.
INSTALLATION DES TÉLÉCOMMANDES (
1.6. Codage de la télécommande 1. Appuyez sur le bouton SET TEMP ( / ) pour sélectionner le numéro de fonction. (Appuyez sur le bouton 10°C HEAT pour basculer entre les chiffres gauche et droite.) 2. Appuyez sur le bouton POWERFUL pour paramétrer la valeur. (Appuyez de nouveau sur le ) ( bouton POWERFUL pour revenir à la sélection du numéro de fonction). 3. Appuyez sur le bouton SET TEMP ( / ) pour sélectionner le paramétrage de la valeur. (Appuyez sur le bouton 10°C HEAT pour basculer entre les chiffres gauche et droite.) 4. Appuyez sur le bouton MODE, validez les réglages dans l’ordre indiqué, en vous assurant que le bip retentisse. 5. Ensuite, appuyez sur le bouton START/STOP ) , en vous assurant que le bip retentisse. ( 6. Appuyez sur RESET pour quitter le mode paramétrage. 7. Après avoir réglé les fonctions, mettez l’appareil / ) ( hors tension, puis remettez-le sous tension. Fig. 293 Numéro de la fonction
Paramétrage de la valeur
II ATTENTION • Après avoir éteint l’appareil, attendre au moins 10 secondes avant de l’allumer à nouveau. Sinon le paramétrage des fonctions ne sera pas effectif.
II ATTENTION • Si vous n’appuyez sur aucun bouton dans les 30 secondes suivant l’affichage du code, le système retourne à l’affichage de l’horloge. Dans ce cas, recommencez à l’étape 1. • Le code du climatiseur est réglé sur A en usine. La télécommande remet le code à A lors du remplacement des piles de la télécommande. Si vous utilisez un code autre que A, vous devez alors régler le code de nouveau après le remplacement des piles. • Si vous ne connaissez pas le code du climatiseur, essayez chaque code (A -> b -> c -> d) jusqu’à trouver celui qui fait fonctionner le climatiseur.
1.6.1. Télécommande AR-RAH1E Lorsque plusieurs climatiseurs sont installés dans la même pièce, il peut être utile d’associer une télécommande donnée à un climatiseur donné. Ceci est possible en codant la télécommande et le climatiseur (4 codes possibles). Ce codage a pour but d’éviter les interférences de communication entre plusieurs climatiseurs installés dans une même pièce. Procédez comme suit pour sélectionner le codage de la télécommande. 1. Appuyez sur le bouton START/STOP jusqu’à l’affichage de l’horloge sur la télécommande. 2. Appuyez sur le bouton MODE pendant au moins 5 secondes pour faire afficher le code actuel (réglé sur A en usine). 3. Appuyez sur les boutons +/- pour changer le code A -> b -> c -> d. Le code sur l’affichage doit correspondre au code du climatiseur. 4. Appuyez de nouveau sur le bouton MODE pour retourner à l’affichage de l’horloge. Le code a été modifié. Fig. 294
INSTALLATION DES TÉLÉCOMMANDES 1.6.2. Télécommande AR-REA2E Lorsque plusieurs climatiseurs sont installés dans la même pièce, il peut être utile d’associer une télécommande donnée à un climatiseur donné. Ceci est possible en codant la télécommande et le climatiseur (4 codes possibles). Ce codage a pour but d’éviter les interférences de communication entre plusieurs climatiseurs installés dans une même pièce.
Procédez comme suit pour sélectionner le codage de la télécommande (N.B. Le climatiseur ne pourra pas recevoir le signal s’il n’a pas été correctement paramétré). . ) 1. Appuyez sur le bouton START/STOP ( jusqu’à l’affichage de l’horloge sur la télécommande. ) ( 2. Appuyez (sur le pendant au moins ) bouton MODE ) ( /(ré-) ( 5 secondes pour faire afficher le code actuel en usine). glé sur ) 3./ Appuyez les boutons ( / ) pour changer le / ) ( sur . Le code sur l’affichage doit code correspondre au code du climatiseur. 4. Appuyez de nouveau sur le bouton MODE pour retourner à l’affichage de l’horloge. Le code a été modifié. Fig. 295
INSTALLATION DES TÉLÉCOMMANDES 2. TÉLÉCOMMANDES FILAIRES 2.1. Accessoires Références : - AR-WAE1E pour modèles ARYG 7, 9, 12 LLT et LLTB
- UTY-RLRY pour modèles ARYG 7, 9, 12 LSL Désignation
AR-WAE1E Télécommande filaire
Pour commander l’appareil.
Câble de la télécommande
Pour la connexion de la télécommande.
Pour la connexion de la télécommande filaire sur la platine électronique de l’unité intérieure ou la platine interface suivant les modèles d’unités intérieures utilisées.
Vis autotaraudeuse (M4 x 16 mm)
Pour l’installation de la télécommande.
Pour la fixation de la télécommande et du câble de la télécommande.
Pour l’installation du câble de la télécommande sur l’unité intérieure.
UTY-RLRY Télécommande filaire
Pour commander l’appareil.
Inclus la notice d’utilisation.
Installer la télécommande.
Fixer le câble de la télécommande à la télécommande.
* Non fourni avec les modèles ARYG 7, 9, 12
INSTALLATION DES TÉLÉCOMMANDES 2.2. Télécommandes filaires optionnelles 2.2.1. Télécommande filaire UTY-RVNYM Reportez-vous à la notice d’installation NI 923 095.
3. Passez le cordon de raccordement dans le trou à l’arrière du boîtier. 4. Fixez les fils dans le bornier situé au fond à droite du boîtier (Fig. 297). Fig. 297 Passage du câble
2.2.2. Télécommande filaire simplifiée UTY-RSNYM Reportez-vous à la notice d’installation NI 923 083.
1. Rouge 2. Blanc 3. Noir
2.3. Installation de la télécommande AR-WAE1E II ATTENTION • Afin de ne pas gêner le Cellule thermique fonctionnement de la cellule thermique de la télécommande, installez celle-ci à l’abri des rayons solaires et à l’écart du soufflage direct de l’air sous l’unité intérieure. • S’il s’avère impossible de ne pas faire cheminer le câble de la télécommande le long d’un câble de puissance ou d’une source électromagnétique, utilisez un câble blindé. • Evitez de toucher la carte électronique, les composants et les câbles avec les doigts. 1. Ouvrez la face avant de la télécommande après avoir retiré les deux vis comme indiqué sur la Fig. 296, et déposez le couvercle de la télécommande. Fig. 296 Façade du boîtier Support du boîtier (vue arriére)
Débranchez ensuite le connecteur afin de ne pas endommager les fils de raccordement en laissant le couvercle suspendu au boîtier. N’oubliez pas de remettre le connecteur en place lors du remontage du couvercle. 2. Ne touchez pas les fils de la télécommande directement avec les doigts.
5. Attachez le câble dans le boîtier avec un collier. 6. Si le câble doit rester en apparent, découpez une encoche dans le haut du boîtier pour y passer le câble. 7. Installez le boîtier de la télécommande dans le mur et fixez-le avec des vis. Fig. 298
Câble de la télécommande Connecteur Boîte Support
Mettre à la terre si la télécommande a un fil de terre
Enveloppez le connecteur et les fils de la télécommande avec de l'adhésif ou tout autre isolant comme indiqué ici. Télécommande
INSTALLATION DES TÉLÉCOMMANDES 2.3.1. Méthode de câblage
2.3.2. Paramétrage des micro-interrupteurs
II ATTENTION • Lorsque vous connectez le câble de la télécommande à l’unité intérieure, ne le connectez pas au bornier d’alimentation de l’unité extérieure ni au bornier d’interconnexion de l’unité intérieure. Vous risquez de provoquer un dysfonctionnement.
Paramétrez les micro-interrupteurs de la télécommande : Fig. 302 - Exemple Façade du boîtier (vue arrière)
OFF Vous pouvez connecter le câble de la télécommande sur l’unité intérieure de deux manières. La première méthode consiste à utiliser le contact externe fourni avec la télécommande filaire et la deuxième méthode permet de connecter le câble de la télécommande sur le bornier spécifique situé sur l’unité intérieure. Ce bornier spécifique diffère en fonction du modèle. Modifiez le câble de la télécommande comme indiqué comme suit, puis connectez-le. Reliez le câble de la télécommande filaire directement sur le bornier spécifique de l’unité intérieure.
Micro-interrupteur 1
N.B. : Le micro-interrupteur 2 ne doit pas être utilisé. Tableau 26
Bornier de la télécommande
Bornier alimentation Unité intérieure ou unité extérieure
Note : Cela ne fonctionnera pas si vous connectez le câble sur le bornier alimentation ou unité extérieure.
Micro-interrupteur 1
* Reliez la télécommande à la terre si elle possède un fil de terre.
Paramétrage avec 2 télécommandes. (reportez-vous au paragraphe 3.8.2 Contrôle à l’aide de deux télécommandes).
Fig. 301 Câble de la télécommande
Côté unité intérieure Bornier
ON Micro-interrupteur 2
Paramétrage de la sauvegarde des données. (Mettez le curseur sur ON pour utiliser les piles dans la télécommande. Valide Si ce réglage n’est pas sur ON, toutes les données paramétrées seront supprimées lors d’une coupure d’alimentation.
Paramétrage d’usine
INSTALLATION DES TÉLÉCOMMANDES 2.3.3. Mise sous tension et opération de test
Auto-diagnostic de l’installation
Si une erreur se produit, l’écran suivant apparaît (Fig. 305). Le symbole ″EE″ qui indique un défaut est affiché.
1. Vérifiez le branchement de la télécommande et le paramétrage des micro-interrupteurs. 2. Remettez en place l’avant du boîtier. * N’oubliez pas de remettre le connecteur en place lors du remontage du couvercle. 3. Vérifiez le branchement des unités intérieures et extérieure et le paramétrage des micro-interrupteurs, ensuite allumez les unités intérieure et extérieure. Après le clignotement pendant quelques secondes de ″9C″, l’heure apparaît au centre de l’affichage de l’écran de la télécommande (Fig. 303). Fig. 303
SU MO TU WE TH FR SA Ex. Auto-diagnostic
2.3.4. Paramétrage de la mesure de température d’ambiance dans une pièce Selon la configuration de votre installation, il est possible de paramétrer la mesure de la température dans une pièce. Deux possibilités s’offrent à vous : 2.3.4.1. Sélection à partir de l’unité intérieure
Opération de test 1. Arrêtez le climatiseur. 2. Appuyez simultanément sur les touches de contrôle principal et de ventilation pendant au moins 2 secondes afin de démarrer le test (Fig. 304). * Exécutez le test pendant 60 minutes. * Pour arrêter le test, appuyez sur la touche ″START / STOP″.
La température de la pièce est détectée par la sonde de température ambiante de l’appareil. Cette fonction est configurée en usine (la fonction n° 42 sur 00). En appuyant sur la touche ″ECONOMY/THERMO SENSOR″, le symbole affiché clignote, indiquant le blocage de la fonction. Fig. 306
2.3.4.2. Sélection couplée unité intérieure / télécommande (Choix de la thermistance de température libre)
• Réglez tout d’abord la fonction n° 42 sur 01 (reportez-vous au § «3. Fonctions et paramètres à régler», page 136) • Appuyez sur la touche ″ECONOMY/THERMO SENSOR″ au moins 5 secondes afin de débloquer la fonction. Le symbole Thermo sensor s’affiche lorsque la fonction est débloquée.
INSTALLATION DES TÉLÉCOMMANDES • Appuyez une nouvelle sur fois la touche ″ECONOMY/THERMO SENSOR″ afin de pouvoir sélectionner la sonde de température adaptée : celle de l’unité intérieure ou celle de la télécommande. Fig. 307
2.3.5. Paramétrage des fonctions Ce paragraphe présente la méthode de paramétrage des différentes fonctions, à l’aide des télécommandes. Chaque installation nécessite un réglage particulier. Effectuez les réglages appareil éteint. Un paramétrage incorrect peut provoquer un dysfonctionnement de l’unité intérieure. Cette procédure doit être utilisée par l’installateur ou tout autre personnel qualifié seulement. 2.3.5.1. Méthode de paramétrage
II AVERTISSEMENT • Les méthodes 1 (sélection à partir de l’unité intérieure) et 2 (sélection couplée unité intérieure/ télécommande) utilisées pour sélectionner la température d’ambiance d’une pièce, nécessitent le verrouillage de la fonction choisie. • Prenez soin de vérifier que cette fonction est bien bloquée et qu’elle est validée lorsque, en appuyant sur la touche ″ECONOMY/THERMO SENSOR″, le symbole clignote. Lors du paramétrage de la télécommande, si la valeur de la température entre la sonde de l’unité intérieure et celle de la télécommande varie considérablement, la sonde de l’unité intérieure pourrait retourner temporairement à l’état de contrôle. • Si la sonde de la télécommande détecte la température prés du mur et si la température ambiante est différente alors, la sonde pourrait ne pas détecter la température ambiante correctement. • Quand la sonde positionnée sur le côté extérieur du mur est exposé à l’air, il est recommandé d’utiliser la sonde de température de l’unité intérieure pour détecter la température ambiante, quand la différence de température entre l’intérieure et l’extérieure est trop élevée. • Le capteur de température de la télécommande n’est pas seulement utilisé en cas de problème lors de la mesure du capteur de température de l’unité intérieure.
Paramétrez les différentes fonctions selon les conditions d’installations en utilisant la télécommande. (Reportez-vous au § 3, page 136. 1. Appuyez simultanément sur les touches de choix de température (∧) (∨) et de contrôle du ventilateur pendant au moins 5 secondes pour entrer dans le mode paramétrage des fonctions (Fig. 308). Fig. 308
SU MO TU WE TH FR SA
2. Appuyez sur la touche ″ SET BACK ″ (Abaisser) pour sélectionner le numéro de l’unité intérieure (Fig. 309). Fig. 309
SET BACK SU MO TU WE TH FR SA N° de l'unité intérieure
3. Appuyez sur la touche de réglage de l’heure pour sélectionner le numéro de la fonction (Fig. 310).
INSTALLATION DES TÉLÉCOMMANDES
2.4. Installation de la télécommande UTY-RLRY Fig. 310
2.4.1. Choix de l’emplacement du capteur d’ambiance
SU MO TU WE TH FR SA Numéro de la fonction
4. Appuyez sur les touches de choix de température (∧) (∨) pour sélectionner la valeur de paramétrage. L’écran clignote comme indiqué sur la droite durant le choix de la valeur (Fig. 311). Fig. 311
5. Appuyez sur la touche ″TIMER SET″ pour confirmer le paramétrage. *Appuyez sur cette touche pendant quelques secondes jusqu’à ce que la valeur arrête de clignoter. Si l’affichage de la valeur change ou si ‘’--’’ apparaît quand le clignotement s’arrête, la valeur paramétrée n’a pas été prise correctement.
II ATTENTION Quand le capteur de température de la télécommande détecte la température à proximité d’un mur et si la température est différente entre la température ambiante et celle du mur, il se peut que le capteur ne détecte pas correctement la température ambiante. Aussi, si l’autre côté du mur donne sur l’extérieur, il est recommandé d’utiliser le capteur de température de l’unité intérieure pour détecter la température ambiante, surtout si la différence entre la température intérieure et extérieure est significative. L’emplacement du capteur de température ambiante peut être sélectionné de 2 façons (fig. 4). Choisissez l’emplacement le plus adapté pour que le capteur détecte la température ambiante (le capteur de l’unité intérieure ou de la télécommande). Fig. 313
Capteur de l’unité intérieure
SU MO TU WE TH FR SA Paramétrage
6. Répétez les opérations 2 et 5 pour exécuter des paramétrages supplémentaires. * Appuyez de nouveau simultanément sur les touches de choix de température (∧) (∨) et de contrôle du ventilateur plus de 5 secondes pour annuler le mode de paramétrage des fonctions. De plus, le mode de paramétrage des fonctions sera automatiquement annulé après 1 minute si aucune opération n’est exécutée. 7. Après avoir exécuté le paramétrage des fonctions, coupez le courant et puis remettez l’installation sous tension pour valider les réglages.
Capteur de la télécommande Si vous utilisez le capteur de la télécommande, un paramétrage sera nécessaire «8.7. Réglage du capteur de la télécommande», page 19.
INSTALLATION DES TÉLÉCOMMANDES 2.4.2. Retirez la façade Quand vous ouvrez la télécommande, débranchez le connecteur de la façade pour ne pas faire pendre la façade par les câbles et endommager ces derniers. Lors de l’installation de la façade, veillez à connecter le connecteur. Lors de la connexion/déconnexion du connecteur, veillez à ne pas endommager les câbles. Ouvrez les fermetures (2 emplacements) avec un tournevis plat, et séparez la façade et la plaque arrière.
Micro-interrupteur • Active/désactive la fonction de sauvegarde de la batterie interne (en cas de maintenance ou de coupure/panne de courant). • Il est désactivé en réglage usine pour éviter d’user la batterie. 2.4.4. Installation de la plaque arrière Fig. 316 - Montage avec un boîtier encastré Câble de télécommande
Fig. 314 façade façade
Fentes Fentes (2 (2 emplacements) emplacements)
Plaque arrière arrière Plaque
Déconnectez le connecteur situé sur la carte électronique de la le façade. Déconnectez connecteur Déconnectez le connecteur situé situé sur sur la la carte carte électronique électronique de de la la façade façade façade façade (verso) (verso)
Plaque Plaque arrière arrière
Fig. 317 - Montage direct sur un mur Gaine de câble [section de plus 1 mm] Mastic
Connecteur Connecteur
2.4.3. Paramètrage du micro-interrupteur
II ATTENTION • Utilisez un tournevis isolé pour régler les microinterrupteurs DIP. Fig. 315
2.4.5. Câbles de la télécommande Fig. 318 - Diamètre extérieur de la gaine du câble inférieur à 5 mm Câble blindé
B A Façade (verso) Réglez le commutateur DIP sur ON (marche)
Avant d’utiliser cette télécommande, réglez toujours le micro interrupteur DIP sur ON (marche). Sinon, lors de la mise sous tension, les données réglées avec le menu seront effacées et causeront des erreurs de fonctionnement. 123
INSTALLATION DES TÉLÉCOMMANDES Fig. 319 - Diamètre extérieur de la gaine du câble supérieur à 5 mm - montage avec un boîtier («5.3. Installation», page 12)
E Choisissez un câble flexible qui peut être attaché avec des serre-câbles sur la gaine du câble dans la télécommande. Fig. 321 - Diamètre extérieur de la gaine du câble inférieur à 5 mm
Mise à la F terre fonctionnelle Câble blindé Mise à la G F E terre foncG: 60 mm E: 45 mm F: 7 mm tionnelle
CORRECT Serre-câble CORRECT Serre-câble Mise à la terre fonctionnelle (si nécessaire) INCORRECT Mise à la terre fonctionnelle (si nécessaire)
G INCORRECT Fig. 320 - Diamètre Câbleextérieur blindé de la gaine du câble mm E: 45à 5mm F: 7 mm supérieur mm - montage direct surG: un60 mur («5.3. F E Installation», page 12)
Câble blindé E Câble blindé
E Mise à la terre fonctionnelle
F Mise G à la terre fonctionnelle
CORRECT Mise à la terre fonctionnelle
Mise à la terre fonctionnelle (si nécessaire)
INCORRECT Mise à la terre fonctionnelle (si nécessaire)
2.4.6. Connexion du câble de la télécommande filaire
II ATTENTION • Pour la connexion du câble de la télécommande au bornier de la télécommande, veuillez utiliser le couple de serrage indiqué. Si vous serrez trop fort les vis, elles risquent de briser le bornier. Veillez à ne pas endommager le câble en serrant trop les serre-câbles.
2.4.7. Installez la façade Connectez le câble de connexion au connecteur de la carte électronique de la façade. Insérez la partie supérieure de la façade. Sinon, cela risque d’endommager l’intérieur de la télécommande. Lorsque vous fixez la façade, assurez-vous que les câbles ne sont pas coincés par cette dernière. Fig. 323
Fixez la gaine du câble de connexion à l’aide du serre-câble. Serrez fermement le câble de façon à ce que la force de traction ne se propage pas à la borne de connexion même si une force de 30 N est appliquée au câble.
Mise à la terre fonctionnelle
Fig. 322 - Diamètre extérieur de la gaine du câble supérieur àCORRECT 5 mm
INSTALLATION DES TÉLÉCOMMANDES 2.4.8. Connexion sur l’unité intérieure
II ATTENTION • Connectez le câble de la télécommande sur l’unité intérieure, ne pas le connecter sur l’unité extérieure ou au bornier d’alimentation. Cela pourrait provoquer un dysfonctionnement. • Lors du paramétrage du micro-interrupteur DIP (SW1) sur la carte électronique de l’unité intérieure, assurez-vous de couper l’alimentation. Sinon, la carte électronique de l’unité intérieure pourrait être endommagée. La connexion du câble de la télécommande à l’unité intérieure peut se faire de deux manières. La première consiste à utiliser le câble de connexion de l’unité intérieure et la deuxième, à connecter le câble de télécommande au bornier situé sur l’unité intérieure. 2.4.8.1. Méthode 1 : connexion au connecteur 1. Utilisez un outil pour dénuder l’extrémité du câble de la télécommande, la Fig. 14. Connectez-le au contact avec le connecteur femelle Fig. 15. Assurezvous d’isoler la connexion entre les câbles. Fig. 324
2. Raccorder le câble de la télécommande au câble du contact avec le connecteur femelle et l’insérez dans le connecteur CNC01. Réglez sur « 2WIRE » le micro-interrupteur DIP (SW1) sur la carte électronique de l’unité intérieure. Fig. 326 Réglez le micro-interrupteur DIP (SW1) sur «2WIRE»
Raccordez à la vis Mise à la terre (si nécessaire) de Terre
Carte électronique de l’unité intérieure
Câble de télécommande Connecteur CNC01 Connecteur femelle du (sans polarité) contact de la télécommande
L’emplacement du connecteur et de la carte électronique varie selon le type d’unité intérieure.
Connecteur (adaptateur)
Carte électronique d’unité intérieure
2.4.8.2. Méthode 2 : connexion au bornier Insérez l’extrémité du câble de télécommande directement au bornier. Réglez sur « 2WIRE » le microinterrupteur DIP (SW1) sur la carte électronique de l’unité intérieure. Fig. 327
20 20 mmmm Mise à la terre (si nécessaire)
Câble Câble de de télécommande télécommande (sans polarité) (sans polarité)
Bornier Carte électronique de l’unité intérieure
Câble de télécommande (sans polarité) L’emplacement du connecteur et de la carte électronique varient selon le type d’unité intérieure.
Blanc Rouge Rouge Raccord Raccord isolé isolé
Réglez le microinterrupteur DIP (SW1) sur « 2WIRE »
Connecteur télécommande télécommande
Fig. 328 - Connexion des câbles
CORRECT INTERDIT Coupez
Coupez et isolez et isolez
télécommande Câble de (sans polarité) télécommande (sans polarité)
Connectez sur une même borne
M3 (câble de télécommande Y1 et Y2)
2.4.9. Réglage lors du premier démarrage
II ATTENTION Vérifier à nouveau le câblage. Un mauvais câblage pourrait endommager l’appareil. Pendant le démarrage initial, certains segments s’affichent en alternance, comme indiqué.
Si un écran d’erreur apparaît, vérifiez le code de l’erreur. Si « 26.4 » ou « 26.5 » s’affiche, c’est une erreur d’adresse de la télécommande. Appuyez sur le bouton [ ENTER] pour afficher l’écran de réglage, et effectuez le réglage. Pour des détails sur les réglages, veuillez consulter «8.15. Réglage Code d’erreur manuel de l’adresse de la télécommande», page 23. Pour les autres erreurs, consultez «5. Codes erreurs», page 142. Code d’erreur
Lorsque le démarrage initial est effectué normalement, l’« Écran du mode visualisation » s’affiche.
2.4.10. Réglages du menu 2 1. Lorsque l’ « Écran du mode visualisation » est Menu], le affiché, maintenez enfoncé le bouton[ bouton [<] et le bouton [ ENTER] simultanément pendant au moins 2 secondes. L’écran de sélection d’élément de réglage s’affiche.
Le réglage d’usine pour le réglage Maître/Esclave de la télécommande de cette unité est en « Maître ». Lorsque l’écran « Réglage Maître/Esclave de la télécommande » apparaît si plusieurs télécommandes filaires sont démarrées pour la première fois, effectuez-le réglage de la télécommande que vous souhaitez utiliser comme « Maître », puis réglez toutes les autres télécommandes sur « Esclave ». Pour des détails sur les réglages, veuillez consulter «8.6. Réglages Maître/Esclave de la télécommande», page 18.
2. Sélectionnez le nombre d’élément à régler avec le bouton [<] ou le bouton [>] ; appuyez sur le bouton [ ENTER] pour passer à l’écran de réglage. Veuillez consulter le tableau ci-dessous pour les réglages de chaque numéro des éléments. Pour des détails sur les réglages, voir la description des réglages concernés.
INSTALLATION DES TÉLÉCOMMANDES Remarques Les éléments pouvant être sélectionnés varient selon les réglages de l’équipement configuré. Vous ne pouvez pas agir sur les éléments ne pouvant pas être sélectionnés. Numéros des éléments de réglage du Menu 2 Le bouton [<] : pour monter dans le menu Le bouton [>] : pour descendre dans le menu N° Réglage
2.4.11. Affichage de la température de la pièce 1. Sélectionnez « 04 » dans les réglages du menu 2. Puis appuyez sur le bouton [ ENTER].
01 8.1 Historique des erreurs 02 8.2 Détails des erreurs 03 8.3 Version 04 8.4 Affichage de la température de la pièce 05 8.5 Réglage de l’unité de température 06 8.6 Réglage maître/esclave de la télécommande 07 8.7 Réglage de la capteur de la télécommande 08 8.8 Réglage activation de l’horloge 09 8.9 Lancement du test 10 8.10 Vérification de l’adresse de l’unité intérieure
2. La température détectée par le capteur de température de l’unité s’affiche.
11 8.11 Vérifiez l’adressage de l’unité intérieure 12 8.12 Réglage de l’unité intérieure maître 13 8.13 Réglage des fonctions de l’unité intérieure 14 8.14 Réinitialisation de l’adresse de la télécommande 15 8.15 Réglage manuel de l’adresse de la télécommande 16 8.16 Initialisation
Retournez à cet écran une fois les différents éléments réglés. Retournez à l’« Écran du mode visualisation » en Menu], le bouton [<] et le maintenant le bouton [ bouton [ ENTER] enfoncés simultanément pendant au moins 2 secondes. Le réglage est interrompu (pour tous les écrans de réglages) et l’affichage revient à l’« Écran du mode Menu], le bouton [<] visualisation », si le bouton [ et le bouton [ ENTER] sont maintenus enfoncés simultanément pendant au moins 2 secondes.
« -- » indique une erreur du capteur.
3. Appuyez sur le bouton [ Menu] pour revenir à l’écran de sélection d’élément du Menu 2.
INSTALLATION DES TÉLÉCOMMANDES Remarques • La plage de détection du capteur de température est de 0,0 °C à 46,0 °C.
1. Sélectionnez « 06 » dans les réglages du menu 2. Puis appuyez sur le bouton [ ENTER].
2.4.12. Réglage de l’unité de température 1. Sélectionnez « 05 » dans les réglages du menu 2. Puis appuyez sur le bouton [ ENTER]. 2. Sélectionnez le « 0 : Maître » ou le « 1 : Esclave » avec les boutons [+] ou [-].
2. Sélectionnez le « 0 : °C » ou le « 1 : °F » avec les : Maître boutons [+] ou [-].
3. Appuyez sur le bouton [ ENTER]. S’il n’y a pas de problème, retournez à l’écran de sélection d’élément du Menu 2. : Esclave Dans le cas d’un réglage lors du démarrage initial, l’« Écran du mode visualisation » s’affiche. S’il y a 0, 2 ou plus d’unités « Maître », le nombre s’affichera. Si « Maître » est 0, appuyez sur le bouton [ ENTER] pour revenir à l’écran de sélection d’élément du Menu 2.
3. Appuyez sur le bouton [ ENTER] pour revenir à l’écran de sélection d’élément du Menu 2. 2.4.13. Réglages Maître/Esclave de la télécommande Remarques • Configurez seulement une télécommande du groupe en « Maître ». • Lorsque des télécommandes sont configurées comme « Esclaves », les éléments de réglage seront restreints.
Si « Maître » est supérieur à 2, appuyez sur le bouton [ ENTER] pour revenir à l’écran de 2.. Si « Maître » est 0 ou supérieure à 2, appuyez sur le Menu] pour revenir à l’écran de sélection bouton [ d’élément du Menu 2.
INSTALLATION DES TÉLÉCOMMANDES 2.4.14. Réglage du capteur de la télécommande Remarques Dans le cas de plusieurs télécommandes filaires, il ne peut y avoir qu’une seule télécommande du groupe pour laquelle le capteur peut être réglé sur « Activer ». Quand 2 télécommandes ou plus dans le groupe de télécommandes sont réglées sur « Activer », la télécommande réglée précédemment est changée sur « 0 : Désactiver ». 1. Sélectionnez « 07 » dans les réglages du menu 2. Puis appuyez sur le bouton [ ENTER].
1. Sélectionnez « 08 » dans les réglages du menu 2. Puis appuyez sur le bouton [ ENTER].
2. Sélectionnez le « 0 : Désactiver (Pas utilisé)» ou le « 1 : Activer (Utilisé) » avec les boutons [+] ou [-].
: Utilisé : Pas utilisé
3. Appuyez sur le bouton [ ENTER] pour revenir à l’écran de sélection d’élément du Menu 2. 2. Sélectionnez le « 0 : Désactiver (Pas utilisé)» ou le « 1 : Activer (Utilisé) » avec les boutons [+] ou [-].
2.4.16. Vérification de l’adresse de l’unité intérieure 1. Sélectionnez « 10 » dans les réglages du menu 2. Puis appuyez sur le bouton [ ENTER].
: Activer : Désactiver
3. Appuyez sur le bouton [ ENTER] pour revenir à l’écran de sélection d’élément du Menu 2. 2.4.15. Réglage d’activation de l’horloge Remarques Si « 0 : Pas utilisé » est sélectionné par le réglage, 9.1. Réglage de l’horloge et Réglage programmation hebdomadaire*1 ne peut être réglé. Le réglage d’usine est « 0 : Pas utilisé ». (*1: Consultez la notice d’utilisation sur le CD-ROM)
2. Affiché depuis la télécommande avec la plus petite adresse du groupe de télécommandes. Les unités intérieures affichées peuvent être commutées avec les boutons [+] ou [-]. (a)à 99) (b) (a) Adresse du circuit frigorifique (00 (b) Adresse de l’unité intérieure (00 à 63) (c) Adresse de la télécommande (d) Numéro du système (002 : Unité intérieure) (e) Numéro de l’unité (01 à 32)
3. Appuyez sur le bouton [ Menu] pour revenir à l’écran de sélection d’élément du Menu 2.
2.4.17. Vérification de l’adressage de l’unité intérieure Remarques Cet élément ne peut pas être réglé à partir des télécommandes esclaves. 1. Sélectionnez « 11 » dans les réglages du menu 2. Puis appuyez sur le bouton [ ENTER].
2. Sélectionnez l’adresse de la télécommande de l’unité intérieure pour notifier l’adressage. Les unités intérieures notifiées peuvent être commutés par les boutons [+] ou [-].
: Notification en cours 2.4.18. Réglage de l’unité intérieure maître Remarques • L’unité intérieure maître ne peut être réglée lorsque l’unité intérieure fonctionne. • Pour l’unité intérieure maître, spécifiez uniquement un groupe de télécommande (ou une seule unité intérieure) au sein du système frigorifique. 1. Sélectionnez «12 » dans les réglages du menu 2. Puis appuyez sur le bouton [ ENTER].
2. L’état du réglage actuel s’affiche.
: Pas d’unité intérieure Maître : Pas d’unité intérieure Maître
Unité intérieure maître 3. Lorsque vous appuyez: sur le bouton [ ENTER], l’unité intérieure concernée ventile et les LED cli: Le réglage de l’unité gnotent*. (* Uniquement si l’unité intérieure possède appareil est interdit. des LED).
: Notification en cours : Non-notification
: Unité intérieure maître
: Le réglage de l’unité intérieure Maître à partir de cet appareil est interdit.
intérieure Maître à partir de cet
INSTALLATION DES TÉLÉCOMMANDES Si « 2 » s’affiche, appuyez sur le bouton Menu] pour revenir à l’écran de sélection d’élé[ ment du Menu 2. 3. Si « 0 » s’affiche, appuyez sur le bouton [ ENTER] pour régler l’unité intérieure maître et revenir à l’écran de sélection d’élément du Menu 2. Si « 1 » s’affiche, appuyez sur le bouton [ ENTER] pour annuler les réglages de l’unité intéSélectionnez tout rieure maître et revenir à l’écran de sélection d’élément du Menu 2.
Sélectionnez tout Sélectionnez de la télécommande Sélectionnez l’adresse de lal’adresse télécommande (Ex. Sélectionnez la 002-01) (Ex. Sélectionnez la 002-01)
2.4.19. Réglage des fonctions de l’unitéSélectionnez intétout rieure
Sélectionnez l’adresse de la télécommande (Ex. Sélectionnez la 002-01) Numéro de fonction
3. Définissez le numéro de fonction avec les Remarques Numéro de fonction [+] oul’adresse [-]. Puis appuyez sur le bouton Sélectionnez tout boutons Sélectionnez de la télécommande Cet élément ne peut être réglé à partir des télécom[ ENTER].(Ex. Sélectionnez la 002-01) mandes esclaves. Numéro de fonction Numéro de réglage
Cette procédure modifie les réglages Sélectionnez des fonctions tout Sélectionnez l’adresse de la télécommande utilisées pour l’unité intérieure selon les installations. (Ex. Sélectionnez la 002-01) Des réglages incorrects peuvent provoquer un dysfonctionnement du système. Effectuez le « réglage Numéro fonction Numérodede réglage des fonctions de l’unité intérieure » conformément à l’installation à l’aide de la télécommande. • Préparez le réglage de l’unité intérieure en consulNuméro de réglage tant la notice d’installation de l’unité intérieure avant 4. Définissez le numéro Numérodede réglage fonction avec les de commencer le réglage des fonctions et pour plus boutons [+] ou [-]. Puis appuyez sur le bouton d’informations sur les numéros des fonctions et des [ ENTER]. réglages. Numéro de réglage 1. Sélectionnez «13 » dans les réglages du menu 2. Puis appuyez sur le bouton [ ENTER]. Numéro de réglage
5. Les résultats des réglages s’affichent après la transmission des données. 2. Sélectionnez l’adresse de la télécommande à avec les boutons [+] ou [-]. Puis appuyez sur le bouton [ ENTER].
Sélectionnez l’adresse de la télécommande (Ex. Sélectionnez la 002-01)
INSTALLATION DES TÉLÉCOMMANDES 6. Appuyez sur le bouton [ ENTER] pour revenir à l’écran de sélection de l’adresse de la télécommande de 2.. Si le réglage terminé s’affiche, appuyez sur le Menu] pour revenir à l’écran de sélection bouton [ d’élément du Menu 2. 2.4.20. Réinitialisation de l’adresse de la télécommande Remarques • Si vous passez d’un adressage manuel à un adressage automatique de la télécommande, effectuez-le après avoir modifié l’adresse de la télécommande de l’unité intérieure sur « 0 ». • Le réglage est visible après avoir remis l’appareil en marche. 1. Sélectionnez «14 » dans les réglages du menu 2. Puis appuyez sur le bouton [ ENTER].
2. Vous pouvez vérifier l’adressage de la télécommande. Pour réinitialiser l’adresse de la télécommande, sélectionnez « 1 : Réinitialiser » en utilisant les boutons[+] ou [-] . Si vous ne réinitialisez pas, appuyez sur le bouton [ Menu] pour revenir à l’écran de sélection d’élément du Menu 2.
2.4.21. Réglage manuel de l’adresse de la télécommande Remarques • Les adresses seront automatiquement réglées au démarrage initial de la télécommande. Dans un tel cas, ne changez pas l’adresse de la télécommande pour l’unité intérieure, et conservez-la sur le paramètre initial de 0. • Configurez des adresses manuellement seulement lors de l’utilisation de différents numéros d’adresse. Une adresse de télécommande pour une unité intérieure doit être paramétrée. Configurez les adresses de télécommande des unités intérieures qui sont connectées au même réseau de câble de télécommande, dans une limite de 1 à 9 et de A (10) à F(15) et sans doublon. (N’utilisez pas « 0 » pour la configuration). Pour la configuration des adresses de télécommande pour l’unité intérieure, reportez-vous à la notice d’utilisation. • L’adresse pour cette télécommande peut être configurée de 1 à 32. Toutefois, ne paramétrez avec le même numéro l’adresse d’une télécommande et d’une unité intérieure connectée qui sont dans le même réseau de câble de télécommande. • Le réglage est visible après avoir remis l’appareil en marche. 1. Sélectionnez « 15 » dans les réglages du menu 2. Puis appuyez sur le bouton [ ENTER].
« » s’affiche Adresse automatique Pas affiché : Adresse manuelle : Ne pas réinitialiser : Réinitialiser
: Ne pas réinitialiser 3. Appuyez sur le bouton [»ENTER]. « s’affichepour : revenir à : Réinitialiser l’écran de sélection d’élément du Menu 2. Adresse automatique Pas affiché : Adresse manuelle
2. Vous pouvez vérifier l’adressage actuelle de la télécommande. Définissez le numéro de l’unité avec les boutons [+] ou [-]. Il n’est pas possible de modifier le numéro du système. « » s’affiche : Adresse automatique Pas affiché : Adresse manuelle 01 à 32
INSTALLATION DES TÉLÉCOMMANDES 3. Appuyez sur le bouton [ ENTER] pour revenir à l’écran de sélection d’élément du Menu 2.
2.4.23. Autres réglages
2.4.22. Initialisation
2.4.23.1. Réglage de l’horloge
1. Sélectionnez «16 » dans les réglages du menu 2. Puis appuyez sur le bouton [ ENTER].
Remarques • Il n’est pas possible d’utiliser cette fonction si « 8.8. Le réglage d’activation de l’horloge » est réglé sur « Pas utilisé ». 1. Appuyez sur le bouton [ ENTER] sur l’« Écran du mode visualisation ». L’écran de sélection d’élément de réglage s’affiche. Concernant les autres éléments en dehors de « Réglage de l’horloge », veuillez consulter la notice d’utilisation sur le CD-ROM.
2. Pour initialiser, sélectionnez « 1 : Initialiser » avec les boutons [ ] ou [ ]. Si vous n’initialisez pas, appuyez sur le bouton [ ENTER] pour revenir à l’écran de sélection d’élément du Menu 2.
:↑ :↓ Éléments de de réglage du Menu (icône d’affichage) Eléments réglage du menu Éléments réglage du Menu (icône d’affi :ch ↑: Éléments de du Menu (icône d’affi chage) Éléments dede réglage du Menu (icône d’affi chag Éléments de réglage du Menu (icône d’affi ch Éléments deréglage réglage du Menu (icône d’affi chage) Éléments de réglage du Menu (icône d’ ) Réglage de la direction du flux d’air ( Réglage d’air ) )( Réglage dede laladirection du flux d’air (flux Réglage dede laladirection dudu d’air ( ( (d’air Réglage de ladirection direction du ux d’air Réglage direction du fllaux d’air (flflux Réglage de la direction des flux d’air Réglage de direction du flux Réglage du minuteur Marche ( ) Réglage minuteur Réglage dudu minuteur Marche ( Marche ) ) Marche dudu minuteur ( ( ( ) )() Réglage du minuteur Marche RéglageRéglage minuteur Marche ( Marche Réglage du minuteur ) Réglage du minuteur Marche ) Réglage du minuteur Arrêt ( )Arrêt Réglage dudu minuteur Arrêt ( (minuteur Réglage minuteur Réglage dudu minuteur Arrêt Réglage du minuteur Arrêt ( ) ) () ) ( (Arrêt Réglage minuteur Arrêt ) Réglage du Réglage minuteur Arrêt Réglage de l’heure actuelle ( ) Réglage dede l’heure ) ) actuelle Réglage de l’heure deactuelle l’heure ( ( ( ) )() Réglage de l’heure actuelle RéglageRéglage l’heure actuelle (actuelle Réglage de( actuelle l’heure ) Réglage dedel’horloge ) Réinitialisation l’indication de filltre ( ) Réinitialisation de l’indication de fil ltre ( Réinitialisation de l’indication de fil ltre ( ) ) () Réinitialisation de l’indication de fil ltre ( Réinitialisation de l’indication de fil ltre ( ) de filltre Réinitialisation de l’indication ltre ( Réinitialisation defill’indication Réinitialisation de filtrede ) Réglage économiquede ( l’indication ) ) ( ( ( ) ) () Réglage économique ( ( économique Réglage économique économique Réglage économique RéglageRéglage économique ) Réglage
: Ne pas initialiser : Initialiser
2. Sélectionnez l’icône du réglage de l’horloge dans les Réglages du Menu avec les boutons [+] ou [-]. Puis appuyez sur le bouton [ ENTER].
: Ne pas initialiser : Initialiser 3. Appuyez sur le bouton [ ENTER] pour redémarrer l’appareil automatiquement. Réglage des différents éléments. Remarques Lorsque vous déplacez la télécommande, initialisez-la.
3. Sélectionnez le format d’heure avec les boutons [+] ou [-]. Puis appuyez sur le bouton [ ENTER].
(0:00-11:59 AM/PM) (12:00-11:59 AM/PM) (0:00-23:59) 133
INSTALLATION DES TÉLÉCOMMANDES 2.4.24. Contrôle de groupe
II ATTENTION Assurez-vous de couper le disjoncteur avant d’effectuer des réglages Lors du réglage des micro-interrupteurs DIP, ne touchez aucune autre partie de la carte du circuit imprimé directement avec vos mains nues. (0:00-11:59 AM/PM) (12:00-11:59 AM/PM) (0:00-11:59 AM/PM) (0:00-23:59)
4. Choisissez le jour de la semaine avec les boutons [+] ou [-]. Un « ∏ » s’affiche au niveau du (0:00-11:59 AM/PM) jour (0:00-23:59) sélectionné. Puis appuyez sur le bouton (0:00-11:59 AM/PM) [ ENTER].
Une seule télécommande peut commander plusieurs appareils. Dans ce cas, toutes les unités intérieures connectées fonctionnent suivant le même réglage (celui de la télécommande). Ces appareils doivent utiliser le même type de télécommande. Connectez jusqu’à 16 unités intérieures: Fig. 329
(12:00-11:59 AM/PM) (12:00-11:59 AM/PM)
SU : Dimanche TH : Jeudi
* Unité B intérieure
E Câble de la télécommande: A+B+C+D ≤ 500 m
SA: Jeudi : Samedi TH FR : Vendredi
Exemple câblage pour Câble de lade télécommande: A+B+C+D ≤ 500 mune télécommande à 2 fils: WE : Mercredi
Fig. 330 Unité intérieure 1
5. Sélectionnez les heures ou les minutes avec les
: Lundiboutons TU :[<] Mardi : Mercredi ou [>], etWE réglez la valeur avec les bouou [-]. dredi tons SA[+]: Samedi
Unité intérieure 3 Unité intérieure 4
Unité intérieure 3 Unité intérieure 4
Câble de transmission (bus)
Câble de la télécommande
Câble de la télécommande
2.4.25. Paramétrage de l’adressage de la télécommande 6. Lorsque vous touchez le bouton [ ENTER], l’affichage revient à l’« Écran du mode visualisation ».
Réglez chaque adresse des unités intérieures en utilisant les micro-interrupteurs. Ces micro-interrupteurs se situent sur la carte électronique de l’unité intérieure. SW100 SW100 SW100 SW100
INSTALLATION DES TÉLÉCOMMANDES Câble de transmission (bus)
Câble de la télécommande Télécommande
Exemple: 4 unités intérieures connectées.
Fig. 332 Unité intérieure 1
Télécommande à 2 fils
Télécommande à 3 fils (Paramétrage usine «00») Micro-interrupteur DIP (RC AD SW) Si vous connectez plusieurs unités intérieures à une télécommande filaire simplifiée, réglez l’adresse sur «00» et incrémentez de 1 à chaque ajout d’une unité intérieure, se référer au Tableau 28.
Adresse unité intérieure dans le groupement télécommande
Unité intérieure 3 Unité intérieure 4
(Paramétrage usine «00») Micro-interrupteur DIP (RC AD SW) Les paramètres d’adressage de la télécommande sont automatiquement configurés. Si vous souhaitez faire une configuration manuelle il est nécessaire de configurer à la fois l’unité intérieure et la télécommande.
Micro-interrupteur SW100 ON
Exemple de réglage 00
Reportez vous au tableau ci-dessous pour adresser une télécommande à plusieurs unités intérieures: Tableau 28 N° de l’unité intérieure
Adresse de la télécommande
N° de l’interrupteur DIP
ON ON ON ON II ATTENTION Les adresses doivent toujours se suivent. Il est interdit de sauter un numéro. 135
INSTALLATION DES TÉLÉCOMMANDES 2.4.26. Contrôle à l’aide de 2 télécommandes
3. FONCTIONS ET PARAMÈTRES À RÉGLER Deux télécommandes peuvent être utilisées pour commander une unité intérieure.
Suivez les instructions données dans les paragraphes précédents pour paramétrer les fonctions.
II ATTENTION Ne pas combiner une télécommande à deux fils et une télécommande à trois fils. Fig. 333 U.I..*
A B Primaire Secondaire
* Unité intérieure Câble télécommande: A ≤ 500 m et A + B ≤ 500 m
Effectuez les réglages appareil éteint. • Il faut paramétrer les différentes valeurs pour chaque numéro de fonction. • Le nouveau paramétrage ne sera pas pris en compte si des numéros ou des valeurs non valides sont sélectionnés. Nettoyage du filtre • Un signal apparaît sur l’unité intérieure pour avertir l’utilisateur lorsqu’il faut nettoyer le filtre. • Paramétrez la périodicité de l’affichage de l’avertissement comme indiqué dans les tableaux suivants, en fonction de la poussière ou des saletés dans la pièce (paramétrage usine ″00″). AUYG 7, 9, 12, 14, 18 Paramétrage Standard (2500 heures) Longue (4400 heures) Courte (1250 heures) Pas d’avertissement
(paramétrage usine ″00″)
Toutes les autres unités intérieures Paramétrage Standard (400 heures) Longue (1000 heures) Courte (200 heures) Pas d’avertissement
(paramétrage usine ″00″)
INSTALLATION DES TÉLÉCOMMANDES Hauteur sous plafond AUYG 7, 9, 12, 14, 18 et ABYG 14, 18
• Paramétrez les valeurs comme indiqué dans les tableaux suivants, en fonction de la hauteur sous plafond (paramétrage usine ″00″). Paramétrage Standard (2,7 m)
N° de la fonction 20
N.B. : Ne pas paramétrer cette fonction si vous utilisez le modèle ABYG en configuration console murale. • Le paramétrage ″Haut - 01″ ne s’applique que lorsque les 4 voies de soufflage du climatiseur sont utilisées. Ne modifiez pas le paramétrage si vous n’utilisez que 3 voies de soufflage. Nombre de voies de soufflage AUYG 7, 9, 12, 14, 18 • Paramétrez les valeurs comme indiqué dans le tableau suivant, en fonction du nombre de voies de soufflage utilisées (3 ou 4) (paramétrage usine ″00″). Paramétrage 4 voies 3 voies
N° de la fonction 22
Sortie d’air horizontale pour installation encastrée AGYG 9, 12 et 14 LVC • Lorsque l’on encastre l’unité intérieure dans un mur, il faut pour la sortie d’air supérieure qu’elle ne fonctionne qu’en position horizontale. Si ce paramétrage n’est pas fait, l’air est orienté contre le mur et la pièce ne sera pas correctement climatisée (paramétrage usine ″00″). Paramétrage Standard
• En fonction des conditions d’installation, il est parfois nécessaire de corriger la pression. Paramétrez comme indiqué dans le tableau suivant (paramétrage usine ″31″). ARYG 7, 9, 12 LLT Paramétrage 0 Pa
Valeur 00 01 02 03 04 05
Plage pression statique 0 à 30 Pa
INSTALLATION DES TÉLÉCOMMANDES Compensation de température de l’unité intérieure ARYG 7, 9, 12 LSL En fonction de l’environnement, il est parfois nécessaire de corriger la thermistance de température intérieure. Paramétrez comme indiqué dans le tableau ci-après. (Paramétrage usine «00»). Paramétrage N° de la fonction Valeur 00 Standard Aucune correction 01 de 0,0 °C -0,5 °C 02 -1,0 °C Plus de 03 -1,5 °C refroidis04 sement -2,0 °C 05 Moins -2,5 °C 06 de 30 31 -3,0 °C 07 chauf(pour le (pour le -3,5 °C 08 fage refroidis- chauf-4,0 °C 09 sement) fage) 10 +0,5 °C +1,0 °C +1,5 °C +2,0 °C +2,5 °C +3,0 °C +3,5 °C
Moins de refroidissement Plus de chauffage
Toutes les autres unités intérieures Paramétrage de la compensation de température (Mode froid) Paramétrage Standard Légère baisse Baisse Hausse
N° de la fonction 30 (pour le refroidissement)
Standard Baisse Légère hausse Hausse
31 (pour le chauffage)
Lorsque vous utilisez les gainables et les consoles compactes en installation allège utilisez la valeur ″01″. Compensation de température télécommande filaire ARYG 7, 9, 12 LSL En fonction de l’environnement, il est parfois nécessaire de corriger la thermistance de température intérieure de la télécommande filaire. Pour modifier ce réglage, paramétrez avant la fonction 42 sur la valeur de réglage 01. Paramétrez comme indiqué dans le tableau suivant. (Paramétrage usine «00»). Paramétrage N° de la fonction Standard Aucune correction de 0,0 °C -0,5 °C -1,0 °C Plus de -1,5 °C refroidis-2,0 °C sement Moins -2,5 °C de 35 36 -3,0 °C chauf(pour le (pour le -3,5 °C fage refroidis- chauf-4,0 °C sement) fage) +0,5 °C
+4,0 °C Moins de refroidissement Plus de chauffage
Valeur 00 01 02 03 04 05 06 07 08 09 10 11 12 13 14 15 16 17
INSTALLATION DES TÉLÉCOMMANDES Redémarrage automatique
Contrôle entrée externe
Ce paramétrage permet d’activer ou de désactiver le • Le mode Fonctionnement / Mode Arrêt ou le mode redémarrage automatique du système après une cou- Arrêt Forcé peuvent être sélectionnés. pure de courant. Paramétrage N° de la fonction Valeur Fonctionnement / Paramétrage N° de la fonction Valeur 00 Mode Arrêt Oui 00 40 (Paramétrage interNon 01 01 dit) 46 (paramétrage usine ″00″) Mode Arrêt Forcé 02 Mode fonctionne03* Activation de la sonde de température ment / Arrêt 2 intérieure sur la télécommande filaire (paramétrage usine ″00″) (mesure de la température ambiante) * ARYG 7, 9, 12, 14, 18 LSL Paramétrage N° de la fonction Valeur Non 00 Contrôle du basculement de la température de 42 Oui 01 la pièce (paramétrage usine ″00″) • Si la valeur est 00, la température de la pièce est mesurée par la thermistance de l’unité intérieure. • Si la valeur est 01, la température de la pièce est mesurée par la thermistance de l’unité intérieure ou par la thermistance de la télécommande. Codage de la télécommande
ARYG 7, 9, 12 LSL Pour utiliser le capteur de température sur la télécommande filaire uniquement, sélectionnez le réglage « télécommande filaire » valeur de réglage «01». Cette fonction fonctionne uniquement si le réglage de la fonction 42 est réglé sur les « deux » valeurs de réglage «01». Paramétrage Les deux Télécommande filaire
Lorsque plusieurs climatiseurs sont installés dans la même pièce, il peut être utile d’associer une télécom48 01 mande donnée à un climatiseur donné. Ceci est possible en codant la télécommande et le climatiseur (4 codes possibles). Ce codage a pour but (Paramétrage usine «00»). d’éviter les interférences de communication entre pluCommande du ventilateur de l’unité sieurs climatiseurs installés dans une même pièce. intérieure pour des économies d’énergie en mode froid Paramétrage N° de la fonction Valeur A 00 • Cette fonction permet l’arrêt de la rotation du venB 01 tilateur de l’unité intérieure lorsque l’unité extérieure 44 C 02 est arrêtée et d’effectuer des économies d’énergie. (Paramétrage usine «02»). D 03 Paramétrage N° de la fonction Valeur (paramétrage usine ″00″) Désactiver 00 Activer 49 01 Télécommande 02 00 : Lorsque l’unité extérieure est arrêtée, le ventilateur de l’unité intérieure fonctionne en permanence. 01 : Lorsque l’unité extérieure est arrêtée, le ventilateur de l’unité intérieure fonctionne par intermittence à une vitesse très lente. 139
INSTALLATION DES TÉLÉCOMMANDES 02 : Active ou désactive cette fonction par réglage de la télécommande. Régler sur « 00 » ou « 01 » lors de la connexion d’une télécommande qui ne peut pas paramétrer cette fonction ni se connecter à un convertisseur réseau. Reporter vous à la notice d’utilisation de votre télécommande pour connaître ses fonctionnalités. Borne de sortie externe ARYG 7, 9, 12 LSL Les fonctions de la sortie externe peuvent être commutées. Paramétrage État de fonctionnement État d’erreur Contrôle de l’air extérieure Chauffage additionnel
Une fois tous les réglages effectués, assurezvous de couper puis de remettre le courant pour valider les changements. Enregistrez les modifications de réglages dans le tableau suivant: Tableau 29
Nettoyage du filtre Hauteur sous plafond Nombre de voies de soufflage Sortie d’air horizontale pour installation encastrée Pression statique
22 23 26 30 (1) 31 (2) 35 (1) 36 (2)
Compensation de température de l’unité intérieure Compensation de température télécommande filaire
Redémarrage automatique
Activation de la sonde de température intérieure sur les télécommandes filaires
Codage de la télécommande
Contrôle entrée externe
Contrôle du basculement de la température de la pièce
Commande du ventilateur de l’unité intérieure pour des économies d’énergie en mode froid
(Paramétrage usine «00»).
60 Borne de sortie externe (1) Refroidissement (2) Chauffage
INSTALLATION DES TÉLÉCOMMANDES
4. ESSAIS DE FONCTIONNEMENT II ATTENTION • Veillez à toujours mettre l’installation sous tension 12 heures avant de procéder aux tests afin de permettre la mise en chauffe du compresseur.
2. L’écran de lancement du test s’affiche. Appuyez sur le bouton [ ENTER] pour revenir à l’écran de sélection d’élément du Menu 2 et commencer le test.
Selon la température ambiante, il est possible que l’unité extérieure ne fonctionne pas. Dans ce cas, la fonction Test est là pour vous permettre de «forcer» le fonctionnement du compresseur en inhibant l’action du thermostat. Avec la télécommande filaire AR-WAE1E • Pour démarrer le mode TEST, appuyez sur les boutons ″MASTER CONTROL″ et ″FAN CONTROL″ pendant au moins 2 secondes. Fig. 334
Le test se termine au bout d’une heure environ. Pour quitter le lancement du test avant la fin, revenez à l’« Écran du mode visualisation », et touchez le Bouton On/Off (marche/arrêt). Avec la télécommande IR AR-RAH1E Appuyez sur la touche TEST de la télécommande alors que le climatiseur fonctionne. (La partie émettrice de la télécommande dirigée vers l’unité intérieure, appuyez sur la touche d’essai en vous servant de la pointe d’un stylo bille) Fig. 335. Fig. 335
• Pour terminer l’essai, appuyez sur le bouton ″START - STOP″. (Lorsque le climatiseur est mis en marche avec la touche d’essai, les témoins ″OPERATION″ et ″TIMER″ clignotent simultanément lentement. Lors du démarrage les clignotements s’arrêtent). Avec la télécommande filaire UTY-RLRY Remarques Consultez le notice d’installation de l’unité intérieure pour obtenir la liste des éléments à vérifier. 1. Sélectionnez « 09 » dans les réglages du menu 2. Puis appuyez sur le bouton [ ENTER].
Partie émettrice de la télécomande
• Pour terminer l’essai, appuyez sur le bouton "START/STOP". (Lorsque le climatiseur est mis en marche avec la touche "TEST", les témoins "OPERATION" et "TIMER" clignotent simultanément lentement. Lors du démarrage les clignotements s’arrêtent.) Pour les modèles ASYG 7 9 12 14 LU / LMCE Appuyez sur la touche le bouton MANUAL AUTO de l’unité intérieure pendant plus de 10 secondes. Le voyant OPERATION et TIMER clignotent en même temps pendant la durée du test en mode froid, ensuite au bout de 3 minutes le test passe en mode chaud si le mode chaud est sélectionné sur la télécommande (référez-vous à la notice d’utilisation). • Pour terminer l’essai, appuyez sur le bouton MANUAL AUTO de l’unité intérieure pour le LU et le bouton Marche /Arrêt pour le LMCE pendant plus de 3 secondes. 141
INSTALLATION DES TÉLÉCOMMANDES Décodage des erreurs sur l’unité intérieure
Fig. 341 - ABYG 14 18
• Avec les voyants sur l’unité intérieure Les erreurs pouvant survenir sur le climatiseur peuvent être détectées grâce à l’état (éteint, allumé, clignotant) des voyants "TIMER", "OPERATION" et "ECONOMY" sur l’unité intérieure (voir code erreur Tableau 31). Fig. 336 - AUYG 7 9 12 14 18 ECONOMY (VERT)
5. CODES ERREURS Décodage des erreurs affichées sur les télécommandes filaires
AUTO MANUEL Fig. 337 - ASYG 18 24 LFC OPERATION TIMER ECONOMY OPERTION (vert) TIMER (orange) ECONOMY (vert)
• Avec l’affichage de la télécommande filaire ARWAE1E Une fois ″Er″ affiché, arrêtez le climatiseur et appuyez sur < et > simultanément pendant 5 secondes, le code s’affiche (voir code erreur Tableau 31). Auto-diagnostic de l’installation Si une erreur se produit, l’écran suivant apparaît. Le symbole ″Er″ indique un défaut est affiché. Fig. 342
Fig. 338 - ASYG 7 9 12 14 LU Si ″C0″ s’affiche à la place du numéro de l’unité intérieure, il s’agit d’une erreur de la télécommande.
OPERATION (vert) TIMER (orange) ECONOMY (vert)
Unité intérieure incompatible est connectée. Erreur de communication entre l’unité intérieure et la télécommande.
INSTALLATION DES TÉLÉCOMMANDES • Avec l’affichage de la télécommande filaire UTYRLRY Le code erreur s’affiche automatiquement à l’écran en cas d’erreur. • En cas d’erreur, l’affichage suivant apparaît. (« » apparaît dans l’« Écran du mode visualisation ») Code erreur Adresse de la télécommande
Pour plus de détails sur l’erreur de l’unité intérieure ou extérieure lors de l’examen du contenu de l’erreur, référez-vous aux codes d’erreur de chaque unité. Code d’erreur CC.1 C2.1 12.1 12.3 12.4 15.4 26.4 26.5 27.1 29.2
Contenu Erreur de capteur Erreur de carte de circuit imprimé de transmission Erreur de communication de télécommande filaire Nombre de périphériques excessif dans le système de télécommande filaire Erreur de démarrage du système de la télécommande filaire Erreur d’acquisition de données Duplication d’adresse dans le système de télécommande filaire Erreur de réglage d’adresse dans le système de télécommande filaire Erreur de réglage de l’unité Maître/Esclave Erreur de numéro d’unité de connexion (télécommande)
INSTALLATION DES TÉLÉCOMMANDES Tableau 31 - Code erreur
Affichage avec les LED Opera- Timer tion (vert) (orange) ● (1) ● (1) ● (1) ● (2) ● (1) ● (5) ● (1)
Eco- Erreur* Description nomy (vert) ◊ 11 Erreur de communication série ◊ 12 Erreur de communication télécommande filaire ◊ 15 Vérification du fonctionnement incomplet Erreur de connexion du PCB de transmission de l’unité (modèles ASYG 7 9 12 ◊ 16 LSL uniquement) ◊ 18 Erreur de communication externe (modèles ASYG 7 9 12 LSL uniquement) ◊ 21 Erreur de paramétrage de l’adresse du circuit frigorifique ou du numéro d’unité ◊ 22 Erreur de puissance de l’unité intérieure ◊ 23 Erreur combinaison Erreur numéro unité connectée unité intérieure secondaire (multi-split) ◊ 24 Erreur numéro unité connectée unité intérieure ou boîtier de répartition Erreur de réglage d’adresse de l’unité intérieure (modèles ASYG 7 9 12 LSL ◊ 26 uniquement) ◊ 27 Erreur paramétrage unité première, unité secondaire (multi-split) Erreur numéro unité connectée dans la configuration de la télécommande filaire ◊ 29 (modèles ASYG 7 9 12 LSL uniquement) ◊ 31 Erreur d’interruption de l’alimentation (modèles ASYG 7 9 12 LSL uniquement) ◊ 32 Erreur information de la platine de l’unité intérieure Erreur de détection de la consommation électrique du moteur de l’unité ◊ 33 intérieure (modèles ASYG 7 9 12 LSL uniquement) ◊ 35 Erreur switch manual auto Erreur d’alimentation du moteur ventilateur de l’unité intérieure (modèles ASYG ◊ 39 7 9 12 LSL uniquement) Erreur du circuit de communication de l’unité intérieure / télécommande filaire ◊ 3A (modèles ASYG 7 9 12 LSL uniquement) ◊ 41 Erreur sonde de température de la pièce ◊ 42 Erreur sonde de température de l’échangeur de l’unité intérieure (milieu) ◊ 44 Erreur du détecteur de présence (modèles ASYG 7 9 12 LSL uniquement) ◊ 51 Erreur moteur du ventilateur de l’unité intérieure ◊ 53 Erreur pompe de relevage ◊ 57 Erreur des volets (registres) ◊ 5U Erreur unité intérieure (modèles ASYG 7 9 12 LSL uniquement) ◊ 58 Erreur grille de reprise (modèles ASYG 7 9 12 14 LU uniquement) ◊ 5U Erreur unité intérieure (modèles ASYG 7 9 12 LSL uniquement) Erreur de câblage, phases inversés ou absentes de l’unité intérieure (modèles ◊ 61 ASYG 7 9 12 LSL uniquement) ◊ 62 Erreur connexion ou information de la platine de l’unité extérieure ◊ 63 Erreur Inverter ◊ 64 Erreur filtre actif et erreur PFC ◊ 65 Erreur de phase ◊ 68 Erreur de hausse de la température de l’unité extérieure ◊ 6A Erreur communication platine affichage ◊ 71 Erreur sonde de température refoulement
INSTALLATION DES TÉLÉCOMMANDES Affichage avec les LED Opera- Timer tion (vert) (orange) ● (7) ● (2) ● (7) ● (3) ● (7) ● (4) ● (7) ● (5) ● (7) ● (6) ● (7) ● (7) ● (8) ● (2) ● (8) ● (3) ● (8) ● (4) ● (8) ● (6) ● (9) ● (4) ● (9) ● (5) ● (9) ● (7) ● (9) ● (8) ● (9) ● (9) ● (9) ● (10) ● (10) ● (1) ● (10) ● (3) ● (10) ● (4) ● (10) ● (5) ● (13)
Eco- Erreur* Description nomy (vert) ◊ 72 Erreur sonde de température compresseur ◊ 73 Erreur sonde de température de l’échangeur de l’unité extérieure (liquide) ◊ 74 Erreur sonde de température extérieure ◊ 75 Erreur sonde de température à l’aspiration (gaz) ◊ 76 Erreur sonde de température vanne 2 voies ou vanne 3 voies ◊ 77 Erreur sonde de température radiateur ◊ 82 Erreur sonde température échangeur sous refroidissement entrée/sortie (gaz) ◊ 83 Erreur sonde température liaison liquide ◊ 84 Erreur capteur courant ◊ 86 Erreur pressostat au refoulement / à l’aspiration ou switch Haute Pression ◊ 94 Détection du courant ◊ 95 Erreur de la position de détection du compresseur (interruption permanente) ◊ 97 Erreur moteur du ventilateur de l’unité extérieure ◊ 98 Erreur moteur du ventilateur 2 de l’unité extérieure ◊ 99 Erreur vanne 4 voies ◊ 9A Erreur détendeur (modèles ASYG 7 9 12 uniquement) ◊ A1 Erreur température du refoulement ◊ A3 Erreur température compresseur ◊ A4 Erreur Haute Pression ◊ A5 Erreur Basse pression ◊
Erreur de boîtier de répartition
Légende : ● : 0.5s ON / 0.5s OFF - ◊ : 0.1s ON / 0.1s OFF () : nombre de clignotement - * Code affiché sur la télécommande filaire.
EXPLICATIONS POUR L’UTILISATEUR En utilisant le mode d’emploi fourni, expliquez à l’utilisateur final : La mise en route et l’arrêt de l’appareil, le réglage de la température ainsi que les autres fonctions de la télécommande. Les notions d’entretien courant tel que le nettoyage des filtres à air. N’oubliez pas de laisser la présente notice à l’utilisateur.
ENTRETIEN ET MAINTENANCE Opérations d’entretien courant Ces opérations, à la portée de tout un chacun (voir notice d’utilisation), sont à effectuer aux fréquences conseillées cidessous. Nettoyage
Tous les mois (plus souvent en atmosphère poussiéreuse) :
• Nettoyage du filtre à air de l’unité intérieure • Nettoyage de la carrosserie de l’unité intérieure, particu(Le filtre à air est facilement accessible sur l’unité intérieure lièrement de la grille d’entrée d’air, avec un chiffon doux et se nettoie soit avec un aspirateur, soit avec de l’eau à humidifié (éviter les détergents agressifs). moins de 40°C).
Opérations de maintenance Ces opérations sont à effectuer exclusivement par du personnel compétent. Votre installateur agréé est bien évidemment à votre service pour ces interventions. Il peut vous proposer un contrat de maintenance prévoyant des visites périodiques (voir ci-après).
Entretien saisonnier Notre conseil : tous les ans en résidentiel, deux fois par an en tertiaire. • Vérification et nettoyage des filtres à air. • Vérification de l’étanchéité parfaite du circuit frigorifique (obligatoire pour certains appareils*). • Nettoyage du bac à condensats de l’unité intérieure : nettoyage et désinfection de l’échangeur de l’unité intérieure avec un produit adéquat. • Vérification et nettoyage éventuel du dispositif d’écoulement des condensats (surtout si une pompe de relevage est utilisée). • Vérification de l’état général de l’appareil. * Les articles R 543-75 à 123 du code de l’environnement et de ses arrêtés d’application imposent à tous les possesseurs d’appareil contenant plus de 2 kg de fluide réfrigérant (plaque signalétique) de faire vérifier l’étanchéité de leur installation tous les ans par une société régulièrement inscrite en préfecture et habilitée pour ce type d’intervention.
Notre conseil : tous les 2 ans en résidentiel, tous les ans en tertiaire. Opérations décrites pour un entretien saisonnier, complétées par : • Dépoussiérage éventuel de l’échangeur de l’unité extérieure. • Mesure des performances de l’appareil (écart de température entrée/sortie, température d’évaporation et de condensation, intensité absorbée). • Vérification du serrage des connexions électriques. • Mesure de l’isolement électrique. • Vérification de l’état des carrosseries extérieures et des isolants des lignes frigorifiques. • Vérification des fixations diverses.
Avec le carnet d’entretien climatisation Atlantic vous effectuerez aisément le suivi des opérations de maintenance.
POINTS À VÉRIFIER Unité intérieure • L’installation de l’unité intérieure à été faite suivant les prescriptions de la notice • Vérification d’absence de fuite sur le circuit frigorifique • Isolation des liaisons frigorifiques • Le fonctionnement normal de toutes les touches de la télécommande • Le fonctionnement normal des volets de déflexion d’air • L’écoulement normal de l’eau de condensation • Vérifiez qu’il n’y a aucun bruit ni vibrations anormaux en fonctionnement Unité extérieure • L’installation de l’unité extérieure à été faite suivant les prescriptions de la notice • Vérification d’absence de fuite sur le circuit frigorifique • Isolation des liaisons frigorifiques • L’écoulement normal de l’eau de condensation • Vérifiez que ni le bruit, ni le courant d’air, ni l’eau ou la glace sortant de l’unité extérieure ne gênent le voisinage. • Vérifiez qu’il n’y a aucun bruit ni vibrations anormaux en fonctionnement Ne laissez pas le climatiseur fonctionner en mode «Test» trop longtemps
Date d’installation : …………….…
972409_version A Mise en service le : ………….…… Signature : ……………………… N° de téléphone : ……………….…
Volet à conserver par l’utilisateur
Cachet de la station service
Si mise en service par station agréée
Cachet de l’installateur
Définition des garanties au dos
Modèle : …..…..…..….… N° de série Unité ext. : .……...…….… Unité int. : ….…...…..…….
CERTIFICAT DE GARANTIE
2 ans / 5 ans (3) 2 ans 1 an
Garantie pièces défectueuses : Conditions applicables à partir du 1er avril 2011 L’appareil que vous venez d’acquérir est garanti contre tout défaut de fabrication. Cette garantie est valable pour les durées suivantes à partir de la date de mise en service (1) (2) : Compresseur : Climatiseurs à éléments séparés de tous types (split-system) : Accessoires (pompes de relevages non intégrées, supports etc…) :
Climatisation & Ventilation assure dans ce cadre, l’échange ou la fourniture des pièces reconnues défectueuses après expertise par son Service Après Vente, à l’exclusion de tous frais annexes qu’il s’agisse de main d’œuvre, déplacement, dommage ou indemnités pour perte de jouissance ou perte d’exploitation.
La garantie ne couvre pas les dommages dus à une installation non-conforme, un défaut d’entretien ou une utilisation impropre. Par exemple (liste non exhaustive) : - Dégradation des carrosseries, - Raccordement électrique incorrect, - Emplacements incorrects, - Tension d’alimentation non conforme, - Défaut d’étanchéité des liaisons frigorifiques, - Obstruction des filtres ou grilles d’entrée d’air.
Extensions de garantie « stations services » et « installateurs agréés » :
et celle pour les accessoires reste à 1
Ces extensions de garantie sont consenties par Climatisation & Ventilation et ses professionnels agréés (stations services et installateurs agréés). Elles ne couvrent que les installations « split-system » mises en œuvre par lesdits professionnels agréés. Extension de 1 an : La garantie est prolongée de 1 an pour les pièces de climatiseurs (la garantie Compresseur reste à 5 ans an).
Garantie main d’œuvre (1 an) : Durant la première année à partir de la date de mise en service(1) (2) : - en cas de défaillance reconnue d’une pièce constitutive de l’appareil, Climatisation & Ventilation outre la fourniture de la pièce de remplacement, assure la couverture de la main d’œuvre nécessaire à la remise en fonctionnement de l’appareil. - en cas de défaillance due à un défaut de l’installation elle-même (pose ou mise en service non-conforme…) contrôlée par ses propres soins, le professionnel agrée assure la remise en état et la remise en fonctionnement gratuite de l’appareil (sauf réserves lors de la mise en service).
Cette extension de garantie outre les limitations indiquées plus haut ne saurait couvrir les dommages dus à l’intervention de personnel non agréé. (1)
: La date de mise en service fait foi pour le début de la période de garantie, dans la limite des 6 mois après la date de facturation Climatisation & Ventilation. (2) : Cette garantie ne saurait s’appliquer en cas de panne due à un manque d’entretien. (3) : La garantie Compresseur 5 ans n’est accordée que si un contrat d’entretien est contracté par le client final auprès d’un professionnel dés la mise en service et durant les 5 années. Si ce n’est pas le cas, la garantie est de 2 ans, avec les mêmes restrictions qu’indiquées plus haut.
Climatisation & Ventilation.
En conséquence : Les pièces détachées jugées défectueuses seront systématiquement retournées pour expertise en port payé au SAV & Ventilation (adresse ci-dessous). Un avoir ou un échange sera effectué suivant le cas, si l’expertise révèle une défaillance effective.
L’application de la garantie ne peut se faire qu’après expertise et avis du Service Après Vente
Sauf cas exceptionnel, aucun climatiseur ou élément de climatiseur (unité intérieure ou extérieure) ayant été installé ne sera accepté en retour usine pour reprise, dépannage ou échange sous garantie.
LES CLIMATISEURS PROFESSIONNELS.
APPLICATION DES GARANTIES :
Fiche de mise en service
Modèle : …..…….…..… N° de série Unité ext. : …..…..…….… Unité int. : ….….…..…………. Nom et adresse du client utilisateur : ………………………………………………………………. .…………………………………………………………………………………………...………… ……………………………………………………………………………………………………… ……………………………………………………………………………………………………… Vérifications et prestations effectuées :
Mise en service effectuée par : Le : Signature :
Différence de température sur l’air, unité intérieure, mode froid ………….. Basse pression en mode froid ………………………………………………. Sous-refroidissement en mode froid ……………………………………….. Température ambiante int. …………Température ambiante ext. …………. Intensité absorbée mode froid ……………………………………………….
Mesures effectuées lors de la mise en service :
Conformité des liaisons frigorifiques (nature, état, tracé, rayons de courbure, longueur et dénivelé, isolation) ……………………….………. Raccordements des liaisons (évasements, branchements frigo., purge ou tirage au vide, contrôle d’étanchéité) ……………………………… Vérification de l’écoulement des condensats ……………………………………………………………………………………………...……. Vérification des raccordements électriques ………………………………………………………………………………………………...…… Mise en service, tests usuels ………………………………………………………………………………………………………………..…… Explication du fonctionnement à l’utilisateur ……………………………………………………………………………………………..……..
Cachet de l’installateur
Date d’installation : …………….…
Volet à conserver par la station service
972409_version A NOTES NOTES NOTES Le fabricant se réserve le droit de modifier ses produits sans préavis dans un souci de rationalisation et d’amélioration du matériel. Reproduction même partielle interdite.
Février 2019 Siège social : ATLANTIC Climatisation & Ventilation S.A.S. au capital de 2 916 400 euros 13, Boulevard Monge - Z.I - BP 71 - 69882 MEYZIEU cedex RCS Lyon n° B 421 370 289 www.atlantic.fr Tél. 04 72 10 27 50
NI 923 129 H Votre spécialiste
Notice Facile