rsghep8 - Chauffage électrique ATLANTIC - Notice d'utilisation et mode d'emploi gratuit
Retrouvez gratuitement la notice de l'appareil rsghep8 ATLANTIC au format PDF.
| Type d'appareil | Chauffage électrique |
| Mode de chauffage | Émetteurs directs |
| Alimentation | Électrique |
| Puissance | Non précisé |
| Installation | Murale ou au sol |
| Type d'émission | Rayonnement direct |
| Utilisation | Intérieur |
| Contrôle | Thermostat intégré ou externe |
| Matériau | Non précisé |
| Dimensions | Non précisé |
| Poids | Non précisé |
| Sécurité | Protection contre la surchauffe |
| Normes | Conforme aux normes électriques en vigueur |
| Année de fabrication | 1990 à 2010 |
| Marque | Non précisé |
FOIRE AUX QUESTIONS - rsghep8 ATLANTIC
Téléchargez la notice de votre Chauffage électrique au format PDF gratuitement ! Retrouvez votre notice rsghep8 - ATLANTIC et reprennez votre appareil électronique en main. Sur cette page sont publiés tous les documents nécessaires à l'utilisation de votre appareil rsghep8 de la marque ATLANTIC.
MODE D'EMPLOI rsghep8 ATLANTIC
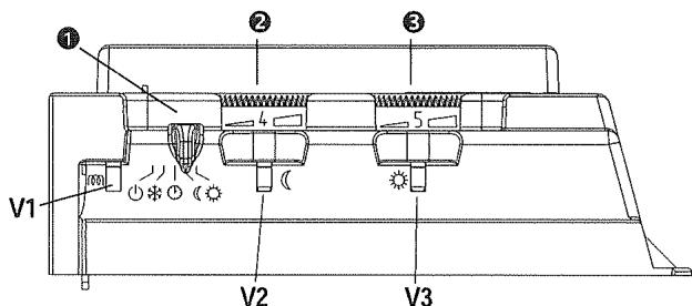
1) Description du panneau de commande
1 Curseur des modes
Molette de réglage de la consigne de la température Eco (repère de 1 à 8)
Molette de réglage de la consigne de la température Confort (repère de 1 à 8)
V1 Voyant témoin de chauffe
V2 Voyant de mode Eco
V3 Voyant de mode Confort

2) Régler la température CONFORT

C'est la température souhaitee pendant l'occupation de la piece.
a) Mettez le curseur ① sur , le voyant V3 s'allume.
b) Reglez la molette ③ sur 5, le voyant de chauffe V1 s'allume si la température ambiente est inférieure à celle désirée.
c) Attendez quelques heures pour que la température se stabilise.
d) Si le réglage vous convient (préndre éventuellesment un thermomètre pour vérifier), repérez la position une fois pour toute.
Si le réglage ne vous convient pas, ajustez le réglage et repreneze au point c).
3) Régler la température ECO (
C'est la température souhaitee pendant les périodes d'inoccupation de la piece. Il est conseilé d'utiliser ce mode pour des périodes d'absence superfieures à 2 heures.
a) Mettez le curseur ① sur ( , le voyant V2 s'allume.
b) Reglez la molette ② entre 3 et 4, le voyant de chauffe V1 s'allume si la température ambiente est inférieure à la consigne de température Eco désirée.
c) Attendez quelques heures pour que la température se stabilise.
d) Si le réglage vous convient (préndre éventuellesment un thermomètre pour vérifier), repérez la position une fois pour toute.
Si le réglage ne vous convient pas, ajustez le réglage et repreneze au point c).
4) Mode Hors Gel
C'est le mode qui permet de maintainir la température à environ 7^ dans la piece lors d'une absence prolongée de la maison (généralement plus de 24 heures).
Mettez le curseur 1 sur
5) Le t émein de chauffe V1
Ce témoin indique les périodes pendant lesquelles l'appareil chauffe. A température stabilisée, il clignote.
Si la température est trop élevé, il s'esteint.
6) Arrêt de l'appareil (1)
PourmettreI'appareil en positionArret,positionnezlecurseur sur
7) Blocage des commandes
Il est possible de bloquer ou limiter la plage d'utilisation des molettes
et et de bloquer le curseur pour empêcher les manipulations interpèstives de l'appareil (enfants,...).
a) Decrochez l'appareil de son support mural.
b) Sur le dos du boitier thermostat, détachez les pions P de leurs supports.
c) Optez pour la position B pour bloquer les molettes ou la position L pour limiter la plage d'utilisation des molettes.
Choississez une des positions M pour bloquer le curseur dans le mode désiré.

8) Mode de programmation
Cet apparéil est équipé d'un thermostat capable de receivevoir des ordres par son fil pilote. Il reconnait les ordres:
- CONFORT :Température régée par la molette ③.
- CONFORT -1 : Température régée par la molette ③: -1°C.
- CONFORT -2 : Température régée par la molette ③: -2°C.
- ECO :Température régée par la molette ②.
- HORS GEL :Température ambiente maintainue à environ 7^
- ARRET :Arrêt immédiat de l'appareil (utilisé pour le délestage).
Pour activer le mode de programmation, positionné le curseur ① sur
Ainsi en connectant le fil pilote sur un programmeur, vous pouvez programmer versiodes de temperature Confort et Eco. Il est possible de brancher sur un programmeur plusieurs appareils et de réaliser ainsi des economies d'energie.
NB: En cas d'absence d'ordre sur le fil pilote, l'appareilCHAFFE en mode Confort. Les ordres HG et delestage sont prioritaires par rapport aux modes Eco et Confort. Lors d'un passage du mode Confort vers le mode Eco, le temps de basculement est de I'ordre de 12 secondes.
UTILISATION DE L'APPAREIL
1) Description du panneau de commande
Curseur commutateur des modes
2 Molette de réglage de la température
V1Voyant detémoin dechauffe

2) Régler la température CONFORT

C'est la température souhaitee pendant I'occupation de la piece.
a) Mettez le curseur ① sur
b) Reglez la molette ② entre 4 et 5, le voyant de chauffe V1 s'allume si la température ambiente est inférieure à celle désirée.
c) Attendez quelques heures pour que la température se stabilise.
d) Si le réglage vous convient (préndre éventuelles un thermomètre pour vérifier), repérez la position une fois pour toute.
Si le réglage ne vous convient pas, ajustez le réglage et reprenez au point c).
3) Mode Eco
C'est la température souhaitiée pendant les périodes d'inoccupation de la piece. Il est conseilé d'utiliser ce mode pour des périodes d'absence supérieures à 2 heures.
Mettez le curseur 1 sur
L'appareil est en mode Eco (température Confort abaisée d'environ 3^ à 4^ ).
4) Mode Hors Gel
C'est le mode qui permet de prendre la température à environ 7^ dans la piece lors d'une absence prolongée de la maison (généralement plus de 24 heures).
Mettez le curseur ① sur
5) Le témoin de chauffeV1
Ce témoin indique les périodes pendant lesquelles l'appareil chauffe. A température stabilisée, il clignote. Si la température est trop élevé, il s'éteint.
6) Blocage des commandes:
Il est possible de bloquer ou limiter l'utilisation de la molette ② ainsi que de bloquer le curseur ① pour empêcher les manipulations intempéstives de l'appareil (enfants...).
a) Decrochez l'appareil de son support mural.
b) Sur le dos du boitier thermostat, détachez les pions P de leurs supports.
c) Optez pour la position B pour bloquer la molette ou la position L pour limiter la plage d'utilisation de la molette.
Choisissez une des positions M pour bloquer le curseur dans le mode désiré.

7) Mode de programmation:
Cet apparéil est équipé d'un thermostat capable de receivevoir des ordres par son fil pilote. Il reconnait les ordres:
- CONFORT :Température régée par la molette ②.
- CONFORT -1 : Température régée par la molette ②: -1°C.
-
CONFORT -2 : Température régée par la molette ②: -2°C.
-
ECO :Température Confort abaisée d'environ 3^ à 4^ .
- HORS GEL :Température ambiente maintainue à environ 7^
- ARRET :Arrêt immédiat de l'appareil (utilisé pour le délestage).
Pour activer le mode de programmation, positionné le curseur ① sur
Ainsi en connectant le fil pilote sur un programmateur ou un apparil muni d'une cassette de programmation, vous pouvez programmer vos périodes de tempéature Confort et Eco. Il est possible de brancher sur un programmateur ou un apparil muni d'une cassette de programmation plusieurs apparils et de réaliser ainsi des économies d'énergie.
NB: En cas d'absence d'ordre sur le fil pilote, l'appareilCHAFFE en mode Confort. Les ordres HG et délestage sont prioritaires par rapport aux modes Eco et Confort. Lors d'un passage du mode Confort vers le mode Eco, le temps de basculement est de I'ordre de 12 secondes.
CONSEILS D'UTILISATION
- Il est inutile demettre l'appareil au maximum,la température de la piece ne montera pas plus vite.
- Lorsque vous aéréz la pièce, coupez l'appareil en mettant le curseur ① sur STOP.
- Si vous vous absentez pendant plusieurs heures, pensez à baisser la température.
Absence de : Moins de 2 heures
: ne pas toucher aux commandes.
de 2 à 24 heures
: mettez le curseur 1 sur
Plus de 24 heures ou l'été: mettez l'appareil en mode Hors Gel.
- Si vous avez plusieurs apparéels dans une pièce, laissez-les fonctionner simultanément. Vous aurez ainsi une température plus homogène sans pour autant augmenter la consommation d'électricité.
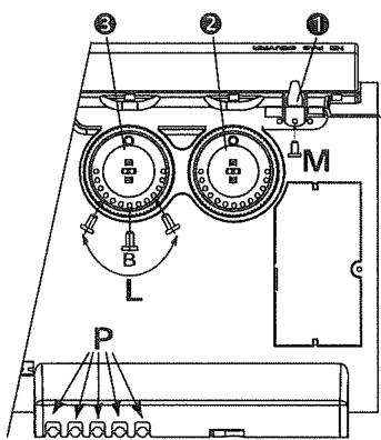
DISPOSITIFS DE COMMANDES
I - Description du boitier de commande :
① Molette commutateur des modes.
(2) Molette de réglage de la consigne de la température Confort.
Molette de réglage de la consigne de la température Eco.
V1 Voyant témoin de chauffe.
V2 Voyant de mode Eco.
V3 Voyant de mode Confort.
C Capot de protection.
II - Régler la température comport :
C'est la température souhaïée pendant l'occupation de la pièce.
a) Soulever le capot C.
b) Positionner le commutateur ① sur , l'appareil se met en mode Confort, le voyant V3 s'allume.
c) Regler la molette (2) entre 4 et 5, le voyant de chauffe V1 s'allume si la température ambiente est inférieure à cette désirée.
d) Attendre quelques heures pour que la température se stabilise.
e) Si le réglage vous convient (préndre évientuellesment un thermomètre pour vérifier) reperer la position une fois pour toutes.
f) Si le réglage ne vous convient pas, ajuster le réglage et reprendre au point c.
III - Régler la température Eco : (
C'est la température souhaïée pendant les périodes d'inoccupation de la pierce.
Il est conseilé d'utiliser ce mode pour des périodes d'absence supérieures à 2 heures.
a) Soulever le capot C.
b) Positionner le commutateur ① sur C, l'appareil se met en mode Eco le voyant V2 s'allume.
c) Regler la molette ③ sur la temperture Eco souhaitee (généralement une graduation de moins que le réglage comport).
IV - Mode Hors Gel : HG
C'est le mode qui permet de maintainir la temperature à environ 7^ dans la piece lors d'une absence prolongée de la maison
(généralement plus de 24 heures).
a) Laisser le commutateur 1 sur , le voyant V2 Eco est allumé.
b) Régler la molette (3) sur " HG".
V - Le témoin de chauffe : (000)
Ce témoin indique les périodes pendant lesquelles la résistance chauffe.
A température stabilisée il clignote et si la température est trop élevé il s'éteint.
VI - Blocage des commandes
Il est possible de verrouiller le capot C de protection des commandes pour empêcher les manipulations intempéstives (enfants...)
a) Devisser la vis (Vis) sur le boitier.
b) Percer l'orifice 0 prévu dans le capot C par l'intérieur.

VII - Mode de programmation
Ce mode permet le fonctionnement automatique de l'appareil selon :
- soit des ordres CONFORT ou ECO émis directement par un boîtier de programmation compatible du type CHRONOCARTE ou CHONOPORTEURS (lorsque les appareils en sont équipés);
- soit des ordres de programmation transmis par fil pilote lorsque celui-ci est raccordé à un gestionnaire de type Pack Energie, un programmeur centralisé ou un appeareil équipé lui même d'une CHRONOCARTE.
Pour activer le mode programmation :mettre le commutateur ① sur
Precisions : En l'absence d'ordre sur le fil pilote l'appareil commute automatiquement en mode comfort. Il est evidemment possible de forcer l'appareil en Confort ou Eco malgre les ordres reçus sur le fil pilote (sauf ordres prioritaires : Hors gel, délestage).
VIII - Curseur commutateur manuel de mode : ①
| L: L: | "PROGRAMMATION": Dans ce cas, le mode de fonctionnement du radiateur (Confort, Confort -1°C, Confort -2°C, Eco, Hors-gel ou Arrêt) est déterminé par leprogrammateur raccordé au fil pilote. En l'absence deprogrammateur, l'appareil fonctionne en mode Confort. |
| "CONFORT": Confort permanent, la température obtinue correspond à celle déterminée avec la molette ② etne peut être affectée par un ordre Confort -1°C, Confort -2°C ou ECO reçu par fil pilote. Par contre, les ordres évientuels de Hors-gel ou Arrêt sont pris en compte. | |
| C | "ECO": Eco permanent, l'appareil assure une température abaisée d'environ 3°C par rapport à la molette ③et ne peut être affecté par un ordre CONFORT, Confort -1°C, Confort -2°C reçu par fil pilote. Par contre, les ordres évientuels de Hors-gel ou Arrêt sont pris en compte. |
| STOP | Position Arrêt |

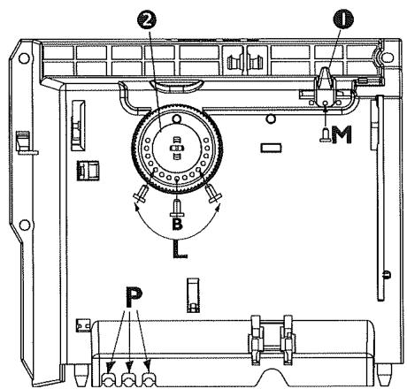
DISPOSITIFS DE COMMANDES
I - Description des commandes :
A Cursor commutateur de mode
B Molette de réglage de la consigne de température
C Voyant de visualisation des cycles de fonctionnement (fémonin de chauffe).

II - Réglage de la température CONFORT :
C'est la température souhaitée pendant l'occupation de la pierce.
a) Mettre le curseur A sur la position
b) Régler la molette B sur la plage Confort entre les positions 4 et 6, le voyant de chauffe C s'allume si la température ambiente est inférieure à celle désirée (la position 5 correspond environ à 20^ )
c) Attendre quelques heures pour que la température se stabilise.
f) Si le réglage vous convient (prénde éventuellesment un thermomètre pour vérifier) repérer la position une fois pour toutes. Si le réglage ne vous convient pas, ajuster le réglage et reprendre au point c.
III - Mode Hors Gel : *
C'est la position de molette qui permet de maintainir la température à environ 7^ dans la pierce lors d'une absence prolongée de la maison (généralement plus de 24 heures).
a) Laisser le curseur A sur C
b) Mettre la molette B sur la position *
IV - Blocage ou limitation de la plage du thermostat
a) Maneuver le commutateur A sur la position STOP
b) Débloquer le verrou de la patte de fixation et déposer l'appareil.
c) Sectionner les pions nécessaires (sur l'arrière du boîtier) et les insérer dans les trous choisis de la molette B. (position① pour bloquer la molette, position② pour limiter la plage d'utilisation de la molette).
d) Pour bloquer le curseur, insérer un pion dans une des positions M du mode déséré
V - Curseur commutateur manuel de mode : (A)

| : L: | "PROGRAMMATION": Dans ce cas, le mode de fonctionnement du rayonnant (Confort, Confort -1°C, Confort -2°C, Eco, Hors-gel ou Arrêt) est déterminé par le programmateur raccordé au fil pilote. En l'absence deprogrammateur, l'appareil fonctionne en mode Confort. |
| : | "CONFORT": Confort permanent, la température obtenue correspond à celle déterminée avec la molette(B) et ne peut être affectée par un ordre ECO reçu par fil pilote. Par contre les ordres éventuels de Hors-gelou Arrêt sont pris en compte. |
| : | "ECO": Eco permanent, l'appareil assure une température abaisée d'environ 3°C par rapport à la consignede (B) et ne peut être affecté par un ordre CONFORT reçu par fil pilote. Par contre, les ordres éventuels deHors-gel ou Arrêt sont pris en compte. |
| STOP | Position Arrêt |
VI - Mode de programmation par fil pilote (fil noir du cordon d'alimentation)
En activant le mode "Programmation" (curseur sur la position) et en connectant le fil pilote sur un gestionnaire de type Pack Energie ou un apparéil muni d'une Chronocarte vous pouvez programmermer vos périodes de température CONFORT et de température ECO. Il est possible de brancher sur un gestionnaire, un programmateur ou un apparéil muni d'une Chronocarte plusieurs apparéils et de réaliser ainsi des économies d'énergie.
Nota : en cas d'absence d'ordre sur le fil pilote l'appareil chauffe en mode CONFORT.
I - Interrupteur (A)
Position : STOP
Position : MARCHE
II - Dispositif de réglage du thermostat (B)
La plage Confort se situe entre les positions 4 et 6 selon votre souhait et votre perception

Au minimum () l'appareil assure une températe Hors-Gel
- Témoin de chauffe permet de visualiser les cycles de fonctionnement de l'appareil.
III - Dispositif économiseur d'énergie
1) Blocage de l'interrupteur (en position Marche)
a) Manoeuvrer l'interrupteur A sur la position STOP
b) Débloquer le verrou de la patte de fixation et déposer l'appareil.
c) Mettre 1'interrupteur A sur la position Marche
d) Sectionner le pion ① et l'insérer dans le trou prévu ② sur la face arrêté du boîtier.
2) Blocage ou limitation de la plage du thermostat
a) Manoeuvrer 1'interrupteur A sur la position STOP
b) Débloquer le verrou de la patte de fixation et déposer l'appareil.
c) Sectionner les pions ③ nécessaires et les insérer dans les troughs choisis ④ de la molette B.

IV- Fil pilote en série
L'utilisation d'un programmateur avec le F 117 permet d'abaisser automatiquement la température de 3^ environ, pendant les heures programmes.
4.1 - Identification des commandes selon modèles
Pour votre comforts, le boitant de commandes des convecteurs électriques modèles frontaux (sauf "F 16") se trouve en partie haute, à droite.
Ilcompend,selonlesmodèles:
A - L'interrupteur
Position O : arrêt
Position 1 : marche
B-Le dispositif de réglage du thermostat
zone comfort 4 5 6
environnement du monde.
C - Le.selecteur de mode de fonctionnement
- STOP : position "arrêt"
interrupteur unipolaire
- : dérogation "ECO" correspond à la
consigne de températe du thermostat diminué de 3^ à 4^

fonctionnement automatique suivant les ordres transmis par le fil pilote relié à un CHRONOS, à une centrale de programmation ou à une horloge.
Nota: si le fil pilote n'est pas raccordé, l'appareil fonctionne en mode "Comfort".

marche "Confort", conforme à l'affichage de la molette du thermostat sans tenir compte des programmes pré-enregistrés.

F 16



D - Témoin de chauffe
Il permet de visualiser les cycles de fonctionnement de l'appareil (voir chapitre 2.2).
E - Capot verrouillable
- régler le thermostat B en position moyenne, repère 5
- après quelques heures, ajuster ce réglage si nécessaire
. Si la température est insuffisante, déplacer légarement le dispositif vers un chiffre supérieur.
Pour obtenir une température plus BASSE, se rapprocher d'un chiffre inférieur.
-mettre le thermostat B en bute inférieure sur HG. Cette position correspond a 5^ environ.
- affecter le programme P3 à l'ensemble des jours de la semaine sur le CHRONOS.
4.2 - Dispositif économique d'énergie
Tous les apparêils sont dotés d'un système très simple permettant un blocage ou une limitation de la plage de réglage du thermostat.
Pour acceder au dispositif de limitation de plage ou de blocage du point de consigne :
Pour les "F 16" (fig. 1)
. Retirer la molette du thermostat de son axe
. Sélectionner les pions nécessaires (1), situés à l'intérieur de la molette, et les insérer dans les troughs choisis (2)
. Remonter la molette en faisant coïncider les méplats.
Pour les "F 17" (fig. 2)
. Basculer l'interrupteur marche-arrêt sur la position "o"
. Debloquer le verrou de la patte de fixation et déposer l'appareil
. Detacher le ou les pions sécables (1).
. Insérer le ou les pions dans les trous choisis du boitier (2)
Pour les "F 18 P" (fig. 3)
. Manoeuvrer le commutateur A sur la position arrêt ("stop")
. Debloquer le verrou de la pâtte de fixation et déposer l'appareil
. Enlever les vis nécessaires (1) et les visser dans les trouss choisis (2) de la molette B
Pour les "CEF 90", "SOLIUS" et "CHRONOS" (fig. 4)
. Le cache du boîtier est verrouillable à l'aide de la vis prévue à cet effet.


fig.3
Notice Facile