CE5055 L3B - Cuisinière LISTO - Notice d'utilisation et mode d'emploi gratuit
Retrouvez gratuitement la notice de l'appareil CE5055 L3B LISTO au format PDF.
| Type d'appareil | Cuisinière électrique |
| Nombre de foyers | 4 |
| Type de four | Électrique |
| Capacité du four | Non précisé |
| Puissance totale | Non précisé |
| Dimensions (HxLxP) | Non précisé |
| Couleur | Blanc |
| Type de commandes | Manettes rotatives |
| Fonction gril | Oui |
| Type de porte du four | Vitre |
| Système de sécurité | Non précisé |
| Consommation énergétique | Non précisé |
| Type d'alimentation | Électrique |
| Poids | Non précisé |
| Accessoires inclus | Non précisé |
FOIRE AUX QUESTIONS - CE5055 L3B LISTO
Questions des utilisateurs sur CE5055 L3B LISTO
0 question sur cet appareil. Repondez a celles que vous connaissez ou posez la votre.
Poser une nouvelle question sur cet appareil
Téléchargez la notice de votre Cuisinière au format PDF gratuitement ! Retrouvez votre notice CE5055 L3B - LISTO et reprennez votre appareil électronique en main. Sur cette page sont publiés tous les documents nécessaires à l'utilisation de votre appareil CE5055 L3B de la marque LISTO.
MODE D'EMPLOI CE5055 L3B LISTO
Notice d'utilisation
Cuisinière électrique
CE5055 L2b
SOMMAIRE
CONSIGNES DE SECURITE 4
Usage prévu 4
Déballage 4
Sécurité des enfants 6
Installation de l'appareil 7
Branchementélectrique 8
9
Précautions d'utilisation du plan de cuisson 11
Précautions d'utilisation du four 12
Nettoyage 14
En cas d'incendie 14
Mise au rebut 14
FICHE PRODUIT 16
DESCRIPTION DE L'APPAREIL 18
Vue d'ensemble 18
Bandeau de commande 19
INSTALLATION 20
Déballage 20
Positionnement 20
Mise à niveau 21
Dispositif de stabilisation 21
Branchement 21
UTILISATION 24
Avant la première utilisation 24
Utilisation des plaques électriques 25
Utilisation du four 27
Modes de cuisson 28
Tableau de cuisson 28
Accessoires du four 29
NETTOYAGE ET ENTRETIEN 29
Recommendations generales 29
Nettoyage du bandeau de commande 29
Nettoyage de la table de cuisson 30
Nettoyage du four 30
Nettoyage des vitres interieure et du milieu du four 30
Montage / démontage de la porte du four 31
Remplacement de la lampe du four 32
GUIDE DE DÉPANNAGE 33
CONSIGNES DE SECURITÉ
LISEZ ATTENTIVEMENT CES INSTRUCTIONS AVANT D'UTILISER L'APPAREIL ET CONSERVEZ-LES POUR POUVOIR VOUS Y REPORTER ULTÉRIEULEMENT. SI VOUS CÉDEZ L'APPAREIL À DES TIERS, REMETTEZ-LE AVEC SA NOTICE D'UTILISATION.
Pour éviter tout danger, l'installation, les raccordements, la mise en service et la maintenance de votre apparéil doivent être effectuels uniquement par un professionnel qualifié, conformément aux normes de sécurité et aux lois en vigueur. Ne tentez pas de réparer l' apparéil vous-même.
USAGE PRÉVU
- N'utilisez pas l'appareil pour chauffer lapiece.
- L'utilisation de l'appareil est uniquement destinée à l'usage domestique habituel (préparation des aliments) et en interieur, à l'exclusion de toute autre utilisation domestique, commerciale ou industrielle. Il doit être utilisé selon les instructions du manuel.
Il n'est pas destiné à être utilisé dans :
- les coins cuisines réservés au personnel des magasins, bureaux et autres environnementes professionnels;
- les fermes et l'utilisation par des clients des hotels, motels et autres environnementés à caractère résidentiel;
- les environnements de type,chambre d'hôtes ;
- la restauration et autres applications similaires hormis la vente au détail.
- Ne pas transformer ou modifier les caractéristiques de l'appareil.
DéBALLAGE
- Avant d'utiliser l'appareil, retirez le film plastique évientuel de protection.
- Retirez toutes les parties de l'emballage.
- Retirez toutes les étiquettes, films protecteurs et autocollants sur les faces de l'appareil, et évientuellesment sur le plan de cuisson.
- Veuillez contrôle soigneusement que la cuisine ne presente aucun dommage une fois déballée. En cas de dommage, ne l'utilise pas et contactez immédiatement votre revendeur.
SECURITE DES ENFANTS
- Cet apparéil peut être utilisé par des enfants à partir de 8 ans et par des personnes ayant des capacités physiques, sensorielles ou mentalles réduites ou un manquéd'expérience etdeconnaissances à condition quelles aient été placées sous surveillance ou quelles aient reçu des instructions concernant l'utilisation de l' apparéil en toute sécurité et qu'elles comprendnent les dangers encourus. Les enfants ne doivent pas jouer avec l' apparéil. Le nettoyage et l'entretien par l'usager ne doit pas être effectuels par des enfants, sans surveillance.
- Il convient de surveiller les enfants pour s'assurer qu'ils ne jouent pas avec l'appareil. Assurez-vous qu'ils ne touchent pas les commandes.
- Il convient de maintainir à distance les enfants de moins de 8 ans, à moins qu'ils ne soient sous surveillance continue.
- Etant donné que les matériaux d'emballage (nylon, agrafes, polystyrene, etc.) peuvent être dangereux pour les enfants, veuilles les rassemblier et les éliminer immédiatement.
• MISE EN GARDE : cet apparéil et ses parties accessibles deviennent
chauds pendant leur utilisation. Il est recommandé d'éloigner les jeunes enfants.
INSTALLATION DE L'APPAREIL
- Ne jamais exposer votre apparéil aux effets atmosphériques tels que soleil, pluie, neige, etc.
- Si l'appareil est place sous une hotte aspirante, ne jamais mettre celle-ci en fonction sans surveillance,URTout quand vous faites chauffer des matieres grasses.
- Veuillez respecter les distances requises pour l'installation de votre apparéil sous la hotte. Référez-vous à la notice d'installation de votre hotte aspirante.
- Vous doivent porter une attention particulière à l'arrête et au-dessus de l'appareil car certaines parties peuvent s'avérer coupantes ou rugueuses et peuvent cause des blessures.
Cuisinière
- Si la cusinière est installée sur un socle, prenez les précautions nécessaires pour que l'appareil ne tombe pas de son socle. Ne soulevez ou ne déplacez jamais la cusinière en tirant sur la poignée de la porte du four.
BRANCHEMENT ÉLECTRIQUE
- Avant de brancher l'appareil, vérifie que la tension d'alimentation indiquée sur la plaque signalétique de l'appareil corresponde bien à celle de votre installation électrique. Les données techniques et les conditions de branchement électrique sont indiquées sur la plaque signalétique de l'appareil, ou à proximité.
- La sécurité n'est assurée que si l'appareil est raccordé à une terre de protection conforme aux prescriptions en vigueur.
-
Silecâbled'alimentationestendommagé, il doit être remplace par un cable ou un ensemble spécial disponible auprès de votre revendeur ou de son service aprèsrente. Les caractéristiques de ce cable sont mentionnées dans cette notice.
-
N'utilisez pas de rallonge, de multiprise secteur ni d'adaptateurs car cette pourrait donner lieu à une surchauffé des branchements électriques.
- L'appareil doit être branché au réseau électrique par l'intermédiaire d'un interrupteuromnpolaire(pareexampieles disjoncteurs, les fusibles, les disjoncteurs différents et les contacteurs) avec un écartement minimal de 3mm entre les contacts.
- MISE EN GARDE: Utiliser uniquement les dispositifs de protection de table de cuisson conçus par le fabricant de l'appareil de cuisson ou indiqués par le fabricant de l'appareil dans les instructions d'utilisation comme adaptations ou les dispositifs de protection de table de cuisson intégrés à l'appareil. L'utilisation de dispositifs de protection non appropriés peut entrainer des accidents.
-
L'appareil n'est pas destiné à être mise en fonctionnement au moyen d'une minutesie externe ou d'un système de commande à distance.
-
Si l'appareil n'est pas muni d'une fiche accessible, des moyens de déconnexion doivent être incorporeés à l'installation fixe conformément aux réglementations en vigueur.
- MISE EN GARDE: S'assurer que l'appareil est déconnecté de l'alimentation avant de replacer la lampe pour éviter tout risque de chocoléctrique.
PRECAUTIONSGENÉRALESD'UTILISATIONDEL'APPAREIL
- Si vous constatiez un dernier de fonctionnement, arrêtez l'appareil et coupez l'alimentation électrique et/ou fermez le robinet d'arrivée de gaz ou le robinet de la bonbonne.
- Ne laisseriez pas l'appareil sans surveillance lors de la cuisson.
- N'oubliez pas que cet apparéil, ses parties accessibles et les casseroles utilisées deviennent très schaudsetdangereux, tantpendant le fonctionnement que pendant le temps nécessaire au refroidissement après l'extinction. Risques de brûlures.
- Il'est recommandé de laisser refroidir les parties directement exposées à la chaleur avant de les toucher.
-
Il convient de veiller à ne pas toucher les éléments chauffants.
-
Ne laissez pas de matières inflammables après de l'appareil lorsqu'il fonctionne.
- Ne jamais couvrir l'appareil d'un chiffon ou d'une feuille de protection. Il pourrait devenir très chaud et prendre feu.
- Ne jamais faire secher de torchons, éponges ou autres accessoires similaires sur l'appareil ou sur sa poignée
- Si vous utilisez d'autres appareils électriques à proximité de l'appareil, voirlez à ce que le cable d'alimentation de ces appareils électriques ne soit pas en contact avec la table de cuisson chaude ou ne se trouve pas coincide dans la porte chaude du four.
Cuisinière
- Ne jamais rien poser sur la porte du four lorsqu'il est ouvert. Vous risqueriez de déséquilibrer la cusinière ou de casser certaines parties.
PRECAUTIONS D'UTILISATION DU PLAN DE CUISSON
- La table de cuisson ne doit pas servir de support ou de plan de travail.
-
Ne posez pas ou ne laissez pas de recipients vides sur la table de cuisson.
-
MISE EN GARDE : risque d'incendie : ne pas entreprises d'objets sur les surfaces de cuisson.
- Ne placezaucun objectmetalliqueautre que lesrecipientsdechauffe.En cas d'enclenchement intempestif ou de chaleurur résiduelle, celui-ci risquerait selon le matérielau dechauffer, de fondre ou de commencer à brûler.
- Il est recommandé de ne pas déposer d'objets métalliques tels que couteaux, fourchettes, cuillères et couvercles sur le plan de cuisson, car ils peuvent devenir chauds.
- N'utilisez jamais la table de cuisson à vide (sans recipient dessus).
- MISE EN GARDE : laisser cuire des aliments sans surveillance sur une table de cuisson en utilisant des matieres grasses ou de l'huile peut ettre dangereux et déclencher un incendie.
- Faites attention aux poignées des casseroles. Disposez-les de façon à prévenir les chutes eventuelles.
-
Ne portez pas de vêtements ou accessoires amples lorsque les foyers sont allumés: les yeux de textiles peuvent être la cause de graves blessures.
-
N'utilisez pas de recipients en matière synthétique ou en aluminium : ils pourraient fondre sur des foyers encore chauds.
- NEJAMAISsessayerd'eteindre unincendie avec de l'eau, mais arrêter l'appareil puis couvrir les flammes par exemple avec un couvercle ou une couverture anti-feu.
PRECAUTIONS D'UTILISATION DU FOUR
- En cours de fonctionnement, l'appareil devient chaud. Veuillez ne pas toucher les éléments chauffants à l'intérieur du four.
- A l'ouverture de la porte de l'appareil, veilles à vousmettre en retrait et prenez garde à la vapeur très chaude émanant du four.
Utilisez toujours des gants de cuisine spécialement adaptations pour introduire ouPTRerer voRte plat de cuisson du four. - Ne posez enaucun cas des feuilles d'aluminium dans le four. Ne posez pas de plaque à pâtisserie ni de l'échefrite sur la sole du four. Cela pourrait rayer l'émail, voire entrainer une surchauffe en cours de fonctionnement et provoquer un éclatement de l'émail.
- Lors d'une cuisson au bain marie, de légers écoulements d'eau peuvent avoir
lieu le long des joints de porte. Ceci est normal et est dû à la différence de température entre la température de la pierce et celle à l'intérieur du four.
- Pour équiper l'intérieur du four, référez-vous à la section « Utilisation des accessoires du four »
- Lorsque le grill fonctionne, la porte du four doit rester fermée.
- Si vous four dispose d'un ventilateur dont la protection peut être retiree pour le nettoyage, le four doit être mis hors tension avant desteroler la protection et cette derniere doitetre remise en place conformement aux instructions apres le nettoyage.
NETTOYAGE
Assurez-vous que les boutons de commande soient sur la position « 0 » (Arrêt) lorsque l'appareil n'est pas utilisé et avant de procéder au nettoyage ou à l'entretien.
- Ne pas utiliser de produits d'entretient très abrasifs pour nettoyer la porte en verre du four, au risque de rayer la surface et d'entrainer l'éclatement du verre.
- N'utilisez jamais de nettoyeur à vapeur pour nettoyer l'appareil.
Couvercle
- Ne pas faire fonctionner le plan de cuisson lorsque le couvercle est fermé.
EN CAS D'INCENDIE
- En cas d'incendie, fermez le robinet général d'arrivée du gaz et/ou coupez le courant; ne jetez jamais d'eau sur l'huile en flamme ou en train de frire.
MISE AU REBUT
- Si l'on decide de ne plus utiliser cet apparéil, avant de l'éliminer, il est recommendé de le rendre inopérant comme prévu par les lois en vigueur en matière de santé et de protection de l'environnement, en rendant inoffensives les parties qui pourraient constituer un danger pour les enfants (couper le cordon d'alimentation au ras de la cuisine).
Ces instructions ne sont valables que pour le pays de destination spécifiédans le paragraphe « FICHE PRODUIT »
FICHE PRODUIT
Mesures effectuees suivant le reglement UE N° 66/2014 de la Commission Européenne et les normes:
- EN 60350-1:2013 pour le four
- EN 60350-2:2013 pour la table de cuisson
| DÉSIGNATION | VALEUR | UNITS |
| Marque | Listo | |
| Référence du modèle | CE5055 L2b | |
| Code produit | 8002880 | |
| Masse de l'appareil | 33,5 | kg |
| Puisance totale de l'appareil | 6800 | W |
| Tension d'alimentation et protection par fusible | 220-240 V~ / 32 A380-415 V~ 3N / 3x16 A | |
| Fréquence | 50 | Hz |
| Dimensions extérieures (L x H x P) | 50 x 81,3 x56,4 | cm |
| Four | ||
| Type de four | Pose libre | |
| Nombre de cavités | 1 | |
| Volume utile par cavité | 48 | L |
| Source de chaleur par cavité | Electricité | |
| Puisance par cavité | 1800 | W |
| Témoin de mise sous tension et régulation du thermostat | Oui | |
| Plage de thermostat par cavité | 50-240 | °C |
| Type de nettoyage par cavité | Manuel | |
| Nombre de gradins par cavité | 4 | |
| Consommation d'énergie du four en mode conventionnel par cavité | 0,80 | kWh/cycle |
| Indice d'efficacité énergétique par cavité | 106 | |
| Classe d'efficacité énergétique | A | |
| Plaque de cuisson | ||
| Type de plaque | Foyer enYZonte | |
| DÉSIGNATION | VALEUR | UNITS | |
| Nombre de zones et/ou aires de cuisson | 4 | ||
| Technologie de chauffage | Electrique | ||
| Témoin de mise sous tension | Oui | ||
| Témoin de chaleur résiduelle | Non | ||
| Foyer avant gauche | Puisance du foyer | 1000 | W |
| Diamètre de la surface utile du foyer | 14,5 | cm | |
| Consommation d'énergie du foyer | 195 | Wh/kg | |
| Foyer arrière gauche | Puisance du foyer | 1500 | W |
| Diamètre de la surface utile du foyer | 18 | cm | |
| Consommation d'énergie du foyer | 197 | Wh/kg | |
| Foyer arrière droit | Puisance du foyer | 1000 | W |
| Diamètre de la surface utile du foyer | 14,5 | cm | |
| Consommation d'énergie du foyer | 195 | Wh/kg | |
| Foyer avant droit | Puisance du foyer | 1500 | W |
| Diamètre de la surface utile du foyer | 18 | cm | |
| Consommation d'énergie du foyer | 197 | Wh/kg | |
| Somme de la plaque | Puisance totale | 5000 | W |
| Consommation d'énergie totale | 196 | Wh/kg | |
DESCRIPTION DE L'APPAREIL
VUE D'ENSEMBLE

- Plaque de cuisson 18 cm de diamètre
- Plaque de cuisson 14,5 mm de diamètre
- Plaque de cuisson 14,5 mm de diamètre
- Plaque de cuisson 18 cm de diamètre
- Panneau de commande
- Témoin de fonctionnement du four
- Témoins de fonctionnement de la table de cuisson
- Bouton de thermostat du four (seLECTION de la température)
- Bouton de selection des programmes du four
- Boutons des plaques électriques
- Vitre interieure du four
- Poignée de la porte du four
- Pieds réglables
- Grille de cuisson
- Plaque à pâtisserie (non fournie)
-
Lèchefrite
-
Le témoin lumineux du four s'allume lorsqu'on allume le four, et s'éteint lorsque la température a atteint la température sélectionnée à l'aide du thermostat.
- Le témoin lumineux de la table de cuisson s'allume lorsqu'on allume un ou plusieurs foyer(s) de la table de cuisson, et s'éteint lorsque toutes les zones de la plaque de cuisson sont éteintes.
BANDEAU DE COMMANDE

- Bouton de thermostat du four
- Bouton de selection des programmes du four
-
Bouton de fonctionnement de la plaque arrête gauche
-
Bouton de fonctionnement de la plaque avant gauche
- Bouton de fonctionnement de la plaque avant droite
- Bouton de fonctionnement de la plaque arrêté droite
INSTALLATION
Pour une installation correcte de votre cusinière, tenez compte des recommendations suivantes pour éviter tout problème ou toute situation dangereuse.
DéBALLAGE
- Placez la cusinière le plus pres possible de l'endetroit où elle sera installée.
- Retirez tous les matériaux d'emballage et installez la cuisinière dans un endroit sec et aéré, éloignée des matières inflammables ( comme les rideaux, etc.).
Attention! Ne laissez pas les éléments d'emballage (plastiques, cartons) à la portée des enfants et des animaux domestiques.
Pour une installation correcte de votre cusinière, tenez compte des recommendations suivantes pour éviter tout problème ou toute situation dangereuse.
POSITIONNEMENT

La cusinière peut être placee pres d'un autre meuble, mais veillez à ce que la hauteur des meubles environnants ne dépasse pas la hauteur de la cusinière (voir schéma ci-contre).
- La distance entre les parois laterales de la cuisinière et les murs ou les autres meubles doit être d'au moins 2 cm.
La distance en hauteur séparant la cusinière de la hotte ou de tout autre meuble doit être supérieure ou égale à 65 cm.
La distance entre l'arrière de l'appareil et le mur arrêté doit être d'au moins 2 cm.
Le cable d'alimentation devra etre positionnede facon a ce qu'en aucun point sa tempereut n'excede 70^
- Les parois adjacentes à la cusinière doivent être soit en matérieliau résistant à la chaleur, soit revêtres d'un tel matérieliau.
MISE A NIVEAU

Pour un fonctionnement correct, la cusinière doit être mise à niveau. Pour cela, ajustez les pieds régibles en les vissant ou devissant, comme indiqué sur la figure ci-contre. La cusinière doit absolument être positionnée à l'horizontal.
DISPOSITIF DE STABILISATION

Cette cusinière doit être attachée solidement au mur avec la chaine de sécurité (qui se trouve au dos de l'appareil) avec un moyen de fixation adapté à la nature de votre mur pour éviter tout risque de basculement (voir figure ci-contre).
Le revendeur décline toute responsabilité si un accident causant une blessure et/ou un dommage survenait suite au non respect de cette instruction.
BRANCHEMENT
Avertissements :
- Avant de brancher votre apparéil, assurez-vous que la tension électrique de notre domicile corresponde à cette indiquée sur la plaque signalétique de l' apparéil.
- Les données techniques et les conditions de branchement électrique sont indiquées sur la plaque signalétique de l'appareil.
L'installation de cet apparéil et son branchement au réseau électrique doivent être effectuees uniquement par un technicien qualifié connaissant parfaitement les réglementations en vigueur en matière de sécurité et d'installation. - La mise à la terre de l'appareil est obligatoire : utilisez uniquement un cable électrique de section appropriée, équipée d'un fil de terre jaune/vert.
Attention!
Raccordez toujours le fil de terre de protection.
Respectez les schémas de raccordement indiqués au dos de l'appareil.
Veillez a bien engager les fils dans les plots et a bien serrer les vis.
Lors du raccordement du cable sur le réseau électrique :
- Raccordez toujours le fil de terre de protection.
- La prise secteur doit demeurer accessible une fois la cuisinière installée.
- Veillez à ce que le cable d'alimentation ne touche pas les surfaces chaudes de l'appareil.
- Le cable n'est pas fourni. Veuillez vous reférer au tableau ci-dessous pour connaître le cable nécessaire en fonction de votre installation électrique.
| Réseau | Type de branchement | Section du câble | Type de câble | Calibre de protection du fusible |
| 220-240 V~ 1N - 50/60 Hz | 1 Phase + N | 3 x 4 mm² | H05 VV-F-3G 4 mm² | 1 x 32 A |
| 380-415 V~ 3N - 50/60 Hz | 3 Phases + N | 5 x 1,5 mm² | H05 VV-F-5G 1,5 mm² | 3 x 16 A |
- Cet apparéil doit être branché au réseau électrique par l'intermédiaire d'un disjoncteur omnipolaire avec un écartement minimal de 3 mm entre les contacts.
- N'utilisez pas de rallonges, multiprises secteur ou adaptateurs car cela pourrait donner lieu à une surchauffe des branchements électriques.
Branchement de la cuisine :
- À l'aide d'un tournevis, ouvre le couvercle du boîtier de raccordement situé à l'arrière de l'appareil. Pour cela, soulevez les 2 clips sur le couvercle du boîtier comme indiqué sur la figure ci-contre.

ATTENTION : Des cavaliers (ou « jumpers ») sont positionnés pour un fonctionnement en 230 V monophasé. Pour un fonctionnement en 400 V triphase, il est nécessaire dePTRirer les cavaliers des positions 1 à 3.
Les vis de connexion sont déjà desserrées, il n'est donc pas nécessaire de les dévisser au préalable. Pendant que vous les serrez, vous allez entendre à un moment un petit « cliç » signifiant que vous avez serrer convenablement la vis de connexion. Ne pas utiliser de visseuse électrique.
- Positionnez les cavaliers en fonction de la tension disponible dans l'habitation (figure suivante).


- Dénudez environ 70 mm de gaine du cordon d'alimentation. Dénudez les fils électriques sur une longueur de 10 mm.

Extrémité du cable d'alimentation

- Fil jaune/vert : mise à la terre
- Fil bleu: neutre « N »
- Fil marron : phase « L »
ATTENTION: Le fil de terre jaune/vert doit toujours être branché à la borne portant le symbole (1) et doit être plus long que les autres fils.
- Passez le cable d'alimentation sous le serre-cable qui le maintient en place et le protège contre l'arrachement (voir ci-contre). Si vous n'avez pas encore visse le serre-cable, faites-le maintainant pour qu'une extrémité du cable d'alimentation soit fixée au boîtier.

- Connectez les fils au bornier en respectant les schémas de raccordement ci-après.


ATTENTION: veillez à bien engager les fils dans les plots et à bien serrer les vis.
- Vissez solidement le serre-cable et refermez le couvercle du boitier.
UTILISATION
AVANT LA PREMIÈRE UTILISATION
- Assurez-vous qu'il ne reste aucun matériel d'emballage sur votre cuisinière. Ces emballages devront être triés séparément pour le recyclage.
- Veillez à retarder le film protecteur recouvrant les éléments chauffants avant l'emploi.
- Essuyez votre table de cuisson avec une éponge douce et un peu de liquide vaisselle, puis séchez-la soigneusement avec un chiffon doux. N'utilise pas de produit détergent abrasif ni d'éponge à récurer afin de ne pas rayer la surface.
- Pour éliminer tout résidu ou graisse ayant pu être laissé(e) durant la production :
- Ouvrez la porte du four et laissez-le chauffer à 240^ pendant 45 minutes, puis éteignez le four et laissez-le refroidir.
- Tournez le bouton correspondant à l'un des 3 foyers de cuisson sur la position maximale et laissez-le fonctionner pendant 5 minutes. Éteignez le foyer et laissez-le refroidir. Faites la même opération sur tous les autres foyers.
Important : Aérez la pierce durant cette opération pour éliminer la fumée dégagée.
UTILISATION DES FOYERS RADIANTS

Table de cuisson

Boutons de commande de la table de cuisson
- Emplacement des foyer
Les symboles sur le bandeau de commande indiquent la correspondance entre le bouton et le foyer :
- Foyer arrêté gauche (diamètre 18 cm)
- Foyer avant gauche (diametre 14,5 cm)
- Foyer avant droit (diametre 18 cm)
- Foyer arrêté droit (diamètre 145 cm)
Pour un résultat de cuisson optimal, suivez les précautions d'utilisation suivantes :

Utilisez des reçipients à fond plat pour qu'ils adhérent parfaitement à la zone de chauffe.
Utilisez toujours des recipients dont le diamètre couvre totalement la zone de chauffe de façon à ce que toute la chaleur disponible puisse être utilisée.
- Ne jamais laisser un foyer chauffer à une puissance maximum sans surveillance. Un débordement provoquerait de la fumée et des résidusGRAISSEux pourraient prendre feu.
- Ne laissez jamais un foyer allumé sans récipient dessus car le niveau maximum de chaleur est atteint très rapidement et vous risquez d'endommager l'élement chauffant.
Veillez à ce qu'aucun object ou ustensile sensible à la chaleur ne soit place trop pres de gros recipients qui dépasseraient du périmètre de cuisson.
Le dessous de vos casseroles doit ettre sec et propre pour garantir une plus longue durée de vie de votre table et de vos casseroles.
- Cuire de préférence avec un couvercle. Cela permet d'économiser de l'énergie.
- Ne jamais cuire d'aliments directement sur la plaque. Voitre table de cuisson n'est pas une poèle et ne devra pas été utilisé comme telle.
Puisssance de cuisson

Les chiffres 0 à 3 sur les boutons de cuisson indiquent la puissance de cuisson:
- Arrêt du foyer.
1 Chaleur minimum pour garder les aliments au chaud.
Chaleur moyenne pour chauffer a basse température.
Chaleur maximum pour cuisine, frire et faire bouillir.
Allumer / étéindre un foyer
Remarque: A la première utilisation ou si la plaque a ete inutilisee depuis longtemps, il convient de la faire fonctionner a vide pendant 2-3 minutes en actionnant le bouton de selection du foyer.
Attention!
-
Ne touchez pas la plaque électrique avec une partie du corps mouillé ou humide.
Utilisez des recipients de dimension adequate, le diametre des cassetoles devant etre identique au diametre de la plaque. -
Tournez le bouton correspondant jusqu'à la position voulue : plus le nombre est élevé, plus la puissance est élevé.
- Pour éteindre un foyer, ramenez son bouton de contrôle sur la position « ● » (Arrêt).
- Afin d'éviter que vous ne laissiez une plaque fonctionner accidentellement, un tímoin lumineux sur le bandeau de commande s'allume dés qu'une plaque est utilisée.
UTILISATION DU FOUR

Boutons de commande du four
- Symbole du thermostat
-
Symbole du four
-
Le bouton du thermostat vous permet deCHOISIR LA TEMPERATURE DÉSIREE (de 40 à 240^ ). Tournez le bouton pour faire chauffer le four. Le témoin lumineux de fonctionnement du four s'allume. Il s'éteindra lorsque le four aura atteint la température désirée. Le thermostat du four allumera et éteindra ce voyant automatiquement afin de maintainir la temperature choisisie.
- Consultez les section ci-après pour en savoir plus sur les températures et durées de cuisson recommendées.
- ATTENTION: Ne pas couvrir la sole du four de feuille d'aluminium ou protection similaire. Ne pas poser de plats sur la sole du four. Risque d'éclatement de l'email en fonctionnement.
MODES DE CUISSON
| Symbole | Signification | Explication |
| Sole inférieure | Seule la résistance de sole inférieure fonctionne. Ce mode est idéal pour cuire les fonds de tartes et autres pâtisseries. | |
| Sole supérieure | Seule la résistance de sole supérieure fonctionne. Ce mode est idéal pour les grillades. | |
| Convection naturelle | Les éléments de chauffe inférieur et supérieur sont utilisés. Ce mode est idéal pour les gâteaux, biscuits, flans, lasagnes et viandes à rôtir. |
TABLEEAUDCUISSON
- Avant la cuisson de vos alimentes, il est recommendé d'effectuer un préchauffage pendant 10 à 15 minutes.
- Placeez les alimentents au four lorsque la température sélectionnée est atteinte et que le tímoin lumineux s'eteint.
- Repositionnez le bouton du thermostat en position « ● » lorsquela cuisson est terminée.
Le positionnement de la grille est definite en partant du niveau bas.
| Aliments | Convection naturelle | ||
| Thermostat (℃) | Position des gradins | Durée de cuisson (min.) | |
| Gâteau | 175 | 2 | 35-45 |
| Gâteau aux fruits | 175 | 2 | 30-40 |
| Cake | 175 | 2 | 35-45 |
| Biscuits | 170-180 | 2 ou 3 | 25-30 |
| Meringue | 100 | 2 | 60 |
| Tarte / quiche | 180-190 | 2 | 50-70 |
| Pizza | 180-200 | 3 | 20-30 |
| Lasagne | 180-200 | 2 | 25-40 |
| Viande d'agneau | 225 | 2 | 25 |
| Viande de boeuf | 250 | 2 | 50-60 |
| Viande de mouton | 240 | 2 | 25 |
| Poulet | 175-200 | 2 | 30 |
| Poisson | 200 | 2 | 30-40 |
(Les valeurs ci-dessus sont purement indicatives.)
ACCESSIONS DU FOUR

La grille peut être positionnée sur 4 niveaux. Elle sert à poser les plats ou autres recipients pour la cuisson. Notre plat doit être centré sur la grille.

La lèchefrite peut être positionnée sur 4 niveaux. Elle sert à recueillir les jus et les graisses de cuisson. Il est conseilé de verser au préalable un peu d'eau dans la lèchefrite pour atténuer les fumées et facilitier son nettoyage après refroidissement.
NETTOYAGE ET ENTRETIEN
Avant de proceder au nettoyage de la table de cuisson et/ou du four :
Assurez-vous que toutes les commandes de la table de cuisson et/ou du four soient sur la position « ● » (arrêt).
- Laissez la table de cuisson et/ou le four refroidir complètement pour éviter les risques de brûlures.
RECOMMANDATIONS GÉNÉRALES
- Nettoyez l'appareil soigneusement après chaque utilisation ; de cette manière, il est possible dePTRir les résidus de cuisson plus facilement, evitant ainsi la combustion de ces résidus les fois suivantes.
- N'utilisez pas de produits de nettoyage abrasifs, des crèmes caustiques, des éponges abrasives ou des outils durs pour éviter d'endommager les surfaces.
- Ne pas utiliser de produits d'entretien très abrasifs ou de gratoir métallique dur pour nettoyer la porte en verre du four, au risque de rayer la surface et d'entrainer l'éclatement du verre.
N'utilisez pas d'appareil de nettoyage à pression ou à vapeur.
NETTOYAGE DU DANDEAU DE COMMANDE
- Ne retirez pas les boutons pour nettoyer le bandeau de commande.
Utilisez une éponge douce et de l'eau additionné de produit vaisselle puis séchez avec un chiffon doux.
NETTOYAGE DE LA TABLE DE CUISSON
- Nettoyez immédiatement les débordements de liquide et notamment les alimentés à haute teneur en sucre ou les éclaboussures de sucre pour éviter qu'ils ne brûlent sur la surface de la table de cuisson.
Pour nettoyer votre table de cuisson, utilisez une éponge douce et de l'eau additionnée de produit vaisse. - Séchez l'appareil avec un chiffon doux et propre.
- Graisses les plaques de cuisson si vous prévoyez de ne pas les utiliser pendant un certain temps.
NETTOYAGE DU FOUR
L'intérieur du four se nettoie plus facilement lorsque le four est encore un peu chaud.
- Àpres chaque utilisation, essuyez le four avec une éponge douce ou un chiffon doux imbibé(e) d'eau chaude additionné de liquide vaisselle. Essuyez-le ensuite avec un chiffon humide, puis séchez-le soigneusement avec un chiffon doux et sec.
- Il est parfois nécessaire d'utiliser un produit de nettoyage spécifique pour effectuer un nettoyage complet.
NETTOYAGE DES VITRES INTÉRIÉURE ET DU MILIEU DU FOUR



- Les vitres interieures et du milieu peuvent se démonter, facilitant ainsi le nettoyage. Cette opération se fait à froid.
Pour le démontage, ouvre complètement la porte et appuyez sur loquets en plastique de chaque côte de la porte (figure A). Tirez le profilé dans votre direction (figure B). Soulevez la vitre interieure pour la retirer (figure C). Nettoyez la vitre, et replacez-la avec le profilé en effectuant la procédure inverse.
Pour retarder la vitre du milieu, effectuez la meme procedure que pour la vitre interieure.
Utilisez un produit nettoyant pour vitres pour nettoyer la porte du four cotoés interieur et extérieur. Rincez à l'eau claire et séchez avec un chiffon doux et sec.
ATTENTION :
-
Ne nettoyez pas la porte du four tant que les parties vitrées sont encore chaudes. Au cas où cette précaution ne serait pas respectée, les parties vitrées pouraient se briser.
-
Ne pas utiliser de produits d'entretien très abrasifs ou de grattoir métallique dur pour nettoyer la porte en verre du four, au risque de rayer la surface et d'entrainer l'éclatement du verre.
MONTAGE / DEMONTAGE DE LA PORTE DU FOUR

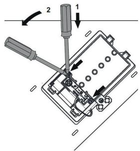
- Ouvrez complètement la porte du four et repérez les charnières de chaque côté de la porte (figure D).


- Tirez le verrou de la charnière (figure E) vers le haut à l'aide d'un tournevis, et placez-le sur la position la plus haute (figure F).
- Effectuez la même procédure sur l'autre charnière de l'autre côté de la porte.


- Refermez légèrement la porte sans la pousser complètement (figure G).
- Soulevez la porte avec précaution en la tirant vers l'avant (figure H).
- Pour remettre la porte, effectuez la procédure inverse.
REplacement DE LA LAMPE DU FOUR
MISE EN GARDE : s'assurer que l'appareil est déconnecté de l'alimentation avant de remplaçer la lampe pour éviter tout risque de chocolélectrique.

- Assurez-vous que les boutons sur sont la position « ● » (arrêt), puis débranchez l'appareil de l'alimentation.
- Retirez le couvercle de protection (figure I). Si vous avez du mal à la tourner, utilisez un gant. Nettoyez-le et séchez-le complètement.
- Dévissez l'ampoule et remplacez-la par une ampoule aux caractéristiques strictement identiques à celles d'origine.
- Revissez l'ampoule, puis replaces le couvercle.
a c t r e s i t u e s d e l a m b d a p o u l e :
Culot E14
230V~
Max. 15 W
Résistantà des températures de l'ordre de 300^
Notes:
- Les ampôules sont considérées comme des consommables et ne sont pas couvertes par la garantie.
La lampe utilisée sur cet apparéil est une ampoule spéciale prévue exclusivement pour l'électroménager. Elle ne convient pas pour l'éclairage d'unepiece.
GUIDE DE DÉPANNAGE
1. Si le four et/ou les zones de cuisson ne fonctionne(nt) pas :
- Vérifiez que la cuisine est bien branchée.
Vérifié qu'il n'y a pas une coupure de courant.
Vérifiez que les fusibles sont en bon état.
2. La cuisson n'est pas satisfaisante :
- Ajustez l'emplacement de la grille et contrôle la température sélectionnée, le temps de cuisson et le recipient de cuisson.
3. Si le four fume :
Vérifiez que le four ne nécessite pas de nettoyage.
Vérifiez qu'il n'y a pas eu de projection degraisse ou de jus sur les parois ou que la préparation ne déborde pas.
Vérifiez que la température et la position de cuisson sélectionnées sont adaptées.
Si les problèmes persistent malgré ces suggestions, veuilles contacter le service après-ventes de votre magasin revendeur.
Toutes les informations, dessins, croquis et images dans ce document relèvent de la propriété exclusive de SOURCING & CREATION. SOURCING & CREATION se reserve tous les droits relatifs à ses marques, créations et informations. Toute copie ou reproduction, parquelque moyen que ce soit, sera jugée et considérée comme une contrefacon.
Ce symbole apposse sur le produit signifie qu'il s'agit d'un apparéil dont le traitement en tant que déchet est soumis à la réglementation relative aux déchets d'équipements électriques et électroniques (DEEE). Cet apparéil ne peut donc enaucun cas être traité comme un déchet menager, et doit faire l'objet d'une collecte spécifique à ce type de déchets. Des systèmes de reprise et de collecte sont mis à votre disposition par les collectivités locales (déchéterie) et les distributeurs. En orientant votre apparéil en fin de vie vers sa filière de recyclage, vous contribuerez à protéger l'environnement et empêcherez toute conséquence nuisible pour votre santé.
Conditions de garantie :
Ce produit est garanti contre toute défaillance résultat d'un vice de fabrication ou de matériel. Cette garantie ne couvre pas les vices ou les dommages résultat d'une mauvaise installation, d'une'utilisation incorrecte, ou de l'usure normale du produit. La durée de garantie est spécifiée sur la facture d'achat.

Faites un geste ecocitoyen. Recyclez ce produit en fin de vie.




Sourcing & Creation
21, avenue de l'Harmonie
59650 VILLENEUVE D'ASCO
Fabrique en Turquie
Art. 8002880
Ref. CE5055 L2b
Notice Facile