M13097RB - Tondeuse autoportée MCCULLOCH - Notice d'utilisation et mode d'emploi gratuit
Retrouvez gratuitement la notice de l'appareil M13097RB MCCULLOCH au format PDF.
| Type d'appareil | Tondeuse autoportée |
| Mode de coupe | Rotation des lames |
| Largeur de coupe | Non précisé |
| Hauteur de coupe | Réglable, plusieurs positions |
| Type de moteur | Essence |
| Puissance moteur | Non précisé |
| Transmission | Manuelle ou hydrostatique |
| Capacité bac de ramassage | Grande capacité |
| Nombre de roues | 4 |
| Type de roues | Pneumatiques |
| Direction | Volant |
| Siège | Confortable avec dossier |
| Utilisation recommandée | Pelouses moyennes à grandes |
| Poids | Non précisé |
| Dimensions | Non précisé |
| Accessoires inclus | Bac de ramassage |
| Normes | CE |
FOIRE AUX QUESTIONS - M13097RB MCCULLOCH
Questions des utilisateurs sur M13097RB MCCULLOCH
0 question sur cet appareil. Repondez a celles que vous connaissez ou posez la votre.
Poser une nouvelle question sur cet appareil
Téléchargez la notice de votre Tondeuse autoportée au format PDF gratuitement ! Retrouvez votre notice M13097RB - MCCULLOCH et reprennez votre appareil électronique en main. Sur cette page sont publiés tous les documents nécessaires à l'utilisation de votre appareil M13097RB de la marque MCCULLOCH.
MODE D'EMPLOI M13097RB MCCULLOCH
Manuel d'instructions
Merci de lire très attentivement le manuel d'instructions. Assurez-vous d'avoir tout compris avant d'utiliser ce tracteur.
- Lisez toutes les instructions soigneusement. Familiarisez vous avec les commandes pour apprendre à utiliser efficacement cette machine.
- Ne jamais autoriser les enfants ou les personnes qui n'auraient pas lu ce manuel d'utilisation à utiliser ce tracteur de pelouse. La règlementation locale peut de plus interdire l'utilisation de telle machine au-dessous d'un certain âge.
- Ne jamais tondre à proximé de personnes, d'enfants ou d'animaux.
- Ne pas oublier que tout utiliseur ou propriete d'un tracteur de pelouse est responsable des accidents ou dommages causés à une personne ou a ses biens.
- Ne transportez pas de passagers.
-
Tous les utilisateurs doivent rechercher et obtenir une formation personnelle sérieuse et pratique qui devra insister :
-
sur la nécessité absolue d'être attentif et concentré lorsqu'on utilise un tracteur de pelouse,
- le fait qu'un tracteur de pelouse glissant sur une pente ne pourrait pas etre arrêté en appuyant simplement sur la pédale de frein.
Les raisons principales de cette perte de contrôle sont :
a) L'adherence insuffisante des pneus,
b) Une conduite trop rapide,
c) Un freinage insufficient,
d) Un tracteur de pelouse inadaptee aux conditions d'utilisation,
e) Une mauvaise appréciation des contraintes résultat de la nature du terrain à entretenir et, tout particulièrement de la présence de pentes sur ce terrain,
f) L'attelage incorrect d'une remorque et la mauvaise répartition des masses.
II. PREPARATION
- Pour réduire le risque d'incendie - avant l'utilisation, lorsque vous faites le plein et chaque fois que vous cessez de tondre - inspectez le tracteur et eliminez tous les débris accumulés sur le tracteur, la tondeuse et derrière les protections.
- Pendant la tonte, ne porter que des chaussures solides et des pantalons longs. Ne jamais tondre pieds nus ou chaussé de sandales.
- Contrôlez systématique et soigneusement l'etat de la surface à tondre etPTRir tous les objets susceptibles devenir des projectiles lors du passage de la machine.
- ATTENTION - Le carburant est très inflammable.
Pour transporter ou stocker le carburant, n'utiliser exclusivement que des recipients conçus et approuvés pour ces usages.
- Toujours replir le réservoir de carburant à l'air libre et ne pas fumer pendant le replissage.
- Remplir le réservoir de carburant avant de démarrer le moteur. Ne jamais retirer le bouchon du réservoir et ne jamais rajouter de carburant tant que le moteur est en foctionnement ou qu'il est encore chaud.
- Si du carburant a été renversé, ne pas tenter de démarrer le tracteur, mais le pousser hors de la zone où le carburant a été renversé et éviter de creator une quelconque source de chaleur avant que les vapeurs de carburant ne se soient dissipées.
- Refermer avec précautions les bouchons des réservoirs ou des recipients contenant du carburant pour garantir la sécurité.
-
Remplacer les pots d'échéppement défectueux.
-
Avant d'utiliser un tracteur de pelouse, toujours vérifier que les lames, les boulons de lame et le carter de coupé ne sont pas usés ou endommages. Tout jours replacer les lames et les boulons simultanément de façon à éviter tout problème d'équilibrage.
- Sur les tracteurs de pelouse multi-lames, ne pas oublier que la rotation d'une lame peut entrainer celle des autres.
III. UTILISATION
- Ne jamais démarrer un moteur à l'intérieur dans un espace confiné où des émanations dangereuses de monoxyde de carbone pourrait s'accumulées.
Tondre uniquement à la lumière du jour ou avec une bonne luzière artificielle. - Avant de tenter de démarrer le moteur, s'assurer que les lames sont débrayées et que la boîte de vitesses est au point mort.
- Ne jamais utiliser un tracteur de pelouse sur des pentes supérieures à 15^ .
-
Se souvenir qu'il n'existe pas de pente «sûre». Conduire sur des pentes herbeuses demande une attention particulière. Afin d'éviter tout risque de returnement du tracteur, appliquer avec soin les consignes suivantes :
-
ne pas s'arrête ou démarrer brusquement dans une pente.
- embrayer doucement et ne jamais arrêté le tracteur de pelouse dans une pente, et plus particulièrement dans le sens de la descente.
- conduire toujours lentement dans les pentes, tout comme dans les virages serrés,
- faire attention aux irregularités du terrain.
-
ne jamais tONDRE en travers d'une pente, à moins que le tracteur de pelouse n'ait eté spécialement concu à cet effet.
-
Faire attention lors de la traction de charges ou lors de l'utilisation d'équipements lourds.
-
N'utiliser que des points d'attelage approvés.
- Limiter les charges à celles qu'il est possible de contrôler avec sécurité.
-
Ne pas tourner trop brusquement. Rester très prudent lors des conduites en marche arrière.
Utiliser les masses de roues ou les contrepoids lorsqu'ils sont conseillés dans ce manuel d'utilisation. -
Faire attention à la circulation lorsque l'on doit utiliser le tracteurprésd'une routeoulorsqu'ondoittraverseruneroute.
- Toujours stopper la rotation des lames lorsqu'on doit traverser une surface autre que du gazon.
- Lors de l'utilisation d'accessoires, ne jamais les utiliser ou les déposer à proximé de celui qu'un.
- Ne jamais utiliser le tracteur à gazon avec un déflecteur ou protecteur défecteurs, ou sans les dispositifs de protection en place.
-
Conserver le régime de rotation du moteur et ne jamais le faire fonctionner au dessus de son régime nominal car cela peut être dangereux.
Avant de quitter le siege : -
débrayer les lames et abaiser le carter de coupe,
-mettre le levier de vitesse au point mort et enclenger le frein de parking, -
arrête le moteur et-retirer les clés,
-
Débrayer les lames, arrêté le moteur, et débrancher le (s) fil (s) de (s) bougie (s) d'allumage ou retarder la cléf de contact:
-
avant de.xxretirer l'insert broyeur ou avant de.xxretirer la goulotte d'éjection pour la nettoyer.
-
avant de contrôle, nettoyer ou travailler sur le carter de coupe,
-
avant de prisoner un objet coincide dans le tracteur de pelouse. Dans ce cas inspector aussitot la machine pour s'assurer qu'elle n'est pas endommagée et, si nécessaire, faire ou faire faire impérativement les réparations avant de la remettre en marche et de la faire fonctionner à nouveau.
-
silamachinemc Commenceàvbrer anormalement.Dans ce casverifierimmediatementle carterdecoupe.
-
Débrayer systématiquement les lames quand le tracteur n'est pas utilisé ou quand il doit être transporte.
-
Débrayer les lames puis arrêté le moteur :
-
avant de faire le plein d'essence,
- avant d'enlever le collecteur,
-
avant de régler la hauteur de coupe à moins que ce réglage ne puisse s'effectuer du poste de conduite.
-
Lorsque la tonte est terminée, réduire les gaz avant de couper le moteur et, si le tracteur de pelouse est équipée d'un robinet d'arrêt du carburant, fermer celui-ci.

ATTENTION:LESENFANTSPEUVENTETREBLESSESPAR CET EQUIPEMENT.Selon l'Académieaméricaine de pediatrie, il faut que les enfants aient au minimum 12 ans avant d'utiliser une tondeuse à pousser et au minimum 16 ans avant d'utiliser une tondeuse autoportée.
- Il ne faut pas dépasser un angle maximum de 15^ pour charger et décharger cette machine.
- Le port d'Équipements de protection individuelle (EPI) appropriés est conseilé pendant l'utilisation de cette machine et comprend (au moins) des chaussures robustes, des lunettes de sécurité et des protections auditives. Ne tondez pas enchaussures découvertes et/ou à bout ouvert.
- Veiliez à informer une pierce personne que vous âtes en train de tandre à l'extérieur.
IV. ENTRETIEN ET ENTREPOSAGE
- S'assurer que tous les écrous, boulons et vis sont bien serrés pour être certain que l'équipement est pré à fonctionner de nouveau, dans de bonnes conditions.
- Ne jamais entreprises le tracteur de pelouse avec du carburant dans le réservoir, dans un bâtiment où les vapeurs pourraient s'enflammer au contact d'une flamme ou d'une étincelle de l'allumage.
- Attendre le refroidissement du moteur avant d'entreposer la tondeuse autoportée dans un espace fermé.
- Pour supprimer les risques d'incendie s'assurer que le moteur, le pot d'échéppement, le logement de la batterie et du réservoir de carburant ne sont pas encrassés par de l'herbe, des feuilles ou des surplus de graisse.
- Vérifier souvent le bac ou le collecteur pour vous assurer qu'il est propre et qu'il n'est pas endommagé.
- Pour plus de sécurité, remplacer systématiquement les pieces usées ou détiériorées.
- Si le réserve de carburant doit être vidangié, procédé à cette opération à l'extérieur.
- Sur les tracteur de pelouse multi-lames, ne pas oublier que la rotation d'une lame peut entraîner celle des autres.
- Quand le tracteur de pelouse est garé, entreposé ou tout simplement inutilisé, régler la hauteur de coupe dans sa position la plus BASSE.

ATTENTION: Toujours débrancher le fil de la bougie d'allumage et le placer de telle sorte qu'il ne puisse, enaucun cas,enteren contact avecla bougieafin de prévenir les demarrages accidentels, lors du montage,du transport,des réglages ou des réparations.
E S I. INSTRUCCION
Consultez le manuel pour connaître
es Modes de fonctionnement sure
Risque d'incendie provoqué
par l'accumulation de débris.
AVERTISSEMENT : Veuillez ire le Manuel d'utilisation du moteur –
Risques d'incendie - Fumées ou gaz toxiques
PRUDENCE : Risque d'accrochage des doigts ou de la main - courroie de transmission
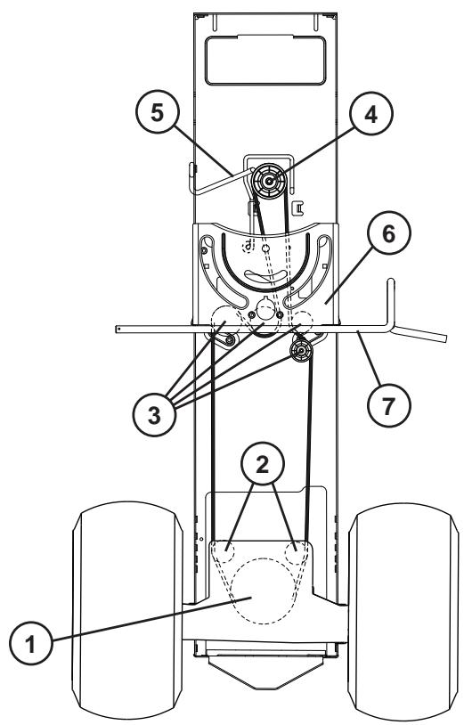
Monter la rallonge d'arbre de direction (1).
- Positionner le cache sur la colonne de direction. S'assurer que les ergots du cache colonne de direction sont bien clipsés dans les quatre orifices du tableau de bord.
- Enlevez le manchon de direction du volant de direction et glissez le manchon sur l'arbre de rallonge. Vérifier que les roues avant sont bien alignées droit vers l'avant et positionner le volant sur le moyeu.
- Positionner la grande rondelle plate, la rondelle frein et le boulon hexagonal 5/16 éme. Visser fortement,
- Encliqueter le cache volant dans le volant de direction. 1. ARBRE D'EXTENSION
Retirer le bouton de réglage et la rondelle plate qui fixent le siège à l'emballage de carton, le conserver pour le montage du siège sur le tracteur.
Se débarrasser ensuite de l'emballage.
REMARQUE: Vérifier que le cable électrique est bien connecté sur le contacteur de sécurité (1) place sous l'embase du siège.
Placer le siège sur son embase de façon que la tête de la vis à épaulement se place dans le trou à l'extrémité de la large fente de l'embase (2).
Pousser le siège vers le bas pour engager la vis à épaulement dans la fente puis repousser le siège vers l'arrière du tracteur.
Serrer ensuite à fond la vis (3).
RéGLAGE DU SIÈGE
Tirez vers le haut le levier de réglage (4) et faites glisser le siège jusqu'à ce que vous soyezcomfortablement assis et que vous puissiez enforcer complètement la pédale de frein/d'embrayage. Libérez le levier pour verrouiller la position du siège.




INSTALACION DEL ASIENTO
- Plaque arrête
- Cubierta Terminal
- Cable (+)
- Cable (-)
A. Frontal de tractor - Protección
- Terminal de bateria
- Bateria
- Support de plaque arrête en position ouverte
- Supports de la plaque arrête

PRUDENCE: Le support de la plaque arrêté doit être fixé dans la fente au-dessous de la plaque arrêté lorsque cette dernière est en position ouverte et bloquée dans les supports au-dessus de la plaque arrêté lorsque cette dernière est en position fermée.
REMARQUE : Charger la batterie à 6-10 ampères pendant une heures minimum.

ATTENTION: Avant de mettre en place la batterie, prendre la précaution de retarder gourmette, montre-bracelet, anneau, etc. Leur contact avec la batterie pouvant entraîner des brûlures.

INSTALACION DE LA BATERIA
FRT ATTENTION: La borne positive doit etre connectee la premiere pour eviter les etincelles dues a une mise a la masse accidentelle.
Enlever les capuchons de protections des bornes et lesmettrede coté.Commencer par brancher le cable rouge au pole positif puis le cable noir de la masse au pole négatif. Fixer les deux cables à l'aide des vis et desécrous.Lubrifier les bornes de la batterie avec de la graisse résistance à I'eau.
Ressort de blocage du bac de ramassage
Boulons à épaulement
Pernos de tope
Boulons à épaulement
Pernos de tope
- Dépliez le sac et posez-le de sorte que le côte croit soit orienté vers le haut.
- Introduisez le chassinis avant (1) à travers les boucles du sac en toile de chaque cote du bac.
- Enclenchez la partie inférieure du chassin avant (1) dans la piece située à l'avant du fond du bac.
- Faites glisser les segments de boucle en toile (2), situés aux extrémités du sac, sur le tube du chassin supérieur du bac.
- Retirez deux boulons hexagonaux (14)^ - 20 × 1,15^ ) (3) de l'avant du chassinis supérieur.
- Remettez les deux boulons hexagonaux (1/4"-20 × 1,15") (3) en place en passant à travers les orifices de la partie supérieure du chassin avant du bac et enfilez-les dans les écrous à l'intérieur des tubes du chassin.

- Placez les contre-écrous (1/4"-20) (4) dans la partie inférieure du chassis avant du bac.
- Dépliez les renforts (5) et fixez-les aux boulons de carrosserie dans les coins inférieurs du chassin avant du bac.
- Replacez les contre-écrous (1/4"-20)(4) et serrez-les jusqu'à ce qu'ils soient complètement bloqués.

- Retirez l'axe de chape (6) et l'attache à ressort (7) de la poignée du bac (8).
- Faites glisser la poignée du bac (8) vers le bas à travers le couvercle et les orifices de la structure supérieure soudée du chassin.

- Remettez l'axe de chape (6) en place en le faisant passer à travers l'orifice de la partie inférieure de la poignée du bac et faites glisser le ressort de retenue (7) dans l'orifice à l'extrémité de la chevelle jusqu'à ce qu'il se verrouille en position.
REGLAGE DES MONTURES DE SUSPENSION
Le tracteur sort d'usine avec l'ergot du bac préréglé dans une position fixe. En cas de nécessité, cette position peut être ajustée afin de maintainir une distance suffisante (A) entre le garde-boue et la partie supérieure du bac. La distance ideale est de 0,2" environ (5,1 mm).
REMARQUE: La monture de suspension peut ainsi être ajustée au besoin de chaque côte.
- Déposez le bac.
REMARQUE: NE REGLEZ QU'UN COTE A LA FOIS.
REGLAGE VERTICAL
- Desserrez les écrous des boulons du chariot (1) afin de pouvoir glisser la plaque de réglage (2) vers le haut ou vers le bas. Déplacez-la comme il convient. Resserrez correctement les écrous pour fixer la plaque de réglage dans sa nouvelle position.
- Répétez la procédure pour le côte opposé.

REGLAGE HORIZONTAL
- Desserrez les écrous des boulons du chariot (3) afin de pouvoir glisser la plaque de réglage (4) vers l'avant ou vers l'arrière. Déplacez-la comme il convient. Resserrez correctement les écrous pour fixer la plaque de réglage dans sa nouvelle position.
- Répétez la procédure pour le côte opposé.

- Recommencez le réglage si nécessaire.
POUR INSTALLER LES RESSORTS DE BLOCAGE DU BAC DE RAMASSAGE
Les ressorts se trouvent sur la plaque de fond (1), un dans chaque coin inférieur.
- Avant l'installation, couper le moteur du tracteur et serrer le frein à main.
- Installer chaque ressort de blocage en orientant la boucle (2) vers le bas, face au bac de ramassage.
- Introduire le boulon (3) dans l'extrémité recourbée du ressort de blocage, à travers la plaque de fond, puis le fixer à l'aide de l'écrou (4) comme illustré. Serrer à fond.

- Le fond du bac de ramassage doit entre en contact avec la boucle de manière à être solidement maintenu en place une fois fermé.

REMARQUE : ÀpRES un réglage en hauteur de l'ensemble du bac de ramassage, il peut être nécessaire d'ajuster la hauteur du reassert du bac pour maintainir l'ensemble du bac correctement fermé. Pour effectuer cet ajustement, desserrez suffisamment l'écrou (4) pour permettre un déplacement du verrou à reassert du bac. Faites glisser le verrou à reassert du bac vers le haut ou vers le bas de manière à assurer que l'ensemble du bac de ramassage soit correctement fermé. Resserrez correctement l'écrou.
POUR REGLER LE LEVIER DE VIDAGE DU BAC
- Avant le réglage, pensez à arrêté le moteur du tracteur et à serrer le frein à main.

Faites glisser le levier de vidage du bac avec palette dans la position voulue (1).
Pour l'herbe plus lourd/humide, poussez le levier de vidage entiement a l'intérieur.
Pour une herbe plus légères/sèche, tirez le levier de vidage entiennent à l'extérieur.

PARA MONTAR EL CONTENEDOR
Emplacement des commandes
- Interrupteur des phares
- Commande de gaz
- Pédale de frein et d'embrayage
- Commande de la boîte de vitesses
- Embrayage/débrayage du groupe de coupe
- Abaisissement et relevage du plate au de coupe
- Serrure de contact
- Frein de parking
- Starter

FR 2. Commande des gaz
La commande des gaz permet de faire varier le régime du moteur et donc la vitesse de rotation des lames.
= Régime rapide
= Ralenti
ES 2. Accelerador
FR 3. Pédale de frein/D'embrayage
Permet de débrayer et de freiner le tracteur et de démarrer le moteur.
ES 3. Pedal del embrace/Freno
Seusa para desembragary frenareltractor arrancarlemotor.
FR 4. Commande de la boite de vitesses
La boîte de vitesses possèdent des vitesses avant, une position neutre (point mort) et une marche arrière. Le passage des vitesses peut s'effectuer du point mort jusqu'à la vitesse maxïme sans s'arrêté sur les rapportes intermédiaires. Toutefois il est indispensable d'appuyer sur la pédale d'embrayage (et donc de débrayer) lorsqu'on passé d'un rapport à un autre,quel qu'il soit! Le démarrage du tracteur pouvant intervenir indépendamment de la position du levier de vitesse, il est indispensable de bien vérifier que celui-ci est au point mort avant d'actionner la cléf de contact et de démarrer le moteur.
REMARQUE!
Toujours stopper le tracteur avant de passer de la marche arriere à un rapport de marche avant et inversement. Le passage entre les différents rapportés de marche avant ne doit jamais être effectué pendant le déplacement du tracteur. Ne jamais forcer sur le levier lors du passage d'un rapport dans un autre.
(FR) 5. Commande d'embrayage et de débrayage du carter de coupe
Pousser le levier vers l'avant et le verrouiller pour embrayer le carter de coupe. Les courroies d'entrainment seront alors en tension et les lames commenceront à tourner. Ramener le levier vers l'arrête pour débrayer le carter de coupe, les lames seront alors freinées par le frottement des patins de frein sur les poulies d'entrainment. Si le bac n'est pas complètement fermé, les lames ne seront pas actionnées lors du mouvement du levier vers l'avant et le moteur s'arrête. Si le bac se détache pendant la coupe, le moteur s'arrête.
(FR) 6. Relevage et abaisissement du carter de coupe
Tirer sur le levier vers l'arrière pour relever rapidement le carter de coupe lors du passage sur une surface accidentee. Pour le transport, le carter de coupe doit etre dans sa position la plus elevée (relevé au maximum). Pour cela, tirer le levier vers l'arrière jusqu'à sa butee.
FR 7. Clé de contact et de démarrage
La clé de contact a quatre positions différentes.
OFF Le circuit électrique est coupé (étéint)
ROS ON Sécurité Marche Arrière (ROS) branchée
ON Le circuitélectrique est fermé(allumé)
START Le démarreur du moteur est alimenté
Le dispositif de sécurité marche arrière permet de faire fonctionner une faucheuse ou tout autre équipement quand la marche arrière est enclenchée (Voir Section 5 - "Conduite").
ATTENTION!
Lorsque la machine doit rester sans surveillance, même pour un court instant, toujours arrêté le moteur,mettre le levier de commande de vitesse au point mort (Neutre) et retarder la clé de contact.


8. Frein de stationnement
Pour enclencher le frein de stationnement :
- Enconcer à fond la pédale d'embrayage/frein.
- Relever vers le haut le levier du frein de stationnement et le maintainir dans cette position.
- Relâcher la pédale d'embrayage/frein. Relâcher le levier du frein de stationnement qui restera dans sa position verrouillée (en haut).
Pour desserrer le frein de parking, il suffit d'enconcer la pédale d'embrayage/frein pour que le levier du frein de parking soit déverrouillé et qu'il revienne automatiquement dans sa position de repos.

Lorsque le moteur est froid, tirer le bouton de commande du starter avant d'essayer de démarrer. Dès que le moteur a démarré et tourne régulièrement, repousser le bouton de commande.

11. Estrangulador
4. Avant de démarrer. 4. Antes del arranque.
Utiliser de l'essence pure (sans ajouter d'huile) sans plomb. Remplir le réservoir jusqu'au bord inférieur de l'orifice de replissage, jamais plus haut.
ATTENTION!
L'essence est un produit inflammable. Prendre les précautions nécessaires et faire le plein en extérieur. Ne jamais fumer lors du replissage du réservoir, ou à proximité, et ne pas refaire le plein tant que le moteur est encore chaud. Ne pas trop replir le réservoir, penser à l'expansion de l'essence à la chaleur ce qui risquerait d'entrainer le débordement du réservoir. Toutjours s'assurer, après le plein, que le bouchon du réservoir est correctement visse et serré. Conserver l'essence dans un écipient spécifique conçu à cet effet et dans un local frais et aéré. Vérifier régulièrement le réservoir et le circuit d'alimentation en carburant.
L'orifice de replissage avec son bouchon/jauge est accessible après basculement du capot moteur vers l'avant. Le niveau d'huile du moteur doit être contrôle avant chaque utilisation. S'assurer que le tracteur se trouve bien à plat, dévisser le bouchon avec sa jauge, essuyer cette dernière. Remettre en place le bouchon/jauge et le revisisser. Attendre quelques secondes et-retirer à nouveau la jauge. Contrcler le niveau de l'huile sur la jauge.
(ES) Nivel de aceite
(FR) Pression de gonflage des pneus
Vérifier régulièrement la pression de gonflage des pneus. La pression de l'air dans les pneus doit être de 1 bar pour les roues avant et de 0,8 bar pour les roues arrirées.
FR Demarrage du moteur
Asseyez-vous sur le siège en position de conduite, appuyez sur la pédale de frein et tirez le frein à main. S'assurer que le carte de coupe est en position de transport (en position supérieure) et que le contrôle pour l'embrayage/débrayage du carte de coupe est en position de débrayage.
REMARQUE!
La machine est équipée d'un dispositif de sécurité qui arrête le moteur immédiatement, s'il est encore en fonctionnement, lorsque le conducteur quitte le siège. Le carter de coupe est également muni d'un dispositif de sécurité qui empêche l'embrayage des lames tant que le collecteur ou le déflecteur (en option) ne sont pas correctement mis en place à l'arrêt du tracteur.
ES Arranque del motor
Ne pas faire tournier le démarreur pendant plus de 5 secondes à la fois. Si le moteur ne démarre pas, attendre une dizaine de secondes avant de refaire un essai de démarrage.
Laisser revenir la cléf de contact à la position "ON" lorsque le moteur a démarré. Amener la manette de gaz à la position de régime moteur désire. Pour la coupe, positionner la manette dans l'encoche correspondant au régime moteur optimal pour la tonte (accelération maximale du moteur).
⑤ Dejar que la llave de encendido vuelva a la posicion "ON" cuando ha arrancado el motor. Ponga el acelerador en la posicion deseada. AlURTAR, a plenos gases.
Dopo l'avviamento, riportare la chiave su "ON". Regolare il gas sul regime desiderato. Per il taglio: massimo regime "F".
Draai de startsleutel terug in "ON"-posotie. Schuif de gashendel maar het gewenste toerental. Bij maaien: vol gas.

GB Driving
Abaisser le carter de coupe en amenant le levier vers l'avant. Embrayer les lames. Choisisir la vitesse d'avancement en fonction du terrain et de la qualite de toute désirée (Généralement, la position optimale correspond à l'encôche prévue à cet effet au niveau de la commande des gaz). Relâcher doucement la pédale d'embrayage/frein.
ES Conducción
FR Sécurité Marche Arrière (ROS)
Votre tracteur est équipé d'un dispositif de sécurité de fonctionnement en marche arrière (ROS). Dès que l'opérateur Essaie d'enclencher la marche arrière en actionnant l'embrayage de l'équipment, le moteur s'arrête si la clé de contact n'est pas en position ROS "ON" (sécurities marche arrière).
ATTENTION! Il est fortement déconseilé de faire marche arrrière avec l'embrayage de l'équipement enclenché. Mettre la sécurité ROS en position "ON" pour faire marche arrrière avec l'embrayage de l'équipement enclenché uniquement lorsque l'opérateur decide que cette opération est nécessaire pour repositionner le tracteur avec l'équipement enclenché. N'utiliser la faucheuse en marche arrrière que si c'est absolument nécessaire.
UTILISATION DU DISPOSITIF DE SECURITE ROS
- Appuyer sur la pédale d'embrayage/frein jusqu'en bas.
- Laisser tournier le moteur et tourner la clé de contact vers la gauche sur ROS "Marche" (ON).
- Regarde en bas et derrière avant de faire marche arrière.
- Enclencher le levier de vitesse sur marche arrière (R) et relâcher lentement la pédale embrayage/frein.
- Quand les manoeuvres avec le dispositif ROS sont terminées, tourner la clé de contact vers la droite sur la position Moteur "Marche" (ON).
Sistema de Funcimiento Atrás (ROS)
(FR) Conseils pour la tonte
- Retirer de la pelouse, les pierres et autres objets qui pouraient être propulsés par les lames et doivent ainsi des projectiles dangereux.
- Localiser et marquer les pierres et autres obstacles fixes afin d'éviter une éventuelle collision pendant la tonte.
- Commencer par couper assez haut, puis réduire progressivement cette hauteur de coupe jusqu'à obtention du résultat souhaïte.
- Le meilleur résultat de coupe sera obtenu avec un régime de rotation du moteur élevé (Les lames tournent très vite) et une vitesse d'avancement réduite (Le tracteur avance lentement). Si l'herbe n'est pas trop longue, ni trop épaissé, vous pouvez augmenter la vitesse en passant une vitesse supérieure ou en augmentant la vitesse du moteur, sans promprommettre le résultat final.
- Les plus belles pelouses sont celles qui sont tondues souvent. La coupe est plus régulière et l'herbe est mieux répartie sur la surface. Le temps passé pour effectuer la tonte ne sera pas nécessairement plus important, car la vitesse d'avancement pourra être plus élevé sans que l'aspect de la pelouse n'en soit affecté.
- Eviter de tondre une pelouse mouillée, car la qualité de la coupe ne pourrait être correcte du fait de l'enforcement des roues du tracteur dans le sol.
- Nettoyer le carter de coupe, et en particulier le fond, au jet ou au nettoyeur à haute pression, après chaque utilisation. Une raclette peut être utile pour décoller l'herbe fraîche du carter ou de la goulotte d'éjection.
Pour convertir la tondeuse :
(Pour la conversion à paillage ou éjection arrêté, l'achat de ces accessoires est nécessaire).
Pour le paillage
- Mettez le chassin en position de coupe haute.
- Déposez le bac ou le déflecteur d'éjection arrêté en option.
- Introduisez le bouchon dans la plaque arrière et sur l'adaptateur de la goulotte du chassin de la tondeuse.
Fixez le bouchon en reliant les deux sangles dans les orifices situés sur les bras de support du bac. - Remplacez le bac ou le deflecteur d'éjection arrêté en option pour permettre à la tondeuse de fonctionner.
Youes a present pret a commencer le paillage.
Vers la goulotte d'éjection arrrière
- Mettez le chassin en position de coupe haute.
- Déposez le bac et la plaque de paillage (si installée).
- Installez la goulotte d'éjection par l'ouverture dans la plaque arrrière et faites-la glisser au-dessus de l'adaptateur du chassin.
- Attachez la goulotte en fixant les deux écrous à oreilles à la bride de la goulotte.
Fixez le déflecteur d'éjection à la plaque arrêté en visant les quatre (4) vis à oreilles dans les inserts filetés se trouvant dans la plaque arrêté. - Serrez fermement les vis à oreilles.
Pour l'ensachage
- Mettez le chassin en position de coupe haute.
- Déposez le déflecteur d'éjection arrêté ou la plaque de déchiquetage.
- Introduisezlagoulotted'éjection dans l'ouverturesituéedans la plaque arrrièreetsurl'adaptateur duchassinéslatondeuse.
- Attachez la goulotte au tracteur en fixant les deux écrous à oreilles à la bride de la goulotte.
Montez le bac sur le tracteur.
(ES) Para convertir la segadora:
(La conversion a acolchado o descarga trasera requireirá la compra de"These accessories).
Para el acolchado
FR Pour vider le bac
Votre tracteur est muni d'une alarme de bascule du sac. Pour désactiver l'alarme, désengager la commande de l'embrayage.
- Amener le tracteur la ou vous souhaitez le décharger.
- Vérifier que la boîte de vitesse est au point mort. Engagez le frein de stationnement.
- Tirer le leiver de vidange du bac vers le haut puis vers l'avant afin d'ouvrir le bac et vider l'herbe coupée.
- Remetre ensuite le levier dans sa position initiale. Vérifier que le collecteur est bien reféré et qu'il se trouve dans la bonne position avant de réembrayer les lames.
- Ne jamais utiliser un tracteur sur des pentes excédant 15^ . Les risques de renversement étant alors très importantes.
- Ne jamais rouler parallèlement à la pente du fait des risques de renversement. Toujours rouler perpendicularément à la pente, aussi bien en montant, qu'en descendant.
- Ne jamais arrêté ou démarrer un tracteur en pente.
ES ADVERTENCIA!
(FR) Extinction du moteur
Déplacez la commande de débrayage pour libérer la position. Déplacez la commande des gaz à mi-chemin entre la mi-vitesse et la vitesse maximum (rapide). Levez la barre de coupe et faites tournier la clé de contact sur STOP.
ES Apagar el motor
Ne jamais laisser la clé de contact sur la machine lorsqu'elle reste sans surveillance afin d'éviter que des enfants ou autres personnes non autorisées ne puissant démarrer le moteur.
ES ADVERTENCIA!
Avant toute intervention sur le moteur ou le carter de coupe suivre les instructions ci-dessous:
- Enconcer la pédale d'embrayage/frein pour verrouiller le frein de stationnement.
- Amener le levier de vitesse en position "Neutre" (point mort).
Débrayer les lames. - Arreter le moteur.
- Débrancher le cable d'allumage de la bougie.
ES ADVERTENCIA!
Relever le capot,
- Débrancher les phares,
- Àpres s'être placé devant le tracteur, prendre le capot par les côtés, le faire basculer vers l'avant puis le soulever pour le libérer des encoches qui le retiennent au chassin.
Pour le remetre en place, repositionner les ergots du capot dans les encoches du chassin.
Rebrancher les phares et refermer le capot.
REMARQUE: Le tracteur doit être entretenu régulièrement afin de maintainir ses performances.

ATTENTION! Toujours débrancher le fil de la bougie, afin d'éviter tout démarrage accidentel, lors d'une réparation, d'une inspection ou d'une opération de maintenance.
Avant chaque utilisation :
- Contrôler le niveau d'huile et lubrifier, si nécessaire, les points d'articulation,
- Vérifier que tous les boulons, écrous et épinges sont en place et solidement fixés,
- Contrôler la batterie, ses cosses et sa mise à l'air libre,
La recharger doucement à 6 ampères, si nécessaire,
Nettoyer la grille de ventilation du moteur,
Nettoyer le filtré a air, - Nettoyer le tracteur afin d'évacuer la poussière et les brindilles qui risqueraient d'endommager le moteur ou de provoquer un échauffement anomal.
Vérifier le fonctionnement du frein.
Nettoyage
N'utilisez pas de nettoyeur haute pression pour le lavage. L'eau pourrait s'infiltrer dans le moteur et abréger ainsi la durée de l'appareil.
Nettoyage De La Plaque De Direction :
- Nettoyez toute trace de débris sur la plaque de direction. Les débris peuvent empêcher le mouvement de l'arbre de la pédale de frein/d'embrayaget, provoquant le glissement de la courroie avec perte d'entrainment.

ATTENTION: Évitez les points de coincement et les pièces mobiles.

1. ATTENTION : POINTS DE COINCEMENT
- La Plaque De Direction.
- Système de direction, tableau de bord, pare-chocs et faucheuse non illustrés.
- Nettoyez le haut.
- Pédale de frein/d'embrayage.


Mantenimiento
PRUDENCE: Si le moteur a tourné pendant une période prolongée juste avant la vidange de l'huile, l'huile sera chaude.
Glissez lebec de vidange sur le chassin, sous l'orifice de vidange.
- Placez un écipient sous le bec pour récapérer l'huile.
- Dévissez et enlevez le bouchon de vidange à l'aide d'une clé à douille de 1/2 pouce (12 points) (rallonge recommandée).
Vidangez l'huile a travers le bec de vidange.
- Refermez le bouchon de vidange d'huile
ATTENTION: Ne serrez pas excessivement(13 Ft-Lbs / 18 Nm).
- Orifice de vidange d'huile
- Bec de vidange d'huile
- Bouchon de vidange d'huile

PARACAMBIAR EL ACEITE

Consigner les dates d'intervention après chaque opération d'entretien.
| Selon les besoins | Toutes les 8 H | Toutes les 25 H | Toutes les 50 H | Toutes les 100 H | Toutes les 200 H |
| • | |||||
| • | |||||
| Vidange de l'huile moteur (sans filtré à huile) | ...... | ...... | |||
| Vidange de l'huile moteur (avec filtré à huile) | ...... | ...... | |||
| Graissage des articulations | ...... | ...... | |||
| Vérification des freins | ...... | ||||
| Nettoyage de la grille d'aération | ...... | ||||
| Nettoyage du filtré à air et du pré-filtre | ...... | ||||
| Remplacement de la cartouche du filtré à air | ...... | ||||
| Nettoyage des ailettes de refroidissement moteur | ...... | ||||
| Remplacement de la bougie | ...... | ||||
| Vérification du gonflage des pneus | ...... | ||||
| Remplacement du filtré à carburant | ...... | ||||
| Nettoyage des cosses de la batterie et des connexions | ...... | ...... | |||
| Vérification du pot d'échéppement | ...... | ...... |

INFORME DE SERVICIO
Système de détction opérateur et sécurité de marche arrière (ROS)
S'assurer que les dispositifs de sécurité (présence opérateur et marche arrêté) fonctionnement correctement. Si vous tracteur ne fonctionne pas comme il est décrit plus haut,.Remédier au problème immédiatement.
- Le moteur ne devrait pas démarrer si la pédale du frein n'est pas complètement appuyée et si l'embrayage de l'équipement n'est pas relaché.
VERIFIER LE CAPTEUR DE PRESENCE OPERATUR:
- Le moteur s'arrêtechaque fois que l'opérateur se lève de son siège sans avoir d'abord enclenché le frein de stationnement.
- Le moteur s'arrêtechaque fois que l'opérateur se levede son siège et que l'embrayage de l'équipement estenclenché.
- L'embrayage de l'équipement ne devrait jamais être enclenché si l'opérateur n'est pas assist dans son siège.


VERIFIER LE DISPOSITIF DE SECURITE MARCHE ARRIERE (ROS):
- Le moteur s'arrêtechaque fois que l'opérateur essaie d'enclencher la marche arrière quand la clé de contact est sur la position Moteur "Marche"(ON) et que l'embrayage de l'équipment est enclenché.
- Le moteur s'arrêtechaque fois que l'opérateur essaie d'enclencher la marche arrière quand la clé de contact est en position ROS "Marche" (ON) et que l'embrayage de l'équipment est enclenché.

Les lames doivent être parfaitement affutés pour obtenir une belle coupe. L'affutage peut être réalisé à l'aide d'une lime ou d'une meule.
REMARQUE: Il est très important d'affuter les deux extrémités de la lame de façon identique afin d'éviter tout déséquilibrage.
(ES) Cuchillas
ATTENTION: Les deux lames de la tondeuse sont différentes et chacune d'entre elles doit etre installee a sa place dans le carter de coupe. Il est vivement conseilé de travailler sur une lame à la fois pour s'assurer du bon assemblage des composants.
- Relever au maximum la machine pour avoir accès aux lames de coupe.
- Enlevez le boulon de blocage de la lame.
- Mettre en place une lame neuve, ou la lame d'origine réaffutée, avec le tranchant tourné vers le haut (fond du carter de coupe), comme indiqué sur la figure.
ATTENTION: Le montage de la lame est correct lorsque son alésage central en forme d'étoile est parfaitement emboitée sur l'étoile se trouvant à l'extrémité du moyeu.
ATTENTION: La vis de fixation de la lame est traitée thermiquement en classe 8, bien respecter le couple de serrage.
1. Lame avec Étoile des Cinq Branches
Cette lame est fixée au moyeu par un boulon avec filtage à droite. On desserre le boulon en le faisant tourner dans le jeu inverse des aiguilles d'une montre et on le resserre en le faisant tourner dans le sens des aiguilles d'une montre.
- Remontez le boulon de blocage de la lame et serrez fortement (62-75 Nm.).
2. Lame avec Étoile des Six Branches
Cette lame est fixée au moyen par un boulon avec filtage à gauche. On déserre le boulon en le faisant tourner dans le sens des aiguilles d'une montre et on le resser en le faisant tourner dans le sens inverse.
- Remettre en place la rondelle plate, la rondelle grower et la vis dans l'ordre indiqué.
- Resserrer la vis avec un couple de serrage de 37-47 Nm.


FR Pour vérifier le frein
Le tracteur a besoin de plus de cinq (5) pieds pour s'arrête complètement lorsqu'il est lancé à pleine vitesse et que la vitesse supérieure est engagée, sur une surface en béton sec ou pavée, les freins ont donc besoin d'être entretenus.
- Stationnant le tracteur sur une surface plate, en béton sec ou pavée, en appuyant à fond sur la pédale de frein et en engageant le frein de stationnement.
- Vérifier que la boîte de vitesse est au point mort.
REMARQUE: La boîte de vitesse est au point mort lorsque les roues arrirées du tracteur peuvent être manoeuvrées librement.
Les roues arrêtè doivent se verrouiller et patiner si vous essayez de pousser le tracteur à la main vers l'avant. Si les roues arrêtè tournent, le frein a besoin d'être révisé. Adressez-vous à un service après-vente ou à un mécanicien spécialisé.
(ES) Controlar el Freno
FR Pour enlever la goulotte de centrage
- Déposez le bac.
Déposez les écrous à oreilles (1). - Faites glisser la goulotte de centrage (2) à l'extérieur de la partie postérieure du tracteur.
Pour le montage,procédez dans le sens inverse du démontage.
Déposez la goulotte de centrage comme déscrit précédement.
- Placez l'embrayage del'accessoire en position "DEGAGÉ".
- Faites descendre le levier de levage del'accessoire dans sa position la plus bajo.
Retirez le cache de l'arbre (Q).
Pour retirer le cable (P), appuyez sur le taquet (L)
- Otez la couroie de la faucheuse de la poulie de l'embrayage (M).
- Déposer le ressort en forme d'épingle à cheveauz (E) et enlever le levier.
- Déposer le ressort en forme d'épingle à cheveauz (A) et enlever le levier.
- Déposer le ressort en forme d'épingle à cheveauz (D) et enlever le levier.
A PRUDENCE: Le levier de levage est à ressort. Saisissez-le fermement et libreze-le lentement.
- Faites sortir la faucheuse en la faisant glisser par l'avant du tracteur.
(FR) Mise en place du carter de coupe
- Pousser le carter de coupe sous le tracteur. Le déflecteur du canal d'éjection doit se trouver du côté droit.
- La mise en place se fait dans l'ordre inverse de celui de la dépose.
FR Pour remplacer la courroie de transmission
DÉMONTAGE DE LA COURROIE DE TRANSMISSION DE LA TONDEUSE
- Garez le tracteurbien à plat. Engagez le frein de stationnement.
- Faites descendre le levier de levage de l'accessoire dans sa position la plus basse.
- Eliminez la saleté ou les brins d'herbe qui s'accumulent autour des arbres et à la surface du pont supérieur.
- Retirez la courroie de la poulie d'embrayage (M), de la poulie du mandrin (R) et des poulies guides (V).
MONTAGE DE LA COURROIE DE TRANSMISSION DE LA TONDEUSE
- Placez la couroie autour des deux pouies (R) de l'arbre et des pouies folles (V) de la façon illustrée.
- Montez la courroie sur la poulie (M) de l'embrayage.
IMPORTANT: Vérifiez si la couroie est correctement passée dans toutes les gorges des poulies de la tondeuse.
3. Faites monter le levier de levage de l'accessoire dans sa position la plus élevé.

FR Pourmettre la tondeusea niveau
Vérifiez si les pneus sont correctement gonflés à la pression indiquée sur les pneus. Des pneus trop ou trop peu gonflés risquent de nuir à l'aspect de votre pelouse et de vous laisser croire que votre tondeuse est mal régée.
- Si vous pelouse est inégale même si les pneus sont correctement gonflés, observez de quel côté la tondeuse tond plus bas.
- Avec une clé de 3/4 de pouce ou une clé régliable, faites tournier l'écrou de réglage (A) vers la gauche pour baisser la tondeuse ou vers la droite pour la monter (Fig. 1).
REMARQUE: Chaque tour complet de l'écrou de réglage fait monter (descendre) la tondeuse de 3/16 de pouce environ.
3. Vérifiez si votre réglage est correct en tondant un peu d'herbe et en observant l'aspect final. Répétez le réglage en cas de besoin jusqu'à ce que vous soyez satisfait du résultat.
RÉGLAGE BILATÉRAL DE PRECISION
- Les pneus étant correctement gonflés, garez le tracteur sur un sol plat ou dans une allée.
DANGER: La lame est tranchante. Protégéz vos mains en portant des gants et(ou) enveloppez les lames dans une étoffe épaisse. - Faites monter la tondeuse dans sa position la plus élevé.
- Des deux côtés de la tondeuse, placez la lame sur le côté et mesurez la distance (A) entre le bas de la lame et le sol. La distance doit être la même des deux côtés (Fig. 2).
- Si vous devez effectuer le réglage, reportez-vous aux étapes 2 des Instruction du réglage visuel qui precedent.
- Vérifiez à nouveau la distance et réglez-la au besoin jusqu'à ce que les deux cots soient identiques.


RéGLAGE D'AVANT EN ARRIÈRE
IMPORTANT: Le pont doit être mis à niveau bilatéralment.
Pour que la coupe soit parfaite, les lames de la tondeuse doivent être régles de façon à ce que la pointe avant se trouve 1/8 - 3/8 pouce plus bas que la pointe arrrière lorsque la tondeuse est dans sa position la plus élevé.
DANGER: La lame est tranchante. Protégéz vos mains en portant des gants et(ou) enveloppez les lames dans une étoffe épaisse.
- Faites monter la tondeuse dans sa position la plus élevé.
- Placez les lames de façon à ce que la pointe soit orientée vers l'avant. Mesurez la distance (B) entre le sol et les pointes avant et arrière de la lame (Fig. 3).
- Sila pointe avant de la lame n'est pas 1/8-3/8" pouce plus bas que la pointe arrêté, allez à l'avant du tracteur.
- Avec une clé régliable ou de 11/16 pouce, desserrez le contre-écrou (A) de plusieurs tours pour libérer le contre-écrou B.
- Avec une clé de 3/4 de pouce ou une clé réglable, faites tournier l'écrou de réglage (B) de la connexion avant en sens horsaire (serrage) pour faire monter l'avant de la tondeuse ou en sens antihoraire (desserrage) pour l'abaisser (Fig. 4).
REMARQUE: Chaque tour complet de l'écrou de réglage fait monter (descendre) la tondeuse de 1/8 de pouce environ.
- Vérifiez à nouveau la mesure, réglez au besoin jusqu'à ce que la pointe de la lame se trouve 1/8–3/8" de pouce plus bas que la pointe arrêté.
- Maintenez l'écrou de réglage dans cette position à l'aide de la clé et serrez solidement le contre-écrou contre l'écrou de réglage.



FR Pour remplacer la couroie de transmission du mouvement
DEPOSE
- Garez le tracteur sur une surface plane. Serrez le frein de stationnement.
A ATTENTION: Veillez à ce que la clé de contact soit retiree pendant les opérations effectuées sur le tracteur.
- Déposez le bac.
- Déposez la goulotte d'éjection de centrage comme décrit précédement.
- Déposer l'unité de coupe comme décrit précédemment.
- Depuis la partie postérieure du tracteur, travailliez à travers la plaque arrrière et déposez la courroie de transmission de la tondeuse de la poulie de la boîte-pont (1) et des poulies folles arrrière (2).
- Déposez la courroie des poulies folles intermédiaires (3)
- Sortez la couroie de la poulie du moteur (4) et faites-la passer autour du guide de couroie (5).
INSTALLATION
- Démarrez la courroie au-dessus de la plaque du support de direction (6) à gauche de l'arbre de direction (7).
REMARQUE: Veilze à ce que la courroie se trouve au-dessus de la partie supérieure de l'embrayage/arbre de la pédale de frein (8).
- Faites passer la couroie sur la poulie du moteur (4) et sous le guide de couroie (5).
- Continue l'installation de la courroie dans l'ordre inverse de sa dépose.
IMPORTANT: Contrôlez la couroie pour assurer son bon acheminement dans toutes les gorges et les guides de poulie de la tondeuse.


(FR) 1. Levier de changement de vitesse
- Encoche de position neutre (point mort)
- Vis de réglage
GB TRANSAXLE GEAR SHIFT LEVER NEUTRAL ADJUSTMENT
La boîte de vitesse mécanique doit se trouver au point mort lorsque le levier de changement de vitesse se trouve dans l'encôche de position neutre. Le réglage de la position du levier est effectué en usine ; toute fois, un nouveau réglage peut s'avérer nécessaire, procéder alors de la façon suivante:
Vérifier que la boîte de vitesse est au point mort.
REMARQUE : La boîte de vitesse est au point mort lorsque les roues arrières du tracteur peuvent être manoeuvrées librement.
- Desserrer la vis de réglage (3) située à l'avant de la roue arrrière droite.
- Positionner le levier de changement de vitesse dans l'encôche de position neutre.
- Resserrer à fond la vis de réglage (3).
REMARQUE: Mettre le carter de coupe en position basse afin de dégager un peu plus d'espace pour effectuer ce réglage.

Le chassin de votre tracteur est doté d'un port de lavage nécessaire pour le nettoyage. Il est conseillé d'en faire usage après chaque utilisation de la tondeuse.
REMARQUE: Pour les modèles avec des protections françaises, le port de lavage se trouve sur la protection gauche, juste devant le pneumatique arrière.
- Amenez le tracteur sur une surface plane, assez après'une arrivée d'eau pour y brancher votre tuyau d'arrosage.
IMPORTANT : Veillez à ce que la goulotte d'éjection du tracteur ne soit PAS orientée vers votre maison, garage, voiture en stationnement, etc. Retirez l'ensacheuse ou le cache-paillis, si représent.
- Vérifiez que la commande d'embrayage de l'équipment est en position "DEBRAYEE", mettez le frein de stationnement et arrêtez le moteur.
- Reculez le collier de serrage de l'adaptateur d'embout sur le tuyau d'arrosage (A) et enoncez l'adaptateur dans le port de lavage, à l'extrémité gauche du chassin de la tondeuse (B). Replacez le collier de serrage pour fixer l'adaptateur sur l'embout.
IMPORTANT : Tirez sur le tuyau pour vous assurer qu'il est bien attaché.
Ouvrez l'arrivée d'eau.
- Prenez place sur le fauteuil du tracteur, puis redémarrez le moteur et mettez le levier d'accélérateur en position «Fast»("").
IMPORTANT : Vérifiez à nouveau que rien ni personne ne se trouve àproximé du tracteur.
- Mettez la commande d'embrayage du tracteur en position "EMBRAYEE".Restez à la place du conducteur jusqu'à ce qu'à la fin du nettoyage.
- Mettez la commande d'embrayage du tracteur en position "DEBRAYEE". Mettez la clé de contact sur STOP afin d'arrêté le moteur du tracteur. Fermez l'accuee d'eau.
- Retirez le collier de serrage de l'adaptateur d'embout pour sorting l'adaptateur du port de lavage.
- Déplacez le tracteur vers une zone sèche, de préférence goudronnée ou pavée. Mettez la commande d'embrayage de l'équipement en position "Embrayée" pour retarder l'excès d'eau et faire sécher le tracteur avant de le ranger.
AVERTISSEMENT: En l'absence de raccord de lavage ou si le raccord de lavage utilisé est endommagé, tout objet entrant en contact avec la lame risque être projeté et représenté un danger pour vous ou toute autre personne.
- Remplacez les raccords de lavage absents ou endommages immédiatement, avant la prochaine utilisation de la tondeuse.
- Bouchez tout évientuel orifice dans la tondeuse à l'aide de boulons et d'écrous.
ES BOCA DE LAVADO DE LA PLATAFORMA
Le moteur ne démarre pas
- Manque de carburant dans le réservoir.
- Bougie d'allumage défectueuse.
- Le câblage de la bougie d'allumage défectueux.
- Il y a des impuretés dans le carburateur ou dans le circuit du carburant.
Le démarreur n'entraîne pas le moteur
- La batterie est decharge.
- Mauvais contact entre les cosses des cables de batterie et les bornes de la batterie.
- Le levier de commande d'embrayage/debrayage n'est pas en bonne position.
- Le fusible principal est hors d'usage.
- Le contacteur de démarrage est endommagé.
- Le contacteur de sécurité sur la pédale d'embrayage/frein est défectueux ou endommagé.
- La pédale d'embrayage/frein n'est pas suffisamment enforcée.
Le moteur ne tourne pas régulièrement
- Un rapport de vitesse tropélevé est enclenché.
- La bougie est defectueuse.
- Le carburateur est mal régé.
- Le filtré à air est colmaté.
- La mise à l'air libre du réservoir est bouchée.
- Le réglage de l'allumage est incorrect.
- Il y a des impuretés dans le circuit de carburant.
Le moteur manque de puissance
- Le filtré à air est colmaté.
- La bougie d'allumage est défectueuse
- Il y a des impuretés dans le circuit de carburant.
- Le carburateur est mal reglé.
Le moteur chauffe
- Le moteur est en surcharge.
- La prise d'air ou les ailettes de refroidissement sont colmatées.
- La turbine de refroidissement est endommagée.
- Le niveau d'huile est trop bas ou il n'y a pas d'huile dans le moteur.
- Le réglage de l'allumage est incorrect.
- La bougie d'allumage est defectueuse.
La batterie ne charge pas
- Le fusible est hors d'usage.
- Une ou plusieurs cellules sont endommagées.
- Mauvais contact entre les bornes de la batterie et les cosses des câbles de batterie.
L'éclairage ne fonctionne pas
- Le connecteur du cable des phares ne doit pas etre relié.
- Les ampoules sont grillées.
- L'interrupteur de commande est défectueux.
- Il y a un court circuit dans le faisceau de raccordement.
Le tracteur vibre
- Les lames de coupe sont mal fixées ou mal positionnées.
- Le moteur est mal fixé.
- Undéséquilibre est apparue à la suite del'endommagement d'une ou de plusieurs lames de coupe ou à la suite d'un mauvais affutage.
Coupe irregulière
- Mauvais affutage des lames de coupe.
- Le carter de coupe n'est pas à l'horizontal.
- L'herbe est haute et humide.
- L'herbe est accumulée sous le carter de coupe.
- La pression de gonflage des pneumatiques n'est pas identique du cote droit et du cote gauche.
- Le rapport de vitesse enclenché est trop élevé.
- La couroie d'entrainement du carter de coupe patine.
ES El motor no arranca
FR Suivre la procédure suivante une fois la saison terminée:
- En fin de saison, suivre la procédure suivante pour le remisage. N'utilisez pas de nettoyeur haute pression pour le lavage. L'eau pourrait s'infiltrer dans le moteur et abréger ainsi la durée de l'appareil.
- Nettoyer l'ensemble de la machine et plus particulièrement ment l'intérieur du carter de coupe.
- Effectuer les retouches de peinture qui s'avereient nécessaires afin d'éviter la corrosion.
- Vidanger le moteur.
- Retirer la bougie d'allumage et verser une cuillere à soupe d'huile dans le moteur. Faire tournier le moteur à la main pour répartir l'huile et remettre la bougie en place.
Déposer la batterie et la remisée dans un endroit frais après l'avoir rechargée. La protéger des grands froids. - Remiser la machine à l'abri dans un endroit sec et protégé de la poussière.
ATTENTION!
Ne jamais utiliser d'essence pour effectuer le nettoyage. Utiliser un détergent du commerce et de l'eau chaude.
Entretien et réparations
Pour commander des pieces de rechange, indiquer le nom du modele, sa version, l'année d'achat, l'année de fabrication et le numero de série de la machine. Prendre contact avec le revendeur local pour les révisions sous garantie et pour les réparations. Toutjours utiliser des pieces de rechange d'origine.
Notice Facile