ETVI 4B1 - Plaque de cuisson ESSENTIELB - Notice d'utilisation et mode d'emploi gratuit
Retrouvez gratuitement la notice de l'appareil ETVI 4B1 ESSENTIELB au format PDF.
| Type de table | Induction |
| Nombre de foyers | 4 |
| Commande | Touches sensitives |
| Puissance totale | Non précisé |
| Dimensions (L x P) | Non précisées |
| Fonction booster | Oui |
| Détection automatique des casseroles | Oui |
| Minuterie | Oui |
| Sécurité enfants | Oui |
| Arrêt automatique | Oui |
| Affichage digital | Oui |
| Matériau de la surface | Vitrocéramique |
| Couleur | Noir |
| Installation | Encastrable |
| Type d'alimentation | Électrique |
FOIRE AUX QUESTIONS - ETVI 4B1 ESSENTIELB
Téléchargez la notice de votre Plaque de cuisson au format PDF gratuitement ! Retrouvez votre notice ETVI 4B1 - ESSENTIELB et reprennez votre appareil électronique en main. Sur cette page sont publiés tous les documents nécessaires à l'utilisation de votre appareil ETVI 4B1 de la marque ESSENTIELB.
MODE D'EMPLOI ETVI 4B1 ESSENTIELB
Notice d'utilisation
Pour vous aider à bien vivre votre achat
Vou venez d'acquérir un produit de la marque Essentiel b et nous vous en remercions. Nous apportons unsoon tout particulier à la FIABILITÉ, à la FACILITÉ D'USAGE et au DESIGN de nos produits.
Nous espérons que cette table de cuisson induction vous donnera entière satisfaction.
sommaire
votre produit 4
Contenu de la boîte 4
4
Description du bandeau de commande 5
consignes d'usage 6
installation 10
Mise en place du joint d'étanchéité 10
Encastrement 10
branchementélectrique 12
Précautions 12
Branchement de la table 13
Branchement spécifique 14
inFormations sur votre table de cuisson 14
Principe de l'induction 14
Detection / transfert de récipient 14
Ventilation 15
Indicateur de chaleur résiduelle (Affichage H) 15
utilisation de base 16
Avant la première utilisation 16
16
Zone de selection de la puissance (curseur sensitif) 16
Mise en route 17
utilisation avancée 18
Fonctions booster et double booster 18
Fonction minuterie 19
Fonction « Accélérateur de chauffe » (automatisme de cuisson) 21
Fonction Pause (Affichage II) 22
Rappel de votre dernière sélection de cuisson 22
Températures programmes 23
Combinaison de 2 zones de cuisson 23
Verrouillage du bandeau de commande (Sécurité infant) 24
conseils de cuisson 25
Qualité des casseroles et récipients 25
Tableau indicatif des puissances de cuisson 26
entretien et nettoyage 27
guide de dépannage 28
Contenu de la boîte
1 table de cuisson induction
1 joint périphérique d'installation
1 cordon d'alimentation
- 1 notice d'utilisation
\section*{Caracteristiques techniques}
| Puisance totale | Position du foyer | Diamètre | Puisance nominale | Puisance du 1er booster* | Puisance du 2ème booster* | Détection minimum** |
| 7400 W | Avant gauche | 240 x 190 mm | 2100 W | 2600 W | 3700 W | 100 mm |
| Arrière gauche | ||||||
| Avant droit | ||||||
| Arrière droit |
- La puissance peut varier en fonction des dimensions et des matériaux des casseroles.
** Pour une qualité de casserole et une surface de contact optimum (cf. Paragraphe "Qualité des casseroles et recipients" page 25).
Tension d'alimentation: 230V 50Hz
- Commandes sensitives frontales (4 curseurs sensitifs individuels)
- Affichage LED
- Calibre de protection : 32 A
- Détection automatique de position et de transfert des casseroles
- Zone modulable : combinaison possible de 2 zones de cissson (zones de gauche ou zones de droite)
- 3 températures programmes : 42^ (température douce), 70^ (température moyenne), 94^ (eau fremissante)
- 4 minuteries indépendantes
- Fonction Pause pendant la cuisson et Rappel des derniers réglages à l'allumage
- Sécurité infant (verrouillage des touches de commande)
- Arret débordement
- Arrêt automatique
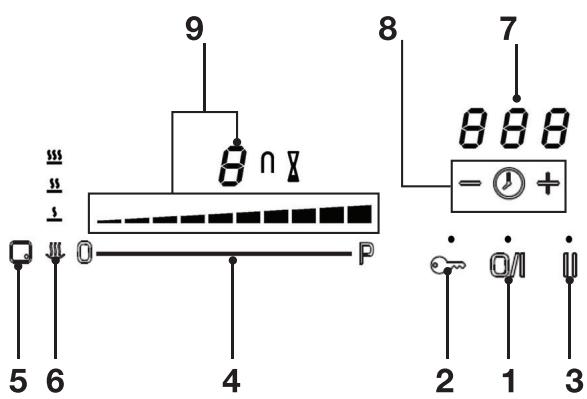
Description du bandeau de commande


- Touche marche / arrêt
- Touche de verrouillage du bandeau (sécurities infant)
- Touche Pause / Rappel de votre dernierse selection de cuisson
- Curseur sensitif : sélection de la puissance de U (puissance minimum) à P ("booster") (puissance maximum)
- Position du foyer (ici, foyer avant droit)
- Touche de sélection des températures programmesées
- Affichage de la minuterie
- Touches de seLECTION de la minuterie + et -
- Affichage du niveau de puissance
- Voyant minuterie
- Voyant combinaison des 2 zones de cuisson
- Voyants des températures programmées : (température douce), (température moyenne) et (eau frémissante)
consignes d'usage
AVANT D'UTILISER CET APPAREIL, LISEZ ATTENTIVEMENT LA NOTICE CAR ELLE CONTIENT DES INSTRUCTIONS TRÉS IMPORTANTES SUR L'INSTALLATION DE L'APPAREIL, SON USAGE ET SON ENTRETION. CONSERVEZ CES INSTRUCTIONS POUR POUVOIR LES CONSULTER LORSQUE VOUS EN AUREZ BESOIN.

Pour éviter tout danger, l'installation, les raccordements, la mise en service et la maintenance de votre apparéil doivent être effectuels uniquement par un professionnel qualifié, conformément aux normes de sécurité et aux lois en vigueur. Ne tentez pas d'ouvrir ni de réparer l' apparéil vous-même.
Précautions avant l'utilisation en cuisson
- Retirez toutes les parties de l'emballage.
L'appareil ne doit être utilisé que s'il est monté et installé dans un meuble et un plan de travail homologué et adapté. - Son'utilisation est uniquement destinée à l'usage domestique habituel (préparation des alimentés), à l'exclusion de toute autre utilisation domestique, commerciale ou industrielle.
- Retirez toutes les étiquettes et autocollants du verre vitrocéramique.
-
Ne pas transformer ou modifier les caractéristiques de l'appareil.
-
La table de cuisson ne doit pas servir de support ou de plan de travail.
- La sécurité n'est assurée que si l'appareil est raccordé à une terre de protection conforme aux prescriptions en vigueur.
Pour le raccordement au réseau électrique, n'utilise pas de rallonge.
L'appareil ne doit pas etre utilise audessus d'un lave-vaiselle ou d'un sèche-linge: les vapeurs d'eau dégagées pourraient détériorer I'electronique.
Utilisation de l'appareil
- ÀpRESutilisation,arrêtez fonctionnement de la table de cuisson au moyen de son dispositif de commande. Ne pas compter sur la fonction de détention des casseroles.
- Surveillance constamment les cuissons qui utilisent des graisses et des huiles, car elles sont susceptibles de s'enflammer rapidement.
- Prenez garde aux risques de brûlures pendant et après l'utilisation de l'appareil.
Assurez-vous qu'aucun cable electrique d'appareil fixe ou mobile ne vienne en contact avec la vitre ou la casserole chaude. - Les objets magnétisables (cartes de crédits, disquettes informatiques, calculatrices) ne doivent pas se couver à proximité immédiate de l'appareil en fonction.
- Ne placez aucun objet métallique autre que les recipients de chauffe. En cas d'enclenchement intempéstif ou de chaleur résiduelle, celui-ci risquerait selon le matériel de chauffer, de fondre ou de commencer à brûler.
- Ne jamais couvrir l'appareil d'un chiffon
ou d'une feuille de protection. Il pourrait devenir très chaud et prendre feu.
- Cet apparéil n'est pas destiné à être utilisé par des personnes (y compris les enfants) dont les capacités physiques, sensorielles ou mentales sont réduites, ou des personnes dénuées d'expérience ou de connaissance, sauf si elles ont pu bénéficier, par l'intérimédiaire d'une personne responsable de leur sécurité, d'une surveillance ou d'instructions préalables concernant l'utilisation de l'appareil.
- Il convient de surveiller les enfants pour s'assurer qu'ils ne jouent pas avec l'appareil.
- Faites attention aux poignées des casseroles. Disposez-les de façon à prévenir les chutes eventuelles.
- Les objets métalliques tels que des couteaux, des fourchettes, des cuillères et des couvercles ne devraient pas être placés sur la surface vitrée puisqu'ils peuvent devenir chauds.
- Ne laissez pas l'appareil sans surveillance lors de la cuisson.
Précautions pour ne pas déterminer l'appareil
- Les casseroles à semelle brute (fonte non émaillée,...) ou abimées peuvent endommager la vitrocéramique.
- La présence de sable ou d'autres matériaux abrasifs peut endommager la vitrocéramique.
Assurez-vous que le écipient de cuisson soit toujours centré sur la zone de cuisson. Le fond de la casserole doit autant que possible couvrir la zone de cuisson.
- Évitez de faire chuter des objets, mêmes petits (par exemple une salle), sur la vitrocéramique car ils peuvent occasionner des fissures dans la plaque en vitrocéramique.
N'utilise pas de recipients en matière synthétique ou en aluminium : ils pourraient fondre sur des foyers encore chauds. - Ne heures pas les bords de la vente avec les casseroles.
Assurez-vous que la ventilation de l'appareil se fasse suivant les instructions du constructeur. - Ne posez pas ou ne laïsez pas de casseroles vides sur la table de cuisson.
- Évitez que le sucre, les matières synthétiques ou une feuille d'aluminium ne touchent les zones chaudes. Ces
substances peuvent au refroidissement provoquer des cassures ou d'autres modifications de la surface vitrocéramique: arrêtez l'appareil et retirez-les immidiatement de la zone de cuisson encore chaude (attention : risque de brûlures).
- Ne placez jamais de réciponents chauds au-dessus du bandeau de commande.
- Si un tiroir estitué sous l'appareil encastré, respectez un écart suffisant (20 mm) entre le contenu de ce tiroir et la partie inférieure de l'appareil afin d'assurer une bonne ventilation.
- Ne déposez pas d'objets inflammables (ex. Sprays) dans le tiroir place sous la table de cuisson. Les évventuels casiers à couverts doivent être en matière résistant à la chaleur.
Précautions en cas de défaillance de l'appareil
Si vous constatez un dernier, arrêtez l'appareil et coupez l'alimentation électrique.
- En cas de félure ou de fissure de la vitrocéramique, débranchez impératifement l'appareil du réseau électrique et contactez votre service après-vente.
- ATTENTION: Si la surface vitrée est fissurée, coupe l'alimentation de l'appareil pour éviter une eventuelle décharge électrique.
Si le cable d'alimentation est endommagé, il doit être replacé par un cable ou un ensemble spécial
disponible auprès de votre revendeur ou de son service après-vente. Les caractéristiques de ce cable sont mentionnées dans le tableau en page 12.
Autres protections
Pour les utilisateurs portant un régulateur de rythme cardiaque, le champ magnétique pourrait influencer son fonctionnement.
Renseignez-vous auprès de votre revendeur ou de votre médecin.
Mise au rebut
Si I'on decide de ne plus utiliser cet apparéil, avant de l'éliminer, il est recommendé de le rendre inopérant comme prévu par les lois en vigueur en matière de santé et de protection de
l'environnement, en rendant inoffensives les parties qui pouraient constituer un danger pour les enfants (couper le cordon d'alimentation au ras de la table de cuisson).
!
N'utilise pas d'accessoires amovibles intermédiaires pour faire chauffer des casseroles non adaptées à l'induction. Risques de brûlures et de détérioration de la table.
installation

Le montage relève de la compétence exclusive de spécialistes. L'utilisateur est tenu de respecter la législation et les normes en vigueur dans son pays de résidence.
Mise en place du joint d'étanchéité
Le joint adhésif fourni avec l'appareil permet d'éviter toute infiltration dans le meuble. Sa mise en place doit être effectué avec soin selon le schéma ci-dessous.

Collez le joint (2) sur le rebord de la table à 2 mm du bord externe, après avoir oété la feuille de protection (3).
Encastrement
- La découvert dans le plan de travail sera de (L × P) : 890 × 390 ~mm (voir figure A).
- Épaissur de la table de cuisson : caisson 48 mm + verre 4 mm.


- La distance entre la table de cuisson et le mur à l'arrière doit être au minimum de 50 mm (voir figure B).
-
Si la table de cuisson doit être installée à côté d'un meuble de cuisine, veillez à laisser un espace d'au moins 100mm entre le rebord de la table de cuisson et le côté du meuble (figure A).
-
La table de cuisson est un apparéil qui appartient à la classe de protection Y. Lors de son encastrement, une paroi d'armoire haute ou un mur peut se couver sur l'un des côtés et sur la face arrête. Mais de l'autre côté, aucun meuble ni notamment apparéil ne doit être plus haut que le plan de cuisson.
- Les placages et revêtements du plan de travail doivent être réalisés en matière résistant à la chaleur (100^) .
- Les baguettes de bord murales doivent être thermo résistantes.
- Les matériaux des plans de travail peuvent gonfler au contact de l'humidité. Pour protéger le chant de la découvert, appliquez un vernis ou une colle spéciale.
N'installez pas la table au-dessus d'un four non ventilé ou d'un lave-vaissette. - Veillez à laisser un espace minimum de 20 mm sous le fond du caisson de l'appareil pour assurer une bonne circulation de l'air de refroidissement de l'électronique (voir figure B).

- Si un tiroir se trouve sous le plan de cuisson, évitez d'y ranger des objets inflammables et des objets non résistants à la chaleur.
- L'écart de sécurité entre la table de cuisson et la hotte aspirante placeau-dessus doit respecter les indications du fabricant de la hotte. En cas d'absence d'instructions, respectez une distance minimum de 760~mm (voir figure C).
- Le cable de raccordement ne doit être soumis, après encastrement, à aucune contrainte mécanique (un tiroir par exemple).
branchement électrique
Precautions

Le branchement de l'appareil au réseau électrique doit être réalisé par une personne spécialisée, connaissant les normes de sécurité et la législation en vigueur.

En sortie d'usine, votre table de cuisson est configurée pour fonctionner en monophasé 230V et biphasé 400V . Cependant, le cable livre avec la table permet uniquement un raccordement en monophasé 230V . Pour un branchement en 400V , reportez-vous au paragraph "Branchement spécifique" page 14.
- Avant d'effectuer une opération quelconque concernant la partie électrique de l'appareil, il faut absolument le déconnecter du réseau électrique.
- Les données techniques et les conditions de branchement électrique sont indiquées sur la plaque signalétique de l'appareil.
Assurez-vous que la tension indiquée sur la plaque signalétique correspond à la tension d'alimentation de votre habitation. - La mise à la terre de l'appareil est obligatoire : utilisez uniquement un cable électrique de section appropriée, équipée d'un fil de terre jaune/vert.
- Cet apparéil doit être branché au réseau électrique par l'intermédiaire d'un interrupteur omnipolaire (par exemple les disjoncteurs, les fusibles, les disjoncteurs différents et les contacteurs) avec un écartement minimal de 3 mm entre les contacts.
- N'utilisez pas de rallonges, multiprises secteur ni d'adaptateurs car cela pourrait donner lieu à une surchauffe des branchements électriques.
Branchement de la table
Pour les différents branchements, utilisez les pontets en laiton qui se trouvent dans le boîtier de raccordementitué sous la plaque de cuisson. Pour ouvrir le capot, servez-vous d'un tournevis moyen. Placez-le dans les 2 fentes situées à l'avant des 2 flèches.
- Dénudez environ 70 mm de gaine du cordon d'alimentation.

Le fil de terre jaune/vert doit toujours être branché à la borne portant le symbole 1等 et doit être plus long que les autres fils.

- Dénudez les fils électriques sur une longueur de 10 mm. Introduisez ensuite le cordon d'alimentation dans le collier de serrage et connectez les fils au bornier en respectant les schémas de raccordement ci-dessous.
Il est recommandé d'utiliser cet apparéil en monophasé 230 V~ 50 Hz en respectant le schéma de câblage et en se référant aux caractéristiques du cable indiquées cïddssous :

Monophasé 230V~ 1P+N :
Mettre un pontet entre les plots 1 et 2 puis entre 4 et 5. Visser le fil jaune/vert au plot "terre", le neutre N au plot 4 ou 5, la phase L sur le plot 1 ou 2.
| Réseau | Raccordement | Section du cable | Type de cable |
| 230 V~ 50 Hz | 1 phase + neutre | 3 x 2.5 mm² | H 05 RR - F ou H 05 VV - F |
- Fixez le cordon d'alimentation sur le bornier à l'aide du collier de serrage.
- Refermez le couvercle du bornier.

Raccordez toujours le fil de terre de protection.
Respectez les schémas de raccordement indiqué au dos de l'appareil.
Veillez à bien engager les fils dans les plots et à bien serrer les vis.
Branchement spécifique
Si toutes sont une installation ne permet pas un branchement en 230 V, veuilles reprendre les informations du paragraphe précédent "Branchement de la table" avec le schéma de câblage en 400 V et les caractéristiques du cable ci-dessous :

Biphasé 400V~ 2P+N :
Mettre un pontet entre 4 et 5.
Visser le fil jaune/vert au plot "terre", le neutre N au plot 4 ou 5, la phase L1 sur le plot 1 et la phase L2 sur le plot 2.
| Réseau | Raccordement | Section du cable | Type de cable |
| 400 V~ 50 Hz | 2 phases + neutre | 4 x 1.5 mm² | H 05 RR - F ou H 05 VV - F |
informations sur votre table de cuisson
Principe de l'induction
Une bobine d'induction se trouve sous chaque foyer de cuisson. Lorsque celle-ci est enclenchée, elle produit un champ électromagnétique variable qui, à son tour produit des courants induits dans le fond ferromagnétique du récipient. Il en résultat un échauffement du récipient placé sur la zone de chauffe.
Bien entendu, le écipient doit être adapté :
- Sont recommendés tous les recipients métalliques ferromagnétiques (à vérifier éventuellesment avec un petit aimant : si celui-ci reste accroché, cela peut dire que vos recipients sont compatibles) tels que : cocotte en fonte, poèle en fer noir, casseroles métalliques émailées, en inox à semelle ferromagnétique...
- Sont exclus les recipients en cuivre, inox, aluminium, verre, bois, céramique, grès, terre cuite, inox non ferromagnétique...
La zone de cuisson à induction prend automatiquement en compte la taille du récipient utilisé. Si le récipient a un diamètre trop petit, la zone de chauffe ne s'activera pas. Choisissez la zone de cuisson la mieux adaptée au diamètre du récipient utilisé.
Lorsque le écipient n'est pas adapté à la zone de cuisson, le symbole U s'affiche.
Détction / transfert de récipient
Votre table de cuisson détecte automatiquement la position du récipient lorsque vous allumez la table et posez un récipient dessus. Le symbole s'affiche au-dessus du curseur sensitif à utiliser. Il ne vous reste plus qu'à Sélectionner le niveau de cuisson désiré. Il en est de même si vous déplacez votre récipient sur un autre foyer : le curseur correspondant est détecté automatiquement.
La table induction ne fonctionne pas :
- Lorsqu'il n'y a pas de récipient sur la zone de cuisson ou lorsque le récipient est inadapté. Vous ne pourrez alors pas augmenter la puissance. Le symbole apparait sur l'afficheur. Il disparait lorsque vous posez un récipient adapté à l'induction sur le foyer de cuisson.
- Le fonctionnement est également interrompu lorsque vous retirez le écipient en cours de cuisson. Le symbole U apparait. Il disparait lorsque le écipient est remis sur le foyer de cuisson. La cuisson reprend au niveau de puissance sélectionné au préalable.
Ventilation
Le ventilateur de refroidissement a un fonctionnement entiement automatique. Il se met en route à petite vitesse dés que la chaleur dégagée par l'électronique dépasse un certain seuil. La ventilation enclença sa seconde vitesse lorsque la table de cuisson est utilisée intensivement. Le ventilateur réduit sa vitesse et s'arrête automatiquement dés que le circuit électronique est suffisamment refroidi.
Indicateur de chaleur résiduelle (Affichage H)
Après l'arrêt des zones de cuisson ou l'arrêt complet de la table, les zones de cuisson sont encore chaudes : elles sont signalées par le symbole H.

Tant que les témoins de chaleur résiduelle sont allumés, ne touche pas les zones de cuisson et ne posez aucun objet sensible à la chaleur. Risque de brûture et d'incendie!
Le symbole H s'eteint lorsque les zones de ciisson peuvent etre touchees sans danger.
utilisation de base
Avant la première utilisation
Nettoyez votre table de cuisson avec un chiffon humide, puis séchez-la. N'utilise pas de détergent qui risquerait de provoquer une coloration bleutée sur les surfaces vitrées.
Touches sensitives
Votre apparéil est équipé de touches sensitives permettant de commander les différentes fonctions. Un effleurage de la touche active son fonctionnement. Cette activation est validée par unvoyant, un affichage et/ou un signal sonore.

N'appuyez que sur une seule touche à la fois.
Zone de sélection de la puissance (curseur sensitif)
Pour sélectionner une puissance, faites glisser votre doigt sur la ligne entre les marquages et P sur le curseur sensitif ou accedez directement à la puissance souhaitée en posant votre doigt sur le niveau souhaité.

Mise en route
ALLUMER / ÉTEINDRE LA TABLE DE CUISSON
| Action | Bandeau de commande | Afficheur |
| Allumer la table | Appuyez sur 0/1 | 0 |
| Éteindre la table | Appuyez sur 0/1 | Aucun affichage ou H |
RéGLAGE DE LA PUISSANCE
| Action | Bandeau de commande | Afficheur |
| Régler la puissance | Glissez sur le curseur sensitif vers la droite ou la gauche ou posez votre doigt sur le niveau souhaité. | À P |
| Arrêter la cuisson | Glissez jusqu'à sur le curseur ou appuyez sur O. | O ou H |
Si aucune puissance n'est selectionnée, la table s'eteint automatiquement après 20 secondes.
AFFICHAGE
| Affichage | Désignation | Fonction |
| O | Zéro | La zone de chauffe est active. |
| I à 9 | Niveau de puissance | Choix du niveau de cuisson. |
| R | Accélérateur de chauffe | Automatisme de cuisson. |
| E | Message d'erreur | Défaut du circuit électronique. |
| H | Chaleur résiduelle | La zone de cuisson est encore chaude. |
| P | Booster | La puissance maximale est activée. |
| II II P | Double Booster | La puissance maximale plus est activée. |
| U | Non détention de casserole | Récipient manquant ou inapproprié. |
| U | Températures programmesées | La cuisson est maintainue à 42°, 70° ou 94°C. |
| II II | Pause | La table est en pause. |
| O | Zone modulable | La zone modulable est activée. |
utilisation avancée
Fonctions booster et double booster
Les fonctions booster (puissance maximale) P et double booster (puissance maximale plus) II P octroient un renforcement de puissance à la zone de cuisson sélectionnée.
Si ces fonctions sont activées, les zones de cuisson fonctionnent pendant 10 minutes avec une puissance nettement plus élevé.
Le booster et le double booster sont conçus pour faire chauffer rapidement de grandes quantités d'eau, comme par exemple pour la cuisson des pâtes.
ACTIVER / DÉSACTIVER LE BOOSTER
| Action | Bandeau de commande | Afficheur |
| Activer le booster | Glissez jusqu'àau P sur le curseur ou appuyez sur P. | P |
| Désactiver le booster | Glissez sur le curseur. | à 9 |
ACTIVER / DÉSACTIVER LE DOUBLE BOOSTER
| Action | Bandeau de commande | Afficheur |
| Activer le booster | Glissez jusqu'àu P sur le curseur ou appuyez sur P. | P |
| Activer le double booster | Appuyez une seconde fois sur P. | ,, , P clignotent successivement |
| Déactiver le double booster | Glissez sur le curseur. | O à P |
| Déactiver le booster | Glissez sur le curseur. | O à G |
GESTION DE LA PUISSANCE MAXIMALE
Votre table de cuisson atteint une puissance maximale de 7400 W. Lorsque les fonctions booster et double booster sont activées, et pour ne pas excédé la puissance maximale, la commande électronique réduit automatiquement le niveau de cuisson d'une autre zone de chauffe.
Durant quelques secondes, l'afficheur indique en clignotant puis, affiche le niveau de cuisson maximum possible :
| Zone de cuisson sélectionnée | Autre zone de cuisson Exemple pour une puissance de niveau 9 |
| P ou , , P est affché. | Le niveau 9 passes à 6 ou 8 suivant le type de foyer. |
Fonction minuterie
La minuterie peut être affectée simultanément à tous les foyers de cuisson avec des réglages de temps différents (de 0 à 999 minutes) pour chacune des zones.
RÉGLAGE OU MODIFICATION DE LA DURÉE DE CUISSON
Exemple pour 16 minutes à la puissance 7 :
| Action | Bandeau de commande | Afficheur |
| Sélectionner la puissance | Glissez sur le curseur jusqu'à 7. | 7 |
| Sélectionner la minuterie | Restez appuyé simultanément sur les touches - et + de la minuterie jusqu'à ce que levoyant de la minuterie s'affiche. | Voyant minuterie de la zone de cuisson allumé. min s'allume avec 000. |
| Diminuer la durée | Appuyez sur le - de la minuterie | 60 passes à 59, 58, ... jusqu'à 16. |
| Augmenter la durée | Appuyez sur le + de la minuterie | 1, 2, 3, etc. |
La durée est selectionnée et le décompte démarre.
6
- Si vous restez appuyé sur la touche - ou +, les chiffres défilent minute par minute pour les 10 premières minutes puis, par tranches de 5 minutes.
Pour la dernière minute, ce sont les secondes qui s'affichent et défilent. - La fin du décompte est signalée par un signal sonore et le clignotement de la minuterie 000. Appuyez sur la touche 0/1 pour arrêter le signal sonore.
Pour passer d'une minuterie à une autre, appuyez simultanément sur les touches - et +. Réglez la minuterie à l'aide des touches - et + pour la zone qui affiche le voyant
ARRÊTER LA FONCTION MINUTERIE LORS DE LA CUISSON
| Action | Bandeau de commande | Afficheur |
| Sélectionner la minuterie | Restez appuyé simultanément sur les touches - et + de la minuterie. Un signal sonore retentit. | Le temps restant est affché. |
| Arrêt de la minuterie | Restez appuyé sur la touche - de la minuterie jusqu'à l'affichage 000. | 000 |
Lorsque plusieurs minuteries sont activées, il suffit de répéter l'opération.
ARRET AUTOMATIQUE EN FIN DE CUISSON
Dès que le temps de cuisson est écoulé, la minuterie affiche en clignotant UU et un signal sonore retentit. Pour arrêtier le signal sonore et le clignotement, appuyez sur la touche - ou + de la minuterie.
MINUTERIE UTILISÉE SEULE (HORS CUISSON)
La minuterie fonctionne indépendamment des foyers et se désactiveès la mise en route d'une zone de chauffe. Si elle est activée et que la table de cuisson est arrêtée, la minuterie continue jusqu'à ce que le temps restant soit écoulé.
| Action | Bandeau de commande | Afficheur |
| Allumer la table | Appuyez sur 0/1 | |
| Sélectionner la minuterie | Appuyez simultanément sur les touches - et + de la minuterie. Un signal sonore retentit. | 000 |
| Diminuer la durée | Appuyez sur le - de la minuterie. | 60 passes à 59, 58, etc. |
| Augmenter la durée | Appuyez sur le - de la minuterie. | 1, 2, 3, etc. |
Après quelques secondes, la table s'éteint. Seule la minuterie reste affichée. Le décompte est démarcheé.
Si vous devez modifier la minuteurie hors cuisson, vous devez rallumer la table.
Fonction « Accélérateur de chauffe » (automatisme de cuisson)
Toutes les zones de cuisson sont équipées d'un dispositif de cuisson automatique. La zone de cuisson se met en marche à pleine puissance pendant un certain temps puis réduit automatiquement sa puissance sur le niveau préselectionné. La fonction Booster n'est pas compatible avec cette fonction.
ACTIVER L'AUTOMATISME
| Action | Bandeau de commande | Afficheur |
| Activer l'automatism (par exemple à la puissance 7) | Glissez sur le curseur jusqu'à 7 et restez appuyé sur 7 pendant 3 secondes. | 7 clignote avec R. |
ARRÉTER L'AUTOMATISME
| Action | Bandeau de commande | Afficheur |
| Sélectionner la puissance | Glissez sur le curseur. | 0 à 9 |
Fonction Pause (Affichage II)
Cette fonction permet d'interrompree et de reprendre la cuisson avec les mêmes réglages de puissances.
Lorsque que vous mettez une zone de cuisson en pause, c'est toute la table de cuisson qui est en pause.
| Action | Bandeau de commande | Afficheur |
| Mettre en pause la cuisson | Appuyez sur II . | II sur tous les afficheurs. Le voyant pause III est allumé. |
| Arrêtier la pause | Appuyez sur II . | Animation du curseur. |
| Appuyez sur le curseur animé. | Les réglages précédents s'affichent. |
Rappel de votre dernière sélection de cisson
Votre table de cuisson dispose d'une fonction « Rappel » (mémorisation du dernier réglage). Cette fonction s'utilise par exemple si vous avez arrêté la table par inadvertance.
Après avoir étéint la table, vous avez la possibilité de rappeler les derniers réglages sélectionnés tels que :
La derniere puissance selectionnée pour chaque zone de ciisson,
Le dernier temps de cuisson selectionné pour les 3 minutes,
- La fonction "accelerateur de chauffe" (automatisme de ciisson),
La fonction « Maintien au chaud »
La procédure de rappel est la suivante :
Appuyez sur 0/1 pour allumer la table.
- Appuyez sur II avant la fin du clignotement du voyant (environ 10 secondes).
- Les réglages précédents sont à nouveau actifs.
Vouse pouvez selectionner 3 temperatures programmes : 42^ (température douce), 70^ (température moyenne) ou 94^ (eau frémissante). La durée maximale des températures programmes est de 2 heures.
Cette fonction permet d'éviter aux liquides de déborder et aux mets d'attacher au fond de la casserole.
| Action | Bandeau de commande | Afficheur |
| Activer la température douce à 42°C | Appuyez 1 fois sur la touche ↓. | U et voyant ↓ |
| Activer la température moyenne à 70°C | Appuyez 2 fois sur la touche ↓. | U et voyant ↓ |
| Activer l'eau frémissante à 94°C | Appuyez 3 fois sur la touche ↓. | U et voyant ↓ |
| Arrêté la température programmée | Glissez sur le curseur. | O à 9 |
| Ou appuyez sur ↓ jusqu'à 0. | O |
Combaison de 2 zones de cuisson
Vous pouvez combiner les 2 zones de cuisson de gauche ou les 2 zones de droite avec les mêmes fonctionnalités qu'une seule zone. La fonction Booster n'est pas compatible avec cette fonction.
| Action | Bandeau de commande | Afficheur |
| Allumer la table | Appuyez sur 0/1. | |
| Combiner les 2 zones de cuisson | Appuyez simultanément sur des 2 curseurs sensitifs de gauche ou de droit. | 0 et ∩ pour les 2 afficheurs. |
| Sélectionner la puissance | Gillessez sur le curseur qui affiche la puissance. | I à 9 |
| Arrêter la combinaison des 2 zones de cuisson | Appuyez simultanément sur des 2 curseurs sensitifs de gauche ou de droit. | 0 Les 2 voyants ∩ s'éteignent. |
Verrouillage du bandeau de commande (Sécurité infant)
Pour éviter de modifier une sélection, notamment lors du nettoyage de la surface vitrocéramique, le bandeau de commande (à l'exception de la touche marche/arrêt) peut être verrouillé.
| Action | Bandeau de commande | Afficheur |
| Verrouiller la table | Restez appuyé sur la touchependant 6 secondes. | Voyant verrouillage—allumé |
| Déverrouiller la table | Restez appuyé sur la touchependant 6 secondes. | Voyant verrouillage étéint |
Qualité des casseroles et écipients
| Matériaux adaptations | Matériaux non adaptations |
| acier, acier émailé, fonte, inox à fond ferromagnétique, aluminium à fond ferromagnétique. | aluminium et inox à fond non ferromagnétique, cuivre, laiton, verre, céramique, porcelain. |




Les fabricants spécifient si leurs produits sont compatibles avec l'induction.
Pour vérifier si des cassetoles sont compatibles : Versez un peu d'eau dans une casserole. Allumez la table de cuisson (touche 0/1). Placez la casserole sur l'un des foyers et selectionnez la puissance 9. L'eau doit chauffer en quelques secondes.
Placez un aimant sur le fond externe de la casserole, il doit rester collé.

Certaines casseroles peuvent faire du bruit lorsqu'elles sont placées sur une zone de cuisson à induction. Ces bruits ne traduisent enaucun cas un défaut de l'appareil et n'influent nullement sur son fonctionnement.
- Le fond des casseroles doit être le plus plat possible (pas de fond convexe ni concave) et ne pasprésenter d'asperités.
- Les zones de cuisson s'adaptent automatiquement à la dimension du fond de la casserole jusqu'à une certaine limite. Le diamètre minimum déetecté pour chaque foyer est de 100mm . Afin d'obtenir un rendissement maximum, placez la casserole au centre de la zone de cuisson.
Tableau indicatif des puissances de cuisson
| I à 2 | Faire fondre, Réchauffer | Sauces, beurre, chocolat, gélatine Plats pré-cuisinés |
| 2 à 3 | Gonfler Décongélation | Riz, pudding et plats cuisinés Légumes, poissons, produits congelés |
| 3 à 4 | Vapeur | Légumes, poissons, viande |
| 4 à 5 | Eau | Pommes de terre à l'eau, soupes, pâtes, légumes frais |
| 6 à 7 | Cuire à température douce | Viandes, foie, oeufs, saucisses Goulasch, roulades, tripes |
| 7 à 8 | Cuire, Frière | Pommes de terre, beignets, galettes |
| 9 | Frière, Cuire, Porter à ébullition | Steaks, omelettes, eau |
| Petit et trèp | Frière, Porter à ébullition | Porter à ébullition une grande quantité d'eau |
Les valeurs ci-dessus sont données à titre indicatif.
entretien et nettoyage

Laissez refroidir la table de cuisson avant de procéder à son nettoyage pour éviter les risques de brûlures.
- Nettoyez immédiatement les débordements de liquide et notamment les alimentés à haute teneur en sucre ou les éclaboussures de sucre pour éviter qu'ils ne brûlent sur la surface vitrocéramique.
- Retirez les résidus carbonisés à l'aide d'un racloir et de produits de nettoyage spécifique.
- Pour nettoyer votre table de cuisson vitrocéramique, utilisez une éponge douce et de l'eau additionnée de produit vaisselle ou un produit du commerce conseillé pour la vitrocéramique.
- Séchez l'appareil avec un chiffon doux et propre.
- Ne nettoyez jamais votre table de cuisson au moyen d'un apparéil de nettoyage à pression ou à vapeur.
- N'utilisez pas d'objets qui risqueraient de rayer la vitrocéramique (tehs qu'une éponge à récurer abrasive ou une pointe de couteau...).
- N'utilise pas de produits de nettoyage abrasifs qui pourrait endommager l'appareil.
guide de dépannage
La table de cuisson ou les zones de cuisson ne fonctionne(nt) pas :
- La table est mal connectée au réseau électrique.
Le fusible de protection a sauté. - Vérifiez si le verrouillage de sécurité infant n'est pas activé.
- Les touches sensitives sont couvertes d'eau ou de graisse.
- Un objet est posé sur les touches sensitives.
Le symbole s'affiche :
- Il n'y a pas de casserole sur la zone de cuisson.
- Le écipient utilisé n'est pas compatible avec l'induction.
Le diamètre du fond de casserole est trop petit par rapport à la zone de cuisson.
Le symbole E s'affiche:
Le système électronique est défectueux.
- Débranchez et rebranchez l'appareil.
L'une des zones ou l'ensemble du plan de cuisson s'arrête :
- Le déclenchement de sécurité a fonctionné. Celui-ci s'actionne dans le cas où vous avez oublie de couper une des zones de chauffe. Il s'enclenché également lorsqu'une ou plusieurs touches sensitives sont couvertes.
- Une des casseroles est vide et son fond a surchauffé.
- La table dispose d'un dispositif de réduction automatique du niveau de puissance et de coupure automatique en cas de surchauffe.
La soufflerie de ventilation continue de tourner après l'arrêt de la table :
- Ceci n'est pas un defaulted, le ventilateur continue de protégger l'électronique de l'appareil.
La soufflerie s'arrête automatiquement.
Le symbole est affché :
- Reportez-vous au paragraph « Fonction Pause »
Toutes les informations, dessins, croquis et images dans ce document relevant de la propriété exclusive de SOURCING & CREATION . SOURCING & CREATION se reserve tous les droits relatifs à ses marques, créations et informations. Toute copie ou reproduction, par quelques moyen que ce soit, sera jugé et considéré comme une contrefacon.
Protection de l'environnement Ce logo appose sur le produit signifie qu'il s'agit d'un apparéil dont le traitement en tant que déchet rentre dans le cadre de la directive 2002/96/CE du 27 janvier 2003, relative aux déchets d'équipements électriques et électroniques (DEEE). La présence de substances dangereuses dans les équipements électriques et électroniques peut avoir des effets potentiels sur l'environnement et la santé humaine dans le cycle de retraitement de ce produit. Ainsi, lors de la fin de vie de cet apparéil, celui-ci ne doit pas être débarrassé avec les déchets Municipaux non triés. En tant que consommateur final, votre role est primordial dans le cycle de réutilisation, de recyclage et les autres formes de valorisation de cet équipement électrique et électronique. Des systèmes de reprise et de collecte sont mis à votre disposition par les collectivités locales (déchetteries) et les distributeurs. Vous avez l'obligation d'utiliser les systèmes de collecte sélective mis à votre disposition.

Testé dans nos laboratoires
Garantie valde a partir de la date d'achat (ticket de caisse faisant fj). Cette garantie ne couvre pas les vices ou les dommages resultant d'une mauvaise installation, d'une utilisation incorrecte, ou de l'usure normale du produit.

Notice Facile