FR22-30 - Régulateur de ventilation APPLIED ENERGY - Notice d'utilisation et mode d'emploi gratuit
Retrouvez gratuitement la notice de l'appareil FR22-30 APPLIED ENERGY au format PDF.
| Type d'appareil | Contrôleur de ventilateur |
| Fonction principale | Contrôle de la vitesse du ventilateur |
| Alimentation | Non précisé |
| Nombre de vitesses | Plusieurs vitesses réglables |
| Indicateurs | LED de fonctionnement |
| Montage | Murale ou encastrée |
| Compatibilité | Ventilateurs standards |
| Dimensions | Non précisé |
| Poids | Non précisé |
| Matériau | Plastique |
| Protection | Non précisé |
| Utilisation | Intérieur |
| Normes | Non précisé |
| Garantie | Non précisé |
| Marque | Non précisé |
FOIRE AUX QUESTIONS - FR22-30 APPLIED ENERGY
Questions des utilisateurs sur FR22-30 APPLIED ENERGY
0 question sur cet appareil. Repondez a celles que vous connaissez ou posez la votre.
Poser une nouvelle question sur cet appareil
Téléchargez la notice de votre Régulateur de ventilation au format PDF gratuitement ! Retrouvez votre notice FR22-30 - APPLIED ENERGY et reprennez votre appareil électronique en main. Sur cette page sont publiés tous les documents nécessaires à l'utilisation de votre appareil FR22-30 de la marque APPLIED ENERGY.
MODE D'EMPLOI FR22-30 APPLIED ENERGY
Algemene informatique
Beschrijving
Montage van de wanddoos

Montage des Wandkastens

Ces instructions concernment uniquement l'installation et l'utilisation du contrôleur de ventilateur FR22/30. Pour les instructions sur l'installation et l'utilisation du ventilateur, referez-vous aux documents
Informations Générales
Description
Cet apparéil est concu pour contrôle le fonctionnement des ventilateurs Xpelair des gammes GX9, GX12, WX9, WX12, RX9 et RX12 (montage mural et sur fenètres). Le contrôle peut être soit monté en saillie, soit encastré dans sa propre boîte. Vous ne deveze pas relier plus d'un ventilateur à chaque contrôleur
Installation du contrôleur
Tes instructions d'installation concernnent l'installation du contrôleur lorsqu'il est utilisé avec des ventilateurs fournis par Xpelair.

Le contrôleur doit être relié à un cablage fixe. Assurez-vous que l'algorithmation secteur correspond aux caractéristiques indiquées sur le boîtier du contrôleur. Cet apparéil doit être mis à la terre.
Toutes les installations doivent être supervisées par un électricien qualifié. L'installation(ion et le câblage doivent être conformés aux règlements actuels IEE (R-U), ou aux règlements locaux appropriés (autres pays).
Si vous avez des questions avant, pendant et après l'installation du contrôleur, n'hésitez pas à contacter le numero Britannique d'urgence de Xpelair (numéro sur la的最后一 page). Pour les clients hors du Royaume-Uni, contactez votre distributeur Xpelair local.
Ce dont I'installateur a besoin
Un interrupteur bipolaire de coupure avec intervalle de coupure minimal de 3mm (Montage mural ou au plafond).
Un cable à 5 conducteurs de caractéristiques adéquates pour relier le contrôleur au ventilateur. Si le ventilateur est monté sur une fenêtre, utilisez un cable souple. (Disponible chez Xpelair).
Un cable à 3 conducteurs de caractéristiques adéquates pour relier le contrôleur à l'alimentation secteur.

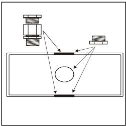
Si vous utilisez un cable flexible, des presse-toupe adequats équipés de colliers de serrage doivent être montés sur les pastilles préformées de la boite du contrôleur. (Voir Fig. 1).
Emplacement du contrôleur
Pas où les températures ambantes peuvent dépasser 50^ .
S'il est installe dans une cuisine, le contrôle ne doit pas etre monte directement au dessus d'une hotte de cuisiniere ou d'un grill a hauteur d'oeil.
S'il est destiné à être utilisé dans des atmosphères chimiques pouvant être corrosives, demandez conseil à notre Service Technique. (En dehors du Royaume-Uni, contactez votre distributeur Xpelair local).
S'il est installé dans une salle de douche ou une salle de bain, le contrôleur et lecommutateur d'isolement doivent être place de manière qu'ils ne puisent etre touchés par les personnes utilisant le bain ou la douche.
Utilisation du ventilat
Identification du type de ventilateur
Pour les besoins de ces instructions, les versions actuelles et precedentes des ventilateurs sont identifiées en Type A & Type B, comme suit:

Type A1

Type A2

Type B1

Type B2
Preparation du ventilateur

Dans le cas de cablage à une installation existante, isolez l'alimentation secteur et retirez les fusibles concernés avant toute procédure électrique
Dans le cas de cablage à des ventilateurs de Type A Il y a un cavalier entre les bornes 2 et 3 dans la prise du ventilateur, et ce cavalier doit être retire avant de relier le contrôleur. Si vous ne le retirez pas, le contrôleur sera définitivement endommagé.
Dans le cas de cablage à des ventilateurs de Type B Il n'y a pas de cavalier à retarder.
Si le ventilateur est déjà installé
1 Assurez-vous que l'alimentation secteur est coupée.
2 Débranchez les connexions du secteur de la prise à bornes du ventilateur ou du bornier.
3 Retirez les fils existants et mettez en sécurité.
Si le ventilateur n'est pas encore installé
1 Vérifiez que les caractéristiques électriques du ventilateur correspondant à l'alimentation électrique.
Câblage des connexions électriques du ventilateur
1 Faites passer le cable à 5 conducteurs du ventilateur au contrôleur
2 Reliez une extrémité du cable aux connexions du ventilateur comme indiqué ci-après :
| TYPE | SCHEMA |
| Type A1 | F1 |
| Type A2 | F2 |
| Type B | F3 |
| Tableau 1. | |
3 Laissez l'autre extrémité préte à être reliée au contrôleur
Retrait du couvercle et du cadre de montage
1 Enlever l'avant du cadre de montage en retardant les couvercles de vis et les deux vis. (Voir la Fig. 2a&b).
2 Enlever le cadre de montage du boitier mural en retardant les deux vis. (Voir la Fig. 2c).
3. Retirez le boitier de la cordure en plastique.
4 Vérifiez que la puissance électrique indiquée à l'intérieur du contrôleur correspond à celle de l'alimentation principale.
5 Debranchez du boitier mural le fil de mise à la terre.
6 Faites des trouss d'entree pour le cable dans les boitiers en plastique et metalliques en retirant les pastilles preformees appropriees. (Voir la Fig. 1).
Montage du boîtier mural

Des lunettes de protection doivent être portées pendant tout perçage ou burialge. Vérifiez qu'il n'y a aucune tuyauterie ou cable enfoui dans le mur ou d'obstructions à l'extérieur, par ex. électricité, gaz, eau.
Pour le montage en saillie
1 Insérer des manchons appropriés dans les pastilles préformées
2 Faites passer les deux câbles dans les manchons
3 Fixez le boitier mural et la cordure en plastique au mur, à l'aide des trous d'assemblage prévus
4 Reliez a nouveau le fil de terre au boitier mural Pour le montage encastre
1 Faites un trou dans le mur siffisamment grand pour langer le boitier mural. Jetez la cordure en plastique
2 Insérez des manchons appropriés dans les pastilles préformées
3 Faites passer les deux câbles dans ces manchons
4 Fixez le boitier au mur. Assurez-vous que la bride du cadre de montage afflore la surface finie du mur. (Voir le schema F6).
5 Rebrancher le fil de terre sur le boîtier encastré.

Fig.1:
Positions des presse-étoupe

Fig. 2a:
Retrait des couvercles de vis
Utilisation de votre contrôleur
Fonctionnement du contrôleur
Le contrôle comporte les caractéristiques suivantes : (Voir les schémas F1-F4).
1 Commutateur Marche/Arrêt 8 Cadre de montage
2 Commutateur aspiration/ 9 Boftier mural
9 Boitier mural
extraction 10Bordure plastique
3 Vitesse rapide/ente 11 Bornier du contrôleur
4Voyant lumineux
5 Fentes de ventilation
6 Couvercle de vis
7 Face
11 Bornier du contrôleur
12 Bornier du ventilateur
13Interrupteur bipolaire de coupure
14 Fusions
10Bordure plastique
Câblage des connexions électriques du contrôleur
1 Montez le commutateur d'iso1olation conformement aux instructions des fabricants.
2 Câblez le contrôleur au commutateur d'iso1ation et au ventilateur comme illustré sur le schéma approprié. (Voir le tableau 1).
3 Remontez le cadre de montage dans le boitier mural
4 Remontez I la face sur le cadre de montage
5 Remontez les couvre-vis
Connectez au secteur
1 Assurez-vous que l'alimentation secteur est coupée et que les fusibles sont retirees
2 Faites passer le cable entre le commutateur d'isoation et le point de connexion à l'alimentation secteur
3 Faites toutes les connexions dans le commutateur d'iso1ation conformement aux instructions des fabricants.
4 En respectant tous les règlements locaux, branche à l'alimentation secteur.
5 Faites une dernière vérification pour assurer que tous les points de mise à la terre sont connectés et que tous les couvercs ont été correctement remis sur le ventilateur, le contrôleur et le commutateur d'isolement.
6 Remettez tous les fusibles, et mettez sous tension secteur.
Pour des circuits avec raccordement fixe, le fusible de protection de l'appareil ne doit pas dépasser 5 A.
Pour l'Australie uniquement :
Ces modèles sont reliés de manière permanente à l'alimentation et le fonctionnement est commandé par un interrupteur à distance. Ces modèles doivent être cabledes directement au secteur à l'aide d'un commutateur mural de 10 A approvéd, avec un écartement des contacts d'au moins 3 mm

Fig.2b:
Retrait de la face

Fig. 2c:
Retrait du cadre de montage
Entretien du contrôleur
Nettoyage
1 Avant de nettoyer, isolez complètement le contrôle de l'alimentation électriche
2 Essuyez le couvercle soigneusement avec un chiffon humide
3 Sechez complètement
4 Assurez-vous toujours que les fentes de ventilation ne sont pas bouchées.
N'immergez jamais le contrôleur dans de I'eau ou un autre liquide
N'utilise jamais de solvants forts pour nettoyer le contrôleur
A part le nettoyage, aucun autre entretien n'est nécessaire.

Pnoetoumaia Tou Eaepiotnpa

Av n kalwiow yivetai oE unapxouoa
eykataoan, anovwote Tnv kevtipkn npoxyn
kai apapeote tic avitioxc aopaliesc pivn
anto kbe nlambdaeptikn diadkaia.
Tonothe ton tou kiBwtiou toixou

Kara Tiaekai oAovTwv Epyawpupnaviatoq kaiuuejatoc npetie va opodte npoataia pntwv.

Beiaaiweite oEv utapovou Tov ToXo KaIaupevo OIyNVEKAIaoiDg EtnoioStO EeEETpKO X. yAekTpiOIOYkAcV, vepo.
Av tonotheiata nvy enipavvia
EIOAAYETe KATAALNlOuS OUVDEIKOUc DAKTUIAOc OTIC TpUNTc.
2 TpOoToTjoe kaTa duo KaLwia Jea aTOUc auDeTuOuO bAakuaIOU.
3 TOToBTeTne To KIbWTo IOYxou KAI TO NIAaTko NIAiaOa OTov ToXIO, XpNsiuOnIoWvTAC Tc UNTApXouOEc, TpuTEc, TOToBTeTnOnc.
4 ENaovou6eTo Kaawo yewoT OTo KIwio Toixou. Av TOnoTheTeiTei ooo
1 AvoIETe mua TpuIa OTov ToxO apKetai meyAyn ia va Xupoei To KBIwTIO ToXou. ApaipoeTe to nlaotko nlaioio.
2 Eiayetekataaannouc ouvodetukouc daktuioouc otu TpuNTc.
3 Tpoosotjote kal ta duo kalwaiae oao toou auvsetukoc aakutiouc.
4 ToioBTeTnOteTo KIbWtIO Toixou OToV ToxO. BεβaIωθeite

Notice Facile