OLD MONITOR 1300-1400 - Moniteur DELTA - Notice d'utilisation et mode d'emploi gratuit
Retrouvez gratuitement la notice de l'appareil OLD MONITOR 1300-1400 DELTA au format PDF.
| Type d'appareil | Mitigeur de baignoire/douche |
| Installation | Murale |
| Matériau | Non précisé |
| Finition | Non précisé |
| Type de commande | Levier unique |
| Contrôle de la température | Oui |
| Limiteur de température | Oui |
| Pression d'eau recommandée | Standard |
| Type de raccordement | Non précisé |
| Débit maximal | Non précisé |
| Normes de sécurité | Conforme aux normes de sécurité |
| Garantie | Non précisé |
| Accessoires inclus | Non précisé |
| Poids | Non précisé |
| Dimensions | Non précisé |
FOIRE AUX QUESTIONS - OLD MONITOR 1300-1400 DELTA
Questions des utilisateurs sur OLD MONITOR 1300-1400 DELTA
0 question sur cet appareil. Repondez a celles que vous connaissez ou posez la votre.
Poser une nouvelle question sur cet appareil
Téléchargez la notice de votre Moniteur au format PDF gratuitement ! Retrouvez votre notice OLD MONITOR 1300-1400 - DELTA et reprennez votre appareil électronique en main. Sur cette page sont publiés tous les documents nécessaires à l'utilisation de votre appareil OLD MONITOR 1300-1400 de la marque DELTA.
MODE D'EMPLOI OLD MONITOR 1300-1400 DELTA
Pour réduire le risque d'ébouillantage, veuillez appposer les étiquettes fournies aux endroits indiqués sur celles-ci.
AVIS À L'INSTALLATEUR: Fixez cette étiquette sur le chauffe-eau près du bouton de réglage de température.
ATTENTION :
La soupape de robinet de baignoire ou de douche de cette série ne se règle pas automatique en fonction des changements de température de l'eau chaude au chauffe-eau ou de l'eau d'alimentation. En cas de modification du réglage de temperature du chauffe-eau ou de la temperature de l'eau d'alimentation, le réglage de cette soupape doit être modifié manuellement! Si le réglage de la soupape n'est pas modifié, le robinet pourrait permettre l'écoulement d'eau très chaude susceptible de causeur l'ébouillantage ou d'eau très froide, sous l'effet des variations de pression et de temperature dans la tuyautorie d'alimentation (lorsque la douche est utilisée en même temps que le lave-vaiselle ou la machine à laver, par exemple). Àpres l'installation, assurez-vous que la butée de temperature maximale (series 13/14/17) ou le bouton de temperature (séries 17T) sur la soupape est réglé de manière que les fluctuations de pression et de temperature dans la tuyautorie d'alimentation n'entrainant pas de changements de temperature de l'eau incomfortables. En cas de modification du réglage de temperature du chauffe-eau ou de la temperature de l'eau d'alimentation après l'installation de la soupape, le réglage de la butée de temperature maximale ou du bouton de temperature doit être modifié! Pour régler le bouton de temperature, consultez la feuille d'instructions d'installation ou appeelze-nous au 1-800-345-DELTA.
Bouton de Température
AVIS A L'INSTALLATEUR: Fixez cette étiquette prés du robinet, à la vue du propriétaire, à l'intérieur de la porte du meuble ou de la coiffeuse, par exemple.
ATTENTION :
Les modifications de la température de l'eau attribuables au changement de saisson ou à autres facteurs, comme la modification du réglage du chauve-jeau, peuvent nécessiter un réglage de la butée de température maximale (series 13/14/17) ou du bouton de température (series 17T) de la soupape de votre robinet pour baignoirne et de douche. La soupape de robinet de ces series ne se régale plus automatiquement en fonction des changements de temperature de l'eau chauce de l'eau d'alimentation. En cas de modification de la temperature de l'eau d'alimentation, si vous ne savez pas comment régré la butée de température maximale ou le bouton de température, veuillerie calculer le feuillet d'instructions fourni avec la soupape ou appeler au 1-800-345-DELTA. La soupape de cette série est conçue pour limiter la variation de la temperature de l'eau pouvant résulter des fluctuations de temperature et de pression dans la tuyauterie d'alimentation. Ces fluctuations sont habituallment causées par une utilisation simultanee du lave-vaiselle, de la machine a laver, d'un cabinet d'aisances ou d'un autre appliceil qui consomme de l'eau. La soupape peut ne pas protégier l'utiliser contrle l'ébouillantage en cas de défectosité d'un autre dispositif de régulation de la temperature de l'eau sitié ailleurs dans la tuyauterie. Àpèras avoir effectué les réglages nécessaires, veuillerie inscire l'information requise ci-dessous. Cét appraié de robinetterie à é régile par la personne dont le nom figure ci-dessous pour que la temperature maximaile de l'eau soit sans danger. Toutte modification du réglage peut occasionally une élevation de la temperature de l'eau à la sortie du robinet et l'eau qui s'éculera pourra être suffisamment chaude pour causer l'ébouillantage. Si la presente étiquette n'a pas été remplie, assurez-vous que la butée de température maximale ou le bouton de temperature a bien et régile en fonction des caractéristiques de votre installation. La marcha à suivi pour faire le réglage figure dans les instructions d'installation fournies avec la soupape.
TO BE FILLED OUT BY THE INSTALLER / PARA SER LLENADO PER EL INSTALADOR / A REMPLIR PAR L'INSTALLATEUR:
BY/POR/PAR COMPANY/COMPANIA/COMPAGNIE
DATE/FECHA/LE PHONE/TELEFONO/TELEPHONE
13, 14, 17 et 17T Séries
Articles dont vous pouvez avoir besoin:




Table des matieres
Garanties 2
Instructions d'installation - Séries 13 et 14 .........Pages 3 - 6
Instructions d'installation - Série 17 .........Pages 7-10
Instructions d'installation - Série 17T . Pages 11-14
Maintenance . 14-15
Fiche de reférence sommaire de la cartouche Page 16
Pièces de rechange. Pages 17-46
Ce robinet satisfait aux exigences des normes ASME A112.18.1/CSA B125.1 et ASSE 1016 ou les surpassée.
ATTENTION: L'installateur doit régler l'appareil pour que la température maximale de l'eau chaude soit sans danger. Toute modification des réglage peut entrainer une évolution de la température à la sorite du robinet au-delà de la température sans danger et pourrait causeur un échaudage.
AVIS A L'INSTALLATEUR : ATTENTION! - En qualite d'installateur, vous etes tenu d'INSTALLER et de REGLER ce robinet conformement aux instructions. Ce robinet ne s'adapte pas automatiquement aux fluctuations de la temperture de I'eau d'alimentation. Par consequent, il faut regler la butee limitatrice de temperature ou le bouton de temperature au moment de l'installation et it peutetre nécessaire de faire de nouveaux réglages par la suite en raison des fluctuations saisonnieres de la temperature de I'eau. VOUS DEVEZ informer le proprieteur ou l'utiliseur de cette exigence. En cas de doute quant a la marche à suivre pour faire ces réglages, veillez consulter page 5 (Series 13 et 14),page 10 (Serie 17) ou page 14 (Serie 17T) si un doute persiste, et si cette incertitude persiste, appelez-vous au 1-800-345-DELTA.
Après avoir terminé l'installation et le réglage, vous devez inscrite, sur l'étiquette de mise en garde fournie, votre nom, le nom de votre entreprise et la
date à laquelle vous avez régèle la butée limitatrice de température ou le bouton de température, puis fixer l'étiquette à l'endos de la porte de la coiffeuse.
Vouces nevez également fixer l'étiquette d'avertissement au chauffe-eau. Veuillez laisser ce feuillet d'instructions au propriétaire ou à l'utilisateur pour qu'il puisse le consulter au besoin.
MISE EN GARDE - Ce robinet thermostatique à équilibrage de pression pour baignoire est concu pour limiter les effets des fluctuations de température de l'eau causées par les variations de la pression d'alimentation attribuables au fonctionnement d'un lave-vaisse, d'une machine à laver, d'un cabinet d'aisances ou d'un autre apparéel qui consomme de l'eau. Il peut ne pas protégier l'utilisateur contre l'échaudage en cas de défectuosité d'un autre dispositif de régulation de la temperature, si le réglage de la butée limitatrice de haute temperature ou du bouton de temperature est mauvais, si la temperature de l'eau chaude a été modifiée après que les réglages ont été effectuels ou si la temperature de l'eau d'alimentation a changé en raison du changement de saison.
MISE EN GARDE - N'installez pas de dispositif d'arrêt sur une sortiequelconque de ce robinet. En interrompant I'écoulement de l'eau, ce dispositif peut empêcher le robinet d'équilibrer les pressions d'eau chaude et d'eau froide.
Garantie à vie limitee des robinets et de leurs finis
Toutes les pieces et les finis du robinet Delta sont protégés contre les défectuosités de matériel et les vices de fabrication par une garantie qui est consentie au premier acheteur et qui demeure valide tant que celui-ci demeure propriétaire de sa maison. Delta recomende de faire appel à un plombier compétent pour l'installation et la réparation du robinet.
Pendant la période de garantie, Delta renplacera GRATUITEMENT toute piece ou tout fini,PRESENTANT une defectuosity de matériel ou un vice de fabrication pour autant que I'appareil ait ete instalé,utilisé et entretenu correctement. Pour obtenir des pieces de rechange,veuillez communier par téléphone au numero 1-800-345-DELTA (aux Etats-Unis ou au Canada) et par écrit à l'une des adresses suivantes:
Aux États-Unis
DeltaFaucetCompany
Product Service
55 E. 111th Street
Indianapolis, IN 46280
Au Canada
Masco Canada
La presente garantie s'applique au remplacement de toutes les pieces defecteuses, y compris le fiin, et elle ne couve que ces éléments. LES FRAIS DE MAIN-D'OEUVRE ET (OU) LES DOMMAGES PROVOQUES AU COURS DE L'INSTALLATION, DE LA REPARATION OU DU REMPLACEMENT D'un ELEMENT AINSI QUE
LES PERTES OU DOMMAGES DE TOUTE
AUTRE NATURE NÉ SONT PAS COUVERTS
PAR LA GARANTIE. Toutre réclamation en vertu
de laprésente garantie doit être adressée à
Delta, accompagnée de la preuve d'achat
(original de la facture) du premier acheteur.
CETTE GARANTIE EST LA SEULE OFFERTE
PAR DELTA FAUCET COMPANY OU DELTA
FAUCET CANADA, SELON LE CAS, ELLE
EXCLUT TOUTE AUTRE GARANTIE, Y
COMPRIS LA GARANTIE IMPLICITE DE
QUALITE MARCHANDE.
Les robinets installés dans un établissement industriel ou commercial ou dans une place d'affaires sont protégés par une grantie étandue de cinq ans qui prend effet à compter de la date d'achat. Toutes les autres conditions de la garantie de cinq ans sont identiques à celle de la presente garantie. La présente garantie s'applique à tous les robinets Delta® fabriqués après le 1er janvier 1995.
Dans les États ou les provinces où il est interdit d'exclure ou de limiter les responsabilités à l'égard des dommages indirects ou fortuits, les exclusions et les limites susmentionnées ne s'appliquent pas. Les dommages resultant d'une mauvaise utilisation, d'une'utilisation abusive de la néligence ou de l'utilisation de pieces autres que des pieces d'origine Delta® RENDENT LA GARANTIE NULLÉ ET SANS EFFET.
La presente garantie vous donne des droits précis qui peuvent varier selon votre lieu de residence. Elle ne s'applique qu'aux robinets Delta® installés aux États-Unis, au Canada et au Mexique.
Garantie Limitée sur les Robinets Ultra-Robustes Delta de la Série HDF
Toutes les pièces des robinets ultra-robustes Delta de la série HDF sont protégées contre les défectuosités du matériel et les vices de conception par une garantie qui est consentie au premier acheteur pour une période de cinq (5) ans. Cette garantie entre en vigueur à compter de la date d'achat indiquée sur le reçu de l'acheteur.
Pendant la période de garantie, Delta
replacera, SANS FRAIS, toute pièce représentant
une défectuosité du matériel et (ou) un vice de
fabrication pour autant que l'appareil ait été
installé, utilisé et entretenu correctement. Pour
obtenir des pieces de rechange, veuillez
communiquer avec le distributeur ou le
concessionnaire de votre région dont le nom
figure dans l'annuaires téléphonique ou returner
la pièce défectueuse accompagnée du reçu de
l'acheteur à notre usine, PORT PAYÉ, à l'adresse
indiquée. LA PRESENTE GARANTIE EST
LA SEULE GARANTIE IMPLICITE OFFERTE
PAR DELA. TOUTE RECLAMATION EN VERTU DE CETTE GARANTIE DOIT ÉTRE
FAITE AU COURS DE LA PÉRIODE DE CINQ
ANS SUSMENTIONNE. TOUTE GARANTIE
IMPLICITE, Y COMPRIS LA GARANTIE
IMPlicitE DE QUALITE MARCHANDE OU D'ADEQUATION DU PRODUIT AVEC UN USAGE PARTICULARI, EST LIMITÉA À LA DUREE DE LA PRESENTE GARANTIE. LES FRAIS DE MAIN-D'OEUVRE ET (OU) LES DOMMAGES PROVOQUES AU COURS DE L'INSTALLATION, DE LA REPARATION OU DU REMPLACEMENT D'UN ÉLEMENT AINSI QUE LES PERTES OU LES DOMMAGES INDIRECTS EN RÉSULTANT NE SONT PAS COUVERTS PAR CETTE GARANTIE.
La où il est interdirit de limiter la durée de la garantie implicite ou les responsabilités à l'égard des dommages indirects, les exclusions et les limites susmentionnées ne s'appliquent pas.
La presente garantie vous donne des droits précis qui peuvent varier selon votre lieu de residence.
Les dommages résultat d'une mauvaise utilisation, d'une utilisation abusive, de la négligence, d'un accident, d'une mauvaise installation, du non respect de nos instructions ou de l'utilisation de pieces de rechange autres que des pieces d'origine Delta ne sont pas couverts par la garantie.
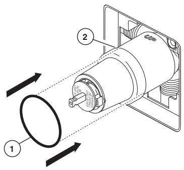
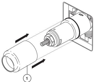
1
Installation de la cartouche

A.
Interrompez l'arrivée d'eau. Enlevez le couvercle (1), l'écrou à portée sphérique (2) et le capuchon d'essay (3) du corps. Si vous n'installez pas l'appareil dans une paroi mince, vous pouvez-retirer le protecteur (4) complètement. Si l'écran (5) est en place, enlevez avant d'installer la cartouche.

Installation dos à dos
Dans le cas d'une installation dos à dos ou inversée (eau chaude à droite et eau froide à gauche), introduizez la cartouche de sorte que la mention « hot side » se trouve du côte droit. S'il ne s'agit pas d'une installation dos à dos ou inversée, sautez la présente étape et passez à l'étape 1C.

Tournez la cartouche (1) de sorte que la mention « hot side » (2) se trouve du côté gauche. Introduise la cartouche dans le corps de la soupape comme le montre la figure. Assurez-vous que les tubes et les joints toriques (3) de la cartouche sont bien calés à la base du corps. Assurez-vous que les ergots sur le corps sont parfaitement engagés dans les rainures du corps (4).

C.
Faites glisser l'écrou à portée sphérique (1) sur la cartouche et vissez-le sur le corps. Serrez à la main fermement.
2
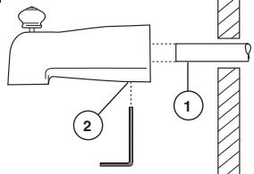
Installation de la pomme de douche et du bec de baignoire

INSTALLATION DE LA POMME DE
DOUCHE: Raccordez la sortie supérieure (1) au tuyau d'alimentation de la pomme de douche (2) à l'aide des raccords appropriés. Pour éviter d'abimer le fini du tuyau de la pomme de douche, introduizez le côté « mur » de celui-ci dans la collerette (3) avant de le visser dans le raccord du tuyau vertical. Appliquez du ruban de Teflon® sur les fillets. Vissez la pomme de douche (4) sur le tuyau. Appliquez du ruban de Teflon® sur les fillets. Prénez garde de serrer la pomme de douche excessivement.
INSTALLATION DU BEC DE BAIGNOIRE : Consultez les instructions d'installation fournies avec le bec. Ne raccordez pas à une soupape murale à un bec concu pour être monté sur une plage. Ne raccordez pas une douche à main à la sortie d'un robinet de baignoire-douce prévue pour un bec de baignoire. N'utilise pas de tube PEX pour raccarder le bec.



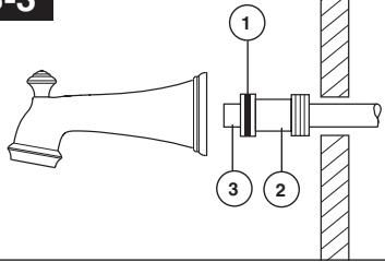
Installation d'unbecoulissant
Le tube de cuivre (1) doit avoir un diamètre nominal de 1/2 po. Important : Si vous devez couper le tube de cuivre, chanfreinez son extrémité de sorte qu'elle ne risque pas d'endommager le joint torique à l'intérieur du bac. Faites glisser le bac sur le tube de cuivre de sorte qu'il s'appuie contre la surface finie de la baignoire ou du mur. Serrez la vis de calage (3), mais prenez garde de la serrer excessivement.
Installation à l'aide d'un tuyau de fer
Installez le manchon filete (1) 1/2 po (13 mm) de manière que sa saillie par rapport à la surface finie du mur. Appliquez du ruban de Teflon sur les filets du manchon et fixez celui-ci au bac de baignoire en vissant.
Installation à l'aide d'un tuyau de cuivre brasé
Retirez le joint torque (1) de l'adaptateur (2). Brasez I'adaptateur au tube ennant garde d'échapper du métal d'apport dans la rainure pour le joint torque. ATTENTION: IL NE DOIT PAS Y AVOIR DE METAL D'APPORT SUR LA CIRCONFÉRANCE EXTERIEURE DE L'ADAPTATEUR PRES DE LA RAINURE POUR LE JOINT TORIQUE. Coupe le tube (3) et remettez le joint torque en place dans la ralnure de l'adaptateur en laiton. Vissez le bec de baignoire sur l'adaptateur etnant garde d'abimer le joint torque. Serrez le bec à la main jusqu'à ce qu'il s'appuie solidement contre la surface finie de la paroi et qu'il n'y ait plus de jeu derrière le mur.
3
Réglage de la butée anti-échaudage

IMPORTANT :
La butée antiéchaudage sert à limiter la quantité d'eau chaude disponible de sorte que l'utilisateur ne risque pas d'être ébouillante si la manette est aménée à l'extrémité de la plage du côte « Eau chaude » par inadvertance alors que quelqu'un se trouve sous la douche ou dans la baignoire. La première position est celle qui laisse passer le MOINS d'eau chaude à mélanger avec l'eau froide. À la première position, l'eau est aussi froide que possible alors que la manette se trouve à l'extrémité de la plage du côte « Eau chaude ». En tournant la butée antiéchaudage, vous ajoutez progressivement de plus en plus d'eau chaude au mélange. La dernière position à gauche est celle qui laïssse passer le plus d'eau chaude et le risque d'ébouillantage est plus élevé si celui qu'un amène la manette à l'extrémité de la plage du côte « Eau chaude » par inadvertance alors que quelqu'un d'autres se trouve sous la douche ou dans la baignoire.
MISE EN GARDE : Dans certains cas, l'ébouillantage est possible si la butée antiéchaudage se trouve à la position la plus chaude (à l'extrémité de la plage dans le sens antihoraire). Il faut régler la butée antiéchaudage de manière que l'eau s'écouant du robinet ne puisse causeur de brûlures à l'utiler alors que la manette est à la position « Eau chaude »
- Selon la plupart des normes en vigueur dans l'industrie, la température de l'eau à la sortie du robinet ne doit pas dépasser 120^ (certaines codes de plomberie peuvent prescrire une température inférieure à cette valeur).
- La butée antiéchaudage peut devoir être réglée à chaqueaison si la température de l'eau d'alimentation change. Par exemple, la température de l'eau froide est plus)basse
en hiver qu'en eté, ce qui peut entraîner une variation de la température à la sortie du robinet. La température ideale pour la douche ou le bain se situe généralement entre 90^ - 110^ .
- Faites couler l'eau de sorte qu'elle soit aussi froide que possible et aussi chaude que possible. Placez ensuite la manette sur la tige (reportez-vous à la page 6, étape 4D) et tourne la manette dans le sens antihoraire jusqu'à l'extrémité de la plage.
- Placez un thermomètre dans un gobelet en plastique et mettez celui-ci sous le jet d'eau. Si la température de l'eau est supérieure à 120^ , tournez la butée antiéchaudage dans le sens horsaire pour abaiser la température de l'eau à la sortie du robinet sous 120^ ou à une valeur conforme aux exigences du code de plomberie de notre région.
Pour régler la température de l'eau qui s'écoule de la soupape, amenez le disque dans une position où il est possible d'enlever la butée de température et engagze les dents dans les encoches qui correspondent à la température désirée. La température diminue dans le sens horaire et augmente dans le sens antihoraire. La variation de température est de 4 à 16^ par cran, selon la température de l'eau d'alimentation. Refaites le réglage au besoin. Remettez le disque jusqu'à ce qu'entièrement assis.
MISE EN GARDE: Il y a risque d'ébouillantage si on oemet de réinstaller le disque après avoir régle la butée de température.
ASSUREZ-VOUS QUE L'EAU FROIDE S'ÉCOULE DE LA SOUPAPE EN PREMIER. ASSUREZ-VOUS QUE LA TEMPERATURE DE L'EAU NE POT DEPASSER 120°F OU LA VALEUR MAXIMALE AUTORISÉE PAR LE CODE DE PLOMBERIE DE VOTRE RÉGION.
Installation - Séries 13 et 14
4
Installation des pieces de finition
A.

Faites glisser le joint torique (1) sur la cartouche et I'ecrou a portee sphérique (2).Le joint sert de piece d'espacement et il stabilise le manchon; il doit se trouver derriere I'ecrou a portee sphérique.

B.

Si le modèle que vous installez nécessite une piece d'espacement (1), introduizez la dans le manchon (2) et poussez-la vers l'avant. Faites glisser le manchon sur la cartouche, le corps et le joint torique.
C.

Fixez la rosace (1) et la plaque arrrière (2) (si le modulo que vous installez en comporte une) sur le support (3) à l'aide des 2 vis fournies (4). Prenez garde de serrer les vis de la rosace excessivement.
D.

Montez la manette sur la tige et bloquez-la en place en serrant la vis de calage avec une clé Allen.
1
Installation de la cartouche.

A.
Interrompez l'arrivee d'eau. Enlevez le couvercle (1), I'ecrou a portee sphérique (2) et le capuchon d'essay (3) du corps. Si vous n'installez pas I'appareil dans une paroi mince, vous pouvez-retirer le protecteur (4) complètement. Si I'ecran (5) est en place, enlevez avant d'insteller la cartouche.

B.
Introduisez l'adaptateur (1) dans le corps de la soupape. Assurez-vous que les joints toriques (2) sont positionnés correctement dans les trous à la base du corps. Fixez l'adaptateur avec la vis (3) se trouvant dans celui-ci. Retirez la piece de retenue (4) de l'adaptateur.

C.
Tournez la cartouche (1) de sorte que la mention « HOT SIDE » (2) se trouve du côté gauche. Introduisez la cartouche dans le corps de la soupape. Assurez-vous que l'ergot (3) sur la cartouche est parfaitement engagé dans la rainure du corps en laiton (4). Faites glisser l'écrou à portée spherique (5) sur la cartouche et vissez-le sur le corps. Serrez à la main fermement.

Installation dos à dos
Dans le cas d'une installation dos à dos ou inversée (eau chaude à droite et eau froide à gauche): Tournez la cartouche (1) de sorte que la mention « HOT SIDE »(2) se trouve du côté droit. Installez la cartouche en vous assurant que l'ergot est parfaitement engagé dans la rainure du corps en laiton. Faites glisser l'écrou à portée sphérique (3) sur la cartouche et vissez-le sur le corps. Serrez à la main fermement.
2
Installation de la pomme de douche et du bec de baignoire

A.
INSTALLATION DE LA POMME DE
DOUCHE: Raccordez la sortie supérieure (1) au tuyau d'alimentation de la pomme de douche (2) à l'aide des raccords appropriés. Pour éviter d'abimer le fini du tuyau de la pomme de douche, introduizez le côté « mur » de celui-ci dans la collerette (3) avant de le visser dans le raccord du tuyau vertical. Appliquez du ruban de Teflon® sur les fillets. Vissez la pomme de douche (4) sur le tuyau. Appliquez du ruban de Teflon® sur les fillets. Prénez garde de serrer la pomme de douche excessivement.
INSTALLATION DU BEC DE BAIGNOIRE : Consultez les instructions d'installation fournies avec le bec. Ne raccordez pas à une soupape murale à un bec concu pour être monté sur une plage. Ne raccordez pas une douche à main à la sortie d'un robinet de baignoire-douce prévue pour un bec de baignoire. N'utilise pas de tube PEX pour raccorder le bec.

B-1

B-2

B-3
Installation d'un bec coulissant
Le tube de cuivre (1) doit avoir un diamètre nominal de 1/2 po. Important : Si vous devez couper le tube de cuivre, chanfreinez son extrémité de sorte qu'elle ne risque pas d'endommager le joint torique à l'intérieur du bac. Faites glisser le bac sur le tube de cuivre de sorte qu'il s'appuie contre la surface finie de la baignoire ou du mur. Serrez la vis de calage (3), mais prenez garde de la serrer excessivement.
Installation à l'aide d'un tuyau de fer
Installez le manchon fileté (1) 1/2 po (13 mm) de manière que sa saillie par rapport à la surface finie du mur. Appliquez du ruban de Teflon sur les fillets du manchon et fixez celui-ci au bec de baignoire en vissant.
Installation à l'aide d'un tuyau de cuivre brasé
Retirez le joint torque (1) de l'adaptateur (2). Brasez I'adaptateur au tube ennant garde d'échapper du métal d'apport dans la rainure pour le joint torque. ATTENTION: IL NE DOIT PAS Y AVOIR DE METAL D'APPORT SUR LA CIRCONFERENCE EXTERIEURE DE L'ADAPTATEUR PRES DE LA RAINURE POUR LE JOINT TORIQUE. Coupe le tube (3) et remettez le joint torque en place dans la ralnure de l'adaptateur en laiton. Vissez le bec de baignoire sur I'adaptateur etnant garde d'abimer le joint torque. Serrez le bec à la main jusqu'à ce qu'il s'appuie solidement contre la surface finie de la paroi et qu'il n'y ait plus de jeu derrière le mur.
3
Installation des pieces de finition

A.
Faites glisser le joint torique (1) sur la cartouche et I'ecrou à portée sphérique (2). Le joint sert de piece d'espacement et il stabilise le manchon; il doit se couver derrière I'ecrou à portée sphérique.

B.
Faites glisser le manchon (1) sur la cartouche, le corps et le joint torque.

C.
Fixez la rosace (1) et la plaque arrriere (2) (si le modele que vous installez en comporte une) sur le support (3) à l'aide des 2 vis fournies (4). Prenez garde de serrer les vis de la rosace excessivement.

D.
Installes la manette de réglage de débit (1) de manière qu'elle pointe vers la droite, puis place-la en position d'ouverture. NE LA FIXEZ PAS AVEC LA VIS.
Installation - Série 17
4
Installation et réglage de la butée anti-échaudage

A.
Placez le bouton de réglage de température (1) sur la manette de réglage de débit et tourné-à-le jusqu'à la position de mélange (au besoin). NE LE FIXEZ PAS AVEC LA VIS. Rétablissez l'alimentation en eau. Laissez couler l'eau jusqu'à ce que l'eau froide soit aussi froide que possible et que l'eau chaude soit aussi chaude que possible. Mettez un thermomètre dans un gobelet en plastique, puis placez le gobelet sous le jet d'eau et attendez un peu. Notez la température de l'eau.

C.
Fixez le bouton de réglage de température (1) avec la vis (2) et, en poussant fermement sur celui-ci, calez le couvercle (3) sur le bouton. NOTE: Serrez la vis jusqu'à ce que la manette cessée d'osciller. NE LA SERREZ PAS A FOND. Si vous la serrez excessivement, le bouton de réglage de température sera difficile à tourner. La vis est du type à autopreinage.

B.
Plus Froid
Si la température de l'eau sur le thermomètre est supérieure à 120^ , retirez le bouton de réglage de température (1) et tournez la butée anti-échaudage (2) dans le sens horsaire d'un cran par tranche de température d'environ 4 à 6^ . Si l'eau n'est plus assez chaude, tournez la butée anti-échaudage dans le sens antihoraire.
IMPORTANT: La première position de la butée anti-échaudage est cette qui limite le plus la rotation de la tige; elle se trouve à l'extrémité de la plage dans le sens horsaire. Selon les normes de l'industrie, la température maximale de l'eau à la sortie de la soupape ne doit pas dépasser 120^ F. La température peut varier selon la région. Le réglage de la butée anti-échaudage peut être modifié si la température de l'eau d'alimentation a changé. À titre d'exemple, la température de l'eau froide est plus BASSE en hiver, ce qui influence la température de l'eau à la sortie de la soupape. La température ideale de l'eau pour un bain ou une douche se situe entre 90 et 110^ F.
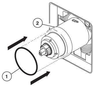
1
Installation de la cartouche.

A.
Interrompez l'arrivée d'eau. Enlevez le couvercle (1), l'écrou à portée sphérique (2) et le capuchon d'essay (3) du corps. Si vous n'installez pas l'appareil dans une paroi mince, vous pouvez-retirer le protecteur (4) complètement. Si l'écran (5) est en place, enlevez avant d'installer la cartouche.

C.
Faites glisser l'écrou à portée sphérique (1) sur la cartouche et vissez-le sur le corps.
Serrez à la main fermement.

B.
Tournez la cartouche (1) de sorte que le mot « UP » (2) se trouve sur le dessus. Introduisez la cartouche dans le corps de la soupape comme le montre la figure. Assurez-vous que les tubes et les joints toriques (3) sont bien calés dans les orifices à la base du corps. Assurez-vous que les ergots sont parfaitement engagés dans les rainures du corps (4).

Installation dos à dos
Dans le cas d'une installation dos à dos ou inversée (eau chaude à droite et eau froide à gauche). Tourmez la cartouche (1) de sorte que le mot « UP » (2) se trouve sur le dessus. Installee la cartouche en vous assurant que les ergots sont introduits entièrement dans les rainures du corps de laiton (reportez-vous à l'étape B). Faites glisser l'écrou à portée spherique (3) sur la cartouche et vissez-le sur le corps. Serrez à la main fermement.
2
Installation de la pomme de douche et du bec de baignoire

A.
INSTALLATION DE LA POMME DE
DOUCHE: Raccordez la sortie supérieure (1) au tuyau d'alimentation de la pomme de douche (2) à l'aide des raccords appropriés. Pour éviter d'abimer le fini du tuyau de la pomme de douche, introduizez le côté « mur » de celui-ci dans la collerette (3) avant de le visser dans le raccord du tuyau vertical. Appliquez du ruban de Téflon® sur les filets. Vissez la pomme de douche (4) sur le tuyau. Appliquez du ruban de Téflon® sur les filets. Prénez garde de serrer la pomme de douche excessivement.
INSTALLATION DU BEC DE BAIGNOIRE : Consultez les instructions d'installation fournies avec le bec. Ne raccordez pas à une soupape murale à un bec concou pour être monté sur une plage. Ne raccordez pas une douche à main à la sortie d'un robinet de baignoire-douce prévue pour un bec de baignoire. N'utilise pas de tube PEX pour racorder le bec.

B-1

B-2

B-3
Installation d'unbecoulissant
Le tube de cuivre (1) doit avoir un diamètre nominal de 1/2 po. Important : Si vous vedez couper le tube de cuivre, chanfreinez son extrémité de sorte qu'elle ne risque pas d'endommager le joint torique à l'intérieur du bec. Faites glisser le bec sur le tube de cuivre de sorte qu'il s'appuie contre la surface finie de la baignoire ou du mur. Serrez la vis de calage (3), mais prenez garde de la serrer excessivement.
Installation à l'aide d'un tuyau de fer
Installee le manchon filtré (1) 1/2 po (13 mm) de manière que sa saillie par rapport à la surface finie du mur. Applique du ruban de Téflon sur les filets du manchon et fixez celui-ci au bec de baignoire en vissant.
Installation à l'aide d'un tuyau de cuivre brasé
Retirez le joint torque (1) de l'adaptateur (2). Brasez I'adaptateur au tube ennant garde d'échapper du métal d'apport dans la rainure pour le joint torique. ATTENTION : IL NE DOIT PAS Y AVOIR DE METAL D'APPORT SUR LA CIRCONFÉRANCE EXTERIEURE DE L'ADAPTATEUR PRÉS DE LA RAINURE POUR LE JOINT TORIQUE. Coupe le tube (3) et remettez le joint torque en place dans la ralnure de l'adaptateur en laiton. Vissez le bec de baignoire sur l'adaptateur etnant garde d'abimer le joint torque. Serrez le bec à la main jusqu'à ce qu'il s'appuie solidement contre la surface finie de la paroi et qu'il n'y ait plus de jeu derrière le mur.
3
Installation des pieces de finition
A.

Faites glisser le joint torique (1) sur la cartouche et I'ecrou à portée sphérique (2). Le joint sert de piece d'espacement et il stabilise le manchon; il doit se couver derrière I'ecrou à portée sphérique.
B.

Faites glisser le manchon (1) sur la cartouche, le corps et le joint torique.
C.

Fixez la rosace (1) sur le support (2) à l'aide des 2 vis fournies (3). Prenez garde de serrer les vis de la rosace excessively.
D.

Installes la manette de réglage de débit (1) de manière qu'elle pointe vers la droite, puis place-la en position d'ouverture. NE LA FIXEZ PAS AVEC LA VIS.
Installation - Série 17T
4
Installation et réglage du bouton de température
Il y a risqué de blessure si le bouton de température n'est pas réglé.

Régléz la butée limitatrice de température!
Rétablissez l'alimentation en eau. Laissez couler chaude jusqu'à ce qu'elle soit aussi chaude que possible et faites de même pour l'eau froide. Placez un thermomètre dans un gobelet en plastique et tenez le gobelet sous le jet d'eau. Placez le bouton de température (1) sur les cannelles (2), tournez ensuite le bouton de température jusqu'à ce que vous atteigniez la température maximale désirée à la sortie (la température de l'eau ne doit pas dépasser
120 degrés ou la valeur autorisée par les codes de plomberie de votre localité). Enlevez le bouton de température et replacez-le sur les cannelures (2) en vous assurant que la butée limitatrice de température (3) s'appuie contre la butée de la manette de débit (4) comme le montre la figure. Fixez la manette de débit au moyen de la vis de calage (5). Fixez le bouton de température à l'aide de la vis (6) et placez le capuchon (7) sur le bouton.
Instructions de nettoyage
Il faut le nettoyer avec soin. Meme si son fini est extrémement durable, il peut être abîné par des produits fortément abrasifs ou des produits de polissage. Il faut simplement le frottier doucement avec un chiffon humide et le secher à l'aide d'un chiffon doux.
AVERTISSEMENT: N'employez pas le nettoyant pour salle de bain Scrubbing Bubbles® ni le Nettoyant de Lavabos, de Baignoires et de Carreaux Lysoi sur les manettes et les poignées sphériques transparentes. Ces produits peuvent faire fissurer les poignées et les manettes ou les abimer gravement. Si ces poignées ou ces manettes sont aspergées accidentellement par l'un ou l'autre des produits mentionnés, les essuyer immédiatement à l'aide d'un chiffon de coton doux.
Maintenance - Séries 13 et 14
Le robinet fuit par lebec ou la pomme de douche.COUPER L'EAU.
Remplacer les sièges et les ressorts (kit de réparation RP4993. Vérifier l'etat des joints toriques inférieurs et remplaçer ceux-ci au besoin (RP14414). Voir les conseils 1, 2, et 3.
Si la fuite persiste, COUPER L'EAU.
Remplacer la soupape RP46070 ou la cartouche RP46074. Voir les conseils 1, 2, 3 et 5.
La tempête de l'eau n'est pas constante. Remplacer le boitier par un boitier RP46071 ou suivre les instructions des conseils 1, 2, 4 et 5.
Conseils:
-
Avant d'enlever la cartouche de la soupape aux fins d'entretien, prenez note de la position de la butée de température maximale sur le chapeau. La cartouche doit toujours être reposée dans la même position. NE PAS PRENDRE DE RISQUES INUTILEMENT. Une fois l'installation terminée, ouvrir le robinet pour s'assurer que L'EAU FROIDE S'ECOULE EN PREMIER.
-
Pour déposer la cartouche du corps, couper l'eau, puis-retirer la poignée et le chapeau filtré. Ne pas utiliser un tournevis comme levier pour extraire la cartouche. Placer la poignée sur la tige et la tourner dans le sens antihoraire d'environ 1/4 de tour après
contact des butées. Soulever la cartouche pour la retirer du corps.
3. Pour déposer les sièges et les ressorts, enlever la cartouché. Séparer la soupape du boîtier en la tournant de 90o degrés dans le sens antihoraire. Écarter ensuite la soupape du boîtier. Enlever les sièges et les ressorts, puis les reposer. Placer d'abord l'extrémité du ressort du plus grand diamètre dans le logement du siège, puis abaiser l'extrémité conique du siège sur le ressort. Remonter la cartouché et la reposer dans le corps conformément aux instruction figurant en "1" ci-dessus.
4. Si I'eau d'alimentation du robinet à équilibrage de pression renferme du calcaire, du fer, du sable ou autres corps étrangers, celui-ci doit faire l'objet d'inspections périodiques. La fréquence des inspections dépend de la quantité de corps étrangers dans l'eau. Pour inspecter la cartouché, la déposer et suivre et les instructions de la note 1 ci-dessus. Ouvrir la soupape en position de plein mélange et secouer la cartouché vigoureusement. Si desCLSquetis se font entendre, le composant est en bon état et peut être reposé conformément aux instructions de la note 1 ci-dessus. Si on n'entend pas deCLSquetis, replacier le boitier (RP46071).
5. Remettez le disque jusqu'à ce qu'entierement assis. Voir la page 5 pour plus de détails.
Maintenance - Série 17
Seul un filet d'eau s'écoule du robinet :
Les tuyaux d'eau chaude et d'eau froide doivent être mis sous pression. Si un seul tuyau est sous pression, le dispositif d'équilibrage de pression ne fournit pas le débit d'e au requis.
La poignée de réglage de début tourne sur 360 dégrès ou n'st pas placé correctement par rapport à la rosace (le manchon est aussi desserré): Les clavettes de la cartouche sont mal placées dans les rainures du corps en laiton ou les clavettes ont été cisaillées en raison d'une mauvaise installation. CORRIGEZ LA SITUATION IMMEDIATEMENT.
L'eau qui s'écoule n'est pas assez chaude.
Consultez à l'etape 3C, ou vérifie le réglage de température du chauffe-eau.
Le robinet fuit par lebec ou la pomme
de douche: COUPEZ L'EAU. Remplacez les sièges, les ressorts et le joint à quatre lobes (1) (kit de réparation RP46073).
Si la fuite persiste: COUPEZ L'EAU.
Remplacez la cartouche (kit RP46463) (2).
La température n'est pas maintainue constante: COUPEZ LEAU. Retirez la cartouche et secouze-la de côte. Le tiroir doit faire un bruit de cliquetis dans le manchon. Si vous n'entendez pas de cliquetis, le tiroir peut ettre coince.Pout le decoincer, frappez la cartouche de cote dans la paume de la main. Si le tiroir ne peut etredecoince, remplacez la cartouche kit de réparation RP46463 (2).
NOTE: Si l'eau est dure et renferme du calcaire, du fer, du sable ou d'autres substances du même genre, le robinet doit faire l'objet d'inspections périodiques. La fréquence des inspections dépend de la durée de l'eau. Pour inspector la cartouche, déposez-la du corps du robinet et secouez-la vigoureusement. Si des cliquetis se font entendre, la cartouche est en bon état et peut être reposée correctement. Si la cartouche ne produit pas de cliquetis, remplacez-la kit de réparation RP46463.
Maintenance - Série 17T
Le robinet fuit par le bec de baignoire ou la pomme de douche :
INTERROMPEZ L'ALIMENTATION EN EAU. Remplacez la cartouche - Kit de réparation RP47201
Fiche de référence sommaire de la cartouche
Unités expediées en Mars 2006 et après.

MultiChoice® 13/14
Commandez le kit RP46074 pour replacer la cartouche.

17
Commandez le kit RP46463 pour replacer la cartouche.

17T
Commandez le kit RP47201 pour replacer la cartouche.
Unités expediées avant Mars 2006.

Vieux Monitor® 1300/1400

1700
Commandez le kit RP32104 pour replacer la cartouche.

Les cartouches de rechange se sont transportees en juillet 2006 et ensuite.

Nouveau Monitor® 1300/1400
Sans
Objet
Sans
Objet
T13020, T13022, T13120, T13122, T13220, T13222, T13420, T13420-H20 & T13422 Models / Modelos / Modèles

Refer to page 16 for more information. / Consulte con la网页 16 para más información. / Pour obtaining de plus amples renseignements, reportez-vous à la page 16.
T13090,T13091,T13290,T13291,T13490 & T13491
Models / Modelos / Modèles


† Designates the accent color on split finish models.
† Designa el color para acontezar los modelos con abacados divididos.
Designe la couleur contrastante sur les modèles à deux finis
Specify Finish Especifique el Acabado Precisez le Fini

RP5833
Tub Spout/Non Diverter
Tubo de Salida para Bañera/
Sin Desviador
Bec/Sans Derivation
RP17454 (Metal/Metalico/Metal) Tub Spout/Pull-Down Diverter Tubo de Salida para Banera/ Desviador de Halar Bec/Avec Derivation sur Embout

RP17453
Refer to page 16 for more information. / Consulte con la网页 16 para más información. Pour Obtener de plus amples renseignements, reportez-vous à la page 16.

BP46384
Showerhead
Cabeza de Rogadora
Pomme de Douche

BP41589▲
Showerhead
Cabeza de Rogadora
Pomme de Douche

BP6023
Shower Arm
Brazo de la Rogadora
Tuyau de Pomme de Douche

RP6025
Shower Flange
Pestana de la Rogadora
Collerette

Refer to page 16 for more information. / Consulte con la párgina 16 para más información. /
Pour obtenir de plus amples renseignements, reportez-vous à la page 16.

RP42578
Showerhead
Cabeza de Rogadora
Pomme de Douche
RP6023
Shower Arm
Brazo de la Rogadora
Tuyau de Pomme de Douche
Shower Flange
Pestana de la Rogadora
Collerette

Specify Finish Especifique el Acabado Precisez le Fini
† Designates the accent color on split finish models.
† Designa el color para acentuar los modelos con abacios divididos.
† Désigne la couleur contrastante sur les modèles à deux finis

RP43232
Escutcheon
Roseta
Rosace avec Orifice

Piece D'espacement
RP4993
Seats & Springs
Asientos y Resortes
Sièges et Ressorts
RP43233
Spacer
Separadores

BP50879▲
Trim Sleeve
Manga de Franja
Manchonde Finition
Set Screw
Tornillo de Ajuste
Vis de Calage
BP43233
Spacer
Séparadores
Pécce
D'espacement
RP47191
Stem Extender
Extension para la espiga
Rallonge detige
H740▲
Handle Kit
Juego de herrajes de la Manija
Manette en kit
RP42574
Tub Spout/Non Diverter
Tubo de Salida para Bañera/Sin Desviador
Bec/Sans Derivation
RP42576
Tub Spout/Pull-Down Diverter
Tubo de Salida para Bañera/Desviador de Halar
Bec/Avec Derivation sur Embout
Refer to page 16 for more information. / Consulte con la pagina 16 para mas informacion. /
Pour obtenir de plus amples renseignements, reportez-vous à la page 16.
T14051,T14251 & T14451 Models / Modelos / Modèles

Refer to page 16 for more information. / Consulte con la頁a 16 para mas informacion. / Pour Broker de plus amples renseignements, reportez-vous a la page 16.
T14155,T14255 & T14455 Models / Modelos / Modèles

Refer to page 16 for more information. / Consulte con la网页 16 para más información. / Pour Obtir de plus amples renseignements, reportez-vous à la page 16.
T14169,T14269 & T14469 Models / Modelos / Modèles

Refer to page 16 for more information. / Consulte con la网页 16 para más información. / Pour Obtir de plus amples renseignements, reportez-vous à la page 16.
T14178, T14278 & T14478 Models / Modelos / Modèles

Refer to page 16 for more information. / Consulte con la网页 16 para más información. / Pour Obtener de plus amples renseignements, reportez-vous à la page 16.
T14082, T14085, T14185, T14282, T14285, T14482 & T14485 Models / Modelos / Modèles

Refer to page 16 for more information. / Consulte con la网页 16 para más información. / Pour Obténir de plus amples renseignements, reportez-vous à la page 16.
T14086, T14186, T14286 & T14486 Models / Modelos / Modèles

Refer to page 16 for more information. / Consulte con la网页 16 para más información. / Pour encontrar de plus amples renseignements, reportez-vous à la page 16.
T14092, T14292 & T14492 Models / Modelos / Modèles




Refer to page 16 for more information. / Consulte con la网页 16 para más información. / Pour Obtener de plus amples renseignements, reportez-vous à la page 16.
T17030,T17130,T17230 & T17430 Models / Modelos / Modèles

Refer to page 16 for more information. / Consulte con la网页 16 para más información. / Pour Obténir de plus amples renseignements, reportez-vous à la page 16.
T17038,T17238 & T17438 Models / Modelos / Modèles


Temperature Knob and Cover Perilla de la Temperatura y Cubierta Poignée de Réglage de Température
Refer to page 16 for more information. / Consulte con la頁a 16 para mas informacion. / Pour obtenir de plus amples renseignements, reportez-vous a la page 16.
T17140,T17240 & T17440 Models / Modelos / Modèles

Refer to page 16 for more information. / Consulte con la网页 16 para más información. / Pour Obtir de plus amples renseignements, reportez-vous à la page 16.
T17051, T17251, & T17451 Models / Modelos / Modèles


Refer to page 16 for more information. / Consulte con la頁a 16 para mas informacion. / Pour tener de plus amples renseignements, reportez-vous a la page 16.
T17155,T17255 & T17455 Models / Modelos / Modèles
Models / Modelos / Modèles

Refer to page 16 for more information. / Consulte con la网页 16 para mas informacion. /
Pour obtenir de plus amples renseignements, reportez-vous à la page 16.
T17086, T17286, & T17486 Models / Modelos / Modèles

Notice Facile