OLD MONITOR 1300-1400 - Monitor DELTA - Manual de uso y guía de instrucciones gratis
Encuentra gratis el manual del aparato OLD MONITOR 1300-1400 DELTA en formato PDF.
| Tipo de dispositivo | Mezclador para bañera/ducha |
| Instalación | Montaje en pared |
| Material | No especificado |
| Acabado | No especificado |
| Tipo de mando | Palanca única |
| Control de temperatura | Sí |
| Limitador de temperatura | Sí |
| Presión de agua recomendada | Estándar |
| Tipo de conexión | No especificado |
| Caudal máximo | No especificado |
| Normas de seguridad | Cumple con normas de seguridad |
| Garantía | No especificado |
| Accesorios incluidos | No especificado |
| Peso | No especificado |
| Dimensiones | No especificado |
Preguntas frecuentes - OLD MONITOR 1300-1400 DELTA
Questions des utilisateurs sur OLD MONITOR 1300-1400 DELTA
0 question sur cet appareil. Repondez a celles que vous connaissez ou posez la votre.
Poser une nouvelle question sur cet appareil
Descarga las instrucciones para tu Monitor en formato PDF gratis! Encuentra tus instrucciones OLD MONITOR 1300-1400 - DELTA y toma tu dispositivo electrónico nuevamente en la mano. En esta página están publicados todos los documentos necesarios para el uso de su dispositivo. OLD MONITOR 1300-1400 de la marca DELTA.
MANUAL DE USUARIO OLD MONITOR 1300-1400 DELTA
Para reducir el riesgo de lesión por quemaduras de agua caliente, asegúrese que las etiquetas incluidas se han aplicado donde se ha sido indicado en la etiqueta.
DOCUMENTS IMPORTANTS À L'INTÉRIEUR
MISE EN GARDE :
AVISO AL INSTALADOR: Coloque esta etiqueta en el calentador de agua alazo de la perilla para el ajuste de temperatura.
AVISO:
Esta série de valvulas para baneras/regaderas no se ajustan automatistically a loseturnos de temperatura en el calentador de agua o en el agua de entrada. Si el ajuste de la temperatura del calentador de agua o la temperatura del agua que entra cumbia;El ajuste de estas valvulas seDebe hacer manualmente! El no reajustar la valvula可以使 resulting en quemaduras por agua caliente o temperaturas de agua extremadamente fríasresultando en varianciones de presión y temperatura (como cuando el fregador deplatos o la lavadora estanfunctionando,mintras que se baina). Despues de la instalacion,verifique que el control o tope del limite rotacional (series 13/14/17) o la perilla del control de temperature (series 17T) en la valvula está ajustada para que los cambios de presión y de temperatura en la linea no resulten en cambios incómodos de temperatura del agua. Si el ajuste de la temperatura del calentador de agua o de la entrada de agua se cambiaupon desothe instalaciondevalvula,elajuste del tope del limitotrotacional o la perilla deajuste;alsoiencsedebecambiar! Consulte su hoja de instruetiones de instalacionpara saber como se ajusto o cambia el ajusto, o llamenos al 1-800-345-DELTA.
Pomo para el ajuste de temperatura
AVISO AL INSTALADOR: Colque est这笔ticaerca de la valvula sobre el propietario la parede ver, tal como bajo de la puerta del gabineto o el tocador.
AVISO:
LosCambiosde temperatura del agua porvariocionesestacionalesuorasvariociones en el agua de entrada, como el Cambio por el ajuste en el calentador de agua,puedecreirer elajuste del tope del limite rotaconal (Series 13/14/17) oajuste de la perilla para el control de la temperatura (Series 17T) de la valvula de su unidad banera/regadura para aseguaruna temperatura maxima segura.Esta series de valvulas no se ajusta automatistically para losCambiosde temperatura del agua de entrada. Si Cambiosocuron y ustedo no está seguro como hacer losajustes necessarios con la perilla para controlar la temperatura, porfavor consultae la hoja de instruetiones de instalacion proportionada con esta valvula o llamenos al 1-800-345-DELTA.Las valvulas de esta series estan diseñadas para minimizar los efectos por Cambios de temperature en el agua de entrada por Cambios en la presión del agua,comunmentecausedados por el uso simultaneo de fugadoras de platos, lavadoras, inodoros y aparatos similares. Estasuenoproportionar protecciondequmaduras porelgau caliente cuando hayuna falla deotros mecanismos quecontrolanla temperatura del agua enotoro situoldeplomeria.Despuedesabercerlosajustes necessarios,porfavorescribe lainformationsuministradaacontinuation.Esta valvula/sistema ha sido ajustada por la persona indicaa acontinuation paraayudar aasegurar una temperatura maxima segura.Cualquieramilajeapuedeaugentarla temperatura del agua de descarga sobreleimitsconsiderado seguroyuederesultaruemadurasporagua caliente.Siestaetatetaque no sehaIlenado,debureviscarilelontotaloretoal oraleperrilla que controlla la temperatura han sido correctamente ajustadas al gusto de su instalacion individual.La hoja de instruetiones de instalacion proportionada con las valvulas le suministra informacion sobre como hacer este ajuste.

17T Series
Temperature Knob
Pomo para el ajuste de temperatura
Bouton de Température
Escribequiryelnunero delmodelocomprado.
Instrucciones para la Instalacion del Accesorio para Valvulas MultiChoice®
Manual para los Propietarios
13, 14, 17 y 17T Series
Usted puede necesitar




Contenido:
Garantías Página 2
Instrucciones de Instalacion para la Series 13 / 14....... Paginas 3 -6
Instrucciones de Instalacion para la Serie 17......... Paginas 7-10
Instrucciones de Instalacion para la Serie 17T . Paginas 11-14
Mantenimiento . Páginas 14-15
Hoja resumen de referencia para el cartucho Pagina 16
Piezas de Repuesto . Paginas 17-46
ESTA VALVULA CUMPLE O EXCEDE LAS SIGUIENTES NORMAS:
ASME A112.18 1/CSA B125.1 y ASSE 1016.
ADVERTENCIA: El instalador debe apostar
este systema/divisa para garantizar temperatura
maximo y seguro. Cualqueir bajo en el ajuste
puede subir la temperatura del agua de descarga
sobre el limite considerado seguro y pueda
resultar en quemaduras de agua caliente.
AVISO PARA EL INSTALLADOR: PRECAUCION
- Como instalador de esta valvula, es su responsabilidad de INSTALLARY AJUSTAR apropriamente这点a valvula como se describe en las instrucciones, por lo tanto,Debe haber una persona para hacer los ajustes necessarios del Tope del Limito Rotacional y del pomo para la temperatura en el momento que se haga la instalacion y pueda necessitar ajustes adiconciones por losCambiosestaciones de la temperatura del agua. USTED DEBE informarle al dueño/usuario sobre este requisito sugindo las instrucciones. Siusted o el dueño/usuario no está seguros como hacer theseajustes apropriamente, por favor refiirase al Pagina 5 (series 13 / 14), Pagina 10 (serie 17) o Pagina 14 (serie 17T) y si todasnoinstado, llamenos al 1-800-345-DELTA.
Després de hacer la instalación y el ajuste, usted能把 aggregatora la etiqueta de征求意见 proportionsacionada, su nombre, el nombre de la
comaña y laecha cuando ajustó el Tepe del Límite Rotacional y el pomo para la temperatura y aplicar o fjjar la etiqueta al dorso de la puerta del gabinete más cercano y la etiqueta de征求意见 al calentador de agua. Deje la Hoja de Instruetiones para referencia del dueño/username.
ADVERTENCIA:Esta valvula de presión balanceada y termostáctica está Diseñada para minimizar los efectos de los cambios de temperatura de agua por causa de los cambios de presión en el agua de entrada,commonmente causados por lavadoras de platos, lavadoras de ropa, inodoros, y除外 aparatos por el estilo. Puede no proportionscar protección de quemaduras de agua caliente cuando hay algoona falla de除外 aparatos para el control de temperatura en other situ en el sistemas de plomería. también no proportionscarne protección si el tope del limite rotacional y el pomo para el ajuste de la temperature no está apropiamente bajo o si cambia la temperature del agua calienteupon de hacer los ajustes o si los cambios del agua de entrada son por los cambios estaciones.
ADVERTENCIA: No instale un aparato de corte o cierra en cualesria de las tomas de esta valvula. Cuando este tipo de aparato cierra el flujo de agua, puede hacer fallar la habilidad de la valvula de balancear las presiones del agua caliente y fria.
Garantía Limitada De Por Vida de la Llave y su Acabado
Todas las piezas y acabados de la llave Delta® está garantizados al consumidor comprador original, de estar libres de defectos de material y fabricacion, por el tiempo que el consumidor comprador original sea dueso de su casa. Delta Faucet Company recomienda que use un plomero oficial para todas las instalaciones y zrearaparaciones.
Delta reemplazará, LIBRE DE CARGO, durante el periodo de garantía,ichever piezo a acabado que pruebe tener defectos de material y/o fabricación bajo instalación normal, uso y servicios. Piezas de replyoten ser obtainingas llamando al 1-800-345-DELTA (en los Estados Unidos y Canada) o escribiendo a:
En los Estados Unidos:
DeltaFaucetCompany
Product Service
55 E. 111th Street
Indianapolis, IN 46280
En Canada:
Masco Canada
Esta garantía es extensa en lo que cubre el reemplazamiento de todas las piezas defectuosas y hasta el acabado, pero estason las únicas dosculos que están cubiertas.CARGOS DEL LABOR Y/O DANOS INCURRIDOSEN LA INSTALACION, REPARACION,OREMPLAZAMIENTO COMO TÁBIEN
CUALQUIER OTRO TIPO DE PÉRDIDA O DANOS ESTAN EXCLUIDOS. Prueba de compra (recibo original de vente) del comprador consumidor original debe de ser disponible a Delta para todos los reclamos. ESTA ES LA GARANTÍA EXCLUSIVA DE DELTA FAUCET COMPANY, QUE NO HACE CUALQUIER OTRA GARANTÍA DE CUALQUIER TIPO, INCLUYENDO LA GARANTÍA IMPLICITA DE COMERCIALIZACION.
Esta garantía excluye todo uso industrial, commercial y de trabajo, a@cuyos compradores se les da una garantía limitada extendida de cinco años desde la Fecha de compra, con todos los otheros terminos de esta garantía aplicados, excepto el de duración de esta.Esta garantía es aplicable a las llaves de Delta® fabricadasupon de Enero 1, 1995.
Algunos estados/provincias no permitted la exclusion o limitacion de daños incidentales o consecuerentes, de forma que la limitacion o exclusion arribaneaocaypeedanaplicarle a usted.Cualquier daño a esta llave, resultado del mal uso, abuso, o descuido, oequalquier other uso de piezas de repuestos que no sean genuinas de Delta ANULARAN LA GARANTIA.
Esta garantía le da derechos legales especialicos, y usted pueda, también tenertherspecrados que varian de estado/provincia a estado/provincia. Es aplicable solo a las llaves Delta® instaladas en los Estados Unidos de America, Canada y Mexico.
© 2009 Masco Corporación de Indiana
Garantia Limitada de Delta HDF
Todas las piezas de la llave Delta HDF está garantizadas al dueño original de estar libres de defectos en materiales y en la mano desuma por un periodo de cinco (5) años.Esta garantía se hace al dueño original y sera efectiva el día de la compra como se ve en el recibo de compra.
Delta reemplazar, LIBRE DE CARGO, durante el periodo de la garantía,在哪 quería piezo que resulte defectuosa en materiales y/o en la mano de obra bajo instalación, uso y servicios normal. Las piezas de repuestos podieran ser obténidas de su commerciante o distribuidor local que se encontrartran en la guía Telefonica o si vestedevuele la pieza con el recibo de compra a nueva fabraca, Y LOS CARGOS DE TRANSPORTE PAGADOS CON ANTELACION, a la direccionada. esta GARANTIA ES LA UNICA GARANTIA EXPRESA DE DELTA. CUALQUIER RECLAMO HECHO ICO ESTA GARANTIA TIENE QUE SER HECHO DURANTE EL PERIODO DE CINCO AÑOS A QUE SE REFIERDE ARRIBA. CUALQUIER GARANTIA IMPLICITITA, INCLUYENDO LA GARANTIA IMPLICITITA DE COMERCIALIZACION O CONVENIENCIA
PARA UN PROPOSITO PARTICULARAR, SON
LIMITADOS EN DURACION A LA DURATION
DE ESTA GARANTIA. LOS CARGOS PARA LA
MANO DE OBRA Y/O DANOS INCURRIDOS EN
LA INSTALACION, REPARACION O
REEMPLAZO, ASIcomoLOS DANOS
INCIDENTALES O CONSECUENTES
CONECTADOS CON ELLOS SON EXCLUIDOS
Y NO SERAN PAGADOS POR DELTA.
Algunos Estados no permiten limitaciones al tiempo que dura la garantía implicita, o la exclusión o limitación de los días incidentales o consecuerentes, asi que la limitación o exclusion expresada arriba pueda no ser aplicable a usted.
Esta garantía le da austedodechos legales espécificos y usteduede también tenerotrosdederechos quevariande estadoa estado.
Esta garantía es nula por cualquier dano a esta llave que sea el resultado del mal uso, abuso, negligencia, accidente, instalación impropria, cualesqu要用 en violación de las instructiones suministradas por nosotros o cualesqu要用 de piezas de repuesto que no sean piezas genuinas Delta.
1
Instalacion del Cartucho

A.
Cierre los suministros de agua. Quite la cubierta (1), la tuerca tapa (2) y la tapa de pruneba (3). Si no es para instalar en pared delgada, pueda quitar el protector (4) de yesopleteto. Si la pantalla (5) está en lugar, quite antes de instalar el cartucho.

Instalación de Espalda a Espalda
En las instalaciones dorso con dorso o al reversal (caliente en la derecha y fria en la izquierda) introduzca el cartucho con la inscripción "hot side" a la derecha. Si usted no está instalando al reversal o dorso con dorso omite thisrado y continue con el paso 1C.

B.
Gire el cartucho (1) deforma que las palabras 'hotside' (lado caliente) (2) aparezcan a la izquerda. Introduzca el cartucho en la valvula como se muestra. Asegürese que los tubos del cartucho y los aros-O (3) estén apropiamente sentados en los agujeros en la base del cuero de la valvula. Asegürese que la parte dentada en el cuero de la pieza encaje Completely en las muescas de este (4).

C.
Deslice la tuerca tapa (1) sobre el cartucho y enrosque en el cuerpo de la valvula. Apriete a mano bien.
Instalación de las Series 13 / 14
2
Instalación de la Cabeza de la Regadora y el Surtidor de la Bañera

PARALAS INSTALACIONES DE LAS Cabezas DE REGADERA: Conecte
la toma de salute de agua superior (1) al brazo de la regadora (2) con los accesos apropriados. Para prevenir dano al acabado del brazo de la regadora, introduzca el extremo que va hacer la pared del brazo de la regadora bajo del reborde (3) antes de atornillar el brazo en la conexión de la tuberia vertical. Aplique cinta Teflon a los enrosques de la tuberia. No apriete demasiado la cabeza de la regadora.
PARA LA INSTALLACION DEL SURTIDOR DE LA BANERA: Refiérase a las instrucciones para la instalación suministradas con suURTidor. No connecte los surtidores para las instalaciones en las superficies horizontales en las valvulas Dentro de las paredes. No use las regaderas de mano en vez de unURTidor de bana conectado a una valvula de bana/regadora. No use la tuberia PEX como tuberia entre la valvula y el surtidor de la bana.

Instalacion deslizable
El tubo de cobre (1)Debe ser de 1 / 2 "de cobre nominal. Importante: Si es necessarioURTAR el tubo de cobre, el extremo debe biselarse que quede libre de rebabas para prevenir cortar o mellar el aro O Dentro del tubo de cobre. Deslice el surtidor sobre el tubo de cobre al ras con la bañera o la superficie de la pared acabada. Apriete el tornillo de ajuste (2), pero no apriete demasiado.

Instalacion de la tuberia de Hierro
Ilinstale una entrerrosca de tubo enroscado de 1 / 2^n (13 mm) (1) para extendere por delante de la pared acabada. Aplique cinta Teflon a las rocas en la entrerrosca de tubo y atornille elURTIDOR de la bana.

Instalación de Soldadura de Cobre
Quite el aro O (1) del adaptordo (2). Suelde el adaptador al tubo asegurando de mantener la soldadura lejos de las muesca del aro O. AVISO: NO SE PERMITE SOLDAR EN EL DIAMETRO EXTERIOR DEL ADAPTADOR ADJUNTO A LA MUESCA DEL ARO O. Corte el tubo (3) y colque otra vez el aro O en la muesca del adaptorado del laton. Atornille la bañera/surtidor al adaptador, asegurando no dañar el aro O, y apriete a mano bien hasta que el surtidor quede firmamente contra la pared acabada y no quede flojo detrás de la pared.
3
El Ajuste del Tope que Limita la Rotación

IMPORTANT:
El Ajuste del Tope que Limita la Rotación se usa para limitar la calidad de agua caliente disponible de manière que, si ajustado apropiadamente, el usuario no se quemará si la manija se gira accidentallycompletamente a "hot" ("caliente") cuando una persona se está duchando o llendo la bañera. La primera posición permite la canidad MINIMA de agua caliente mixta con la fria en el sistema. En la primera posición el agua está lo más fria possible cuando la manija se gira completenessa caliente. Mrientras que mueve el Ajuste del Tope que Limita la Rotación en direccion contrastario alas manecillas del reloj, progrisamente augmentaré el agua caliente en la mezcla más y más. La ultima posición a la izquierda es la de mayor calidad de agua caliente en la mezcla, y Tiene el mayor riesgo de lesión por quemadura si algoien accidentamente abre la manija de la valvula completenessa a la posición caliente cuando que se bána o llena la bañera.
ADVERTENCIA: En algunos casos, ajustar el Ajuste del Tope que Limita la Rotacion en la posicion más caliente (completely en el sentido contrario a la direccion de las manecillas del reloj) pueda resultar en lesión por quemadura. EsnecessaryajustarelTopequeLimita la Rotacion deformaqueel agua que sale de la valvula no queme o escalde al usuario cuando la manija de la valvula segira al bajo caliente.
De acuerdo con la mayoría de los estandares de laindustry,la temperatura maxima permissible del agua que sale es 120^ Sus codigos locales de plomeria能把 requérir una temperatura de agua menor de 120^
El Tope que Limita la Rotacion可以选择 recuperar el ajuste estacional si la temperatura del agua cambia. Por exemple, durante el
inviero, la temperatura del agua fria es más fria que durante el verano resultando en temperatas varidas en el agua de salute. Una temperatura de agua para un bajo o duchacomfortable típically es entre 90^ - 110^
Deje que el agua corra de manos que el agua fria está lo más fria possible y la caliente está lo más caliente possible. Coloque la manija en la espiga (vea la pagina 6, paso 4D) y gire la manija en direccion contraía las manecillas del reloj hasta que la manijapare.
Coloque el termómetro en un vaso plástico y sosténgalo bajo el chorro de agua. Si la temperatura de agua está por encima de 120^ el tope que limita la rotaciónDebe ajustarse或其他 vez moviéndolo en sentido de las manecillas del reloj para reducir la temperature del agua de salute de la valvula a menos de 120^ o para que cumpla con los requisitos de sus@códigos locales de plomería.
Paraaabstarla temperatura del agua que sale de la valvula,halele discoora vez a la posiciondonedespeecremovermeterelTope del LimoTetraconionalyreajusteelenengranaje de los dientesa la posicionpara la temperatura desea. Al mover en direction del manecillas del reoj reducirá la temperatura delagua de saliva,yalcontrarioaugentarayatemperatura del agua de saliva.El cambio de temperaturepadcanta(muesca)puede serde 4^ - 16^ dependiendo del condidon del agua de entrada.Si esnecessary repitalo.Presione el disco hasta que está asentado completely.ADVERTENCIA:Si no reinstala el Discosoon dehacer elajuste del Tope del Limitotraconational pudiera escaldarse conagua demasiado caliente.
ASEGURESE QUE EL AGUA FRIJA FLUYA DE LA VALVULA PRIMERO. ASEGURESE QUE EL AGUA QUE FLUYE DE LA VALVULA EN LA POSICION MÁS CALIENTE POSIBLE NO EXCEDA 120^ O EL MAXIMO PERMITIDO POR SUS CÓDIGOS LOCALES DE PLOMERIA.
Instalación de las Series 13 / 14
4
Instalación Final

A.
Deslice el aro O (1) sobre el cartucho y la tuerca tapa (2). El aro O, elrialfunciona como un separador para estabilizar la manga, debe quedar apoyado en la tuerca tapa.

B.

Si su modelo require un separator (1), insertelo en la manga (2) y empujelo hacía el ante. Deslice la manga sobre el cartucho, el cuero de la pieza y el aro O.

C.
Fije la roseta con orificio (1) y la placar de atrás (2) (si su modelo Tiene una) al soporte (3) using los 2 tornillos suministrados (4). No apriete demasiado los tornillos de la roseta.

D.
Instale la manija en la espiga, using una llave Allen para fazer el tornillo de ajuste.
1
Instalación del Cartucho

A.
Cierre los suministros de agua. Quite la cubierta (1), la tuerca tapa (2) y la tapa deprobe (3). Si no es para instalar en pared delgada,uede qutar el protector (4) deyesocomplete.Si la pantalla (5) está en lugar, quite antes de instalar el cartucho.

B.
Introduzca el adaptador (1) en la valvula. Asegürese que el adaptador estén correctamente colocados bajo de los orificios en la base de la valvula. Fije el adaptador con el tornillo (2) suministrado con el adaptador. Quite el retenedor (3) del adaptador.

C.
Gire el cartucho (1) de manière que las palabras 'HOT SIDE' (LADO CALIENTE) (2) aparezcan en la izquierda. Introduzca el cartucho en la valvula. Asegürese que la guía (3) en el cartucho está totalmente encajada en la muesca del cuero de latón (4). Deslice la tuerca tapa (5) sobre el cartucho y enrosque en el cuero de la valvula. Apriete a mano bien.
En las instalaciones dorso con dorso (el agua caliente en la derecha y la fria en la izquierda): Gire el cartucho (1) deforma que las manoseras "HOT SIDE" (LADO CALIENTE) (2) aparezcan en la derecha. Instale el cartucho asegurando que la guía quede totalmente encajada en la muesca de la pieza de latón. Deslice la tuerca tapa (3) sobre el cartucho y enrosque en el cuero de la valvula. Apriete a mano bien.
Instalación de la Serie 17
2
Instalación de la Cabeza de la Regadora y el Surtidor de la Bañera

A.
PARALAS INSTALACIONES DE LAS CABEZAS DE REGADERA: Conecte
la toma de salute de agua superior (1) al brazo de la regadora (2) con los accesos apropriados. Para prevenir dano al acabado del brazo de la regadora, introduzca el extremo que va hacer la pared del brazo de la regadora bajo del reborde (3) antes de atornillar el brazo en la conexión de la tuberia vertical. Aplique cinta Teflon® a los enrosques de la tuberia. No apriete demasiado la cabeza de la regadora.
PARA LA INSTALLACION DEL SURTIDOR DE LA BANERA: Refiérase a las instrucciones para la instalación suministradas con su surtidor. No connecte los surtadores para las instalaciones en las superficies horizontales en las valvulas bajo de las paredes. No use las regaderas de mano en vez de un surtidor de bañera conectado a una valvula de bañera/regadora. No use la tuberia PEX como tuberia entre la valvula y el surtidor de la bañera.

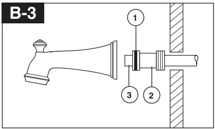
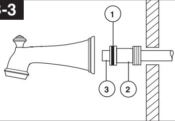
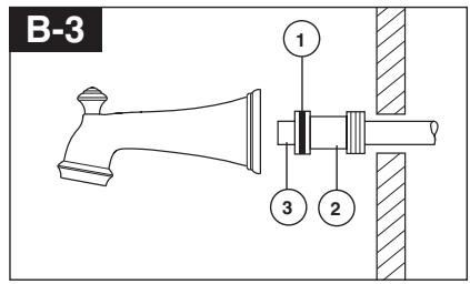
B-1

B-2

B-3
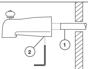
Instalacion deslizable
El tubo de cobre (1)Debe ser de 1 / 2" de cobre nominal. Importante: Si es necessarioURTar el tubo de cobre, el extremo debe biselarse quequede libre de rebabas para prevenir cortar o mellar el aro O bajo del tubo de cobre. Deslice el surtidor sobre el tubo de cobre al ras con la banaera o la superficie de la pared acababa.Apriete el tornillo de ajuste (2),pero no apriete demasiado.
Instalación de la tuberia de Hierro
Ilinstale una entrerrosca de tubo enroscado de 1 / 2^n (13 mm) (1) para extendere por delante de la pared acabada. Aplique cinta Teflon a las roscas en la entrerrosca de tubo y atornille elURTIDOR de la barrera.
Instalación de Soldadura de Cobre
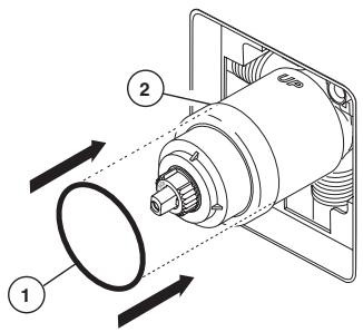
Quite el aro O (1) del adaptordo (2). Suelde el adaptador al tubo asegurando de mantener la soldadura lejos de las muesca del aro O. AVISO: NO SE PERMITE SOLDAR EN EL DIAMETRO EXTERIOR DEL ADAPTADOR ADJUNTO A LA MUESCA DEL ARO O. Corte el tubo (3) y colque otra vez el aro O en la muesca del adaptorado del laton. Atornille la bañera/surtidor al adaptador, asegurando no dañar el aro O, y apriete a mano bien hasta que el surtidor quede firmamente contra la pared acabada y no quede flojo detrás de la pared.
3
Instalación Final

A.
Deslice el aro O (1) sobre el cartucho y la tuerca tapa (2). El aro O, elrialfunciona como un separador para estabilizar la manga, debe quedar apoyado en la tuerca tapa.

B.
Deslice la manga (1) sobre el cartucho, el cuerpo de la pieza y el aro O.

C.
Fije la roseta con orificio (1) y la placar de atrás (2) (si su modelo tiene una) al soporte (3) usingoslos2tornillossuministrados(4). No apriete demasiado los tornillos de la roseta.

D.
Instale la manija de control del volumen (1) con la palance hacia la derecha, bajo girela a la posicion abierta. NO FIJE CON TORNILLO.
Instalación de la Serie 17
4
Instalación y Ajuste del Tope que Limita la Rotación

A.
Instalación y Ajuste del Tope que Limita la Rotación Coloque la perilla para el control de la temperatura (1) en la manija para controlar el volumen y gire a la posión mixta (si se requiere). NO FIJE CON TORNILLO. Abra los suministros de agua; deqe que el agua corra hasta que ambas, el agua caliente y la fria, estén lo más caliente/fría possible. Coloque el termómetro en un vaso plástico, y sostenga el vaso deabajo del chorro de agua. Tome nota de la temperatura.

C.
Fije la perilla para el control de la temperatura (1) con un tornillo (2) y coloco que a presión la cubierta del control (3) en la perilla. NOTE: Fije con un tornillo hasta que se reduzca el tambaee de la manija, NO APRIETE TOTALMENTE. Si aprieta demasiado no podra operar la perilla para el control de la temperatura fácilmente. El tornillo se cierra automatistically.

B.
Más Fria
Si la temperatura del agua es más de 120^ , que la perilla para el control de la temperatura (1) y gire el tope (2) en sentido de las manecillas del reloj un=diente por cada 4^ - 6^ (aproximamente) de cambio de temperatura. Si la temperatura del agua es más fria de lo deseado, gire el tope en sentido contrario de las manecillas del reloj.
IMPORTANTE: La primera posicion del tope que limita la rotacion (el pare) es aquella que limita más la rotacion de la espiga y es la que está en la colocacion maxima en sentido contrario a las manecillas del reloj. De acuerdo a los estandares de la industry, la temperatura maxima permitida del agua que sale de la valvula es 120^ F.Esta temperatura可以选择 variar en su area. Si el agua de entrada cambia de temperatura, se pueda重要因素ir el reajuste del tope que limita la rotacion. Por exemple, durante el invierno, la temperatura del agua fria es más fria que durante el verano, thise peut serrearun entemperatas variadas de agua de entrada. La temperatura típica para un bano o ducha agradable es entre 90^ - 110^ F.
1
Instalación del Cartucho

A.
Cierre los suministros de agua. Quite la cubierta (1), la tuerca tapa (2) y la tapa de pruneba (3). Si no es para instalar en pared delgada, pueda qutar el protector (4) de yesopleteto. Si la pantalla (5) está en lugar, quite antes de instalar el cartucho.

C.
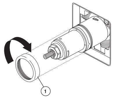
Deslice la tuerca tapa (1) sobre el cartucho y enrosque en el cuerpo de la valvula.
Apriete a mano bien.

B.
Gire el cartucho (1) de manière que la palabra "UP" (2) aparezca encima. Introduzca el cartucho en el cuero de la valvula como se muestra. Asegúrese que los tubos del cartucho y los aros O (3) estén debidamente sentados en los agujeros en la base del cuero. Asegúrese que los dentados estén Completely encajados en las muescas del cuero (4).

Instalación de Espalda a Espalda
En las instalaciones dorso con dorso (el agua caliente en la derecha y la fría en la izquierda): Gire el cartucho (1) asi que la palabra "UP" de (2) aparece en el fondo. Instale el cartucho asegurándose que los dentados estén Completely entanglados en las muescas en el cuero de bronce (vea la网页 B). Deslice la tuerca taps (3) sobre el cartucho y enrosque en el cuero de la valvula. Apriete a mano bien.
2
Instalación de la Cabeza de la Regadora y el Surtidor de la Bañera

PARALAS INSTALLACIONES DE LAS CABEZAS DE REGADERA: Conecte
la toma de salute de agua superior (1) al brazo de la regadora (2) con los accesosapiros apropriados. Para prevenir dano al acabado del brazo de la regadora, introduzca el extremo que va hacia la pared del brazo de la regadora bajo del reborde (3) antes de atornillar el brazo en la conexion de la tuberia vertical. Aplique cinta Teflon@ a los enrosques de la tuberia. No apriete demasiado la cabeza de la regadora.
PARA LA INSTALLACION DEL SURTIDOR DE LA BANERA: Refiérase a las instrucciones para la instalación suministradas con suURTidor. No conecte los surtidores para las instalaciones en las superficies horizontales en las valvulas bajo de las paredes. No use las regaderas de mano en vez de unURTidor de bānera conectado a una valvula de bānera/regadora. No use la tuberia PEX como tuberia entre la valvula y el surtidor de la bānera.



Instalacion deslizable
El tubo de cobre (1)Debe ser de 1 / 2 de cobre nominal. Importante: Si es besoinarioURTar el tubo de cobre, el extremo debe biselarse quequede libre de rebabas para prevenir cortar o mellar el aro O bajo del tubo de cobre. Deslice el surtidor sobre el tubo de cobre al ras con la banaera o la superficie de la pared acababa.Apriete el tornillo de ajuste (2),pero no apriete demasiado.
Instalación de la tuberia de Hierro
Ilnstale una entrezrosca de tubo enroscado de 1 / 2^n (13 mm) (1) para extendere por delante de la pared acabada. Aplique cinta Teflon a las rocas en la entrezrosca de tubo y atornille elURTIDOR de la bana.
Instalación de Soldadura de Cobre
Quite el aro O (1) del adaptorder (2). Suelde el adaptador al tubo asegurando de mantener la soldadura lejos de las muesca del aro O. AVISO: NO SE PERMITE SOLDAR EN EL DIAMETRO EXTERIOR DEL ADAPTADOR ADJUNTO A LA MUESCA DEL ARO O. Corte el tubo (3) y colque otherv el aro O en la muesca del adaptorder de laton. Atornille la bañera/surtidor al adaptador, asegurando no dañar el aro O, y apriete a mano bien hasta que el surtidor quede firmamente contra la pared acabada y no quede flojo detrás de la pared.
3
Instalacion Final
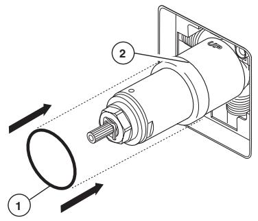
A.

Deslice el aro O (1) sobre el cartucho y la tuerca tapa (2). El aro O, el cuales funciona como un separator para estabilizar la manga, deben quedar apoyado en la tuerca tapa.
B.

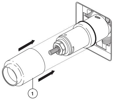
Deslice la manga (1) sobre el cartucho, el cuerpo de la pieza y el aro O.
C.

Fije la roseta con orificio (1) al soporte (2) usingo los 2 tornillos suministrados (3).No apriete demasiado los tornillos de la roseta.
D.

Instale la manija de control del volumen (1) con la palianca hacía la derecha, bajo gírela a la posición abierta. NO FIJE CON TORNILLO.
Instalación de la Serie 17T
4
Instalacion y Ajuste del Pomo de Temperatura El no hacerlo pueda causar lesion.

Ajuste el tope del limite de temperatura!
Abra los suministros de agua;cede que corra el agua caliente y fría totalmente abierta para asegurar que el agua está fluyendo lo más caliente/friña posible. Coloque un termómetro en un vaso plástico, y sostenga el vaso bajo un chorro de agua. Coloque la perilla de temperatura (1) en las ranuras (2), bajo gire la perilla de temperatura hasta que logre su temperatura maxima deseada de salute (no más de 120^ o la temperatura
más bajo autorizada por su número local de plomería). Quite el pomo de la temperatura y colóquela other vez en las ranuras (2), asegurándose que el pomo del tope del limite de la temperatura (3) pegue contra la manija del tope del limite del volumen (4) como se muestra. Fije la manija para el ajuste del volumen con un tornillo de ajuste (5). Fije el pomo de la temperatura usingo un tornillo (6) y coloque la tapa (7) en el pomo.
Limpieza y Cuidado de su Llave
Tenga cuidado al ir a limpiar este producto.
Aunque su acabado es sumamente durable, puede ser afectado por agentes de limpieza o para pulir abrasivos. Para limpiar su llave, simplemente frótea con un trapo húmedo y bajo sequela con una toalla suave.
iADVERTENCIA! No se pueda usar SCRUBBING BUBBLESBATHROOM CLEANER o LYSOL® BASIN TUB AND TILE CLEANER en las manijas transparentes. El uso de这些东西 productosSEOuen resultar en manijas rajados o severamente dañados. Si这些东西 productos caen sobre la manija,seoeliminatamente conuna toalla de algodón suave.
Mantenimiento de las Series 13 / 14
La llave Tiene fugas de agua en la
salida de tina/cabeza deregada-CIERRE LOS SUMINISTROS DE AGUA.
Reemplace Asientos y Resortes-Equipo de
Repairaciones RP4993 Verifica el condidon de los
anillos "O" más bajo y repongados si sera requisiteo RP14414.Vea Sugerencias Utiles 1,2,y 3.
Si la fuga de agua persistsé
CIERRRE LOS SUMINISTROS DE AGUA.
Reemplace el ensamble de Tapón Equipo de Reparaciones RP46070 o cartucho de valvula RP46074. Vea Sugerencia Utilles 1, 2, 3 y 5.
No se puedamantener temperatura de agua constante:
Reemplace ensamble de caja con RP46071 o viguellos instrucciones en Sugerencias Utiles 1,2,4 y 5.
Sugerencia Utilities:
-
Antes de remover el ensamble del cartucho de la valvula para hacerle该如何rialquier service, fijse en la posicdo del tope del limite rotaconal ubicado en la tapa. Siempre se debe reponer el ensamble de cartucho de valvula en el mesmo posicion. TENGACUIDADO despues de cumplir el instalacion delvuelta a la valvula para asegurar que AGUA FRIASALGA PRIMERO.
-
Para quitar el cartucho de valvula del cuerpo, cierre los suministros de agua y quite el maneral y
bonete. No se debe quitar el cartucho de valvula del cuero con atornillador. Ponga el maneral encima el vástago y giralo en el sentido contrario al de las agujas del reloj aproximado 1/4 vuelta. Levanta el cartucho de valvula aguera el cuero. 3. Para quitar los asientos y resortes,quite el cartucho de valvula, (vea arriba).Segara ensamble de boton de ensamble de caja girando el boton 90o en el sentido contrario al de las agujas del reloj. Separa ensambles de boton y caja. Quite los asientos y resortes y ponga los asientos y resortes nuevos. Ponga primero el diametro mas grande del resorte adentro la bolsa del asiento y luigo apreta el remate ahusado del selloacia arriba el resorte. Reensembla el cartucho de valvula y repongalo en el cuero siguingdo los instrueraciones ennota 1 arriba. 4. Si la agua en su area contiene cal, orin, arena others contaminamientos, su valvula de equilibrio de presion requerar inspections periodico. La frequencia de los inspections depende en el tamanfo de contaminaminaciones en la agua. Para inspector el cartucho, quite el cartucho, sigue los pasos apuntado ennota 1 arriba.Dele vuelta al valvula hasta el posicion Completely mixto y sacude el cartucho riguroso.Si haytraqueeto, referencia el unidad y suepe reinstalar siguingdo notable 1 de arriba.Si no haytraqueeto, reimplace el ensamble de caja (RP46071). 5.Presione el disco hasta que está asentedo completeness.Vea la page 5 para mas detalles.
Mantenimiento de la Serie 17
No puede recibir más de un goteo de agua: Debe de hacerse sobrepresión en ambas lines de suministro de agua caliente y fria. Si solamente se le hace presión a un solo bajo, el sistemas de presión balaceada no permitirá que el agua corra adequadamamente.
La manija para el control del volumen rota 360
grados o no está en la posicion correcta de
acuerdo al espejo de popa. (El manguito también
está flojo).Las llaves del cartacho no han sido
apropriamente colocadas en el chavetero en el
cuero de bronce o las llaves en el cartacho han
sido cortadas por causa de instalacion inapropiada.
ASEGURESE DE CORREGIR esta SITUACION
INIMEDIATAMENTE.
No puede recibir suficiente agua caliente: Ver el paso 3 y/o examine la temperatura del calentador de agua.
Si la llave Tiene filtraciones del tubo de calidad de la bañera/regadora: CIERRE LOS SUMINISTROS DE AGUA. Reemplace los asientos, resorts y seslos de goma - Equipo de Reparación RP46073.
Si la filtracion persiste: CIERRE LOS SUMINISTROS DE AGUA. Reemplase el ensamble del cartucho - RP46463
Incapaz de Maintener una temperatura de agua constante: CIERRE LOS SUMINISTRO DE AGUA. Quite el ensemble del cartucho, Agitelo de lado a lado. El carrete debe de sonar dentro del manguito. Si no hay sonido,uede ser que el carrete este atascado. El carrete se pueda soltar golpea ndolo de lado a lado contra la palma de su mano. Si el carrete no pueda soltarse reemplaze el ensemble del cartucho-RP46463
NOTA: Si el agua en su area contiene cal, moho, arena, u Others contaminantes su valvula de presion balanceada requireirarinspection periodica. La fecuencia de la inspectede dependera de la cantidad de contaminantes en el agua. Para inspeccionar el cartucho, saque el cartucho del cuerpo y agitelo rigurosamente. Si hay un ruido (traqueteo) launidad es funcional y可以更好 ser reinstalada en su posicion anterior. Si no haytraqueteo, reimplace el cartucho con la pieza RP46463.
Mantenimiento de la Serie 17T
Si la llave de agua tiene una filtración o escape de agua desde el surtidor o la cabeza de la regadora: CIERRE LOS SUMINISTROS DE AGUA. Cambie el Ensemblé del cartucho -Piezas de Repuesto RP47201.
Hoja resumen de referencia para el cartucho
Unidades enviadas en Marcha de 2006 y afterwards.
Los cartuos del reemplazo enviaron en julio de 2006 y después.

MultiChoice® 13/14
Ordene el Repuesto RP46074 para cambio el cartucho.

Viejo Monitor® 1300/1400

Nuevo Monitor® 1300/1400

17
Ordene el Repuesto RP46463 para cambio el cartucho.

1700
Ordene el Repuesto RP32104 para cambio el cartucho.
No
Applicable

17T
Ordene el Repuesto RP47201 para cambio el cartucho.
No Applicable No ajusta
No Applicable

Refer to page 16 for more information. / Consulte con la página 16 para más información. / Pour Obtener de plus amples renseignements, reportez-vous à la page 16.
T17078, T17278 & T17478 Models / Modelos / Modèles

Refer to page 16 for more information. / Consulte con la网页 16 para más información. / Pour Obtener de plus amples renseignements, reportez-vous à la page 16.
T17082,T17085,T17282,T17285,T17482 & T17485

Refer to page 16 for more information. / Consulte con la página 16 para más información. / Pour Obtener de plus amples renseignements, reportez-vous à la page 16.
T17092,T17292 & T17492 Models / Modelos / Modèles


Refer to page 16 for more information. / Consulte con la página 16 para más información. / Pour Obtir de plus amples renseignements, reportez-vous à la page 16.
T17T030,T17T230 & T17T430 Models / Modelos / Modèles


RP38452
Shower Flange
Pestana de la Regadora
Collerette

Refer to page 16 for more information. / Consulte con la网页 16 para más información. / Pour Obténir de plus amples renseignements, reportez-vous à la page 16.


Refer to page 16 for more information. / Consulte con la网页 16 para más información. / Pour Obtener de plus amples renseignements, reportez-vous à la page 16.


RP38452
Shower Flange
Pestana de la Regadera
Collerette


RP47198Temperature Knob, Cover & Screw Perilla de la Temperatura, Cubierta y Tornillo Poignee de Reglage de Temperature et Vis
Specify Finish Especifique el Acabado Precisez le Fini

RP42576 Tub Spout/Pull-Down Diverter Tubo de Salida para Bañera/Desviador de Halar Bec/AVEC Derivation sur Embout
Refer to page 16 for more information. / Consulte con la頁a 16 para mas informacion. Pour Obtir de plus amples renseignements, reportez-vous a la page 16.


RP52144
Shower Flange
Pestana de la Regadora
Collerette

Refer to page 16 for more information. / Consulte con la网页 16 para más información. / Pour Obtener de plus amples renseignements, reportez-vous à la page 16.


RP34356▲
Shower Flange
Pestana de la Regadora
Collerette

Refer to page 16 for more information. / Consulte con la頁a 16 para mas informacion. / Pour Obtir de plus amples renseignements, reportez-vous a la page 16.




Refer to page 16 for more information. / Consulte con la頁a 16 para mas informacion. / Pour obtenir de plus amples renseignements, reportez-vous a la page 16.
T17T082,T17T085,T17T282,T17T285,T17T482 & T17T485

Refer to page 16 for more information. / Consulte con la página 16 para más información. / Pour Obtener de plus amples renseignements, reportez-vous à la page 16.


RP46872▲
Shower Flange
Pestaña de la Regadora
Collerette

Refer to page 16 for more information. / Consulte con la网页 16 para más información. / Pour Obtener de plus amples renseignements, reportez-vous à la page 16.


Refer to page 16 for more information. / Consulte con la página 16 para más información. / Pour Obtener de plus amples renseignements, reportez-vous à la page 16.
Notes / Notas / Notes

DELTA
DeltaFaucetCompany
Product Service
55 E. 111th Street
Indianapolis, IN 46280
ManualFácil