630A ARC - Tapis de course CYBEX INTERNATIONAL - Notice d'utilisation et mode d'emploi gratuit
Retrouvez gratuitement la notice de l'appareil 630A ARC CYBEX INTERNATIONAL au format PDF.
| Type d'appareil | Tapis de course |
| Usage | Cardiovasculaire |
| Vitesse maximale | Non précisé |
| Inclinaison | Non précisé |
| Surface de course | Non précisé |
| Poids maximal utilisateur | Non précisé |
| Programmes d'entraînement | Non précisé |
| Écran | Non précisé |
| Capteurs cardiaques | Oui |
| Alimentation | Électrique |
| Dimensions | Non précisé |
| Poids de l'appareil | Non précisé |
| Roues de transport | Oui |
| Type de moteur | Non précisé |
| Garantie | Non précisé |
FOIRE AUX QUESTIONS - 630A ARC CYBEX INTERNATIONAL
Questions des utilisateurs sur 630A ARC CYBEX INTERNATIONAL
0 question sur cet appareil. Repondez a celles que vous connaissez ou posez la votre.
Poser une nouvelle question sur cet appareil
Téléchargez la notice de votre Tapis de course au format PDF gratuitement ! Retrouvez votre notice 630A ARC - CYBEX INTERNATIONAL et reprennez votre appareil électronique en main. Sur cette page sont publiés tous les documents nécessaires à l'utilisation de votre appareil 630A ARC de la marque CYBEX INTERNATIONAL.
MODE D'EMPLOI 630A ARC CYBEX INTERNATIONAL
Cybex Arc Trainer® 630A
Manuel du propriétaire de tapis de course
Systèmes cardiovasculaires
Numero d'article 5630A-2 Rev K

Cybex Arc Trainer® 630A
Manuel du propriétaire de tapis de course
Systèmes cardiovascularaires
Numero d'article 5630A-2 Rev K
Cybex® et le logo Cybex sont des marques déposées de Cybex International, Inc.
Polar® est une marque déposée de Polar.
Arc Trainer® et le logo sont des marques déposées de Cybex International, Inc.
CLAUSE DE NON-RESPONSABILITE : Cybex International, Inc. ne fait aucune déclaration et n'offre aucune garantie quant au contenu de ce guide. Nous nous réservons le droit de réviser ce document à tout moment et d'apporter des modifications au produit décrit dans ce document, sans préavis ni obligation d'avertir quiconque de telles révisions ou modifications.
© 2008 Cybex International, Inc. Tous droits réservés. Imprimé aux Etats-Unis d'Amérique.
10 Trotter Drive Medway, MA 02053 • 888-462-9239 • 508-533-4300 • FAX 508-533-5183
A propos de ce manuel
Un manuel de propriétaire est expédé avec chaque apparéil. Pour acheter des exemplaires supplémentaires de ce manuel ou de tout autre manuel Cybex, veuillez désir l'un des moyens suivants :
- Faxez vos commandes au 508 533 5183 ou contactez le Service à la clientèle Cybex en composant le 1 888 462 9239
- contacter le service à la clientèle Cybex en composant le 1 508 533 4300
Voussouspuvez communiqueraCybex tous commentaires eventuels sur ce manuel,par e-mail, a techpubs@cybexintl.com.
Informations relatives à la conformité à la réglementation de la FCC
! AVENTISSEMENT : Les modifications apportées à cette unité sans l'approbation expresse de la partie responsable de la conformité pourrait annuler la capacité de l'utilisateur à utiliser l'équipement.
Cet équipement a ete soumis à des essais et jugé conforme aux limites d'un apparil numérique de classe B, en vertu de la partie 15 des règlements de la FCC. Ces limites sont conçues pour assurer une protection raisonnable contre le brouillage préjudicable dans une installation résidentielle. Cet équipement génére, utilise et peut émettre de l'énergie radiofréquence et, s'il n'est pas installé et utilise conformément aux instructions, peut provoquer du brouillage préjudiciable aux communications radio. Toutefois, il est possible que ce brouillage ne se produit pas dans une installation particulière. Si cet équipement génére du brouillage préjudicable à la réception radio ou de programmes de télévision (il suffit, pour le déterminer, demettre sous tension puis hors tension l'équipement), il est recommendé à l'utiliser d'essayer de corriger le brouillage en prénant l'une des mesures suivantes :
- Réorienter ou repositionner l'antenne de réception.
- Augmenter la distance entre l'équipement et le récepteur.
- Brancher l'équipement dans une prise se trouvant sur un circuit différent de celui auquel le récepteur est connecté.
- Demander de l'aide au distributeur ou à un technicien de radio- télévision qualifié.
Table des matières
Pages de couverture
A propos de ce guide .
Informations relatives à la conformité FCC. . . .i
Table des matieres iii
1 Sécurité
Informations importantes sur la tension . . . .1- 1
Instructions relatives à la mise à terre. . . . .1-1
Instructions importantes sur la sécurité . . . .1-2
Autocollants d'avertissement 1-5
Autocollants d'advertissement
pour les apparèils avec bloc
d'alimentation c.a. 1-7
Autocollants de mise en garde 1-8
Explication des symboles utilisés 1-9
Charakteristiques 2-1
3 Utilisation
Termes et symboles utilisés 3-1
Utilisation prévue. 3-2
Guide d'utilisation rapide. 3-3
Guide d'utilisation détaillée 3-3
Arrêt de l'Arc Trainer 630A .3-7
Détection de présence 3-7
Commandependant l'utilisation. 3-7
Lecture des données. 3-8
Affichage du rythme cardiaque. 3-9
DEL du rythme cardiaque 3-9
Utilisation des programmes. 3-10
Mode manuel 3-11
Profil de I'exercice. 3-11
Amplitude du mouvement 3-11
Intervalle Cote. 3-13
Intervalle 3-15
Perte de poids. 3-17
Cardio 3-19
Force. 3-21
Manuel. 3-23
4 Maintenance préventive
Avertissements 4-1
Activités de maintenance régulières 4-1
Nettoyage de votre Arc Trainer 630A . . . . .4-2
Entretien de la courroie d'entrainement . . .4-3
Graissage 4-5
Environnement 4-5
Entreposage 4-5
Calendrier d'entretien 4-6
5 Assemblage et configuration
Avertissements et mises en garde .5-1
Choix et préparation d'un emplacement. . . .5-1
Configurationélectrique .5-2
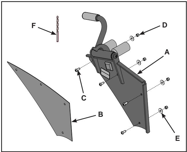
Assemblage de l'Arc Trainer 630A . . . . . . .5-2
Essai de fonctionnement. 5-11
Définition des options d'utilisation. 5-12
Moniteur personnel audio-video Cybex - Optionnel. .5-13
Bras de calage du Total Access - Optionnel. .5-17
Poignée latérale - Optionnelle. .5-18
6 Service à la clientèle
Contact 6-1
Numéro de série et tension. 6-1
Autorisation de回头 de marchandise (ARM). .6-2
Pièces endommagées. 6-3
Poignée du système de détction du rythme cardiaque 6-6
Vue éclatee - Partie principale 6-7
Vue éclatee - Partie principale 6-8
Listedespieces-Console.6-10
Vue éclatee - Console. 6-11
List des pieces - Extrémité avant . . . . . . . . . . . . . . . . . . . . . . . . . . . . . . . . . . . . . . . . . . . . . . . . . . . . . . . . . . . . . . . . . . . . . . . . . . . . . . . . . . . . - 6-12
Vue éclatee - Extrémité avant. 6-13
Scheme. 6-15
1 - Sécurité
IMPORTANT: Lisez toutes les instructions et averissements avant d'utiliser le tapis de course.
Informations relatives au voltage
REMARQUE: Le cordon d'alimentation est fourni avec la trousse d'alimentation c.a. optionnelle
AVERTISSEMENT: Ne branche pas la machine à la prise de courant murale sans un cordon d'alimentation Médicale approvéd.
Avant de brancher le cordon d'alimentation à une prise de courant, vérifie si les specifications locales de tension électrique correspondent à la tension de la machine qui vous a été livrée.
Instructions de mise à la terre
Ce tapis de course doit être mis à la terre. S'il ne fonctionne pas correctement ou s'il ne fonctionne plus, la mise à la terre de l'appareil réduit le danger de choses électrique. Ce produit est livré avec un cable et une fiche de terre. La fiche doit être branchée dans une prise correctement installée et mise à la terre conformément aux règlements locaux.

AW-19522 EW600005 AW-19587 AW-19521
115 VCA 220 VCA 100 VCA 230 VCA
! DANGER:
Une connexion incorrecte peut provoquer un danger de chocolélectrique. Consultez un électricien qualifié si vous avez des doutes quant à la mise à la terre correcte du tapis de course. Demandez un électricien qualifié pour toute modification sur le cable ou sur la prise. Cybex décline toute responsabilité pour des blessures ou des dommages resultant d'une modification du cable ou de la prise.
Assurez-vous que la machine est branchée à une prise ayant la même configuration que la fiche. N'utilise pas d'adaptateur de fiche de mise à la terre pour adapter le cordon d'alimentation à une prise non mise à la terre.
Instructions de sécurité
(Conservez ces instructions)
! DANGER: Afin de réduire le risque de chic électrique, débranchez toujours le tapis de course immédiatement après l'utilisation et avant de le nettoyer.
! AVERTISSEMENT: L'inobservation de ces mesures de précaution peut provoquer des blessures graves. Afin de réduire les risques de brûlure, d'incendie, de chic électrique ou de blessure:
Mesures de sécurité D'Utilisateur
- Tenir les enfants éloignés. Les adolescents et les handicapés doivent être surveillés. Keep children away. Teenagers and disabled must be supervised.
- Lire les instructions avant toute utilisation. Obtain instruction before using.
- Attendre arrêt complet des repose pieds avant de descendre. Wait until foot plates come to a complete stop before dismounting.
- Consultez unmedicinean avant de reprendre un entrainment.
Si vous ressentez le moindre mal ou malaise arrêtez immédiatement l'exercice. - Soyez sur d'avoir lu et compris le manuel d'utilisation avant toute utilisation.
- Ne portez pas d'habits trop larges et flottants durant l'exercice.
Eloignez tout vêtement, serviette ou objet des parties tournantes.
Utilisez les supports pour obtenir ou rétablier votre équilibre. - Le tapis est interdirit aux personnes de plus de 180kg .
- Remplacez toute information de sécurité si abîmees ou illisibles.
- Avertisez votre responsable de club de toutes malfonctions ou dommages.
Mesures de sécurité De Service
- Lire le manuel du propriétaire prudèment avant d'assembler, entretenir ou à l'aide de l'équipement.
- Ancrer solidement chaque machine à l'étage en utilisant les troughs d'ancre fournis dans chacun machine.
- S'assurer que chaque machine est installée et opérée une surface de niveau pleine. Pas installer l'équipement sur une surface inégale.
- S'assurer que tous les utilisateurs sont correctement formés sur la façon dont utiliser l'équipement.
Assurez-vous qu'il y a suffisamment de place pour acceder à l'équipment et l'utiliser en toute sécurité.
S'assurer qu'il y a assez de piece pour l'accès et le fonctionnement sûrs de l'équipement. - Exécuter les contrôle d'entretien réguliers sur l'équipement. Préter en outre une attention particulière à tous secteurs les plus susceptibles de l'utilisation, y compris (mais non limité) des câbles, des poulies, ceintures et poignées.
- Remplacer immédiatement les composants usés ou endommages. S'incapable de rem placer immédiatement porté ou les composants endommages enlevent alors du service jusqu'à ce que soit dépanné.
- Employer seulement les composants fournis par Cybex à maintain/repair l'équipement.
- N'utilisez pas la machine si: elle est branchée à un adaptateur d'alimentation optionnel dont le cordon est endommagé; (2) elle ne fonctionne pas correctement (3) elle a chuté ou elle est endommagée. Demandez les services d'un technicien qualifié.
Garder une notation de réparation de toutes les activités d'entretien.
L'ÉQUIPEMENT ne doit pas être utilisé en présence d'un MELANGE ANESTHESIQUE INFLAMMABLE - AIR, OXYGENE ou OXYDE D'AZOTE. - Inspector tous les cables et ceintures et raccordements avant l'utilisation. Ne pas employer si aucun composant sont portés, frangés ou endommages.
Le 630A peut produit des interférences electromagnétiques ou autres ou être perturbé par les interférences causées par un autre équipement se trouvant à proximité. Dans ce cas, voiriez à mesure l'équipment à l'écart ou à le protégger pour éviter de telles interférences.
REMARQUE: Il incombe à l'utilisateur/au propriétaire ou au technicien de l'installation de s'assurer que la maintenance est effectue régulièrement.
Machines Arc Trainer comprenant les options A/V
- Les machines branchées à l'équipement Cybex doivent être conformes aux normes de sécurité appropriées. Ces normes comprennent, notamment mais non exclusivement: (UL-60601, IEC/EN 60601-1) pour l'équipement Médical.
- Le montage mécanique de la machine doit être ajustat dans toutes les combinaisons (configurations).
L'appareil doit demeurer stable sur la machine quelle que soit la configuration.
Le courant de risque et le courant de fuite des combinaisons finale doivent être conformes à la norme IEC/EN 60601-1-1 et l'utilisateur final est tenu d'assurer cette conformité.
L'immunité et les émissions electromagnétiques de toutes les configurations doivent être conformes à la norme IEC/EN 60601-1-2.
- Tous les apparciels ajoutés doivent comprendre une interface compatible.
- Tous les apparêls doivent être utilisés aux fins prévues.
- Des apparils de signalisation ou d'isolation de réseau ou une mise à la terre supplémentaire aux fins de protection peuvent être nécessaires pour assurer la conformité à la norme IEC/EN 60601-1-1.
- Ne branchez pas l'ensemble du système à une prise ou à une bande d'alimentation unique. Si vous utilisez la machine avec l'alimentation electrique optionnelle, assurez-vous que le bloc d'alimentation est branché à une prise distincte de celle utilisée pour tout autre apparéil, afin d'éviter de dépasser le courant de fuite autorisé du système.
- L'utilisateur final d'un système est tenu de s'assurer que l'interruption et le rétablissement de l'alimentation électrique de tout équipement ou d'un équipement non Médical du système n'entrainment pas un risque d'accident autre qu'une interruption ou un arrêt de son fonctionnement prévu.
Lisez et assurez-vous que vous comprendez les informations suivantes:
- Les autocollants d'ajretissement
- Les autocollants de précaution
REMARQUE : Pour remplacer des autocollants usés ou endommages, procédez selon l'une des méthodes suivantes : Faxez vos commandes au 508 533 5183 ou contactez le Service à la clientèle Cybex en composant le 1 888 462 9239. Si vous vivez hors des États-Unis, composez le 1 508 533 4300
Les autocollants d'advertissement
Les autocollants d'advertissement indiquent une situation potentiellement dangereuse qui, si elle n'est pas évitée, peut provoquer la mort ou des blessures sérieues. Voir ci-dessous.

Numéro de la piece d'avertissement de décalque 610A-349-2

AVERTISSEMENT
LA NON-OBSERVATION DE CES MESURES DE SECURITE PEUT ENTRAINER DE GRAVES BLESSURES.
Tenez les enfants à l'ecart. Les adolescents et les handicapés doivent être surveillées.
Procurez-vous les instructions avant d'utiliser l'appareil.
Attendez l'arrêt complet des repose-pieds avant demettre pied à terre.
Passez une visite médicale avant de commencer un programme d'exercice physique.
Arrietz l'exercice en cas d'etourdissement, de vertiges ou de douleur.
Maintenez la surface des reposepieds propre et sèche.
Lisez attentivement le manuel du propriétaire ainsi que tous les avertissements apposés sur l'appareil avant d'utiliser celui-ci.
NE portez PAS de vêtements évasés ou quipendont lorsquyouutilizez l'appareil.
Maintenez toutes les parties du corps, les serviettes et autres objets à l'écart des pièces mobiles.
Utilisez les poignées pour vous soutenir et garder l'équilibre.
N'utilisez PAS l'appareil si vous pesez plus de 400 lb (180 kg) (poids nominal maximum de l'utilisateur).
Remplacez tous les autocollants d'aver-tissement endommages, usés ou illisibles.
Signalez tous dommages, defaillances et réparations requises au personnel de l'établissement.
610A-349-2 A


Autocollants de mise en garde pour les machines complarent un ensemble d'alimentation c.a.

Numéro de la pièce d'avertissement de décalque CM000240

WARNING W RNNUN AVERTISSEMENT
警告
WARNING
DISCONNECT
POWER
BEFORE
SERVICING.
T DÉBRANCHEZ
L'ALIMENTATION
AVANT DE FAIRE
L'ENTRETIEN
VOR
SERVICEAR
BEITEN
NETZSTECKER
ZIEHEN.
CORTE LA
ENERGIA
ELECTRICA
ANTES DE
REPARAR.
修理点査の前に
KOPPLA
IFRAN
切了下。
STRÖMMEN
INNAN SERVICE
UTFORS.
CM000240

Numero de la pierce
d'avertissement de décalque
DE-19547-4

AVENTISSEMENT
Branchement à une prise de qualité Médicale uniquement pour garantir une mise à la terre ajustée.
Tension: 100-240 VCA~
50/60Hz
0.75 A
Courant monophase

DE-19547-2
Les autocollants de précaution
Les autocollants de précaution indiquent une situation potentiellement dangereuse qui, si elle n'est pas évitée, peut provoquer des blessures plus ou moins légères. Voir ci-dessous.

PRECAUTION
Tenez les mains élignées des pieces en mouvement.
DE-17219-2 A
Nombre de la piece de décalque
d'attention - DE-17219-2
NOTE: Ce décalque est situé des deux côtés de l'unité dans un total de 4 endroits.
Explication des symboles utilisés











Equipement de classe II - Classifie l'equipement: classe II avec double isolation.
Pierre de type BF - Classifie l'équipement: type BF, assurant la protection contre les chocs électriques.
CE - La marque CE (Conformité européen) est une approbation de l'Union européen indiquant qu'un produit est conforme à une directive européen.
Pause/bin - Appuyez sur cette touche pour faire une pause dans le programme.
Démarrage rapide - Appuyez sur cette touche pour sauter le mode programmation et entraire en mode manuel.
Touché de déplacement vers le haut - Cette touche permet d'augmenter les valeurs de chronomètre, de niveau ou de poids.
Touché de déplacement vers le bas - Cette touche permet de diminuer les valeurs de chronomètre, de niveau ou de poids.
Flèche de déplacement vers le haut - Cette touche permet d'augmenter l'inclinaison.
Flèche de déplacement vers le bas - Cette touche permet de diminuer l'inclinaison.
Augmentation de niveau - Cette touche permet d'augmenter le niveau.
Diminution de niveau - Cette touche permet de diminuer le niveau.
2 - Spécifications techniques
Specifications
| Longueur: | 82" (208cm) NOTE: Lorsque la plus forte inclinaison est utilisé, la |
| longueur sera augmentée à 93"(236 cm). | |
| Largeur: | 30"(76cm) NOTE: Cette mesure est prise sans le support deouteille d'eau. La largeur prise avec le support deouteille d'eau et les accoudoirs en place est de 37" (94cm). |
| Hauteur: | 59" (150cm). |
| Poids du produit: | 450 lbs. (204 kg). |
| Poids à la livraison: | 475 lbs. (215 kg). |
| Niveaux d'inclinaison: | 11 (illustrés par une échelle de 0 à 10% en gradation unitaire de 1). |
| Niveaux de résistance: | 101 (illustrés par une échelle de 1 à 100% en gradation unitaire de 1). |
| Longueur de pas: | 24" (61cm) longueur fixe. |
| Programmes: | Départ rapide et manuel, perte de poids, cardio, à intervalles, collines et force. |
| Caractéristiques de la console: | Console supérieure: Matrice de points du programme, afficheur à larges diodes électroluminescentes de 1" pour indiquer la distance, les calories, les calories/heure, la métrologie, les watts, les pas par minute et le rythme cardiaque. Console inférieure: afficheur de résistance à diodes électroluminescentes et afficheur à double fonction de temps et d'inclinaison. |
| Caractéristiques pour rythme cardiaque: | Récepteur intégré sans fil de rythme cardique (le transmetteur de mesure n'est pas compris) |
| Couleurs du chàssis: | De série: Fini blanc, fini noir, or métallisé, chrome noir, platine réflectorisante. |
| Plage de résistance: | 0-900 watt |
| Poids maximal d'utilisation: | 400 lbs. (181 kg) |
| Caractéristiques nominales de puissance: | Autonome ou 100 - 240 VCA~, 50/60 Hz, 0,75 A, monophase. |
| Autres: | Porte-bouteille. |
| Options: | Commandes de volume et de canal sur la membrane inférieure d'interrupteurs pour récepteur audiovisuel et ensemble d'alimentation c.a. |

Cette page est intentionnellement vide.
3 - Utilisation
Lisez toutes les instructions et tous les avertissements et assurez-vous de bien les comprendre avant d'utiliser cet apparéil. Reportez-vous aux informations relatives à la sécurité du chapitre 1.
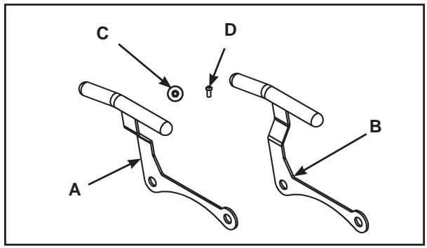
REMARQUE : Les apparèils standard sont pourvus d'une touche Pause/end (Pause/bin) et d'une touche Resistance (Résistance). Reportez vous à la figure 1A. Les apparèils Total Access sont pourvus d'une touche Stop (Arrêt) et d'une touche Load (Charge). Reportez vous à la figure 1B.
Termes et symboles utilisés
Cette section dresse la liste de certains des termes et symboles courants utilisés dans ce chapitre. D'autres termes et symboles y sont cités, selon les besoin.
Mode Dormant - Lorsque l'appareil n'est pas utilisé, il passé en mode Dormant. En mode Dormant, le tableau des commandes affiche un cœur qui bat. REMARQUE: Le mode Dormant ne s'active que lorsque l'Arc est utilisé avec l'adaptateur de courant optionnel.
Mode Program Setup - (Mode Configuration de programme) Ce mode est lancéès que l'on appuie sur une touche de programme. À la sélection d'un programme, les DEL clignotent, invitant l'utilisateur à définir les paramétres appropriés.
Mode Actif - Ce mode est lancéès que l'on appuie sur la touche Quick Start (Départ rapide) (mode Manuel), ou après la sélection du mode Program Setup (Configuration de programme). Le lancement du mode Actif est marqué par une longue tonalité. Il demeure activé jusqu'à ce que l'utilisateur ait atteint la fin d'un programme, qu'il appuie sur la touche Pause/end (Stop) ou qu'il arrêté de marcher.
Quick Start - (Départ rapide) Ce mode est lancé dés que l'on appuie sur la touche Quick Start. Quick Start permet de sauter le mode Program Setup (Configuration du programme) et de commencer immédiatement en mode Manuel.
Mode Manuel - Ce mode est lancéès que l'on a appuie sur la touche Quick Start (Départ rapide) ou sur la touche de programme Manual (Manuel). En mode Manuel, vous pouvez désir la résistance (charge) et la durée de votre exercice et entraîre vos poids en appuyant sur les touches correspondantes. REMARQUE : Les fonctions du mode Manuel sont différentes de celles du programme Manuel. Reportez-vous à la section Manuel de ce chapitre.
Workout Review - (Revue de l'exercice) Commence des que vous appuyez sur la touche Pause/Stop à la fin d'un programme ou si vous vous arrêtez de marcher pendant 25 secondes. Les statistiques cumulées pondant l'exercice précédent s'affichent pendant 20 secondes (par défaut) ou jusqu'à ce que vous appuyiez de nouveau de nouveau sur la touche Pause/end (Stop). REMARQUE : Vous pouvez changer la durée de 20 secondes par défaut. Reportez-vous à la rubrique Définition des options d'utilisation du chapitre 5.
Mode Pause - Ce mode est lancé lorsqu vous interrompez votre exercice pendant 25 secondes ou si vous appuyez une fois sur la touche Pause/end (Stop). Pendant la revue de l'exercice vous pouvez appuyer sur la touche Quick Start (Départ rapide) pour reprendre l'exercice en mode Manuel. La durée, les calories brûlées et autres données cumulées sont mises en mémoire et ajoutées.
-
Ces touches permettent d'augmenter ou de baisser la durée, le niveau ou le poids.
-
Ces touches permettent d'augmenter ou de diminuer l'inclinaison.
-
-
- Ces touches permettent d'augmenter la résistance (charge) (+) ou de la diminuier (-).
-
chaîne + - (optionnel) - Ces touches permettent de faire défilier les chaînes vers le haut (+) ou vers le bas (-).
volume + - (optional) - Ces touches permectent d'augmenter le volume (+) ou de le diminuier (-).
Utilisation prévue
Cet équipement d'entrainment devrait ettre utilise pour améliorer la forme physique et l'exercice en général.
On peut en faire un usage résidentiel ou commercial.
630A Arc Trainer

Guide d'utilisation rapide
REMARQUE: Poids maximum de l'utilisateur: 400 lb (181 kg).
Un aperçu rapède du fonctionnement de cet apparéil est presenté ci-après. Pour de plus amples renseignements, reportez-vous au Guide d'utilisation détaillé figurant dans ce chapitre. REMARQUE : Les durées indiquées dans ce chapitre reflètent les paramètres par défaut de l' apparéil. Pour modifier les paramètres par défaut, reportez-vous à la rubrique Définition des options d'utilisation, chapitre 5.
- Tenez les guidons pour vous stabiliser tandis que vous placez les pieds dans les repose-pied et que vous commencez à marcher à grandes fouées.
- Appuyez sur une touche de programme ou sur Quick Start (Départ rapide) pour sauter la définition des paramètres et commencer directement en mode Manuel.
- Si vous appuyez sur une touche de programme pour selectionner un programme, une invite vous demande de définir les paramètres Durée, Poids et Niveau, selon le cas. Réglez ces paramètres au moyen des flèches ▲▼ et appuyez sur Entier (Entrer) pour continuer. IMPORTANT : Entrez votre poids réel. Les touches Resistance (Load) + - établissant la résistance en fonction de votre poids. Si vous n'entrez pas votre poids réel, l'exercice pourrait vous sembler trop facile ou trop difficile.
- L'appareil commence la séance d'exercice en réglient la résistance en fonction du programme que vous avez sélectionné.
- Vous pouvez appuyer à tout moment sur les touches de la résistance (charge) Resistance (Load) + - pour la modifier. L'afficheur doit indique la résistance actuelle.
- Vous pouvez en tout temps appuyer sur les touches de l'inclinaison Incline pour la modifier. L'afficheur gauche indique l'inclinaison actuelle.
- Vous pouvez en tout temps appuyer sur la touche Pause/End (Stop) ou arrêté de marcher pourmettre fin au programme.
! AVERTISSEMENT : Attendez que toutes les pieces mobiles soient complètement arrêtées avant demettre pied à terre.
- Attendez que les repose-pied soient complètement arrêtés avant de descendre de l'appareil. Tenez les guidons pour vous stabiliser tandis que vous descendez de l'appareil.
Guide d'utilisation détaillé
REMARQUE : Poids maximum de l'utilisateur : 400 lb (181 kg).
- Si vous utilisez le kit d'alimentation c.a. optionnel, branche z le cordon d'alimentation a une prise de courant adaptee à la fiche. REMARQUE: Enroulez le surplus de cordon et rangez-le a l'ecart.
- Si vous utilisez le kit d'alimentation c.a. optionnel, vérifie si le tableau de commande est allumé.
-
Tenez les guidons pour vous stabiliser tandis que vous placez les pieds dans les repose-pied.
-
Vous pouvez maintainant selectionner un programme ou appuyer sur Quick Start (Départ Rapide) pour sauter le mode Program Setup (Configuration de programme) et passer au mode Manuel.
Pour sélectionner un programme, appuyez sur une touche de programme et suivez les invites. Au lancement d'un programme, les DEL clignotent pour vous inviter à définir les paramètres appropriés. Vous étés alors en mode Program Setup (Configuration de programme). Si vous appuyez maintainant sur la touche Quick Start (Départ rapide), tous les paramètres par défaut du programme sont acceptés. Si, après 10 secondes, vous n'avez toujours pas appuyé sur une touche, le premier paramètre par défaut est accepté. 10 secondes plus tard, c'est au tour du deuxième et ainsi de suite jusqu'àau dernier. Le programme ne passse pas en mode Actif tant que vous n'appuyez pas sur la touche Enter (Entrer) ou Quick Start (Départ rapide). Si vous n'appuyez sur aucune touche pendant les 20 secondes qui suivent l'affichage du dernier paramètre par défaut, l'appeil revient au mode Dormant.
Si vous appuyez sur la touche Quick Start au lieu de désirir un programme, vous passez en mode Manuel. REMARQUE : Aucune invite n'apparait en mode Manuel. Tandis que vous étes en mode Manuel, définissez la résistance (charge) et l'inclinaison, puis entrez votre poids en appuyant sur les touches correspondantes.
IMPORTANT : Entrez votre poids réel. Les touches de la Resistance (Load) + - établitssent la résistance en fonction de votre poids. Si vous n'entrez pas votre poids réel, l'exercice pourrait给你们 sembler trop facile ou trop difficile. Pour Obtir le nombre de calories le plus précis possible, entrez votre poids exact (vêtements compris) avant de commencer l'exercice.
REMARQUE: Appuyez sur Enter (Entrer) après chaque réglage.
- Selon le programme et le niveau sélectionnés, la résistance peut commencer à augmenter et l'inclinaison peut s'élever ou chuter.
- Observe les quatre afficheurs (figure 1A ou 1B):
L'affichage inférieur gauche fait clignoter l'inclinaison actuelle jusqu'à ce que l'inclinaison voulue soit atteinte, puis revient à la durée. Pendant l'exercice, la durée est affichée dans le format minutes:secondes. Si vous exercice dépasse soixante minutes, la durée s'affiche en minutes seulement.
L'affichage inférieur droit indique la résistance actuelle de l'utilisateur.
L'afficheur supérieur central commence à montré le profil de votre programme sur le côte gauche.
L'afficheur central indique les statistiques ou les parametes modifiables. Il fait defiler (toutes les trois secondes) la distance, les calories, les calories/heure, les MET, les watts et les fouilles/minute. Appuyez sur la touche Scan pour pour activer ou désactiver cette fonction.
REMARQUE: Le témoin DEL indicateur de chargement de batterie s'allume uniquement pendant le chargement.
REMARQUE: Le rythme cardiaque défile uniquement lorsque vous tenez les poignées de détention du rythme cardiaque par contact ou si vous utilisez un émetteur de rythme cardiaque compatible Polar. Reportez vous à la figure 1A ou 1B.
- Vous pouvez appuyer à tout moment sur les touches de la résistance Resistance (Load) + - pour modifier la charge. Si vous appuyez sur la touche +, l'exercice devient plus difficile. Par contre, si vous appuyez sur la touche -, l'exercice devient plus facile. L'afficheur droit indique le niveau actuel par parliers de 1, de 0 à 100.
- Vous pouvez en tout temps appuyer sur les touches de l'inclinaison ↑ ↓ Incline pour la modifier. L'afficheur gauche indique l'inclinaison actuelle (uniquement pendant le processus de modification) par paliers de 1, de 0 à 10.
- Vous pouvez appuyer à tout moment sur la touche Pause/end (Stop) pour interrompre l'exercice. Appuyez une fois sur Pause/end (Stop) pour terminer votre exercice et commencer la revue de l'exercice. Appuyez deux fois sur Pause/end (Stop) pour effacer la revue de l'exercice et revenir au mode Dormant.
- Lorsque vous terminez un programme, l'appareil commence un compte à rebours « 3...2...1 » et émet un son à chaque chiffre. La revue de l'exercice s'affiche pendant 20 secondes (par défaut) ou jusqu'à ce que vous appuyiez sur la touche Pause/end (Stop).
REMARQUE : L'accélération et le ralentissement de l'appareil est fonction de l'accélération et du ralentissement de l'utilisateur.
! AVERTISSEMENT : Attendez l'arrêt complet des repose-pied avant demettre pied à terre.
- Attende que les repose-pied soient complètement arrêtés avant de descendre de l'appareil. Tenez les guidons pour vous stabiliser tandis que vous descendez de l'appareil.
- L'appareil revient au mode Dormant ou se met hors tension. (S'il est équipé de l'adaptateur de courant optionnel, il revient au mode Dormant).
Arrêt de l'Arc Trainer 630A
Appuyez une fois sur la touche Pause/end (Stop) pour faire une pause de 20 secondes (valeur par défaut) et commencer la revue de l'exercice. Tous les paramètres et données de l'exercice demeurent en mémoire pendant la durée prédéfinie. Appuyez sur la touche Quick Start (Départ rapide) au cours de la durée définie par défaut pour continuer l'exercice. Si vous n'appuyez pas sur la touche Quick Start (Départ rapide) au cours de la pause de 20 secondes, les données de l'exercice sont effacées et l'afficheur passée au mode Dormant ou se met hors tension.
Appuyez une deuxième fois sur la touche Pause/end (Stop) pour arreter le cycle de données de l'exercice et pour faire passer l'afficheur au mode Dormant.
REMARQUE : L'accélération et le ralentissement de l'appareil est fonction de l'accélération et du ralentissement de l'utilisateur.
! AVERTISSEMENT : Attendez l'arrêt complet des repose-pied avant demettre pied à terre.
Descente d'urgence : Suivez les étapes ci-après en cas de douleur, détourdissements ou de besoin d'arrêter l'équipement d'urgence :
- Tenez les guidons pour vous soutenir.
- Arrêtez de marcher.
- Attende l'arrêt complet des repose-pied.
- Continuez à tener les guidons tandis que vous descendez de l'appareil.
Détction de la présence
Cette fonction détecte la présence lorsqu'elle perçoit un mouvement des repose-pied ou constate une entrée de l'utilisateur (par ex., pression d'une touche ou rythme cardiaque). Si vous descendez de l'Arc ou si vous arrêtez de bouger pendant un exercice, elle peut détecter que vous n'êtes pas là. Au terme du début d'attente préselectionné, « run? » s'affiche pendant quelques secondes dans la fenêtre centrale, puis la fonction de détction de présence met fin à votre séance d'exercice. Si vous appuyez sur Quick Start (Démarriage rapide) au cours du début sélectionné, vous pouvez reprendre l'exercice.
Commande pendant l'utilisation
Pendant l'utilisation de l'appareil, vous pouze appuyer à tout moment sur les touches de commande situées sur l'afficheur pour modifier la vitesse, l'inclinaison ou les affichages de données.
Modification du niveau - Vous pouvez modifier le niveau au cours de l'exercice programme. Appuyez sur la touche Level (Niveau) pour afficher le programme et le niveau actuel. Appuyez ensuite sur les touches ▲▼ pour modifier le niveau. Le niveau change immédiatement et continue à cumuler les données de performance sans interruption. REMARQUE : Si vous modifiez le niveau en mode Manuel, le niveau et la résistance changent en même temps.
Modification de la résistance (charge) - Appuyez sur les touches + - Resistance (Load) pour modifier la charge par palier de 1. La plage de résistance va de 0 à 100. REMARQUE : Pendant un exercice en mode Manuel ou Quick Start, les touches ▲▼ redeviennent provisoirement des touches de résistance.
Modification de l'inclinaison - Appuyez sur les touches de l'inclinaison Incline ↑ ↓ pour modifier l'élévation par palier de 1, de 0 à 10. L'élévation augmente et prend la forme d'un arc de 12 à 34,5 degrés. Reportez-vous à la section Amplitude du mouvement de ce chapitre.
chaine + - (optionnel) - Ces touches permettent de faire défilier les châines vers le haut (+) ou vers le bas (-).
volume + - (optionnel) - Ces touches permettent d'augmenter le volume (+) ou de le diminuer (-).
Changement de programme - Lorsque vous changez de programme, les données du programme precedent sont transferrées uniquement si vous passez d'un programme au mode Manuel. Vous ne pouze pas transférer les données si vous passez d'un programme à un autre ou du mode Manuel à un programme.
Modification de la durée de l'exercice - Appuyez sur Time (durée) pour modifier la durée de l'exercice. Vous pouvez modifier la durée avant ou pendant un exercice. REMARQUE : La durée maximum (Max) par défaut peut limiter votre durée. Reportez-vous à la rubrique Définition des options d'utilisation, chapitre 5.
Modification de l'affichage des données - Appuyez une fois sur Scan (Défilament) pour continuer d'afficher un ensemble de données. Appuyez de nouveau sur Scan pour afficher en continu chaque ensemble de données. REMARQUE : Le défilament automatique des données est une fonction qui peut être permutée et/ou activée ou désactivée. Reportez-vous à la section Définition des options d'utilisation du chapitre 5. Si la fonction Scan est désactivée, votre rythme cardiaque apparait tout de même lorsqu'un battement de cœur est détecté.
Affichage des données
Pendant l'exercice, l'Arc Trainer 630A effectue le suivi des données ci-après :

Distance - Distance totale cumulée, en milles ou en kilomètres, pendant l'exercice.
REMARQUE : Selon les paramètres par défaut que vous avez définis, cette distance s'affiche en unités anglaises ou métriques.
Calories - Nombre total de calories brûlées pendant l'exercice. Vous doivent saisir correctement votre poids avant de commencer l'exercice pour que cette valeur soit la plus précise possible.
Calories à l'heure - Calcul de l'énergie actuelle consommée pendant l'exercice en calories/昼夜. Avant de commencer l'exercice, vous doivent saissir correctement leur poids pour que ce nombre soit le plus précis possible.
Équivalent métabolique - Se rapporte à la dépense d'énergie de l'utilisateur. Un MET (équivalent métabolique) est une unité de mesure permettant de comparer le travail relatif entre des personnes et des activités. Un MET représentée la quantité d'oxygène consommée par une personne au repos. Par exemple, deux MET équivalent à deux fois cette quantité. Ainsi, une personne qui fournit un effort de quatre MET consomme quatre fois plus d'oxygène qu'au repos. Les MET peuvent servir à comparer la marche en montée à la course ou même au cyclisme et autres activités. Pour de plus amples renseignements, reportez-vous à la section Profil de l'exercice de ce chapitre.
Watts - Il s'agit de l'énergie consommée pendant l'exercice en watts.
Foulées par minute - Nombre moyen de fouilles par minute, à votre vitesse actuelle.
Rythme cardiaque - Notre rythme cardiaque actuel. Le rythme cardiaque apparait lorsqu'un signal est émis. Utilisez les poignées de détéction du rythme cardiaque par contact ou un émetteur de rythme cardiaque compatible Polar. Reportez-vous à la section DEL de rythme cardiaque pour consulter la description des couleurs.
Pour examiner les données cumulées après un programme : L'afficheur fait automatiquement défiler les données.
cumulées pendant l'exercice au cours de la revue de l'exercice, et ce pendant 20 secondes (valeur par défaut).
Affichage du rythme cardiaque
Pour afficher le rythme cardiaque, vous doivent porter une ceinture à émetteur de rythme cardiaque compatible Polar (non fournie) ou tener les poignées de détention du rythme cardiaque par contact.
Detection du rythme cardiaque par contact - Tenez les poignées situées sur les guidons jusqu'à l'affichage du rythme cardiaque, en général moins de trente secondes. Pour obtenir les autres résultats, serrez légèrement les poignées et assurez-vous que vos mains sont en contact avec les capteurs avant et arrière de chaque poignée.
REMARQUE : Gardez les mains aussi immobiles que possible car les mouvements peuvent provoquer des interférences sur les contacts.
Certains facteurs peuvent interférer avec le signal de rythme cardiaque, notamment :
les mouvements excessifs
- la composition corporelle
- l'hydratation
- les mains pas assez serrées sur les poignées
- les mains trop serrées sur les poignées
- l'excess de saleté, de poudre ou d'huile
- le repos ou l'appui sur les poignées
Des agents contaminants que pouraient contérer les lotions pour les mains, les huiles ou les poudres corporelles risquent de se déposer sur les poignées de détction du rythme cardiaque par contact, ce qui risque de réduire la capacité de détction des poignées et perturber le signal du rythme cardiaque. Vous devez par conséquent vous assurer d'avoir les mains propres lorsque vous utilisez le dispositif de détction du rythme cardiaque par contact.
Réception compatible Polar - Pour utiliser cette fonction, vous doivent porter une ceinture à émetteur de rythme cardiaque compatible Polar. Pour afficher le rythme cardiaque en continu, appuyez sur la touche Scan lorsque la DEL de l'icone du cœur est allumée ou sur la touche représentant un cœur.
DEL du rythme cardiaque
Lorsque vous tenez les poignées de détention du rythme cardiaque, l'afficheur central passé à l'affichage du rythme cardiaque en battements par minute (BPM) si vous n'utilise pas la fonction de défilament Scan. Pendant plusieurs secondes, l'affichage indique « --- ». Dès que le rythme cardiaque réel a été déterminé, la fenêtre centrale affiche les battements par minute (BPM) et la DEL de l'icone du cœur s'allume. Reportez-vous à la figure 2. La couleur de la DEL représentée une échelle illustrant la plage du rythme cardiaque, jusqu'àu niveau cible.
Bleu = 0 à 69 battements par minute
Vert = 70 à 93 battements par minute
Jaune = 94 à 120 battements par minute
(ZONE D'ELIMINATION DE GRAISSE)
Ambre = 121 à 170 battements par minute (ZONE CARDIO)
Violet = 171 battements par minute et plus
REMARQUE : Une étiquette apposée sur l'appareil vous rappelle la signification des couleurs pendant votre exercice. Reportez-vous à la figure 2.
Utilisation des programmes
! AVENTISSEMENT : Passez une visite médicale avant de commencer un programme d'exercice physique. Commencez à un niveau plus faible où vous vous sentez à l'aise et passez progressivement aux niveaux supérieurs à mesure que vous vous accoutumez.
L'Arc Trainer 630A vous permet de désir parmi six programmes différents. Cinq de ces programmes offrent dix niveaux de difficulté et un besoin de 50 différentes options pré-programmées. Vous pouvez également utiliser le mode Manuel. Cette combinaison
unique de programmes vous permet d'adapter votre exercice pour atteindre exactement les objectifs de forme physique souhaités, notamment en matière de perte de poids, de conditionnement physique, d'endurance ou d'entretien général de la santé. La vitesse n'est jamais prédéterminée ; il vous suffit de changer la foulée pour la modifier. Les choix de programmes seprésentent comme suit :
| Quick Start (Départ rapide) | Pas de niveau | Sauter la configuration, contrôle la vitesse, l'inclinaison et la durée au cours de l'exercice. |
| Hill Interval (Intervalle Côte) | 10 niveaux | Contrôler la vitesse et la durée. Le niveau définit l'inclinaison et le niveau. |
| Interval (Intervalle) | 10 niveaux | Entrer la durée souhaitée. Le niveau définit l'inclinaison et le niveau. |
| Weight Loss (Perte de poids) | 10 niveaux | Entrer la durée souhaitée. Le niveau définit l'inclinaison et le niveau. |
| Cardio | 10 niveaux | Entrer la durée souhaitée. Le niveau définit l'inclinaison et le niveau. |
| Strength (Force) | 10 niveaux | Entrer la durée souhaitée. Le niveau définit l'inclinaison et le niveau. |
| Manual (Manuel) | Aucun niveau | Entrer la durée souhaitée. Contrôler l'inclinaison et le niveau pendant l'exercice. |

DEL de l'icone cœur
Chaque couleur de cœur
est associée à une plage
de battements par minute,
tel qu'illustré sur cet
autocollant.

Figure 2

Mode manuel
Le mode Manuel n'est pas un exercice préprogrammé. Il vous permet plutôt de désirir les paramètres pendant l'exercice. Vous pouvez les sélectionner en fonction de votre forme ou de votre niveau d'endurance. comme il permet de garder le contrôle, le mode Manuel est idéal pour les débutants et ceux qui n'ont pas fait d'exercice physique depuis longtemps.
Appuyez sur la touche Quick Start pour effectuer votre exercice en mode Manuel. Pour augmenter ou réduire la résistance en mode Manuel, utilisez les touches Resistance (Load) + -. Pour augmenter ou réduire l'inclinaison en mode Manuel, utilisez les flèches ↑ ↓.
Lorsque vous faites un exercice en mode Manuel, assurez-vous d'inclure trois à cinq minutes d'échauffement et de récapération. Pour vous échauffer, il vous suffit de définir une résistance faible à l'inclinaison zéro, puis d'augmenter progressivement l'inclinaison et la résistance en fonction de l'objectif visé pour l'exercice. Inversez ce processus pendant la période de récapération en diminuant progressivement la résistance et en réglant de nouveau l'inclinaison à zéro.
Profil de l'exercice
Au centre de l'afficheur, la matrice de profil de l'exercice utilise des colonnes de lumieres pour illustrer les progrès de l'exercice. La hauteur de la colonne représenté les MET (équivalents metaboliques), plus précisément le niveau de MET le plus haut atteint pendant cette période. Chaque colonne représenté 1 minute de la durée totale de l'exercice en mode Manuel et 15 secondes dans tous les autres programmes.
REMARQUE: Il est possible d'avoir deux segments de combinaisons de vitesses et d'élévations différentes dans la même plage de MET.
Amplitude du mouvement
Appuyez sur les touches d'inclinaison Incline ↑ ↓ pour changer l'élévation par paliers de 10 %. Les augmentations ou diminutions d'élévation sous forme d'arc variant de 12 à 34,5 degrés (avec la corde d'un arc). Les muscles principaux et secondaires entrainés variant en fonction de l'inclinaison可以选择. Reportez-vous à la figure 3.

Muscles entrainés en faible inclinaison

Muscles entrainés en forte inclinaison

REMARQUE: La longueur de foulee demeure toujours à 24 po (61 cm).

Figure 3
Intervalle Côte
Aperçu du programme
Le programme Hills (Côtes) est conçu pour offrir à l'utilisateur l'expérience d'une rationnée pédestre en région montagneuse. Ce programme comprend des intervalles de résistance et d'inclinaison modérées visant à simuler des zones relativivement plates et des intervalles de résistance et d'inclinaison nettement plus élevées visant à simuler des pentes plus raides. Parallèlement, les segments de travail de deux minutes ont pour objet demettre le potentiel de l'utilisateur à l'épréuve, alors que les périodes de repos de deux minutes lui permettent de récapuérer et de repêter les segments. Reportez-vous au tableau de la page suivante et à la figure 4.
Côtes
| Segments de duréeRésistance | :30 :30 :30 :30 | 2:00 2:00 2:00 2:00 | :30 :30 :30 :30 | |||||||||
| Échauffement | Segments de programme | Réçupération | ||||||||||
| 1 | 2 | 3 | 4 | 1 | 2 | 1 | 2 | 1 | 2 | 3 | 4 | |
| Niveau de programme10 | 20 | 25 | 30 | 35 | 40 | 60 | 40 | 60 | 35 | 30 | 25 | 20 |
| 9 | 20 | 25 | 30 | 35 | 40 | 50 | 40 | 50 | 35 | 30 | 25 | 20 |
| 8 | 15 | 20 | 25 | 30 | 35 | 45 | 35 | 45 | 30 | 25 | 20 | 15 |
| 7 | 15 | 20 | 25 | 30 | 35 | 40 | 30 | 40 | 30 | 25 | 20 | 15 |
| 6 | 15 | 15 | 20 | 25 | 30 | 35 | 25 | 40 | 25 | 20 | 15 | 15 |
| 5 | 15 | 15 | 20 | 25 | 30 | 25 | 35 | 35 | 25 | 20 | 15 | 15 |
| 4 | 10 | 10 | 15 | 20 | 25 | 30 | 30 | 30 | 20 | 15 | 10 | 10 |
| 3 | 10 | 10 | 15 | 20 | 25 | 25 | 25 | 30 | 20 | 15 | 10 | 10 |
| 2 | 10 | 10 | 10 | 15 | 20 | 20 | 20 | 25 | 15 | 10 | 10 | 10 |
| 1 | 10 | 10 | 10 | 10 | 15 | 15 | 15 | 20 | 10 | 10 | 10 | 10 |
| Inclinaison | Échauffement | Segments de programme | Récupération | |||||||||
| 1 | 2 | 3 | 4 | 1 | 2 | 1 | 2 | 1 | 2 | 3 | 4 | |
| Niveau de programme10 | 3 | 4 | 5 | 6 | 6 | 10 | 6 | 10 | 6 | 5 | 4 | 3 |
| 9 | 3 | 3 | 4 | 5 | 5 | 10 | 5 | 10 | 5 | 4 | 3 | 3 |
| 8 | 3 | 3 | 4 | 5 | 5 | 9 | 5 | 9 | 5 | 4 | 3 | 3 |
| 7 | 3 | 3 | 3 | 4 | 4 | 9 | 4 | 9 | 4 | 3 | 3 | 3 |
| 6 | 3 | 3 | 3 | 4 | 4 | 8 | 4 | 8 | 4 | 3 | 3 | 3 |
| 5 | 3 | 3 | 3 | 3 | 3 | 8 | 3 | 8 | 3 | 3 | 3 | 3 |
| 4 | 3 | 3 | 3 | 3 | 3 | 7 | 3 | 7 | 3 | 3 | 3 | 3 |
| 3 | 2 | 2 | 3 | 3 | 3 | 7 | 3 | 7 | 3 | 3 | 2 | 2 |
| 2 | 2 | 2 | 3 | 3 | 3 | 6 | 3 | 6 | 3 | 3 | 2 | 2 |
| 1 | 2 | 2 | 3 | 3 | 3 | 6 | 3 | 6 | 3 | 3 | 2 | 2 |
Intervalles Côte
Le profil montre le niveau 10 à 12 minutes

% de résistance

% d'inclinaison
Figure 4
Intervalle
Aperçu du programme
Le programme Interval (Intervalle) utilise un rapport 1:2 (exercice: repos) avec une période d'exercice physique de 30 secondes. Il permet d'exercer de façon modérée et équilibrée les systèmes d'énergie aérobie et anaérobie. Ainsi, ce programme s'adresse tout particulièrement à ceux qui désirent améliorer leur potentiel aérobie et anaérobie. Tout au long de ce programme, l'inclinaison reste stable. L'utilisation de l'inclinaison faible à modérée permet de s'assurer que le grand fessier sera le muscle principal (agoniste). Reportez-vous au tableau ci-dessous et à la figure 5.
Intervalle
| Segments de durée Résistance | :30 | :30 | :30 | :30 | :30 | :30 | :30 | :30 | :30 | :30 | :30 | :30 | :30 | :30 | :30 | :30 | :30 | :30 | :30 | :30 | :30 |
| Échauffement | Segments de programme | Réçupération | |||||||||||||||||||
| 1 | 2 | 3 | 4 | 1 | 2 | 3 | 1 | 2 | 3 | 1 | 2 | 3 | 1 | 2 | 3 | 1 | 2 | 3 | 4 | ||
| Niveau de programme10 | 35 | 45 | 55 | 65 | 70 | 45 | 45 | 70 | 45 | 45 | 70 | 45 | 45 | 70 | 45 | 45 | 40 | 35 | 30 | 20 | |
| 9 | 35 | 40 | 50 | 60 | 65 | 40 | 40 | 65 | 40 | 40 | 65 | 40 | 40 | 65 | 40 | 40 | 35 | 30 | 25 | 15 | |
| 8 | 30 | 40 | 50 | 55 | 60 | 35 | 35 | 60 | 35 | 35 | 60 | 35 | 35 | 60 | 35 | 35 | 30 | 25 | 20 | 15 | |
| 7 | 30 | 35 | 45 | 50 | 55 | 30 | 30 | 55 | 30 | 30 | 55 | 30 | 30 | 55 | 30 | 30 | 30 | 25 | 20 | 10 | |
| 6 | 25 | 35 | 40 | 45 | 50 | 30 | 30 | 50 | 30 | 30 | 50 | 30 | 30 | 50 | 30 | 30 | 30 | 25 | 20 | 10 | |
| 5 | 25 | 30 | 35 | 40 | 45 | 25 | 25 | 45 | 25 | 25 | 45 | 25 | 25 | 45 | 25 | 25 | 25 | 20 | 15 | 10 | |
| 4 | 20 | 25 | 30 | 35 | 40 | 25 | 25 | 40 | 25 | 25 | 40 | 25 | 25 | 40 | 25 | 25 | 25 | 20 | 15 | 10 | |
| 3 | 20 | 25 | 30 | 30 | 35 | 20 | 20 | 35 | 20 | 20 | 35 | 20 | 20 | 35 | 20 | 20 | 20 | 15 | 10 | 10 | |
| 2 | 15 | 20 | 25 | 30 | 30 | 20 | 20 | 30 | 20 | 20 | 30 | 20 | 20 | 30 | 20 | 20 | 20 | 15 | 10 | 5 | |
| 1 | 10 | 15 | 20 | 20 | 25 | 15 | 15 | 25 | 15 | 15 | 25 | 15 | 15 | 25 | 15 | 15 | 15 | 15 | 10 | 5 | |
| Inclinaison | Échauffement | Segments de programme | Réçupération | |||||||||||||||||
| 1 | 2 | 3 | 4 | 1 | 2 | 3 | 4 | 5 | 6 | 1 | 2 | 3 | 4 | 5 | 6 | 1 | 2 | 3 | 4 | |
| Niveau de programme10 | 2 | 2 | 3 | 4 | 5 | 5 | 5 | 5 | 5 | 5 | 5 | 5 | 5 | 5 | 5 | 5 | 5 | 4 | 3 | 2 |
| 9 | 2 | 2 | 3 | 4 | 5 | 5 | 5 | 5 | 5 | 5 | 5 | 5 | 5 | 5 | 5 | 5 | 5 | 4 | 3 | 2 |
| 8 | 2 | 2 | 3 | 3 | 4 | 4 | 4 | 4 | 4 | 4 | 4 | 4 | 4 | 4 | 4 | 4 | 4 | 3 | 3 | 2 |
| 7 | 2 | 2 | 3 | 3 | 4 | 4 | 4 | 4 | 4 | 4 | 4 | 4 | 4 | 4 | 4 | 4 | 4 | 3 | 3 | 2 |
| 6 | 2 | 2 | 3 | 3 | 4 | 4 | 4 | 4 | 4 | 4 | 4 | 4 | 4 | 4 | 4 | 4 | 4 | 3 | 3 | 2 |
| 5 | 2 | 2 | 2 | 3 | 3 | 3 | 3 | 3 | 3 | 3 | 3 | 3 | 3 | 3 | 3 | 3 | 3 | 3 | 2 | 2 |
| 4 | 2 | 2 | 2 | 2 | 3 | 3 | 3 | 3 | 3 | 3 | 3 | 3 | 3 | 3 | 3 | 3 | 3 | 2 | 2 | 2 |
| 3 | 2 | 2 | 2 | 2 | 3 | 3 | 3 | 3 | 3 | 3 | 3 | 3 | 3 | 3 | 3 | 3 | 3 | 2 | 2 | 2 |
| 2 | 2 | 2 | 2 | 2 | 2 | 2 | 2 | 2 | 2 | 2 | 2 | 2 | 2 | 2 | 2 | 2 | 2 | 2 | 2 | 2 |
| 1 | 2 | 2 | 2 | 2 | 2 | 2 | 2 | 2 | 2 | 2 | 2 | 2 | 2 | 2 | 2 | 2 | 2 | 2 | 2 | 2 |
Intervals
Le profil montre le niveau 10 à 10 minutes
(Les exercices plus longs repétent le segment du programme)


Figure 5
Perte de poids
Aperçu du programme
Le programme Weight Loss (Perte de poids) est concu pour assurer à l'utiliser un entrainment de faible à moyenne intensité qu'il pourrait suivant une période prolongée. Il se base sur un niveau de faible intensité pour inclure des segments d'inclinaison et de résistance plus fortes, ainsi que des segments de résistance élevée et d'inclinaison de base. La diversité constante autorise des périodes de dépense physique plus importante et d'entrainment plus intense sans causeur de fatigue inutile, ce qui permet à l'utiliser de s'exercer plus longtemps. Reportez-vous au tableau ci-dessous et à la figure 6.
Perte de poids
| Segments de durée Résistance | :30 | :30 | :30 | :30 | 1:00 | 1:00 | 1:00 | 1:00 | 1:00 | 1:00 | :30 | :30 | :30 | :30 |
| Échauffement | Segments de programme | Récapération | ||||||||||||
| 1 | 2 | 3 | 4 | 1 | 2 | 3 | 4 | 5 | 1 | 1 | 2 | 3 | 4 | |
| Niveau de programme 10 | 5 | 10 | 15 | 20 | 25 | 45 | 45 | 25 | 40 | 25 | 20 | 15 | 10 | 5 |
| 9 | 5 | 10 | 15 | 20 | 25 | 40 | 40 | 25 | 40 | 25 | 20 | 15 | 10 | 5 |
| 8 | 5 | 10 | 15 | 20 | 25 | 35 | 35 | 25 | 35 | 25 | 20 | 15 | 10 | 5 |
| 7 | 5 | 5 | 10 | 15 | 25 | 40 | 40 | 25 | 30 | 25 | 15 | 10 | 5 | 5 |
| 6 | 5 | 5 | 10 | 15 | 25 | 35 | 35 | 25 | 20 | 25 | 15 | 10 | 5 | 5 |
| 5 | 5 | 5 | 10 | 15 | 25 | 30 | 30 | 25 | 20 | 25 | 15 | 10 | 5 | 5 |
| 4 | 0 | 0 | 5 | 10 | 0 | 25 | 25 | 0 | 20 | 0 | 10 | 5 | 0 | 0 |
| 3 | 0 | 0 | 5 | 10 | 0 | 20 | 20 | 0 | 10 | 0 | 10 | 5 | 0 | 0 |
| 2 | 0 | 0 | 0 | 5 | 0 | 10 | 10 | 0 | 0 | 0 | 5 | 0 | 0 | 0 |
| 1 | 0 | 0 | 0 | 0 | 0 | 10 | 10 | 0 | 0 | 0 | 0 | 0 | 0 | 0 |
| Inclinaison | Échauffement | Segments de programme | Réçupération | |||||||||||
| 1 | 2 | 3 | 4 | 1 | 2 | 3 | 4 | 5 | 1 | 1 | 2 | 3 | 4 | |
| Niveau de programme 10 | 4 | 4 | 4 | 4 | 4 | 6 | 6 | 4 | 4 | 4 | 4 | 4 | 4 | 4 |
| 9 | 4 | 4 | 4 | 4 | 4 | 6 | 6 | 4 | 4 | 4 | 4 | 4 | 4 | 4 |
| 8 | 3 | 3 | 3 | 3 | 3 | 6 | 6 | 3 | 3 | 3 | 3 | 3 | 3 | 3 |
| 7 | 3 | 3 | 3 | 3 | 3 | 4 | 4 | 3 | 3 | 3 | 3 | 3 | 3 | 3 |
| 6 | 3 | 3 | 3 | 3 | 3 | 4 | 4 | 3 | 3 | 3 | 3 | 3 | 3 | 3 |
| 5 | 3 | 3 | 3 | 3 | 3 | 4 | 4 | 3 | 3 | 3 | 3 | 3 | 3 | 3 |
| 4 | 2 | 2 | 2 | 2 | 2 | 3 | 3 | 2 | 2 | 2 | 2 | 2 | 2 | 2 |
| 3 | 2 | 2 | 2 | 2 | 2 | 3 | 3 | 2 | 2 | 2 | 2 | 2 | 2 | 2 |
| 2 | 2 | 2 | 2 | 2 | 2 | 3 | 3 | 2 | 2 | 2 | 2 | 2 | 2 | 2 |
| 1 | 2 | 2 | 2 | 2 | 2 | 3 | 3 | 2 | 2 | 2 | 2 | 2 | 2 | 2 |

Perte de poids
Le profil montre le niveau 10 à 10 minutes

Figure 6
Cardio
Aperçu du programme
Le programme Cardio est concu pour les utilisateurs experimentés qui désirent pratiquer des exercices d'entrainment cardiovasculaire d'intensité élevée. L'intervalle de travail de deux minutes avec résistance élevé garantit que le système d'énergie aérobie est entièrement mis à l'épreuve, tandis que l'intervalle de repos de deux minutes suivant permet de récapérez et par conséquent, de repeter l'effort à un niveau d'exercice plus élevé. De plus, un niveau supérieur d'inclinaison est utilisé pendant l'intervalle de récapération pour éviter un afflux sanguin trop important, ce qui assure une récapération plus complète. Reportez-vous au tableau ci-dessous et à la figure 7.
Cardio
| Segments de durée Résistance | :30 | :30 | :30 | :30 | 2:00 | 2:00 | 2:00 | :30 | :30 | :30 | :30 |
| Échauffement | Segments de programme | Récupération | |||||||||
| 1 | 2 | 3 | 4 | 1 | 2 | 1 | 1 | 2 | 3 | 4 | |
| Niveau de programme 10 | 30 | 35 | 45 | 55 | 80 | 60 | 80 | 55 | 45 | 35 | 30 |
| 9 | 25 | 35 | 45 | 55 | 75 | 55 | 75 | 55 | 45 | 35 | 25 |
| 8 | 25 | 30 | 40 | 45 | 70 | 50 | 70 | 45 | 40 | 30 | 25 |
| 7 | 20 | 25 | 35 | 40 | 65 | 45 | 65 | 40 | 35 | 25 | 20 |
| 6 | 15 | 20 | 30 | 35 | 60 | 40 | 60 | 35 | 30 | 20 | 15 |
| 5 | 15 | 20 | 25 | 30 | 55 | 35 | 55 | 30 | 25 | 20 | 15 |
| 4 | 10 | 15 | 20 | 25 | 50 | 30 | 50 | 25 | 20 | 15 | 10 |
| 3 | 5 | 10 | 15 | 20 | 45 | 30 | 45 | 20 | 15 | 10 | 5 |
| 2 | 0 | 5 | 10 | 15 | 40 | 25 | 40 | 15 | 10 | 5 | 0 |
| 1 | 0 | 0 | 5 | 10 | 35 | 20 | 35 | 10 | 5 | 0 | 0 |
| Inclinaison | Échauffement | Segments de programme | Récapération | ||||||||
| 1 | 2 | 3 | 4 | 1 | 2 | 1 | 1 | 2 | 3 | 4 | |
| Niveau de programme 10 | 3 | 4 | 5 | 6 | 5 | 8 | 5 | 6 | 5 | 4 | 3 |
| 9 | 3 | 3 | 4 | 5 | 5 | 8 | 5 | 5 | 4 | 3 | 3 |
| 8 | 3 | 3 | 4 | 4 | 5 | 7 | 5 | 4 | 4 | 3 | 3 |
| 7 | 3 | 3 | 4 | 4 | 4 | 7 | 4 | 4 | 4 | 3 | 3 |
| 6 | 3 | 3 | 3 | 4 | 4 | 6 | 4 | 4 | 3 | 3 | 3 |
| 5 | 3 | 3 | 3 | 3 | 4 | 6 | 4 | 3 | 3 | 3 | 3 |
| 4 | 2 | 2 | 2 | 3 | 3 | 5 | 3 | 3 | 2 | 2 | 2 |
| 3 | 2 | 2 | 2 | 3 | 3 | 5 | 3 | 3 | 2 | 2 | 2 |
| 2 | 2 | 2 | 2 | 2 | 2 | 4 | 2 | 2 | 2 | 2 | 2 |
| 1 | 2 | 2 | 2 | 2 | 2 | 4 | 2 | 2 | 2 | 2 | 2 |

Cardio
Le profil montre le niveau 10 à 10 minutes

Figure 7
Force
Aperçu du programme
Ce programme a pour objectif spécifique d'éprouver le système d'énergie anaérobie et de favoriser un développement de puissance optimum. Il utilise un rapport 1:3 (exercice: Repos) et des périodes d'exercice de 15 secondes. Les périodes d'exercice utilisent des réglages de résistance élevée afin d'éprouver au maximum le système d'énergie anaérobie, tandis que des périodes de repos avec résistance très faible permettent de récapérer. De plus, ce programme utilise des réglages d'inclinaison élevée pour favoriser le travail de la jambe au complet et produit une puissance maximale. Reportez-vous au tableau ci-dessous et à la figure 8.
Force
| Segments de durée Résistance | :30 | :30 | :30 | :15 | :15 | :15 | :15 | :15 | :15 | :15 | :15 | :15 | :15 | :15 | :15 | :15 | :15 | :15 | :15 | :15 | :15 | :15 | :15 | :15 | :15 | :15 | :15 | :15 | :10 | :30 | :30 | :30 | |||||||||||||||||||||||||||||||||||||||||||||||||||||||||||||||||||||||||||||||||||||||||||||||||||||||||||||||||||||||||||||||||||||||||||||||||||||||||||||||||||||||||||||||||||||||||||||||||||||||||||||||||||||||||||||||||||||||||||||||||||||||||||||||||||
| Echauffement | Segments de programme | ||||||||||||||||||||||||||||||||||||||||||||||||||||||||||||||||||||||||||||||||||||||||||||||||||||||||||||||||||||||||||||||||||||||||||||||||||||||||||||||||||||||||||||||||||||||||||||||||||||||||||||||||||||||||||||||||||||||||||||||||||||||||||||||||||||||||||||||||||||||||||||||||||
| 1 | 2 | 3 | 4 | 1 | 2 | 3 | 4 | 1 | 2 | 3 | 4 | 1 | 2 | 3 | 4 | 1 | 2 | 3 | 4 | 1 | 2 | 3 | 4 | 1 | 2 | 3 | 4 | 1 | 2 | 3 | 4 | 1 | 2 | 3 | 4 | 1 | 2 | 3 | 4 | 1 | 2 | 3 | 4 | 1 | 2 | 3 | 4 | 1 | 2 | 3 | 4 | 1 | 1 | 2 | 3 | 4 | 1 | 2 | 3 | 4 | 1 | 2 | 3 | 4 | 1 | 2 | 3 | 4 | 1 | 2 | 3 | 4 | 1 | 2 | 3 | 4 | 1 | 2 | 3 | 4 | 1 | 2 | 3 | 4 | 1 | 2 | 3 | 4 | 1 | 2 | 3 | 4 | 1 | 2 | 3 | 4 | 1 | 2 | 3 | 4 | 1 | 3 | 4 | 1 | 2 | 3 | 4 | 1 | 2 | 3 | 4 | 1 | 2 | 3 | 4 | 1 | 2 | 3 | 4 | 1 | 2 | 3 | 4 | 1 | 2 | 3 | 4 | 1 | 2 | 3 | 4 | 1 | 2 | 3 | 4 | 1 | 2 | 3 | 4 | 1 | 2 | 3 | 4 | 1 | 2 | 3 | 4 | 1 | 2 | 3 | 10 | 50 | 65 | 80 | 90 | 100 | 35 | 35 | 35 | 35 | 35 | 35 | 35 | 35 | 35 | 35 | 35 | 35 | 35 | 35 | 35 | 35 | 35 | 35 | 35 | 35 | 35 | 35 | 35 | 35 | 35 | 35 | 35 | 35 | 35 | 35 | 35 | 35 | 35 | 35 | |||||||||||||||||||||||||||||||||||||||||||||||||||||||||||||||||||||||||||||||||||||||||||||||||||||
| Niveau de programme10 | 50 | 65 | 80 | 90 | 100 | 35 | 35 | 35 | 35 | 100 | 35 | 35 | 35 | 35 | 35 | 35 | 100 | 35 | 35 | 35 | 35 | 100 | 35 | 35 | 35 | 35 | 100 | 35 | 35 | 35 | 100 | 35 | 35 | 35 | 35 | 100 | 35 | 35 | 35 | 100 | 35 | 35 | 35 | 35 | 100 | 35 | 35 | 35 | 35 | 35 | 35 | 35 | 35 | 35 | 35 | 35 | 35 | 35 | 35 | 35 | 35 | 35 | 35 | 35 | 35 | 35 | 35 | 35 | 35 | 35 | 35 | 35 | 35 | 35 | 35 | 35 | 30 | 25 | 20 | 15 | |||||||||||||||||||||||||||||||||||||||||||||||||||||||||||||||||||||||||||||||||||||||||||||||||||||||||||||||||||||||||||||||||||||||||||||||||||||||||||||||||||||||||||||||||||||||||||||||||||||||||||||||||||
| 9 | 50 | 60 | 75 | 85 | 95 | 35 | 35 | 35 | 95 | 35 | 35 | 35 | 95 | 35 | 95 | 35 | 35 | 35 | 95 | 35 | 35 | 35 | 35 | 95 | 35 | 35 | 35 | 95 | 35 | 35 | 35 | 95 | 35 | 35 | 35 | 95 | 35 | 35 | 35 | 95 | 35 | 35 | 35 | 95 | 35 | 35 | 35 | 35 | 35 | 35 | 35 | 35 | 35 | 35 | 35 | 35 | 35 | 35 | 35 | 35 | 35 | 35 | 35 | 35 | 35 | 35 | 35 | 35 | 35 | 35 | 35 | 35 | 35 | 35 | 35 | 35 | 30 | 25 | |||||||||||||||||||||||||||||||||||||||||||||||||||||||||||||||||||||||||||||||||||||||||||||||||||||||||||||||||||||||||||||||||||||||||||||||||||||||||||||||||||||||||||||||||||||||||||||||||||||||||||||||||||||
| 8 | 45 | 60 | 70 | 80 | 90 | 35 | 35 | 35 | 90 | 35 | 35 | 90 | 35 | 35 | 35 | 90 | 35 | 35 | 90 | 35 | 35 | 35 | 90 | 35 | 35 | 35 | 90 | 35 | 35 | 35 | 90 | 35 | 35 | 35 | 90 | 35 | 35 | 35 | 90 | 35 | 35 | 35 | 90 | 35 | 35 | 35 | 35 | 35 | 35 | 35 | 35 | 35 | 35 | 35 | 35 | 35 | 35 | 35 | 35 | 35 | 35 | 35 | 35 | 35 | 35 | 35 | 35 | 35 | 35 | 35 | 35 | 35 | 35 | 35 | 35 | 30 | |||||||||||||||||||||||||||||||||||||||||||||||||||||||||||||||||||||||||||||||||||||||||||||||||||||||||||||||||||||||||||||||||||||||||||||||||||||||||||||||||||||||||||||||||||||||||||||||||||||||||||||||||||||||
| 7 | 45 | 55 | 70 | 75 | 85 | 30 | 30 | 30 | 85 | 30 | 30 | 85 | 30 | 30 | 30 | 85 | 30 | 30 | 85 | 30 | 30 | 30 | 80 | 30 | 30 | 80 | 30 | 30 | 80 | 30 | 30 | 30 | 80 | 30 | 30 | 30 | 80 | 30 | 30 | 30 | 80 | 30 | 30 | 30 | 80 | 30 | 30 | 30 | 30 | 30 | 30 | 30 | 30 | 30 | 25 | 20 | 20 | 15 | |||||||||||||||||||||||||||||||||||||||||||||||||||||||||||||||||||||||||||||||||||||||||||||||||||||||||||||||||||||||||||||||||||||||||||||||||||||||||||||||||||||||||||||||||||||||||||||||||||||||||||||||||||||||||||||||||||||||||
| 6 | 40 | 50 | 65 | 70 | 80 | 30 | 30 | 30 | 80 | 30 | 30 | 80 | 30 | 30 | 30 | 80 | 30 | 30 | 80 | 30 | 30 | 80 | 30 | 30 | 80 | 30 | 30 | 80 | 30 | 30 | 30 | 80 | 30 | 30 | 30 | 80 | 30 | 30 | 30 | 80 | 30 | 30 | 30 | 80 | 30 | 30 | 30 | 30 | 25 | 20 | 20 | 15 | |||||||||||||||||||||||||||||||||||||||||||||||||||||||||||||||||||||||||||||||||||||||||||||||||||||||||||||||||||||||||||||||||||||||||||||||||||||||||||||||||||||||||||||||||||||||||||||||||||||||||||||||||||||||||||||||||||||||||||||||
| 5 | 35 | 50 | 60 | 65 | 75 | 30 | 30 | 30 | 75 | 30 | 30 | 75 | 30 | 30 | 30 | 75 | 30 | 30 | 70 | 30 | 30 | 70 | 30 | 30 | 70 | 30 | 30 | 75 | 30 | 30 | 70 | 30 | 30 | 70 | 30 | 30 | 70 | 30 | 30 | 70 | 30 | 30 | 70 | 30 | 30 | 70 | 25 | 20 | 15 | ||||||||||||||||||||||||||||||||||||||||||||||||||||||||||||||||||||||||||||||||||||||||||||||||||||||||||||||||||||||||||||||||||||||||||||||||||||||||||||||||||||||||||||||||||||||||||||||||||||||||||||||||||||||||||||||||||||||||||||||||||
| 4 | 35 | 45 | 55 | 65 | 70 | 25 | 25 | 25 | 25 | 70 | 25 | 25 | 25 | 25 | 25 | 25 | 25 | 25 | 25 | 25 | 25 | 25 | 25 | 25 | 25 | 25 | 25 | 70 | 25 | 25 | 25 | 70 | 25 | 25 | 25 | 70 | 25 | 25 | 25 | 25 | 25 | 20 | 20 | 0 | |||||||||||||||||||||||||||||||||||||||||||||||||||||||||||||||||||||||||||||||||||||||||||||||||||||||||||||||||||||||||||||||||||||||||||||||||||||||||||||||||||||||||||||||||||||||||||||||||||||||||||||||||||||||||||||||||||||||||||||||||||||||
| 3 | 35 | 40 | 50 | 60 | 65 | 25 | 25 | 25 | 25 | 65 | 25 | 25 | 25 | 25 | 25 | 65 | 25 | 25 | 25 | 25 | 25 | 65 | 25 | 25 | 25 | 25 | 65 | 25 | 25 | 25 | 65 | 25 | 25 | 25 | 65 | 25 | 25 | 25 | 25 | 20 | 20 | 0 | |||||||||||||||||||||||||||||||||||||||||||||||||||||||||||||||||||||||||||||||||||||||||||||||||||||||||||||||||||||||||||||||||||||||||||||||||||||||||||||||||||||||||||||||||||||||||||||||||||||||||||||||||||||||||||||||||||||||||||||||||||||||||
| 2 | 30 | 40 | 50 | 55 | 60 | 20 | 20 | 20 | 20 | 60 | 20 | 20 | 20 | 20 | 60 | 20 | 20 | 20 | 20 | 60 | 20 | 20 | 20 | 60 | 20 | 20 | 20 | 60 | 20 | 20 | 20 | 60 | 20 | 20 | 20 | 60 | 20 | 20 | 15 | 0 | 10 | 5 | |||||||||||||||||||||||||||||||||||||||||||||||||||||||||||||||||||||||||||||||||||||||||||||||||||||||||||||||||||||||||||||||||||||||||||||||||||||||||||||||||||||||||||||||||||||||||||||||||||||||||||||||||||||||||||||||||||||||||||||||||||||||||
| 1 | 30 | 35 | 45 | 50 | 55 | 20 | 20 | 20 | 20 | 55 | 20 | 20 | 20 | 20 | 55 | 20 | 20 | 20 | 20 | 55 | 20 | 20 | 20 | 55 | 20 | 20 | 20 | 55 | 20 | 20 | 20 | 20 | 55 | 20 | 20 | 20 | 20 | 15 | 0 | 10 | 5 | ||||||||||||||||||||||||||||||||||||||||||||||||||||||||||||||||||||||||||||||||||||||||||||||||||||||||||||||||||||||||||||||||||||||||||||||||||||||||||||||||||||||||||||||||||||||||||||||||||||||||||||||||||||||||||||||||||||||||||||||||||||||||||
| Inclinaison | Échauffement | Segments de programme | Récupération | ||||||||||||||||||||||||||||||||||||||||||||||||||||||||||||||||||||||||||||||||||||||||||||||||||||||||||||||||||||||||||||||||||||||||||||||||||||||||||||||||||||||||||||||||||||||||||||||||||||||||||||||||||||||||||||||||||||||||||||||||||||||||||||||||||||||||||||||||||||||||||||||||||||||||||||||||||||||||||||||||||||||||||||||||||||||||||||
| 1 | 2 | 3 | 4 | 1 | 2 | 3 | 4 | 1 | 2 | 3 | 4 | 1 | 2 | 3 | 4 | 1 | 2 | 3 | 4 | 1 | 2 | 3 | 4 | 1 | 2 | 3 | 4 | 1 | 2 | 3 | 4 | 1 | 2 | 3 | 4 | 1 | 2 | 3 | 4 | 1 | 2 | 3 | 4 | 1 | 2 | 3 | 4 | 1 | 2 | 3 | 4 | 1 | 1 | 2 | 3 | 4 | 1 | 2 | 3 | 4 | 1 | 2 | 3 | 4 | 1 | 2 | 3 | 4 | 1 | 2 | 3 | 4 | 1 | 2 | 3 | 4 | 1 | 2 | 3 | 4 | 1 | 2 | 3 | 4 | 1 | 2 | 3 | 4 | 1 | 2 | 3 | 4 | 1 | 2 | 3 | 4 | 1 | 2 | 3 | 4 | 1 | 3 | 4 | 1 | 2 | 3 | 4 | 1 | 2 | 3 | 4 | 1 | 2 | 3 | 4 | 1 | 2 | 3 | 4 | 1 | 2 | 3 | 4 | 1 | 2 | 3 | 4 | 1 | 2 | 3 | 4 | 1 | 2 | 3 | 4 | 1 | 2 | 3 | 4 | 1 | 2 | 3 | 4 | 1 | 2 | 3 | 4 | 1 | 2 | 3 | 5 | 4 | 3 | 4 | 1 | 2 | 3 | 4 | 1 | 2 | 3 | 4 | 1 | 2 | 3 | 4 | 1 | 2 | 3 | 4 | 1 | 2 | 3 | 4 | 1 | 2 | 3 | 4 | 1 | 2 | 3 | 4 | 1 | 2 | 3 | 4 | 1 | 2 | 3 | 4 | 1 | 2 | 3 | 4 | 1 | 2 | 3 | 4 | 1 | 2 | 3 | 3 | 4 | 1 | 2 | 3 | 4 | 1 | 2 | 3 | 4 | 1 | 2 | 3 | 4 | 1 | 2 | 3 | 4 | 1 | 2 | 3 | 4 | 1 | 2 | 3 | 4 | 1 | 2 | 3 | 4 | 1 | 2 | 3 | 4 | 1 | 2 | 3 | 4 | 1 | 2 | 3 | 4 | 1 | 2 | 3 | 4 | 1 | 2 | 3 | 1 | 2 | 3 | 4 | 1 | 2 | 3 | 4 | 1 | 2 | 3 | 4 | 1 | 2 | 3 | 4 | 1 | 2 | 3 | 4 | 1 | 2 | 3 | 4 | 1 | 2 | 3 | 4 | 1 | 2 | 3 | 4 | 1 | 2 | 3 | 4 | 1 | 2 | 3 | 4 | 1 | 2 | 3 | 4 | 1 | 2 | 3 | 4 | 1 | 4 | 1 | 2 | 3 | 4 | 1 | 2 | 3 | 4 | 1 | 2 | 3 | 4 | 1 | 2 | 3 | 4 | 1 | 2 | 3 | 4 | 1 | 2 | 3 | 4 | 1 | 2 | 3 | 4 | 1 | 2 | 3 | 4 | 1 | 2 | 3 | 4 | 1 | 2 | 3 | 4 | 1 | 2 | 3 | 4 | 1 | 2 | 3 | 4 | 0 | - | |
% de résistance
Force
Le profil montre le niveau 10 à 10 minutes (Les exercices plus longs répétent le segment du programme)

% d'inclinaison

Figure 8
Manuel
Aperçu du programme
Le mode Manuel est accessible au moyen de la touche Quick Start (Départ rapide) et par l'entremise du programme Manual (Manuel) qui permet de définir la durée du programme et le poids de l'utilisateur.
REMARQUE: Ce programme n'affiche pas de diagramme puisque la résistance et l'inclinaison sont des options contrôlées par l'utilisateur.
Cette page est intentionnellement laissée vierge.
4 - Entretien Préventif
Warnings
Tous les averissements et attentions énumérés en ce chapitre sont comme suit :
! AVERTISSEMENT : Toutes les activités d'entretien seront exécutées par le personnel qualifié. Le manque de faire ainsi a pu avoir comme conséquence des dommages sérieux.
! AVERTISSEMENT : Pour éviter tout chocoléctrique, assurez-vous que la machine est débranchée de la prise de courant avant d'exécuter des procédures de nettoyage ou d'entretien.
! AVERTISSEMENT : Pour empêcher le choc électrique, être sur que la puissance est coupée et l'unité est débranchée de la sortie électrique avant d'exécuter toutes les procédures de nettoyage ou d'entretien.
! AVERTISSEMENT : Articles humides de subsistance loin de l'intérieur des parties de l'unité. Le choc électrique pourrait se produit même si l'unité est débranchée. Ne pas toucher les composants sur le conseil inférieur. Une charge peut demeurer après avoir débranché le cordon de secteur et rotation autre de l'unité.
! AVERTISSEMENT : Le volant peut être chaud. Attendre jusqu'à ce qu'il se refroidisse avant l'entretien.
! AVERTISSEMENT : Le remplacement de la batterie doit être effectué par un technicien qualifié.
Activités Régulières D'Entretien
! AVERTISSEMENT : Toutes les activités d'entretien seront exécutées par le personnel qualifié. Le manque de faire ainsi a pu avoir comme conséquence des dommages sérieux.
Des activités d'entretien préventif doivent être exécutées pourmaintenir l'opération normale de votre unité. Garder une notation de toutes les actions d'entretien t'aidera en restant courant avec toutes les activités d'entretien préventif.Voir le programme de service situé à la fin de ce chapitre.
NOTE : Des composants usés ou endommages seront remplacés immédiatement ou l'unité enlevée du service jusqu'à ce que soit dépanné.
NOTE : Cybex n'est pas recherche ponsible pour effectuer des actions regulières d'inspection et d'entretien pour votre unité. Instruire tout le personnel dans des actions d'inspection et d'entretien d'équipement et également dans l'accident reporting/recording.
Nettoyage De Notre Entraineur D'Arc 610A De Cybex
! AVERTISSEMENT : Pour empêcher le choc électrique, être sur que la puissance est coupée et l'unité est débranchée de la sortie électrique avant d'exécuter toutes les procédures de nettoyage ou d'entretien.
En nettoyant votre jet d'unité un produit d'épuration doux, tel qu'une solution de l'eau et de dishsoap, sur un tissu propre d'abord et essuant alors l'unité avec le tissu humide.
NOTE: Ne pas pulveriser la solution de nettoyage directement sur l'unité. La pulverisation directe a pu endommager l'électronique et peut vider la garantie.
Après que chaque chiffon - d'utilisation vers le haut de n'importe quel liquide se renverse immédiatement. ÀpRES chaque séance d'entrainment, employer un tissu pour essuyer vers le haut de toute transpiration restante des balustrades et des surfaces peintes.
Faire attention à ne pas renverser ou ne pas obtenir l'humidité excessive sur la console et à ne pas monrer des recouvrents, comme ceci pourraitmaker un risque électrique ou causeur l'échec de l'électronique.
En tant que vide - nécessaire la toute poussière ou saleté sous lesquelles pourrait s'accumuler ou autour de l'unité. Le nettoyage de ce secteur devrait être fait aussi souvent comme indiqué dans le programme de service.
! AVERTISSEMENT : Articles humides de subsistance loin de l'intérieur des parties de l'unité. Le choc électrique pourrait se produit même si l'unité est débranchée. Ne pas toucher les composants sur le conseil inférieur. Acharge peut rester après avoir débranché le cordon de secteur et rotation outre de l'unité.
Pour nettoyer à l'intérieur de l'unité, enlever les quatre vis principales Phillips fixant la couverture d'accès en place. Employer un vide d'attachment ou de main de vide pour nettoyer l'altitude exposée et pour enlever la saleté et les débris au loin des composants internes.
Employer un tissu sec pour essuyer tous les secteurs exposés. Remplacer la couverture d'accès et la fixer avec les vis une fois fini.
Soulever l'arrière de l'unité et le rouler en arrêt de sa position actuelle afin de nettoyer à l'aspirateur la surface couverte sous l'unité. Une fois fini, remettre l'unité en sa position normale.
Entrer en contact avec les contaminants de poignées de fréquence - cardiaque, tels que des lotions de main, les pétroles ou la poudre de corps, peut venir au loin sur les poignées de fréquence cardiaque de contact. Celles-ci peuvent réduire la sensibilité et interférer le signal de fréquence cardiaque. On lui recommende que l'utiliseur aient les mains propres en utilisant la fréquence cardiaque de contact. Nettoyer les poignées en utilisant un tissu humecté de une solution de nettoyage contenant l'alcool. Les poignées sont la seule partie de l'unité que tu devrais employer une solution de nettoyage contenant l'alcool.
Entretien De Ceinture D'Entrainnement
Il y a deux ceintures d'entrainment qui peuvent devenir l'achement, portées ou fendues. Voir Le Schéma 1.
La ceinture primaire - ceci est la plus large des deux ceintures. Elle a les cannelures qui la maintiennent alignée sur la grande poulie supérieure. À moins que l'unité ait été entretenue et ensemble pas remise correctement, il est peu probable que la ceinture primaire devra re-être tendue.
La ceinture secondaire - ceci est la plus étroite des deux ceintures. Elle a les cannelures qui la maintainennent alignée sur la poulie d'entrainment du volant. Il est peu probable que la ceinture secondaire deviendra l'âche parce qu'elle est étirer-a adapté la ceinture. À moins que l'unité ait été travaillée dessus et ensemble pas remise correctement, il est peu probable la tension changera.

Figure 1
Suisse ce procédé d'entretien de ceinture d'entrainment pour s'assurer que les ceintures sont tendues correctement et en bon état. Voir le programme de service en ce chapitre pour un programme minimum pour vérifier la tension de couroie et la condition. NOTE : Pour enlever et replacer les ceintures un technicien qualifié de service devrait suivre le procédé de ceintures d'entrainment dans le chapitre de service.
Outils Requis
! AVENTISSEMENT : Débrancher le cordon de secteur avant de commencer ce procédé. Maintenir les articles humides partis de l'intérieur des parties de l'unité. Le choc électrique pourrait se produit même si l'unité est débranchée.
- Lire et comprendre cette section d'entretien de ceinture d'entrainment complètement avant la marche à suivir à l'étape 2.
- Débrancher la source d'énergie externe.
A. Si votre machine comprend un ensemble d'alimentation c.a., débranchez le cordon d'alimentation de la prise électrique.
- Enlever la couverture d'accès.
A. En utilisant un tournevis principal Phillips, enlever les quatre vis fixant la couverture d'accès en place. Voir Le Schéma 2.
B. Enlever la couverture d'accès.
! AVERTISSEMENT : Le volant peut être chaud. Attendre jusqu'à ce qu'il se refroidisse avant l'entretien.
- Vérifiez l'etat de chaque courroie.
A. Enroulez chaque courroie en tirant dessus.
Examinez l'etat de chaque courroie. Si une courroie présente des fissures ou semble être usée, elle doit être remplaçée immédiatement par un technicien qualifié.
- Fixez le couvercle d'accès.
A. À l'aide d'un tournevis cruciforme, serrez d'abord les deux vis supérieures (retirées à l'objet 3B). REMARQUE: Ne serrez pas trop les vis.
B. Serrez les deux vis inférieures qui ont été retirées à l' étape 3A. REMARQUE: Ne serrez pas trop les vis. Reportez-vous à la figure 2.
- Vérifiez le bon fonctionnement de la machine.

Figure 2
Lubrification
Les pieces de l'Arc Trainer 630A ne requirement pas d'entretien. Bien que les paliers comprehennent des raccords de graissage, il n'est pas nécessaire de les relubrifier.
Lubrification du moteur d'élévation - Avec le temps, les points de pivotement du moteur d'élévation peuvent cause un grincement. En cas de grincement, la machine doit être réparée par un technicien qualifié.
Milieu
Électricité statique - Selon le lieu, l'air peut être sec, ce qui entraîne féquèment de l'électricité statique, tout particulièrement en hiver. Vous noterez que le fait de marcher sur une moquette puis de toucher un objet métallique suffit à faire accumulator l'électricité statique. Il en va de même lorsque vous utilisez la machine. Un choc peut être ressenti en raison de l'accumulation d'électricité statique sur le corps et de sa décharge à travers la machine. Dans ce cas, vous souhaïterez peut-être augmenter l'humidité à un niveau comfortable en utilisant un humidificateur.
Humidité - La machine est donc pour fonctionner normalement dans un milieu dont le taux d'humidité relativ est de 30 à 75%.
REMARQUE: N'installez pas et n'utilise pas la machine dans une zone très humide, par exemple à proximé de bains de vapeur, d'un sauna, d'une piscine interieure ou à l'extérieur. L'exposition prolongée à la vapeur d'eau, au chlore ou au brome peut endommager les composants électroniques ainsi que les autres pièces de la machine.
Température - La machine est conçue pour fonctionner normalement dans un milieu où la température ambiente varie de 10^ ( 50^ ) à 40^ ( 104^ ).
Entreposage
Humidité - La machine peut être expédée et rangee dans un milieu ou l'humidité relative varie de 10 à 90 %.
REMARQUE: N'entreposez pas et n'utilise pas la machine dans une zone très humide, par exemple à proximé de bains de vapeur, d'un sauna, d'une piscine interieure ou à l'extérieur. L'exposition prolongée à la vapeur d'eau, au chlore ou au brome peut endommager les composants électroniques ainsi que les autres pieces de la machine.
Température - La machine est conçue pour fonctionner normalement dans un milieu où la température ambiente varie de 0^ ( 32^ ) à 60^ ( 140^ ).
Service Le Programme

AVENTISSEMENT
Toutes les activités d'entretien doivent être exécutées par du personnel qualifié. Le fait de ne pas respecter cette consigne peut entraîner des blessures graves.
Calendrier d'entretien
REMARQUE: Il s'agit du service minimum recommendé.
REMARQUE: Si vous utilisez l'ensemble d'alimentation c.a. optionnel, debranchez la machine de la prise murale.
Pour déterminer le kilométrage.
- Entrez le mode test en,enfantant une touche pendant trois secondes tout en pédalant.
- Appuyez ensuite sur
| Date | Kilometrage | Servizio | Initiales |
Les 800 premiers
kilomètres (500 milles)
A la tension et l'usure des courroies d'entrainment.
Tous les 8000 kilomètres (5000 milles)
A Vérifiez la tension et l'usure des courroies d'entrainment.
B Déplacez la machine et pour passer l'aspirateur en-dessous.
C Retirez le couvercle d'accès pour nettoyer l'intérieur - utilisez un chiffon sec et passez l'aspirateur.
Tous les 32 000 kilomètres (20 000 milles)
D Vérifiez l'ensemble d'élévation et remplacez les pieces usées.
E Lubrificez les bagues.
Le 630A Arc Trainer comprehend une batterie rechargeable d'accumulateurs au plomb de 12 volts. Celle-ci se recharge pendant le fonctionnement normal de la machine et également lorsque l'adaptateur d'alimentation optionnel est branché.
La console indique si la charge de la batterie est en cours en allumant une DEL pres du texte « charge en cours ». Si cette batterie avait ne pas fournir suffisamment d'énergie, des traits apparaitraient à l'affichage d 'inclinaison. La machine continuaera de fonctionner normalement, même si la fonction d'inclinaison est désactivée.
! AVERTISSEMENT: Le remplacement de la batterie doit etre effectue par un technicien qualifie.
Lorsque la batterie est complètement déchargée, la revue de l'exercice physique est également écourte si l'utilisateur ne pédale pas pendant cette période. Pour remplaçer la batterie ou acheter l'ensemble adaptateur c.a. optionnel de recharge de la batterie, communiquez avec le service Cybex. Reportez-vous au chapitre 6.
Cette page est intentionnellement laissée vierge.
5 - Installation et assemblage
Avertissements et mises en garde
Tous les avertissements et les mises en garde cites dans ce chapitre seprésentent comme suit :
! AVERTISSEMENT : Faites preuve d'une extrème prudence lorsque vous assemblez l'appareil. Le non-respect de cette consigne pourrait entrainer des blessures.
! AVERTISSEMENT : Deux personnes au minimum sont requises pour soulever, déplacer et assembler cet apparéil. Utilisez toujours la méthode de levage appropriée lorsque vous déplacez des objets lourds.
! AVENTISSEMENT : Avant de poursuivre, assurez-vous que les installations électriques répondent aux exigences indiquées au recto du manuel et au début de ce chapitre.
! AVERTISSEMENT : Attendez que toutes les pieces mobiles soient complètement arrêtées avant demettre pied à terre.
! MISE EN GARDE : Deux personnes au minimum sont requises pour assembler cette apparéil.
Choix et préparation d'un emplacement
Avant d'assembler l'appareil, vous nevez besoin un emplacement approprié et dispose d'une prise de courant équate afin d'assurer une sécurité et un fonctionnement optimum. Reportez-vous à la section Configuration électrique (page suivante) pour déterminer vos besoins en tension.
L'emplacement que vous choisissez pour l'appareil devrait etre bien eclairé et bien ventilé. Placez l'appareil sur une surface structurellement saine et de niveau. Laissez suffisamment d'espace pour assurer la sécurité de l'accès et du passage pendant l'utilisation de l'appareil. De plus, laissez un espace minimum de 5 po (13 cm) derriere l'appareil pour autoriser I'élevation. Si l'appareil doit etre instalé au-dessus du premier étage, placez-le pres ou au-dessus des poutres principales. Pour protégger la moquette, placez une base en bois de 3/4 po (1,9 cm) d'épaisseur sous l'appareil. Assurez-vous d'utiliser les patins en caoutchouc illustrés à la page 5 -9.
Humidité - L'appareil est donc pour fonctionner normalement dans un environnement dont le taux d'humidité relative se situe entre 30 et 75% .
REMARQUE : N'installez pas et n'utilisez pas l'appareil dans un endroit où le taux d'humidité est élevé, par exemple à proximate de bains de vapeur, d'un sauna, d'une piscine interieure ou à l'extérieur. Une exposition excessive à la vapeur, au chlore et/ou au brome pourrait avoir de graves conséquences sur les composants électroniques et autres pieces de l'appareil.
Température - L'appareil est donc pour fonctionner normalement dans une plage de température ambiente de 50^ ( 10^ ) à 104^ ( 40^ ).
Pour de plus amples renseignements sur l'entreposage de l'appareil, reportez-vous au chapitre 4.
Configuration électrique
REMARQUE: Le bloc d'alimentation c.a. est optionnel avec l'Arc Trainer 630A.
Assurez-vous que l'appareil est branché à une prise adaptée à la fiche. REMARQUE: N'utilise pas d'adaptateur de fiche de mise à la terre pour adapter la fiche du cordon d'alimentation à 3 broches à une prise non mise à la terre.
REMARQUE : Utilisez uniquement le bloc d'alimentation c.a. fourni par Cybex. Adressez toute question à un électricien.
Assemblage de l'Arc Trainer 630A
! AVERTISSEMENT : Faites preuve d'une extrème prudence lorsque vous assemblez l'appareil. Le non-respect de cette consigne pourrait entrainer des blessures.
! MISE EN GARDE : Un minimum de deux personnes est requis pour assembler cet apparéil.
Outils requisite
- Tournevis Phillips
- Clé dynamométrique
- Clé Allen de 3/16 po (fournie)
- Clé Allen de 7/32 po (fournie) (2)
- Clé à fourche de 9/16 po
REMARQUE: Les mots « gauche » et « droite » indiquent l'orientation de l'utilisateur.
- Avant d'assembler cet apparéil, assurez-vous de dire attentivement et de bien comprendre toutes les instructions.
REMARQUE : Chaque étape numérotée des instructions d'assemblage indique ce qu'il faut faire. Les étapes désignées par une dette suivant chaque numéro décrivent la procédure requise. Ne passes pas à l'étape 2 avant d'avoir lu attentivement toutes les instructions d'assemblage.
- Vérifiéz si vous avez reçu le paquet approprié.
A. Lisez l'étiquette apposoed sur l'extérieur de la caisse et vérifie si le numero de modèle et la tension correspondent à votre commande.
- Deballez et vérifie le contenu des boîtes.
A. Soulevez et retirez le manchon en carton qui entoure l'appareil.
B. Vérifiez la peinture pour vous assurer que la couleur est bien celle que vous avez commande.
C. Si vous avez commande le bloc d'alimentation c.a. optionnel, vérifie si vous disposez du cordon d'alimentation approprié en consultant l'étiquette de la tension apposée à côté de l'entrée de courant.
D. Vérifiez si vous disposez des articles suivants. Cochez (√) les articles à mesure que vous les trouvez. Reportez-vous à la figure 1. En cas de piece manquante, contactez le Service à la clientele Cybex.
| Article | Qté | N° de piece | Description |
| □ 1 | 1 | Varie | Base avec couvercles fixés |
| □ 2 | 1 | Varie | Console (dans la boîte) |
| □ 3 | 1 | PL-17209 | Porte-bouteille d'eau (dans la boîte) |
| □ 4 | 2 | 11090-405 | Patin (dans la boîte) |
| □ 5 | 1 | AW-19522 | Cordon d'alimentation 115 V c.a. (optionnel) |
| □ 5 | 1 | AW-19521 | Cordon d'alimentation 230 V c.a. (optionnel) |
| □ 5 | 1 | AW-19587 | Cordon d'alimentation 100 V c.a. (optionnel) |
| □ 5 | 1 | EW600005 | Cordon d'alimentation 220 V c.a. (optionnel) |
| □ 6 | Non utilisé | ||
| □ 7 | 1 | S/O | Sac de quincaillerie (dans la boîte) |
| □ 8 | 1 | 5630A-2 | Manuel du propriétaire (dans la boîte) |
| □ 9 | 1 | 630A-352 | Poster d'assemblage |
| □ 10 | 1 | 600A-301 | Feuille de garantie |
| □ S/O | 1 | 610A-373 | Instructions, remarque concernant l'assemblage du 630A |
| S/O signifie sansobjet | |||

Figure 1
E. Cochez (√) les articles se trouvant dans le sac de quincaillerie à mesure que vous les trouvez. Reportez-vous à la figure 2.
| Article | Qté | N° de pièce | Description |
| □ 11 | 1 | YA000201 | Adhésif frein-filet |
| □ 12 | 2 | 600A-311 | Entreose d'accoupling |
| □ 13 | 4 | JC700422 | Vis de blocage à tête ronde 0,375-16 x 1,50 |
| □ 14 | 2 | HT552515 | Vis à tête cylindrique à dépouille et autotaraudeuses cruciformes8-16 x 0,75, type WB, noires |
| □ 15 | 2 | HX622815 | Vis à chapeau à tête creuse 0,250-20 x 0,75 |
| □ 16 | 4 | JS347400 | Rondelle à denture interne |
| □ 17 | 2 | PL-16535 | Capuchon de tige de liaison |
| □ 18 | 2 | BK030204 | Clé Allen 7/32 po |
| □ 19 | 1 | BK030201 | Clé Allen 3/16 po |
| □ 20 | 2 | HS307601 | Rondelle 0,281 x 0,50 |


Figure 2
! MISE EN GARDE : Deux personnes au minimum sont requises pour soulever, déplacer et assembler cette machine. Utilisez toujours les méthodes de levage appropriées lors du déplacement d'articles lourds.
4. Soulevez et déplacez l'appareil
A. Retirez avec précaution les tire-fond et les supports d'expédition. REMARQUE: Pour le moment, laissez le matériel d'emballage sur les bras oscillants (afin d'éviter de rayer la peinture pendant l'assemblage).
B. Avec une personne de chaque cote de la machine, saisissez fermement chaque pied arrière.
C. Suivez les méthodes de levage appropriées pour soulever les pieds arrêté de façon à ce que les roues de transport avant puissant rouler sur le sol.
D. Déplacez ou faites rouler l'appareil jusqu'à l'endetroit où vous souhaitez l'insteller.
E. Abaissez avec précaution les pieds arrêté inférieurs de sorte que la machine se trouve à l'emplacement prévu.
5. Fixez la console.
REMARQUE : Si vous installez l'option Cybex Personal Entertainment Monitor (Monitreur audio-video personnel), reportez-vous aux pages 5 - 13 pour consulter les instructions d'installation.
A. Repérez la console (n° 2), les quatre vis 0,375-16 x 1,50 (n° 13) et les quatre rondelles (n° 16).
Reportez-vous à la figure 3.

Figure 3

Figure 4
B. Repérez le cable supérieur de l'afficheur et branche-les dans le cable inférieur de l'afficheur, dans le chassin principal. Reportez-vous à la figure 4.
C. Reprez le cable supérieur du système de détction du rythme cardiaque par contact et branchez-le dans le cable inférieur du système de détction, dans le chassin principal. Reportez-vous à la figure 4.
REMARQUE : Assurez-vous que les connecteurs de cable sont bien fixés.
D. Placez la console (n^2) dans la position appropriée sur le chassin principal et enfilez manuellement les quatre vis 0,375-16 x 1,50 (n^13) et les quatre rondelles (n^16) . Reportez-vous à la figure 4.
REMARQUE : Assurez-vous de ne pincer aucun cable lorsque vous baissez la console.
E. Serrez solidement les vis 0,375-16 x 1,50 (n° 13) à l'aide de la clé Allen (n° 19) fournie.
6. Retirez les guidons droit et gauche.
REMARQUE: À la livraison, l'emplacement des guidons droit et gauche est inversé. Pour pouvoir assembler et configurer l'appareil correctement, les guidons doivent être retires et mis à leur emplacement respectif. Reportez-vous à la figure 5.
A. Repérez les deux vis et les deux rondelles qui fixent chaque guidon au châssis principal. Reportez-vous à la figure 6.
B. À l'aide d'une clé Allen de 7/32 po (n° 18), fixez les deux vis et les deux rondelles du guidon droit. Reportez-vous à la figure 6.
REMARQUE: Le guidon croit est monté à gauche. Reportez-vous à la figure 5.
C. Retirez le guidon croit et mettez-le de côté.
D. Retirez les deux vis et les deux rondelles du guidon gauche.
REMARQUE: Le guidon gauche est monté à droite. Figure 5.
E. Retirez le guidon gauche du côté droit. Reportez-vous à la figure 5.
7. Installez le guidon gauche.
A. Placez le guidon gauche à sa place, à gauche, à l'endetroit d'ou vous avez retire le guidon droit à l'etape 6C.
B. Appliquez de I'adhesif frein-filet (n^11) sur les filets, dans le bras et dans les vis retirees a à l'etape 6B.
C. Fixez le guidon gauche à l'aide des deux vis et des deux rondelles rétiées à l'étape 6B. REMARQUE : Lorsqu'elles sont serrées correctement, les pattes du chassin sont bien ajustées contre le palier.
D. Repérez la tige de liaison gauche, le guidon gauche, le capuchon de tige de liaison (n^17) , l'entretoise (n^12) , la vis 0,250 - 20× 0,75 (n^15) et la rondelle 0,281× 0,50 (n^20) . Reportez-vous à la figure 7.
E. Placez une goutte d'adhésif frein-filet sur chaque vis de blocage à tête ronde et une autre goutte dans l'arbre (la où chaque vis sera insérée et vissee). Fixez ensuite la tige de liaison au guidon avec le capuchon de tige de liaison (n^17) , l'entretoise (n^12) , la

Figure 5

Figure 6
vis de blocage à tête ronde/adhésif frein-filet 0,250-20 x 0,75 (n° 15) et la rondelle 0,281 x 0,50 (n° 20), tel qu'illustré aux figures 7 et 9. REMARQUE: La vis de blocage à tête ronde 0,250-20 x 0,75 (n° 15) doit être serrée à 90 po/lb (10,16 N-m) minimum.
8. Installes le guidon droit.
A. Placez le guidon croit à sa place, à droite, à l'endroit d'ou vous avez retire le guidon gauche à l'étape 6C.
B. Appliquez de l'adhesif frein-filet (n^11) aux filets se trouvant a l'intérieur du bras et aux vis retirées à l'etape 6D.
C. Fixez le guidon droit à l'aide des deux vis et des deux rondelles retirees à l'etape 6D. REMARQUE: Si les pattes du chassin sont bien serrées, elles sont bien ajustées contre le palier.
D. Repérez la tige de liaison droite, le guidon droit, le capuchon de la tige de liaison (n^17) , l'entretoise (n^12) , la vis 0,250 - 20 × 0,75 (n^15) et la rondelle 0,281 × 0,50 (n^20) . Reportez-vous à la figure 8.
E. Fixez la tige de liaison au guidon avec le capuchon de tige de liaison (n^17) , l'entretoise (n^12) , la vis de blocage a tete ronde 0,250-20 x 0,75 (n^15) et la rondelle 0,281 x 0,50 (n^20) , tel qu'illustré aux figures 8 et 9. REMARQUE : La vis (n^15) doit etre serree au couple minimum de 90 pi/lb (10,16 N-m).

Figure 7

Figure 8

Figure 9

Figure 10
F. Assurez-vous que les guidons sont maintainant installés à l'emplacement approprié, tel qu'illustré à la figure 10.
9. Branchez les câbles du dispositif de détéction du rythme cardiaque.
A. Repérez le fil du dispositif de détction du rythme cardiaque qui sort du guidon droit. Reportez-vous à la figure 11.
B. Branchez le cable du dispositif de détention du rythme cardiaque dans la prise du chassin principal.
C. Repérez le fil du dispositif de détction du rythme cardiaque qui sort du guidon gauche.
D. Branchez le cable du dispositif de détention du rythme cardiaque dans la prise du chassin principal.
10. Fixez le porte-bouteille d'eau.

Figure 11
A. Tenez le porte-bouteille d'eau (n° 3) avec les deux mains et tirez-le avec précaution vers l'extérieur; continuez à le tirer (ouvert) pendant l'étape 10B. Reportez-vous à la figure 12.
B. Placez le porte-bouteille (n^3) sur le chassin, avec le grand cote à l'extérieur du chassin, tel qu'illustré à la figure 12.
REMARQUE: Le porte-bouteille d'eau peut etre place d'un cotoé ou de l'autre de l'appareil.
C. À l'aide d'un tournevis Phillips, fixez le porte-bouteille (n° 3) au chassin au moyen des deux vis 8-16-18 x 0,75 (n° 14). Reportez-vous à la figure 13. REMARQUE: Ne serrez pas excessivement les vis.

Figure 12

Figure 13
11. Fixez les patins.
A. Demandez à une personne de soulever l'appareil tandis qu'une autre place un patin (n° 4) sous chacun des deux pieds arrêté. Reportez-vous à la figure 14.

Figure 14
12. Mettez l'appareil de niveau.
A. Assurez-vous que l'appareil est posé sur une surface plane. Sinon, utilisez une clé à fourche de 9/16 po pour ajuster la hauteur des pieds de mise à niveau vers le haut ou vers le bas. Reportez-vous à la figure 15.

Figure 15
13. Branchez le cordon d'alimentation optionnel.
REMARQUE: Le cordon d'alimentation est inclus dans le le kit d'alimentation c. a. optionnel.
A. Branchez le cordon d'alimentation optionnel (n^5) dans l'entrée de courant. REMARQUE: Pour le moment, ne branchez pas le cordon d'alimentation optionnel dans une prise de courant. Reportez-vous à la figure 16.
14. Inspectez visuellement l'appareil.

Figure 16
A. Enlevez avec
précaution tout
le matériel d'emballage des bras et du reste de l'appareil.
B. Examinez minutieusement l'appareil afin de vous assurer que l'assemblage est adequat et terminé.
! AVERTISSEMENT : Avant de poursuivre, assurez-vous que les installations électriques répondent aux exigences indiquées au recto du manuel et au début de ce chapitre.
Essai de fonctionnement
Suivez les instructions ci-après pour tester toute les plages de résistance et d'inclinaison de l'appareil.
- Branchez le cordon d'alimentation dans une prise de courant d'un circuit mis à la terre, tel qu'expliqué sous la section Configuration électrique de ce chapitre. REMARQUE: Enroulez le restant du cordon d'alimentation et rangez-le à l'écart.
- Vérifiéz si le panneau de commande s'allume et s'il se met en mode Dormant lorsque l'adaptateur de courant est utilisé.
REMARQUE : Si vous n'utilise pas le kit d'alimentation c.a., l'écran ne s'allume pas avant l'étape 4.
- Tenez le guidon pour vous stabiliser lorsque vous placez les pieds sur les pédales.
- Commencez a pédaler.
- Appuyez sur la touche Quick Start (Départ rapide).
- Faites fonctionner l'appareil dans toute sa plage de résistance. Appuyez d'abord sur la touche de la résistance Resistance + jusqu'à ce que l'appareil atteigne sa charge la plus élevé ; (l'écran indique « 100 »). Appuyez ensuite sur la touche de résistance Resistance - jusqu'à ce que l'appareil atteigne sa charge la plus faible ; l'écran indique « 0 ». Tandis que vous marchez à grandes fouées, vous percevez les variations de la résistance.
REMARQUE : Lorsque l'appareil atteint l'inclinaison et la résistance définies, les afficheurs arrêtent de clignoter et demeurent allumés pour indiquer que les valeurs souhaitées ont été atteintes.
- Faites fonctionner l'appareil dans toute sa plage d'inclinaison. Appuyez d'abord sur la touche d'inclinaison Incline jusqu'à ce que l'appareil atteigne son niveau d'inclinaison le plus élevé (l'afficheur indique « 10 »). Appuyez ensuite sur la touche d'inclinaison Incline jusqu'à ce que l'appareil atteigne son niveau d'inclinaison le plus faible (l'afficheur indique « 0 »).
! AVERTISSEMENT : Attendez que toutes les pieces mobiles soient complètement arrêtées avant demettre pied à terre. - Appuyez deux fois sur Pause/end (Pause/fin) pour ramener l'inclinaison à son niveau de départ,mettre fin à la revue de l'exercice physique et revenir au mode Dormant.
- Attende que les repose-pied soient complètement arrêtés avant de descendre de l'appareil. Tenez les guidons pour vous stabiliser tandis que vous descendez de l'appareil.
Définition des options d'utilisation
REMARQUE: Si vous utilisez le bloc d'alimentation c.a. optionnel, débranchez-le de la prise murale.
- Entrez en mode Test en maintainant n'importe qu'elle touche enfoncée pendant trois secondes tandis que vous pédalez. L'afficheur indique « SArc »
REMARQUE: ÀpRES avoir changé une valeur, vous devez appuyer sur Enter (Entr) pour l'enregistrer. Lorsque vous appuyez sur Enter, l'écran affiche « updt » (mis à jour) pour confirmer la seLECTION.
- Appuyez sur la touche du poids Weight afin de définir les options et de changer les valeurs à l'aide des touches et , puis appuyez sur Enter (Entrer) pour enregistrer votre sélection. Chaque fois que vous appuyez sur la touche Weight, l'ensemble de données suivant s'affiche dans l'ordre ci-après.
Unit - (Unités) Les可以选择 mesures « Eng » (Anglaises) ou « Euro » (métriques). Les mesures anglaises (« Eng ») constituent la valeur par défaut.
Scan - (Défilament) Vous permet d'activer ou de désactiver le défilament des données (sauf si vous appuyez sur une touche de données pendant un exercice). La valeur par défaut est ON (activée).
Def - (Défaut) Il s'agit de la durée par défaut pour les programmes basés sur la durée si un utilisateur ne réinitialise pas la durée. Par exemple, en appuyant sur Time, (Durée) vous pouvez diminuer ou augmenter la durée définie pour l'exercice jusqu'à concurrence de la valeur définie pour la durée maximum. Les choix (en minutes) sont les suivants : 20, 30, 40, 50 et 60. La valeur par défaut est 20.
Max - (Maximum) Il s'agit de la durée maximum pendant laquelle l'appareil peut fonctionner chaque fois qu'il est utilisé. Vous pouvez limiter la durée accordée aux utilisateurs ou selectionner « none » (aucune) pour accorder une durée illimitée. Les可以选择 (en minutes) sont les suivants : 20, 30, 40, 50, 60, 90, 120 et « aucune » pour une durée illimitée. La valeur par défaut est 60.
Idle (ou Workout Review): - (Repos ou Revue de l'exercice) Indique pendant combien de temps l'appareil conserve et affiche les données de votre exercice actuel pendant une pause au cours de l'exercice, ou après l'exercice. Les可以选择 sont les suivants : 20 secondes ; 30 secondes ; 40 secondes ; 1 minute et 5 minutes ; la valeur par défaut est 20 secondes.
PD (Presence Detect) - (Detecteur de présence) Indique pendant combien de temps l'Arc continua la séance d'exercice si l'utilisateur descend de l'appareil ou arrête de bouger. La plage de besoin va de 5 à 60 secondes. La valeur par défaut est 5 secondes. REMARQUE : Pour de plus amples renseignements, reportez-vous à la rubrique Détction de présence du chapitre 3.
Rappel: Àpèrs avoir changé une valeur, vous devez appuyer sur Enter (Entrer) pour l'enregistrer.
- Pour quitter le mode Test, appuyez une fois sur la touche Pause/end (Pause/fin).
Votre appeareil est maintainant pret a etre utilise. Suivez les instructions indiquees dans le chapitre Utilisation pour apprende a faire fonctionner l'appareil.
! Avertissement : Pour éviter les blessures, cet apparéil doit être solidement fixé, conformément aux instructions d'installation.
Moniteur personnel audio-video Cybex - Optionnel
Outils requisite
- Clé Allen de 3 mm (fournie avec l'appareil)
-
Clé Allen de 7/32 po (fournie avec l'appareil)
-
Veuillez lore attentivement les instructions avant de commencer.
- Vérifiez le contenu du kit illustré à la figure 17.
A. Console avec support de moniteur (1), 630A-220
B. Câbles coaxial et d'alimentation (1), 630 A-104 (dans le chassin de l'Arc)
C. Bague de serrage (1), PP740000
D. Clé Allen de 3 mm (1), BK030210
E. Poster (1), 630A-384 (non illustré)
F. Feuille de garantie (1), LT-20219 (non illustrée)
G. Ligature de cable (2), EW000028
- Vérifiez le contenu du kit du moniteur illustré à la figure 18.
H. Moniteur (1), EE000005 ou EE000007
I. Telecommande (1), EM000000
J. Piles de la télécommande, AAA (2), S/O
K. Vis de montage, M4 x 0,7 x 10 mm (4), HC692860
L. Rondelles, verrouillage exter (4), HS047300
M. Rondelles plates M4 (4), HS097600
N. Adaptateur de courant c.a./c.c. (1), ET300038
O. Cordon alimentation, 115 V c.a. (Cordons spécifiques au pays fournis avec le produit), (1), EW600000
P. Manuel du propriétaire du moniteur personnel audio-video (1), LT-20191
- Installation des câbles coaxial et d'alimentation dans le support de console.
A. Placez le support de console sur l'Arc Trainer, tel qu'illustré à la figure 19. REMARQUE: L'accès pour acheminer le cable sera ainsi facilité.

Figure 17

Figure 18

Figure 19
B. Repérez les câbles coaxial et d'alimentation (B) qui sortent du dessus du chassin de l'Arc.
C. Insérez les câbles coaxial et d'alimentation (B) dans le bas du support de la console jusqu'à ce que 8 po (20 cm) de cable-sortent sur le dessus. Reportez-vous à la figure 20.
REMARQUE: 8 po (20 cm) exactement de cable doit sorting sur le dessus du support du moniteur.
5. Fixez la console.
A. Repérez la console, quatre vis de blocage à tête ronde et quatre rondelles de blocage.
B. Branchez le cable de l'afficheur supérieur dans le cable de l'afficheur inférieur, dans le chassinis principal. Reportez-vous à la figure 21.
REMARQUE: Assurez-vous que les connecteurs de cable sont solidement attachés.
C. Tandis que 8 po (20 cm) des câbles coaxial et d'alimentation (B) seront du dessus de la console, tirez le surplus des câbles coaxial et d'alimentation hors du bas du châtiss principal.
D. Placez la console à sa place sur le chassin principal et inserez manuellement chacune des quatre vis de blocage à tete ronde et des quatre rondelles de blocage. Reportez-vous à la figure 21.
REMARQUE : Assurez-vous de ne pincer aucun cable lorsqu'elles abaissez la console.
E. Fixez solidement les quatre vis de blocage à tête ronde à l'aide d'une clé Allen de 7/32 po.
6. Installez le moniteur
A. Repérez le moniteur (H), quatre vis de montage (K), quatre rondelles de blocage (L) et quatre rondelles plates (M).
B. Retirez le couvercle arrêté du monitér (H) en appuyant sur les languettes inférieures du couvercle vers l'intérieur et en les faisant pivoter vers l'extérieur. Reportez-vous à la figure 22.

Figure 20

Figure 21

Figure 22
C. Insérez le cable d'alimentation de (B) dans l'orifice situé sur le côté gauche du support du moniteur. Reportez-vous à la figure 23.
D. Insérez le cable RJ-45 et l'extrémité du cable coaxial (B) dans l'orifice situé sur le côté droit du support du moniteur. Reportez-vous à la figure 23.
E. À l'aide d'une clé Allen de 3 mm, fixez la ferrure du moniteur au support du monitér à l'aide des quatre vis de montage (K), des quatre rondelles de blocage (L) et des quatre rondelles plates (M). Reportez-vous à la figure 23.
F. Insérez les câbles coaxial et d'alimentation et le cable RJ-45 dans le monitateur, tel qu'illustré à la figure 24. REMARQUE : L'utilisation de l'accès CSAFE (Communications Specification for Fitness Equipment) est optionnel et exige un cable et un dispositif CSAFE.
G. Fixez le cable d'alimentation à la plaque du moniteur à l'aide de la ligature de cable (G). Reportez-vous à la figure 25.
H. Installez le couvercle arrêté sur le monitateur (H). Reportez-vous à la figure 26.

Figure 23

Figure 24

Figure 25

Figure 26
8. Branchez l'adaptateur de courant c.a./c.c. et le cable coaxial
A. Repérez l'adaptateur de courant c.a./c.c. (N) fourni avec le moniteur et branche-les au cable d'alimentation qui sort de la base de l'Arc.
B. Branchez le cordon d'alimentation (O) dans l'adaptateur de courant c.a./c.c. (N). REMARQUE: Le cordon d'alimentation (O) varie selon le pays.
C. Enfilez le cable de la source/antenne (fourni sur place) dans le cable coaxial qui sort de la base de l'Arc.
9. Configurez le moniteur avant de l'utiliser pour la première fois.
A. Repérez le Manuel du propriétaire du monitér audio-video personnel (LT-20191) et suivez les procédures de configuration décrites au chapitre 5.
B. Branchez le cordon d'alimentation (O) dans la prise murale.
C. Branchez les haut-parleurs (non fournis) dans la prise de casque située sur la base de la console.
D. Reportez-vous au chapitre 3 du Manuel du propriété du moniteur personnel audio-video pour apprendre comment utiliser les touches deschains et du volume situées dans la partie centrale inférieure de la console de l'Arc. Reportez-vous à la figure 27.

Figure 27
- Passez maintainant à l'étape 6, page 5 - 6.
Assemblage du bras de calage du Total Access
REMARQUE: Ce bras de calage n'est utilisé que sur l'appareil Total Access.
Outils requisite
- Clé Allen de 5/32 po
- Clé à fourche de 7/16 po
Perceuse -
Mègeche de 9/32 po (fournie avec l'appareil)
-
Veuillez dire attentivement les instructions avant de commencer.
- Vérifiez le contenu du kit. Reportez-vous à la figure 1.
A. Bras de calage, (1), 630A-150
B. Gabarit du bras de calage, (1), 630A-345
C. Vis de blocage à têteronde 0,250-20 x 0,625, (3), HC620414
D. Contre-écrou en nylon, (3), HN625200
E. Rondelle SAE 0,250, (3), HS307600
F. Mèche 9/32 po, (1), TE000009
- Attachez le gabarit de bras de calage.
A. Attachez le gabarit de bras de calage (B) à la plaque de côté droit extérieure et scotchez-le en place. Reportez-vous à la figure 2.
B. À l'aide de la perceuse et de la mèche de 9/32 po (F),/percez quatre trough, tel qu'illustré sur le gabarit de bras de calage.Reportez-vous à la figure 2.
C. Retirez le gabarit de bras de calage.
- Fixez le bras de calage.
A. Placez le bras de calage sur la plaque latérale.
Reportez-vous à la figure 3.
B. À l'aide de la clé Allen de 5/32 po et de la clé à fourche de 7/16 po, fixez les quatre vis de blocage à tête ronde (C), les quatre rondelles (E) et les quatre contre-écrous en nylon (D) fixant le bras de calage (A) à la plaque latérale. Reportez-vous à la figure 3.
C. Essayez l'appareil pour vérifier s'il fonctionne correctement.

Figure 1

Figure 2

Figure 3
Poignées latérales - Optionnelles
REMARQUE: (1) Standard pour les appareils Total Access. (2) Optionnelles pour les appareils standard.
Outils requisite
-
Clé Allen 7/32 po (2)
-
Veuillez dire attentivement les instructions avant de commencer.
- Vérifiez le contenu du kit. Reportez-vous à la figure 1.
A. Poignée latérale gauche, (1), 610A-211
B. Poignée latérale droite, (1), 610A-212
C. Bague de retenue d'arbre de pivot, (4), 610A-377
D. Vis de blocage à tête ronde 0,375-16 x 1,00, (4), HX700417
E. Lochtite, (1), YA000201 (non illustré)
- Installez les poignées.
A. À l'aide de deux clés Allen de 7/32 po, retirez deux des quatre vis de blocage à tête ronde fixant l'un des couvercles de pivot. REMARQUE: Enlevez l'une des deux vis à l'avant et l'une des deux vis à l'arrête. Les deux autres vis demeureront fixées à l'arbre avec du Loctite. Reportez-vous à la figure 2.
B. Si une vis interieure se détache du Loctite tandis qu'une vis extérieure reste en place, enlevez l'arbre et réinstallé-le de l'autre côté, de façon à pouvoir installer le support de poignée sur l'extérieur du chassis.
C. Appliquez une goutte de Loctite (E) sur les deux nouvelles vis de blocage à tête ronde et une autre dans l'arbre (à où chaque vis à chapeau à tête creuse sera vissée).
D. Installez la poignée latérale à l'aide des deux vis de blocage à tête ronde. Serrez solidement les deux vis. REMARQUE: Installes le support de poignée de sorte que la poignée soit orientée vers l'avant. Voir figure 3.
E. Repétez les étapes 3A à 3D pour installer l'autre poignéeLTRÉrale.
F. Essayez l'appareil pour vérifier s'il fonctionne correctement.

Figure 1

Figure 2

Figure 3
6 - Service à la clientèle
Pour contacter le service à la clientèle
L'assistance téléphonique est assurée du lundi au vendredi de 8h 30 à 18h 00, heures normale de l'Est.
Les clients Cybex résident aux Etats-Unis contacteront le service à la clientèle Cybex en composant le 1 888 462 9239.
Les clients Cybex résident hors des Etats-Unis contacteront le service à la clientèle Cybex en composant le numéro de téléphone 1 508 533 4300 ou le numéro de fax 1 508 533 5183.
Informez-vous sur le Web à www.cybexinternational.com ou par e-mail à techhelp@cybexintl.com.
Numéro de série et tension
Le numero de série et la tension figurent à l'avant de l'appareil. Reportez-vous à la figure 1. Pour des raisons pratiques, inscrivez le numero de série et la tension ci-dessous de façon à pouvoir vous y reporterrapidement lors d'un appel au Service à la clienteleCybex.
Nombre de série Tension

Figure 1
Autorisation de retour de marchandise
Le système d'autorisation de return de marchandise décrit les grandes lignes des procédures à suivre pour le return de marchandise aux fins de remplacement, de réparation ou d'obtention de crédit. Il permet de s'assurer que la marchandise returnée est correctement traitée et analysée. Suivez minutieusement les procédures suivantes.
Contactez votre dépositaire Cybex agréé pour toute question relative à la garantie. Vote dépositaire local Cybex demandera à Cybex une autorisation de retard de marchandise, selon le cas. Enaucun cas les pieces ou équipement défectueux ne seront acceptés par Cybex sans autorisation de retard de marchandise en bonne et due forme ou sans étiquette de service de retard automatisé.
- Pour vous renseigner sur le retour de tout article défectueux, composez le numéro de la ligne d'assistance téléphonique du service à la clientèle indiqué page 6-1.
- Fournissez au technicien une description détaillée du problème que vous constazé ou du défaut de l'article que vous souhaitez returner.
- Fournissez le numero de modele et le numero de série. Le numero de série se trouve à l'avant de l'équipement, tel qu'illustré à la figure 1. Il commence par une lecture, par exemple : R09-101331100.
- A la discrétion de Cybex, le technicien peut vous demander de returner les pieces défectueuses à Cybex aux fins d'évaluation et de réparation ou de remplacement. Le technicien vous attribuera un numéro d'autorisation de return de marchandise et vous enverra une étiquette de service de return automatisé. L'étiquette de service de return automatisé et le numéro d'autorisation de return de marchandise doivent figurer visiblement sur le paquet contenant la marchandise à returner. Une description du problème accompagné du numéro de série de l'appareil, du nom et de l'adresse du propriétaire doit être jointe à la marchandise containue dans le paquet.
- Envoyez le paquet à Cybex par UPS. Attention: Customer Service Department Cybex International, Inc. 1975 24th Ave SW Owatonna, MN 55060
REMARQUE: La marchandise returnée sans numero d'autorisation de retard de marchandise clairément visible sur l'emballage du paquet ou les envois contre remboursement seront refusés par le service de réception Cybex.
Pièces endommagées
Les articles endommages pendant l'expédition ne doivent pas être returnés aux fins d'obtention de crédit. L'expédition des articles endommages relève de la responsabilité du transporter (UPS, Federal Express, transporterés routiers, etc.).
Dommage apparent - Sur réception de votre marchandise, inspectez minutieusement toutes les boîtes. Tous les dommages décelés lors d'une inspection visuelle doivent être notés sur la facture de fret et signés par le préposé du transporter. Le non-respect de cette consigne entraînera le refus du transporter d'honorer toute demande d'indemnisation. Le transporter fournira les formulaires nécessaires pourprésenter de telles demandes.
Dommage non apparent - Les dommages non apparents lors d'une inspection visuelle d'un envoi mais constatés ultérieurement doivent être signalés au transporteruds que possible. Lors de la constatation du dommage, une demande doit être soumise par écrit ou par téléphone au transporter, lui demandant d'effectuer une inspection de la marchandise dans les dix jours suivant la date de la livraison. Gardez tous les contenants d'expédition et le matériel d'emballage : ils sont requis en vertu du processus d'inspection. Le transporter fournira un rapport d'inspection et les formulaires nécessaires pourprésenter une demande d'indemnisation pour dommage non apparent. Les dommages non apparents relièvent de la responsabilité du transporter.
Commande de pieces
Faxez vos commandes au 1 508 533 5183 Pour parler à un représentant du service à la clientèle, composez le 1 888 462 9239 (pour les clients résidant aux E.-U.) ou le 508 533 4300 (pour les clients résidant hors des E.-U.).
PRECAUTIONS
Pour l'entretien, utilisez uniquement les pieces de rechange Cybex. Le non-respect de cette recommandation peut des blessures.
Cybex annulera la garantiesi des pieces de rechangenon-Cybex sont utilisées.
Main Assembly
| ITEM | QTY | PART NO. | DESCRIPTION |
| A1 | 2 | 11090-404 | Cybex Decal |
| A2 | 2 | 11090-405 | Foot Pad |
| A3 | 1 | 600A-301 | Arc Warranty Sheet (not shown) |
| A4 | 8 | 600A-311 | Flange Spacer |
| A5 | 1 | 610A-200 | Main Frame |
| A6 | 1 | 610A-201 | Foot Plate Arm Left Rear |
| A7 | 1 | 610A-202 | Foot Plate Arm Right Rear |
| A8 | 1 | 610A-203 | Foot Plate Arm Left Front |
| A9 | 1 | 610A-204 | Foot Plate Arm Right Front |
| A10 | 2 | 610A-205 | Handle Link |
| A11 | 1 | 610A-208 | Arm Right Hand |
| A12 | 1 | 610A-209 | Arm Left Hand |
| A13 | 1 | 610A-303 | Pivot Cover Right Hand |
| A14 | 1 | 610A-304 | Pivot Cover Left Hand |
| A15 | 8 | 610A-311 | Pivot Shaft Retainer |
| A16 | 4 | 610A-342 | Pivot Pin |
| A17 | 2 | 610A-350 | End Cap |
| A18 | 2 | 610A-351 | Pivot Pin |
| A19 | 1 | 630A-352 | Installation Poster (not shown) |
| A20 | 2 | 610A-356 | Spacer Tube |
| A21 | 4 | 610A-357 | Spacer Tube |
| A22 | 2 | 610A-358 | Insert, Plastic 1.88 OD X .281 ID |
| A23 | 1 | 600A-200 | Linkage Rod Right |
| A24 | 2 | AF-16694 | Pillow Block Bearing 1 Inch |
| A25 | 1 | 600A-201 | Linkage Rod Left |
| A26 | 1 | AW-18439 | Harness, 630A, Frame |
| A27 | 2 | AW-18286 | Cable, 610A CHR Grip |
| A28 | 1 | 630A-101 | Drive Frame Assembly |
| A29 | 4 | BR030225 | Retaining Ring 1.438 Internal |
| A30 | 1 | CM000240 | Warning Decal |
| A31 | 2 | CW-17231 | Wheel, Tensioner |
| A32 | 1 | DE-17317 | Arc Trainer Logo Decal |
| A33 | 2 | DE-17339 | Cybex Vortex Decal |
| A34 | 1 | EW600006 | Daisy Chain Jumper Cord (not shown) |
| A35 | 4 | FB030232 | Bearing, Radial 17MM Extended Race |
| A36 | 4 | FB030244 | Bearing, Radial Ball .50 ID X 1.688 OD |
| A37 | 8 | FB030247 | Bearing, Radial 25MM Extended Race |
| A38 | 4 | FB030248 | Bearing, Spherical 15MM |
| A39 | 4 | FC030004 | Tolerance Ring 42 (1.653) ID |
| A40 | 4 | FC030005 | Tolerance Ring 1.378 ID |
| A41 | 4 | FC030006 | Tolerance Ring 1.575 ID |
| A42 | 8 | FC030007 | Tolerance Ring 2.047 ID |
| A43 | Removed 4/07 | ||
| A44 | 1 | FT-17242 | Sleeve, Elevation Mounting, Top |
| A45 | 1 | FT-17243 | Sleeve, Elevation Mounting, Bottom |
| A46 | 8 | HB-17036 | Bearing, Ball .750 Diameter |
| A47 | 3 | HC701226 | Bolt, HHCS .375-16 X 2.0 |
| A48 | 1 | HC701230 | Screw, HHCS .375-16 X 2.50 |
| A49 | 4 | HC701234 | Screw, HHCS .375-16 X 3.00 |
| A50 | 2 | HF449064 | Insert, 1.12 X 2.50-20 UNC |
| A51 | 2 | HG700022 | Leveling Glide, .375-16 |
| A52 | 8 | HM582514 | Screw, Pan Head Phillips 10-32X .62 |
| A53 | 2 | HN704902 | Locknut, .375-16 Nylon |
| A54 | 2 | HN624901 | Locknut, .250-20 Nylon BLK ZN |
| A55 | 2 | HN704000 | Hex Nut, .375-16 |
| A56 | 4 | HN704901 | Locknut, .375-16 Nylon |
| A57 | 6 | HS100000 | Nylon Finishing Washer No.10 |
| A58 | 4 | HS307602 | Washer, Flat .281ID X 1.000OD X.063 |
| A59 | 2 | HS328300 | Lockwasher Split .312 |
| A60 | 4 | HS347600 | Washer, SAE .375 |
| A61 | 10 | HS347700 | Washer, USS .375 |
| A62 | 2 | HT552516 | PN Head Phil SC # 8 X .875 BLK |
| ITEM | QTY | PART NO. | DESCRIPTION |
| A63 | 8 | HT552512 | Pan HD Phil HD Self Tapping Screw |
| A64 | 16 | HT552515 | Pan HD Phil HD Self Tapping Screw |
| A65 | 8 | HT572512 | Pan HD Phil HD Self Tapping Screw |
| A66 | 26 | HT591122 | Pan HD Phil HD Self Tapping Screw |
| A67 | 2 | HX-16751 | Cap, Frame Tube |
| A68 | 2 | HX-17023 | Spring Pin |
| A69 | 4 | HX-17143 | Internal Retaining Ring |
| A70 | 12 | HX622815 | SHCS .250-20 UNC-3A SS |
| A71 | 2 | HX620420 | BHSCS .250-20 X 1.250 SS |
| A72 | 12 | HX700415 | BHSCS .375-16 .75 SS |
| A73 | 4 | JC700422 | BHSCS .375-16 X 1.50 |
| A74 | 2 | JD623324 | Shoulder Bolt |
| A75 | 4 | JS347400 | Lockwasher, Int Tooth .375 |
| A76 | 1 | MR-18446 | Motor, Elevation, 12 VDC |
| A77 | 8 | PL-16535 | Cap, Linkage Rod, 2.00 OD |
| A78 | 2 | 600A-331 | Cover, Crank |
| A79 | 1 | 600A-332 | Cover, Elevation Motor |
| A80 | 1 | 600A-333 | Cover, Right |
| A81 | 1 | 600A-334 | Cover, Left |
| A82 | 1 | 600A-335 | Cover, Front Access |
| A83 | 1 | PL-17209 | Water Bottle Holder |
| A84 | 4 | PL-17279 | Spacer, Shaft, Foot Plate |
| A85 | 2 | 610A-372 | Grip 1.62 OD x 1.20 ID |
| A86 | Removed 4/07 | ||
| A87 | 1 | 610A-373 | Instr., 610A Assembly Note |
| A88 | 8 | HS307601 | Washer, Flat |
| A89 | 2 | 610A-395 | Arm Crank Assembly |
| A90 | 5 | 600A-336 | Insert |
| A91 | 4 | HF540200 | Grommet, Nylon |
| A92 | 2 | HT512517 | Pan HD Phil HD Self Tapping Screw |
| A93 | 1 | AW-19522 | Power Cord, Medical (optional) |
| A94 | 1 | 5630A-x* | Owner's Manual (Not Shown) |
| A95 | 1 | 610-349-x* | Warning Decal |
| A96 | 1 | DE-17218-x* | Heart Rate Zone Decal |
| A97 | 2 | DE-17219-x* | Caution Decal |
| A98 | 1 | DE-19561 | ETL Medical Label |
| A99 | 1 | DE-19592 | Service Schedule and Error Decal |
| A100 | 1 | 630A-351 | WEEE Symbol Decal |
| A101 | 1 | DE-19547-x* | Medical Inlet Decal |
| A102 | 1 | EC-18267 | Battery 12 VDC |
| A103 | 1 | AW-19323 | Cable, Grip Harness, Arms |
| A104 | 1 | AW-18439 | Cable, Grip Harness, Console |
| A105 | 1 | 610A-300 | Right Foot Plate (Black) |
| A105 | 1 | 610A-390 | Right Foot Plate (Yellow) |
| A106 | 1 | 610A-301 | Left Foot Plate (Black) |
| A106 | 1 | 610A-391 | Left Foot Plate (Yellow) |
| A107 | 2 | 610A-302 | Toe Cap (Black) |
| A107 | 2 | 610A-392 | Toe Cap (Yellow) |
| A108 | 1 | 610AK014 | Heart Rate Grip Kit w/o Drill Bite |
| A108 | 1 | 610AK022 | Heart Rate Grip Kit with Drill Bite |
| A109 | 2 | 610A-397 | Caution Decal (IFI Option Only) |
| A110 | 2 | 610A-407 | Top Plastic Sensor Grip (Black) |
| A110 | 2 | 610A-409 | Top Plastic Sensor Grip (Yellow) |
| A111 | 2 | 610A-408 | Bottom Plastic Sensor Grip (Black) |
| A111 | 2 | 610A-410 | Bottom Plastic Sensor Grip (Yellow) |
| A112 | 4 | HT532517 | Pan HD Phil HD Self Tapping Screw |
| A113 | 1 | 610AK023 | Total Access Conversion Kit |
| A114 | 4 | HS427100 | Washer, Wave |
| A115 | 2 | AW-18286 | Heart Rate Cable |
| A116 | 1 | 600A-362 | Biosig Patent Label |
| A117 | 2 | 630A-317 | Foam, .25 X .38 X 5.50 |
| A118 | 1 | 630A-150 | Arm Locking Assembly |
| A119 | 1 | 630A-345 | Locking Assembly Template |
| A120 | 4 | HN625200 | Nylon Locknut |
| A121 | 4 | HS307600 | Washer SAE .250 |
| A122 | 4 | HC620414 | BHSCS .250-20 x .625 |
| A123 | 1 | TE000009 | 9/32” Drill Bit |
| A124 | 4 | HX700417 | BHSCS .375-16 x 1.00 SS |
| A125 | 4 | 610A-377 | Pivot Shaft Retainer |
| A126 | 1 | 610A-211 | Left Side Handle |
| A127 | 1 | 610A-212 | Right Side Handle |
| A128 | 1 | SW-20704-x* | Bottom Membrane |
| A129 | 1 | SW-20705-x* | Top Membrane |
| A130 | 2 | YA000201 | Loctite |
Notice Facile