CA5 - Piano numérique KAWAI - Notice d'utilisation et mode d'emploi gratuit
Retrouvez gratuitement la notice de l'appareil CA5 KAWAI au format PDF.
| Type de produit | Piano numérique |
|---|---|
| Caractéristiques techniques principales | Clavier à 88 touches, marteaux, toucher lourd, technologie de son Harmonic Imaging |
| Alimentation électrique | Adaptateur secteur inclus, consommation d'énergie faible |
| Dimensions approximatives | 1400 mm x 300 mm x 150 mm |
| Poids | Environ 40 kg |
| Compatibilités | Compatible MIDI, USB, sortie casque |
| Type de batterie | Non applicable (fonctionne sur secteur) |
| Tension | 100-240 V AC |
| Puissance | 30 W |
| Fonctions principales | Polyphonie de 192 notes, 19 sons, enregistreur, métronome |
| Entretien et nettoyage | Utiliser un chiffon doux, éviter les produits chimiques agressifs |
| Pièces détachées et réparabilité | Disponibilité de pièces de rechange, service après-vente recommandé |
| Informations générales utiles | Idéal pour les pianistes débutants et avancés, design élégant |
FOIRE AUX QUESTIONS - CA5 KAWAI
Téléchargez la notice de votre Piano numérique au format PDF gratuitement ! Retrouvez votre notice CA5 - KAWAI et reprennez votre appareil électronique en main. Sur cette page sont publiés tous les documents nécessaires à l'utilisation de votre appareil CA5 de la marque KAWAI.
MODE D'EMPLOI CA5 KAWAI
Le symbole de I'clair avec une pointe de flèche à l'intérieur d'un triangle équilatéral met en garde l'utilisateur contre la présence de tension dangereuse, non isolée, à l'intérieur de l'appareil, dont l'amplitude peut être suffisante pour induire un risque d'électrocution d'une personne.

Le point d'exclamation à l'intérieur d'un triangle équilateral alerte l'utilisateur de la présence de règles d'utilisation et d'entretien importantes dans la notice qui accompagne l'appareil.
Exemples de symboles graphiques

Indique que des précautions doivent être prises.
L'exemple indique à l'utilisateur qu'il doit faire attention à ne pas se faire coincer les doigts.

Indique une manipulation interdite.
L'exemple indique que le démontage de l'appareil est interdit.

Indique qu'une manipulation doit etre effectuee.
L'exemple indique à l'utilisateur qu'il doit débrancher le cable d'alimentation de la prise secteur.
Lisez toutes les instructions avant d'utiliser cet apparéil.
AVERTISSEMENT - Lors de l'utilisation d'appareils électriques, des précautions de base doivent toujours être prises. Les précautions qui seront en font partie.

AVERTISSEMENT
Indique un risque potentiel qui peut entraîner la mort, ou de graves lésions, si l'appareil n'est pas manipulé correctement.
L'appareil doit être branché sur une prise secteur qui délivre la tension spécifique.




Utiliser l'adaptateur secteur fourni avec l'appareil, ou un de ceux recommends par Kawai.
Si vous utilisez un cable d'alimentation secteur, verifiez que la forme de la prise soit la bonne, et qu'il soit conforme à la tension d'alimentation spécifiée.
- Le non respect de ces instructions peut causeur un incendie.
Ne pas brancher ou débrancher le cable d'alimentation avec les mains humides.

Vous pourriez vous électrocuter.
La banquette doit être utilisée convenablement (elle doit être utilisée seulement pour jouer l'instrument).
- Ne pas jouer avec ou semettrebout sur la banquette.
- Une seule personne doit s'asseoir sur la banquette.
- Ne pas s'asseoir sur la banquette pendant le réglage de la hauteur.
- Ne pas s'asseoir sur la banquette lors de l'ouverture du couvercle.
Si vous ne respectiez pas ces instructions vous pourriez etre blesse,car la banquette pourrait tomber,ou car vos doigts pourraient etre coinces.
N'utilise pas le casque longtemps à fort volume.

Si vous le faisiez vous pourriez avoir des problèmes d'audition.
Ne pas s'appuyer contre le clavier.

Cela pourrait provoquer la chute de l'appareil, et engendrer des blessures.
Vous ne devez pas démonter, réparer ou modifier l'appareil.


Vous pourriez provoquer une panne, une electrocution ou un court-circuit.
Lorsque you débranchez le cable secteur, faites-le en maintainant et en tirant la prise pour la déconneter.


Si vous tiriez sur le cable, vous pourriez l'endommager en provoquant un incendie, une électrocution, ou un court-circuit.
Ce produit n'est pas totalement déconnecté du circuit électrique lorsqu'il est mis hors tension par le bouton d'arrêt. Si l'appareil ne doit pas être utilisé pendant une longue période, débranchez le cable d'alimentation de la prise secteur.

-
Si vous ne le faisiez pas la foudre pourrait provoquer un incendie.
-
Si vous ne le faisiez pas, la surchauffe de l'appareil pourrait provoquer un incendie.
Il se peut que cet apparéil soit équipé avec une fiche secteur polarisée (une languette plus large que l'autre). C'est une mesure de sécurité.
Si vous ne pouvez pas brancher la fiche dans la prise secteur, contactez un électricien qui remplaça您可以 cette prise.
Ne supprimez pas le détrompeur de la fiche.


PRECAUTION
Indique un risque potentiel qui peut entraîner la détérioration, ou des dommages, pour l'appareil ou ses propriétés, si celui-ci n'est pas manipulé correctement.
Ne pas utiliser l'appareil dans les lieux suivants.
- Lieux exposés aux rayons directs du soleil, comme la proximité des fenêtres.
- Lieux surchauffés, comme la proximité des radiateurs.
- Lieux très froid, comme à l'extérieur.
- Lieux très humides.
- Lieux où la présence de poussière ou de sable est importante.
- Lieux où l'appareil est exposé à des vibrations excessives.
L'utilisation de l'appareil dans un de ces lieux peut entraîner une panne de celui-ci.
Votre piano doit être utilisé uniquement dans un milieu tempéré (non dans un climat tropical).
Lorsque you fermez le couvre-clavier, faites le en douceur.


En le fermant brutalement, vous pourriez vous blesser en vous coingant les doigts.
Avant de brancher le cable d'alimentation, assures-vous que cet apparéil, et les autres apparéils, soient en position Arrêt (OFF).

Le non respect de cette consigne peut engendrer la panne de cet apparéil, ou des autres apparéils.
Faite attention de ne pas introduire un produit étranger à l'intérieur de l'appareil.


L'introduction d'eau, d'aiguilles ou d'épinges à cheveux, peut provoquer une panne ou un court-circuit. Ce produit doit être mis à l'abri des écoulements ou projections d'eau. Ne jamais placer sur le produit des objets contenant des liquides, tels que des vases ou autres recipients.
Faites attention de ne pas lâcher l'appareil.

L'appareil est lourd, et il doit être porté par plus de deux personnes. La chute de l'appareil peut entraîner la panne.
Ne placez pas l'appareil à proxin de matériels électriques tels que les télévisions et les radios.


- Si vous le faisiez l'appareil pourrait:générer du bruit.
Si cet apparéil génère du bruit, éloignez-le siffisamment des autres apparéillages électriques, ou branchez le sur une autre prise secteur.
Ne pas poser sur toute instrument des sources de flammes nues telles que chandelier, bougie etc...
Ne pas nettoyer l'appareil avec du benzène ou du diluant.

L'utilisation de ces produits pourrait entrainer une décoloration ou une déformation de l'appareil.
Pour nettoyer cet apparéil, utilisez un chiffon doux improugné d'eau tiède, essore-le bien, puis frotte délicatement l' apparéil.
Ne pas se tenirABOUT sur I'appareil, ou le surcharger.

- Si vous le faisiez, vous pourriez déformer ou provoquer la chute de l'appareil, en entrainant une panne ou des blessures.
Votre piano doit etre placé a un endroit tel que sa position n'altere pas sa propre ventilation. Gardez une distance minimum de 5 cm autour de l'instrument pour une aeration suffisante.. Assurez-vous de ne pas obstruer les ouies de ventilation de votre instrument par des objets, tels que journaux, napperons, rideaux etc.
Cet appeareil doit être utilisé seulement avec le stand fourni par le fabriquant.
L'appareil doit être révisé par du personnel qualifié lorsque :
- Le cable ou la prise d'alimentation sont endommagés.
- Des objets sont tombés, ou du liquide à été renversé à l'intérieur de l'appareil.
L'appareil a ete exposé à la pluie. - L'appareil ne semble pas fonctionner normalement, ou manifeste un changement marqué dans ses performances.
L'appareil est tombé, ou son meuble est endommagé.
Dépannage
Siquelque chose d'anormal se passedsans l'appareil,eteignez-le immediatement (position OFF),deconnectez le cable d'alimentation,et contactez le magasin qui vous a vendu I'appareil.
ATTENTION:
Pour éviter les chocs électriques, introduire la lame la plus large de la fiche dans la borne correspondante de la prise et pousser jusqu'au fond.

Notez bien:
Cet apparéil a été vérifié et accepté en conformité avec les exigences d'un apparéil numérique de classe B, attenant à la Partie 15 des règlements FCC.
Ces exigences sont conçues pour donner une protection raisonnable contre les interférences dommageables d'une installation résidentielle. Cet apparéil génére, utilise et peut émettre des fréquences radio; s'il n'est pas installé et utilisé en suivant les instructions, ces fréquences peuvent cause des interférences dommageables aux communications radio.
Si cet apparéil cause des interférences dommageables à la réception des postes de radio et de télévision, pouvant être déterminées en arrêtant ou en mettant l' apparéil en marche, nous recommendons à l'utilisateur d'essayer de corriger ces interférences en utilisant une ou plusieurs des mesures suivantes:
- Ré-orientez ou relocalisez l'antenne de réception.
-Eloigner I'appareil du recepteur. - Branchez l'appareil dans une prise de courant étant alimentee par un circuit different de celui du recepteur.
- Consultez votre concessionnaire ou un technician exprérimé en radio/télévision pour obtenir de l'aide.
Cet instrument est conforme aux exigences des apparciels numériques de classe B, suivant les Reglements des Interférences Radio, C.R.C., c. 1374.
NOUS VOUS REMERCIONS POUR AVOIR CHOISI UN PIANO NUMÉRIQUE KAWAI!
Le piano numérique Kawai est un nouvel instrument équipé d'un clavier révolutionnaire associant les derniers progrès électroniques à l'habileté artisanale traditionnelle issue des nombreuses années d'expérience de Kawai dans la fabrication de pianos de grande qualité. Son clavier procure le toucher et toute la gamme dynamique nécessaires pour une superbe exécution au piano, au clavecin, à l'orgue et aux autres instruments. De plus, le piano CA est équipé d'un effet de réverbération et d'un processeur d'effet qui enrichissant encore sa sonorité. Des prises à la norme MIDI (Musical Instrument Digital Interface) sontopsis pour vous permettre de jouer d'autres instruments électroniques depuis votre CA, ouvrant ainsi les portes d'un tout nouveau monde de possibilités musicales.
Ce mode d'emploi renferme des informations importantes qui vous aidont à tirer le meilleur parti possible des nombreuses possibilités de cet instrument. Dans tous les cas, nous vous sugérons de dire soigneusement toutes les parties de ce mode d'emploi et de le conserver pour une consultation ultérieure.
ALIRE AVANT LE MONTAGE
Avant de commencer le montage de votre CA5, vous devez dire et vous familiariser avec les instructions de montage ci-dessous. Ensuite déballez soigneusement le piano et assurez-vous de la présence des pieces nécessaires au montage.
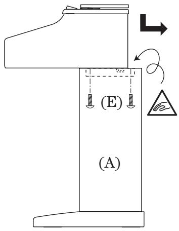
PIECES INCLUSES
Panneau latorial (A) 2pcs.
Panneau arrirée (B) 1 pc.
Pédalier (C) 1 pc.
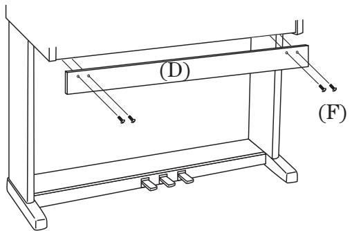
Panneau avant l'etale (D) 1 pc.
Vis E (M6 x 25) 8 pcs.
Vis F (M4 x 15)
Vis G (04 x 20)
Bute reglable (H)
Support Casque
M6 x 25

(E)
M4 x 12

(F)
4x20

(G)
Butée régiable

(H)

- Insérez la vis de réglage (vis ajustant la hauteur du pédalier, H) au Pédalier (C).
- Detachez le cable des pédales sous l'ensemble du pédalier.
-
Bloquez Panneau latorial (A) et Pédalier (C) avec les 4 vis (E).
-
Positionnez le panneau arrière (B) derrière le pédalier (C) et devant les fixations métalliques des panneaux lateraux (A).
- Bloquez les panneaux lateraux (A) et le panneau arrêté (B) à l'aide des 4 vis (F).
- Bloquez le pédalier (C) et le panneau arrêté (B) avec les 4 vis (G).

AVERTISSEMENT:
Afin d'éviter tout incident, ne soulevez pas la partie centrale par les extrémités.
- L'opération suivant néCESSITE une personne de chaque côte de la partie centrale. Soulevez la partie centrale à deux mains, une placée sous l'avant l'autre sous l'arrière (surtout pas par les extrémités) et positionné soignement la partie centrale sur le pied de sorte que les crochets situés sur le fond arrière de la partie centrale se trouvent à l'intérieur des panneaux (A) et approximativement à 1/3 de l'extrémité arrêté des panneaux (voir illustration)
- En maintainant fermement la partie centrale par le dessous, faîtes la glisser vers l'arrière du pied jusqu'à ce que les crochets s'engage dans les tenons de la partie arrêté des panneaux lateraux (A).
Ce système de fixation est concu pour empêcher la partie centrale de basculer pendant la fixation des vis. Maintenez une main sous l'avant de la partie centrale et appuyez sur l'avant pour vous assurez que les crochets sont propre enfoncés.
- Bloquez la partie centrale avec les 4 vis.
AVERTISSEMENT:
Assurez-vous que le piano est bien fixé (avec les vis) sur sa base (pied). S'il ne l'est pas, le piano peut se detacher de sa base et s'endommager ou vous blesser.



- Fixez le panneau avant l'atéral (D) devant les enceintes avec les 4 vis (F).
- Enfichez le cordon de connexion venant du pédalier dans le jack de la partie centrale et fixez le par l'attache située sur le panneau lésral.
- Tournez la vis de réglage de support (située sous le pédalier) jusqu'à ce que le pédalier soit en contact franc avec le sol. Si le sol est recouvert de moquette, glissez une coupelle de protection sous la vis afin que le support prenne bien appui sur le sol. Appuyez sur une des pédales avec votre pied. Si la barre de pédalier s'incurve, régler la vis du support jusqu'à ce qu'il n'y ait plus de déformation.
AVERTISSEMENT:
Avant de déplacer votre piano, relever le support afin de le dégager du sol.
FIXATION DU SUPPORT CASQUE
- Fixez le support casque avec deux vis (M4x12) dans les trouss jouxtant les prises casque.

1. Demarrage rapide
p. 6
1.1 INSTALLATION DU PIANO 6
1.2INTERRUPTEURD'ALIMENTATION 6
1.3 CURSEUR DE VOLUME 6
1.4 CASQUES 6
1.5 DEMO SONGS. 7
1.6 JOUER LE PIANO 7
1.7PEDALES 8
1.8 UTILISATION D'AUTRES SONORITÉS 8
2. Fonctions avancées
p. 9
2.1 BOUTONS VALUE 9
2.2 DUAL 9
2.3 PARTAGE (SPLIT) 9
2.4 CURSEUR DE BALANCE DU MODE DUAL/SPLIT 10
2.5 EFFECTS/REVERB 10
2.6 METRONOME 12
3. Recorder
p. 14
PRINCIPES DE BASE DE L'ENREGISTREUR 14
3.1 ENREGISTREMENT (BOUTON REC) 15
3.2 REPRODUCTION D'UN MORCEAU (BOUTON PLAY/STOP) 17
3.3EFFACEMENTD'UNMORCEAU 18
4. Jouer avec Concert Magic
p. 20
4.1 SELECTION D'UN MORCEAU 20
4.2 ECOUTE DU MORCEAU 20
4.3 EXECUTION D'UN MORCEAU 21
4.4 BALANCE DU VOLUME DES PARTIES CONCERT MAGIC 21
4.5 TYPES DE MORCEAUX CONCERT MAGIC 21
4.6 STEADY BEAT 23
4.7 DEMONSTRATION AVEC UN MORCEAU CONCERT MAGIC 23
4.8 RÉGLAGE DE LA VITESSE DE REPRODUCTION DES MORCEAUX CONCERT MAGIC . . . 24
5. Boutons de Fonctions
p. 25
5.1 CHOIX DE LA SENSIBILITE DU TOUCHER (BOUTON TOUCH) 25
5.2 TRANSPOSITION DU PIANO (BOUTON TRANSPOSE) 26
5.3AUTRES FONCTIONS (BOUTONS TOUCH ET TRANSPOSE) 27
1.ACCORD (TUNING) 28
2. TEMPERAMENT 27
3. CANAL MIDI (MIDI CHANNEL) 30
4. MARCHE/ARRÉT D'ENVOI DU NUMéro DE CHANGEMENT DE PROGRAMME (TRANSMIT PROGRAM CHANGES NUMBER ON/OFF) 31
5. MARCHE/ARRET DE COMMANDE LOCALE (LOCAL CONTROL ON/OFF) 31
6. SELECTION DU MODE MULTI-TIMBRAL (MULTI-TIMBRAL MODE SELECTION) 31
7.CHANNEL MUTE. 32
8. ENVOI DU NUMERO DE CHANGES DE PROGRAMME (SENDING PROGRAM CHANGE NUMBERS) 33
9. TRANSPosition DE L'OCTAVE GRAVE (LOWER OCTAVE SHIFT) 33
10. MARCHE/ARRET DE LA PEDALE POUR LA PARTIE INFERIEURE (LOWER PEDAL ON/OFF) 33
11. TRANSPOSITION D'OCTAVE (LAYER OCTAVE SHIFT) 34
12. DYNAMIQUE DES SONS MIXÉS (LAYER DYNAMICS) 34
13. DAMPER HOLL 35
6. Utilisation du MIDI
p. 36
COMPRENDRE LE MIDI 36
6.1 UTILISATION DU PIANO CA EN TANT QUE CONTROLEUR 38
6.2 UTILISATION DU PIANO CA EN TANT QUE MODULE SONORE MULTI-TIMBRAL 41
7. Prises
p. 44
PRISESMIDI 44
PRISE USB. 44
PRISES LINE OUT 44
PRISESLINEIN 44
PRISES CASQUE (HEADPHONE) 44
NOTES A PROPOS DE L'USB 45
8. Appendices
p. 46
TABLEAU D'ASSIGNATION DES CHANGES DE PROGRAMME 46
LISTESD MORCEAUX CONCERT MAGIC. 47
FACE AVANT. 48
LISTEDTITRES DEMO 48
FICHE TECHNIQUE 49
FOMAT DES DONNÉES EXCLUSIVES MIDI 50
TABLEAU D'IMPLEMENTATION MIDI 51
1.1 INSTALLATION DU PIANO
Avant de pouvoir utiliser le piano, il est nécessaire dinstaller l'instrument.
ASSEMBLAGE DU SUPPORT
Vousdevezd'abordassemblerlesupport(pied).
Pour assembler le support, reportez-vous aux instructions figurant aux premières pages de ce manuel.
ALIMENTATION SECTEUR
Le piano CA est équipé de haut-parleurs stéreo et d'un amplificateur. Aucun autre apparéil n'est nécessaire pour pouvoir jouser le piano CA. Ce dernier est utilisable partout où une alimentation secteur est disponible. Il suffit pour cela de raccorder le cordon d'alimentation du piano CA à une prise secteur.
Raccorder le cordon d'alimentation à la prise d'alimentation du piano et l'autre extrémité du cordon à une prise secteur.
1.2 INTERRUPEUR D'ALIMENTATION

Appuyez sur ce bouton pourmettrele piano CA sous tension. Une nouvelle pression sur ce bouton coupe l'alimentation.
En,enfantant ce bouton pendant que les touches REC et PLAY/STOP sont maintenues enforcées on efface les données de morceau mémorisées par l'enregistreur.
1.3 CURSEUR DE VOLUME

Ce curseur permet de régler le volume général du son du piano CA.
Déplacer ce curseur vers la droite pour augmenter le volume, et vers la gauche pour diminuer le volume.
Ce curseur règle aussi le volume du son du casque et le niveau des sorties LINE.
1.4 CASQUES
Des casques peuvent être utilisés pour assurer l'intimité. Lorsqu'un ou deux casques sont raccordés, les haut-parleurs sont automatiquement mis hors service et le piano CA n'est audible que dans les casques. Le piano CA est équipé deux prises pour casques.
1.5 DEMO SONGS

Le piano CA5 peut jouer des 26 morceaux de démonstration. Chaque morceau de démonstration présente un thème musical qui met en valeur les différentes sonorités préréglées.
Appuyez sur le bouton DEMO pour faire démarcheer le morceau de démonstration de la catégorie Piano 1. Lorsque le morceau de la catégorie Piano 1 est terminé, un morceau de démo pour une autre catégorie de son sera sélectionné aléatoirement.
Si vous désirez écouter le morceau de démonstration d'une catégorie en particulier, appuyez simplement sur le bouton de SELECTION DES SONORITES désiré pendant que la démonstration est en cours. Lorsque vous appuyez sur le bouton, la démonstration jouera le morceau correspondant à la catégorie que vous venez de sélectionner. A la fin de ce morceau, le morceau d'une autre catégorie sera aléatoirement sélectionné. Voir page 48 la liste des titres DEMO.
1.6 JOUER LE PIANO

Mise sous tension
L'interrupteur d'alimentation POWER se trouve à l'extrémité croite de la face avant. Appuyer sur ce bouton pour enclencher l'alimentation. Une nouvelle pression sur le bouton coupera l'alimentation.

Réglage du volume
Le curseur MASTER VOLUME règle le volume des haut-parleurs et des casques. Utiliser ce curseur pour régler le volume à un niveau d'écoute comfortable.
Essayez maintainant de jouer sur le clavier!
Youentendrezla sonoritéprincipale du piano CA.
Le piano CA se comporte comme un veritable pianooustique. Il génére un son plus puissant lorsqu l'on joue plus fort, et un son plus doux lorsque l'on joue plus doucement. Le volume change avec la vitesse d'enforcement des touches. Sur un instrument de musique électronique, ce système est appelé «sensibilité du toucher». La sensibilité initiale du toucher a été régée en reférence avec celle d'un pianooustique. Toutefois, si on ne se sent pas à l'aise avec le réglage standard, il est possible de sélectionner une autre sensibilité du toucher sur le piano CA. Pour plus de détails, se reporter à «5.1 Choix de la sensibilité du toucher (Bouton TOUCH)», page 25.
1.7 PÉDALES

Una corda
Comme un piano à queue, le piano CA comporte trois pédales : pédale forte, pédale tonale et pédale una corda.
1.8 UTILISATION D'AUTRES SONORITÉS
Vous avez déjà entendu la sonorité de piano principale du piano CA. Le CA5 possède quatre-vingts sonorités qui ne sont pas seulement des autres sonorités de piano mais qui reproduisent également d'autres instruments. Les différentes sonorités d'instruments incorporeées dans le piano CA sont appelées «sonorités préréglées».
Toutes les sonorités préréglées ont été générées au moyen d'une technologie d'échantillonnage numérique de pointe produitant un son aussi naturel et réaliste que possible. Essayons certaines des sonorités préréglées.
SELECTION D'UNE AUTRE SONORITÉ PRÉRÉGLEE
Appuyez sur le bouton de SELECTION DES SONORITESitué dessous le nom de l'instrument que vous aimeriez écouter. Lorsque vous aurez appuyé sur le bouton, le voyant situé au-dessus de celui-ci s'allumera pour indiquer que cette sonorité a été sélectionnée.

Les boutons SOUND SELECT sont assignés à quatre sons préseLECTIONnés différents.
Pour changer de son, pressez le bouton de façon répétée.
Variation de Son numero 1


Quand vous appuyez sur un bouton, le numéro de variation est indiqué brievement sur l'afficheur. Une nouvelle pression sélectionnera la variation suivante assignée à ce bouton.
Vous pouvez également changer les sons des preset par les boutons VALUE de toutes les catégories de son.
2.1 BOUTONS VALUE

Ces deux boutons permettent de modifier la valeur de certaines fonctions.
Au moyen du, ou des, bouton(s) approprié(s), Sélectionnez tout d'abord la fonction ou l'options dont la valeur doit être modifiée. Utilisez ensuite les boutons VALUE. Le bouton « ▲ » augmente la valeur, alors que «▼» diminue la valeur.
Ce bouton peut également être utilisé pour sélectionner différentes sonorités. Vous pouvez désirir toutes les sonorités affectées aux 10 boutons SOUND SELECT.
Cependant, ces sonorités ne peuvent être sélectionnées en utilisant le bouton VALUE lorsque vous étés en mode DUAL ou SPLIT.
2.2 DUAL
Les variations 1 et 4 sont superposées (layer).

Le piano CA possède aussi la capacité de mélanger deux sonorités préregliées afin de creer un son plus complexe, comme un mélange de piano avec un ensemble à cordes ou de piano électriques avec un choeur.
Pour mélanger deux sonorités, Sélectionnez le premier son, puis tout en Maintenant ce bouton enforcé, Sélectionnez un autre son. Levoyant de chaque bouton s'allume pour indiquer les deux sonorités choisisies. L'afficheur affiche brièvement la combinaison des numéries des variations de son sélectionnées.
Pour mélanger deuxsonsaffectésàun mêmebouton,sélectionnezle premier,puis tout enmaintenant lebouton enforcé,faitesvarierlebouton Valueup/down pourchoisirlesecondson.
POLYPHONIE
Le piano CA est capable de jourer jusqu'à 96 notes en même temps (polyphonie de 96 notes). En mode Dual, ou avec la sonorité de piano stéréo, la polyphonie est réduite de moitié car le piano doit générer deuxsons pour chaque note.
2.3 PARTAGE (SPLIT)

SELECTION DES SONORITÉS EN MODE SPLIT
La fonction «Split» partage le clavier en deux sections — supérieure et inférieure — et permet de jourer chaque section avec une sonorité différente.
Variation 2 le son inférieur et Variation 1 le son supérieur.

Appuyez tout d'abord sur le bouton de SELECTION DES SONORITES désiré pour sélectionner la sonorité supérieure. Ensuite, tout en Maintenant le bouton SPLIT enforcé, appuyez sur le bouton de SELECTION DES SONORITES désiré pour sélectionner la sonorité inférieure. Levoyant de la sonorité inférieure commence à clignoter. L'afficheur indique la combinaison des numérodes variations de sons scélectionnées lorsque vous appuyez sur le bouton SPLIT. Le numéro de gauche identifie le son inférieur et le numéro de droite identifie le son supérieur.
MODIFICATION DU POINT DE SPLIT
Le point de partage (Split) par défaut se trouve entre Si2 (B2) et Do3 (C3). Ce point peut être déplaced à n'importe quel endroit du clavier.
Appuyez sur la touche désirée tout en maintainant le bouton SPLIT enforcé.
La touche enfoncée devient la note la plus BASSE de la section supérieure.
2.4 CURSEUR DE BALANCE DU MODE DUAL/SPLIT

Vous pouvez agir sur l'équilibre du volume entre les deux sonorités en mode Dual ou Split. Pour cela, utiliser le curseur DUAL/SPLIT BALANCE. Déplacer le curseur vers la croite pour augmenter le volume de la sonorité se trouvant la plus à droite (en mode Dual) ou sonorité supérieure (en mode Split) et pour diminuer le volume de la sonorité se trouvant la plus à gauche (en mode Dual) ou sonorité inférieure (en mode Split). L'effet est inverse lorsque le curseur est déplace vers la gauche.
2.5 EFFECTS/REVERB
Lorsque certaines sonorités préregliées sont sélectionnées, levoyant EFFECTS s'allume car ces sonorités comportent un effet dans leur réglage initial.
L'adjonction d'un effet au son rehausse la qualité de la tonalité et améliore le réalisme acoustique. Le piano CA est muni de deux groupes d'effets séparés. Le premier concerne la réverbération, alors que le second renferme le chorus, le retard (delay), le trémolo et l'effet Rotary.

REVERB
Cette fonction ajoute de la réverbération au son, simulant ainsi l'acoustique d'une salle de récital, d'une scene ou d'une salle de concert. Cinq types de réverbérations sont disponibles : Room 1&2, Stage et Hall 1&2 (dans

l'ordre de leur niveau de réverbération).
CHORUS
Cette fonction simule la richesse sonore d'une chorale ou d'un ensemble à cordes, en ajoutant une version légèrement désaccordée du son, au son d'origine, afin d'enrichir ce dernier.
DELAY
Cette fonction de retard ajoute des échos au son. Trois types de retards sont disponibles (Delay 1 à 3), avec chacun un intervalle différent entre les échos.
TREMOLO
Cet effet de type vibrato est principalement utilisé avec le vibraphone. Il sera automatiquement activé lors de la sélection de la sonorité du vibraphone.
ROTARY
Cet effet simule la sonorité de l'enceinte à haut-parleurs rotatifs courament utilisé avec les orgues électroniques. Le Rotary 1 est standard et le Rotary 2 est équipé d'un effet de distorsion.
La pédale de gauche (una corda) permet de commuter la vitesse du rotor entre «lent» et «rapide».
AJOUTER DE LA RÉVERBÉRATION
Appuyez sur REVERB. Levoyant s'allume pour indiquer que la réverbération est en vigueur. En maintainant appuyé le bouton REVERB, l'afficheur fait apparaitre le style de REVERB sélectionné.

Room 1

Room 2

Stage

Hall 1

Hall 2
Pour changer de type de réverbération, utilisez les boutons VALUE tout en maintainant le bouton REVERB enforcé.
AJOUTER D'AUTRES EFFETS
Appuyez sur EFFECTS. Levoyant s'allume pour indiquer que l'effet est en vigueur. En maintainant appuyé le bouton EFFECT, l'afficheur fait apparaitre le style d'effets sélectionné.

Chorus

Delay 1

Delay 2

Delay 3

Tremolo

Rotary 1

Rotary 2
Pour changer de type d'effet, utiliser les boutons VALUE tout en maintainant le bouton EFFECTS,enforcé.
Pour couper la réverbération ou les effets, appuyez de nouveau sur REVERB ou sur EFFECTS.
2.6 METRONOME


Le rythme constitue l'un des éléments les plus importants dans l'apprentissage de la musique. Il est important de travailler le piano avec un rythme régulier et au bon tempo. Le métronome du piano CA est un outil destiné à y parvenir qui bat une mesure régulière que l'on peut suivre.
MISE EN MARCHE DU MÉTRONOME
Appuyez sur TEMPO. Levoyant s'allume et le métronome commence à battre la mesure de manière régulière. L'affichage LED indique le tempo en battements par minute.
Pour changer le tempo, utilisez les boutons VALUE afin d'augmenter ou de diminuier sa valeur dans la plage de 30 à 300 battements par minute. (Rythmes avec croche de 60 à 600 BPM)
Appuyez de nouveau sur TEMPO pour arrêté le métronome.
CHANGEMENT DE LA MESURE
Deux types de clicks sont généres et le plus fort apparaît tous les quatre battements. Le métronome est capable de générer un click plus prononcé pour indiquer le temps fort d'une mesure. Par défaut, le métronome reproduit donc une mesure à 4 battements, ou 4/4.
Si nécessaire, une autre mesure peut être sélectionnée parmi les neuf disponibles sur le piano CA : 1/4, 2/4, 3/4, 4/4, 5/4, 3/8 et 6/8
Utilisez le bouton BEAT pour changer la mesure.
Appuyez sur BEAT. Le voyant s'allume et le métronome commence à
battre la mesure. L'affichage LED donne la mesure, ainsi qu'une indication visuelle du nombre de battements par mesure.

Utilisez les boutons VALUE pour sélectionner la mesure désirée. La mesure actuellesment sélectionnée apparait sur l'affichage LED.
Appuyez de nouveau sur BEAT pour arrêté le métronome.
Les boutons TEMPO ou BEAT peuvent être utilisés pourmettre le métronome en ou hors service. Choisir le bouton approprié selon que l'on désire régler le tempo ou changer la mesure.
RéGLAGE DU VOLUME DU MÉTRONOME
Le volume du métronome peut être régle indépendamment du volume général.

Appuyez en même temps sur TEMPO et sur BEAT. L'affichage LED indique le volume du métronome au moyen d'un nombre compris entre 1 (faible) et 10 (fort). Le réglage d'usine est 5.
Utilisez les boutons VALUE pour changer la valeur.
L'enregistreur du piano CA enregistre votre jeu comme un magnétophone, tout aussi facilement. Le piano CA enregistre un morceau sous forme de données numériques只不过 que sous forme de données audio analogiques, et il méyorise le morceau dans l'instrument. Le morceau étant enregistré sous forme numérique, il peut être modifié à la reproduction. Par exemple, le tempo peut être modifié sans affecter la hauteur du son, ou on peut utiliser un autre effet que celui en vigueur lors de l'enregistrement. Bien compris, l'enregistreur s'avère être un outil utile aussi bien pour l'apprentissage que pour une utilisation avancée du piano.
PRINCIPES DE BASE DE L'ENREGISTREUR
Passons brièvement en revue les caractéristiques de l'enregistreur.
ENREGISTREUR DEUX PISTES CINQ MORCEAUX
L'enregistreur du piano CA est un enregistreur deux pistes cinq morceaux. Cela signifie qu'il est capable d'enregistrer jusqu'à cinq morceaux différents, de les mémoriser et de les reproduire sur demande. Chaque morceau comporte deux pistes séparées, appelées «parties», pouvant être enregistrées séparément. Cela permet, par exemple, d'enregistrer tout d'abord la partie main gauche sur une piste, puis d'enregistrer la partie main droite sur l'autre piste tout en écouteant la première piste.
Lors de l'enregistrement ou de la reproduction d'un morceau, il est possible de seLECTIONner la partie (piste) d'un morceau donné à enregistrer ou à reprouire. A l'enregistrement, le choix d'une partie déjà enregistrée efface tout enregistrement antérieur de cette partie. Il est important de s'ensovir; lors de l'enregistrement séparé des deux parties, après l'enregistrement de la première partie il est nécessaire de selectionner la deuxième partie pour l'enregistrement afin d'éviter d'enregistrer pardessus la première partie du morceau.
INFORMATIONÀENREGISTRER
Le piano CA enregistre l'information suivante.
Information de note
Sélection de sonorité
Mouvement de la pédale
Réglage Dual/Split
Avant de débuter l'enregistrement, régler le dosage Dual/Split sur la position désirée. Le dosage régle avant le début de l'enregistrement sera utilisé par l'enregistreur. Toutte modification apportée au réglage en cours d'enregistrement sera ignorée par l'enregistreur.
Transposition
Lors de l'enregistrement dans une tonalité différente au moyen de la fonction de transposition, le piano CA enregistre les notes transposées produites, et non pas les notes jouées sur le clavier.
CAPACITÉ D'ENREGISTREMENT
La capacité d'enregistrement totale est d'environ 15000 notes. Chaque pression sur une touche ou sur une pédale compte pour une note.
Lorsque la capacité maximale de l'enregistreur est atteinte, le piano CA cesse d'enregistre.
ENREGISTREUR ET MÉTRONOME
Lors de la reproduction d'un morceau avec le métronome en service, le métronome redémarre toujours avec un temps fort.
3.1 ENREGISTREMENT (BOUTON REC)

RECORDER
PLAY/STOP

Le bouton REC sert à enregistrer.
Appuyez sur REC pour permettre au piano CA d'enregistrer. Le voyant situé au-dessus du bouton commence à clignoter pour indiquer que le piano est prét pour l'enregistrement.
Jouez quelques notes sur le clavier. Le piano CA commence automatiquement à enregistrer lors la première note jouée.
En fin d'enregistrement, appuyez à nouveau sur REC. Le piano cesse d'enregistrer et mémorise le morceau.
La mémorisation peut durer quelques secondes et pendant ce temps le piano ne peut pas exécuter d'autres opérations.
L'enregistrement peut être lancé en appuyant sur PLAY/STOP plutôt qu'en appuyant sur une touche. De cette manière, une mesure pour rien peut être introduite au début du morceau.
En cas d'erreur d'exécution, le morceau peut être enregistré à nouveau. Il suffit pour cela de repeter les mêmes opérations. Le deuxième enregistrement effacera complètement le premier.
ENREGISTREMENT D'UN AUTRE MORCEAU
Le piano CA est capable d'enregistrer jusqu'à cinq morceaux différents. Essayons d'enregistrer un deuxième morceau.
Si la procédure de la partie précédente a été executée, le piano a déjà enregistré le Morceau 1; enregistrrons maintainant le Morceau 2.
Pour sélectionner le numéro du morceau, utilisez les boutons de SELECTION DES SONORITES au-dessus desquels est imprimé le numéro des morceaux (PIANO 1, PIANO 2, ELECTRIC PIANO, DRAWBAR et CHURCH ORGAN). Tout en maintainant le bouton REC,enforcé, appuyez sur PIANO 2 pour sélectionner le Morceau 2. Levoyant de PIANO 2 commence a clignoter lorsque le bouton REC est enforcé.

Lorsque l'on est prét à enregistrer, il suffit de commencer à jouer sur le clavier.
Le piano CA commence automatiquement à enregistrer, dés l'exécution de la première note.
En fin d'enregistrement, appuyez sur PLAY/STOP.
ENREGISTREMENT D'UNE DEUXIÈME PARTIE
Une deuxieme partie peut être enregistrée sur la deuxieme piste (partie) du même morceau.
Après l'enregistrement de la première partie, sélectionner la deuxième piste et enregistrer la第二种 partie.
Tout en maintainant le bouton REC enforcé, appuyez sur ELECTRIC PIANO pour sélectionner le Morceau 3.
Enregistrez la première partie comme indiqué précédemment et appuyez sur PLAY/STOP lorsque l'enregistrement est terminé.
Sélectionnez ensuite la Partie 2 en appuyant sur BASS tout en maintainant le bouton REC enforcé.

Pour commencer l'enregistrement de la deuxième partie depuis le début du morceau, il suffit de journ sur le clavier. La première partie sera entendue pendant l'enregistrement de la第二种 partie.
Pour reproductive la première partie puis commencer l'enregistrement de la deuxième partie depuis un certain pointitué plus loin dans le morceau, appuyer sur PLAY/STOP au lieu de jouer au clavier pour lancer la reproduction de la première partie, puis commencer l'enregistrement de la第二种 partie depuis le point désiré.
En fin d'enregistrement, appuyez de nouveau sur PLAY/STOP.
ETAT DU MORCEAU ET VOYANTS
Certain voyants clignotent, d'autres sont allumés et d'autres encore sont éteints. Les voyants indiquent l'etat d'enregistrement ou de reproduction, comme illustré ci-dessous.

Levoyant allumé indique que le morceau ou la partie a déjà été enregistré.

Levoyant clignotant indique que le morceau ou la partie est sélectionné pour l'enregistrement ou la reproduction.

Levoyant eteint indique que le morceau ou la partie est vide.
Si plusieurs morceaux ont ete enregistrres, l'etat des morceaux peut etre verifie en appuyant sur REC ou sur PLAY/STOP.
3.2 REPRODUCTION D'UN MORCEAU (BOUTON PLAY/STOP)

Le bouton PLAY/STOP permet de sélectionner le morceau et la ou les parties à jour, ainsi que de lancer et d'arrêter la reproduction des morceaux enregistrés.
Appuyez sur PLAY/STOP pour lancer la reproduction du morceau enregistré.
Appuyez une nouvelle fois sur le bouton PLAY/STOP pour arrêté la reproduction.
Pour écouter un morceau différent, Sélectionner le numéro du morceau désiré au moyen des boutons de SELECTION DES SONORITES tout en maintainant le bouton PLAY/STOP,enforcé,puis relâcher les boutons pour lancer la reproduction. Le voyant du morceau sélectionné clignote lorsque la touche PLAY/STOP est maintainue enforcée.
REPRODUCTION SÉPARÉE DES PARTIES
Lorsque vous sélectionnez un enregistrement (song) en deux parties, vous pouvez jourer séparément chaque partie.
Maintenez le bouton PLAY/STOP enforcé et observe les boutons des parties. Les voyants des deux parties seront allumés pour indiquer que les deux pistes ont été enregistrées avec succès. Relâchez sur PLAY/ STOP pour écouter l'enregistrement. Vous devez entendre les deux parties.
Pour lire de manière individuelle chaque partie, utilisez le bouton PART en maintainant enfoncé le bouton PLAY/STOP pourmettre en/hors fonction chaque partie. Si levoyant LED est allumé cette partie sera jouée. Si levoyant LED est eteint la partie ne sera pas jouee.
UTILISATION DU BOUTON PLAY/STOP POUR LANCER L'ENREGISTREMENT
Le bouton PLAY/STOP peut aussi être utilisé pour lancer l'enregistrement. De cette manière, une mesure pour rien peut être introduite au début du morceau.
Appuyez d'abord sur REC pour préparer le piano à l'enregistrement, puis appuyez sur PLAY/STOP. Dès que PLAY/ STOP est enforcé, le piano CA commence à enregistrer, qu'une touche soit jouée ou non.
3.3 EFFACEMENT D'UN MORCEAU

Cette fonction permet d'effacer n'importe quel morceau que l'on ne désire plus conserver.
Pour effacer un morceau ou une partie spécifique, maintenez tout d'abord les boutons REC et PLAY/STOP enfoncés simultanément. Les voyants indiqueront les morceaux déjà enregistrres.
Sélectionnez le morceau à effacer en appuyant sur les boutons de SELECTION DES SONORITES tout en maintainant les deux boutons REC et PLAY/STOP,enfoncés. Levoyant LED de l'enregistrement (song) sélectionné clignote.
Appuyez sur le bouton PART pour effacer et éteindre levoyant LED. La partition est alors effacée. Quand les deux parties de l'enregistrement (song) sont effacées, l'enregistrement (song) est vide.
EFFACEMENT DE TOUS LES MORCEAUX
Pour effacer tous les morceaux en une seule fois, coupez l'alimentation puis la rétablit tout en maintenant les deux boutons REC et PLAY/ STOP enfoncés.
Un jour, le grand compositeur allemand Jean-Sébastien Bach a déclaré : "Il est facile de jouer du clavier. Il suffit de frapper les bonnes touches au bon moment". Beaucoup degens souhaitent que ce soit aussi simple. Bien entendu, la réalité est très différente. Toutefois, il existe un moyen de jouer très simplement au clavier. Grâce à Concert Magic, il n'est même pas nécessaire de frapper les bonnes touches.
Avec Concert Magic, absolument tout le monde peut s'asseoir au piano CA et produit de la veritable musique... même sans avoir pris aucuneleston de piano de toute sa vie. Pour profiter du prise de jouer par soimeme, il suffit de selectionner son morceau préfééré parmi les 88 morceaux préprogrammés et de frapper l'une des 88 touches selon un rythme et untempo réguliers. Concert Magic générale melodie et les notes d'accompagnement correctes, indépendamment de la touche frappée. Chacun, jeune et moins jeune, peut appréciér le Concert Magic sur son piano CA.
Voyons maintain comment s'utilise le Concert Magic.
4.1 SELECTION D'UN MORCEAU

Les 88 morceaux du Concert Magic sont affectés aux 88 touches du piano, classés en huit groupes par catégories de morceaux, telles que morceaux pour infant, classiques américain et morceaux de Noël.
Tous les titres des morceaux sont listedes page 47 dans les annexes de ce manuel.
Pour sélectionner un morceau, appuyez sur la touche correspondante au morceau désiré tout en Maintenant le bouton CONCERT MAGIC enforcé. L'affichage indique le numéro du morceau.
4.2 ECOUTE DU MORCEAU
Si le morceau sélectionné est familier, on peut pouvoir jouer soi-même sans attendre. Toutefois, on peut aussi pouvoir écouter le morceau avant de le jour.
Pour écouter, appuyez sur PLAY/STOP. Le piano CA commencerà reproduire le morceau sélectionné. La vitesse, ou tempo, du morceau peut être ajustée au moyen des boutons VALUE tout en maintainant le bouton TEMPO,enforcé.
Pendant l'écoute, un morceau Concert Magic différent peut être sélectionné au moyen des boutons VALUE.
Pour arrêté la reproduction du morceau, appuyez à nouveau sur PLAY/STOP.
4.3 EXECUTION D'UN MORCEAU
Vousetesmaintenantprétajourvous-meme.
Frappez sur n'importe laquelle des 88 touches noires ou blanches du clavier du piano au rythme du morceau sélectionné. Si on frappe avec plus de force, les notes sont jouées plus fort; En frappant avec moins de force, les notes deviennent plus douces. Si on rapproche les frappes, les notes s'accélérent; En espaçant les frappes, les notes ralentissent de manière correspondante, tout comme si on jouait sur un piano normal.
N'est-ce pasamusant?Enfrappant simplement une touche avec un doigt, yououpezdonnerl'impressionde savoirjouerdepuisdesannées.
Concert Magic constitue une méthode ideale pour apprendre la musique aux petits enfants, spécialement pour développer leur sens du rythme. Pour les personnes plus âgées qui pensent qu'il est trop tard pour apprendre le clavier, Concert Magic constitue un excellent premier pas. Avec Concert Magic, chaque membre de votre famille peut appréciévez cette piano CA, même ceux qui n'ont jamais touché à un instrument de musique de toute leur vie.
4.4 BALANCE DU VOLUME DES PARTIES CONCERT MAGIC

Utilisé avec Concert Magic, le curseur équilibre le volume entre la partie métodique et de l'accompagnement.
Lorsque le curseur est déplace vers la droite, le son de la mélodie augmente alors que celui de l'accompagnement diminue. L'effet est inverse lorsque le curseur est déplace vers la gauche.
4.5 TYPES DE MORCEAUX CONCERT MAGIC
Après avoir joué un certain temps avec Concert Magic, on peut penser que c'est trop facile et que cela n'apprend pas grand-chose.
Si certains morceaux sont en effet très faciles à jouer, même par les débutants, certains autres constituent un réel défii et nécessitant une certaine pratique pour être parfaitement exécutés. Chacun des 88 morceaux de Concert Magic est classé dans l'une des trois catégories suivantes, en fonction de l'habileté requise pour l'exécuter.
MORCEAUXÀMESUREFACILE (EASYBEAT)
Ce sont les morceaux les plus facies à jour. Pour les exécuter, il suffit de bâttre la mesure régulièrement sur n'importe qu'elle touche du clavier. Considérons l'exemple suivant, "Für Elise". Frapper la touche avec un rythme régulier de double-croches.
x = Frapper les touches

MORCEAUX À MÉLODIE (MELODY PLAY)
Ces morceaux sont aussi assez facies à exécuter, particulièrement s'ils sont familiers. Pour les jouer, frapper n'importe qu'elle touche du clavier au rythme de la mélodie. Il peut aussi être utile de fredonnier l'air en battant la mesure.
Par exemple, pour jouer «Twinkle, Twinkle Little Star», suivre le rythme de la melodie comme illustré.
x = Frapper les touches

Lors de l'exécution de morceaux Concert Magic rapides, il est parfois plus facile de frapper alternatively deux touches différentes avec deux doigts. Cela permet de jouer deux fois plus vite qu'avac un seul doigt qui.frappe une seule touche.
MORCEAUX TECHNIQUES (SKILLFUL)
La dificulté de ces morceaux peut être moyenne à difficile. Pour les exécuter, la frappe sur n'importes quelles touches du clavier doit battré à la fois le rythme des notes de la mélodie, et de celles de l'accompagnement, comme pour la “Waltz of Flowers”, illustrée ci-dessous.
x = Frapper les touches

Un certain entrainment peut être nécessaire pour exécuter ces morceaux avec succès. Un bon moyen d'y parvenir, consiste à écouter d'abord ces morceaux, puis d'essayer de réproduire le rythme entendu.
REMARQUE
Sur la “Liste des morceaux” page 47, le type du morceau est indiqué à côté de chaque titre : “EB” (Easy Beat) pour morceau à mesure facile, “MP” (Melody Play) pour morceau à métodie et “SK” (Skillful) pour morceau technique.
4.6 STEADY BEAT

Ne vous souciez pas de la catégorie à laquelle le morceau Concert Magic apparient. Vous pouvez jouer n'importe quel morceau Concert Magic en frappant n'importe qu'elle note en mesure.

Appuyez et maintenez le bouton Concert Magic. L'écran LED affichera le mode Concert Magic en cours (C-1).
En maintainant le bouton Concert Magic, utilisez le bouton VALUE pour changer le mode en «Steady Beat» (C-2).
Jouez n'inporte quelle note en mesure.
Votre jeu donnera le rythme pour le morceau. La mélodie et l'accompagnement seront joués automatiquement, en mesure avec le tempo que vous avez donné.
4.7 DEMONSTRATION AVEC UN MORCEAU CONCERT MAGIC
Il existe deux façon d'écouter les morceaux Concert Magic dans le mode de démonstration.
- Appuyez sur la touche du piano à laquelle est assigné le morceau besoin alors que l'on maintain le bouton DEMO enforcé.
Le piano CA jouera le morceau sélectionné, puis jouera les autres morceaux de la même catégorie les uns après les autres.
- Appuyez sur le bouton CONCERT MAGIC puis appuyez sur le bouton DEMO.
Le piano CA jouera tous les morceaux Concert Magic dans un ordre aléatoire.
Pour arrêter la démonstration, appuyez une nouvelle fois sur le bouton DEMO.
4.8 RÉGLAGE DE LA VITESSE DE REPRODUCTION DES MORCEAUX CONCERT MAGIC
La touche TEMPO est aussi utilisée pour régler la vitesse de reproduction des morceaux Concert Magic.
Après avoir sélectionné le morceau Concert Magic à jour, maintenez la touche TEMPO enforcée. L'affichage LED indique la valeur du tempo. Tout en maintainant la touche TEMPO enforcée, utilisez les boutons VALUE pour modifier le tempo.
Le tempo peut être régé avant, ou pendant, l'exécution d'un morceau.
5.1 CHOIX DE LA SENSIBILITÉ DU TOUCHER (BOUTON TOUCH)

Le bouton TOUCH permet de sélectionner une sensibilité de toucher du clavier différente de celle du toucher standard d'un piano acoustique. La sensibilité peut prendre une des cinq valeurs suivantes : léger (LIGHT)1/2, lourd (HEAVY)1/2, arrêt (OFF) et User.

Light 1 Pour ceux qui développement encore la force de leurs doigts. Un volume plus puissant est generé en jouant avec un toucher léger.

Light 2 Pour les pianistes au toucher délicat. Nécessite moins de force de frappe pour jouer une note forte.

Heavy 1 Ideal pour les personnes aux doigts musclés. Ce réglage nécessite un toucher plus lourd pour produit un volume puissant.

Heavy 2 Necessite une frappe plus forte pour obtenir un fort volume. Off Le volume reste constant, independamment de la force de.frappe. Ce réglage est adapté aux sonorités à gamme dynamique fixe, tels que l'orgue et le clavecin.

User
Vous pouvez创建工作?
Your style de jeu.

Appuyez sur TOUCH pour changer le toucher standard. Levoyant du bouton TOUCH s'allume pour indiquer que le piano utilise maintainant un réglage de toucher différent.
Tout en Maintenant le bouton TOUCH,enfoncé,utilisez les boutons VALUE pour modifier le type de toucher.
Appuyez une nouvelle fois sur TOUCH pour revenir au réglage de toucher normal.
La sélection du toucher affecte globalement toutes les sonorités préréglées. Il n'est pas possible d'avoir un réglage individuel pour chaque sonorité.
Lorsque l'alimentation est coupée, le réglage reprend la valeur normale.
REMARQUE
Les mots LIGHT (léger) et HEAVY (lourd) ne représentent pas le poids physique des touches. Ils donnent une indication sur la force nécessaire pour utiliser le type de toucher qu'ils définissant, sur toute la plage de dynamique.
TOUCHER UTILISATEUR
Vous pouvez创建工作 propres toucher personnel en fonction de la favourite style de jeu.

Utilisez le bouton VALUE pour sélectionner USER en maintainant enforcé le bouton TOUCH.

Pendant que vous appuyez sur le bouton TOUCH, appuyez sur le bouton REC. L'afficheur indique "PLAY".

Puis jouez un morceau avec une grande dynamique de toucher, de faible à fort afin que le piano puisse analyser votre style de jeu. Pendant que vous jouez l'afficheur change et montre trois points en bas.

Pressez le bouton STOP lorsque vous avez fini de jouer. Le piano CA va analyser votre style de jeu et creator une courbe de toucher spéciale en fonction de votre style de jeu. L'afficheur indique brièvement "DONE".
REMARQUE
L'information relative à la courbe du-toucher utiliser est sauvégardée automatiquement lorsque l'alimentation de l'appareil est coupée.
5.2 TRANSPOSITION DU PIANO (BOUTON TRANSPOSE)

Utiliser le bouton TRANSPOSE pour monter ou baisser la tonalité du piano par pas de 1 demi-ton. Cette fonction est particulièrement utile lorsqu'on a appris un morceau dans une tonalité particulière et que l'on doit l'exécuter dans une autre tonalité. La transposition permet de jouer le morceau dans la tonalité d'origine, mais de l'entendre dans une autre tonalité.
Pressez et maintenance le bouton TRANSPOSE. En Maintenant le bouton TRANSPOSE, utilisez le bouton VALUE ou les notes C2 à C4 pour déterminer la valeur de la transposition.

L'affichage LED indique le nombre de demi-tons, vers le haut ou vers le bas, dont est transposed le piano. -5 ,par exemple,représente une transposition de 5 demi-tons vers le bas alors que 0 indique qu'il n'y a aucune transposition.
La transposition peut être comprise entre -12 et +12 demi-tons.
Appuyez une nouvelle fois sur le bouton TRANSPOSE pour quitter la fonction de transposition.
La fonction de transposition se pouvient du réglage actuel aussi longtemps que le piano reste sous tension.
5.3 AUTRES FONCTIONS (BOUTONS TOUCH ET TRANSPOSE)

Treize autres fonctions régissant l'accord, le système et le MIDI : accord, tempérament, canal de transmission et de réception MIDI, marche/arrêt de la transmission des changements de programme, marche/arrêt de commande locale, mode multi-timbral, coupure de canal, numéro de changement de programme, décalage d'octave sur la partie main gauche, marche/arrêt de la pedale pour la partie inferieure, transposition d'octave dessons mixés, dynamique des sons mixés et damper hold.
Ces fonctions sont sélectionnées en appuyant sur les boutons de SELECTION DES SONORITES tout en Maintenant les deux boutons TOUCH et TRANSPOSE enfoncés. Chacun des boutons de SELECTION DES SONORITES donne accès à une des fonctions ci-dessous.
Levoyant du bouton clignote pour indiquer la fonction selectionnée.
Pour quitter la fonction, appuyez sur n'importequel bouton de SELECTION DES SONORITES ou sur un des boutons TOUCH ou TRANSPOSE.
Lorsque l'alimentation a ete coupee, les reglages reconnent les valeurs prerégles d'usine.
1. ACCORD (TUNING)
L'accord permet d'ajuster la hauteur du son du piano. Il peut etre
necessaire de proceser à l'accord lors d'executions avec d'autres instruments.
Pour modifier l'accord, appuyez sur PIANO 1 tout en maintainant les boutons TOUCH et TRANSPOSE enfoncés.

L'afficheur montre alternatively "tun" (= Accord) et un nombre représentant la fréquence pour le "la" en Hertz. La plage de réglage s'étend de (4)27,0 à (4)53,0 Hz (affichage 27.0 à 53.0). Le réglage d'usine est celui du standard moderne La(A) = 440,0Hz (affichage 40.0).

Utilisez les boutons VALUE pour monter ou baisser la hauteur du son.
2. TEMPERAMENT
Le piano CA permet non seulement de jourer avec le tempérament égal (standard moderne), mais il donne aussi l'accès immédiat à des tempéraments populaires pendant les périodes Renaissance et Baroque. Il peut être intéressant et educator d'essayer quelques-uns de ces tempéraments différents, bien que de nos jours le tempérament égal soit de loin le plus utilisé.

Pour changer de tempérament, appuyez sur PIANO 2 tout en maintainant les boutons TOUCH et TRANSPOSE enfoncés.
L'afficheur montre alternatively "tMP" (= Tempérament) et le symbole qui indique le type de tempérament actuellément utilisé.
Pour passer d'un tempérament à un autre, utilisez les boutons VALUE.
BREVE EXPLICATION SUR LES TEMPERATURES

TEMPÉRAMENT EGAL (PIANO SEULEMENT)
C'est le tempérament par défaut. Si une sonorité de piano est sélectionnée l'accord est étiré comme sur un piano acoustique (TEMPERAMENT EGAUX AVEC COURBE D'ACCORD). Si une sonorité d'un autre type est sélectionnée l'accord sera EGAUX SANS COURBE D'ACCORD. Une explication sur le TEMPERATURE EGAUX AVEC COURBE D'ACCORD et sur le TEMPERATURE EGAUX SANS COURBE D'ACCORD est donnée plus loin dans ce chapitre.
REMARQUE
Si une sonorité de piano est mélangée en mode DUAL avec une autre sonorité, les deux sonorités utiliseront le TEMPERAMENT EGAL AVEC COURBE D'ACCORD.


Ce tempérament élimine les dissonances de hierces et de quintes, et est encore populaire pour la musique chorale en raison de son harmonie parfaite.
Avec ce tempérament, on doit connaître la tonalité dans laquelle on joue. Toute modulation de tonalité entraîne des dissonances. Lorsqu'un morceau est exécuté dans une tonalité particulière, la tonalité du tempérament doit être la même.

TEMPÉRAMENT PYTHAGORICIEN (PYTHAGOREAN)
Ce tempérament utilise des rapports mathématiques pour éliminer la dissonance des quintes et il est d'un usage très limité avec les accords, mais il produit des lignes mélodiques très caractéristiques.

TEMPÉRAMENT MESOTONIQUE (MEANTONE)
Ce tempérament utilise une moyenne entre une tonalité majeure et une tonalité mineure pour éliminer la dissonance des hierces et il a été unconqu pour éliminer le manque de consonance qui apparaisent avec certaines hierces du tempérament Mersenne pur. Il produit de plus beaux accords que ceux du tempérament égal.

TEMPÉRAMENT DE WERCKMEISTER III, TEMPERATURE DE KIRNBERGER III
Ces deux tempéraments se situent entre le Mésotonique et le Pythagoricien. Pour une musique qui présente peu d'accidents, ces tempéraments produits les beaux accords du Mésotonique, mais avec l'augmentation des accidents ces tempéraments produit les melodies caractéristiques du tempérament Pythagoricien. Il sont principalement utilisés pour la musique classique écrite à l'époque Baroque, afin de lui redonnner ses caractéristiques d'origine.

TEMPÉRAMENT EGAL SANS COURBE D'ACCORD
Ce tempérament divise la gamme en douze demi-tons égaux. Les intervalles des accords sont les mêmes dans les douze tonalités, et la modulation est possible dans toutes les tonalités. Cependant, chaque tonalité n'a pas de caractéristique propre, et aucun accord n'a une consonance pure.

C'est le tempérament de piano le plus repandu. La courbe de réponse de l'oreille humaine est irrégulière, et n'est pas si précise dans les hautes et les basses fréquences, que dans les mediums. Ce tempérament est l'accord pour compenser cela, afin que le son semble plus naturel à nos oreilles. Ce tempérament Egal avec courbe d'accord est une variation pratique du tempérament Egal sans courbe d'accord qui a été inventé sur une base mathématique.
REMARQUE
Après avoir sélectionné le temperament déséré, reportez-vous à la section suivante pour sélectionner.
Une note de référence pour ce tempérament avant de continuer.
TONALITÉ DUTEMPÉRAMENT
La modulation dans toutes les tonalités n'a été possible qu'après l'invention du tempérament égal. Lors du besoin d'un autre tempérament que le tempérament égal, il est nécessaire de désir voir soigneusement la tonalité dans laquelle on joue.
Par exemple, si le morceau à exécuter est écrit en Ré majeur, appuyer sur n'importe qu'elle touche "Ré" pour régler la tonalité du tempérament.
Tonalité de Ré

Tonalité de La#

Pour sélectionner la tonalité pour le tempérament, il suffit d'appuyer sur une des 88 touches du piano. Le nom de la note correspondant à la touche enforcée apparait sur l'affichage et cette note sera retenue comme tonalité du tempérament.
REMARQUE
Le changement de tonalité du tempérament ne change que l'«équilibre» de l'accord ; la hauteur du son du clavier demeureinchangée. Pour modifier la hauteur du son de l'ensemble du clavier, utilisez la fonction ACCORD ou la fonction TRANSPOSE.
3. CANAL DE TRANSMISSION ET DE RÉCEPTION MIDI
Cette fonction détermine le canal MIDI sur lequel le piano CA échangera les informations MIDI avec un instrument MIDI externe ou un ordinateur domestique.

Appuyez sur ELECTRIC PIANO tout en maintainant les boutons TOUCH et TRANSPOSE enfoncés.

L'afficheur montre alternatively "Chn" (= Canal) et le numéro de celui ci. Le canal par défaut est le numéro 1.
Le numéro du canal peut être réglé sur une valeur comprises entre 1 et 16 au moyen des boutons VALUE.
4. MARCHE/ARRÊT DE LA TRANSMISSION DES CHANGES DE PROGRAMME
Cette fonction détermine si le piano CN transmettra ou non l'information d'un changement de programme lorsqu'el'on appuiera sur les boutons de SELECTION DES SONORITES. Lorsque cette fonction est activée, un numéro de changement de programme est transmis à chaque fois que l'on appuie sur un bouton de SELECTION DES SONORITES, conformément à la liste de la page 46.

Appuyez sur DRAWBAR tout en maintainant les boutons TOUCH et TRANSPOSE,enfoncés.
L'afficheur montre alternatively "PGM" (= Programme) et sa position on/off. Le réglage par défaut est "On".
Passez de “On” et “OFF” et vice-versa au moyen des boutons VALUE.
5. MARCHE/ARRÊT DE COMMANDE LOCALE
Cette fonction déterminée si le clavier sera relié au générateur de son du piano CN ("On") ou uniquement à la sortie MIDI vers un instrument MIDI externe ("OFF").
Meme avec la commande locale à l'arrêt ("OFF"), le clavier du piano transmet encore des données vers un instrument MIDI externe ou vers un ordinateur personnel.

Appuyez sur CHURCH ORGAN tout en maintainant les boutons TOUCH et TRANSPOSE enfoncés.
L'afficheur montre alternatively "LcL" (= Local) et sa position on/off.
Le réglage par défaut est "On".
Passez de “On” et “OFF” et vice-versa au moyen des boutons VALUE.
6. MODE MULTI TIMBRE
La fonction Multi-timbrale MIDI permet à l'instrument de receivevoir des données sur plusieurs canaux en même temps. Grâce à cela, le piano CA peut jouer plusieurs parties musicales avec des sonorités différentes.
Multi-Timbral On (On1 et On2)
Multi-timbralité activée. Chaque canal MIDI peut être mis en ou hors service individuellement et n'importe quel numéro de changement de programme peut être envoyé à n'importe quel canal de la manière désirée.
Les nombres de changement de programme normal des pains CA sont assignés à On1 (Vous référer page 46 pour la liste des nombres de changement de programme), et les nombres de changement de programme General Midi sont assignés à On2.
Multi-Timbral Off
Multi-timbralité désactivée. Un seul canal MIDI sera actif et seule la sonorité actuellément sélectionnée sera accessible à la réception d'un signal MIDI.


Appuyez sur HARPSI&MALLETS tout en maintainant les boutons TOUCH et TRANSPOSE enfoncés.
L'afficheur montre alternatively "Mlt" (= Multi) et sa position on/off. La valeur par défaut est "OFF".
Sélectionnez le mode désiré au moyen des boutons VALUE.
Cette fonction permet de définir les canaux MIDI à activer pour la réception lors de l'utilisation en mode Multi-timbral. Chacun des 16 canaux peut être activé ou désactivé individuellement.


Appuyez sur STRINGS tout en maintainant les boutons TOUCH et TRANSPOSE,enfoncés.
L'afficheur montre alternatively "P01" (= Lecture 01) et "On". Ceci indique que le canal 1 est activé.
Pourmettrele canal hors service,commutezentre“On”et“OFF" au moyen des boutons VALUE.
Pourmettrelesautrescauwxenouhorservice,utiliserles16touches blanches lesplusàgaucheafindeselectionnerd'abordle canal désiré.L'afficheur indiquera de“P02”à“P16”.Commutezentre“On" et“OFF”au moyendesboutonsVALUE.

Quand le mode Multi-timbral est en position off, la fonction «Channel Mute» ne peut être sélectionnée.
8. ENVOI DU NUMÉRO DE CHANGESMENT DE PROGRAMME
Cette fonction permet au piano CA de transmettre des numéroes de changement de programme au-delà des 40 numéroes prédéfinis et transmis par les boutons de SELECTION DES SONORITES.
N'importe quel numéro compris entre 1 et 128 peut être transmis au moyen de cette fonction.

Appuyez sur VOCAL tout en maintainant les boutons TOUCH et TRANSPOSE enfoncés.

L'afficheur montre alternatively "PG#" (= Programme #) et un numéro de programme. Régler le numéro désiré au moyen des boutons VALUE.
Appuyez simultanément sur les deux boutons VALUE afin de transmettre le numéro de changement de programme.
9. TRANSPOSITION DE L'OCTAVE GRAVE (LOWER OCTAVE SHIFT)
Cette fonction permet d'élever de un, deux ou trois octaves l'octave le plus grave pendant l'utilisation de la fonction «split».

Appuyez sur PAD tout en maintainant les boutons TOUCH et TRANSPOSE,enfoncés.

L'afficheur montre alternatively "Lot" (= Lower Octave) et un nombre indiquant de combien d'octaves la partie inférieure est transposée vers le haut.
Utilisez les boutons VALUE pour ajuster le déplacement d'octave sur la valeur désirée.
L'octave inférieur peut être élevé de 0 à 3 octaves.
10. MARCHE/ARRET DE LA PEDALE POUR LA PARTIE INFERIEURE
Cette fonction permet de définir si la pédale Forte sera active ou non pour la sonorité inférieure dans le mode de partage de clavier (SPLIT). Le réglage par défaut est Off, ce qui signifie que la pédale Forte n'agit pas sur la sonorité inférieure.


Appuyez sur BASS tout en maintainant les boutons TOUCH et TRANSPOSE,enfoncés.
L'afficheur montre alternatively "LPd" (= Pedale Basse) et sa position on/off. L'indication par défaut est "off".
Pour modifier l'etat "on" ou "off" de la pédale, utiliser les boutons VALUE.
11. TRANSPOSITION D'OCTAVE DES SONS MIXÉS
Ceci permet de décaler vers le haut ou le bas le son mixé lorsque vous utilisez la fonction DUAL.


Appuyez sur EFFECT tout en maintainant les boutons TOUCH et TRANSPOSE,enfoncés.
L'afficheur montre alternatively "LAo" (= Transposition Layer) et un nombre indiquant de combien d'octaves la partie « Layer » est transposée vers le bas ou vers le haut.
Utilisez les boutons VALUE pour effectuer votrechoix.
La transposition peut être régéleréglée de -2 0 +2
12. DYNAMIQUE DES SONS MIXÉS
En mode DUAL, la simple balance de volume entre lessons mixés ne suffit pas à créé le résultat désiré si les deux sons sont très dynamiques. Il peut être difficile de contrôler deux sons de même dynamique. La fonction Layer Dynamics vous permet de limiter la sensibilité globale de la dynamique du son mixé pour creer un mélange parfait des deux sons. En plus de la diminution du volume du son mixé, la limitation de la sensibilité dynamique de ce son rend plus aisé le contrôle de celui-ci par rapport au son principal. Avec cette fonction, vous pouvez comfortably jouer avec toute la dynamique souhaitation pour le son principal en gardant le contrôle du son mixé.


Appuyez sur REVERB tout en maintainant les boutons TOUCH et TRANSPOSE,enfoncés.
L'afficheur montre alternatively "dyn" (= Dynamique) et un nombre qui représenté le niveau de dynamique.
Utilisez les boutons VALUE pourCHOISIR le niveau de dynamique.
Vous pouvezCHOISIR un réglage de 1 à 10, la valeur 1 correspond à la plus forte réduction de dynamique, 10 correspond à aucune réduction. Le réglage par défaut est 10.
13. DAMPER HOLD
Permet de déterminer si le volume d'un son tel que Orgue ou Strings doit être maintenu (on) ou progressivement abaisse (off) quand la pédale forte est enforcée.

Appuyez sur SPLIT tout en maintainant les boutons TOUCH et TRANSPOSE,enfoncés.

L'afficheur montre alternatively "dMP" (= étouffoir) et sa position on/off. L'indication par défaut est "off".
Commutez entre "On" et "OFF" au moyen des boutons VALUE.
Dans ce chapitre, nous allons apprendre à créé de la musique en raccordant le piano CA à un dispositif MIDI externe.
Le Piano CA est compatible avec les modules MIDI de Kawai et ceux des autres constructeurs. Il peut également être utilisé avec un séquenceur de votre ordinateur personnel.
COMPRENDRE LE MIDI
QUE SIGNIFIE MIDI?
Les lettres MIDI sont l'abréviation de Musical Instrument Digital Interface (interface numérique d'instruments de musique), norme internationale pour le raccordement de synthétiseurs, boîtes à rythmes et autres instruments électroniques équipés du MIDI pour leur permettre d'échanger des données. Les ordinateurs personnels peuvent aussi être équipés pour la communication MIDI. Les instruments électroniques équipés du MIDI peuvent transmettre et receivevoir des données d'exécution, telles que les notes, la sonorité à reproduce, l'information de pédale, le volume, etc. Ces données peuvent être enregistrées à l'aide de dispositifs comme un séquenceur ou un ordinateur.
PRISES MIDI
Les instruments équipés du MIDI possèdent généralement trois prises pour l'échange de données : IN, OUT et THRU. (Certsains instruments ne comportent que IN et OUT.) Ces prises permettent de raccorder les dispositifs MIDI les uns aux autres au moyen d'un cable spécial.
Chaque prise possède une fonction différente.
IN : Pour la réception de données MIDI d'un autre instrument MIDI.
OUT : Pour la transmission de données MIDI vers un autre instrument MIDI.
THRU : Pour transmettre des données MIDI reçues d'un autre instrument MIDI sans les traiter.
En fonction de leur type de raccordement, les instruments sont classés dans la catégorie de ceux qui recoivent des données (produisant un son lorsque des données leurs sont envoyées par un autre instrument), de ceux qui transmettent des données (vers des instruments auxquels ils sont raccordés), ou de ceux qui recoivent et transmettent des données.
CANAL MIDI
Le système MIDI utilise ce que l'on appel des «canaux» pour acheminer les données MIDI destinées à un instrument spécifique ou à une partie spécifique. En canalisant les données MIDI, il est possible de:gérer au
moyen d'un seul cable des parties multiples dans plusieurs instruments.
Il existe ainsi deux types de canaux, ceux pour la réception et ceux pour la transmission. Le canal MIDI de l'instrument récepteur doit correspondre au canal MIDI de l'instrument transmetteur, de même que pour la radio ou la télévision. Si l'on désire écouter ou regarder une station, il est nécessaire de régler l'appareil sur la bonne châne. Lorsqu'un instrument transmetteur utilise le canal 1, l'instrument récepteur doit aussi être régle sur le canal 1. Le piano CA permet de régler le même canal, à la fois pour la transmission et pour la réception. Le piano CA vous donne le choix entre 16 canaux MIDI. Outre les communications par un seul canal, il est aussi possible de receivevoir des canaux multiples. Avec les instruments MIDI Multi-timbraux, il est possible de receivevoir plusieurs parties en utilisant plusieurs canaux, chaque partie étant jouée simultanément avec une sonorité différente. Par exemple, un instrument MIDI peut receivevoir la melodie sur le canal 1, les cordes sur 2, les basses sur 3, et affecter un instrument différent à chaque canal. Piano pour le canal 1, cordes pour 2 et basses électriques pour 3. De cette manière, le piano CA peut jouer jusqu'à 16 parties différentes avec des sonorités différentes.
Voici le schéma (page suivante) qui illustre la situation qui vient d'être exposée.
L'instrument No.1, qui transmet la partie de piano sur le canal 1 (Ch.1), la partie de cordes sur Ch.2 et la partie de basses sur Ch.3, est raccordé à l'instrument No.2. L'instrument No.3 est raccordé à MIDI THRU de l'instrument No.2. Le canal de réception est régle sur 1 pour l'instrument No.2 et le mode Multi-timbral est désactivé. Sur l'instrument No.3, le mode Multi-timbral est activé.
Clavier MIDI No.1
Transmet sur
Ch.1 Piano
Ch.2 Cordes
Ch.3 Basses
Clavier MIDI No.2
Reoit sur Ch.1
Mode Multi-timbral désactivé
Module de son No.3
Mode Multi-timbral activé

Reçoit uniquement sur
Ch.1 Piano
Recoit sur
Ch.1 Piano
Ch.2 Cordes
Ch.3 Basses
L'instrument No.2 ne reconnaît que la partie de piano reçue de l'instrument No.1. L'instrument No.3 recoit toutes les parties sur les trois canaux traversant l'instrument No.2 parce que le mode Multi-timbral de l'instrument No.3 est activé.
Ce bref aperçu du MIDI est destiné à faciliter la compréhension des possibilités MIDI du piano CA.
Bien que l'explication de l'ensemble du MIDI dépasse le cadre de cette notice, nous vous encourageons à visiter votre magasin de musique local ou à consulter un livre pour obtenir la liste des livres qui vous permettront d'approfondir vos connaissances sur les applications MIDI.
Etudions quelques applications MIDI utilisant un module MIDI connecté au Piano CA.
6.1 UTILISATION DU PIANO CA EN TANT QUE CONTROLEUR
Tout d'abord, jouons sur le piano CA une sonorité en provenance d'un module MIDI extérieur.
RACCORDEMENT MIDI
Connectez le jack MIDI OUT de votre piano au module MIDI extérieur avec un cable MIDI.

Le canal MIDI doit ensuite être réglé. Les canaux émission et réception de votre équipement MIDI externe doivent être identiques.
CHANGEMENT DU CANAL DETRANSMISSION
Pour changer le canal de transmission du piano CA, appuyez sur ELECTRIC PIANO tout en Maintenant les boutons TOUCH et TRANSPOSE enfoncés. L'afficheur montre alternatively “Chn” (= Canal) et son numéro. Le canal par défaut est 1. Choisir un canal de 1 à 16 au moyen des boutons VALUE.
RACCORDEMENT AUDIO
Si vous module MIDI exter n'est pas équipé d'amplificateur ou de hautparleurs, vous pouvez le connecter directement au piano CA en utilisant le jack LINE IN ou à un autre module de son exter.
Connectez les jacks LINE IN de votre piano CA aux jacks LINE OUT (sortie audio) de votre module externe avec une paire de câbles audio (voir schéma ci-dessus).
Maintenant, les HP de votre piano diffusent à la fois le son du piano CA et le son du module de son externe.
Utilisez le contrôle de volume de votre module externe pour équilibrer les deux volumes sonores.
Nous sommes maintainant prêts à jouer!
Alors que l'on joue sur le clavier du piano CA, on entendra les deux instruments. Le piano transmet par MIDI l'information concernant la note jouée et son intensité sonore, à votre module externe. Ce module produit un son basé sur ses informations mais utilisant ses propres sonorités.
CHANGEMENT DE PROGRAMME
Appuyez sur un bouton de SELECTION DES SONORITES du piano CA. Vous entendrez que le son de votre module exter se modifie également. En appuyant sur un bouton de SELECTION DES SONORITES, le piano CA transmet un numéro de «changement de programme». Un changement de programme est un type de commande MIDI indiquant à l'instrument récepteur la sonorité ou l'instrument à utiliser pour reproduce les notes.
L'information de changement de programme est composée d'un simple numéro, compris entre 1 et 128, et non pas du nom d'un instrument. L'instrument désiré est sélectionné au moyen de ce numéro spécifique. Tous les instruments MIDI n'affectent pas la même sonorité au même numéro de changement de programme. Toutefois, les instruments MIDI conformes à la norme General MIDI (GM) «affectent» la même sonorité au même numéro de changement de programme. Par exemple, sur un synthétiseur compatible «GM», un changement de programme No.1 se traduira toujours par une sonorité de piano, et un changement de programme No.33 se traduira toujours par une sonorité de bassé acoustique. Grâce à cela, lorsque deux instruments «GM» sont raccordés l'un à l'autre lechioix de la bonne sonorité ne pose pas de problème. Le piano CA n'est pas un instrument aux normes General MIDI. Cela signifie que lorsque vous séLECTIONnez un son sur votre piano, comme par exemple le son Classic E. Piano, votre module externe va probablement jouer un
son différent. Le son que vous aliez entendre dépend de l'affection des sons de votre module externe. Vous trouvez ci-dessous un tableau donnant la correspondance entre les 12 premiers sons de votre piano et les 12 premiers sons G.M. Reportez-vous à la page 46 de cette section pour plus de détails. L'affection peut être différente lorsque le mode Multi-timbral est utilisé (voir plus loin dans ce chapitre).
| N° de Programme | CA5 | General MIDI |
| 1 | Concert Grand | Grand Piano |
| 2 | Studio Grand | Bright Piano |
| 3 | Mellow Grand | Electric Grand |
| 4 | Jazz Grand | Honky Tonk Piano |
| 5 | Modern Piano | Electric Piano 1 |
| 6 | Honky Tonk | Electric Piano 2 |
| 7 | New Age Piano | Harpsichord |
| 8 | New Age Piano 2 | Clavi |
| 9 | Classic E. Piano | Celesta |
| 10 | Modern E.P. | Glockenspiel |
| 11 | 60's E.P. | Music Box |
| 12 | Modern E.P. 2 | Vibraphone |
Afin que votre module externe joue le son que vous souhaitez, il vous faut connaître quel numero de changement de programme vous devez lui tranmettre. Lisez la notice de votre module externe pour avoir la liste des correspondances entre numeros et sonorités. Ensuite reportez-vous page 31 à la section «Numeros d'envoi de changement de programme» pour la procédure à suivre pour envoyer, de votre piano CA, un numero de changement de programme.
C'est ainsi que l'on superpose le son du piano avec la sonorité que l'on peut en provenance d'un module extérieur.
COMMANDDE LOCALE
Pour jouer et n'entendre que le son de votre module externe, vous devez supprimer le son du piano par la fonction «Local control».
La commande locale détermine si le piano CA génére un son ou non lorsque l'on joue sur son clavier. Avec la commande locale activée, le piano CA génére un son lorsque ses touches sont jouées. Avec la commande désactivée, le piano ne génère pas de son lorsque ses touches sont jouées. Toutefois, le clavier du piano CA continuera à transmettre les données MIDI vers un instrument MIDI externe.
Appuyez sur CHURCH ORGAN tout en maintainant les boutons TOUCH et TRANSPOSE enfoncés. L'afficheur montre alternatively "LcL" (= Local) et sa position on/off. Sa valeur initiale est sur "on". Utilisez les boutons VALUE pour la désactiver ("OFF").
Jouez sur le clavier, vous n'entendrez que le son de votre module externe. Pour changer de son, à partir du piano, sélectionnéz
Le numéro désiré comme indiqué dans la section s'y rapportant et envoyez le à votre module externe.
Il est possible de changer lessons directement sur votre module externe. Dans ce cas, on peut pouvoir régler le piano CA de façon qu'il ne transmette pas les changements de programme. Pour savoir comment éviter que le piano CA transmette les changements de programme, se reporter à «4. Marche/Arrêt du Changement de Programme» à la page 31 de la partie Référence.
6.2 UTILISATION DU PIANO CA EN TANT QUE MODULE SONORE MULTI-TIMBRAL
Le piano CA peut aussi être utilisé en tant que module sonore multi-timbral avec 16 parties. Ainsi, par exemple, le piano CA est capable de reproductive un morceau à quatre parties qui comprend deux parties de piano, une partie d'ensemble de cordes et une partie de choeur provenant toutes d'un séquenceur MIDI ou d'un ordinateur domestique. Il est aussi possible de jouer sur le piano CA pour accompagner un morceau enregistré.
Pour que le piano CA puisse receivevoir des informations MIDI en mode multi-timbral, il doit être connecté à un module MIDI externe ou à un ordinateur équipé du logiciel approprié.
Connectez la prise jack MIDI IN du piano avec la prise MIDI OUT du module externe avec un cable MIDI. Notez bien que le sens de transmission des informations s'est inversé. Cest maintainant le piano qui recoit des informations du module externe.

CANAL MIDI
L'étape suivante consiste à régler les canaux MIDI. Quand on recoit des données MIDI sur le piano CA en mode multi-timbrale, il n'est pas nécessaire de spécifique le canal MIDI à utiliser car le piano CA peut receivevoir des données MIDI sur plusieurs canaux à la fois.
Voudevezassurezlarépartitiondescanauxmidi pour chaque section.
Un canal MIDI ne peut être affecté qu'à un seul son à un instant donné. Vous doivent affercer un canal MIDI à chaque section pour la transmission (module externe) et la réception (Piano CA) sur les deux modules MIDI. Par exemple, canal 1 pour le piano, canal 2 pour l'ensemble de cordes, canal 3 pour les choeurs, etc.
MODE MULTI-TIMBRAL
Multi-timbral On active le mode multi-timbral à 16 canaux. Vous pouvez couper les canaux séparément. Chaque canal reconnaît les numérios de changement de programme comme indiqué sur la liste de la page 46. Il y a deux positions du mode Multi Timbral. On1 et On2 ont des numérios de changements de programme différents.
Multi-Timbre Off désactive le mode multi-timbral. Pour que le piano CA recoive les données MIDI sur un canal unique et qu'il ignore les données des autres canaux, régler «Multi-Timbre» sur «OFF». Toutefois, pour que le piano CA puisse receivevoir des données MIDI d'un dispositif externe, le canal de réception doit être le même que le canal de transmission. Les numérodes changement de programme indiqués à la page 46 sont reconnus.
Afin de démontré ces capacités, Sélectionnons le mode multi-timbral du piano CA.
Appuyez sur HARPSI&MALLETS tout en maintainant les boutons TOUCH et TRANSPOSE enfoncés.
Utilisez les boutons VALUE pour sélectionner Multi-Timbre = On. L'affichage indique alors «On1» ou «On2».
Lorsque le mode multi-timbral a ete activé, appuyer sur un des boutons de SELECTION DES SONORITES pour sortir du menu des fonctions.
Voyons comment cela fonctionne en utilisant un module MIDI externe. Si vous avez un clavier connecté au piano CA, essayez de jouer quelques notes. Lorsque vous jouez, vous devez entendre le piano CA. Si vous avez connecté un module qui joue ou un ordinateur équipé d'un logiciel MIDI, essayez d'envoyer au piano quelques données MIDI pour une ou plusieurs parties. Vous devez entendre le piano jouer toutes les parties.
En mode multi-timbrale, si vous souhaitez entendre un son particulier pour chaque partie transmise au piano, vous doivent envoyer le bon numero de programme/son du module MIDI tranmetteur vers le piano. Voir page
46 le tableau d'assignation des changements de programme.
Si vous possèdez un lecteur de MIDI file, vous allez certainement pouvoir l'utiliser en tant que module multi-timbrale à la place de votre piano. Si l'on posède un séquenceur matériel ou un ordinateur personnel, sans posséder d'autre module sonore, il est toujours possible de profiter des possibilités de multi-timbrales à seize parties du piano CA.
Au départ, le MIDI peut sembler un peu difficile à apprivoiser, mais une fois maétrisé il offre de nombreuses nouvelles manières passionnantes de pratiquer la musique.
Bien que ce mode d'emploi évite d'entrez dans des détails trop techniques sur le MIDI comme les «données du système exclusif», les plus familiarisés avec le MIDI, ou ceux qui veulent le devenir, peuvent se reporter à l'information technique MIDI et au tableau d'implémentation MIDI, aux pages 50 à 51.

THRU

OUT

IN

USB


L/MONO
LINE OUT

R
LINE IN
PRISES MIDI
Ces prises permettent de raccorder des instruments MIDI externes au piano CA.
Elles sont au nombre de trois : MIDI IN, MIDI OUT et MIDI THRU.
PRISE USB
Utilisée pour relier le CP à un ordinateur domestique et échanger des données MIDI.
PRISES LINE OUT
Ces prises transmettent, en stéréo et à niveau ligne, le son du piano vers un amplificateur, un magnétophone ou un autre appeareil similaire.
Le signal audio provenant des prises LINE IN est aussi acheminé vers ces prises. Le son du piano est mélangé aux signaux LINE IN.
Le curseur VOLUME du piano CA règle le niveau de sortie du son du piano, sans agir sur le signal LINE IN.
PRISES LINE IN
Ces prises permettent de raccorder au système d'amplification du piano. CA une paire de sorties stéreo provenant d'un autre appeareil audio ou d'instruments de musique électroniques.
Le signal audio traversant ces prises n'est pas affecté par le réglage de volume du piano. Pour ajuster le niveau sonore, utiliser le réglage du niveau de sortie de l'instrument de musique externe.
Deux prises pour casque sont installées à l'extrémité gauche sous le piano. Elles permettent de connecter un ou deux casque pour écouter le son du piano de même que tout signal audio parvenant sur les entrées LINE IN.
NOTES À PROPOS DE L'USB.
Le piano CA peut être relié à un ordinateur personnel avec un cable USB pour transmettre des données MIDI. Vous doivent disposer d'un pilote USB sur votre ordinateur.
[Utilisteurs Windows XP/ME]
Un pilote USB est déjà installé sur votre ordinateur. Vous n'avez pas à installer de pilote supplémentaire.
[Utilisateurs Windows 2000/98SE]
Vous doivent installer le pilote nécessaire sur votre ordinateur. Ce pilote est disponible sur le site http:// www.kawai.co.jp/english/Download1.html
[Utilisateurs Macintosh]
Il n'y a pas de pilote USB disponible pour les ordinateurs Macintosh. Merci d'utiliser l'interface et les cables MIDI appropriés pour connecter les piano CA à votre ordinateur Macintosh.
Remarque:
Quand des cables MIDI et USB sont connectés en même temps, l'USB est prioritaire.
Reliez le cable USB à le piano CA avant demettre en route l'appareil.
Le démarriage de l'échange de données lorsque le piano CA est connecté à l'ordinateur par l'USB peut prendre quelques instants.
Quand la communication USB est instable lors d'une connexion par un hub, branchez le cable USB directement au port de l'ordinateur.
Allumer ou eteindre le piano CA ou debrancher le cable USB pendant les actions suivantes peut provoquer une liaison instable:
pendant l'installation du pilote USB
pendant le démarrage de l'ordinateur
en cours d'application MIDI
en cours de communication avec un autre ordinateur
quand 1'ordinateur est en mode economie d'énergie
- En cas de problème avec la communication USB, consultez le manuel d'utilisation de votre ordinateur et vérifier le set up de celui-ci.
- La carte de conversion USB-MIDI utilisée dans le piano CA est certifiée par le logo USB. Le logo USB ne peut être apposé que sur les produits testés etapprovés par USB-IF (USB Implements Forum Inc.)
- Windows est une marque déposée de Microsoft Corporation.
- Macintosh est une marque déposée de Apple Computer, Inc.
TABLEAU D'ASSIGNATION DES CHANGES DE PROGRAMME
| Sound Button | Sound Name | Multi-Timbral mode | ||||
| Off, On 1Prog # | On 2Bank MSB | Bank LSB | Prog # | |||
| Piano 1 | 1 | Concert Grand | 1 | 121 | 0 | 1 |
| 2 | Studio Grand | 2 | 121 | 1 | 1 | |
| 3 | Mellow Grand | 3 | 121 | 2 | 1 | |
| 4 | Jazz Grand | 4 | 95 | 8 | 1 | |
| Piano 2 | 1 | Modern Piano | 5 | 121 | 0 | 2 |
| 2 | Honky Tonk | 6 | 121 | 0 | 4 | |
| 3 | New Age Piano | 7 | 95 | 9 | 1 | |
| 4 | New Age Piano 2 | 8 | 95 | 10 | 1 | |
| ELECTRIC PIANO | 1 | Classic E.Piano | 9 | 121 | 0 | 5 |
| 2 | Modern E.P. | 10 | 121 | 0 | 6 | |
| 3 | 60's E.P. | 11 | 121 | 3 | 5 | |
| 4 | Moden E.P. 2 | 12 | 121 | 1 | 6 | |
| DRAWBAR | 1 | Jazz Organ | 13 | 121 | 0 | 18 |
| 2 | Drawbar Organ | 14 | 121 | 0 | 17 | |
| 3 | Drawbar Organ 2 | 15 | 121 | 1 | 17 | |
| 4 | Be 3 | 16 | 95 | 2 | 17 | |
| CHURCH ORGAN | 1 | Church Organ | 17 | 121 | 0 | 20 |
| 2 | Diapason | 18 | 95 | 7 | 20 | |
| 3 | Full Ensemble | 19 | 95 | 1 | 21 | |
| 4 | Diapason Oct. | 20 | 95 | 6 | 20 | |
| HARPSI&MALLETS | 1 | Harpsichord | 21 | 121 | 0 | 7 |
| 2 | Harpsichord 2 | 22 | 121 | 3 | 7 | |
| 3 | Vibraphone | 23 | 121 | 0 | 12 | |
| 4 | Clavi | 24 | 121 | 0 | 8 | |
| STRINGS | 1 | Slow Strings | 25 | 95 | 1 | 45 |
| 2 | String Pad | 26 | 95 | 8 | 49 | |
| 3 | Warm String | 27 | 95 | 1 | 49 | |
| 4 | String Ensemble | 28 | 121 | 0 | 49 | |
| VOCAL | 1 | Choir | 29 | 121 | 0 | 53 |
| 2 | Pop Ooh | 30 | 95 | 39 | 54 | |
| 3 | Pop Aah | 31 | 95 | 40 | 54 | |
| 4 | Synth Vocal | 32 | 121 | 0 | 55 | |
| PAD | 1 | New Age Pad | 33 | 121 | 0 | 89 |
| 2 | Atmosphere | 34 | 121 | 0 | 100 | |
| 3 | Itopia | 35 | 121 | 1 | 92 | |
| 4 | Brightness | 36 | 95 | 1 | 101 | |
| BASS | 1 | Wood Bass | 37 | 121 | 0 | 33 |
| 2 | Electric Bass | 38 | 121 | 0 | 34 | |
| 3 | Fretless Bass | 39 | 121 | 0 | 36 | |
| 4 | W. Bass & Ride | 40 | 95 | 1 | 33 | |
Notice Facile