RFI2414 - Réfrigérateur-congélateur ACEC - Notice d'utilisation et mode d'emploi gratuit
Retrouvez gratuitement la notice de l'appareil RFI2414 ACEC au format PDF.
| Type d'appareil | Réfrigérateur-congélateur |
| Capacité totale | Non précisé |
| Classe énergétique | Non précisé |
| Type de froid | Non précisé |
| Nombre de portes | Non précisé |
| Volume réfrigérateur | Non précisé |
| Volume congélateur | Non précisé |
| Dimensions (HxLxP) | Non précisé |
| Poids | Non précisé |
| Consommation électrique annuelle | Non précisé |
| Niveau sonore | Non précisé |
| Type de dégivrage | Non précisé |
| Réfrigérant | Non précisé |
| Couleur | Non précisé |
| Garantie | Non précisé |
FOIRE AUX QUESTIONS - RFI2414 ACEC
Questions des utilisateurs sur RFI2414 ACEC
0 question sur cet appareil. Repondez a celles que vous connaissez ou posez la votre.
Poser une nouvelle question sur cet appareil
Téléchargez la notice de votre Réfrigérateur-congélateur au format PDF gratuitement ! Retrouvez votre notice RFI2414 - ACEC et reprennez votre appareil électronique en main. Sur cette page sont publiés tous les documents nécessaires à l'utilisation de votre appareil RFI2414 de la marque ACEC.
MODE D'EMPLOI RFI2414 ACEC
Il est très important que cette notice d'utilisation soit gardée avec l'appareil pour toute future consultation. Si cet appareil avait été vendu ou transféré à une autre personne, assurez-vous que la notice d'utilisation suive l'appareil, de façon à ce que le nouvel utilisateur puisse être informé du fonctionnement de celui-ci et des avertissements relatifs. Si cet appareil, muni de fermeture magnétique, doit être employé pour en remplaçer un autre avec une fermeture à ressort, nous vous conseillons de rendre celle-ci inutilisable avant de mettre l'ancien appareil de côté. Cela dans le but d'éviter que des enfants puissent s'y renfermer et se mettre ainsi en danger de mort.
Ces avertissements sont donnés pour votre sûreté et pour celle d'autrui. Nous vous prions donc de les lire attentivement avant d'installer et d'utiliser l'appareil.
Sûreté
- Cet appareil a été conçu pour être utilisé par des femmes. Veillez donc à ce que les enfants n'y touchent pas ou qu'ils ne l'utilisent pas comme un jouet.
- Débranche toujours la prise de courant avant de procéder au nettoyage intérieur et extérieur de l'appareil et au remplacement de la lampe d'éclairage (pour les appareils qui en sont équipés).
- Ne consommez pas certains produits tels que les batonnets glacés dès leur sortie de l'appareil; la température très basse à laquelle ils se trouvent peut provoquer des brûlures.
- Cet appareil est lourd. Faites attention lors du déplacement.
Service/réparation
- Une éventuelle modification à l'installation électrique de votre maison qui avait été nécessaire pour l'installation de l'appareil ne devra être effectuée que par du personnel qualifié. Il est dangereux de modifier ou d'essayer de modifier les caractéristiques de cet appareil.
- En cas de panne, n'essayez pas de réparer l'appareil vous-même. Les réparations effectuées par du personnel non qualifié peuvent provoquer des dommages. Contactez le Service Après-Vente le plus proche et n'exigez que des pièces détachées originales.
Installation
Assurez-vous, après avoir installé l'appareil, que celui-ci ne repose pas sur le câble d'alimentation. Important: en cas de dommage au câble d'alimentation, il faudra le remplacer avec un câble spécial ou un ensemble disponibles chez le fabricant ou le service technique après-vente. - L'appareil se réchauffe sensiblement au niveau du condenseur et du compresseur. Veillez à ce que l'air circule librement tout autour de l'appareil. Une ventilation insuffisante entraînerait un mauvais fonctionnement et des dommages sur
l'appareil. Suivez les instructions données pour l'installation.
- A cause du système de transport, l'huile contenue dans le compresseur pourrait s'écouler dans le circuit réfrigérant. Attendez 2 heures au moins avant de brancher l'appareil pour permettre à l'huile de refluer dans le compresseur.
Utilisation
- Les réfrigérateurs et/ou congélateurs ménagers sont destinés uniquement à la conservation et/ou congélation des aliments et des boissons. Pour le bon fonctionnement de votre appareil, la température ambiante du local doit être comprise entre +18°C et +43°C (Classe T); +18°C et +38°C (Classe ST); +16°C et +32°C (Classe N); +10°C et +32°C (Classe SN); La classe d'appartenance est indiquée sur la plaque signalétique.
ATTENTION: En dehors des températures ambiantes indiquées par la classe climatique d'appartenance de ce produit, il est obligatoire de respecter les indications suivantes: lorsque la température ambiante descend sous la valeur minimum, la température de conservation du compartiment congélateur peut ne pas être garantie; il est donc conseillé de consommer les produits que ce dernier contient au plus vite.
- Un produit décongelé ne doit jamais être recongelé.
- Suivez les indications du fabricant pour la conservation et/ou congélation des aliments.
- Dans tous les appareils de réfrigération et congélation il y a des surfaces qui se couvrent de givre. Suivant le modèle, ce givre peut être éliminé automatiquement (dégivrage automatique) ou bien manuellement.
- N'essayez jamais d'enlever le givre avec un objet métallique, vous risqueriez d'endommager irréparablement l'évaporateur. N'employez pour cela que la spatule en plastique livrée avec l'appareil.
- De même, ne décollez jamais les bacs à glace
avec un couteau ou tout autre objet tranchant.
- Ne placez ni bouteilles ni boîtes de boissons gazeuses dans le congélateur/compartment à basse température, elles pourraient exploser.

Protection de l'environnement
Cet appareil ne contient pas, dans son circuit de réfrigérant et ses matières isolantes, de gaz
réfrigérant nocifs à la couche d'ozone. L'appareil ne doit pas être mis au rebut avec les ordures urbaines et la ferraille. Il faut éviter d'endommager le circuit de réfrigérant, surtout à l'arrière de l'appareil, après l'échangeur thermique. Vous pouvez vous renseigner sur les centres de ramassage auprès de votre bureau municipal. Les matériaux utilisés dans cet appareil identifiés par le symbole sont recyclables.
Renseignements pour l'elimination des matériaux d'emballage
Tous les matériaux et les accessoires utilisés pour emballer nos grands électroménagers, sauf ceux qui sont en bois recyclables et peuvent donc se récapétrer. Voici ce que nous vous conseillons:
- Déposez les emballages en papier, en carton et en carton ondulé aux endroits prévus pour le ramassage de ce genre de matériel.
- Mettez les pièces en plastique dans les conteneurs prévus à cet effet. Si ce genre de conteneurs n'existent pas encore à l'endroit où vous habitez, vous pouvez éliminer les matériaux en question en les mettant dans les ordures ménagères.
Pour les emballages de matières plastiques recyclables, par exemple :
Les exemples portent les symboles suivants:



PE pour polyéthylène ^** 02 = PE-HD; 04 = PE-LD PP pour le polypropylène
PS pour le polystyrène
Pièces en matière plastique
Pour faciliter l'élimination et : ou le recyclage des matériaux, la plupart des pièces de l'appareil ont une contre-marque qui en facilite l'identification.



Sommaire
Avertissements et conseils importants 2
Renseignements pour l'élimination des matériaux d'emballage 3
Utilisation - Nettoyage - Mise en service - Réglage de la température - Réfrigération - Congélation..
Utilisation - Conservation des produits surgelés 4
Utilisation - Décongélation - Glaçons - Tablettes amovibles - Positionnement des balconnets de la...
contre-porte - Conseils - Conseils pour la réfrigération - Conseils pour la congélation.5
Conseils - Conseils pour la surgélation
Entretien - Nettoyage - Arrêt prolongé - Changement de l'ampoule 6
Entretien - Dégivrage 7
Anomalie de fonctionnement - Installation - Emplacement - Branchement électrique 8
Installation - Instructions pour l'encastrement 9
Installation - Reversibilité de la porte 11
Conditions de Garantie - Service après-vente 12
Nettoyage
L'appareil étant convenablement installé, nous vous conseillons de le nettoyer soigneusement avec de l'eau tiède savonneuse, pour enlever l'odeur caractéristique de «neuf».
N'utilisez pas de produits abrasifs, de poudre à récurer ni d'éponge métallique.
Mise en service
Branchez la prise de courant et ouvrez la porte. Tournez le bouton du thermostat dans le sens des aiguilles d'une montre au-delà de la position «O» (arrêt).
L'appareil est ainsi en état de fonctionnement.
Réglage de la température
La température est réglée automatiquement et peut être augmentée (moins froid) en tournant le bouton vers les numéros les plus bas ou bien diminuée (plus froid) en le tournant vers les numéros les plus élevés. En tout cas, l'exacte position doit être représentée en considérant que la température interne dépend des facteurs suivants:
- température ambiante; fréquence d'ouverture des portes;
- quantité d'aliments conservés;
- emplacement de l'appareil.
Une position moyenne est la plus indiquée.
Pour arrêter le fonctionnement, placez l'indicateur du bouton en correspondance avec le symbole «O».

Important
Si le thermostat est réglé sur la position de froid maximum, lorsque la température ambiante est élevée et que l'appareil est plein, il est possible que le compresseur fonctionne en régime continu. Dans ce cas, il y a un risque de formation excessive de givre sur la paroi postérieure à l'intérieur de l'appareil. Pour éviter cet inconvénient, placez le thermostat sur une position moins élevée, de façon à permettre un dégivrage automatique et, par conséquent, des économies de courant.
Réfrigération
Pour obtenir le meilleur rendement du compartiment réfrigérateur:
- n'introduisez pas d'aliments encore chauds ou de liquides en évaporation dans la cuve;
- couvrez les aliments, surtout s'ils sont aromatiques;
- placez les denrées de façon à ce que l'air puisse circuler tout autour.
Congélation
Le compartiment à 4 étoiles sert à congeler des aliments frais et à conserver des denrées congelées et surgelées pendant un certain temps. Pour congeler les aliments frais, il n'est pas nécessaire de régler le thermostat sur une position différente de celle employée en état de fonctionnement habituel. Toutefois, si vous désirez congeler plus rapidement, vous pouvez régler le thermostat sur une position plus froide tout en veillant à ce que la température ne descende pas en dessous de 0°C dans le compartiment réfrigérateur.
Dans ce cas, il faudra ramener le thermostat sur une position moins froide.
Conservation des produits surgelés
À la première mise en fonctionnement ou après un arrêt prolongé, faites fonctionner l'appareil pendant deux heures au moins, avec le bouton du thermostat sur la position de froid maximum. Ramenez ensuite le thermostat sur une position moyenne.

Attention
En cas de coupure de courant, abstenez-vous d'ouvrir la porte. Si l'interruption est de courte durée (jusqu'à 6-8 heures) et si le congélateur est rempli, il n'y a aucun risque d'altération pour les aliments. En cas contraire, vous devrez consommer les aliments le plus rapidement possible (une augmentation de la température peut réduire remarquablement la durée de conservation des aliments).
Décongélation
Avant d'être utilisés, les aliments congelés ou surgelés doivent être décongelés dans le réfrigérateur ou à température ambiante, selon le temps dont on dispose pour cette opération.
S'il s'agit de produits minces ou divisés, placez-les directement à cuire : dans ce cas le temps de cuisson sera plus long.
Clayettes amovibles
Les glissières se trouvant sur les parois de la cuve vous permettent de positionner les clayettes à différentes hauteurs, selon vos besoins.
Positionnement des balconnets de la contre-porte
Il est possible de changer de place les balconnets.
Dégagez les balconnets en agissant dans le sens indiqué par les flèches. Remontez les balconnets à la hauteur désirée.

Conseils pour la réfrigeration
Où placer les denrées?
Viandes (de toutes sortes) : enveloppez-la dans des sachets en plastique et placez-la sur la tablette en verre au-dessus du(des) bac(s) à légumes.
La période de conservation est de 1 à 2 jours au maximum.
Aliments cuits, plats froids, etc. : placez-les, bien couverts, sur une clayette.
Fruits et légumes: bac(s) à légumes (une fois nettoyés).
Beurre et fromage: enveloppez-les soigneusement dans des feuilles d'aluminium ou de polyéthylène et mettez-les dans les casiers appropriés.
Lait en bouteille: à placer dans l'un des balconnets de la contreporte.
Bananes, pommes de terre, oignon et ail ne doivent pas être placés dans le réfrigérateur, s'ils ne sont pas conditionnés.
Glaçons
L'appareil est équipé d'un ou de plusieurs bacs à glace pour faire des glaçons. Il faut remplir ces bacs d'eau potable et les placer dans le congélateur.
N'employez pas d'objet métallique pour décoller les bacs à glace.


Conseils pour la congélation
Règles à respecter pour la congélation:
- Le pouvoir max. de congélation par 24 heures figure sur la plaque signalétique;
- le processus de congélation prend 24 heures. Il vaut mieux ne pas ajouter d'autres aliments à congeler pendant ce laps de temps;
- Les produits destinés à la congélation doivent être frais, bien nettoyés et d'excellente qualité;
- préparez de petites portions, de façon à faciliter la congélation et à permettre de ne décongeler que la quantité nécessaire;
- enveloppez les denrées dans du papier d'aluminium ou de polythène, en éliminant les bulles d'air et en fermant bien les paquets;
- évitez de placer des produits à congeler en contact avec des denrées déjà entreposées, pour
éviter d'en élever la température;
- Les aliments maigres se conservent plus longtemps que les gras; le sel réduit la durée de conservation;
- Ne consommez pas les bâtonnets glacés tout de suite après les avoir sortis du congélateur. La température très basse à laquelle ils se trouvent peut provoquer des brûlures:
- indiquez sur chaque paquet la date de congélation, afin de pouvoir contrôler le temps d'entreposage;
- sur la contreporte ou sur la fiche (lorsqu'il y en a une), il y a des dessins d'animaux et de denrées alimentaires auxquels correspondent des mois (en chiffres), indiquant le temps de conservation à partir du moment de la congélation;
- Ne placez ni bouteilles ni boîtes de boissons gazeuses dans le congélateur, car elles pourraient éclater.

Débranche l'appareil avant toute opération.
Attention: Cet appareil contient des hydrocarbures dans son circuit de réfrigérant; l'entretien et la recharge ne doivent donc être effectués que par du personnel autorisé.
Arrêt prolongé
Lorsque l'appareil doit rester à l'arrêt pendant un certain temps, prenez les précautions suivantes:
débranchez la prise de courant;
videz l'appareil;
dégivrez-le et nettoyez-le à fond;
laissez les portes entrouvertes pour faire circuler de l'air, de façon à éviter les mauvaises odeurs.
Changement de l'ampoule
L'ampoule d'éclairage dans le compartiment réfrigérateur est accessible si on effectue les opérations suivantes:
- Dévissez la vis de fixation du plafonnier;
- décrochez la partie mobile en exerçant une pression sur celle-ci comme indiqué dans la figure.
Lorsque la porte est ouverte, si l'ampoule ne s'allume pas, il faut contrôler qu'elle soit bien vissée ; si cela n'élimine pas le problème, mettre une autre ampoule qui ait la même puissance. La puissance maximale est indiquée sur le diffuseur.
Conseils pour la surgélation
Comment utiliser ce compartiment au:
- vérifie que les aliments aient bien été conservés en magasin ; assurez-vous que le transport, du moment de l'achat jusqu'à celui de la mise en place dans le compartiment, dure le moins longtemps possible ;
- évitez d'ouvrir trop souvent la porte et ne la laissez ouverte que le temps nécessaire. Il convient de faire très attention, car les aliments dégelés ne peuvent être recongelés.
- Ne dépassez jamais la date limite d'utilisation généralement marquée sur les paquets.
Nettoyage
N'utilisez jamais d'objets métalliques pour nettoyer l'appareil; vous risquez de l'endommager.
Nettoyez périodiquement l'intérieur de votre appareil avec de l'eau tiède et du bicarbonate de soude.
Rincez et séchez soigneusement.

Dégivrage
Le dégivrage du compartiment réfrigerateur s'effectue automatiquement, à chaque arrêt du compresseur. L'eau de dégivrage est évacuée dans un bac situé à l'arrière de l'appareil où elle s'évapore.
Nous recommandons de nettoyer périodiquement l'orifice d'écoulement de l'eau de dégivrage se trouvant dans la partie centrale de la gouttière du compartiment réfrigerateur afin d'éviter que l'eau, en débordant, ne coule sur les denrées stockées dans la cuve. Utilisez à cet effet le bâtonnet se trouvant dans l'orifice.
Dans le congélateur, par contre, il faut éliminer le givre à chaque fois qu’il y a une couche épaisse qui s’est formée (de 4 mm environ), en se servant de la spatule en plastique qui est livrée avec l’appareil. Pendant que l’on effectue cette opération, il n’est pas nécessaire de couper le courant ou d’enlever les denrées qui se trouvent dans le compartiment.
Pour effectuer un dégivrage complet, procédez de la manière suivante:
- tournez le bouton du thermostat sur la position «O» ou débranchez l'appareil;
- enveloppez les denrées dans plusieurs feuilles de papier journal et conservez-les dans un endroit frais;
- Maintenez la porte ouverte, placez un récipient sur la première clayette du réfrigérateur, à l'endroit qui correspond à l'ouverture de vidange, et retirez le bouchon, comme illustré la figure.
- Une fois que le dégivrage est terminé, épongez bien le congélateur et remettez le bouchon à sa place ; conservez la spatule pour toute utilisation future ;
- Ramenez le bouton du thermostat sur la position désirée ou rebranchez l'appareil.
- Après 2-3 heures de fonctionnement, l'appareil est à nouveau prêt pour la conservation des produits surgelés.


Pour cette opération n'utilisez jamais d'objet métallique qui risquerait de détériorer l'appareil. N'utilisez jamais de dispositifs mécaniques ou autres moyens artificiels pour accélérer le dégivrage, à part ceux préconisés.
L'élévation de température des denrées congelerées peut diminuer leur durée de conservation.
Anomalie de fonctionnement
Si l'appareil marche mal, il faut contrôler:
- si la fiche est bien branchée à la prise de courant et si l'interrupteur est éteint;
- s'il n'y a pas de panne de courant;
- si les commandes sont bien dans la bonne position;
- s'il y a des traces d'eau au fond du compartiment et si l'orifice d'écoulement de l'eau de dégivrage est bouché (voir chapitre "Dégivrage").
Emplacement
Placez de préférence votre appareil loin d'une source de chaleur (chauffage, four ou rayons solaires trop intenses).
Pour l'encastrement, rapportez-vous aux instructions relatives ci-jointes.
Branchement électrique
Contrôlez, avant de brancher l'appareil, que le voltage et la fréquence indiqués sur la plaque signalétique correspondent à ceux de votre réseau.
Tolérance admise: ± 6%
Pour l'adaptation de l'appareil à des voltages différents, l'adjonction d'un autotransformateur d'une puissance ajustée est indispensable.
Il faut absolument brancher l'appareil à une prise de terre qui marche.
C'est pour cela que la prise du câble d'alimentation est munie d'un contact prévu exprès. Si la prise de courant du réseau domestique n'est pas branchée à la terre, branchez l'appareil à une prise de terre à part, conformément aux normes en vigueur, en vous adressant à un technicien spécialisé.
Le fabricant décline toute responsabilité, si cette norme de prévention des accidents n'est pas respectée.
Une fois que tous ces contrôles ont été effectués, si l'anomalie de fonctionnement continue, adressez-vous au Service Après-Vente le plus proche.
Pour que l'intervention soit plus rapide, au moment de l'appel, il vaut mieux indiquer le code du modèle et le numéro d'immatriculation, qui se trouvent sur le certificat de garantie ou sur la plaque d'immatriculation placée à l'intérieur de l'appareil, à gauche et en bas.
Cet appareil est conforme aux Directives Communautaires suivantes:
- 87/308 CEE du 2.6.87 concernant la suppression des interférences radio-électriques
- 73/23 CEE 19/02/73 (Basse Tension) et modifications successives;
- 89/336 CEE 03/05/89 (Compatibilité Électromagnétique) et modifications successives.
Important: L'appareil doit pouvoir être débranché du secteur; il est donc nécessaire que la fiche reste accessible une fois que l'installation est terminée.
Dimensions de la niche
Hauteur 1225 mm
Profondeur 550 mm0
Breite 560 mm
La porte de l'appareil a été immobilisée pour le transport au moyen de pivots. Enlevez le pivot supérieur et inférieur conformément au sens d'ouverture de la porte.
Pour des raisons de sécurité, la ventilation doit être prévue comme indiqué dans le Fig.
Attention: veillez à ne pas obstruer les ouvertures de ventilation.
Il est également nécessaire que la niche soit équipée d'un conduit d'aération ayant les mesures suivantes:
Profondeur 50 mm
Largeur 540 mm
Gliez l'appareil dans la niche.
Poussez à fond jusqu'au contact de la butée (A) avec le meuble.
Si après l'opération décrite au point précédent devait rester une fissure entre l'appareil et le meuble, appliquer sur la butée (A) le joint livré à cet effet.
Ouvrez la porte et appuyez l'appareil contre le meuble de cuisine, du côté opposé aux charnières.
Fixez l'appareil à l'aide des 4 vis livrées à cet effet.
Appliquez la grille d'aération (C) et le couvre-charnière (D).





Appliquez le joint à pression, entre l'appareil et le meuble.
Appliquez les caches (B) sur les ailettes des butées et dans les trous des charnières.
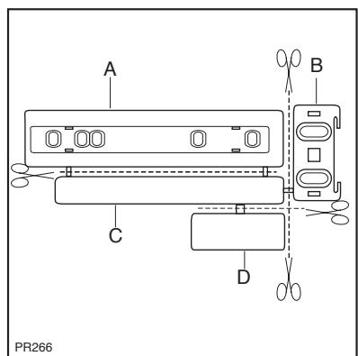
Déposer les pièces A, B, C, D comme l'indique la figure.
Poser la glissière (A) sur la partie interne de la porte du meuble dessus et dessous comme l'indique la figure et marquer la position des trous externes. Après avoir pratiqué les trous, fixer la glissière avec les vis fournies.
Fixer par encliquetage le couvercle (C) sur la glissière (A).





Ouvrir la porte de l'appareil et celle du meuble à environ. Introduire l'équerre (B) dans la glissière (A). Tenir ensemble la porte de l'appareil et celle du meuble et marquer la position des trous comme l'indique la figure. Enlever les équerres et pratiquer des trous de 2 mm de à 8 mm du bord externe de la porte. Remettre l'équerre en place sur la glissière et fixer avec les vis fournies.
Pour effectuer l'éventuel alignement de la porte du meuble, utiliser le jeu des trous ovales.
À la fin des opérations, il est nécessaire de contrôler que la porte de l'appareil se ferme parfaitement.
Fixer par encliquetage le couvercle (D) sur la glissière (B).
Réversibilité de la porte
Utilisez un tournevis pour décrocher le support (1), en appuyant sur le dessous à l'intérieur (Fig. 11), puis pour l'extraire de son logement, en même temps que la porte;
Enlevez le cache (2) et mettez-le de l'autre côté, dans l'ouverture qui est restée libre;
Faites tourner la porte de, retirez le support (1) et remontez-le de l'autre côté ; remontez la porte, en introduisant le pivot du haut et le support du bas (1), jusqu'à ce que ce dernier se bloque.
Pour assurer une bonne conservation des denrées, la porte est équipée d'un simple dispositif à ressort, qui lui permet de rester ouverte jusqu'au moment où on la referme bien.




Conditions de garantie - service apres-vente
En cas d'appel en garantie aux fins de réparation gratuite, l'original de la facture d'achat correspondante ou la quittance doit être produit ou envoyé avec l'appareil à réparer.
Conditions générales de garantie
1 Le fabricant accorde un an de garantie sur l'appareil mentionné sur la facture d'achat correspondante, à valoir à partir de la date d'achat. Si une panne se produit pendant cette période pour causes de défauts de matériel et/ou de fabrication, l'acheteur a droit à une réparation gratuite. 1a Pour les aspirateurs conçus pour un usage ménager, la période de garantie générale est de deux ans. Les accessoires sont soumis à une usure directe ; ces articles de consommation sont en conséquence exclus de la garantie. 2 Le fabricant accorde un an de garantie sur les réparations effectuées par son service après-vente et sur les matières neuves montées à cette occasion, la garantie prenant cours à partir de la date de réparation. Si une panne se produit pendant cette période, et est la conséquence directe des travaux de réparations effectués ou de la matière nouvelle montée à cette occasion, l'acheteur a droit à une réparation gratuite. L'exécution des réparations ne prolonge pas la période générale de garantie couvrant l'ensemble de l'appareil. 3 Les interventions du service après-vente au domicile ne se font que pour les appareils de grandes dimensions difficiles à transporter tels que : lave-linge, sèche-linge, lave-vaisselle, réfrigérateurs, congélateurs-armoires ou bahuts, fours, cuisinières et appareils encastrés. 3a Le principe illustré au point 3 ci-dessus vaut également pour les réfrigérateurs de caravane pourvu que l'endroit où se trouve l'appareil soit situé à l'intérieur des frontières nationales et soit accessible normalement par des routes ouvertes à la circulation. En outre, au moment de l'intervention, l'appareil et son propriétaire ou son remplaçant dûment autorisé doivent être présents sur le lieu d'intervention convenu. 4 Si d'après l'avis du fabricant, l'appareil repris au point 3 ci-dessus doit être transporté à l'atelier du service après-vente, ce transport s'effectuera de la façon établie par le fabricant, aux frais, risques et périls de ce dernier. 5 Tous les appareils non mentionnés sous les points 3 et 3a, sensi que les appareils qui possèdent les caractéristiques de fonctionnement concernées, mais dont le transport est facile, doivent être envoyés franco à l'adresse du service après-vente ou y être présentés. Pendant la période de garantie générale, le renvoi s'opère aux frais du fabricant. 6 Si un défaut se produit pendant la période de garantie générale et que l'appareil n'est pas réparable, celui-ci sera remplacé.
Extensions de la garantie
7 Pour les motocompresseurs de réfrigerateurs/congélateurs (à l'exclusion du relais de démarrage et du disjoncteur thermique), il est accordé une période de garantie dégressive en mesure de 20% par an, laquelle court 5 années après la date d'achat de l'appareil mentionné sur la facture d'achat correspondante, avec réparation entièrement gratuite pendant la période de garantie générale. Après la période de garantie générale, les frais de déplacement, de main-d'œuvre et des pièces éventuelles seront mis en compte.
Exclusions de la garantie
L'exécution gratuite des travaux de réparation et/ou de remplacement définis aux points y relatifs qui précédent ne s'applique pas si:
- aucune facture d'achat ou quittance sur laquelle apparait au moins la date d'achat et l'identification de l'appareil ne peut être présentée ou n'a été envoyée avec l'appareil à réparer;
- l'appareil est utilisé pour d'autres buts que des buts ménagers pour lesquels l'appareil a étéçu;
- l'appareil n'a pas été installé, manipulé, ou utilisé conformément aux indications figurant dans les prescriptions d'installation ou la notice d'utilisation;
- l'appareil a été réparé ou modifié de façon inappropriée par des personnes non qualifiées.
8a Si l'appareil a été encastré, sous-encastré, suspendu ou placé de manière telle que le temps nécessaire pour son enlèvement et son encastrage prend au total plus de trente minutes, les frais supplémentaires occasionnés seront facturés à son propriétaire. 8b Les déteriorations dues à un encastrage anormal réalisé avec le consentement du propriétaire d'un appareil ne peuvent pas être réclamées au fabricant, ni à son service après-vente. 8c Les déteriorations, telles que rayures, chocs ou rupture d'éléments amovibles ou démontables, qui n'ont pas été rapportées au fabricant au moment de la livraison, ne rentrent pas dans la garantie.
Avis important
Cet appareil a été conçu de manière telle que la sécurité en soit garantie. Des réparations inappropriées peuvent toutefois mettre cette sécurité en danger. Pour obtenir cette sécurité et pour prévenir également tous dommages éventuels, il est conseillé de faire exécuter les réparations exclusivement par des personnes qui possèdent les qualifications professionnelles requises. Nous vous conseillons de faire exécuter vos réparations et/ou vos vérifications par votre vendeur ou par le SERVICE ELGROEP et de n'exiger que des pièces DISTRIBUTARTS d'origine.


Bergensesteenweg 719
1520 Halle (Lembeek)
Dépannages à domicile:
Tel.: 02-3630444
Fax: 02-3630400
Pièces détachées:
Tel.: 02-3630555
Fax: 02-3630500
Telex: 22915 ELUXBE

3, Route d'Arlon
L-8009 Strassen
Dépannages à domicile:
Kundendienst:
Tel.: 453350
Fax: 45 84 34
Pièces détachées:
Ersatzteile:
Tel.: 453350
Fax: 45 84 34
Notice Facile