GKTI/56RC 21F - Plaque de cuisson THERMA - Notice d'utilisation et mode d'emploi gratuit
Retrouvez gratuitement la notice de l'appareil GKTI/56RC 21F THERMA au format PDF.
| Type de plaque | Vitrocéramique à induction |
| Nombre de foyers | 4 |
| Commandes | Touches sensitives |
| Puissance totale | Non précisé |
| Dimensions (L x P) | Non précisé |
| Matériau de surface | Vitrocéramique |
| Sécurité enfants | Oui |
| Fonction booster | Oui |
| Minuterie | Oui |
| Indicateur de chaleur résiduelle | Oui |
| Type d'installation | Encastrable |
| Alimentation électrique | 230 V / 50 Hz |
| Protection contre la surchauffe | Oui |
| Couleur | Noir |
| Garantie | Non précisé |
FOIRE AUX QUESTIONS - GKTI/56RC 21F THERMA
Questions des utilisateurs sur GKTI/56RC 21F THERMA
0 question sur cet appareil. Repondez a celles que vous connaissez ou posez la votre.
Poser une nouvelle question sur cet appareil
Téléchargez la notice de votre Plaque de cuisson au format PDF gratuitement ! Retrouvez votre notice GKTI/56RC 21F - THERMA et reprennez votre appareil électronique en main. Sur cette page sont publiés tous les documents nécessaires à l'utilisation de votre appareil GKTI/56RC 21F de la marque THERMA.
MODE D'EMPLOI GKTI/56RC 21F THERMA
Plan de cuisson en vitrocéramique à induction
Veuillez lire attentivement la notice d'utilisation dans son intégralité et la conserver pour pouvoir la consulter ultérieurement.
Veuillez la transmettre à l'éventuel propriétaire ultérieur de l'appareil.
Les symboles suivants sont utilisés dans ce document :

Consignes de sécurité
Avertissement : conseils pour votre sécurité personnelle.
Avertissement ! Pour éviter d'endommager l'appareil

Conseils généraux et pratiques

Informations environnementales
Bandeau de commande 45
Touche sensitive "Touch Control" 46 Voyants 47 Indicateur de chaleur résiduelle. 47
Sécurité
Pour ne pas perdre le bénéfice de la garantie en cas de panne, veuillez observer ces recommandations.
Cet appareil est conforme aux directives CE suivantes :
- directive 73/23/CEE du 19.02.1973asse tension
- directive 89/336/CEE du 03.05.1989 relative à la compatibilité électromagnétique (CEM) y compris la directive de révision 92/31/CEE
- directive 93/68/CEE du 22.07.1993 relative à la certification CE
Utilisation réglementaire
- Cet appareil est uniquement destiné à l'usage domestique habituel et pour faire cuire et rôtir des aliments.
- L'appareil ne peut en aucun cas servir de plan de travail ou de support.
- Ne pas procéder à des transformations ou à des modifications de l'appareil.
Sécurité enfants
- Éviter systématiquement que les enfants en bas âge s'approchent de l'appareil.
- Les enfants plus âgés ne doivent être autorisés à utiliser l'appareil qu'accompagnés et sous surveillance.
Consignes générales de sécurité
- Le montage et le branchement de l'appareil sont du ressort exclusif de spécialistes agréés.
- Les appareils encastrables ne peuvent être mis en fonctionnement qu'après avoir été montés dans des armoires et des plans de travail homologués et adaptés.
- En cas de panne de l'appareil ou de dommages à la vitrocéramique (cassures, fêlures ou déchirures), mettez l'appareil hors tension et débranchez-le pour éviter un éventuel choc électrique.
- Le montage et le branchement de l'appareil sont du ressort exclusif de spécialistes agrées.
Précautions d'utilisation.
- Retirer les étiquettes et les films protecteurs de la vitrocéramique.
- Attention aux risques de brûlures lors de l'utilisation de l'appareil.
- S'assurer que les câbles d'appareils électriques n'entrent pas en contact avec les surfaces brûlantes de l'appareil ou les récipients brûlants.
- Les graisses et les huiles surchauffées peuvent rapidement s'enflammer. Surveiller constamment les mets cuits avec de la graisse ou de l'huile (par ex. des frites).
- Mettre les foyers hors fonctionnement après chaque utilisation.
- Il est recommandé aux utilisateurs portant un pacemaker de ne pas s'approcher des foyers à induction en fonctionnement à moins de 30 cm de distance.
Précautions de nettoyage
- Mettre l'appareil hors fonctionnement et le laisser refroidir avant de le nettoyer.
- Pour des raisons de sécurité, il est interdit de nettoyer l'appareil avec un jet à vapeur ou un appareil à haute pression.
Comment éviter d'endommager l'appareil
- Des objets peuvent endommager la vitrocéramique en tombant.
- Les plats de cuisson peuvent endommager la vitrocéramique en heitant le bord.
- Les plats de cuisson en fonte ou pourvus d'un fond abimé peuvent érafler la vitrocéramique lorsqu'on les déplace.
- Les objets susceptibles de fondre ou les produits ayant débordé peuvent se consumer sur la vitrocéramique et doivent par conséquent être immédiatement enlevés.
- Ne pas placer de plats de cuisson vides sur les zones de cuisson et ne pas mettre ces dernières en fonctionnement sans recipient.
- Ne recouvre pas l'espace de 5cm permettant d'aérer l'espace entre le plan de travail et la face avant du meuble.
Équipement du plan de cuisson
Zone de cuisson à induction 1800 W avec fonction Puissance 2300 W
Zone de cuisson à induction 1200 W avec fonction Puissance 1500 W
Zone de cuisson à induction 2200 W avec fonction Puissance 3000 W Bandeau de commande Zone de cuisson à induction 1800 W avec fonction Puissance 2300 W
Bandeau de commande

Les touches sensitives Touch Control permettent de commander l'appareil. Une pression sur les touches sensitives permet d'activer les fonctions et le fonctionnement de ces dernières est confirmé par des voyants ou par des signaux sonores.
Appuyez sur les touches sensitives par un mouvement de haut en bas, en évitant de recouvrir les autres touches.
| Touché sensitive | Fonction | |
| 1 | Marche / Arrêt | Mettre l'appareil sous/hors tension |
| A | Augmenter les réglages | Augmenter la durée /le niveau de cuisson |
| √ | Réduire les réglages | Réduire la durée /le niveau de cuisson |
| P | Minuteur | Sélection du Minuteur |
| -0 | Verrouillage | Verrouillage/déverrouillage du bandeau de commande |
| P | Puisance | Activation/désactivation de la fonction Puisance |
| STOP G0 | Stop+Go | Activer/désactiver la fonction de maintain en chaud |
Voyants
| Voyant | Description | |
| Ø | La zone de cuisson est désactivée | |
| U | Position de maintain au chaud | La fonction de maintien au chaud/STOP+GO est acti-vee |
| I - 9 | Niveau de cuisson | Le niveau de cuisson est sélectionné |
| R | Commande de démarrage automat-que de la cuisson | La commande de démarrage automatique de la cus-son est activée |
| E | Erreur | Apparition d'une anomalie de fonctionnement |
| F | Détection des plats de cuisson | Les plats de cuisson ne sont pas adaptations ou trop pe-tits ou bien il n'y a pas de plat de cuisson sur la zone de cuisson. |
| H | Chaleur résiduelle | La zone de cuisson est encore chaude |
| L | Sécurité enfants | Verrouillage/la sécurité enfants est activée |
| P | Puisance | La fonction Puisance est activée |
| - | Déactivation de sécurité | La désactivation de sécurité est active |
Indicateur de chaleur résiduelle

Avertissement! DANGER de brûlures à la chaleur résiduelle! Les zones de cuisson mettent un peu de temps à se refroidir après avoir été désactivées. Surveillance le voyant indiquant la chaleur résiduelle H

La chaleur résiduelle peut être utilisée pour faire fondre un ingrédient et pour conserver les plats au chaud.
Les foyers à induction générent la chaleur nécessaire directement sur le fond des plats de cuisson. La chaleur résiduelle des plats de cuisson suffit pour chauffer la vitrocéramique.
Le ventilateur de refroidissement se met en fonctionnement et s'arrête automatiquement en fonction de la température du système électronique.
Utilisation de l'ordinateur

Utilisez des plats de cuisson adaptés aux zones de cuisson à induction.
Mettre l'appareil sous/hors tension
| Bandeau de commande | Affichage | Voyant de contrôle | |
| Activer | Appuyez sur ① pendant 2 secon- des | ⓹ | s'allume |
| Désactiver | Appuyez sur ① pendant 1 seconde | ⓹ / aucun | s'éteint |

Après la mise sous tension, il est nécessaire d'activer un niveau de cuisson ou une fonction dans les 10 secondes environ qui suivent. Dans le cas contraire, l'appareil se déconnecte automatiquement.
Sélectionner le niveau de cuisson
| Bandeau de commande | Affichage | |
| Augmenter | Appuyez sur ⋆. | ☐ jusqu'à Ⓖ/ Ⓞ |
| Réduire | Appuyez sur ∨. | ☐ jusqu'à Ⓞ |
| Désactiver | Appuyez simultanément sur ⋆ et ∨. | ☐ |
Activer et désactiver la fonction de maintien au chaud
La fonction STOP+GO permet de mettre simultanément toutes les zones de cuisson actives en position de maintien au chaud puis de réactiver le niveau de cuisson sur lequel elles se trouvaient au préalable. Cette fonction permet d'interrrompre brièvement une cuisson, par ex. pour répondre à un appel téléphonique, puis de continuer ensuite la cuisson.
| Bandeau de commande | Activer | |
| L'affichage | Appuyez sur STOP GO | U |
| Dé-sactiver | Appuyez sur STOP GO | la touche préalablement sélectionnée (pas sur le démarriage automatique de la cuisson) |

La fonction STOP+GO n'arrête pas les fonctions de la minuterie.

La fonction STOP+GO verrouille l'intégralité du bandeau de commande, y compris la touche sensitive ①.
Utilisation de la commande de démarrage automatique de la cuisson
| Etape | Bandeau de commande | Affichage |
| 1. | Réglage du 9 / 9 niveau | 9 / 9 |
| 2. | Courte interruption | 9 / 9 |
| 3. | Toucher | R |
| 4. | toucher pour sélectionner le niveau de cuisson souhaité | 8 jusqu'à 1 / 1 au bout de 3 secondes R |
Toutes les zones de cuisson sont dotées d'une position de maintien de température. La position de maintien de température règle la zone de cuisson à pleine puissance pendant une période de temps donnée puis rétablit ensuite automatiquement le niveau de cuisson sélectionné.

Si, au cours du démarrage automatique de la cuisson à pleine puissance, un niveau de cuisson supérieur est sélectionné, par ex. lors du passage de à, la durée de démarrage automatique de la cuisson s'adapte en conséquence.

Si l'indicateur de chaleur résiduelle est visible (voyant H), le démarrage automatique de la cuisson ne s'enclenche pas.
La durée du démarrage automatique de la cuisson dépend du niveau cuisson sélectionné.
| Niveau de cuisson | Durée du démarrage automatique de la cuisson [min] |
| u | 0 |
| i | 1 |
| 2 | 1,7 |
| 3 | 4,8 |
| 4 | 6,5 |
| 5 | 10,2 |
| 6 | 2 |
| 7 | 3,5 |
| 8 | 4,5 |
| 9 | --- |
Verrouiller/déverrouiller le bandeau de commande
Il est possible à tout moment de verrouiller le bandeau de commande à l'exception de la touche sensitive „Marché/Arrêt“, ce qui permet d’éviter de modifier une sélection, par ex. en le nettoyant avec un chiffon.
| Bandeau de commande | Affichage | |
| Activation | Appuyez sur r-O | L (pendant 5 secondes) |
| Désactivation | Appuyez sur r-O | le niveau de cuisson précédent |

La désactivation de l'appareil déclenche automatiquement le verrouillage.
Utilisation de la sécurité enfants
La sécurité enfants évite toute activation non souhaitée de l'appareil.
Activer la sécurité enfants
| Etape | Bandeau de commande | Voyant/Signal |
| 1. | ① Mettre l'appareil sous tension (sans activer de ni-veau de cuisson) | ② |
| 2. | Appuyez sur ① jusqu'à ce que le signal retentisse | Signal sonore |
| 3. | Appuyez sur ④. | ⑤ |
| L'appareil se déconnecte. | ||
Désactiver la sécurité enfants
| Etape | Bandeau de commande | Voyant/Signal |
| 1. | ① Mettre l'appareil sous tension | L |
| 2. | Appuyez sur ↑O jusqu'à ce que le signal retentisse | Signal sonore |
| 3. | Appuyez sur ∇. | |
| L'appareil se déconnecte. | ||
Brider la sécurité enfants
Cette touche permet de désactiver la sécurité enfants le temps d'une cuisson seulement, elle reste active ensuite.
| Etape | Bandeau de commande | Voyant/Signal |
| 1. | ① Mettre l'appareil sous tension | L |
| 2. | Appuyez simultanément sur ⊥ et ⊥ | 0 / signal sonore |
| Peut être utilisé normalement jusqu'à la prochaine mise hors tension de l'appareil. | ||
Activer/désactiver la fonction puissance
La fonction Puissance ⑨ octroi des fonctionnalités supplémentaires aux zones de cuisson, comme par exemple la possibilité de faire bouillir une quantité importante d'eau.
La fonction Puissance est activée pendant 10 minutes. Puis la zone de cuisson permute automatiquement de nouveau sur le niveau 9.
| Bandeau de commande | Affichage | |
| Activer | Appuyez sur Ⓒ | ☐ |
| Désactiver | Appuyez sur Ⓒ | ☐ |
| Appuyez sur ∨ | ☐ |
Gestion de la fonction puissance
Les zones de cuisson sont dotées d'une puissance maximale.
Lorsque la fonction Puissance excède cette puissance, la commande Puissance réduit le niveau de cuisson d'une autre zone de cuisson.
Pendant deux minutes, le voyant de cette zone de cuisson affiche alternativement le niveau de cuisson sélectionné et le niveau de cuisson maximum possible. Puis le niveau de cuisson réel s'affiche.
Exemple :

| Dernière zone de cis-son sélectionnée | Autre zone de cisson | ||
| Zone de cisson sélec-tionnée | Zone de cisson sélectionnée | Affichage | niveau de cisson réel |
| P | 9 | 5 alternant avec 9 | 6 |

À la fin de la fonction Puissance, les zones de cuisson permutent de nouveau sur le niveau de cuisson précédemment sélectionné.
Utilisation du minuteur
L'une des deux fonctions Minuteur peut simultanément être attribuée à l'ensemble des zones de cuisson.
| Fonction | Condition de mise en oeuvre | Résultat après écoulement du délié |
| Désactivation automatique | d'une zone de cuisson sélectionnée | le signal sonore Ø clignote La zone de cuisson se désactive |
| Minuteur | pour zones de cuisson non utilisées | le signal sonore Ø clignote |

La désactivation d'une zone de cuisson entraîne la désactivation de la fonction Minuteur.

Lorsqu'un niveau de cuisson est sélectionné en plus du minuteur pour cette même zone de cuisson, cette dernière se désactive après écoulement de la durée programmée.
Sélection d'une zone de cuisson
| Etape | Bandeau de commande | Affichage |
| 1. | Appuyez sur ①1 fois | Le voyant de contrôle de la première zone de cuisson clignote |
| 2. | Appuyez sur ⑦1 fois | Le voyant de contrôle de la seconde zone de cuisson clignote |
| 3. | Appuyez sur ⑨1 fois | Le voyant de contrôle de la troisième zone de cuisson clignote |
| 4. | Appuyez sur ⑩1 fois | Le voyant de contrôle de la quatrième zone de cuisson clignote |

Lorsque le clignotement du voyant de contrôle ralentit, vous pouvez sélectionner ou modifier un niveau de cuisson.

Lorsque la fonction Minuteur est sélectionnée sur plusieurs zones de cuisson, le temps restant le plus court de l'ensemble de ces fonctions s'affiche au bout de quelques secondes et le voyant de contrôle correspondant clignote.
Réglage de la durée
| Etape | Bandeau de commande | Affichage |
| 1. | sélection d'une zone de cis-son | Levoyant de contrôle de la zone de cisson sélectionnée clignote |
| 2. | Appuyez sur à ou de la zone de cisson sélectionnée | à jusqu'à 99 minutes |
Après quelques secondes, le clignotement du voyant de contrôle ralentit
La durée est sélectionnée.
Le décompte commence.
Désactiver la fonction minuteur
| Etape | Bandeau de commande | Affichage |
| 1. | sélection d'une zone de cuisson | Levoyant de contrôle de la zone de cuisson sélectionnée clignote plus rapidement Le temps restant s'affiche |
| 2. | Appuyez sur ∨ de la zone de cuisson sélectionnée | Décompte du temps restant jusqu'à 00. |
Le voyant de contrôle s'éteint.
La fonction Minuteur de la zone de cuisson sélectionnée s'éteint.
Modification de la durée
| Etape | Bandeau de commande | Affichage |
| 1. | sélection d'une zone de cuisson | Levoyant de contrôle de la zone de cuisson sélectionnée clignote plus rapidement Le temps restant s'affiche |
| 2. | Appuyez sur à ou de la zone de cuisson sélectionnée | à jusqu'à 99 minutes |
Après quelques secondes, le clignotement du voyant de contrôle ralentit.
La durée est sélectionnée.
Le décompte commence.
Affichage du temps restant d'une zone de cuisson
| Etape | Bandeau de commande | Affichage |
| 1. | ① sélection d'une zone de cis-son | Le voyant de contrôle de la zone de cisson sélectionnée clignote plus rapidement Le temps restant s'affiche |
| Après quelques secondes, le clignotement duvoyant de contrôle ralentit | ||
Désactivation du signal sonore
| Etape | Bandeau de commande | Signal sonore |
| 1. | Appuyez sur ⓸ | Confirmation signal sonore |
| Neutralisation du signal sonore | ||
Table de cuisson
- Si, après activation de la table de cuisson, une zone de cuisson ou un niveau de cuisson n'est pas sélectionné dans les 10 secondes environ qui suivent, la table de cuisson se désactive automatiquement.
- Si l'une ou plusieurs des touches sensitives est recouverte pendant plus de 10 secondes environ, par ex. par une casserole, un signal sonore retentit et la table de cuisson se désactive automatiquement.
- Lorsque toutes les zones de cuisson sont désactivées, la table de cuisson se désactive automatiquement au bout de 10 secondes environ.
Bandeau de commande

L'humidité (par ex. un chiffon humide) ou le débordement d'un liquide sur le bandeau de commande provoque l'arrêt immédiat des zones de cuisson.
Zones de cuisson
- En cas de surchauffe (par ex. d'un plat vide), la zone de cuisson se désactive immédiatement. s'affiche. Avant de réutiliser la zone de cuisson, il faut la remettre sur et la laisser refroidir.
- En cas d'utilisation de plats de cuisson non adaptés, clignote sur l'affichage et le voyant correspondant à la zone de cuisson s'éteint au bout de 10 minutes.
- Si, après quelques instants, l'une des zones de cuisson n'est pas désactivée ou si le niveau de cuisson n'est pas modifié, la zone de cuisson en question se désactive automatiquement.
| Niveau de cuisson | Désactivation après |
| a, 1-2 | 6 heures |
| 3-4 | 5 heures |
| 5 | 4 heures |
| 6-9 | 1 heures 30 |

Conseils relatifs à l'acrylamide
Selon les connaissances scientifiques les plus récentes, faire brunir les aliments de manière intensive, en particulier les produits contenant de l'amidon, peut provoquer des problèmes de santé dus à l'acrylamide. C'est pourquoi nous vous recommandons de faire cuire à basse température et de ne pas trop faire brunir les aliments.
Plats pour cuisson sur zones de cuisson à induction
| Matériau des plats de cuisson | adapté |
| acier, acier émaillé | oui |
| fonte | oui |
| acier inoxydable | lorsque explicitement spécifique par le fabricant |
| aluminium, cuivre, laiton | --- |
| verre, céramique, porcelain | --- |

Les fabricants de plats de cuisson spécifiques si leurs produits sont adaptés à la cuisson par induction.
Vérification de la compatibilité des plats de cuisson
Les plats de cuisson sont adaptés à la cuisson par induction lorsque...
- ... vous placez de l'eau sur une zone de cuisson à induction sur le niveau de cuisson 9 et qu'elle chauffe en quelques secondes.... Un aimant se colle sur le fond d'un plat.

Certains plats de cuisson font du bruit lorsqu'ils sont placés sur une zone de cuisson à induction. Ces bruits ne traduisent aucun défaut de l'appareil et n'influent nullement sur son fonctionnement.
Dimension des cassétoles
Les zones de cuisson à induction s'adaptent automatiquement à la dimension du fond des plats de cuisson jusqu'à une certaine limite. Le fond magnétique des plats de cuisson doit néanmoins être d'un diamètre minimal en fonction de la dimension de la zone de cuisson correspondante.

Placez votre plat de cuisson bien au centre de la zone de cuisson.
Conseils d'économie d'énergie

Placez votre plat de cuisson sur la zone de cuisson avant d'activer cette dernière.

Dans la mesure du possible, couvrez toujours votre plat de cuisson avec un couvercle.
Exemples d'utilisation pour la cuisson
Les valeurs indiquées dans le tableau suivant sont indicatives.
| Niveau de cuisson | Type de cuisson | adapté à | Durée | Remarques/conseils |
| 0 | en position | |||
| u | Conserver au chaud : | Conserver des plats cuits au chaud | si nécessaire | les recouvrir |
| 1-2 | Faire fondre | de la sauce hollandaise, faire fondre du beurre, du choco-lat, de la gélatine | 5-25 min | Remuez de temps en temps |
| Conserver | une omelette norvégienne, royale | 10-40 min | Couvrez-la avec un couvercle | |
| 2-3 | Faire gonfler | Faire gonfler du riz ou des plats à base de rizFaire réchauffer des plats cuisi-nés | 25-50 min | Versez au moins le double de quantité d'eau que de riz, re-muez le riz au lait de temps en temps. |
| 3-4 | Cuire à l'étu-véeCuire à la va-peur | Cuire des légumes ou du poisson à la vapeurCuire de la viande à l'étouffée | 20-45 min | Pour les légumes, utilisez juste un peu d'eau (quelques cuillères à soupe) |
| 4-5 | Cuire à l'eau | Faire cuire des pommes de terre à l'étuvée | 20-60 min | Utilisez juste un peu d'eau, par ex. max. ¼ l'd'eau pour 750 g de pommes de terre |
| Faire cuire des quantités assez importantes d'aliments, ragoûts et soupes | 60-150 min | Jusqu'à 3 l d'eau plus les in-grédients | ||
| 6-7 | Faire cuire à feu doux | des escalopes, des cordons bleus, des steaks de vande hà-chée, des saucisses, du foie, des roux, des oeufs, des gâteaux aux oeufs, faire frire des beignets. | cuisson continue | Retournez de temps en temps |
| 7-8 | Faire cuire à tempé-ra-ture élevé | des beignets de pommes de terre, des rognons, des steaks, des galettes | 5-15 min poège pro | Retournez de temps en temps |
| 9 | Porter à ébullitionFaire revenirFaire frire | Porter des quantités importantes d'eau à ébullition, faire revenir de la viande (goulasch, bœuf brais), faire frire des pommes frites | ||
La fonction Puissance peut également permettre de porter à ébullition des quantités importantes de liquide.
Nettoyage et entretien

Attention! Risque de brûlure dû à la chaleur résiduelle.
Laissez refroidir l'appareil.

Attention! Les produits de nettoyage agressifs ou abrasifs endommagent l'appareil. Nettoyez l'appareil avec de l'eau et de la lessive.

Attention! Les restes de produits de nettoyage endommagent l'appareil. Nettoyez les restes avec de l'eau et un produit de nettoyage.
Nettoyer l'appareil après chaque utilisation
1. Nettoyez l'appareil à l'aide d'un chiffon humide et un peu de produit de nettoyage. 2. Séchez l'appareil avec un chiffon propre.
Enlever les salissures
- Placez le grattoir de nettoyage obliquement par rapport à la surface de la vitrocéramique. 2. Enlevez les salissures en faisant glisser la lame. 3. Nettoyez l'appareil à l'aide d'un chiffon humide et un peu de produit de nettoyage.
- Séchez l'appareil avec un chiffon propre.
| enlevez | |||
| Type de salissure | immé-diate-ment | lorsque l'appareil a refroidi | avec |
| Sucre, mets contenant du sucre | oui | --- | Grattoir de nettoyage* |
| Matériaux en plastique, feuilles en alu-minium | oui | --- | |
| Bords calcaires et d'eau | --- | oui | Produit de nettoyage de vitrocéramique ou d'acier inoxydable* |
| Burette àGRAISSSE | --- | oui | |
| Colorations métalliques liisantes | --- | oui | |
- grattoir de nettoyage, produit de nettoyage de vitrocéramique ou d'acier inoxydable sont disponibles dans les magasins spécialisés.

Nettoyez les salissures tenaces à l'aide d'un produit de nettoyage pour vitrocéramique ou acier inoxydable.

Même s'il n'est plus possible de faire disparaître les égratignures ou les taches sombres sur la vitrocéramique, cela n'a aucune influence sur le fonctionnement de l'appareil.
| Symptôme | Cause possible | Solution |
| Il est impossible d'activer les zones de cuisson ou ces dernières ne fonctionnent pas | Plus de 10 minutes se sont écoulées depuis que l'appareil est sous tension | Remettez l'appareil sous tension. |
| Le verrouillage est enclenché L | Déclenchez le verrouillage (voir chapitre „Verrouiller/déverrouiller le bandeau de commande“) | |
| La sécurité enfants est enclenchée L | Désactivez la sécurité enfants (voir chapitre „Sécurité enfants“) | |
| Plusieurs touches sensitives ont été activées simultanément | Activez une seule touche sensitive à la fois | |
| Les touches sensitives sont partiellement recouvertes par un chiffon humide ou par du liquide | Enlevez le liquide ou le chiffon. Remettez l'appareil sous tension. | |
| Le système d'arrêt de sécurité s'est enclenché | Remettez l'appareil sous tension. | |
| STOP+GO est activée L | Désactiver la fonction STOP+GO | |
| L'indicateur de chaleur résiduelle ne s'affiche pas | La zone de cuisson fonctionne seu-lement depuis peu et n'est par cons-Sequent pas encore chaude | Si la zone de cuisson est chaude,contactez le service après-vente. |
| La commande de démarrage automatique de la cuisson ne s'encl-che pas | La zone de cuisson est encore chaude H | Laissez refroidir la zone de cuisson |
| Le niveau de cuisson mamimum est activé G | Le niveau de cuisson maximum présente une puissance équivalente à celle de la commande de dé-marrage automatique de la cuisson. | |
| Le niveau de cuisson a été activé à l'aide de la touche sensitive ∨ | 1.Désactivez la zone de cuisson2.Activez la zone de cuisson à l'aide de la touche sensitive A | |
| Répétition du signal sonore (6 fois), l'appareil se déconnecte | Une ou plusieurs touches(s) sensiti-tve(s) a/ont été recouverte(s) pen-dant plus de 10 secondes | Libéréz les touches sensitives |
| Un signal sonore retentit, l'appareil se met sous tension puis de nou-veau hors tension au bout de 5 se-condes ; au bout de 5 autres secondes, un nouveau signal sono-re retentit | La touche sensitive Marche/Arrêt est recouverte, par exemple par un chiffon | Ne déposez aucun objet sur le ban-deau de commande |
| L'affichage alterne entre deux ni-veaux de cuisson | La commande de la fonction Puis-sance réduit la puissance de cette zone de cuisson | Voir chapitre „Activer/désactiver la fonction Puisance“ |
| F clignote | Plats de cuisson inadéquats | Utilisez des plats de cuisson adap-tés |
| Il n'y a pas de plat sur la zone de cuisson | Placez un plat sur la zone de cuis-son | |
| Le diamètre du fond du plat de cuisson est trop petit par rapport à la zone de cuisson | Placez le plat sur une autre zone de cuisson | |
| Utilisez des plats de cuisson adap-tés | ||
| S allume | La protection contre le risque de surchauffe s'est enclenchée | Désactivez la zone de cuissonRéactivez la zone de cuisson |
| Affichage de E et d'un chiffre | Erreur du système électronique | Débranchez l'appareil pendant quelques minutes (enlevez le fusi-ble de l'installation domestique).Si E s'affiche de nouveau après avoir rebranché l'appareil, contactez le service après-vente |
Si les indications ci-dessus ne vous permettent pas de remédier au problème, veuillez vous adresser au service après-vente de votre magasin vendeur.

Avertissement! Le montage et le branchement de l'appareil sont du ressort exclusif des spécialistes agréés. Des réparations inadéquates peuvent s'avérer très dangereuses pour l'utilisateur.

En cas d'erreur de manipulation de la part de l'utilisateur, le déplacement du technicien du service après-vente ou du vendeur peut être facturé même en cours de garantie.

Élimination du matériel d'emballage
Les matériaux d'emballage sont écologiques et recyclables. Les matières plastiques portent un signe distinctif, par ex. PE, PS, etc. Eliminez les matériaux d'emballage en fonction de leur signe distinctif dans les conteneurs prévus à cet effet sur le site de collecte de votre commune.

Appareils usages
Eliminez votre appareil usage conformément à la réglementation en vigueur dans votre lieu de résidence.
Sécurité
L'utilisateur est tenu de respecter la législation, la réglementation, les lignes directrices et les normes en vigueur dans son pays de résidence (dispositions relatives à la sécurité, recyclage conforme et réglementaire, etc.).
Le montage relève de la compétence exclusive des spécialistes.
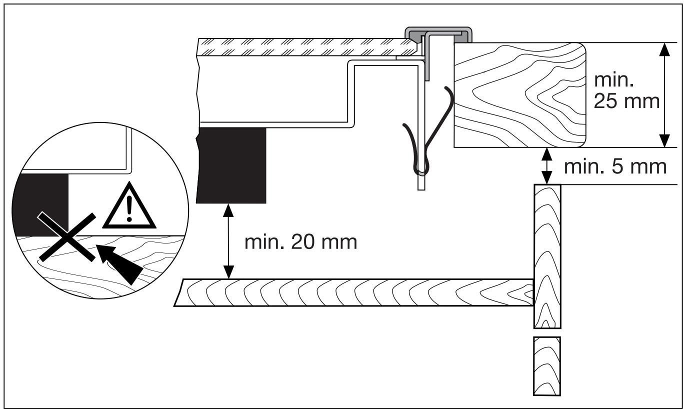
Respectez l'espacement minimal requis par rapport aux autres appareils.
Seuls des tiroirs pourvus d'un fond de protection peuvent être installés directement sous l'appareil.
Protégez l'appareil de l'humidité en plaçant un joint d'étanchéité dans les rainures du plan de travail.
Le joint comble les fentes entre le plan de travail et l'appareil.
N'utilisez pas de masse d'étanchéité en silicone entre le plan de travail et l'appareil.
Montez sur la partie inférieure de l'appareil un élément de protection contre la vapeur et l'humidité susceptibles d'être dégagées, par exemple par un lave-vaisselle ou un four.
Eviter de monter l'appareil à proximité d'une porte ou sous une fenêtre. Autrement, l'ouverture d'une porte ou d'un battant de fenêtre peut arracher le plat de cuisson posé sur la plaque de cuisson.

Avertissement!
Danger de blessure due au courant électrique.
- La borne de raccordement est sous tension.
- Isolez la borne de raccordement au secteur.
- Respectez le schéma de raccordement.
- Respectez les règles de sécurité électrotechniques. Assurez-vous de l'installation qu'il n'y ait pas de possibilité de contact.
- Le raccordement électrique relève de la compétence d'un électricien.

Attention!
Le courant électrique peut provoquer des dommages.
Des raccordements mal ajustés ou incorrects peuvent provoquer une surchauffe de la borne.
- Installez correctement les jonctions par serrage.
- Débranchez le câble.
- Pour les raccordements 1 ou 2 phases, utilisez respectivement un cable approprié de type H05BB-F T de max. (ou de plus grande capacité).
- En cas d'endommagement du câble de raccordement de l'appareil, remplacez impérativement ce dernier par un câble spécifique (de type H05BB-F T max. ou de plus grande capacité). Ce type de câble est disponible auprès du service après-vente.
Au niveau de l'installation électrique, prévoir un dispositif qui permette de couper cet appareil du secteur sur tous les pôles avec une ouverture des contacts d'au moins 3 mm.
Des dispositifs de protection appropriés sont par exemple les disjoncteurs, les fusibles (les fusibles vissés doivent être retirés de leur socle), les disjoncteurs différentiels et les contacteurs.
Service après-vente
En cas de problèmes techniques, vérifiez d'abord s'il ne vous est pas possible de réparer vous-même le dysfonctionnement à l'aide de la notice d'utilisation (chapitre „Que faire, si...”).
Si vous ne parvenez pas à réparer le dysfonctionnement, veuillez contacter notre Consumer Services.
Pour pouvoir vous dépanner dans les plus brefs délais, nous nécessitons les informations suivantes :
- Désignation du modèle
- Numéro du produit (PNC)
- Numéro de série (S-No.)
(ces chiffres se trouvent sur la plaque signalétique)
- Type de dysfonctionnement
- eventuellement le message d'erreur affiché par l'appareil Vitrocéramique avec une combinaison de lettres et de trois chiffres
Pour pouvoir accéder rapidement aux numéros d'identification de l'ordinateur, nous vous recommandons de les consigner à cet endroit.
Désignation du modèle
PNC:
S-No:

Montage / montaggio





Nous octroyons sur chaque produit 2 ans de garantie à partir de la date de livraison ou de la mise en service au consommateur (documenté au moyen d'une facture, d'un bon de garantie ou d'un justificatif d'achat).
Notre garantie couvre les frais de mains d'œuvre et de déplacement, ainsi que les pièces de rechange.
Les conditions de garantie ne sont pas valables en cas d'intervention d'un tiers non autorisé, de l'emploi de pièces de rechange non originales, d'erreurs de maniement ou d'installation dues à l'inobservation du mode d'emploi, et pour des dommages causés par des influences extérieures ou de force majeure.

Le service d'information téléphonique de thermo
Lundi à vendredi de
09.00 - 12.00 Uhr
Pour renseignements, conseils et «astuces» concernant l'utilisation de vos appareils ménagers.
Une prestation de service à votre disposition chaque jour pour toutes questions touchant aux appareils ménagers.
Appelez ThermaPhon par exemple pour :
- renseignements rapides concernant l'utilisation des appareils
- conseils judicieux
pour l'entretien et les soins à apporter aux appareils ménagers
- "astuces" utiles
pour la cuisson en général, la cuisson au four, l'aération, la réfrigération et le rinçage
- conseils compétents
pour le choix d'un appareil correspondant à vos désirs
Sous réserve de modifications
Notice Facile