MODE D'EMPLOI RUBIS SEGUIN
Garantie


- Pour la qualité de la fonte, pour obtenir une qualité aussi parfaite, nous avons un cahier des charges très précis que respectent nos fondeurs. Tous nos foyers fonte sont réalisés avec de la fonte neuve.
- Pour les atouts techniques, le clapet dans le conduit d'évacuation des fumées permet d'obtenir des rendements de 72 à 75%. Il est réglable en écartement, ce qui permet un fonctionnement optimisé quel que soit le type de conduit.
Le système de commande du clapet interdit l'ouverture de la porte lorsque celui-ci est fermé, ce qui évite les retours de fumées.
- Pour la fiabilité, les systèmes de commandes sont assemblés avec des écrous de sécurité, ce qui évite tous risques de blocage ou de déssérage. Les portes escamtables sont équipés de chaînes et de pignons lubriés qui assurent un bon parallélisme et une manipulation silencieuse.
- Pour le comportement, les foyers Seguin sont équipés d'un système de nettoyage de vitre par rideau d'air sur les quatre côtés, ce qui évite les contraintes de nettoyage.
- Pour l'esthétique, les lisérés décoratifs de portes et de finitions sont en laiton massif ou en inox brossé.
- Pour la garantie, tous les foyers fonte Seguin sont garantis 7 ans. (sauf Insert 3000, 5 ans)
- Pour la double combustion, encore plus de rendement, économie de combustible, réduction des rejets pour le plus grand confort de l'utilisateur et le respect de l'environnement.

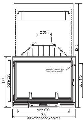
Code : F0100 Options : Liséré laiton ou inox brossé sur porte

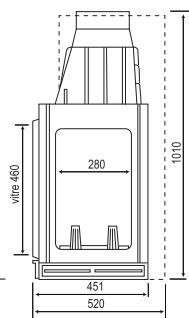
Façade 59 cm
Büches:45cm
Puissance nominale : 10 kW*
Rendement : 73.40%*
Poids : 105 kg
(Suivant norme EN13229)
CLAPET DE BUSE :
La porte est bloquée sur fermeture lorsque le clapet est fermé





Code : F0200
Options :
Convecteur Liseré laiton ou inox brossé sur porte

Façade 71 cm
Büches: 55 cm
Puissance nominale : 12 kW*
Rendement : 73.20%*
Poids : 140 kg (version de base)
suivant norme EN 13229)
- CLAPET DE BUSE : à obturation réglable
- PORTE BATTANTE : la porte est bloquée sur fermeture lorsque le clapet est fermé




Code: F0300
Options :
Convecteur
Liseré laiton ou inox brossé sur porte
- Élargisseurs pour façade 80 cm
- Double combustion

CLAPET DE BUSE: à obturation réglable - PORTE BATTANTE :
La porte est bloquée sur fermeture lorsque le clapet est fermé. PORTE ESCAMO-BATTANTE : le clapet s'ouvre automatiquement au relèvement et à l'ouverture de la porte.

Façade 80 cm
Porte scamo-battante et convecteur


CE FOYER POT RECEVOIR L'OPTION
DOUBLE COMBUSTION - (DAFS) - voir page 15
Façade 71 ou 80 cm
Bûches : jusqu'à 55 cm
Puissance nominale : 12 kW*
Rendement : 73.20%*
Double combustion (DAFS) : 14 kW*
Rendement (DAFS) : 77,00%*
Poids:155kg (version de base)
*suit norme EN 13229)

Code: F0400
Options :
Convectiveur
Liseré laiton ou inox brossé sur porte
Porte fonte laitonée ou nickelée
- Porte Seguin Deco
- Élargisseurs pour façade 80 cm
- Double combustion

CLAPET DE BUSE:
La porte est bloquée sur fermeture lorsque le clapet est fermé
PORTE ESCAMO-BATTANTE
Le clapet s'ouvre automatiquement au relevage et à l'ouverture de la porte
Modulable de 1 à 3 faces vitrées Angle droit ou gauche

Porte scamo-battante 3 cotes vitres
Porte Seguin Deco




Visio 8
Code: F0000
Options :
- Double combustion
- Régulateur d'arrivée d'air
(uniquement avec)
(double combustion)

line
Commande du régulateur d'arrivée d'air
CLAPET DE BUSE :
PORTE BATTANTE ET ESCAMO-BATTANTE
le clapet s'ouvre automatiquement au relevage et à l'ouverture de la porte
Porte scamo-battante
et convecteur


Régulateur d'arrivée d'air pour bilan énergétique optimum
Fonctionnement avec connexion extérieure pour l'alimentation en air de combustion.
3 positions : 1 - Allumage ou raccordement combustion 2 - Grande allure 3 - Allure réduite
(voir page 18)



GARANTIE 7 ANS*
Les foyers «nouvelle génération


Europa 7 Europa 7 Escamotable - battant
La finition "BLACK LINE"
est disponible sur les versions :
- Europa 7 (face - angle)
- Multivision 7000 (face - double face)
- Visio 8

Visio 8
Europa 7 angle et 3 faces vitrées
Visio 8 escamotable battant

Super 8
Code: F0600
Options :
ou nickelée
Liseré laiton ou inox brossé sur porte
- Porte Seguin Déco
- Double combustion
SORTIE
0 200

CE FOYER PEUT RECEVOIR L'OPTION
DOUBLE COMBUSTION - (DAFS) - voir page 15
Façade 80 cm
Buches : jusqu'à 65 cm
Puissance nominale : 16 kW*
Rendement : 72,90%*
Double combustion (DAFS): 18 kW*
Rendement (DAFS) : 75,90%*
Poids:185kg (version de base)
suivant norme EN13229)
PORTE BATTANTE
La porte est bloquée sur fermeture lorsque le clapet est fermé
PORTE ESCAMO-BATTANTE
Le clapet s'ouvre automatiquement au relevage et à l'ouverture de la porte
Porte escamotable-battante et convecteur


Porte Seguin Deco Inox brossé




Super 9
Code: F1300
Options :
ou nickelée
Liseré laiton ou inox brossé sur porte - Double combustion

CE FOYER POT RECEVOIR L'OPTION
DOUBLE COMBUSTION - (DAFS) - voir page 15
Façade 91 cm
Buches:80cm
Puissance nominale : 18 kW*
Rendement : 70.80%*
Double combustion (DAFS) : 20 kW*
Rendement (DAFS) : 76,60%*
Poids:230kg (version de base)
*suit norme EN 13229)
CLAPET DE BUSE :
PORTE BATTANTE ET ESCAMO-BATTANTE
Le clapet s'ouvre automatiquement au relevage et à l'ouverture de la porte

Modèle avec convecteur
Porte scamo-battante


Multivision 7000
Code: F0700
Options :
Convecteur
Liseré laiton ou
inox brossé sur porte
ou nickelée

CE FOYER POT RECEVOIR L'OPTION
DOUBLE COMBUSTION - (DAFS) - voir page 15
Façade 71 cm
Büches:60cm
Puissance nominale : 15 kW*
Rendement : 74.70%*
Double combustion (DAFS) : 17 kW*
Rendement (DAFS) : 76,20%*
Poids:180kg (version de base)
(suivant norme EN13229)
Ces valeurs s'appliquent au modèle de face.
CLAPET DE BUSE:
PORTE BATTANTE ET ESCAMO-BATTANTE
Le clapet s'ouvre automatiquement au relevage et à l'ouverture de la porte
Modulable de 1 à 4 faces vitrées
Angle droit ou gauche
3 cotes vitres
Portes coulissantes et convecteur
Double face
4 faces




Multivision 8000
Code: F0800
Options :
- Porte escamotable-battante Convecteur
- Porte fonte laitonnée ou nickelée Liseré laiton ou inox brossé sur porte

CLAPET DE BUSE : à obturation réglable - PORTE BATTANTE :
la porte est bloquée sur fermeture lorsque le clapet est fermé PORTE ESCAMO-BATTANTE
le clapet s'ouvre automatiquement au relevage et à l'ouverture de la porte
Façade 80 cm
Büches:70cm
Puissance nominale: 16kW*
Rendement : 72.90%*
Poids:230kg (version de base)
(suivant norme EN13229) Ces valeurs s'appliquent au modèle de face
Face
3 faces
4 faces
Convecteur
Double face - Escamotable





Pano 7
Code: F1500
Options :
Convecteur
ou nickelée
façade 80 cm
Double combustion

CE FOYER POT RECEVOIR L'OPTION
DOUBLE COMBUSTION - (DAFS) - voir page 15
Façade 71 ou 80 cm
Bûches : jusqu'à 55 cm
Puissance nominale : 14 kW*
Rendement : 73,10%*
Double combustion (DAFS) : 16 kW*
Rendement (DAFS) : 76,50%*
Poids:150kg (version de base)
suivant norme EN13229)
CLAPET DE BUSE :
PORTE BATTANTE ET ESCAMO-BATTANTE
Le clapet s'ouvre automatiquement au relevage et à l'ouverture de la porte
Avec convecteur
Porte scamo-battante



Code: F0900
Options :
Convecteur
Liseré laiton ou
inox brossé sur porte
- Porte fonte laitonée ou nickelée
- Elargisseurs pour façade 80 cm
- Double combustion

CE FOYER PEUT RECEVOIR L'OPTION
DOUBLE COMBUSTION - (DAFS) - voir page 15
Façade 71 ou 80 cm
Büches : 60 cm
Puissance nominale : 15 kW*
Rendement : 74,70%*
Double combustion (DASF) : 17 kW*
Rendement (DASF) : 75,90%*
Poids:200kg (version de base)
(suivant norme EN13229)
Ces valeurs s'appliquent au modèle de face
CLAPET DE BUSE :
PORTE BATTANTE ET ESCAMO-BATTANTE
Le clapet s'ouvre automatiquement au relevage et à l'ouverture de la porte
Modulable de 1 à 4 faces vitrées
Angle droit ou gauche
Double face
Porte camo-battante
3 cotes vitres
4 faces



Hexa 7
Code: F1000
Options :
- Liséré laiton ou inox brossé sur porte
- Double combustion

CE FOYER POT RECEVOIR L'OPTION
DOUBLE COMBUSTION - (DAFS) - voir page 15
Façade 71 cm
Bûches : jusqu'à 55 cm
Puissance nominale : 14 kW*
Rendement : 73,10%*
Double combustion (DASF): 16 kW*
Rendement (DAFS) : 76,50%*
Poids : 170 kg (version de base)
*suivant norme EN13229)
CLAPET DE BUSE :
PORTE BATTANTE ET ESCAMO-BATTANTE
le clapet s'ouvre automatiquement au relevage et à l'ouverture de la porte
Porte scamo-battante et convecteur




Hexa 8
Code: F1100
Options :
- Portes camo-battante Convecteur
- Porte fonte laitonnée ou nickelée Liseré laiton ou inox brossé sur porte
- Double combustion

CE FOYER PEUT RECEVOIR L'OPTION
DOUBLE COMBUSTION - (DAFS) - voir page 15
Façade 80 cm
Buches : jusqu'à 65 cm
Puissance nominale: 16 kW*
Rendement : 72.90%*
Double combustion (DAFS) : 18 kW*
Rendement (DAFS) : 75,90%*
Poids:215kg (version de base)
(suivant norme EN13229)
PORTE BATTANTE ET ESCAMO-BATTANTE
le clapet s'ouvre automatiquement au relevage et à l'ouverture de la porte
Porte scamo-battante et convecteur





SORTIE 200
Code: F0510
Options :
Convecteur acier
Kit ventilation
Liseré laiton ou inox brossé sur porte
Foyer fonte nu

Foyer fonte avec convecteur acier et kit de ventilation
Façade 65 cm
Bûches : jusqu'à 50 cm
Puissance nominale : 10 kW*
Rendement : 73.40%*
(suivant norme EN13229)
Code F0510:
CLAPET DE BUSE: à obturation réglable - PORTE BATTANTE :
La porte est bloquée sur fermeture lorsque le clapet est fermé
Foyer fonte nu - sans convecteur - sans turbines
Foyer fonte avec convecteur acier (sans turbines)
- Codes F 0510 + CV 51 + KV 51:
Foyer fonte avec convecteur acier et kit de ventilation
FOYER avec convecteur + KIT de ventilation

Commutateur 3 positions
- Arrêt 1ère vitesse: 60 m³/h
- 2ème vitesse : 126 m³/h
Grille amovible pour intervention sur le ventilateur (220V - 50Hz)

2 sorties 0 125
obstruées par 2 tampons
(manchettes de
raccordement à
commander à part)
Convectiveur
Pour des raisons de sécurité, il est obligatoire
d'isoler le dessous de la poutre si celle-ci est
en matériel combustible.
Ne pas arrêter la ventilation pendant
le fonctionnement du foyer



Poids:
- version de base : 105 kg
- avec convecteur : 111 kg
- version complète : 130 kg
La DOUBLE combustion.
(système exclusif et breveté)
BONUS PUISSANCE: + 2 kW
RENDEMENT : 75/77%* (selon modèle de foyer)
- Meilleures performances
- Plus de rendement
- Respect de l'environnement Vitre plus claire
FoyersCompatibles
SUNFLAM 70 - EUROPA 7 - SUPER 8 - MULTIVISION 70 -
PANO 7 - PANORAMIC - HEXA 7 - HEXA 8

La combustion classique Schématiquement, la combustion s'effectue en plusieurs étapes :
- Phase primaire : qui correspond à l'inflammation du combustible, résultat un premier dégagement de chaleur + des fumées + divers gaz.
- Phase secondaire : un apport d'oxygène dans la chambre de combustion provoque l'inflammation de ces gaz qui dégagent un supplément d'énergie.
Ce principe est effectif sur l'ensemble des foyers fonte SEGUIN.

La combustion seconddaire
NOUVELLE GENERATION D'APPAREILS ENCORE PLUS PERFORMANTS
Le système breveté DAFS apporte une réponse encore plus efficace car l'apport en oxygène s'effectue à partir de jets d'air préchauffés idéalement positionnés à l'arrière de la chambre de combustion.
Le niveau de performances évolue encore pour approcher l'excellence : encore plus de rendement, économie de combustible et réduction des rejets pour le respect de l'environnement.
VITRE ENCORE PLUS CLAIRE Le comportement visuel est encore supérieur :
- La combustion est de toute valeur qualité (moins de résidus et de fumées).
- Grâce au flux d'air, la flamme est attirée vers l'arrière du foyer.
Utilisation recommandée
Utilisation non recommandée
TRES IMPORTANT Dans le cas d'une installation avec un extracteur d'air chaud (Multichauf) UN RACCORDEMENT EXTERIEUR EST ABSOLUMENT OBLIGATOIRE arrivée d'air de combustion) Ne pas fonctionner sans respecter ces conditions d'installation; risque d'aspiration des gaz de combustion (Gaine inox 080 + collier)

Regulateur d'arrivee d'air pour BILAN energetique optimum
OPTION adaptable unique sur double combustion

Fonctionnement avec connexion extérieure pour l'alimentation en air de combustion.
3 Positions :
1 - Allumage ou relai de combustion - 2 - Grande allure - 3 - Allure réduite



La distribution d'air CHAUD.

aspire et distribue la chaleur par le canal de gains calorifugées jusqu'aux bouches de sortie des différentes pièces à chauffer.
2 puissances : 400 m³/h - 600 m³/h
Gaine souple calorifugée
Bouche réglable de sortie d'air chaud
Les foyers dégagent une température élevée. L'installation doit être effectuée dans les règles de l'art, particulièrement en ce qui concerne l'isolation et les distances à respecter lors du montage par rapport aux matériaux inflammables. La responsabilité du fabricant est limitée à la garantie spécifiée sur les différentes fournitures composant les foyers. Il y a lieu de se conformer pour l'installation à la notice délivrée avec chaque appareil. Ces foyers sont conformes à la norme européenne EN 13229.
DOIT OBLIGATOIREMENT ETRE INSTALLLE CONFORMMEMENT AU DTU 24-2.

Z.I. de Lhérat - 63310 Randan (France)
www.seguin.fr - commercial@seguin.fr
Votre vendeur conseil :