G9CE3675XS - INSTALLATION - Table de cuisson electrique BAUKNECHT - Notice d'utilisation et mode d'emploi gratuit
Retrouvez gratuitement la notice de l'appareil G9CE3675XS - INSTALLATION BAUKNECHT au format PDF.
| Type d'appareil | Table de cuisson électrique |
| Nombre de foyers | Non précisé |
| Type de foyer | Électrique |
| Dimensions (L x P) | Non précisé |
| Puissance totale | Non précisé |
| Alimentation électrique | 230 V / 50 Hz (standard européen) |
| Type de commande | Non précisé |
| Matériau de la surface | Non précisé |
| Sécurité | Symboles d'alerte de danger et avertissement inclus |
| Installation | Encastrable ou pose sur plan de travail |
| Accessoires fournis | Non précisé |
| Instructions d'installation | Inclues dans le manuel |
| Entretien | Non précisé |
| Garantie | Non précisé |
| Poids | Non précisé |
| Normes de sécurité | Conforme aux normes électriques locales |
FOIRE AUX QUESTIONS - G9CE3675XS - INSTALLATION BAUKNECHT
Téléchargez la notice de votre Table de cuisson electrique au format PDF gratuitement ! Retrouvez votre notice G9CE3675XS - INSTALLATION - BAUKNECHT et reprennez votre appareil électronique en main. Sur cette page sont publiés tous les documents nécessaires à l'utilisation de votre appareil G9CE3675XS - INSTALLATION de la marque BAUKNECHT.
MODE D'EMPLOI G9CE3675XS - INSTALLATION BAUKNECHT
Outils et pièces. 9 Exigences d'emplacement. 9 Spécifications électriques. 11
INSTRUCTIONS D'INSTALLATION
Préparation de la table de cuisson pour l'installation. 12 Installation de la table de cuisson. 12 Raccordement électrique. 14 Fixation de la table de cuisson au plan de travail. 16 Achever l'installation. 16
À conserver pour consultation par l'inspecteur local des installations électriques.
Votre sécurité et celle des autres est très importante.
Nous donnons de nombreux messages de sécurité importants dans ce manuel et sur votre appareil ménager. Assurez-vous de bien lire tous les messages de sécurité et de vous y conformer.

Voici le symbole d'alerte de sécurité.
C vous signale les dangers potentiels de décès et de blessures graves pour vous et pour d'autres.
Tous les messages de sécurité suivront l et le mot "DANGER" ou "AVERTISSEMENT".
AVERTISSEMENT. Ces mots signifient :
Averagement
immédiatement les instructions.
Risque possible de décès ou de blessure grave si vous ne suivez pas les instructions.
Tous les messages de sécurité vous indiquent la nature du danger potentiel, vous expliquent comment réduire le risque de blessure et ce qui peut se produire en cas de non-respect des instructions.
Outils et pièces
Rassemblez les outils et pièces nécessaires avant d'entreprendre l'installation. Lisez et observez les instructions fournies avec chacun des outils de la liste ci-dessous.
Outils nécessaires
Metre-ruban
Marqueur ou crayon
Tourne-écrou de 1/4'' (6,35 mm)
Pince
Tournevis à lame plate
Pièces fournies
Rouleau de bande de mousse
2 vis de fixation de 2 1/2'' (6,4 cm)
2 brides de fixation
Pièces nécessaires
Un connecteur homologué UL ou CSA pour conduit d'un diamètre de 1 1/2 po (3,8 cm). Connecteurs de fils (homologation UL).
Consulter les codes locaux. Vérifier l'alimentation électrique existante. Voir la section "Spécifications électriques".
Il est recommandé de faire réaliser tous les raccordements électriques par un électricien qualifié/agréé.
Exigences d'emplacement
IMPORTANT : Observer les dispositions de tous les codes et règlements en vigueur. Lors de l'installation de la table de cuisson, utiliser les dimensions minimales indiquées.
Afin de supprimer le risque de brûlures ou d'incendie en se penchant au-dessus des unités de surface chauffées, le rangement en armoire au-dessus des unités de surface doit être évité. Si des placards de rangement sont envisagés, le risque peut être réduit par l'installation d'une hotte de cuisine dépassant le bas des placards d'au moins 5" (12,7 cm) horizontalement. La table de cuisson doit être une table de cuisson spécifique, et doit être approuvée pour une installation seule ou sur un four encastré sous comptoir. Vérifier que la base de la table de cuisson comporte une étiquette d'installation approuvée. Si vous ne trouvez pas cette étiquette, contactez votre vendeur pour confirmer que la table de cuisson est bien approuvée dans un plan de travail qui soit d'aplomb. Les fours approuvés pour ce type d'installation comportent une étiquette d'approbation située sur le dessus du four. Si vous ne trouvez pas cette étiquette, contactez votre marchand pour confirmer que le four est bien approuvé. Consulter les instructions d'installation du fabricant du four pour déterminer si l'utilisation en encastrement est approuvée et pour obtenir les dimensions correctes de l'ouverture.
La table de cuisson doit être installée à l'écart des zones de forts courants d'air, telles que fenêtres, portes et évents ou ventilateurs de chauffage puissants à un endroit pratique dans la cuisine. Utiliser les dimensions d'ouverture du plan de travail qui sont indiquées dans ces Instructions d'installation. Les dimensions données sont les espacements minimaux et fournissent un dégagement de 0'' (0 cm). Une source d'électricité avec liaison à la terre est nécessaire. Voir la section "Spécifications électriques".
IMPORTANT : Pour éviter tout dommage, consultez le constructeur de la maison ou le fabricant des placards pour déterminer si les matériaux peuvent subir un changement de couleur, une déstratification ou d'autres dommages.
Dimensions du produit

A. 21 3/4" (55,2 cm) B. Modèles de 30" (76,2 cm) : 30 1/16" (78,4 cm) Modèles de 36" (91,4 cm) : 36 5/16" (92,3 cm) C. 3 1/4" (9,5 cm)
Dimensions du placard
IMPORTANT : En cas d'installation d'une hotte ou d'un ensemble hotte/micro-ondes au-dessus de la cuisinière, suivre les instructions d'installation fournies avec la hotte concernant les dimensions de dégagement à respecter au-dessus de la surface de la table de cuisson.

A. 30'' (76,2 cm) sur modèles de 30'' ; 36'' (91,4 cm) sur modèles de 36''
B. Zone de matière combustible au-dessus du plan de travail (espace délimité par les lignes pointillées ci-dessus).
C. Distance minimale de séparation de 30" (76,2 cm) entre le dessus de la table de cuisson et le fond d'un placard métallique ou de bois non couvert (distance de séparation minimale de 24" [61 cm] si le fond du placard de métal ou de bois est recouvert d'une plaque ignifuge d'au moins 1/4" [0,6 cm], elle-même recouverte d'une feuille métallique d'une épaisseur correspondant à un calibre minimal de 28 pour l'acier, 0,015" [0,04 cm] pour l'acier inoxydable, 0,024" [0,06 cm] pour l'aluminium ou 0,020" [0,05 cm] pour le cuivre).
D. Profondeur recommandée pour les placards supérieurs : 13" (33 cm). E. 2" (5,1 cm)
F. 20 ½" ± ¹⁄₁₆" (52 ± 0,16 cm)
G. Distance de séparation minimale de 18" (45,7 cm) entre le placard supérieur et le plan de travail, avec une distance de séparation horizontale minimale pour la table de cuisson.
H. Boî 7" (17,8 cm) minimum à partir du dessus du plan de travail.
I. Boî 9" (23 cm) maximum à partir de la droite du placard. J. 29 1/2" +/- 1/16" (74,9 cm +/- 0,16 cm) sur les modèles de 30" (76,2 cm). 35 1/2" + 1/16" - 15/16" (90,2 cm + 0,16 cm / - 2,38 cm) sur les modèles de 36" (91,4 cm). K. Distance de séparation minimale de 1" (2,5 cm) par rapport à la surface de matériau combustible la plus proche, à gauche ou à droite au-dessus de la table de cuisson. L. Distance de séparation minimale de 1" (2,5 cm) ou plus entre la paroi arrière et le plan de travail.
REMARQUES : Après le découpage de l'ouverture dans le plan de travail, il est possible que pour certaines configurations d'installation, il soit nécessaire d'entailer les parois latérales du placard inférieur pour permettre le passage de la base de la table de cuisson. Pour éviter cette modification, utiliser un placard inférieur dont la largeur des parois latérales est supérieure à celle de l'ouverture découpée.
Si le placard comporte un tiroir, on devra ménager une distance de séparation de 5 1/2" (14 cm) dans le sens de la profondeur entre le plan de travail et le sommet du tiroir (ou autre obstruction) à l'intérieur du placard inférieur.

Risque de choc électrique
Déconnecter la source de courant électrique avant l'entretien.
Utiliser du fil en cuivre de calibre 8.
Relier la table de cuisson à la terre.
Le non-respect de ces instructions peut causer un décès, un incendie ou un choc électrique.
Si l'on utilise un conducteur distinct de liaison à la terre lorsque les codes le permettent, il est recommandé qu'un électricien qualifié vérifie que la liaison à la terre et la section des fils sont conformes aux codes locaux.
Vérifier avec un électricien qualifié si vous avez des doutes quant à la qualité de la liaison à la terre de la table de cuisson.
S'assurer que la connexion électrique et le calibre des fils sont appropriés et conformes au National Electrical Code, à la norme ANSI/NFPA 70 - dernière édition, ou à la norme CSA C22.1-94, au Code canadien de l'électricité, Partie 1 et C22.2 N° O-M91 - dernière édition, et à tous les codes et règlements locaux.
Pour obtenir un exemplaire des normes ou codes ci-dessus, contacter :
Avant d'établir la connexion électrique :
Pour installer la table de cuisson correctement, il faut établir le type de raccordement électrique que l'on utilisera et suivre les instructions indiquées ici.
L'appareil doit être alimenté uniquement par un circuit monophasé de 120/240 V CA, 60 Hz à 3 ou 4 conducteurs, sur un circuit séparé de 40 ampères, protégé par un fusible aux deux extrémités de la ligne. La plaque signalétique est située sur le placard métallique, sous la table de cuisson. Voir l'illustration ci-dessous.
A. Plaque signalétique
La capacité nominale de la table de cuisson est de 120/240 volts. La plupart des modèles comportent un conducteur neutre (blanc). Le modèle W5CE3024 ne comporte pas de conducteur neutre (blanc). La table de cuisson doit être raccordée directement au boîtier de connexion par l'intermédiaire d'un câble flexible à conducteur de cuivre (avec blindage ou gaine non métallique). Le câble blindé flexible sortant du boîtier de distribution (fusible ou disjoncteur) doit être raccordé directement au boîtier de connexion. - Placer le boîtier de connexion pour laisser le plus de jeu possible entre celui-ci et la table de cuisson, afin de pouvoir déplacer la table de cuisson en cas de besoin de réparation à l'avenir. Ne pas couper le conduit. Utiliser toute la longueur du conduit fourni. - Un connecteur de conduit homologué UL ou CSA doit être fourni à chaque extrémité du câble d'alimentation électrique (à la table de cuisson et au boîtier de connexion). Un connecteur de conduit homologué est déjà fourni à la table de cuisson. Si le domicile est équipé d'un câblage en aluminium, suivre les instructions suivantes :
- Raccorder une section de câble en cuivre massif aux conducteurs en queue de cochon.
- Connecter le câblage en aluminium à la section ajoutée de câblage en cuivre en utilisant des connecteurs et/ou des outils spécifiques conçus et homologués UL pour fixer le cuivre à l'aluminium.
Suivre la procédure recommandée par le fabricant de connecteurs électriques. La connexion aluminium/cuivre doit être conforme aux codes locaux et aux pratiques de câblage acceptées par l'industrie.
Instructions d'installation
Préparation de la table de cuisson pour l'installation
Averagement
Risque dû au poids excessif
Utiliser deux personnes ou plus pour déplacer et installer la table de cuisson.
Le non-respect de cette instruction peut causer une blessure au dos ou d'autres blessures.
Déterminer l'emplacement final de la table de cuisson. Éviter de percer dans le câblage existant ou de l'endommager pendant l'installation.
- ène de l'emballage. S'assurer que les boutons ne reposent pas sur le polystyrène.
- 1/4" (0,64 cm). Retirer une bande à la fois et appliquer les bandes de mousse auto-adhésives autour de la partie inférieure du verre de la table de cuisson.
REMARQUE : La bande de mousse aide à éviter que la fac ne soit endommagée par des débris et aide la table de cuisson à reposer à plat sur des plans de travail irréguliers.

A. Base de la table de cuisson B. Bande de mousse de 1/4" (0,64 cm) C. Table de cuisson
Style 1 : Table de cuisson sur four encastré sous comptoir. Important : ne pas utiliser de brides de fixation.
- À l'aide d'au moins 2 personnes, placer la table de cuisson dans l'ouverture en orientant la bonne surface vers le haut. REMARQUE : S'assurer que le bord avant de la table de cuisson est parallèle au bord avant du plan de travail. S'il est nécessaire de repositionner la table de cuisson, la soulever entièrement de l'ouverture pour éviter de rayer le plan de travail.
Style 2 : table de cuisson sur placards
- Déterminer si l'installation des placards permet le dégagement nécessaire pour l'installation des brides de fixation aux extrémités de la base de la table de cuisson.
30" (76,2 cm) modèles à boutons traditionnels
A. Bride de fixation B. Vis d'attache C. Partie inférieure de la base de la table de cuisson
Tous les modèles de 36" (91,4 cm) et de 30" (76,2 cm) avec module de commande électronique tactile
A. Partie inférieure de la base de la table de cuisson B. Vis d'attache C. Bride de fixation
- Les brides de fixation peuvent être installées avant ou après le positionnement de . Procéder aux étapes suivantes selon l'option choisie.
Installation des brides avant de positionner la table de cuisson dans l'ouverture
- À l'aide de deux personnes ou plus, placer la table de cuisson à l'envers sur une surface couverte en utilisant les cornières en polystyrène de l'emballage. S'assurer que les boutons ne reposent pas sur le polystyrène.
- Retirer les vis d'attache de la partie inférieure de la base de la table de cuisson afin de permettre l'installation des brides.
- Sélectionner les trous de montage de la bride qui permettront à la bride de dépasser suffisamment de la table de cuisson pour l'installation des vis de fixation de 2 1/2" (6,4 cm). Voir "Fixation u plan de travail" pour une illustration de l'installation des vis de fixation.

A. P B. Bride de fixation C. Trous de montage de bride D. Trou de fixation de la bride E. Vis d'attache
- Fixer les brides à la p e la table de cuisson à l'aide des vis d'attache en utilisant les trous de montage des brides sélectionnés à l'étape 3.
- Faire tourner les brides de façon à ce qu'elles ne dépassent pas du bord .
- Serrer les vis d'attache juste assez pour maintenir les brides en place lorsque la table de cuisson est positionnée dans l'ouverture.
- À l'aide d'au moins 2 personnes, placer la table de cuisson dans l'ouverture en orientant la bonne surface vers le haut.
REMARQUE : S'assurer que le bord avant st parallèle au bord avant du plan de travail. S'il est nécessaire de repositionner la table de cuisson, la soulever entièrement de l'ouverture pour éviter de rayer le plan de travail.
- Desserrer les vis et faire tourner les brides pour qu'elles soient perpendiculaires au bord de la base t qu'elles dépassent de son bord. Bien serrer les vis.
Installation des brides après avoir positionné la table de cuisson dans l'ouverture.
- À l'aide d'au moins 2 personnes, placer en orientant la bonne surface vers le haut. REMARQUE : S'assurer que le bord avant de la table de cuisson est parallèle au bord avant du plan de travail. S'il est nécessaire de repositionner la table de cuisson, la soulever entièrement de l'ouverture pour éviter de rayer le plan de travail.
- Enlever les vis d'attache pour les emplacements de brides sélectionnés de la partie inférieure de la base de la table de cuisson.
- Sélectionner les trous de montage de la bride qui permettront à celle-ci de dépasser suffisamment pour de 2 1/2" (6,4 cm).

A. Table de cuisson B. Base de la table de cuisson C. Vis d'attache D. Bride de fixation (dépassant suffisamment pour permettre ) E. Vis de fixation de 2 1/2 (6,4 cm) (à installer à la section "Fixation de la table de cuisson au plan de travail") F. Plan de travail
- Fixer les brides à la partie inférieure à l'aide des vis d'attache, en utilisant les trous de montage des brides sélectionnés à l'étape 3. Bien serrer les vis.

Risque de choc électrique
Déconnecter la source de courant électrique avant l'entretien.
Utiliser du fil en cuivre de calibre 8.
Relier la table de cuisson à la terre.
Le non-respect de ces instructions peut causer un décès, un incendie ou un choc électrique.
Un conducteur vert ou nu de liaison à la terre est connecté au châssis de la table de cuisson lors de la fabrication. Raccorder le câble de la table de cuisson au boîtier de connexion à l'aide du connecteur de conduit homologué UL ou CSA.
Options de raccordement électrique
| Pour les tables de cuisson avec cable à 4 conducteurs : | ||
| Si le domicile comporte : | Point de distribution : | Voir la section suivante : |
| Direct - 4 conducteurs | Disjoncteur ou coupe-circuit avec fusible | Cable à 4 conducteurs depuis le point de distribution jusqu'à câble à 4 conducteurs depuis la table de cuisson |
| Direct - 3 conducteurs | Disjoncteur ou coupe-circuit avec fusible | Cable à 3 conducteurs depuis le point de distribution jusqu'à câble à 4 conducteurs depuis la table de cuisson |
Pour les tables de cuisson avec câble à 3 conducteurs :
| Si le domicile comporte : | Point de distribution : | Voir la section suivante : |
| Direct - 4 conducteurs | Disjoncteur ou coupe-circuit avec fusible | Câble à 4 conducteurs depuis le point de distribution jusqu'à au câble à 3 conducteurs depuis la table de cuisson |
| Direct - 3 conducteurs | Disjoncteur ou coupe-circuit avec fusible | Câble à 3 conducteurs depuis le point de distribution jusqu'à au câble à 3 conducteurs depuis la table de cuisson |
Câble à 4 conducteurs depuis le point de distribution avec câble à 4 conducteurs depuis la table de cuisson
IMPORTANT : Si les codes locaux ne permettent pas le raccordement du conducteur de liaison à la terre au conducteur blanc (neutre) dans le boîtier de connexion, utiliser le câble à 4 conducteurs provenant du point de distribution.

A. Câble à 4 conducteurs depuis le point de distribution B. Conducteurs noirs C. Conducteurs verts ou nus D. Câble à 4 conducteurs depuis la table de cuisson E. Boîtier de connexion
F. Connecteurs blancs G. Connecteur de fils (homologation UL) H. Conducteurs rouges I. Connecteur de conduit (homologation UL ou CSA)
- Déconnecter la source de courant électrique.
- Enlever le couvercle du boîtier de connexion, le cas échéant.
- Avec le connecteur de conduit (homologation UL ou CSA) pour conduit de 1/2" (1,3 cm), connecter le conduit de câble flexible de la table de cuisson au boîtier de connexion.
- Serrer les vis du connecteur de conduit, le cas échéant.
- noirs avec un connecteur de fils (homologation UL).
- Connecter ensemble les deux conducteurs rouges avec les connecteurs de fils (homologation UL).
- Connecter ensemble les deux conducteurs blanc
- Installer le couvercle du boîtier de connexion.
- Reconnecter la source de courant électrique.
Câble à 3 conducteurs depuis le point de distribution avec câble à 4 conducteurs depuis la table de cuisson
IMPORTANT : Utiliser le câble à 3 conducteurs lorsque le code local en vigueur permet le raccordement entre le conducteur de liaison à la terre du châssis et le conducteur neutre (blanc) dans le boîtier de connexion.

A. Câble à 3 conducteurs B. Conducteurs rouges C. Conducteurs blanc et vert ou nu de liaison à la terre (depuis la table de cuisson) D. Câble à 4 conducteurs depuis la table de cuisson E. Boîtier de connexion
F. Conducteur blanc ( ) G. Connecteur de fils (homologation UL) H. Conducteurs noirs I. Connecteur de conduit (homologation UL ou CSA)
- Déconnecter la source de courant électrique.
- Le cas échéant, enlever le couvercle du boîtier de connexion.
- Connecter le conduit de câble flexible de la table de cuisson au boîtier de connexion avec un connecteur de conduit (homologation UL ou CSA).
- Serrer les vis du connecteur de conduit, le cas échéant.
- noirs avec un connecteur de fils (homologation UL).
- Connecter ensemble les deux conducteurs rouges avec les connecteurs de fils (homologation UL).
- Connecter le conducteur vert ou nu et le conducteur blanc de la table de cuisson au conducteur blanc (neutre) dans le boîtier de connexion
- Installer le couvercle du boîtier de connexion.
- Rebrancher l'alimentation électrique.
Câble à 4 conducteurs depuis le point de distribution avec câble à 3 conducteurs depuis la table de cuisson
IMPORTANT : Si les codes locaux ne permettent pas le raccordement du conducteur de liaison à la terre au conducteur blanc (neutre) dans le boîtier de connexion, utiliser le câble à 4 conducteurs provenant du point de distribution.

A. Câble à 4 conducteurs B. Conducteurs rouges C. Conducteur vert (ou nu) de liaison à la terre depuis la table de cuisson D. Câble à 3 conducteurs depuis la table de cuisson E. Boîtier de connexion
F. Conducteur blanc ( ) G. Connecteur de fils (homologation UL) H. Conducteurs noirs I. Connecteur de conduit (homologation UL ou CSA)
- Déconnecter la source de courant électrique.
- Le cas échéant, enlever le couvercle du boîtier de connexion.
- Avec le connecteur de conduit (homologation UL ou CSA), connecter le conduit de câble flexible de la table de cuisson au boîtier de connexion.
- Serrer les vis du connecteur de conduit, le cas échéant.
- noirs avec un connecteur de fils (homologation UL).
- Connecter ensemble les deux conducteurs rouge
- Placer un connecteur à l'extrémité du conducteur blanc.
REMARQUE : Ne pas connecter le conducteur nu de liaison à la terre au conducteur neutre (blanc) dans le boîtier de connexion.
- Installer le couvercle du boîtier de connexion.
- Rebrancher la source de courant électrique.
Câble à 3 conducteurs depuis le point de distribution vers la table de cuisson
IMPORTANT : Utiliser le câble à 3 conducteurs lorsque le code local en vigueur permet le raccordement entre le conducteur de liaison à la terre du châssis et le conducteur neutre (blanc) dans le boîtier de connexion.

A. Câble à 3 conducteurs B. Conducteurs rouges C. Conducteur vert (ou nu) de liaison à la terre depuis la table de cuisson D. Câble à 3 conducteurs depuis la table de cuisson
E. Boîtier de connexion F. Conducteur blanc ( ) G. Connecteur de fils (homologation UL) H. Conducteurs noirs
I. Connecteur de conduit (homologation UL ou CSA)
- Déconnecter la source de courant électrique.
- Enlever le couvercle du boîtier de connexion, le cas échéant.
- Avec le connecteur de conduit (homologation UL ou CSA), connecter le conduit de câble flexible de la table de cuisson au boîtier de connexion.
- Serrer les vis du connecteur de conduit, le cas échéant.
- noirs avec un connecteur de fils (homologation UL).
- Connecter ensemble les deux conducteurs rouges avec les connecteurs de fils (homologation UL).
- Connecter le conducteur vert ou nu de la table de cuisson au conducteur blanc (neutre) dans le boîtier de connexion
- Installer le couvercle du boîtier de connexion.
- Reconnecter la source de courant électrique.
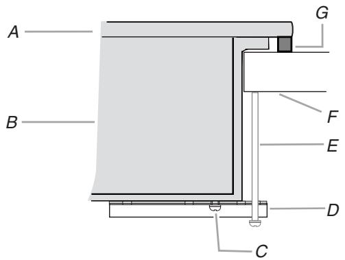
Fixation de la table de cuisson au plan de travail
REMARQUE : Cette section s'applique uniquement en cas d'utilisation de brides de fixation.

A. Table de cuisson en verre B. Base de la table de cuisson C. Vis d'attache D. Bride de fixation (dépassant suffisamment de la base de la table de cuisson pour permettre l'installation des vis de fixation)
E. Vis de fixation de 212 (6,4 cm) F. Plan de travail G. Bande de mousse
- Placer les v dans le trou le plus à l'extérieur de la bride.
- À l'aide d'un tournevis à lame plate, serrer les vis sur le plan de travail. Ne pas serrer excessivement.
Achever l'installation
- Vérifier que toutes les pièces sont maintenant installées. S'il reste une pièce, passer en revue les différentes étapes pour découvrir laquelle aurait été oubliée.
- Vérifier la présence de tous les outils.
- Éliminer ou recycler les matériaux d'emballage.
- Avant d'utiliser la table de cuisson, utilisez une solution douce de nettoyant domestique et d'eau tiède pour la nettoyer. Séchez parfaitement avec un linge doux. Pour plus de renseignements, voir la section "Entretien de la table de cuisson" du .
- Lire "Utilisation de la table de cuisson" dans le de la table de cuisson.
- Reconnecter la source de courant électrique.
REMARQUE : Si la table de cuisson ne fonctionne pas après la mise sous tension, vérifiez que le disjoncteur ne s'est pas déclenché ou que les fusibles ne sont pas grillés. Consultez la section "Dépannage" dans le Guide d'utilisation et d'entretien pour plus de renseignements.
Si vous avez besoin d'assistance ou de service :
Consulter la section "Assistance ou service" du Guide d'utilisation et d'entretien ou contacter le marchand auprès duquel la table de cuisson a été achetée.
Notice Facile