GI15NFLXS - Machine à glaçons BAUKNECHT - Notice d'utilisation et mode d'emploi gratuit
Retrouvez gratuitement la notice de l'appareil GI15NFLXS BAUKNECHT au format PDF.
| Type d'appareil | Machine à glaçons |
| Capacité de production | Non précisé |
| Type de glaçons | Cube ou pilé |
| Réservoir d'eau | Intégré |
| Matériau du réservoir | Plastique alimentaire |
| Temps de production | Non précisé |
| Alimentation électrique | Électrique |
| Consommation énergétique | Non précisé |
| Dimensions | Non précisé |
| Poids | Non précisé |
| Fonction d'arrêt automatique | Oui |
| Entretien | Nettoyage régulier recommandé |
| Accessoires inclus | Non précisé |
| Garantie | Non précisé |
| Utilisation recommandée | Usage domestique ou professionnel léger |
FOIRE AUX QUESTIONS - GI15NFLXS BAUKNECHT
Questions des utilisateurs sur GI15NFLXS BAUKNECHT
0 question sur cet appareil. Repondez a celles que vous connaissez ou posez la votre.
Poser une nouvelle question sur cet appareil
Téléchargez la notice de votre Machine à glaçons au format PDF gratuitement ! Retrouvez votre notice GI15NFLXS - BAUKNECHT et reprennez votre appareil électronique en main. Sur cette page sont publiés tous les documents nécessaires à l'utilisation de votre appareil GI15NFLXS de la marque BAUKNECHT.
MODE D'EMPLOI GI15NFLXS BAUKNECHT
Guide d'utilisation et d'entretien
Au Canada, pour assistance, installation ou service, appeler le : 1-800-807-6777
ou visitez notre site web à www.whirlpoolappliances.ca
Table of Contents/Table des matieres. 2
TABLE OF CONTENTS
ICE MAKER SAFETY 2
INSTALLATION INSTRUCTIONS 3
Déballage de la machine à glaçons 15
Exigences d'emplacement. 16
Spécifications électriques 16
Spécifications de l'alimentation en eau 16
Nivellement 17
Raccordement à la canalisation d'eau 17
Raccordement au drain de vidange. 18
Porte de la machine à glaçons 19
Sonsnormaux 20
UTILISATION DE LA MACHINE À GLAÇONS. 21
Fonctionnement de la machine à glaçons. 21
Utilisation des commandes 21
ENTRETIEN DE LA MACHINE À GLAÇONS 22
Nettoyage 22
Précautions à prendre avant les vacances ou un déménagement 24
Dépannage 25
Fonctionnement de la machine à glaçons 25
Production de glaçons 25
Qualité des glaçons 26
Problèmes de plomberie 26
Votre sécurité et celle des autres est très importante.
Nous donnons de nombreux messages de sécurité importants dans ce manuel et sur votre apparil menager. Assurez-vous de plusieurs jours dire tous les messages de sécurité et de vous y conformer.

Voici le symbole d'alerte de sécurité.
Ce symbole d'alerte de sécurité vous signale les dangers potentiels de décès et de blessures graves à vous et à d'autres.
Tous les messages de sécurité suivront le symbole d'alerte de sécurité et le mot "DANGER" ou
"AVERTISSEMENT". Ces mots signifient :
DANGER
AVERAGEMENT
Risque possible de décès ou de blessure grave si vous ne suivez pas immédiatement les instructions.
Risque possible de décès ou de blessure grave si vous ne suivez pas les instructions.
Tous les messages de sécurité vous diront quel est le danger potentiel et vous disent comment réduire le risque de blessure et ce qui peut se produit en cas de non-respect des instructions.
IMPORTANT INSTRUCTIONS DE SECURITÉ
AVERTISSEMENT : Pour réduire le risque d'incendie, de choc électrique ou de blessures lors de l'utilisation de la machine à glaçons, il convient d'observer certaines précautions élémentaires :
-
Brancher sur une prise à 3 alveoles reliée à la terre.
Ne pas enlever la broche de liaison à la terre.
Ne pas utiliser un adaptateur.
Ne pas utiliser un cable de rallonge.
Utiliser deux ou plus de personnes pour déplacer et installer la machine à gaçons. -
Déconnecter la source de courant électrique avant le nettoyage.
- Déconnecter la source de courant électrique avant l'entretien.
- Replacer pieces et panneaux avant de faire la remise en marche.
CONSERVEZ CES INSTRUCTIONS
INSTRUCTIONS D'INSTALLATION
Déballage de la machine à glaçons
AVERAGEMENT
Risque du poids excessif
Utiliser deux ou plus de personnes pour déplacer et installer la machine à glaçons.
Le non-respect de cette instruction peut cause une blessure au dos ou d'autre blessure.
Enlèvement des matériaux d'emballage
Enlever le ruban adhésif et la colle de la machine à glaçons avant de l'utiliser.
Pour enlever ce qui reste du ruban adhésif ou de la colle de la surface extérieure de la machine à glaçons, frottier la surface vivement avec le pouce. La colle ou l'adhésif qui reste peut être facilement enlevé(e) en frrottant une petite quantité de savon à vaisselle liquide sur l'adhésif avec les doigts. Rincer à l'eau tiède et essuyer.
- Ne pas utiliser d'instruments acérés, d'alcool à friction, de liquides inflammbables ou de nettoyants abrasifs pour enlever le ruban adhésié ou la colle. Ne pas utiliser d'eau de Javel sur les surfaces en acier inoxydable de la machine à glaçons. Ces produits peuvent endommager la surface de votre machine à glaçons.
Nettoyage avant l'utilisation
Après avoir enlevé tous les matérielux d'emballage, nettoyer l'intérieur de la machine à glaçons avant de l'utiliser. Voir les instructions de nettoyage dans la section "Entretien de la machine à glaçons".
Exigences d'emplacement
Pour assurer une bonne aération de la machine à glaçons, l'avant doit être complètement dégagé. Les trois autres côtés et le dessus de la machine à glaçons peuvent être dissimulés, mais l'installation doit permettre de tirer la machine à glaçons vers l'avant pour l'entretien, si nécessaire.
Pour installer la machine à glaçons, il faut avoir un tuyau soupé d'alimentation en eau froide de 1/4 (6,35 mm) de diamètre extérieur en cuivre avec un robinet d'arrêt et un système de vidange par gravité ou une pompe à condensats pour acheminer l'eau vers un drain existant.
Choisir un endroit bien aéré où la température est supérieure à 55^ (13^) et inférieure à 110^ (43^) . Pour tirer le meilleur rendement de la machine à gaçons, la température ambiente doit se situer entre 70^ (21^) et 90^ (32^) .
La machine à glaçons doit être installée à un endroit protégé contre les éléments comme le vent, la pluie, les embruns ou les égouttres.
Lorsque la machine à gaçons est installée sous un comptoir, observer les dimensions d'ouverture recommendées indiquées. Placer les composants électriques et de plomberie dans la zone recommendée sur l'illustration.
REMARQUES :
Vérifier que le cordon d'alimentation n'est pas coincide entre la machine à glaçons et le placard.
Vérifier que la canalisation d'alimentation en eau n'est pas coincée entre la machine à gaçons et le placard.
Vérifier que le conduit de vidange (sur certains modèles) n'est pas coincidence entre la machine à glaçons et le placard.

A. Zone recommende pour les composants
électriques et de plomberie
B. Niveau du plancher
Il est recommendé deCHOISIR un emplacement ou le plancher est de niveau. Il est important que la machine a glacons soit d'aplomb pour bien fonctionner. Au besoin, il est possible de regler la hauteur de la machine a glacons en changeant la hauteur des pieds de nivlement. Voir la section "Nivellement".
Specifications électriques
AVERAGEMENT

Risque de chocolélectrique
Brancher sur une prise à 3 alveoles reliée à la terre.
Ne pas enlever la broche de liaison à la terre.
Ne pas utiliser un adaptorateur.
Ne pas utiliser un cable de rallonge.
Le non-respect de ces instructions peut cause un décès, un incendie ou un choc électrique.
Avant de déplacer la machine à glaçons à son emplacement définitif, il est important de s'assurer que le raccordement électrique a été fait correctement :
Il faut un circuit d'alimentation électrique CA seulement de 115 volts, 60 Hz, de 15 ou 20 ampères, mis à la terre conformément aux instructions du Code national de l'électricité et des codes et règlements locaux.
Il est recommandé de réserver un circuit spécial à la machine à glaçons. Utiliser une prise où l'alimentation ne peut pas être coupée à l'aide d'un commutateur ou d'un interrupteur à tirage.
IMPORTANT : Si ce produit est connecté à une prise dotée d'un disjoncteur de fuite à la terre, un déclenchement intempestif peut se produit et causer une perte de refroidissement. La qualité des glaçons peut en être affectée. Si un déclenchement intempestif se produit et si les glaçons semble être de piètre qualité, jeter le tout.
Méthode de mise à la terre recommandaee
La machine à glaçons doit être reliée à la terre. La machine à glaçons compte un cordon d'alimentation électrique à trois broches pour la mise à la terre. Le cordon d'alimentation électrique doit être branché sur une prise de courant murale de liaison à la terre de configuration correspondante, à trois alveoles, reliée à la terre conformément au Code national de l'électricité et aux codes et règlements locaux. S'il n'y a pas de prise de courant correspondante, il incombe au client de faire installer une prise de courant murale à trois alveoles avec mise à la terre par unElectricien qualifié.
Specifications de l'alimentation en eau
Une alimentation en eau froide avec une pression entre 30 et 120lb / po^2 (207 et 827 kPa) est nécessaire pour faire fonctionner la machine à glaçons. Si vous avez des questions au sujet de la pression de votre eau, appeler un plombier qualifié agréé.
Alimentation en eau par osmose inverse IMPORTANT :
- Les systèmes de filtration de l'eau par osmose inverse peuvent être utilisés uniquement avec des installations de machine à glaçons comportant une vidange par gravité. Un système d'osmose inverse n'est pas recommandé pour les machines à glaçons équipées d'une pompé de vidange.
La pression de l'approvisionnement en eau provenant d'un système d'osmose inverse allant au robinet d'arrivée d'eau de la machine à glaçons doit être comprise entre 30 et 120 lb/ po^2 (207 et 827kPa
Si un système de filtration de l'eau par osmose inverse est raccordé à votre approvisionnement en eau froide, la pression de l'eau au système d'osmose inverse doit être de 40 à 60 lb/ po^2 (276 à 414 kPa) minimum.
REMARQUE: Le système par osmose inverse doit fournir 1 gal. (3,8 L) d'eau par heures à la machine à glaçons pour un fonctionnement approprié de la machine à glaçons. Si l'on souhaite un système d'eau par osmose inverse, il est recommendé d'utiliser uniquement un système de filtration de l'eau par osmose inverse central, capable de maintainir l'approvisionnement régulier en eau requis par la machine à glaçons. Les systèmes par osmose inverse à capacité de robinet ne peuvent pas十年er十年er十年er l'approvisionnement régulier en eau requis par la machine à glaçons.
Si la pression de l'eau au système d'osmose inverse est inférieure à 40 à 60 lb/ po^2 (276 à 414 kPa):
Vérifier si le filtré à sédiment du système d'osmose inverse est bloqué et le replacer si nécessaire.
Laisser le réservoir du système d'osmose inverse se replir après une utilisation intense.
Si vous avez des questions au sujet de la pression de votre eau, appeler un plombier qualifié agréé.
Nivellement
Il est important que la machine à glaçons soit d'aplomb pour bien fonctionner. Selon l'endetroit où vous installez la machine à glaçons, vous pourrez avoir à effectuer plusieurs ajustements pour la mesure d'aplomb. Vous pouvez également utiliser les pieds de nivellement pour baisser la hauteur de la machine à glaçons pour les installations sous comptoir.
Outillage nécessaire :
Rassembler les outils et pièces nécessaires avant de commencer l'installation.
Niveau de 9"
Cle à molette
REMARQUE : Il est plus facile d'ajuster les pieds de nivlement si on se fait aider par une autre personne.
- Déplacer la machine à glaçons à son emplacement final. REMARQUE : Dans le cas d'une installation encastrée, déplacer la machine à glaçons le plus pres possible de son emplacement final.
- Placer le niveau sur le dessus du produit pour voir si la machine à glaçons est d'aplomb d'avant en arrêté et transversalement.
- Pousser vers le haut sur la partie supérieure avant de la machine à glaçons pour repérer les vis de nivellement qui se trouvent sur le fond avant de la machine à glaçons.
- Au moyen d'une clé à molette, modifier la hauteur des pieds comme suit :
Tournier le pied de nivellement vers la droite pour abaisser ce côte de la machine à glaçons.
Tournier le pied de nivellement vers la gauche pour soulever ce côté de la machine à gaçons.
REMARQUE: La machine à gaçons ne devrait pas oscillator. Utiliser des cales pour accroître la stabilité au besoin.

- Pousser vers le haut sur la partie supérieure arrêté de la machine à glaçons pour repérer les pieds de nivellement qui se trouvent sur le fond arrêté de la machine à glaçons.
- Suivre les instructions de l'objet 4 pour modifier la hauteur des pieds.
- Utiliser le niveau pour réverifier que la machine à glaçons est d'aplomb d'avant en arrêté et transversalement. Si elle n'est pas d'aplomb, repeter les étapes 2 à 5. Si la machine est d'aplomb, passer à la section "Raccordement à la canalisation d'eau".
Raccordement à la canalisation d'eau
Lire toutes les instructions avant de commencer.
IMPORTANT :
L'installation de la plomberie doit être conforme au Code International de plomberie et respecter les codes et règlements locaux de plomberie.
Utiliser un tuyau en cuivre ou le tuyau d'alimentation Whirlpool, piece numero 8212547RP et vérifier s'il y a des fuites.
- Installer les tuyaux seulement à où les températures resteront au-dessus du point de congélation.
Outillage nécessaire :
Rassembler les outils et pieces nécessaires avant de commencer l'installation.
Tournevis à lame plate
Clés plates de 716 " et de 12 " ou deux clés à molette
Tourne-écrou de 1 / 4
REMARQUE: Ne pas utiliser de robinet d'arrêt de type perforant ou à étrier de 3 116 (4,76 mm) qui réduit le début d'eau et qui se bouche plus facilement.
Raccordement du tuyau d'eau
- Couper l'alimentation principale en eau. Ouvrir le robinet le plus proche assez longtemps pour vider l'eau du tuyau.
- À l'aide d'un tuyau d'alimentation en cuivre de 12 avec une valve d'arrêt tournée de un quart de tour ou l'équivalent, raccarder la machine à gaçons tel qu'illustré.
REMARQUE : Pour allouer un débit d'eau suffisant à la machine à glaçons, un tuyau d'alimentation en cuivre de 12 " est recommandé.

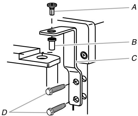
A. Renflement
B. Écrou
- On est maintainant prét à connecter le tuyau en cuivre. Utiliser un tuyau en cuivre couple de 14 (6,35 mm) de diamètre extérieur pour l'alimentation en eau froide.
S'assurer d'avoir la longueur nécessaire pour le raccordement. Il faut s'assurer que les deux extrémités du tuyau en cuivre sont bien coupées à angle droit.
- Installer le manchon et l'écrou à compression sur le tuyau en cuivre (voir l'illustration). Insérer l'extrémité du tuyau de sortie aussi profondément que possible dans l'extrémité de sortie et à l'équerre. Visser l'écrou à compression sur l'extrémité de la sortie à l'aide d'une clé à molette. Ne pas serrer à l'excess.

A. Manchon à compression
C. Tuyau en cuivre
B. Écrou de compression
- Placer l'extrémité libre du tuyau dans un contenant ou évier et rétablier l'alimentation principale en eau pour nettoyer le tuyau jusqu'à ce que l'eau en sorte claire. Fermer le robinet d'arrêt sur le tuyau d'alimentation en eau.
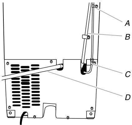
REMARQUE : Toujours vidanger le tuyau d'alimentation en eau avant de faire le raccordement final sur l'entrée du robinet pour empêcher tout mauvais fonctionnement évientuel du robinet. - Courber le tuyau de cuivre de façon à faire un raccordement sur l'entrée du robinet qui se trouve à l'arrière de la machine à glaçons (voir l'illustration). Laisser un serpentin de tube en cuivre pour permettre de sortir la machine à glaçons du placard ou du mur en cas d'intervention de service.

VUE ARRIÈRE
A. Bride pour tuyau d'arrivée d'eau
B. Tuyau d'airation (seulement pour modèles avec pompe de vidange)
C. Bride pour tuyau d'admission d'eau et connecteur à la canalisation d'alimentation en eau
D. Tuyau de vidange (seulement pour modèles avec pompe de vidange)
- Retirer et jeter le tube court noir en plastique de l'extrémité du tuyau d'admission d'eau.
- Visser l'écrou dans le raccord à l'extrémité du tuyau. Serrer l'écrou manuellement. Ensuite le serrer deux tours de plus avec une clé. Ne pas serrer à l'excess.
REMARQUE : Pour éviter les vibrations, veiller à ce que les tuyaux en cuivre ne soient pas en contact avec les parois laterales de la caisse ou d'autres composants à l'intérieur de la caisse.

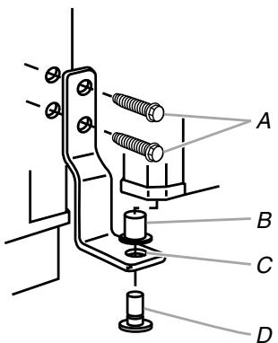
A. Canalisation jusqu'à
la machine à glaçons
B. Écrou (acheté)
C. Virole (achetée)
D. Canalisation d'alimentation en eau de la machine à gaçons
- Installer la bride du tuyau d'alimentation en eau autour de la canalisation d'alimentation en eau pour réduire la tension sur le raccord.
- OUVRIR le robinet d'arret.
- Vérifier s'il y a des fuites. Serrer tous les raccords (y compris les raccordements du robinet) ou les écrous qui fuient.
Raccordement au drain de vidange
Vidange par gravité
Il faut raccorder le tuyau de vidange de la machine à glaçons à votre drain de vidange conformément aux codes et règlements locaux et provinciaux. Si la machine à glaçons est fournie avec un système de vidange par gravité, il faut suivre les instructions ci-dessous lors de l'installation des tuyaux de vidange. Ceci aidera à éviter que l'eau ne refoule dans le bac d'entreposage de la machine à glaçons et évientuèlement sur le plancher et ne cause des dommages.
■ Les tuyaux de vidange doivent avoir au moins 5 ‰ "(15,88 mm) de diamètre interieur.
- Les tuyaux de vidange doivent avoir une pente de 1 pour chaque 48 (2,54 cm pour chaque 122 cm) de longueur ou une pente de 1/4 pour chaque 12 (6,35 mm pour chaque 30,48 cm) et ne compterier aucune point bas où l'eau pourrait stagner.
- Les grains de vidange de plancher doivent être suffisamment grands pour recevoir l'eau de vidange provenant de toutes sources.
L'installation ideale comporte un tuyau rigide de rejet à l'égout avec un réducteur de vidange PVC de 1 12 (3,81 cm) à 2" (5,08 cm) installé directement sous la sortie du tuyau de vidange comme sur l'illustration. Il faut maintainir un écart anti-retour de 1" (2,54 cm) entre le tuyau de vidange et le tuyau rigide de rejet à l'égout.
Il sera peut-être souhaitable d'isoler le tuyau de vidange complètement jusqu'à l'entrée du drain de vidange.

VUE LATÉRALE
A. Tuyau de vidange
B. Écart anti-retour de 1" (2,54 cm)
C. Reducteur du drain de vidange PVC
D. Le centre du drain doit se trouver à 23'' (58,4 cm) du devant de la porte avec ou sans le panneau de 44'' (1,91 cm) sur la porte. Le drainage soit également centré de gauche à droite ( 716'' [18,56 cm] de chaque côté de la machine à glaçons).
Système avec pompe de vidange (sur certains modèles)
Raccorder le drain de la machine à glaçons au drain de vidange conformément au Code international de plomberie et à tous les codes et règlements locaux.
REMARQUE: Si le tuyau de vidange devient tordu et que l'eau ne peut pas se vidanger, votre machine à glaçons ne fonctionnera pas.
Raccordement du drain de vidange
Après avoir vérifié que le système de vidange est ajustat, il faut procéder tel que décrit ci-dessous pour bienmettre la machine à glaçons en place :
A VERTISSEMENT

Risque de chocolélectrique
Brancher sur une prise à 3 alveoles reliée à la terre.
Ne pas enlever la broche de liaison à la terre.
Ne pas utiliser un adaptateur.
Ne pas utiliser un cable de rallonge.
Le non-respect de ces instructions peut cause un décès, un incendie ou un choc électrique.
- Brancher sur une prise à 3 alveoles reliée à la terre.
AVERAGEMENT
Risque du poids excessif
Utiliser deux ou plus de personnes pour déplacer et installer la machine à glaçons.
Le non-respect de cette instruction peut cause une blessure au dos ou d'autre blessure.
- Style 1 - Pour un système de vidange par gravité, pousser la machine à glaçons en position pour que le conduit de vidange soit positionné au-dessus du réducteur de vidange en PVC. Voir "Vidange par gravité".
Style 2 - Pour le système avec pompe de vidange, connecter le tuyau de sortie de la pompe au drain. Voir "Système avec pompe de vidange". - Vérifier à nouveau la machine à glaçons pour s'assurer qu'elle est bien d'aplomb. Voir la section "Nivellement".
- Si le code sanitaire local l'exige, sceller la caisse sur le plancher à l'aide d'un produit de calfeurage approuvé une fois que les raccordements d'eau et d'électricité ont été faits.
Porte de la machine à glaçons
Outillage nécessaire :
Rassembler les outils et pieces nécessaires avant de commencer l'installation.
Clé de 5%
Couteau a mastic plat
Clé de 1 / 4
Tournevis Phillips

Axe

Vis de charnière à tête hexagonale 5 16

Vis de poignée

Vis d'embout
Dépose de la porte
- Débrancher la machine à glaçons ou déconnecter la source de courant électrique.
- Œter les vis de la poignée et la poignée (sur certains modèles). Garder les pièces ensemble et lesmettre de côté.
- Retirer l'axe de la charnière supérieure.
- Retirer la porte des charnières et revisser l'axe supérieur dans la charnière supérieur.
- Inverser les embouts de porte comme suit :
Retirer la vis et l'embout du coin supérieur. Le déplacer en diagonale vers le coin inférieur opposé, en gardant le côté droit de l'embout face à la machine à glaçons.
Retirer la vis et l'embout du coin inférieur. Le déplacer en diagonale vers le coin supérieur opposé, en gardant le côte droit de l'embout face à la machine à glaçons.


A. Coin supérieur ouvert (pas d'embout)
B. Début de l'embout du coin supérieur
C. Début de l'embout du coin inférieur
D. Coin inférieur ouvert (pas d'embout)
- Mettre la porte de cote.
Inversion des charnières
- Dévisser et oter la charnière supérieure. Réinstaller les vis dans les troughs vides de charnière.
- Œter les vis du côté opposé inférieur de la caisse de la machine à glaçons. Inverser la charnière supérieure de telle sorte que l'axe pointe vers le haut. Placer la charnière du côté opposé inférieur de la machine à glaçons et serrer les vis.
- Enlever la douille de plastique de l'axe de la charnière de la "vieille" charnière inférieure et la replacer sur la nouvelle charnière inférieure.
- Œter les vis de la "vieille" charnère inférieure et la charnère. Réinstaller les vis dans les trouss vides de la charnère.
- Œter les vis du côté supérieur opposé de la caisse de la machine à glaçons. Inverser la charnière de telle sorte que l'axe pointe vers le bas. Placer la charnière du côté opposé supérieur de la machine à glaçons et serrer les vis.
- Œter l'axe de la charnière supérieure.
Réinstallation de la porte
- Placer la douille de plastique de la charnière dans le trou de la charnière supérieure sur la porte. Aligner la porte avec le trou de la charnière supérieure et réinstaller l'axe supérieur.
- Réinstaller la poignée et les vis de la poignée.
Charnière supérieure

A. Axe
B. Douille de l'axe de la charnière
C. Charnière
D. Vis de charnière à tête hexagonale
Charnière inférieure

A. Vis de charnière à tête hexagonale
B. Douille de l'axe de la charnière
C. Charnière
D. Axe
Inversion du loquet de porte
- Œter les bouchons de trough du côté opposé de la porte et lesmettre de côté.
- Œter les vis du loquet de porte magnétique et les réinstaller du côté opposé de la porte.


- Pousser les bouchons de trough en place du côté opposé de la porte.
AVERAGEMENT

Risque de chocolélectrique
Brancher sur une prise à 3 alveoles reliée à la terre.
Ne pas enlever la broche de liaison à la terre.
Ne pas utiliser un adaptorateur.
Ne pas utiliser un cable de rallonge.
Le non-respect de ces instructions peut cause un décès, un incendie ou un choc électrique.
- Brancher sur une prise à 3 alveoles reliée à la terre.
Sons normaux
Il est possible que votre nouvelle machine à glaçons émette des bruits qui ne vous sont pas familiers. comme ces bruits sont nouveaux, ils peuvent vous inquieter. La plupart de ces nouveaux bruits sont normaux. Des surfaces dures comme le plancher, les murs et les armoires peuvent faire parfaître les bruits plus forts qu'en réalisé. Les descriptions suivantes indiquent les genres de bruits qui peuvent être nouveaux pour vous et leur cause possible.
- Vous entendrez un bourdonnement lorsque le robinet d'eau s'ouvre pour replir le réservoir d'eau pour chaque programme.
Des vibrations sonores peuvent provenir de l'écoulement du réfrigérant, de la canalisation d'eau ou d'articles placés sur la machine à glaçons.
Le compresseur à haute efficacité peut produit un son aigu ou de pulsation.
L'eau coulant sur la plaque d'évaporation peut produit un son d'éclaboussement.
L'eau coulant de la plaque d'évaporation au réservoir d'eau peut produit un son d'éclaboussement.
- À la fin de chaque programme, vous pouvez entendre un gargouillagement attribuable au réfrigérant qui circule dans votre machine à glaçons.
- Vous pouvez entendre de l'air qui est transmis au condenseur par le ventilateur du condenseur.
Au cours du programme de récolte, vous pouvez entendre un bruit sourd lorsqu'la plaque de glace glisse de l'évaporateur sur la grille de coupe.
Lors de la mise en marche initiale de la machine à glaçons, il est possible que vous entendiez l'eau couler continuusement. La machine à glaçons est programmée pour effectuer un programme de rinçage avant de commencer à fabriquer de la glace.
UTILISATION DE LA MACHINE À GLAÇONS
Fonctionnement de la machine à glaçons
Lors de la mise en marche initiale de la machine à glaçons, le bac d'eau se replira et le système se rincera avant de commencer à fabriquer de la glace. Le rince prend environ cinq minutes.
Dans des conditions de fonctionnement normales, la machine à glaçons se mettra en marche à des températures prérgéées. Le détecteur de niveau de glace dans le bac à glaçons contrôle les niveaux de glace.
IMPORTANT :
Si l'alimentation en eau à la machine à glaçons est fermée, s'assurer que la commande de la machine à glaçons est à OFF (arrêt).
La machine à glaçons est conçue pour fabriquer de la glace transparente à partir de la majorité des sources d'eau sur une base quotidienne. Si les résultats sont insatisfaisants, il faudra peut-être filtrer ou Traitser l'eau.
Fabrication de la glace
- L'eau circule constamment sur un plateau de congélation. Tandis que l'eau gèle, les minéaux qu'elle contient sont expulsés. Il en résultat une plaque de glace à faible teneur en minéaux.

- Une fois qu'elle a atteint l'épaissur désirée, la plaque de glace se dégage et glisse dans une grille de coupe, où elle est tailée en glaçons.

- L'eau contenant les déchets mineraux est évacuée après chaque programme de congélation.
- De l'eau fraîche s'infiltré de nouveau dans la machine en vue du prochain programme de fabrication de glaçons.
- Les glaçons tombent dans le bac d'entreposage. La machine à glaçons s'arrête automatiquement des que le bac est plein, et elle se remet en marche lorsqu'il faut plus de glaçons. Le bac à glaçons n'est pas réfrigéré et la glace fondra un peu. Le degré de fonte dépend de la température de la pierce.

REMARQUE: Selon les variations de températures de la pièce et de l'eau, la quantité de glace produit et entreprises variera. Ceci signifie que les Températures de fonctionnement plus élevées donnent une production de glace réduite.
Utilisation des commandes
- Pour commencer la production de glaçons, appuyer ON.
- Pour arrêté la machine à glaçons, appuyer OFF.

ON/OFF

FAST ICE

SERVICE

CLEAN CYCLE
REMARQUES :
Le commutateur On/Off (marche/arrêt) n'arrête pas l'alimentation de la machine à glaçons.
Accorder un délié de 24 heures pour produit la première quantité de glaçons. Jeter la première quantité de glaçons produit.
Selectionner la caractéristique Fast Ice (glaçons rapides) quand vous avez un besoin prochain d'une grande quantité de glaçons et lorsque le bac à glaçons est peu rempli ou vide. La caractéristique Glaçons rapides produit une grande quantité de glaçons au cours d'une période de 24 heures.
Appuyer sur FAST ICE (glaçons rapides) lorsque la machine à glaçons est allumée. Le témoin lumineux s'allumera.
Appuyer sur FAST ICE (glaçons rapides) une fois de plus pour éteindre la caractéristique de glaçons rapides. Le tímoin lumineux s'eteindra.
Témoin Service
Le témoin Service indique si une visite de service est nécessaire. Si le témoin Service est allumé, éteindre puis remettre en marche la machine à glaçons. Si le témoin Service s'allume à nouveau, faire un appel de service.
Témoin indicateur de la nécessité d'un nettoyage
Le témoin indicateur de la nécessité d'un nettoyage vous aide à déterminer lorsqu'un nettoyage de la machine à glaçons est nécessaire. Le témoin lumineux passera du vert au jaune. Ceci indique qu'il est bientôt temps de nettoyer la machine à glaçons. On recommende de nettoyer la machine à glaçons lorsque le témoin lumineux passae au rouge OU lorsque la production de glaçons diminue de façon significative. Pour nettoyer la machine à glaçons, voir "Système de la machine à glaçons" dans la section "Nettoyage".
ENTRETIEN DE LA MACHINE À GLAÇONS
Nettoyage
Le système de fabrication des glaçons et le condenseur à air refroidi doivent être nettoyés régulièrement pour que la machine à glaçons puisse fonctionner au maximum de son efficacité et afin d'éviter une défaillance prématurée des composants du système. Voir les sections "Système de la machine à glaçons" et "Condenseur".
Surfaces extérieures
Laver les surfaces extérieures en émail et les joints étanches avec de l'eau chaude et un savon doux ou un détergent. Essuyer et secher. L'utilisation régulière d'un bon produit de nettoyage et de cire domestique aidera à protéger la finition. Ne pas utiliser de produits de nettoyage abrasifs sur les surfaces émaillées pour ne pas érafler la finition.
Pour les produits avec surface extérieure en acier inoxydable, utiliser une éponge ou un linge propre et un détergent doux avec de l'eau chaude. Ne pas utiliser de produits de nettoyage abrasifs ou rudes. Ne pas utiliser d'eau de Javel sur les surfaces en acier inoxydable.
Système de la machine à glaçons
Les minéaux rejetsés par la circulation de l'eau pendant la congestion finiront par former un dépôt dur dans le système. Nettoyer périodiquement le système de formation des glaçons aide à enlever les dépôts accumulés de minéaux. La fréquence des nettoyages sera en fonction de la durée de l'eau. Lorsque l'eau est dure (15 à 20 grains/gal. [4 à 5 grains/litre]), vous devrez faire des nettoyages probablement à tous les six mois.
REMARQUE : Utiliser une bouteille de 16 oz (473 mL) de produit de nettoyage approuvé pour la machine à glaçons. Pour le commander, composer le 1-800-442-9991 et demander le numéro de piece 4396808. Au Canada, composer le 1-800-807-6777.
- Éteindre la machine à glaçons.
- Attendre de 5 à 10 minutes que la glace tombe dans le bac d'entreposage. Retirer toute la glace du bac d'entreposage.
- Dévisser le capuchon de vidange du bas du bac à eau situé à l'intérieur du bac d'entreposage tel qu'illustré. Laisser l'eau se vidanger complètement.
- Réinstaller le capuchon de vidange solidement sur le bac à eau. Si le capuchon de vidange est desserré, l'eau s'écoulera du bac à eau et la glace sera mince ou il n'y aura pas de glace.
-
Lire et suivre toutes les instructions apparaissant sur la bouteille de produit de nettoyage avant de suivre les étapes suivantes. Utiliser une bouteille de 16 oz (473 mL) de produit de nettoyage approuve pour la machine à glaçons.
-
Verser une bouteille de cette solution dans le bac à eau. Remplir la bouteille à deux reprises avec de l'eau du robinet et verser le contenu dans le bac à eau.

A. Bac à eau
B. Vis à ailette du bac à eau
C. Capuchon de vidange
- Appuyer sans relâcher sur le bouton CLEAN (nettoyage). Voir "Utilisation des commandes". Levoyant clignote pour indiquer que le programme de nettoyage est en cours. Lorsque le voyant indicateur passé au vert (après 70 minutes environ), le programme de nettoyage est terminé. Pendant le programme de nettoyage, le système se nettoie et se rince.
- Lorsque le programme de nettoyage est terminé, retirer le capuchon de vidange du bac eau. Voir s'il reste de la solution de nettoyage dans le bac à eau. Si la solution de nettoyage se vidange du bac à eau, recommencer le programme de nettoyage. Veiller à réinstaller le capuchon de vidange solidement sur le bac à eau. Si le capuchon de vidange est desserré, l'eau s'écoulera du bac à eau et la glace sera mince ou il n'y aura pas de glace.
REMARQUE : Les accumulations importantes de calcaire pouraient nécessiter des nettoyages répétés avec une quantité fraîche de solution de nettoyage.
- Appuyer le bouton ON pour reprendre la production de glaçons.
Condenseur
Un condenseur sale ou bouché :
- Entrainée l'obstruction du flux d'air.
Réduit la capacité de production des glaçons. - Entraine des températures d'utilisation supérieures à celles reconnandes, ce qui pourrait entraîner des pannes.
AVERAGEMENT

Risque de chocolélectrique
Déconnecter la source de courant électrique avant le nettoyage.
Replacer pieces et panneaux avant de faire la remise en marche.
Le non-respect de ces instructions peut cause un décès ou un choc électrique.
- Débrancher la machine à glaçons ou déconnecter la source de courant électrique.
-
Retirer les deux vis du panneau d'accès inférieur et les deux vis de la grille de base du support du panneau avant.
-
Tirer le bas vers l'avant, puis tirer vers le bas pour retarder le panneau d'accès inférieur.

- Retirer la saleté et la charpie déposées sur les ailettes du condenseur et du logement de l'unité de condensation à l'aide de la Brosse d'un aspirateur.

- Remetre le panneau d'accès inférieur en place et le fixer à l'aide des quatre vis.
- Brancher la machine à glaçons ou reconnectcer la source de courant électrique.
Composants intérieurs
- Débrancher la machine à glaçons ou déconnecter la source de courant électrique.
- Ouvrir la porte où se trouve le bac à glaçons et-retirer tout glaçon qui s'y trouve.
- Retirer le capuchon de vidange du réservoir d'eau et vidanger ce dernier complètement. Réinstaller le capuchon de vidange solidement sur le bac à eau. Si le capuchon de vidange est desserré, l'eau s'écoulera du bac à eau et la glace sera mince ou il n'y aura pas de glace.
- Œter les deux vis qui maintainnent le couvercle de la grille de coupe en place et retarder le couvercle de la grille de coupe.
- Débrancher le faisceau de câblage du côté gauche de la grille de coupe.

A. Couvercle de la grille de coupe B. Vis
- Débrancher le détecteur de niveau de glaçons du côte droit de la grille de coupe. Tirer le détecteur de niveau vers le bas et vers l'avant pour l'éloigner de la grille de coupe.
- Retirer les vis de droite et de gauche. Soulever la grille de coupe et la sortir.
REMARQUE: Il faut s'assurer que la cale d'espacement en plastique du côté croit du support de la grille de coupe suit cette dernière.

A. Faisceau de la grille de
coupe
B. Vis
C.Grille de coupe
D. Faisceau du détecteur de niveau de glaçons
E. Cale d'espacement en plastique
F. Vis
- Retirer les deux vis à ailette qui maintainennent le bac à eau en place. Appuyer avec une main sur l'avant du bac tout en tirant vers l'avant sur le côte arrêté inférieur.

A. Bac à eau
B. Vis à ailette du bac à eau
C. Capuchon de vidange
- Retirer, nettoyer et réinstaller la pelle à glace et son support.
■Après avoir retire la pelle à glace, enlever le support en oitant les deux vis à ailette.
Laver le support de la pelle à glace avec les autres composants interieurs conformément aux instructions suivantes.
Réinstaller le support de la pelle à glace en réinstallant les vis à ailette.

A. Vis à ailette
B. Support de pelle à glace
- Laver les composants intérieurs (la grille de coupe, l'extérieur des tuyaux et le bac à eau), le bac d'entreposage des glaçons, le joint étanche de la porte, la pelle à glace et son support avec de l'eau tiège et un savon ou un détergent doux. Rincer avec de l'eau propre. Nettoyer ensuite ces mêmes composants à l'aide d'une solution compétant 1 cuillerée à soupe (15 mL) d'agent de blanchiment dans 1 gallon (3,8 L) d'eau tiège. Rincer à nouveau à fond avec de l'eau propre.
REMARQUE: Ne pas-retirer les tuyaux. Ne pas laver les composants en plastique au lave-vaiselle. Ces composants ne résistant pas à des températures supérieures à 145^ (63^)
-
Remetre le bac à eau en place en appuyant sur le fond avec une main tout en poussant vers le haut et vers l'arrête sur le dessus. Fixer le bac à eau en mettant les deux vis en place.
-
Faire les vérifications suivantes :
Le capuchon de vidange du bac à eau est solidement en place. Si le capuchon de vidange est desserré, l'eau s'écoulera du bac à eau et la glace sera mince ou il n'y aura pas de glace.
Le tuyau provenant du bac à eau est inséré dans l'ouverture de vidange du bac d'entreposage.
- Glisser la grille de coupe en place et la fixer en remettant la vis du côte droit et la cale d'espacement en plastique. Serrer ensuite la vis du côte gauche. Reconnectcer les faisceaux de la grille de coupe et du détecteur de niveau de glaçons.
- Réinstaller le couvercle de la grille de coupe et les deux vis.
- Nettoyer doucement le tableau de commande avec un torchon propre et doux, de l'eau tiède et du liquide vaisse l doux.
- Brancher la machine à glaçons ou reconnectcer la source de courant électrique.
- ÀpRES avoir nettoyé, s'assurer que toutes les commandes sont régliées correctement et qu'aucun des témoins lumineux ne clignote.
Précautions à prendre avant les vacances ou un déménagement
AVERAGEMENT

Risque de chocolélectrique
Déconnecter la source de courant électrique avant l'entretien.
Replacer pièces et panneaux avant de faire la remise en marche.
Le non-respect de ces instructions peut causeur un décès ou un choc électrique.
Arrêt de la machine à gaçons :
-
Débrancher la machine à glaçons ou déconnecter la source de courant électrique.
-
Enlever tous les glaçons du bac d'entreposage.
- Interrompre l'arrivée d'eau.
- Enlever les deux vis du panneau de l'ouverture d'accès inférieure et les deux vis de la grille de la base du support du panneau avant. Tirer vers l'avant pour enlever le panneau de l'ouverture d'accès inférieure.

- Déconnecter les canalisations d'entrée et de sortie sur le robinet. Laisser l'eau s'écouler des canalisations, puis reconnectcer les canalisations au robinet.
- Réinstaller le panneau de l'ouverture d'accès inférieure et les vis.
- Évacuer l'eau du bac à eau (óter le capuchon de vidange).
- Si la température de la pièce s'abaisse à moins de 32^ (0^) , évacuer toute eau restant dans le tuyau de vidange.
Machine à glaçons avec pompé de vidange :
- Brancher la machine à glaçons ou reconnectcer la source de courant électrique.
-
Arrête la machine à glaçons, et enlever tous les glaçons du bac à glaçons.
■ Verser 1 pinte (0,95 L) d'eau dans le réceptacle à glaçons près du drain de vidange, et attendre environ cinq minutes. Ceci permettra à l'eau de s'écouler depuis le réceptacle jusqu'à la pompe de vidange pour que la pompe puisse evacuer toute l'eau qui reste dans le bac à glaçons et dans la pompe.
Débrancher la machine à glaçons ou déconnecter la source de courant électrique. -
Avant d'utiliser l'appareil de nouveau, nettoyer la machine à glaçons et le bac à glaçons.
- Brancher la machine à glaçons dans une prise à 3 alveoles reliée à la terre.
REMARQUE : Tous les composants de la machine à glaçons ont reçu une lubrification permanente à l'usine. Aucune autre lubrification ne devrait être nécessaire durant la vie normale de la machine.
DEPANNAGE
Essayer d'abord les solutions suggerées ici afin d'éviter le coût d'une visite de service non nécessaire.
Fonctionnement de la machine à glaçons
La machine à glaçons ne fonctionne pas
A VERTISSEMENT

Risque de chic électrique
Brancher sur une prise à 3 alveoles reliée à la terre.
Ne pas enlever la broche de liaison à la terre.
Ne pas utiliser un adaptorateur.
Ne pas utiliser un cable de rallonge.
Le non-respect de ces instructions peut causeur un décès, un incendie ou un choc électrique.
Le cordon d'alimentation est-il branché? Brancher l'appareil sur une prise à 3 alveoles reliée à la terre.
La commande est-elle régée à ON (marche)? S'assurer que la commande est régée à ON (marche).
- Un fusible est-il grillé ou le disjoncteur s'est-il déclenché? Remplacer le fusible ou réenclencher le disjoncteur. Si le problème persiste, appeler un électricien.
La température de la pièce est-elle plus BASSE que d'habitude? La température de la pièce doit être supérieure à 55^ F ( 13^ C ). Sinon, le thermostat du bac peut détecter une température de la pièce BASSE et s'arrête même si le bac n'est pas plein de glaçons. Il est possible que la machine à glaçons ne puisse pas se remettre en marche une fois éteinte.
Le témoin vert s'allume-t-il lorsque le bouton Clean (nettoyage) est enforcé? La machine à glaçons est sous tension mais nécessite peut-être un nettoyage. Voir "Nettoyage".
La machine à glaçons compte-t-elle une pompe de vidange? Si une grande quantité d'eau a été ajoutée à la machine à glaçons, attendre quelques minutes pour que la pompe de vidange évacue l'eau. S'il y a de l'eau stagnante dans le bac, vérifier pour voir si le tuyau d'évacuation est déformé.
La machine à glaçons semble bruyante
- De l'eau circule-t-elle dans la machine à glaçons? Ceci est le fonctionnement normal. L'eau est ajoutée une fois par cycle de fabrication des glaçons.
L'eau dans le réservoir déborde-t-elle? Ceci est normal. Ce débordement aide à purger les mineraux éliminés de l'eau durant le processus de fabrication des glaçons.
Y a-t-il un bruit de "chuantement"? Vérifier ce qui suit :
S'assurer que l'alimentation en eau est correctement raccordée et ouverte.
Vérifier que le capuchon de vidange est serré et que la pompe de vidange est correctement fixée au bac à eau.
Y a-t-il de la glace entre la plaque de l'évaporateur et la grille de coupe? Vérifier que la machine à glaçons est d'aplomb. Voir "Nivellement". Si la machine à glaçons est d'aplomb mais que le problème persiste, effectuer un programme de nettoyage. Voir "Nettoyage".
Production de glaçons
La machine à glaçons fonctionne mais ne produit pas de glaçons
La commande est-elle régée à ON (marche)? S'assurer que la commande est régée à ON (marche).
L'alimentation en eau est-elle raccordée? S'assurer que l'alimentation en eau est correctement reliée et ouverte.
Le capuchon de vidange est-il bien en place? Si le capuchon de vidange est desserré, l'eau s'écoulera du bac à eau et la glace sera mince ou il n'y aura pas de glace. Resserrer le capuchon de vidange.
Y a-t-il des débris dans le tuyau de vidange? Nettoyer le tuyau de vidange.
Le conduit de vidange est-il déformé? Vérifier que le conduit de vidange n'est pas déformé.
Le témoin de service clignote-t-il en permanence? Faire un appel de service.
La machine à glaçons fonctionne mais produit très peu de glaçons
La caractéristique de production accélérée de glaçons est-elle allumée? Cette caractéristique augmente le taux de production de glaçons afin de fournir une plus grande quantité de glaçons dans un même délai. Voir “Utilisation des commandes.”
La température de la pierce est-elle plus élevée que d'habitude? Les températures supérieures à 90^ ( 32^ ) réduiront normalement la production de glaçons.
AVERAGEMENT

Risque de chocolélectrique
Déconnecter la source de courant électrique avant l'entretien.
Replacer pièces et panneaux avant de faire la remise en marche.
Le non-respect de ces instructions peut causeur un décès ou un choc électrique.
Le condenseur est-il sale? De la saleté ou de la charpie peuvent bloquer le débit d'air passant dans le condenseur. Voir "Condenseur" dans la section "Nettoyage".
Y a-t-il une accumulation de tartre dans la machine à glaçons? S'il y a une accumulation blanche de tartre dans le système d'eau ou de congélation de la machine à glaçons, il faut nettoyer l'appareil. Voir “Composants intéleurs” dans la section “Nettoyage”.
Le capuchon de vidange est-il bien en place? Si le capuchon de vidange est desserré, l'eau s'écoulera du bac à eau et la glace sera mince ou il n'y aura pas de glace. Resserrer le capuchon de vidange s'il est desserré.
La grille ne découpe pas les plaques de glace
La grille de coupe est-elle bien en place? Vérifier la fiche de câblage de la grille de coupe pour s'assurer que le raccordement est intact. Voir la section "Composants interieurs" de "Nettoyage" pour les instructions de dépose de la grille de coupe.
Qualité des glaçons
Gôut, odeur ou couleur grise des glaçons
Y a-t-il une teneur en mineraux anormalement élevé dans l'alimentation en eau? L'eau peut avoir besoin d'être filtrée ou traitée.
Y a-t-il une accumulation de tartre? Nettoyer la machine à glaçons. Voir "Système de la machine à glaçons" dans la section "Nettoyage".
Y a-t-il des alimentés dans le bac à glaçons? Ne pas conserver d'aliments dans le bac à glaçons.
Tous les matériaux d'emballage ont-ils ete enleves? S assurer que tous les matériaux d'emballage ont ete enleves au moment de l'installation.
Glaçons minces, mous ou agglomérés
Y a-t-il une teneur en mineraux anormalement élevé dans l'alimentation en eau? L'eau peut avoir besoin d'être filtrée ou traitée.
Y a-t-il une accumulation de tartre? Nettoyer la machine à glaçons. Voir "Système de la machine à glaçons" dans la section "Nettoyage".
- Les glaçons sont-ils agglomerés dans le bac? Si les glaçons ne sont pas utilisés régulièrement, ils fondent et forment un agglomerat. Rompre les agglomerats avec la pelle à glace fournie.
Problèmes de plomberie
AVERAGEMENT
Risque du poids excessif
Utiliser deux ou plus de personnes pour déplacer et installer la machine à gaçons.
Le non-respect de cette instruction peut cause une blessure au dos ou d'autre blessure.
Le tuyau de vidange est-il aligné au-dessus du drain de vidange? Déplacer la machine à gaçons pour qu'elle s'aligné avec le drain de vidange. Voir "Raccordement à la canalisation d'eau".
REMARQUE: Les techniciens de service ne peuvent pas réparer les problèmes de plomberie en dehors de la machine à glaçons. Appeler un plombier agréé et qualifié.
ASSISTANCE OUSERVICE
Avant de téléphoner pour assistance ou service, veuillez vérifier la section "Dépannage". Cette vérification peut vous faire économiser le coût d'une visite de réparation. Si vous ave encore besoin d'aide, suivre les instructions ci-dessous.
Lors d'un appel, veuillez connaitre la date d'achat et les numéross au complet de modèle et de série de votre apparéil. Ces renseignements nous aidont à mieux répondre à votre demande.
Si vous avez besoin de pieces de rechange
Si vous avez besoin de commander des pieces de rechange, nous vous recommendons d'utiliser seulement des pieces d'origine FSP®. Ces pieces conviendront bien et fonctionneront bien parce qu'elles sont fabriquées selon les mêmes specifications précises utilisées pour construire chaque nouvel apparéil WHIRLPOOL®.
Pour localiser des pieces de rechange FSP dans votre région, téléphoner au centre de service autorisé le plus-Proche.
Téléphoner sans frais au Centre d'eXéRIENCE à la clientèle de Whirlpool Canada LP au 1-800-807-6777.
Nos consultants fournissent l'assistance pour :
Procedés d'utilisation et d'entretien.
Vente d'accessoires et de pieces de rechange.
Références aux concessionnaires, compagnies de service de réparation et distributeurs de pieces de rechange locaux. Les techniciens de service désignés par Whirlpool Canada sont formés pourmplir la garantie des produits et fournir un service après la garantie, partout au Canada.
Pour plus d'assistance
Si vous avez besoin de plus d'assistance, vous pouvez écrire à Whirlpool Canada LP en soumettant toute question ou problème à :
Whirlpool Canada LP
Centre pour l'eXperience de la clientèle
200-6750 Century Ave.
Mississauga, Ontario L5N 0B7
Dans votre correspondance, veuillez indiquer un numero de téléphone où on peut vous joindre dans la journée.
Pendant un an à compter de la date d'achat, lorsque ce gros apparéil ménager est utilisé et entretenu conformément aux instructions jointes à ou fournies avec le produit, Whirlpool Corporation ou Whirlpool Canada LP (ci-après désignées “Whirlpool”) paiera pour les pieces spécifiées par l'usine et la main-d'oeuvre pour corriger les vices de matérielux ou de fabrication. Le service doit être fourni par uneompagnie de service designée par Whirlpool. Cette garantie limite est valide uniquement aux Etats-Unis ou au Canada et s'applique exclusivement lorsque l' apparéil est utilisé dans le pays ou il a été acheté. À l'extérieur du Canada et des 50 États des États-Unis, cette garantie limite ne s'applique pas. Une preuve de la date d'achat original est exigée pour obtenir un service dans le cadre de la presente garantie limitée.
ARTICLES EXCLUS DE LA GARANTIE
La presente garantie limite ne couvre pas :
- Les visites de service pour rectifier l'installation du gros apparéil menager, montré à l'utilisateur comment utiliser l' apparéil, remplaçer ou réparer des fusibles ou rectifier le câblage ou la plomberie du domicile.
- Les visites de service pour réparer ou remplaner les ampoules électriques de l'appareil, les filtres à air ou les filtres à eau. Les pièces consomptibles ne sont pas couvertes par la garantie.
- Les réparations lorsque le gros appeareil menager est utilise à des fins autres que l'usage unifamilial normal ou lorsque les instructions d'installation et/ou les instructions de l'opérateur ou de l'utilisateur fournies ne sont pas respectées.
- Les dommages imputables à : accident, modification, usage improupe ou abusif, incendie, inondation, actes de Dieu, installation fautive ou installation non conforme aux codes d'électricité ou de plomberie, ou l'utilisation de pieces consomptibles ou de produits nettoyants nonapprovés par Whirlpool.
- Les defaults apparents, notamment les éraflures, les bosses, fissures ou tout autre dommage au fini du gros apparil ménager, à moins que ces dommages soient dus à des vices de matérielux ou de fabrication et soient signalés à Whirlpool dans les 30 jours suivant la date d'achat.
- Toute perte d'aliments due à une défaillance du réfrigérateur ou du congélateur.
- Les coûts associés au transport du gros apparemil menager du domicile pour réparation. Ce gros apparemil menager est conçu pour être réparé à domicile et seul le service à domicile est couvert par la présente garantie.
- Les réparations aux pieces ou systèmes résultat d'une modification non autorisée faite à l'appareil.
- Les frais de transport pour le service d'un produit si vous gross appeareil est situé dans une région éloignée ou un service d'entretien Whirlpool autorisé n'est pas disponible.
- La dépose et la réinstallation de votre gros appareil si celui-ci est installé dans un endroit inaccessible ou n'est pas installé conformément aux instructions d'installation fournies.
- Les gros apparéils menagers dont les numérios de série et de modèle originaux ont été enlevés, modifiés ou qui ne peuvent pas été facilement identifiés. La présente garantie est nulle si le numéro de série d'usine a été modifié ou enlevé du gros apparéil ménager. Le coût d'une réparation ou d'un remplacement dans le cadre de ces circonstances exclues est à la charge du client.
CLAUSE D'EXONÉRATION DE RESPONSABILITÉ AU TITRE DES GARANTIES IMPLICITES; LIMITATION DES RE COURS
LE SEUL ET EXCLUSIF RECOURS DU CLIENT DANS LE CADRE DE LA PRESENTE GARANTIE LIMITÉE CONSISTE EN LA RÉPARATION PRÉVUE CI-DESSUS. LES GARANTS IMPLICITES, Y COMPRIS LES GARANTS APPLICABLES DE QUALITÉ MARCHANDE ET D'APTITUDE À UN USAGE PARTICULIER, SONT LIMITÉES À UN AN OU À LA PLUS COURTE PÉRIODE Autorisé PAR LA LOI. WHIRLPOOL N'ASSUME AUCUNE RESPONSABILITÉ POUR LES DOMMAGES FORTUIS OU INDIRECTS. CERTAINES JURIDICTIONS NE PERMETTENT PAS L'EXCLUSION OU LA LIMITATION DES DOMMAGES FORTUIS OU INDIRECTS, OU LES LIMITATIONS DE LA DUREE DES GARANTS IMPLICITES DE QUALITÉ MARCHANDE OU D'APTITUDE À UN USAGE PARTICULIER, DE SORTE QUE CES EXCLUSIONS OU LIMITATIONS PEUVENT NE PAS S'APPLIQUEUR DANS VOTRE CAS. CETTE GARANTIE VOUS CONFÉRÉ DES DROITS JURIDIQUES SPECIFIQUES ET VOUS POUVEZ ÉGÀLEMENT JOUIR D'AUTRES DROITS QUI PEUVENT VARIER D'UNE JURIDIRECTION À UNAUTRE.
Si vous résidez à l'extérieur du Canada et des 50 États des États-Unis, contactez votre marchand Whirlpool autorisé pour déterminer si une autre garantie s'applique.
Si you avez besoin de service, voir d'abord la section "Dépannage" du Guide d'utilisation et d'entretien. Apre s avoir verifie la section "Dépannage", de l'aide supplémentaire peut etre trouve en verifiant la section "Assistance ou service" ou en appelant Whirlpool. Aux E.-U., composer le 1-800-253-1301. Au Canada, composer le 1-800-807-6777. 2/09
Conserve ce manuel et votre reçu de vente ensemble pour réference ultérieure. Pour le service sous garantie, vous devezprésenter un document provuant la date d'achat ou d'installation.
Inscrivez les renseignements suivants au sujet de votre gros apparéil menager pour mistrés vous aidier à Obtir assistance ou service en cas de besoin. Vous devrez connaître le numéro de modulo et le numéro de série au complet. Vous trouvez ces renseignements sur la plaque signalétique située sur le produit.
Nom du marchand
Adresse
Numero de téléphone
Numero de modulo
Numéro de série
Date d'achat
Notice Facile