GI15NFLXS - Ice Maker BAUKNECHT - Free user manual and instructions
Find the device manual for free GI15NFLXS BAUKNECHT in PDF.
User questions about GI15NFLXS BAUKNECHT
0 question about this device. Answer the ones you know or ask your own.
Ask a new question about this device
Download the instructions for your Ice Maker in PDF format for free! Find your manual GI15NFLXS - BAUKNECHT and take your electronic device back in hand. On this page are published all the documents necessary for the use of your device. GI15NFLXS by BAUKNECHT.
USER MANUAL GI15NFLXS BAUKNECHT
For questions about features, operation/performance, parts, accessories or service, call: 1-800-253-1301.
In Canada, for assistance, installation or service call: 1-800-807-6777
or visit our website at... www.whirlpool.com or www.whirlpoolappliances.ca
MACHINE À GLAÇONS
Unpack the Ice Maker 3
Location Requirements 3
Electrical Requirements 4
Water Supply Requirements 4
Leveling 4
Connect Water Supply. 5
Drain Connection 5
Ice Maker Door. 6
Normal Sounds 8
ICE MAKER USE 8
How Your Ice Maker Works. 8
Using the Controls 8
ICE MAKER CARE. 9
Cleaning. 9
Vacation and Moving Care. 11
TROUBLESHOOTING 11
Ice Maker Operation. 11
Ice Production 12
Ice Quality. 12
Plumbing Problems 12
ASSISTANCE OR SERVICE 13
In the U.S.A. 13
In Canada 13
WARRANTY 14
TABLE DES MATIÈRES
SECURITE DE LA MACHINE A GLAÇONS 15
INSTRUCTIONS D'INSTALLATION 15
ASSISTANCE OU SERVICE 26
GARANTIE 27
ICE MAKER SAFETY
Your safety and the safety of others are very important.
We have provided many important safety messages in this manual and on your appliance. Always read and obey all safety messages.

This is the safety alert symbol.
This symbol alerts you to potential hazards that can kill or hurt you and others.
All safety messages will follow the safety alert symbol and either the word "DANGER" or "WARNING." These words mean:
DANGER
WARNING
You can be killed or seriously injured if you don't immediately follow instructions.
You can be killed or seriously injured if you don't follow instructions.
All safety messages will tell you what the potential hazard is, tell you how to reduce the chance of injury, and tell you what can happen if the instructions are not followed.
IMPORTANT SAFETY INSTRUCTIONS
WARNING: To reduce the risk of fire, electric shock, or injury when using your ice maker, follow these basic precautions:
Plug into a grounded 3 prong outlet.
Do not remove ground prong.
Do not use an adapter.
Do not use an extension cord.
- Disconnect power before cleaning.
- Disconnect power before servicing.
Replace all parts and panels before operating.
Use two or more people to move and install ice maker.
SAVE THESE INSTRUCTIONS
Unpack the Ice Maker
WARNING
Excessive Weight Hazard
Use two or more people to move and install ice maker.
Failure to do so can result in back or other injury.
Removing Packaging Materials
Remove tape and glue from your ice maker before using.
- To remove any remaining tape or glue from the exterior of the ice maker, rub the area briskly with your thumb. Tape or glue residue can also be easily removed by rubbing a small amount of liquid dish soap over the adhesive with your fingers. Wipe with warm water and dry.
- Do not use sharp instruments, rubbing alcohol, flammable fluids, or abrasive cleaners to remove tape or glue. Do not use chlorine bleach on the stainless steel surfaces of the ice maker. These products can damage the surface of your ice maker.
Cleaning Before Use
After you remove all of the packaging materials, clean the inside of your ice maker before using it. See the cleaning instructions in the "Ice Maker Care" section.
Location Requirements
To ensure proper ventilation for your ice maker, the front side must be completely unobstructed. The ice maker may be closed-in on the top and three sides, but the installation should allow the ice maker to be pulled forward for servicing if necessary.
■ Installation of the ice maker requires a cold water supply inlet of 14 " (6.35 mm) OD soft copper tubing with a shutoff valve and either a gravity-drain system or condensate pump to carry the water to an existing drain.
Choose a well ventilated area with temperatures above 55^ (13^) and below 110^ (43^) . Best results are obtained between 70^ (21^) and 90^ (32^) .
The ice maker must be installed in an area sheltered from the elements, such as wind, rain, water spray, or drip.
- When installing the ice maker under a counter, follow the recommended opening dimensions shown. Place electrical and plumbing fixtures in the recommended location as shown.
NOTES:
- Be sure the power supply cord is not pinched between the ice maker and the cabinet.
- Be sure the water supply line is not pinched between the ice maker and the cabinet.
- Be sure the drain line (on some models) is not pinched between the ice maker and the cabinet.

A. Recommended location for electrical and plumbing fixtures
B. Floor level
Choose a location where the floor is even. It is important for the ice maker to be level in order to work properly. If needed, you can adjust the height of the ice maker by changing the height of the leveling legs. See "Leveling."
Electrical Requirements
WARNING

Electrical Shock Hazard
Plug into a grounded 3 prong outlet.
Do not remove ground prong.
Do not use an adapter.
Do not use an extension cord.
Failure to follow these instructions can result in death, fire, or electrical shock.
Before you move your ice maker into its final location, it is important to make sure you have the proper electrical connection:
A 115 Volt, 60 Hz., AC only, 15- or 20-amp electrical supply, properly grounded in accordance with the National Electrical Code and local codes and ordinances, is required.
It is recommended that a separate circuit, serving only your ice maker, be provided. Use a receptacle which cannot be turned off by a switch or pull chain.
IMPORTANT: If this product is connected to a GFCI (Ground Fault Circuit Interruptions) equipped outlet, nuisance tripping of the power supply may occur, resulting in loss of cooling. Ice quality may be affected. If nuisance tripping has occurred, and if the condition of the ice appears poor, dispose of it.
Recommended grounding method
The ice maker must be grounded. The ice maker is equipped with a power supply cord having a 3 prong grounding plug. The cord must be plugged into a mating, 3 prong, grounding-type wall receptacle, grounded in accordance with the National Electrical Code and local codes and ordinances. If a mating wall receptacle is not available, it is the personal responsibility of the customer to have a properly grounded, 3 prong wall receptacle installed by a qualified electrician.
Water Supply Requirements
A cold water supply with water pressure of between 30 and 120 psi (207 and 827kPa ) is required to operate the ice maker. If you have questions about your water pressure, call a licensed, qualified plumber.
Reverse Osmosis Water Supply IMPORTANT:
- Reverse osmosis water filtration systems can be used only with ice maker installations that have a gravity drain. A reverse osmosis system is not recommended for ice makers that have a drain pump installed.
The pressure of the water supply coming out of a reverse osmosis system going to the water inlet valve of the ice maker needs to be between 30 and 120 psi (207 and 827 kPa).
If a reverse osmosis water filtration system is connected to your cold water supply, the water pressure to the reverse osmosis system needs to be a minimum of 40 to 60 psi (276 to 414kPa ).
NOTE: The reverse osmosis system must provide 1 gal. (3.8 L) of water per hour to the ice maker for proper ice maker operation. If a reverse osmosis system is desired, only a whole-house capacity reverse osmosis system, capable of maintaining the steady water supply required by the ice maker, is recommended. Faucet capacity reverse osmosis systems are not able to maintain the steady water supply required by the ice maker. If the water pressure to the reverse osmosis system is less than 40 to 60 psi (276 to 414 kPa):
- Check to see whether the sediment filter in the reverse osmosis system is blocked. Replace the filter if necessary.
- Allow the storage tank on the reverse osmosis system to refill after heavy usage.
If you have questions about your water pressure, call a licensed, qualified plumber.
Leveling
It is important for the ice maker to be level in order to work properly. Depending upon where you install the ice maker, you may need to make several adjustments to level it. You may also use the leveling legs to lower the height of the ice maker for undercover installations.
Tools needed:
Gather the required tools and parts before starting installation.
9" level
Adjustable wrench
NOTE: It is easier to adjust the leveling legs if you have another person to assist you.
- Move the ice maker to its final location.
NOTE: If this is a built-in installation, move the ice maker as close as possible to the final location.
- Place the level on top of the product to see if the ice maker is level from front to back and side to side.
- Push up on the top front of the ice maker, and then locate the leveling screws that are on the bottom front of the ice maker.
- Using an adjustable wrench, change the height of the legs as follows:
Turn the leveling leg to the right to lower that side of the ice maker.
Turn the leveling leg to the left to raise that side of the ice maker.
NOTE: The ice maker should not wobble. Use shims to add stability when needed.

- Push up on the top rear of the ice maker and locate the leveling legs that are on the bottom rear of the ice maker.
- Follow the instructions in Step 4 to change the height of the legs.
- Use the level to recheck the ice maker to see that it is even from front to back and side to side. If the ice maker is not level, repeat steps 2 to 5. If the ice maker is level, go to the "Connect Water Supply" section.
Connect Water Supply
Read all directions before you begin.
IMPORTANT:
Plumbing shall be installed in accordance with the International Plumbing Code and any local codes and ordinances.
Use copper tubing or Whirlpool supply line, Part Number 8212547RP, and check for leaks.
Install tubing only in areas where temperatures will remain above freezing.
Tools needed:
Gather the required tools and parts before starting installation.
Flat-blade screwdriver
7 / 16'' and 12'' open-end wrenches or two adjustable wrenches
1/4" nut driver
NOTE: Do not use a piercing-type or 3 16 (4.76 mm) saddle valve which reduces water flow and clogs more easily.
Connecting the Water Line
- Turn off main water supply. Turn on nearest faucet long enough to clear line of water.
- Using a 12 copper supply line with a quarter-turn shutoff valve or the equivalent, connect the ice maker as shown.
NOTE: To allow sufficient water flow to the ice maker a minimum 1/2 " size copper supply line is recommended.

A. Bulb
B.Nut
-
Now you are ready to connect the copper tubing. Use 14 " (6.35 mm) OD soft copper tubing for the cold water supply.
-
Ensure that you have the proper length needed for the job. Be sure both ends of the copper tubing are cut square.
- Slip compression sleeve and compression nut on copper tubing as shown. Insert end of tubing into outlet end squarely as far as it will go. Screw compression nut onto outlet end with adjustable wrench. Do not overtighten.

A. Compression sleeve
B. Compression nut
C. Copper tubing
- Place the free end of the tubing into a container or sink, and turn on main water supply and flush out tubing until water is clear. Turn off shutoff valve on the water pipe.
NOTE: Always drain the water line before making the final connection to the inlet of the water valve to avoid possible water valve malfunction.
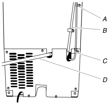
- Bend the copper tubing to meet the water line inlet which is located on the back of the ice maker cabinet as shown. Leave a coil of copper tubing to allow the ice maker to be pulled out of the cabinet or away from the wall for service.
REAR VIEW

A. Water supply tube clamp
B. Vent hose (drain pump models only)
C. Inlet water tube clamp and supply line connector
D. Drain hose (drain pump models only)
- Remove and discard the short, black plastic tube from the end of the water line inlet.
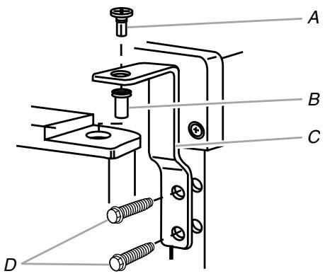
- Thread the nut onto the end of the tubing. Tighten the nut by hand. Then tighten it with a wrench two more turns. Do not overtighten.
NOTE: To avoid rattling, be sure the copper tubing does not touch the cabinet's side wall or other parts inside the cabinet.

A. Line to ice maker
B. Nut (purchased)
C. Ferrule (purchased)
D. Supplied line from ice maker
- Install the water supply tube clamp around the water supply line to reduce strain on the coupling.
- Turn shutoff valve ON.
- Check for leaks. Tighten any connections (including connections at the valve) or nuts that leak.
Drain Connection
Gravity Drain System
Connect the ice maker drain to your drain in accordance with all state and local codes and ordinances. If the ice maker is provided with a gravity drain system, follow these guidelines when installing drain lines. This will help keep water from flowing back into the ice maker storage bin and potentially flowing onto the floor causing water damage.
Drain lines must have a minimum of 5 % " (15.88 mm) inside diameter.
- Drain lines must have a 1'' drop per 48'' (2.54 cm drop per 122cm ) of run or 1/4'' drop per 12'' (6.35 mm per 30.48cm ) of run and must not have low points where water can settle.
The floor drains must be large enough to accommodate drainage from all drains.
- The ideal installation has a standpipe with a 1 12 (3.81 cm) to 2" (5.08 cm) PVC drain reducer installed directly below the outlet of the drain tube as shown. You must maintain a 1" (2.54 cm) air gap between the drain hose and the standpipe.
It may be desirable to insulate the drain line thoroughly up to the drain inlet.

SIDE VIEW
A. Drain hose
B. 1'' (2.54 cm) air gap
C. PVC drain reducer
D. Center of drain should be 23'' (58.4 cm) from front of door, with or without the 34 (1.91 cm) panel on the door. The drain should also be centered from left to right ( 756 [18.56 cm] from either side of the ice maker).
Drain Pump System (on some models)
Connect the ice maker drain to your drain in accordance with the International Plumbing Code and any local codes and ordinances.
NOTE: If the drain hose becomes twisted and water cannot drain, your ice maker will not work.
Connecting the Drain
After ensuring that the drain system is adequate, follow these steps to properly place the ice maker:
WARNING

Electrical Shock Hazard
Plug into a grounded 3 prong outlet.
Do not remove ground prong.
Do not use an adapter.
Do not use an extension cord.
Failure to follow these instructions can result in death, fire, or electrical shock.
- Plug into a grounded 3 prong outlet.
WARNING
Excessive Weight Hazard
Use two or more people to move and install ice maker.
Failure to do so can result in back or other injury.
- Style 1 - For gravity drain system, push the ice maker into position so that the ice maker drain tube is positioned over the PVC drain reducer. See "Gravity Drain System."
Style 2 - For drain pump system connect the drain pump outlet hose to the drain. See "Drain Pump System."
- Recheck the ice maker to be sure that it is level. See "Leveling."
- If it is required by your local sanitation code, seal the cabinet to the floor with an approved caulking compound after all water and electrical connections have been made.
Ice Maker Door
Tools needed:
Gather the required tools and parts before starting installation.
5 / 16 wrench
Flat putty knife
1/4" wrench
Phillips screwdriver

Hinge pin

5 / 16 " Hex head hinge screw

Handle screw

End cap screw
Remove door
- Unplug ice maker or disconnect power.
- Remove the handle screws and handle (on some models). Keep the parts together and set them aside.
- Remove the hinge pin from the top hinge.
- Remove the door from the hinges and screw the top hinge pin back into the top hinge.
-
Reverse the door end caps as follows:
-
Remove the screw and end cap from the top corner. Move it diagonally to the opposite side's bottom corner, keeping the straight side of the end cap facing the front of the ice maker.
- Remove the screw and end cap from the bottom corner. Move it diagonally to the opposite side's top corner, keeping the straight side of the end cap facing the front of the ice maker.

A. Top corner open (no end cap)
B. Beginning top corner end cap
C. Beginning bottom corner end cap
D. Bottom corner open (no end cap)
- Set the door aside.
Reverse Hinges
- Unscrew and remove the top hinge. Replace the screws in the empty hinge holes.
- Remove the screws from the bottom of the opposite side of the ice maker cabinet. Turn the top hinge upside down so that the hinge pin points up. Place the hinge on the bottom opposite side of the ice maker and tighten screws.
- Remove the plastic hinge pin sleeve from the "old" bottom hinge and replace it on the new bottom hinge pin.
- Remove the "old" bottom hinge screws and hinge. Replace the screws in the empty hinge holes.
- Remove the screws from the top of the opposite side of the ice maker cabinet. Turn the hinge upside down so that the hinge pin points down. Place the hinge on the top opposite side of the ice maker and tighten the screws.
- Remove the top hinge pin.
Replace Door
- Place plastic hinge pin sleeve in the top hinge hole on the door. Align the door with the top hinge hole and replace the top hinge pin.
- Replace the handle and handle screws.
Top Hinge

A. Hinge pin
B. Hinge pin sleeve
C. Hinge
D. Hex-head hinge screw
Bottom Hinge

A. Hex-head hinge screw
B. Hinge pin sleeve
C. Hinge
D. Hinge pin
Reverse Door Catch
- Remove the hole plugs from the opposite side of the door and set aside.
- Remove the screws from the magnetic door catch and replace it on the opposite side of the door.


- Push the hole plugs into place on the opposite side of the door.

- Plug into a grounded 3 prong outlet.
Normal Sounds
Your new ice maker may make sounds that are not familiar to you. Because the sounds are new to you, you might be concerned about them. Most of the new sounds are normal. Hard surfaces such as floors, walls and cabinets can make the sounds seem louder than they actually are. The following describes the kinds of sounds that might be new to you and what may be making them.
- You will hear a buzzing sound when the water valve opens to fill the water reservoir for each cycle.
Rattling noises may come from the flow of the refrigerant or the water line. Items stored on top of the ice maker can also make noises.
The high-efficiency compressor may make a pulsating or high pitched sound.
Water running over the evaporator plate may make a splashing sound.
Water running from the evaporator plate to the water reservoir may make a splashing sound.
As each cycle ends, you may hear a gurgling sound due to the refrigerant flowing in your ice maker.
You may hear air being forced over the condenser by the condenser fan.
During the harvest cycle, you may hear a "thud" when the ice sheet slides from the evaporator onto the cutter grid.
- When you first start the ice maker, you may hear water running continuously. The ice maker is programmed to run a rinse cycle before it begins to make ice.
ICE MAKER USE
How Your Ice Maker Works
When you first start your ice maker, the water pan will fill and the system will rinse itself before starting to make ice. The rinsing process takes about 5 minutes.
Under normal operating conditions, the ice maker will cycle at preset temperatures. The ice level sensor located in the ice storage bin will monitor the ice levels.
IMPORTANT:
If the water supply to the ice maker is turned off, be sure to set the ice maker control to OFF.
The ice maker is designed to make clear ice from the majority of water sources on a daily basis. If your results are unsatisfactory, your water may need to be filtered or treated.
The Ice Making Process
- Water is constantly circulated over a freezing plate. As the water freezes into ice, the minerals in the water are rejected. This produces a sheet of ice with a low mineral content.

- When the desired thickness is reached, the ice sheet is released and slides onto a cutter grid. The grid divides the sheet into individual cubes.

- The water containing the rejected minerals is drained after each freezing cycle.
-
Fresh water enters the machine for the next ice making cycle.
-
Cubes fall into the storage bin. When the bin is full, the ice maker shuts off automatically and restarts when more ice is needed. The ice bin is not refrigerated, and some melting will occur. The amount of melting varies with room temperature.

NOTE: As the room and water temperatures vary, so will the amount of ice produced and stored. This means that higher operating temperatures result in reduced ice production.
Using the Controls
- To start ice production, press ON.
- To stop ice maker operation, press OFF.




NOTES:
- Pressing the On/Off switch does not shut off power to the ice maker.
- Allow 24 hours to produce the first batch of ice. Discard the first batch produced.
Fast Ice Mode
Select the Fast Ice feature when you have an upcoming need for a large amount of ice and the ice bin is low or empty. The Fast Ice mode will produce a greater quantity of ice in a 24-hour period.
Press and hold FAST ICE while the ice maker is on. The indicator light will illuminate.
Press and hold FAST ICE again to turn off the Fast Ice feature. The indicator light will turn off.
Service Light
The service light indicates when service is needed. If the service light turns on, turn the ice maker off and back on. If the service light turns on again, call for service.
Cleaning Needed Status Light
The Cleaning Needed Status light will help you know when it is time to clean your ice maker. The light will change from green to yellow. This tells you it is almost time to clean your ice maker. It is recommended that you clean the ice maker when the status light changes to red OR ice production decreases significantly. To clean your ice maker, see "Ice Maker System" in the "Cleaning" section.
ICE MAKER CARE
Cleaning
The ice making system and the air cooled condenser need to be cleaned regularly for the ice maker to operate at peak efficiency and to avoid premature failure of system components. See the "Ice Maker System" and the "Condenser" sections.
Exterior Surfaces
Wash the exterior enamel surfaces and gaskets with warm water and mild soap or detergent. Wipe and dry. Regular use of a good household appliance cleaner and wax will help maintain the finish. Do not use abrasive cleaners on enamel surfaces as they may scratch the finish.
For products with a stainless steel exterior, use a clean sponge or soft cloth and a mild detergent in warm water. Do not use abrasive or harsh cleaners. Do not use chlorine bleach on stainless steel surfaces.
Ice Maker System
Minerals that are removed from water during the freezing cycle will eventually form a hard scaly deposit in the water system. Cleaning the system regularly helps remove the mineral scale buildup. How often you need to clean the system depends upon how hard your water is. With hard water of 15 to 20 grains/gal. (4 to 5 grains/liter), you may need to clean the system as often as every 6 months.
NOTE: Use one 16 oz (473 mL) bottle of approved ice maker cleaner. To order, call 1-800-442-9991 and ask for Part Number 4396808. In Canada, call 1-800-807-6777.
- Turn off the ice maker.
- Wait 5 to 10 minutes for the ice to fall into the storage bin. Remove all ice from the storage bin.
- Unscrew the drain cap from the bottom of the water pan located inside the storage bin as shown. Allow the water to drain completely.
- Replace the drain cap securely on the water pan. If the drain cap is loose, water will empty from the water pan and you will have either thin ice or no ice.
-
Read and follow all handling information on the cleaner bottle before completing the steps below. Use one 16 oz (473 mL) bottle of approved ice maker cleaner.
-
Pour one bottle of solution into the water pan. Fill the bottle twice with tap water and pour it into the water pan.

A. Water pan
B. Water pan thumb screws
C. Drain cap
- Press the CLEAN button. See "Using the Controls." The light will blink, indicating that the cleaning cycle is in process. When the indicator light turns green (approximately 70 minutes), the cleaning cycle is complete. During the cleaning cycle, the system will both clean and rinse itself.
- After the cleaning cycle is complete, remove the drain cap from the water pan. Look for any cleaning solution left in the water pan. If cleaning solution drains from the water pan, you should run the clean cycle again. Be sure to replace the drain cap securely on the water pan. If the drain cap is loose, water will empty from the water pan and you will have either thin ice or no ice.
NOTE: Severe scale buildup may require repeated cleaning with a fresh quantity of cleaning solution.
- Press the ON button to resume ice production.
Condenser
A dirty or clogged condenser:
Obstructs proper airflow.
Reduces ice making capacity.
Causes higher than recommended operating temperatures which may lead to component failure.
WARNING

Electrical Shock Hazard
Disconnect power before cleaning.
Replace all parts and panels before operating.
Failure to do so can result in death or electrical shock.
- Unplug ice maker or disconnect power.
-
Remove the two screws in the lower access panel and the two screws from the base grille area of the front panel support.
-
Pull the bottom forward and then pull down to remove the lower access panel.

- Remove dirt and lint from the condenser fins and the unit compartment with a brush attachment on a vacuum cleaner.

- Replace the lower access panel using the four screws.
- Plug in ice maker or reconnect power.
Interior Components
- Unplug ice maker or disconnect power.
- Open the storage bin door and remove any ice that is in the bin.
- Remove the drain cap from the water pan and drain thoroughly. Replace the drain cap securely on the water pan. If the drain cap is loose, water will empty from the water pan, and you will have either thin ice or no ice.
- Remove the two screws that hold the cutter grid cover in place and remove the cutter grid cover.
- Unplug the wiring harness from the left side of the cutter grid.

A. Cutter grid cover
B. Screws
- Unplug the ice level sensor from the right side of the cutter grid. Pull the ice level sensor down and forward away from the cutter grid.
- Remove the right-hand and left-hand screws. Lift the cutter grid up and out.
NOTE: Make sure the plastic spacer from the right-hand side of the cutter grid bracket stays with the cutter grid.

A. Cutter grid harness
B. Screw
C. Cutter grid
D. Ice level sensor harness
E. Plastic spacer
F. Screw
- Remove the two thumb screws that hold the water pan in place. Push down with one hand on the front of the pan while pulling forward on the bottom back side.

A. Water pan
B. Water pan thumb screws
C. Drain cap
- Remove, clean and replace the ice scoop and ice scoop holder.
After removing the ice scoop, remove the holder by removing the two thumb screws.
- Wash the ice scoop holder along with the other interior components using the following instructions.
- Replace the ice scoop holder by replacing the thumb screws.

A. Thumb screws
B. Ice scoop holder
- Wash the interior components (cutter grid, exterior of hoses, and water pan) and the storage bin, door gasket, ice scoop, and ice scoop holder with mild soap or detergent and warm water. Rinse in clean water. Then clean the same parts with a solution of 1 tbs (15mL) of household bleach in 1 gal. (3.8 L) warm water. Rinse again thoroughly in clean water.
NOTE: Do not remove hoses. Do not wash plastic parts in dishwasher. They cannot withstand temperatures above 145^ (63^) . - Replace water pan by pushing back on the bottom with one hand while pushing up and back on the top. Secure the water pan by replacing both screws.
-
Check the following:
-
Drain cap from the water pan is securely in place. If the drain cap is loose, water will empty from the water pan, and you will have either thin ice or no ice.
Hose from water pan is inserted into storage bin drain opening. -
Slide the cutter grid back into place and secure it by replacing the right-hand screw and plastic spacer. Then tighten the left-hand screw. Reconnect the cutter grid harness and the ice level sensor harness.
- Replace the plastic cutter grid cover and the two screws.
- Gently wipe the control panel with a soft, clean dishcloth using warm water and a mild liquid dish detergent.
- Plug in ice maker or reconnect power.
- After cleaning, make sure that all controls are set properly and that no control indicators are flashing.
WARNING

Electrical Shock Hazard
Disconnect power before servicing.
Replace all parts and panels before operating.
Failure to do so can result in death or electrical shock.
To shut down the ice maker:
- Unplug ice maker or disconnect power.
- Remove all ice from storage bin.
- Shut off the water supply.
- Remove the two screws in the lower access panel and the two screws from the base grille area of the front panel support. Pull forward to remove the lower access panel.

- Disconnect the inlet and outlet lines to water valve. Allow these lines to drain and then reconnect to the valve.
- Replace lower access panel and screws.
- Drain water from water pan by removing the drain cap.
- If the room temperature will drop below 32^ (0^) , water must be removed from the drain line.
For ice makers with a drain pump installed:
Plug in ice maker or reconnect power.
Turn ice maker off and remove all remaining ice from ice bin.
Pour 1 qt (0.95 L) of water into the ice bin near the drain and let the ice maker stand for approximately 5 minutes. This will allow the water in the bin to drain into the drain pump so that the pump will remove the remaining water from the ice bin and the drain pump.
Unplug ice maker or disconnect power.
-
Before using again, clean the ice maker and storage bin.
-
Plug into a grounded 3 prong outlet.
NOTE: All components of the ice maker are permanently lubricated at the factory. They should not require any additional oiling throughout the normal life of the machine.
TROUBLESHOOTING
Try the solutions suggested here first in order to avoid the cost of an unnecessary service call.
Ice Maker Operation
Your ice maker will not operate
WARNING

Electrical Shock Hazard
Plug into a grounded 3 prong outlet.
Do not remove ground prong.
Do not use an adapter.
Do not use an extension cord.
Failure to follow these instructions can result in death, fire, or electrical shock.
■ Is the power cord plugged in? Plug into a grounded 3 prong outlet.
■ Is the control set to ON? Be sure that the control is set to ON.
- Has a household fuse blown, or has a circuit breaker tripped? Replace the fuse or reset the circuit breaker. If the problem continues, call an electrician.
■ Is the room temperature cooler than normal? Room temperature must be above 55^ (13°C). Otherwise, bin thermostat may sense cold room temperature and shut off even though the bin is not full of ice. The ice maker may not restart once it does shut off.
- Does the green light come on when the Clean button is pushed? The ice maker is receiving power but may need cleaning. See "Cleaning."
- Does the ice maker have a drain pump? If there was a large amount of water added to the ice maker, wait a few minutes for the drain pump to clear. If there is still water in the bin, check to see whether the drain hose is kinked.
Ice maker seems noisy
■ Is water being circulated through the ice maker? This is normal operation. Water is added once per ice-making cycle.
Is the water in the reservoir overflowing? This is normal. This overflow helps to purge minerals that were removed from the water during the ice making process.
■ Is there a "whooshing" sound? Check the following things:
Make sure that the water supply is hooked up and turned on.
Make sure that the drain cap is tight and the water drain pan pump is securely attached to the water pan.
■ Is there ice between the evaporator plate and the cutting grid? Check that the ice maker is level. See "Leveling." If the ice maker is level, and the problem persists, run a cleaning cycle. See "Cleaning."
Ice Production
Ice maker runs but produces no ice
■ Is the control set to ON? Be sure that the control is set to ON.
■ Is the water supply connected? Make sure the water supply is properly connected and turned on.
■ Is the drain cap securely in place? If the drain cap is loose, water will empty from the water pan, and you will have either thin ice or no ice. Tighten the drain cap.
■ Is there debris in the drain tube? Clean the drain tube.
■ Is there a kink in the drain line? Be sure that there are no kinks in the line.
■ Is the service light flashing on and off continually? Call for service.
Ice maker runs but produces very little ice
■ Is the accelerated ice production feature turned on? This feature increases the ice production rate to provide you with more ice in the same amount of time. See “Using the Controls.”
■ Is the room temperature hotter than normal? Room temperatures of more than 90^ ( 32^ ) will normally reduce ice production.
WARNING

Electrical Shock Hazard
Disconnect power before servicing.
Replace all parts and panels before operating.
Failure to do so can result in death or electrical shock.
■ Is the condenser dirty? Dirt or lint may be blocking the airflow through the condenser. See "Condenser" in the "Cleaning" section.
■ Is there scale buildup in the ice maker? If there is white scale buildup in the ice maker's water or freezing system, you should clean the ice maker. See "Interior Components" in the "Cleaning" section.
■ Is the drain cap securely in place? If the drain cap is loose, water will empty from the water pan, and you will have either thin ice or no ice. Tighten the drain cap if it is loose.
Grid is not cutting ice sheets
■ Is the cutter grid securely in place? Check the cutter grid harness plug to make sure the connection is intact. See "Interior Components" section of "Cleaning" for instructions on cutter grid removal.
Ice Quality
Off taste, odor or gray color in the ice
Is there unusually high mineral content in the water supply? The water may need to be filtered or treated.
■ Is there mineral scale buildup? Clean your ice maker. See "Ice Maker System" in the "Cleaning" section.
Are there food items stored in the ice bin? Do not store any foods in the ice bin.
- Were all the packaging materials removed? Make sure that all packaging materials were removed at the time of installation.
Thin, soft or clumps of ice
Is there unusually high mineral content in the water supply? The water may need to be filtered or treated.
■ Is there mineral scale buildup? Clean your ice maker. See "Ice Maker System" in the "Cleaning" section.
Are there clumps of ice in the bin? If ice is not used regularly it will melt and form clumps. Break the clumps with the ice scoop provided.
Plumbing Problems
WARNING
Excessive Weight Hazard
Use two or more people to move and install ice maker.
Failure to do so can result in back or other injury.
■ Is the drain hose aligned over the drain? Move the ice maker to align the drain. See "Connect Water Supply."
NOTE: Service technicians cannot repair plumbing problems outside of the ice maker. Call a licensed, qualified plumber.
ASSISTANCE OR SERVICE
Before calling for assistance or service, please check
"Troubleshooting." It may save you the cost of a service call. If you still need help, follow the instructions below.
When calling, please know the purchase date and the complete model and serial number of your appliance. This information will help us to better respond to your request.
If you need replacement parts
If you need to order replacement parts, we recommend that you only use FSP® replacement parts. FSP® replacement parts will fit right and work right, because they are made with the same precision used to build every new WHIRLPOOL® appliance.
To locate FSP® replacement parts in your area, call our Customer eXperience Center telephone number or your nearest designated service center.
In the U.S.A.
Call the Customer eXperience Center toll free: 1-800-253-1301.
Our consultants provide assistance with:
Features and specifications on our full line of appliances.
Installation information.
Use and maintenance procedures.
■ Accessory and repair parts sales.
Specialized customer assistance (Spanish speaking, hearing impaired, limited vision, etc.).
- Referrals to local dealers, repair parts distributors, and service companies. Whirlpool designated service technicians are trained to fulfill the product warranty and provide after-warranty service, anywhere in the United States.
To locate the Whirlpool designated service company in your area, you can also look in your telephone directory Yellow Pages.
For further assistance
If you need further assistance, you can write to Whirlpool
Corporation with any questions or concerns at:
Whirlpool Brand Home Appliances
Customer eXperience Center
553 Benson Road
Benton Harbor, MI 49022-2692
Please include a daytime phone number in your correspondence.
In Canada
Call the Whirlpool Canada LP Customer eXperience Centre toll free: 1-800-807-6777.
Our consultants provide assistance with:
Use and maintenance procedures.
■ Accessory and repair parts sales.
- Referrals to local dealers, repair parts distributors, and services companies. Whirlpool Canada designated service technicians are trained to fulfill the product warranty and provide after-warranty service, anywhere in Canada.
For further assistance
If you need further assistance, you can write to Whirlpool
Canada LP with any questions or concerns at:
Whirlpool Canada LP
Customer eXperience Centre
200-6750 Century Ave.
Mississauga, Ontario L5N 0B7
Please include a daytime phone number in your correspondence.
WHIRLPOOL CORPORATION MAJOR APPLIANCE WARRANTY
LIMITED WARRANTY
For one year from the date of purchase, when this major appliance is operated and maintained according to instructions attached to or furnished with the product, Whirlpool Corporation or Whirlpool Canada LP (hereafter "Whirlpool") will pay for Factory Specified Parts and repair labor to correct defects in materials or workmanship. Service must be provided by a Whirlpool designated service company. This limited warranty is valid only in the United States or Canada and applies only when the major appliance is used in the country in which it was purchased. Outside the 50 United States and Canada, this limited warranty does not apply. Proof of original purchase date is required to obtain service under this limited warranty.
ITEMS EXCUSED FROM WARRANTY
This limited warranty does not cover:
- Service calls to correct the installation of your major appliance, to instruct you on how to use your major appliance, to replace or repair house fuses, or to correct house wiring or plumbing.
- Service calls to repair or replace appliance light bulbs, air filters or water filters. Consumable parts are excluded from warranty coverage.
- Repairs when your major appliance is used for other than normal, single-family household use or when it is used in a manner that is contrary to published user or operator instructions and/or installation instructions.
- Damage resulting from accident, alteration, misuse, abuse, fire, flood, acts of God, improper installation, installation not in accordance with electrical or plumbing codes, or use of consumables or cleaning products not approved by Whirlpool.
- Cosmetic damage, including scratches, dents, chips or other damage to the finish of your major appliance, unless such damage results from defects in materials or workmanship and is reported to Whirlpool within 30 days from the date of purchase.
- Any food loss due to refrigerator or freezer product failures.
- Costs associated with the removal from your home of your major appliance for repairs. This major appliance is designed to be repaired in the home and only in-home service is covered by this warranty.
- Repairs to parts or systems resulting from unauthorized modifications made to the appliance.
- Expenses for travel and transportation for product service if your major appliance is located in a remote area where service by an authorized Whirlpool servicer is not available.
- The removal and reinstallation of your major appliance if it is installed in an inaccessible location or is not installed in accordance with published installation instructions.
- Major appliances with original model/serial numbers that have been removed, altered or cannot be easily determined. This warranty is void if the factory applied serial number has been altered or removed from your major appliance.
The cost of repair or replacement under these excluded circumstances shall be borne by the customer.
DISCLAIMER OF IMPLIED WARRANTY; LIMITATION OF REMEDIES
CUSTOMER'S SOLE AND EXCLUSIVE REMEDY UNDER THIS LIMITED WARRANTY SHALL BE PRODUCT REPAIR AS PROVIDED HEREIN. IMPLIED WARRANTYES, INCLUDING WARRANTYES OF MERCHANTIBILITY OR FITNESS FOR A PARTICULAR PURPOSE, ARE LIMITED TO ONE YEAR OR THE SHORTEST PERIOD ALLOWED BY LAW. WHIRLPOOL SHALL NOT BE LIABLE FOR INCIDENTAL OR CONSEQUENTIAL DAMAGES. SOME STATES AND PROVINCES DO NOT ALLOW THE EXCLUSION OR LIMITATION OF INCIDENTAL OR CONSEQUENTIAL DAMAGES, OR LIMITATIONS ON THE DURATION OF IMPLIED WARRANTYES OF MERCHANTABILITY OR FITNESS, SO THESE EXCLUSIONS OR LIMITATIONS MAY NOT APPLY TO YOU. THIS WARRANTY GIVES YOU SPECIFIC LEGAL RIGHTS, AND YOU MAY ALSO HAVE OTHER RIGHTS WHICH VARY FROM STATE TO STATE OR PROVINCE TO PROVINCE.
If outside the 50 United States and Canada, contact your authorized Whirlpool dealer to determine if another warranty applies.
If you need service, first see the "Troubleshooting" section of the Use & Care Guide. After checking "Troubleshooting," you may find additional help by checking the "Assistance or Service" section or by calling Whirlpool. In the U.S.A., call 1-800-253-1301. In Canada, call 1-800-807-6777.
Keep this book and your sales slip together for future reference. You must provide proof of purchase or installation date for in-warranty service.
Write down the following information about your major appliance to better help you obtain assistance or service if you ever need it. You will need to know your complete model number and serial number. You can find this information on the model and serial number label located on the product.
Dealer name.
Address
Phone number
Model number
Serial number
Purchase date
EasyManual