390401 CHAUFFETTE - Chauffage GODIN - Notice d'utilisation et mode d'emploi gratuit
Retrouvez gratuitement la notice de l'appareil 390401 CHAUFFETTE GODIN au format PDF.
| Intitulé | Description |
|---|---|
| Type de produit | Chauffette |
| Caractéristiques techniques principales | Chauffage d'appoint à gaz |
| Alimentation | Gaz butane ou propane |
| Dimensions approximatives | Hauteur : 60 cm, Largeur : 40 cm, Profondeur : 30 cm |
| Poids | Environ 15 kg |
| Puissance | 3,5 kW |
| Fonctions principales | Chauffage rapide, réglage de la température |
| Entretien et nettoyage | Nettoyage régulier des grilles et vérification des connexions de gaz |
| Pièces détachées et réparabilité | Disponibilité de pièces détachées auprès du fabricant |
| Sécurité | Équipé d'un système de sécurité anti-basculement et d'une valve de sécurité |
| Informations générales | Idéal pour les espaces extérieurs et les petits espaces intérieurs bien ventilés |
FOIRE AUX QUESTIONS - 390401 CHAUFFETTE GODIN
Téléchargez la notice de votre Chauffage au format PDF gratuitement ! Retrouvez votre notice 390401 CHAUFFETTE - GODIN et reprennez votre appareil électronique en main. Sur cette page sont publiés tous les documents nécessaires à l'utilisation de votre appareil 390401 CHAUFFETTE de la marque GODIN.
MODE D'EMPLOI 390401 CHAUFFETTE GODIN
depuis 1840 chaque jour un peu plus…

RADIATEUR A GAZ
" LA CHAUFFETTE "
RéF. 390 401
CHARACTERISTIQUES GENÉRALES


Encombrement : voir figures
- Diamètre de buse : 111 mm extérieur - Ø 97/100 interieur.
- Départ des fumées : à l'arrête.
- vertical par coude en fonte
- horizontal par buse droite
- Grande vitre à vision panoramaque.
- Habillage en fonte.
- Allumage piezo.
- Sécurité par thermocouple.
-Thermostat "modulant"
- Buches céramiques

| GAZ UTILISÉ | PRESSION mbar | INJECTEUR | DéBIT NOMINAL | DéBIT RÉDUIT | PUISSANCE TOTALE | PUISSANCE UTILE | ||
| Entrée | Brûleur | Ralenti | mm | Uh | Uh | KW | KW | |
| Gaz naturel G 20 | 20 | 17,5 | 2 | 7 x 0,75 | 570 | 170 | 5,4 | 4,5 |
| Gaz naturel G 25 | 25 | 22,5 | 2,5 | 7 x 0,75 | 605 | 180 | 5,3 | 4,4 |
| Gaz propane | 37 | 36 | 3 | 1,2 | 220 | 65 | 5,4 | 4,5 |
INSTALLATION
La mise en place de l'appareil, le raccordement au conduit de fumée, le branchement sur le gaz ou éventuellesment un changement de gaz ou même un réglage, doivent être réalisés par un spécialiste qualifié.
Les règles de l'art doivent être scrupuleusement respectées, notamment :
-
Les brasures placées sur le tuyau d'alimentation de gaz doivent être du type "brasures fortes" (point de fusion supérieur à 450^ C).
-
L'aération du local doit être suffisante pour alimenter correctement l'appareil.
Le conduit de fumée doit assurer une bonne évacuation des produits de la combustion. - Le raccordement doit être réalisé de façon rigide, ou à l'aide d'un tuyau flexible agréé.
- Une vanne d'arrêt doit être placée sur la conduite gaz, pres de l'appareil.
NOTA : respecter impératifement les prescriptions du DTU 61-1 (pour le France).
- Débit d'air nécessaire à la combustion: 20 m³/h.
- L'installation doit toujours répondre à la législation en vigueur du pays où cette-ci est réalisée.
RECOMMANDATIONS
- L'appareil doit obligatoirement etre raccorde a un conduit d'évacuation.
- Utiliser un tuyau neuf.
- En employerer la plus petite longueur possible .
- Eviter les changements de direction du tuyau et veiller à ce que le parcours soit aussi vertical que possible .
- Ne jamais placer de clé de réglage sur l'évacuation.
- Ne pas raccorder l'appareil à un conduit desservant un autre apparéil.
- Pour le raccordement du gaz, utiliser un tuyau de 12mm de diamètre.
IMPORTANT :
- Ne jamais faire fonctionner l'appareil si une vitre est felled, la replacer avant la mise en service.
- Si le mur arrêté est constitué de matérieliau combustible, il est nécessaire de le protégger avec une tôle de 60~cm× 60 cm minimum sur laquelle on aura percé au milieu un trou pour le passage de la buse.
RECOMMANDATIONS
L'appareil est muni d'un détector d'anomalies de tirage qui met le brûleur en sécurité si les produits de combustion ne sont pas totalement evacués. Une défaillance du conduit de cheminée entraine l'arrêt du brûleur et de la veilleuse.
En cas de mise en sécurité, il convient d'attendre 30 minutes au moins avant de pouvoir remettre l'appareil en marche. Si le phénomène se produit trop souvent, it est nécessaire de prévenir votre installerateur.
Les bùches en céramiques doivent être placées comme indique sur le shéma ci-contre.
La plus grosse bùche doit être appliquée sur l'arrière du foyer, la bùche avant sur les supports et les deux petites bùches doivent être placées dans les échécrures prévues.

PARTIE RÉSERVÉE À L'UTILISATEUR
Votre installateur doit metrevee suaappeil " en service " et s'assurer du bon fonctionnement de celui-ci.
N'hésitez pas à lui demander toutes informations dont vous aurez besoin. Ses conseils pour la conduite de votre apparéil vous sont indispensablees.
FONCTIONNEMENT
Les apparéils sont t'équipés d'un bloc gaz combiné, regroupant les 3 fonctions suivantes :
- Allumage (piezo électrique).
- Régulation thermostatique : adaptation de l'allure selon la température.
- Sécurité par thermocouple : coupure de l'arrêté de gaz en cas d'absence de flamme.
Le thermostat regle automatiquement le débit du gaz au brûleur selon la température désirée.
Les marques de 1 à 7 figurant sur la manette sont des repères. A l'aide d'un thermomètre placé dans la piece, il est facile de déterminer le repère qui donne la température désirée.
Après un certain temps d'utilisation, la correspondance entre les positions de la manette et les températures obtenues sera acquise.
Si la température extérieure venait à s'élever, le thermostat arrêtait l'alimentation en gaz au brûleur et seule la veilleuse resterait allumée.
ALLUMAGE
- Ouvrir le robinet d'arrêt place sur la conduite de gaz
- Tournez la manette d'allumage légèrement vers la gauche et vers la droite par intermittence. Lâcher lorsque la veilleuse est allumée, puis placer l'index en regard de la grande flamme.
REMARQUE : Lors de l'allumage et notamment si la cheminée est froide, il peut s'écouler un peu d'eau de condensation par le coupe tirage. Ne pas s'inquieter, le phénomène s'arrête en quelques minutes.
IMPORTANT: En cas d'extinction-accidentelle du brûleur, attendre 5 minutes avant de reprendre les manoeuvres d'allumage.
EXTINCTION

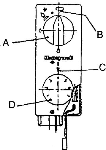
ORGANES DE COMMANDER VANNE HONEYWELL
A:manette d'allumage et arrêt
B:point d'arret
C : index
D:manette de thermostat
Ramener la manette d'allumage au point d'arrêt. En cas d'arrêt prolongé, il est recommandé de fermer la vanne située sur la tuyauterie d'alimentation gaz.
Cet apparéil compte des zones chaudes, éloigner les jeunes enfants et les personnes agées.
IMPORTANT : Si vous estimez que le bruleur réduit trop rapidement son allure, il est possible de placer l'élement sensible du thermostat le long du mur fixé à 15 cm du sol environ, ou le fixer sur le tuyau d'alimentation du gaz.

| Repère | Désignation | codification |
| 1 | 390101_F_tampon ordinaire (préciser peinte ou émaillée) | 114523901010.. |
| 2 | 390101_F_couvercle (préciser peinte ou émaillée) | 112013901010.. |
| 3 | AA_brûleur assembler | 15101390401097 |
| 4 | AA écrou borgne 6 ZN noir | 00001304467 |
| 6 | 390401_T_déflecteur | 10131390401053 |
| 7 | AA_bout fileté D6_1g_340 | 00001307429 |
| 8 | 390401_F dessus foyer | 11112390401053 |
| 9 | 3423_F_demi-buse coudée gauche | 14018342353 |
| 10 | 3423_F_demi-buse coudée droite | 14017342353 |
| 11 | AA vis TH_8x20_ZN_noir | 00001301145 |
| 12 | 390101_F_colonne (préciser peinte ou laitonnée) | 126013901010.. |
| 13 | 390101_F_coté gauche (préciser peinte ou émaillée) | 123053901010.. |
| 14 | 390101_F_coté droit (préciser peinte ou émaillée) | 123013901010.. |
| 15 | AA_rivet acier TR_6x30_noir | 00001301998 |
| 16 | AA.vis TM_27_B | 00001301165 |
| 18 | 390101_AF_ficelle céramique portefoyer | 18855390101000 |
| 19 | 390101_F_porte foyer (préciser peinte ou émaillée) | 128613901010.. |
| 20 | AA_ecrou HM 10/N noir | 00001305036 |
| 21 | 3730_F_valve relage air (préciser peinte ou émaillée) | 141363730.. |
| 22 | AA.vis TH_10x55_55 ZN noir | 00001305244 |
| 23 | AA_rondelle_6.5X24X1.2 | 00001301704 |
| 24 | 3423_F_boîte à fumée | 14301342353 |
| 25 | 3423_F_buse_ronde | 14312342353 |
| 26 | 390101_F_façade (préciser peinte ou émaillée) | 121013901010.. |
| 27 | 390101_AF_ficelle céramique tressée façade | 18836390101000 |
| 28 | AA_verse_393xH209xh184_EP5.arrondi | 00001307139 |
| 29 | 3152_T_fixe vitre | 12071315218 |
| 30 | AA.vis TF_5x20 | 00001305964 |
| 31 | 390401_F_support bûche | 10119390401053 |
| 32 | 390101_F_chenet | 10306390101053 |
| 33 | AA_bûches céramique_3468_small | 00001307049 |
| 34 | 390101_F_socle (préciser peinte ou émaillée) | 122153901010.. |
| 35 | AA_ecrou_6_pans_5_zn_noir | 00001305950 |
| 36 | AA_rondelle de fer_6,5x24x1,2 | 00001301704 |
| 37 | 390101_F_pieds (préciser peinte ou émaillée) | 122083901010.. |
| 38 | 390401_F_delrière | 12401390401053 |
| 39 | 390101_F dessus (préciser peint ou émaillée) | 11101390101... |

| Repère | Désignation | codification |
| 40 | 3423 AF tube alimentation veilleuse 1g | 15290342300 |
| 41 | 3444 AF tube alimentation vanne thermostat | 15297344400 |
| 42 | 390401 AF gaine de thermostat | 18863390401000 |
| 43 | 390401 AF tube alimentation brûleur long | 15289390401000 |
| 44 | 390401 AF tube armco D8_1g10 | 13868390401000 |
| 45 | 390401 AF tube armco D8_1g25,5 | 13869390401000 |
| 46 | 390401 bague air brûleur (pour GN uniquement) | 15145390401000 |
| 47 | 390401 T déflecteur de brûleur | 15032390401021 |
| 48 | 390401 T support brûleur | 15136390401053 |
| 49 | AA brûleur de four gaz souveraine | 00001306819 |
| 51 | AA écrou carré brut M5 | 00001300269 |
| 52 | AA écrou rapid nut 0955 M5(ep_1) | 00001304496 |
| 53 | AA fil N°24 15,5 gris 1g300mm(dérivation) | 00001306357 |
| 54 | AA fil N°24 15,5 gris 1g300mm (thermostat) | 00001306357 |
| 55 | AA injecteur coude 1,2mm_GP_pour_chauffette | 00001307458 |
| AA injecteur coude 7x75mm_GN_pour_chauffette | 00001307457 | |
| 56 | AA écrou bas laiton 1/8G | 00001305039 |
| 57 | AA écrou mazout M_4697 | 00001305049 |
| 58 | AA raccord olive 8 | 00001306184 |
| 59 | AA vanne gaz_REF V5474J1049B | 00001306234 |
| 60 | AA capot vanne ref 45900401038B | 00001306007 |
| 61 | AA dérivation ref 45900404006b | 00001306023 |
| 62 | AA olive 12mm ref 45900402013 | 00001306009 |
| 63 | AA raccord 12mm ref 45900402013 | 00001306008 |
| 64 | AA raccord compression 6mm | 00001306010 |
| 65 | AA raccord laiton N°61 3/8 8 | 00001306135 |
| 66 | AA thermostat DAT chauffage | 00001305918 |
| 67 | AA veilleuse 2 flammes | 00001306696 |
| 68 | AA bicone D6 ref 09580 | 00001305505 |
| 69 | AA injecteur veilleuse GN ref 0977.106 | 00001305497 |
| AA injecteur veilleuse GP 0977.106 | 00001305498 | |
| 70 | AA raccord bicone D6 ref 09580 | 00001305504 |
| 71 | AA thermocouple 1g 750 | 00001306011 |
| 72 | AA vis TRL 4x50 pozie_zn noir | 00001305729 |
| 73 | AA vis TRL 7x9.5 pozie_ZN | 00001301231 |
| 74 | AA TRL M5x16 pozie noir | 00001305477 |
| 75 | 3417 T support de DAT | 14034341700 |
RAMONAGE - ENTRETIEN
Nous rappelons que cette opération doit être effectuee par un spécialiste au moins une fois par an. Le bon fonctionnement de I'allumage, de la veilleuse, et I'alumage du bruleur dans toutes les allures doivent etre verifiés.
Pour éviter tout désagrement durant la saison de chauffe, il est vivement recommandé de réaliser cette opération durant l'été.
PIÉCES DE REMPLACEMENT
Si après de longues années le remplacement de certaines pieces s'avere nécessaire ; adressez-vous a voted FOURNISSEUR ou a tout autre PROFESSIONNEL DETENTEUR DE NOTRE MARQUE.
Precisez-lui les indications portées sur la PLAQUE SIGNALÉTIQUE, celle-ci est placée à l'INTÉRIEUR DU PANNEAU INFÉRIEUR DE FAÇADE ou, à défaut, sur le BON DE GARANTIE, à conserver impératifement même après la date de péremption.
En possession des nomenclatures et de toute la documentation technique relative à notre fabrication, celui-ci sera en mesure de vous fournirrapidement toutpece de remplacement et proceder aux réparations nécessaires.
Ne jamais utiliser de pieces de remplacement qui n'aurait pas eté fournies par la Societe GODIN.
Ne jamais apporter de modifications à l'appareil sans autorisation.
RESPONSABILITÉ
Nous vous rappelons que la responsabilité du constructeur se limite au produit tel qu'il est commercialisé et que l'installation et la mise en service sont sous la responsabilité entière de l'installateur qui devra intervenir selon les règles de l'art et suivant la prescription et la notice.
Afin d'améliorer constamment la qualité de ses produits, la Société GODIN S.A. se réserve le droit de modifier ses apparèils sans préavis.

GARANTIE CONTRATULELLE GODIN

Tous nos apparèils bénéficient d'une garantie de 2 ans (sauf insert bois - foyer fermés bois) contre tout défaut à compter de leur date de vente aux utilisateurs, dans les limites du respect des conditions d'installation, d'utilisation, et d'entretien spécifique sur la notice livrée avec l' apparèil. A l'exclusion des pieces en contact direct avec les températures importantes pouvant subir des déformations suite à des phénomènes d'usure qui sont garanties 1 an en échange standard, telles que :
- les plaques decor, les plaques de cots, les grilles et soles foyeres,
- les deflecteurs, les chicanes, les clapets, les chenets, le cendrier,
- les briques réfractaires,
- les mécanismes d'articulation, (Charnières de porte four des cuisinières, poignées, etc...)
- les ventilateurs, les thermostats de surchauffe de nos apparciels équipés d'une soufflierie,
- les organes de contrôle de températures, thermostats de four, résistances, ventilateurs chaleur tournante des cuisinières gaz électricité,
- les brûleurs, les catalyseurs, les anneaux de brûleur des apparéils fioul,
- les bouilleurs des cusicentrals bois charbon.
Nos apparéils sont conçus spécialément pour que ces pieces puissant être replacées dans le cadre de l'entretien de leur apparéil.
Certaines pieces bénéficient d'une garantie de durée supérieure :
3 ans sur le corps de chauffe en fonte ou en acier de nos chaudières de chauffage central.
Les inserts bois (foyer fermé bois) bénéficient d'une garantie de 5 ans (Corps de chauffe de l'appareil uniquement, à l'exclusion des pieces en contact direct avec les températures importantes et soumises à usure enumeratedes ci-dessus qui sont garanties 1 an).
Notre garantie se limite à l'échange de l'élément reconnu défectueux par notre service après vente.
Elle exclut toute indemnité, dommages et intérêts, frais de main-d'oeuvre et transport.
Au cas ou la réparation ou l'échange s'avérait trop onéreux par rapport au prix de l'appareil, la décision de changer ou de réparer l'appareil, apparient seule au service après vente.
Ne sont pas couvert par la garantie : LES VITRES DE NOS APPAREILS
En effet, en ce qui concerne les vitres vitrocéramiques, ces dernières peuvent résistées à des chocs thermiques de l'ordre de 750^ . Les éventuelles casses ne pouvant provenir que d'un chic mécanique lors de l'utilisation ou de sa manutention, ces dernières ne pouvant être échangées dans le cadre de la garantie.
De même que les joints qui sont considérés comme pieces d'usure sont exclus de la garantie.
LA GARANTIE NE PRENDRA PAS EFFET LORSQUE :
- Les avaries qui résultatais de l'utilisation de l'appareil avec un combustible autre que celui préconse dans nos notices ;
- Les dépréciations de pieces provenant d'éléments extérieurs (refoulement de cheminée, effets d'orages, humidité, pression ou dépression non conforme, chic thermique, etc.);
- Les anomalies, déteriorations ou accidents provenant de chute, chic, négligence, défaut de surveillance ou d'entre-tien de l'acheteur ;
- L'utilisation ou usage anormal de l'appareil dans des conditions différentes de celles pour lesquelles il a eté construit ; c'est le cas par exemple du non respect de nos notices techniques (mauvais raccordement électrique, fontonnement à sec d'une chaudière, etc.).
- Toutes modifications, toutes transformations ou toutes interventions effectuees par un personnel ou une entreprise non agreeees par la S.A. GODIN ou realizationes par des pieces de rechanges non d'origine ou non agreeees par le constructeur ;
L'installation, le montage, les frais de démontage et les conséquences de l'immobilisation de l'appareil, résultat des opérations de garantie n'incombent pas à la S.A. GODIN.
En conséquence la S.A. GODIN ne peut être tenu responsable des dégats matériels ou des accidents de personnes, consécutifs à une installation non conforme aux dispositions légales et réglementaires (par exemple, absence de raccordement à une prise de terre, mauvais tirage de cheminée, etc.).
Dans un souci constant d'améliorer nos fabrications, nous nous réservons de modifier sans prévis nos apparêils.
Toutes les dimensions et caractéristiquesannoncées sont sujettes à variation en fonction des impératifs techniques.
En cas d'appoint en garantie, veuillesz vous munir obligatoirement d'une copie de la facture, du bon de garantie comportant les reférences de l'appareil, le cachet du revendeur, la date de mise en service de l'appareil, et de contacter votre revendeur pour toute réclamation.

Chaudières - Cuisinières - Appareils de chauffage - Fonderie GODIN S.A. - 532, rue Sadi Carnot - 02120 GUISE - France

| Nom et adresse du distributeur | BENÉFICIAIRE DE LA GARANTIE : | |
| ADRESSE : | ||
| Tél. :Date de mise à disposition : | Date d'installation : | |
| Tél : | Le : à : | |
| Signature : | ||
| LIBELLÉ DES PIEÇES À REMPLACER | ||
| Désignation : | Référence : | Observations : |
| Certificat de contrôle :Type d'Appareil :Version :Contrôleur : | FICHE DE CONTROLLE | |
| Contrôle suivant fiche établie par Laboratoire/B.E | ☐ | |
| PrésencePOCHETTE NOTICE technique/ bon de garantie | ☐ | |
| Présence plaque signalétique | ☐ | |
| N° de Plaque Signalétique :N° de Garantie : | ||
| GODIN S.A. - 532 RUE SADI CARNOT - 02120 GUISE | Date création du document : 19/10/06RévisiON :/./. | |
Notice Facile