CX-7 2012 - SUV MAZDA - Notice d'utilisation et mode d'emploi gratuit
Retrouvez gratuitement la notice de l'appareil CX-7 2012 MAZDA au format PDF.
| Intitulé | Valeur / Description |
|---|---|
| Type de véhicule | Véhicule utilitaire sport (SUV) |
| Année de modèle | 2012 |
| Moteur | 2.5L I4 ou 2.3L turbo I4 |
| Puissance | 161 à 244 ch selon le moteur |
| Transmission | Manuelle à 6 vitesses ou automatique à 5 vitesses |
| Dimensions (L x l x H) | 4 680 mm x 1 850 mm x 1 670 mm |
| Poids | 1 600 kg |
| Capacité du réservoir de carburant | 64 litres |
| Consommation de carburant (mixte) | Environ 10 L/100 km |
| Système de sécurité | Airbags frontaux et latéraux, ABS, contrôle de traction |
| Équipements de confort | Climatisation, système audio, sièges en cuir (selon la finition) |
| Entretien et nettoyage | Vidanges régulières, contrôle des freins, lavage extérieur et intérieur |
| Pièces détachées et réparabilité | Disponibilité des pièces chez les concessionnaires et en ligne |
| Garantie | Garantie limitée de 3 ans ou 100 000 km |
| Informations générales | Véhicule spacieux, adapté pour les familles et les trajets longs |
FOIRE AUX QUESTIONS - CX-7 2012 MAZDA
Questions des utilisateurs sur CX-7 2012 MAZDA
0 question sur cet appareil. Repondez a celles que vous connaissez ou posez la votre.
Poser une nouvelle question sur cet appareil
Téléchargez la notice de votre SUV au format PDF gratuitement ! Retrouvez votre notice CX-7 2012 - MAZDA et reprennez votre appareil électronique en main. Sur cette page sont publiés tous les documents nécessaires à l'utilisation de votre appareil CX-7 2012 de la marque MAZDA.
MODE D'EMPLOI CX-7 2012 MAZDA
Conduite et Entretien

Zoom-Zoom
C'est instinctif chez tous les enfants.
Cercains adults s'en souvenirnt.
Un seul constructeur d'automobiles refuse d'oublier.
Dans le langage des adults cela signifie l'excitation et
la libération dessenties lors de la conduite à l'état pur.
Mais bien sur, ce sont les enfants qui l'experiment le比较好,
et I'appellent simplement "Faire Zoom-Zoom".
Nous mettons cela en pratique tous les jours.
C'est pourquoi nous construisons ce genre de vehicules.
Zoom-Zoom
Pouvons-nous réveiller ces sensations en vous aujourd'hui?
Nous vous remercions d'avoir porté votrechioix sur une Mazda. Les vehicules Mazda sont concus et fabriqués pour donner au propriétaire une satisfaction complète.
De manière à profiter pleinement et en toute sécurité de votre vehicule Mazda, lisze ce manuel avec attention et suivez toutes les recommendations.
Le concessionnaire agréé Mazda est celui qui connait le mieuxVote vehicule. Adressez-vous à lui pour tout entretien ou réparation.
Notre réseau de professionnels Mazda, à l'échelle du pays, attache une importance primordiale à vous satisfaire et vous donner le meilleur service possible.
Nous vous assurons également de notre constant souci de vous donner un plaisir de conduite total et une entière satisfaction avec votre Mazda.
Mazda Motor Corporation
HIROSHIMA, JAPAN
Remarques importantes concernant ce manuel
Conserve ce manuel dans la boite à gants, il constituya une referrernce pratique pour une utilisation comfortable et en toute sécurité de votre Mazda. Si vous devez revendre votre vehicule, laissez ce manuel dans la boite à gant à disposition du proprieteaire suivant.
Toutes les specifications et descriptions sont à jour à la mise sous presse. Cependant,,cherchant constamment à améliorer ses vehicules, Mazda se réserve le droit d'apporter des modifications aux spécifications à tout moment sans préavis et sans qu'il lui incombe d'obligations.
Le climatiseur et l'environnement
Votre climatiseur Mazda d'origine est rempli de HFC 134a (R134a), un réfrigérant qui n'endommage pas la couche d'zone. Si le climatiseur ne fonctionne pas correctement, s'adresser à un concessionnaire agré Mazda.
Perchlorate
Certains composants de ce vehicule, tels que les [modules de coussins d'air, les dispositifs de pretension de ceintures de sécurité, les piles au lithium, ...] peuvent contener du perchlorate- Il faut donc prendre toutes les dispositions spéciales qui seraient nécessaires pour effectuer les travaux d'entretien ou la mise au rebut du vehicule. Se reférer à
www.dtsc.ca.gov/hazardouswaste/perchlorate.
Veuillez noter que ce manuel s'applique à tous les modèles, accessoires et options. De ce fait, vous trouvez z certaines explications pour des accessoires non installés sur votre vehicule.
Le désir de Mazda est que vous trouviez un plaisir maximum à conduire votre vehicule. La lecture intégrale de ce manuel y contribuera largement.
Les illustrations complètent le texte pour vous donner la meilleure explication possible sur la manière d'utiliser votre Mazda. Toutes les caractéristiques, informations concernant la sécurité et les méthodes de conduite sous différentes conditions sont expliquées dans notre manuel.
Le symbole ci-dessous, quand il apparait dans ce manuel indique "Ne faites pas ceci" ou "Evitez que ceci se produit".

Index: L'index vous indique toute l'information, par ordre alphabetique, contenue dans le manuel.
Ce manuel comprend plusieurs
avertissements sous des titres tels que: PRUDENCE, ATTENTION et REMARQUE.
PRUDENCE
Le titre PRUDENCE indique une situation où, si la PRUDENCE est ignoreré, de graves blessures ou la mort peuvent en résultat.
ATTENTION
Le titre ATTENTION indique une situation où, si l'on ne fait pas attention cela risque d'entrainer des blessures corporelles et (ou) des dommages au vehicule.
REMARQUE
Une REMARQUE donne des informations et quelques fois indique comment faire une bonne utilisation du vehicule.
Le symbole ci-dessous,itué sur certaines composantes du vehicule, indique que ce manuel contient de l'information concernant la composante en question. Se referrer au manuel pour une explication détaillée.

| Présentation de votre vehicule Vues de l'intérieur, de l'extérieur et identification des éléments de votre vehicule Mazda. | 1 |
| Equipement sécuritaire essentiel Utilisation de l'équipement sécuritaire, incluant les sièges, les ceintures de sécurité, les systèmes de dispositifs de retenue pour enfants et les systèmes de retenue supplémentaire à coussins d'air. | 2 |
| Bien connaître votre Mazda Explication des commandes et opérations de base; comme l'ouverture/la fermeture et le réglage de différents éléments. | 3 |
| Avant de conduire votre Mazda Informations importantes concernant la conduite de votre vehicule Mazda. | 4 |
| Conduite de votre Mazda Explication des instruments et commandes. | 5 |
| Confort intéérieur Utilisation des différentes fonctions concernant le comport de conduite, incluant le système de commande de température et le système audio. | 6 |
| En cas d'urgence Informations utiles sur ce qu'il faut faire en cas d'urgence. | 7 |
| Entretien Comment maintainir votre vehicule Mazda en condition optimale. | 8 |
| Informations à la clientèle et signalement des problèmes de sécurité Informations importantes pour le client incluant les garanties et les accessoires. | 9 |
| Spécifications Informations techniques sur votre vehicule Mazda. | 10 |
| Index | 11 |
1 Présentation de votre vehicule
Vues de l'intérieur, de l'extérieur et identification des éléments de votre vehicule Mazda.
Vue générale de l'habitacle 1-2
Equipement de l'habitacle (Vue A) 1-2
Equipement de l'habitacle (Vue B) 1-3
Equipement de l'habitacle (Vue C) 1-4
Vue générale de l'extérieur 1-5
Avant 1-5
Arriere 1-6
Equipement de l'habitacle (Vue A)

①Interrupteur de verrouillage de lève-vitres électriques page 3-41
②Interrupteurs de lève-vitres électriques page 3-38
③Commande de verrouillage de portière page 3-31
④ Interrupteur de verrouillage électrique de portières page 3-32
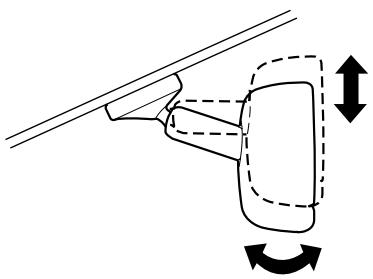
⑤ Interrupteur de rétroviseur extérieur page 3-59
⑥ Interrupteur de réglage de hauteur des phares page 5-73
⑦ Interrupteur TCS-OFF page 5-26
⑧ Interrupteur BSM OFF page 5-41
⑨Commanded'éclairage/clignotants page 5-68
Commande d'éclairage du tableau de bord page 5-47
① Combiné d'instruments page 5-44
⑫Levier d'essuie-glace et lave-glace. page 5-75
③ Contacteur d'allumage page 5-2
④Levier de déverrouillage page 3-59
⑤ Frein de stationnement. page 5-7
⑥ Poignée de déverrouillage du capot . page 3-43

Equipement de l'habitacle (Vue B)
①Commande audio . page 6-61
② Coussins d'air page 2-54
③ Affichage multi-informations page 6-121
④ Affichage multi-informations (MID) avec système de navigation compact (si le vehicule en est équipé) Se référer au manuel à volume séparé
⑤ Système de commande de température page 6-2
⑥ Interrupteur de feuels de détresse page 5-81
⑦ Affichage d'informations page 6-119
⑧ Systeme audio page 6-17
⑨ Boite à gants page 6-140
⑩ Interrupteur de dégivreur de lunette arrêté page 5-79
① Prise des accessoires page 6-143
⑫Interrupteurs de chauffage de siege page 2-16
③ Levier selecteur (Boite de vitesses automatique) (Sport AT). page 5-12
④ Interrupteurs de régulateur de vitesses de croisière page 5-22
⑤ Système de navigation de 7 pouces (si le vehicule en est équipé) . Se référer au manuel à volume séparé
Equipement de l'habitacle (Vue C)

① Eclairage de compartmente bagages page 6-118
② Ceinture de sécurité page 2-18
③ Coussins d'air page 2-54
④ Eclairage au pavillon page 6-117
⑤ Console centrale page 6-141
⑥ Portebouteille page 6-140
⑦Commande de déverrouillage à distance de la trappe de replissage de carburant. page 3-42
⑧ Miroir de pare-soleil page 6-116
⑨Interrupteur de toit ouvrant transparent page 3-46
⑩ Rétroviseur interieur page 3-60
① Pare-soleil page 6-116
② Sièges avant page 2-2
③ Porte-verres page 6-139
④ Prise des accessoires page 6-143
⑤ Siège arrêté page 2-11
⑥ Cache de compartment à bagages page 3-36
Avant

① Capot page 3-43
② Balais d'essuie-glace de pare-brise page 8-34
③ Toit ouvrant transparent page 3-46
④ Portieres et clés page 3-31
⑤ Trappe de replissage de carburant page 3-42
⑥ Pneus page 8-42
⑦ Ampoules page 8-48
Arrière

① Balai d'essuie-glace de lunette arrêté page 8-36
② Hayon page 3-34
③ Ampoules.. page 8-48
④ Antenne page 6-16
⑤ Verrous de sécurité pour enfants. page 3-34
⑥ Rétroviseurextérieur page 3-59
⑦ Pneus page 8-42
⑧ Camera de vue arrriere de stationnement (sans système de navigation de 7 pouces) page 6-133
⑨ Camera de vue arrête de stationnement (avec système de navigation de 7 pouces) (si le vehicule en est équipé) . Se référer au manuel à volume séparé
2 Equipement sécurité essentiel
Utilisation de l'équipement sécuritéaire, incluant les sièges, les ceintures de sécurité, les systèmes de dispositifs de retenue pour enfants et les systèmes de retenue supplémentaire à coussins d'air.
Sièges 2-2
Sièges avant (Sièges à commande manuelle) 2-2
Sièges avant (Sièges à commande électrique) 2-5
Siège arrêté 2-11
Appuie-têtes 2-15
Chauffage de siege* 2-16
Ceintures de sécurité 2-18
Précautions concernant les ceintures de sécurité 2-18
Ceinture de sécurité (Sauf position centrale arrêté) 2-21
Systèmes de dispositif de prétension de ceinture de sécurité avant et de limitation de charge 2-23
Ceinture de sécurité centrale arrête 2-26
Rallonge de ceinture de sécurité 2-30
Voyant/bip de ceintures de sécurité 2-32
Dispositifs de sécurité pour enfants 2-34
Précautions concernant les dispositifs de sécurité pour enfants 2-34
Position d'installation de système de dispositif de sécurité pour enfants 2-40
Installation de systèmes de dispositif de sécurité pour enfants 2-41
Système de dispositif de sécurité pour enfants de type LATCH 2-49
Systèmes de retenue supplémentaire à coussins d'air 2-54
Précautions concernant le système de retenue supplémentaire (SRS) 2-54
Composants du système de retenue supplémentaire 2-61
Explication du fonctionnement des coussins d'air SRS 2-62
Critères de déploiement des coussins d'air SRS 2-67
Limites du coussin d'air SRS 2-68
Système de classification des occupants des sièges du conducteur et du passager avant 2-70
Contrôle et entretien 2-76
Sièges avant (Sièges à commande manuelle)

PRUDENCE
Ne pas modifier ou remplacer les sièges avant:
La modification ou le emplacement des sièges avant, comme le remplacement du garnissage ou le desserage de boulons sont dangereux. Les sièges avant contiennent des composants de coussin d'air essentiels au système de retenue supplémentaire. Une modification peut endommager le système de retenue supplémentaire, ce qui peut résultat en de graves blessures. S'adresser à un concessionnaire agréé Mazda s'il est nécessaire dePTRER ou réinstaller le siège avant.
Ne pas conduire avec des sièges avant endommages:
Le fait de conduire avec les sièges avant endommages est dangereux. Une collision, même une qui n'est pas assez intense pour causeer le déploiement des coussins d'air, peut endommager les sièges avant qui contiennent des composants de coussin d'air essentiels. S'il y a une autre collision, un coussin d'air peut ne pas se déployer, ce qui pourrait résulter en de graves blessures. Faire toujours inspector les sièges avant, les dispositifs de prétension de ceinture de sécurité et les coussins d'air par un concessionnaire agréé Mazda après toute collision.
S'assurer que les composantes réglables d'un siège sont correctement verrouillées en place:
Les sièges réglibes et les dossiers de siège qui ne sont pas correctement verrouillés sont dangereux. En cas d'arrêt brusque ou de collision, le siège ou le dossier du siège risque de se déplacer, causant de graves blessures. S'assurer que les composantes réglibes du siège sont correctement verrouillées en les poussant vers l'avant et l'arrête et en poussant le siège.
Ne régler le siège du conducteur que lorsque le vehicule est à l'arrêt:
Le fait de régler le siège du conducteur pendant que le vehicule est en mouvement est dangereux. Le conducteur peut perdre le contrôle du vehicule et cause un accident.

ATTENTION
Pour éviter de se blesser, veiller à ne pasapprocher les mains et les doigts des pièces mobiles du siège avant lorsqu'on ajusté les positions de siège.
Réglage longitudinal du siège
Pour déplacer un des sièges vers l'avant ou vers l'arrière, tirer le levier vers le haut et faire coulisser le siège à la position désirée et relâcher le levier.

S'assurer que le levier returne à sa position originale et que le siège est verrouillé en place en le poussant vers l'avant et vers l'arrière.
Réglage de l'inclinaison du dossier
PRUDENCE
Ne pas conduire avec un des sièges avant incliné:
Le fait d'être assis, dans une position inclinée, dans un vehicule en mouvement est dangereux car cela réduit la protection fournie par les ceintures de sécurité. En cas de freinage brusque ou de collision, on risque de glisser sous la ceinture ventrale et de subir de graves blessures internes. Pour une protection maximale, s'asseoir le plus en arrêté possible et bien droit.
Toujours s'asseoir correctement dans le siège de passager avec le dossier de siège bien droit et les pieds posés à plat sur le sol:
Le siège du passager avant est équipe de capteurs de poids. Il est dangereux de s'asseoir sur le siège du passager avant incorrectement à une position décalée ou avec le dossier du siège inclé excessivement pendant que le vehicule roule, car ceci peut diminuer le poids appliqué sur le coussin du siège et fausser la détermination du poids par le système de détction du poids du passager avant. Par conséquent, le passager avant ne bénéficiera plus de la protection supplémentaire du coussin d'air et du dispositif de pretension de ceinture de sécurité et s'exposera alors à de graves blessures. Toujours s'asseoir bien droit contre le dossier du siège, avec les pieds bien posés sur le plancher.
Ne pas conduire avec le dossier de siege déverrouillé:
Tout le dossier du siège est important pour la sécurité à l'intérieur du vehicule. Si le dossier du siège est laissé déverrouillé cela est dangereux car les passagers peuvent être éjectés ou non retenus et des objets peuvent cogner les occupants en cas de freinage brusque ou de collision, causant de graves blessures. ÀpRES avoir ajusté le dossier du siège, même siaucun autre passager ne se trouve dans le vehicule, pousser le dossier du siège vers l'avant et vers l'arrière pour s'assurer qu'il est bien verrouillé en place.
Pour changer l'angle d'inclinaison du dossier, se pencher légèrement vers l'avant tout en soulevant le levier. Se pencher ensuite vers l'arrière jusqu'à la position désirée et relâcher le levier.

S'assurer que le levier returne à sa position originale et que le dossier est verrouillé en place en le poussant vers l'avant et vers l'arrière.

ATTENTION
Lorsque le dossier d'un siège incliné vers l'arrière est remis à sa position relevante, s'assurer de supporter le dossierpendant que le levier est manoeuvré. Si le dossier du siège n'est pas supporté, il se déplacera soudainement vers l'avant et risque de cause des blessures.
Réglage de la hauteur (Siège du conducteur)
Pour régler la hauteur du siècle, déplacer le levier vers le haut ou vers le bas.

Sièges avant (Sièges à commande électrique)

PRUDENCE
Ne pas modifier ou remplacer les sièges avant:
La modification ou le emplacement des sièges avant, comme le remplacement du garnissage ou le desserage de boulons sont dangereux. Les sièges avant contiennent des composants de coussin d'air essentiels au système de retenue supplémentaire. Une modification peut endommager le système de retenue supplémentaire, ce qui peut résultat en de graves blessures. S'adresser à un concessionnaire/agréé Mazda s'il est nécessaire dePTRER ou réinstaller le siège avant.
Ne pas conduire avec des sièges avant endommages:
Le fait de conduire avec les sièges avant endommages est dangereux. Une collision, même une qui n'est pas assez intense pour causeer le déploiement des coussins d'air, peut endommager les sièges avant qui contiennent des composants de coussin d'air essentiels. S'il y a une autre collision, un coussin d'air peut ne pas se déployer, ce qui pourrait résulter en de graves blessures. Faire toujours inspector les sièges avant, les dispositifs de prétension de ceinture de sécurité et les coussins d'air par un concessionnaire agréé Mazda après toute collision.
Ne régler le siège du conducteur que lorsque le vehicule est à l'arrêt:
Le fait de régler le siège du conducteur pendant que le vehicule est en mouvement est dangereux. Le conducteur peut perdre le contrôle du vehicule et cause un accident.

ATTENTION
Le réglage du coussin de siège est fait par l'intermédiaire de moteurs. Eviter de le faire fonctionner excessivelyment car cela risque d'endommager les moteurs.
Pour éviter de décharger la batterie, éviter d'utiliser la commande électrique si le moteur est arrêté. Le dispositif de réglage consomme,enormément d'énergie électrique.
Ne pas utiliser la commande pour faire plus d'un réglage à la fois.
Pour éviter de se blesser, veiller à ne pasapprocher les mains et les doigts des pieces mobiles du siège avant lorsqu'on ajuste les positions de siège.
Réglage longitudinal du siège
Pour faire coulisser le siège, déplacer la commande située du côte extérieur du siège vers l'avant ou vers l'arrière et laMSN. Relâcher la commande lorsque le siège est à la position désirée.

Réglage de l'inclinaison du dossier
PRUDENCE
Ne pas conduire avec un des sièges avant incliné:
Le fait d'être assis, dans une position inclinée, dans un vehicule en mouvement est dangereux car cela réduit la protection fournie par les ceintures de sécurité. En cas de freinage brusque ou de collision, on risque de glisser sous la ceinture ventrale et de subir de graves blessures internes. Pour une protection maximale, s'asseoir le plus en arrêté possible et bien droit.
Toujours s'asseoir correctement dans le siège de passager avant avec le dossier de siège bien droit et les pieds posés à plat sur le sol:
Le siège du passager avant est équipé de capteurs de poids. Il est dangereux de s'asseoir sur le siège du passager avant incorpèment à une position décalée ou avec le dossier du siège incliné excessivement pendant que le vehicule roule, car ceci peut diminuer le poids appliqué sur le coussin du siège et fausser la détermination du poids par le système de détction du poids du passager avant. Par conséquent, le passager avant ne bénéficiera plus de la protection supplémentaire du coussin d'air et du dispositif de pretension de ceinture de sécurité et s'exposera alors à de graves blessures. Toutjours s'asseoir bien croit contre le dossier du siège, avec les pieds bien posés sur le plancher.
Pour changer l'angle du dossier de siege, appuyer sur l'avant ou l'arrière de la commande d'inclinaison. Relacher la commande lorsque le siege est à la position désirée.

Réglage de la hauteur (Siège du conducteur)
Pour régler la hauteur du siège, déplacer l'interrupteur vers le haut ou vers le bas.


▼Mémorisation de la position du siège*
L'activation et la programmation de la position du siège par une seule pression sur une touche sont disponibles pour le siège du conducteur.
ATTENTION
Lors de l'activation de la position du siège, tener vos mains ou doigs à l'écart du coussin du siège. Le siège se déplace automatiquement vers la position désirée. Si vos mains ou vos doigs sont placés sur le coussin du siège, son déplacement risque de cause des blessures.

La programmation des positions du siège du conducteur s'effectue en utilisant les fonctions suivantes:
- Boutons de programmation 1, 2 ou 3 et touche SET.
- Utilisation à l'aide de la clé avancée/clé de type escamtable
Les positions programmées du siège peuvent être activées à l'aide des fonctions suivantes:
- Boutons de programmation 1, 2 ou 3.
- Fonctionnement à l'aide des fonctions à télécommande/du système d'ouverture à télécommande
REMARQUE
Des positions de sièges personalisées peuvent être programmées sur les trois boutons de programmation disponibles sur le côte du siècle du conducteur; et une position de siège supplémentaire est prévue pour chaque clé avancée/clé de type escamtable utilisée avec le vehicule.
Commande via les boutons situés sur le côte du siège
Programmation
Stationner le vehicule dans un lieu sur avant de proceder à la programmation de la position du siège. (Le vehicule doit être à l'arrêt)
-
Régler le siège à la position désirée. Pour plus d'informations sur chaque type de réglage de position du siège, se référer aux pages suivantes: Réglage longitudinal du siège (page 2-6)
Inclinaison du dossier (page 2-6)
Réglage de la hauteur (page 2-7) -
Appuyer sur le bouton de programmation 1, 2 ou 3 désiré tout en maintainant la touche SET enforcée jusqu'à ce qu'un bip sonore soit émis. Le bouton estprogrammé une fois le bip sonore émis. Les autres boutons peuvent être programmés à l'aide de la même procédure.
REMARQUE
Si la batterie est debranchée pour l'entretien du vehicule ou pour toute autre raison, la mémoire de la position du siège est effacée. Auquel cas, vous doivent reprogrammer les positions du siège.
Réglage du siècle du conducteur à une position pré-programmée
Il est possible d'utiliser deux méthodes pour régler le siège du conducteur à une position pré-programmée. Par exemple, on peut utiliser la méthode de type A avant de s'asseoir sur le siège et pendant que la portière du conducteur est ouverte, et on peut utiliser la méthode de type B après être entrez dans le vehicule avec la portière du conducteur fermée.
TYPE A
Lorsque le contacteur est sur la position d'arrêt et que la portière du conducteur est ouverte, appuyer sur le bouton de programmation 1, 2 ou 3 correspondant à la position de siège souhaitation.
REMARQUE
Dans les cas suivants, la fonction de réglage de position de siège est annulée:
- L'unquelconque des interrupteurs de réglage de siège est actionné.
- La touche SET est enforcée.
Le bouton de programmation 1, 2 ou 3 est pressé.
Le vehicule commence a se déplacer.
Le verrouillage/deverrouillage du vehicule est effectue à l'aide de la télécommande.
Le verrouillage/deverrouillage du vehicule est effectue en utilisant les fonctions a telecommande.
TYPE B
Lorsque le contacteur est sur la position ON et que la portiere du conducteur est fermée, maintainir enforcé le bouton de programmation 1, 2 ou 3 souhaité.
REMARQUE
Dans les cas suivants, la fonction de réglage de position de siège est annulée:
- L'unquelconque des interrupteurs de réglage de siege est actionné.
- La touche SET est enforcée.
Le vehicule commence a se déplacer.
Utilisation à l'aide de la clé avancée/clé de type escamtable
Programmation
Une position de siège peut être programmée dans chaque clé avancée/clé de type escamatable.
Une fois les conditions suivantes remplies, actionner le siège et la clé avancée/clé de type escametable pour programmer les positions de siège.
- Le contacteur est sur la position d'arrêt (La clé auxiliaire/clé de type escamtable est retiree du contacteur d'allumage)
-
La portière du conducteur est ouverte
-
Régler le siege à la position désirée. Pour plus d'informations sur chaque type de réglage de position du siege, se référer aux pages suivantes:
Réglage longitudinal du siège (page 2-6)
Inclinaison du dossier (page 2-6)
Réglage de la hauteur (page 2-7)
- Tout en maintainant la touche SET enfoncée,maintenir enfoncée la touche de la clé avancée/clé de type escamtable jusqu'à ce qu'un bip sonore soit émis.
La clé avancée/clé de type escamtable est programmée une fois le bip sonore émis.
Procedure de réglage de la mémorisation de position de siège
Pour régler le siège du conducteur sur la position préprogrammée,mettre le contacteur sur la position d'arrêt, déverrouiller les portières en utilisant l'une des méthodes suivantes, puis ouvrir la portière du conducteur dans les 40 secondes environ.
Appuyer sur la touche de la clé avancée/clé de type escametable.
Appuyer sur l'interrupteur de commande d'une portiere avant ou du hayon lorsque le conducteur est muni de la clé avancée.
REMARQUE
La fonction d'activation de la position du siège peut être inopérante pour l'une des raisons suivantes:
- La touche / de la clé avancée/clé de type escamtable est enforcée lorsque la clé n'est pas insérée dans le contacteur d'allumage.
- Une commande de réglage de siège est actionnée.
Le vehicule commence a se déplacer. - Le bouton de programmation 1, 2 ou 3 sélectionné est enforcé.
Le verrouillage du vehicule est effectue en utilisant les fonctions à télécommande. - La touche SET est enforcée.
Effacement de la mémoire
Une fois que les conditions suivantes ont ete remplies, appuyer sur la touche de la clé avancée/clé de type escamtable tout en maintainant la touche SET enforcée jusqu'à ce qu'un bip sonore soit émis.
- Le contacteur est sur la position d'arrêt (La clé auxiliaire/clé de type escamtable est retiree du contacteur d'allumage)
- La portière du conducteur est ouverte
REMARQUE
La mémoire peut également être effacée pour l'une des raisons suivantes:
- Le code de la clé avancée/clé de type escamtable a été changé.
Se référer à Système d'immobilisation (avec clé avancée) à la page 3-48.
Se référer à Système d'immobilisation (sans clé avancée) à la page 3-52. - Si la batterie est débranchée pour l'entretien du vehicule ou pour toute autre raison.
Réglage du support lombaire
Pour rendre le siège plus ferme, tirer le levier vers l'avant. Pour diminuér la fermété, pousser le levier vers l'arrière.

Siège arrière

PRUDENCE
Ne pas empiler de bagages sur une hauteur dépassant les dossiers de siège:
Le fait d'empiler des bagages ou autres paquets à une hauteur supérieure à celle des dossiers de sièges et de placer des objets sur le siège arrêté est dangereux. En cas de freinage brusque ou de collision, les objets peuvent être projétés et risquent de frapper et blesser des passagers.
S'assurer que tout bagage et paquet est fixé avant de conduire le vehicule:
Le fait de ne pas fixer les bagages ou paquets avant la conduite est dangereux car ils pourraient se déplacer ou être projétés en cas de freinage brusque ou de collision, et causer de graves blessures.
S'assurer que les composantes réglables d'un siège sont correctement verwrouillées en place:
Les sièges réglables qui ne sont pas correctement verrouillés sont dangereux. En cas d'arrêt brusque ou de collision, le siège ou le dossier du siège risque de se déplacer, causant de graves blessures.
Ne pas conduire avec le dossier de siege déverrouillé:
Tout le dossier du siège est important pour la sécurité à l'intérieur du vehicule. Si le dossier du siège est laissé déverrouillé cela est dangereux car les passagers peuvent être ejectés ou non retenus et des objets peuvent cogner les occupants en cas de freinage brusque ou de collision, causant de graves blessures. Àpres avoir raméné le dossier du siège, même siaucun autre passager ne se trouve dans le vehicule, pousser le dossier du siège vers l'avant et vers l'arrête pour s'assurer qu'il est bien verrouillé en place.
Ne jamais laisser un passager prendre place sur le dossier du siège replié pendant la conduite:
Le fait de conduire avec un passager sur le dossier du siège replié est dangereux. En particulier permettre à un enfant de s'asseoir sur le dossier du siège replié pendant que le vehicule est en mouvement est extrémement dangereux. En cas de freinage brusque ou de collision, même mineure, un enfant non assis et correctement attaché sur un siège ou dans un système de dispositif de sécurité pour enfants peut être projeté vers l'avant, vers l'arrière ou même hors du vehicule et subir de graves blessures ou la mort. L'enfant se trouvant dans le compartment à bagages peut être projeté sur les autres occupants et causeur de graves blessures.

ATTENTION
Pour éviter de se blesser, veiller à ne pasapprocher les mains et les doigts des pièces mobiles du siège arrrière lorsqu'on ajusté les positions de siège.
REMARQUE
Lorsqu'un siège arrrière est remis à sa position originale, il faut aussi replacer la ceinture de sécurité à sa position originale. Vérifier que la ceinture de sécurité peut être tirée et qu'elle se rétracte.
Dossier du siècle arrière rabattable séparément
Les dossiers des sièges peuvent être rabattus pour augmenter l'espace dans le compartment à bagages.
Pour replier les dossiers des sièges

PRUDENCE
S'assurer de tous jours retarder le système de dispositif de sécurité pour enfants du siège arrêté avant d'utiliser les leviers de poignée à distance du siège arrêté:
Il est dangereux d'utiliser (de tirer) les leviers de poignée à distance lorsqu'un système de dispositif de sécurité pour enfants faisant face à l'arrière est installé sur le siège arrrière. Cela peut cause des blessures à l'enfant assis dans le système de dispositif de sécurité pour enfants lorsque le dossier du siège se rabat vers l'avant soudainement.
S'assurer de vérifier que personne ne se trouve dans la zone des sièges arrrière avant d'utiliser (de tirer) les leviers de poignée à distance:
Le fait de ne pas vérifier si des personnes se trouvent dans la zone des sièges arrêté avant de replier les dossiers du siège à l'aide des leviers de poignée à distance est dangereux. L'espace autour des sièges arrêté est difficile à voir de l'arrière du vehicule. Le fait d'utiliser (de tirer) les leviers de poignée à distance sans vérifier peut causer des blessures à un occupant lorsque le dossier du siège se rabat vers l'avant soudaientement.

ATTENTION
Avant de replier les dossiers du siège à l'aide des leviers de poignée à distance, s'assurer qu'il n'y ait pas de verre dans l'un des portes-verres arrrière. Replier les dossiers du siège à l'aide des leviers de poignée à distance si un verre est present dans le porte-verres pourrait salir ou abimer le coussin et le dossier du siège.
Lors de l'utilisation des leviers de poignée à distance:

ATTENTION
Faire attention aux points suivants lors de l'utilisation des leviers de poignée à distance:
Sur une descente, le dossier du siège peut se replier plus rapidement qu'à l'horizontal.
Sur une montée, le dossier du siège peut ne pas se replier. Lorsque les dossiers du siège ne peuvent pas etre reliés en utilisant les leviers, tirer le dossier du siège vers l'avant de I'intérieur du vehicule.
- Detacher la portion ventrale de la ceinture de sécurité arrêté au centre (page 2-26).

ATTENTION
Toujours detacher la portion ventrale de la ceinture de sécurité avant de replier le dossier du siège arrêté gauche. Si la portion ventrale de la ceinture est laissée attachée, cela peut endommager la ceinture de sécurité, la boucle et le dossier du siège.
- Àpès avoir vérifié qu'il n'y a rien sur les sièges arrêté, ouvrir le hayon et tirer les leviers de poignée à distance situés à gauche et à droite du compartment du hayon.

Lors de l'utilisation des boutons de dossier de siège arrêté:

ATTENTION
Lors de l'utilisation du bouton de dossier de siège arrêté, s'assurer de supporter le dossier du siège avec la main. Si le dossier du siège n'est pas supporté avec une main, il se rabattra soudainement vers l'avant, ce qui risque de cause des blessures aux doigts qui appuient sur le bouton.
- Detacher la portion ventrale de la ceinture de sécurité arrêté au centre (page 2-26).

ATTENTION
Toujours détacher la portion ventrale de la ceinture de sécurité avant de replier le dossier du siège arrêté gauche. Si la portion ventrale de la ceinture est laissée attachée, cela peut endommager la ceinture de sécurité, la boucle et le dossier du siège.
- Supporter le siège avec la main.
- Pousser vers le bas le bouton du dossier de siège arrête.

Pour remettre les dossiers du siège à leur position relevée
- Relever les dossiers du siège.
- Tirer le haut des dossiers du siège vers l'avant, de l'intérieur du vehicule, pour s'assurer qu'ils sont bien verrouillés.
- Attacher la ceinture de sécurité ventrale/baudrier arrêté au centre et vérifier que toutes les ceintures de sécurité sont acheminées correctement afin de pouvoir être utilisées par les passagers (page 2-26).

PRUDENCE
Toujours s'assurer que les ceintures de sécurité sont complètement sorties de sous les dossiers de sièges:
Une ceinture de sécurité pincée sous un dossier de siège, après que le siège soit relevé, est dangereuse. En cas de collision ou d'arrêt brusque, la ceinture de sécurité ne peut pas fournir une protection adequate.
Lorsque le dossier est remis à sa position relevante s'assurer que l'indicateur rouge à l'arrière du bouton du dossier de siège arrêté n'est plus visible:
Un dossier de siège arrrière qui n'est pas complètement remis et verrouillé à sa position relevante est dangereux. Un arrêt ou une manœuvre brusque peut faire que le dossier du siège arrrière se replie vers l'avant soudainement et cause des blessures. Si l'indicateur rouge est visible à l'arrière du bouton du dossier de siège arrrière, cela indique que le dossier du siège n'est correctement verrouillé en position relevante.

Accoudoir
L'accouvoir arrirée central du dossier de siège arrirée peut être utilisé ou relevé (si chaque passager n'est installé au centre du siège).

Appuie-têtes
Le vehicule est équipé d'appuietêtes sur tous les sièges côtés portières. Les appuiedétes sont concus pour protéger le conducteur et les passagers de toute blessure au niveau du cou.
APRUDENCE
Toujours conduire avec les appuie-tete correctement installés et réglos lorsque les sièges sont utilisés:
Le fait de conduire avec les appuiétête régles trop bas ou retirés est dangereux. Sans un support en arrêté de la tête, le cou risque de subir de graves blessures en cas de collision.
Réglagedelahauteur
Pour relever l'appuie-tête, le tirer à la position désirée.
Pour abaisser l'appuie-tete, appuyer sur la butée et pousser l'appuie-tete vers le bas. Régler l'appuie-tete pour que le haut soit à la hauteur des oreilles de l'utilisateur, jamais en arrêté du cou afin d'éviter toute blessure.
Siège létal avant

Siège létalarrière

Pour-retirer l'appuie-tete,le tirer vers le haut tout en appuyant sur la butee.
Pour installer l'appuie-tete, enforcer les saillies dans les trough tout en appuyant sur la butée.

PRUDENCE
Toujours conduire avec les appuie-tete correctement installés et régles lorsque les sièges sont régles:
Le fait de conduire avec l'appuie-tête non installé est dangereux. Sans un support en arrêté de la tête, le cou risque de subir de graves blessures en cas de collision.
Chauffage de siege*
Les sièges avant sont chauffés électriquement. Le contacteur doit être mis sur la position ON.
Appuyer sur l'interrupteur pour allumer ou eteindre le chauffage du siege. Lorsque l'interrupteur est en circuit, le témoin s/allumera.

APRUDENCE
Se monrer prudent lors de l'utilisation du chauffage de siege. La chaleur du chauffage de siege peut être trop facile pour certaines personnes, comme indiqué cidesous, et peut entraîner des brûlures au premier degré.
Les enfants en bas âge, les bébés, les personnes âgées et les handicapés
Les personnes à la peu délicate
Les personnes extrémement fatiguées
Les personnes qui sont ivres
Les personnes qui prennant des hypnotiques, tels que des somnifères, ou des médicaments contre le rhumeNe pas utiliser le chauffage de siege lorsque des objets disposant d'une grande capacité de détention de l'humidité, tels qu'une couverture ou un coussin, sont places sur le siege. Le siege peutchauffer de manière excessive etentrainer des brûlures au premier degré.
Ne pas utiliser le chauffage de siege même lors d'une courte sieste dans le vehicule. Le siege peutchauffer de maniere excessive et entrainer des brûlures au premier degré.
Ne pas placer d'objets lourds aux bords tranchants sur le siège et ne pas insérer d'aiguilles ou d'épinges dans le siège. Le siège risque de chauffer de manière excessive et d'entrainer des blessures mineures.
ATTENTION
Ne pas utiliser de solvants
organiques pour nettoyer le siège.
Sinon, on pourrait endommager le la surface du siège et le chauffage.
REMARQUE
Utiliser le chauffage de siege lorsque le moteur tourne, ne pas l'utiliser pendant une période de temps prolongée.
- La température du chauffage de siège ne peut pas être ajustée, car le chauffage de siège est contrôle par un thermostat.
Précautions concernant les ceintures de sécurité
Les ceintures de sécurité diminuents les risques de blessures graves en cas d'accident ou d'arrêt brusque. Mazda recommende que le conducteur et tous les passagers portent la ceinture de sécurité en tout temps.
Tous les enrouleurs sont conçus pour maintainir les ceintures ventrale-baudrier hors du chemin lorsqu'elles ne sont pas utilisées.
La ceinture du conducteur n'est pas conscience pour un dispositif de sécurité pour enfants, elle n'a qu'un mode de blocage d'urgence. Le conducteur peut la porter comfortably, et elle se bloquera lors d'une collision.
Toutefois, le siège du passager avant et tous les rétracteurs des ceintures ventrales/baudrier arrêté fonctionnement en deux modes: mode de blocage d'urgence et, pour les systèmes de dispositif de sécurité pour enfants, mode de blocage automatique. Bien qu'il soit recommandé d'asseoir tous les enfants sur les sièges arrêté, si un enfant doit être assis sur le siège du passager avant, recycler le siège du passager avant au maximum et s'assurer que le système de dispositif de sécurité pour enfants est correctement fixé.
4 PRUDENCE
S'assurer de tous jours porter la ceinture de sécurité et que tous les passagers sont correctement attachés:
Le fait de ne pas porter de ceinture de sécurité est extrémement dangereux. Lors d'une collision, tout passager ne portant pas de ceinture de sécurité risque d'être projeté contre un autre passager ou des objets à l'intérieur du vehicule ou risque même d'être ejecté à l'extérieur du vehicule. Il risquerait de graves blessures ou même la mort. Lors d'une collision, tout passager portant la ceinture de sécurité court moins de risques.
Ne pas porter de ceintures de sécuritévrillées:
Des ceintures de sécuritévrillées sont dangereuses. En cas de collision, la surface totale de la ceinture n'est pas disponible pour amortir le choc. Cela applique une force accrue aux os situés sous la ceinture, ce qui risque de causeur de graves blessures ou la mort. Ainsi, si votre ceinture de sécurité est tortillée, vousdezvez l'aplaitr pour la désentortiller et pouvoir utiliser toute la largeur de la ceinture.
Ne jamais utiliser une ceinture de sécurité pour attacher plus d'une personne à la fois:
L'utilisation d'une ceinture de sécurité pour plus d'une personne à la fois est dangereuse. Toute ceinture de sécurité utilisée de cette façon ne peut pas distribuer correctement les forces d'un impact et les deux passagers risquent d'être écrasés l'un contre l'autre et gravement blessés ou tués. Ne jamais utiliser une ceinture de sécurité pour plus d'une personne à la fois et veiller toujours à ce que chaque occupant ait bien attaché sa ceinture.
Ne pas utiliser de vehicule ayant une ceinture de sécurité endommagée:
Le fait d'utiliser une ceinture de sécurité endommagée est dangereux. Un accident risque d'endommager la toile de toute ceinture de sécurité utilisée. Une ceinture de sécurité endommagée ne peut pas fournir une protection adequate en cas de collision. Faire inspector, par un concessionnaire agréé Mazda, tous les systèmes des ceintures de sécurité utilisées lors d'un accident avant de les utiliser de nouveau.
Faire remplacer immédiatement les ceintures de sécurité si le dispositif de prétension ou le limiteur de charge se sont déployés:
Toujours demander à un concessionnaire agréé Mazda d'inspecter immédiatement les dispositifs de prétension de ceinture de sécurité avant et les coussins d'air après une collision. comme les coussins d'air, les dispositifs de prétension de ceinture de sécurité avant et les limiteurs de charge ne fonctionneront qu'une fois et il faut les replacer après une collision au cours de laquelle ils se sont déployés. Une ceinture de sécurité dont le dispositif de prétension ou le limiteur de charge expansé est toujours une meilleure solution que de ne pas porter du tout de ceinture de sécurité; toute fois, si les dispositifs de prétension de ceinture de sécurité avant et les limiteurs de charge ne sont pas replacés, le risque de blessure en cas de collision augmentera.
En cas de capotage, une personne n'ayant pas attaché sa ceinture de sécurité a beaucoup plus de chances de décéder qu'une personne ayant attaché sa ceinture.

ATTENTION
La rétraction des ceintures de sécurité peut être difficile si les sangles et les anneaux sont sales, il est donc recommendé de les garder propres. Pour plus de détails concernant le nettoyage des ceintures de sécurité, se reporter à la section “Nettoyage des ceintures abdominale-baudrier” (page 8-73).

Femmes enceintes et personnes souffrant d'une condition medicale sérieuse
Les femmes enceintes doivent toujours attacher leur ceinture de sécurité. Demander à son médecin pour toute recommendation spécifique.
La ceinture ventrale doit être portée AJUSTEE ET LE PLUS BAS POSSIBLE SUR LES HANCHES.
Le baudrier doit être porté correctement en travers de l'épaule, mais jamais sur la région de l'abdomen.
Les personnes souffrant d'une condition Médicale sérieue devraient aussi porter les ceintures de sécurité. Demander à son醫師 pour toute instruction spéciale concernant la condition Médicale spécifique.

Mode de blocage d'urgence
En mode de blocage d'urgence, la ceinture reste à une tension comfortable pour le passager et l'enrouleur se verrouillera en cas de collision. Si la ceinture est attachée, elle sera toujours en mode de blocage d'urgence, jusqu'à ce qu'elle soit mise en mode de blocage automatique en la tirant complètement. Si la ceinture est trop serrée et gène les mouvements pendant que le vehicule est arrêté ou en mouvement, elle peut être en mode de blocage automatique parce qu'elle a été trop tirée. Pour la remettre en mode de blocage d'urgence, qui est pluscomfortable, arrêter le vehicule dans un endroit sur, de niveau, rétracter la ceinture complètement pour la remettre en mode de blocage d'urgence, puis l'attacher de nouveau.
Si la ceinture est bouclée et ne peut être retiree, retractor la ceinture, puis la tirer doucement. En cas d'échec, tirer fortement sur la ceinture, la relâcher, puis la tirer doucement.
Mode de blocage automatique
Toujours utiliser le mode de blocage automatique pour éviter que le système de dispositif de sécurité pour enfants ne rouge et soit en position dangereuse en cas d'accident. Pourmettre la ceinture de sécurité en mode de blocage automatique, la tirer complètement et la fixer tel qu'indiqué par les instructions sur le système de dispositif de sécurité pour enfants. Elle se retraitera sur le système de dispositif de sécurité pour enfants et restera bloquée. Se reporter à la section sur les dispositifs de sécurité pour enfants (page 2-34).
Ceinture de sécurité (Sauf position centrale arrête)
Pour boucler la ceinture de sécurité
- Saisir la languette de la ceinture de sécurité.
- Tirer doucement sur la ceinture ventrale-baudrier.

- Introduire la languette dans la boucle de la ceinture de sécurité jusqu'à ce qu'un déclic soit émis.

APRUDENCE
Position de la portion baudrier de la ceinture de sécurité:
Une position incorpore de la portion baudrier de la ceinture de sécurité est dangereuse. Tout jours s'assurer que la portion baudrier de la ceinture de sécurité est portée sur l'épaule et pres du cou, mais jamais sous le bras, sur le cou ou sur le bras.
- Placer la sangle ventrale aussi bas que possible, mais pas sur l'abdomen, puis régler la sangle de baudrier de façon qu'elle soit parfaitement ajustée sur le corps.

APRUDENCE
Position de la portion ventrale de la ceinture de sécurité:
Le fait de porter la portion ventrale de la ceinture de sécurité trop haut est dangereux. En cas de collision, cela concentre la force de l'impact directement sur l'abdomen, ce qui peut entrainer de graves blessures. Porter la portion ventrale de la ceinture de sécurité ajustée et le plus bas possible.
Pour détacher la ceinture de sécurité
Appuyer sur le bouton de la boucle de la ceinture de sécurité. Si une ceinture ne se rétracte pas complètement, vérifier si elle n'est pasvrilléeou torsadée.S'assurer ensuite qu'elle ne se torsade plus en se rétractant.

REMARQUE
Lors de l'utilisation de la ceinture de sécurité arrête au centre, se reférer à "Ceinture de sécurité arrête au centre" (page 2-26).
- Si une ceinture ne se rétracte pas complètement, vérifier si elle n'est pasvrillée ou torsadée. Si elle ne se rétracte:toujours pas correctement, la faireinspector par un concessionnaire/agreeedMazda.
Dispositif de réglage du baudrier avant
Régler la hauteur des baudriers si la ceinture de sécurité touche le cou ou si elle passse sur le bras au lieu de l'épaule. Pour relever le dispositif de réglage, le pousser vers le haut. Pour abaiser le dispositif de réglage, tirer sur le dispositif de réglage puis le déplacer vers le bas. S'assurer que le dispositif de réglage est verrouillé.

APRUDENCE
Position de la portion baudrier de la ceinture de sécurité:
Une position incorpore de la portion baudrier de la ceinture de sécurité est dangereuse. Tout jours s'assurer que la portion baudrier de la ceinture de sécurité est portée sur l'épaule et pres du cou, mais jamais sous le bras, sur le cou ou sur le bras.
Systèmes de dispositif de prétension de ceinture de sécurité avant et de limitation de charge
Pour une protection optimale, les ceintures de sécurité du conducteur et du passager avant sont équipées de systèmes de dispositif de pretension et de limitation de charge. Pour que ces deux systèmes puissant fonctionner correctement, il faut attacher correctement la ceinture de sécurité.
Dispositifs de prétension:
Les rétracteurs de ceintures de sécurité avant retirent le mou rapidement lorsque les coussins d'air se déployent. Les coussins d'air et les dispositifs de pretension de ceinture de sécurité doivent être remplacés à chaque fois qu'ils se sont déployés.
Se référer à Critères de déploiation des coussins d'air SRS (page 2-67) pour plus d'explications sur le déploiation des coussins d'air.
En outre, le dispositif de pretension du passager avant, de même que le coussin d'air du passager avant, a eté concu pour se déployer seulement en fonction du poids total assis sur le siège du passager avant. Pour plus de détails, se référer au système de classification des occupants du siège du conducteur et du passager avant (page 2-70).
Liminut de charge:
Le système de limitation de charge relâche la ceinture d'une manière contrôleafin de réduire la force appliquée par celle-ci sur la poitrine de l'occupant du siege. Bien que la charge la plus forte sur une ceinture de sécurité soit appliquée lors de collisions frontales, le limiteur de charge possède une fonction mécanique automatique et peut être activé dans n'importe quel mode d'accident avec un déplacement de l'occupant suffisant. Meme si les dispositifs de prétension ne se sont pas déployés, la fonction de limitation de charge doit être vérifiée par un concessionnaire/agréé Mazda.
A PRUDENCE
Ne porter les ceintures de sécurité que comme recommendé dans ce manuel: Une position incorrecte des ceintures de sécurité du conducteur et du passager avant est dangereuse. Si leur position n'est pas correcte, les systèmes de dispositif de pretension et de limitation de charge ne peuvent pas fournir une protection adequate en cas d'accident et cela peut entrainer de graves blessures. Pour plus de détails concernant l'attaches des ceintures de sécurité, se reférer "Pour boucler les ceintures de sécurité" (page 2-21).
Faire remplacer immédiatement les ceintures de sécurité si le dispositif de prétension ou le limiteur de charge se sont déployés:
Toujours demander à un concessionnaire agréé Mazda d'inspector immédiatement les dispositifs de prétension de ceinture de sécurité avant et les coussins d'air après une collision. comme les coussins d'air, les dispositifs de prétension de ceinture de sécurité avant et les limiteurs de charge ne fonctionneront qu'une fois et il faut les replacer après une collision au cours de laquelle ils se sont déployés. Une ceinture de sécurité dont le dispositif de prétension ou le limiteur de charge expansé est toujours uneffective solution que de ne pas porter du tout de ceinture de sécurité; toutefois, si les dispositifs de prétension de ceinture de sécurité avant et les limiteurs de charge ne sont pas replacés, le risque de blessure en cas de collision augmentera.
Ne jamais modifier les composants ou le câblage, et ne pas utiliser d'appareils électroniques d'essay sur le dispositif de prétension:
La modification de composantes ou du câblage du système de dispositif de prétension, incluant l'utilisation d'appareils électroniques d'essay, est dangereuse. Le système pourrait s'activer accidentellement ou être rendu inopérant ce qui pourrait l'empêcher de s'activer en cas d'accident. Les passagers ou toute personne faisant les travaux risqueraient de subir de graves blessures.
Mettre au rebut le dispositif de pretension selon la réglementation applicable:
Une mise au rebut non ajusté d'un dispositif de prétension ou la mise à la casse d'un vehicule avec des dispositifs de prétension non actifs est dangereuse. Si toutes les procédures de sécurité ne sont pas respectées, on risque des blessures. S'adresser à un concessionnaire agrée Mazda pour la méthode sécuritaire de mise au rebut d'un dispositif de prétension ou de mise à la casse d'un vehicule avec des dispositifs de prétension.
REMARQUE
-
Le dispositif de prétension se déclenché lors d'une collision frontale, semi-frontale d'une force modérée ou plus, ou lors d'un capotage. Il ne déclenché pas lors de la plupart des chocs lateraux ou arrêté. Le dispositif de prétension du passager avant a été concu pour se désployer seulement en fonction du poids total assis sur le siège du passager avant.
-
De la fumée (gaz non toxique) sera émise lorsque les coussins d'air et les dispositifs de prétension s'activent. Ceci n'indique pas qu'il y a un feu. Normalement ce gaz est sans effet sur les passagers, cependant, ceux qui ont la peau sensible peuvent subir une légère irritation. Si un résidu provenant de l'activation des coussins d'air et des dispositifs de prétension avant se dépose sur la peau ou dans les yeux d'une personne, se laverès que possible.
Voyant du système de coussins d'air/dispositif de prétension de ceinture de sécurité avant

Si le système de coussins d'air/dispositif de pretension de ceinture de sécurité avant est normal, le voyant s'allume lorsque le contacteur est mis à la position ON ou après que le moteur soit lancé. Le voyage s'éteint après une période de temps spécifique.
Une anomalie du système est indiquée par le fait que levoyant resteclignote,allumé ou ne s'allume pas du tout lorsque le contacteur est mis à la position ON.Dans un de ces cas,s'adresser à un concessionnaire agréed Mazda dés que possible.Le système risque de ne pas fonctionner en cas d'accident.

PRUDENCE
Ne jamais toucher au systèmes de coussin d'air/dispositif de prétension, et toujours confier tous les travaux l'entretien et de réparation à un concessionnaire agréé Mazda:
Le fait de faire l'entretien soi-même ou de toucher au système est dangereux. Les coussins d'air/dispositif de prétension peuvent se déclencher accidentellement ou être désactivés causant des blessures graves ou mortelles.
Signal sonore d'ajretissement de dispositif de pretension de ceinture de sécurité avant/ coussin d'air
Si un mauvais fonctionnement est detecté dans les systèmes de dispositif de pretension de ceinture de sécurité avant/ coussin d'air et leurs voyants, un signal sonore d'avertissement retentira pendant environ 5 secondes toutes les minutes.
Le signal sonore d'advertisement de dispositif de pretension de ceinture de sécurité avant/oussin d'air continuera de retentir pendant environ 35 minutes. Faire inspector le vehicule par un concessionnaire agrée Mazdaucs que possible.

PRUDENCE
Ne pas conduire le vehicule avec le signal sonore d'advertissement de dispositif de pretension de ceinture de sécurité avant/ coussin d'air qui retentit: Le fait de conduire le vehicule avec le signal sonore d'advertissement de dispositif de pretension de ceinture de sécurité avant/ coussin d'air qui retentit est dangereux. En cas de collision, les coussins d'air et le dispositif de pretension de ceinture de sécurité avant ne se déploieront pas, ceci peut cause la mort ou des blessures graves.
S'adresser à un concessionnaire agréé Mazda pour faire inspecter le vehicule des que possible.
Ceinture de sécurité centrale arrête
Avant d'utiliser la ceinture de sécurité ventrale-baudrier arrirée au centre, s'assurer que la languette (A) et la boucle (B) d'ancrage sont attachées.

Pour boucler la ceinture de sécurité
- Saisir la languette (C) de la ceinture de sécurité.
- Tirer doucement sur la ceinture ventrale-baudrier.
- Introduire la languette (C) de la ceinture de sécurité dans la boucle (D) de la ceinture de sécurité jusqu'à ce qu'un déclic soit émis.


PRUDENCE
Attacher la ceinture de sécurité arrêté au centre avec une seule boucle:
Le fait d'attacher la ceinture de sécurité arrêté au centre avec une seule boucle est dangereux. Si un seul ensemble de languette et boucle de la ceinture de sécurité, soit la languette (A) et la boucle (B) ou la languette (C) et la boucle d'ancrage (D), est attaché, la ceinture de sécurité ne pourrait pas assurer une protection complète. En cas de collision ou d'arrêt brusque, l'utilisateur de la ceinture risque de glisser sous la ceinture et subir de graves blessures. Toutjours s'assurer que les deux ensembles de languette et boucle sont correctement attachés.
Position de la portion baudrier de la ceinture de sécurité:
Une position incorpore de la portion baudrier de la ceinture de sécurité est dangereuse. Toujours s'assurer que la portion baudrier de la ceinture de sécurité est portée sur l'épaule et pres du cou, mais jamais sous le bras, sur le cou ou sur le bras.
- Placer la sangle ventrale aussi bas que possible, mais pas sur l'abdomen, puis régler la sangle de baudrier de façon qu'elle soit parfaitement ajustée sur le corps.

4 PRUDENCE
Position de la portion ventrale de la ceinture de sécurité:
Le fait de porter la portion ventrale de la ceinture de sécurité trop haut est dangereux. En cas de collision, cela concentre la force de l'impact directement sur l'abdomen, ce qui peut entrainer de graves blessures. Porter la portion ventrale de la ceinture de sécurité ajustée et le plus bas possible.
Pour détacher la ceinture de sécurité
Appuyer sur le bouton de la boucle de la ceinture de sécurité. Si une ceinture ne se rétracte pas complètement, vérifier si elle n'est pasvrilléeou torsadée.S'assurer ensuite qu'elle ne se torsade plus en se rétractant.

REMARQUE
Si une ceinture ne se retracte pas complètement, vérifier si elle n'est pasvrillée ou torsadée. Si elle ne se retracte toujours pas correctement, la faire inspector par un concessionnaire/agree Mazda.
Retraction de la ceinture de sécurité centrale pour abaiser les dossiers des sièges afin de transporter des bagages
Pour rétracter la ceinture centrale et abaiser les dossiers des sièges afin de transporter des bagages, introduire un objet de petite taille tel qu'une clé dans la fente de la boucle d'ancrage (B) de la ceinture de sécurité.

ATTENTION
Toujours detacher la portion ventrale de la ceinture de sécurité avant de replier le dossier du siège arrêté gauche. Si la portion ventrale de la ceinture est laissée attachée, cela peut endommager la ceinture de sécurité, la boucle de la ceinture de sécurité et le dossier du siège.
Rangement et sortie de la ceinture de sécurité arrêté au centre
La ceinture de sécurité arrête au centre peut être rangee en procédant comme suit.
ATTENTION
Lorsque la ceinture de sécurité est rangée, s'assurer qu'elle est bien verrouillée dans l'espace de rangement. Si la ceinture de sécurité n'est pas correctement rangée, elle risque de se coincer dans les sièges et d'être endommagée.
Pour ranger la ceinture de sécurité, rétractor la ceinture, tener les languettes de ceinture de sécurité (A) et (C) ensemble et les insérer dans l'espace de rangement.

Pourvoir la ceinture de sécurité, faire glisser la languette de ceinture de sécurité (A) avec le doigt tout en la déplaçant vers le bas, puis tirer doucement la ceinture de sécurité hors de l'espace de rangement dans le pavillon.

REMARQUE
- Pour encourager les passagers des sièges arrirée à boucler leur ceinture de sécurité, nous suggérons de laisser la portion ventrale de la ceinture centrale arrirée toujours attachée sauf lorsque le siège arrirée est replié vers l'avant.
- Si l'on déroule complètement la ceinture de sécurité en la tirant, elle passera en mode de blocage automatique. Si le mode de blocage automatique n'est pas nécessaire, retractor complètement la ceinture de sécurité pour la faire repasser en mode de blocage d'urgence.
Pour attacher à nouveau la ceinture de sécurité après avoir remis les dossiers des sièges arrrière en position verticale
Pour attacher à nouveau la ceinture de sécurité centrale après avoir remis les dossiers des sièges arrêté en position verticale, saisir la languette (A) de la ceinture de sécurité et l'introduire dans la boucle d'ancrage (B) de la ceinture de sécurité jusqu'à ce qu'un déclic soit émis. La ceinture peut maintainant être utilisée par un passager.
REMARQUE
Après avoir remis le dossier du siècle arrêté gauche à sa position relevante, attacher la portion ventrale de la ceinture de sécurité.
Rallonge de ceinture de sécurité
Si la ceinture de sécurité n'est pas assez longue, même lorsqu'elle est tirée au maximum, une rallonge de ceinture de sécurité peut etre disponible sans frais chez le concessionnaire agrée Mazda.
Cette rallonge de ceinture de sécurité sera donc pour une certaine personne, pour un vehicule et un siège en particulier.
Meme si cette rallonge peut s'attacher à d'autres ceintures de sécurité, elle peut ne pas etre assez resistante pour retenir le passager lors d'une collision.
Lors de la commande de la ballonge de ceinture de sécurité, ne commander qu'une longueur qui permette de boucler la ceinture correctement. Pour plus d'informations, s'adresser au concessionnaire agree Mazda.
PRUDENCE
N'utiliser une rallonge de ceinture de sécurité que quand cela est absolument nécessaire:
Le fait d'utiliser une rallonge de ceinture de sécurité lorsque cela n'est pas nécessaire est dangereux. La ceinture de sécurité sera trop longue et ne s'ajustera pas correctement. En cas d'accident, la ceinture de sécurité ne fournira pas une protection adequate et l'on risque de graves blessures. N'utiliser la rallonge de ceinture de sécurité que si elle est nécessaire pour boucler la ceinture de sécurité correctement.
Ne pas utiliser de rallonge de ceinture de sécurité inadéquate:
Le fait d'utiliser une rallonge de ceinture de sécurité conque pour une autre personne ou un autre vehicule ou siège est dangereux. En cas d'accident, la ceinture de sécurité ne fournira pas une protection adequate et l'on risque de graves blessures.
N'utiliser qu'une rallonge de ceinture de sécurité conque pour soi et sur le vehicule et le siège pour lesquels elle a eté concue. NE JAMAIS utiliser la rallonge de ceinture de sécurité sur un autre vehicule ou siège. En cas de vente du vehicule Mazda, ne pas laisser la rallonge de ceinture de sécurité dans le vehicule. Elle peut etre utilisée accidentellement par le nouveau proprietaire du vehicule.
Une fois la rallonge de ceinture de sécurité retiree, la metre au rebut. Ne jamais reutiliser la rallonge de ceinture de sécurité dans un autre vehicule.
Ne pas utiliser une rallonge trop longue:
Utiliser une rallonge trop longue est dangereux. La ceinture de sécurité sera trop longue et ne s'ajustera pas correctement. En cas d'accident, la ceinture de sécurité ne fournira pas une protection adequate et l'on risque de graves blessures. Ne pas utiliser la rallonge ou désirir une rallonge plus courte si la distance entre la boucle de la rallonge et le centre du corps de l'utilisateur est inférieure à 15 cm (6 po.).
Ne pas laisser de rallonge de ceinture de sécurité connectée à la boucle:
Il est dangereux de laisser une rallonge de ceinture de sécurité connectée à la boucle sans utiliser la ceinture de sécurité. Lorsque la rallonge de ceinture de sécurité est connectée à la boucle de la ceinture de sécurité du siège du conducteur (ou du passager avant), le système de coussin d'air SRS du conducteur (ou du passager avant) déterminera que le conducteur (ou le passager avant) a attaché sa ceinture de sécurité, même si le conducteur (ou le passager avant) ne l'a pas attachée.
Ceci pourrait faire que le coussin d'air du conducteur (ou du passager avant) ne soit pas activé correctement, et des blessures graves ou mortelles risqueraient de s'ensuivre en cas de collision.
Toujours attacher sa ceinture de sécurité avec la rallonge de ceinture de sécurité.
Ne pas utiliser la rallonge de ceinture de sécurité lorsqu'on installe un système de dispositif de sécurité pour enfants sur le siège du passager avant ou arrière:
Il est dangereux d'utiliser une rallonge de ceinture de sécurité pour attacher un système de dispositif de sécurité pour enfants sur n'importe quel siege. Toujours bien suivre les instructions d'installation du fabricant du système de dispositif de sécurité pour enfants, et ne jamais utiliser une rallonge de ceinture de sécurité.
REMARQUE
Lorsqu'elle n'est pas utilisée, enlever la rallonge de ceinture de sécurité et l'entreposer dans le vehicule. Si la rallonge de ceinture de sécurité est laissée connectée, cela peut endommager la rallonge de ceinture de sécurité car elle ne se retraitera pas avec le reste de la ceinture de sécurité et pourra aisément tomber hors de la portiere lorsqu'elle n'est pas utilisée, et être endommagée. En outre, levoyant de ceinture de sécurité ne s'allumera pas et ne fonctionnera pas correctement.
Voyant/bip de ceintures de sécurité

Levoyant de ceinture de sécurité s'allume et un signal sonore d'advertissement se fait entendre si la ceinture de sécurité du conducteur n'est pas bouclée lorsque le contacteur est mis à la position ON.
Conditions de fonctionnement
| Etat | Résultat |
| La ceinture de sécurité du conducteur n'est pas bouclée lorsque le contacteur est mis à la position ON. | Levoyant clignote et un signal sonore d'advertissement se fait entendre pendant environ 6 secondes. |
| La ceinture de sécurité du conducteur est bouclée pendant que le voyant et le signal sonore d'advertissement sont actifs. | Levoyant s'éteint et le signal sonore d'advertissement s'arrête. |
| La ceinture de sécurité du conducteur est bouclée avant que le contacteur soit mis à la position ON. | Levoyant ne s'allume pas et le signal sonore d'advertissement ne sa fait pas entendre. |
▼ Rappel de bouclage des ceintures de sécurité
REMARQUE
Consulter un concessionnaire agreeé Mazda pour désactiver ou reactiver le rappel de bouclage des ceintures de sécurité. Bien que le rappel de bouclage de ceinture de sécurité puisse être désactivé, le faire est contraire au but du système qui est d'avertir le conducteur et le passager avant que leurs ceintures de sécurité ne sont pas attachées. Mazda recommande de ne pas désactiver le rappel de bouclage de ceinture de sécurité afin de ne pasmettre en danger le conducteur et le passager avant.
Conducteur assis/passager avant non assis
Le dispositif de rappel de bouclage de ceinture de sécurité est un averissement supplémentaire qui s'ajoute à la fonction d'ajvement du port de la ceinture de sécurité. Si la ceinture de sécurité du conducteur n'est pas bouclée lorsque le contacteur est mis à la position ON, levoyant/signal sonore des ceintures de sécurité déclenché une averissement conformé à ce qui est indiquedans le tableau ci-dessous.
| Etat | Vitesse du vehicule | |||
| 0 — 20 km/h(0 — 12 mi/h) | 20 km/h(12 mi/h) ouplus | |||
| Ceinture de sécurité | O | X | O | X |
| Témoin | 马 | 溪 | ||
| Bip | △ | |||
: Bouclée
X:Detachée
:Allumé
:Clignantant
Bip
Une fois le bip sonore déclenché, celui-ci continue même si la vitesse du vehicule redescend au dessous de 20~km / h (12 mi/h), jusqu'à ce que la ceinture de sécurité soit bouclée ou que la durée du signal sonore soit expirée.
Conducteur assis/passager avant assis
La fonction devoyant/bipde ceinture desecuritiesindique au passager avant debouclersa ceinture selon le diagrammeseuivant.
| Etat | Vitesse du vehicule | ||||||
| 0 — 20 km/h(0 — 12 mi/h) | 20 km/h(12 mi/h) ouplus | ||||||
| Ceinture de sécurité(Conducteur) | O | O | X | X | O | O | X |
| Ceinture de sécurité(Passager) | O | X | O | X | O | X | O |
| Témoin | X | X | X | X | |||
| Bip | X | X | X | ||||
O : Bouclée
X:Detachée
:Allumé
涛:Clignantant
Bip
Si des objets lourds sont placés sur le siège du passager avant, il est possible que la fonction devoyant/bipde ceinture de sécurité du passager avant s'enclenche, selon le poids de ces objets.
Une fois le bip sonore déclenché, celui-ci continue même si la vitesse du vehicule redescend au dessous de 20km / h (12 mi/h), jusqu'à ce que la ceinture de sécurité soit bouclée ou que la durée du signal sonore soit expirée.
REMARQUE
- Pour permettre au capteur de chargement du siège de passager avant de fonctionner correctement, n'utiliser pas de coussin supplémentaire sur le siège pour vous asseoir. Le capteur risque de ne pas fonctionner correctement car il sera gené par le coussin additionnel.
- Lorsqu'un petit enfant s'assoir sur le siege du passager avant, il est possible que ni le voyant ni le bip ne s'enclenchent.
Précautions concernant les dispositifs de sécurité pour enfants
Mazda recommende vivement l'utilisation d'un système de dispositif de sécurité pour enfants, pour tout enfant assez petit pour s'y asseoir.
Aux Etats-Unis et au Canada, la loi impose l'utilisation de dispositifs de sécurité pour les enfants.
Consulter la reglementation locale, provinciale et federale pour les normes spécifiques sur la sécurité des enfants prénant place dans un vehicule.
Quelque soit le type de système de dispositif de sécurité pour enfants adapté, s'assurer d'enCHOIs un qui sera approprié à l'âge et la taille de l'enfant, respecter toutes les lois nationales et provinciales et suivre les instructions accompagnant le système de dispositif de sécurité pour enfants en question.
Si un enfant est trop grand pour le système de dispositif de sécurité pour enfants, il devrait s'asseoir sur le siège arrêté et utiliser la ceinture de sécurité ventrale et le baudrier. Si la portion baudrier de la ceinture passse sur le cou ou le visage de l'enfant, le déplacer vers le centre du vehicule pour les sièges près des portières et près de la boucle à droite si l'enfant est assis sur le siège du centre.
Les statistiques confirment que le siège arrêté est l'endetroit le plus sécurité pour tous les enfants jusqu'à 12 ans, sur tout si le vehicule est équipé d'un système de retenue supplémentaire (coussins d'air).
Un système de dispositif de sécurité pour enfants faisant face vers l'arrière du vehicule ne doit JAMAIS être utilisé sur le siège avant avec le système de coussin d'air activé. Le siège du passager avant est l'endetroit le moins recommandé pour tout另一种 de système de dispositif de sécurité pour enfants.
Pour diminuer les risques de blessures causées par le déploiemment du coussin d'air cote passager avant, des capteurs de poids du siège du passager avant fonctionnement de pair avec le système de retenue supplémentaire. Ce système désactive les coussins d'air avant et lateraux ainsi que le dispositif de pretension de ceinture de sécurité du passager avant quand le témoin de désactivation du coussin d'air du passager avant s'allume.
Lorsqu'un bébé ou jeune enfant prend place sur le siège du passager avant, le système désactive les coussins d'air avant et létral côte passager avant et le dispositif de prétension de ceinture de sécurité du passager avant, il faut donc s'assurer que le témoin de désactivation du coussin d'air du passager avant s'allume.
Meme si le coussin d'air cote passager avant est desactive, Mazda recommends vivement que les enfants soient correctement retenus et que tout système de dispositif de sécurité pour enfants soit correctement fixé sur les sièges arrêté qui sont la position la plus sécurité pour les enfants.
Pour plus de détails, se référer à “Capteurs de poids du siècle du passager avant” (page 2-70).

PRUDENCE
Utiliser le système de dispositif de sécurité pour enfants de taille correcte:
Pour une protection adequate en cas d'accident ou d'arrêt brusque, l'enfant doit être correctement attaché à l'aide de la ceinture de sécurité ou d'un système de dispositif de sécurité pour enfants suivant son âge et sa taille. Sinon, l'enfant peut subir de graves blessures ou même la mort.
Suivre les instructions du fabricant et toujours garder le système de dispositif de sécurité pour enfants attaché:
Un système de dispositif de sécurité pour enfants qui n'est pas fixé est dangereux. En cas d'arrêt brusque ou de collision, il risque de se déplacer causant de graves blessures ou la mort de l'enfant ou des autres passagers. S'assurer que le système de dispositif de sécurité pour enfants est bien fixé en place suivant les instructions du fabricant du système de dispositif de sécurité pour enfants. Lorsqu'il n'est pas utilisé, le retireur du vehicule ou l'attacher à l'aide d'une ceinture de sécurité, ou le fixer aux DEUX ancreges inférieurs LATCH pour les systèmes de dispositif de sécurité pour enfants de type LATCH et les sangles d'ancrage correspondantes.
Toujours bien attacher un enfant dans un système de dispositif de sécurité pour enfants ajustat:
Le fait de tener un enfant dans les bras pendant que le vehicule est en mouvement est extrémement dangereux. Peu importe la force d'une personne, il ou elle ne pourrait pas retenir l'enfant en cas d'arrêt brusque ou de collision et cela peut cause de graves blessures ou la mort de l'enfant ou des autres passagers. Meme en cas d'accident modéré, l'enfant peut subir les forces du coussin d'air qui peuvent cause de graves blessures ou la mort de l'enfant, ou l'enfant peut être projeté contre un adulte, ce qui pourrait blesser à la fois l'enfant et l'adulte.
Ne jamais utiliser, sur le siège avant avec un coussin d'air qui risque de se déployer, un système de dispositif de sécurité pour enfants faisant face à l'arrête du vehicule:
Les systèmes de dispositif de sécurité faisant face à l'arrête du vehicule installés sur le siège avant sont en fait particulièrement dangereux, même si vous étés convaincu qu'un coussin d'air de passager avant ne se déploiera pas parce que le témoin de désactivation de coussin d'air du passager avant est allumé. Le dispositif de sécurité peut être cogné par le coussin qui se déploie et poussé violemment vers l'arrête causant de graves blessures ou la mort à l'enfant.

Ne pas installer un système de dispositif de sécurité pour enfants faisant face à l'avant du vehicule sur le siège du passager avant, sauf si c'est absolument inévitable:
En cas de collision, la force d'un sac gonfable qui se déploie risquérait de blesser gravement ou mortellement l'enfant. S'il est inévitable d'installer un système de dispositif de sécurité pour enfants faisant face à l'avant du vehicule sur le siège du passager avant, déplacer le siège du passager avant le plus possible vers l'arrière.

Dans certaines conditions, il est dangereux de faire asseoir un enfant dans un système de dispositif de sécurité pour enfants installé sur le siège du passager avant:
Le vehicule est équipé de capteurs de poids du siège du passager avant. Meme avec les capteurs de poids du siège du passager avant, si vousdezutelier le siège du passager avant pour y faire asseoir un enfant, le fait d'utiliser un système de dispositif de sécurité pour enfants sur le siège du passager avant dans les conditions suivantes augmente le danger du déploiement du coussin d'air côté passager avant, ce qui présente un risque sérieux de blessures graves ou mortelles à l'enfant.
Le témoin de désactivation du coussin d'air du passager avant ne s'allume pas quand on installe un enfant dans le système de dispositif de sécurité pour enfants.
Des bagages ou autres articles sont placés sur le siège avec l'enfant dans le système de dispositif de sécurité pour enfants.
Un passager arrirée ou des bagages poussent ou tirent le dossier du siège du passager avant.
Un passager arrêté pousse vers le haut avec les pieds le siège du passager avant.
Des bagages ou autres articles sont placés sur le dossier du siècle ou accrochés sur l'appuie-tête.
Les objets lourds sont placés dans la poche à cartes du dossier.
Le siège est lavé.
Desliquides ont etere renverses sur le siege.
Le siège du passager avant est déplace vers l'arrière, faisant pression contre des bagages ou autres articles placés derrière.
Le dossier du siège du passager avant touche au siège arrière.
Des bagages ou autres articles sont placés entre le siège du passager avant et le siège du conducteur.
Des accessoires, qui peuvent augmenter le poids total assis sur le siège du passager avant, sont fixés sur le siège du passager avant.
Les positions désignées avec ceintures de sécurité sur les sièges arrêtè sont les endroits les plus sécuritaires pour des enfants. S'assurer de tous jours utiliser des ceintures de sécurité et des systèmes de dispositif de sécurité pour enfants.
Ne pas laisser un enfant ou un autre passager se pencher par la vitre laterale ou s'appuyer contre celle-ci dans un vehicule équipé de coussins d'air latéraux et rideaux de sécurité gonflables:
Il est dangereux de laisser une personne se pencher par la vitre laterale ou s'appuyer contre celle-ci, contre la partie du tableau de bord située à l'avant du passager avant, contre les montants des vitres avant et arrière, ainsi que contre les deux côtés du bord du toit où les coussins d'air latéraux et rideaux de sécurité gonflables se gonflent, même si un système de dispositif de sécurité pour enfants est en place. L'impact du gonflement du coussin d'air latéral ou d'un rideau de sécurité peut cause des blessures graves ou la mort d'un enfant mal positionné. De plus, le fait de se pencher sur ou contre la portière avant peut bloquer le déploiement des coussins d'air latéraux et des rideaux de sécurité et eliminer les avantages de la protection supplémentaire. Avec le coussin d'air avant et le coussin d'air latéral qui se déploie du siècle avant, le siècle arrêté est le meilleur endroit pour des enfants qui risquent de s'endormir. Veiller à ne pas laisser un enfant se pencher sur ou contre la vitre latérale, même s'il est attaché dans un système de dispositif de sécurité pour enfants.
Ne jamais utiliser une ceinture de sécurité pour attacher plus d'une personne à la fois:
L'utilisation d'une ceinture de sécurité pour plus d'une personne à la fois est dangereuse. Toute ceinture de sécurité utilisée de cette façon ne peut pas distribuer correctement les forces d'un impact et les deux passagers risquent d'être écrasés l'un contre l'autre et gravement blessés ou tués. Ne jamais utiliser une ceinture de sécurité pour plus d'une personne à la fois et veiller toujours à ce que chaque occupant ait bien attaché sa ceinture.
S'assurer de tous jours-retirer le système de dispositif de sécurité pour enfants du siège arrêté avant d'utiliser les leviers de poignée à distance du siège arrêté:
L'utilisation des leviers de poignée à distance lorsqu'un système de dispositif de sécurité pour enfants faisant face vers l'arrière est installé sur le siège arrière est dangereuse. Cela peut cause des blessures à l'enfant assis dans le système de dispositif de sécurité pour enfants lorsque le dossier du siège se rabat vers l'avant soudainement.

ATTENTION
Une ceinture de sécurité ou un système de dispositif de sécurité pour enfants peut devenir très chaud dans un vehicule fermé lorsqu'il fait chaud. Pour éviter de se brûler ou de brûler l'enfant, les vérifier avant de les toucher ou que l'enfant les touche.
REMARQUE
Ce vehicule Mazda est équipé d'ancrages inférieurs LATCH pour la fixation de systèmes de dispositif de sécurité pour enfants de type LATCH spécialement concus, sur le siège arrêté. Lors de l'utilisation de ces ancrages pour fixer un système de dispositif de sécurité pour enfants, se reférer à "Système de dispositif de sécurité pour enfants de type LATCH" (page 2-49).
Position d'installation de système de dispositif de sécurité pour enfants
Dans ce conduite et entretien, les instructions pour les systèmes de dispositif de sécurité pour enfants sont fournies pour les trois types les plus commun de ces systèmes: dispositif de sécurité pour bébés, dispositif de sécurité pour jeunes enfants et siège d'appoint.
REMARQUE
- La position d'installation est déterminée par le type de système de dispositif de sécurité pour enfants. S'assurer de lire attentivement les instructions du fabricant et ce manuel.
- En raison des variations dans la conception des systèmes de dispositifs de sécurité pour enfants, les sièges de vehicule et les ceintures de sécurité, tous les systèmes de dispositifs de sécurité pour enfants ne s'adaptent pas à toutes les positions des sièges. Avant d'acheter un système de dispositif de sécurité pour enfants, il faut le tester dans la ou les positions des sièges du vehicule spécifique où il sera utilisé. Si un système de dispositif de sécurité pour enfants précédemment acheté ne s'adapte pas, vous devrez peut-être en rachatier un autre plus ajusté.
Dispositif de sécurité pour bébés
Un dispositif de sécurité pour bébés offre un système de retenue où la tête, le cou et le dos de l'enfant sont calés contre la surface du siege.

Dispositif de sécurité pour jeunes enfants
Un dispositif de sécurité pour jeunes enfants retient le corps d'un enfant à l'aide de harnais.

Siège d'appoint
Un siège d'appoint est un accessoire de retenue pour enfants concu pour améliorer l'adaptation du système de ceinture de sécurité autour du corps de l'enfant.

Installation de systèmes de dispositif de sécurité pour enfants
Les statistiques sur les accidents indiquent qu'un enfant est plus en sécurité sur le siège arrêté. Le siège du passager avant est le plus mauvais choix pour tout enfant de moins de 12 ans et pour un système de dispositif de sécurité pour enfants faisant face vers l'arrière, il est extrémement dangereux.
REMARQUE
Meme si votre vehicule est doté de capteurs de poids de siege passager avant (page 2-70) qui désactivement automatiquement le coussin d'air du siege passager avant, le siege arrêté est l'endetroit le plus sur pour les enfants de tout âge et de toute taille.
Certain systèmes de dispositif de sécurité pour enfants sont équipés de sangles d'ancrage et pour être efficaces ils doivent donc être installés sur des sièges qui peuvent accommoder les ancrages. Dans ce vehicule Mazda, des systèmes de dispositif de sécurité pour enfants équipés de sangles d'ancrage ne peuvent être installés qu'aux trois positions du siège arrière.
Certains systèmes de dispositif de sécurité pour enfants utilisant des fixations spéciales de type LATCH; se référer à "Système de dispositif de sécurité pour enfants de type LATCH" (page 2-49).
APRUDENCE
Les systèmes de dispositif de sécurité pour enfants équipés de sangles d'ancrage ne peuvent être installés que sur le siège arrêté équipés de supports d'ancrage:
L'installation d'un système de dispositif de sécurité pour enfants équipé de sangles d'ancrage sur le siège du passager avant annule la conception sécuritéaire du système et entraînera un plus grand risque de blessures graves si le système de dispositif de sécurité pour enfants se déplace vers l'avant sans être retenu par la sangle d'ancrage.
Placer tout système de dispositif de sécurité pour enfants équipé de sangles d'ancrage sur un siège qui peut accommoder un ancrage.
Installation du système de dispositif de sécurité pour enfants sur le siège arrêté
Suivre ces instructions lors de l'utilisation d'un système de dispositif de sécurité pour enfants, à moins de fixer un système de dispositif de sécurité pour enfants de type LATCH aux ancrages inférieurs LATCH. Se référer à "Système de dispositif de sécurité pour enfants de type LATCH" (page 2-49).
REMARQUE
Suivre à la dette les instructions fournies par le fabricant du système de dispositif de sécurité pour enfants. En cas de doute au sujet du système ou de l'ancrage LATCH, vérifier dans les instructions du manufacturier du système de dispositif de sécurité pour enfants et les suivre exactement. Selon le type de système de dispositif de sécurité pour enfants, il est possible qu'un système de type LATCH soit utilisé à la place des ceintures de sécurité ou, si la ceinture se trouve sur la poitrine de l'enfant, il est possible que l'utilisation du mode de blocage automatique soit déconseillée.
- S'assurer que le dossier du siège est solidement verrouillé en le poussant et le tirant jusqu'à ce qu'il soit complètement verrouillé.
- Soulever l'appuie-tete en position verrouillée supérieure (sauf pour la position centrale du siège). Se référer à Appuie-tete à la page 2-15.
-
Fixer le système de dispositif de sécurité pour enfants avec la portion ventrale de la ceinture ventrale-baudrier. Se reporter aux instructions du fabricant du système de dispositif de sécurité pour enfants pour les endroits où la ceinture doit passer.
-
Pourmettre l'enrouleur en mode de blocage automatique,tirer complètement la portion baudrier de la ceinture jusqu'à ce qu'elle soit complètement déroulée.

- Placer le système de dispositif de sécurité pour enfants fermement sur le siège du vehicule. S'assurer que la ceinture se rétracte et serre le système de dispositif de sécurité pour enfants. Pendant que la courroie est enroulée, un déclic se fera entendre sur l'enrouleur lorsqu'il est en mode de blocage automatique. Si la ceinture ne bloque pas le système de dispositif de sécurité pour enfants fermement, repeter cette étape.

REMARQUE
Inspector cette fonction avant chaque utilisation du système de dispositif de sécurité pour enfants. Il ne devrait pas etre possible de tirer la couroie hors de l'enrouleur s'il est en mode de blocage automatique. Lorsque le système de dispositif de sécurité pour enfants est retire, s'assurer de retractor la ceinture complètement pour remettre l'enrouleur en mode de blocage d'urgence avant qu'un passager n'utilise la ceinture.
- Si le système de dispositif de sécurité pour enfants requiert l'utilisation d'une sangle d'ancrage, accrocher et serrer la sangle d'ancrage après le relièvement de l'appuie-tête (sauf position centrale) suivant les instructions du fabricant.

Emplacement du support d'ancrage (côté portière)
Position de la sangle d'ancrage (côté portière)

Emplacement du support d'ancrage (central)

Position de la sangle d'ancrage (centrale)

- Installer l'appuie-tete.
Se référer à Appuie-tête à la page 2-15.
4 PRUDENCE
N'utiliser les ensembles d'ancrage ou les points d'ancrage que pour fixer un système de dispositif de sécurité pour enfants:
L'utilisation de la couroie ou des points d'ancrage dans un but autre que la fixation d'un système de dispositif de sécurité pour enfants est dangereuse. Les ensembles d'ancrage ou les points d'ancrage risquent de s'affa bilir ou de s'endommager et entrainer des blessures.
Faire toujours passer la sangle d'ancrage entre l'appuie-tête et le dosquier du siège (Sauf position centrale):
Le fait passer la sangle d'ancrage par le haut de l'appuie-tête est dangereux. En cas de collision, la sangle d'ancrage peut glisser de l'appuie-tête et le système de dispositif de sécurité pour enfants ne sera pas correctement retenu. Le dispositif de sécurité pour enfants peut bouger, ce qui peut entraîner la mort ou une blessure de l'enfant.
Toujours attacher la sangle d'ancrage à la position de crochet d'ancrage correcte:
Attacher la sangle d'ancrage à la position de crochet d'ancrage incorrecte est dangereux. En cas de collision, la sangle d'ancrage peut glisser et le système de dispositif de sécurité pour enfants ne sera pas correctement retenu. Le dispositif de sécurité pour enfants peut bouger, ce qui peut entraîner la mort ou une blessure de l'enfant.
▼Si un enfant doit absolument etre assis sur le siege avant
Si tous les enfants ne peuvent pas etre assis sur le siege arriere, s'assurer desmettre le plus petit a l'arriere et que le plusgrand assis a I'avant porte le baudriercorrectement sur I'epaule.
Ne JAMAIS utiliser de système de dispositif de sécurité pour enfants faisant face à l'arrière sur le siège du passager avant, et ce que le vehicule soit équipé ou non d'un capteur de poids du siège. Aussi, ce siège ne peut pas être utilisé pour des systèmes de dispositif de sécurité pour enfants équipés de sangles d'ancrage qui doivent être installés sur l'un des sièges arrirée à une position avec ancrage. De même, un système de dispositif de sécurité pour enfants de type LATCH ne peut pas être fixé sur le siège du passager avant et doit être installé sur le siège arrrière.
Ne pas permettre àquelqu'un de dormir contre la vitre laterale si le siège est équipé du coussin d'air létal et du rideau gonflable offert en option, car il risque de causer de graves blessures à tout passager qui ne serait pas correctement assis sur le siège. Etant donné que les enfants dorment souvent en voiture, il est recommendé de les asseoir sur un siège arrrière. Si l'ss installation sur le siège avant du système de dispositif de sécurité pour enfants est inévitable, suivre ces instructions lors de l'utilisation d'un système de dispositif de sécurité pour enfants faisant face vers l'avant sur le siège du passager avant.
REMARQUE
- Pour vérifier si les sièges avant sont équipés de coussins d'air latéraux: Les vehicules Mazda équipés de coussins d'air latéraux possèdent une étiquette "SRS AIRBAG" apposée sur le côte extérieur de chacun des sièges avant.
- Pour savoir si le vehicule est équipé de rideaux de sécurité gonflables: Les vehicules Mazda équipés du rideau de sécurité gonflable comportent une mention "SRS AIRBAG" marquee sur les montants de fenêtres le long du bord du pavillon.
4 PRUDENCE
Faire coulisser le siège du passager avant vers l'arrête au maximum s'il est absolument nécessaire d'insteller un système de dispositif de sécurité pour enfants faisant face à l'avant sur celui ci:
Etant donne que le vehicule est {_equipe de coussins d'air avant et {_encore plus parce qu'il est {_equipe de {_coussins d'air lateraux, un {_systeme {_de dispositif de {_securite pour {_enfants faisant face vers l'avant ne devrait {_etre installé sur le siège du {_passager {_avant que si cela est {_absolument {_necessaire.
Mème si le témoin de désactivation du coussin d'air du passager avant est allumé, faire toujours coulisser le siège du passager avant vers l'arrière au maximum, car la force du coussin d'air qui se déploie peut causeur de graves blessures ou même la mort de l'enfant.
Ne jamais utiliser, sur le siècle avant avec un coussin d'air qui risque de se déployer, un système de dispositif de sécurité pour enfants faisant face à l'arrête du vehicule:
Un système de dispositif de sécurité pour enfants faisant face vers l'arrière sur le siege du passager avant est particulièrement dangereux.
Mème en cas de collision modérée, le dispositif de sécurité peut être cogné par le coussin qui se déploie et poussa violemment vers l'arrière, ce qui pourrait blesser gravement ou mortellement l'enfant. Mème si l'on pense que le coussin d'air côté passager avant ne se déploiera pas car le témoin de désactivation du coussin d'air du passager avant est allumé, vous ne devriez pas utiliser, sur le siège avant avec un coussin d'air qui risque de se déployer même en cas de collision modérée, un système de dispositif de sécurité pour enfants faisant face vers l'arrière du vehicule dans le siège avant.
Ne pas laisser un enfant ou un autre passager se pencher par la vitre laterale ou s'appuyer contre celle-ci dans un vehicule équipé de coussins d'air lateraux et rideaux de sécurité gonflables:
Il est dangereux de laisser une personne se pencher par la vitre latérale ou s'appuyer contre celle-ci, contre la partie du tableau de bord située à l'avant du passager avant, contre les montants des vitres avant et arrrière, ainsi que contre les deux côts du bord du toit où les coussins d'air latéraux et rideaux de sécurité gonflables se gonflent, même si un système de dispositif de sécurité pour enfants est en place. L'impact du gonflement du coussin d'air latéral ou d'un rideau de sécurité peut causer des blessures graves ou la mort d'un enfant mal positionné. De plus, le fait de se pencher sur ou contre la portière avant peut bloquer le déploiemment des coussins d'air latéraux et des ridesaux de sécurité et éliminer les avantages de la protection supplémentaire. Avec le coussin d'air avant et le coussin d'air latéral qui se déploie du siege avant, le siege arrrière est le meilleur endroit pour des enfants qui risquent de s'endormir. Veiller à ne pas laisser un enfant se pencher sur ou contre la vitre latérale, même s'il est attaché dans un système de dispositif de sécurité pour enfants.
Installation du système de dispositif de sécurité pour enfants sur le siège du passager avant
- Mettre le contacteur en position ON.
- Faire coulisser le siège au maximum vers l'arrière.

- Placer le système de dispositif de sécurité pour enfants sur le siège sans appliquer votre poids sur le siège et attacher la ceinture de sécurité. Se reporter aux instructions du fabricant du système de dispositif de sécurité pour enfants pour les endroits où la ceinture doit passer.
-
Pourmettre l'enrouleur en mode de blocage automatique,tirer complètement la portion baudrier de la ceinture jusqu'à ce qu'elle soit complètement déroulée.
-
Placer le système de dispositif de sécurité pour enfants fermement sur le siège du vehicule. S'assurer que la ceinture se rétracte et serre le système de dispositif de sécurité pour enfants. Pendant que la courroie est enroulée, un déclic se fera entendre sur l'enrouleur lorsqu'il est en mode de blocage automatique. Si la ceinture ne e bloque pas le système de dispositif de sécurité pour enfants fermement, repeter ces deux dernières étapes.
REMARQUE
- Inspector cette fonction avant chaque utilisation du système de dispositif de sécurité pour enfants. Il ne devrait pas etre possible de tirer la courroie hors de l'enrouleur s'il est en mode de blocage automatique. Lorsque le système de dispositif de sécurité pour enfants est retire, s'assurer de retractor la ceinture complètement pour remettre l'enrouleur en mode de blocage d'urgence avant qu'un passager n'utilise la ceinture.
- Suivre à la dette les instructions fournies par le fabricant du système de dispositif de sécurité pour enfants.
Suivant le type de système de dispositif de sécurité pour enfants, il peut ne pas utiliser des ceintures de sécurité en mode de blocage automatique.
-
Installeriste parent en toute sécurité dans le système de dispositif de sécurité pour enfants et attacher l'enfant suivant les instructions du fabricant du système de dispositif de sécurité pour enfants.
-
S'assurer que le témoin de désactivation du coussin d'air du passager avant s'allume après avoir installé un système de dispositif de sécurité pour enfants sur le siège du passager avant.
Si le témoin de désactivation du coussin d'air du passager avant ne s'allume pas, retirer le système de dispositif de sécurité pour enfants, commuter le contacteur sur OFF ou ACC, puis réinstaller le système du dispositif de sécurité pour enfants. Se référer à Capteurs de poids du siège du passager avant à la page 2-70.


PRUDENCE
Ne pas faire asseoir un enfant dans un système de dispositif de sécurité pour enfants installé sur le siège du passager avant si le témoin de désactivation du coussin d'air du passager avant n'est pas allumé:
Bien qu'il soit toujours mistroux d'installer un système de dispositif de sécurité pour enfants sur le siège arrière, il est imperatif qu'un système de dispositif de sécurité pour enfants UNIQUEMENT soit utilisé sur le siège du passager avant si le témoin de désactivation s'allume lorsque l'enfant est assis dans le système de dispositif de sécurité pour enfants (page 2-70). Le fait d'asseoir un enfant dans un système de dispositif de sécurité pour enfants installé sur le siège du passager avant avec le témoin de désactivation du coussin d'air du passager avant non allumé est dangereux. Si ce témoin ne s'allume pas, cela signifie que les coussins d'air avant et l'边际 côté passager avant et le système de dispositif de prétension de ceinture de sécurité sont prêts au déploiemment. Si un accident déploie les coussins d'air, tout enfant dans un système de dispositif de sécurité pour enfants assis sur le siège du passager avant pourrait subir de graves blessures ou la mort. Si ce témoin ne s'allume pas après qu'on a fait asseoir un enfant dans un système de dispositif de sécurité pour enfants sur le siège du passager avant, faire asseoir l'enfant dans un système de dispositif de sécurité pour enfants sur le siège arrêté et s'adresser à un concessionnaire agrée Mazda lors que possible.
Système de dispositif de sécurité pour enfants de type LATCH
Ce vehicule Mazda est équipé d'ancrages inférieurs LATCH pour la fixation de systèmes de dispositif de sécurité pour enfants de type LATCH spécialément concus, sur le siège arrrière. Les deux ancrages doivent être utilisés, sinon le siège bougera et sera dangereux pour l'enfant s'y trouvant. Certains systèmes de dispositif de sécurité pour enfants de type LATCH doivent aussi être fixés avec une sangle d'ancrage pour être correctement fixés. S'ils sont équipés d'une sangle d'ancrage elle doit être utilisée pour assurer la sécurité de l'enfant.

PRUDENCE
Suivre les instructions du fabricant pour l'utilisation du système de dispositif de sécurité pour enfants:
Un système de dispositif de sécurité pour enfants qui n'est pas fixé est dangereux. En cas d'arrêt brusque ou de collision, il risque de se déplacer causant de graves blessures ou la mort de l'enfant ou des autres passagers. S'assurer que le système de dispositif de sécurité pour enfants est bien fixé en place suivant les instructions du fabricant du système de dispositif de sécurité pour enfants.
Ne jamais attacher deux systèmes de dispositif de sécurité pour enfants au même ancrage inférieur LATCH:
Le fait d'attacher deux systèmes de dispositif de sécurité pour enfants au même ancrage inférieur LATCH est dangereux. En cas de collision, un ancrage risquera de ne pas etre assez solide pour retenir deux fixations de système de dispositif de sécurité pour enfants et de se casser, causant de graves blessures ou la mort. Si le siège est utilisé pour un autre système de dispositif de sécurité pour enfants lorsqu'un ancrage inférieur LATCH cote portiere est utilisé, utiliser les ceintures centrales et la sangle d'ancrage pour fixer le siège.
S'assurer que le système de dispositif de sécurité pour enfants est bien fixé:
Un système de dispositif de sécurité pour enfants qui n'est pas fixé est dangereux. En cas d'arrêt brusque ou de collision, il risque de se déplacer causant de graves blessures ou la mort de l'enfant ou des autres passagers. Suivre les instructions du manufacturier du système de dispositif de sécurité pour enfants sur les endroits de passage de la ceinture pour fixer le siège comme si un enfant s'y trouvait, pour que personne ne mette un enfant dans un dispositif de sécurité pour enfants qui n'est pas correctement fixé. Lorsqu'il n'est pas utilisé, le retireur du vehicule ou l'attacher à l'aide d'une ceinture de sécurité, ou le fixer aux DEUX ancrages inférieurs LATCH pour les systèmes de dispositif de sécurité pour enfants de type LATCH.
S'assurer que les ceintures de sécurité ou autres objets étrangers ne se trouvent pas pres ou sur le système de dispositif de sécurité pour enfants de type LATCH:
Le fait de ne pas respecter les instructions du fabricant concernant l'installation du système de dispositif de sécurité pour enfants lors de son installation est dangereux. Si les ceintures de sécurité ou autres objets étrangers empêchent le système de dispositif de sécurité pour enfants d'être correctement fixé aux ancrages inférieurs LATCH, et que le système de dispositif de sécurité pour enfants est installé incorrectement, le système de dispositif de sécurité pour enfants risque de bouger en cas d'arrêt brusque ou de collision causant de graves blessures ou la mort de l'enfant ou d'autres occupants du vehicule. Lors de l'installation d'un système de dispositif de sécurité pour enfants, s'assurer que les ceintures de sécurité ou autres objets étrangers ne se trouvent pas pres ou sur les ancrages inférieurs LATCH. Toutjours suivre les instructions du fabricant du système de dispositif de sécurité pour enfants.
Méthode d'installation d'un système de dispositif de sécurité pour enfants (Sièges arrêté côtés portières)
- S'assurer que le dossier du siège est solidement verrouillé en le poussant et le tirant jusqu'à ce qu'il soit complètement verrouillé.
- Ecarter légrement les coutures ouvertes à l'arrière du coussin du siège pour vérifier les emplacements des ancrages inférieurs LATCH.

REMARQUE
Les repères au-dessus des ancrages inférieurs LATCH indiquent les emplacements des ancrages inférieurs LATCH pour la fixation de système de dispositif de sécurité pour enfants.
- Soulever l'appuie-tete en position verrouillée supérieure. Se reférer à Appuie-tete à la page 2-15.
- Fixer le siège à l'aide des DEUX ancrages inférieurs LATCH, en suivant les instructions du fabricant du système de dispositif de sécurité pour enfants. Tirer sur le système de dispositif de sécurité pour enfants de manière à vérifier que les deux ancrages sont engagés.
- Si le système de dispositif de sécurité pour enfants est équipé d'un ancrage, alors il est très important de fixer correctement l'ancrage pour assurer la sécurité de l'enfant. Suivre soigneusement les instructions fournies par le fabricant du système de dispositif de sécurité pour enfants lorsque vous installez les ancrages.
Emplacement du support d'ancrage

Position de la sangle d'ancrage


PRUDENCE
N'utiliser les ensembles d'ancrage ou les points d'ancrage que pour fixer un système de dispositif de sécurité pour enfants:
L'utilisation de la couroie ou des points d'ancrage dans un but autre que la fixation d'un système de dispositif de sécurité pour enfants est dangereuse. Les ensembles d'ancrage ou les points d'ancrage risquent de s'affaibrir ou de s'endommager et entrainer des blessures.
Faire toujours passer la sangle d'ancrage entre l'appuie-tête et le dossier du siege:
Le fait passer la sangle d'ancrage par le haut de l'appuie-tête est dangereux. En cas de collision, la sangle d'ancrage peut glisser de l'appuie-tête et le système de dispositif de sécurité pour enfants ne sera pas correctement retenu. Le dispositif de sécurité pour enfants peut bouger, ce qui peut entraîner la mort ou une blessure de l'enfant.
Toujours attacher la sangle d'ancrage à la position de crochet d'ancrage correcte:
Attacher la sangle d'ancrage à la position de crochet d'ancrage incorrecte est dangereux. En cas de collision, la sangle d'ancrage peut glisser et le système de dispositif de sécurité pour enfants ne sera pas correctement retenu. Le dispositif de sécurité pour enfants peut bouger, ce qui peut entraîner la mort ou une blessure de l'enfant.
Méthode d'installation d'un système de dispositif de sécurité pour enfants (Siège arrêté au centre)
Les ancrages inférieurs LATCH au centre du siège arrêté sont beaucoup plus séparés que les ensembles d'ancrages inférieurs LATCH pour système de dispositif de sécurité pour enfants aux autres positions. Les systèmes de dispositif de sécurité pour enfants avec des fixations LATCH rigides ne peuvent pas été installés au centre du siège arrrière. Certains systèmes de dispositif de sécurité pour enfants de type LATCH peuvent être placés au centre du siège arrrière et pourront être fixés aux ancrages inférieurs LATCH qui sont séparés de 400mm (15,75 po.). Les systèmes de dispositif de sécurité pour enfants compatibles avec les ancrages LATCH (avec fixations sur la ceinture) peuvent être utilisés à cette position seulement si les instructions du fabricant accompagnant le système de dispositif de sécurité pour enfants indiquent que le système de dispositif de sécurité pour enfants peut être installé à l'aide d'ancrages inférieurs LATCH qui sont séparés de 400mm (15,75 po.). Ne pas attacher deux systèmes de dispositif de sécurité pour enfants au même ancrage inférieur LATCH. Si un système de dispositif de sécurité pour enfants est équipé d'une sangle d'ancrage, elle doit aussi être utilisée pour une sécurité optimale de l'enfant.

PRUDENCE
N'utiliser les ensembles d'ancrage ou les points d'ancrage que pour fixer un système de dispositif de sécurité pour enfants:
L'utilisation de la couroie ou des points d'ancrage dans un but autre que la fixation d'un système de dispositif de sécurité pour enfants est dangereuse. Les ensembles d'ancrage ou les points d'ancrage risquent de s'affaibrir ou de s'endommager et entrainer des blessures.
Toujours attacher la sangle d'ancrage à la position de crochet d'ancrage correcte:
Attacher la sangle d'ancrage à la position de crochet d'ancrage incorrecte est dangereux. En cas de collision, la sangle d'ancrage peut glisser et le système de dispositif de sécurité pour enfants ne sera pas correctement retenu. Le dispositif de sécurité pour enfants peut bouger, ce qui peut entraîner la mort ou une blessure de l'enfant.
-
S'assurer que le dossier du siège est solidement verrouillé en le poussant et le tirant jusqu'à ce qu'il soit complètement verrouillé.
-
Ecarter légèrement les coutures ouvertes à l'arrière du coussin du siège pour vérifier les emplacements des ancrages inférieurs LATCH.

REMARQUE
Les repères au-dessus des ancrages inférieurs LATCH indiquent les emplacements des ancrages inférieurs LATCH pour la fixation de système de dispositif de sécurité pour enfants.
- Fixer le siège à l'aide des DEUX ancrages inférieurs LATCH, en suivant les instructions du fabricant du système de dispositif de sécurité pour enfants. Tirer sur le système de dispositif de sécurité pour enfants de manière à vérifier que les deux ancrages sont engagements.
- Si le système de dispositif de sécurité pour enfants est équipé d'un ancrage, alors il est très important de fixer correctement l'ancrage pour assurer la sécurité de l'enfant. Suivre soigneusement les instructions fournies par le fabricant du système de dispositif de sécurité pour enfants lorsque vous installez les ancrages.
Emplacement du support d'ancrage

Position de la sangle d'ancrage

Précautions concernant le système de retenue supplémentaire (SRS)
Les systèmes de retenue supplémentaires avant et lateraux (SRS) comprend 6 coussins d'air. Priere de vérifier de quels types de coussins d'air le vehicule est équipé en localisant les indicateurs d'emplacement "SRS AIRBAG". Ces indicateurs sont visibles dans la zone où les coussins d'air sont installés.
Les coussins d'air sont installés aux emplacements suivants:
- Le centre du volant de direction (coussin d'air côte conducteur)
- Le tableau de bord côté passager avant (coussin d'air côté passager avant)
- Les côtés extérieurs des dossiers des sièges avant (coussins d'air lateraux)
- Les montants de vitres avant et arrière, et le bord du pavillon des deux côts (rideaux de sécurité gonflables)
Les systèmes de retenue à coussins d'air sont conçus pour fournir une protection supplémentaire dans certaines situations, et donc les ceintures de sécurité sont toujours importantes pour:
Sans l'utilisation des ceintures de sécurité, les coussins d'air ne peuvent pas fournir une protection adequate lors d'un accident. L'utilisation des ceintures de sécurité est nécessaire pour:
- Eviter que le passager ne soit projeté contre le coussin d'air qui se gonfle.
- Réduire les risques de blessures en cas d'accident non pris en compte pour le déploement du coussin d'air, comme lors d'une collision arrêté.
- Réduire les risques de blessures en cas de collision frontale, semi-frontale ou laterale, ou de capotage, qui ne serait pas assez sévère pour activer les coussins d'air.
- Réduire les risques d'éjection à l'extérieur du vehicule.
- Réduire les risques de blessures à la partie inférieure du corps et les jambes en cas d'accident, car les coussins d'air ne fournissant pas de protection pour ces parties du corps.
- Maintainir le conducteur à une position qui permet un meilleur contrôle du vehicule.
Si votre vehicule est également équipé d'un système de classification des occupants du siège du conducteur et du passager avant, se référer au “Système de classification des occupants des sièges du conducteur et du passager avant” (page 2-70) pour plus de détails.
Si le vehicule est équipé d'un système de classification des occupants des sièges du conducteur et du passager avant, le témoin de désactivation du coussin d'air du passager avant s'allume pendant un temps spécifique après que le contacteur a été mis sur ON.

Les petits enfants doivent être protégés par un système de dispositif de sécurité pour enfants, conformément aux lois en vigueur dans chaque région. Dans certaines régions, les enfants plus grands doivent aussi utiliser un système de dispositif de sécurité pour enfants (page 2-34).
Choisir avec attention le système de dispositif de sécurité pour enfants nécessaire pour l'enfant et respecter les directives d'installation indiquées dans ce manuel, ainsi que celles fournies par le fabricant du système de dispositif de sécurité pour enfants.

PRUDENCE
Les occupants des vehicules équipés de coussins d'air doivent attacher leur ceinture de sécurité:
Le fait de compter sur la seule protection des coussins d'air en cas d'accident est dangereux. Les coussins d'air seuls peuvent ne pas éviter des blessures graves. Les coussins d'air appropriés ne se déploieront normalement que lors du premier accident, tel qu'une collision frontale, semi-frontale ou laterale, ou qu'un capotage, d'une force modérée ou plus. Tous les passagers du vehicule doivent porter la ceinture de sécurité.
Systèmes de retenue supplémentaire à coussins d'air
Les enfants ne doivent pas s'asseoir sur le siège du passager avant:
Le fait d'asseoir un enfant de 12 ans ou moins sur le siège avant est dangereux. L'enfant peut être frappé par le coussin d'air s'il se déploie et subir de graves blessures ou même la mort. Meme si le témoin de désactivation du coussin d'air du passager avant s'allume, placer toujours le siège du passager avant le plus loin possible vers l'arrière. Un enfant endormi est susceptible de s'appuyer contre la portière et d'être cogné par le coussin d'air létral en cas de collision modérée du côté passager avant du vehicule. Autant que possible, toujours attacher un enfant de 12 ans ou moins sur le siège arrêté, à l'aide d'un système de dispositif de sécurité pour enfants approprié suivant l'âge et la taille de l'enfant.
Ne jamais utiliser, sur le siège avant avec un coussin d'air qui risque de se déployer, un système de dispositif de sécurité pour enfants faisant face à l'arrière du vehicule: Les systèmes de dispositif de sécurité faisant face à l'arrière du vehicule installés sur le siège avant sont en fait particulièrement dangereux, même si vous étés convaincu qu'un coussin d'air de passager avant ne se déploiera pas parce que le témoin de désactivation de coussin d'air du passager avant est allumé. Le dispositif de sécurité peut être cogné par le coussin qui se déploie et poussa violament vers l'arrière causant de graves blessures ou la mort à l'enfant.

Ne pas s'asseoir trop pres des coussins d'air du conducteur et du passager avant:
Le fait de s'asseoir trop pres des modules de coussins d'air du conducteur et du passager avant, ou de placer les mains ou les pieds dessus, est extrémement dangereux. Les coussins d'air du conducteur et du passager avant se déploient avec une très grande force et vitesse. De graves blessures peuvent se produit si une personne se trouve trop pres. Le conducteur devrait toujours maintainir le volant par l'extérieur. Le passager du siège avant devrait garder les deux pieds sur le plancher. Les occupants des sièges avant devraient régler leur siège vers l'arrière au maximum et plusieurs s'asseoir droit contre le dossier du siège avec la ceinture de sécurité portée correctement.
S'asseoir au centre du siège et attacher correctement sa ceinture de sécurité:
Le fait de s'asseoir trop pres des modules de coussins d'air, ou de placer les mains sur ceux-ci, ou de s'endormir contre une portiere ou de se pencher par les fenêtres, est extrément dangereux. Les coussins d'air lateraux et ridaux de sécurité gonflables se déploient avec une très grande force et vitesse du cote de la portiere où le vehicule est percuté. De graves blessures peuvent se produit si une personne est assise trop pres de la portiere ou est appuyée contre la vitre, ou si les occupants des sièges arrrière ont les mains sur les côtes du dossier du siege avant. Laisser assez de place pour le déploiement des coussins d'air lateraux et des rideaux de sécurité gonflables, en s'assevant au centre du siege lorsque le vehicule est en mouvement, et avec la ceinture de sécurité portée correctement.
Ne pas fixer d'objets sur l'endroit ou a proximé de l'endroit où les coussins d'air du conducteur et du passager avant se déploient:
Le fait de fixer un objet sur les modules de coussins d'air du conducteur et du passager avant, ou de placer un objet devant ceux-ci, est dangereux. En cas d'accident, l'objet pourrait gérer le déploiement du coussin d'air et bleisser les passagers.
Ne pas fixer d'objets à l'endroit où un coussin d'air létral se déploie, ou dans la zone environnante:
Le fait d'attacher des articles sur le siège avant de sorte que le côté extérieur du siège soit couvert est dangereux. En cas d'accident, l'objet peut gérer le fonctionnement du coussin d'air latéral, qui se déploie à partir du côté extérieur des sièges avant, enlevant la protection adequate des coussins d'air latéraux ou redirigeant de manière dangereuse le coussin d'air latéral. De plus, le coussin d'air risque de se déchirer rependant du gaz.
Ne pas accrocher de filet, de pochette pour cartes ou de sac à dos avec courroies laterales sur les sièges avant. Ne jamais utiliser de housses pour siège sur les sièges avant. Toujours garder les modules de coussins d'air latéraux des sièges avant libres d'objet afin de permettre le déploiement en cas de collision.
Systèmes de retenue supplémentaire à coussins d'air
Ne pas fixer d'objets à l'endetroit où un rideau de sécurité gonflable se déploie, ou dans la zone environnante:
Le fait de fixer un objet aux endroits ou les rideaux de sécurité gonflables s'activent, comme sur la vitre du pare-brise, les vitres laterales, les montants de vitres avant et arrrière et le long du bord du pavillon et des poignées d'assistance est dangereux. En cas d'accident, l'objet peut génér le fonctionnement du ridesau de sécurité gonflable, qui se déploie à partir des montants de vitres avant et arrrière et le long du bord du pavillon, enlevant la protection adequate des ridesaux de sécurité gonflables ou en les redirigeant de manière dangereuse. De plus, le coussin d'air risque de se déchirer rependant du gaz.
Ne pas accrocher de cintres ou autres objets aux poignées d'assistance. Utiliser le crochet à manteau pour accrocher des vêtements. Toujours garder les modules de rideaux de sécurité gonflables libres d'objet afin de permettre le déploiement en cas de collision latorale ou de capotage.
Ne pas placer de bagages ou d'autres objets sous les sièges avant:
Il est dangereux de placer des bagages ou d'autres objets sous les sièges avant. Les composants essentiels du système de retenue supplémentaire pourraient être endommagés, et en cas de collision latérale, les coussins d'air adéquats risqueraient de ne pas se déployer, ce qui pourrait cause des blessures graves ou mortelles. Àfin d'éviter d'endommager les composants essentiels du système de retenue supplémentaire, ne pas placer de bagages ou autres objets sous les sièges avant.
Ne pas toucher aux composantes du système de retenue supplémentaire après le gonflement des coussins d'air:
Il est dangereux de toucher les composants du système de retenue supplémentaire après que les coussins d'air se soient gonfles. Immediatement après le gonflage, ils sont très chauds. On risque de se brûler.
Ne jamais installer d'équipement à l'avant du vehicule:
L'installation d'équipement à l'avant, comme une barre de protection frontale (barre kangourou, barre de poussaee, ou autres dispositifs similaires), un chasse-neige ou un treuil, est dangereuse. Le système de capteur des coussins d'air peut etre affected. Ceci peut declencher les coussins d'air accidentellement, ou cela peut empêcher les coussins d'air de se déployer lors d'un accident. Les passagers avant risqueraient de subir de graves blessures.
Ne pas modifier la suspension:
Le fait de modifier la suspension du vehicule est dangereux. Si la hauteur du vehicule ou la suspension est modifiée, le vehicule ne pourrait pas détecter une collision ou un capotage précisé, entraînant un déploiement des coussins d'air incorrect ou inattendu et le risque de blessures graves.
Pour éviter les fausses déctions par le système de capteur des coussins d'air, faire attention aux points suivants:
Ne pas utiliser de pneus ou de roues autres que ceux spécifiés pour ce vehicule Mazda:
L'utilisation de pneus ou de roues autres que ceux recommendés pour ce vehicule Mazda (page 10-7) est dangereuse. Si l'on utilise de telles roues, le système de détction d'accident du vehicule ne pourrait pas détecter une collision ou un capotage précisé, entraînant un déploiement des coussins d'air incorrect ou inattendu et le risque de blessures graves.
Ne pas surcharger ce vehicule:
Surcharger le vehicule est dangereux, car ceci pourra empêcher le système de détction de chic du coussin d'air de détecter une collision ou un capotage précisé, entrainant un déploiement des coussins d'air incorrect ou inattendu et le risque de blessures graves. Le poids nominal brut sur l'essieu (PNBE) et le poids nominal brut du vehicule (PNBV) sont indiqués sur l'étiquette de standard de sécurité des vehicules à moteur place sur le montant de la portière du conducteur. Ne pas dépasser ces valeurs nominales.
Ne pas conduire le vehicule hors piste:
Il est dangereux de conduire ce vehicule Mazda hors piste, car il n'a pas ete concu pour cet usage. Conduire le vehicule hors piste pourrait empêcher le système de détction de chic du coussin d'air de détecter une collision ou un capotage précisé, entrainant un déploiement des coussins d'air incorrect ou inattendu et le risque de blessures graves.
Ne pas modifier le système de retenue supplémentaire:
La modification de composantes ou du câblage du système de retenue supplémentaire est dangereuse. Il pourrait être actionné accidentellement ou rendu inopérant. N'apporter aucune modification au système de retenue supplémentaire. Cela comprend l'installation de moulures, décorations ou autres sur les modules de coussins d'air. Et cela inclus aussi l'installation d'équipements électriques sur ou pres des composantes et du câblage du système. Un concessionnaire agréé Mazda peut fournir l'entretien ajustat requis lors du retrait et de l'installation des sièges avant. Il est important de protégger le câblage et les connexions des coussins d'air de sorte que les coussins d'air ne se déploient pas accidentellement, le capteur de position du siège conducteur et les capteurs de poids du siège passager avant ne sont pas endommagés et que la connexion des coussins d'air des sièges ne soit pas endommagée.
Systèmes de retenue supplémentaire à coussins d'air
REMARQUE
- Lorsqu'un coussin d'air se déploie, un bruit de gonflement fort sera entendu et de la fumée sera émise. Ceci ne devrait pas causer de blessures, cependant la texture du matériel des coussins d'air peut causer une légère abrasion de la peau sur les endroits du corps non couverts par des vêtements.
- En cas de revente de ce vehicule Mazda, nous vous demandons d'avertir le nouveau propriétaire que le vehicule est équipé de systèmes de retenue supplémentaire et qu'il ou elle doit se familiariser avec toutes les instructions, concernant les systèmes, fournies dans ce manuel Conduite et Entretien.
Composants du système de retenue supplémentaire

① Dispositifs de gonflage et coussins d'air du conducteur/passager avant
② Détector de chic et de capotage, et unité de diagnostic (unité SAS)
③ Systèmes de dispositif de prétension de ceinture de sécurité avant et de limitation de charge (page 2-23)
④ Détector de chocol de coussin d'air avant
⑤ Détecteurs de chocolatéral
⑥ Voyant du système de coussin d'air/dispositif de prétension de ceinture de sécurité avant (page 2-65)
Dispositifs de gonflage et coussins d'air lateraux et des rideaux de sécurité
Témoin de désactivation du coussin d'air du passager avant (page 2-70)
⑨ Capteurs de poids du siege du passager avant (page 2-70)
10 Module de contrôle du capteur de poids du siege passager avant
① Contacteurs de boucle de ceinture de sécurité du conducteur et du passager avant (page 2-75)
② Capteur de position du siège du conducteur (page 2-70)
Explication du fonctionnement des coussins d'air SRS
Ce vehicule Mazda est équipé des types de coussins d'air SRS suivants. Les coussins d'air SRS ont été concus pour fonctionner conjointement avec les ceintures de sécurité pour réduire les blessures en cas d'accident.
Les coussins d'air SRS ont ete concus pour offrir une protection supplémentaire aux passagers, en plus des fonctions des ceintures de securite. Veiller a attacher correctement les ceintures de securite.
Dispositif de prétension de ceinture de sécurité avant
Les dispositifs de prétension de ceinture de sécurité avant ont été concus pour se déployer lors d'une collision frontale ou semi-frontale d'une intensité moderée ou plus, ou lors d'un capotage.
Coussin d'air du conducteur
Le coussin d'air du conducteur est monté dans le volant de direction.
Lorsque les détecteurs de chic détectent un chic frontal important, le coussin d'air du conducteur se gonfle rapidement pour réduire les blessures, surtout celles affectant la tête ou la poitrine du conducteur causées par l'impact direct sur le volant de direction.
Se référer à la section "Critères de déploiation des coussins d'air SRS" (page 2-67) pour plus d'explications sur le déploiation des coussins d'air.
Le coussin d'air à deux étapes du conducteur avant commande le gonflage des coussins d'air selon deux niveaux de puissance. Lors d'une collision d'une séverité modérée, le coussin d'air du conducteur se déploient avec une puissance moindre, alors que lors d'une collision plus grave, il se déploie avec de plus de puissance.

Coussin d'air du passager avant
Le coussin d'air du passager avant est monté dans le tableau de bord côté passager avant.
Le dispositif de gonflage du coussin d'air du passager avant est identique au coussin d'air du conducteur, comme mentionné ci'avant.
Se référer à la section "Critères de déploiation des coussins d'air SRS" (page 2-67) pour plus d'explications sur le déploiation des coussins d'air.
En outre, le coussin d'air du passager avant a eté concu pour se déployer seulement en fonction du poids total assis sur le siège du passager avant. Pour plus de détails, se référer au système de classification des occupants du siège du conducteur et du passager avant (page 2-70).

Systèmes de retenue supplémentaire à coussins d'air
Coussins d'air latéraux
Les coussins d'air lateraux sont montés sur les côts extérieurs des dossiers de sièges avant. Lorsque les détecteurs de chic des coussins d'air détectent un chic létral important, le système gonfle le coussin d'air létral seulement du côté où le vehicule a subi le chic. Le coussin d'air létral se gonfle rapidement pour réduire les blessures risquant d'affector la poitrine du conducteur ou du passager avant, causées par l'impact direct sur les composants de l'habitacle tels qu'une portière ou une fenêtre.
Se référer à la section “Critères de déploiation des coussins d'air SRS” (page 2-67) pour plus d'explications sur le déploiation des coussins d'air.
En outre, le coussin d'air latorial du passager avant a ete concu pour se deployer seulement en fonction du poids total assis sur le siege du passager avant. Pour plus de details, se referrer au systeme de classification des occupants du siege du conducteur et du passager avant (page 2-70).

Rideaux de sécurité gonflables
Les rideaux de sécurité gonflables sont montés sur les montants des vitres avant et arrière, et sur le bord du pavillon des deux côtes.
Lorsque les détecteurs de chic du coussin d'air détectent un chic létal important, le ridesau de sécurité gonfable se gonfle rapidement pour réduire les blessures, surtout celles affectant la tête du passager arrrière extérieur causées par l'impact direct sur les composants de l'habitacle tels qu'une portière ou une fenêtre.
Se référer à la section “Critères de déploiation des coussins d'air SRS” (page 2-67) pour plus d'explications sur le déploiation des coussins d'air.
Lors d'un choc létal:
Une collision de force importante sur un côté du vehicule causera le déploiement du rideau de sécurité gonflable sur ce côté seulement.

Le rideau de sécurité gonflable d'un seul cotoé se déploie seulement sur le cotoé du vehicule qui reçoit l'impact.
Lors d'un capotage:
Lors d'un capotage, les deux rideaux de sécurité se gonflent.

Les deux rideaux de sécurité gonflables se déploient après que le capotage ait été détecté.
Voyant du système de coussins d'air/dispositif de prétension de ceinture de sécurité avant

Si le système de coussins d'air/dispositif de pretension de ceinture de sécurité avant est normal, le voyant s'allume lorsque le contacteur est mis à la position ON ou après que le moteur soit lancé. Le voyant s'éteint après une période de temps spécifique.
Systèmes de retenue supplémentaire à coussins d'air
Une anomalie du système est indiquée par le fait que levoyant reste clignote, allumé ou ne s'allume pas du tout lorsque le contacteur est mis à la position ON. Dans un de ces cas, s'adresser à un concessionnaire agréé Mazda dés que possible. Le système risque de ne pas fonctionner en cas d'accident.
PRUDENCE
Ne jamais toucher au systèmes de coussin d'air/dispositif de prétension, et toujours confier tous les travaux l'entretien et de réparation à un concessionnaire/agréé Mazda:
Le fait de faire l'entretien soi-même ou de toucher au système est dangereux. Les coussins d'air/dispositif de prétension peuvent se déclencher accidentellement ou être désactivés causant des blessures graves ou mortelles.
Signal sonore d'avertissement de dispositif de prétension de ceinture de sécurité avant/ coussin d'air
Si un mauvais fonctionnement est detecté dans les systèmes de dispositif de prétension de ceinture de sécurité avant/ coussin d'air et leurs voyants, un signal sonore d'advertisement retentira pendant environ 5 secondes toutes les minutes.
Le signal sonore d'ajretissement de dispositif de pretension de ceinture de sécurité avant/ coussin d'air continuaera de retentir pendant environ 35 minutes.
Faire inspector le vehicule par un concessionnaire agree Mazda des que possible.
PRUDENCE
Ne pas conduire le vehicule avec le signal sonore d'advertisement de dispositif de pretension de ceinture de sécurité avant/oussin d'air qui retentit:
Le fait de conduire le vehicule avec le signal sonore d'advertissement de dispositif de prétension de ceinture de sécurité avant/ coussin d'air qui retentit est dangereux. En cas de collision, les coussins d'air et le dispositif de prétension de ceinture de sécurité avant ne se déploieront pas, ceci peut cause la mort ou des blessures graves.
S'adresser à un concessionnaire agréé Mazda pour faire inspector le vehicule des que possible.
Critères de déploiement des coussins d'air SRS
Ce tableau indique l'équipement SRS correspondant qui se déploiera en fonction du type de collision.
(Les illustrations représent les cas typiques de collisions.)
| Equipement SRS | Types de collision | |||
| Collision frontale/semi-frontale sévère | Collision latérale sévère | Capotage/semi-capotage | Collision arrière | |
| ↑ | ↑ | ↑ | ↑ | |
| ↑ | ↑ | ↑ | ↑ | |
| ↑ | ↑ | ↑ | ↑ | |
| Dispositif de prétension de ceinture de sécurité avant | X*1(des deux côtsés) | X*1(des deux côtsés) | Aucun coussin d'air ni dispositif de prétension de ceinture de sécurité avant ne sera activé lors d'une collision arrière. | |
| Coussin d'air du conducteur | X | |||
| Coussin d'air du passager avant | X*1 | |||
| Coussin d'air latéral | X*1(côté du choc seulment) | |||
| Rideau de sécurité gonflable | X(côté du choc seul-ment) | X (des deux côtsés) | ||
X: L'équipment du coussin d'air SRS a été consq pour se déployer en cas de collision.
*1: Les coussins d'air avant et l'atéral et le dispositif de prétension de la ceinture de sécurité du passager avant ont été conçus pour se déployer en fonction de l'état du poids total assis sur le siège du passager avant.
Systèmes de retenue supplémentaire à coussins d'air
Limites du coussin d'air SRS
Lors capotages ou de collisions sévères tels que ceux décrits précédemment dans la section "Critères de déploiment des coussins d'air SRS", l'équipement de sac gonflable SRS correspondant se déploiera. Toutefois, lors de certains accidents, il est possible que l'équipement ne se déploie pas selon le type et la séverité de la collision.
Limites à la détéction des collisions frontale/semi-frontale:
Les illustrations suivantes sont des exemples de collisions frontale/semi-frontale qui sont susceptibles de ne pas etre détectees comme assez severes pour justifier le deploiemement de l'equipement de coussin d'air SRS.

Collisions avec des arbres ou des pylônes

Collision frontale déportée sur le vehicule

Collision par l'arrière ou chic avec l'arrière d'un camion
Limites à la détéction de collision latérale:
Les illustrations suivantes sont des examples de collisions laterales qui sont susceptibles de ne pas etre detectees comme assez severes pour justifier le deploiement de l'equipement de coussin d'air SRS.
Collisions laterales avec des arbres ou des pylônes

Collisions laterales avec des vehicules à deux roues

Limites à la détéction de capotage:
L'illustration suivante est un exemple d'un accident qui ne pas etre detecte comme un capotage. Par consequent, il est possible que les dispositifs de pretension de ceinture de sécurité et rideaux de sécurité avant ne se deploient pas.
Hauteur d'extrémité sur extrémité

Système de classification des occupants des sièges du conducteur et du passager avant
Tout d'abord, lore attentivement la section "Précautions concernant le système de retenue supplémentaire (SRS)" (page 2-54).
Capteur de position du siège du conducteur
Ce vehicule est équipé d'un capteur de position de glissière du siège du conducteur comme composant du système de retenue supplémentaire. Le capteur est situé sous le siège du conducteur. Le capteur déterminé si le siège du conducteur est à l'avant ou à l'arrière d'une position de réference et transmet la position du siège au module de diagnostic (unité SAS). L'unité SAS a été concise pour contrôle le déploiement du coussin d'air du conducteur en fonction de l'écart entre le siège du conducteur et le volant de direction.
Levoyant du dispositif de pretension de ceinture de sécurité avant/ coussin d'air clignote si une anomalie possible est detectée dans le capteur (page 2-65).
Capteurs de poids du siège du passager avant
Ce vehicule est équipé de capteurs de poids du siège du passager avant comme composants du système de retenue supplémentaire. Ces capteurs sont situés sous les deux rails du siège du passager avant. Ces capteurs déterminent le poids total assis sur le siège du passager avant et surveillent le bouche de ceinture de sécurité du siège du passage avant. L'unité SAS est conscience pour empêcher que les coussins d'air avant et l'atéral et le système de prétension de la ceinture de sécurité du siège du passager avant se déploient si le témoin de désactivation du coussin d'air côte passager avant s'allume.
Pour diminuer les risques de blessures causées par le déploiement du coussin d'air côté passager avant, le système désactive les coussins d'air avant et l'边际 ainsi que le dispositif de prétension de ceinture de sécurité du passager avant lorsque le témoin de désactivation du coussin d'air côté passager avant s'allume. Se référer au tableau suivant pour les conditions d'allumage du témoin de désactivation du coussin d'air du passager avant.
Le système désactive les coussins d'air avant et l'边际 côté passager avant et le dispositif de pretension de ceinture de sécurité du passager avant, il faut donc s'assurer que le témoin de désactivation du coussin d'air du passager avant s'allume suivant le tableau ci-après.
Levoyant du dispositif de pretension de ceinture de sécurité avant/ coussin d'air clignote et le témoin de désactivation du coussin d'air du passager avant s'allume si une anomalie possible est détectée dans les capteurs. Si cela se produit, les coussins d'air avant et l'边际 et le dispositif de pretension de ceinture de sécurité côté passager avant ne se déploieront pas.
Témoin de désactivation du coussin d'air du passager avant
Ce témoin s'allume pour indiquer que les coussins d'air avant et l'边际 côté passager avant et le système de dispositif de prétension de ceinture de sécurité ne se déploieront en cas de collision.

Si les capteurs de poids du siège du passager avant fonctionnement normalement, le témoin s'allume lorsque le contacteur est mis sur ON. L'éclairage s'eteindra après quelques secondes.
Le témoin de déactivation du coussin d'air du passager avant s'allume ou reste étant dans les conditions suivantes:
| Condition détectée par le système de classification de l'occupant du siège du passager avant | Témoin de désactivation du coussin d'air du passager avant | Coussins d'air avant et latéral côte passager avant | Système du dispositif de prétension des ceintures de sécurité du passager avant |
| Vide (non occupe)*1 | Eteints | Désactivé | Désactivé |
| Enfants ou système de dispositif de sécurité pour enfants*2 | Allumés | Désactivé | Désactivé |
| Adulte*3 | Eteints | Prêt | Prêt |
1 : Si la ceinture de sécurité du passager avant est bouclée, le témoin de déactivation du coussin d'air du passager avant s'allume, cependant ceci n'indique pas une anomalie.
2 : Si un enfant plus grand est installé sur le siècle de passager avant, les capteurs peuvent détecter l'enfant comme étant un adulte en fonction du physique de l'enfant.
*3 : Si un adulte plus petit est installé sur le siège de passager avant, les capteurs peuvent détecter la personne comme étant un enfant en fonction du physique de la personne.
Le rideau de sécurité gonflable est pret à être gonflé, malgré les indications du tableau ci-dessus.
Si le témoin de désactivation du coussin d'air du passager avant ne s'allume pas lorsque le contacteur est mis à la position ON et comme indiqué dans le tableau ci-dessus, ne pas laisser un enfant s'asseoir sur le siège du passager avant et s'adresser à un concessionnaire/agréé Mazda lors que possible. Le système peut ne pas fonctionner correctement en cas d'accident.
PRUDENCE
Ne pas diminuier le poids total assis sur le siège du passager avant:
Lorsqu'un adulte ou un enfant de grande taille s'assied sur le siège du passager avant, la diminution du poids total assis sur le siège du passager avant requis pour le déploiement de coussin d'air est dangereuse. Les capteurs de poids du siège du passager avant détectoront la condition de poids total assis réduit et les coussins d'air avant et létalé côté passager avant et le dispositif de prétension de ceinture de sécurité du passager avant ne se déploieront pas en cas d'accident. Le passager avant n'aura pas la protection supplémentaire fournie par le coussin d'air, cela peut causer de graves blessures. La diminution du poids total assis sur le siège du passager avant peut annuler le déploiement du coussin d'air dans les conditions suivantes, par exemple:
Un passager arrrière pousse vers le haut avec les pieds le siège du passager avant.
Des bagages ou autres articles placés sous le siège du passager avant ou entre le siège du passager avant et le siège du conducteur poussent le coussin du siège du passager avant vers le haut.
L'occupant du siège du passager avant s'assied de sorte que son poids ne repose pas entièrement sur le siège, par exemple s'il s'assied trop pres de la portière, s'il saisit la poignée d'aide ou le bord du toit ouvrant transparent et s'il s'assied avec le dossier du siège incliné excessivement.
Des accessoires qui peuvent augmenter le poids total assis sur le siège du passager avant.
Les coussins d'air avant et l'atéral et le système de pré-tension de la ceinture de sécurité du siège du passager avant seront désactivés si le témoin de désactivation du coussin d'air côté passager avant s'allume.
Ne pas augmenter le poids total assis sur le siège du passager avant:
Lorsqu'un bébé ou un petit enfant s'assied sur le siège du passager avant, l'augmentation du poids total assis sur le siège du passager avant est dangereuse. Les capteurs de poids du siège du passager avant détectoront le poids total assis accru, ce qui pourrait cause le déploiement inattendu des coussins d'air avant et latéral côté passager avant et du dispositif de prétension de ceinture de sécurité du passager avant en cas d'accident et de graves blessures. L'augmentation du poids total assis sur le siège du passager avant peut entraîner le déploiement des coussins d'air avant et latéral côté passager avant et du dispositif de prétension de ceinture de sécurité du passager avant en cas d'accident dans les conditions suivantes, par exemple:
Des bagages ou autres articles sont placés sur le siège avec l'enfant dans le système de dispositif de sécurité pour enfants.
Un passager arrirée ou des bagages poussent ou tirent le dossier du siège du passager avant.
Un passager arrriere appuie avec les pieds sur les rails du siège du passager avant.
Des bagages ou autres articles sont placés sur le dossier du siècle ou accrochés sur l'appuie-tête.
Les objets lourds sont placés dans la poche à cartes du dossier.
Le siege est lavé.
> Des liquides ont ete renverses sur le siege.
Le siège du passager avant est déplaced vers l'arrière, faisant pression contre des bagages ou autres articles placés derrière.
Le dossier du siège du passager avant touche au siège arrière.
Des bagages ou autres articles sont placés entre le siège du passager avant et le siège du conducteur.
Des accessoires qui peuvent augmenter le poids total assis sur le siège du passager avant.
Les coussins d'air avant et l'atéral et le système de pré-tension de la ceinture de sécurité du siège du passager avant seront désactivés si le témoin de désactivation du coussin d'air côté passager avant s'allume.

ATTENTION
Pour assurer le déploiement approprié du coussin d'air avant et pour éviter d'endommager les capteurs du siège d'avant:
Ne pas placer d'objets pointus sur le coussin du siège avant et ne pas laisser d'objets lourds sur le siège.
Ne pas renverser de liquide sur ou sous les sièges avant.Pour permettre aux capteurs de fonctionner correctement, toujours executer les opérations suivantes:
Reculer les sièges avant au maximum et toujours s'asseoir droit contre le dossier du siège avec la ceinture de sécurité correctement bouclée.
Si un enfant est assist sur le siège du passager avant, fixer le système de dispositif de sécurité pour enfants correctement et reculer le siège du passager avant au maximum (page 2-47).
REMARQUE
- Le système prend environ 10 secondes pour commuter l'activation/désactivation des coussins d'air avant et l'边际 côte passager avant et du dispositif de prétension de ceinture de sécurité du passager avant.
- Le témoin de désactivation du coussin d'air du passager avant peut s'allumer et s'éteindre à plusieurs reprises si des bagages ou autres articles sont places sur le siège du passager avant ou si la température à l'intérieur du vehicule change soudainement.
- Le témoin de désactivation du coussin d'air du passager avant peut s'allumer pendant 10 secondes si le poids total assis sur le siège du passager avant change.
- Levoyant du système de coussin d'air/dispositif de prétension de ceinture de sécurité avant s'allume si le siège du passager avant subit un impact important.
- Si le témoin de désactivation du coussin d'air du passager avant ne s'allume pas après avoir installé un système de dispositif de sécurité pour enfants sur le siège du passager avant, réinstaller le système de dispositif de sécurité pour enfants selon la procédure décrite dans ce conduite et entretien. Ensuite, si le témoin de désactivation du coussin d'air du passager avant ne s'allume toujours, installer le système de dispositif de sécurité pour enfants sur le siège arrêté et s'adresser à un concessionnaire agrée Mazda lors que possible.
- Si le témoin de désactivation du coussin d'air du siège du passager avant s'allume quand un adulte est assis sur le siège du passager avant, demander au passager de réajuster sa position en calant ses pieds au sol, puis en rattachant sa ceinture de sécurité. Si le témoin de désactivation du coussin d'air du passager avant s'allume encore, demander au passager de s'asseoir à l'arrière. S'il est impossible de s'asseoir à l'arrière, faire glisser le siège du passager avant en arrière autant que possible.
Contacteurs de boucle de ceinture de sécurité du conducteur et du passager avant
Les contacteurs de boucle de ceinture de sécurité avant détectent si les ceintures de sécurité avant sont correctement bouclées et permettent un meilleur contrôle du déploiement des coussins d'air.
Contrôle et entretien
Contrôle continu
Les composantes suivantes des systèmes de coussins d'air sont contrôlees par un système de diagnostic:
- Détector de chic et unité de diagnostic (Unité SAS)
- Détector de chocol de coussin d'air avant
- Modules de coussin d'air
- Détecteurs de chocoléral
- Voyant des systèmes de coussin d'air/dispositif de prétension de ceinture de sécurité avant
Dispositifs de prétension des ceintures de sécurité avant
Câblage connexe - Témoin de désactivation du coussin d'air du passager avant
- Capteur de position du siège du conducteur
- Capteurs de poids du siècle du passager avant
- Module de contrôle du capteur de poids du siège passager avant
Une module de diagnostic contrôle continuellement la disponibilité du système. Cela commence lorsque le contacteur est mis à la position ON et se poursuit tout au long de la conduite du vehicule.
Entretien
Les systèmes de coussins d'air ne demandent pas d'entretien régulier. Cependant dans une des éventualités suivantes, apporter le vehicule chez un concessionnaire agréé Mazda, dés que possible:
- Levoyant du système de coussins d'air clignote.
- Levoyant du système de coussins d'air reste allumé.
- Levoyant du système de coussins d'air ne s'allume pas lorsque le contacteur est mis à la position ON.
- Le signal sonore d'advertissement du système de coussins d'air retentira.
- Les coussins d'air se sont déployés.
- Le témoin de désactivation du coussin d'air du passager avant ne s'allume pas lorsque le contacteur est mis à la position ON ou ne s'allume pas comme indiqué dans le tableau. Pour plus de détails au sujet du témoin et de ce tableau, se référer à "Capteurs de poids du siège du passager avant" (page 2-70).

PRUDENCE
Ne pas utiliser un vehicule dont les composants du système de coussins d'air/dispositif de pretension de ceinture de sécurité sont endommages:
Les composants du système de coussins d'air/dispositif de prétension de ceinture de sécurité déployés ou endommages doivent être replacés après toute collision ayant entraîné leur déploiement ou leur endommagement. Seul un concessionnaire agréé Mazda est à même d'évaluer pleinement ces systèmes pour s'assurer qu'ils fonctionneront bien ultérieurement en cas d'accident. Si l'on conduit avec un coussin d'air ou un dispositif de prétension de ceinture de sécurité déployé ou endommagé, ceux-ci n'assureront plus la protection nécessaire en cas d'accident ultérieurement, et des blessures graves ou mortelles pourront alors s'ensuivre.
Ne pas déposer les pieces internes du coussin d'air:
Le fait de retarder les sièges avant, le tableau de bord, le volant de direction ou des pièces sur les montants des vitres avant et arrrière et le long du bord du pavillon contenant des composants ou capteurs de coussin d'air est dangereux. Ces pièces contiennent des composantes essentielles du coussin d'air. Le coussin d'air peut se déployer accidentellement et cause de graves blessures. Toutjours faire enlever ces pièces par un concessionnaire agréé Mazda.
Mettre correctement le coussin d'air au rebut:
Une mise au rebut non ajuste d'un coussin d'air ou la mise à la casse d'un vehicule avec des coussins d'air non déployés est extrémement dangereuse. Si toutes les mesures de sécurité ne sont pas prises, des blessures peuvent en résultat. S'accesser à un concessionnaire agréé Mazda, pour la manière sécuritaire de mise au rebut d'un coussin d'air ou de mise à la casse d'un vehicule équipé de coussin d'air.
REMARQUE
S'il est nécessaire de faire modifier les composants ou le système de cablage du système de retenue supplémentaire pour accommoder une personne avec certaines conditions sociales selon l'avis d'un medecin certificé, contacter un concessionnaire agrée Mazda, se référer à “Assistance à la clientèle (Etats-Unis)” (page 9-2).
3 Bien connaitre votre Mazda
Explication des commandes et opérations de base; comme l'ouverture/la fermeture et le réglage de différents éléments.
Système d'ouverture et de démarrage à télécommande 3-2
Clés avances* 3-2
Commande via les fonctions à télécommande 3-8
Commande via les fonctions de la clé avancée 3-15
Fonction de suspension de clé avancée 3-19
Voyants et averisseurs sonores 3-20
Lorsque levoyant/vertisseur sonore est activé 3-22
Portieres et serrures 3-23
Clés (avec clé de type escamtable) 3-23
Système d'ouverture à télécommande 3-24
Serrures des portières 3-30
Hayon 3-34
Lève-vitre électriche 3-38
Trappe de replissage de carburant et bouchon de réservoir de carburant 3-42
Capot 3-43
Toit ouvrant transparent* 3-46
Système de sécurité 3-48
Système d'immobilisation (avec clé avancée) 3-48
Système d'immobilisation (sans clé avancée) 3-52
Système antivol* 3-56
Volant et rétroviseurs 3-59
Volant 3-59
Retroviseurs 3-59
Système d'ouverture et de démarrage à télécommande
Clés avances*
Les fonctions à télécommande (systeme d'ouverture et de démarrage à télécommande) permettent les opérations suivantes lorsque le conducteur est muni de la clé avancée (page 3-8).
- Verrouillage/déverrouillage des portières et du hayon sans utiliser de clé.
- Demarrage du moteur sans utiliser de clé.
Les touches de la clé avancée permettent d'acceder à des fonctions supplémentaires. Se référer à Commande via les fonctions de la clé avancée à la page 3-15.
-
Les opérations suivantes sont possibles en utilisant la télécommande du système d'ouverture à télécommande d'une certaine distance (touché de verrouillage/ déverrouillage/coffre/panique):
-
Verrouillage/déverrouillage des portières et du hayon.
-
Déclenchement de l'alarme
-
Verrouillage/déverrouillage des portières, ou démarrage du moteur en utilisant la clé auxiliaire.
4 PRUDENCE
Ne pas laisser la clé dans le vehicule si des enfants s'y trouvent, et les garder dans un endroit où les enfants ne les trouveront pas et ne joueront pas avec:
Le fait de laisser des enfants dans le vehicule avec la clé est dangereux. Cela pourrait entrainer des blessures ou la mort de quelqu'un. Les enfants peuvent considérer ces nouvelles clés comme un jouet intéressant et peuvent activer les lève-vitres électriques et d'autres commandes, voir mêmemettre le vehicule en mouvement.
Les ondes radio émises par la clé avancée peuvent perturber le fonctionnement des équipements Médicaux, telis que les stimulateurs cardiaques:
Avant d'utiliser votre clé avancée à proximité de personnes utilisant des équipements médicaux, demander au fabricant de ces équipements ou à votre médecin si les ondes radio émises par la clé avancée risquent de perturber leur fonctionnement.
REMARQUE
- Le conducteur doit être muni de la clé avancée pour s'assurer que le système fonctionne correctement.
- Se référer à Systeme d'immobilisation (page 3-48) pour plus d'information concernant les clés et le démarrage du moteur.
- (Avec système antivol)
Se référer à Système antivol (page 3-56) pour plus d'informations concernant les clés et l'immobilisation du vehicule sur les vehicules équipés du système antivol.

Plaque de numero de code de la clé
Un numero de code est grave sur la plaque attachée au jeu de clés; détacher cette plaque et la conserver dans un endroit sur (mais pas dans le vehicule) ce numero sera nécessaire si l'on doit remplacer une des clés.
Noter aussi le numero de code et le garder dans un endroit sécurité et à portée de main, mais pas dans le vehicule.
Si une clé est perdue, s'adresser à un concessionnaire agrée Mazda en s'assurant d'avoir le code de la clé avec soi.

ATTENTION
Comme la clé avancée utilise des ondes radio de faible intense, elle risque de ne pas fonctionner correctement dans les conditions suivantes:
La clé avancée est transporte en même temps que des apparciels de télécommunication tels qu'un téléphone cellulaires.
La clé avancée est en contact avec ou recouverte par un objet métallique.
La clé avancée se trouve à proximé d'appareils électroniques, tels qu'un ordinateur personnel ou un téléphone cellulaire.
Un équipementlectroniqueautre que l'équipment original Mazda est installé dans le vehicule.
Un équipement situé à proximé du vehicule émet des ondes radio.
Si le vehicule se trouve à proximé d'équipements tels que des dispositifs de paiement sans fil installés dans certaines stations-service.La clé avancée peut consommer de l'énergie électrique en excès lorsqu'elle recoit des ondes radio de forte intensité. Tenez la clé avancée à l'écart des apparils électriques tels que téléviseur ou PC.
Pour ne pas endommager la clé avancée, NE PAS:Laisser tomber la clé avancée.
Mouiller la clé avancée.
Démonter la clé avancée.
Exposer la clé avancée à des températures élevées, dans des endroits au soleil comme sur le tableau de bord ou sur le capot.
Placer des objets lourds sur la clé avancée.
Passer la clé avancée au nettoyeur à ultrasons.
Placer des objets magnétisés à proximité de la clé avancée.
REMARQUE
- La pile a une durée de vie d'environ un an. Veiller à replacer la pile lorsque le témoin KEY vert du tableau de bord clignote pendant 30 secondes lorsque le moteur est arrêté, faute de quoi il ne sera pas possible de démarrer le moteur à l'aide du système de démarrage à télécommande une fois la pile complètement épuisée. Se reporter à Voyant KEY (rouge)/Témoin KEY (vert) (avec clé avancée) à la page 5-61. Si cela se produit, il est alors nécessaire de démarrer immidiatement le moteur à l'aide de la clé auxiliaire. Se réferer à section Avertisseur de la pile de clé avancée déchargée à la page 3-21.

- Des clés avances supplémentaires sont disponibles chez un concessionnaire agréé Mazda. Pour chaque vehicule, 6 clés avances sont fournies pour bénéficier des fonctions à télécommande.
Entretien de la clé avancée

ATTENTION
S'assurer que la pile est installée avec le côte ajustat vers le haut. La pile risque de couler si elle n'est pas installée correctement.
Lors du remplacement de la pile, veiller à ne pas toucher de circuits internes ni de bornes électriques, à ne pas tordre des bornes électriques et à ne pas laisser de la saleté pénétrer dans la télécommande, car cela pourrait l'endomager.
Il y a Danger d'explosion si la pile n'est pas remplaçaé correctement.
Ne remplacer qu'avec le même type de pile (CR2025 ou l'équivalent).
Mettre les piles usées au rebut en respectant les instructions suivantes.
Isoler les bornes positive et négative en les recouvrant de ruban isolant ou l'équivalent.
Ne jamais démonter la pile.
Ne jamais jeter la pile dans le feu ou dans l'eau.
Ne jamais déformer ou écraser une pile.
Les conditions suivantes indiquent que la batterie est decharge:
- Le témoin KEY (vert) du tableau de bord clignote pendant environ 30 secondes lorsqu'le moteur est arrêté.
- Le système ne fonctionne pas et le témoin de fonctionnement de la télécommande ne clignote pas lorsque les touches sont enforcées.
- La plage de fonctionnement du système est réduite.
Il est recommendé de faire replacer la pile chez un concessionnaire agréé Mazda pour ne pas risquer d'endommager la clé avancée. Pour replacer la pile soi-même, suivre les instructions ci-dessous.
Remplacement de la pile de la clé avancée
- Retirer la clé auxiliaire.

- Insérer un tournevis à tête plate dans la rainure indiquée sur l'illustration et tourner le tournevis pour ouvrir légèrement le couvercle.

Système d'ouverture et de démarrage à télécommande
- Insérer le tournevis à tête plate dans l'écart entre le couvercle et la télécommande, puis tournier le tournevis pour détacher le couvercle.

- Retirer le capuchon de pile, puis retirer la pile.

- Insérer une pile neuve en orientant sa polarite positive vers le haut, puis recouvrir la pile avec le capuchon de pile.

- Fermer le couvercle.

- Reinserer la clé auxiliaire.

ATTENTION
Veiller à ne pas rayer ou endommager la bague en caoutchouc représentée sur l'illustration.
Si la bague en caoutchouc se détache, la fixer de nouveau avant d'insérer une pile neue.

Entretien
En cas de problème avec les fonctions à télécommande, s'adresser à un concessionnaire/agree Mazda.
Si une des clés avancée est perdue ou volée, apporter les autres clés avancées à un concessionnaire agréé Mazdaès que possible pour un remplacement et pour réindre la clé avancée perdue ou volée inopérante.

ATTENTION
Les équipements radio de ce type sont reglementés par des lois aux Etats-Unis.
Les changements ou modifications non spécifique approuvés par l'entité responsable de la conformité peuvent annuler le droit de l'utilisateur de faire fonctionner cet apparéil.
Commande via les fonctions à télécommande
Plage de fonctionnement
Le système fonctionne uniquement lorsque le conducteur se trouve dans le vehicule ou dans la plage de fonctionnement et qu'il est muni de la clé avancée.
REMARQUE
Lorsque la pile est déchargeé ou dans les zones soumises à des ondes ou des interférences radio de forte intensité la plage de fonctionnement peut être réduite ou le système peut ne pas fonctionner.
Verrouillage/déverrouillage des portières et du havon
La plage de fonctionnement pour le verrouillage/deverrouillage des portières est la zone comprise dans un rayon inférieur ou égal à 80 cm (31 po.) autour du centre des poignées de portières avant. La plage de fonctionnement pour le verrouillage/deverrouillage du hayon est la zone comprise dans un rayon inférieur ou égal à 80 cm (31 po.) autour du centre du hayon.

REMARQUE
Le système risque de ne pas fonctionner à proximé immediate des fenêtres, des poignées de portières ou du hayon.
Démarrage du moteur
La plage de fonctionnement pour le démarrage du moteur inclut la quasitotalité de l'habitacle excepté le compartment à bagages.


Plage de fonctionnement
REMARQUE
- Bien que le compartmente à bagages ne se trouve pas dans la plage de fonctionnement, le démarrage du moteur pourrait être possible.
- Le moteur peut ne pas démarrer si la clé avancée se trouve dans les zones suivantes:
Autour du tableau de bord
- Dans les compartments de rangement, tels que la boîte à gant
- Le démarrage du moteur est possible même si la clé avancée se trouve à l'extérieur du vehicule et à proximé immediate d'une porte et d'une fenêtre. Cependant, il est important de toutes démarrer le moteur en étant installé dans le siège conducteur. Si l'on fait démarrer et avancer le vehicule alors que la clé avancée ne se trouve pas dans le vehicule, le vehicule ne redémarrera pas après qu'on l'ait arrêté et qu'on ait étient le contacteur.
- Si la clé avancée est détectée dans la plage de fonctionnement, le témoin de fonctionnement de la télécommande clignote momentanément.
Verrouillage, déverrouillage à l'aide de l'interrupteur de commande
Toutes les portières et le hayon peuvent être verrouillés/déverrouillés en appuyant sur l'interrupteur de commande des portières avant ou du hayon lorsque le conducteur est muni de la clé avancée.

Portieres avant
Hayon

Pour verrouiller
Pour verrouiller les portières et le hayon, appuyer sur l'interrupteur de commande. Un bip sonore se fera entendre une fois et les feuels de détresse clignoteront une fois.
REMARQUE
(Sans système antivol)
Les feu de détresse clignoteront une fois pour indiquer que les portières et le hayon sont verrouillés.
(Avec système antivol)
Les feu de détresse ne clignotent que lorsque le système antivol est armé.
Les feu de détresse ne clignotent pas si toutes les portières et le hayon sont verrouillés avant que le système antivol ait ete arme de maniere correcte.
Se référer à Système antivol à la page 3-56.
Pour déverrouiller
Interrupteur de commande de la portière du conducteur
Pour déverrouiller la portière du conducteur, appuyer sur l'interrupteur de commande. Un bip sonore se fera entendre deux fois et les deux de détresse clignoteront deux fois.
Pour déverrouiller toutes les portières et le hayon, appuyer de nouveau sur l'interrupteur de commande avant 3 secondes; un bip sonore retentira alors deux fois.
REMARQUE
(Sans système antivol)
Les feu des detresse clignoteront deux fois pour indiquer que les portieres et le hayon sont déverrouillés.
(Avec système antivol)
Les feu de détresse ne clignotent que lorsque le système antivol est désactivé.
Les feuixdetresseneclignotentqueisle systemeantivolaletecorrectementdésactivé. Se référeràSystèmeantivolàla page3-56.
Interrupteur de commande de la portière du passager avant/hayon
Pour déverrouiller les portières et le hayon, appuyer sur l'interrupteur de commande. Un bip sonore se fera entendre deux fois et les deux de détresse clignoteront deux fois.
REMARQUE
- Vérifier que toutes les portières et le hayon sont correctement verrouillés.
- Toutes les portières et le hayon ne peuvent être verrouillés si l'une des portières ou le hayon est ouvert.
-
Un bip sonore de confirmation se fait entende lorsque les portières et le hayon sont verrouillés/déverrouillés à l'aide de l'interrupteur de commande. Si l'on peut, on peut aussimettrele bip sonore hors service (page 10-9).
-
Ce paramètre peut être modifié de telle sorte que les portières et le hayon soient verrouillés automatiquement sans avoir besoin d'appuyer sur l'interrupteur de commande (page 10-9).
(Fonction de verrouillage automatique)
Un bip sonore se fait entendre lorsque toutes les portieres et le hayon sont fermés et que la clé est transportee. Toutes les portieres et le hayon sont fermés automatiquement après 3 secondes environ lorsque la clé avancée se trouve hors des limites de la plage de fonctionnement. Les feux de détresse clignoteront une fois.
(Meme si le conducteur reste dans la plage de fonctionnement, toutes les portières et le hayon seront automatiquement verrouillés après 30 secondes environ.)
Si le conducteur sort de la plage de fonctionnement avant que les portières et le hayon soient complètement fermés ou qu'une autre clé avancée est laissée dans le vehicule, la condemnation automatique ne fonctionnera pas. Toutours vérifier que toutes les portières et le hayon sont fermés et verrouillés avant de quitter le vehicule.
-
(Fonction de reverrouillage automatique)
Après avoir déverrouillé toutes les portières et le hayon en appuyant sur l'interrupteur de commande, toutes les portières et le hayon seront verrouillés automatiquement si l'une quelconque des opérations cédessous n'est pas exécutée dans les 30 secondes. Si le vehicule est équipé d'un système antivol, les frais de détresse clignoteront pour confirmation. -
Une portière ou le hayon est ouverte.
La clé auxiliaire est introduite dans le contacteur d'allumage.
Le bouton de démarrage est enforcé.
Démarrage du moteur
Positions du contacteur d'allumage
Etant donné qu'il n'y a pas de clé traditionnelle, certaines des fonctions du contacteur d'allumage sont différentes.

La marque gravée sur le vehicule peut indiquer OFF ou LOCK, selon le type de système d'allumage.
OFF/LOCK—Bouton relâché
De même, l'alimentation des apparciels électriques est coupée.
OFF/LOCK—Bouton appuyé
Le contacteur peut être mis sur ACC lorsqu'le témoin KEY (vert) s'allume sur le tableau de bord.

PRUDENCE
Avant de quitter le siège du conducteur, toujours commuter le contacteur sur OFF/LOCK, appliquer le frein de stationnement et s'assurer que le levier sélecteur est sur P:
Il est important demettre le contacteur sur OFF/LOCK,meme si I'on ne retire pas la clé du contacteur ou si I'on quitte le vehicule. Si on laisse la clé sur d'autres positions, certaines fonctions de sécurité seront aussi désactivées et la batterie pourra se décharger. Il est dangereux de quitter le siège du conducteur sans commuter le contacteur sur OFF/LOCK,sansMETTRLefrein de stationnement et le levier selecteur sur P.Le vehicule risque de se déplacer de façon inattendue.Ceci peut cause un accident.
REMARQUE
- Si le contacteur d'allumage est difficile à tourner, déplacer le volant vers la gauche et vers la droite.
- Le contacteur ne peut pas etre tourné de ACC à OFF/LOCK si le levier de changement n'est pas en plage P
ACC (Accessoires)
Dans cette position, certains accessoires électriques fonctionneront.
REMARQUE
Le système d'ouverture à télécommande ne fonctionne pas sur la position ACC, et les portières ne pourront pas etre verrouillées/ déverrouillées en utilisant la télécommande ou les interrupteurs de commande, meme si la clé avancée est emportee loin du vehicule.
ON
Ceci est la position normale lorsque le moteur tourne après le démarrage. Les voyants (sauf celui du système de freinage) devraient être vérifiés avant le démarrage du moteur (page 5-49).
REMARQUE
Lorsque le contacteur est sur ON, le son du moteur de la pompe à essence fonctionnant pres du réservoir d'essence peut être audible. Ceci n'indique pas un problème.
START
Cette position sert à faire démarrer le moteur. Le moteur est lancé jusqu'à ce qu'on relâche le bouton de démarrage; qui revient à la position ON. Les voyants du système de freinage devraient être vérifiés après le démarrage du moteur (page 5-49).
Démarrage du moteur
REMARQUE
Le démarrage du moteur est commandé par le système d'allumage de bougie. Ce système est conforme à tous les règlements du Standard Canadien d'Equipements Source d'InterfERENCE régissant la puissance de la pulsation du champ électrique des parasites radio.
- Le conducteur doit être muni de la clé avancée car celle-ci contient une puce d'immobilisation qui doit communiquer avec les commandes du moteur à une courte distance.
- Lorsqu'on démarre le moteur, veiller à ce que le bouton de démarrage soit bien fixé avant d'essayer de l'utiliser. Si le bouton se détache du contacteur d'allumage, le rattacher en le poussant sur le contacteur d'allumage.

- Le conducteur doit s'assurer qu'il est bien muni de la clé avancée.
- Tous les occupants du vehicule doivent attacher leur ceinture.
- Veiller à ce que le frein de stationnement soit appliqué.
-
Appuyer sur la pédale de frein.
-
Mettre le levier sélecteur en plage P. Si l'on est obligé de redémarrer le moteur alors que le vehicule est en mouvement, placer le levier sélecteur en plage N.
REMARQUE
Le démarreur ne fonctionne pas si le levier sélecteur n'est pas en plage P ou N .
6. Enconcer progressivement le bouton de démarrage bien à fond.

- Vérifier que le témoin KEY (vert) s'allume sur le tableau de bord. Le voyant KEY (rouge) signale qu'il est impossible de démarrer le moteur à l'aide du système d'ouverture à télécommande avancé. Vous pouvez utiliser la clé auxiliaire à la place (page 3-22).

Système d'ouverture et de démarrage à télécommande
REMARQUE
Dans les cas suivants, le voyant KEY (rouge) s'allume mais le moteur ne demarrera pas.
- La pile de la clé avancée est complètement déchargée.
- La clé avancée est en dehors de la plage de fonctionnement.
- La clé avancée se trouve dans des zones où le système parvient difficilement à détecter le signal (page 3-8).
-
Une clé d'un autre constructeur comparable à la clé avancée se trouve dans la plage de fonctionnement.
-
Tourner le contacteur à ACC tout en enforcant le bouton de démarrage.

- Porter le contacteur de ACC à START et le maintainir (pas plus de 10 secondes à la fois) jusqu'à ce que le moteur démarre.
ATTENTION
Ne pas faire tournier le démarreur pendant plus de 10 secondes à la fois. Si le moteur ne démarre pas, attendre environ 10 secondes avant d'essayer à nouveau. Sinon le démarreur risque de subir des dommages.
- ÀpRES le démarriage du moteur, le laisser tourner au ralenti pendant 10 secondes environ.
REMARQUE
- Lorsqu'il fait très froid ou si le vehicule n'a pas fonctionné pendant plusieurs jours, laisser le moteur se rechauffer sans appuyer sur la pédale d'accéléateur.
- Que le moteur soit froid ou chaud, il devrait demarrer sans que l'on appuie sur la pedale d'accéléateur.
- Si le moteur ne démarre pas la première fois, se reférer à Demarrage d'un moteur noyé, dans Demarrage d'urgence. Si le moteur ne démarre toujours pas, faire vérifier le vehicule par un concessionnaire agrée Mazda (page 7-16).
Arrêt du moteur
- Mettre le levier selecteur en position P.
- Porter le contacteur de ON à ACC.
REMARQUE
Si la pile de la clé avancée est décharge, le témoin KEY (vert) du tableau de bord clignote pendant environ 30 secondes lorsque le moteur est arrêté et que vous tournez le contacteur de ACC vers OFF/LOCK. Remplacer la pile usagée par une neue.
Se référer à Remplacement de la pile (page 3-7).
- Enconcer le bouton de démarrage depuis la position ACC, puis le tourner vers OFF/LOCK.
ATTENTION
Lorsqu'on quitte le vehicule, s'assurer que le contacteur est sur OFF/LOCK.
REMARQUE
- Pour pouvoir tourner le contacteur vers OFF/LOCK, vous doivent enforcer le contacteur à partir de la position ACC avant de le tourner. Si vous ne l'enforcez pas, le contacteur d'allumage s'arrête à la position ACC et vous risquez de décharger la batterie du vehicule si le contacteur d'allumage reste trop longtemps en position ACC. Lorsqu'on quitte le vehicule, s'assurer que le contacteur est sur OFF/LOCK.
- Si le conducteur quitte le vehicule sansmettre le contacteur sur OFF/LOCK, il estaverti par un bip sonore et le témoinassocié qui clignote.
Se référer à Avertisseur sonore (page 3-20).
Commande via les fonctions de la clé avancée
Systeme d'ouverture à télécommande
Ce système utilise les touches d'ouverture à télécommande plus traditionnelles pour contrôle à distance le verrouillage et le déverrouillage des portières et du hayon. Il peut également vous aider à demander de l'aide.
Appuyer sur les touches doucement et avec précautions.
REMARQUE
Le système d'ouverture à télécommande est concu pour fonctionner à une distance maximale d'environ 2,5 m (8 pieds) du centre du vehicule, cependant la distance peut varier suivant les conditions locales.
- Le système ne fonctionne pas lorsque la clé auxiliaire se trouve dans le contacteur d'allumage.
- Avec le bouton de démarrage mis en position OFF/LOCK, le système est entièrement opérationnel. Le système ne fonctionne pas lorsque le contacteur n'est pas n'étéint ou que le bouton de démarrage est enforcé.
- Toutes les portières et le hayon ne pas peuvent être verrouillés en appuyant sur la touche de verrouillage si l'une des portières ou le hayon est ouvert. Les feuels de détresse ne clignoteront pas.
- Si la télécommande ne fonctionne pas lorsqu'une touche est pressée, ou si la plage de fonctionnement est réduite, la pile peut être épuisée. Pour installer une nouvelle pile, se référer à Entretien (page 3-5).
Télécommande

Le témoin de fonctionnement clignote lorsque les touches sont enforcés.
Touche de verrouillage
Vérifier que toutes les portières et le hayon sont verrouillés après avoir appuyé sur la touche. Un bip sonore se fera entendre une fois et les deux de détresse clignoteront une fois.
Pour confirmer que toutes les portières et le hayon sont bien verrouillés, appuyer sur la touche de verrouillage de nouveau dans les 5 secondes. Si elles sont fermées et verrouillées, l'avertisseur se fera entendre.
REMARQUE
- Un bip sonore de confirmation peut etre émis lorsque les portières sont verrouillées à l'aide de la télécommande avancée. Si l'on veut, on peut aussimettre le bip sonore hors service. Se référer à Fonctions de personnelisation à la page 10-9.
(Sans système antivol)
Les feu de détresse clignoteront une fois pour indiquer que toutes les portières et le hayon sont verrouillés.
(Avec système antivol)
Les feu de détresse clignotent lorsque le système antivol est armé.
Les feu des detresse ne clignotent pas si toutes les portieres et le hayon sont verrouillés avant que le système antivol ait ete arme de maniere correcte.
Si les portières sont verrouillées en appuyant sur la touche de verrouillage de la télécommande alors que le système antivol est armé, les feuels de détresse clignotent une fois pour indiquer que le système est armé.
Se référer à Système antivol à la page 3-56.
REMARQUE
- Toutes les portières et le hayon ne peuvent être verrouillés si l'une des portières ou le hayon est ouvert.
- Confirmer que toutes les portières et le hayon sont verrouillés visuellement ou auditivement par l'utilisation du double cig.
Touche de déverrouillage
Pour déverrouiller la portière du conducteur, appuyer sur la touche de déverrouillage. Un bip sonore se fera entendre deux fois et les deux de détresse clignoteront deux fois.
Pour déverrouiller toutes les portières et le hayon, appuyer de nouveau sur la touche de déverrouillage dans les 3 secondes; un bip sonore retentira alors deux fois.
REMARQUE
- Un bip sonore de confirmation peut etre émis lorsque les portières sont déverrouillées à l'aide de la télécommande avancée. Si l'on veut, on peut aussimettre le bip sonore hors service. Se référer à Fonctions de personnalisation à la page 10-9.
(Sans système antivol)
Les feu des détresse clignoteront deux fois pour indiquer que toutes les portières et le hayon sont déverrouillés.
(AVEC système antivol)
Les feu de détresse clignotent lorsque le système antivol est désactivé.
Les feu de détresse ne clignotent que si la système antivol a été correctement désactivé.
Si les portières sont déverrouillées en appuyant sur la touche de déverrouillage de la télécommande alors que le système antivol est désactivé, les feu de détresse clignotent deux fois pour indiquer que le système est désactivé.
Se référer à Systeme antivol à la page 3-56.
REMARQUE
(Fonction de reverrouillage automatique)
Après avoir effectué le déverrouillage en utilisant la télécommande, toutes les portières et le hayon seront verrouillés automatiquement si l'une quelconque des opérations ci-dessous n'est pas exécutée dans les 30 secondes environ. Si le vehicule est équipé d'un système antivol, les feux de détresse clignoteront pour confirmation.
- Une portière ou le hayon est ouverte.
- La clé auxiliaire est introduite dans le contacteur d'allumage.
Le bouton de démarrage est enforcé.
Touché de panique
Si vous vous apercevez de loin que\ quelqu'un essaie de pénétrer dans votre\ vehicule ou de l'endommager, enforcer la\ touche de panique activera l'alarme du\ vehicule.
REMARQUE
La touche de panique fonctionnera qu'une des portières ou le hayon soit ouverts ou fermés.
(Déclenchement de l'alarme)
Appuyer sur la touche de panique pendant au moins 1 seconde déclenchera l'alarme pendant 2 minutes et 30 secondes et les mesures suivantes se déclencheront:
- L'avertisseur se fera entendre de manière intermittente.
- Les yeux de détresse clignoteront.
REMARQUE
Cependant, si le conducteur est trop proche du vehicule, la touche de panique risque de ne pas fonctionner.
(Arrêt de l'alarme)
L'alarme s'arrête en appuyant sur une des touches de la télécommande.
Déclaration de conformité
Système d'ouverture à télécommande
(U.S.A)
FCC WARNING
Utilisation de la clé auxiliaire
Utiliser la clé auxiliaire logée dans la clé avancée si la batterie de la télécommande vient à se décharger ou en cas de dysfonctionnement.
Retrait de la clé auxiliaire
Tirer sur la clé auxiliaire pour l'extraire de la clé avancée.

Verrouillage, déverrouillage des portières
Les portières peuvent etre verrouillées/ déverrouillées à l'aide de la clé auxiliaire, se référer à Verrouillage, déverrouillage à l'aide de la clé (page 3-31).
Démarrage du moteur
Le moteur peut être démarré à l'aide de la clé auxiliaire, se référer à Contacteur d'allumage (page 5-2).
Fonction de suspension de clé avancée
Si une clé avancée est laissée à l'intérieur du vehicule et qu'on utilise une deuxieme clé avancée pour verrouiller le vehicule, les fonctions de la clé avancée laissée dans le vehicule seront suspendues momentanément pour empêcher que le vehicule soit volé.
Les fonctions suivantes sont inutilisables:
- Demarrage du moteur en utilisant le bouton de démarrage.
- Actionnement des interrupteurs de commande.
Pour rétablir ces fonctions, effectuer l'une quelconque des opérations suivantes:
- Appuyer sur la touche de verrouillage ou de déverrouillage de la clé avancée dont les fonctions ont été suspendues momentarily.
- Lorsqu'on est muni d'une autre clé avancée, enforcer le bouton de démarriage jusqu'à ce que le témoin KEY (vert) s'allume.
- Insérer la clé auxiliaire etmettre le contacteur sur ON.
Voyants et avertisseurs sonores
Voyant d'anomalie du système
En cas d'anomalie des fonctions du système à télécommande, levoyant KEY (rouge) s'allume en continu sur le tableau de bord.
ATTENTION
Si levoyant KEY (rouge) reste allumé en continu,ne pas continuer a utiliser le vehicule avec les fonctions à télécommande.Garer le vehicule dans un endroit sur et utiliser la clé auxiliaire pour continuer la conduite. Faire inspector le vehicule chez un concessionnaire agreé Mazda des que possible. Se referrer a Contacteur d'allumage (page 5-2).
Avertisseur sonore de bouton de démarrage pas en position LOCK
Si le contacteur est mis sur ACC et que la portiere du conducteur est ouverte, un bip sonore continu retentira afin d'attirer l'attention du conducteur sur le fait que le contacteur n'a pas eté mis sur la position d'arrêt. Dans ce cas, le système d'ouverture à télécommande ne fonctionne pas, la voiture ne peut pas etre verrouillée et la batterie va se vider.
Avertisseur sonore de la clé avancée retiree du vehicule
Dans les conditions suivantes, un bip sonore retentira et levoyant KEY (rouge) clignotera en continu si le contacteur n'est pas en position d'arrêt pour attirer l'attention du conducteur que la clé avancée a été retiree. Il s'arrête de clignoter lorsque la clé avancée sera replacee dans le vehicule:
- Le contacteur n'est pas en position d'arrêt, la portière du conducteur est ouverte et la clé avancée est retiree du vehicule. (Un bip sonore retentit trois fois.) Toutefois le bip sonore retentit en continu si le contacteur est mis sur ACC et que la portiere est ouverte suite à l'activation du bip d'alarme indiquant que le contacteur n'est pas en position d'arrêt.
- Le contacteur n'est pas en position d'arrêt et toutes les portières ont été fermées après qu'on ait retire la clé avancée du vehicule. (Un bip sonore retentit six fois.)
REMARQUE
Comme la clé avancée utilise des ondes radio de faible intensité, l'Avertisseur sonore de la clé avancée retiree du vehicule peut etre activé si la clé avancee est transporte en meme temps que des objets metalliques ou si elle se trouve dans une zone ou la reception du signal est mauvaise dans le vehicule.
Avertisseur sonore de l'interrupteur de commande inutilisable
Dans les conditions suivantes, si on appuie sur l'interrupteur de commande d'une portiere avant ou du hayon alors que le conducteur est muni de la clé avancée, un bip retentit 6 fois pour signaler que ni les portieres avant ni le hayon ne peuvent être verrouillés.
- Une portière ou le hayon est ouvert (y compris voyant portière ouverte).
- Le contacteur n'est pas en position d'arrêt.
- La clé auxiliaire est introduite dans le contacteur d'allumage.
Avertisseur de la pile de clé avancée déchargée
Lorsque le contacteur est place sur ACC ou n'est pas mis sur ON, le témoin KEY (vert) clignote pendant environ 30 secondes pour indiquer que la puissance restante de la pile est insuffisante.
Remplacer par une pile neue avant que la clé avancée ne devienne inutilisable.
Se référer à Entretien de la clé avancée (page 3-5).
REMARQUE
La clé avancée peut être programmée pour que le témoin KEY (vert) ne clignote pas même lorsque la pile est faible.
Se référer à Fonctions de personnelisation à la page 10-9.
Avertisseur de démarrage du moteur refusé
Dans les conditions suivantes, levoyant KEY (rouge) clignote pour informer le conducteur que le contacteur ne passera pas sur ACC meme s'il est en position d'arrêt.
La pile de la clé avancée est complètement déchargée.
- La clé avancée ne se trouve pas dans la plage de fonctionnement.
- La clé avancée se trouve dans des zones où le système parvient difficilement à détecter le signal (page 3-8).
- Une clé d'un autre constructeur comparable à la clé avancée se trouve dans la plage de fonctionnement.
Avertisseur sonore d'alarme de clé avancée laissée dans le vehicule
Si une clé avancée est laissée dans l'habitacle du vehicule et que toutes les portières et le hayon sont fermés en utilisant une clé avancée séparée, un bip sonore retentira pendant environ 10 secondes pour avertir le conducteur que la clé avancée se trouve dans l'habitacle du vehicule. Dans ce cas, les portières et le hayon seront verrouillés, mais les fonctions de la clé avancée laissée dans l'habitacle du vehicule pourront être suspendues temporairement. Pour rétablier le fonctionnement normal de la clé avancée, procédér comme suit (page 3-19).
Lorsque levoyant/avertisseur sonore est activé
Dans les conditions suivantes, des bips sonores retentissent et un voyant/témoin s'allume sur le tableau de bord pour avertir le conducteur d'une mauvaise utilisation de la clé avancée afin de prévenir contre le vol du vehicule (page 3-20).
| Prudence | Comment vérifier |
| Lorsqu'une portière reste ouverte, un bip sonore continu retentit. | Vérifier que le contacteur est en position d'arrêt. |
| Si lors de l'ouverture d'une portière trois bips sonores retentissent, et que levoyant KEY (rouge) clignote sur le tableau de bord. | Vérifier que la clé avancée a été retiree du vehicule. |
| Si lors de la fermeture d'une portiere est fermée un bip sonore retentit six fois, et que levoyant KEY (rouge) clignote sur le tableau de bord. | Vérifier que la clé avancée a été retiree du vehicule. |
| Lorsqu'on verrouille les portieres, le carillon retentit pendant dix secondes environ. | Vérifier que la clé avancée a été laissée dans le vehicule. |
| Lors de la tentative de verrouillage des portieres à l'aide de l'interrupteur de commande des portieres avant, un bip sonore est émis 6 fois. | Vérifier que le contacteur est en position d'arrêt. |
| Vérifier si une portiere ou si le hayon est ouvert. | |
| Si le témoin KEY (vert) s'allume sur le tableau de bord. | La pile de la clé avancée est déchargee. Remplacer la pile usagée par une neue. Se réferer à Entretien de la clé avancée à la page 3-5. |
| Si le voyant KEY (rouge) reste allumé en continu sur le tableau de bord. | Cela indique un dysfonctionnement de la clé avancée. Garer le vehicule dans un endroit sûr et utiliser la clé auxiliaire pour continuer la conduite. Faire inspector le vehicule chez un concessionnaire agréé Mazda dés que possible. |
Clés (avec clé de type escamtable)

PRUDENCE
Ne pas laisser la clé dans le vehicule si des enfants s'y trouvent, et les garder dans un endroit où les enfants ne les trouveront pas et ne joueront pas avec:
Le fait de laisser des enfants dans le vehicule avec la clé est dangereux. Cela pourrait entraîner des blessures ou la mort de celui qu'un. Les enfants peuvent considérer ces nouvelles clés comme un jouet intéressant et peuvent activer les lève-vitres électriques et d'autres commandes, voire mêmemettre le vehicule en mouvement.
REMARQUE
- Se référer à Système d'immobilisation (page 3-52) pour plus d'information concernant les clés et le démarrage du moteur.
(Avec système antivol) Se référer à Système antivol (page 3-56) pour plus d'informations concernant les clés et l'immobilisation du vehicule sur les vehicules équipés du système antivol.
Les clés opèrent toutes les serrures.


Plaque de numero de code de la clé
Un numero de code est grave sur la plaque attachée au jeu de clés; détacher cette plaque et la conserver dans un endroit sûr (mais pas dans le vehicule) ce numero sera nécessaire si l'on doit replacer une des clés.
REMARQUE
- Noter le numero de code et le garder dans un endroit séparé, sécurité et commode, mais pas dans le vehicule. Si une clé est perdue, s'adresser à un concessionnaire/agréé Mazda en s'assurant d'avoir le code de la clé avec soi.
- Les clés de type escamtable ne peuvent être fixées sur certains types de porte-clés. Utiliser alors le porte-clés fourni avec la télécommande et sur lequel la plaque de numéro de code de la clé est fixée.

Porte-clés
Méthode d'extension/escamotage de la clé (Clé de type escamtable)
Pour faire sorting la clé, appuyer sur le bouton de déverrouillage.

Pour escameter la clé, la tourner dans le support tout en appuyant sur le bouton de déverrouillage.

Système d'ouverture à télécommande
Ce système commande à distance le verrouille et déverrouille les portières et le hayon.
Il peut également vous aider à demander de l'aide.
Appuyer sur les touches doucement et avec précautions.
ATTENTION
Afin d'éviter d'endommager la télécommande, ne pas:
Laisser la télécommande tomber.
Mouiller la télécommande.
Démonter la télécommande.
Exposer la télécommande à des champs magnétiques.
Exposer la télécommande à des températures élevées, dans des endroits au soleil comme sur le tableau de bords ou sur le capot.
REMARQUE
Le système d'ouverture à télécommande est concu pour fonctionner à une distance maximale d'environ 2,5 m (8 pieds) du centre du vehicule, cependant la distance peut varier suivant les conditions locales.
- Le système ne fonctionne pas lorsque la clé de contact se trouve dans le contacteur d'allumage.
- Si la télécommande ne fonctionne pas lorsqu'une touche est pressée, ou si la plage de fonctionnement est réduite, la pile peut être épuisée. Pour installer une nouvelle pile, se référer à Entretien (page 3-28).
- Des télécommandes additionnelles sont disponibles chez un concessionnaire agréé Mazda. jusqu'à trois télécommandes peuvent être utilisées sur un vehicule équipé du système d'ouverture à télécommande. Apporter toutes les télécommandes à un concessionnaire agréé Mazda lorsque des télécommandes additionnelles sont nécessaires.
▼Télécommande

Le témoin de fonctionnement clignote lorsque les touches sont enfoncés.
Vérifier que toutes les portières et le hayon sont verrouillés après avoir appuyé sur la touche.
Pour confirmer que toutes les portières et le hayon sont bien verrouillés, appuyer sur la touche de verrouillage de nouveau dans les 5 secondes. Si elles sont fermées et verrouillées, l'avertisseur se fera entendre.
REMARQUE
- Les portières et le hayon peuvent être verrouillés en appuyant sur la touche de verrouillage si l'une des portières ou le hayon est ouvert. Toutefois, les frais de détresse ne clignotent pas et l'avertisseur sonore ne retentit pas.
(Sans système antivol)
Les feu de détresse clignoteront une fois pour indiquer que toutes les portières et le hayon sont verrouillés.
(Avec système antivol)
Les feu de détresse clignotent lorsque le système antivol est armé.
Les feu des detresse ne clignotent pas si toutes les portieres et le hayon sont verrouillés avant que le système antivol ait ete arme de maniere correcte.
Si les portières sont verrouillées en appuyant sur la touche de verrouillage de la télécommande alors que le système antivol est armé, les feuels de détresse clignotent une fois pour indiquer que le système est armé.
Se référer à Système antivol à la page 3-56.
- Il est impossible de verrouiller toutes les portières et le hayon lorsque la clé est dans le contacteur d'allumage.
- Confirmer que toutes les portières et le hayon sont verrouillés visuellement ou auditivement par l'utilisation du double cig.
Touche de déverrouillage
Pour déverrouiller la portière du conducteur, appuyer sur la touche de déverrouillage.
Pour déverrouiller toutes les portières et le hayon, appuyer sur la touche de déverrouillage de nouveau dans les 3 secondes.
REMARQUE
(Sans système antivol)
Les feu des detresse clignoteront deux fois pour indiquer que toutes les portières et le hayon sont déverrouillés.
(Avec système antivol)
Les feu de détresse clignotent lorsque le système antivol est désactivé.
Les feu des detresse ne clignotent que si le système antivol a ete correctement desactive.
Si les portières sont déverrouillées en appuyant sur la touche de déverrouillage de la télécommande alors que le système antivol est désactivé, les frais de détresse clignotent deux fois pour indiquer que le système est désactivé. Se référer à Système antivol à la page 3-56.
REMARQUE
Fonction de reverrouillage automatique
Après avoir déverrouillé les portières et le hayon à l'aide de la télécommande, elles se verrouilleront de nouveau automatiquement si l'une des portières ou le hayon n'est pas ouvert dans les 30 secondes environ.
Touche de panique
Si vous vous apercevez de loin que\ quelqu'un essaie de pénétrer dans votre\ vehicule ou de l'endommager, enforcer la\ touche de panique activera l'alarme du\ vehicule.
REMARQUE
La touche de panique fonctionnera qu'une des portières ou le hayon soit ouverts ou fermés.
Déclenchement de l'alarme
Appuyer sur la touche de panique pendant au moins 1 seconde déclenchera l'alarme pendant 2 minutes et 30 secondes et les mesures suivantes se déclencheront:
- L'avertisseur se fera entendre de manière intermittente.
- Les feu de détresse clignoteront.
Arrêt de l'alarme
Appuyer sur une des touches de la télécommande.
Déclaration de conformité
Système d'ouverture à télécommande
(U.S.A)
FCC WARNING
Entretien de la télécommande
Si les touches de la télécommande ne fonctionnent pas et que le témoin de fonctionnement ne clignote pas, la batterie est peut-être déchargée.
Remplacer par une pile neue avant que la télécommande ne devienne inutilisable.
ATTENTION
Installer la pile, pôle positif (+) vers le bas. La pile risque de couler si elle n'est pas installée correctement.
Lors du remplacement de la pile, veiller à ne pas toucher de circuits internes ni de bornes électriques, à ne pas tordre des bornes électriques et à ne pas laisser de la saleté pénétrer dans la télécommande, car cela pourrait l'endommager.
Il y a Danger d'explosion si la pile n'est pas remplacée correctement.
Ne remplacer qu'avec le même type de pile (CR1620 ou l'équivalent).
Mettre les piles usées au rebut en respectant les instructions suivantes.
Isoler les bornes positive et négative en les recouvrant de ruban isolant ou l'équivalent.
Ne jamais démonter la pile.
Ne jamais jeter la pile dans le feu et (ou) dans l'eau.
Ne jamais déformer ou écraser une pile.
Changement de la pile de la télécommande
-
Ouverture de la clé (page 3-23).
-
Insérer un tournevis dans la fente et pousser la languette pour séparer la clé de l'émetteur.

- Insérer un tournevis dans la fente puis faire levier doucement pour ourir la télécommande.

- Retirer le pile.

- Installer la nouvelle pile (CR1620 ou l'équivalent) avec le côte positif (+) vers le bas.

- Aligner les couvercles avant et arriere et appuyer pour fermer la télécommande.
- Aligner la clé sur la télécommande comme indiqué sur l'illustration, et introduire la clé jusqu'à ce qu'un déclic soit émis.

ATTENTION
Introduire fermement la clé dans la télécommande jusqu'à ce qu'un déclic soit émis. Si la clé n'est pas fermement introduite, elle risque de se detacher de la télécommande.
Entretien
En cas de problème avec le système d'ouverture à télécommande, s'adresser à un concessionnaire agréé Mazda.
Si une des télécommandes est perdue ou volée, apporter les autres télécommandes à un concessionnaire/agréé Mazda dés que possible pour un remplacement et pour rendre la télécommande perdue ou volée inopérante.
ATTENTION
Les équipements radio de ce type sont reglementés par des lois aux États-Unis.
Les changements ou modifications non spécifique approuvés par l'entité responsable de la conformité peuvent annuler le droit de l'utilisateur de faire fonctionner cet apparéil.
Serrures des portières
▲PRUDENCE
Toujours emmener les enfants ou les animaux de compagnie avec soi, ou laisser avec euxune personne responsable:
Le fait de laisser un enfant ou un animal sans surveillance dans un vehicule en stationnement est dangereux. Lorsqu'il fait chaud, la température interieure d'un vehicule peut augmenter à tel point que cela peut entraîner une maladie cérébrale ou même la mort.
Ne pas laisser la clé dans le vehicule si des enfants s'y trouvent, et les garder dans un endroit où les enfants ne les trouveront pas et ne joueront pas avec:
Le fait de laisser des enfants dans le vehicule avec la clé est dangereux.
Cela pourrait entrainer des blessures ou la mort de quelqu'un.
Garder toutes les portières verrouillées lors de la conduite:
Des portières déverrouillées dans un vehicule en mouvement sont dangereuses. Les passagers peuvent tomber si une portière est ouverte par inadvertance et peuvent facilement être éjectés lors d'un accident.
Fermer toujours toutes les vitres et le toit ouvrant transparent, verrouiller les portières et emporter la clé avec vous lorsque vous laissez votre vehicule non surveillé:
Laisser votre vehicule déverrouillé est dangereux, les enfants peuvent s'enfermer dans un vehicule chaud, pouvant entraîner leur mort. De même, un vehicule non verrouillé est une cible facile pour les voleurs et les intrus.
Après avoir fermé les portières,
toujours vérifier qu'elles sont bien
fermées:
Les portières mal fermées sont dangereuses; si le vehicule est conduit avec une portière mal fermée, la portière risquérait en effet de s'ouvrir de manière inattendue et de causer un accident.
Toujours confirmer la sécurité du vehicule avant d'ouvrir une portière:
Il est dangereux d'ouvrir une portiere de maniere précipitee. Un autre vehicule ou un pieton pourrait etre heures et cela entrainerait un accident.
Verrouillage, déverrouillage à l'aide de la clé
La portiere du conducteur peut etre verrouillée ou déverrouillée à l'aide de la clé.
Tourner la clé vers l'avant pour déverrouiller, vers l'arrière pour verrouiller.

Verrouillage, déverrouillage à l'aide de l'interrupteur de commande (avec clé avancée)
Les portières peuvent etre verrouillées/ déverrouillées en utilisant l'interrupteur de commande alors que le conducteur muni de la clé avancée est en dehors du vehicule, se reférer à Commande via les fonctions à télécommande (page 3-8).
Verrouillage, déverrouillage à l'aide de la télécommande (avec clé avancée)
Les portières peuvent etre verrouillées ou déverrouillées en appuyant sur les touches de la télécommande, se référer à Systeme d'ouverture à télécommande (page 3-15).
Verrouillage, déverrouillage à l'aide de la télécommande (avec clé de type escamtable)
Les portières peuvent être verrouillées ou déverrouillées en appuyant sur les touches de la télécommande, se référer à Systeme d'ouverture à télécommande (page 3-24).
Verrouillage, déverrouillage à l'aide de la commande intérieure de verrouillage
Pour verrouiller une portière de l'intérieur, appuyer sur la commande de verrouillage. Pour déverrouiller, le tirer vers l'extérieur. Celle-ci ne commande pas les serrures de l'autre portière.

Pour verrouiller une portiere avec la commande de verrouillage depuis l'extérieur, pousser la commande de verrouillage sur la position de verrouillage et fermer la portiere. Celle-ci ne commande pas les serrures de l'autre portiere.

REMARQUE
- En verrouillant les portières de cette manière, faire attention de ne pas laisser la clé dans le vehicule.
(Aveccleavancede)
La porteduc conducteur ne peut pasetreverrouillée enutilisant la commande deverrouillage depuis l'extérieur.
(Avec clé de type escamtable)
La portière du conducteur ne peut pas être verrouillée en utilisant la commande de verrouillage de portière depuis l'extérieur si la clé se trouve dans le contacteur d'allumage.
- L'indicateur rouge est visible lorsquela commande de verrouillage de portiere est déverrouillée.

Verrouillage electrique des portieres
Prévention de verrouillage accidentel du vehicule
(Avec clé avancée)
L'option de prévention de verrouillage accidentel du vehicule évite que quelqu'un ne se retrouve à l'extérieur du vehicule sans les clés. Toutes les portières et le hayon se déverrouilleront automatiquement s'il ont été verrouillés à l'aide du verrouillage électrique des portières avec une portière ou le hayon ouvert.
(Avec clé de type escamtable)
L'option de prévention de verrouillage accidentel du vehicule évite que quelqu'un ne se retrouve à l'extérieur du vehicule sans les clés. Avec la clé de contact dans le contacteur d'allumage, toutes les portières et le hayon se déverrouilleront automatiquement s'ils avaient été verrouillés à l'aide du verrouillage électrique des portières avec l'une quelconque des portières avant ouverte.
Verrouillage, déverrouillage à l'aide de la clé
Toutes les portières et le hayon se verrouillent automatiquement lorsque la portière du conducteur est verrouillée en utilisant la clé.
Toutes les portières de même que le hayon se déverrouillent lorsque la portière du conducteur est déverrouillée et que la clé est tenue en position de déverrouillage pendant une seconde ou plus.

REMARQUE
Tenir la clé en position déverrouillée dans le verrou de la portière conducteur pendant une seconde environ déverrouillera toutes les portières et le hayon. Pour déverrouiller uniquement la portière du conducteur, insérer la clé dans le verrou de la portière du conducteur et tourner brievement la clé en position de déverrouillage, puis la ramener immidiatement à la position centrale.
Verrouillage, déverrouillage à l'aide de la commande de verrouillage de la portière
Toutes les portières et le hayon se verrouillent automatiquement lorsque le côté verrouillé est enforcé. Elles se déverrouillent toutes lorsque le côté déverrouillé est enforcé.

Verrouillage, déverrouillage à l'aide de l'interrupteur de commande (avec clé avancée)
Toutes les portières et le hayon/couvercle de coffre peuvent etre verrouillés/ déverrouillés en utilisant l'interrupteur de commande sur les portières avant et le hayon alors que le conducteur muni de la clé avancée est en dehors du vehicule, se référer à Commande via les fonctions à télécommande (page 3-8).
Verrouillage, déverrouillage à l'aide de la télécommande (avec clé avancée)
Toutes les portières et le hayon peuvent être verrouillés/déverrouillés en appuyant sur les touches de la télécommande; se référer à Système d'ouverture à télécommande (page 3-15).
Verrouillage, déverrouillage à l'aide de la télécommande (avec clé de type escamtable)
Toutes les portières et le hayon peuvent être verrouillés/déverrouillés en appuyant sur les touches de la télécommande; se référer à Système d'ouverture à télécommande (page 3-24).
Verrous de sécurité pour enfants des portières arrêté
Ces verrous sont prevus pour éviter que les enfants n'ouvrent accidentellement les portières arrêté. Les utiliser à chaque fois qu'un enfant se trouve dans le vehicule.
Si le verrou de sécurité est poussa en position verrouillée avant de fermer la portière, elle ne peut pas etre ouverte de l'intérieur.
Pour l'ouvrir, tirer sur la poignée extérieure de la portière.

Hayon
PRUDENCE
Ne jamais laisser une personne s'asseoir dans le compartment à bagages pendant la conduite:
Le fait de laisser une personne s'asseoir dans le compartment à bagages pendant la conduite est dangereux. La personne assise dans le compartment à bagages risque d'être blessée gravement ou mortellement en cas de freinage brusque ou de collision.
Ne pas conduire avec le hayon ouvert: Du gaz d'échéppement dans l'habitacle du vehicule est dangereux. Un hayon ouvert dans un vehicule en mouvement fait enterer des gaz d'échéppement dans l'habitacle. Ces gaz contiennent du monoxyde de carbone (CO) qui est incolore, inodore et extrémement dangereux pour la santé, il peut entraîner une perte de conscience et la mort. De plus, un hayon ouvert peut faire que des passagers tombent hors du vehicule en cas d'accident.

ATTENTION
Faites attention à ne pas appliquer de force excessive au vérin amortisseur sur le hayon, comme en posant la main sur le vérin. Sinon, le vérin amortisseur peut se plier et affecter le fonctionnement du hayon.

Verrouillage, déverrouillage à l'aide de la clé
Le hayon peut être verrouillé ou déverrouillé en insérant la clé dans le barillet de clé de la portière du conducteur, se référer à Verrouillage électrique des portières (page 3-32).
Verrouillage, déverrouillage à l'aide de l'interrupteur de commande (avec clé avancée)
Le hayon peut être verrouillé/déverrouillé en utilisant l'interrupteur de commande alors que le conducteur muni de la clé avancée est en dehors du vehicule, se référer à Commande via les fonctions à télécommande (page 3-8).
Verrouillage, déverrouillage à l'aide de la télécommande (avec clé avancée)
Le hayon peut être verrouillé ou déverrouillé en appuyant sur les touches de la télécommande, se réferer à Système d'ouverture à télécommande (page 3-15).
Verrouillage, déverrouillage à l'aide de la télécommande (avec clé de type escamtable)
Le hayon peut être verrouillé ou déverrouillé en appuyant sur les touches de la télécommande, se référer à Système d'ouverture à télécommande (page 3-24).
Verrouillage, déverrouillage à l'aide de la commande de verrouillage de la portière
Le hayon peut être verrouillé ou déverrouillé à l'aide de la commande de verrouillage de la portière, se référer à Verrouillage électrique des portières (page 3-32).
Ouverture et fermetre du hayon Ouverture du hayon
Tirer la poignée vers le haut.

REMARQUE
Si la batterie du vehicule est decharge ou s'il y a une anomalie du système electrique et que le hayon ne peut pas etre déverrouille, suivre la méthode suivante de déverrouillage d'urgence:
Retirer tout d'abord le capuchon situé sur la surface interieure du hayon, à l'aide d'un tournevis plat.


Tournier ensuite le levier vers la droite pour déverrouiller le hayon.

Après avoir suivi cette méthode de déverrouillage d'urgence, faire inspector le vehicule par un concessionnaire/agréé Mazda, dés que possible.
Fermeture du hayon
Le pousser vers le bas à l'aide des deux mains jusqu'à ce que le verrou s'enclenche. Ne pas le claquer. Tirer le hayon vers le haut pour s'assurer qu'il est bien verrouillé.
Compartiment à bagages
PRUDENCE
Ne pas placer de bagages ou d'autres objets sur le cache du compartment à bagages:
Le fait de placer des bagages ou autres objets sur le cache du compartment à bagages est dangereux. En cas d'arrêt brusque ou de collision, les objets peuvent être projétés comme des projectiles qui peuvent frapper et blesser quelqu'un. Le vehicule est équipé d'un cache du compartment à bagages léger permettant de conserver la zone des bagages à l'abri des regards; le couvercle ne pourrait pas retenir les objets lourds non attachés lors d'un accident tel qu'un capotage. Attacher tous les objets lourds, bagages ou chargement, à l'aide des crochets d'immobilisation.
S'assurer que tout bagage et paquet est fixé avant de conduire le vehicule:
Le fait de ne pas fixer les bagages ou paquets avant la conduite est dangereux car ils pourraient se déplacer ou être projétés en cas de freinage brusque ou de collision, et causer de graves blessures.
ATTENTION
S'assurer que le cache du compartment à bagages est fixé fermement. Sinon, elle risque de se detacher soudainement et de cause des blessures.
Cache de compartmentement à bagages *
Installer le cache
- Introduire l'extremité gauche de la barre de retenue dans l'encoche.

- Presser le support à ressort sur le côté droit de la barre de retenue vers l'intérieur, puis l'introduire dans l'encôche.

- Extraire progressively le cache et l'introduire dans les pieces de retenue.

Retrait du cache
Pour l'installation, effectuer les opérations de retrait en sens inverse.
Lève-vitre électrique
Le contacteur doit être place sur ON pour que le lève-vitre électrique fonctionne.

PRUDENCE
S'assurer que rien ne se trouve sur la projection d'une vitre que l'on désire fermer:
La fermeture des vitres à l'aide du lève-vitre électrique est dangereuse.
Les mains, la tete ou même le cou d'une personne peuvent etre coincés par la vitre et subir de graves blessures ou la mort.
Cet avertissement s'applique en particulier aux enfants.
Toujours verrouiller tous les lève-vitres électriques de passagers à l'aide de l'interrupteur de verrouillage de lève-vitres électriques du côte conducteur, lorsque des enfants se trouvent dans le vehicule, et ne jamais permettre aux enfants de jourer avec les interrupteurs des lève-vitres électriques:
Le fait de laisser les interrupteurs de l'ève-vitres électriques déverrouillés pendant que des enfants se trouvent dans le vehicule est dangereux. Des interrupteurs de l'ève-vitres électriques non verrouillés à l'aide de l'interrupteur de verrouillage de l'ève-vitres électriques permettent aux enfants de faire fonctionner les vitres électriques accidentellement, ce qui peut causeer de graves blessures si les mains, la tête ou le cou d'un enfant est coince par une vitre.

ATTENTION
Pour éviter de fondre le fusible et d'endommager le système de l'éve-vitre électrique, ne pas ouvrir ou fermer plus de trois vitres à la fois.
Utilisation du lève-vitre électrique côte conducteur
Normal ouverture/fermeture
Pour ouvrir la vitre à la position désirée, appuyer légrement sur l'interrupteur. Pour fermer la vitre à la position désirée, tirer légrement sur l'interrupteur.
Interrupteurs principaux de commande Fermor
Vitre du conducteur
Fermer
Ouvrir
Ouverture/fermeture automatique
Pour ouvrir complètement la vitre automatiquement, enforcer l'interrupteur bien à fond, puis le relâcher. La vitre s'ouvrira alors automatiquement. Pour fermer complètement la vitre automatiquement, tirer l'interrupteur à fond vers le haut, puis le relâcher. La vitre se fermera alors automatiquement.
Pour arrêté la vitre avant son ouverture ou sa fermeture complète, tirer ou appuyer sur l'interrupteur dans le sens opposé au déplacement de la vitre, puis le relâcher.
REMARQUE
Si la batterie a ete deconnectee lors des travaux d'entretien du vehicule, ou pour d'autres raisons telles que l'actionnement continu d'un interrupteur après que la fenetre ait ete complètement ouverte/fermee, la fenetre ne s'ouvrira pas et ne se fermera pas complètement automatiquement. Suivre les etapes suivantes pour reinitialiser le systeme:
- Mettre le contacteur en position ON.
- Appuyer sur l'interrupteur et ouvrir la vitre complètement.
- Tirer l'interrupteur pour fermer la vitre complètement et le maintainir pendant environ 2 secondes après que la vitre soit complètement fermée.
Fonction d'ouverture en deux étapes
Lorsque la vitre est complètement fermée, appuyer sur l'interrupteur brievement et la vitre s'ouvrira de 3 cm (1 po.).
Si l'interrupteur est maintenu pressé, la vitre s'ouvrira complètement.
REMARQUE
Si l'interrupteur est pressé une fois lorsquela vitre est complètement fermée, la vitre ne s'ouvrira que d'environ 3 cm (1 po.) pour ventiler l'habitacle.
Annulation de la fonction d'ouverture en deux étapes
Pour annuler la fonction d'ouverture en deux étapes, suivre la méthode suivante à l'aide des interrupteurs de commande principaux.
- Mettre le contacteur sur ON et effectuer l'opération suivante dans les 5 secondes:
Appuyer deux fois fermement sur l'interrupteur de l'ève-vitre électrique, puis le tirer deux fois fermement.

Interrupteurs principaux de commande
- Couper le contacteur.
- Une fois le contacteur sur la position d'arrêt,mettre le contacteur sur ON et dans les 40 secondes et effectuer l'opération suivante dans les 5 secondes:
Appuyer deux fois fermement sur l'interrupteur de l'ève-vitre électrique, puis le tirer deux fois fermement.
REMARQUE
- La fonction d'ouverture en deux étapes ne peut pas être annulée si les opérations ne sont pas complétées dans les déliés indiqués ou si les étapes ne sont pas toutes suivies. Pour repeter la procédure, placer le contacteur sur OFF et reprendre depuis le début.
- S'il n'est pas possible d'annuler la fonction en suivant la méthode indiquée, s'adresser à un concessionnaire/agree Mazda.
Remise en fonction de l'ouverture en deux étapes
Avec la fonction d'ouverture en deux étapes annulée, repeter les opérations indiquées ci-dessus pour la remettre en fonction.
REMARQUE
S'il n'est pas possible de rétabrir la fonction en effectuant la procédure de rétablissement indiquée, s'adresser à un concessionnaire/agréé Mazda.
Vitre à dispositif de sécurité
Si la main, la tete d'une personne ou autre object bloque la vitre lors de sa fermeture automatique, la vitre s'arrête et s'ouvrira à moinsie.

PRUDENCE
Vérifier que rien ne bloquer la vitre électrique juste avant qu'elle attigne sa position de fermeture complète ou lorsque l'interrupteur de vitre électrique est maintainu complètement vers le haut:
Le fait de bloquer une vitre electrique juste avant qu'elle atteigne sa position de fermeture complète ou lorsque l'interrupteur de vitre electrique est maintainu completement vers le haut est dangereux.
Dans ces cas, la fonction de sécurité ne peut pas bloquer la fermeture complete de la vitre. Si des doigs sont pris, cela peut entrainer de graves blessures.
REMARQUE
Suivant les conditions de conduite, une vitre se fermant automatiquement peut s'arreter et commencer a s'ouvrir si un choc similaire a un objet qui la bloque est ressenti par le dispositif.
Si le dispositif de sécurité se déclenché et la vitre ne peut pas être fermée automatiquement, tirer et maintainir l'interrupteur et la vitre se fermera.
Fonctionnement du lève-vitre électrique avec le moteur étant
Le lève-vitres électrique peut être utilisé pendant environ 40 secondes après que le contacteur soit tourné de ON à ACC ou OFF avec toutes les portières fermées. Si une des portières avant est ouverte, le lève-vitre électrique ne fonctionnera plus.
REMARQUE
La fonction d'ouverture en deux étapes n'opérera pas si le moteur est étéint.
Utilisation du lève-vitre électricité côte passager
Les vitres électriques peuvent être commandées lorsqu'l'interrupteur de verrouillage de lève-vitre électrique sur la portière du conducteur est en position déverrouillée.
Les vitres côté passager peuvent être ouvertes ou fermées à l'aide des interrupteurs principaux de lève-vitre électrique sur la portière du conducteur.

Pour ouvrir la vitre à la position désirée, enforcer l'interrupteur.
Pour fermer la vitre à la position désirée, tirer l'interrupteur.

Interrupteur de verrouillage du lève-vitre électrique
Avec l'interrupteur de verrouillage en position de déverrouillage (bouton non activé), les lève-vitres électriques sur chaque portière peuvent être ouvertes et fermées.
Avec l'interrupteur de verrouillage en position de verrouillage (bouton activé), seule la vitre électrique côté conducteur peut être ouverte et fermée.

PRUDENCE
Sauf lorsqu'un passager doit actionner une lève-vitre électrique, garder l'interrupteur de verrouillage des lève-vitres électriques sur la position verrouillée:
Le fonctionnement accidentel d'une lève-vitre électrique est dangereux. Les mains, la tête ou le cou d'une personne peuvent être coincés par la vitre et subir de graves blessures.
Trappe de replissage de carburant et bouchon de réservoir de carburant

PRUDENCE
Lors du retrait du bouchon du réservoir de carburant, desserrer le bouchon légerement et attendre que le sifflement)cesse. Retirer ensuite le bouchon:
Le jet de carburant est dangereux. Le carburant risque de causeur des brûlures à la peau et aux yeux et est dangereux pour la santé si avalé. Du carburant sera projeté lorsqu'il y a une pression dans le réservoir de carburant et que le bouchon du réservoir de carburant est retiretrop rapidement.
Avant de faire le plein de carburant, arreter le moteur et garder les étincelles et les flammes loin de l'ouverture de replissage de carburant:
Les vapeurs de carburant sont dangereuses. Elles peuvent etre enflammées par des étincelles ou des flammes, causant de graves brûlures ou blessures. De plus, l'utilisation d'un bouchon du réservoir de carburant incorrect, ou si un bouchon n'est pas utilisé, peut cause une fuite de carburant qui peut entraîner de graves blessures ou la mort en cas d'accident.

ATTENTION
Toujours utiliser un bouchon de réservoir du carburant Mazda d'origine ou l'équivalent approuvé, disponible chez tout concessionnaire agréé Mazda. Un bouchon non ajustat peut cause des dommages importants aux systèmes d'alimentation et antipollution. Il peut également faire allumer le voyant d'anomalie du moteur sur le tableau de bord.
Trappe de replissage de carburant
Pour ouvrir, tirer vers le haut la commande de déverrouillage à distance de la trappe de replissage de carburant.

Bouchon de réservoir de carburant
Pour-retirer le bouchon de réservoir de carburant,le tourner dans le sens contraire des aiguilles d'une montre.
Fixez le bouchon déposé au niveau de la paroi interieure de la trappe de replissage de carburant.
Pour fermer le bouchon de réserveir decarburant, le tourner dans le sens desaiguilles d'une montre jusqu'à ce que deux déclics ou plus se fassent entendre.

ATTENTION
Si levoyant de verification de bouchon du réservoir de carburant s'allume, il est possible que le bouchon du réservoir de carburant ne soit pas installe correctement. Si levoyant s'allume, stationner le vehicule en toute sécurité, à l'ecart de la route, retirer le bouchon du réservoir de carburant et le réinstaller correctement. Une fois le bouchon correctement installé, il est possible que levoyant du bouchon du réservoir de carburant reste allumé jusqu'à ce qu'un certain nombre de cycles de conduite aient été effectués. Un cycle de conduite inclut le démarrage du moteur (apres quatre heures ou plus d'arrêt du moteur) et la conduite du vehicule sur des routes citadines et sur autoroute. Continuer à conduire lorsque le voyant de verification du bouchon du réservoir de carburant s'allume peut entrainer l'activation du voyage d'anomalie du moteur.
Capot
4 PRUDENCE
Toujours s'assurer que le capot est fermé et correctement verrouillé:
Un capot qui n'est pas fermé et correctement verrouillé est dangereux car il risque de s'ouvrir lorsque le vehicule roule et bloquer la vue du conducteur, ce qui peut cause un grave accident.
Ouvrir le capot
- Tirer sur la poignée de déverrouillage pour déverrouiller le capot.

- Glisser la main dans l'ouverture du capot, pousser le levier de la gâche de sécurité vers la droite et soulever le capot.

- Saisir la tige de support à l'endroit du caoutchouc et l'engager dans le trou indiqué par la flèche pour maintainir le capot ouvert.

Fermer le capot
APRUDENCE
Ne rien laisser dans le compartmente.
moteur:
Une fois la vérification ou l'entretien dans le compartmentement moteur terminé, ne pas laisser d'éléments tels que des outils ou des chiffons dans le compartmentement moteur.
Les outils et autres éléments laissés dans le compartmentement moteur peuvent endommager le moteur ou entrainer un incendie occasionnant un accident inattendu.
- Vérifier, sous le capot, que tous les bouchons de replissage sont en place et que tous les éléments non fixés (par ex. outils, contenant d'huile, etc.) ont été retires.
- Soulever le capot, saisir l'endetroit du caoutchouc sur l'etat et le fixer dans l'attache. Vérifier que la tige de support est fixée dans l'attache avant de fermer le capot.

- Abaisser le capot en douceur jusqu'à ce qu'il soit posé en position déverrouillée, puis retirer les mains. Pousser le bord central avant du capot vers le bas jusqu'à ce qu'un son de loquet retentisse et le capot se ferme complètement.

Toit ouvrant transparent*
Le toit ouvrant transparent ne peut etre ouvert ou fermé electriquement uniquely lorsque le contacteur est mis sur la position ON.

APRUDENCE
Ne pas laisser les passagers se tenir debout ou sortir une partie de leur corps par l'ouverture du toit ouvrant transparent pendant que le vehicule se déplace:
Le fait de sortir la tete, les bras ou toute autre partie du corps par l'ouverture du toit ouvrant transparent est dangereux. Une tete ou des bras peuvent etre frappes par un objet lorsque le vehicule se déplace. Ceci peut causer la mort ou de graves blessures.
S'assurer que rien ne se trouve sur la projectione du toit ouvrant transparent avant de le fermer:
Un toit ouvrant transparent qui se ferme est dangereux. Les mains, la tete ou même le cou d'une personne, en particulier les enfants, peuvent etre coincés lors de la fermeture et subir de graves blessures ou la mort.
REMARQUE
Avant de laver le vehicule, vérifier que le toit ouvrant transparent est complètement fermé afin que l'eau ne penètre pas dans l'habitacle. Àpres le lavage du vehicule Mazda ou après qu'il ait plu, éponger l'eau accumulée sur le toit ouvrant transparent avant de l'ouvir pour éviter la déténstration d'eau qui risque de cause de la rouille ou d'endommager la garniture du pavillon.
Inclinaison
L'arrière du toit ouvrant transparent peut etre relevé pour fournir plus de ventilation.
Pour incliner complètement automatiquement, appuyer momentanément sur l'arrière de l'interrupteur d'inclinaison. Pour arrêtier l'inclinaison en cours, appuyer n'importe où sur l'interrupteur d'inclinaison ou d'ouverture.
Pour fermer à la position désirée, appuyer sur l'avant de l'interrupteur d'inclinaison ou d'ouverture.

▼Coulissement
Pour ouvrir complètement automatiquement, appuyer
momentanément sur l'arrière de l'interrupteur d'ouverture.
Pour arrêté le couilissement en cours, appuyer n'arrête où sur l'interrupteur d'inclinaison ou d'ouverture.
Pour fermer à la position désirée, appuyer sur l'avant de l'interrupteur d'inclinaison ou d'ouverture.

Terner
Fermer
Procedure de réinitialisation de toit ouvrant transparentélectrique
Si la batterie est déconnectée, il est possible que le toit ouvrant transparent ne fonctionne pas correctement. Le toit ouvrant transparent ne fonctionnera pas correctement avant qu'il ait eté réinitialisé.
Effectuer la procédure suivante pour réinitialiser le toit ouvrant transparent et poursuivre le fonctionnement:
- Mettre le contacteur en position ON.
-
Appuyer sur l'arrière de l'interrupteur d'inclinaison pour ouvrir partiellement en inclinant l'arrière du toit ouvrant transparent.
-
Répéter l' étape 2. L'arrière du toit ouvrant transparent s'ouvre en s'inclinant jusqu'à la position complètement ouverte, puis se ferme légèrement.
REMARQUE
Si la procédure de réinitialisation est effectuee pendant que le toit ouvrant transparent est en position de coulissement (ouverture partielle), le toit se fernera avant que l'arrière s'ouvre en s'inclinant.
Panneau pare-soleil
Le panneau pare-soleil peut etre ouvert et fermé manuellement.
Le panneau pare-soleil s'ouvre automatiquement lorsque le toit ouvrant transparent est ouvert, mais il doit etre fermé manuellement.

ATTENTION
Le panneau pare-soleil ne s'incline pas. Pour eviter de l'endommager ne pas le pousser.
Ne pas fermer le panneau pare-soleil pendant que le toit ouvrant transparent s'ouvre. Si on force le panneau pare-soleil a se fermer, on risque de l'endommager.
Système d'immobilisation (avec clé avancée)
Le système d'immobilisation en option ne permet de démarrer le moteur qu'avac une clé avancée reconnaue par le système.
Siquelqu'un essaie de demarrer le moteur avec une clé avancée non reconnue par le système,le moteur ne demarrera pas,ce qui aide a protégger le vehicule contre le vol.
En cas de problème avec le système d'immobilisation ou la clé avancée (clé auxiliaire comprise), s'adresser à un concessionnaire agréé Mazda.
ATTENTION
Les équipements radio de ce type sont reglementes par des lois aux Etats-Unis. Les changements ou modifications non spécifique approuvés par l'entité responsable de la conformité peuvent annuler le droit de l'utiliser de faire fonctionner cet apparéil.
Afin de ne pas endommager la clé, ne pas:
Laisser la clé tomber.
Mouiller la clé.
Exposer la clé à des champes magnétiques.
Exposer la clé à des températures élevées, dans des endroits au soleil comme sur le tableau de bord ou sur le capot.
ATTENTION
Veiller à ce que ce qui suit ne se produit pas lorsque vous démarrez le moteur à l'aide de la clé auxiliaire suite au déchargement de la pile de la clé avancée ou un autre dysfonctionnement. Sinon, le signal provenant de la clé auxiliaire ne sera pas reçu correctement et le moteur risque de ne pas démarrer.
Le porte-clés repose sur la clé auxiliaire.

La partie métallique d'autres clés ou objets métalliques est en contact avec la clé auxiliaire.

D'autres clés auxiliaires ou les clés d'autres vehicules équipés d'un système d'immobilisation sont en contact ou à proximite immediate de la clé auxiliaire.

Desdispositifsd'achat électronique ou d'acces sécurisé qui touchent la cléauxiliaire ou sont très proches de cette-ci.
REMARQUE
- Les clés avancées (y compris la clé auxiliaire) possèdent un code électronique unique. Pour cette raison et pour plus de sécurité, il faut attendre un certain temps avant d'obtenir des clés auxiliaires (y compris la clé auxiliaire) de rechange. Elles ne peuvent être obtenues que par l'intémédiaire d'un concessionnaire agrée Mazda.
- S'assurer de toujours garder une clé avancée de rechange, au cas où une clé avancée est perdue. En cas de perte d'une des clés avancées, s'adresser des que possible à un concessionnaire/agréé Mazda.
- Si une clé avancée (y compris la clé auxiliaire) est perdue, un concessionnaire agrée Mazda fera un réglage des codes électroniques des clés avancées (y compris des clés auxiliaires) restantes et du système d'immobilisation. Apporter toutes les clés avancées restantes (y compris les clés auxiliaires) à un concessionnaire agrée Mazda pour les faire réinitialiser. Le démarrage du vehicule à l'aide d'une clé dont le code électronique n'a pas été régèle sera impossible.
Déclaration de conformité
Système d'immobilisation
(U.S.A)
FCC WARNING
Fonctionnement
Armement
Le système est armé lorsque le contacteur est tourné de ON à ACC ou OFF. Le témoin de sécurité sur le tableau de bord clignotera à intervalles de 2 secondes, jusqu'à ce que le système soit désarmé.

Désarmement
Le système est désarmé lorsque le contacteur est place sur ON à l'aide de la clé avancée enregistrée.
Le témoin de sécurité s'allume pendant 3 secondes environ, puis s'éteint.
Si le moteur ne démarre pas à l'aide de la clé avancée correcte et que le témoin de sécurité reste allumé ou clignote, il peut y avoir un mauvais fonctionnement du système. S'adresser à un concessionnaire/agréé Mazda.
REMARQUE
Le moteur risque de ne pas demarrer et le témoin de sécurité de s'allumer ou clignoter si la clé avancée est placée dans une zone où le système parvient difficilement à détecter le signal, telle que sur le tableau de bord ou dans la boîte à gants. Placer la clé avancée à un autre endroit, tourner le contacteur en position d'arrêt, puis redémarrer le moteur.
- Les signaux d'une station de radio ou de télévision, d'un émetteur récepteur, ou d'un téléphone cellulaire peuvent cause des interférences au système d'immobilisation. Si le moteur ne démarre pas même lorsque la clé avancée appropriée est utilisée, vérifier le témoin de sécurité. Si le témoin clignote,mettre le contacteur sur ACC ou eteignez-le et attendre quelques secondes, puis redémarrer le moteur. Si le moteur ne démarre toujours pas après 3 essais ou plus, s'adresser à un concessionnaire agréé Mazda.
- Si le témoin de sécurité se met à clignoter et clignote continulement pendant la conduite, ne pas arrêté le moteur. Se rendre jusqu'à chez un concessionnaire agrée Mazda et faire vérifier le système. Si le moteur est arrêté pendant que le voyant clignote, il sera impossible de le redémarrer.
- Etant donné que les codes électroniques sont réinitialisés lors de la réparation du système d'immobilisation la clé avancée (y compris la clé auxiliaire) est nécessaire. Apporter toutes les clés avancées (y compris les clés auxiliaires) à un concessionnaire/agréé Mazda.
Modifications et accessoires additionnels
Mazda ne peut pas garantir le fonctionnement du système d'immobilisation s'il a eté modifié ou si un accessoire additionnel a eté installé.
ATTENTION
Afin d'eviter d'endommager le vehicule, ne pas modifier le système ou installer d'accessoire additionnel sur le système d'immobilisation du vehicule.
Système d'immobilisation (sans clé avancée)
Le système d'immobilisation ne permet de démarrer le moteur qu'avc une clé reconnae par le système.
Si quelqu'un essaie de demarrer le moteur avec une clé non reconnue par le système, le moteur ne demarrera pas, ce qui aide a protégger le vehicule contre le vol.
En cas de problème avec le système d'immobilisation ou la clé, s'adresser à un concessionnaire agréé Mazda.
ATTENTION
Les équipements radio de ce type sont reglementés par des lois aux Etats-Unis. Les changements ou modifications non spécifique approuvés par l'entité responsable de la conformité peuvent annuler le droit de l'utiliser de faire fonctionner cet apparéil.
Afin de ne pas endommager la clé, ne pas:
Laisser la clé tomber.
Mouiller la clé.
Exposer la clé à des champes magnétiques.
Exposer la clé à des températures élevées, dans des endroits au soleil comme sur le tableau de bord ou sur le capot.

ATTENTION
Lors du démarrage du moteur éviter les points, sinon le moteur peut ne pas démarrer car le signal électronique de la clé de contact ne sera pas transmis correctement.
Le portecles repose sur la clé.

La partie métallique d'autres clés ou des objets métalliques touches à la clé.

D'autres clés ou les clés d'autres vehicules équipés d'un système d'immobilisation touchent ou sont très proches de la clé.

Desdispositifsd'achat électronique ou d'acces sécurisé qui touchent la clé ou sont très proches de cette-ci.
REMARQUE
- Les clés possèdent un code électronique unique. Pour cette raison et pour plus de sécurité, il faut attendre un certain temps avant d'obtenir une clé de rechange. Elles ne peuvent être obtenues que par l'intémédiaire d'un concessionnaire agrée Mazda.
- S'assurer de toujours garder une clé de rechange, au cas où une clé est perdue. En cas de perte d'une des clés, s'adresserès que possible à un concessionnaire/agréé Mazda.
- Si une clé est perdue, un concessionnaire agréé Mazda fera un réglage des codes électroniques des clés restantes et du système d'immobilisation. Apporter toutes les clés restantes un concessionnaire agréé Mazda pour les faire réinitialiser.
Le démarrage du vehicule à l'aide d'une clé dont le code électronique n'a pas été régle sera impossible.
Déclaration de conformité
Système d'immobilisation
(U.S.A)
FCC WARNING
Fonctionnement
Armement
Le système est armé lorsquel contacteur est tourné de ON à ACC ou OFF.
Le témoin de sécurité sur le tableau de bord clignotera à intervalles de deux secondes, jusqu'à ce que le système soit désarmé.

Désarmement
Le système est désarmé lorsquel le contacteur est mis sur ON à l'aide de la clé de contact correcte.
Le témoin de sécurité s'allume pendant trois secondes environ, puis s'eteint.
Si le moteur ne démarre pas à l'aide de la clé de contact correcte et que le témoin de sécurité reste allumé ou clignote, il peut y avoir un mauvais fonctionnement du système. S'adresser à un concessionnaire/agréé Mazda.
REMARQUE
- Si le témoin de sécurité s'allume et reste allumé ou clignote lorsque le contacteur est mis sur ON, le moteur ne demarrera pas.
- Les signaux d'une station de radio ou de télévision, d'un émetteur récepteur; ou d'un téléphone cellulaire peuvent cause des interférences au système d'immobilisation. Si le moteur ne démarre pas même lorsque la clé appropriée est utilisée, vérifier le témoin de sécurité. Si levoyant clignote,steroler la clé de contact et attendre 2 secondes ou plus, puis l'insérer et essayer de démarrer le moteur de nouveau. Si le moteur ne démarre toujours pas après 3 essais ou plus, s'adresser à un concessionnaire agréé Mazda.
- Si le témoin de sécurité se met à clignoter et clignote continuèlement pendant la conduite, ne pas arrêté le moteur. Se rendre jusqu'à chez un concessionnaire/agréé Mazda et faire vérifier le système. Si le moteur est arrêté pendant que levoyant clignote il sera impossibly de le redémarrer.
- Etant donné que les codes électroniques sont réinitialisés lors de la réparation du système d'immobilisation les clés sont nécessaires. Apporter toutes les clés existantes un concessionnaire agrée Mazda.
Modifications et accessoires additionnels
Mazda ne peut pas garantir le fonctionnement du système d'immobilisation s'il a eté modifié ou si un accessoire additionnel a eté installé.
ATTENTION
Afin d'eviter d'endommager le vehicule, ne pas modifier le système ou installer d'accessoire additionnel sur le système d'immobilisation du vehicule.
Système antivol*
Si le système antivol détecte une intrusion non autorisée dans le vehicule pouvant résultat en un vol du vehicule ou de son contenu, l'alarme se déclenché en faisant retentir l'avertisseur sonore et en faisant clignoter les yeux de détresse pour signaler dans la zone environnante que la situation est anormale.
Se référer à Fonctionnement à la page 3-56.
REMARQUE
Le système antivol est concu pour fonctionner soit avec la clé, soit avec le système d'ouverture à télécommande.
(Aveccleavancede)
Le système antivol peut également être armé en utilisant la fonction d'ouverture à télécommande.
Le système fonctionne uniquement lorsque le conducteur se trouve dans le vehicule ou dans la plage de fonctionnement et qu'il est muni de la clé avancée.
- Le système ne fonctionnera pas s'il n'est pas correctement armé. Pour correctement verrouiller le vehicule, toujours s'assurer que toutes les vitres sont entierement fermées et que toutes les portières et le hayon sont verrouillés avant de quitter le vehicule. Ne jamais outlier de prendre la clé et la télécommande.
Fonctionnement
Conditions de déclenchement du système
L'avertisseur sonore retentira de façon intermittente et les yeux de détresse clignoteront pendant 30 secondes environ si le système est déclenché par une des conditions suivantes:
- Ouverture forcee d'une portiere, du capot ou du hayon.
- Déverrouillage d'une portière à l'aide de la commande de verrouillage interieure.
- Déverrouillage d'une portière à l'aide de la commande de verrouillage de la portière.
- Ouverture d'une portière à l'aide d'une commande de verrouillage interieure.
- Ouverture du capot en actionnant la poignée de déverrouillage du capot.
Si le système est déclenché de nouveau, les phares et l'advertisseur seront actifs jusqu'à ce qu'une portière ou le hayon soit déverrouillé à l'aide de la clé ou de la télécommande.
(Avec clé avancée)
Les lumières et l'avertisseur sonore peuvent aussi être désactivés en appuyant sur l'interrupteur de commande.
REMARQUE
Si la batterie arrivé est épuisée pendant que le système antivol est armé, l'avertisseur sonore sera activé et les feuels de détresse se mettront à clignoter lorsqu'on rechargera ou qu'on replacera la batterie.
Commentmettrelesystèmeencircuit
- Bien fermer les vitres et le toit ouvrant transparent*.
- Retirer la clé du contacteur d'allumage. (Avec clé avancée)
Eteignez le contacteur à l'aide du bouton de démarrage.
- S'assurer que toutes les vitres, le toit ouvrant transparent *, et le capot sont fermés. Fermer et verrouiller toutes les portières et le hayon à partir de l'extérieur à l'aide de la clé ou appuyer sur la touche de verrouillage du système d'ouverture à télécommande. Les faux de détresse clignoteront une fois.
La méthode suivante armera également le système antivol:
(Avec clé avancée)
Appuyer sur l'interrupteur de commande ou la touche de verrouillage de la télécommande.
(Sans clé avancée)
Fermer le capot et le hayon. Appuyer une fois sur la zone de la commande de verrouillage de la portière marquee
“.”.Fermer toutes les portieres.
Le système antivol peut aussi être armé en activant la fonction de reverrouillage automatique avec toutes les portières, le hayon et le capot fermés.
REMARQUE
Le verrouillage des portières à l'aide de la commande de verrouillage interieure n'armera pas le système.
- ÀpRES 20 secondes, le système est complètement armé.
REMARQUE
-
Fonction de reverrouillage automatique
Après avoir effectué le déverrouillage en appuyant sur la télécommande ou sur l'interrupteur de commande, toutes les portières et le hayon seront verrouillés automatiquement et les frais de détresse clignoteront si l'une quelconque des opérations suivantes n'est pas exécutée dans les 30 secondes. -
Une portière ou le hayon est ouverte.
- La clé auxiliaire est introduite dans le contacteur d'allumage (avec clé avancée).
-
La clé est introduite dans le contacteur d'allumage.
Le bouton de démarrage est enforcé (avec clé avancée).
Le contacteur est activé. -
Le système sera désarmé si l'une des opérations suivantes a lieu dans les 20 secondes après avoir fermé le capot et verrouillé toutes les portières et le hayon:
-
La touche de verrouillage de la télécommande est enforcée.
- Une des portières ou le hayon est ouvert.
- Deverrouillage d'une portière à l'aide de la commande de verrouillage interieure.
La portiere du conducteur est déverrouillée avec la clé.
Le capot est ouvert. - La clé est introduite dans le contacteur d'allumage.
-
La clé auxiliaire est introduite dans le contacteur d'allumage (avec clé avancée).
Le bouton de démarrage est enforcé dans le contacteur d'allumage ou un interrupteur de commande est enforcé (avec clé avancée).
Le contacteur est activé. Pour armer le système de nouveau, suivre la procEDURE d'armement. -
Si les portières sont verrouillées en appuyant sur la touche de verrouillage de la télécommande ou à l'aide de la clé alors que le système antivol est armé, les feuels de détresse clignotent une fois pour indiquer que le système est armé.
Pour désarmer le système
Un système armé peut être coupé par l'une des méthodes suivantes:
- Déverrouiller une portière avec la clé.
- Appuyer sur la touche de déverrouillage du système d'ouverture à télécommande.
- Insérer la clé dans le contacteur et lemettre sur ON.
(Avec clé avancée)
Appuyer sur l'interrupteur de commande ou la touche de déverrouillage de la télécommande.
- Mettre le contacteur sur ON à l'aide du bouton de démarriage.
Les feu de détresse clignoteront deux fois pour indiquer que le système est désarmé.
REMARQUE
Si les portières sont déverrouillées en appuyant sur la touche de déverrouillage de la télécommande ou à l'aide de la clé alors que le système antivol est désactivié, les feuves de détresse clignotent deux fois pour indiquer que le système est désactivié.
Pour arrête l'alarme
Un système armé peut être coupé par l'une des méthodes suivantes:
- Déverrouiller une portière avec la clé.
-
Appuyer sur la touche de déverrouillage du système d'ouverture à télécommande.
-
Le moteur est démarré à l'aide de la clé de contact.
(Avec clé avancée)
Appuyer sur un interrupteur de commande.
Appuyer sur la touche de déverrouillage de la télécommande.
- Le moteur est démarré à l'aide du bouton de démarrage.
REMARQUE
En cas de problème avec le système antivol, s'adresser à un concessionnaire agréé Mazda.
Autocollants d'indication de système antivol

Un autocollant indiquant que le vehicule est équipé d'un système antivol est fourni dans la boîte à gants.
Mazda recommande qu'il soit apposé dans le coin inférieur arrêté d'une vitre de portières avant.
Volant

PRUDENCE
Ne jamais ajuster le volant de direction lorsque le vehicule est en mouvement:
Le fait de régler le volant de direction alors que le vehicule se déplace est dangereux. Cette manipulation peut facilement faire que le conducteur tourne le volant brusquement vers la droite ou vers la gauche. Cela peut entraîner une perte de contrôle du vehicule et un accident.
Ajustement du volant de direction
Pour changer l'angle ou la longueur de la colonne de direction:
- Arrête le vehicule, tirer vers le bas le levier de déverrouillage situé sous la colonne de direction.

- Incliner et/ou ajuster la longueur de la colonne de direction jusqu'à la position désirée, puis pousser le levier vers le haut pour verrouiller la colonne de direction.
- Pousser le volant vers le haut et vers le bas pour s'assurer qu'il est bien verrouillé avant de démarrer.
Rétroviseurs
Rétroviseurs extérieurs
Vérifier l'angle du rétroviseur extérieur avant de démarrer.
Type de rétroviseur
Type plat (côté conducteur)
Rétroviseur à surface plate.
Type convexe (côté passager avant)
Le rétroviseur possède une courbure simple sur sa surface.

PRUDENCE
S'assurer de jeter un coup d'eel en arrête avant de changer de file:
Le fait de changer de file sans
prénde en considération la distance
actuelle du vehicule vu dans le
retroviseur convexe est dangereux.
Cela peut causer un grave accident.
Les objets vus dans le retroviseur
convexe sont plus proches qu'ils n'y
apparaissent.
Rétroviseur électrique
Le contacteur doit être place sur ACC ou ON.
Pour régler:
-
Appuyer sur le cotoe gauche ou croit du selector pour selectionner le retroviseurdesired.
-
Appuyer sur l'interrupteur de rétroviseur pour faire le réglage désiré.

Après avoir reglé le rétroviseur, verrouiller la commande en plaçant le sélecteur à la position centrale.
Rétroviseur repliable
Replier le rétroviseur extérieur vers l'arrière jusqu'à ce qu'il soit contre le vehicule.

4 PRUDENCE
S'assurer de tous jours returner les rétroviseurs extérieurs en position pour la conduite avant de démarrer:
Il est dangereux de conduire avec les rétroviseurs extérieurs reliés. La vision arrière sera réduite, et cela peut cause un accident.
Rétroviseur interieur
4 PRUDENCE
Ne pas empiler de bagages ou d'autres objets sur une hauteur dépassant les dossiers de siège:
Les bagages empilés sur une hauteur dépassant les dossiers de siège sont dangereux. Ils peuvent obstruer la vue arrirée ce qui peut cause une collision avec un autre vehicule lors d'un changement de file.
Réglage du rétroviseur interieur
Avant de démarrer, régler le rétroviseur interieur pour centrer la vue arrêté par la lunette arrête.
Rétroviseur de jour/nuit manuel

Rétroviseur à anti-éblouissement automatique

REMARQUE
Pour le rétroviseur de jour/nuit manuel, faire cet ajustement avec le levier jour/nuit en position jour.
Réduire l'éblouissement causé par les phares
Rétroviseur de jour/nuit manuel
Pousser le levier jour/nuit vers l'avant pour une conduite de jour. Le tirer vers l'arrière pour réduire l'éblouissement causé par les phares des voitures roulant derrière.

Rétroviseur à anti-éblouissement automatique
Le rétroviseur à anti-éblouissement automatique réduit automatiquement l'éblouissement causé par les phares des vehicules roulant derrière lorsque le contacteur est mis sur la position ON.
Appuyer sur la touche OFF (O) pour annuler la fonction d'anti-éblouissement automatique. Le tímoin s'éteint. Pour réactiver la fonction d'anti-éblouissement automatique, appuyer sur la touche ON (I). Le tímoin s'allume.

REMARQUE
- Ne pas utiliser de produit de nettoyage pour vitres et ne pas accrocher d'objets sur ou pres du capteur optique. Sinon, la sensibilité du capteur optique risque de diminuer et il peut ne pas fonctionner correctement.


- Pour plus d'informations concernant les trois touches (↑, ↓, ↑) sur le rétroviseur à anti-éblouissement automatique, se référer à Système de télécommande HomeLink (page 5-81).
4 Avant de conduire votre Mazda
Informations importantes concernant la conduite de votre vehicule Mazda.
Précautions concernant le carburant et les gaz d'échévement 4-2
Carburant à utiliser 4-2
Système antipollution 4-4
Gaz d'échéppement (Oxyde de carbone) 4-5
Avant de démarrer le moteur 4-6
Avant d'entrer dans le vehicule 4-6
De l'intérieur du vehicule 4-6
Conseils concernant la conduite 4-7
Période de rodage 4-7
Suggestions pour rouler plus economiement 4-7
Conduite dans des conditions dangereuses 4-8
Tapis de plancher 4-10
Pour désembourber le vehicule 4-11
Conduite hivernale 4-11
Conduite dans l'eau 4-13
Surcharge 4-14
Conduite sur routes irregulieres 4-15
Informations relatives au turbocompresseur* 4-16
Remorquage 4-17
Attelage d'une remorque (Etats-Unis et Canada) 4-17
Précautions concernant le carburant et les gaz d'échéppement
Carburant à utiliser
Les vehicules équipés de convertisseur catalytique ou de capteurs d'oxygène doivent fonctionner qu'avac du CARBURANT SANS PLOMB UNIQUEMENT, qui réduit les émissions d'échéppement et minimise l'encrassement des bougies.
Ce vehicule Mazda donna reran rendement optimal avec le carburant indiquedans le tableau ci-dessous.
Moteur de 2,3 litres
| Carburant | Indice d'octane* (index anticognement) |
| Carburant super sans plomb | 91 [methode (R+ M)/2] (96 RON) recommmandée |
- La loi fédérale américa oblige les stations-service à afficher l'indice d'octane sur les pompes à essence.
Ce vehicule a ete concu pour fonctionner au mieux avec de l'essence d'indice 91 [methode ( + ) / 2] (96RON) ou plus elevé. Si de l'essence d'indice 91 [methode ( + ) / 2] (96RON) n'est pas disponible, il est possible d'utiliser de l'essence 87 [methode ( + ) / 2] (91RON). Si l'on utilise de l'essence d'indice inférieur à 91 [methode ( + ) / 2] (96RON), les performances, la qualite du changement de vitesses et de cause le cognement du moteur risqueront d'être amoindries pendant son utilisation.
Moteur de 2,5 litres
| Carburant | Indice d’octane* (index anticognement) |
| Carburant ordinaire sans plomb | 87 [methode (R+ M)/2] ou supérieur (91 RON ou supérieur) |
- La loi fédérale américa oblige les stations-service à afficher l'indice d'octane sur les pompes à essence.
Du carburant avec un indice d'octane inférieur à 87 (91 RON) peut réduire l'efficacité du système antipollution. Cela risque aussi de causeur le cognement du moteur et de l'endommager.
ATTENTION
UTILISER DU CARBURANT SANS PLOMB UNIQUEMENT.
Le carburant au plomb nuit au convertisseur catalytique et aux capteurs d'oxygène, et cause une déterioration du système antipollution et/ou des pannes.
Ce vehicule ne peut utiliser des carburant oxygénés ne contenant pas plus de 10 % d'ethanol par volume. Le vehicule peut subir des dommages si le pourcentage d'ethanol dépasse cette Specification, ou si l'essence contient du methanol. Àrrometer d'utiliser tout gasole si les performances du moteur baisSENT.
Ne jamais ajouter de produits additifs pour système de carburant. Sinon cela pourrait endommager le système antipollution. S'adresser à un concessionnaire/agréé Mazda pour plus de détails.
L'essence mélangée à des produits oxygénés comme l'alcool ou un mélange d'éther est en général appelée carburant oxygéné. Le mélange d'essence commun qui peut être utilisé avec ce vehicule est de l'éthanol mélangé à 10% ou moins. L'essence contenant de l'alcool, comme de l'éthanol ou du methanol, est vendu sous l'appellation "Gasole".
Les dommages au vehicule et les problèmes concernant la conduite suite à l'utilisation des carburants suivants peuvent ne pas être couverts par la garantie du manufacturier.
Gasole contenant plus de 10% d'ethanol.
Essence ou gasole contenant du methanol.
Essence au plomb ou gasole au plomb.
Système antipollution
Votre vehicule est équipé d'un système antipollution (le convertisseur catalytique fait partie de ce système) qui le rend conforme aux lois applicables concernant les gaz d'échéppement.
PRUDENCE
Ne jamais stationner sur ou pres de matieres inflammables:
Le fait de se stationner sur des matières inflammables, comme de l'herbe sèche, est dangereux. Mème lorsque le moteur est arrêté, le système d'échéppement reste très chaud après l'utilisation normale et peut enflammer des matières inflammables. Cela pourrait cause de graves blessures ou la mort.
ATTENTION
Ne pas respecter les précautions suivantes peut faire que le plomb se dépose sur le catalyseur à l'intérieur du convertisseur catalytique ou faire que le convertisseur catalytique devienne très chaud. Cela endommagera le convertisseur et découlera en de mauvaises performances.
UTILISER DU CARBURANT SANS PLOMB UNIQUEMENT.
Ne pas conduire ce vehicule Mazda s'il presente des signes de mauvais fonctionnement.
Ne pas rouler en roue libre avec le contacteur coupé.
Ne pas descendre de côtes raides en prise (une vitesse engagée) avec le contacteur coupé.
Ne pas faire tourner le moteur à un régime de ralenti élevé pendant plus de 2 minutes.
Ne pas modifier le système antipollution. Toutes les vérifications et réglages doivent être réalisés par un mécanicien qualifié.
Ne pas faire démarrer le vehicule en le poussant ou en le tirant.
REMARQUE
D'après la loi fédérale américa, toute modification au système antipollution d'origine, avant la première vente et l'immatriculation d'un tel vignicule est soumise à des sanctions. Dans certains états, de telles modifications faites sur des vehicules usages sont aussi sujets à des sanctions.
REMARQUE
Lorsque le moteur est arrêté, le son d'une valve s'ouvrant et se fermant peut être audible à l'arrière moyen du vehicule, cependant cela n'indique pas une anomalie. Ce vehicule est équipé d'un dispositif d'auto-verification qui opère après que le moteur soit arrêté.
Gaz d'échéppement (Oxyde de carbone)

PRUDENCE
Ne pas conduire le vehicule si l'on sent des odeurs de gaz d'échéppement à l'intérieur du vehicule:
Le gaz d'échéppement est dangereux. Ce gaz contient du monoxyde de carbone (CO), qui est incolore, inodore et extrémement toxique. Si inhalé, il peut cause la perte de conscience et la mort. Si l'on sent une oedur de gaz d'échéppement à l'intérieur du vehicule, garder toutes les vitres ouvertes et consulter un concessionnaire/agréed Mazda, immédiatement.
Ne pas faire tourner le moteur dans un endroit clos:
Le fait de laisser tourner le moteur dans un endroit clos, comme un garage, est dangereux. Le gaz d'échéppement qui contient de l'oxyde de carbone, un gaz extrémenté toxique, peut facilement entraîr dans l'habitacle. Cela peut entraîner une perte de conscience ou même la mort.
Ouvrir les vitres ou régler le système de chauffage ou de refroidissement pour faire entrer de l'air frais lorsque le moteur tourne au ralenti:
Le gaz d'échéppement est dangereux. Lorsque le vehicule est à l'arrêt avec les vitres fermées et le moteur tournant au ralenti pendant une longue durée, même dans un endroit qui n'est pas fermé, du gaz d'échéppement qui contient de l'oxyde de carbone, un gaz extrémement toxique, peut facilement entraîner dans l'habitacle. Cela peut entraîner une perte de conscience ou même la mort.
Retirer la neige sous et autour du vehicule, en particulier du tuyau d'échéppement, avant de faire démarrer le vehicule:
Le fait de laisser tourner le moteur lorsque le vehicule est arrêté dans de la neige profonde est dangereux. Le tuyau d'échéppement peut être obstrué par la neige, faisant entre du gaz d'échéppement dans l'habitacle. Etant donné que le gaz d'échéppement contient de l'oxyde de carbone, un gaz extrémement toxique, toute personne dans le vehicule risque de perdre connaissance ou même de décéder.
Avant d'entrée dans le vehicule
- S'assurer que toutes les vitres, les rétroviseurs extérieurs, et éclairages extérieurs sont propres.
- Vérifier la pression de gonflage des pneus et la condition des pneus.
- Vérifier sous le vehicule pour toute trace de fuite de liquide.
- Si l'on prévoit de faire marche arrière, s'assurer qu'aucun obstacle ne se trouve derrière le vehicule.
REMARQUE
Le niveau de l'huile moteur, du liquide de refroidissement du moteur, du liquide de frein, du liquide de lave-glace et des autres liquides doit être vérifié. Se référer à Entretien, section 8.
De l'intérieur du vehicule
- Est-ce que toutes les portières sont fermées et verrouillées?
- Est-ce que le siège est correctement régle?
- Est-ce que les rétroviseurs extérieurs et interieur sont bien régles?
- Est-ce que le volant de direction est correctement régle?
- Est-ce que tous les occupants du vehicule ont boucle leur ceinture?
Vérifier toutes les jauges. - Vérifier tous les voyants lorsque le contacteur est mis sur la position ON.
- Relâcher le frein de stationnement et s'assurer que levoyant du système de freinage correspondant s'éteint.
Toujours est bien familiarisé avec votre vehicule Mazda.
Période de rodage
Aucun rodage spécial est nécessaire, il suffit de suivre quelques précautions durant les premiers 1.000 kilomètres (600 milles) afin d'accroître les performances, l'économie d'utilisation, et la durée de vie de votre vehicule Mazda.
- Ne pas emballer le moteur.
- Ne pas garder la même vitesse, rapide ouasse,pendant une longue période.
- Ne pas conduire constamment à plein régime ou à un régime moteur élevé pendant de longues périodes.
- Eviter les arrêts brusques.
- Eviter les démarrages en trombe.
- Ne pas tracter de remorque.
Suggestions pour rouler plus économique
La manière dont on conduit ce vehicule Mazda déterminé le nombre de kilomètres que l'on peut parcourir avec un plein de carburant. Suivre ces suggestions pour épargner de l'argent sur le carburant et sur les réparations.
- Eviter de rechauffer le moteur pendant une durée prolongée. Dès que le moteur tourne régulièrement, commencer à conduire.
- Eviter les démarrages en trombe.
Garder le moteur bien regle. Suivre l'horaire d'entretien (page 8-3) et faire effectuer les inspections et réparations par un concessionnaire agrée Mazda. - N'utiliser le climatiseur que lorsque nécessaire.
- Ralentir sur les routes nouveuses.
Garder les pneus gonflés aux pressions recommendées. - Limiter la charge du vehicule au minimum.
- Ne pas garder le pied sur la pédale de frein lors de la conduite.
- Veiller à ce que l'alignement des roues soit correct.
Garder les vitres fermées lorsque l'on roule à grande vitesse. - Ralentir lorsque le vent est contraire ou l'extral.

PRUDENCE
Ne jamais arrêté le moteur lors de la descente d'une pente:
Le fait d'arrête le moteur dans une descente est dangereux. Cela entraine une perte du contrôle de la direction assistée et des servofreins, et risque de cause des dommages à la transmission. Toute perte du contrôle de la direction assistée et des servofreins peut cause un accident.
Conduite dans des conditions dangereuses
Conduite sur des surfaces glissantes

PRUDENCE
Faire très attention si l'on doit rétrograder sur des surfaces glissantes: Le fait de rétrograder en gammeasse lors de la conduite sur des surfaces glissantes, est dangereux. Le changement soudain de vitesse de rotation des roues peut les faire déraper. Ceci peut faire perdre le contrôle du vehicule et causer un accident.
Ne pas se fier sur le système ABS pour remplacer une conduite sécuritaire:
Le système ABS ne peut pas compenser une conduite imprudente et dangereuse, une vitesse excessive, une conduite trop proche du vehicule qui precede, le glissement des roues sur la glace ou la neige et les aquaplanages (perte de traction due à la présence d'eau sur la route). Un accident est toujours possible.
Lors de la conduite sur de la glace ou de l'eau, de la neige, de la boue, du sable ou sous toute autre condition dangereuse:
Conduire prudemment et garder une distance suffisante pour le freinage.
- Eviter tout freinage brusque ou manoeuvre brusque.
- Ne pas pomper sur la pédale de frein.
Garder la pédale enforcée.
- Si l'on est bloqué, Sélectionner un rapport inférieur et accélérer doucement. Ne pas faire patiner les roues avant.
Pour plus d'adherence lors du démarrage sur des surfaces glissantes comme de la glace ou de la neige dure, utiliser du sable, du sel, des chaînes, du tapis ou tout autre matériel antiderapant sous les roues avant.
REMARQUE
N'utiliser les chaînes que sur les roues avant.
Capotage

PRUDENCE
Eviter de tournier brusquement, de conduire trop vite et de manœuvrer trop brutalement en conduisant ce vehicule:
Il est dangereux d'effectuer des virages trop serrés, de conduire trop vite et de manœuvrer brusquement ce vehicule car ceci augmentait le risque de perte de contrôle du vehicule, de capotage du vehicule, de blessures graves ou mortelles.
Ce vehicule a un centre de gravite place haut. Les vehicules à centre de gravite place en position haute, tels que les vehicules utilisaires ou AWD, ne se comportent pas de la meme façon que les vehicules à centre de gravite place en position basse.
Les vehicules utilisaires ou AWD n'ont pas ete concus pour pouvoir faire des virages serres a grande vitesse, pas plus que les voitures de sport surbaissées n'ont ete concues pour offrir des performances satisfaisantes en tout terrain. En outre, les vehicules utilisaires ont un taux de capotage sensiblement plus eleve que les autres types de vehicule.
Conduire prudemment lorsque le vehicule est charge, en ralentissant et en freinant plus tout:
Il est dangereux de manœuvrer et de freiner brusquement lorsqu'on conduit un vehicule charge, car le comportement de conduite d'un vehicule possedant un centre de gravité haut place est différent quand le vehicule est charge que quand il ne l'est pas, et ceci pourrait causeer une perte de contrôle du vehicule et un accident.
Tapis de plancher
▲PRUDENCE
Veiller à ce que les tapis de plancher soient bien accrochés sur les goupilles de retenue afin de les empêcher de s'amasser sous les pédales:
Il est dangereux d'utiliser un tapis de plancher qui n'est pas fixé, car il généra l'utilisation des pédales d'accéléateur et de frein, et un accident risquerait alors de s'ensuivre.
Ne pas installer deux tapis de plancher empilés l'un sur l'autre du côté conducteur:
Il est dangereux d'installer deux tapis de plancher empilés l'un sur l'autre du côté conducteur, car les goupilles de retenue ne peuvent empêcher qu'un seul tapis de plancher de glisser vers l'avant.
Si I'on utilise un tapis de plancher à haute résistance pour l'hiver, toujoursPTRer le tapis de plancher d'origine.
Si le(s) tapis de plancher est (dont) mal fixe(s), ici généra l'utilisation des pédales, et un accident risquerait alors de s'ensuivre.

Lorsqu'on installe un tapis de plancher, placer le tapis de plancher de manière que ses øillets soient bien introduits pardessus les extrémités pointues des broches de retenue.
Pour désembourber le vehicule

PRUDENCE
Ne pas faire patiner les roues à une vitesse supérieure à 56 km/h (35 mi/h), et ne pas laisser que quelqu'un soit directement derrière une roue lorsque l'on fait pousser le vehicule:
Lorsque le vehicule est bloqué, le fait de faire patiner les roues à grande vitesse est dangereux. Un pneu qui patine peut surchauffer et exploser. Ceci peut cause de graves blessures.

ATTENTION
Une période prolongée de balancement peut cause une surchauffe du moteur, des dommages à la boîte de vitesses, et des dommages aux pneus.
Si l'on doit balancer le vehicule pour le sortir de la neige, du sable ou de la boue, appuyer legement sur l'accelerateur et déplacer le levier sélecteur, avec précautions, entre D et R.
Conduite hivernale
- Il est recommendé de transporter un nécessaire de secours, complenant des chaînes pour pneus, un gratoir pour vitres, des signaux pyrotechniques, une petite pelle, des cables de démarrage pour batterie et un sac de sable ou de sel.
Demander à un concessionnaire agréé
Mazda d'effectuer les précautions
suivantes:
- S'assurer qu'il y a un mélange d'antigel correct dans le radiateur. Se référer à Liquide de refroidissement du moteur à la page 8-26.
- Vérifier la batterie et les câbles. Le froid réduit la capacité de la batterie.
- N'utiliser que de l'huile moteur recommendée pour les températures froides (page 8-22).
- Inspector le circuit d'allumage pour dommages ou mauvaises connexions.
Utiliser du liquide de lave-glace antigel-ne jamais utiliser d'antigel pour moteur (page 8-33). - Par temps très froid, ne pas utiliser le frein de stationnement car il risque de geler. Passer plutôt en position P et bloquer les roues arrêté.
- Ne pas appliquer une force excessive sur le gratoir pour vitres lorsque vous retirez de la glace ou de la neige gelée adhérant au verre du rétroviseur ou au pare-brise.
- Ne jamais utiliser d'eau tiège ou chaude pour-retirer de la neige ou de la glace adhérant aux vitres et aux rétroviseurs, car le verre risquérait de se fissurer.
L'efficacité des freins peut être défavorablement affectée si de la neige ou de la glace adhére au système de freins. Dans ce cas, conduire le vehicule à basse vitesse en relâchant la pedale d'accéléateur et en appliquant légarement les freins à plusieurs reprises jusqu'à ce que le freinage soit redevenu normal.
Pneus à neige
Utiliser des pneus à neige sur les quatre roues
Ne pas dépasser 120km / h (75 mi/h) lors de la conduite sur pneus neige. Gonfler les pneus à neige à 30kPa (0,3kgf / cm^2 4,3 psi) de plus que la pression indiquée sur l'étiquette de gonflage de pneus (cadre de la portière du conducteur), cependant ne jamais dépasser la pression maximale à froid indiquée sur le flanc des pneus. Ce vehicule est équipé à l'usine de pneus radiaux quatre saisons concus pour être utilisés toute l'année. Dans certaines conditions il peut être nécessaire de les replacer par des pneus neige pendant les mois d'hiver, de façon à améliorer la traction sur les routes enneigées ou glacées.
4 PRUDENCE
N'utiliser que des pneus de la mêmeaille et du même type (à neige, radiaux ou non radiaux) sur les quatre roues:
Le fait d'utiliser des pneus de taille ou type différent est dangereux. La tenue de route du vehicule peut etre affectee et cela peut entrainer un accident.
ATTENTION
Vérifier les réglementations locales avant d'utiliser des pneus à crampons.
REMARQUE
Si le vehicule est équipé du système de surveillance de pression des pneus, le système peut ne pas fonctionner correctement lorsque des pneus avec flancs ceinturés d'acier sont utilisés (page 5-35).
Chaines a neige
Vérifier les réglementations locales avant d'utiliser deschains.
ATTENTION
Les chaînes peuvent affecter la conduite.
Ne pas dépasser 50 km/h (30 mi/h) ou la vitesse maximale recommandaee par le manufacturier des chaines, soit la vitesse la plus bajo.
Conduire prudemment et éviter les bosses, les trous et les virages serrés.
Eviter de bloquer les roues lors du freinage.
Ne pas utiliser de chaîne sur la roue de secours à usage-temporaire; cela peut cause des dommages au vehicule et à la roue.
Ne pas utiliser les chaînes sur des routes qui ne sont pas enneigées ou recouvertes de glace. Sinon, cela risque d'endommager les pneus et les chaînes.
Les chaînes risquent d'égratigner ou abîmer les roues en aluminium.
REMARQUE
Si le vehicule est équipé du système de surveillance de pression des pneus, il peut ne pas fonctionner correctement lors de l'utilisation de chaînes à neige.
Installer les chaînes sur les roues avant.
Ne pas utiliser de chaînes sur les roues arrêté.
Consulter un concessionnaire agreé Mazda.
Installation des chaînes
- Fixer les chaînes sur les roues avant, aussi ajustées que possible. Toutjours suivre les instructions fournies par le manufacturer des chaînes.
- Conduire 0,5 à 1 km (1/4 à 1/2 mille) et serrer les chaînes de nouveau.
Conduite dans l'eau
PRUDENCE
Faire sécher les freins mouillés en conduisant à très bassé vitesse et en appliquant les freins légèrement jusqu'à ce que le freinage soit redevenu normal:
Le fait de conduire avec des freins mouillés est dangereux. Une distance d'arrêt plus longue ou le vehicule tirant d'un côte lors du freinage peut entrainer un accident grave. Une légère application des freins indiquera s'ils sont affectés par l'eau.
ATTENTION
Ne pas conduire le vehicule sur des routes inondées, car ceci pourrait causer un court-circuit des composants électriques/ électroniques, ou endommager le moteur ou le faire caler en raison de la pénétration d'eau. Si le vehicule a été immérgé dans l'eau, s'adresser à un concessionnaire agréé Mazda.
Surcharge
PRUDENCE
S'assurer de ne pas surcharger le vehicule:
Le poids nominal brut sur l'essieu (PNBE) et le poids nominal brut du vehicule (PNBV) sont indiqués sur l'étiquette de standard de sécurité des vehicules automobiles placée sur le montant de la portière du conducteur. Le fait de dépasser ces valeurs peut cause un accident ou des dommages au vehicule. Il est possible d'estimer le poids de la charge en pesant les bagages (ou occupants) individuellement avant de les charger dans le vehicule.
Conduite sur routes irrégulières
La suspension et le dessous de la carrosserie du vehicule peuvent etre endommagés en cas de conduite sur des routes accidentees/irregulieres ou sur des dos d'ane a grande vitesse.
Faire preuve de prudence et reduire la vitesse lors de la conduite sur des routes accidentees/ irregulieres ou sur des dos d'ane.
Veiller à ne pas endommager le dessous de la carrosserie, les pare-chocs ou le ou les pots d'échéppement du vehicule lors de la conduite dans les conditions suivantes:
Montée ou descente d'une pente avec un angle de transition aigu
- Montée ou descente d'une voie d'accelération ou d'une rampe de remorque avec un angle de transition aigu


Le vehicule est équipé de pneus surbaissés qui assuret des performances et une manoeuvrabilité de qualité. En conséquence, la paroi des pneus est très fine et les pneus et les roues peuvent être endommages lors de la conduite sur des nids-de-poule ou des routes accidentées/irregulières à grande vitesse. Faire preuve de prudence et réduire la vitesse lors de la conduite sur des routes accidentées/irregulières ou sur des nids-de-poule.
Informations relatives au turbocompresseur*
Le turbocompresseur augmente la puissance du moteur. Sa conception avancée permet d'obtenir un meilleur fonctionnement avec un minimum d'entretien supplémentaire. Pour obtenir les performances maximales du moteur à turbocompresseur, bien noter les points suivants:
- Le moteur à turbocompresseur est concu pour fonctionner au mieux avec de l'essence super sans plomb (page 4-2). Des additifs de carburant NE SONT PAS recommendés.
- Changer l'huile moteur et le filtrer en respectant l'intervalle pour moteur turbo mentionné dans le programme d'entretien (correspondant à vos conditions de conduite).
- N'utiliser que de l'huile moteur recommandaee (page 8-22). Des additifs d'huile NE SONT PAS recommandés.
- Àpres avoir roulé à grande vitesse sur l'autoroute ou après avoir monté une longue montée, laisser tourner le moteur au ralenti pendant au moins 30 secondes pour que le turbo refroidisse avant d'arrêter le moteur. Eviter de couper le contact brusquement après avoir conduit longtemps ou dans des conditions sévées. Le turbocompresseur risquerait d'être endommagé.
- Ne pas emballer ou faire tourner trop vite le moteur au démarrage. Eviter de faire cela avec TOUS les types de moteur, etURTout pas avec un moteur à turbocompresseur.
- Ne pas ajouter de dispositifs qui ne sont pas d'origine pour modifier le calage de l'allumage du vehicule, l'admission de carburant ou la pression de suralimentation du turbo. Ceci risquerait d'endommager gravement le moteur et d'annuler la garantie.
Attelage d'une remorque (Etats-Unis et Canada)
Votre vehicule Mazda a ete concu et fabriqu principalement pour le transport de passagers et de charge.
Si l'on tracte une remorque, suivre ces instructions car la sécurité du conducteur et des passagers dépend d'un équipement correct et des habitudes de conduite sécuritaire. Le fait de tracter une remorque affecte la conduite, le freinage, la durabilité, les performances et l'économie d'utilisation.
Ne jamais surcharger le vehicule ou la remorque. S'adresser à un concessionnaire agréé Mazda pour plus de détails.

ATTENTION
Ne pas tracter de remorque pendant les premiers 1000 kilometres (600 milles) de votre vehicule Mazda neuf. Sinon cela risque d'endommager le moteur, la boite de vitesses, le différentiel, les roulements de roues et autres composantes du groupe motopropulseur.
Limitede poids
PTR et PNCB
Le poids total de la remorque (PTR), le poids nominal combiné brut (PNCB) et le poids nominal brut sur l'essieu (PNBE), la charge de la remorque et la charge sur le timon d'attelage ne doivent pas dépasser les limites prescrites.
- Le poids total de la remorque (PTR) est la somme des poids de la charge de la remorque (poids de la remorque plus chargement), du dispositif d'attelage de la remorque, des passagers du vehicule et de la charge du vehicule. Veiller à ce que le poids total de la remorque (PTR) ne dépasse jamais les valeurs spécifiées dans le tableau des charges de remorquage.
- Le PNCB maximum est la somme du poids combiné de la remorque et de la charge plus le poids du vehicule tractant (incluant le dispositif d'attelage de la remorque, les passagers du vehicule et la charge). Il ne doit pas dépasser les valeurs spécifiées dans le tableau des charges.
PNBE et PNBV
Ne pas dépasser le PNBE (poids nominal brut sur l'essieu) à l'avant et à l'arrière, et le PNBV (poids nominal brut du vehicule). Sinon, la conduite, le freinage et les performances du vehicule seront négativement affectés. Ces valeurs figurent aussi sur l'Etiquette du certificat de sécurité des vehicules à moteur apposée sur le montant de la portière du conducteur.
Utilisation à haute altitude
A haute altitude, un moteur à essence perd de la puissance à raison de 3% à 4% par 304m (1.000 pieds) d'éLEVation. Dans ces conditions, il est recommendé de réduire le poids brut du vehicule et le poids brut combiné.
TABLEAU DES CHARGES DE REMORQUAGE
Etant donné que les poids des vehicules varient, des compensations doivent etre faites pour répondre aux conditions de ce tableau.
| Dénomination | Modèle | ||||
| Moteur de 2,3 litres | Moteur de 2,5 litres | ||||
| 2WD | AWD | 2WD | |||
| ZONE AVANT MAX. | 2,97 m² (32 pieds²) | ||||
| PTR MAX. | Ajouter le poids de la remorque, sa charge et son dispositif d'attelage; les passagers du vehicule et la charge du vehicule* | 907 kg (2.000 lb) | 680 kg (1.500 lb) | ||
| PCCB MAX. | 2.815 kg (6.206 lb) | 2.914 kg (6.424 lb) | 2.526 kg (5.569 lb) | ||
| PNBE MAX. | Avant | 1.150 kg (2.535 lb) | 1.189 kg (2.621 lb) | 1.104 kg (2.434 lb) | |
| Arrière | 1.022 kg (2.253 lb) | 1.083 kg (2.388 lb) | 1.025 kg (2.260 lb) | ||
| PNBV MAX. | 2.168 kg (4.780 lb) | 2.267 kg (4.998 lb) | 2.125 kg (4.685 lb) | ||
| CHARGES DE REMORQUA-GE | Charge sur le timon d'attelage | Charge sur le timon d'attelage/Charge de la remorque × 100 = 10 % à 15 % | |||
| Charge de la remorque | |||||
| DISTRIBUTION DE LA CHARGE DE LA REMORQUE | Avant | 60 % | |||
| Arrière | 40 % | ||||
- c-à-d. les bagages, la nourriture, le matériel de camping
PNCB: Poids nominal combiné brut (somme du PTR, du poids du vehicule et de 2 passagers)
PNBE: Poids nominal brut sur l'essieu
PNBV: Poids nominal brut du vehicule

PRUDENCE
Toujours respecter les limites de charges de remorquage indiquées dans le Tableau des charges de remorquage:
Le fait d'essayer de remorquer des charges supérieures à celles spécifiées peut cause des problèmes de tenue de route et de performances qui peuvent entraîner des blessures et/ou causer des dommages au vehicule.
Charger la remorque à raison de 60 % du poids vers l'avant et 40 % vers l'arrête:
Le fait de charger la remorque avec plus de poids à l'arrête qu'à l'avant est dangereux. Une perte de contrôle du vehicule risquerait de s'ensuivre. La charge sur le timon d'attelage doit être de 10% - 15% de la charge totale de la remorque (somme des poids de la remorque et du chargement).
Faire toujours déterminer le poids total de la remorque et la charge sur le timon d'attelage avant le départ:
Le fait de remorquer des charges sans déterminer le poids total de la remorque et la charge sur le timon d'attelage est dangereux. Le roulis de la remorque d'aux vents latéraux, aux routes cahoteuses ou toute autre raison risque de cause une perte de contrôle du vehicule et un accident grave.

ATTENTION
Le poids total de la remorque et la charge sur le timon peuvent être déterminés en pesant la remorque sur les balances à plateforme situées aux stations de pesage sur les autoroutes ou chez les sociétés de camionnage.

Dispositif d'attelage de la remorque
Utiliser seulement une boule de fixation recommende par le fabricant de la remorque, qui soit conforme aux normes de poids brut de la remorque.
Lorsqu'on ne tracte pas de remorque,steroler le dispositif d'attelage de la remorque (s'il peut etre detached) pour reduire le risque d'endommagement par l'arriere du vehicule.

PRUDENCE
Avant le départ, toujours s'assurer que le dispositif d'attelage de la remorque est bien fixé:
Un dispositif d'attelage de la remorque mal fixé est dangereux car il accentue le roulis de la remorque dû aux vents lateraux, aux routes cahoteuses ou toute autre raison, ce qui risque de causeur une perte de contrôle du vehicule et un accident grave. Examiner periodiquement tous les boulons de fixation du dispositif d'attelage de la remorque, et desserrer au besoin les boulons desserrés. Si le dispositif d'attelage de la remorque est retire, boucher hermetiquement tous les trous de fixation ouverts afin d'éviter toute PENETRATION de gaz d'échéppement, de poussière, d'eau, de saletés et d'autres objets étrangers, qui risqueraient de mettre les occupants en danger et d'endommager le vehicule.
Ne pas installer de dispositif d'attelage qui raisisse le pare-chocs, car les performances du pare-chocs pourraient en etre amoindries.
Veiller à ce qu'il n'y ait pas de fuite de gaz d'échéppement dans l'habitatcle si des boulons de fixation sont connectés à la carrosserie:
Le fait de modifier le système d'échéppement du vehicule est dangereux. Toute pénétration de gaz d'échéppement dans l'habitacle risqueraient de cause une perte de reconnaissance ou même un décès.
Lorsqu'on monte le dispositif d'attelage de la remorque, ne pas modifier le système d'échévement du vehicule.

ATTENTION
Effectuer tous les réglages du dispositif d'attelage avec des charges réelles. Ne pas charger et décharger le vehicule pendant qu'on règle le dispositif d'attelage. Ceci risquerait de modifier la hauteur du vehicule.
Ne pas utiliser de dispositif d'attelage monté sur essieu. Ceci risquerait d'endommager l'essieu et les pièces connexes.
▼ Pneus
Lors du remorquage d'une remorque, s'assurer que tous les pneus sont gonflés aux pressions recommendées de gonflage à froid indiquées sur l'étiquette de gonflage des pneus située sur le cadre de la portière du conducteur. Les dimensions des pneus de la remorque, la charge et les pressions de gonflage doivent être conformes aux specifications du manufacturier des pneus.

PRUDENCE
Ne jamais utiliser la roue de secours à usage-temporaire lors du remorquage: Le fait d'utiliser la roue de secours à usage-temporaire sur le vehicule lors du remorquage d'une remorque est dangereux, car cela peut entraîner une défaillance de la roue, une perte de contrôle du vehicule et des blessures aux occupants du vehicule.
Chaines de suture
Des chaînes de suturedoivent être utilisées par mesure de sécurité au cas ou la remorque se décroche accidentellement. Elles doivent se croiser sous le timon et être fixées au dispositif d'attelage. Laisser assez de mou pour permettre les virages serrés. Pour plus de détails, se référer à la documentation accompagnant la remorque ou le dispositif d'attelage.

PRUDENCE
Avant le départ, s'assurer que les chaînes de suture sont correctement attachées à la remorque et au vehicule:
Le fait de tracter une remorque sans utiliser de chaine de sutureté bien attachée à la remorque et au vehicule est dangereux. En cas de dommages au dispositif ou à la boule de fixation, la remorque pourrait se détacher et entraire en collision avec un autre vehicule.
Feux de la remorque
Les yeux de la remorque doivent être conformes à toutes les réglementations fédérales, nationales et locales. Equipier la remorque conformément aux réglementations en vigueur avant de la remorquer de jour ou de nuit.

ATTENTION
Ne pas brancher de système d'éclairage de la remorque directement sur le système d'éclairage du vehicule Mazda. Ceci risque d'endommager le système électrique et le système d'éclairage du vehicule. Confier les travaux de connexion du système à un revendeur de vehicules récréatifs ou à une agence de location de remorques, et vérifier soi-même les feuels de freinage et les clignotants avant chaque déplacement.
▼Freins de remorque
Si le poids total de la remorque dépasse 450kg (1.000 lb) des freins de remorque sont obligatoires. Si votre remorque est équipée de freins, s'assurer qu'ils sont conformes aux réglementations fédérales, nationales et locales.
PRUDENCE
Ne pas connecter de système hydraulique de freins de remorque au circuit de freinage du vehicule:
Le fait de connecter un système hydraulique de freins directement au circuit de freinage du vehicule entraine un freinage inadéquat et un risque de blessures.
Conseils concernant le remorquage d'une remorque
- S'assurer que le vehicule Mazda garde un état normal ou presque lorsqu'une remorque chargée ou déchargée est attelée. Ne pas conduire le vehicule s'il présente une position anormale de l'avant, relevé ou abaisse. Vérifier si la charge sur le timon d'attelage n'est pas incorrecte, si les pieces de la suspension ne sont pas usées, et si la charge de la remorque n'est pas excessive.
- S'assurer que la remorque est correctement chargée et que le chargement est bien fixé pour éviter qu'il se déplace.
- S'assurer que les rétroviseurs sont conformes à toutes les réglementations applicables.
S'ils ne sont pas conformes, installer des rétroviseurs conformes aux normes de remorquage.
Les trois causes principales des accidents relatifs aux vehicules-remorques sont une erreur du conducteur, une vitesse excessive et un chargement incorrect de la remorque.
Avant de conduire
- Faire vérifier le système de refroidissement et de freinage par un concessionnaire/agréé Mazda.
- Avant de démarrer, vérifier le fonctionnement de tous les yeux du vehicule et de la remorque et toutes les connexions entre le vehicule et la remorque. S'arrête et vérifier à nouveau tous les yeux et les connexions après avoir roule une courte distance.
Conduite
- La manoeuvrabilité de votre Mazda sera différente lorsqu'une remorque y est attelée, il est donc recommendé de s'exercer à prendre des virages, faire des marches arrêté et des arrêts dans un endroit où il n'y a pas de circulation routière.
- Prendre le temps de s'habituer au poids et à la longueur supplémentaires.
- Laisser un plus grand écart entre son vehicule et celui qui roule devant, car la distance de freinage est plus grande avec une remorque. Pour chaque 16km / h (10mi / h) de vitesse, laisser au moins une longueur de vehicule et remorque entre sa Mazda et le vehicule se trouvant devant.
-
Eviter les démarrages saccadés ou les accelérations brusques.
-
Eviter de freiner brusquement. Ceci pourrait cause une perte de contrôle du vehicule qui risquerait de semettre en travers de la route, en particulier sur des chaussées détrempées ou glissantes.
- Mettre le levier sélecteur sur la position D lorsqu'on tracte une remorque sur un terrain valonné, ou qu'on est lourdement chargé.
La position D permet d'utiliser le vehicule sans avoir a changer souvent de rapport.
Changements de file et virage
Eviter de changer de file rapidement, de virer brusquement, et de négocier des virages trop serrés. Ralentir avant de tourner pour éviter d'avoir à freiner brusquement.
Une remorque qui tourne décrit un arc de cercle plus serré que le vehicule tracteur.
Compenser ceci ennant des virages plus larges que normalement.
Dépassement
Se préparer bien à l'avance à dépasser les autres vehicules, et laisser beaucoup d'espace avant de changer de file. Les coups de vent latéraux subis lors du dépassement des vehicules, en particulier ceux de grande taille, et les effets des routes cahoteuses, affecteront la conduite.
Si un roulis se produit, saisir fermement le volant de direction et réduire la vitesse promptement mais progressivement.
Orienter la direction croit devant. Si l'on n'effectue aucune correction extréme de la direction de conduite ou du freinage, la combinaison d'une vitesse réduite et d'une direction bien ferme assurera une bonne stabilité.
Recul
Faire reculer un vehicule équipé d'une remorque exige beaucoup d'entrainment et de patience. Reculer progressivement, et se faire guider par une personne à l'arrière de la remorque pour réduire les risques d'accident.
Pour faire tourner la remorque, placer la main en bas du volant de direction et le tourner dans le sens où l'on peut faire aller la remorque. Faire des mouvements minimes seulement pour éviter de tourner de façon trop serrée ou trop prolongée.
Montée d'une pente
Utiliser un rapport de boîte de vitesses inférieur pour réduire les risques de surcharge et/ou de surchauffe du moteur.
Descented'une pente
Lors de la descente d'une pente, utiliser un rapport de boîte de vitesses inférieur et utiliser la compression du moteur pour ralentir (frein-moteur).
PRUDENCE
Utiliser toujours un rapport de boite de vitesses inférieur pour ralentir:
Le fait de maintainir la pédale de frein enforcée trop longtemps ou trop féquèment est dangereux, car les freins risqueraient alors de surchauffer et de faibrir, ce qui pourrait causeur une perte de contrôle du vehicule et un accident grave. Utiliser un rapport de boîte de vitesses inférieur pour aider à ralentir. Se garer hors de la route et laisser les freins refroidir si l'on sent que les freins faïblissant.
Surchauffedumoteur
Le poids supplémentaire de la remorque peut soit soumettre le moteur à de fortes contraintes par temps chaud ou dans des côtes longues ou raides.
Si laJAuge de température indique une surchauffe, eteindre le climatiseur, se diriger prudemment vers le cote de la route, se garer hors du flux de circulation et attendre que le moteur refroidisse. Se referer a Surchauffe (page 7-14).
Stationnement
Veiller à toujoursmettre descales contre les roues de la remorque et du vehicule tracteur pendant que l'on stationne.
Serrer fermement le frein de stationnement et mettre le levier selecteur en position P.
Eviter de se garer dans une pente, mais si c'est inévitable, procéder comme suit:
- Enfoncer la pédale de frein et la maintainir enfonnée.
- Demander à une pierce personne de placer des cales de roue sur le côte descendant de la pente, contre toutes les roues du vehicule et de la remorque.
-
Ensuite, relâcher progressivement la pédale de frein, jusqu'à ce que les cales supportent la charge.
-
Si la pente est descendante, tourner le volant de direction de façon que l'avant des roues avant soit orienté vers le bord du trotoir.
-
Si la pente est montante, orienter l'arrière des roues avant contre le bord du trottoir.
-
Serrer fermement le frein de stationnement.
- Mettre le levier selecteur en position P et arreter le moteur.
Pour redémarrer après avoir stationné sur une pente:
- Avec le levier sélecteur en position P, démarrer le moteur. (Veiller à enforcer la pédale de frein et la maintainir enforcée.)
-
Enclencher un rapport.
-
Relachier le frein de stationnement (ainsi que le frein au pied) et s'eloigner des cales de roue. S'arrête; serrer le frein de stationnement etmettre le levier selecteur en position P.
- Demander à une pierce personne de récapuerer les cales de roue.
Consommation d'essence
Le remorquage de la remorque augmente la consommation d'essence.
Entretien
Si l'on tracte souvent une remorque, faire effectuer l'entretien du vehicule comme indiquedans Entretien periodique (page 8-3).
5 Conduite de votre Mazda
Explication des instruments et commandes.
Demarrage et conduite 5-2
Contacteur d'allumage 5-2
Demarrage du moteur 5-4
Arrêt du moteur 5-5
Circuit de freinage 5-5
Boite de vitesses automatique 5-12
Direction assistée 5-19
Utilisation du système toutes roues motrices (AWD) * 5-20
Régulateur de vitesse de croisière 5-22
Système de commande de traction (TCS) 5-26
Commande dynamique de stabilité (DSC) 5-29
Système de surveillance de pression des pneus* 5-31
Système BSM (surveillance des angles morts) * 5-38
Combé compteurs et indicateurs 5-44
Compteurs et jauges 5-44
Voyants/témoins et avertisseurs sonores 5-49
Voyants/témoins 5-49
Avertisseurs sonores 5-66
Interrupteurs et commandes 5-68
Commanded'éclairage 5-68
Clignotants et changement de file 5-74
Antibrouillards* 5-74
Essuie-glace et lave-glace de pare-brise 5-75
Essuie-glace et lave-glace de lunette arrriere 5-79
Dégivreur de lunette arrête 5-79
Avertisseur 5-80
Feux de détresse 5-81
Système de télécommande HomeLink* 5-81
Contacteur d'allumage
Clé auxiliaire (avec clé avancée)
REMARQUE
Pour démarrer le moteur à l'aide de la clé avancée, se référer à Demarrage du moteur (page 3-11).
Pour démarrer le moteur à l'aide de la clé auxiliaire, procéder comme indiqué ciddssous.
- Retirer la clé auxiliaire de la clé avancée (page 3-19).
- S'assurer que le bouton de démarrage est en position OFF/LOCK.
- Pour-retirer le bouton de démarrage, let tirer vers l'extérieur tout en appuyant sur les boutons situés sur les cots droid et gauche.

- Insérer la clé auxiliaire dans le contacteur d'allumage.
Positions du contacteur d'allumage

La marque gravée sur le vehicule peut indiquer OFF ou LOCK, selon le type de système d'allumage.
OFF/LOCK
De même, l'alimentation des apparils électriques est coupée. La clé ne peut être retiree que dans cette position.
APRUDENCE
Ne retirer la clé que lorsque le vehicule est stationné (avec le mécanisme de la direction):
Le fait de-retirer la clé du contacteur d'allumagependant que le vehicule se déplace est dangereux.Le retrait de la clébloque le volant de direction. Il ne sera pas possible de diriger le vehicule et cela risque d'entrainer un grave accident.(Pour les vehicules équipés de la clé avancée,le volant de direction se verrouille lorsqu'on met le bouton du démarreur sur la position OFF/LOCK.)
Avant de quitter le siège du conducteur, tous jours commuter le contacteur sur OFF/LOCK, appliquer le frein de stationnement et s'assurer que le levier sélecteur est sur P:
Il est important demettre le contacteur sur OFF/LOCK,meme si I'on ne retire pas la clé du contacteur ou si I'on quitte le vehicule. Si on laisse la clé sur d'autres positions, certaines fonctions de sécurité seront aussi désactivées et la batterie pourra se décharger. Il est dangereux de quitterle siège du conducteur sans commuter le contacteur sur OFF/LOCK,sansMETTRELEFreindestationnementetle levierselecteur sur P.Le vehicule risque de se déplacer de façon inattendue.Ceci peut causeur un accident.
REMARQUE
Si la clé est difficile à tournier, tourner le volant vers la gauche et vers la droite. Si on laisse la clé ou le bouton de démarrage sur une position autre que OFF/LOCK, certaines fonctions de sécurité seront aussi désactivées et la batterie pourrait se décharger.
ACC (Accessoires)
Dans cette position, certains accessoires électriques fonctionneront.
ON
Ceci est la position normale lorsque le moteur tourne après le démarrage.
Certains témoins/voyants doivent être vérifiés avant le démarrage du moteur (page 5-49).
REMARQUE
Lorsque le contacteur est sur ON, le son du moteur de la pompe à essence fonctionnant pres du réservoir d'essence peut être audible. Ceci n'indique pas un problème.
START
Cette position sert à faire démarche le moteur. Il se mettra en route quand vous relâchez la clé. Puis il returne en position ON.
Rappel de clé au contact
Si le contacteur est en arrêt ou ACC lorsque la clé est insérée, un bip retentira en continu lorsque la portière du conducteur est ouverte.
Démarrage du moteur
REMARQUE
Le démarrage du moteur est commandé par le système d'allumage de bougie.
Ce système est conforme à tous les règlements du Standard Canadien d'Equipements Source d'InterfERENCE régissant la puissance de la pulsation du champ électrique des parasites radio.
- Tous les occupants du vehicule doivent attacher leur ceinture.
- Veiller à ce que le frein de stationnement soit appliqué.
- Appuyer sur la pédale de frein.
- Mettre le levier selectable en plage P. Si l'on est obligé de redémarrer le moteur alors que le vehicule est en mouvement, placer le levier selectable en plage N.
REMARQUE
Le démarreur ne fonctionne pas si le levier sélecteur n'est pas en plage P ou N.
5. Mettre le contacteur sur START et le maintainir (pas plus de 10 secondes à la fois) jusqu'à ce que le moteur démarre.
ATTENTION
Ne pas faire tournier le démarreur pendant plus de 10 secondes à la fois. Si le moteur ne démarre pas, attendre environ 10 secondes avant d'essayer à nouveau. Sinon le démarreur risque de subir des dommages.
- ÀpRES le démarrage du moteur, le laisser tourner au ralenti pendant 10 secondes environ.
REMARQUE
- Lorsqu'il fait très froid ou si le vehicule n'a pas fonctionné pendant plusieurs jours, laisser le moteur se rechauffer sans appuyer sur la pédale d'accéléateur.
- Que le moteur soit froid ou chaud, il devrait demarrer sans que l'on appuie sur la pédale d'accéléateur.
- Si le moteur ne démarre pas la première fois, se référer à Demarrage d'un moteur noyé, dans Demarrage d'urgence. Si le moteur ne démarre toujours pas, faire vérifier le vehicule par un concessionnaire/agréé Mazda (page 7-16).
Arrêt du moteur
- Arrêter complètement le vehicule.
- Déplacer le levier sélecteur vers la position P.
- Tourner le contacteur de ON à OFF/ LOCK.
APRUDENCE
Ne pas couper le moteur lorsque le vehicule est en mouvement:
Il est dangereux de couper le moteur pendant que le vehicule se déplace pour toute raison autre qu'un cas d'urgence. Si l'on arrête le moteur pendant que le vehicule se déplace, ici réduira sa manœuvrabilité et sa capacité de freinage en raison de la perte de puissance de la direction assistée et du freinage assisté, et un accident et des blessures graves risqueront alors de s'ensuivre.
ATTENTION
Lorsqu'on quitte le vehicule, s'assurer que le contacteur est eteint.
REMARQUE
Il est possible que le ventilateur électrique du compartment moteur continue à fonctionner pendant quelques minutes une fois que le contacteur a été tourné de ON à OFF, et ce, que le climatiseur soit allumé ou éteint, afin de refroidirrapidementle compartmentmoteur.
Circuit de freinage
▼Freins
Ce vehicule Mazda est équipé de servofreins qui s'ajustent automatiquement lors d'une utilisation normale.
Si le servofrein ne fonctionne pas, il est possible de s'arrête en appuyant avec une plus grande force, sur la pédale de frein. Cependant la distance requise pour s'arrête sera plus longue que normale.
APRUDENCE
Ne pas rouler avec le moteur calé ou arrêté; s'arrête dans un endroit sur:
Le fait de rouler avec le moteur calé ou arrêté est dangereux. Le freinage demandera plus d'effort, et l'assistance des freins peut s'épuiser si la pédale est pompée. Cela entraînera une distance d'arrêt beaucoup plus longue ou même un accident.
Engager un rapport inférieur lors de la descente d'une pente à force inclinaison:
Le fait de conduire avec le pied continuellement posé sur la pédale de frein ou d'appliquer les freins continuellement sur de longues distances est dangereux. Cela fera surchauffer les freins, entrainant des distances d'arrêt beaucoup plus longues ou même une perte totale de la capacité de freinage. Cela peut faire perdre le contrôle du vehicule et causer un grave accident. Eviter d'appliquer les freins continuellement.
Secher les freins qui sont devenus mouillés en conduisant lentement, en relachant la pédale d'accélérateur et en appliquant légèrement les freins à plusieurs reprises jusqu'à ce que le freinage soit redevenu normal:
Le fait de conduire avec des freins mouillés est dangereux. Une distance d'arrêt plus longue ou le vehicule tirant d'un côte lors du freinage peut entrainer un accident grave. Une légère application des freins indiquera s'ils sont affectés par l'eau.
ATTENTION
Ne pas conduire avec votre pied sur la pédale de frein. Sinon cela peut entraîner ce qui suit:
Les pieces de frein s'usent plus rapidement.
Les freins peuvent surchauffer et affecter défavorablement les performances des freins.
Toujours appuyer sur la pédale de frein avec le pied droit. L'application inhabituelle des freins du pied gauche peut augmenter votre temps de réaction face à une situation d'urgence et entraîner une opération des freins insuffisante.

Porter des chaussures appropriées pour conduire afin d'éviter que votre chaussure touche la pédale de frein lorsque vous appuyez sur la pédale d'accéléateur.
Frein de stationnement

PRUDENCE
Avant de quitter le siège du conducteur, toujours commuter le contacteur sur OFF/LOCK, appliquer le frein de stationnement et s'assurer que le levier sélecteur est sur P:
Il est important demettre le contacteur sur OFF/LOCK,meme si I'on ne retire pas la clé du contacteur ou si I'on quitte le vehicule. Si on laisse la clé sur d'autres positions, certaines fonctions de sécurité seront aussi désactivées et la batterie pourra se décharger.
Il est dangereux de quitter le siège du conducteur sans commuter le contacteur sur OFF/LOCK, sansmettre le frein de stationnement et le levier selecteur sur P. Le vehicule risque de se déplacer de façon inattendue. Ceci peut cause un accident.

ATTENTION
Le fait de conduire avec le frein de stationnement mis, entraine une usure excessive des plaquettes et des garnitures de freins.
REMARQUE
Pour le stationnement dans la neige, se reférer à Conduite hivernale (page 4-11) concernant l'utilisation du frein de stationnement.
Application du frein de stationnement
Appuyer sur la pédale de frein, puis enforcer la pédale du frein de stationnement complètement.

Pour relâcher le frein de stationnement
Appuyer sur la pédale de frein, puis enforcer la pédale du frein de stationnement jusqu'à ce qu'elle soit libérée. Laisser remonter progressivement la pédale du frein de stationnement.

REMARQUE
Relachere unefois la pedale de frein de stationnement avant d'essayer a nouveau del'actionner.
Voyant du système de freinage

BRAKE
Cevoyantalefsonctionssuivantes:
Voyant de frein de stationnement
Levoyant s'allume lorsquelfrein de stationnement est appliqué alors que le contacteur est sur la position START ou ON. Il s'eteint lorsquelfrein de stationnement est complètement relaché.
Voyant de niveau bas de liquide de frein
Si levoyant reste allumé après que le frein de stationnement soit complètement relâché, cela peut indiquer une panne du système de freinage.
Voyant du système de freinage
S'allume s'il y a un problème du contacteur de frein.
Garer prudemment le vehicule sur le bord de la route.
La pedale peut etre plus dure ou sa course peut etre plus longue que normalement. Dans ces deux cas, le vehicule prendra plus de temps pour s'arreter.
- Avec le moteur arrêté, ouvrir le capot et vérifier immédiatement le niveau du liquide de frein et ajouter ensuite du liquide au besoin (page 8-28).
- ÀpRES avoir ajoute du liquide, vérifier levoyant de nouveau.
Si levoyant reste allumé,ou si les freins ne fonctionnent pas correctement,ne pas conduirele vehicule.Faire remorquer jusqu'à un concessionnaire agrée Mazda.
Meme si levoyant s'eteint,faire vérifier le circuit de freinage des que possible par un concessionnaire agreé Mazda.
REMARQUE
Devoir ajouter du liquide de frein est\ quelquefois une indication de fuite. S'adresser\ à un concessionnaire agréé Mazda,ès que\ possible,meme si levoyant de frein est étèint.
APRUDENCE
Ne pas conduire lorsque le voyant du système de freinage allumé. S'adresser à un concessionnaire agréé Mazda pour faire inspecter les freins d'es que possible:
Le fait de conduire avec levoyant du système de freinage allumé est dangereux. Cela indique que les freins risquent de ne pas fonctionner. Si levoyant reste allumé, après s'être assure que le frein de stationnement est complètement relachu, faire vérifier immédiatement le système de freinage.
▼Rappel de frein de stationnement
Si le frein de stationnement n'a pas eté complètement relâché et que l'on conduit le vehicule à 5km / h (3mi / h) ou plus, un bip sonore continu retentira pour avertir le conducteur que le frein de stationnement n'a pas eté relâché.
Systeme d'antiblocage de frein (ABS)
L'unité de commande d'ABS contrôle continuellement la vitesse de chaque roue. Si l'une des roues est sur le point de se bloquer, l'unité d'ABS relâche et applique automatiquement le frein de cette roue.
Le conducteur peut dessentir une légere vibration au niveau de la pédale de frein et un bruit de cliquetis peut être audible provenant du système de freinage. Ceci est normal et dû au fonctionnement du système ABS. Continuer à appuyer sur la pédale de frein sans pomper.
PRUDENCE
Ne pas se fier sur le système ABS pour remplacer une conduite sécurité:
Le système ABS ne peut pas compenser une conduite imprudente et dangereuse, une vitesse excessive, une conduite trop proche du vehicule qui precede, le glissement des roues sur la glace ou la neige et les aquaplanages (perte de traction due à la présence d'eau sur la route). Un accident est toujours possible.
REMARQUE
- Les distances de freinage risquent d'être plus longues sur des matériaux mous recouvrant des surfaces dures (neige ou graviers, par exemple). Dans ces conditions, un vehicule avec un système de freinage normal peut demander des distances plus courtes pour s'arrêté, car le matériel mou accumulé devant une roue bloquée, fait ralentir le vehicule.
- Le bruit de fonctionnement de l'ABS peut être entendu lorsqu'on démarre le moteur ou immédiatement après avoir démarré le vehicule. Ceci n'indique toute fois pas une anomalie.
Voyant du système d'antiblocage de frein (ABS)

Levoyant resté allumé quelques secondes lorsquel contacteur est mis sur la position ON.
Si levoyant d'ABS restestellumé lors de la conduite, cela indique que l'unité d'ABS a détece une anomalie dans le système.
Dans ce cas, les freins fonctionnent normalement comme si le vehicule n'avait pas d'ABS.
Si cela se produit, consulter un concessionnaire agréé Mazda dés que possible.
REMARQUE
- Lorsque le moteur est démarré à l'aide d'une batterie de secours, un régime moteur irrégulier se produit et il est possible que le voyant d'ABS s'allume. Si c'est le cas, la batterie est faible. Cela n'indique cependant pas une anomalie de fonctionnement du système ABS. Faire recharger la batterie des que possible.
- Le système d'assistance des freins ne fonctionne pas lorsque levoyant ABS est allumé.
Voyant du système électronique de distribution de force de freinage

BRAKE

Si l'unité de commande du système électronique de distribution de force de freinage déterminée que certaines composantes du système ne fonctionnent pas correctement, l'unité de commande peut allumer simultanément levoyant du système de freinage et levoyant d'ABS. Le problème est probablement du au système électronique de distribution de force de freinage.

PRUDENCE
Ne pas conduire lorsque levoyant d'ABS et levoyant du système de freinage sont allumés. Faire remorquer le vehicule chez un concessionnaire/agréé Mazdaès que possible pour une inspection des freins:
Le fait de conduire le vehicule lorsque levoyant d'ABS et levoyant du système de freinage sont tous les deux allumés est dangereux. Lorsque les deux voyants sont allumés,les roues arriere risquent de se bloquer plus rapidement en cas de freinage brusque que dans les conditions normales.
Assistance des freins
En situations de freinage d'urgence, lorsqu'il est nécessaire d'enforcer la pédale de frein avec une grande force, le système d'assistance des freins améliore les performances de freinage.
Lorsque la pédale de frein est enforcée fort ou rapidement, les freins sont appliqués très fortement.
REMARQUE
- Lorsque la pedale de frein est enforcée fort ou rapidement à des vitesses plus élevées, la pedale sera plus douce mais les freins sont appliqués très fortement. Ceci est un effet normal du fonctionnement de l'assistance des freins et n'indique pas une anomalie.
- Lorsque la pédale de frein est enforcée fort ou est enforcée plus rapidement, un bruit de fonctionnement du moteur/pompe peut être entendu. Ceci est un effet normal du fonctionnement de l'assistance des freins et n'indique pas une anomalie.
- Le système d'assistance des freins ne remplace pas la fonction de freinage principale du vehicule.
Indicateur d'usure des plaquettes
Lorsque les plaquettes de freins à disques s'usent, les indicateurs d'usure touchent aux disques. Cela produit un grincement fort pour avertir que les plaquettes doivent être replacées.

Lorsque ce son est audible, s'adresser à un concessionnaire agréé Mazda dés que possible.
4 PRUDENCE
Ne pas conduire avec des plaquettes de freins usées:
Le fait de conduire avec des plaquettes de freins usées est dangereux. Les freins risquent de lâcher et cela peut cause un accident grave. Dès qu'un grincement est audible, s'adresser à un concessionnaire/agréé Mazda.
Boîte de vitesses automatique



Positions de blocage:

Indique qu'il faut appuyer sur la pédale de frein pour changer de plage. (Le contacteur doit être place sur la position ACC ou ON.)

Indique que le levier sélecteur peut être déplace librement à toute position.
REMARQUE
La Sport AT possède une option que ne possède pas la boîte de vittesses automatique traditionnelle - l'options pour le conducteur de pouvoir désir lui-même chaque rapport au lieu de laisser entièrement le choix du changement de vittesses à la boîte de vittesses. Mème si l'on a l'intention d'utiliser les fonctions de boîte de vittesses automatique comme boîte automatique traditionnelle, il faut aussi bien être conscient que l'on peut passer par mégarde en mode de changement de vittesses manuel et qu'un rapport inadéquat pourra alors être conservé lorsque la vitesse du vehicule augmente. Si l'on remarque que le régime du moteur augmente ou que le moteur s'emballe, vérifier si l'on n'est pas passé par mégarde en mode de selection manuelle des rapportts (page 5-15).
Plages de la boite de vitesses
Le levier sélecteur doit être à la plage P ou N pour pouvoir faire démarrer le moteur.
P (Stationnement)
La position de stationnement P, verrouille la boite de vitesses et évite que les roues avant ne tournent.
4 PRUDENCE
Toujoursmettrelelevierselecteuren positionPet appliquerlefreind stationnement:
Le fait demettre le levier selecteur en plaque P seulement, sans utiliser le frein de stationnement pour maintenir le vehicule à l'arrêt est dangereux. Si la plaque P ne reste pas engagée, le vehicule risque de se déplacer et de causeur un accident.
ATTENTION
Le fait de passer en plage P, N ou R lorsque le vehicule est en mouvement, peut endommager la boîte de vitesses.
Le fait de passer à une plage de conduite ou en marche arrrière lorsque le moteur tourne à un régime plus rapide que le ralenti, peut endommager la boîte de vitesses.
R (Marche arrière)
En plage R, le vehicule se déplace vers l'arrière. Le vehicule doit être arrêté avant d'engager la plage R ou avant de passer à une autre plage à partir de R, sauf dans certaines occasions rares comme décrit dans "Pour désembourber le vehicule" (page 4-11).
N (Point mort)
En plage N, les roues et la boîte de vitesses ne sont pas bloquées. Sur la moindre pente, le vehicule roulera si le frein de stationnement ou si les freins ne sont pas appliqués.
PRUDENCE
Si le moteur tourne à un régime supérieur au ralenti ne pas passer de la plage N ou P à un rapport de conduite:
Il est dangereux de passer de la plage N ou P à un rapport de conduite lorsque le moteur tourne à un régime supérieur au régime de ralenti. Le vehicule pourrait se déplacer brusquement et cause un accident ou de graves blessures.
Ne pas passer à la plage N pendant la conduite du vehicule:
Le passage à la plage N pendant la conduite est dangereux. Le frein moteur ne peut pas être appliqué lors de la décelération ce qui peut cause un accident ou de graves blessures.
ATTENTION
Ne pas passer à la plage N pendant la conduite du vehicule. Cela risque de causeer des dommages à la boîte de vitesses.
REMARQUE
Serrer le frein de stationnement ou appuyer sur la pedale de frein avant de déplacer le levier sélection depuis la position N afin d'eviter que le vehicule ne se déplace accidentellement.
D (Conduite)
D est la position normale pour la conduite. A partir de la position arrêtée, la boîte de vitesses passera automatiquement par une série de changement de vitesses à 5/6^* rapports.
* Modèle à moteur de 2,3 litres
M (Manuelle)
M est la position pour le mode de selection manuelle des rapport. Les rapportes peuvent etre selectionnés à l'aide du levier selecteur.
Se référer à Mode de seLECTION manuelle des rapport (page 5-15).
▼Changement de vitesses adaptatif actif (AAS)
Le Changement de vitesses adaptatif actif (AAS) contrôle automatiquement les points de changement de la boite de vitesses pour offrir l'adaptation optimale aux conditions de la route et aux opérations du conducteur. Ceci permet d'obtenir les performances optimes du moteur et d'améliorer le comport de conduite. Dans les virages, le mode AAS maintainendra le même rapport de vitesses que celui auquel le vehicule se trouvait avant d'entrée dans le virage, et on accéléra donc en utilisant le même rapport après être sorti du virage.
Si le conducteur accélère rapidement, ou accélère et décelère rapidement en actionnant l'accélérateur et la pédale de frein pendant une certaine période de temps alors que le levier de sélection est sur la position D, il est possible que le mode AAS soit activé. Si ceci se produit, le mode AASMaintiendra le rapport de vitesses optimal et le conducteur pourra alors remarquer que les vitesses ne passent pas; toutefois, ceci n'est pas une anomalie.
Système de verrouillage de levier sélecteur
Le système de verrouillage du levier sélecteur empêche de déplacer le levier sélecteur de la plage P à moins que la pédale de frein ne soit enforcée.
Pour passer de la plage P à une autre plage:
- Enconcer la pedale de frein et la maintainir.
- Demarrer le moteur.
3. Déplacer le levier sélecteur.
REMARQUE
- Lorsque le contacteur est en position d'arrêt, il n'est pas possible demettre le levier sélecteur en plage P
- Pour s'assurer que la boîte de vitesses est en position de stationnement, la clé de contact ne peut pas être retiree si le levier sélecteur n'est pas en plage P.
(Avec clé avancée)
Le contacteur ne peut pas être tourné de ACC à OFF si le levier de changement n'est pas en plage P.
Mode de selection manuelle des rapports
Ce mode donne la sensation de conduire un vehicule à boîte de vitesses manuelle, en opérant le levier sélecteur pour contrôle le régime du moteur et le couple appliqué aux roues motrices comme avec une boîte de vitesses manuelles lorsque plus de contrôle est requis.
Pour passer en mode de selection manuelle des rapports, déplacer le levier de la plage D à la plage M.
REMARQUE
Le fait de passer en mode de selection manuelle des ragports pendant la conduite n'endommagera pas la boite de vitesses.

Pour revenir au mode de selection automatique des rapport, déplacer le levier selecteur de la plage M à la plage D.
REMARQUE
- Si le mode de sélection manuelle des rapportes est engagé lorsque le vehicule est arrêté, le rapport M1 est sélectionné.
- Si l'on passse en mode de selection manuelle sans appuyer sur la pédale d'accéléateur lorsqu'on conduit en position D, 5ème rapport, le rapport passera en position M4.
- (Modèle à moteur de 2,3 litres) Si l'on passe en mode de selection manuelle sans appuyer sur la pédale d'accéléateur lorsqu'on conduit en position D, 6ème rapport, le rapport passera en position M5.
Témoins
Témoin de position de plage de boîte de vitesse
En mode de selection manuelle des rapport, le témoin de position de plage de boîte de vitesse “M” s'allume sur le tableau de bord.
Témoin de position de rapport
Le chiffre du rapport sélectionné s'allume.

REMARQUE
- Si les rapportes ne peuvent pas etre retrogradés lors de la conduite a une vitesse elevée, le témoin de position derapport clignote deux fois pour indiquer l'impossibilité de retrograder (pourprotégger la boîte de vitesses).
- (Modèle à moteur de 2,5 litres)
Si la température du liquide de boîte de vitesses automatique s'élève excessively, il est possible que la boîte de vitesses passé en mode de changement de vitesses automatique, en annulant le mode de changement de vitesses manuel et en étignant le témoin de position de rapport. Ceci est une fonction normale qui protège la boîte de vitesses automatique. Une fois que la température du liquide de boîte de vitesses automatique a diminué, le témoin de position de rapport se rallume et le mode de changement de vitesses manuel est rétabli.
Sélection des rapportes
Passage manuel au rapport supérieur
$$ \begin{array}{l} (\mathbf {M 1} \to \mathbf {M 2} \to \mathbf {M 3} \to \mathbf {M 4} \to \mathbf {M 5} \to \ \mathbf {M 6} ^ {*}) \end{array} $$
Pour passer au rapport supérieur, tirer légrement le levier sélecteur vers l'arrière (+) une fois.

REMARQUE
Lorsque you condusiez lentement, les vitesses ne peuvent pas etre decalées vers le haut.
- En mode de selection manuelle des rapport, les rapports ne sont pas sélectionnés automatiquement. Ne pas pousser le régime moteur jusqu'à la ZONE ROUGE du compte-tours. Si l'aiguille du compte-tours entre dans la ZONE ROUGE, un effet de frein moteur peut être ressenti, car l'alimentation en carburant du moteur est coupée afin de protégger celui-ci. Ceci n'indique pas une anomalie.
- Lorsque l'accéléateur est complètement enforcé, la boite de vitesses rétrograde suivant la vitesse du vehicule.
Rétrogradation manuelle
$$ \begin{array}{l} (\mathbf {M 6} ^ {*} \to \mathbf {M 5} \to \mathbf {M 4} \to \mathbf {M 3} \to \mathbf {M 2} \to \ \mathbf {M 1}) \end{array} $$
Pour rétrograder au rapport inférieur, pousser légrement le levier sélecteur vers l'avant (-) une fois.

▲PRUDENCE
Ne pas utiliser le frein moteur lors de la conduite sur des surfaces glissantes ou à haute vitesse:
Le retrogradage lors de la conduite sur des routes mouillées, enneigées ou gelées ou lors de la conduite à haute vitesse cause un effet de frein moteur soudain qui est dangereux. Le changement soudain de vitesse de rotation des roues peut les faire déraper. Ceci peut faire perdre le contrôle du vehicule et causer un accident.
REMARQUE
- A vitesses élevées, les rapportes inférieurs peuvent ne pas être scélectionnés.
- A la décelération, les rapportes peuvent rétrograder automatiquement suivant la vitesse du vehicule.
- Lorsque l'accéléateur est complètement enforcé, la boîte de vitesse rétrograde suivant la vitesse du vehicule.
Mode fixe de second rapport
Lorsque le levier sélecteur est tiré vers l'arrière (+) alors que le vehicule est arrêté ou conduit aux vitesses suivantes, la boîte de vitesses est établie en mode fixe de second rapport.
Modèle à moteur de 2,5 litres:
12km / h (7,5mi / h) ou moins
Modèle à moteur de 2,3 litres:
16km / h (9,9mi / h) ou moins
Le rapport est fixé en seconde lorsque dans ce mode pour faciliter le démarrage et la conduite sur les routes glissantes. Si le levier sélecteur est tiré vers l'arrière (+) ou vers l'avant (-) lorsque dans le mode fixe de second rapport, le mode sera annulé.
Spcifications des selections de rapport
Passage des rapportes
Si la vitesse du vehicule est inférieure à la vitesse spécifiée pour le rapport supérieur, alors le rapport supérieur ne peut pas être sélectionné.
| Rapport | Vitesse du vehicule | |
| Modèle à moteur de 2,5 litres | Modèle à moteur de 2,3 litres | |
| M1 → M2 | Vous pouvez selectionner le rapport M2 que le vehicule soit à l'arrêt ou roule. | |
| M2 → M3 | 21 km/h (13 mi/h) | 9 km/h (6 mi/h) |
| M3 → M4 | 38 km/h (24 mi/h) | 26 km/h (16 mi/h) |
| M4 → M5 | 36 km/h (22 mi/h) | |
| M5 → M6 | — | 53 km/h (33 mi/h) |
Retrogradation des rapports
Si la vitesse du vehicule est supérieure à la vitesse spécifiée pour chaque rapport, un rapport inférieur ne peut pas être sélectionné pour protéger la boîte de vitesse.
| Rapport | Vitesse du vehicule | |
| Modèle à moteur de 2,5 litres | Modèle à moteur de 2,3 litres | |
| M6 → M5 | — | 230 km/h(143 mi/h) |
| M5 → M4 | 216 km/h(135 mi/h) | 182 km/h(113 mi/h) |
| M4 → M3 | 150 km/h (93 mi/h) | 135 km/h (83 mi/h) |
| M3 → M2 | 99 km/h (62 mi/h) | 86 km/h (53 mi/h) |
| M2 → M1 | 50 km/h (31 mi/h) | 45 km/h (28 mi/h) |
REMARQUE
Concernant la vitesse de vehicule au rapport le plus haut indiqué ci-dessus, il pourra être impossible d'obtenir réellement cette vitesse selon différentes conditions de conduite telles que le vent, la pente ascendante et la surface de la route.
Lors de la décelération, le retrogradage des rapportes se fait automatiquement lorsque la vitesse baise aux vitesses suivantes:
| Rapport | Vitesse du vehicule | |
| Modèle à moteur de 2,5 litres | Modèle à moteur de 2,3 litres | |
| M6 → M5 | — | 52 km/h (32 mi/h) |
| M5 → M4 | 34 km/h (21 mi/h) | 34 km/h (21 mi/h) |
| M4 → M3 | 25 km/h (15 mi/h) | |
| M3 ou M2→M1 | 11 km/h (7 mi/h) | 8 km/h (5 mi/h) |
REMARQUE
Le rapport ne rétrograde pas automatiquement à M1 lorsque en mode fixe de second rapport.
Si la reprise a eté faite aux vitesses suivantes ou inférieures, les rapports rétrogradent automatiquement:
| Rapport | Vitesse du vehicule | |
| Modèle à moteur de 2,5 litres | Modèle à moteur de 2,3 litres | |
| M6 → M5 | — | 220 km/h(136 mi/h) |
| M5 → M4 | 202 km/h(126 mi/h) | 50 km/h (31 mi/h) |
| M4 → M3 | 140 km/h (87 mi/h) | 30 km/h (18 mi/h) |
| M3 → M2 | 54 km/h (34 mi/h) | 8 km/h (5 mi/h) |
| M2 → M1 | — | |
Recommendations concerning le passage des vitesses
Passagedesrapportso
Pour une accelération normale et la promenade, les points de passage suivants sont recommends.
| Rapport | Vitesse du vehicule |
| M1 en M2 | 24 km/h (15 mi/h) |
| M2 en M3 | 40 km/h (25 mi/h) |
| M3 en M4 | 65 km/h (40 mi/h) |
| M4 en M5 | 73 km/h (45 mi/h) |
| M5 en M6* | 80 km/h (50 mi/h) |
- Modèle à moteur de 2,3 litres
Rétrogradation des rapportes
Lorsque l'on doit ralentir dans un traffic dense ou lors de la montée d'une force côte, rétrograder avant de faire peiner le moteur. Ceci donne une meilleure accélération lorsque plus de vitesse est nécessaire.
Lors de la descente d'une pente à force inclinaison, rétrograder pour maintainir une vitesse sécurité et pour limiter l'usure des freins.
Conseils concernant la conduite
APRUDENCE
Ne pas laisser le vehicule reculer dans une montée lorsque le levier selecteur est en position de marche avant ou avancer dans une descente lorsque le levier selecteur est en position de marche arriere.
Sinon, le moteur s'arrête, ce qui entraine la coupure des servofreins et des fonctions de direction assistée, rend difficile le contrôle du vehicule et peut entraîner un accident.
Dépassement
Pour plus de puissance lors du dépassement d'un autre vehicule ou pour monter une forte pente, appuyer à fond sur l'accelérer. La boîte de vitesses rétrogradera à un rapport inférieur, suivant la vitesse du vehicule.
Démarrage en côte
Pour monter une côte à partir de la position arrêtée:
- Appuyer sur la pédale de frein.
2.Passer en plage D ou M1, suivant la charge du vehicule et l'inclinaison de la pente. - Relacher la pedale de frein tout en accélérant gradulement.
Descente de pente
Lors de la descente de force pente, passer à une plage de rapport inférieur, suivant la charge du vehicule et l'inclinaison de la pente. Descendre lentement, n'utiliser les freins que de façon occasionnelle pour éviter qu'ils ne surchauffent.
Direction assistée
La direction n'est assistée que lorsque le moteur fonctionne. Si le moteur est arrêté ou si le système de direction assistée ne fonctionne pas, il est possible de diriger le vehicule mais cela demande un plus grand effort physique.
Si le volant semble plus rigide que d'habitude durant la conduite normale, consulter un concessionnaire agrée Mazda.
ATTENTION
Ne jamais maintainir le volant de direction tourné à fond, vers la droite ou vers la gauche, pendant plus de 5 secondes si le moteur tourne. Cela pourrait endommager le système de direction assistée.
Utilisation du système toutes roues motrices (AWD)*
Le système de AWD fournit une(Meilleure) conduite sur les routes recouvertes de neige ou de glace, sur le sable et dans la boue, ainsi que sur des plans très inclinés et autres types de surfaces glissantes.
Conduite en système de AWD
PRUDENCE
Eviter de tournier brusquement, de conduire trop vite et de manœuvrer trop brutalement en conduisant ce vehicule:
Il est dangereux d'effectuer des virages trop serrés, de conduire trop vite et de manœuvrer brusquement ce vehicule car ceci augmentait le risque de perte de contrôle du vehicule, de capotage du vehicule, de blessures graves ou mortelles.
Ce vehicule a un centre de gravite place haut. Les vehicules à centre de gravite place en position haute, tels que les vehicules utilaitaires ou AWD, ne se comportent pas de la meme façon que les vehicules à centre de gravite place en position basse.
Les vehicules utilisaires ou AWD n'ont pas ete concus pour pouvoir faire des virages serres a grande vitesse, pas plus que les voitures de sport surbaissées n'ont ete concues pour offrir des performances satisfaisantes en tout terrain. En outre, les vehicules utilisaires ont un taux de capotage sensiblement plus eleve que les autres types de vehicule.
Conduire prudemment lorsque le vehicule est charge, en ralentissant et en freinant plus tout:
Il est dangereux de manœuvrer et de freiner brusquement lorsqu'on conduit un vehicule charge, car le comportement de conduite d'un vehicule possedant un centre de gravité haut place est différent quand le vehicule est charge que quand il ne l'est pas, et ceci pourrait causeer une perte de contrôle du vehicule et un accident.
Voyant du système toutes roues motrices (AWD)
4WD
Cevoyant reste allumependantquelques secondesapresque lecontacteuraitétemis sur la position ON.
Ensuite, levoyant s'allume ou clignote dans les conditions suivantes:
- Il s'allume s'il y a un problème du système de AWD.
- Clignote si la température de l'huile du différentiel surchauffe.
- Clignote s'il y a en permanence une grande différence de vitesse de rotation des roues avant et arrêté, ce qui peut arriver par exemple lorsque le vehicule se trouve sur une surface glissante ou qu'il est embourbé dans de la boue, du sable, etc.
Si levoyantAWD s'allume:
Si levoyantAWD s'allume,s'adresser a un concessionnaireagreeedMazda.
Si levoyantAWDclignote:
Garer le vehicule dans un endroit s ur.
Apres quelques moments, si le voyant
arrete de clignoter, la conduite peut etre
reprise. Si le témoin ne cette pas de
clignoter, s'adresser a un concessionnaire
agréé Mazda.
4 PRUDENCE
Ne jamais faire tourner à vide une roue qui n'est pas en contact avec le sol:
Le fait de faire tourner à vide une roue qui n'est pas en contact avec le sol lorsque le vehicule est coince ou dans un ravin est dangereux. Le mecanisme d'entrainment peut subir des dommages et causer un accident ou même entrainer une surchauffe, une fuite d'huile et un incendie.
Pneus et chaînes
La condition des pneus est très importante pour les performances du vehicule. De plus, pour éviter d'endommager le mécanisme d'entrainment, faire attention aux points suivants:
Pneus
- Lors du remplacement de pneus, toujours remplacer les pneus avant et arrrière en même temps.
- Tous les pneus doivent être de taille, fabricant, marque et conception de bande de roulement identiques. Ceci est particulièrement important lors de l'installation de pneus à neige ou autres types de pneus pour l'hiver.
- Ne pas utiliser des pneus usés avec des pneus neufs.
- Vérifier les pressions de gonflage aux intervalles recommends et régler à la pression spécifique.
REMARQUE
Vérifier l'étiquette de pressions de gonflage des pneus collée sur le cadre de la portière du conducteur, pour la pression de gonflage correcte.
- S'assurer de doter le vehicule le roues d'origine de taille spécifiée, sur toutes les roues. Le système de AWD est calibré pour que les quatre roues aient les mêmes dimensions.
Chaines à neige
- N'installer des chaînes que sur les roues avant.
- Ne pas utiliser de chaînes de pneus sur les roues arrêté.
- Ne pas dépasser 30km / h (19mi / h) avec les chaînes à neige installées.
- Ne jamais conduire avec des chaînes sur des routes qui ne sont pas recouvertes de beige ou de glace.
Remorquage
Si le vehicule requiert un remorquage, le faire remorquer avec les quatre roues complètement soulevées du sol (page 7-21).
Régulateur de vitesse de croisière
Le régulateur de vitesse de croisière permet de régler et de maintainir automatiquement la vitesse du vehicule à n'importe qu'elle vitesse supérieure à 30 km/h (19 mi/h).
PRUDENCE
Ne pas utiliser le régulateur de vitesse de croisière dans les conditions suivantes:
Le fait d'utiliser le régulateur de vitesse de croisière dans les conditions suivantes est dangereux, et peut cause une perte de contrôle du vehicule.
Terrain valloonné
Cotes raides
Trafic important ou variable
Routeglissantesousinueuses
Toute conditionsemblable qui donne des variations de la vitesse
Témoin principal de régulateur de vitesse de croisière (ombre)/ Témoin de réglage de régulateur de vitesse de croisière (vert)
CRUISE
Ce témoin a deux couleurs.
Témoin principal de régulateur de vitesse de croisière (âmbre)
Ce témoin s'allume amber lorsqué l'interrupteur CRUISE ON est pressé et le système de régulateur de vitesse de croisière est activé.
Témoin de réglage du régulateur de vitesse de croisière (vert)
Ce témoin s'allume vert lorsqu'une vitesse de croisière est régée.
▼Mise en/hors fonction
Pourmettrelesystèmeenfonction, appuyer sur l'interrupteurCRUISEON. Le témoin principal de régulateur de vitessedecroisière s'allume.
Pourmettrelesystemehorsfonction, appuyer sur l'interrupteur OFF.
Le témoin principal de régulateur de vitesse de croisière s'eteint.


PRUDENCE
Toujours désactiver le système de régulateur de vitesse de croisière lorsqu'il n'est pas utilisé:
Le fait de laisser le système de régulateur de vitesse de croisière activé lorsqu'il n'est pas utilisé est dangereux: le système pourrait se déclencher de manière inattendue en cas de pression accidentelle sur la touche d'activation et entraîner une perte de contrôle du vehicule et un accident.
Pour régler la vitesse
- Activer le système de régulateur de vitesse de croisière en appuyant sur l'interrupteur CRUISE ON.
- Accélérez jusqu'à la vitesse désirée, qui doit être supérieure à 30 km/h (19 mi/h).
- Régler le régulateur de vitesse de croisière en appuyant sur l'interrupteur SET + ou SET - à la vitesse voulue. Le régulateur de vitesse de croisière est réglé au moment où l'on appuie sur l'interrupteur SET + ou SET-. Relâcher simultanément la pedale d'accélération.

REMARQUE
- Relâcher l'interrupteur SET + ou SET - à la vitesse voulue, sinon la vitesse continuaera augmenter pendant qu'on maintient l'interrupteur SET + enforcé, et continuaera à diminuier pendant qu'on maintient l'interrupteur SET - enforcé (sauf quand la pedale d'accélérateur est enforcée).
- Sur une côte, la vitesse du vehicule peut diminuer lors de la montée ou augmenter lors de la descente.
- Le régulateur de vitesse de croisière sera mis hors fonction si la vitesse du vehicule baise au-dessous de 23km / h (14 mi/h) lorsqu'il est activé, par exemple lors de la montée d'une pente raide.
Pour augmenter la vitesse de croisière
Utiliser une des méthodes suivantes.
Pour augmenter la vitesse en utilisant l'interrupteur de régulateur de vitesse de croisière
Appuyer sur l'interrupteur SET + et le maintainir. Le vehicule accelérera.
Relacher l'interrupteur à la vitesse désirée.

Ce vehicule est équipé d'une fonction qui permet d'augmenter la vitesse actuelle du vehicule par pas de 1,6km / h (1mi / h) par une légère pression momentanée de l'interrupteur SET + . Plusieurs pressions augmenteront la vitesse du vehicule de 1,6 km/h (1 mi/h) pour chaque pression.
Pour augmenter la vitesse en utilisant la pédale d'accéléateur
Appuyer sur la pédale d'accéléateur pour accéléérer jusqu'à la vitesse voulue.
Appuyer sur l'interrupteur SET + ou SET - et le relâcher immédiatement.

REMARQUE
Accélérer normalement si une vitesse supérieure est momentanément nécessaire alors que le régulateur de vitesse de croisière est enclenché. Une vitesse supérieure ne gén pas ou ne change pas la vitesse réglée. Relâcher la pédale d'accéléateur pour revenir à la vitesse réglée.
Pour diminuier la vitesse de croisière
Appuyer sur l'interrupteur SET - et le maintainir. Le vehicule ralentira graduelflement.
Relacher l'interrupteur à la vitesse désirée.

Ce vehicule est équipé d'une fonction qui permet de réduire la vitesse actuelle du vehicule par pas de 1,6km / h (1 mi/h) par une légère pression momentanée de l'interrupteur SET-. Plusieurs pressions réduiront la vitesse du vehicule de 1,6 km/h (1 mi/h) pour chaque pression.
Pour rétablit la vitesse de croisière à une vitesse supérieure à 30 km/h (19 mi/h)
Si la fonction du régulateur de vitesse de croisière a eté annulée sans utiliser l'interrupteur OFF (par exemple en actionnant la pédale de frein) et que le système est encore en fonction, il est possible de revenir à la dernière vitesse réglée en appuyant sur l'interrupteur RES. Si la vitesse du vehicule est inférieure à 30km / h (19mi / h) , accélérer jusqu'à 30 km / h (19mi / h) ou plus et appuyer sur l'interrupteur RES.

Pour annuler
Pour annuler le système, utiliser une des méthodes suivantes:
-
Appuyer sur l'interrupteur OFF.
Appuyer légèrement sur la pédale de frein. -
Appuyer sur l'interrupteur CANCEL.

Le système est désarmé lorsque le contacteur est coupé.
REMARQUE
Le fonctionnement du régulateur de vitesse de croisière s'annule si la vitesse diminue à plus de 15~km / h (9 mi/h) en dessous de la vitesse réglée (par exemple lors de la montée d'une pente longue et raide).
Système de commande détraction (TCS)
Le système de commande de traction (TCS) améliore la traction et la sécurité en commandant le couple du moteur et le freinage. Lorsque le système de commande de traction détecte le patinage d'une roue, il diminue le couple du moteur et actionne les freins pour éviter une perte de traction.
Ceci signifie que sur une surface glissante, le moteur est automatiquement regle pour donner une puissance optimale aux roues motrices, en limitant tout patinage et perte de traction des roues.
4 PRUDENCE
Ne pas se fier au système de commande de traction pour replacer une conduite sécuritaire:
Le système de commande de traction (TCS) ne peut pas compenser pour une conduite dangereuse, une vitesse excessive, une conduite trop proche du vehicule qui precede, et les aquaplanages (perte de traction due à la présence d'eau sur la route). Un accident est toujours possible.
Utiliser des pneus à neige ou des chaînes et conduire à des vitesses réduites lorsque les routes sont recouvertes de neige ou de glace:
Le fait de conduire sans l'équipement approprié sur des routes recouvertes de neige ou de glace est dangereux. Le système de commande de traction (TCS) seul ne peut pas fournir une traction adequate et un accident est toujours possible.
Témoin TCS/DSC

Ce témoin s'allume pendant quelques secondes lorsque le contacteur est mis sur la position ON. Si le système de commande de traction ou de commande dynamique de stabilité fonctionne, le témoin clignote.
Si le témoin reste allumé, cela peut indiquer une anomalie du système de commande de traction ou du système de commande dynamique de stabilité et ils peuvent ne pas fonctionner correctement. Faire vérifier le vehicule par un concessionnaire agrée Mazda.
REMARQUE
- Le témoin clignote et un léger son de battement est produit par le moteur. Cela indique que le TCS fonctionne correctement.
- Sur des surfaces glissantes, comme sur de la neige, il est impossible d'augmenter le régime moteur lorsque le système de commande de traction est en fonction.
Témoin TCS OFF
TCS OFF
Ce témoin s'allume pendant quelques secondes lorsque le contacteur est mis sur la position ON.
Il s'allume aussi lorsque l'interrupteur TCS OFF est pressé et que le système de commande de traction est mis hors fonction.
Se référer à Interrupteur TCS OFF à la page 5-28.
Si le témoin reste allumé et le système de commande de traction n'est pas mis hors fonction, faire vérifier le vehicule par un concessionnaire agrée Mazda. Cela peut indiquer une anomalie du système de commande dynamique de stabilité.
REMARQUE
Si la batterie est déconnectée ou qu'un fusible est replacé, le système de commande dynamique n'est pas disponible. Dans un tel cas, le témoin TCS OFF clignote et le témoin TCS/DSC s'allume.
Pour réactiver le système de commande dynamique, procéder comme suit avec la batterie connectée.
- Mettre le contacteur en position ON.
- Tourner le volant complètement dans le sens des aiguilles d'une montre, puis complètement dans le sens inverse.
- S'assurer que le témoin TCS OFF s'éteint.
- Éteignez le contacteur, puis le remettre sur ON.
- S'assurer que le témoin TCS/DSC s'éteint.
Si le témoin TCS/DSC et le témoin TCS OFF restent allumés même après qu'on ait tourné le contacteur de ON à OFF, puis de nouveau à ON, essayer à nouveau d'effectuer la procédure. Si ceci ne résout toujours pas le problème, s'adresser à un concessionnaire/agréé Mazda.
Interrupteur TCS OFF
Si la vitesse du vehicule est inférieure à 30km / h (18 mi/h), appuyer sur l'interrupteur TCS OFF pour le système de commande de traction hors fonction. Le témoin TCS OFF s'allumera.

Appuyer sur l'interrupteur TCS OFF de nouveau pour remetre le système de commande de traction en fonction. Le témoin TCS OFF s'éteint. Si la vitesse du vehicule est supérieure à 30 km/h (18 mi/h), le témoin TCS OFF ne s'allumer pas, même si l'on appuie sur l'interrupteur.
REMARQUE
- Lorsque le système de commande de traction est en fonction et que vous essayez de libérer le vehicule lorsqu'il est pris dans un banc de neige, ou d'accelérer sur de la neige poudreuse, le système de commande de traction s'activera. même si l'on appuie sur la pédale d'accéléateur le régime moteur n'augmentera pas et il peut être difficile de contrôler le vehicule. Dans un tel cas,mettre le système de commande de traction hors fonction.
- Si le système de commande de traction est hors fonction et que le contact est coupé, il sera remis automatiquement en fonction lorsque le contacteur est mis à la position ON.
- Pour une traction optimale, laisser le système en fonction.
- Si le système de commande de traction est hors fonction lorsque la vitesse du vehicule est supérieure à 30 km/h (18 mi/h), il sera activé automatiquement, et le témoin TCS OFF s'éteindra.
- Si l'interrupteur TCS OFF est pressé et maintenu pendant 10 secondes ou plus, la fonction de détction d'anomalie de l'interrupteur TCS OFF s'enclenchera et le système de commande de traction sera activé automatiquement. Le t'émoin TCS OFF s'estient pendant que le système de commande de traction est en fonction.
Commande dynamique de stabilité (DSC)
La commande dynamique de stabilité (DSC) commande automatiquement le freinage et le couple du moteur à l'aide des systèmes comme l'ABS et le TCS afin de contrôler le dérapage létral lors de la conduite sur des surfaces glissantes, ou lors de manœuvres soudaines ou d'évitement, ce qui améliore la sécurité du vehicule.
Se référer à Systeme ABS (page 5-9) et Systeme TCS (page 5-26).
Le fonctionnement de la commande DSC n'est possible qu'a des vitesses supérieures à 20km / h (12 mi/h).
4 PRUDENCE
Ne pas se fier à la commande de stabilité dynamique pour replacer une conduite sécuritaire:
La commande dynamique de stabilité (DSC) ne peut pas compenser une conduite dangereuse, une vitesse excessive, une conduite trop proche du vehicule qui precede et les aquaplanages (perte de traction due à la présence d'eau sur la route). Un accident est toujours possible.
ATTENTION
La commande DSC peut ne pas fonctionner correctement si les points suivants ne sont pas respectés:
Utiliser des pneus de la taille appropriée pour ce vehicule Mazda sur les quatre roues.
Utiliser des pneus du même fabricant, de la même marque et avec la même bande de roulement sur les quatre roues.
Ne pas mélanger des pneus usés avec des pneus neufs.
La commande DSC peut ne pas fonctionner correctement si des chaînes de pneus sont utilisés ou si une roue de secours provisoire est installée, car le diamètre de la roue est différent.
Témoin TCS/DSC

Ce témoin s'allume pendant quelques secondes lorsque le contacteur est mis sur la position ON. Si le système de commande de traction ou de commande dynamique de stabilité fonctionne, le témoin clignote.
Si le témoin reste allumé, cela peut indiquer une anomalie du système de commande de traction ou du système de commande dynamique de stabilité et ils peuvent ne pas fonctionner correctement. Faire vérifier le vehicule par un concessionnaire agrée Mazda.
Système de surveillance de pression des pneus*
Le système de surveillance de pression des pneus (TPMS) surveille la pression de chaque pneu.
Si la pression de gonflage est trop bajo dans l'un ou plusieurs des pneus, le système l'indique au conducteur au moyen duvoyant dans le tableau de bord et de l'avertisseur sonore.
Les capteurs de pression des pneus installés sur chaque roue envoient les données d'information de pression de gonflage par signal radio au récepteur situé dans le vehicule.

Capteurs de pression des pneus
REMARQUE
Lorsque la température ambiente est BASSE à cause des changements saisonniers, la température des pneus est également plus BASSE. Lorsque la température des pneus diminue, la pression d'air diminue aussi. Il est possible que levoyant TPMS s'allume plus souvent. Vérifier visuellement les pneus tous les jours avant de conduire, et vérifier la pression des pneus une fois par mois à l'aide d'une jauge de pression des pneus. Pour vérifier la pression des pneus, il est recommendé d'utiliser une jauge de pression des pneus numérique.
Le système TPMS ne vous dispense aucunement de vérifier régulièrement la pression et l'etat de tous les quatre pneus.

ATTENTION
Tous les pneus, y compris le pneu de la roue de secours (s'il est fourni) doivent être contrôlés tous les mois lorsqu'ils sont froids, et être gonflés à la pression de gonflage recommendée par le fabricant du vehicule sur la plaque d'information du vehicule ou sur l'étiquette de pressions de gonflage des pneus. (Si le vehicule est équipé de pneus d'une taille différente de cette indiquée sur la plaque d'information du vehicule ou sur l'étiquette de pressions de gonflage des pneus, il faut déterminer la pression de gonflage correcte pour ces pneus.)
Comme caractéristique de sécurité complémentaire, le vehicule a été équipé d'un système de surveillance de pression des pneus (TPMS) qui allume un voyant de basse pression de gonflage de pneu lorsqu'au moins un pneu est nettement sous-gonfle. Par conséquent, lorsque le voyant de basse pression de gonflage de pneu s'allume, il faut s'arrête et vérifier les pneus dés que possible, et les gonfler à la pression correcte. Le fait de conduire sur un pneu sous-gonfle cause une surchauffe du pneu, ce qui peut causeur une défaillance du pneu. Le sous-gonflage affecte aussi l'économie de carburant et la longévité de pneus, ainsi que la maniability du vehicule et le freinage.
Bien noter que le TPMS ne vous dispense absolument pas d'effectuer un entretien ajustat des pneus, et le conducteur a la responsabilité de maintainir la bonne pression de gonflage des pneus, même si le sous-gonflage n'a pas atteint le niveau suffisant pour déclencher l'éclairage du voyant de basse pression de gonflage de pneu TPMS.
Votre vehicule est également équipé d'un témoin d'anomalie TPMS pour vous alerter lorsque le système ne fonctionne pas correctement.
Le témoin d'anomalie TPMS est combiné avec levoyant de basse pression de gonflage de pneu. Lorsque le système détecte une panne, levoyant va clignoter pendant approximativement une minute puis reste allumé. Cette séquence se repête à chaque démarrage du vehicule tant que la panne existe.
Lorsque le témoin d'anomalie est allumé, le système ne peut pas détecter ou signaler un faible pression des pneus. Les pannes TPMS peuvent se produit pour une variété de raisons, y compris l'installation de pneu de rechange, de pneu alternatifs ou de roues sur le vehicule qui empêchent le fonctionnement correct du TPMS. Toutjours vérifier levoyant de panne TPMS après le remplacement d'un ou de plusieurs pneus ou roues sur le vehicule pour vous assurer que le remplacement ou les pneus/roues alternatifs permettent le fonctionnement correct du TPMS.
Afin d'eviter de fausses indications, le système fait un échantillonnage pendant une certaine période avant d'indiquer un problème. Ceci fait qu'il n'indiquera pas instantanément un dégonflage soudain ou une explosion d'un pneu.
REMARQUE
Cet apparéil est conforme à la partie 15 de la Réglementation FCC. Le fonctionnement étant sujet aux deux conditions suivantes: (1) cet apparéil ne doit pas causeur d'interférences néfastes, et (2) cet apparéil doit accepter toutes les interférences reçues, incluant celles qui risquent de causeur un mauvais fonctionnement.
Voyant du système de surveillance de pression des pneus

Cevoyant s'allumependantquelques secondedeslorsquelecontacteurestmis sur la position ON.
Ensuite, levoyant s'allume et un bip sonore retentit lorsque la pression de gonflage d'un ou plusieurs des pneus est trop BASSE, et il clignote en cas d'anomalie du systeme.
APRUDENCE
Si levoyant du systeme de surveillance de pression des pneus s'allume ou clignote,ou si I'avertisseur sonore de pression des pneus retentit,ralentir immediatement et eviter de manoeuvrer et freiner brusquement:
Si levoyant du système de surveillance de pression des pneus s'allume ou clignote, ou si l'avertisseur sonore de pression des pneus retentit, il est dangereux de conduire le vehicule à hautes vitesses, ou de mançeuvrer ou freiner brusquement. Le contrôle du vehicule peut être affecté, ce qui peut causeur un accident.
Pour déterminer s'il y a uneuite d'air progressive ou un pneu à plat, se garer à un endroit sur où l'on peut vérifier visuellement l'état du pneu, et déterminer s'il y a encore assez d'air pour pouvoir se rendre à un endroit où l'on pourrait faire regonfler le pneu et vérifier le système, chez un concessionnaire agréé Mazda ou dans un atelier de réparation de pneus.
Ne pas ignorer levoyant TPMS: Le fait d'ignorer levoyant TPMS est dangereux, même si I'on sait pourquoil est allumé. Corriger tout problème)dés que possible avant qu'il ne se transforme en une situation dangereuse qui peut causer la défaillance d'un pneu et un accident grave.
Voyant allumé/avertisseur sonore retentit
Lorsque levoyant du systeme de surveillance de pression des pneus s'allume ou lorsque l'avertisseur sonore de pression des pneus retentit (environ 3 secondes),la pression de gonflage est tropasse dans l'un ou plusieurs des pneus.
Régler la pression des pneus à la valeur correcte. Se référer au tableau de gonflage des pneus (page 10-7).
ATTENTION
Lors du remplacement ou de la réparation des pneus, des jantes ou des deux, faire faire le travail par un concessionnaire agréé Mazda, sinon les capteurs de pression des pneus peuvent être endommagés.
REMARQUE
-
Effectuer le réglage de pression des pneus lorsque les pneus sont froids. La pression de gonflage des pneus varie selon la température des pneus; il faut donc laisser le vehicule au repos pendant une heures ou une pas le conduire plus de 1,6km (1 mille) avant de régler la pression de gonflage des pneus. Lorsque la pression est réglée sur des pneus chauds selon une pression de gonflage froide, le voyant/bip sonore TPMS pourrait s'allumer après que les pneus soient refroidis et que la pression ne soit devenue inférieure aux specifications. Un voyant TPMS allumé résultat d'une baisse de la pression de gonflage des pneus due à une température ambiente froide peut s'éteindre si la température ambiente s'élove. Dans ce cas, il sera également nécessaire d'ajuster les pressions de gonflage des pneus. Si le voyant TPMS s'allume à cause d'une baisse de la pression de gonflage des pneus, s'assurer de vérifier et d'ajuster les pressions.
-
Une fois les pressions de gonflage ajustées, un certain temps peut être nécessaire pour que levoyant TPMS s'éteigne. Si levoyant TPMS reste allumé, conduite le vehicule à une vitesse d'au moins 25km / h (16 mi/h) pendant 10 minutes, puis vérifier qu'il s'éteint.
-
Les pneus perdent naturellement un peu d'air avec le temps et le système TPMS ne peut pas déterminer si les pneus se sont dégonfés avec le temps ou si un pneu est à plat. Toutefois, si un seul pneu parmi les quatre est dégonfle, ceci indique une anomalie; il faut alors que quelqu'un fasse avancer le vehicule lentement afin qu'on puisse vérifier si le pneu dégonfle compte des entailles ou un objet de métal dépassant de la bande de roulement ou de la paroi du pneu. Mettre quelques gouttes d'eau sur la tige de la valve pour voir s'il ne se forme pas de bulles indiquant une valve en mauvais état. Il faut réparer les fuites et non se contentier de regardner le pneu dégonfle, car les fuites sont dangereuses - confier le pneu à un concessionnaire agrée Mazda possédant tout l'équipement nécessaire pour réparer les pneus, les systèmes TPMS, et commander le pneu de rechange convenant le mistrin au vehicule.
Si levoyant du système de surveillance de pression des pneus s'allume de nouveau même après que les pressions des pneus soient regliées, cela peut indiquer la presence d'une crevaison. Remplacer le pneu creve par la roue de secours-temporaire (page 7-6).
REMARQUE
La roue de secours à usage-temporaire ne possède pas de capteur de pression du pneu. Levoyant clignotera continuellement tant que la roue de secours à usage temporaire est utilisée.
Voyant clignote
Lorsque levoyant clignote, cela peut indiquer une anomalie du système. S'adresser a un concessionnaire agreé Mazda.
Activation erronée du système
Lorsque levoyant TPMS clignote,ela peut indiquer une anomalie du systeme. S'adresser a un concessionnaire agreeé Mazda.
Une activation erronée du système peut se produit dans les cas suivants:
- Lorsqu'il y a un équipement ou un dispositif proche du vehicule qui utilise la même fréquence radio que celle des capteurs de pression des pneus.
-
Lors de l'utilisation des dispositifs suivants dans le vehicule, ils peuvent générer le fonctionnement du récepteur.
-
Un apparéil numérique tel qu'un ordinateur portable.
-
Un convertisseur de tension tel qu'un convertisseur CC-CA.
-
Lorsqu'une accumulation excessive de neige ou de glace adhére au vehicule, en particulier ajuster des roues.
- Lorsque les piles des capteurs de pression des pneus sont épuisées.
Lorsqu'une roune non équipée d'un capteur de pression de pneu est utilisée. - Lorsque des pneus avec flancs ceinturés d'acier sont utilisés.
Lorsque des chaînes à neige sont utilisées.
Pneus et jantes
ATTENTION
Lors de l'inspection ou de
l'ajustement de la pression de
gonflage des pneus, ne pas appliquer
une force excessive à la tige de la
roue. Cela pourrait l'endommager.
Changement de pneus et de jantes
L'opération suivante permet au système de surveillance de pression des pneus d'identifier le signal de code d'identification unique d'un capteur de pression de pneu lorsque les pneus ou les jantes sont changés, comme lors de l'installation ou du retrait des pneus d'hiver.
REMARQUE
Chaque capteur de pression de pneu a un signal de code d'identification unique. Le signal de code doit etre enregistré par le système de surveillance de pression des pneus avant qu'il puisse fonctionner. La maniere la plus facile, est de faire changer les pneus et faire l'enregistrement du signal de code d'identification par un concessionnaire agreé Mazda.
Lorsque le changement des pneus est fait par un concessionnaire agréé Mazda
Lorsqu'un concessionnaire agree Mazda change les pneus du vehicule, il effectuera l'enregistrement du signal de code d'identification des capteurs de pression des pneus.
Lorsque le changement des pneus est fait par le propriétaire
Si le propriétaire ou quelqu'un d'autre fait le changement des pneus, le conducteur ou la personne faisant le changement peut également executer les étapes pour que le système de surveillance de pression des pneus compte l'enregistrement du signal de code d'identification.
- Une fois les pneus replacés,mettre le contacteur sur ON,puis sur ACC ou OFF.
-
Attendre 15 minutes environ.
-
Àpres environ 15 minutes, conduire le vehicule à une vitesse de 25km / h (16 mi/h) ou plus pendant 10 minutes et le signal de code d'identification des capteurs de pression des pneus sera enregistré automatiquement.
REMARQUE
Si le vehicule est conduit dans les 15 minutes du changement des pneus ou jantes, le voyant du système de surveillance de pression des pneus clignotera car le signal de code d'identification des capteurs de pression des pneus n'a pas pu etre enregistré. Dans un tel cas, arreter le vehicule pendant 15 minutes environ, après quoi le signal de code d'identification des capteurs de pression des pneus sera enregistré après 10 minutes de conduite.
Remplacement des jantes et des pneus
ATTENTION
Lors du remplacement ou de la réparation des pneus, des jantes ou des deux, faire faire le travail par un concessionnaire agréé Mazda, sinon les capteurs de pression des pneus peuvent être endommagés.
Les jantes montées sur ce vehicule Mazda sont spécialement conçues pour l'installation de capteurs de pression des pneus. Ne pas utiliser des jantes non d'origine, car il peut ne pas etre possible d'y installer les capteurs de pression des pneus.
S'assurer de faire installer les capteurs de pression des pneus à chaque fois que des pneus ou jantes sont replacés.
Lors du changement d'un pneu, d'une jante ou des deux, les types suivants de capteurs de pression des pneus peuvent etre installés.
- Un capteur de pression de pneu retire de l'ancienne jante et installé sur la nouvelle.
- Le même capteur de pression de pneu utilisé avec la même jante. Seul le pneu est remplaced.
- Un capteur de pression de pneu neuf installé sur une nouvelle jante.
REMARQUE
Le signal de code d'identification du capteur de pression de pneu doit etre enregistré lorsqu'un nouveau capteur de pression des pneus est acheté. Pour l'achat de capteurs de pression des pneus et l'enregistrement du signal de code d'identification du capteur de pression de pneu, s'adresser a un concessionnaire agreé Mazda.
- Lors de la réinstallation sur une jante d'un capteur de pression des pneus déjà installé, replacer l'anneau d'étanchéité (joint entre le corps de valve/capteur et la roue) du capteur de pression des pneus.
Système BSM (surveillance des angles morts)*
Le système BSM (surveillance des angles morts) est conçu pour aider le conducteur à surveiller les angles morts des deux côts du vehicule, à l'arrière, dans certaines conditions telles que le changement de voies sur routes ou autoroutes.
Le système BSM survoie les zones de détction situées des deux côtés du vehicule, à l'arrière, lorsque la vitesse du vehicule atteint 32km / h (20mi / h) ou plus et informé le conducteur du vehicule se trouvant dans la zone de détction en déclenchant levoyant BSM.
Si le levier des clignotants est actionné dans le sens duvoyant BSM allumé, le système informe le conducteur du vehicule se trouvant dans la zone de détction à l'aide d'un signal sonore.

4 PRUDENCE
Ne pas se fier entierement au systeme BSM et veiller a always regarder au-dessus de son epaule avant de changer de voies:
Le système BSM aide le conducteur en lui confirmant que la zone environnante ne presente pas de dangers mais n'est pas un substitut complet. Le conducteur est responsable des changements de voies et autres manœuvres. Faire toujours attention au sens dans lequel le vehicule se déplace et à la zone qui entoure le vehicule.
REMARQUE
- Le système BSM ne fonctionne pas lorsque la vitesse du vehicule est inférieure à 32 km/h (20 mi/h).
-
Le pare-chocs arrêté est équipe de capteurs radars. (page 5-42)
-
Il est possible que le système ne fonctionne pas correctement lorsqu'une remorque est tractée.
Désactiver le système à l'aide de l'interrupteur BSM OFF lorsqu'une remorque est tractée. - Les capteurs radars ne detectent pas les étres humaines, les animaux ou les objets statiques, tels que des clôtures. En outre, le fonctionnement du système)cesse lorsque le levier de selection est placé en position R . (Le fonctionnement du système reprend automatiquement lorsque le levier de selection ne se trouve plus en position R .)
-
Les capacités de détéction des capteurs radars sont limitées. Il est possible que le système BSM ne fonctionne pas correctement dans les conditions suivantes:
-
De la glace, de la neige ou de saleté colle à la surface du pare-chocs arrêté, autour des capteurs radars.
- Dans des conditions météorologiques difficiles, telles que de la pluie ou de la neige, ou dans des conditions où de l'eau est projetée.
-
La zone du pare-chocs arrêté, autour des capteurs radars, est obstruée par un corps étranger (autocollant ou support à vêlos, par exemple).
-
Il est possible que les capteurs radars ne déetectent pas tous les types de vehicules se trouvant autour du vehicule, notamment les types suivants:
Vélomoteurs
- Véhicules avec une forme de carroserie non détectée par le radar, tels qu'une semi-remorque à plateau sans chargement.
- Véhicules avec une hauteur de carrosserie réduite, tels que les voitures de sports.
- En cas de chic au niveau du pare-chocs arrêté, même suite à un accident mineur, faire inspector les capteurs radars par un concessionnaire agréé Mazda. Si le vehicule est utilisé alors qu'un capteur radar est endommagé, il est possible que le système ne fonctionne pas correctement et entraîne un accident.
- Consulter un concessionnaire agreeé Mazda pour les travaux de réparation ou de peinture autour des capteurs radars ou de remplacement du pare-chocs.
- Il est possible que les capteurs radars du système BSM soient soumis aux législations relatives aux ondes radio du pays dans lequel le vehicule est utilisé. L'utilisation des capteurs du système estapprovée aux Etats-Unis (territoires inclus), au Canada et au Mexique. Si un vehicule équipé du système BSM est utilisé dans un pays autre que les Etats-Unis, le Canada ou le Mexique, le système doit être désactifé à l'aide de l'interrupteur BSM OFF.
-
La zone de détction du système a été définie en fonction de la largeur de voie des autoroutes classiques. Par conséquent, sur une route aux voies plus étroites, il est possible que le système détecte les vehicules présents sur une voieAdjacente et déclenché le signal sonore d'avertissement/voyant. Sur une route aux voies plus larges, il est possible que le système ne détecte pas les vehicules présents sur une voieAdjacente et ne déclenché pas le signal sonore d'avertissement/voyant.
-
Il est possible que le fonctionnement du signal sonore d'advertissement/voyant soit retardé ou que le système ne déclenché pas le signal sonore d'advertissement/voyant dans les conditions suivantes:
Le vehicule demarre de l'arrêt avec un vehicule à ses côtes.
- Un vehicule traverse deux voies pour atteindre la voieAdjacente.
- La différence de vitesse entre le vehicule et un autre est plus importante lors du doublement et le vehicule se trouve dans la zone de détention pendant une brève période de temps.
- Dans une pente prononcée ou lorsqu'il existe une différence de hauteur entre les voies.
- Lorsque le système est désactivé, puis immediatement réactivé à l'aide de l'interrupteur BSM OFF (le的身影 BSM OFF du tableau de bord est allumé).
- Le fait que le système détecte les objets présents sur le bord de la route, tels que les vehicules stationnés ou les glissières de sécurité, et déclenché le signal sonore d'advertissement/voyant n'indique pas une anomalie de fonctionnement.
- Si le vehicule est utilisé sur une route avec peu de circulation et peu de vehicules pouvant être détectés par les capteurs radars, il est possible que le fonctionnement du système soit interrompu (le témoin BSM OFF du tableau de bord clignote). Ceci n'indique toute fois pas une anomalie.
-
Les conditions suivantes peuvent affecter la visibilité des voyants BSM au niveau du rétroviseur extérieur, il est alors plus difficile de déterminer si les voyageants sont allumés:
-
De la glace ou de la neige colle à la surface des rétroviseurs extérieurs.
La vitre de la portiere est teintee.
Signal sonore d'advertisement/ voyant BSM
Voyant BSM
Au niveau des rétroviseurs gauche et droit.

Cevoyant s'allume pendantquelles secondes lorsquel contacteur est mis sur la position ON.
Si le système BSM détecte un vehicule dans la zone de détction alors que la vitesse est de 32km / h (20mi / h) ou plus, levoyant BSM s'allume du coto du vehicule correspondant au coto ou le vehicule qui vient de l'arriere est détecté.
REMARQUE
- Si de la glace ou de la neige est collée sur la surface du retroviseur extérieur, il est possible que levoyant BSM ne soit pas visible.
- Si la vitre de la portiere est teintée, il est possible que la visibilité duvoyant BSM soit affectée et qu'il soit plus difficile de déterminer si le témoin est allumé ou étient.
Signal sonore d'avertissement BSM
Le bip sonore d'avertissement fonctionne lorsque le levier des clignotants est activé dans le sens où levoyant BSM est allumé.
REMARQUE
Il est possible de personneliser le système de maniere à ce que le signal sonore d'avertissement BSM ne fonctionne pas. S'adresser à un concessionnaire agree Mazda.
Témoin BSM OFF
BSM OFF
Cevoyant s'allumependantquelques secondeslorsquelecontacteurestmis sur la position ON.
Le témoin BSM OFF s'allume lorsque le système BSM est désactivé à l'aide de l'interrupteur BSM OFF.
En cas d'anomalie de fonctionnement du système BSM, le témoin clignote.
S'adresser à un concessionnaire/agréé Mazda.
REMARQUE
Si le vehicule est utilisé sur une route avec peu de circulation et peu de vehicules pouvant être détectés par les capteurs radars, il est possible que le fonctionnement du système soit interrompù (le témoin BSM OFF du tableau de bord clignote). Ceci n'indique toute fois pas une anomalie.
Interrupteur BSM OFF
Lorsque l'interrupteur BSM est pressé, le système BSM est désactifé et le témoin BSM OFF s'allume.

Appuyer de nouveau sur l'interrupteur BSM OFF pour activer le système BSM. Le tímein BSM OFF s'estint.
REMARQUE
- Il est possible que le système ne fonctionne pas correctement lorsqu'une remorque est tractée. Désactiver le système à l'aide de l'interrupteur BSM OFF lorsqu'une remorque est tractée.
- Si le contacteur est mis sur la position d'arrêt avec le système BSM à l'arrêt, le système fonctionne automatiquement quand le contacteur est mis sur ON.
Entretien des capteurs radars
Le pare-chocs arrêté est équipé de capteurs radars.

Toujours doivent la surface du parechocs située à proximite de la zone du capteur radar propre de manière à ce que le système BSM fonctionne normalement. Se référer à Entretien extérieur (page 8-65).
REMARQUE
Le témoin BSM OFF clignote si les capteurs radars ne fonctionnent pas normalement. Si le témoin continue à clignoter une fois la surface du pare-chocs située à côté de la zone du capteur radar nettoyée, contacter un concessionnaire agréé Mazda.
- Consulter un concessionnaire agréé Mazda pour les travaux de réparation ou de peinture ajuster des capteurs radars ou de remplacement du pare-chocs.
Certification de sécurité
Risque de rayonnement
Ce périphérique BSM (surveillance des angles morts) émet intentionnellement un rayonnement électromagnétique compris dans la plage de fréquences de 24 GHz à 25 GHz. La puissance émise totale est de moins de -14dBm ( 40~ W ) sur toute la largeur de bande. La surface de l'antenne d'émission active est de 72~cm^2 . Par conséquent, la densité électrique émise devant le périphérique BSM est de 0,55 W / cm^2 . Cette valeur est bien inférieure à la limite de protection d'exposition humaine légale, fixée à 1mW / cm^2 (MPE) en Europe et aux Etats-Unis.
Déclaration de conformité pour le radar d'angles morts de 24 GHz
(ETATS-UNIS)
Ce vehicule est équipé d'un système de radar BSM (surveillance des angles morts) de 24 GHz conforme à la section 15 de la réglementation FCC. Son fonctionnement est soumis aux deux conditions suivantes:
- Ce dispositif ne doit pas causeur d'interférences nuisibles et
- Ce dispositif doit accepter toutes les interférences reçues, même celles qui pourraient cause un fonctionnement indésirable.
- Ce périphérique ne peut fonctionner que si le fonctionnement du vehicule est conforme au 15.252 (a) (4).
(CANADA)
ICDCE2008075 (autorisation temporaire jusqu'à l'entrée en vigueur de la norme RSS-220)
IC:4135A-BSDTX
Ce vehicule est équipé d'un système de radar BSM à surveillance des angles morts de 24 GHz conforme à la Specification technique RSS-220 des normes radio d'Industrie Canada. Son fonctionnement est soumis aux deux conditions suivantes:
- Ce dispositif ne doit pas causeur d'interférences nuisibles et
- Ce dispositif doit accepter toutes les interférences reçues, même celles qui pourraient cause un fonctionnement indésirable.
REMARQUE
Au moment de l'impression duPRESENT manuel d'utilisation, les approbations suivantes ont ete obtenues. Il est possible que d'autres pays soient ajoutés ou que des identifiants de certification soient modifiés ou mis a jour.

PRUDENCE
Les changements ou modifications non spécifique approuvés par l'entité responsable de la conformité peuvent annuler le droit de l'utilisateur à faire fonctionner cet apparéil.
Compteurs et jauges

① Compteur de vitesse page 5-45
② Compteur totalisateur, compteur journalier et selecteur de compteur journalier. page 5-45
③ Compte-tours page 5-46
④ Jauge de températe du liquide de refroidissement du moteur page 5-46
⑤ Jauge de carburant page 5-47
⑥ Eclairage du tableau de bord. page 5-47
REMARQUE
(Compteur noir)
Lorsque le contacteur est mis sur la position ON, les jauges du tableau de bord s'allument.
Compteur de vitesse
Le compteur de vitesse indique la vitesse du vehicule.
Compteur totalisateur, compteur journalier et selecteur de compteur journalier
Le mode d'affichage peut etre changé entre l'affichage du compteur journalier A et l'affichage du compteur journalier B en appuyant sur le selecteur pendant que l'un d'eux est affiche. Le mode selectionné sera affiche.


REMARQUE
Lorsque le contacteur est sur ACC ou lorsqu'il est coupé, les compteurs totalisateurs ou journalier ne peuvent pas etre affichés; cependant, si la touche du selecteur est pressee par erreur, cela peut commuter les compteurs journaliers ou les réinitialiser pendant environ 10 minutes dans les cas suivants:
- ÀpRES qu'on ait mis le contacteur sur ACC ou OFF depuis ON.
- ÀpRES que la portière du conducteur soit ouverte.
Compteur totalisateur
Le compteur totalisateur enregistre la distance totale parcoursue par le vehicule.
Compteurjournalier
Le compteur journalier peut enregistrer la distance totale parcourue pour deux trajets. Une est enregistrée dans le compteur journalier A, et l'autre dans le compteur journalier B.
Par exemple, le compteur journalier A peut enregistrer la distance d'un point d'origine, et le compteur journalier B la distance à partir de quand le plein de carburant est fait.
Lorsque le compteur journalier A est seLECTIONné, si l'on appuie sur le/selecteur de nouveau à moins d'une seconde cela changera l'affichage au compteur journalier B.
Lorsque le compteur journalier A est sélectionné, TRIP A sera affché. Lorsque le compteur journalier B est sélectionné, TRIP B sera affché.
Le compteur journalier enregistre la distance parcoursue par le vehicule jusqu'à ce que le compteur soit remis à zéro. Pour remettre le compteur à zéro ("0.0"), maintainir le selecteur enforcé pendant une seconde ou plus. Ce compteur peut être utilisé pour calculer la distance parcoursue lors d'un voyage ou la consommation de carburant.
REMARQUE
Seuls les compteurs journaliers enregistrant des dixièmes de kilomètre (mille).
- L'enregistrement des compteurs journaliers sera remis à zéro lorsque:
- L'alimentation est interrompue (le fusible grillé ou la batterie est débranchée).
Le vehiculeatteint999,9kilometres (milles).
Compte-tours
Le compte-tours indique le régime moteur en milliers de tours par minute (r / min = tr / mn).

ATTENTION
Ne pas pousser le régime moteur jusqu'à la ZONE ROUGE du comptétours.
Cela peut endommager le moteur.
Jauge de température du liquide de refroidissement du moteur
Cette jauge de température du liquide de refroidissement du moteur indique la température du liquide de refroidissement du moteur.

Si l'aiguille est pres du H, elle indique une surchauffe.

ATTENTION
Le fait de conduire avec un moteur qui surchauffe peut sérieusement l'endommager (page 7-14).
Jauge de carburant
LaJAugea carburant indique la quantite approximative de carburant restant dans le reservoir lorsque le contacteur est mis sur la position ON.
Il est recommendé de garder le réservoir à plus de 1/4 plein. Lorsque le voyant de niveau bas de carburant s'allume ou si l'aiguille est pres du niveau E, refaire le plein d'essence dés que possible.

REMARQUE
- Àpres qu'on ait refait le plein de carburant, un certain temps peut être nécessaire avant que l'indicateur se stabilise. En outre, il est possible que l'indicateur devie lors de la conduite sur une pente ou dans un virage, en raison des mouvements du carburant à l'intérieur du réservoir.
Le sens de la flèche («) indique que la trappe de replissage de carburant est du côte gauche du vehicule.
Eclairage du tableau de bord
Tourner la commande pour régler la luminosité du combiné d'instruments et des autres éclairages du tableau de bord.
REMARQUE
- La luminosité des éclairages du tableau de bord peut être régliée lorsqu'le interrupteur de phares est à la position 00 ou 0.
Lorsqu'il n'est plus possible de régler davantage la luminosité des éclairages du tableau de bord, un bip sonore retentira. - (Compteur noir)
La luminosité des éclairages du combiné d'instruments peut être réglée lorsque l'interrupteur de phares est à n'importe qu'elle position.

Annulation du gradateur d'éclairage
Lorsque l'interrupteur de phares est à la position 三 0 ou , la luminosité du combiné d'instruments et de l'affichage des informations diminue.
Lors de la conduite sur des routes enneigées ou dans le brouillard, ou dans toute autre situation où la visibilité du combiné d'instruments ou de l'affichage des informations est réduite du aux reflets de la luminosité environnante, annuler le gradateur d'éclairage et augmenter l'intensité de l'éclairage.
Pour annuler le gradateur d'éclairage, appuyer sur la commande d'éclairage du tableau de bord.
REMARQUE
- Ce symbole (®) indique la commande permettant de régler la luminosité de l'éclairage du tableau de bord.
- Si on annule le gradateur d'éclairage, la luminosité du combiné d'instruments et de l'affichage des informations ne diminuera pas lorsqu'on remet l'interrupteur de phares sur la position éclairage ou Appuyer sur la commande d'éclairage du tableau de bord pour activer le gradateur d'éclairage.
Voyants/témoins

Avec compteur noir
Sans compteur noir

Les voyants/témoins apparaissent dans l'une des zones grisées.
| Signal | Voyants/témoins | Page |
| BRAKE | Voyant du système de freinage | 5-51 |
| Voyant du circuit de charge | 5-53 | |
| Voyant de pression d'huile moteur | 5-53 | |
| Voyant d'anomalie du moteur | 5-54 | |
| Voyant du système d'antiblocage de frein (ABS) | 5-52 | |
| Voyant du système de coussins d'air/dispositif de prétension de ceinture de sécurité avant | 5-54 | |
| Voyant de niveau bas de carburant | 5-55 | |
| Voyant de vérification du bouchon du réservoir de carburant | 5-55 | |
| Voyant de ceintures de sécurité | 5-55 | |
| Voyant de portière ouverte | 5-57 | |
| Voyant de niveau bas de liquide de lave-glace | 5-57 | |
| AT | Voyant de boîte de vitesses automatique | 5-57 |
| 4WD | Voyant du système toutes roues motrices (AWD) | 5-57 |
| Voyant du système de surveillance de pression des pneus | 5-58 | |
| Voyant KEY (rouge)/Témoin KEY (vert) | 5-61 | |
| Témoin d'immobilisateur | 5-62 | |
| Témoin de feu des route | 5-62 | |
| PRNDM | Témoin de position de plage de boîte de vitesse | 5-63 |
| Témoin TCS/DSC | 5-63 | |
| TCS OFF | Témoin TCS OFF | 5-64 |
| CRUISE | Témoin principal de régulateur de vitesse de croisière (ambre)/Témoin de réglage de régulateur de vitesse de croisière (vert) | 5-64 |
| BSM OFF | Témoin BSM OFF | 5-65 |
| ©00= | Témoin de faux allumés | 5-65 |
| ←→ | Témoins de clignotants et de faux de détresse | 5-65 |
Voyant du système de freinage

Cevoyantaless fonctionssuivantes:
Voyant de frein de stationnement
Levoyant s'allume lorsquelfrein de stationnement est appliquealors que le contacteur est sur la position START ou ON.II s'eteint lorsquelfrein de stationnement est complètement relaché.
Voyant de niveau bas de liquide de frein
Si levoyant reste allumé après que le frein de stationnement soit complètement relâché, cela peut indiquer une panne du système de freinage.
Voyant du système de freinage
S'allume s'il y a un problème du contacteur de frein.
Garer prudemment le vehicule sur le bord de la route.
La pédale peut être plus dure ou sa course peut être plus longue que normalement.
Dans ces deux cas, le vehicule prendra plus de temps pour s'arreter.
- Avec le moteur arrêté, ouvrir le capot et vérifier immédiatement le niveau du liquide de frein et ajouter ensuite du liquide au besoin (page 8-28).
- ÀpRES avoir ajouté du liquide, vérifier levoyant de nouveau.
Si levoyant reste allumé,ou si les freins ne fonctionnent pas correctement,ne pas conduire le vehicule. Faire remarquer jusqu'à un concessionnaire agreé Mazda.
Meme si levoyant s'eteint, faire vérifier le circuit de freinage des que possible par un concessionnaire agreé Mazda.
REMARQUE
Devoir ajouter du liquide de frein est\ quelquefois une indication de fuite. S'adresser\ à un concessionnaire agreé Mazda, dés que\ possible, même si levoyant de frein est étéint.
APRUDENCE
Ne pas conduire lorsque le voyant du système de freinage allumé. S'adresser à un concessionnaire agrée Mazda pour faire inspecter les freins dés que possible:
Le fait de conduire avec levoyant du système de freinage allumé est dangereux. Cela indique que les freins risquent de ne pas fonctionner. Si levoyant reste allumé, après s'être assure que le frein de stationnement est complètement relachué, faire vérifier immédiatement le système de freinage.
Voyant du système d'antiblocage de frein (ABS)

Levoyant resté allumé quelques secondes lorsquel contacteur est mis sur la position ON.
Si levoyant d'ABS reste allumé lors de la conduite, cela indique que l'unité d'ABS a détesté une anomalie dans le système. Dans ce cas, les freins fonctionnent normalement comme si le vehicule n'avait pas d'ABS.
Si cela se produit, consulter un concessionnaire/agréé Mazda dés que possible.
REMARQUE
- Lorsque le moteur est démarré à l'aide d'une batterie de secours, un régime moteur irrégulier se produit et il est possible que le voyant d'ABS s'allume. Si c'est le cas, la batterie est faible. Cela n'indique cependant pas une anomalie de fonctionnement du système ABS. Faire recharger la batterie des que possible.
- Le système d'assistance des freins ne fonctionne pas lorsque levoyant ABS est allumé.
Voyant du système électronique de distribution de force de freinage

BRAKE

Si l'unité de commande du système électronique de distribution de force de freinage déterminée que certaines composantes du système ne fonctionnent pas correctement, l'unité de commande peut allumer simultanément levoyant du système de freinage et levoyant d'ABS. Le problème est probablement du au système électronique de distribution de force de freinage.

PRUDENCE
Ne pas conduire lorsque levoyant d'ABS et levoyant du système de freinage sont allumés. Faire remarquer le vehicule chez un concessionnaire/agree Mazda des que possible pour une inspection des freins:
Le fait de conduire le vehicule lorsque levoyant d'ABS et levoyant du système de freinage sont tous les deux allumés est dangereux. Lorsque les deux voyants sont allumés,les roues arrière risquent de se bloquer plus rapidement en cas de freinage brusque que dans les conditions normales.
Voyant du circuit de charge

Ce voyant s'allume lorsque le contacteur est mis sur la position ON et s'estint lorsque le moteur démarre.
Si levoyant s'allumependantla conduite,这其中indiqueuneanomaliede l'alternateur ou du système de charge.
Garer prudemment le vehicule sur le bord de la route. S'adresser a un concessionnaire agreé Mazda.

ATTENTION
Ne pas continuer de conduire le vehicule lorsque le voyant du circuit de charge est allumé, car le moteur pourrait s'arreter inopinément.
Voyant de pression d'huile moteur

Cevoyant s'allume lorsquel contacteur est mis sur la position ON et s'eteint lorsque le moteur demarre.
Cevoyantindiqueque la pression del'huile moteur estasse.
Si levoyant s'allumependantla conduite:
- Garer prudemment le vehicule sur le bord de la route en terrain plat.
- Arreter le moteur et attendre 5 minutes afin de laisser l'huile returner dans le carter d'huile.
- Vérifier le niveau d'huile moteur (page 8-24) S'il est faible, ajouter la quantité adaptée d'huile moteur (veiller à ne pas ajouter une quantité trop importante).
- Demarrer le moteur et regarder levoyant.
S'il reste allumé malgré un ajust d'huile, arrêté le moteur immédiatement et faire remorquer le vehicule jusqu'à la station service la plus proche ou chez un concessionnaire/agree Mazda.

ATTENTION
Ne pas faire tournier le moteur si la pression d'huile moteur est basse. Cela peut cause de graves dommages au moteur.
Voyant d'anomalie du moteur

Cevoyant s'allume lorsquel contacteur est mis sur la position ON et s'eteint lorsque le moteur demarre.
Si cevoyant s'allumependantla conduite,
cela peut indiquer un problemedu
vehicule. Il est important de noter les
conditionsde conduite lorsquelevoyant
s'est allumé et s'adresser a un
concessionnaireagree Mazda.
Levoyant d'anomalie du moteur peut s'allumer dans les conditions suivantes:
- Le niveau de carburant dans le réservoir de carburant est très bas ou le réservoir est presque vide.
- Il y a une anomalie du système électrique du moteur.
- Il y a une anomalie du système antipollution.
- Le bouchon du réservoir de carburant est manquant ou pas assez serre.
Si levoyant d'anomalie du moteur reste allumé ou clignote continuellement, ne pas conduire à une vitesse élevée et s'adresser à un concessionnaire agréé Mazda dés que possible.
Voyant du système de coussins d'air/dispositif de prétension de ceinture de sécurité avant

Si le système de coussins d'air/dispositif de pretension de ceinture de sécurité avant est normal, levoyant s'allume lorsque le contacteur est mis à la position ON ou après que le moteur soit lancé. Le voyant s'éteint après une période de temps spécifique.
Une anomalie du système est indiquée par le fait que levoyant resteclignote,allumé ou ne s'allume pas du tout lorsque le contacteur est mis à la position ON.Dans un de ces cas,s'adresser à un concessionnaire agréed Mazda dés que possible. Le système risque de ne pas fonctionner en cas d'accident.
4 PRUDENCE
Ne jamais toucher au systèmes de coussin d'air/dispositif de prétension, et toujours confier tous les travaux l'entretien et de réparation à un concessionnaire/agréé Mazda:
Le fait de faire l'entretien soi-même ou de toucher au système est dangereux. Les coussins d'air/dispositif de prétension peuvent se déclencher accidentellement ou être désactivés causant des blessures graves ou mortelles.
Voyant de niveau bas de carburant

Levoyantde la jauge de carburant indique que le réservoir sera bientot vide. Faireleplaindésquepossible.
Voyant de vérification du bouchon du réservoir de carburant

Cevoyant s'allumependantquelques secondes lorsquel contacteur est mis sur la position ON.
Si levoyant de verification de bouchon du réservoir de carburant s'allume pendant que vous conduisez, il est possible que le bouchon du réservoir de carburant ne soit pas installe correctement. Arreter le moteur et réinstaller le bouchon de réservoir de carburant. Se reférer au Bouchon de réservoir de carburant à la page 3-42.
Voyant/bip de ceintures de sécurité

Levoyant de ceinture de sécurité s'allume et un signal sonore d'advertissement se fait entendre si la ceinture de sécurité du conducteur n'est pas bouclée lorsque le contacteur est mis à la position ON.
Conditions de fonctionnement
| Etat | Résultat |
| La ceinture de sécurité du conducteur n'est pas bouclée lorsque le contacteur est mis à la position ON. | Levoyant clignote et un signal sonore d'advertissement se fait entendre pendant environ 6 secondes. |
| La ceinture de sécurité du conducteur est bouclée pendant que le voyant et le signal sonore d'advertissement sont activés. | Levoyant s'éteint et le signal sonore d'advertissement s'arrête. |
| La ceinture de sécurité du conducteur est bouclée avant que le contacteur soit mis à la position ON. | Levoyant ne s'allume pas et le signal sonore d'advertissement ne se fait pas entendre. |
Rappel de bouclage des ceintures de sécurité
REMARQUE
Consulter un concessionnaire agrée Mazda pour désactiver ou reactiver le rappel de bouclage des ceintures de sécurité. Bien que le rappel de bouclage de ceinture de sécurité puisse être désactivié, le faire est contraire au but du système qui est d'avertir le conducteur et le passager avant que leurs ceintures de sécurité ne sont pas attachées. Mazda recommende de ne pas désactiver le rappel de bouclage de ceinture de sécurité afin de ne pasmettre en danger le conducteur et le passager avant.
Conducteur assis/passager avant non assis
Le dispositif de rappel de bouclage de ceinture de sécurité est un averissement supplémentaire qui s'ajoute à la fonction d'ajvement du port de la ceinture de sécurité. Si la ceinture de sécurité du conducteur n'est pas bouclée lorsque le contacteur est mis à la position ON, levoyant/signal sonore des ceintures de sécurité déclenché une averissement conforme à ce qui est indiquedans le tableau ci-dessous.
| Etat | Vitesse du vehicule | |||
| 0 — 20 km/h(0 — 12 mi/h) | 20 km/h(12 mi/h) ouplus | |||
| Ceinture de sécurité | O | X | O | X |
| Témoin | 辱 | 澡 | ||
| Bip | J | |||
O:Bouclée
X:Detachée
A:Allumé
:Clignotant
Bip
Une fois le bip sonore déclenché, celui-ci continue même si la vitesse du vehicule redescend au dessous de 20~km / h (12 mi/h), jusqu'à ce que la ceinture de sécurité soit bouclée ou que la durée du signal sonore soit expirée.
Conducteur assis/passager avant assis La fonction devoyant/bip de ceinture de sécurité indique au passager avant de boucler sa ceinture selon le diagramme suivant.
| Etat | Vitesse du vehicule | |||||||
| 0 — 20 km/h(0 — 12 mi/h) | 20 km/h(12 mi/h) ouplus | |||||||
| Ceinture de sécurité(Conducteur) | Og | Og | X | X | Og | Og | X | X |
| Ceinture de sécurité(Passager) | Og | X | Og | X | Og | X | Og | X |
| Témoin | X | X | X | X | X | |||
| Bip | X | X | X | |||||
O: Bouclée
X:Detachée
:Allumé
涤:Clignotant
Bip
Si des objets lourds sont placés sur le siège du passager avant, il est possible que la fonction de voyant/bip de ceinture de sécurité du passager avant s'enclenché, selon le poids de ces objets.
Une fois le bip sonore déclenché, celui-ci continue même si la vitesse du vehicule redescend au dessous de 20~km / h (12 mi/h), jusqu'à ce que la ceinture de sécurité soit bouclée ou que la durée du signal sonore soit expirée.
REMARQUE
- Pour permettre au capteur de chargement du siege de passager avant de fonctionner correctement, n'utiliser pas de coussin supplémentaire sur le siege pour vous asseoir. Le capteur risque de ne pas fonctionner correctement car il sera gené par le coussin additionnel.
- Lorsqu'un petit enfant s'assoit sur le siege du passager avant, il est possible que ni le voyant ni le bip ne s'enclenchent.
Voyant de portiere ouverte

Cevoyant s'allume lorsqu'une des portieres ou le hayon n'est pas correctement fermé.
Bien fermer la portière ou le hayon avant de conduire le vehicule.
Voyant de niveau bas de liquide de lave-glace*

Cevoyantindiquequ'ilne reste que très peu de liquide delave-glace.Ajouter du liquide (page 8-33).
Voyant de boîte de vitesses automatique
AT
Cevoyant reste allumependantquelques secondesapresque lecontacteuraitetemis sur la position ON.
Levoyant clignote pour indiquer un problème de la boîte de vitesses.
ATTENTION
Si levoyant de boite de vitesses automatique clignote, cela indique un problemeelectrique de la boite de vitesses. Si I'on continue de conduire dans ces conditions cela peut endommager la boite de vitesses.
Consulter un concessionnaire agréé Mazda dés que possible.
Voyant du système toutes roues motrices (AWD)
4WD
Cevoyant reste allumépendantquelques secondes après que le contacteur ait eté mis sur la position ON.
Ensuite, levoyant s'allume ou clignote dans les conditions suivantes:
- Il s'allume s'il y a un problème du système de AWD.
Voyants/témoins et avertisseurs sonores
- Clignote si la température de l'huile du différentiel surchauffe.
- Clignote s'il y a en permanence une grande différence de vitesse de rotation des roues avant et arrêté, ce qui peut arriver par exemple lorsque le vehicule se trouve sur une surface glissante ou qu'il est embourbé dans de la boue, du sable, etc.
Si levoyantAWD s'allume:
Si levoyantAWD s'allume,s'adresser a un concessionnaireagreeedMazda.
Si levoyant AWD clignote:
Garer le vehicule dans un endroit sûr.
Après quelques moments, si levoyant arrêté de clignoter, la conduite peut être reprise. Si le témoin ne cette pas de clignoter, s'adresser à un concessionnaire agréé Mazda.
PRUDENCE
Ne jamais faire tourner à vide une roue qui n'est pas en contact avec le sol:
Le fait de faire tourner à vide une roue qui n'est pas en contact avec le sol lorsque le vehicule est coince ou dans un ravin est dangereux. Le mecanisme d'entrainment peut subir des dommages et causer un accident ou même entrainer une surchauffe, une fuite d'huile et un incendie.
Voyant du système de surveillance de pression des pneus (TPMS)*

Cevoyant s'allume pendantquelques secondes lorsquel contacteur est mis sur la position ON.
Ensuite, levoyant s'allume et un bip sonore retentit lorsque la pression de gonflage d'un ou plusieurs des pneus est trop basse, et il clignote en cas d'anomalie du système.
APRUDENCE
Si levoyant du systeme de surveillance de pression des pneus s'allume ou clignote, ou si I'avertisseur sonore de pression des pneus retentit, ralentir immediatement et eviter de manoeuvrer et freiner brusquement:
Si levoyant du système de surveillance de pression des pneus s'allume ou clignote, ou si l'avertisseur sonore de pression des pneus retentit, il est dangereux de conduire le vehicule à hautes vitesses, ou de manœuvrer ou freiner brusquement. Le contrôle du vehicule peut être affecté, ce qui peut causeur un accident.
Pour déterminer s'il y a uneuite d'air progressive ou un pneu à plat, se garer à un endroit sur où l'on peut vérifier visuellement l'état du pneu, et déterminer s'il y a encore assez d'air pour pouvoir se rendre à un endroit où l'on pourrait faire regonfler le pneu et vérifier le système, chez un concessionnaire agréé Mazda ou dans un atelier de réparation de pneus.
Ne pas ignorer levoyant TPMS:
Le fait d'ignorer le voyant TPMS est dangereux, même si l'on sait pourquoi il est allumé. Corriger tout problème des que possible avant qu'il ne se transforme en une situation dangereuse qui peut cause la défaillance d'un pneu et un accident grave.
Voyant allumé/vertisseur sonore retentit
Lorsque levoyant du systeme de surveillance de pression des pneus s'allume ou lorsque I'avertisseur sonore de pression des pneus retentit (environ 3 secondes),la pression de gonflage est tropasse dans l'un ou plusieurs des pneus.
Régler la pression des pneus à la valeur correcte. Se référer au tableau de gonflage des pneus (page 10-7).
ATTENTION
Lors du remplacement ou de la réparation des pneus, des jantes ou des deux, faire faire le travail par un concessionnaire agréé Mazda, sinon les capteurs de pression des pneus peuvent être endommages.
REMARQUE
- Effectuer le réglage de pression des pneus lorsque les pneus sont froids. La pression de gonflage des pneus varie selon la température des pneus; il faut donc laisser le vehicule au repos pendant une heures ou ne pas le conduire plus de 1,6km (1 mille) avant de régler la pression de gonflage des pneus. Lorsque la pression est réglée sur des pneus chauds selon une pression de gonflage froide, le voyant/bip sonore TPMS pourrait s'allumer après que les pneus soient refroidis et que la pression ne soit devenue inférieure aux specifications. Un voyant TPMS allumé résultat d'une baisse de la pression de gonflage des pneus due à une température ambiente froide peut s'éteindre si la température ambiente s'élove. Dans ce cas, il sera également nécessaire d'ajuster les pressions de gonflage des pneus. Si le voyant TPMS s'allume à cause d'une baisse de la pression de gonflage des pneus, s'assurer de vérifier et d'ajuster les pressions.
-
Une fois les pressions de gonflage ajustées, un certain temps peut être nécessaire pour que levoyant TPMS s'éteigne. Si levoyant TPMS reste allumé, conduite le vehicule à une vitesse d'au moins 25km / h (16 mi/h) pendant 10 minutes, puis vérifier qu'il s'éteint.
-
Les pneus perdent naturellement un peu d'air avec le temps et le système TPMS ne peut pas déterminer si les pneus se sont dégonfés avec le temps ou si un pneu est à plat. Toutefois, si un seul pneu parmi les quatre est dégonfle,eci indique une anomalie; il faut alors que quelqu'un fasse avancer le vehicule lentement afin qu'on puisse vérifier si le pneu dégonfle comporte des entailles ou un objet de métal dépassant de la bande de roulement ou de la paroi du pneu. Mettre quelques gouttes d'eau sur la tige de la valve pour voir s'il ne se forme pas de bulles indiquant une valve en mauvais état. Il faut réparer les fuites et non se contentier de reckonfler le pneu dégonfle, car les fuites sont dangereuses - confier le pneu à un concessionnaire agrée Mazda possédant tout l'équipment nécessaire pour réparer les pneus, les systèmes TPMS, et commander le pneu de rechange convenant le moyen au vehicule.
Si levoyant du système de surveillance de pression des pneus s'allume de nouveau même après que les pressions des pneus soient regliées, cela peut indiquer la presence d'une crevaison. Remplacer le pneu creve par la roue de secours-temporaire (page 7-6).
REMARQUE
La roue de secours à usage-temporaire ne possède pas de capteur de pression du pneu. Levoyant clignotera continuellement tant que la roue de secours à usage temporaire est utilisée.
Voyant clignote
Lorsque levoyant clignote, cela peut indiquer une anomalie du système. S'adresser a un concessionnaire agreé Mazda.
Voyant KEY (rouge)/Témoin KEY (vert) (avec clé avancée)

Ce témoin a deux couleurs.
Voyant KEY (rouge)
Lorsque allumé
Lorsque le contacteur est tourné sur ON, il s'allume momentanément puis s'éteint.
Si une défaillance se produit dans le système d'ouverture à télécommande avancé, il s'allume en continu.
4 PRUDENCE
Ne pas conduire le vehicule lorsque le voyant KEY est allumé:
Si levoyant KEY reste allumé,ne pas continuer l'utilisation du systeme d'ouverture à télécommande. Garer le vehicule dans un endroit sur et utiliser la clé auxiliaire pour continuer la conduite.Faire inspecter le vehicule chez un concessionnaire agreé Mazda des que possible.
Lorsque clignotant
- Dans les conditions suivantes, levoyant KEY (rouge) clignote pour informer le conducteur que le bouton de démarrage ne tournera pas en position ACC même s'il est enforcé à partir de la position OFF/LOCK.
La pile de la clé avancée est complètement décharge.
- La clé avancée ne se trouve pas dans la plage de fonctionnement.
- La clé avancée se trouve dans des zones où le système parvient difficilement à détecter le signal (page 3-8).
- Une clé d'un autre constructeur comparable à la clé avancée se trouve dans la plage de fonctionnement.
-
Dans les conditions suivantes, levoyant KEY (rouge) clignotera en continu lorsque le bouton de démarragenn'aura pas ete remis en position OFF/LOCK pour avertir le conducteur que la cle avancee a ete retiree du vehicule. Il s'arrertera de clignoter lorsque la cle avancee sera replacee dans le vehicule.
-
Le bouton de démarriage n'a pas été remis en position OFF/LOCK, la portière du conducteur est ouverte et la clé avancée est retiree du vehicule.
- Le bouton de démarrage n'a pas été remis en position OFF/LOCK et toutes les portes sont fermées après que la clé avancée ait est rétirée du vehicule.
REMARQUE
LevoyantclignotantKEY(rouge)et l'avertisseurfonctionnesimultanement (page 3-22).
Témoin KEY (vert)
Lorsque allumé
Lorsque le bouton de démarrage est enforcé à partir de la position OFF/ LOCK, le système confirme que la clé avancée adequate se trouve à l'intérieur du vehicule, le témoin KEY (vert) s'allume, et le bouton de démarrage peut être tourné en position ACC (page 3-11).
Lorsque clignotant
Lorsque la pile de la clé avancée est faible, le témoin KEY clignote pendant 30 secondes après que le bouton de démarriage ait été passé de la position ON à la position ACC ou à la position OFF/ LOCK. Remplacer par une pile neuve avant que la clé avancée ne devienne inutilisable (page 3-7).
REMARQUE
La clé avancée peut être programmée pour que le témoin KEY (vert) ne clignote pas même lorsque la pile est faible.
Se référer à Fonctions de personnelisation à la page 10-9.
Témoin d'immobilisateur

Ce témoin clignote à intervalles de 2 secondes lorsqu'le contacteur est placé de la position ON à la position ACC et que le système d'immobilisation est armé.
Le témoin cesse de clignoter lorsque le contacteur est mis sur la position ON à l'aide de la clé de contact correcte.
Le système d'immobilisation est alors désarmé et le témoin reste allumé pendant 3 secondes environ, puis s'éteint.
Si le moteur ne démarre pas à l'aide de la clé de contact correcte et que le témoin de sécurité reste allumé ou clignote, il peut y avoir un mauvais fonctionnement du système. S'adresser à un concessionnaire/agréé Mazda.
Témoin de feuix de route

Ce témoin indique une des deux conditions suivantes:
- Les phares sont allumés en position de deux de route.
- Le levier des clignotants est en position d'elles de phares.
Témoin de position de plage de boîte de vitesse
Ce témoin indique la position de plage de boîte de vitesse sélectionnée lorsque le contacteur est mis sur ON.



M-D

Témoin de position de rapport
En mode manuel, la dette "M" du témoin de position de plage s'allume et le numéro correspondant au rapport sélectionné s'affiche au niveau du témoin de position de rapport.
Témoin TCS/DSC

Ce témoin s'allume pendant quelques secondes lorsque le contacteur est mis sur la position ON. Si le système de commande de traction ou de commande dynamique de stabilité fonctionne, le témoin clignote.
Si le témoin reste allumé, cela peut indiquer une anomalie du système de commande de traction ou du système de commande dynamique de stabilité et ils peuvent ne pas fonctionner correctement. Faire vérifier le vehicule par un concessionnaire/agree Mazda.
Témoin TCS OFF
TCS OFF
Ce témoin s'allume pendant quelques secondes lorsque le contacteur est mis sur la position ON.
Il s'allume aussi lorsque l'interrupteur TCS OFF est pressé et que le système de commande de traction est mis hors fonction.
Se référer à Interrupteur TCS OFF à la page 5-28.
Si le témoin reste allumé et le système de commande de traction n'est pas mis hors fonction, faire vérifier le vehicule par un concessionnaire/agree Mazda. Cela peut indiquer une anomalie du système de commande dynamique de stabilité.
REMARQUE
Si la batterie est déconnectée ou qu'un fusible est replacé, le système de commande dynamique n'est pas disponible. Dans un tel cas, le témoin TCS OFF clignote et le témoin TCS/DSC s'allume.
Pour reactiver le système de commande dynamique, proceder comme suit avec la batterie connectée.
- Mettre le contacteur en position ON.
- Tourner le volant complètement dans le sens des aiguilles d'une montre, puis complètement dans le sens inverse.
- S'assurer que le témoin TCS OFF s'éteint.
- Éteignez le contacteur, puis le remetre sur ON.
- S'assurer que le témoin TCS/DSC s'éteint.
Si le témoin TCS/DSC et le témoin TCS OFF restent allumés même après qu'on ait tourné le contacteur de ON à OFF, puis de nouveau à ON, essayer à nouveau d'effectuer la procédure. Si ceci ne résout toujours pas le problème, s'adresser à un concessionnaire/agréé Mazda.
Témoin principal de régulateur de vitesse de croisière (ombre)/ Témoin de réglage de régulateur de vitesse de croisière (vert)
CRUISE
Ce témoin a deux couleurs.
Témoin principal de régulateur de vitesse de croisière (âmbre)
Ce témoin s'allume amber lorsque l'interrupteur ON est pressé et le système de régulateur de vitesse de croisière est activé.
Témoin de réglage du régulateur de vitesse de croisière (vert)
Ce témoin s'allume vert lorsqu'une vitesse de croisière est réglée.
Témoin BSM OFF
BSM OFF
Cevoyant s'allume pendantquelques secondes lorsquel contacteur est mis sur la position ON.
Le témoin BSM OFF s'allume lorsque le système BSM est désactivé à l'aide de l'interrupteur BSM OFF.
En cas d'anomalie de fonctionnement du système BSM, le témoin clignote.
S'adresser à un concessionnaire/agréé Mazda.
REMARQUE
Si le vehicule est utilisé sur une route avec peu de circulation et peu de vehicules pouvant être détectés par les capteurs radars, il est possible que le fonctionnement du système soit interrompu (le tímoin BSM OFF du tableau de bord clignote). Ceci n'indique toute fois pas une anomalie.
Témoin de feuels allumes

Ce témoin s'allume lorsque les deux exceux extérieurs et l'éclairage du tableau de bord sont allumés.
Témoins de clignotants et de deux de détresse

Lorsque les clignotants sont utilisés, le témoin gauche ou droit de clignotant clignote pour indiquer quel clignotant fonctionne (page 5-74).
Lorsque les feuels de détresse sont utilisés, les deux tímoins de clignotant clignotent (page 5-81).
REMARQUE
Si un témoin reste allumé (ne clignote pas) ou s'il clignote anormalement, l'une des ampoules du clignotant peut être grillée.
Avertisseurs sonores
Signal sonore d'avertissement de dispositif de pretension de ceinture de sécurité avant/ coussin d'air
Si un mauvais fonctionnement est detecté dans les systèmes de dispositif de pretension de ceinture de sécurité avant/ coussin d'air et leurs voyants, un signal sonore d'avertissement retentira pendant environ 5 secondes toutes les minutes.
Le signal sonore d'advertisement de dispositif de pretension de ceinture de sécurité avant/oussin d'air continuae de retentir pendant environ 35 minutes. Faire inspector le vehicule par un concessionnaire agrée Mazda des que possible.
APRUDENCE
Ne pas conduire le vehicule avec le signal sonore d'advertissement de dispositif de pretension de ceinture de sécurité avant/ coussin d'air qui retentit: Le fait de conduire le vehicule avec le signal sonore d'advertissement de dispositif de pretension de ceinture de sécurité avant/ coussin d'air qui retentit est dangereux. En cas de collision, les coussins d'air et le dispositif de pretension de ceinture de sécurité avant ne se déploieront pas, ceci peut cause la mort ou des blessures graves. S'adresser à un concessionnaire/agréé Mazda pour faire inspector le vehicule dés que possible.
Avertisseur sonore de ceinture de sécurité
Si la ceinture de sécurité du conducteur n'est pas bouclée lorsque le contacteur est mis sur la position ON, un bip sonore est émis pendant 6 secondes environ. Si la ceinture de sécurité du conducteur ou du passager avant n'est pas bouclée et le vehicule est conduit à une vitesse dépassant 20~km / h (12 mi/h) environ, un nouveau bip sonore se déclenchera pendant un laps de temps spécifique. Consulter Voyant/bip de ceintures de sécurité à la page 5-55.
Rappel de clé au contact
Si le contacteur est en arrêt ou ACC lorsque la clé est insérée, un bip retentira en continu lorsque la portière du conducteur est ouverte.
▼Rappel de frein de stationnement
Si le frein de stationnement n'a pas eté complètement relâché et que l'on conduit le vehicule à 5km / h (3mi / h) ou plus, un bip sonore continu retentira pour avertir le conducteur que le frein de stationnement n'a pas eté relâché.
Avertisseur sonore de surveillance de pression des pneus*
L'avertisseur sonore retentit pendant 3 secondes environ s'il y a une anomalie des pressions de gonflage des pneus (page 5-31).
Voyant du système à télécommande*
Les témoins de la clé avancée, comme "l'avertisseur que la clé avancée a été retiree du vehicule",utilisent un bip sonore et des témoins/avertisseurs sur le tableau de bord.
Consulter Voyants et avertisseurs sonores à la page 3-20.
Commanded'éclairage
VPhares
ATTENTION
(Avec position AUTO)
Ne pas obscurir le capteur optique en collant une étiquette ou un autocollant sur le pare-brise. Le capteur optique risquerait de ne pas fonctionner correctement.

Le capteur optique fonctionne aussi comme capteur de pluie pour la commande automatique des essuie-glace. Ne pasapprocher les mains et les grattoirs du pare-brise lorsque le levier d'essuie-glaces est sur la position AUTO et que le contacteur est sur la position ON, car les doigs pourraient etre pincés ou les essuie-glaces et les balais d'essuie-glaces pourraient etre endommages lorsqu'ils sont activés automatiquement.Lorsqu'on veut nettoyer le pare-brise,veiller a eteindre complètement les essuie-glaces - en particulier lorsqu'on elimine la glace et la neige - surtout s'il est très tentant de laisser le moteur tourner.
REMARQUE
- Si on laisse l'interrupteur d'éclairage sur la position de marche, les feu s'éteindron automatiquement environ 30 secondes après qu'on ait mis le contacteur sur ACC ou à l'arrêt.
- Pour éviter de décharger la batterie, ne pas laisser les feuux allumés lorsque le moteur ne tourne pas à moins que la sécurité ne l'excige.
(Avec position AUTO)
- Il est possible que les phares, autres éclairages extérieurs et éclairage du tableau de bord ne s'éteignent pas immédiatement même si la zone environnante est bien éclairée car le capteur optique détermine que c'est la nuit si la zone environnante est continuellement obscure pendant plusieurs minutes, par exemple à l'intérieur de longs tunnels, lors de bouchons dans un tunnel ou dans des parkings couverts.
Dans ce cas, l'éclairage s'éteint si l'interrupteur d'éclairage est mis sur la position OFF.
- Le délambda pour allumer les phares, autres éclairages extérieurs et éclairage du tableau de bord peut être régèle en ajustant la sensibilité du capteur optique. Consulter un concessionnaire/agree Mazda concernant l'ajustement du capteur.
- La sensibilité des voyants AUTO peut être modifiée par un concessionnaire/agréé Mazda.
- L'éclairage du tableau de bord peut être régé en tournant la commande du combiné d'instruments. Le mode jour/nuit peut aussi être changé en appuyant sur la commande. Pour régler la luminosité de l'éclairage du tableau de bord: Se référer à Eclairage du tableau de bord à la page 5-47.
AUTO (Commande d'éclairage automatique)
Lorsque la commande des phares est à la position AUTO et que le contacteur est mis sur la position ON, le capteur optique détecte la clarté ou l'obscurité environnante et allume ou étant automatiquement les phares, autres éclairages extérieurs et l'éclairage du tableau de bord (voir le tableau ci-dessus).
Type A (sans position AUTO)

Tournier la commande des phares pour allumer et éteindre les phares, autres éclairages extérieurs et éclairage du tableau de bord.
Contacteur sur ON
| Position de l'interrupteur | OFF | Ø0ØØ | ØØ |
| Phares | Eteints | Eteints | Allumés |
| Feux arrêté | |||
| Feux de stationnement | Eteints | Allumés | Allumés |
| Feux de plaque d'immatriculation | |||
| Feux de position latéraux | |||
| Eclairage du tableau de bord |
Contacteur sur OFF
| Position de l'interrupteur | OFF | Ø0Ø | Ø |
| Phares | Eteints | Eteints | Allumés |
| Feux arrêtè | |||
| Feux de stationnement | |||
| Feux de plaque d'immatriculation | Eteints | Allumés | Allumés |
| Feux de position latéaux | |||
| Eclairage du tableau de bord |

Type B (avec position AUTO)
Tourner la commande des phares pour allumer et éteindre les phares, autres éclairages extérieurs et éclairage du tableau de bord.
Contacteur sur ON
| Position de l'interrupteur | OFF | AUTO | ©002 | ©0 |
| Phares | Eteints | Automatique | Eteints | Allumés |
| Feux arrêté Feux de stationnement Feux de plaque d'immatriculation Feux de position latéraux Eclairage du tableau de bord | Eteints | Allumés | Allumés |
Contacteur sur OFF
| Position de l'interrupteur | OFF | AUTO | ∃005 | ∃D |
| Phares | Eteints | Eteints | Eteints | Allumés |
| Feux arrêté Feux de stationnement Feux de plaque d'immatriculation Feux de position latéraux Eclairage du tableau de bord | Eteints | Eteints | Allumés | Allumés |
Type C (Feux de position diurnes avec position AUTO)
REMARQUE
Les feu de position diurnes s'eteignent lorsque le frein de stationnement est appliqué.
Les feu desposition diurnes s'allument automatiquement lorsque le contacteur est mis sur la position ON.

Tournier la commande des phares pour allumer et éteindre les phares, autres éclairages extérieurs et éclairage du tableau de bord.
Contacteur sur ON
| Position de l'interrupteur | OFF | AUTO | €0.00 | €0 |
| Phares | Allumés*1 | Automatique*2 | Allumés*1 | Allumés |
| Feux arrêté Feux de stationnement Feux de plaque d'immaticulation Feux de position latéraux Eclairage du tableau de bord | Eteints | Allumés | Allumés |
Contacteur sur OFF
| Position de l'interrupteur | OFF | AUTO | ÉOÉ | ÉD |
| Phares | Eteints | Eteints | Eteints | Allumés |
| Feux arrêté | ||||
| Feux de stationnement | ||||
| Feux de plaque d'immatriculation | Eteints | Eteints | Allumés | Allumés |
| Feux de position latéraux | ||||
| Eclairage du tableau de bord |
1 Feux de position diurnes allumés
2 Les réglages des phares et des autres éclairages changent automatiquement selon la luminosité environnante déetectée par le capteur.
Ampôules de phares à décharge en xénon*
Les ampoules des yeux de croissement des phares sont des ampoules à décharge en xénon qui produit un faisceau blanc sur une large zone.

PRUDENCE
Ne pas remplacer les ampoules à décharge en xénon soi-même:
Le fait de replacer des ampoules à décharge en xénon soit est dangereux. Etant donné que les ampoules à décharge en xénon requisite une tension elevée, on risque de subir une décharge électrique si les ampoules ne sont pas manipulées correctement. Lorsque le remplacement des ampoules est requis, s'adresser à un concessionnaire agréé Mazda.
REMARQUE
Si les phares tremblotent, ou si leur luminosité diminue, la durée de vie utile des ampoules peut être finie et elles doivent être replacées. S'adresser à un concessionnaire/agréé Mazda.

Feux de route/croisement
Appuyer sur le levier vers l'avant pour allumer les frais de route.
Tirer le levier vers l'arrière jusqu'à sa position d'origine pour allumer les yeux de croissement.


Appel de phares
Pour faire un appel de phares, tirer le levier à fond vers soi (l'interrupteur des phares n'a pas besoin d'être sur la position de marche). Le levier reviendra automatiquement à la position normale lorsqu'il est relachué.

Réglage de hauteur des phares
Le nombre de passagers et la charge dans le compartment à bagages change l'angle des phares.
L'interrupteur de réglage de hauteur des phares est utilisé pour ajuster l'angle des phares manuellement.

Selectionner l'angle de phare approprié dans le tableau suivant.
| Siège avant | Siège arrière | Charge | Position de l'intérpreneur | |
| Conduc- teur | Passager | |||
| × | — | — | — | 0 |
| × | × | — | — | 0 |
| × | × | × | — | 1 |
| × | × | × | × | 2 |
| × | — | — | × | 3 |
×: Oui
:: Non
Feux de position diurnes (Canada)
Au Canada, les vehicules doivent etre utilisés de jour avec les phares allumés.
Pour cette raison, les feu des positions diurnes s'allument automatiquement lorsque le contacteur est mis sur la position ON.
REMARQUE
Les feu de position diurnes s'eteignent lorsque le frein de stationnement est applique.
Clignotants et changement de file
Clignotants
Déplacer le levier vers le haut (pour un virage vers la droite) ou vers le bas (pour un virage vers la gauche) à partir de la position d'arrêt. Le clignotant s'annule automatiquement après la sortie du virage.
Si le témoin continue de clignoter après un virage, remetre manuellement le levier en position d'arrêt.

Les témoins verts du tableau de bord illustrent quel signal est en fonction.
Changement de file
Déplacer le levier partiellement dans la direction du changement, jusqu'à ce que le témoin clignote, et le maintainir. Il returne automatiquement à la position d'arrêt lorsqu'il est relachué.
REMARQUE
Si un des témoins reste allumé sans clignoter ou s'il clignote de manière anormale, cela peut indiquer que l'une des ampoules du clignotant est brûlée.
Antibrouillard*
Utiliser cet interrupteur pour allumer les antibrouillards. Ils aident à voir et à être vu.
Pour allumer les antibrouillards, tourner l'interrupteur d'antibrouillards à la position #0.
L'interrupteur des phares doit etre sur la position 0 avant de pouvoir allumer les antibrouillards.

Pour les eteindre, tourner l'interrupteur d'antibrouillards à la position OFF oumettre la commande des phares sur la position 三 0 区 ou OFF.
REMARQUE
- Les antibrouillards s'éteignent lorsque les phares sont en position deieux de route.
(Avec commande d'éclairage automatique) Si l'interrupteur d'antibrouillards est sur la position ON et que la commande des phares est sur la position AUTO, les antibrouillards s'allumeront lorsque les phares, les éclairages extérieurs et l'éclairage du tableau de bord s'allumeront automatiquement.
Essuie-glace et lave-glacedepare-brise
Le contacteur doit être mis sur la position ON.

PRUDENCE
N'utiliser que du liquide de lave-glace de pare-brise ou de I'eau pure dans le réservoir de liquide:
L'utilisation de liquide antigel comme liquide de lave-glace est dangereuse. Si pulverisé sur le pare-brise, il le salira, généra la visibilité et cela peut causer un accident.
N'utiliser que du liquide de lave-glacmeIangé à une solution de protection antigel lorsqu'il gèle:
L'utilisation de liquide de lave-glace sans solution de protection antigel lorsqu'il gèle est dangereuse, le pare-brise risque en effet de geler et de génér la vision du conducteur, ce qui peut entrainer un accident. Veiller également à ce que le pare-brise soit suffisamment chaud, en utilisant le dégivreur, avant de projeter le liquide de lave-glace.
REMARQUE
Etant donne qu'une couche épaisse de glace ou de neige peut empêcher le fonctionnement des essuie-glace, le moteur des essuie-glace est protégé contre le bris, la surchauffé et la possibilité de feu par un disjoncteur. Ce mécanisme arrêté le fonctionnement des essuie-glace pendant 5 minutes environ. Dans ce cas,mettre la commande d'essuieglace hors circuit et se garer sur le bord de la route, puis retirer la neige et la glace.
Après 5 minutes,mettre la commande en circuit et les essuie-glace devraient fonctionner normalement.Sils ne fonctionnent pas, s'adresser a un concessionnaire agreeed Mazda, desp que possible.Garer prudemment le vehicule sur le bord de la route. Attendre que le temps s'améliore avant de tenter de conduire avec les essuie-glace en panne.
Essue-glace de pare-brise
Appuyer sur le levier vers le haut ou vers le bas pourmettrelesessuie-glaces en marche.
Avec position INT

| Position de l'interrupteur | Fonctionnement des essuie-glaces | |
| ① | MIST | Cycle d'essuie-glace unique (buée) |
| ② | INT | Intermittent |
| ③ | LO | Petite vitesse |
| ④ | HI | Grande vitesse |

Avec position AUTO
| Position de l'interrupteur | Fonctionnement des essuie-glaces | |
| ① | MIST | Cycle d'essuie-glace unique (buée) |
| ② | AUTO | Commande automatique |
| ③ | LO | Petite vitesse |
| ④ | HI | Grande vitesse |
Essuie-glace intermittent à vitesse variable
Mettre le levier sur la position intermittente et tourner la bague pour selectionner la durée de l'intervalle.

AUTO (commande automatique des essuie-glace)
Lorsque le levier d'essuie-glace est à la position AUTO, le capteur de pluie détecte la quantité de pluie sur le pare-brise et commande les essuie-glaces automatiquement (arret—intermittent—petite vitesse—grande vitesse).
La sensibilité du capteur de pluie peut être réglée en tournant l'interrupteur sur le levier d'essuie-glace.
A partir de la position centrale (normale), tourner l'interrupteur vers le bas pour une sensibilité plus élevé (une réponse plus rapide) ou tourner l'interrupteur vers le haut pour une sensibilité moins élevé (une réponse plus lente).


ATTENTION
Ne pas obscurir le capteur de pluie en collant une etiquette ou un autocollant sur le pare-brise. Le capteur de pluie risquerait de ne pas fonctionner correctement.

Lorsque le levier d'essuie-glace est sur la position AUTO et que le contacteur est mis sur la position ON, les essuie-glaces peuvent semettre en marche automatiquement dans les cas suivants:
Si le pare-brise au-dessus du capteur de pluie est touché ou essuyé avec un chiffon.
Si le pare-brise est.frappé avec la main ou un autre objet à partir de l'extérieur ou de l'intérieur du vehicule.
Ne pasapprocher les mains et les grattoirs du pare-brise lorsque le levier d'essuie-glaces est sur la position AUTO et que le contacteur est sur la position ON,car les doigts pourraient etre pincés ou les essuie-glaces et les balais d'essuie-glaces pourraient etre endommages lorsqu'ils sont actives automatiquement. Lorsqu'onveut nettoyerlepare-brise,veilleraesteindre complètementles essuie-glaces — surtout lorsqu'on elimine la glace et la neige — quand on laisse le moteur tourner.
REMARQUE
-
Le fait de déplacer le levier de fonctionnement automatique des essuie-glaces de la position OFF à la position AUTO lors de la conduite du vehicule à une vitesse de 4km / h (2 mi/h) ou plus (ou après avoir conduit le vehicule), active les essuie-glaces une fois; ils fonctionnent ensuite de manière adaptée à la quantité de plue.
-
La commande automatique des essuie-glace peut ne pas fonctionner lorsque la température du capteur de pluie est inférieure à -10^ ( 14^ ) ou supérieure à 85^ ( 185^ ).
- Si le pare-brise est enduit d'un produit hydrofuge, le capteur de pluie peut ne pas pouvoir détecter correctement la quantité de pluie et la commande automatique des essuie-glace peut ne pas fonctionner correctement.
- Si de la saleté ou des corps étrangers (par exemple de la glace ou autre contenant du sel d'épandage) adhérent au pare-brise au niveau du capteur de pluie ou si le pare-brise est recouvert de glace, cela pourrait causeer le fonctionnement automatique des essuie-glace. Cependant, si les essuie-glace ne peuvent pas-retirer la glace, ces saletés ou corps étrangers, la commande automatique des essuie-glace arrêtea le fonctionnement. Dans un tel cas,mettre le levier d'essuie-glace à la position petite vitesse ou grande vitesse pour un fonctionnement manuel, ou retirer la glace, la saleté ou les corps étrangers à la main pour rétabrir le fonctionnement automatique des essuie-glaces.
- Si vous laissiez le levier de fonctionnement automatique des essuie-glaces en position AUTO alors les essuie-glaces peuvent fonctionner automatiquement sous l'effet de puissantes sources lumineuses, d'ondes electromagnétiques ou de lumière infrarouge parce que le détecteur de plue utilise un capteur optique. Il est recommendé que le levier de fonctionnement automatique des essuie-glaces soit basculé sur la position OFF lorsque vous conduisez un vehicule dans des conditions pluvieuses.
Lave-glace de pare-brise
Tirer le levier vers soi et le maintainir pour faire jaillir le liquide de lave-glace.

REMARQUE
Avec le levier d'essuie-glace à la position OFF ou INT (Type A)/AUTO (Type B), les essuie-glace fonctionnement continulement jusqu'à ce que le levier soit relâché.
Si le lave-glace ne fonctionne pas, vérifier le niveau du liquide de lave-glace (page 8-33). Si cela est normal, s'adresser à un concessionnaire agréé Mazda.
Essuie-glace et lave-glaced Lunette arrriere
Le contacteur doit être mis sur la position ON.
Essue-glace de lunette arrière

Mettre l'essuie-glace arrêté en marche en tournant la commande d'essuie-glace et de lave-glace de lunette arrêté.
ON — Normal
INT - Intermittent
Lave-glace de lunette arrête
Pour faire jaillir le liquide de lavage, tourner la commande d'essuie-glace et de lave-glace de lunette arrête sur la position 巧 .Lorsque la commande est relachée,le lave-glace s'arrête.
Si le lave-glace ne fonctionne pas, vérifier le niveau du liquide de lave-glace (page 8-33). S'il est normal et que le lave-glace ne fonctionne toujours pas, s'adresser à un concessionnaire agréé Mazda.
Dégivreur de lunette arrière
Le dégivre de lunette arrête retire le givre, la buée et la glace fine de la lunette arrête.
Le contacteur doit être mis sur la position ON.
Appuyer sur l'interrupteur pour allumer le dégivreur de lunette arrière. Le dégivreur de lunette arrête fonctionne pendant 15 minutes environ, puis s'esteint automatiquement.
Le témoin s'allume pendant le fonctionnement du dégivreur de lunette arrête.
Pour arrêter le fonctionnement du dégivreur de lunette arrêté avant la fin des 15 minutes, appuyer de nouveau sur l'interrupteur.


ATTENTION
Ne pas utiliser d'objets coupants ou des produits de nettoyage pour vitres contenant des abrasifs pour nettoyer l'intérieur de la vitre de lunette arrière. Cela risquerait d'endommager les filaments conducteurs collés à l'intérieur de la lunette arrière.
REMARQUE
Ce dégivre n'est pas concu pour faire fondre la neige. S'il y a une accumulation de neige sur la lunette arrête, la retirer avant d'utiliser le dégivre.
Dégivreur de rétroviseur
Pour enclencher les dégivreurs de rétroviseurs,mettre le contacteur sur la position ON et appuyer sur l'interrupteur du dégivreur de lunette arrière (page 5-79).
Avertisseur
Pour faire retentir l'avertisseur, appuyer sur le repere marqué sur le volant de direction.
Feux de détresse
Les yeux de détresse doivent toujours être utilisés lorsqu'on effectue un arrêt d'urgence du vehicule sur la chaussée ou à proximité de cette-ci.
Les feu de détresse doivent toujours être utilisés lorsqu'lon s'arrête sur ou pres d'une route.

Appuyer sur l'interrupteur de deux de détresse et tous les clignotants clignoteront.
REMARQUE
- Les clignotants ne fonctionnent pas lorsque les frais de détresse sont utilisés.
- Vérifier les règlements locaux concernant l'utilisation des feuels de détresse lors du remorquage du vehicule afin de s'assurer que ceci ne constitue pas une infraction.
Système de télécommande HomeLink*
REMARQUE
HomeLink et le logo HomeLink sont des marques de commerce enregistrées de Johnson Controls.
Le système HomeLink remplace jusqu'à 3 télécommandes en un seul composant intégré an rétroviseur à anti-éblouissement automatique. Il est possible de commander des portes de garage, des barrières et autres dispositifs en appuyant sur les touches HomeLink sur le rétroviseur à anti-éblouissement automatique.

PRUDENCE
Ne pas utiliser le système HomeLink avec un ouvre-porte de garage qui ne possède pas de dispositif d'arrêt automatique et de marche arrêté:
L'utilisation du système HomeLink avec un ouvre-porte de garage qui n'est pas équipé d'un dispositif d'arrêt automatique et de marche arrrière tel que prescrit par les normes de sécurité fédérales est dangereuse. (Ceci inclut les portes de garage manufacturedes avant le 1er avril 1982.)
L'utilisation de tels ouvre-portes de garage peut augmenter le risque de blessures graves ou de mort. Pour plus d'informations, contacter HomeLink sans frais au 1-800-355-3515, visiter le site Web www.Homelink.com ou s'adresser a un concessionnaire agreé Mazda.
Toujours vérifier qu'il n'y a pas d'obstruction et que personne ne se trouve dans les zones autour des portes de garage et des barrières avant de programmeur ou lors de l'utilisation du système HomeLink:
La programmation ou l'utilisation du système HomeLink sans s'assurer que cela ne présente pas un danger dans les zones autour des portes de garage et des barrières est dangereux et peut cause an accident et de graves blessures siquelqu'un est cogné par la porte de garage on la barrière.
ATTENTION
Le système HomeLink a ete teste et trouve conforme aux exigences de la FCC et d'Industrie Canada. Tout changement ou modification aporte au dispositif sans l'approbation expresse des autorites competentes peut annuler I'autorisation de I'utiliser.
REMARQUE
Identification FCC: NZLOBIHL3
CANADA:4112A-OBIHL3
Ce dispositif est conforme aux normes de la section 15 des règlements de la FCC. Le fonctionnement est soumis aux conditions suivantes:
1- Ce dispositif ne doit pascause d'interférences nuisibles et
2- Ce dispositif doit accepter toutes les interférences, même celles qui pouraient l'activer involontairement.
REMARQUE
La programmation ne sera pas effacée même si la batterie est débranchée.
Préprogrammation du système HomeLink
REMARQUE
Il est recommendé d'installer de nouvelles piles dans la télécommande du dispositif à programmer dans le HomeLink, cela accélère l'apprentissage et garantit une transmission précise des signaux de fréquence radio.
- S'assurer qu'une télécommande est disponible pour le dispositif à programmer.
- Déconnecter l'alimentation an dispositif.
▼Programmation du système HomeLink
ATTENTION
Lors de la programmation d'un ouvre-porte de garage ou d'une barrière, débrancher l'alimentation électrique de ces dispositifs avant la programmation, car un fonctionnement continu du dispositif peut endommager le moteur.
Le système HomeLink possède 3 touches qui peuvent être sélectionnées et programmes individuellement à l'aide de la télécommande actuelle disponible sur le marché, comme suit:
- Maintenir les deux touches HomeLink sur les côtes (touches 1 et 3), ne les relâcher que lorsque le témoin commence à clignoter (après 20 secondes). Ne pasmaintenir les touches plus de 30 secondes et ne pas répéter l'étépe 1 afin de programmer une seconde ou une troisième télécommande aux deux touches HomeLink restantes.
- Placer l'extrémité de la télécommande de 2,5 à 7,5 cm (1 à 3 po.) de la touche HomeLink que vous désirez programmermer, tout en continuant de surveiller le témoin.
- Appuyer et maintainir simultanément les deux touches HomeLink choisies et celle de la télécommande. Ne pas relâcher les touches tant que l'été 4 n'a pas été complétée.
REMARQUE
Pour certains dispositifs d'ouvre-porte de garage ou de barrière il peut etre nécessaire de replacer 1'etape 3 de programmation par les procedures indiquees dan la section "Programmation d'ouvre-barriere/ canadienne".
- Lorsque le clignotement du témoin HomeLink change de lent à rapide, relâcher les touches HomeLink et de la télécommande.
REMARQUE
Si le clignotement du témoin HomeLink ne change pas de lent à rapide, contacter HomeLink sur le Web à l'adresse www.homelink.com ou sans frais au 1-800-355-3515, pour l'assistance technique.
- Maintainir la touche HomeLink qui vient d'être programmée et observer le témoin.
Si le témoin reste allumé sans clignoter, la programmation est finie et le dispositif devrait être commandé à l'aide de la touche HomeLink.
REMARQUE
Pour programmer les deux autres touches HomeLink, commencer par la "Programmation" - etape 2. Ne pas repeter l'etape 1.
Si le témoin clignote rapidement pendant deux secondes puis s'allume, continuer avec les étapes 6 à 8 de la programmation pour compléter la programmation d'un dispositif équipé d'un code roulant (en général un ouvre-porte de garage).
- Localiser le bouton d'apprentissage sur le récepteur (unité de moteur) de l'ouvre-garage, dans le garage. Il est en général situé pres de la base du fil-antenne sur l'unité de moteur.
- Presser fermement sur le bouton d'apprentissage. (Le nom et la couleur du bouton varient selon le manufacturier.)
REMARQUE
Il faut initier l'etape 8 dans les 30 secondes.
- Retourner au vehicule et presser fermement, maintainir pendant 2 secondes puis relâcher la touche HomeLink programmée. Répéter la série "presser/maintenir/relâcher" une seconde fois, et, selon la marque de l'ouvre-porte de garage (du dispositifé équipé du code roulant), répéter cette série une troisième fois pour compléter la programmation.
Le système HomeLink devrait maintainant commander le dispositif équipé d'un code roulant.
REMARQUE
Pour programmer les deux autres touches HomeLink, commencer par la "Programmation" — étape 2. Ne pas repeter l' étape 1.
Pour toute question ou commentaire, contacter HomeLink sur le Web à l'adresse www.homelink.com ou sans frais au 1-800-355-3515.
▼Programmation d'ouvre-barrière/ canadienne
La loi concernant les fréquences radio au Canada exige que les signaux ne soient émis que pendant quelques secondes de transmission, ce qui peut ne pas être suffisant pour que le système HomeLink recoive le signal lors de la programmation. Il en est de même pour certains dispositifs d'ouvre-barrière aux Etats-Unis.
Au Canada ou en cas de difficulté de programmation d'un ouvre-barrière à l'aide de la méthode de programmation (independamment du pays), replacer l' étape 3 de la programmation par les étapes suivantes:
REMARQUE
Lors de la programmation d'un ouvre-porte de garage ou d'un ouvre-barrière, il est recommendé de débrancher le dispositifpendant la procédure de cycle, pour éviter une surchauffe.
Maintenir la touche HomeLink tout en appuyant et relâchant (cycle), aux deux secondes, la touche de la télécommande jusqu'à ce que les signaux soient acceptés par le système HomeLink. (Le tímoin clignotera lentement puis rapidement.) Passer à l'étape 4 de programmation pour compléter la programmation.
Utilisation du système HomeLink
Appuyer sur la touche HomeLink programmée pour commander le dispositif correspondant. Le code continue d'être transmis jusqu'à un maximum de 20 secondes.
Reprogrammation du système HomeLink
Pour programmer un dispositif sur une touche HomeLink déjà programmée, suivez les étapes suivantes:
- Maintainir la touche HomeLink désirée.
NE PAS relâcher la touche. - Le tímoin commence a clignoter après 20 secondes. Sans relâcher la touche HomeLink, passer à l'étape 2 de la programmation.
Effacement des touches HomeLink
Pour effacer la programmation des trois touches HomeLink, appuyer et maintainir les deux touches extérieures ( , ) sur le réroviseur é anti-éblouissement automatique jusqu'à ce que le témoin HomeLink commence à clignoter après environ 20 secondes.
Vérifier que la programmation a été effacée lorsque le vehicule n'est pas utilisé.
6 Confort interieur
Utilisation des différentes fonctions concernant le comport de conduite, incluant le système de commande de température et le système audio.
Système de commande de température 6-2
Conseils d'utilisation 6-2
Fonctionnement des bouches d'aération 6-3
Types de systèmes de commande de température 6-5
Type manuel 6-6
Type entiement automatique 6-11
Système audio 6-16
Antenne 6-16
Conseils d'utilisation du système audio 6-17
Appareil audio 6-27
Fonctionnement de la commande audio au volant 6-61
Mode AUX (entree auxiliaire) 6-65
Certification de sécurité 6-67
Système audio Bluetooth® 6-68
Système audio Bluetooth® * 6-68
Telephone mains-libres Bluetooth®..... 6-80
Telephone mains-libres
Bluetooth® 6-80
Utilisation de base du téléphone mains-libres Bluetooth® 6-85
Utilisation pratique du système mains-libres 6-92
Réglage du téléphone mains-libres 6-103
Lorsqu'il est impossible d'utiliser le
telphonyne mains-libres
Bluetooth® 6-114
Certification de sécurité 6-114
Service clientèle du système mains-libres Bluetooth® Mazda 6-115
Equipement interieur 6-116
Pare-soleil 6-116
Eclairages intérieurs 6-117
Affichage d'informations 6-119
Affichage multi-informations 6-121
Porte-verres 6-139
Porte-bouteilles 6-140
Compartiments de rangement 6-140
Prise des accessoires 6-143
Conseils d'utilisation
Utilisation du système de commande de température
Utiliser le système de commande de température lorsque le moteur tourne.
REMARQUE
Pour éviter de décharger la batterie, ne pas laisser la commande des ventilateurs en marche pendant une longue période avec le contacteur est placé sur ON si le moteur ne tourné pas.
Nettoyage de la prise d'air
Retirer toute obstruction telle que des feuilles, de la neige ou de la glace accumulées sur le capot et sur la prise d'air de la grille d'auvent, afin d'améliorer l'efficacité du système.
Vitres embuées
Lorsque le temps est humide, les vitres risquent de s'embuer facilement. Utiliser le système de commande de température pour désembuer les vitres.
Pour aider à désembuer les vitres, utiliser le climatiseur pour déshumidifier l'air.
REMARQUE
Utiliser le climatisationur conjointement avec le chauffage pour déshumidifier l'air.
Stationnement en plein soleil
Si le vehicule a eté stationné en plein soleil pendant la salle chaude, ouvrir les vitres pour laisser l'air chaud s'échapper puismettre en marche le système de commande de température.
Si le système n'est pas utilisé pendant longtemps
Faire fonctionner le climatiseur pendant 10 minutes environ au moins une fois par mois afin de garder les pieces internes lubrifiées.
Vérifier le réfrigérant avant la saison chaude
Faire vérifier le climatiseur avant la saison chaude. Un manque de réfrigérant peut affecter le rendement du climatiseur. S'adresser à un concessionnaire/agree Mazda pour une inspection du réfrigérant.
Le climatiseur est rempli d'un réfrigerant, HFC134a (R134a), qui ne cause pas de dommages à la couche d' ozone. Si le climatiseur nécessite un appoint de réfrigerant ou pour tout autre anomalie, s'adresser à un concessionnaire/agréed Mazda.
Fonctionnement des bouches d'aération

Réglage des bouches d'aération
Pour diriger le flot d'air
Le flot de l'air peut être dirigé en tournant la bouche d'aération.
Ouverture/fermeture des bouches d'aération
Ces bouches d'airation peuvent etre ouvertes en tournant la commande rotative vers le haut ou fermées en la tournant vers le bas.
REMARQUE
Lors de l'utilisation du climatiseur, de la buée peut soit sortir des bouches d'aération. Ceci n'indique pas un problème, mais est dû à de l'air humide soudainement refroidi.
Sélection du mode de circulation d'air

Bouches d'aération du tableau de bord

Bouches d'aération du tableau de bord et du plancher

Bouches d'aération du plancher

Bouches d'aération de dégivrage et du plancher

Bouches d'aération de dégivrage
Types de systèmes de commande de température
Le type manuel et le type entièrement automatique sont expliqués séparément. Vérifier le type de système de commande de température du vehicule et dire les pages appropriées. Type manuel . page 6-6




Type entitrement automatique page 6-11




Type manuel

Cadran de commande de température

Cadran de commande de ventilateur

Sélecteur de mode

Touches de commande
Cadran de commande de température

Ce cadran commande la température. Le tourner dans le sens des aiguilles d'une montre pour de l'air plus chaud et dans le sens contraire pour de l'air plus froid.
REMARQUE
Lorsque le mode est regle sur ou avec le cadran de commande de ventilateur à une position autre que 0 et le cadran de commande de température à la position de froid maximum, le selecteur d'admission d'air passé en mode de recirculation d'air et le climatiseur s'allume automatiquement.
Si l'on ne peut pas allumer le climatiseur, appuyer sur l'interrupteur A / C pour I'eteindre.
Cadran de commande de ventilateur

Ce cadran permet de régler la vitesse du ventilateur.
0—Ventilateur hors tension
1—Petite vitesse
2—Vitesse moyenneasse
3—Vitesse moyenne rapide
4—Grande vitesse
Sélecteur de mode

Tournier le sélecteur de mode pour sélectionner le mode de début d'air (page 6-4).
REMARQUE
- Il est possible de placer le sélecteur de mode sur une position intermédiaire (●) entre chaque mode. Placer le sélecteur sur une position intermédiaire pour régler légrement le débit d'air.
- Par exemple, lorsque le sélecteur de mode est à la position ● entre les positions et , le début d'air des bouches d'aération du plancher est moindre qu'à la position
Interrupteur A/C
A/C

Appuyer sur l'interrupteur A/C pourmettre le climatiseur sous tension. Le témoin s'allume sur l'interrupteur lorsquele cadran de commande du ventilateur est sur la position 1,2,3 ou 4.
Appuyer de nouveau sur l'interrupteur pourmettre le climatiseur hors tension.
REMARQUE
Le climatiseur peut ne pas fonctionner si la température extérieure est pres de 0^ (32^)
Sélecteur d'admission d'air

Cet interrupteur commande la source de l'air PENÉTRANT dans le vehicule.
Appuyer sur l'interrupteur < pour alterner entre les modes de selection d'air provenant de l'extérieur/air recyclé.
Il est recommendé de laisser le sélecteur, dans les conditions normales, au mode de l'air provenant de l'extérieur.
Mode d'air extérieur (témoin éteint)
L'air provenant de l'extérieur entre dans le vehicule. Utiliser ce mode pour l'aération normale et le chauffage.
Mode de recyclage d'air (fémin allumé)
L'air provenant de l'extérieur n'entre pas dans l'habitacle. L'air de l'habitacle est recyclé.
Ce mode peut être utilisé lorsque l'on roule sur des routes poussièresuses ou dans autres conditionssemblables. Elle permet aussi un rafraîchissement plus rapide de l'habitacle.

PRUDENCE
Par temps froid ou pluvieux, ne pas utiliser le mode de recyclage de l'air: Il est dangereux d'utiliser le mode de recyclage d'air par temps froid ou pluvieux car ceci aura pour effet d'embuer les vitres de l'habitacle. Cela risque de diminuer la visibilité, ce qui peut cause un accident grave.

Chauffage
- Regler le sélecteur de mode sur la position .
- Régler le cadran de commande de température sur une position d'air chaud.
- Régler le cadran de commande de ventilateur sur la vitesse désirée.
REMARQUE
- Si le pare-brise s'embue facilement,mettre le sélecteur de mode sur la position
- Si de l'air plus frais est désiré au niveau du visage,mettre le sélecteur de mode sur la position et régler le cadran de commande de température à la position la plus comfortable.
- L'air dirige vers le plancher est plus chaud que l'air dirige vers le visage (sauf si le cadran de commande de température est régle aux positions maximes d'air chaud ou froid).
- En position ou , la climatisation est automatiquement mise en marche (toutefois, le témoin ne s'allume pas) et le mode de l'air de l'extérieur est automatiquement sélectionné pour désembuer le pare-brise.
En position ou W, le mode de l'air de l'extérieur ne peut pas etre passé en mode de recyclage de l'air.

Rafraîchissement (avec climatiseur)
- Regler le selecteur de mode sur la position ±b
- Régler le cadran de commande de température sur la position de rafraîchissement.
- Régler le cadran de commande de ventilateur sur la vitesse désirée.
- Mettre en marche le climatiseur en appuyant sur l'interrupteur A/C.
- Régler le cadran de commande du ventilateur et le cadran de commande de température afin d'obtenir un rafraîchissement/agréable et constant.

ATTENTION
Lorsque l'on utilise le climatiseur en montant de longues pentes ou dans un traffic dense, consulter frequentlyment l'indication de la jauge de température du moteur (page 5-46).
Le climatiseur risque de causeur une surchauffe du moteur. Si la jauge indique une surchauffe,mettre le climatiseur hors tension (page 7-14).
REMARQUE
- Lorsque l'on désire un rafraichissement maximal, régler le cadran de commande de température sur la position maximale d'air froid et régler le/selecteur d'admission d'air en mode de recyclage d'air, puis régler le cadran de commande de ventilateur sur la position 4.
- Si de l'air plus chaud est désiré au niveau du plancher,mettre le selecteur de mode sur la position et régler le cadran de commande de température à la position la plus comfortable.
- L'air dirige vers le plancher est plus chaud que l'air dirige vers le visage (sauf si le cadran de commande de temperture est reglé aux positions maximes d'air chaud ou froid).
Ventilation
- Regler le sélecteur de mode sur la position .
- Regler le selecteur d'admission d'air en mode de l'air provenant de l'extérieur.
- Régler le cadran de commande de température sur une position désirée.
- Régler le cadran de commande de ventilateur sur la vitesse désirée.
Dégivrage et désembuage du pare-brise
- Regler le sélecteur de mode sur la position .
- Régler le cadran de commande de température sur une position désirée.
- Régler le cadran de commande de ventilateur sur la vitesse désirée.

PRUDENCE
Ne pas désembuer le pare-brise en utilisant la position avec la commande de température régée à la position froid:
Il est dangereux d'utiliser la position avec la commande de température régée à la position froid car ceci aura pour effet d'embuer l'extérieur du pare-brise. Cela risque de diminuier la visibilité, ce qui peut causer un accident grave. Régler la commande de température à chaud ou tiède lorsque la position de dégivrage est utilisée.
REMARQUE
- Si l'on désire obtenir un dégivrage maximal,mettre le cadran de commande de température sur la position maximale d'air chaud,etmettre le cadran de commande de ventilateur sur la position 4.
- Si l'on désire obtenir de l'air chaud au niveau du plancher,mettre le selecteur de mode sur la position
- En position ou , la climatisation est automatiquement mise en marche (toutefois, le témoin ne s'allume pas) et le mode de l'air de l'extérieur est automatiquement selectionné pour désembuer le pare-brise.
En position ou , le mode de l'air de l'extérieur ne peut pas être passé en mode de recyclage de l'air.
Deshumidification (avec climatiseur)
Utiliser le climatiseur par temps froid ou frais afin de faciliter le désembuage du pare-brise et des vitres laterales.
- Regler le selecteur de mode sur la position désirée.
- Regler le selecteur d'admission d'air en mode de l'air provenant de l'extérieur.
- Régler le cadran de commande de température sur une position désirée.
- Régler le cadran de commande de ventilateur sur la vitesse désirée.
- Mettre en marche le climatiseur en appuyant sur l'interrupteur A/C.
REMARQUE
L'une des fonctions du climatiseur est de déshumidifier l'air et, pour utiliser cette fonction, la température n'a pas à été régée à froid. Par conséquent, régler le cadran de commande de température à la position désirée (chaud ou froid) etmettre en marche le climatiseur lorsque l'habitacle doit être déshumidifié.
Type entièrement automatique
Les informations sur la commande de température sont affichées sur l'affichage d'information.

Touches de commande

Touche AUTO
En appuyant sur la touche AUTO, les fonctions suivantes sont automatiquement commandées suivant la température réglée:
- Température du débit d'air
-
Quantité de début d'air
-
Sélection du mode de début d'air
- Sélection d'air provenant de l'extérieur/air recyclé
- Fonctionnement du climatiseur
REMARQUE
Témoin de la touche AUTO
- Lorsqu'allumé, il indique le fonctionnement automatique, et le système fonctionnera automatiquement.
-
Si l'on actionne l'un(e) quelconque des cadtrans ou des interrupteurs lorsque le mode de commande AUTO est activé, le témoin de la touche AUTO s'éteint.
-
Suggesteur de mode
- Cadran de commande de ventilateur
- Interrupteur de dégivrage du pare-brise Les fonctions des cadrans et des interrupteurs autres que ceux indiqués ci-dessus, continuant à fonctionner en mode de commande AUTO.

Touche OFF
Appuyer sur la touche OFF pour eteindre le systeme de commande de temperature.

Cadran de commande de température
Ce cadran commande la température. Le tournier dans le sens des aiguilles d'une montre pour de l'air plus chaud et dans le sens contraire pour de l'air plus froid.

Cadran de commande de ventilateur
Le ventilateur a quatre vitesses. La vitesse selectionnée sera affichée.

Sélecteur de mode
Le mode de début d'air désiré peut être sélectionné (page 6-4).
REMARQUE
- Avec le mode de début d'air reglé à la position et le cadran de commande de température régée à une température moyenne, de l'air rechauffé est dirigé vers les pieds et de l'air d'une température plus BASSE sera dirigé par les bouches centrale, gauche et droite.
- Pour régler la bouche d'air à , appuyer sur l'interrupteur de dégivrage du pare-brise.
Interrupteur A/C
A/C
Le fait d'appuyer sur l'interrupteur A/C lorsque la touche AUTO est activée entraine la désactivation de la climatisation (fonctions de refroidissement/déshumidification). La climatisation peut être activée ou désactivée en appuyant sur l'interrupteur A/C lorsque le cadran de commande du ventilateur est activé.
REMARQUE
- Le climatiseur fonctionne lorsque l'interrupteur A / C est enforcé, même si le ventilateur est étant.
- Le climatiseur peut ne pas fonctionner si la température extérieure est pres de 0^ (32^) . (Le témoin demeure allumé même lorsque le système est étant.)
Sélecteur d'admission d'air

La position d'air provenant de l'extérieur ou d'air recyclé peut être sélectionnée. Appuyer sur le sélection afin de selectionner la position d'air provenant de l'extérieur ou air recyclé.
Position de recyclage d'air (démoin allumé)
Utiliser cette position lors de la conduite dans un tunnel, lorsque le traffic est dense (niveau de gaz d'échéppement élevé) ou pour obtenir un refroidissement rapide.
Position d'air provenant de l'extérieur (fémon éteint)
Utiliser cette position dans les conditions normales et pour le désembuage.

PRUDENCE
Par temps froid ou pluvieux, ne pas utiliser la position : Il est dangereux d'utiliser la position par temps froid ou pluvieux car ceci aura pour effet d'embuer les vitres de l'habitacle. Cela risque de diminuier la visibilité, ce qui peut causer un accident grave.
Interrupteur de dégivrage du pare-brise

Appuyer sur l'interrupteur pour dégivrer le pare-brise et les vitres des portières avant.
Fonctionnement du climatiseur automatique
- Appuyer sur la touche AUTO. Les sélections du mode de début d'air, du/selecteur d'admission d'air et de la quantité de début d'air seront commandées automatiquement.

- Utiliser le cadran de commande de température pour sélectionner la température désirée.

Appuyer sur la touche OFF pour arreter le système.
REMARQUE
- Régler à la température froide ou chaude maximale ne fournira pas la température désirée plus rapidement.
- Lors de la sélection du chauffage, le système restreindra le début d'air jusqu'à ce qu'il soit rechauffé afin d'empêcher un air froid de souffler à travers les bouches d'aération.
Dégivrage et désembuage du pare-brise

Appuyer sur l'interrupteur de dégivrage du pare-brise.
A cette position, la position est automatiquement selectionnée, et le climatiseur est automatiquement mis en fonction. Le climatiseur dirigera de l'air déshumidifié vers le pare-brise et les vitres laterales (page 6-4). Le début d'air augmentera.
PRUDENCE
Régler la commande de température à la position chaud ou tiède lorsqu'on effectue le désembuage (position): Il est dangereux d'utiliser la position avec la commande de température régée à la position froid car ceci aura pour effet d'embuer l'extérieur du pare-brise. Cela risque de diminuer la visibilité, ce qui peut causeur un accident grave.
REMARQUE
Utiliser le cadran de commande de température pour augmenter la température du débit d'air et dégivrer le pare-brise plus rapidement.
Capteur de température et d'ensoilelement
La fonction de climatisation de type entièrement automatique mesure les températures interieure et extérieure, et l'ensoileillement. Elle règle ensuite la température de l'habitacle.

ATTENTION
N'obstruer aucun des capteurs, sinon le climatiseur automatique ne fonctionnera pas correctement.


Capteur de température interieure

Antenne
Type détachable
Pour-retirer l'antenne,la tourner dans les sens contraire des aiguilles d'une montre. Pour installerer l'antenne,la tourner dans les sens des aiguilles d'une montre. S'assurer que I'antenne est bien installee.
Antenne de radio AM/FM*
L'antenne de radio AM/FM recoit les signaux AM et FM.

Antenne de radio AM/FM et antennae de radio par satellite\*
L'antenne de radio AM/FM et l'antenne de radio par satellite recoivent les signaux AM et FM et les signaux SIRIUS.

ATTENTION
Pour ne pas endommager l'antenne, la retirer avant d'entre dans un lave-auto ou avant de passer sous un obstacle bas.
Faire attention autour de l'antenne en enlevant la neige du pavillon. Sinon cela pourrait endommager l'antenne.
REMARQUE
Nous recommendons desteroler l'antenne et de la garder à l'intérieur du vehicule lorsque le vehicule est laissé sans surveillance.
Conseils d'utilisation du système audio

PRUDENCE
Ne pas regler les interrupteurs de commande de l'appareil audio pendant la conduite du vehicule:
Le fait de régler l'appareil audiopendant la conduite du vehicule est dangereux car cela risque de faireperdre la concentration apportée à la conduite du vehicule et risque decauser un accident grave. Toujoursregler l'appareil audio lorsque levehicule est arrêté. Meme si lescommandes audio se trouvent sur levolant, il faut apprendre à les utiliser sans avoir à les regarder afin qu'un maximum d'attention soit dirigé versla route pendant la conduite duvehicule.

ATTENTION
Pour une conduite sécuritaire, régler le volume audio à un niveau qui permet d'entendre lessons à l'extérieur du vehicule (notamment l'avertisseur sonore des vehicules et les sirènes des vehicules d'urgence).
REMARQUE
- Afin d'éviter de décharger la batterie, ne pas laisser la radio trop longtemps sous tension lorsqu'elle moteur ne tourne pas.
- Si un téléphone cellulaire ou un poste bande publique est utilisé dans ou pres du vehicule, cela risque de causeur des parasites sur l'appareil audio, cependant, ceci n'indique pas un mauvais fonctionnement de l'appareil.
Réception radio
\section*{Caracteristiques des ondes AM}
Les ondes AM contournent des obstacles tels que les bâtiments et les montagnes, et subissant une réflexion sur l'ionosphere. Elles ont donc une portée plus grande que les ondes FM. Pour cette raison, il est possible que deux stations émettrices soient captées simultanément sur la même fréquence.

Charactéristiques des ondes FM
Les émissions FM ont généralement une portée de 40 à 50 km (25 à 30 milles) environ. A cause du codage supplémentaire requis pour séparer le son en deux canaux, la portée de la FM stéreo est encore plus réduite que celle de la FM monaurale (non stéreo).

Les signaux provenant d'un émetteur FM peuvent être comparés à des faisceaux lumineux: ils ne s'incurrent jamais, mais peuvent par contre être réfléchis.
Contrairement aux signaux AM, les signaux FM ne peuvent aller plus loin que l'horizon. Par conséquent la portée des stations FM n'atteint pas celle des stations AM.

Les conditions atmosphériques peuvent elles aussi influencer la réception des signaux FM. Une humidité importante provoque une mauvaise réception.
Cependant la réception estAMLRE par temps nuageux que par beau temps.
Parasites dus à la transmission sous plusieurs angles
Comme les signaux FM peuvent être réfléchis par des obstacles, il est possible de recevoir simultanément un signal direct et un signal réfléchi. Cela cause un léger retard et peut provoquer des parasites ou de la distorsion. Ce type de problème peut seprésenter même à proximité de la télécommande.

Parasites de pleurage/saut
Comme les signaux provenant d'un émetteur FM se déplacent en ligne droite, ils s'affaiblissant entre des obstacles élevés tels que des batiments élevés ou des montagnes. Lorsqu'un vehicule passé dans un endroit semblable, les conditions de réception changent soudainement, provoquant des parasites irritants.

Parasites dus à des signaux faibles
Dans certaines régions, les signaux s'affaiblissant à cause de l'éloignement de l'émetteur. La réception dans de telles régions se caractérisse par des coupures du son.

Parasites du s à des signaux puissants
Des parasites peuvent apparaître dans le voisinage d'un émetteur. Les signaux sont très puissants et provoquent des parasites et des coupures du son au niveau de l'autoradio.

Parasites dus à la dérive des stations
Lorsqu'un vehicule entre dans la zone d'émission de deux émetteurs puissants émettant sur une fréquencesemblable, il se peut que la première station soit perdue momentanément et que la radio capte la seconde station. A ce moment des parasites dus à ce problème font leur apparition.

Consels d'utilisation du lecteur de disques compacts/changeur de disques compacts dans le tableau de bord
Condensation
Immédiatement après avoir mis le chauffage en marche, par temps froid, le disque compact ou les composants optiques (prisme et lentille) du lecteur de disques compacts/changeur de disques compacts dans le tableau de bord peuvent être embués par la condensation. Dans ce cas, le disque compact sera éjecté immédiatement après avoir été introduit dans l'appareil. Un disque compact embué peut facilement être essayé à l'aide d'un chiffon doux. Les composants optiques seront désembues naturellement après environ une heures. Attendre que le fonctionnement soit normal avant d'utiliser l'appareil.
Manipulation du lecteur de disques compacts/changeur de disques compacts dans le tableau de bord
Tenir compte des points suivants.
- Ne pas renverser de liquide sur l'appareil audio.

- Ne pas insérer d'objets, autres qu'un disque compact, dans la fente.

- Le disque compact tourne à très haute vitesse dans l'unité. On ne doit jamais utiliser de disques compacts défectueux (craqués ou tordus).

- Ne pas utiliser de disques non conventionnels tels que des disques en forme de cœur, des disques octogonaux, etc. Le disque risquera de ne pas pouvoir etre ejecte, ce qui pourrait causer une panne.

- Si la portion mémoire du disque compact est transparente ou translucide, ne pas l'utiliser.

- Un disque compact neuf peut avoir des bords rugueux sur les périmètres interieur ou extérieur. Si un disque compact avec des bords rugueux est utilisé, il peut ne pas être charge correctement et le lecteur de disques compacts/changeur de disques compacts dans le tableau de bord ne fera pas la lecture du disque compact. En outre, le disque risquera de ne pas pouvoir être éjecté, ce qui pourrait causer une panne. Retirer les bords rugueux, avant de charger le disque, à l'aide d'un stylo ou d'un crayon comme indiqué sur l'illustration. Pourrirer les bords rugueux, les aplanir avec un crayon ou un stylo.

- Lors de la conduite sur des routes cahoteuses ou des bosses, il y aura des coupures du son.

- Le lecteur de disques compacts/ changeur de disques compacts dans le tableau de bord est concu pour dire les disques compacts portant le logo d'identification indiqué ci-dessous. Aucun autre disque ne peut etre lu.






Utiliser des disques qui ont eté fabriqués légalement. Si l'on utilise des disques copés illégalement, tels que des disques pirates, le système risquera de ne pas fonctionner correctement.
- Ne jamais toucher la surface des disques compacts lors de la manipulation de ces derniers. Prendre les disques compacts par le bord extérieur ou par le bord du trou et le bord extérieur.

- Ne pas attacher de papier ou d'adhesif sur le disque compact. Eviter de griffer le verso du disque compact (face du disque compact sans étiquette). Le disque risquera de ne pas pouvoir être ejecté, ce qui pourrait cause une panne.
- La poussière, les empreintes de doigs et la saleté peuvent réduire la quantité de lumière réflèchie par la surface du disque compact, affectant ainsi la qualité sonore. Si le disque compact est sale, essuyer doucement la surface du disque compact avec un chiffon doux, du centre du disque compact vers les bords.
-
Ne pas utiliser de vaporisateurs pour disques compacts, d'agents antistatiques, ou de produits de nettoyage menager. Les produits chimiques volatils comme l'éther et les dissolvants peuvent endommager la surface des disques compacts et ne doivent par conséquent jamais être employés. Tout ce qui peut endommager, gondoler ou ternir le plastique ne doit jamais être utilisé pour nettoyer les disques compacts.
-
Insérer les disques un par un. Si l'on insère deux disques simultanément, le système risquera de ne pas fonctionner correctement.
- Le lecteur de disques compacts/ changeur de disques compacts dans le tableau de bord ejectera le disque compact s'il est insere a l'envers. Aussi, si le disque compact est sale ou abimé, il peut etre ejecte.
- Ne pas insérer de disque nettoyant dans le lecteur de disques compacts/ changeur de disques compacts dans le tableau de bord.
- Ne pas insérer un disque compact contoant une etiquette qui se decolle.
- Cette unité peut ne pas être à même de dire certains CD-R/CD-RW fabriqués à l'aide d'un ordinateur ou d'un enregistreuse de disques compacts à cause des caractéristiques du disque, des égratignures, des taches, de la poussière, etc. ou à cause de la poussière ou de la condensation de la lentille à l'intérieur de l'unité.
- Entreposer les disques compacts dans le vehicule, exposés à la lumière directe du soleil ou à des températures élevées pourrait endommager CD-R/CD-RW et les rendre impossibles à dire.
- Les CD-R/CD-RW supérieurs à 700Mo ne peuvent pas être lus.
-
Cette unité pourrait ne pas être à même de dire certains disques fabriqués à partir d'un ordinateur à cause de la configuration de l'application (logiciel de gravure) utilisée. (Pour les détails, consulter le magasin où l'application a été achetée.)
-
Il est possible que certaines données de texte, comme les titres par exemple, enregistrées sur CD-R/CD-RW puissant ne pas etre affichees lorsque les données musicales (CD-DA) sont en lecture.
- La période à partir de laquelle un CD-RW est inséré jusqu'àu moment où il commence à jouer est plus longue qu'avac un disque compact ou un CD-R normal.
- Lire attentivement le manuel d'instruction et les averissements relatifs aux CD-R/CD-RW.
- Ne pas utiliser de disques compteant du scotch, des étiquettes partiellement décollées, ou du ruban adhésif dépassant des bords de l'étiquette du disque compact. Ne pas utiliser non plus de disques sur lesquels une étiquette de CD-R vendue dans le commerce a été collée. Le disque risquera de ne pas pouvoir être ejecté, ce qui pourrait cause une panne.
Conseils d'utilisation des MP3
REMARQUE
Ce produit est fourni avec un permis d'utilisation privé et non commercial uniquement et n'offre pas de permis non plus qu'il ne s'applique à un droit d'utiliser ce produit pour rediffusion (terrestre, par satellite, par cable et/ou tout autre média) commerciale en temps réel (c'est-à-dire générant des revenus), rediffusion/ enregistrement en lecture continue via Internet, intranets et/ou autres réseaux ou dans des systèmes de distribution de contenu électronique, comme les applications de musique payante ou de musique sur demande. Un permis indépendant pour une telle utilisation est requis. Pour de plus amples détails, visitor http://www.mp3licensing.com.
- Ce système audio peut dire les fichiers MP3 qui ont ete enregistrres sur CD-R/ CD-RW/CD-ROM. Les disques qui ont ete enregistrres sous les formats suivants ne peuvent etre lus:
ISO 9660 niveau 1
ISO 9660 niveau 2
Joliet format etendu
Romeo formatétendu
- Cet unité traite les fichiers MP3 conformément au format MP3 contenant des trames d'en-tête et des trames de données.
- Cette unité peut dire les disques multisession enregistrés jusqu'à 40 sessions.
- Cette unité peut dire les MP3 à fréquences d'échantillonnage de 16/22,05/24/32/44,1/48 kHz.
- Cette unité peut dire les fichiers MP3 qui ont été enregistrés en début binaire de 8 kpb à 320 kpb. Néanmoins, pour combiner le plaisir de la musique et une qualité de son continue, il est recommendé d'utiliser des disques qui ont été enregistrés à un début binaire de 128 kpb ou plus.
- Si un disque possède et des données musicales (CD-DA) et des fichiers MP3, la lecture des deux différents types varie selon la façon dont fut enregistré le disque.
- Les disques graves par paquet ne peuvent pas etre lus sur cette unité.
- Cette unité ne lit pas les disques compacts enregistrés sur les formats MP3i (MP3 interactif), MP3 PRO et RIFF MP3.
A propos des dossiers et fichiers
-
L'ordre de hierarchie des dossiers et fichiers MP3 durant la lecture ou toute autre fonction va de peu profond à profond. La disposition et l'ordre de lecture d'un disque enregistré contenant des fichiers MP3 sont les suivants:
-
Numéro de fichier
Un nombre de fichier est assigné à chaque fichier dans un dossier selon un ordre de hierarchie de peu profond à profond. - Numéro de dossier
Un numéro de dossier est assigné à chaque dossier selon un ordre de hierarchie de peu profond à profond.
REMARQUE
Les dossiers et les pistes (fichiers) de la même hierarchie sont lus dans l'ordre dans lequel ils ont eté écrites sur le disque, selon le logiciel d'écriture utilisé.

Il est possible que la lecture ne puisse pas etre effectuée dans l'ordre hierarchique ci-dessus selon l'appareil audio utilise.
- L'ordre du dossier est automatiquement assigné et cet ordre ne peut pas'être établi selon des options.
- Tout dossier sans fichier MP3 sera ignoré. (Il sera sauté et le numéro du dossier ne s'affichera pas.)
- Les fichiers MP3 non conformes au format MP3 contenant et des trames d'en-tête et des trames de données seront sautés et non lus.
- Cette unité lira les fichiers MP3 qui possèdent jusqu'à huit niveaux. Toutefois, plus un disque possède de niveaux, plus il prendra de temps à commencer la lecture au départ. Il est recommendé d'enregistrer les disques avec deux niveaux ou moins.
- Un disque simple avec 512 fichiers environ peut être lu et un dossier simple contenant jusqu'à 255 fichiers peut être lu.
- Lors de la dénomination d'un fichier MP3, il faut s'assurer d'ajouter l'extension de fichier MP3 (.mp3) après chaque nom.
- Le nombre maximal de caractères qui peuvent être utilisés pour les noms de fichiers est le suivant. Toutefois, cette unique affichera seulement 32 caractères ou moins, cela incluant l'extension de fichier (.mp3).
| Le nombre maximal de caractères d'un nom de fichier (incluant un séparateur “.” et les troislettres de l'exten-sion de fichier) | |
| ISO9660 niveau 1 | 12* |
| ISO9660 niveau 2 | 31* |
| Joliet format étendu | 64 |
| Romeo format étendu | 128 |
- Les caractères anglais d'un octet (majuscules seulement) et la barre de soulignement “_” sont disponibles.
ATTENTION
Cette unité peut dire unquivalent les fichiers MP3auxquels une extension de fichier MP3 (.mp3) est rattachée. Ne pas ajouter une extension de fichier MP3 à un autre type de fichier car cela pourrait faire que l'unité émette un bruit ou qu'elle soit victime d'une defaillance.
A propos de l'afficheur de balise ID3
- Cette unité peut seulement dire l'album de balise ID3, les noms de plages et les noms d'artistes qui ont été entrés en format Ver.1.0/1.1/2.2/2.3. Toute autre donnée qui pourrait avoir été entrée ne peut pas être affichée.
- Cette unité peut uniquement afficher les caractères anglais d'un octet (incluant les caractères numériques). Utiliser uniquement les caractères anglais d'un octet (incluant les caractères numériques) lors de la saisie des balises ID3. les caractères de deux octets de même que certains symboles spéciaux ne peuvent pas etre affichés.
Glossaire spécialisé
MP3
Abréviation de "MPEG Audio Layer 3". Une norme technique de compression audio décidée par un groupe de travail ISO (organisation internationale de normalisation) MPEG. L'utilisation du MP3 permet au données audio d'être compressées jusqu'à environ un dixieme de la taille des données source.
ISO 9660
Une norme internationale pour le formatage logique des fischiers et dossiers CD-ROM. Elle est divisée en trois niveaux basés sur les différences de procédure relatives à la dénomination de fichier, à la configuration de données et à autres caractéristiques.
Multi-session
Une session est la quantité entière de données enregistrée du début à la fin d'une période simple d'enregistrement de données CD-ROM, CD-R/CD-RW. Multi-session fait-reference à l'existence de données provenant de deux sessions ou plus sur un disque simple.
Echantillonnage
Fait referrer au proceded d'encodage des données audio analogiques selon des intervals réguliers et à leur conversion en données numériques. Le taux d'échantillonnage fit referrer au nombre de fois où un échantillon est pris en une seconde et exprime en unités Hz. L'augmentation du taux d'échantillonnage améliore la qualité du son mais augmente également la taille des données.
Débit binaire
Fait reférence au volume de données par seconde, exprime en bps (octets par seconde). En général, plus le début binaire est élevé lors de la compression d'un fichier MP3, plus il transporte d'information relative à la reproduction musicale et, par conséquent,AMLUE est la qualité du son.
Gravure par paquets
Terme général pour la méthode d'enregistrement à incrément simple du fichier requis, similaire à celle utilisée pour les disquettes ou les disques durs, sur un CD-R et similaire.
Balise ID3
La balise ID3 est une méthode d'entreposage des informations reliées à la musique dans un fichier MP3. Des renseignements comme le nom de la plage, le nom de l'artiste et celui de l'album peuvent être entreprises. Ce contenu peut être librement modifié à l'aide du logiciel de fonction de modification ID3.
VBR
Abréviation de débit binaire variable. Bien que le CBR (débit binaire constant) soit en général utilisé, le VBR transformé le débit binaire de compression audio selon les conditions de compression et cela permet une compression où la préférence sera donnée à la qualité du son.
Consels d'utilisation des WMA
WMA est un acronymme pour Windows Media Audio et est le format de compression audio de Microsoft. Les données audio peuvent etre creées et enregistrées à une taux de compression plus elevée qu'avec le format MP3. * Microsoft et Windows Media sont des marques de commerce enregistrées de Microsoft Corporation U.S. aux EtatsUnis et dans d'autres pays.
Spcification des fichiers WMA lisibles
Les CD-R et CD-RW avec des fischiers
WMA peuvent être lus dans cette unité.
Les disques conformes aux formats cédssous peuvent être lus.
Fichiers WMA lisibles:
| Dénomination | Contenu | |
| Sécic张贴 | Windows Media Audio Version 7.0, 8.0, 9.0 | |
| Fréquence d'échantillon-nage | Débit binaire | 32kHz. . . . . . . 32, 40, 48 kbps |
| 44,1kHz. . . . . . 32, 48, 64, 80, 96, 128, 160, 192, 256, 320 kbps | ||
| 48kHz. . . . . . 64, 96, 128, 160, 192 kbps | ||
| VBR (Débit binaire variable) | Pris en charge | |
| Mode canal | StéRéo/Mono | |
| Balise WMA | Titre, nom de l'artiste, nom de l'album | |

ATTENTION
Cette unité lit les fichiers avec l'extension (.wma) comme un fichier WMA. Ne pas utiliser l'extension de fichier WMA pour d'autres fichiers que des fichiers WMA. Cela pourrait cause du bruit ou une défaillance.
- Dans un fjichier WMA, le nom de la piste, de l'artiste et de l'album sont enregistrés avec des données du type "Balise WMA" et les informations peuvent être affichées.
-
Les fichiers WMA qui ne sont pas conformes à la norme spécifiée risquent de ne pas être lus correctement ou leur nom de fichier et de dossier affichés correctement.
-
L'extension de fichier peut ne pas être fournie selon le système d'exploitation, la version, le logiciel ou les réglages de l'ordinateur. Dans ce cas, ajouter l'extension de fichier ".wma" à la fin d'un nom de fichier, puis graver le disque.
Appareil audio
L'information du système audio est affichée sur l'affichage d'information.

Commanded'alimentation/volume/tonalité page 6-28
Fonctionnement de la radio page 6-34
Fonctionnement de la radio satellite. page 6-36
Fonctionnement du lecteur de disques compacts 10
Fonctionnement de changeur de disques compacts dans le tableau de bord page 6-54
Fonctionnement de la prise auxiliaire page 6-59
Indications d'erreur page 6-60
Commande d'alimentation/volume/tonalité

Alimentation en/hors circuit
Mettre le contacteur en position ACC ou ON.
Appuyer sur le bouton d'alimentation/volume pour allumer l'appareil audio. Appuyer de nouveau sur le bouton d'alimentation/volume pour eteindre l'appareil audio.
REMARQUE
Afin d'éviter de décharger la batterie, ne pas laisser la radio trop longtemps sous tension lorsque le moteur ne tourne pas.
Réglage du volume
Pour régler le volume, tourné le bouton d'alimentation/volume.
Tournier le bouton d'alimentation/volume vers la droite pour augmenter le volume, et vers la gauche pour le diminuer.
Réglage du mode audio
- Appuyer sur le bouton de commande audio pour selectionner une fonction. La fonction selectionnée est affichee.

Modèle avec le système audio standard

Modèle avec le système audio Bose®
1 Suivant le mode sélectionné, l'indication change.
2 Selon le modele utilisé, il est possible que cette fonction ne soit pas disponible.
- Tourner le bouton de commande audio pour régler la fonction selectionnée comme indiqué dans le tableau:
Modèle avec le système audio standard
| Indication | Tourn vers la gauche | Tourn vers la droite |
| ALC | Sélection du mode | |
| BASS | Diminuer les graves | Augmenter les graves |
| TREB | Diminuer les aigus | Augmenter les aigus |
| FADE | Déplacer le son vers l'avant | Déplacer le son vers l'arrière |
| BAL | Déplacer le son vers la gauche | Déplacer le son vers la droite |
| BEEP | Eteints | Allumés |
| BT SETUP | Sélection du mode | |
Modèle avec le système audio Bose®
| Indication | Tourn vers la gauche | Tourn vers la droite |
| AudioPLT | Eteints | Allumés |
| CENTERPT | Sélection du mode | |
| BASS | Diminuer les graves | Augmenter les graves |
| TREB | Diminuer les aigus | Augmenter les aigus |
| FADE | Déplacer le son vers l'avant | Déplacer le son vers l'arrière |
| BAL | Déplacer le son vers la gauche | Déplacer le son vers la droite |
| BEEP | Eteints | Allumés |
| BT SETUP | Sélection du mode | |
REMARQUE
Environ 5 secondes après avoir selectionné une fonction, la fonction de commande du volume est automatiquement selectionnée. Pour remettre au réglage normal les graves, les aigus et le fader, appuyer sur le bouton de commande audio pendant 2 secondes. Un bip sera entendu et "CLEAR" sera affché.
Commande automatique du niveau (ALC)
(Modèle avec le système audio standard)
La commande automatique du niveau (ALC) est une fonction qui regle automatiquement le volume et la qualite du son suivant la vitesse du vehicule. Le volume augmente lorsque la vitesse augmente, puis baisse lorsque la vitesse ralentit.
Selectionner le mode ALC désiré.
| Mode | Modification du volume |
| ALC OFF | Pas de changement |
| ALC LEVEL1 | Minimum |
| ALC LEVEL2 | ▼ △ |
| ALC LEVEL3 | ▼ △ |
| ALC LEVEL4 | Moyenne |
| ALC LEVEL5 | ▼ △ |
| ALC LEVEL6 | ▼ △ |
| ALC LEVEL7 | Maximum |
Tournier le bouton de commande audio pour selectionner le mode ALC OFF ou ALC LEVEL1 à 7. Le mode selectionné est affché.


AudioPilot 2^* (Modèle avec le système audio Bose)
Le système AudioPilot 2 ajustement automatique le volume et la qualite du son selon le niveau de bruit dans l'habitatcle pendant la conduite. Lorsque AudioPilot 2 est actif, le système calcule automatique les conditions optimales d'ecoute dessons qui peuvent autrement etre difficiles aentendre selon le nivea de bruit exterieur.
- AudioPilot® 2 est une marque de commerce enregistrée de Bose Corporation.
Centerpoint\* (Modèle avec le système audio Bose)
Centerpoint® offe l'experience d'un son ambiophonique 5.1 canaux dans le vehicule, meme en utilisant des disques compacts stereo conventionnels à 2 canaux.
L'effet de son ambiophonique de Centerpoint® peut être ajusté sur n'importe quel des 5 niveaux entre l'amélioration minimum et maximum.
| Indication | Niveau d'amélioration |
| CENTERPT OFF | Eteints |
| CENTERPT MIN | Minimum |
| CENTERPT LOW | Niveau bas |
| CENTERPT MID | Moyenne |
| CENTERPT HI | Haut |
| CENTERPT MAX | Maximum |
Tourner le bouton de commande audio pour selectionner le mode CENTERPT MIN—MAX. Le mode selectionné est affché.

REMARQUE
- Centerpoint® fonctionne optimalement avec un disque compact stéreo à 2 canaux. Les fichiers audio MP3 peuvent être lus; toutefois, les fichiers audio MP3 encodés avec une compression élevée pourront avoir une mauvaise qualité sonore.
- Centerpoint® est disponible pour l'audio stéreo à 2 canaux, sauf dans le cas de la radio AM/radio FM/radio numérique par satellite de SIRIUS/AUX/audio BT.
- Centerpoint® est une marque de commerce enregistrée de Bose Corporation.
Réglage du bip sonore (BEEP)
Le bip sonore audible lors de l'utilisation du système audio peut etre activé ou annulé.
Mode BT SETUP*
La musique et autres sons, tels que les données voix, enregistrres sur les péripériques audio portables et les téléphones mobiles disponibles sur le marché et équipés de la fonction de transmission Bluetooth® peuvent être produits sur les enceintes du vehicule, via une transmission sans fil. Le mode BT SETUP permet de programmer ou de modifier ces péripériques au niveau de l'unité Bluetooth®.
Se référer à Système audio Bluetooth® à la page 6-68.
NOTES
Fonctionnement de la radio

Pour allumer la radio
Appuyer sur une touche de selection de gamme (AM, FM1/2) pour allumer la radio.
Sélection de gamme d'onde
Selectionner AM en appuyant sur la touche AM (AM), et FM en appuyant sur la touche FM1/2 (FM1/2).
Le mode selectionné est affché. Si une émission FM stéreo est reçue, le témoin "ST" sera affché.
REMARQUE
Si le signal de l'émission FM faiblit, la réception changera automatiquement de STEREO à MONAURAL afin de réduire les parasites, et le témoin "ST" s'eteindra.
Syntonisation
Cet apparéil possède les méthodes de syntonisation suivantes: syntonisation manuelle, par recherche, par balayage, par canal préréglé, et syntonisation de mémoire automatique. La façon la plus facile pour symnoniser des stations est de les assigner à des touches de canaux préréglés.
REMARQUE
Si l'alimentation de l'appareil est interrompue (fusible grillé ou batterie débranchée), les canaux prêrgélés seront effacés.
Syntonisation manuelle
Tournier le bouton de syntonisation manuelle pour passer à une fréquence plus basse ou plus élevé.
Syntonisation par recherche
Si l'on appuie sur la touche de
sythonisation par recherche ( ,) l'appareil fera automatiquement la
recherche de la frquence disponible plus
elevée ou plus BASSE.
REMARQUE
Si l'on garde la touche enfoncée, les fréquences défileront sans s'arrête.
Syntonisation par balayage
Appuyer sur la touche de balayage (SCAN) pour rechercher automatiquement les stations les plus puissantes. Le balayage s'arrête sur chaque station pendant environ 5 secondes. Pour maintenir une station, il suffit d'appuyer à nouveau sur la touche de balayage (SCAN) pendant cet intervalle.
Syntonisation par canaux préreglés
Les six canaux prépréglés peuvent être utilisés pour mémoriser 6 stations AM et 12 stations FM.
- Pour régler un canal, sélectionner en premier AM, FM1 ou FM2. Syntoniser la station désirée.
- Appuyer sur une touche de canal préréglé pendant 2 secondes environ jusqu'à ce qu'un bip se fasse entendre. Le numéro du canal préréglé et la fréquence de la station seront affichés. La station est maintainant mémorisée.
- Répéter cette opération pour les autres stations et gamas d'ondes désirées. Pour symponiser une des stations en mémoire, sélectionner AM, FM1 ou FM2, et appuyer sur la touche du canal prégré glée correspondant. La fréquence de la station et le numéro du canal seront affichés.
REMARQUE
Si l'alimentation de l'appareil est interrompue (fusible grillé ou batterie débranchée), les canaux prêrglés seront effacés.
Syntonisation de mémoire automatique
Cette fonction est particulièrement utile lorsqu'on conduit dans une région dont on ne connait pas les stations. Elle permet de memoriser des stations AM/FM supplémentaires sans afferter les canaux préreglés.
Appuyer et maintainir enforcée la touche de mémoire automatique (AUTO-M) pendant environ 2 secondes, jusqu'à ce qu'un bip se fasse entendre; le système recherche automatiquement et mettra temporairement en mémoire les six stations les plus puissantes de chaque gamme d'onde sélectionnée de la région.
Une fois le balayage terminé, l'appareil s'accorde sur la station la plus puissant et affiche sa fréquence.
Appuyer et relâcher la touche de mémoire automatique (AUTO-M) pour symponiser les stations mises en mémoire automatiquement. Une station de la mémoire sera sélectionnée à chaque pression; sa fréquence et le numéro de canal seront affichés.
REMARQUE
Si une station ne peut pas etre symponisee après le balayage, la lecture "A" est affichee.
Fonctionnement de la radio satellite*

Affichage d'informations
Toutes les opérations de la radio satellite sont affichées sur l'affichage d'informations.

REMARQUE
Cet appeareil a ete teste et il a ete déterminé qu'il respecte les limites pour un appeareil numérique de classe B, en accord avec la partie 15 de la Réglementation FCC. Ces limites sont conçues pour donner une protection adequate contre les interfêrences lors d'une installation résidentielle. Cet appeareil génére, utilise et peut radier une énergie de fréquence radio et, s'il n'est pas installé et utilisé suivant les instructions, peut causer des interfêrences nuisibles aux communications radio. Cependant, il n'est pas garanti qu'aucune interférence ne se produit lors d'une installation particulière. Si cet équipement cause des interfêrences nuisibles à la réception de radio ou de télévision, ce dont on peut serendre compte en éteignant puis en rallumant l'équipement, nous conseillons à l'utilisateur de corriger ces interfêrences en prénant une ou plusieurs des mesures suivantes:
-Eloigner l'equipement du syntonisateur.
- Connecter l'équipement à une prise d'un circuit différent de celui auquel le symtonisateur est connecté.
- Demander de l'aide à son revendeur ou à un technicien de radio/television compétent.
Qu'est-ce que la radio satellite?
Avec plus de 130 stations, la radio par satellite SIRIUS vous permet de retrouver tout ce que vous aimez.
Bénéficier de 69 stations 100% musicales, sans publicité, plus toutes vos stations de sports, d'actualité, de talk-shows et de divertissements préférentes. Toutes les stations qui en valent la peine sont désormais disponibles avec SIRIUS. 100% musique, sans publicité—Avec de la musique de tous les genres, des stations dédiées à des artistes spécifique, des performances live, etc., SIRIUS est le lieu par excellence où écouter de la musique, sans publicité.
Le sport match par match & les débats d'experts—Suisse tous les matches de la NFL, toutes les courses NASCAR et la couverture des compétitions de plus de 150 universités. Plus des shows sportifs 24 heures sur 24 et 7 jours sur 7 avec des stations telles que SIRIUS NFL Radio, SIRIUS NASCAR Radio, etc.
Divertissements et talk-shows
exclusifs—Les plus grands noms, des talk-shows passions, des comiques hilarants. Ecouter Howard Stern, Martha Stewart, Jamie Foxx, Blue Collar Comedy, Playboy Radio, des débats politiques, etc.
Actualité internationale—Rester informé avec FOX, CNN, CNBC, NPR®, BBC, etc.
Plus les conditions de circulation et la météo locales.
Famille & enfants—Distraire toute la famille avec Radio Disney, Kids Place Live, Laugh USA, etc.
Abonnez-vous dés aujourd'hui à SIRIUS Radio! Pour plus de détails, rendez-vous sur www.sirius.com.
Vous pouvez vous abonner et recevoir la radio satellite aux Etats-Unis. (Sauf Alaska et Hawaii) et au Canada.
Procedure d'activation de la radio par satellite
VoudeveezcontacterSIRIUS pour activer le service.L'activationest gratuite et ne nécessite que quelques minutes.
Le service SIRIUS utilise un code d'identifient pour identifier votre radio. Ce code est nécessaire à l'activation du service SIRIUS et sert également à signaler les problèmes.
Pour activer votre radio SIRIUS, contacter un spécialiste du service clientèle SIRIUS au 1-888-539-7474. Vous pouvez également consulter le site de SIRIUS, à l'adresse www.sirius.com.
Veuillez préparer les informations suivantes:
- Identifient SIRIUS (n° de série électronique à 12 chiffres ou ESN*)
- Informations de carte de crédit valables (peuvent être nécessaires lors de l'inscription initiale)
Veiller à vous stationner dehors, avec une vue dégagée sur le ciel. Vous devrez allumer votre radio (en mode SAT, sur le canal 184). L'activation nécessite généralement de 2 à 5 minutes.
*ESN: Numéro de série électronique
Fonctionnement de SIRIUS
Toutes les opérations de la radio satellite sont effectuees au moyen de l'unite audio.
Sélection du mode de radio SIRIUS
Lorsqu'on appuie sur la touche de satellite (SIRIUS) pendant ACC ON, le canal SIRIUS utilisé en dernier avant que le mode ait eté changé à un autre mode ou que l'appareil ait eté eteint sera lu.
Lorsqu'on appuie sur la touche de satellite (SIRIUS) dans un mode autre que le mode SIRIUS, le dernier canal utilisé sera reçu.
A cheque pression sur la touche de satellite (SIRIUS), la banque change dans l'ordre indiqué ci-dessous.

REMARQUE
SR1, SR2 et SR3: il est possible de mémoriser six stations dans chaque banque afin de pouvoir acceder commodément à ses stations préférentes.
Fonctionnement à l'etat initial
Un certain délambda pourra être nécessaire pour faire demarrer l'équipement lorsque ce dernier se trouve à l'etat initial, qu'il y a un changement dans l'état de l'abonnement de l'utilisateur, ou qu'il y a un changement dans la carte des canaux SIRIUS.
"UPDATING xx%" s'affiche lorsque la carte des canaux SIRIUS est changée. Si l'unité est initialisée ou que les données du contrat de l'utilisateur sont changées, "UPDATING" s'affiche. La mise à jour peut prendre jusqu'à trois minutes pour être complmie, selon la zone géographique. Lorsque l'unité est à l'etat initialisé, le canal 184 s'affiche après que le message "UPDATING 100% " se soit affché. Si la carte des canaux SIRIUS ou les données du contrat d'utilisateur sont changées, le canal établi avant le changement s'affiche après que le message "UPDATING" se soit affché. Àpres que l'affichage d'initialisation apparaisse, un-delai allant jusqu'à 12 secondes pourra être nécessaire avant que le canal 184 soit reçu.
REMARQUE
Ne pas effectuer l'opération suivante pendant que "UPDATING" est affché. Sinon, la procédure de mise à jour sera annulée.
- Mise hors tension du système audio
Passage à d'autres modes - Mettre le contacteur sur la position d'arrêt
Lorsque le mode SIRIUS passé à un autre mode, ou que l'alimentation électrique est coupée, le canal en cours de réception est méorisé comme dernier canal.
Sélection du canal
On peut selectionner le canal de reception youlu en tournant le bouton de syntonisation manuelle.
- Tourner le bouton dans le sens des aiguilles d'une montre: Canal vers le haut
- Tourner le bouton dans le sens contraire des aiguilles d'une montre: Canal vers le bas
Canal désbonné
Lorsqu'on ne s'est pas abonné à la station sélectionnée, les indications suivantes s'affichent:
$$ [ \text {C A L L} + 8 8 8 ] e t [ 5 3 9 + S I R I ] $$
(clignant tour à tour)
REMARQUE
Lorsque le contrat d'abonnement est annulé, tous les canaux apparaissent comme désabonnés, y compris le canal 184.
Canal non valide
Lorsqu'un canal sélectionné n'est pas diffusé, l'indication [SR + (numéro de banque) + INVALID] s'affiche pendant une seconde, suivi par l'indication [SR + (numéro de banque) + CHANNEL], qui est aussi affichée pendant une seconde. Le canal valide precedent réapparait ensuite à l'affichage.
REMARQUE
Si le dernier canal seLECTIONné n'est plus disponible en raison d'une mise à jour des canaux, l'indication ci-dessus apparait jusqu'à ce qu'on appuie sur une touche quelconque.
Programmation des canaux prereglés (Programmation avec l'affichage de "numéro de canal")
-
Sélectionner le canal que l'on peut programmermer. A ce moment, les indications suivantes s'affichent: [SR + (numéro de banque) + (numéro de canal)]
-
Continuer à appuyer sur la touche de canal pré régle pendant 1,5 seconde ou plus. L'opération de programmation est terminée une fois que le numéro de canal clignote. Ensuite, [SR + (numéro de banque)] s'affiche et un bipsonore retentit simultanément.
- Les indications [SR + (numéro de banque) + CH + (numéro de préréglage) + (numéro de canal)] s'affichent.
(Programmation avec l'affichage de "texte" (par ex. nom de canal))
- Sélectionner le canal que l'on peut programmermer. A ce moment, les indications suivantes s'affichent: [SR + (numéro de banque) + (texte sélectionné (par ex. nom de canal))
- Continuer à appuyer sur la touche de canal préréglé pendant 1,5 seconde ou plus. L'opération de programmation est terminée une fois que le texte (par ex. nom de canal) clignote. Ensuite, [SR + (numéro de banque)] s'affiche et un bip sonore retentit simultanément.
- Les indications [SR + (numéro de banque) + CH + (numéro de préréglage) + (numéro de canal)] s'affichent.
- Trois secondes plus tard, l'affichage normal réapparait. [SR + (numéro de banque) + (texte (par ex. nom de canal))]
REMARQUE
Il est possible de mémoriser six stations dans chaque banque SR1, SR2 et SR3, afin de pouvoir acceder commodément à ses stations préférentes.
Appel d'un canal préréglé
Appuyer sur une touche de canal préréglé et relâcher la touche.
[ \mathrm{[SR + (numéro de banque) + CH + (numéro de préréglage) + (numéro de canal)] apparait}. ]
Lorsqu'on appuie sur la touche de préréglage pendant le mode de texte, son numéro de canal est d'abord affchépendant trois secondes, puis le texte apparait.
REMARQUE
Pardefault,touslescanauxpreréglesa 184.
Changement de catégorie
Appuyer sur la touche de catégorie ( ou ) et selectionner la catégorie voulue.
Appuyer sur la touche de catégorie () :Catégorie vers le haut
Appuyer sur la touche de catégorie (V):Catégorie vers le bas
A chaque pression sur la touche de catégorie () , la catégorie change dans l'ordre indiqué ci-dessous.
A ce moment, le canal le plus bas (numéro le plus petit) dans la catégorie indiquée est reçu.
Lorsque la catégorie la plus haute (ou la plus basse) est atteinte, la catégorie change dans l'ordre indiqué ci-dessous.
Plus haute catégorie Toutes categorie ^ Plusasse catégorie
REMARQUE
Quand toutes les catégories sont selectionnées, il est possible d'acceder à tous les canaux d'une catégorie (état sans catégorie).
Sélection du canal dans une catégorie
Si vous est dans la catégorie sélectionnée et le numéro de canal est affché, il se déplacera vers le haut/bas dans la catégorie actuelle lorsqu'on tourne le bouton de syntonisation manuelle.
- Tourner le bouton de symtonisation manuelle dans le sens des aiguilles d'une montre: Canal vers le haut
- Tourner le bouton de symponisation manuelle dans le sens contraire des aiguilles d'une montre: Canal vers le bas
REMARQUE
Il faut que le numéro de canal soit indiquédans l'affichage pour pouvoir utiliser le boutonde syntonisation manuelle pour cette fonction.
Syntonisation par balayage
Appuyer sur la touche de balayage (SCAN) pour rechercher automatiquement les stations. Le balayage s'arrête sur chaque station pendant environ cinq secondes. Pour maintainir une station, il suffit d'appuyer à nouveau sur la touche de balayage (SCAN) pendant cet intervalle.
REMARQUE
- Les canaux non souscrits, les canaux invalides, les canaux à verrouillage parental et le canal 0 ne sont pas soumis au balayage; par conséquent, ces canaux seront sautés automatiquement.
- Vous pouze balayer tous les canaux quand toutes les catégories sont sélectionnées. Si vous étés dans une catégorie selectionnée, vous ne pouze scanner que les canaux dans cette catégorie.
Affichage du numero de canal, du nom de canal, de la catégorie, de l'artiste, des titres de chanson et des informations
A cheque pression sur la touche d'affichage (DISP) pendant la réception SIRIUS, l'affichage des données textuelles change dans l'ordre indiqué ci-dessous.

REMARQUE
- Huit caractères peuvent être affichés sur un seul écran.
- Pour afficher les autres caractères d'un titre long, appuyer sur la touche de texte (TEXT). Les huit caractères suivants défilent sur l'affichage. Appuyer à nouveau sur la touche de texte (TEXT) après que les huit derniers caractères ont été affichés pour revenir au début du titre.
(Affichage du numero de canal)
- Lorsqu'on appuie sur la touche d'affichage (DISP) en mode d'affichage des informations, le mode passe au mode d'affichage du numéro de canal.
(Affichage du nom de canal)
-
Lorsqu'on appuie sur la touche d'affichage (DISP) en mode d'affichage du numéro de canal, le mode passé au mode d'affichage du nom de canal.
-
Le nom de canal est affiché sous forme de nom court (huit caractères fixes) et de nom long.
- Le nom long est affiché en premier, puis après trois secondes le nom court apparait. S'il n'y a pas de nom court, le nom long apparait.
- Pour afficher les autres caractères du nom du canal, appuyer sur la touche de texte (TEXT). Les huit caractères suivants défilent sur l'affichage. Appuyer à nouveau sur la touche de texte (TEXT) après que les huit derniers caractères ont été affichés pour revenir au début du titre.
- Appuyer sur la touche de texte (TEXT) pendant que le nom court est affché pour passer à l'affichage du nom long.
- Trois secondes après qu'on ait fait défilier le nom long, la première partie du nom long revient automatiquement à l'affichage. Puis, après trois secondes supplémentaires, le nom court apparait.
S'il n'y a pas de nom de canal, l'indication "No TITLE" apparait.
(Affichage du nom de catégorie)
- Lorsqu'on appuie sur la touche d'affichage (DISP) en mode d'affichage du nom de canal, le mode passe au mode d'affichage du nom de catégorie.
- Le nom de catégorie est affiché sous forme de nom court (huit caractères fixes) et de nom long.
-
Le nom long est affiché en premier, puis après trois secondes le nom court apparait. S'il n'y a pas de nom court, le nom long apparait.
-
Pour afficher les autres caractères du nom de la catégorie, appuyer sur la touche de texte (TEXT). Les huit caractères suivants défilent sur l'affichage. Appuyer à nouveau sur la touche de texte (TEXT) après que les huit derniers caractères ont été affichés pour revenir au début du titre.
- Appuyer sur la touche de texte (TEXT) pendant que le nom court est affché pour passer à l'affichage du nom long.
- Trois secondes après qu'on ait fait défilier le nom long, la première partie du nom long revient automatiquement à l'affichage. Puis, après trois secondes supplémentaires, le nom court apparait.
- S'il n'y a pas de nom de catégorie, l'indication "No CATEGORY" apparait.
(Affichage du nom de l'artiste)
- Lorsqu'on appuie sur la touche d'affichage (DISP) en mode d'affichage du nom de catégorie, le mode passe au mode d'affichage du nom d'artiste.
- Pour afficher les autres caractères du nom de l'artiste, appuyer sur la touche de texte (TEXT). Les huit caractères suivants défilent sur l'affichage. Appuyer à nouveau sur la touche de texte (TEXT) après que les huit derniers caractères ont été affichés pour revenir au début du titre.
Trois secondes après qu'on ait fait défilier le nom de l'artiste, la première partie du nom de l'artiste revient automatiquement à l'affichage.
S'il n'y a pas de nom d'artiste, l'indication "No ARTIST" apparait.
(Affichage du titre de chanson)
Lorsqu'on appuie sur la touche d'affichage (DISP) en mode d'affichage du nom d'artiste, le mode passe au mode d'affichage du titre de chanson.
Pour afficher les autres caractères du nom de la chanson, appuyer sur la touche de texte (TEXT). Les huit caractères suivants défilent sur l'affichage. Appuyer à nouveau sur la touche de texte (TEXT) après que les huit derniers caractères ont été affichés pour revenir au début du titre.
- Trois secondes après qu'on ait fait défilier le titre de chanson, la première partie du titre de chanson revient automatiquement à l'affichage.
S'il n'y a pas de titre de chanson, l'indication "No SONG" apparait.
(Affichage des informations (telles que le nom du compositeur))
- Lorsqu'on appuie sur la touche d'affichage (DISP) en mode d'affichage du titre de chanson, le mode passé au mode d'affichage des informations.
- Pour afficher les autres caractères du nom du compositeur, appuyer sur la touche de texte (TEXT). Les huit caractères suivants défilent sur l'affichage. Appuyer à nouveau sur la touche de texte (TEXT) après que les huit derniers caractères ont été affichés pour revenir au début du titre.
- Trois secondes après qu'on ait fait défilier le texte, la première partie du texte revient automatiquement à l'affichage.
- S'il n'y a pas de nom de compositeur, l'indication "No INFO" apparait.
Relecture instantanée
Cette fonction permet de revenir rapidement en arrêté et de relire le programme que l'on écoutait précédemment ou que l'on écoute actuellément.
Appuyer sur la touche de relecture instantanée ( II) .
Lorsqu'on appuie (pendant 1,5 seconde environ) sur la touche de syntonisation par recherche () , la lecture commence a partir du début du programme actuel. Lorsqu'on appuie a deux reprises sur la touche de syntonisation par recherche () , la lecture commence a partir du début du programme precedent.
Lorsqu'on appuie sur la touche de syntonisation par recherche () pendant environ 1,5 seconde ou plus, le programme est reculé pendant qu'on appuie sur la touche.
Lorsqu'on appuie (pendant 1,5 seconde environ) sur la touche de syntonisation par recherche () , la lecture commence a partir du début du programme suivant. Lorsqu'on appuie (pendant 1,5 seconde environ) sur la touche de syntonisation par recherche () pendant que le dernier programme est lu, le mode de relecture instantanée est annulé.
Lorsqu'on appuie sur la touche de syntonisation par recherche (▲) pendant 1,5 seconde ou plus, le programme est avancé rapidement pendant qu'on appuie sur la touche. Lorsqu'on maintain la touche enforcée jusqu'à la fin du programme, le mode de relecture instantanée est annulé.
Lorsqu'on appuie à nouveau sur la touche de relecture instantanée (▶II), la lecture est interrompue momentarily, ou la lecture recommence si elle a été interrompue momentarily.
Relecture instantanée (PAUSE)
Si la touche de relecture instantanée ( ) est activée alors que le mode de relecture instantanée est désactivé, le mode de relecture instantanée est activé mais placé en pause (PAUSE). Appuyer de nouveau sur la touche de relecture instantanée ( ) pour reprendre la lecture à partir du point où elle s'est arrêtée.
REMARQUE
- Si le canal est changé, les données de tampon de relecture instantanée sont annulées.
- Une fois l'appareil mis sous tension et le mode de radio numérique par satellite de SIRIUS activé, le mode de relecture instantanée n'est pas disponible dans les secondes qui suivent le changement de canal.
Affichage de I'identifiant SIRIUS (ESN)
Lorsqu'on appuie sur la touche ESN (ESN) pendant 1,5 seconde ou plus, ou qu'on met le bouton de syntonisation manuelle sur le canal 0, un numero de série électrique à 12 chiffres (ESN) pour le tuner SIRIUS s'affiche.
(Si l'identifant SIRIUS (ESN) pour le syntonisateur n'est pas affché)
Si l'indication "ESN + FAIL" s'affiche après qu'on ait appuyé sur la touche ESN (ESN) pendant 1,5 seconde ou plus, s'adresser à un concessionnaire Mazda/agréé.
Initialisation du code d'identifiant
Si l'on a oublé le code d'identifant enregistré, remetre le code d'identifant à la valeur par défaut [0000] en procédant comme suit:
Etat du réglage: Mode SAT
(Préparation à l'entrée du code maitre)
- Maintenir la touche de mémoire automatique (AUTO-M) enforcée, puis appuyer sur la touche de canal préréglé 4. Maintenir les deux touches enforcées simultanément pendant 1,5 seconde.
- L'indication "ENTER PIN" apparait pendant deux secondes, pour indiquer qu'on se trouve en mode d'entrée de code.
- L'indication "SR1 ---" apparait, pour indiquer que l'appareil est pret pour l'entrée du code.
(Entrée du code maître)
- Entrer le code maître en utilisant les touches de canal préprégle 1-4. (Le code maître a déjà été réglé au moment de l'expédition de l'usine.)
(Détermination de l'entrée du code maître)
- Determiner le code maître qui a été entré en appuyant sur la touche de mémoire automatique (AUTO-M).
- L'indication "PIN CLEARED" apparait, pour indiquer que l'entrée du code maitre a ete accomplie.
- Le code d'identifient est regle à la valeur par défaut [0000], et l'opération d'initialisation est terminée.
REMARQUE
Code maitre:
Le code maître est utilisé pour initialiser ou réinitialiser le code d'identifant si le code n'est pas régle à [0000] et/ou si le code d'identifant personnelisé est inconnu. L'opération d'initialisation remet le code d'identifant à [0000]. Le code maître peut potentiellément neutraliser l'effect de sécurité du verrouillage parental s'il est localisé par des personnes non autorisées par le contrôleur pour acceder à certains canaux.
Code maître de la radio satellite SIRIUS: [0913]
REMARQUE
- Lorsqu'on entre une valeur numérique autre que le code maitre et qu'on appuie sur la touche de mémoire automatique (AUTO-M), le message "SR1 Err" apparait, puis "SR1 ---" réapparait à l'affichage.
- Si l'on n'entre aucun code d'identifant pendant dix secondes, le message "Err" apparait, puis l'affichage precedent réapparait.
- Pour entrer le code d'identifant, il faut utiliser les touches de canaux prêrglés 1, 2, 3, 4 et la touche de mémoire automatique (AUTO-M). Il est impossible d'utiliser les touches 5 et 6.
Changement du code d'identifiant
Etat du réglage: Mode SAT
Lors du changement de code identifient, le nouveau code identifant n'est saisi qu'une fois l'ancien code entrez.
(Entrée du code d'identifant enregistré)
- Maintenir la touche de mémoire automatique (AUTO-M) enfoncée, puis appuyer sur la touche de canal préréglé 5. Maintenir les deux touches enfonçées simultanément pendant 1,5 seconde.
- L'indication "ENTER PIN" apparait pendant deux secondes, pour indiquer qu'on se trouve en mode d'entrée de code.
- L'indication "SR1 ---" apparait, pour indiquer que l'appareil est pret pour l'entrée du code.
- Entrer le code d'identifant enregistré en utilisant les touches de canaux préroglés 1-4. Exemple: Lorsque le code d'identifant enregistré est "2323", entre "2323". L'indication "SR1 2323" s'affiche alors. Appuyer sur 1 pour le premier chiffre, sur 2 pour le deuxième chiffre, sur 3 pour le troisième chiffre, et sur 4 pour le dernier chiffre. Par exemple, si le numéro de code est 2323, appuyer sur 1 trois fois (0 compris), sur 2 quatre fois, sur 3 trois fois et sur 4 quatre fois. Si l'affichage s'éteint pendant que l'on entre le code, reprenevre à partir de l'étépe 1.
REMARQUE
Le code d'identifant enregistré est la valeur par défaut [0000] au moment de l'expédition de l'usine. Si [0000] produit l' apparition du message "Err" sur l'affichage, passer à la section "INITIALISATION DU CODE D'IDENTIFIANT" pour remettre la valeur à [0000].
(Vérification avec le code d'identifant enregistré)
- Determiner le code d'entrée en appuyant sur la touche de mémoire automatique (AUTO-M).
- S'il ne correspond pas au code enregistréAAParavant,le message "SR1Err"apparaitpuis l'indication "SR1---" reappearait a'affichage.
- S'il correspond au code enregistré aparavant, le message "ENTER PIN" apparait, puis le mode d'entrée de code est rétabli.
- L'indication "SR1 - - - -" apparait, pour indiquer que l'appareil est pret pour l'entrée du nouveau code d'identifiant.
(Entrée du nouveau code d'identifient)
- Entrer le nouveau code d'identifient en utilisant les touches de canaux préreglés 1-4.
Exemple: Si on entre "1234" comme nouveau code, l'indication "SR1 1234" s'affiche.
(Détermination de l'entrée du nouveau code d'identifient)
- Determiner le nouveau code d'identifient qui a ete entree en appuyant sur la touche de memoire automatique (AUTO-M).
- L'indication "PIN CHANGED" apparait pendant trois secondes, pour indiquer que l'entrée du nouveau code d'identifiant a eté accomplie.
- L'affichage precedent réapparait.
REMARQUE
- Si l'on n'entre aucun code d'identifant pendant dix secondes, le message "Err" apparait, puis l'affichage precedent réapparait.
- Pour entre le code d'identifant, il faut utiliser les touches de canaux prérgélés 1, 2, 3, 4 et la touche de mémoire automatique (AUTO-M). Il est impossible d'utiliser les touches 5 et 6.
Verrouillage d'un canal individuel
Si un canal est verrouillé, ce canal est mis en sourdine.
REMARQUE
Si l'on a oublie le code d'identifant enregistré, remettre le code d'identifant à la valeur par défaut [0000]. (Se reporter à la section "INITIALISATION DU CODE D'IDENTIFIANT")
(Verrouillage d'un canal)
- Sélectionner un canal à verrouiller en tournant le bouton de syntonisation manuelle. Exemple: Sélectionner le canal 100
(Préparation à l'entrée du code d'identifient enregistré)
- Maintenir la touche de mémoire automatique (AUTO-M) enforcée, puis appuyer sur la touche de canal préréglé 6. Maintenir les deux touches enforcées simultanément pendant 1,5 seconde.
- L'indication "ENTER PIN" apparait pendant deux secondes, pour indiquer qu'on se trouve en mode d'entrée de code.
- L'indication "SR1 ---" apparait, pour indiquer que l'appareil est pret pour l'entrée du code.
(Entrée du code d'identifant enregistré)
- Entrer le code d'identifant enregistré en utilisant les touches de canaux préroglés 1-4. Exemple: Si le code d'identifant enregistré est "2323", entrer "2323". L'indication "SR1 2323" s'affiche alors.
(Détermination de l'entrée du code d'identifant enregistré)
- Determiner le code qui a ete entree en appuyant sur la touche de memoire automatique (AUTO-M).
- S'il ne correspond pas au code enregistré, le message "SR1 Err" apparait puis l'indication "SR1 - - - - " réapparait à l'affichage.
- S'il correspond au code enregistré, l'indication "SR1 LOCK" apparait pendant trois secondes, pour indiquer que l'entrée du code a eté accomplie.
- L'indication "SR1 LOCK 100" apparait, pour indiquer que le verrouillage parental est activé. A ce moment, la sourdine est activée et,aucun son n'est audible.
REMARQUE
- Si l'on n'entre aucun code d'identifant pendant dix secondes, le message "Err" apparait, puis l'affichage precedent réapparait.
- Pour entrer le code d'identifant, il faut utiliser les touches de canaux prérogles 1, 2, 3, 4 et la touche de mémoire automatique (AUTO-M). Il est impossible d'utiliser les touches 5 et 6.
Annulation du verrouillage
Etat du réglage: Mode SAT
(Libération d'un canal verrouillé)
- Sélectionner un canal à libérer en tournant le bouton de syntonisation manuelle. Exemple: Sélectionner le canal verrouillé (par ex. 100). L'indication "SR1 LOCK 100" s'affiche alors.
(Préparation à l'entrée du code d'identifient enregistré)
- Maintenir la touche de mémoire automatique (AUTO-M) enforcée, puis appuyer sur la touche de canal préréglé 6. Maintenir les deux touches enforcées simultanément pendant 1,5 seconde.
- L'indication "ENTER PIN" apparait pendant deux secondes, pour indiquer qu'on se trouve en mode d'entrée de code.
- L'indication "SR1 ---" apparait, pour indiquer que l'appareil est pret pour l'entrée du code.
(Entrée du code d'identifant enregistré)
- Entrer le code d'identifant enregistré en utilisant les touches de canaux prérogliés 1-4. Exemple: Lorsque le code d'identifant enregistré est "2323", entrer "2323". L'indication "SR1 2323" s'affiche alors.
REMARQUE
Si le message "Err" s'affiche, passer à la section "INITIALISATION DU CODE D'IDENTIFIANT" pour remettre le code d'identifant à [0000].
(Détermination de l'entrée du code d'identifant enregistré)
- Determiner le code d'entrée en appuyant sur la touche de mémoire automatique (AUTO-M).
- S'il ne correspond pas au code enregistré, le message "SR1 Err" apparait puis l'indication "SR1 - - - - " réapparait à l'affichage.
- S'il correspond au code enregistré, l'indication "SR1 UNLOCK" apparait pendant trois secondes, pour indiquer que I'entrée du code a ete accomplie.
- L'indication "SR1 100" apparait pour indiquer que le verrouillage parental est désactié. Un son est alors émis.
REMARQUE
- Si l'on n'entre aucun code d'identifant pendant dix secondes, le message "Err" apparait, puis l'affichage precedent réapparait.
- Pour entrer le code d'identifant, il faut utiliser les touches de canaux prérglés 1, 2, 3, 4 et la touche de mémoire automatique (AUTO-M). Il est impossible d'utiliser les touches 5 et 6.
NOTES
Fonctionnement du lecteur de disques compacts
Touche de plage suivante/d'avance Fente du disque compact Touche d'éjection du disque compact

| Type | Données lisibles |
| Lecture de CD musicaux/MP3/WMA | • Données de musique (CD-DA) • Fichier MP3/WMA |
REMARQUE
Si un disque inclut des données musicales (CD-DA) et des fichiers MP3/WMA, la lecture des deux ou trois types de fichiers varie en fonction du mode d'enregistrement du disque.
Insertion du disque compact
Insérer le disque compact, cote imprimé vers le haut, dans la fente. Le mecanisme de chargement automatique charger a le disque compact et commencer a la lecture.
REMARQUE
Il s'écoule un certain temps avant que la lecture commence pendant que le lecteur lit les données numériques du disque compact.
Ejection du disque compact
Appuyer sur la touche d'éjection du disque compact (▲) pour éjecter le disque compact.
Lecture
Appuyer sur la touche de lecture du disque compact (CD) pour commencer la lecture du disque compact lorsqu'il est charge.
S'il n'y a pas de disque compact dans l'appareil lorsque la touche de lecture du disque compact (CD) est pressée, "NO DISC" clignotera.
REMARQUE
Lorsque la touche de chargement (LOAD) est pressée, le disque compact est chargeé et lu même si la touche d'éjection du disque compact (▲) a été pressée.
Pause
Pour arrêté la lecture, appuyer sur la touche de lecture/pause (▶II).
Appuyer de nouveau sur la touche pour reprendre la lecture.
Avance rapide/Inversion
Appuyer sur la touche d'avance rapide () et la maintainir enforcée pour faire une lecture de la plage à vitesse rapide.
Appuyer sur la touche d'inversion () et la maintainir enforcée pour faire une lecture de la plage vers l'arrière à vitesse rapide.
Recherche de plage
Appuyer sur la touche de plage suivante (▲) ou tournier le bouton des fichiers dans le sens des aiguilles d'une montre une fois pour passer au début de la plage suivante.
Appuyer sur la touche de plage precedente () ou tournier le bouton des fichiers dans le sens inverse des aiguilles d'une montre une fois pour returner au début de la plage en cours de lecture.
Recherche d'un dossier (pendant la lecture d'un disque compact MP3/WMA)
Pour passer au dossier précédent, appuyer sur la touche de recherche du dossier vers le bas (V), ou appuyer sur la touche de recherche du dossier vers le haut (A) pour avancer jusqu'au dossier suivant.
Balayage
Pendant la lecture des disques compacts
Cette fonction balaye les titres d'un disque compact et lit 10 secondes de chaque morceau pour vous permettre d'en trouver un que vous voulez écouter.
Pendant la lecture des disques compacts MP3/WMA
Cette fonction balaye les titres d'un dossier en cours de lecture et lit 10 secondes de chaque morceau pour vous permettre d'en trouver un que vous voulez écouter.
Appuyer sur la touche de balayage (SCAN) pendant la lecture pour commencer le balayage (le numéro de la plage clignotera).
Appuyer sur la touche de balayage (SCAN) de nouveau pour annuler le balayage.
REMARQUE
Si l'appareil est laissé en mode de balayage, la lecture normale reprendra à la plage où le balayage a commencé.
Lecture à répetition
Pendant la lecture des disques compacts
- Appuyer sur la touche de répétition (RPT) pendant la lecture pour que la plage actuelle soit lue à répétition. "RPT" est affchéé.
- Appuyer de nouveau sur la touche pour annuler la lecture à répétition.
Pendant la lecture des disques compacts MP3/WMA
(Répétition de plage)
- Appuyer sur la touche de répétition (RPT) pendant la lecture pour que la plage actuelle soit lue à répétition. "TRACK RPT" est affché.
- Pour annuler la lecture à répétition, appuyer de nouveau sur la touche après 3 secondes.
(Répétition de dossier)
- Appuyer sur la touche de répétition (RPT) pendant la lecture, puis appuyer de nouveau avant 3 secondes pour dire les plages du dossier actuel à répétition. "FOLDER RPT" est affchéé.
- Appuyer de nouveau sur la touche pour annuler la lecture à répétition.
Lecture aléatoire
Les plages sont selectionnées de façon aléatoire et lues.
Pendant la lecture des disques compacts
- Appuyer sur la touche de lecture aléatoire (RDM) pendant la lecture pour que les plages du disque compact soit lues de façon aléatoire. "RDM" est affchéé.
- Appuyer de nouveau sur la touche pour annuler la lecture aléatoire.
Pendant la lecture des disques compacts MP3/WMA
(Dossier aléatoire)
- Appuyer sur la touche de lecture aléatoire (RDM) pendant la lecture pour que les plages du dossier soit lues de façon aléatoire. "FOLDER RDM" est affché.
- Pour annuler la lecture aléatoire, appuyer de nouveau sur la touche après 3 secondes.
(Aléatoire de disque compact)
-
Appuyer sur la touche aléatoire (RDM) pendant la lecture, puis appuyer de nouveau avant 3 secondes pour dire les plages du disque compact de façon aléatoire. "DISC RDM" est affché.
-
Appuyer de nouveau sur la touche pour annuler la lecture aléatoire.
Changer l'affichage
Pour les fichiers comportant un nom de fichier et d'autres informations qui ont ete entrees, l'affichage passe alternativement du nom de fichier aux autres informations et vice versa a chaque fois qu'on appuie sur la touche d'affichage (DISP) pendant que la lecture est effectuee.
Disques compacts de musique
Affichage du numero de piste/temps écoulé

Affichage du nom de piste
Affichage du nom de l'album
Affichage du nom de l'artiste
Disques compacts MP3/WMA
Numero de dossier/Numero du fjichier
Affichage du numero du fichier/temps ecoulé

Nom du fichier
Nom du dossier
Nom de l'album (Balise ID3)
Nom de la chanson (Balise ID3)
Nom de l'artiste (Balise ID3)
REMARQUE
- Les informations qu'on peut voir sur l'affichage sont seulement les informations relatives de disques compacts (telles que le nom d'artiste, le titre de chanson) qui ont ete enregistrées sur le disque compact.
- Le système ne peut afficher que les caractères alphabetiques à un octet. Si des caractères à deux octets ou d'autres types de caractères ont été enregistrés sur le disque compact, il est possible qu'ils ne soient pas affichés correctement.
Faire défiler l'affichage
Il est uniquement possible d'afficher 8
caracteres (nom de fichier) ou 12
caracteres (noms de fichier exclus) à la
fois. Pour afficher les autres caractères
d'un titre long, appuyer sur la touche de
texte (TEXT). Les 12 caractères suivants
défilent sur l'affichage. Appuyer à
nouveau sur la touche de texte (TEXT)
apres que les 12 derniers caractères ont eté
affichés pour revenir au début du titre.
REMARQUE
Le nombre de caractères affichables est limité. Si le nombre de caractères, incluant l'extension de fichier (.mp3/.wma) dépasse 32 caractères, il est possible qu'ils ne soient pas tous affichés.
Afficheur de message
Si "CHECK CD" est affché, cela signifie qu'il y a une quelconque défaillance du disque compact. Vérifier pour déceler tout dommage, poussière ou taches sur le disque compact, puis réinsérer ajustement. Si le message apparait toujours, apporter l'unité à un concessionnaire/agréed Mazda pour les réparations.
Fonctionnement de changeur de disques compacts dans le tableau de bord

| Type | Données lisibles |
| Lecture de CD musicaux/MP3/WMA | • Données de musique (CD-DA) • Fichier MP3/WMA |
REMARQUE
Si un disque inclut des données musicales (CD-DA) et des fichiers MP3/WMA, la lecture des deux ou trois types de fichiers varie en fonction du mode d'enregistrement du disque.
Insertion du disque compact
Insérer le disque compact, cote imprimé vers le haut, dans la fente. Le mecanisme de chargement automatique charger a le disque compact et commencer a la lecture.
REMARQUE
La lecture du disque compact débutera automatiquementèsson insertion.Un disque compact ne peut pas être inséré tant que l'indication“WAIT”est affichée.Un bip sonore sera entendu pendant cette période d'attente.
Il s'écoule un certain temps avant que la lecture commence pendant que le lecteur lit les données numériques du disque compact.
Insertion normale
- Appuyer sur la touche de chargement (LOAD).
- Lorsque "IN" est affiché, insérer le disque compact.
Insertion d'un disque compact à un numéro de plateau désiré
- Appuyer et maintainir enfoncée la touche de chargement (LOAD) pendant 2 secondes environ, jusqu'à ce qu'un bip se fasse entendre.
- Appuyer sur la touche de canal prénéglé pour le nombre de plateau désiré pendant que “WAIT” est affché.
- Lorsque "IN" est affiché, insérer le disque compact.
REMARQUE
Le disque compact ne peut pas etre insere au numero de plateau desirede s'il est déjà occupepar un disque.
Insertion multiple
- Appuyer et maintainir enforcée la touche de chargement (LOAD) pendant 2 secondes environ, jusqu'à ce qu'un bip se fasse entendre.
- Lorsque "IN" est affiché, insérer le disque compact.
- Lorsque "IN" est affiché de nouveau, insérer le disque compact suivant.
REMARQUE
Le disque compact inséré en premier sera lu automatiquement lorsque:
- Un autre disque compact n'est pas inséré dans les 15 secondes après que "IN" soit affché.
- Les plateaux des disques compacts sont pleins.
Affichage du numero de plateau du disque compact inséré
Pour connaître le numéro de plateau du disque compact inséré appuyer sur la touche d'affichage (DISP). Le numéro de plateau s'affichera pendant 5 secondes.
Ejection du disque compact
Ejection normale
- Appuyer sur la touche d'éjection du disque compact (▲). Le numéro du disque et "DISC OUT" seront affichés.
- Sortir le disque compact.
REMARQUE
Lorsque le disque compact est ejecté pendant la lecture, le disque compact suivant sera lu automatiquement.
Ejection du disque compact du numero de plateau désiré
- Appuyer et maintainir enforcée la touche d'éjection du disque compact (▲) pendant 2 secondes environ jusqu'à ce qu'un bip se fasse entendre. L'afficheur "DISC OUT" clignote.
- Appuyer sur la touche de canal prérgé du numéro du disque compact désirependant moins de 5 secondes après que le bip soit entendu.
3.Sortir le disque compact.
Ejection multiple
- Appuyer et maintainir enforcée la touche d'éjection du disque compact (▲) pendant 2 secondes environ jusqu'à ce qu'un bip se fasse entendre. L'afficheur "DISC OUT" clignote.
- Appuyer sur la touche d'éjection du disque compact (▲) de nouveau pendant moins de 5 secondes après que le bip soit entendu.
REMARQUE
Si la touche n'est pas enforcée et qu'environ 5 secondes se sont écoulées pendant que "DISC OUT" clignoit, les disques compacts sont automatiquement éjectés.
- Sortir le disque compact, le disque compact suivant sera ensuite ejecté.
REMARQUE
- Les disques compacts seront éjectés en commençant par celui du nombre le plus bas.
- Tous les disques compacts seront éjectés les uns après les autres.
- Les disques compacts peuvent être éjectés même si le contact est coupé. Appuyer et maintainir la touche d'éjection du disque compact (▲) pendant 2 secondes et tous les disques compacts seront éjectés.
Lecture
Appuyer sur la touche de lecture du disque compact (CD) pour commencer la lecture du disque compact lorsqu'il est charge.
S'il n'y a pas de disque compact dans l'appareil lorsque la touche de lecture du disque compact (CD) est pressée, "NO DISC" clignotera.
Pause
Pour arrêté la lecture, appuyer sur la touche de lecture/pause (▶II).
Appuyer de nouveau sur la touche pour reprendre la lecture.
Avance rapide/Inversion
Appuyer sur la touche d'avance rapide (▲) et la maintainir enfoncée pour faire une lecture de la plage à vitesse rapide. Appuyer sur la touche d'inversion (▼) et la maintainir enfoncée pour faire une lecture de la plage vers l'arrête à vitesse rapide.
Recherche de plage
Appuyer sur la touche de plage suivant () ou tournier le bouton des fichiers dans le sens des aiguilles d'une montre une fois pour passer au début de la plage suivante.
Appuyer sur la touche de plage precedente () ou tournier le bouton des fichiers dans le sens inverse des aiguilles d'une montre une fois pour returner au début de la plage en cours de lecture.
Recherche de disque
Pour changer le disque, appuyer sur la touche DISC (A ou V) pendant la lecture.
Recherche d'un dossier (pendant la lecture d'un disque compact MP3/
WMA)
Pour passer au dossier précédent, appuyer sur la touche de recherche du dossier vers le bas (V), ou appuyer sur la touche de recherche du dossier vers le haut (A) pour avancer jusqu'au dossier suivant.
Balayage
Pendant la lecture des disques compacts
Cette fonction balaye les titres d'un disque compact et lit 10 secondes de chaque morceau pour vous permettre d'en trouver un que vous voulez écouter.
Pendant la lecture des disques compacts MP3/WMA
Cette fonction balaye les titres d'un dossier en cours de lecture et lit 10 secondes de chaque morceau pour vous permettre d'en trouver un que vous pouze écouter.
Appuyer sur la touche de balayage (SCAN) pendant la lecture pour commencer le balayage (le numéro de la plage clignotera).
Appuyer sur la touche de balayage (SCAN) de nouveau pour annuler le balayage.
REMARQUE
Si l'appareil est laissé en mode de balayage, la lecture normale reprendra à la plage où le balayage a commencé.
Lecture à répetition
Pendant la lecture des disques compacts
- Appuyer sur la touche de répétition (RPT) pendant la lecture pour que la plage actuelle soit lue à répétition. "RPT" est affché.
- Appuyer de nouveau sur la touche pour annuler la lecture à répétition.
Pendant la lecture des disques compacts MP3/WMA
(Répétition de plage)
- Appuyer sur la touche de répétition (RPT) pendant la lecture pour que la plage actuelle soit lue à répétition. "TRACK RPT" est affché.
- Pour annuler la lecture à répétition, appuyer de nouveau sur la touche après 3 secondes.
(Répétition de dossier)
- Appuyer sur la touche de répétition (RPT) pendant la lecture, puis appuyer de nouveau avant 3 secondes pour生存 les plages du dossier actuel à répétition. "FOLDER RPT" est affchéé.
- Appuyer de nouveau sur la touche pour annuler la lecture à répétition.
Lecture aléatoire
Les plages sont selectionnées de façon aléatoire et lues.
Pendant la lecture des disques compacts
- Appuyer sur la touche de lecture aléatoire (RDM) pendant la lecture pour que les plages du disque compact soit lues de façon aléatoire. "RDM" est affché.
- Appuyer de nouveau sur la touche pour annuler la lecture aléatoire.
Pendant la lecture des disques compacts MP3/WMA
(Dossier aléatoire)
- Appuyer sur la touche de lecture aléatoire (RDM) pendant la lecture pour que les plages du dossier soit lues de façon aléatoire. "FOLDER RDM" est affché.
- Pour annuler la lecture aléatoire, appuyer de nouveau sur la touche après 3 secondes.
(Aléatoire de disque compact)
- Appuyer sur la touche aléatoire (RDM) pendant la lecture, puis appuyer de nouveau avant 3 secondes pour生存 les plages du disque compact de façon aléatoire. "DISC RDM" est affché.
- Appuyer de nouveau sur la touche pour annuler la lecture aléatoire.
Changer l'affichage
Pour les fichiers comportant un nom de fichier et d'autres informations qui ont ete entrees, l'affichage passae alternativement du nom de fichier aux autres informations et vice versa a chaque fois qu'on appuie sur la touche d'affichage (DISP) pendant que la lecture est effectuee.
Disques compacts de musique
Numero de plateau à disques

Affichage du numero du disque/Numero de piste/temps écoulé
Affichage du nom de piste
Affichage du nom de l'album
Affichage du nom de l'artiste
Disques compacts MP3/WMA
Numero du disque/Numero de dossier/Numero du fichier
Numéro de plateau à disques
Affichage du numero du disque/Numero du fichier/temps écoulé
Nom du fichier
Nom du dossier
Nom de l'album (Balise ID3)
Nom de la chanson (Balise ID3)
Nom de l'artiste (Balise ID3)
REMARQUE
- Les informations qu'on peut voir sur l'affichage sont seulement les informations relatives de disques compacts (telles que le nom d'artiste, le titre de chanson) qui ont ete enregistrées sur le disque compact.
- Le système ne peut afficher que les caractères alphabetiques à un octet. Si des caractères à deux octets ou d'autres types de caractères ont été enregistrés sur le disque compact, il est possible qu'ils ne soient pas affichés correctement.
Faire défilier l'affichage
Il est uniquement possible d'afficher 8 caractères (nom de fichier) ou 12 caractères (noms de fichier exclus) à la fois. Pour afficher les autres caractères d'un titre long, appuyer sur la touche de texte (TEXT). Les 12 caractères suivants défilent sur l'affichage. Appuyer à nouveau sur la touche de texte (TEXT) après que les 12 derniers caractères ont été affichés pour revenir au début du titre.
REMARQUE
Le nombre de caractères affichables est limité. Si le nombre de caractères, incluant l'extension de fichier (.mp3/.wma) dépasse 32 caractères, il est possible qu'ils ne soient pas tous affichés.
Afficheur de message
Si "CHECK CD" est affché, cela signifie qu'il y a une quelconque défaillance du disque compact. Vérifier pour déceler tout dommage, poussière ou taches sur le disque compact, puis réinsérer ajustement. Si le message apparait toujours, apporter l'unité à un concessionnaire agrée Mazda pour les réparations.
Fonctionnement de la prise auxiliaire
Vou puez connecter des appareils audio portables, comme un lecteur MP3, ou des produits similaires à la prise auxiliaire pour écouter de la musique sur les haut-parleurs du vehicule. Se reférer à Entrée auxiliaire (page 6-65).
Indications d'erreur
Si une indication d'erreur est affichée, se reférer au tableau suivant pour trouver la cause. Si l'indication d'erreur ne peut pas etre annulée, s'adresser concessionnaire agreé Mazda.
| Indication | Cause | Solution |
| ACQUIRING | Selon les conditions environnantes (telles que la présence de grands arbres, de bâtiments ou de tunnels) et les conditions atmosphériques particulières, il est possible que la réception des ondes radio SIRIUS soit affaiblie ou interrompu momentanément. | Améliorer la réception en s'éloignant des obstructions possibles. Si l'indication d'erreur continue à apparaitre, s'adresser à un concessionnaire agréé Mazda. |
| ANTENNA FAIL | Anomalie de l'antenne de radio par satellite | Vérifier l'antenne de radio par satellite, le cable d'antenne et le connecteur d'antenne DLP. Si l'indication d'erreur continue à apparaitre, s'adresser à un concessionnaire agréé Mazda. |
| CHECK CD | Le disque compact est inséré à l'envers | Insérer le disque compact correctement. Si l'indication d'erreur continue à apparaitre, s'adresser à un concessionnaire agréé Mazda. |
| Le disque compact est défectueux | Insérer un autre disque compact correctement. Si l'indication d'erreur continue à apparaitre, s'adresser à un concessionnaire agréé Mazda. |
REMARQUE
Si l'on remplace une unité DLP* défectuese par une unité neue, annuler la licence de l'unité défectuese et veiller à effectuer le nouvel enregistrement pour la nouvelle unité. Si la licence de l'unité défectuese n'est pas annulée, vous devrez payer un tarif de réception pour les deux unités.
- DLP: Down Link Processor (module de SATELLITE RADIO)
Fonctionnement de la commande audio au volant
Lorsque l'unité audio est en marche, il est possible de faire marcher l'unité audio à partir du volant.
REMARQUE
Comme l'unité audio sera eteinte lors des conditions suivantes, les interrupteurs seront inopérants.
- Lorsque le contacteur est sur la position d'arrêt.
- Lorsque la touche d'alimentation de l'unité audio est enforcée et que l'unité audio est éteinte.
- Lorsque le disque compact en cours de lecture est ejecté et que l'unité audio est éteinte.

Sans telephone mains-libres Bluetooth® et système de navigation de 7 pouces
Avec téléphone mains-libres Bluetooth® uniquely/telephone mains-libres Bluetooth® et système de navigation de 7 pouces
Les touches appel, décrocher et raccrocher permettent de commander le son du système de navigation.
Pour plus de détails, se référer au manuel séparé
"Conduite et Entretien du SYSTEME DE NAVIGATION".

REMARQUE
- Les touches appel, décrocher et raccrocher peuvent être utilisées lorsque l'appareil audio est désactisé.
- Mazda ainstalléce système pour empêcher lesdistractionslorsquelevehiculeest en marche etutiliselescommandedesaudio du tableau debord.
Une conduite sécurité doit toujours etre la priorite premiere.
Réglage du volume
Pour augmenter le volume, presser vers le haut l'interrupteur de volume.
Pour diminuier le volume, appuyer vers le bas l'interrupteur de volume.
Sans telephone mains-libres Bluetooth® et système de navigation de 7 pouces

Avec téléphone mains-libres Bluetooth® uniquely/telephone mains-libres Bluetooth® et système de navigation de 7 pouces

Sélection de la source
Appuyer sur l'interrupteur de mode (MODE) pour changer la source audio (radio FM1 radio FM2 radio AM lecteur de disques compacts ou changeur de disques compacts SIRIUS1 SIRIUS2 SIRIUS3 AUX audio BT cycle).
Sans telephone mains-libres Bluetooth® et système de navigation de 7 pouces

Avec téléphone mains-libres Bluetooth® uniquely/telephone mains-libres Bluetooth® et système de navigation de 7 pouces

REMARQUE
Les modes de lecteur de disques compacts, changeur de disques compacts, radio numérique par satellite de SIRIUS et audio BT ne peuvent pas etre selectionnés dans les cas suivants:
- Le système audio ne dispose pas d'une unité radio numérique par satellite de SIRIUS ou d'un appeareil audio BT.
Le compact disque n'a pas ete insere. Le mode AUX n'est pas disponible, sauf si vous connectez un apparéil audio portable en vente dans le commerce ( comme un lecteur MP3) à la prise auxiliaire. Connecter un apparéil audio portable ou un produit similaire en vente sur le marche à la prise auxiliaire pour écouter de la musique ou dessons sur les hautparleurs du vehicule. Mettre la source audio en mode AUX (page 6-65).
Interrupteur de recherche
Sans telephone mains-libres Bluetooth® et système de navigation de 7 pouces

Avec téléphone mains-libres Bluetooth® uniquely/telephone mains-libres Bluetooth® et système de navigation de 7 pouces

Lors de l'écoute de la radio ou de la radio numérique par satellite de SIRIUS
Appuyer vers le haut ou le bas l'interrupteur de recherche. La radio passe à la station sauvegarde suivante/ precedente das l'ordre de la sauvegarde (1 à 6).
(Radio)
Appuyer et maintainir l'interrupteur de recherche à la position haute ou basse pour rechercher toutes les stations utilisables à une fréquence supérieure ou inférieure, qu'elles soient programmées ou non.
(Radio numérique par satellite de SIRIUS)
Appuyer et maintainir l'interrupteur de recherche à la position haute ou basse pour rechercher toutes les stations utilisables à un canal supérieur ou inférieur, qu'elles soient programmées ou non.
REMARQUE
En cours de réception radio
Il est possible d'appeler les stations de radio préalablement enregistrées dans la synthonisation de mémoire automatique en appuyant sur l'interrupteur de recherche vers le haut ou le bas tandis que toutes les stations de radio enregistrées dans la synthonisation de mémoire automatique sont en cours de réception. Il est possible d'appeler les stations de radio dans l'ordre dans lequel elles ont été enregistrées à chaque fois que vous appuyez sur l'interrupteur vers le haut ou le bas.
Lors de la lecture d'un disque compact ou audio BT
Appuyer vers le haut l'interrupteur de recherche pour sauter à la plage suivante. Appuyer vers le bas l'interrupteur de recherche pour repeter la plage en cours de lecture.
Appuyer et maintainir enfoncée l'interrupteur de recherche dans la position haute ou basse pour permuter les plages continulement en haut ou en bas.
Interrupteur de sourdine*
Appuyer sur l'interrupteur de sourdine (艹) une fois pourmettre le son en sourdine,appuyer de nouveau pour rétablir le son.
REMARQUE
Si le contacteur est sur la position d'arrêt avec l'unité audio en sourdine, la sourdine sera annulée.
Par conséquence, une fois le moteur redémarré, l'unité audio n'est plus en sourdine. Pour la remettre en sourdine, appuyer sur l'interrupteur de sourdine (A).
Sans telephone mains-libres Bluetooth® et système de navigation de 7 pouces

Mode AUX (entree auxiliaire)
Vous pouvez connecter des appeareils audio portables, comme un lecteur MP3, ou des produits similaires à la prise auxiliaire pour écouter de la musique sur les haut-parleurs du vehicule.

4 PRUDENCE
Ne pas régler l'appareil audio portable ou un produit similaire pendant qu'on conduit le vehicule:
Le fait de régler l'appareil audio portable ou un produit similaire pendant la conduite du vehicule est dangereux car cela risque de faire perdre la concentration apportée à la conduite du vehicule et risque de causer un accident grave. Toutours régler l'appareil audio portable ou un produit similaire pendant que le vehicule est arrêté.
ATTENTION
Fermer le couvercle lorsque la prise auxiliaire n'est pas utilisé pour éviter que des objets étrangers et des liquides ne pénétre dans celle-ci.
Selon le péripérisque audio portable utilisé, il est possible que des bruits soient produits lorsqu'on utilise ce péripérisque connecté à la prise des accessoires du vehicule. (Si des bruits sont produits, ne pas utiliser la prise des accessoires.)
REMARQUE
- Avant d'utiliser la prise auxiliaire, dire les instructions du fabricant de l'appareil que vous pouze connecter.
Utiliser une mini-prise stéreo (3,5) sans impédance (disponible dans le commerce) pour brancher l'appareil audio portable à la prise auxiliaire. Avant d'utiliser la prise auxiliaire, dire les instructions du fabricant de l'appareil pour plus de détails concernant la connexion d'un appeareil audio portable à la prise auxiliaire. - Pour éviter de décharger la batterie, ne pas utiliser l'entrée auxiliaire pendant de longues périodes lorsque le moteur tourne au ralenti ou s'il est arrêté.
- Selon l'appareil connecté à la prise auxiliaire, il peut y avoir plus ou moins de bruit.
- Pour connecter un appareil audio portable ou un appareil similaire à une source d'alimentation, utiliser la pile de l'appareil, et non la prise des accessoires.
Connexion de la prise auxiliaire
-
Ouvrir le couvercle de la console.
-
Faire passer le cordon à bouchon de connexion dans l'orifice de la console et insérer le bouchon dans la prise auxiliaire.

PRUDENCE
Eviter que le cordon à bouchon de connexion ne s'emmèle avec le frein de stationnement ou le levier sélecteur:
Si le cordon à bouchon de connexion s'emmèle avec le frein de stationnement ou le levier sélecteur, il pourrait gérer la conduite et provoquer un accident.
ATTENTION
Ne pas placer d'objets ou forcer sur la prise auxiliaire lorsque la fiche est branchée.
REMARQUE
- Insérer la fiche dans la prise auxiliaire jusqu'au bout.
- Insérer ou-retirer la fiche lorsqu'elle-ci estperpendicularaireàpraiséauxiliaire.
- Insérer ou-retirer la fiche en la tenant par la base.
Pour écouter un apparéil audio portable
- Mettre le contacteur en position ACC ou ON.
- Appuyer sur le bouton d'alimentation/ volume pour allumer l'appareil audio.
- Appuyer sur la touche AUX (AUX) de l'appareil audio ou sur l'interrupteur de mode (MODE) des interrupteurs de commande audio situés sur le volant pour passer au mode AUX.

Unité audio

Commandes audio
REMARQUE
- Régler le volume de l'appareil audio portable au maximum, tant que le son n'est pas déformé, puis ajuster le volume avec le bouton d'alimentation/volume de l'appareil audio ou l'interrupteur haut/bas de la commande audio.
- Les réglages audio autres que ceux du volume sonore ne peuvent être effectuels qu'en utilisant le périhérique audio portable.
- Si le cordon à bouchon est enlevé de la prise auxiliaire en mode AUX, cela peut provoquer des grésillements.
Certification de sécurité
Ce lecteur de disques compacts est manufactured et testé pour répondre à des normes de sécurité rigoureuses. Il répond aux exigences du FCC et est conforme aux standards de performance sécuritaire du Department of Health and Human Services des Etats-Unis.

ATTENTION
Ce lecteur de disques compacts ne doit pas etre regle ou réparé par une personne autre qu'un personnel d'entretien qualifié. Si une réparation est requise, s'adresser à un concessionnaire agrée Mazda.
L'utilisation des commandes et réglages ou une utilisation autre que celles décrites dans ce manuel peut cause l'exposition dangereuse au laser. Ne jamais faire fonctionner le lecteur de disques compacts avec le boîtier ouvert.
Les changements ou modifications non spécifique approuvés par l'entité responsable de la conformité peuvent annuler le droit de l'utilisateur de faire fonctionner cet apparéil.
REMARQUE
Pour la section du lecteur de disques compacts:
Cet apparéil est conforme à la partie 15 de la Réglementation FCC. Le fonctionnement étant sujét aux deux conditions suivantes: (1) cet apparéil ne doit pas causeur d'interférences néfastes, et (2) cet apparéil doit accepter toutes les interférences reçues, incluant celles qui risquent de causeur un mauvais fonctionnement.
REMARQUE
Cet apparil a ete teste et il a ete déterminé qu'il respecte les limits pour un apparil numérique de classe B, en accord avec la partie 15 de la Reglementation FCC. Ces limites sont conques pour donner une protection adequate contre les interférences lors d'une installation residentielle. Cet apparil generne, utilise et peut radier une energia de frquence radio et, s'il n'est pas instalé et utilisé suivant les instructions, peut cause des interférences nuisibles aux communications radio. Cependant, il n'est pas garantit qu'aucune interfeence ne se produira lors d'une installation particuliere.
Système audio Bluetooth®*
Qu'est-ce que le système audio Bluetooth®?
Description du système audio Bluetooth®
La programmation de périphériques audio portables équipés de la fonction de communication Bluetooth® sur l'unité Bluetooth® du vehicule permet d'écouter de la musique ou dessons enregistrés sur les périphériques audio à partir des enceintes du vehicule. Il n'est pas nécessaire de brancher les périphériques audio Bluetooth® dans la prise auxiliaire. ÀpRES la programmation, dire/arrête la musique ou lessons à l'aide du panneau de configuration du système audio ou du système de navigation de 7 pouces.
ATTENTION
Toujours programme les péripériques audio sur le système audio Bluetooth® lorsque le vehicule est à l'arrêt.
Seuls les péripériques audio Bluetooth® indiqués peuvent être utilisés. Par conséquent, contacter un concessionnaire agrée Mazda lors de l'achat ou du changement de péripérisque. Les péripériques audio Bluetooth® qui correspondent aux versions Bluetooth® spécifiées et aux profils peuvent être connectés en Bluetooth® à l'unité Bluetooth® du vehicule. Toutefois, même parmi ces péripériques, il en est qui ne peuvent pas être connectés en Bluetooth®, ou ont des fonctions limitées. La compatibilité de chaque péripérisque à utiliser avec l'unité Bluetooth® du vehicule doit être vérifiée de manière individuelle. Contacter un concessionnaire agrée Mazda en ce qui concerne la compatibilité des péripérisques.
Etats-Unis
Telephone: 800-430-0153
Service des relations avec la clientèle (CAC)
Telephone: 01-800-01-MAZDA
Ver. 2,0 ou supérieure
Profil audio
Le profil A2DP transmet uniquement lessons à l'unité Bluetooth®. Si le périphérique audio Bluetooth® est compatible avec A2DP mais pas avec AVRCP, il ne peut pas être commandé à partir du panneau de configuration du système audio ou de navigation de 7 pouces du vehicule. Le périphérique audio Bluetooth® peut alors être commandédirectement au niveau du périphérique, àl'image d'un système audio portable sansfonction de communication Bluetooth®, connecté à la borne AUX.
- Selon le périphérique audio Bluetooth® utilisé, il est possible que le système ne fonctionne pas normalement.
- Pour s'assurer que le péripérisque audio Bluetooth® utilisé est bien de Ver. 1.0 ou 1.3, se référer au mode d'emploi du péripérisque audio Bluetooth®.
- Il est possible que la lecture des péripériques audio Bluetooth® soit impossible lorsque les péripériques sont placés dans un lieu où la transmission est compromise (dans un coffre métallique ou dans le coffre, par exemple). Placer le péripérique audio Bluetooth® à un emplacement où la transmission est possible.
- La consommation de la batterie des péripériques audio Bluetooth® est plus élevé en cas de connexion Bluetooth®.
- Un adaptateur Bluetooth® disponible dans le commerce est requis lors de l'utilisation d'un pérophérique non Bluetooth®. Lors de la lecture d'un pérophérique audio équipé d'un adaptateur Bluetooth®, il est possible que la programmation du pérophérique audio ne puisse être effectué ou que les enceintes du vehicule n'émettent aucun son si la connexion de l'adaptateur et du pérophérique est mauvaise. Vérifier alors que l'adaptateur Bluetooth® est correctement connecté.
▼ Préparation du système audio Bluetooth®
Configuration du péripérisque audio Bluetooth®
Il est possible de programmer le système audio Bluetooth et de modifier, supprimer et afficher les informations relatives au périhérique programme.
- Le mode change de la maniere suivant à chaque fois que le bouton de commande audio est activé. Sélectionner "BT SETUP".

Modèle avec le système audio standard

Modèle avec le système audio Bose®
- Suivant le mode sélectionné, l'indication change.
- Tourner le bouton de commande audio et selectionner le mode souhaite.

| Affichage | Mode | Fonction |
| PAIR DEVICE | Mode du programme de jumelage | Programma-tion du péripérisque audioBluetooth® |
| LINK CHANGE | Mode de modification de la liaison | Modification de la liaison vers le péripérisque audioBluetooth® |
| PAIR DELETE | Mode de suppression de jumelage | Suppression de la liaison vers le péripérisque audioBluetooth® |
| DEVICE INFO | Mode d'affichage des informations relatives au péripérisque | Affichage des informations relatives à l'unitéBluetooth® du vehicule |
3. Appuyer sur le bouton de commande audio pour selectionner le mode.
Programmation du périphérique audio Bluetooth®
Les péripériques audio Bluetooth®doivent être programmes sur l'unitéBluetooth du vehicule pour permettre l'émission de musique ou de sons à partir des enceintes du vehicule. Il est possible de programmer un maximum de sept péripériques incluant les téléphones mobiles mains-libres et les péripériques audio Bluetooth au niveau d'un vehicule.
REMARQUE
- Toujours procédé à la programmation des peripériques audio Bluetooth® lorsque le vehicule est à l'arrêt.
- Si un pérophérique Bluetooth® a déjà été programmes en tant que téléphone mobile mains-libres au niveau du vehicule, il n'est pas nécessaire de le programmeur de nouveau lors de son utilisation en tant que pérophérique audio Bluetooth®. De même, il n'est pas nécessaire de programmeur de nouveau un pérophérique en tant que téléphone mobile mains libres s'il a déjà été programmes en tant que pérophérique audio Bluetooth®.
- Vérifier qu'aucun autre péripérisque audio Bluetooth® n'est susceptible de se couver dans la zone environnante lorsqu'on entrepend les opérations de programmation. En cas de doute, déplacer le vehicule à un autre endroit. La portée de transmission d'un péripérisque audio Bluetooth® est d'environ 10 mètres (32 pieds). Par conséquent, si un autre péripérisque audio Bluetooth® se trouve dans un rayon de 10 mètres (32 pieds) autour du vehicule, il est possible que le péripérisque soit identifié etprogramme à la place.
- L'enregistrement du périhérique peut également être effectué à l'aide de la reconnaissance vocale (page 6-85).
En ce qui concerne le fonctionnement du périphérique audio Bluetooth®, se reporter à son manuel d'instructions.
Certsains péripériques audio Bluetooth disposent d'un code PIN (à quatre chiffres). Se reporter au manuel d'instructions du péripérique audio: la procédure de programmation varie selon que le péripérique dispose ou non d'un code PIN.
Programmation d'un périphérique audio Bluetooth disposant d'un code PIN à quatre chiffres
- Sélectionner le mode du programme de jumelage "PAIR DEVICE", sous le mode "BT SETUP", à l'aide du bouton de commande audio. (Pour plus de détails, se référer à "Configuration du périphérique audio Bluetooth").
- Appuyer sur le bouton de commande audio pour selectionner le mode. Le message "ENTER PIN" apparait sur l'affichage des informations pendant deux secondes, le message "PIN 0000" apparait et le code PIN peut etre saisi.
- Saisir le code PIN du périphérique audio Bluetooth® en appuyant sur les touches de canaux préreglés 1 à 4 lorsque le message “PIN 0000” s'affiche.
Appuyer sur la touche du canal préréglé 1 pour saisser le première chiffre, sur la touche 2 pour saisser le second chiffre, sur la touche 3 pour saisser le troisième chiffre et sur la touche 4 pour saisser le quatrième chiffre. Par exemple, si le code PIN est 4213, appuyer sur la touche du canal préréglé 1 quatre fois (1, 2, 3, 4), sur la touche 2 deux fois (1, 2), sur la touche 3 une fois (1) et sur la touche 4 trois fois (1, 2, 3). Si le message “PIN 0000” disparaît une fois le code PIN saïsi, répéter la procédure depuis l'étape 1.
REMARQUE
Certain appareils acceptent seulement un code de jumelage particulier (généralement, "0000" ou "1234").
S'il est impossible d'effectuer le jumelage, se reporter au mode d'emploi de l'appareil mobile, et essayer ces chiffres si nécessaire.
- Appuyer sur le bouton de commande audio lorsque le code PIN saisi s'affiche. Le message "PAIRING" clignote à l'écran.
- Activer le périphérique audio Bluetooth® et sélectionner le mode du programme lorsque le message “PAIRING” clignote.
- Une fois la programmation terminée, les messages "J" et "PAIR SUCCESS" s'affichent après environ 10 à 30 secondes. Puis, le message "PAIR SUCCESS" continue à s'afficher pendant 3 secondes et l'écran normal s'affiche ensuite de nouveau.
REMARQUE
- Certains péripériques audio Bluetooth nécessitant un certain déliait avant que le symbole “ ¶ ” apparaisse.
- En cas d'éché de la programmation, le message "Err" clignote pendant 3 secondes, puis l'écran normal s'affiche de nouveau.
- Il n'est pas possible de partager à la programmation lorsque le vehicule est en mouvement. Si le conducteur tente de partager à la programmation lorsque le vehicule est en mouvement, le message "PAIR DISABLE" s'affiche, puis l'écran normal s'affiche de nouveau.
- Si sept péripérisques audio Bluetooth ont déjà été programmes au niveau du vehicule, la programmation ne peut être effectue et le message “MEMORY FULL” s'affiche. Supprimer un péripérisque programme avant de programmer un autre péripérisque.
Programmation d'un périhérique audio Bluetooth® ne disposant pas d'un code PIN à quatre chiffres
- Sélectionner le mode du programme de jumelage "PAIR DEVICE", sous le mode "BT SETUP", à l'aide du bouton de commande audio. (pour plus de détails, se référer à "Configuration du périphérique audio Bluetooth").
- Appuyer sur le bouton de commande audio pour selectionner le mode. Le message "ENTER PIN" apparait sur l'affichage des informations pendant deux secondes, le message "PIN 0000" apparaft et le code PIN peut etre saisi.
- Appuyer sur le bouton de commande audio lorsque le message "PIN 0000" s'affiche. Le message "PAIRING" clignote à l'écran.
- Activer le péripérisque audio Bluetooth® et sélectionner le mode du programme lorsque le message “PAIRING” clignote.
- Si le périphérique audio Bluetooth® exige un code PIN, saisir "0000".
- Une fois la programmation terminée, les messages “ [n]n ” et “PAIR SUCCESS” s'affichent après environ 10 à 30 secondes. Puis, le message “PAIR SUCCESS” continue à s'afficher pendant 3 secondes et l'écran normal s'affiche ensuite de nouveau.
REMARQUE
- S'il est impossible d'effectuer le jumelage, essayer plutôt "1234". Pour plus de détails concernant le code PIN correct, se reporter au mode d'emploi du téléphone mobile.
- Certains péripériques audio Bluetooth® nécessités un certain délambda avant que le symbole “ 日 ” apparaisse.
- En cas d'éché de la programmation, le message "Err" clignote pendant 3 secondes, puis l'écran normal s'affiche de nouveau.
- Il n'est pas possible de partager à la programmation lorsque le vehicule est en mouvement. Si le conducteur tente de partager à la programmation lorsque le vehicule est en mouvement, le message "PAIR DISABLE" s'affiche, puis l'écran normal s'affiche de nouveau.
- Si sept péripérisques audio Bluetooth® ont déjà été programmes au niveau du vehicule, la programmation ne peut être effectue et le message “MEMORY FULL” s'affiche. Supprimer un péripérisque programme avant de programmer un autre péripérisque.
Modification de la liaison vers un péripérisque audio Bluetooth®
Si plusieurs péripériques ont été programmes, l'unité Bluetooth établit la liaison vers le péripérique programme en dernier. Si la liaison vers un autre péripérique programme est souhaitée, la liaison doit être modifiée. L'ordre de priorité des péripériques est conservé après modification de la liaison, même si le contacteur est arrêté.
- Sélectionner le mode de modification de la liaison "LINK CHANGE", sous le mode "BT SETUP", à l'aide du bouton de commande audio. (Pour plus de détails, se reférer à "Configuration du périphérique audio Bluetooth").
- Appuyer sur le bouton de commande audio pour selectionner le mode.
-
Le nom du périhérique audio Bluetooth® actuellément relié s'affiche. Si aucun périhérique audio Bluetooth® n'est actuellément relié, le nom du premier périhérique programme s'affiche.
-
Tourner le bouton de commande audio pour selectionner le nom du périphérique à relier.

- Appuyer sur le bouton de commande audio pour selectionner le périhérique à relier. Le symbole “ 日 ” disparaît et le message “PAIRING” clignote à l'écran.
REMARQUE
Lorsque l'option "GO BACK" est selectionnée et que le bouton de commande audio est activé, le message "LINK CHANGE" s'affiche à l'écran.
- En cas de liaison reussie vers le périphérique sélectionné, le symbole "J" s'affiche de nouveau. Le message "LINK CHANGED" s'affiche également. Le message "LINK CHANGED" s'affiche pendant 3 secondes, puis l'écran normal s'affiche de nouveau.
REMARQUE
- Certains péripériques audio Bluetooth® nécessitant un certain délambda avant que le symbole “ 日 ” apparaisse.
- Si un téléphone mobile de type mains-libres est le dernier péripérisque programme, l'unité Bluetooth établit la liaison vers le péripérisque. Pour utiliser un péripérisque audio Bluetooth précedemment programme au niveau de l'unité Bluetooth, la liaison doit être établie vers le péripérisque en question.
- Si une erreur survient lors de la tentative de liaison d'un périhérique, le message "Err" clignote sur l'affichage pendant trois secondes, puis "LINK CHANGE" s'affiche de nouveau. Dans ce cas, vérifier l'etat de programmation du périhérique audio Bluetooth et l'emplacement du périhérique dans le vehicule (pas dans le coffre ou dans une boîte métallique), puis redémarrer l'opération de liaison.
La selection du periphérique peut également être effectue à l'aide de la reconnaissance vocale (page 6-103).
Procedure de confirmation du péripérisque actuellément relié
Activer le mode de modification de la liaison. (se reférer à “Modification de la liaison vers un périhérique audio Bluetooth®).
Le périhérique affiché en premier correspond au périhérique actuèlement relié.
Suppression de la liaison vers un périphérique audio Bluetooth®
-
Sélectionner le mode de suppression de jumelage "PAIR DELETE", sous le mode "BT SETUP", à l'aide du bouton de commande audio. (Pour plus de détails, se référer à "Configuration du périphérique audio Bluetooth").
-
Appuyer sur le bouton de commande audio pour selectionner le mode.
- Le nom du premier périhériqueprogrammé s'affiche.
- Tourner le bouton de commande audio et selectionner le nom du péripérisque programme à supprimer.

REMARQUE
Seuls les péripériques programmes sont affichés. Si seul un péripérique estprogrammé, son nom est le seul affché.
- Si une option autre que "GO BACK" est selectionnée et que le bouton de commande audio est enforcé, le message "SURE ? NO" s'affiche.
- Tourner le bouton de commande audio dans le sens des aiguilles d'une montre et faire passer l'affichage sur "SURE? YES".
REMARQUE
L'écran change de la manière suivante selon que le bouton de commande audio est tourné dans le sens des aiguilles d'une montre ou dans le sens inverse des aiguilles d'une montre.
- Dans le sens des aiguilles d'une montre: "SURE?YES" s'affiche
- Dans le sens inverse des aiguilles d'une montre: "SURE? NO" s'affiche
- Appuyer sur le bouton de commande audio pour supprimer le périhérique sélectionné.
REMARQUE
Selectionner l'option "GO BACK" et appuyer sur le bouton de commande audio pour afficher de nouveau l'écran "PAIR DELETE".
8. Le message "PAIR DELETED" s'affiche pendant trois secondes une fois la suppression terminée, puis l'affichage normal reappearait.
REMARQUE
Si une erreur survient lors de la tentative de suppression du périhériqueprogrammé, le message "Err" clignote à l'écran pendant 3 secondes, puis l'écran returne à son affichage normal.
Affichage des informations relatives au péripérisque audio Bluetooth®
- A l'aide du bouton de commande, selectionner le mode d'affichage des informations relatives au périhérique de jumelage "DEVICE INFO", sous le mode "BT SETUP". (Pour plus de détails, se référer à "Configuration du périhérique audio Bluetooth®".)
- Appuyer sur le bouton de commande audio pour selectionner le mode.
-
Le nom de l'unité Bluetooth® s'affiche.
-
Tourner le bouton de commande audio pour selectionner les informations de l'unité Bluetooth à afficher.

REMARQUE
Lorsque l'option "GO BACK" est selectionnée et que le bouton de commande audio est activé, le message "DEVICE INFO" s'affiche à l'écran.
Procedure d'utilisation du système audio Bluetooth®
Activation du mode audio Bluetooth®
Pour écouter de la musique ou dessons enregistrés sur un périhérique audio Bluetooth®, activer le mode audio Bluetooth® de manière à pouvoir commander le périhérique audio à l'aide du panneau de configuration du système de navigation de 7 pouces ou du système audio.
Les péripériques audio Bluetooth® doit être programmés sur l'unité Bluetooth® du vehicule avant utilisation. (se référer à “Programmation des péripériques audio Bluetooth®”)
-
Mettre le contacteur en position ACC ou ON.
-
Mettre le péripérisque audio Bluetooth® sous tension. Veiller à ce que le symbole “ 日 ” s'affiche sur l'affichage d'information. Le symbole ne s'affiche pas si le péripérisque audio Bluetooth® n'est pas programmé ou si l'unité Bluetooth® du vehicule ne fonctionne pas correctement.
REMARQUE
Certains peripheriques audio Bluetooth® nécessitant un certain délambda avant que le symbole “¶” apparaisse.
- Appuyer sur la touche AUX (AUX) pour passer en mode audio Bluetooth et démarrer la lecture. Si la version actuelle du péripérisque est inférieure à la AVRCP Ver. 1.3: "BT Audio" est affché. Si le péripérisque actuel est à la AVRCP Ver. 1.3: Le temps de lecture est affché.
REMARQUE
- Si la lecture ne démarre pas sur le péripérisque audio Bluetooth®, appuyer sur la touche de lecture/pause (▶II).
- Si le mode audio Bluetooth® est désactivé au profit d'un autre mode (mode radio, par exemple), la lecture dessons du péripérisque audio Bluetooth® est interrompue.
- Si un appel est reçu sur un téléphone mobile mains-libres lors de la lecture à partir du péripérisque audio Bluetooth®, la lecture est interrompue. La lecture à partir du péripérisque audio Bluetooth® reprend une fois l'appeil terminé.
Lecture
- Pour écouter un périphérique audio Bluetooth® sur le système d'enceintes du vehicule, activer le mode audio Bluetooth®. (se référer à “Activation du mode audio Bluetooth®”)
- Pour arrêté la lecture, appuyer sur la touche de lecture/pause (▶II).
- Appuyer de nouveau sur la touche pour reprendre la lecture.
Sélection d'un fichier (piste)
Appuyer brièvement sur la touche de plage précédente (▼) ou tournier le bouton des fichiers dans le sens inverse des aiguilles d'une montre: pour sélectionner le début du fichier sélectionné (piste).
Appuyer brièvement sur la touche de plaque suivante (▲) ou tourné le bouton des fichiers dans le sens des aiguilles d'une montre: pour sélectionner le fichier suivant (piste).
Avance rapide/Inversion (seulement AVRCP Ver. 1.3)
Avance rapide
Appuyer et maintainir enfoncée la touche de plage suivante () .
Recul
Appuyer et maintainir enfoncée la touche de plage précédente () .
Balayage (uniquement AVRCP Ver. 1.3)
Cette fonction balaye les titres d'un dossier en cours de lecture et lit 10 secondes de chaque morceau pour vous permettre d'en trouver un que vous voulez écouter.
Appuyer sur la touche de balayage (SCAN) pendant la lecture pour commencer le balayage.
Appuyer sur la touche de balayage (SCAN) de nouveau pour annuler le balayage.
Lecture à répétition (uniquement
AVRCP Ver. 1.3)
(Répétition de plage)
- Appuyer sur la touche de répétition (RPT) pendant la lecture pour que le fichier actuel soit lu à répétition. "TRACK RPT" est affché.
- Pour annuler la lecture à répétition, appuyer de nouveau sur la touche après 3 secondes.
(Répétition de dossier)
- Appuyer sur la touche de répétition (RPT) pendant la lecture, puis appuyer de nouveau avant 3 secondes pour生存 les fichiers du dossier actuel à répétition. "FOLDER RPT" est affchéé.
- Appuyer de nouveau sur la touche pour annuler la lecture à répétition.
Lecture aléatoire (uniquement AVRCP Ver. 1.3)
Les plages sont selectionnées de façon aléatoire et lues.
(Dossier aléatoire)
- Appuyer sur la touche de lecture aléatoire (RDM) pendant la lecture pour que les fichiers courants du dossier soient lus de façon aléatoire. "FOLDER RDM" est affché.
- Pour annuler la lecture aléatoire, appuyer de nouveau sur la touche après 3 secondes.
(Lecture aléatoire de tous les fichiers)
- Appuyer sur la touche aléatoire (RDM) pendant la lecture, puis appuyer de nouveau avant 3 secondes pour lire tous les fichiers du périhérique audio Bluetooth® de façon aléatoire. "ALL RDM" est affchéé.
- Appuyer de nouveau sur la touche pour annuler la lecture aléatoire.
Basculement de l'affichage (uniquement AVRCP Ver. 1.3)
Pour les fichiers comportant un titre de chanson et d'autres informations qui ont ete entrees, l'affichage passe alternatively du titre de chanson aux autres informations et vice versa a chaque fois qu'on appuie sur la touche d'affichage (DISP) pendant que la lecture est effectuee.

REMARQUE
- Si les informations de titre ne sont pas disponibles, "NO TITLE" s'affiche.
- Si le titre comporte des caractères impossibles à afficher, “NO TITLE” s'affiche.
Faire défiler l'affichage
12 caractères seulement peuvent être affichés à la fois. Pour afficher les autres caractères d'un titre long, appuyer brièvement sur la touche de texte (TEXT). Les 12 caractères suivants défilent sur l'affichage. Appuyer brièvement à nouveau sur la touche de texte (TEXT) après que les 12 derniers caractères ont été affichés pour revenir au début du titre.
Telephone mains-libres Bluetooth®*
▼Qu'est-ce qu'un téléphone mains-libres Bluetooth®?
Présentation du téléphone mains-libres Bluetooth®
En connectant un périphérique Bluetooth (telephone mobile) à l'unité mains-libres dont le vehicule est équipé, il est possible d'effectuer ou de receivevoir des appels en utilisant les touches appel, décrocher et raccrocher situées sur le volant et en donnant les ordres vocalement.
PRUDENCE
Effectuer les opérations d'enregistrement du réseau lorsque le vehicule est garé:
Effectuer les opérations d'enregistrement du réseau lors de la conduite peut constituer une distraction et entraîner un accident. En outre, une erreur lors de l'enregistrement du réseau peut entraîner la perte de données importantes.
Péripérique Bluetooth® (réhone mobile)
Le périphérique Bluetooth (telephone mobile) communique avec l'unité mains-libres dont le vehicule est équipé en utilisant la transmission radio (Bluetooth).
Par exemple, si le périhérique (telephone mobile) est placé dans la poche d'une veste, il est possible d'effectuer des appel téléphoniques via le service de mobile sans avoir à sortir et à manipuler directement le périhérique (telephone mobile).
ATTENTION
Les types de périhériques (telephones mobiles) pouvant être connectés à l'unité mains-libres sont peu nombreux. Donc, avant d'acheter ou de changer de modele de périhérique (telephone mobile), contacter le service clientèle du système mains-libres Bluetooth® de Mazda, ou se rendre sur le site www.MazdaUSA.com/bluetooth pour obtenir la liste complète des téléphones compatibles.
Les périhériques (telephones mobiles) qui peuvent être connectés au système mains-libres doivent être compatibles avec les specifications Bluetooth® et le profiladapté. Toutefois, même parmi les périhériques Bluetooth® (telephones mobiles), il en est qui ne pourront pas'être connectés à la Mazda ou qui auront des fonctionnalités limitées. Par conséquent, consulter le service clientèle du système mains-libres Bluetooth® Mazda pour plus d'informations au sujet de la compatibilité des périhériques (telephones mobiles):
Etats-Unis
Telephone: 800-430-0153
Service des relations avec la clientèle (CAC)
Telephone: 01-800-01-MAZDA
Le système mains-libres Bluetooth est opérationnel quelques secondes après que le contacteur ait eté mis sur la position ACC ou ON (il faut moins de 15 secondes).
- Si le contacteur est eteint lors d'un appel mains-libres, la ligne est transferee automatiquement vers le periphérique (telephone mobile).
- Si le péripérique (telephone mobile) se trouve à un endroit où la réception radio est difficile, par exemple dans un recipient métallique ou dans le coffre, il est possible que l'appeil ne puisse pas être connecté en utilisant Bluetooth®. S'il est impossible d'étabir la communication, placer le péripérique (telephone mobile) à un autre endroit.
Composants
Le système mains-libres Bluetooth® est composé des éléments suivants:
- Touche appel
- Touche décrocher
- Touche raccrocher
- Affichage d'informations
- Microphone
- Unité audio/Système de navigation de 7 pouces
Touches appel, décrocher et raccrocher
Les fonctions de base du système mains-libres Bluetooth® peuvent être utilisées par exemple pour passer des appeals ou raccrocher, en actionnant les touches appel, décrocher et raccrocher situées sur le volant.

Utilisation de la touche appel
On doit exercer une pression brève ou une pression longue sur la touche appel pour actionner le système, comme suit:
- Pression brève (Enfonce la touche pendant moins de 0,7 s)
- Pression longue (Enfoncer la touche pendant 0,7 s ou plus)
Affichage d'informations
L'affichage des informations fait apparaitre les numeros de téléphone, les messages du système mains-libres Bluetooth et l'etat de fonctionnement, lorsque ceux-ci sont disponibles.

Microphone
Le microphone est utilisé pour entrer des commandes vocales ou pour converter.

Unité audio/Système de navigation de 7 pouces
L'unité audio ou le système de navigation de 7 pouces est utilisé(e) pour régler le volume.
Voix
Pour éviter toute détiéroration du taux de reconnaissance vocale et de la qualité de voix, il faut observer les points suivants:
- Il est inutil de se placer face au microphone ou de s'en approcher. Appeler les commandes vocales tout en conservant une position de conduite sure.
- Fermer les vitres et/ou le toit ouvrant transparent pour atténuer les bruits forts provenant de l'extérieur du vehicule, ou réduire le courant d'air du système de climatisation pendant qu'on utilise le téléphone mains-libres Bluetooth®. La reconnaissance vocale risquera de ne pas fonctionner correctement, ou la qualité de voix risquera d'être déteriorée dans les conditions suivantes.
Un passager parle. - Conduite avec la vitre et/ou le toit ouvrant transparent ouvert.
- Conduite sur routes à surface irrégulière.
- Bruits forts à l'extérieur du vehicule. (Sites de construction, interieur de tunnel, forte circulation en sens inverse, ou grosse pluie.)
- Bruits de fonctionnement des clignotants, des essuie-glaces ou de l'avertisseur sonore.
Le courant d'air du climatiseur est puissant ou le vent souffle sur le microphone. -
Bruit produit par les bagages se trouvant à l'intérieur du vehicule.
-
Selon la voix, il est possible que les commandes vocales ne soient pas reconnues. Si les commandes vocales ne sont pas reconnues correctement, repeter les commandes plus fort, de manière naturelle, comme lorsqu'on s'adresse à une autre personne.
- La reconnaissance vocale ne peut pas reconnaître des dialectes ou des mots qui sont différents des invites du téléphone mains-libres. Appeler en utilisant les mots spécifique par les commandes vocales.
REMARQUE
Si le fonctionnement de la reconnaissance vocale n'est pas satisfaisant, se reférer à "Fonction d'apprentissage de la reconnaissance vocale (apprentissage de l'orateur)" (page 6-111).
Bien noter que la reconnaissance vocale peut commetter des erreurs bien que l'on respecte les points ci-dessus.
Limitations des fonctions lors de l'utilisation du téléphone mains-libres Bluetooth®
Lorsqu'on utilise le système mains-libres Bluetooth®, certaines fonctions sont limitées. Par exemple:
- Le bip sonore et le guidage vocal relatif à l'unité audio et au système de navigation de 7 pouces ne sont pas audibles.
- Le bip sonore provenant du fonctionnement du climatiseur n'est pas audible.
- La commande de reconnaissance vocale du système de navigation de 7 pouces ne fonctionne pas.
Utilisation de cette section
Le text contient les descriptions suivantes:
Dire: Commandes vocales que vous nevez appeler.
Invite:Guidage vocal émis par le hautparleur.
REMARQUE
Enoncer les commandes vocales après avoir entendu le bip sonore [Bip].
Example)
Invite: "Veuillez donner le numero"
Dire: [Bip] “XXXXXXXXXX (Ex. “555-1234”) (Número de téléphone)
Méthode d'activation mains-libres Bluetooth®
Appuyer sur la touche décrocher (avec/ sans système de navigation de 7 pouces), ou sur la touche appel en exerçant une pression brève (sans système de navigation de 7 pouces) ou une pression longue (avec système de navigation de 7 pouces).
REMARQUE
Pour les vehicules équipés du système de navigation de 7 pouces, on peut aussi exercer une pression brève sur la touche appel, et enconcer: [Bip] "Téléphone".
Le système mains-libres est activé. Une fois le système activé, il est possible d'utiliser les fonctions du téléphone mains-libres, telles que l'émission et la réception d'appels. (Pour plus de détails au sujet des fonctions du téléphone, se reférer à "Utilisation de base du téléphone mains-libres Bluetooth®, ou "Utilisation pratique du système mains-libres".)
REMARQUE
Pour les vehicules équipés d'un système de navigation de 7 pouces, le système est actionné en énonçant la commande de reconnaissance vocale du système de navigation de 7 pouces après avoir exercé une pression brève sur la touche appel. Pour plus de détails au sujet de la reconnaissance vocale avec le système de navigation de 7 pouces, se référer au "Conduite et Entretien du SYSTEME DE NAVIGATION" séparé.
Didacticiel
Le didacticiel indique comment utiliser le téléphone mains-libres Bluetooth®. Proceder comme suit pour activer le didacticiel:
- Appuyer sur la touche decrocher (avec/ sans système de navigation de 7 pouces), ou sur la touche appel en exerçant une pression brève (sans système de navigation de 7 pouces) ou une pression longue (avec système de navigation de 7 pouces).
REMARQUE
Pour les vehicules équipés du système de navigation de 7 pouces, on peut aussi exercer une pression brève sur la touche appel, et enconcer: [Bip] "Téléphone".
- Dire: [Bip] "Tuteur"
- Suivre les invites pour obtenir les instructions de guidage vocal adequates.
Commandes utiles à tout moment, opérations commodes
Utilisation de la fonction d'aide
La fonction d'aide explique à l'utilisateur toutes les commandes vocales utilisables dans les conditions actuelles.
- Exercer une pression brève sur la touche appel.
- Dire: [Bip] "Aide"
- Suivre les invites pour obtenir les instructions de guidage vocal adequates.
Annuler
Le système mains-libres Bluetooth® passes en état de veille si l'opération suivante est effectue alors que le système est activé. Exercer une pression longue sur la touche raccrocher ou appel.
Retour à l'opération précédente (sans système de navigation de 7 pouces)
Cette commande permet de revenir à l'opération précédente lorsqu'on est en mode de reconnaissance vocale.
Dire: [Bip] "Revenir"
Interruption des instructions vocales
Il est possible de sauter les instructions vocales en exerçant une pression brève sur la touche appelpendant que l'instruction est énoncée. L'utilisateur peut alors activer une nouvelle commande de saisie vocale.
Annulation du mode de reconnaissance vocale
Si l'on peut annuler le mode de reconnaissance vocale pendant un appel, il est possible d'annuler le mode de reconnaissance vocale sans qu'il soit nécessaire de terminer l'appeal.
Exercer une pression longue sur la touche appel.
Utilisation de base du téléphone mains-libres Bluetooth®
▼ Préparatifs du téléphone mains-libres Bluetooth®
Réglage de la langue
Les langues utilisables sont l'anglais, l'espagnol et le français canadien. Si le réglage de la langue est modifié, toutes les instructions vocales et les commandes de saisie vocales ont lieu dans la langue sélectionnée.
REMARQUE
- Si la langue est modifiée, l'enregistrement du péripérisque est conservé. Les enregistements du réseau ne sont pas effacés. Chaque langue dispose cependant d'un réseau distinct. Par conséquent, les entrées créées dans une langue doivent être de nouveau saisies dans le réseau de la nouvelle langue.
- Avant de commencer à conduire, effectuer les opérations suivantes. Ces fonctions moins souvent utilisées sont trop génantes à actionner pendant la conduite si l'on n'est pas parfaitement familiarisé avec le système.
Méthode 1
- Appuyer sur la touche décrocher (avec/ sans système de navigation de 7 pouces), ou sur la touche appel en exerçant une pression brève (sans système de navigation de 7 pouces) ou une pression longue (avec système de navigation de 7 pouces).
REMARQUE
Pour les vehicules équipés du système de navigation de 7 pouces, on peut aussi exercer une pression brève sur la touche appel, et énoncer: [Bip] "Téléphone".
- Dire: [Bip] "Configurer"
- Invite: "Sélectionnez l'une des options suivantes : Options de jumelage, Messages de confirmation, Langue, NIP, Sélectionner un téléphone ou Sélectionner un lecteur musical."
- Dire: [Bip] "Langue"
- Invite: " Sélectionnez une langue: anglais, français ou espagnol."
- Dire: [Bip] "Français" (appeler la langue souhaitée: "Anglais", "Français" ou "Espagnol")
REMARQUE
Il est aussi possible d'effectuer d'autres réglages de la langue lorsqu'on se trouve dans le réglage actuel, en énonçant le nom de la langue avec la prononciation du pays d'origine.
7. Invite: "François (langue voulue) a eté sélectionné. Est-ce exact?"
8. Dire: [Bip] "Oui"
9. (Sans système de navigation de 7 pouces)
Invite: "Veuillez patienter, passage au repertoire français en cours. Français seLECTIONné..." (prononcé dans la langue seLECTIONnée).
(Avec système de navigation de 7 pouces)
Invite: "François (langue souhaïée) a été sélectionné, revenir au menu principal" (prononcé dans la langue sélectionnée).
Méthode 2
- Appuyer sur la touche decrocher (avec/ sans système de navigation de 7 pouces), ou sur la touche appel en exerçant une pression brève (sans système de navigation de 7 pouces) ou une pression longue (avec système de navigation de 7 pouces).
REMARQUE
Pour les vehicules équipés du système de navigation de 7 pouces, on peut aussi exercer une pression brève sur la touche appel, et enconcer: [Bip] "Téléphone".
- Dire: [Bip] "Français" (Dire la langue souhaitée: "Anglais", "Français", ou "Espagnol"). (Sélectionner la langue souhaitée en disant le nom de la langue.)
REMARQUE
Il est aussi possible d'effectuer d'autres réglages de la langue lorsqu'on se trouve dans le réglage actuel, en énonçant le nom de la langue avec la prononciation du pays d'origine.
- Invite: "Voulez-vous changer de langue et passer au français (langue voulue) ?"
-
Dire: [Bip] "Oui"
-
(Sans système de navigation de 7 pouces)
Invite: "Veuillez patienter, passage au repertoire français en cours. Français selectionné." (prononcé dans la langue selectionnée).
(Avec système de navigation de 7 pôues)
Invite: "Veuillez patienter, passage au repertoire français en cours. Français seLECTIONné., revenir au menu principal" (prononcé dans la langue seLECTIONnée).
Réglage du code de jumelage (sans système de navigation de 7 pouces)
Le réglage du code de jumelage à 4 chiffres pour l'enregistrement de votre téléphone cellulaire (jumelage) peut être effectué préalablement.
REMARQUE
La valeur du réglage initial est "0000".
- Exercer une pression brève sur la touche décrocher ou appel.
- Dire: [Bip] "Configurer"
- Invite: "Sélectionnez l'une des options suivantes : Options de jumelage, Messages de confirmation, Langue, NIP, Sélectionner un téléphone ou Sélectionner un lecteur musical."
- Dire: [Bip] "Options de jumelage"
- Invite: "Les options disponibles sont: Jumeler, Modifier, Supprimer, Lister ou Définir le Code de Jumelage."
- Dire: [Bip] "Definir le Code de Jumelage"
-
Invite: "Votre code de jumelage actuel est XXXX. Souhaitez-vous le changer par un code de jumelage différent?
-
Dire: [Bip] "Oui"
- Invite: "Veuillez dire les 4 chiffres d'un code de jumelage."
- Dire: [Bip] "YYYY"
- Invite: "YYYY est-ce exact?"
- Dire: [Bip] "Oui" ou "Non"
- Si "Oui", la procEDURE returne à l' étape 14. Si "Non", la procEDURE returne à l' étape 9.
- Invite: "Votre nouveau code de jumelage est le YYYYY. Utilisez ce code de jumelage lors du jumelage avec le système mains-libres. Souhaitez-vous jumeler un dispositif maintainant?"
- Dire: [Bip] "Oui" ou "Non"
- Si "Oui", le systèmeonne au mode d'enregistrement du périhérique. Si "Non", le système retourne à l'etat de veille.
Programmation du péripérisque (jumelage)
Pour utiliser le système mains-libres
Bluetooth®, il faut programmerme le péripérique équipé du système
Bluetooth® sur l'unité mains-libres en procédant comme suit.
Il est possible de programmermer un maximum de sept péripériques incluant les téléphones mobiles mains-libres et les péripériques audio Bluetooth® au niveau d'un vehicule.
REMARQUE
- Un péripérisque ne peut êtreprogramme que quand le vehicule est arrêté en stationnement. Si le vehicule commence à se déplacer, la procédure de jumelage prendra fin. Il est dangereux d'effectuer la programmation pendant qu'on conduit -effectuer le jumelage du péripérisque avant de commencer à conduire. Garer le vehicule dans un endroit sur avant d'effectuer la programmation.
- Si un pérophérique Bluetooth® a déjà été programmes en tant que pérophérique audio Bluetooth® au niveau du vehicule, il n'est pas nécessaire de le programme de nouveau lors de son utilisation en tant que téléphone mobile mains-libres. De même, il n'est pas nécessaire de programme de nouveau un pérophérique en tant que pérophérique audio Bluetooth® s'il a déjà été programmes en tant que téléphone mobile mains-libres.
- Comme la plage de communication d'un périphérique Bluetooth® est d'environ 10 mètres (32 pieds), si un périphérique se trouve dans un rayon de 10 mètres (32 pieds) autour du vehicule, il risquera d'être détecté/programmé accidentellement lorsque la programmation d'un autre périphérique est effectué.
(Sans système de navigation de 7 pôues)
- Activer l'application Bluetooth® du périphérique.
REMARQUE
Pour plus de détails concernant l'utilisation du pérophérique, se référer à son mode d'emploi.
- Exercer une pression brève sur la touche décrocher ou appel.
-
Dire: [Bip] "Configurer"
-
Invite: "Sélectionnez l'une des options suivantes : Options de jumelage, Messages de confirmation, Langue, NIP, Sélectionner un téléphone ou Sélectionner un lecteur musical."
- Dire: [Bip] "Options de jumelage"
- Invite: "Les options disponibles sont: Jumeler, Modifier, Supprimer, Lister ou Définir le Code de Jumelage."
- Dire: [Bip] "Jumeler"
- Invite: "Inicie el proceso de emparejimiento en su dispositivo Bluetooth®. Su número de emparejimiento es 0000 (XXXX). Introduzca este número en su dispositivo Bluetooth® cuando se lo indique el dispositivo. Consulte el manual del dispositivo para Obtener instrucciones."
- En utilisant le périphérique, effectuer une recherche pour le périphérique Bluetooth (dispositif périphérique).
REMARQUE
Pour plus de détails concernant l'utilisation du péripérisque, se référer à son mode d'emploi.
- Sélectionner "Mazda" dans la liste des dispositifs qui a été recherchéée par le périphérique.
- Entrez le code d'appariement à 4 chiffres dans le périphérique.
- Invite: "Veuillez dire le nom du dispositif après le bip."
- Dire: [Bip] "XXXX - - -" (appeler une "balise de périphérique", un nom de programme quelconque.) Exemple: "Périphérique de Stan".
REMARQUE
Appeler une "balise de périhérique" programmée dans les 10 secondes.
Si plus de deux péripériques doivent être programmes, ils ne peuvent être programmes avec une "balise de péripérisque" identique ou similaire.
- Invite: "XXXXXX -- (Ex. Periphérique de Stan)" (balise de périphérique). Est-ce exact?"
- Dire: [Bip] "Oui"
- Invite: "Jumelage terminé"
(Avec système de navigation de 7 pôues)
- Activer l'application Bluetooth® du périphérique.
REMARQUE
Pour plus de détails concernant l'utilisation du péripérisque, se référer à son mode d'emploi.
2. Exercer une pression longue sur la touche raccrocher ou appel.
REMARQUE
Pour les vehicules équipés du système de navigation de 7 pouces, on peut aussi exercer une pression brève sur la touche appel, et enconcer: [Bip] "Téléphone".
- Dire: [Bip] "Configurer"
- Invite: "Sélectionnez l'une des options suivantes : Options de jumelage, Messages de confirmation, Langue, NIP, Sélectionner un téléphone ou Sélectionner un lecteur musical."
- Dire: [Bip] "Options de jumelage"
-
Invite: "Selectionnez l'une des options suivantes : Jumeler, Modifier, Supprimer ou Lister."
-
Dire: [Bip] "Jumeler"
- Invite: "Veuillez dire les 4 chiffres d'un code de jumelage."
- Dire: [Bip] "XXXX" (appeler un code d'appariement à 4 chiffres quelconque. Ceci peut être une combinaison quelconque de 4 chiffres.)
REMARQUE
- Certains apparéils acceptent seulement un code de jumelage particulier (généralement, "0000" ou "1234"). S'il est impossible d'effectuer le jumelage, se reporter au mode d'emploi de l'appareil mobile, et essayer ces chiffres si nécessaire.
-
Enregistrer le code tel qu'il sera utilisé pour programmermer le péripérisque à l'étape 16.
-
Invite: "Code de jumelage XXXX (Número à 4 chiffres). Est-ce exact?"
- Dire: [Bip] "Oui" ou "Non"
- Si "Oui", la procEDURE returne à l'etape 13. Si "Non", la procEDURE returne à l'etape 8.
- Invite: "Commencer la procédure de jumelage sur le dispositif. Consultez les instructions du manuel du dispositif."
- En utilisant le péripérisque, effectuer une recherche pour le péripérisque Bluetooth (dispositif péripérisque).
REMARQUE
Pour plus de détails concernant l'utilisation du péripérisque, se référer à son mode d'emploi.
-
Sélectionner "Mazda" dans la liste des dispositifs qui a été recherchée par le périhérique.
-
Entrer le code d'appariement à 4 chiffres réglé à l'étape 9 dans le périphérique.
- Invite: "Veuillez dire le nom du dispositif après le bip."
- Dire: [Bip] "XXXX - - -" (appeler une "balise de périphérique", un nom de programme quelconque.) Exemple: "Périphérique de Stan".
REMARQUE
Appeler une "balise de pérophérique" programme dans les 10 secondes. Si plus de deux pérophériques doivent être programmes, ils ne peuvent être programmes avec une "balise de pérophérique" identique ou similaire.
- Invite: "Ajout de XXXXXX - - - (Ex. Periphérique de Stan)" (balise de périhérique). Est-ce exact?"
- Dire: [Bip] "Oui"
- Invite: "Jumelage terminé"
Une fois le périhérique enregistré, il est automatiquement identifié par le système. En reactivant le système mains-libres Bluetooth® ou en activant le système mains-libres Bluetooth® une fois le contacteur place de OFF à ACC, le système lit une instruction vocale, “XXXXXX -- (ex. “Périhérique de Stan”) (balise de périhérique) est connecté”.
REMARQUE
-
L'enregistrement du périhérique peut être effectué à l'aide de l'appareil audio ou des touches du panneau de l'unité de navigation.
(Sans système de navigation de 7 pouces)
Se référer à Préparation du système audio Bluetooth à la page 6-70.
(Avec système de navigation de 7 pouces) Se référer au manuel sépare "Conduite et Entretien du SYSTème DE NAVIGATION". -
Selon l'appareil utilisé, il est possible que l'état d'enregistrement soit perdu après un certain laps de temps. Si ceci se produit, repeter toute la procédure depuis l'étape 1.
Appel à l'aide d'un numéro de téléphone
REMARQUE
S'entraigner a effectuer cette opération en étant bien garé, jusqu'à ce qu'on se sente parfaitement capable de le faire conduisant sur une route sure. Si l'on n'est pas parfaitement sur de soi, effectuer tous les appeals après avoir bien garé le vehicule; ne conduire que quand on est parfaitement sur de soi et qu'on peut concentrer toute son attention sur la conduite.
(Sans système de navigation de 7 pôues)
- Exercer une pression brève sur la touche décrocher ou appel.
- Dire: [Bip] "Composer"
- Invite: "Veuillez donner le numero"
-
Dire: [Bip] “XXXXXXXXXXXX (Numero de téléphone)”
-
Invite: "XXXXXXXXXX. (Nombre de téléphone) ÀpRES le bip, continuer d'ajouter des numérios, ou dire Revenir pour entrer de nouveau les derniers chiffres entrés, ou appuyer sur le bouton Decrocher pour composer."
6. (Composition)
Appuyer sur la touche décrocher ou énoncer "Composer", puis passer à l' étape 7.
(Ajout/entree de numero de téléphone)
Dire, "XXXX" (numéro de téléphone souhaïte), puis passer à l'objet 5.
(Correction du numero de téléphone)
Dire, "Revenir". L'invite répond, "Revenir en arrière. Les derniers chiffres entrés ont été supprimés".
Revenir ensuite à l'étape 3.
- Invite: "Composition en cours"
(Avec système de navigation de 7 pôues)
- Exercer une pression longue sur la touche raccrocher ou appel.
REMARQUE
Pour les vehicules équipés du système de navigation de 7 pouces, on peut aussi exercer une pression brève sur la touche appel, et énoncer: [Bip] "Téléphone".
- Dire: [Bip] "Composer"
- Invite: "Veuillez donner le numero"
- Dire: [Bip] "XXXXXXXXXX (Ex. "555-1234") (Número de téléphone)
- Invite: "Composition en cours XXXXXXXXX (Ex. "555-1234") (Número de téléphone) est-ce exact?"
-
Dire: [Bip] "Oui" ou "Non".
-
Lorsque "Oui" est enoncé, la procédure retourne à l' étape 8.
Lorsque "Non" est énoncé, la procédure returne à l' étape 3. - Invite: "Composition en cours"
REMARQUE
Il est possible de combiner la commande
"Composer" avec un numéro de téléphone.
Ex. A l' étape 2, dire "Composer 123-4567"; il
est ensuite possible de sauter les étapes 3 et 4.
Réception d'un appel entrant
- Invite: "Appel entrant, appuyez sur le bouton Répondre pour répondre".
- Pour accepter l'appoint, appuyer sur la touche décrocher.
Pour refuser l'appel, appuyer sur la touche raccrocher.

▼Raccrochage d'un appel
Appuyer sur la touche raccrocher lors de l'appeL.
Un bip sonore confirme que l'appel est terminé.
Réglage du volume
Pour régler le volume, utiliser le bouton d'alimentation/volume de l'unité audio ou du système de navigation de 7 pouces. Tourner le bouton vers la croite pour augmenter le volume, et vers la gauche pour le diminuer.

Unité audio

Système de navigation de 7 pouces
REMARQUE
- Il est aussi possible de régler le volume en utilisant la touche de volume se trouvant sur le volant de direction.
- Il est impossible de régler le volume de musique de l'unité audio et le système de navigation de 7 pouces pendant que le téléphone mains-libres Bluetooth® est utilisé.
Utilisation pratique du système mains-libres
Utilisation du repertoire
Enregistrement du repertoire
Les numérodes de téléphone peuvent être enregistrés dans le réseau du téléphone mains-libres Bluetooth®.
REMARQUE
Effectuer ici seulement en étant bien garé. Ceci est trop génant à effectuer pendant la conduite, car on risquerait de faire trop d'erreurs et d'être inefficace.
(Sans système de navigation de 7 pôues)
- Exercer une pression brève sur la touche décrocher ou appel.
- Dire: [Bip] "Répertoire"
- Invite: " Sélectionnez l'une des options suivantes : Nouvelle inscription, Modifier, Liste des noms, Supprimer, Effacer tout ou Importer un contact."
- Dire: [Bip] "Nouvelle inscription"
- Invite: "Veuillez indiquer le nom."
- Dire: [Bip] “XXXXX... (Ex. “Téléphone de Mary”)(Dire la balise vocale du nom enregistré.)
- Invite: "Ajout deXXXXX... (Ex. "Téléphone de Mary") (balise vocale enregistrée). Est-ce exact?"
- Dire: [Bip] "Oui"
-
Invite: "Maison, travail, mobile ou autre?"
-
Dire: [Bip] "Mobile" (Dire "Maison", "Travail", "Mobile" ou "Autre", pour le lieu à enregistrer.)
- Invite: "Mobile (lieu à enregistrer). Est-ce exact?"
- Dire: [Bip] "Oui"
- Invite: "Veuillez donner le numéro."
- Dire: [Bip] “XXXXXXXXXX” (Dire le numero de téléphone à enregistrer.)
- Invite: "XXXXXXXXXX (enregistrement du numéro de téléphone). Àpres le bip, continuer d'ajouter des numérios, ou dire Revenir pour entrer de nouveau les derniers chiffres entrés, ou appuyer sur le bouton Decrocher pour sauvegarder le numéro."
- (Enregistrement) Appuyer sur la touche decrocher ou énoncer "Entrer", puis passer à l'objet 17. (Ajout/entree de numero de téléphone) Dire, "XXXX" (Numero de téléphone souhaite), puis passer à l'objet 15. (Correction du numero de téléphone) Dire, "Revenir". L'invite répond, "Revenir en arriere. Les derniers chiffres entrés ont eté supprimés." Revenir ensuite à l'objet 13.
- Invite: "Numero enregistré. Souhaitez-vous ajouter un autre numero pour cette inscription?"
-
Dire: [Bip] "Oui" ou "Non".
-
Si "Oui", un numero de téléphone supplémentaire peut etre enregistrer pour la meme entree. Si Non, le systeme returne a l'etat de veille.
(Avec système de navigation de 7 pôues)
- Exercer une pression longue sur la touche raccrocher ou appel.
REMARQUE
Pour les vehicules équipés du système de navigation de 7 pouces, on peut aussi exercer une pression brève sur la touche appel, et enconcer: [Bip] "Téléphone".
- Dire: [Bip] "Répertoire"
- Invite: " Sélectionnez l'une des options suivantes : Nouvelle inscription, Modifier, Liste des noms, Supprimer, Effacer tout ou Importer un contact."
- Dire: [Bip] "Nouvelle inscription"
- Invite: "Veuillez indiquer le nom."
- Dire: [Bip] “XXXXX... (Ex. “Téléphone de Mary”)" (Dire la balise vocale du nom enregistré.)
- Invite: "Ajout deXXXX... (Ex. "Téléphone de Mary") (balise vocale enregistrée). Est-ce exact?"
- Dire: [Bip] "Oui"
- Invite: "Maison, travail, mobile ou autre?"
- Dire: [Bip] "Mobile" (Dire "Maison", "Travail", "Mobile" ou "Autre", pour le lieu à enregistrer.)
- Invite: "Mobile (lieu à enregistrer). Est-ce exact?"
-
Dire: [Bip] "Oui"
-
Invite: "Veuillez donner le numéro."
- Dire: [Bip] “XXXXXXXXXX (Ex. “555-1234”)” (Dire le numero de téléphone à enregistrer.)
- Invite: "XXXXXXXXXXXXXX (Ex. "555-1234") (enregistrement du numero de téléphone). Est-ce exact?
- Dire: [Bip] "Oui"
- Invite: "Numero enregistré. Souhaitez-vous ajouter un autre numero pour cette inscription?"
- Dire: [Bip] "Oui" ou "Non".
- Si "Oui", un numéro de téléphone supplémentaire peut être enregistré pour la même entrée. Si "Non", la procédure returne à l'objet 20.
- Invite: "Revenir au menu principal."
Importation d'un contact
Les données du repertoire du périhérique (telephone mobile) peuvent être envoyées et enregistrées sur votre repertoire du téléphone mains-libres Bluetooth® en utilisant Bluetooth®.
(Sans système de navigation de 7 pôues)
- Exercer une pression brève sur la touche décrocher ou appel.
- Dire: [Bip] "Répertoire"
- Invite: "Sélectionnez l'une des options suivantes : Nouvelle inscription, Modifier,liste des noms, Supprimer, Effacer tout ou Importer un contact."
-
Dire: [Bip] "Importer un Contact"
-
Invite: "Le système mains libres est prét à receivevoir un contact à partir d'un téléphone. Seul un numéro de domicile, professionnel ou mobile peut être importé. Ce processus nécessite d'opérer un téléphone portable. Pour plus d'informations référez-vous à votre manuel de téléphone."
- Fonctionnement du périphérique (telephone mobile): Sélectionner une entrée du réseau et l'envoyer à l'aide de la technologie Bluetooth®.
- Invite: "X (Nombre d'emplacements qui incluent des données) numeros ont été importés. Quel nom souhaitez-vous utiliser pour ces numeros ?"
- Dire: [Bip] “XXXXX... (Ex. “Téléphone de Mary”)(Dire la balise vocale du nom enregistré.)
- Invite: "Ajout deXXXXX... (Ex. "Téléphone de Mary") (balise vocale). Est-ce exact?"
- Dire: [Bip] "Oui"
- Invite: "Numero enregistré. Souhaitez-vous ajouter un autre contact ?"
- Dire: [Bip] "Oui" ou "Non"
- Si "Oui", la procEDURE returne à l'etape 5. Si "Non", le système returne à l'etat de voir.
(Avec système de navigation de 7 pôues)
- Exercer une pression longue sur la touche raccrocher ou appel.
REMARQUE
Pour les vehicules équipés du système de navigation de 7 pouces, on peut aussi exercer une pression brève sur la touche appel, et enconcer: [Bip] "Téléphone".
- Dire: [Bip] "Répertoire"
- Invite: "Sélectionnez l'une des options suivantes : Nouvelle inscription, Modifier,liste des noms, Supprimer, Effacer tout ou Importer un contact."
- Dire: [Bip] "Importer un Contact"
- Invite: "Prêt à receiveoir un contact du téléphone."
- Fonctionnement du périphérique (telephone mobile): Sélectionner une entrée du réseau et l'envoyer à l'aide de la technologie Bluetooth®.
- Invite: "X (nombre d'emplacements qui incluent des données) númeroos ont été importés. Quel nom souhaitez-vous utiliser pour ces númeroos?"
- Dire: [Bip] “XXXXX... (Ex. “Téléphone de Mary”)(Dire la balise vocale du nom enregistré.)
- Invite: "Ajout deXXXX... (Ex. "Téléphone de Mary") (balise vocale). Est-ce exact?"
- Dire: [Bip] "Oui"
- Invite: "Numero enregistré. Souhaitez-vous ajouter un autre contact?"
- Dire: [Bip] "Oui" ou "Non"
- Si "Oui", la Procedure returne à l'etape 5. Si "Non", la Procedure returne à l'etape 14.
- Invite: "Revenir au menu principal."
Appels à l'aide du repertoire
Il est possible de passer des appels en prononçant le nom d'une personne (balise vocale) dont le numero de téléphone a préalablement eté enregistré dans le système mains-libres Bluetooth. Pour la méthode de réglage du repertoire, se référer à (page 6-99).
- Appuyer sur la touche decrocher (avec/ sans système de navigation de 7 pouces), ou sur la touche appel en exerçant une pression brève (sans système de navigation de 7 pouces) ou une pression longue (avec système de navigation de 7 pouces).
REMARQUE
Pour les vehicules équipés du système de navigation de 7 pouces, on peut aussi exercer une pression brève sur la touche appel, et enconcer: [Bip] "Téléphone".
- Dire: [Bip] "Appeler"
- Invite: "Veuillez indiquer le nom."
- Dire: [Bip] “XXXXX... (Ex. “Téléphone de John”)” (Dire une balise vocale enregistrée dans le réseau.)
- Invite: "Appel àXXXXXX... (Ex. "Téléphone de John") XXXX (Ex. "a la maison"). Est-ce exact?" (balise vocale et numéro de téléphone enregistrés dans le réseau).
- Dire: [Bip] "Oui"
- Invite: "Composition en cours"
REMARQUE
Il est possible de combiner la commande "Appeler" et la balise vocale.
Ex. A l'objet 2, dire "Appeler téléphone de John"; il est ensuite possible de sauter les étapes 3 et 4.
Fonction de recomposition
Il est possible de recomposer le numero d'une personne precedemment appelée à l'aide du téléphone.
- Appuyer sur la touche décrocher (avec/ sans système de navigation de 7 pouces), ou sur la touche appel en exerçant une pression brève (sans système de navigation de 7 pouces) ou une pression longue (avec système de navigation de 7 pouces).
REMARQUE
Pour les vehicules équipés du système de navigation de 7 pouces, on peut aussi exercer une pression brève sur la touche appel, et énoncer: [Bip] "Téléphone".
Appels d'urgence
Il est possible d'appeler le numero d'urgence (911: Etats-Unis/Canada, 066: Mexique) à l'aide de la commande de saisie vocale. Il peut ne pas fonctionner correctement dans certaines régions du Mexique.
1. Appuyer sur la touche décrocher (avec/ sans système de navigation de 7 pouces), ou sur la touche appel en exerçant une pression brève (sans système de navigation de 7 pouces) ou une pression longue (avec système de navigation de 7 pouces).
REMARQUE
Pour les vehicules équipés du système de navigation de 7 pouces, on peut aussi exercer une pression brève sur la touche appel, et énoncer: [Bip] "Téléphone".
- Dire: [Bip] "Numero d'urgence"
-
- Véhicules américain/canadiens - Invite: "Composition en cours "911", est-ce exact?" - Véhicules mexicans - Invite: "Composition en cours "066", est-ce exact?"
- Dire: [Bip] "Oui"
- Invite: "Composition en cours"
Refus d'un appel entrant
Pour refuser un appel entrant, se reférer à "Réception d'un appel entrant" (page 6-91).
Sourdine
Il est possible demettrele microphone en sourdine lors d'un appel.
- Exercer une pression brève sur la touche appel.
- Dire: [Bip] "Sourdine"
- Invite: "Sourdine du microphone activée"
Annulation de la mise en sourdine
- Exercer une pression brève sur la touche appel.
- Dire: [Bip] "Désactiver la sourdine"
- Invite: "Sourdine du microphone désactivée"
Transfert d'un appel
Transfert d'un appel du système mains-libres vers un périphérique (telephone mobile)
La communication entre l'unité mains-libres et le périphérique (telephone mobile) est annulée et la ligne peut être permutée vers un appel standard à l'aide d'un périphérique (telephone mobile).
- Exercer une pression brève sur la touche appel.
- Dire: [Bip] "Transférer l'appel"
- Invite: "Appel transféré sur le téléphone"
Transfert d'un appel d'un périhérique (telephone mobile) vers le système mains-libres
La communication entre les périhériques (telephones mobiles) peut être permutée vers le système mains-libres Bluetooth®.
- Exercer une pression brève sur la touche appel.
- Dire: [Bip] "Transférer l'appel"
- Invite: "Appel transféré sur Hands Free system"
Fonctions appeals multiples
Appel en attente
Il est possible d'interrompre un appel pour recevoir l'appeil entrant d'un tiers.
Interruption d'un appel
Il est possible de commuter vers un nouvel appel entrant.
Méthode 1
-
Appuyer sur la touche décrocher.
-
Invite: "Passage à l'autre appel en cours."
Méthode 2
- Exercer une pression brève sur la touche appel.
- Dire: [Bip] "Passer à l'autre appel"
- Invite: "Passage à l'autre appel en cours"
REMARQUE
- Pour refuser un appel entrant, appuyer sur la touche raccrocher.
- Une fois le nouvel appel entrant reçu, l'appeil précédent est place en attente.
Permutation d'appels
Il est également possible de permuter de nouveau vers l'essay precedent.
Méthode 1
- Appuyer sur la touche décrocher.
- Invite: "Passage à l'autre appel en cours."
Méthode 2
- Exercer une pression brève sur la touche appel.
- Dire: [Bip] "Passer à l'autre appel"
- Invite: "Passage à l'autre appel en cours"
Fonction d'applétrois voies
- Exercer une pression brève sur la touche appel.
- Dire: [Bip] "Intégrer l'appel"
- Invite: "Intégration de l'appel en cours"
Appel à l'aide d'un numéro de téléphone
(Sans système de navigation de 7 pouces)
- Exercer une pression brève sur la touche appel.
- Dire: [Bip] "Composer"
- Invite: "Veuillez donner le numero"
- Dire: [Bip] “XXXXXXXXXXXX (Numero de téléphone)”
- Invite: "XXXXXXXXXX. (Nombre de téléphone) ÀpRES le bip, continuer d'ajouter des numérios, ou dire Revenir pour entrer de nouveau les derniers chiffres entrés, ou appuyer sur le bouton Decrocher pour composer."
6. (Composition)
Appuyer sur la touche décrocher ou énoncer "Composer", puis passer à l' étape 7.
(Ajout/entree de numero de téléphone)
Dire, “XXXX” (numéro de téléphone souhaïté), puis passer à l' étape 5.
(Correction du numero de téléphone)
Dire, "Revenir". L'invite répond, "Revenir en arrière. Les derniers chiffres entrés ont été supprimés".
Revenir ensuite à l'étape 3.
7. Invite: "Composition en cours"
(Avec système de navigation de 7 pôudes)
- Exercer une pression brève sur la touche appel.
- Dire: [Bip] "Composer"
-
Invite: "Veuillez donner le numero"
-
Dire: [Bip] “XXXXXXXXXX (Ex. “555-1234”) (Número de téléphone)
- Invite: "Composition en cours XXXXXXXXX (Ex. "555-1234") (Número de téléphone) est-ce exact?"
- Dire: [Bip] "Oui" ou "Non".
- Lorsque "Oui" est énoncé, la procédure retourne à l' étape 8.
Lorsque "Non" est énoncé, la procédure returne à l' étape 3. - Invite: "Composition en cours"
Appels à l'aide du repertoire
- Exercer une pression brève sur la touche appel.
- Dire: [Bip] "Appeler"
- Invite: "Veuillez indiquer le nom."
- Dire: [Bip] “XXXXX... (Ex. “Téléphone de John”)” (Dire une balise vocale enregistrée dans le repertoire.)
- Invite: "Appel àXXXXX... (Ex. "Téléphone de John") XXXX (Ex. "a la maison"). Est-ce exact?" (balise vocale et numéro de téléphone enregistrés dans le réseau).
- Dire: [Bip] "Oui"
- Invite: "Composition en cours"
Fonction de recomposition
- Exercer une pression brève sur la touche appel.
- Dire: [Bip] "Recomposer"
- Invite: "Composition en cours"
Fin de l'appel en cours
Appuyer sur la touche raccrocher lors de l'appeL.
Reglages du repertoire
Modification du repertoire
Il est possible de modifier les données enregistrées dans le réseau du téléphone mains-libres Bluetooth®.
REMARQUE
Effectuer ici seulement en étant bien garé. Ceci est trop génant à effectuer pendant la conduite, car on risquerait de faire trop d'erreurs et d'être inefficace.
(Sans système de navigation de 7 pôues)
- Exercer une pression brève sur la touche décrocher ou appel.
- Dire: [Bip] "Répertoire"
- Invite: "Sélectionnez l'une des options suivantes : Nouvelle inscription, Modifier,liste des noms, Supprimer, Effacer tout ou Importer un contact."
- Dire: [Bip] "Modifier"
- Invite: "Veuillez dire le nom de l'inscription à modifier ; ou dites 'Listes des noms'."
- Dire: [Bip] “XXXXX... (Ex. “Téléphone de Mary”)(Dire la balise vocale du nom enregistré dans le repertoire à modifier.)
- Invite: "Maison, travail, mobile ou autre?"
- Dire: [Bip] "Maison" (Dire l'emplacement enregistré à modifier: "Maison", "Travail", "Mobile", ou "Autre").
-
Invite: "XXXX... (Ex. "Téléphone de Mary") (balise vocale enregistrée) XXX (ex. "Maison") (emplacement enregistré). Est-ce exact?
-
Dire: [Bip] "Oui"
- Invite: "Le numéro actuel estXXXXXXXXXX (Ex. "555-1234") (Número actuellement enregistré). Veuillez donner le nouveau número."
REMARQUE
Sieldome de tetephone n'a eteenegrster pour l'emplacement (Ex.Travail),l'invite indiquera seulement "Veuillez donne le numero".
- Dire: [Bip] “XXXXXXXXXX (Ex. “555-5678”)” (Dire le nouveau numero de téléphone à enregistrer.)
- Invite: “XXXXXXXXXX (Numero de téléphone) Àpres le bip, continuer d'ajouter des numéro, ou dire Revenir pour entrer de nouveau les derniers chiffres entrés, ou appuyer sur le bouton Decrocher pour sauvégarder le número.”
- (Modifier le numero)
Appuyer sur la touche décrocher, puis passer à l'objet 15.
(Ajout/entree de numero de téléphone)
Dire, "XXXX" (Numero de téléphone souhaite), puis passer à l'objet 13.
(Correction du numero de téléphone)
Dire, "Revenir". L'invite répond, "Revenir en arrière. Les derniers chiffres entrés ont été supprimés. Veuillez donner le numero". Revenir ensuite à l'objet 12.
- Invite: "Numero modificé."
(Avec système de navigation de 7 pôues)
- Exercer une pression longue sur la touche raccrocher ou appel.
REMARQUE
Pour les vehicules équipés du système de navigation de 7 pouces, on peut aussi exercer une pression brève sur la touche appel, et énoncer: [Bip] "Téléphone".
- Dire: [Bip] "Répertoire"
- Invite: "Sélectionnez l'une des options suivantes : Nouvelle inscription, Modifier,liste des noms, Supprimer, Effacer tout ou Importer un contact."
- Dire: [Bip] "Modifier"
- Invite: "Veuillez dire le nom de l'inscription à modifier ; ou dites 'Listes des noms'."
- Dire: [Bip] “XXXXX... (Ex. “Téléphone de Mary”)(Dire la balise vocale du nom enregistré dans le repertoire à modifier.)
- Invite: "Maison, travail, mobile ou autre?"
- Dire: [Bip] "Maison" (Dire l'emplacement enregistré à modifier: "Maison", "Travail", "Mobile", ou "Autre").
- Invite: "XXXXX... (Ex. "Téléphone de Mary") (balise vocale enregistrée) XXX (ex. "Maison") (emplacement enregistré). Est-ce exact?
- Dire: [Bip] "Oui"
- Invite: "Le numéro actuel estXXXXXXXXXX (Ex. "555-1234") (Número actuellement enregistré). Veuillez donner le nouveau número."
REMARQUE
Sieldome de tetephone n'a eteenegristroeur l'emplacement (Ex.Travail),l'invite indiquera seulement "Veuillez donnele numero".
- Dire: [Bip] “XXXXXXXXXX (Ex. “555-5678”)” (Dire le nouveau numéro de téléphone à enregistrer.)
- Invite: "XXXXXXXXXX (Ex. 555-5678)" (nouveau numéro de téléphone à enregistrer). Est-ce exact?
- Dire: [Bip] "Oui"
- Invite: "Numéro modifié, revenir au menu principal."
Suppression des données du repertoire
Effacement de données spécifiques du repertoire
Il est possible d'effacer des données enregistrées dans le réseau du téléphone mains-libres Bluetooth®.
REMARQUE
Effectuer ici seulement en étant bien garé. Ceci est trop génant à effectuer pendant la conduite, car on risquerait de faire trop d'erreurs et d'être inefficace.
- Appuyer sur la touche decrocher (avec/ sans système de navigation de 7 pouces), ou sur la touche appel en exerçant une pression brève (sans système de navigation de 7 pouces) ou une pression longue (avec système de navigation de 7 pouces).
REMARQUE
Pour les vehicules équipés du système de navigation de 7 pouces, on peut aussi exercer une pression brève sur la touche appel, et enconcer: [Bip] "Téléphone".
- Dire: [Bip] "Répertoire"
-
Invite: "Sélectionnez l'une des options suivantes : Nouvelle inscription, Modifier,liste des noms, Supprimer, Effacer tout ou Importer un contact."
-
Dire: [Bip] "Supprimer"
- Invite: "Veuillez dire le nom de l'inscription à supprimer ; ou dites 'Liste des noms'."
- Dire: [Bip] “XXXXX... (Ex. “Téléphone de John”)” (Dire la balise vocale enregistrée à supprimer du repertoire.)
- Invite: "Suppression de XXXXX... (Ex. "Teléphone de John") (balise vocale enregistrée) Maison (emplacement enregistré). Est-ce exact?"
- Dire: [Bip] "Oui"
- (Sans système de navigation de 7 pouces)
Invite: "XXXX... (Ex. "Téléphone de John") (balise vocale enregistrée) Maison (emplacement enregistré) supprimée."
(Avec système de navigation de 7 pouces)
Invite: "XXXX... (Ex. "Téléphone de John") (balise vocale enregistrée) Maison (emplacement enregistré) supprimé, revenir au menu principal."
Suppression de l'ensemble des données du repertoire
Il est possible d'effacer l'ensemble des données enregistrées dans le repertoire du téléphone mains-libres Bluetooth®.
REMARQUE
Effectuer ici seulement en étant bien garé. Ceci est trop génant à effectuer pendant la conduite, car on risquerait de faire trop d'erreurs et d'être inefficace.
- Appuyer sur la touche decrocher (avec/ sans système de navigation de 7 pouces), ou sur la touche appel en exerçant une pression brève (sans système de navigation de 7 pouces) ou une pression longue (avec système de navigation de 7 pouces).
REMARQUE
Pour les vehicules équipés du système de navigation de 7 pouces, on peut aussi exercer une pression brève sur la touche appel, et enconcer: [Bip] "Téléphone".
- Dire: [Bip] "Répertoire"
- Invite: "Sélectionnez l'une des options suivantes : Nouvelle inscription, Modifier,liste des noms, Supprimer, Effacer tout ou Importer un contact."
- Dire: [Bip] "Effacer tout"
- Invite: "Étes-vous sûr de pouvoir tout effacer de votre réseau Hands-Free system?"
- Dire: [Bip] "Oui"
- Invite: "Vous estes sur le point de tout supprimer de votre repertoire Hands-Free system. Souhaitez-vous continuer?"
- Dire: [Bip] "Oui"
- Invite: "Veuillez patienter. Effacement du repertoire Hands-Free system en cours."
10. (Sans système de navigation de 7 pouces)
Invite: "Répertoire du téléphone du système mains-libres effacé."
(Avec système de navigation de 7 pouces)
Invite: "Répétoire Système Mains Libres effacé, revenir au menu principal."
Lecture des noms enregistrés dans le repertoire mains-libres Bluetooth®
Le système mains-libres Bluetooth® peut dire la liste des noms enregistrés dans son repertoire.
- Appuyer sur la touche decrocher (avec/ sans système de navigation de 7 pouces), ou sur la touche appel en exerçant une pression brève (sans système de navigation de 7 pouces) ou une pression longue (avec système de navigation de 7 pouces).
REMARQUE
Pour les vehicules équipés du système de navigation de 7 pouces, on peut aussi exercer une pression brève sur la touche appel, et énoncer: [Bip] "Téléphone".
- Dire: [Bip] "Répertoire"
- Invite: "Sélectionnez l'une des options suivantes : Nouvelle inscription, Modifier,liste des noms, Supprimer, Effacer tout ou Importer un contact."
- Dire: [Bip] "Liste des noms"
- Invite: "XXXXX..., XXXXX..., XXXXX... (Ex. "Téléphone de John", Téléphone de Mary, Téléphone de Bill)" (Les instructions vocales énoncient les balises vocales enregistrées dans le repertoire.)
Exercer une pression brève sur la touche appel lors de la lecture du nom souhaité, puis enoncer une des commandes vocales suivantes pour l'exécuter.
- "Continuer": La liste vocale continue.
- "Appeler": Les données du repertoire enregistré sont appelées lors d'une pression brève sur la touche appel.
- "Modifier": Les données du repertoire enregistré sont modifiées lors d'une pression brève sur la touche appel.
- "Supprimer": Les données du repertoire enregistré sont supprimées lors d'une pression brève sur la touche appel.
-
"Préçédent": Lit de nouveau les données du réseau préceptent lors d'une pression brève sur la touche appel.
-
Invite: "Fin de la liste. Souhaitez-vous reprene du début?"
- Dire: [Bip] "Non"
- (Avec système de navigation de 7 pouces)
Invite: "Revenir au menu principal."
Transmission DTMF (signal multifréquence à deux tonalités)
Cette fonction est utilisé lors de la transmission DTMF (signal multifréquence à deux tonalités) via la voix de l'utilisateur. Le récepteur de la transmission DTMF (signal multifréquence à deux tonalités) est généralement le répondeur d'un téléphone fixe ou le centre d' appel à instructions automatises d'une entreprise (lorsque des signaux de tonalités sont renvoyés conformément à l'enregistrement des instructions vocales).
- Exercer une pression brève sur la touche appel.
- Dire: [Bip] “XXXX... envoyer” (Dire code DTMF)
- Invite: "Envoi en cours XXXX... (Code DTMF)"
Réglage du téléphone mains-libres
Péripérisque
Enregistrement du périhérique
Pour l'enregistrement d'un périphérique Bluetooth dans le système mains libres Bluetooth.
Se référer à Préparatifs du téléphone mains-libres Bluetooth® à la page 6-85.
Lecture du péripérisque enregistré
Le système mains-libres Bluetooth® peut dire les périhériques enregistrés.
REMARQUE
Effectuer ici seulement en étant bien garé. Ceci est trop génant à effectuer pendant la conduite, car on risquerait de faire trop d'erreurs et d'être inefficace.
- Appuyer sur la touche décrocher (avec/ sans système de navigation de 7 pouces), ou sur la touche appel en exerçant une pression brève (sans système de navigation de 7 pouces) ou une pression longue (avec système de navigation de 7 pouces).
REMARQUE
Pour les vehicules équipés du système de navigation de 7 pouces, on peut aussi exercer une pression brève sur la touche appel, et énoncer: [Bip] "Téléphone".
- Dire: [Bip] "Configurer"
- Invite: "Sélectionnez l'une des options suivantes : Options de jumelage, Messages de confirmation, Langue, NIP, Sélectionner un téléphone ou Sélectionner un lecteur musical."
- Dire: [Bip] "Options de jumelage"
5. (Sans système de navigation de 7 pouces)
Invite: "Les options disponibles sont: Jumeler, Modifier, Supprimer, Lister ou Définir le Code de Jumelage."
(Avec système de navigation de 7 pouces)
Invite: "Sélectionnez l'une des options suivantes : Jumeler, Modifier, Supprimer ou Lister."
6. Dire: [Bip] "Lister"
7. Invite: “XXXXX..., XXXXX..., XXXXX... (Ex. périhérique A, périhérique B, périhérique C)” (les instructions vocales énoncant les balises de périhérique enregistrées dans le système mains-libres)
Exercer une pression brève sur la touche appel lors de la lecture du péripérisque souhaïte, puis énoncer une des commandes vocales suivantes pour l'exécuter.
- "Sélectionner un téléphone": Le périphérique (telephone mobile) est sélectionné lors d'une pression brève sur la touche appel.
- "Délectionner le Lecteur Musical": Le périphérique (lecteur musical) est sélectionné lors d'une pression brève sur la touche appel.
- "Modifier": Le périphérique est modifié lors d'une pression brève sur la touche appel.
"Continuer": La liste vocale continue.
"Supprimer": Le périphérique enregistré est supprimé lors d'une pression brève sur la touche appel. - "Préçédent": Lit de nouveau le périphérique précédent lors d'une pression brève sur la touche appel.
8. Invite: "Fin de la liste. Souhaitez-vous reprenevre au début?"
9. Dire: [Bip] "Non"
- Invite: "Revenir au menu principal."
Sélection du péripétrique
Si plusieurs péripériques ont été programmes, l'unité Bluetooth établit la liaison vers le péripérique programme en dernier. Si la liaison vers un autre péripérique programme est souhaitée, la liaison doit être modifiée. L'ordre de priorité des péripériques est conservé après modification de la liaison, même si le contacteur est arrêté.
(Sans système de navigation de 7 pôues)
Telephone mains-libres
- Exercer une pression brève sur la touche décrocher ou appel.
- Dire: [Bip] "Configurer"
- Invite: "Sélectionnez l'une des options suivantes : Options de jumelage, Messages de confirmation, Langue, NIP, Sélectionner un téléphone ou Sélectionner un lecteur musical."
- Dire: [Bip] "Sélectionner un téléphone"
- Invite: "Veuillez dire le nom du dispositif que vous souhaitez selectionner. Les dispositifs disponibles sont les suivants : XXXXX... (Ex. périphérique A), XXXXX... (Ex. périphérique B), XXXXX... (Ex. périphérique C). Quel périphérique SVP?"
- Dire: [Bip] “XXXXX... (Ex. Periphérique B)”
-
Invite: "XXXXX... (Ex. Périphérique B). Est-ce exact?"
-
Dire: [Bip] "Oui" ou "Non"
- Si "Oui", la procédure returne à l' étape 10. Si "Non", la procédure returne à l' étape 5.
- Invite: "XXXXX... (Ex. Periphérique B) a été sélectionné."
Lecteur musical
- Exercer une pression brève sur la touche décrocher ou appel.
- Dire: [Bip] "Configurer"
- Invite: "Sélectionnez l'une des options suivantes : Options de jumelage, Messages de confirmation, Langue, NIP, Sélectionner un téléphone ou Sélectionner un lecteur musical."
- Dire: [Bip] "Sélectionner le Lecteur Musical"
- Invite: "Veuillez dire le nom du dispositif que vous souhaitez selectionner. Les dispositifs disponibles sont les suivants : XXXXX... (Ex. pérophérique A), XXXXX... (Ex. pérophérique B), XXXXX... (Ex. pérophérique C). Quel pérophérique SVP?"
- Dire: [Bip] “XXXXX... (Ex. Periphérique B)”
- Invite: "XXXXX... (Ex. Periphérique B). Est-ce exact?"
- Dire: [Bip] "Oui" ou "Non"
- Si "Oui", la procédure returne à l' étape 10. Si "Non", la procédure returne à l' étape 5.
- Invite: "XXXXX... (Ex. Periphérique B) a été sélectionné."
(Avec système de navigation de 7 pôues)
Telephone mains-libres
- Exercer une pression longue sur la touche raccrocher ou appel.
REMARQUE
Pour les vehicules équipés du système de navigation de 7 pouces, on peut aussi exercer une pression brève sur la touche appel, et enconcer: [Bip] "Téléphone".
- Dire: [Bip] "Configurer"
- Invite: "Sélectionnez l'une des options suivantes : Options de jumelage, Messages de confirmation, Langue, NIP, Sélectionner un téléphone ou Sélectionner un lecteur musical."
- Dire: [Bip] "Sélectionner un téléphone"
- Invite: "Veuillez dire 1 pour XXXXX... (Ex. périphérique A), 2 pour XXXXX... (Ex. périphérique B...)
- Dire: [Bip] "X" (Dire l'ordre de priorité du téléphone mobile à connecter.)
- Invite: "XXXXX... (Ex. périhérique B...) (balise du périhérique enregistré) a été sélectionné, est-ce exact?"
- Dire: [Bip] "Oui"
- Invite: "XXXXX... (Ex. périphérique B...) (balise du périphérique) a été sélectionné."
Lecteur musical
- Exercer une pression longue sur la touche raccrocher ou appel.
REMARQUE
Pour les vehicules équipés du système de navigation de 7 pouces, on peut aussi exercer une pression brève sur la touche appel, et énoncer: [Bip] "Téléphone".
- Dire: [Bip] "Configurer"
- Invite: "Sélectionnez l'une des options suivantes : Options de jumelage, Messages de confirmation, Langue, NIP, Sélectionner un téléphone ou Sélectionner un lecteur musical."
- Dire: [Bip] "Sélectionner le Lecteur Musical"
- Invite: "Veuillez dire 1 pour XXXXX... (Ex. périphérique A), 2 pour XXXXX... (Ex. périphérique B...)
- Dire: [Bip] "X" (Dire l'ordre de priorité du lecteur musical à connecter.)
- Invite: "XXXXX... (Ex. périhérique B...) (balise du périhérique enregistré) a été sélectionné, est-ce exact?"
- Dire: [Bip] "Oui"
- Invite: "XXXXX... (Ex. périphérique B...) (balise du périphérique) a été sélectionné."
REMARQUE
(Sans système de navigation de 7 pouces) La sélection du péripérique (lecteur musical) peut également être effectue à l'aide de la touche du panneau (page 6-70).
Suppression d'un périphérique (réseau mobile) enregistré
Il est possible de supprimer les péripériques (telephones mobiles) de manière individuelle ou collective.
REMARQUE
Effectuer ici seulement en étant bien garé. Ceci est trop génant à effectuer pendant la conduite, car on risquerait de faire trop d'erreurs et d'être inefficace.
(Sans système de navigation de 7 pôues)
- Exercer une pression brève sur la touche décrocher ou appel.
- Dire: [Bip] "Configurer"
- Invite: "Sélectionnez l'une des options suivantes : Options de jumelage, Messages de confirmation, Langue, NIP, Sélectionner un téléphone ou Sélectionner un lecteur musical."
- Dire: [Bip] "Options de jumelage"
- Invite: "Les options disponibles sont: Jumeler, Modifier, Supprimer, Lister ou Définir le Code de Jumelage."
REMARQUE
Il est possible de supprimer un périphérique (telephone mobile) enregistré à l'aide de la liste d'enregistrement.
- Dire: [Bip] "Supprimer"
- Invite: "Veuillez dire le nom du dispositif que vous souhaitez supprimer. Les dispositifs disponibles sont les suivants : XXXXX... (Ex. pérophérique A), XXXXX... (Ex. pérophérique B), XXXXX... (Ex. pérophérique C), o Todos. Quel pérophérique SVP?"
- Dire: [Bip] “XXXXX... (Ex. périphérique B)”
REMARQUE
Dire "Tous" pour supprimer tous les péripériques (telephones mobiles).
- Invite: "Suppression de XXXXX... (Ex. périphérique B...) (balise du périphérique enregistré). Est-ce exact?"
- Dire: [Bip] "Oui"
- Invite: "Supprime"
(Avec système de navigation de 7 pôues)
- Exercer une pression longue sur la touche raccrocher ou appel.
REMARQUE
Pour les vehicules équipés du système de navigation de 7 pouces, on peut aussi exercer une pression brève sur la touche appel, et énoncer: [Bip] "Téléphone".
- Dire: [Bip] "Configurer"
- Invite: "Sélectionnez l'une des options suivantes : Options de jumelage, Messages de confirmation, Langue, NIP, Sélectionner un téléphone ou Sélectionner un lecteur musical."
- Dire: [Bip] "Options de jumelage"
- Invite: "Selectionnez l'une des options suivantes : Jumeler, Modifier, Supprimer ou Lister."
REMARQUE
Il est possible de supprimer un périhérique (telephone mobile) enregistré à l'aide de la liste d'enregistrement.
- Dire: [Bip] "Supprimer"
- Invite: "Veuillez dire 1 pour XXXXX... (Ex. périphérique A), 2 pour XXXXX... (Ex. périphérique B...)" (la balise du périphérique enregistré est lu par le téléphone mains-libres).
- Dire: [Bip] "X" (Dire l'ordre de priorité du périhérique à supprimer.)
REMARQUE
Dire "Tous" pour supprimer tous les péripériques (telephones mobiles).
- Invite: "Suppression de XXXXX... (Ex. péripérisque B...) (balise du péripérisque enregistré). Est-ce exact?"
- Dire: [Bip] "Oui"
- Invite: "Supprime"
Modification du périhérique enregistré
(Sans système de navigation de 7 pôues)
- Exercer une pression brève sur la touche décrocher ou appel.
- Dire: [Bip] "Configurer"
- Invite: "Sélectionnez l'une des options suivantes : Options de jumelage, Messages de confirmation, Langue, NIP, Sélectionner un téléphone ou Sélectionner un lecteur musical."
- Dire: [Bip] "Options de jumelage"
- Invite: "Les options disponibles sont: Jumeler, Modifier, Supprimer, Lister ou Définir le Code de Jumelage."
- Dire: [Bip] "Modifier"
- Invite: "Veuillez dire le nom du dispositif que vous souhaitez modifier. Les dispositifs disponibles sont les suivants:XXXX... (Ex. pérophérique A),XXXX... (Ex. pérophérique B),XXXX... (Ex. pérophérique C). Quel pérophérique SVP?"
-
Dire: [Bip] “XXXXX... (Ex. périphérique C)”
-
Invite: "Le nouveau nom, s'il vous plaît?"
- Dire: [Bip] “XXXXX... (Ex. périphérique C)” (appeler une “balise de périphérique”, un nom de programme quelconque.)
- Invite: "XXXXX... (Ex. périhérique C) (balise de périhérique), est-ce exact?"
- Dire: [Bip] "Oui"
- Invite: "Nouveau nom enregistré."
(Avec système de navigation de 7 pôues)
- Exercer une pression longue sur la touche raccrocher ou appel.
REMARQUE
Pour les vehicules équipés du système de navigation de 7 pouces, on peut aussi exercer une pression brève sur la touche appel, et énoncer: [Bip] "Téléphone".
- Dire: [Bip] "Configurer"
- Invite: "Sélectionnez l'une des options suivantes : Options de jumelage, Messages de confirmation, Langue, NIP, Sélectionner un téléphone ou Sélectionner un lecteur musical."
- Dire: [Bip] "Options de jumelage"
- Invite: "Selectionnez l'une des options suivantes : Jumeler, Modifier, Supprimer ou Lister."
- Dire: [Bip] "Modifier"
-
Invite: "Veuillez dire 1 pour XXXXX... (Ex. périhérique A), 2 pour XXXXX... (Ex. périhérique B...), quel dispositif, s'il vous plait?" (la balise du périhérique enregistré est lu par le téléphone mains-libres).
-
Dire: [Bip] "X" (Dire l'ordre de priorité du périhérique à modifier.)
- Invite: "Le nouveau nom, s'il vous plaît?"
- Dire: [Bip] “XXXXX... (Ex. périphérique C)” (appeler une “balise de périphérique”, un nom de programme quelconque.)
- Invite: "XXXXX... (Ex. périhérique C) (balise de périhérique), est-ce exact?"
- Dire: [Bip] "Oui"
- Invite: "Nouveau nom enregistré, revenir au menu principal."
Réglage de la sécurité
Si un NIP est défini, le système ne peut être activé qu'une fois le NIP saisi.
REMARQUE
Effectuer ici seulement en étant bien garé. Ceci est trop génant à effectuer pendant la conduite, car on risquerait de faire trop d'erreurs et d'être inefficace.
Réglage du NIP
- Appuyer sur la touche décrocher (avec/ sans système de navigation de 7 pouces), ou sur la touche appel en exerçant une pression brève (sans système de navigation de 7 pouces) ou une pression longue (avec système de navigation de 7 pouces).
REMARQUE
Pour les vehicules équipés du système de navigation de 7 pouces, on peut aussi exercer une pression brève sur la touche appel, et enconcer: [Bip] "Téléphone".
-
Dire: [Bip] "Configurer"
-
Invite: "Sélectionnez l'une des options suivantes : Options de jumelage, Messages de confirmation, Langue, NIP, Sélectionner un téléphone ou Sélectionner un lecteur musical."
- Dire: [Bip] "NIP"
- Invite: "Le NIP est désactivé. Souhaitez-vous l'activer?"
- Dire: [Bip] "Oui"
- Invite: "Veuillez dire un NIP de 4 chiffres. N'oubliez pas ce NIP. Il sera nécessaire pour utiliser ce système."
- Dire: [Bip] "XXXX" (Dire un NIP à quatre chiffres, "PCode").
- Invite: "NIP XXXX (NIP). Est-ce exact?"
- Dire: [Bip] "Oui"
- (Sans système de navigation de 7 pouces) Invite: "NIP est activé." (Avec système de navigation de 7 pouces) Invite: "Le NIP est activé, revenir au menu principal."
Utilisation du système mains-libres Bluetooth® avec un NIP
- Appuyer sur la touche decrocher (avec/ sans système de navigation de 7 pouces), ou sur la touche appel en exerçant une pression brève (sans système de navigation de 7 pouces) ou une pression longue (avec système de navigation de 7 pouces).
REMARQUE
Pour les vehicules équipés du système de navigation de 7 pouces, on peut aussi exercer une pression brève sur la touche appel, et énoncer: [Bip] "Téléphone".
- Invite: "Hands-Free system est verrouillé. Donnez le NIP pour continuer."
- Dire: [Bip] "XXXX" (Dire le NIP défini "PCode".)
- Si le NIP saisi est correcte, l'instruction vocale "XXXXXX... (Ex. "periphérique de Mary) (balise de periphérique) est connecté" est énoncé. Si le NIP est incorrect, l'instruction vocale "XXXX (NIP à quatre chiffres, PCode) NIP incorrect, veuillez réessayer" est énonnée.
Annulation du NIP
REMARQUE
Effectuer ici seulement en étant bien garé. Ceci est trop génant à effectuer pendant la conduite, car on risquerait de faire trop d'erreurs et d'être inefficace.
- Appuyer sur la touche decrocher (avec/ sans système de navigation de 7 pouces), ou sur la touche appel en exerçant une pression brève (sans système de navigation de 7 pouces) ou une pression longue (avec système de navigation de 7 pouces).
REMARQUE
Pour les vehicules équipés du système de navigation de 7 pouces, on peut aussi exercer une pression brève sur la touche appel, et enconcer: [Bip] "Téléphone".
- Dire: [Bip] "Configurer"
- Invite: "Sélectionnez l'une des options suivantes : Options de jumelage, Messages de confirmation, Langue, NIP, Sélectionner un téléphone ou Sélectionner un lecteur musical."
-
Dire: [Bip] "NIP"
-
Invite: "Le NIP est activé. Souhaitez-vous le désactiver?"
- Dire: [Bip] "Oui"
- (Sans système de navigation de 7 pouces)
Invite: "NIP est désactié."
(Avec système de navigation de 7 pouces)
Invite: "Le NIP est désactifé, revenir au menu principal."
Invites de confirmation
L'invite de confirmation confirme le contenu de la commande à l'utilisateur avant de proceder à l'opération demandée par l'utilisateur. Lorsque cette fonction est activée, le système lit la commande de saisie vocale précédement reçue et indique si la commande est correcte avant de passer à son exécution.
Si la fonction d'invite de confirmation est activée:
(Ex. "Appel à périphérique de John. Est-ce exact?"
Si la fonction d'invite de confirmation est désactivée:
(Ex. "Appel à périphérique de John.")
REMARQUE
Si la fonction d'invite de confirmation est désactivée, lors d'un appel d'urgence, le système lit et confirme la commande avant son exécution.
- Appuyer sur la touche décrocher (avec/ sans système de navigation de 7 pouces), ou sur la touche appel en exerçant une pression brève (sans système de navigation de 7 pouces) ou une pression longue (avec système de navigation de 7 pouces).
REMARQUE
Pour les vehicules équipés du système de navigation de 7 pouces, on peut aussi exercer une pression brève sur la touche appel, et énoncer: [Bip] "Téléphone".
-
(Sans système de navigation de 7 pouces)
-
Dire: [Bip] "Configurer"
- Invite: "Sélectionnez l'une des options suivantes : Options de jumelage, Messages de confirmation, Langue, NIP, Sélectionner un téléphone ou Sélectionner un lecteur musical."
- Dire: [Bip] "Invites de confirmation"
- Invite: "Les invites de confirmation sont activées/désactivées. Souhaitez-vous désactiver/activar les Invites de confirmation?"
- Dire: [Bip] "Oui"
Invite: "Les invites de confirmation sont désactivées/activées."
(Avec système de navigation de 7 pôues)
Invite: "Les invites de confirmation sont désactivées/activées, revenir au menu principal."
Fonction d'apprentissage de la reconnaissance vocale (apprentissage de l'orateur)
La fonction d'apprentissage de la reconnaissance vocale permet d'utiliser une reconnaissance vocale adaptée aux caractéristiques de la voix de l'utiliseur. Si la reconnaissance des commandes de saisie vocale du système n'est pas adaptée, cette fonction peut améliorer de manière importante la reconnaissance vocale de l'utiliseur au niveau du système. Si la voix peut être reconnaue de manière satisfaisante sans l'aide de cette fonction, l'avantage de cette fonction peut ne pas être perceptible.
L'enregistrement vocal doit s'effectuer lors de la lecture de la liste des commandes de saisie vocales. Lire la liste lorsque le vehicule est stationné.
Proceder à l'enregistrement dans un lieu aussi calme que possible (page 6-82).
L'enregistrement doit être effectué entièrement. Le temps requis est de quelques minutes. L'utilisateur doit être installé dans le siècle conducteur avec la liste des commandes de saisie vocales pour l'apprentissage de la reconnaissance vocale ouverte à la page indiquée cédssous.
Lors d'un premier apprenticeage de la reconnaissance vocale
- Appuyer sur la touche décrocher (avec/ sans système de navigation de 7 pouces), ou sur la touche appel en exerçant une pression brève (sans système de navigation de 7 pouces) ou une pression longue (avec système de navigation de 7 pouces).
REMARQUE
Pour les vehicules équipés du système de navigation de 7 pouces, on peut aussi exercer une pression brève sur la touche appel, et enconcer: [Bip] "Téléphone".
- Dire: [Bip] "Entrainement à la parole"
- Invite: "Cette opération doit être effectuee dans un endroit calme pendant que le vehicule est arrete. Consultez le manuel du propriete pour connaître la liste des phrases d'entrainmente requises. Lorsque vous etes pret a commencer, appuyez et relachez le bouton Parler. Pour annuler l'opération a tout moment, appuyez le bouton Raccrocher enfoncé."
- Exercer une pression brève sur la touche appel.
- L'instruction vocale énonce le numéro de la commande de saisie vocale (voir la liste des commandes de saisie vocales pour l'apprentissage de la reconnaissance vocale). (Ex. "Veuillez dire la phrase 1")
- Dire: [Bip] "0123456789" (Dire la commande de saisie vocale pour l'apprentissage de la reconnaissance vocale (de 1 à 8), conformément à l'instruction vocale.)
- (Sans système de navigation de 7 pouces)
Invite: "L'enrollement à la parole est terminé."
(Avec système de navigation de 7 pôues)
Invite: "L'enrollement à la parole est terminé, revenir au menu principal."
REMARQUE
En cas d'erreur lors de l'apprentissage de la reconnaissance vocale, un nouvel apprentice peut etre effectue en exerçant une pression brive sur la touche appel.
Nouvel apprenticegasse de la reconnaissance vocale
Si l'apprentissage de la reconnaissance vocale a déjà été effectué.
- Appuyer sur la touche decrocher (avec/ sans système de navigation de 7 pouces), ou sur la touche appel en exerçant une pression brève (sans système de navigation de 7 pouces) ou une pression longue (avec système de navigation de 7 pouces).
REMARQUE
Pour les vehicules équipés du système de navigation de 7 pouces, on peut aussi exercer une pression brève sur la touche appel, et énoncer: [Bip] "Téléphone".
- Dire: [Bip] "Entrainnement à la parole"
- Invite: "L'enrollement est activé/désactive. Souhaitez-vous le désactiver/activer ou refaire l'entrainment?"
- Dire: [Bip] "Refaire l'entraînement"
- Invite: "Cette opération doit être effectuee dans un endroit calme pendant que le vehicule est arrete. Consultez le manuel du propriete pour connaître la liste des phrases d'entrainement requises. Lorsque vous etes pret a commencer, appuyez et relachez le bouton Parler. Pour annuler l'opération à tout moment, appuyez le bouton Raccrocher enfoncé."
-
Exercer une pression brève sur la touche appel.
-
L'instruction vocale énonce le numéro de la commande de saisie vocale (voir la liste des commandes de saisie vocales pour l'apprentissage de la reconnaissance vocale). (Ex. "Veuillez dire la phrase 1")
- Dire: [Bip] "0123456789" (Dire la commande de saisie vocale pour l'apprentissage de la reconnaissance vocale (de 1 à 8), conformément à l'instruction vocale.)
- (Sans système de navigation de 7 pouces)
Invite: "L'enrollement à la parole est terminé."
(Avec système de navigation de 7 pôudes)
Invite: "L'enrollement à la parole est terminé, revenir au menu principal."
REMARQUE
En cas d'erreur lors de l'apprentissage de la reconnaissance vocale, un nouvel apprentice peut etre effectue en exerçant une pression brive sur la touche appel.
List des commandes de saisie vocales pour l'apprentissage de la reconnaissance vocale
Les éléments suivants doivent être pris en compte lors de la lecture:
- Lire les numérios un par un, correctement et naturellement.
(Par exemple, "1234" doit être énoncé ainsi: "un, deux, trois, quatre", et non ainsi "douze, trente-quatre".)
- Ne pas dire les parentheses. " (" et les tirets "-" sont utilisés pour séparer les nombres d'un numéro de téléphone.
Ex.
"(888) 555-1212" doit être prononcé "Huit, huit, huit, cinq, cinq, cinq, un, deux, un, deux."
| Phrase | Commande |
| 1 | 0123456789 |
| 2 | (888) 555-1212 |
| 3 | Appeler |
| 4 | Composer |
| 5 | Configurer |
| 6 | Annuler |
| 7 | Continuer |
| 8 | Aide |
REMARQUE
- La phrase correspondante s'affiche à l'écran.
(Sans système de navigation de 7 pouces) Une fois l'enregistrement de la voix de l'utilisateur terminé, l'instruction vocale "Enregistrement de la voix est terminé" est annonnée.
(Avec système de navigation de 7 pouces) Une fois l'enregistrement de la voix de l'utilisateur terminé, l'instruction vocale "L'enrollement à la parole est terminé, revenir au menu principal" est énoncée.
Activation/désactivation de l'apprentissage de la reconnaissance vocale
- Appuyer sur la touche décrocher (avec/ sans système de navigation de 7 pouces), ou sur la touche appel en exerçant une pression brève (sans système de navigation de 7 pouces) ou une pression longue (avec système de navigation de 7 pouces).
REMARQUE
Pour les vehicules équipés du système de navigation de 7 pouces, on peut aussi exercer une pression brève sur la touche appel, et enconcer: [Bip] "Téléphone".
- Dire: [Bip] "Entrainement à la parole"
- Invite: "L'enrollement est activé/désactive. Souhaitez-vous le désactiver/activer ou refaire l'entrainment?"
- Dire: [Bip] "Désactiver" ou "Activer"
- Lorsque "Désactiver" est énoncé, l'apprentissage de la reconnaissance vocale est déactivé.
Lorsque "Activer" est énoncé,
l'apprentissage de la reconnaissance
vocale est activé.
- (Sans système de navigation de 7 pouces)
Invite: "L'enrollement à la parole est désactivé/activé."
(Avec système de navigation de 7 pouces)
Invite: "L'enrollement à la parole est désactivé/activé, Revenir au menu principal."
Lorsqu'il est impossible d'utiliser le téléphone mains-libres Bluetooth®
Il est impossible d'utiliser le téléphone mains-libres Bluetooth dans les cas suivants:
- Le périphérique est hors de la zone de communication.
- Periphérique fonctionnant anormalement.
- Periphérique non connecté à l'unité mains-libres du vehicule.
- La batterie du périphérique est faible.
Le péripérisque est désacté. - Periphérique place à un endroit où la réception radio est difficile.
- Le contacteur est sur la position d'arret.
Certification de sécurité
Cet apparéil est conforme à la Section 15 des Règlements FCC et avec la norme RSS-210 de Industry Canada. Le fonctionnement étant sujet aux deux conditions suivantes:
(1) Ce dispositif ne doit pas cause d'interférences nuisibles et
(2) Ce dispositif doit accepter toutes les interférences reçues, même celles qui pourraient cause un fonctionnement indésirable.
APRUDENCE
Les changements ou modifications non spécifique approuvés par l'entité responsable de la conformité peuvent annuler le droit de l'utilisateur à faire fonctionner cet apparéil.
Le terme "IC: "place avant le numero de certificat radio signifie seulement que les specifications techniques de Industry Canada ont ete respectees.
L'antenne utilisée pour ce transmetteur ne doit pas etre place a proximite immediated'une autre antennou ou un d'autre transmetteur, ou ne doit pas etre utilisée conjointement avec ceux-ci. Les instructions d's installation et les conditions d'utilisation du transmetteur satisfaisant aux normes d'exposition aux fréquences radio doivent etre fournies aux utilisateurs finaux ou aux techniciens d's installation.
Service clientèle du système mains-libres Bluetooth® Mazda
- Etats-Unis
Téléphone: 800-430-0153 (numéro gratuite)
www.MazdaUSA.com/bluetooth
Canada
Telephone: 800-430-0153 (numéro gratuite)
www.mazdahandsfree.ca - Mexique Service des relations avec la clientèle (CAC) Téléphone: 01-800-01-MAZDA (numéro gratuite) www.MazdaUSA.com/bluetooth
Pare-soleil
Pour utiliser un pare-soleil, l'abaisser pour l'utiliser devant ou le faire tournier pour l'utiliser de cotoé.

Pare-soleils a rallonge laterale
La rallonge du pare-soleil permet d'augmenter la plage d'ombrage du pare-soleil.
Pour l'utiliser, le tirer vers l'extérieur.

ATTENTION
Lors du déplacement du pare-soleil, remetre la rallonge du pare-soleil en position initiale. Sinon, la rallonge du pare-soleil risque de toucher le rétroviseur interieur.
Miroirs de pare-soleil
Pour utiliser le miroir de pare-soleil, abaisser le pare-soleil.
L'éclairage de miroir de pare-soileil s'allume lorsqu'on ouvre le couvercle.
Eclairages intérieurs
Systeme d'entrée éclairée
Lorsque le système d'entrée éclairée opère, l'éclairage au pavillon (interrupteur sur la position DOOR) s'allume pendant:
- Environ 30 secondes après que la portière du conducteur soit déverrouillée et que le contacteur d'allumage est dans la position LOCK (clé soit retiree du contact).
- Environ 15 secondes après que toutes les portières soient fermées. (Avec clé avancée)
Environ 5 secondes après la fermeture de toutes les portieres lorsque la clé avancée est à l'extérieur du vehicule.
- Environ 15 secondes après que le contacteur d'allumage soit dans la position LOCK (clé soit retiree du contact) avec toutes les portieres fermées.
L'éclairage s'eteint aussi lorsque:
- Le contacteur est ON et toutes les portières sont fermées.
- La portiere du conducteur est verrouillée.
REMARQUE
Economiseur de batterie
Si une portière reste ouverte, l'éclairage s'eteindra après 30 minutes environ dans le but d'économiser la batterie.
L'éclairage s'allume de nouveau lorsque le contacteur est ON ou lorsqu'une des portières est ouverte après que toutes les portières aient été fermées.
Eclairages au pavillon Avant

| Position de l'interrupteur | Eclairages au pavillon avant |
| OFF | Eclairage hors circuit |
| DOOR | L'éclairage s'allume lorsqu'une des portières est ouverte L'éclairage s'allume ou s'éteint lorsque le système d'entrée éclairée est en fonction |

Arrière
| Position de l'interrupteur | Eclairages au pavillon arrêté |
| OFF | Eclairage hors circuit |
| DOOR | L'éclairage s'allume lorsqu'une des portières est ouverte L'éclairage s'allume ou s'éteint lorsque le système d'entrée éclairée est en fonction |
| ON | Eclairage en circuit |
Lampes de lecture
Les lampes de lecture peuvent etre allumées ou eteintes en appuyant sur les interrupteurs.

Eclairage de compartment à bagages

| Position de l'interrupeur | Eclairage de compartment à bagages |
| OFF | Eclairage hors circuit |
| DOOR | L'éclairage s'allume lorsque le hayon est ouvert |
Affichage d'informations
Affichage audio


Affichage de commande température

Fonctions de l'affichage d'informations
L'affichage d'informations a les fonctions suivantes:
- Affichage de la commande de température (système de commande de température de l'air entièrement automatique)
- Affichage audio
- Affichage du téléphone mains-libres Bluetooth®* Se référer à Telefoné mains-libres Bluetooth® à la page 6-80.
Affichage de commande température
Le statut du système de commande température est affiché. Pour actionner le système de commande température, se référer à
"Système de commande de température" (page 6-2).
Affichage audio
Le statut du système audio est affché. Pour actionner le système audio, se reférer à "Système audio" (page 6-16).
Affichage multi-informations
Sans système de navigation et écran de rétrovision

Avec système de navigation ou écran de rétrovision


Interrupteur au volant

| Interrupteur | Fonction |
| Interrupteur d'entrée(haut/bas) | Utilisé pour sélectionner un menu et modifier les numéroros. Sélectionner vers le haut ouvers le bas, et appuyer sur l'interrupteur d'entrée. |
| Interrupteur dedroite/gauche | Utilisé pour sélectionner les chiffres lors du réglage des numéroros. |
| Interrupteur Navi(avec système de navig-gation) | Appuyer pour faire apparaître l'écran du système de navigation. |
| Interrupteur BACK | Appuyer pendant PARAMETRAGES pour revenir à l'écran précédent. |
| Interrupteur INFO | Appuyer pour faire apparaître l'affichage multi-informations. |
| Fait changer l'affichage de réglage dans l'ordre suivant: Ordinateur de bord(moyenne de consommation de carburant/vitesse moyenne du vehicule) → Ordinateurde bord (consommation actuelle de carburant/distance restante) → Affichage audio →Réglages (réinitialiser les moyennes/entretien/preférences). A chaque pression surl'interrupteur, l'affichage multi-informations avance dans le cycle. |
Fonctions de l'affichage multi-informations
| Nom des fonctions | Détails | Se reporter à la page |
| Montre | Affichage constant de l'heure. | 6-123 |
| Affichage de la température extérieure | Affichage constant de la température ambiente. | 6-124 |
| Affichage audio | Affiche l'état de fonctionnement du système audio. Affiché lorsqu'on appuie sur l'interrupteur INFO. | 6-124 |
| Ordinateur de bord | Affiche la moyenne de consommation de carburant, la vitesse moyenne du vehicule, la consommation actuelle de carburant et la distance restante. Affiché lorsqu'on appuie sur l'interrupteur INFO. | 6-124 |
| Contrôle d'entretien | Avis d'inspection périodique et de période de permutation des pneus | 6-126 |
| Indicateur d'avertissement | Avis de précaution | 6-131 |
| Réglages | Utilisé pour modifier les réglages de l'affichage multi-informations. Affiché lorsqu'on appuie sur l'interrupteur INFO. | 6-131 |
| Ecran de rétrovision | L'écran de rétrovision est un système d'aide visuelle utilisé lorsqu'on recule le vehicule, qui fournit des images à l'arrière du vehicule. | 6-133 |
| Système de navigation | Se référer au manuel séparé | |
Montre
L'heure s'affiche lorsque le contacteur est place sur ACC ou ON.
18:00AM
Réglage de l'heure
- Mettre le contacteur en position ACC ou ON.
- Régler l'heure en utilisant les touches de réglage de l'heure (H, M). Les heures avancent pendant que vous appuyez sur la touche de réglage de l'heure (H). Les minutes avancent pendant que vous appuyez sur la touche de réglage de l'heure (M).
Réinitialisation de l'heure
- Mettre le contacteur en position ACC ou ON.
- Appuyer sur la touche :00.
- Lorsqu'on appuie sur la touche, l'heure est réinitialisée comme suit:
(Example)
12:01—12:29→12:00
12:30—12:59→1:00
REMARQUE
Lorsqu'on appuie sur la touche :00, les secondes démarrent à partir de "00".
Avec système de navigation
Changement de fuseau horsaire
- Appuyer sur l'interrupteur INFO jusqu'à ce que l'écran PARAMETRAGES apparaisse.
- Sélectionner PREFERENCES en appuyant sur l'interrupteur d'entrée (haut/bas) vers le haut ou vers le bas, puis appuyer sur l'interrupteur d'entrée (haut/bas).
- Sélectionner FUSEAU HORAIRE en appuyant sur l'interrupteur d'entrée (haut/bas) vers le haut ou vers le bas, puis appuyer sur l'interrupteur d'entrée (haut/bas).
- Sélectionner le fuseau hora voulu en appuyant sur l'interrupteur d'entrée (haut/bas) vers le haut ou vers le bas, puis appuyer sur l'interrupteur d'entrée (haut/bas).
REMARQUE
Le passage à l'heure d'éta n'est pas refleté dans le fuseau horsaire affché.
L'horloge n'est pas affichee si le signal GPS n'est pas reçu.
- Si les câbles de la batterie sont déconnectés, puis reconnectçés, l'horloge ne fonctionne pas avant qu'un signal GPS soit reçu. Ne pas placer d'objets sur le tableau de bord, faute de quoi l'horloge risque de ne pas pouvoir le signal GPS correctement.
Affichage de la température extérieure
Lorsque le contacteur est mis sur ON, la température ambiente est affichée.
78°F
REMARQUE
-
Dans les conditions suivantes, la température ambiente affichée peut différer de la température ambiente réelle suivant l'environnement du vehicule et les conditions du vehicule:
-
Températures nettement froides ou chaudes.
- Changements brusques de température ambiente.
Le vehicule est en stationnement.
Le vehicule est conduit à vitesse réduite.
Lorsque le contacteur est mis sur ACC, "---" s'affiche.
Affichage audio
Appuyer sur l'interrupteur INFO jusqu'à ce que l'écran AUDIO apparaisse. L'état de fonctionnement du système audio est affché.
Pour actionner le système audio, se reférer à “Système audio” (page 6-16).
Ordinateur de bord
L'ordinateur de bord peut afficher les données suivantes:
- La moyenne de consommation de carburant.
- La vitesse moyenne du vehicule.
- La consommation actuelle de carburant.
-
La distance approximative que l'on peut parcourir avec le carburant restant.
-
Mettre le contacteur en position ON.
- Appuyer sur l'interrupteur INFO jusqu'à ce que l'écran de l'ordinateur de bord apparaisse.
En cas de problème avec l'ordinateur de bord, s'adresser à un concessionnaire agréé Mazda.
Moyenne de consommation de carburant
Ce mode affiche la moyenne de consommation de carburant en calculant la quantité totale de carburant consommé et la distance totale parcourue depuis que le vehicule a été acheté, que la batterie a été branchée après avoir été débranchée, ou que les données ont été réinitialisées. La moyenne de consommation de carburant est calculée puis affichée toutes les minutes.
| 78°F 10:00AM |
| CONSOMMATION MOYENNE 25.0 mpg |
| VITESSE MOYENNE 45 mph |
Pour supprimer les données affichées, se référer à Réglages à la page 6-131. Une fois les données supprimées, la moyenne de consommation de carburant calculée en - - - L/100 km (- - -mpg) s'affiche une minute plus tard.
Vitesse moyenne du vehicule
Ce mode affiche la vitesse moyenne du vehicule en calculant la distance et la durée des déplacements depuis que la batterie a été branchée ou les données réinitialisées.
La vitesse moyenne du vehicule est calculée toutes les 10 secondes.
| 78°F 10:00AM |
| CONSOMMATION MOYENNE 25.0 mpg |
| VITESSE MOYENNE 45 mph |
Pour supprimer les données affichées, se référer à Réglages à la page 6-131. Une fois les données supprimées, la vitesse moyenne du vehicule calculée en - - -km/h (- - -mph) s'affiche une minute plus tard.
Consommation actuelle de carburant
Ce mode affiche la consommation actuelle de carburant en calculant la quantite de carburant consommé et la distance parcourue.
La consommation actuelle de carburant est calculée toutes les 2 secondes.
| 78°F 10:00AM |
| CONSO INSTANTANEE 34.0 mpg |
| KM RESTANTS 235 mile |
Lorsque l'on a ralenti à environ 5km / h (3 mi/h), - - - L/100 km (- - - mpg) est affché.
Distance restante
Cette fonction affiche la distance approximative que l'on peut parcourir avec le carburant restant en se basant sur la consommation de carburant.
La distance restante sera calculée toutes les secondes.
| 78°F 10:00AM |
| CONSO INSTANTANEE 34.0 mpg |
| KM RESTANTS 235 mile |
REMARQUE
- Meme si l'affichage de la distance restante peut indiquer une distance suffisante avant que le plein de carburant ne soit requis, faire le plein des que possible si l'aiguille de laJAuge a carburant est pres du E ou si levoyant de niveau bas de carburant s'allume.
- L'affichage ne changera que si l'on ajoute plus de 5 litres {6 US qt, 5 lmp qt} environ de carburant.
Lorsque le contacteur est mis sur ACC, "--" s'affiche.
Contrôle d'entretien
On peut afficher l'avis d'inspection périodique et de période de permutation des pneus en allumant le Contrôle d'entretien.
REMARQUE
- Cette fonction est inopérante lorsque le vehicule est en marche.
(Avec système de navigation) Si les cables de la batterie sont déconnectés, puis reconnectçés, l'élement REVISION PERIODIQUE du réglage ENTRENTIEN ne peut être réalisé avant réinitialisation de l'horloge suite à la réception d'un signal GPS. Effectuer ce réglage une fois que le fonctionnement de l'horloge a repris.
Méthode de réglage initial
- Appuyer sur l'interrupteur INFO jusqu'à ce que l'écran PARAMETRAGES apparaisse.
-
Sélectionner ENTRENTIEN en appuyant sur l'interrupteur d'entrée (haut/bas) vers le haut ou vers le bas, puis appuyer sur l'interrupteur d'entrée (haut/bas).
-
Sélectionner l'élement que l'on peut allumer (PERMUTATION ROUES ou REVISION PERIODIQUE) en appuyant sur l'interrupteur d'entrée (haut/bas) vers le haut ou vers le bas, puis appuyer sur l'interrupteur d'entrée (haut/bas).
| 78°F 10:00AM |
| ENTRETIEN |
| PERMUTATION ROUES |
| REVISION PERIODIQUE |
- Appuyer sur l'interrupteur d'entrée (haut/bas).
- Sélectionner ACTIF puis appuyer sur l'interrupteur d'entrée (haut/bas).
| 78°F | 10:00AM |
| REVISION PERIODIQUE | |
| INSTALLATION ETEINT | |
REMARQUE
- Pour l'avis d'entretien périodique, on peut effectuer le réglage soit par nombre de jours, soit par distance. Lorsqu'on sélection n'en un des deux réglages, le réglage non sélection est mis automatiquement à la valeur initiale.
-
Comme la permutation des pneus ne peut être réglee que selon la distance, l'ecran de réglage de la distance apparait lorsque ACTIF est sélectionné.
-
Sélectionner INTERVALle KM ou PERiode puis appuyer sur l'interrupteur d'entrée (haut/bas). L'écran permettant de régler l'intervalle de distance ou de jours jusqu'à la période d'entretien suivante apparait.
| 78°F 10:00AM |
| REVISION PERIODIQUE |
| INTERVALLE KM INTERVALLE JOURS |
- Sélectionner un chiffre à l'aide de l'interrupteur de croite/gauche, puis appuyer sur l'interrupteur d'entrée (haut/bas) vers le haut ou vers le bas pour modifier la valeur du chiffre. S'il est inutil de modifier un chiffre, le faisser telquel et appuyer sur l'interrupteur d'entrée (haut/bas).
| 78°F 10:00AM |
| REVISION PERIODIQUE |
| FIXER L'INTERVALLE |
| ← 88888 mile |
| 78°F 10:00AM |
| REVISION PERIODIQUE |
| FIXER LES JOURS |
| ← 180 jours |
REMARQUE
Les valeurs de réglage initiales apparaissent conformément au programme d'entretien (sauf pour Puerto Rico). Pour plus de détails concernant chacun des programmes d'entretien régionaleux, se référer à Entretien périodique à la page 8-3.
Afficheur de message
Lorsque la distance ou les jours restants s'approchent de 0, un message s'affiche pendant 5 secondes à chaque fois que le contacteur est mis sur la position ACC ou ON.
| 78°F 10:00AM |
| ENTRETIEN |
| REVISION |
| CONCESSIONAIRE |
| EFFACER CEMESSAGE |
| APPUYER SUR ENTER |
REMARQUE
- Si l'on appuie sur l'interrupteur d'entrée (haut/bas) pendant qu'un message est affché, ce message n'apparaître plus lorsqu'on demarrera le moteur la fois suivante.
- Une fois que les travaux d'entretien du vehicule sont terminés et que les jours/ distance restants ont été réinitialisés, le message concernant la période d'entretien suivante apparaitra quand la distance ou les jours restants jusqu'à la période d'entretien suivante approchera de 0 (il apparaitra au démarrage du moteur).
- Si plusieurs périodes de permutation de pneus ou d'entretien périodique existent, elles seront affichées dans l'ordre.
- S'il y a plus d'une date limite d'entretien périodique avec un entretien ayant depassé la date limite et l'autre en approchant, l'entretien ayant depassé la date limite seulement sera affiché.
Période d'affichage
| Dénomination | Début de l'affichage du message | Fin de l'affichage du message |
| PERMUTATION ROUES | Lorsque la distance restante est inférieure à 500 km (300 milles) | La distance est supérieure à 500 km (300 milles) à partir de la distance restante de 0 km |
| REVISION PERIODIQUE | Lorsque la distance restante est inférieure à 500 km (300 milles), ou que les jours restants sont inférieurs à 15 (selon le cas seprésentant en premier) | La distance est supérieure à 500 km (300 milles) à partir de la distance restante de 0 km, ou 15 jours se sont écoulés depuis que les jours restants ont atteint “0” jours (selon le cas seprésentant en premier) |
Afficheur de message
| Dénomination | Moment | Message affché |
| PERMUTATION ROUES | Distance restante: 500 km (300 milles) à -500 km (-300 milles) | REEMPLACEMENT DES PNEUS NECESSAIRE |
| REVISION PERIODIQUE | Distance restante: 500 km (300 milles) à 0 km (0 mille) | REVISION NECESSAIRE |
| Jours restants: 15 à 0 jours | ||
| Distance restante: 0 km (0 mille) à -500 km (-300 milles) | ECHEANCE DE REVISION DEPASSSE | |
| Jours restants: 0 à 15 jours |
Méthode de réinitialisation
Si l'on effectue la réinitialisation après qu'une permutation des pneus ou qu'une inspection périodique a été accomplie, un vis concernant la période d'entretien suivante s'affichera quand la période approchera.
- Appuyer sur l'interrupteur INFO jusqu'à ce que l'écran PARAMETRAGES apparaisse.
-
Sélectionner ENTRENTIEN en appuyant sur l'interrupteur d'entrée (haut/bas) vers le haut ou vers le bas, puis appuyer sur l'interrupteur d'entrée (haut/bas).
-
Sélectionner l'élement que l'on peut réinitialiser (PERMUTATION ROUES ou REVISION PERIODIQUE) en appuyant sur l'interrupteur d'entrée (haut/bas) vers le haut ou vers le bas, puis appuyer sur l'interrupteur d'entrée (haut/bas).

REMARQUE
La distance et les jours restants actuelflement apparaisent.
- Meme si la distance ou les jours restants ont dépassé 0,aucun signe moins (-) n'apparait et la valeur est laissée à 0.
- Appuyer sur l'interrupteur d'entrée (haut/bas).
- Sélectionner ACTIF puis appuyer sur l'interrupteur d'entrée (haut/bas).
| 78°F 10:00AM |
| ROTATION PNEU |
| INSTALLATION ETEINT |
REMARQUE
Si l'objet REVISION PERIODIQUE a eté régèle, il est possible de sélectionner les jours et la distance. comme l'objet de permutation des pneus ne peut être régèle que selon la distance, l'écran de réglage de la distance apparait lorsque ACTIF est sélectionné.
- L'écran INTERVALLE KM ou PERiode apparait, et les valeurs de la distance et des jours restants reviennent aux valeurs régles précédemment. Si chaque changement n'est nécessaire, appuyer sur l'interrupteur d'entrée (haut/bas).
| 78°F 10:00AM |
| ROTATION PNEU |
| FIXER L'INTERVALLE ←8888 mile |
REMARQUE
- Si les réglages sont changés par rapport aux valeurs initiales, les valeurs que l'on regle seront affichées, et non les valeurs initiales.
- Meme si la batterie est déconnectée, les informations concernant la distance et les jours restants ne sont pas supprimées.
- Si l'on remplace ou répare l'affichage multi-informations, il est possible que les informations concernant la distance et les jours restants soient effacées.
Méthode pour éteindre le système
Le contrôle d'entretien peut être étant, même après qu'il a été allumé. Si l'on veut l'éteindre, le calcul concernant la distance et les jours restants jusqu'à la période d'entretien suivante sera arrêté, et chaque message ne s'affichera pour indiquer qu'une période d'entretien approche.
-
Appuyer sur l'interrupteur INFO jusqu'à ce que l'écran PARAMETRAGES apparaisse.
-
Sélectionner ENTRENTIEN en appuyant sur l'interrupteur d'entrée (haut/bas) vers le haut ou vers le bas, puis appuyer sur l'interrupteur d'entrée (haut/bas).
- Sélectionner l'élement que l'on peut êtreindre (PERMUTATION ROUES ou REVISION PERIODIQUE) en appuyant sur l'interrupteur d'entrée (haut/bas) vers le haut ou vers le bas, puis appuyer sur l'interrupteur d'entrée (haut/bas).
78°F
10:00AM
ROTATION PNEU
RESTANT 7500 mile
- Sélectionner INACTIF puis appuyer sur l'interrupteur d'entrée (haut/bas).
78°F
18:00AM
ROTATION PNEU
INSTALLATION ETEINT
Indicateur d'ajretissement
Les indicateurs d'ajretissement suivants s'affichent selon les besoin. Les indicateurs d'ajretissement s'affichent, et ce que l'affichage multi-informations fonctionne ou non.
PORTE OUVERTE (y compris le hayon)
- VERROUILIER LE BOUCHON RESERVOIR (Affiché lorsque le voyant de vérification du bouchon de réserveir de carburant est allumé dans le combiné d'instruments.)
- VERIFIER LA PRESSION DES PNEUS
- DESSERRER LE FREIN A MAIN
REMARQUE
Lorsque plus de deux averissements sont émis en même temps, les voyants basculent à chaque temps spécifique.
Reglages
Les réglages suivants peuvent être modifiés:
- Réglage de l'écran (luminosite/contraste, désactivation de l'écran) *
Volume du ronflaur (rappel de clé au contact, rappel des deux allumés) - Avertisseur sonore de clignotant
- Unité de distance
- Unité de température
- Langue d'affichage
- Il est également possible de réinitialiser les données de l'ordinateur de bord concernant la moyenne de consommation de carburant et la vitesse moyenne du vehicule.
Pour modifier les réglages
-
Appuyer sur l'interrupteur INFO jusqu'à ce que l'écran PARAMETRAGES apparaisse.
-
Sélectionner PREFERENCES en appuyant sur l'interrupteur d'entrée (haut/bas) vers le haut ou vers le bas, puis appuyer sur l'interrupteur d'entrée (haut/bas).
- Sélectionner l'élement que l'on peut modifier en appuyant sur l'interrupteur d'entrée (haut/bas) vers le haut ou vers le bas, puis appuyer sur l'interrupteur d'entrée (haut/bas).
- Sélectionner le réglage voulu en appuyant sur l'interrupteur d'entrée (haut/bas) vers le haut ou vers le bas, puis appuyer sur l'interrupteur d'entrée (haut/bas).
REMARQUE
Le volume du ronflaur pour le rappel de clé au contact et le rappel des feuels peut être modifié simultanément. Si l'on préférite effectuer séparément les réglages du volume du ronflaur, s'adresser à un concessionnaire agrée Mazda. Si des réglages séparés du volume du ronflaur ont été effectuels chez un concessionnaire agrée Mazda, on ne pourra plus modifier les réglages.
Réinitialisation des données de l'ordinateur de bord concernant la moyenne de consommation de carburant et la vitesse moyenne du vehicule
- Appuyer sur l'interrupteur INFO jusqu'à ce que l'écran PARAMETRAGES apparaisse.
- Sélectionner REMISE A ZERO puis appuyer sur l'interrupteur d'entrée (haut/bas).
- Sélectionner CARBURANT ou VITESSE, puis appuyer sur l'interrupteur d'entrée (haut/bas).
Ecran de rétrovision
L'écran de rétrovision est un système d'aide visuelle utilisé lorsqu'on recule le vehicule, qui fournit des images à l'arrière du vehicule.

PRUDENCE
L'écran de rétrovision est uniquement un apparéil d'aide visuel à la marche arrière du vehicule. Les images à l'écran peuvent être différentes des conditions réelles. Conduire toujours prudemment en surveillant l'arrière et les alentours de la voiture directement avec les yeux. Faire une marche arrière en ne regardant que l'écran de rétrovision peut provoquer un accident ou une collision.

ATTENTION
Lorsque l'affichage est froid, des images peuvent traverser l'écran et sa luminosité peut être anormalement faible, empêchant ainsi de confirmer les conditions dans lesquelles se trouve le vehicule. Conduire toujours prudèment en surveillant l'arrête et les alentours de la voiture directement avec les yeux.
Ne pas forcer sur laamera. La position de laamera et l'angle peuvent devier.
Ne pas démonter, ne pas modifier et ne pas-retirer laamera, car celle-ci perdrait son impermeabilité.
Le couvercle de laamera est fait en plastique. Ne pas appliquer d'agent dégraisseur, de solvants organiques, de cire ou de revêtement de verre sur le couvercle de laamera. Si l'une de ces matières est renversée sur le couvercle, l'éliminer immédiatement en essuyant avec un chiffon doux.
Ne pas frotter le couvercle excessivement, et ne pas le polir avec un agent abrasif ou une Brosse dure. Le couvercle peut etre endommagé et cela peut afferter l'image.
REMARQUE
- Si de l'eau, de la neige ou de la boue adhérent à la lentille de laamera, les éliminer en essuyant avec un chiffon doux. S'il est impossible de les éliminer en essuyant, utiliser un détergent doux.
- Si la température de laamera augmente brusquement, tandis qu'il fait très froid, l'écran de rétrovision peut ne pas fonctionner correctement.
Emplacement de laamera de stationnement de retrovision

Basculer a l'ecran de retrovision
Mettre le levier sélecteur sur R lorsque que le contacteur est mis sur ON pour commuter l'écran de rétrovision.
REMARQUE
Lorsque vous faites passer le levier selector de la position R à une autre position, l'affichage precedent réapparait sur l'écran.
Champ de vision à l'écran
Les images à l'écran peuvent être différentes des conditions réelles.

(Affichage à l'écran)
Les deux extrémités du pare-choc n'apparaissent pas sur l'écran.

Les deux extrémités du pare-choc n'apparaissent pas sur l'écran.

REMARQUE
- Le champ de vision varie selon le vehicule et les conditions routières.
- Le champ de vision est limité. Les objets sous le pare-chocs ou pres des extremités du pare-chocs peuvent ne pas être affichés.
- La distance qui apparait dans l'image affichée est différente de la distance réelle car laamera de stationnement de rétrovision est équipée d'une lentille spéciale.
- Certains équipements installés en option peuvent être aperçus par laamera. N'installer aucune piece optionnelle qui risque de générer la vision de laamera, telle qu'un objet lumineux ou fait d'une matière refléchissante.
-
Il peut être difficile de voir l'affichage dans les conditions suivantes, sans que cela signifie un mauvais fonctionnement.
-
Dans un endroitASFRE.
Lorsque la température autour de la lentille est élevé/basse. -
Lorsque laamera est mouillée, en cas de pluie ou en période très humide.
Lorsque une matière étrangère, comme de la boue, est collée autour de laamera.
Lorsque la lentille de la camera reflète le soleil ou les phares. -
Si laamera capte une luzière vivie, comme le reflet du soleil sur la carrosserie, une ligne brillante peut apparaitre sur l'affichage. (C'est le phénomène de traine.)
- Il est possible que l'affichage des images soit retardé si la température autour de laamera est BASSE.
Utilisation de l'écran de rétrovision
L'utilisation de l'écran de rétrovision, lors de la marche arrêté du vehicule, varie selon les conditions de la circulation, de la route et du vehicule. La quantité de braquage et la synchronisation varie aussi selon ces conditions; il faut donc vérifier les conditions environnantes directement avec les yeux, et diriger le vehicule en fonction de ces conditions.
Avant d'utiliser l'écran de rétrovision, dire attentivement les précautions ci-dessus.
REMARQUE
Les images qui apparaissent sur l'écran d'affichage des images provenant de laamera de stationnement de rétrovision sont des images inversées (images en miroir).
- Mettre le levier sélecteur sur la position R pour faire apparaître l'écran de rétrovision.
- Tout en vérifier les conditions environnantes, faire reculer le vehicule.

(Affichage à l'écran)

(Vue réelle)
- Lorsque vous faites passer le levier sélecteur de la position R à une autre position, l'affichage précédent réapparait sur l'écran.
Discordance entre les conditions réelles de la route et l'image affichée
Il existe quelques discordances entre la route réelle et la route affichée. De tels écarts dans la perspective de la distance peuvent entrainer un accident. Bien noting les conditions suivantes qui peuvent cause une discordance dans la perception de la distance.
Quand le vehicule est inclé à cause du poids des passagers et de la charge
Lorsque l'arrière du vehicule est abaisse, l'objet affiché à l'écran apparait plus loin qu'il ne l'est en réalité.

Quand il y a une pente raide derriere le vehicule
Lorsqu'il y a une pente raide montante (ou descendante) derrière le vehicule, l'objet affché à l'écran apparait plus loin (ou plus pres en cas de pente descendante) qu'il ne l'est en réalité.

Porte-verres

PRUDENCE
Ne jamais utiliser le porte-verres pour maintenir des conténants avec des liquides chauds lorsque le vehicule est en mouvement:
L'utilisation d'un porte-verres pour maintenir des contenants avec des liquides chauds lorsque le vehicule est en mouvement est dangereux. Si le liquide se renverse, on risque de se brûler.
Ne rien placer d'autre que des verres ou des canettes de boissons dans le porteverres:
Le fait demettre des objets autres que des verres ou des canettes de boissons dans le porte-verres est dangereux.
En cas de freinage ou de manœuvre brusque, les occupants peuvent être cognés et subir des blessures, ou les objets peuvent être projétés à l'intérieur du vehicule et génér le conducteur, ce qui peut causeur un accident. N'utiliser le porte-verres que pour ymettre des verres ou des canettes de boissons.

Avant
Le porte-verres avant est situé dans la console centrale.


Arrière
Le porte-verres arrirée est situé sur l'accoudoir central arrirée.

Porte-bouteilles
Les porte-bouteilles se trouvent sur l'intérieur des portières.

ATTENTION
Ne pas utiliser les porte-bouteilles pour des conténants non fermés. Le liquide risque de se renverser lorsqu'une portière est ouverte ou fermée.
Compartiments de rangement
▲ PRUDENCE
Garder les boîtes de rangement fermées pendant qu'on conduit:
Le fait de conduire avec les compartments de rangement ouverts est dangereux. Pour réduire les risques de blessures en cas d'accident ou de freinage brusque, garder les comportiments de rangement fermés lors de la conduite.
ATTENTION
Ne pas laisser de lunettes ou de briquet dans la boîte de rangement lorsque le vehicule est stationné au soleil. La température élevée, risque de faire exploser un briquet ou de déformer ou croquer le plastique de lunettes.
Boite à gants
Pour ouvrir la boîte à gants, tirer la poignée vers soi.

Pour fermer la boîte à gants, appuyer fermement sur le centre du couvercle de la boîte à gants.
Console centrale
Pour ouvrir, appuyer sur le bouton.

La console centrale est munie d'un couvercle verrouillable; insérer la clé dans la fente, puis tourner la clé dans le sens des aiguilles d'une montre pour verrouiller, ou dans le sens contraire pour déverrouiller.

Boite de rangement et plateau
Il est possible de-retirer la boite de rangement et le plateau.

Anneaux de fixation de la charge
PRUDENCE
S'assurer que tout bagage et paquet est fixé avant de conduire le vehicule:
Le fait de ne pas fixer les bagages ou paquets avant la conduite est dangereux car ils pourraient se déplacer ou être projétés en cas de freinage brusque ou de collision, et causer de graves blessures.
Utiliser les anneaux du compartment à bagages pour fixer les bagages avec une corde ou un filet. La force de résistance à la traction des anneaux est de 196 N (20 kgf, 44 lbf). Ne pas appliquer une force excessive aux anneaux car cela les endommagerait.

Crochets à manteau arrêté
4 PRUDENCE
Ne jamais suspendre d'objets lourds ou pointus aux poignées d'assistance et aux crochets à manteau:
Il est dangereux de suspendre des objets lourds ou pointus tels qu'un porte-manteau aux poignées d'assistance ou aux crochets à manteau, car ces objets risqueraient d'être projetés et de percuter un occupant dans l'habitacle au cas où un rideau de sécurité gonflable se déploierait, ce qui pourrait cause des blessures graves ou mortelles.
Toujours suspendre les vêtements aux crochets à manteau et aux poignées d'assistance sans utiliser de portemanteaux.

Prise des accessoires
N'utiliser que des accessoires Mazda originaux ou l'équivalent ne requérant pas plus de 120 W (CC 12 V, 10 A).
Type A
Le contacteur doit être place sur ACC ou ON.

Type B
Les prises des accessoires peuvent etre utilisées,quelle que soit la position du contacteur d'allumage.

ATTENTION
Pour éviter d'endommager la prise des accessoires et une panne électrique, faire attention aux points suivants:
Ne pas utiliser des accessoires qui requirement plus de 120 W (CC 12 V, 10 A).
Ne pas utiliser des accessoires autres que des accessoires Mazda originaux ou I'équivalent.
Fermer le couvercle lorsque la prise des accessoires n'est pas utilisée pour éviter que des objets étrangères et des liquides ne rentrent dans celle-ci.
Insérer correctement la fiche de l'accessoire dans la prise des accessoires.
Ne pas insérer l'allume-cigare dans la prise des accessoires.Il est possible que des bruits soient produits dans la lecture audio ou la réception du téléviseur selon l'appareil connecté à la prise des accessoires.
Selon le péripérisque connecté à la prise des accessoires, le système électrique du vehicule peut être affecté, ce qui peut entraîner l'activation duvoyant. Déconnectez le péripérisque connecté et assurez-vous que le problème est résolu. Si le problème est résolu, déconnectez le péripérisque de la prise et placez le contacteur en position d'arrêt. Si le problème n'est pas résolu, s'adresser à un concessionnaire agréé Mazda.
REMARQUE
Pour éviter de décharger la batterie, ne pas utiliser la prise des accessoires pendant de longues périodes lorsque le moteur tourne au ralenti ou s'il est arrêté.
7 En cas d'urgence
Informations utiles sur ce qu'il faut faire en cas d'urgence.
Stationnement en cas d'urgence 7-2
Stationnement en cas d'urgence 7-2
Pneu à plat 7-3
Rangement de la roue de secours et des outils 7-3
Changement de roue 7-6
Surchauffe 7-14
Surchauffe 7-14
Demarrage d'urgence 7-16
Demarrage d'un moteur noyé 7-16
Demarrage avec batterie de secours 7-17
Demarrage en poussant 7-20
Remorquage d'urgence 7-21
Description du remorquage 7-21
Crochets d'immobilisation 7-22
Remorquage récréatif 7-25
Stationnement en cas d'urgence
Les feu de détresse doivent toujours être utilisés lorsqu'on effectue un arrêt d'urgence du vehicule sur la chaussée ou à proximé de cette-ci.
Les feu de détresse doivent toujours être utilisés lorsque l'on s'arrête sur ou pres d'une route.

Appuyer sur l'interrupteur de deux de détresse et tous les clignotants clignoteront.
REMARQUE
- Les clignotants ne fonctionnent pas lorsque les frais de détresse sont utilisés.
- Vérifier les règlements locaux concernant l'utilisation des feuels de détresse lors du remorquage du vehicule afin de s'assurer que ceci ne constitue pas une infraction.
Rangement de la roue de secours et des outils
La roue de secours et les outils sont ranges aux endroits indiqués sur l'illustration.

▼Cric
Pour retirer le cric
- Retirer le panneau de coffre.

- Tourner le boulon à oreilles et la vis du cric dans le sens contraire des aiguilles d'une montre.

REMARQUE
Le cric peut être retireté depuis la portière arrrière si le dossier du siècle arrêté est plié vers l'avant.
Se référer à Siège arrêté rabattable séparément à la page 2-12.
Pour fixer le cric
- Tourner le boulon à oreilles dans le sens des aiguilles d'une montre, et le serrer provisoirement.
- Tourner la vis de cric dans le sens des aiguilles d'une montre et deployer le cric pour le fixer sur le vehicule.
- Tourner le boulon à oreilles, et le serrer complètement.
Entretien
Garder le cric propre.
- S'assurer que les pieces mobiles sont propres et exemples de rouille.
- S'assurer que le filetage de la vis est correctement lubrifié.
Roude secours
Ce vehicule Mazda est équipé d'une roue de secours à usage-temporaire.
La roue de secours à usage-temporaire est plus légère qu'une roue conventionnelle, elle est donc pour être utilisé de TRES courtes périodes. Ne JAMAIS utiliser la roue de secours sur de longs trajets ou pendant longtemps.
4 PRUDENCE
Ne pas installer la roue de secours temporaire sur les roues avant (roues motrices):
Il est dangereux de conduire avec une roue de secours temporaire sur l'une des roues motrices avant. La maniabilité en sera affectée. Vous pouvez perdre le contrôle du vehicule, tout particulièrement sur glace ou neige, et avoir un accident. Changer une roue conventionnelle de l'essieu avant et installer la roue de secours temporaire sur l'essieu arrêté.

ATTENTION
L'utilisation d'une roue de secours à usage-temporaire peut diminuer la stabilité de conduite en comparaison de celle d'une roue conventionnelle.
Conduire prudemment.
Pour éviter d'endommager la roue de secours à usage-temporaire ou le vehicule, respecter les précautions suivantes:
Ne pas dépasser 80 km/h (50 mi/h).
Ne pas passer sur des obstacles.
Ne pas passer dans un lave-
auto automatique. Le diamètre
de cette roue étant plus petit
que celui d'une roue
conventionnelle la garde au sol
est réduite de 25 mm (1 po.)
environ.
Ne pas utiliser de chaine sur cette roue, car elle ne s'ajustera pas correctement.
Ne pas utiliser cette roue de secours à usage-temporaire sur un autre vehicule; elle a eté conçue pour ce vehicule Mazda exclusivement.
N'utiliser qu'une roue de secours-temporaire à la fois sur le vehicule.
(Avec différentiel autobloquant) Lorsque la roue de secours à usage-temporaire est utilisée sur l'essieu avant, la replacer par une roue conventionnelle aussiôt que possible. La différence de taille entre cette roue et la roue conventionnelle causera un mauvais fonctionnement du différentiel autobloquant.
REMARQUE
(Avec système de surveillance de pression des pneus)
La roue de secours à usage-temporaire ne possède pas de capteur de pression du pneu. Levoyant clignotera continuellement tant que la roue de secours à usage temporaire est utilisée (page 5-33).
Pour retirer la roue de secours
- Retirer le panneau de coffre et le couvercle de la roue de secours.

- Tourner le boulon de fixation de la roue de secours dans le sens contraire des aiguilles d'une montre, à l'aide de la clé à écrou de roue.

Pour ranger la roue de secours
Ranger la roue de secours en procedant dans l'ordre inverse des opérations de dépose. Une fois le rangement effectué, s'assurer que la roue de secours est bien rangée.
Changement de roue
REMARQUE
Si les symptomes suivants sont ressentis pendant la conduite, cela peut indiquer un pneu creve.
La direction devient lourde.
Le vehicule se met a vibrer excessivement.
Le vehicule tire d'un cotoe.
Si l'on a un pneu creve, conduire le vehicule lentement jusqu'à un endroit de niveau, aussi éloigné que possible du traffic, pour changer la roue.
S'arrêter sur l'accotement ou sur une route où il y a duTraffic est dangereux.
4 PRUDENCE
Bien vous assurer de suivre les directives pour changer un pneu:
Le changement de roue est dangereux. Le vehicule peut glisser du cric et cause des blessures. Personne ne doit placer une partie du corps sous un vehicule qui est soutenu par un vérin.
Ne jamais laisser quelqu'un dans un vehicule supporté par le cric:
Le fait de permettre à quelqu'un de rester dans un vehicule supporté par le cric est dangereux. L'occupant peut faire tomber le vehicule causant de graves blessures.

ATTENTION
(Avec système de surveillance de pression des pneus)
Les jantes montées sur ce vehicule Mazda sont spécialement conçues pour l'installation de capteurs de pression des pneus. Ne pas utiliser des jantes non d'origine, car il peut ne pas être possible d'y installer les capteurs de pression des pneus.
REMARQUE
(Avec système de surveillance de pression des pneus)
- S'assurer que le cric soit bien lubrifié avant de l'utiliser.
- S'assurer d'enregistrer le signal de code d'identification des capteurs de pression des pneus lorsque les pneus ou les jantes sont changés (page 5-35).
- Garer le vehicule sur une surface horizontal, dans un endroit éloigné du traffic et appliquer fermement le frein de stationnement.
- Passer en position de stationnement (P) et arrêté le moteur.
- Allumer les yeux de détresse.
- Faire descendre les passagers du vehicule et les faire attendre dans un endroit éloigné du vehicule et du traffic.
-
Sortir le cric, la trousse à outils et la roue de secours (page 7-3).
-
Bloquer la roue diagonalement opposée à la roue à changer. Pour bloquer une roue, placer des cales à l'avant et à l'arrière de la roue.

REMARQUE
Pour caler une roue, utiliser une pierre ou un morceau de bois assez grand si possible pour bloquer la roue.

Retrait d'un pneu à plat
- Desserrer chaque écrou de roue en les tournant d'un tour dans le sens contraire des aiguilles d'une montre, mais ne pas lesPTRirer jusqu'à ce que la roue soit soulevée du sol.

-
Ne jamais placer le cric au sol.
-
Tournier la vis du cric dans le sens indiqué sur la figure et ajuster la tête du cric pour soit proche de la position de levage.

- Insérer le cric sous la position de levage la plus proche de la roue à changer et insérer la tête du cric directement dans le point de levage.

- Continuer à soulever progressivement la tête du cric en faisant tourner la vis avec votre main jusqu'à ce que la tête du cric soit insérée dans la position de levage.


PRUDENCE
N'utiliser que les positions de levage avant et arrêtre recommandées dans ce manuel:
Le fait d'essayer de soulever le vehicule en utilisant des positions de levage autres que celles recommandées dans ce manuel est dangereux. Le vehicule peut glisser du cric et gravement blesser ou même tuer quelqu'un. N'utiliser que les positions de levage avant et arrrière recommandées dans ce manuel.
Ne pas soulever le vehicule dans une autre position que celle qui est prevue et ne pas placer d'objet sur ou sous le cric:
Il est dangereux de soulever le vehicule dans une autre position que celle qui est prévue ou de placer des objets sur ou sous le cric, car cela pourraitdéformer la carrosserie du vehicule ou celui-ci pourrait se detacher du cric et entraîner un accident.
N'utiliser que le cric fourni avec ce vehicule Mazda:
L'utilisation d'un cric non concu pour ce vehicule Mazda est dangereux. Le vehicule peut glisser du cric et cause de graves blessures.
Ne jamais placer d'objets sous le cric:
Le fait de soulever le vehicule avec un objet place sous le cric est dangereux. Le cric risque de glisser et quelqu'un risque d'être gravement blessé par le cric ou le vehicule lorsqu'il tombe.
- Insérer le levier de cric et fixer la clé à écrou de roue sur le cric.

- Tourner la clé à écrou de roue dans le sens des aiguilles d'une montre pour soulever le vehicule juste assez pour que la roue de secours puisse être installée. Avant dePTRirer lesécrous de roue s'assurer que le vehicule est bien stable et ne risque pas de glisser ou de se déplacer.

PRUDENCE
Ne pas soulever le vehicule au-dessus de la hauteur nécessaire:
Il est dangereux de soulever le vehicule au-dessus de la hauteur nécessaire, car cela pourrait destabiliser le vehicule et entraîner un accident.
Ne pas démarrer le moteur ou secouer le vehicule lorsqu'on le soulève:
Il est dangereux de démarrer le moteur ou de secouer le vehicule, car cela pourrait detacher le vehicule du cric et entraîner un accident.
Ne jamais s'aventurer en dessous du vehicule lorsqu'on le souève:
Il est dangereux de s'aventurier sous le vehicule lorsqu'on le soulève, car cela pourrait entraîner des blessures graves, voire mortelles si le vehicule se détachait du cric.
- Retirer les écrous de roue en les tournant dans le sens contraire des aiguilles d'une montre; puis retarder la roue et l'enjolveur central.
Ecrou de roue antivol*
Si le vehicule est équipé d'écrous de roue antivol optionnels, un d'eux est monté sur chaque roue et une clé spéciale doit être utilisée pour les retirer. Cette clé fixée à la clé à écrou de roue est rangée avec la roue de secours. Les enregistrer auprès du fabricant en replissant la carte fournie dans la boite à gants et en la postant dans l'enveloppe fournie. Si vous perdez cette clé, s'assurer un concessionnaire agrée Mazda ou utiliser le bon de commande du fabricant, qui se trouve avec la carte d'enregistrement.

Pour retirer l'écrou antivol
1.Obtenir la clé de l'écrou de roue antivol.
2. Placer la clé sur l'écrou, et la maintainir bien perpendiculairement sur celui-ci. Si la clé est maintainue à un angle, cela risque d'endommager la clé et l'écrou. Ne pas utiliser d'outil à air comprime.
3. Placer la clé à écrou de roue sur la clé spéciale et appliquer une pression. Tourner la clé dans le sens contraire des aiguilles d'une montre pour-retirer l'écrou.
Pour installer I'écrou
- Placer la clé sur l'écrou, et la maintainir bien perpendiculairement sur celui-ci. Si la clé est maintainue à un angle, cela risque d'endommager la clé et l'écrou. Ne pas utiliser d'outil à air comprime.
- Placer la clé à écrou de roue sur la clé spéciale, appliquer une pression et tourner la clé dans le sens des aiguilles d'une montre.
Installation de la roue de secours
- Retirer toute saleté des surfaces de montage de la roue et du moyeu, et des écrous de roue, à l'aide d'un chiffon.

PRUDENCE
S'assurer que les surfaces de montage de la roue et du moyeu, et les écrous de roue sont propres avant de changer ou de replacer les roues:
Lors du changement ou du remplacement de roue, le fait de ne pas-retirer la saleté des surfaces de montage de la roue et du moyeu, et des écrous de roue est dangereux. Les écrous de roue peuvent se desserrer lors de la conduite et la roue peut se détacher du moyeu, causant un accident.
- Placer la roue de secours.
- Installer les écrous de roue avec le côte en biseau vers l'intérieur; les serrer à la main.

PRUDENCE
Ne pas appliquer d'huile ou deGRAISE aux boulons des écrous de roue et ne pas serrer les écrous de roue à un couple dépassant celui spécifique:
Le fait d'appliquer de l'huile ou de laGRAISSSE aux boulons des écrous deroue est dangereux. Les écrous deroue peuvent se desserrer lors de laconduite et la roue peut se détacher du moyeu, causant un accident. Deplus, les écrous de roue risquent desendommager sils sont trop serrés.
- Tourner la manivelle de cric dans le sens contraire des aiguilles d'une montre et abaiser le vehicule. Utiliser la clé à écrou de roue pour serrer les écrous de roue dans l'ordre indiqué.

Si l'on n'est pas certain du serrage des écrous de roue, les faire vérifier par un concessionnaire/agréé Mazda.
| Couple de serrage des écrous | |
| N·m (kgf·m, ft·lbf) | 88-118 (9-12, 65-87) |

PRUDENCE
Toujours serrer les écrous de roue correctement:
Des écrous de roue incorporement serrés ou desserrés sont dangereux. La roue peut ne pas tourner droit ou se détacher. Ceci peut faire perdre le contrôle du vehicule et cause un grave accident.
S'assurer d'installer les écrous que l'on a retirés ou de les replacer par des écrous à pas métrique identiques:
Les boulons et écrous de roue de ce vehicule Mazda sont à pas métrique, l'utilisation d'un écrou à pas non métrique sur un boulon à pas métrique est dangereuse. Un écrou non métrique monté sur un boulon métrique ne fixera pas la roue et endommagera le boulon, ceci peut faire que la roue se détache et cause un accident.
- Retirer l'enjoliveur central en le tapotant avec la clé à écrou.
- Ranger la roue endommagée en utilisant le boulon à oreilles pour la maintainir en place.

REMARQUE
Utiliser toujours le boulon à oreilles pour fixer la roue endommagée. Ranger le boulon de fixation de la roue utilisé pour fixer la roue de secours au même endroit où le boulon à oreilles était rangeAAParavant.
- Enlever les cales et ranger les outils, le cric et la roue endommagée.
- Vérifier la pression de gonflage. Se référer à Pneus à la page 10-7.
- Réparer le pneau creve ou replacer la roue de secours dés que possible.

PRUDENCE
Ne pas conduire avec un pneu dont la pression de gonflage est incorrecte:
Le fait de conduire avec des pneus gonflés à une pression incorrecte est dangereux. Des pneus gonflés à une pression incorrecte peuvent affecter la conduite et entraîner un accident. Lorsque la pression de gonflage des roues conventionnelles est vérifiée, vérifier aussi la pression de gonflage de la roue de secours.
REMARQUE
(Avec système de surveillance de pression des pneus)
La roue de secours à usage-temporaire ne possède pas de capteur de pression du pneu.
Levoyantclignoteracontinuelflementtantque la roude de secoursausagetemporaireest utilisée (page 5-33).
REMARQUE
Pour éviter que le cric et la trousse à outils ne fassent du bruit, les ranger correctement.
Surchauffe
Si la jauge de température du moteur indique une surchauffe, la puissance du vehicule est réduite ou si un bruit de cognement ou de cliquetis est nettement audible, cela indique que le moteur surchauffe.

PRUDENCE

Mettre le contacteur sur la
position d'arrêt et s'assurer que le ventilateur ne tourne pas avant d'entreprenevre des travaux à proximité du ventilateur de refroidissement:
Il est dangereux de travailler à proximé du ventilateur de refroidissement lorsque celui-ci fonctionne. Le ventilateur pourrait continuer à fonctionner indéfiniment, même si le moteur s'est arrêté et que la température du compartmente moteur est élevé. On risque d'être blessé gravement par les ailettes tournantes du ventilateur.

Ne pas-retirer l'un des
bouchons du circuit de refroidissement lorsque le moteur et le radiateur sont chauds:
Lorsque le moteur et le radiateur sont chauds, du liquide de refroidissement brulant et de la vapeur risquent de jaillir sous pression et causeur de graves blessures.
N'ouvrir le capot UNIQUEMENTque lorsque de la vapeur ne s'échappe plus du moteur:
La vapeur provenant d'un moteur qui surchauffe est dangereuse. On peut etre brule par cette vapeur qui s'en échappe.
Si la jauge de température du moteur indique une surchauffe:
- Se garer prudemment sur le bord de la route.
2.Passer en position de stationnement (P). - Tirer le frein de stationnement.
- Eteindre le climatiseur.
- Vérifier si du liquide de refroidissement ou de la vapeur s'échappe de sous le capot ou du compartment moteur.
Si de la vapeur s'échappe du compartmentement moteur:
Ne pasapprocher de l'avant du vehicule.Arreterle moteur.
Attendre que la vapeur se dissipe, puis ouvrir le capot etmettre le moteur en marche.
Si, ni du liquide de refroidissement, ni de la vapeur ne s'échappe:
Ouvrir le capot et laisser tourner le moteur au ralenti jusqu'à ce qu'il se refroidisse.

ATTENTION
Si le ventilateur de refroidissement ne fonctionne pas lorsque le moteur tourne, la température du moteur augmentera. Arrête le moteur et faire appel à un concessionnaire/agréé Mazda.
- S'assurer que le ventilateur de refroidissement fonctionne, puis arrêté le moteur lorsque la température a baisse.
- Lorsqu'il s'est refroidi, vérifier le niveau du réservoir de liquide de refroidissement. S'il est bas, voir s'il y a des fuites de liquide de refroidissement au niveau du radiateur et des durites.
Si l'on découvert une fuite ou autres dommages, ou si du liquide de refroidissement fait toujours:
Arrête le moteur et faire appel à un concessionnaire agréé Mazda.

Si aucun problème n'est découvert, le moteur est refroidi et aucune fuite n'est apparente:
Faire prudemment l'appoint de liquide de refroidissement, au besoin (page 8-26).

ATTENTION
Si le moteur continue de surchauffer ou surchauffe fréquemment, faire vérifier le circuit de refroidissement. Le moteur risque d'être sérieusement endommagé si les réparations nécessaires n'y sont pas apportées. S'adresser à un concessionnaire agréé Mazda.
Démarrage d'un moteur noyé
Si le moteur ne démarre pas, il peut être noyé (quantité excessive de carburant dans les cylindres).
Suivre les étapes suivantes:
- Si le moteur ne démarre pas dans les cinq secondes au premier essai, commuter le contacteur sur arrêt et attendre dix secondes avant de réessayer.
- Enconcer la pedale d'accélérateur à fond et la maintainir dans cette position.
- Mettre le contacteur sur START et le garder à cette position—pendant dix secondes au maximum. Si le moteur démarre, relâcher immédiatement la clé et l'accéléateur pour éviter d'emballer le moteur.
- Si le moteur ne démarre pas, le lancer—pas plus de dix secondes, sans appuyer sur la pédale d'accéléateur.
Si le moteur ne démarre toujours pas après qu'on ait effectué les opérations cédessus, faire vérifier le vehicule par un concessionnaire/agréé Mazda.
Démarrage avec batterie de secours
Le démarrage avec une batterie de secours est dangereux s'il n'est pas fait correctement. Suivre prudemment les instructions suivantes. Si l'on est pas certain de comment réalisier un démarrage avec une batterie de secours, s'adresser à un mécanicien compétent.

PRUDENCE

Suivre ces précautions soigneusement:
Pour une manipulation sure et correcte de la batterie, dire soigneusement les précautions suivantes avant d'utiliser ou inspecter la batterie.

S'assurer de tous jours porter des lunettes de protection lorsque l'on travaille après la batterie:
Travailler sans lunettes de protection est dangereux. Le liquide de la batterie contient de l'ACIDE SULFURIQUE qui peut cause la cécité s'il entre en contact avec vos yeux. Aussi, l'hydrogène produit pendant le fonctionnement normal de la batterie, peut s'enflammer et faire explodeer la batterie.

Porter des lunettes de protection et des gants de protection pour éviter le t avec du liquide de la batterie:
Du liquide de batterie renversé est dangereux.
Le liquide de la batterie contient de l'ACIDE SULFURIQUE qui peut cause de graves blessures s'il entre en contact avec vos yeux, votre peu ou vos vêtements. Si cela se produit, se rincer immédiatement les yeux avec de l'eau pendant 15 minutes ou se laver la peau complètement et consulter un médecin.

S'assurer de tous jours garder les batteries hors de portée des enfants:
Le fait de laisser des enfants jouer pres d'une batterie est dangereux. Du liquide de batterie peut cause de graves blessures s'il entre en contact avec les yeux ou la peau.

Ne pas laisser la borne positive (+) entraire en contact avec tout objet que qui risquerait de produit des étincelles:
Des flammes ou des étincelles près de cellules ouvertes de la batterie sont dangereuses. De l'hydrogène, qui est produit lors du fonctionnement normal de la batterie, peut s'enflammer et faire exploser la batterie. Une batterie qui explode peut causer de graves brûlures et blessures. Lorsque l'on travaille près d'une batterie, ne pas laisser des outils en métal entre en contact avec la borne positive (+) ou négative (-) de la batterie.

Garder les flammes, y compris les cigarettes, et étincelles éloignées des
cellules ouvertes de la batterie:
Des flammes ou des étincelles pres de cellules ouvertes de la batterie sont dangereuses. De l'hydrogène, qui est produit lors du fonctionnement normal de la batterie, peut s'enflammer et faire explode la batterie. Une batterie qui explode peut causer de graves brûlures et blessures.
Ne pas connecter de batterie de secours à une batterie gelée ou à une batterie dont le niveau est bas:
Le fait de connecter une batterie de secours à une batterie gelée ou à une batterie dont le niveau d'électrolyte est bas, est dangereux. Elle risque de se fissurer ou d'explorer, et de causeur de graves blessures.
Raccorder le cable négatif à un point de masse approprié éloigné de la batterie:
Le fait de brancher l'extrémité du deuxième cable de démarrage à la borne négative (-) de la batterie déchargée est dangereux.
Une étincelle pourrait faire exploser le gaz se trouvant autour de la batterie et cause de graves blessures.
Acheminer les cables de batterie à l'écart des pieces mobiles:
Le fait de connecter un cable de secours pres de ou à une composante qui se déplace (ventilateurs de refroidissement, courroies) est dangereux. Le cable peut être heures lorsque le moteur démarre et cause de graves blessures.

ATTENTION
N'utiliser qu'un dispositif de secours de 12 V. L'utilisation d'une alimentation de 24 V (deux batteries connectées en série ou un générateur de 24 V) peut cause des dommages graves au moteur 12 V du démarreur, au système d'allumage et aux autres pieces du circuit électrique.
Brancher les cables dans l'ordre numérique et les débrancher dans l'ordre contraire
Batterie décharge

- Retirer le cache de la batterie.

- S'assurer que la batterie de secours est de 12 V et que la borne négative est mise à la masse.
-
Si la batterie de secours se trouve dans un autre vehicule, veiller à ce que les deux vehicules ne se touchent pas. Arreter le moteur du vehicule dépanneur et couper toutes les charges électriques non indispensablees des deux vehicules.
-
Raccorder les cables exactement dans l'ordre indiqué par la figure.
-
Raccorder une extrémité d'un cable à la borne positive de la batterie décharge (1).
- Raccorder l'autre extrémité à la borne positive de la batterie de secours (2).
- Raccorder une extrémité de l'autre cable à la borne négative de la batterie de secours (3).
-
Raccorder l'autre extrémité au point de masse indiqué sur l'illustration, loin de la batterie déchargée (4).
-
Demarrer le moteur du vehicule dépanneur et le laisser tourner quelques minutes. Faire demarrer ensuite le moteur de l'autre vehicule.
- Lorsque l'on a fini, débrancher prudèment les câbles dans l'ordre inverse de celui décrit dans l'illustration.
- Si le cache de la batterie a ete retire, le remetre dans l'ordre inverse du retrait.
REMARQUE
S'assurer que les caches sont bien installés.
Démarrage en poussant
Ne pas faire demarrer la Mazda en la poussant.
REMARQUE
Il n'est pas possible de faire demarrer un vehicule équipé d'une boîte de vitesses automatique en le poussant.
Description du remorquage
Nous recommendons de faire appel à un concessionnaire agréé Mazda ou à un service de remorquage professionnel lorsque le remorquage s'avéré nécessaire.
Une méthode appropriée de levage et de remorquage est nécessaire pour éviter d'endommager le vehicule. En particulier, lorsqu'on remorque un vehicules AWD, pour lequel toutes les roues sont connectées au mécanisme d'entrainment, il est absolument essentiel de transporter correctement le vehicule pour éviter d'endommager le système d'entrainment. Toutes les lois gouvernementales et locales doivent être respectées.


Un vehicule 2WD doit être remorqué avec les roues motrices (roues avant) soulevées du sol. Si cela n'est pas possible en raison de dommages excessifs ou autres conditions, utiliser des chariots porter-roues.
Lors du remorquage d'un vehicule à 2WD avec les roues arrrière au sol, relâcher le frein de stationnement.
Un vehicule à AWD doit être remorqué avec les quatre roues soulevées du sol.
ATTENTION
Ne pas remorquer le vehicule vers l'arrière avec les roues motrices au sol. Cela risque d'endommager la boîte de vitesses.

ATTENTION
Ne pas utiliser un équipement de remorquage de type à cable. Cela risque d'endommager le vehicule. Utiliser un système à prise sous roues ou un camion à plate-forme.

APRUDENCE
Toujours remorquer un vehicule à AWD avec les quatre roues soulevées du sol:
Le remorquage d'un vehicule de AWD avec les roues avant ou arrête au sol est dangereux car cela risque d'endommager le mecanisme d'entrainement, ou le vehicule peut se déporter par rapport à la dépanneuse et cause un accident. Si le mecanisme d'entrainement a été endommagé, transporter le vehicule sur un camion à plate-forme.

Crochets d'immobilisation
ATTENTION
Ne pas utiliser les anneaux d'immobilisation avant et arrrière pour le remorquage du vehicule. Il sont uniquement concus pour la fixation du vehicule sur une cuve de transport lors de l'expédition.
L'utilisation des anneaux dans un autre but peut endommager le vehicule.
Crochets d'immobilisation
- Retirer l'anneau d'immobilisation du coffre (page 7-3).
- Pour-retirer le couvercle,appuyer sur le repere marqué sur le couvercle comme indiqué sur l'illustration.

Avant

Arrière

ATTENTION
Le capuchon ne peut pas etre complètement retire. Ne pas utiliser une force excessive car cela risque d'endommager le capuchon ou égratigner la surface peinte du parechocs.
REMARQUE
Si c'est difficile de-retirer l'anneau d'immobilisation, envelopper le levier du cric dans un chiffon doux comme indiqué sur l'illustration et appuyer sur le repere marqué sur le couvercle pour l'enlever.


Arrière
- Installer l'anneau d'immobilisation fermement en le tournant à l'aide de clé à écrou de roue.

Avant
Arrière

4. Attacher la corde d'immobilisation à l'anneau d'immobilisation.

Avant

Arrière
ATTENTION
Si I'anneau d'immobilisation n'est pas correctement serré, il peut se desserrer ou se décrocher du parechocs lors du remorquage du vehicule. S'assurer que l'anneau d'immobilisation est fermement serré sur le pare-chocs.
Remorquage récréatif
Un exemple de "remorquage récréatif" est de remorquer le vehicule derrière une autocaravane.
La boîte de vitesses n'est pas conçue pour le remorquage de ce vehicule sur les quatre roues.
Lors du remorquage récréatif se reférer à "Description du remorquage" (page 7-21) et à "Crochets d'immobilisation" (page 7-22) et bien suivre les instructions.
8 Entretien
Comment maintenir votre vehicule Mazda en condition optimale.
Introduction 8-2
Introduction 8-2
Entretien periodique 8-3
Entretien periodique (Etats-Unis, le Canada et Puerto Rico) ... 8-3
Entretien periodique (Mexique) 8-9
Entretienrealisable parleproprieteaire 8-18
Périodicité de l'entretien réalisable par le propriétaire 8-18
Précautions concernant l'entretien réalisable par le propriétaire 8-19
Vue générale du compartmente moteur 8-21
Huile moteur 8-22
Liquide de refroidissement du moteur 8-26
Liquide de frein 8-28
Liquide de direction assistée 8-30
Liquide de boite de vitesses automatique 8-30
Liquide de lave-glace 8-33
Lubrification de la carrosserie 8-34
Balais d'essuie-glace 8-34
Batterie 8-39
Pneus 8-42
Ampoules 8-48
Fusibles 8-56
Soins à apporter 8-63
Pour éviter les dommages à la peinture causés par
l'environnement 8-63
Entretienextérieur 8-65
Entretien de l'habitacle 8-71
Introduction
Etre extrémement prudent, lors de l'utilisation de ce manuel pour les inspections ou l'entretien, pour ne pas se blesser ou blesser quelqu'un et pour ne pas endommager le vehicule.
Si l'on n'est pas certain de la marche à suivre décrite, il est fortement conseilé de faire faire l'opération par un garage spécialisé, de préférence chez un concessionnaire agrée Mazda.
Des techniciens formés à l'usine Mazda et des pieces d'origine Mazda garantissant le meilleur résultat. Sans cette expertise et des pieces spécialement conçues et fabriquées pour ce vehicule Mazda, un entretien inadéquat, incomplet et insuffisant peut cause des problèmes. Ceci peut endommager le vehicule et causer un accident et des blessures.
Pour des conseils d'experts et un entretien de qualité, s'adresser à un concessionnaire agréé Mazda.
Le propriétaire doit garder les preuves que l'entretien ajustat spécifique a eté réalisé.
Les réclamations de garantie résultat d'un manque d'entretien, en non pas d'un défaut de matériel ou de main-d'oeuvre Mazda autorisée, seront refusées.
Tout garage utilisant des pieces équivalentes aux pieces d'origine Mazda peut faire l'entretien. Cependant nous recommendons qu'il soit toujours réalisé par un concessionnaire/agréé Mazda avec des pieces Mazda d'origine.
Sur les vehicules équipés de l'affichage multi-informations, le fait de selectionner "Contrôle d'entretien" activera le système pour qu'il puisse envoyer un avis concernant la période d'inspection/service qui approche (page 6-126).
Entretien périodique (Etats-Unis, le Canada et Puerto Rico)
Suivre le tableau 1 si le vehicule est utilisé à où aucune des conditions suivantes ne s'applique.
Conduite sur de courtes distances
Conduite dans des conditions poussiereuses
- Conduite demandant une utilisation fréquence des freins
- Conduite dans des régions où du sel d'épandage ou tout autre produit corrosif est utilisé
Conduite sur des routes cahoteuses ou boueuses
Périodes prolongées de ralenti ou conduite à basse vitesse
- Conduite pendant de longues périodes dans des climats froids ou extrémement humide
Conduite en climat très chaud
Conduite continue en région montagneuse
Si une des conditions ci-dessous s'applique, suivre le tableau 2 (les résidents du Canada et de Puerto Rico suivront le tableau 2).
REMARQUE
Après la période indiquée, continuer de suivre l'entretien et la périodité prescrits.
▼Tableau 1
| Périodicité | Nombre de mois ou kilométrage (milles), au premier des deux termes atteint | |||||||
| Mois | 6 | 12 | 18 | 24 | 30 | 36 | 42 | |
| ×1000 km | 12 | 24 | 36 | 48 | 60 | 72 | 84 | |
| ×1000 milles | 7,5 | 15 | 22,5 | 30 | 37,5 | 45 | 52,5 | |
| MOTEUR | ||||||||
| Jeu des soupapes du moteur | Effectuer une inspection auditive tous les 120.000 km (75.000 milles), si les soupapes sont bruyante, ajuster | |||||||
| Courroies d'entrainment | I | |||||||
| Huile moteur | R | R | R | R | R | R | R | |
| Filtre à huile du moteur | R | R | R | R | R | R | R | |
| SYSTEME DE REFROIDISSEMENT | ||||||||
| Liquide de refroidissement du moteur | Type FL22*1 | Remplacer aux premiers 192.000 km (120.000 milles) ou 10 ans; ensuite, remplacer tous les 96.000 km (60.000 milles) ou 5 ans | ||||||
| Autres | Remplacer aux premiers 96.000 km (60.000 milles) ou 4 ans; ensuite, remplacer tous les 2 ans | |||||||
| SYSTEME DE CARBURANT | ||||||||
| Filtre à air | R | |||||||
| Durites et canalisations de carburant*2 | I | I | ||||||
| Tuyaux et conduites du système antipollution*2 | I | |||||||
| SYSTEME D'ALLUMAGE | ||||||||
| Bougies d'allumage | Remplacer tous les 120.000 km (75.000 milles) | |||||||
| CHASSIS et CARROSSEIRE | ||||||||
| Conduites de frein, durites et raccords | I | I | ||||||
| Freins à disques | I | I | I | I | ||||
| Pneus (Permutation) | Permuter tous les 12.000 km (7.500 milles) | |||||||
| Timonerie et fonctionnement de la direction | I | I | ||||||
| Suspension avant et arrêté, joints à rotule, et jeu axial de roulement de roues | I | I | ||||||
| Huile de différéntiel arrêté (AWD) | *3*4 | |||||||
| Huile de boîte de vitesses (AWD) | *4 | |||||||
| Soufflets cache-poussière d'arbre d'entrainment | I | I | ||||||
| Boulons et écrous du châssis et de la carroserie | T | T | ||||||
| Boucliers thermiques du système d'échéppement | Inspector tous les 72.000 km (45.000 milles) ou 5 ans | |||||||
| Tous les gonds et loquets | L | L | L | L | L | L | L | |
| Périodicité | Nombre de mois ou kilométrage (milles), au premier des deux termes atteint | ||||||||
| Mois | 6 | 12 | 18 | 24 | 30 | 36 | 42 | 48 | |
| ×1000 km | 12 | 24 | 36 | 48 | 60 | 72 | 84 | 96 | |
| ×1000 milles | 7,5 | 15 | 22,5 | 30 | 37,5 | 45 | 52,5 | 60 | |
| SYSTEME DE CLIMATISEUR | |||||||||
| Filtre à air d'habitacle | R | R | |||||||
Symboles du tableau:
I: Inspector: Inspector et nettoyer, réparer, ajuster, faire l'appoint, ou remplaçer si nécessaire.
R: Remplacer
L: Lubrifier
T: Serrer
Remarques:
1 Utiliser un liquide de refroidissement de type FL22 dans le cas de vehicules portant l'inscription "FL22" sur le bouchon du radiateur lui-même ou dans les environ. Utiliser un FL22 lors du remplacement du liquide de refroidissement.
2 Suivant la réglementation fédérale et provinciale ou de l'Etat, le manque de suivre ces points d'entretien n'annulera pas la garantie sur le système antipollution. Cependant, Mazda recommende que tous les points d'entretien soient exécutés suivant le nombre de mois ou le kilométrage (millage) recommendé, afin d'assurer une fiabilité à long terme.
*3 Si le vehicule est utilisé principalement sous l'une des conditions suivantes, changer l'huile du différentiel arrêté tous les 45.000km (28.100 milles).
a) Traction d'une remorque ou utilisation d'un porte-bagage de toit
b) Conduite dans des conditions poussiereuses, sablonneuses ou humides
c) Périodes prolongées de ralenti ou d'opération à basse vitesse
d) Courts déplacements répétés de moins que 16km (10 milles)
*4 Si les composantes ont été immergées dans l'eau, l'huile doit être changée.
▼Tableau 2
| Périodicité | Nombre de mois ou kilométrage (milles), au premier des deux termes atteint | |||||||||||
| Mois | 4 | 8 | 12 | 16 | 20 | 24 | 28 | 32 | 36 | 40 | 44 | |
| ×1000 km | 8 | 16 | 24 | 32 | 40 | 48 | 56 | 64 | 72 | 80 | 88 | |
| ×1000 milles | 5 | 10 | 15 | 20 | 25 | 30 | 35 | 40 | 45 | 50 | 55 | |
| MOTEUR | ||||||||||||
| Jeu des soupapes du moteur | Effectuer une inspection auditive tous les 120.000 km (75.000 milles), si les soupapes sont bruyante, ajuster | |||||||||||
| Courroies d'entrainment | I | |||||||||||
| Huile moteur | Puerto Rico | Remplacer tous les 5.000 km (3.000 milles) ou 3 mois | ||||||||||
| Autres | R | R | R | R | R | R | R | R | R | R | R | |
| Filtre à huile du moteur | R | R | R | R | R | R | R | R | R | R | R | |
| SYSTEME DE REFROIDISSEMENT | ||||||||||||
| Liquide de refroidissement du moteur | Type FL22*1 | Remplacer aux premiers 192.000 km (120.000 milles) ou 10 ans; ensuite, replacer tous les 96.000 km (60.000 milles) ou 5 ans | ||||||||||
| Autres | Remplacer aux premiers 96.000 km (60.000 milles) ou 4 ans; ensuite, replacer tous les 2 ans | |||||||||||
| Niveau du liquide de refroidissement du moteur | I | I | I | I | I | I | I | I | I | I | I | |
| SYSTEME DE CARBURANT | ||||||||||||
| Filtre à air | Puerto Rico | R | R | |||||||||
| Autres | R | |||||||||||
| Durites et canalisations de carburant*2 | I | I | ||||||||||
| Tuyaux et conduites du système antipollution*2 | I | |||||||||||
| SYSTEME D'ALLUMAGE | ||||||||||||
| Bougies d'allumage(Moteur de 2,3 litres) | Etats-Unis | Remplacer tous les 96.000 km (60.000 milles) | ||||||||||
| Autres*3 | Remplacer tous les 120.000 km (75.000 milles) | |||||||||||
| Bougies d'allumage (Moteur de 2,5 litres) | Remplacer tous les 120.000 km (75.000 milles) | |||||||||||
| SYSTEME ELECTRIQUE | ||||||||||||
| Fonctionnement de tous les éclairages | I | I | I | I | I | I | I | I | I | I | I | |
| CHASSIS et CARROSSERIE | ||||||||||||
| Conduites de frein, durites et raccords | I | |||||||||||
| Niveau du liquide de frein | I | I | I | I | I | I | I | I | I | I | I | I |
| Freins à disques | I | I | I | |||||||||
| Pneus (Permutation) | Permuter tous les 8.000 km (5.000 milles) | |||||||||||
| Pression de gonflage des pneus et usure des pneus | I | I | I | I | I | I | I | I | I | I | I | I |
| Timonerie et fonctionnement de la direction | I | |||||||||||
| Niveau du liquide de direction assistée | I | I | I | I | I | I | I | I | I | I | I | I |
| Suspension avant et arrière, joints à rotule, et jeu axial de roulement de roues | I | |||||||||||
| Huile de différentiel arrêté (AWD) | *4*5 | |||||||||||
| Huile de boîte de vitesses (AWD) | *5 | |||||||||||
| Soufflets cache-poussière d'arbre d'entrainment | I | |||||||||||
| Boulons et écrous du châssis et de la carroserie | T | |||||||||||
| Boucliers thermiques du système d'échéppement | Inspector tous les 72.000 km (45.000 milles) ou 5 ans | |||||||||||
| Tous les gonds et loquets | L | L | L | L | L | L | L | L | L | L | L | L |
| Niveau du liquide de lavage | I | I | I | I | I | I | I | I | I | I | I | I |
| SYSTEME DE CLIMATISEUR | ||||||||||||
| Filtre à air d'habitacle | Remplacer tous les 40.000 km (25.000 milles) ou 2 ans | |||||||||||
Symboles du tableau:
I: Inspector: Inspector et nettoyer, réparer, ajuster, faire l'appoint, ou remplaner si nécessaire.
R: Remplacer
L: Lubrifier
T: Serrer
Remarques:
1 Utiliser un liquide de refroidissement de type FL22 dans le cas de vehicules portant l'inscription "FL22" sur le bouchon du radiateur lui-même ou dans les environ. Utiliser un FL22 lors du remplacement du liquide de refroidissement.
2 Suivant la reglementation fédérale et provinciale ou de l'Etat, le manque de suivre ces points d'entretien n'annulera pas la garantie sur le système antipollution. Cependant, Mazda recommende que tous les points d'entretien soient exécutés suivant le nombre de mois ou le kilométrage (millage) recommendé, afin d'assurer une fiabilité à long terme.
*3 Si le vehicule est utilisé principalement sous l'une des conditions suivantes, changer les bougies d'allumage tous les 96.000km (60.000 milles) au maximum.
a) Conduite sur de courtes distances
b) Périodes prolongées de ralenti ou conduite à basse vitesse
c) Conduite pendant de longues périodes dans des climats froids ou extrémement humide
*4 Si le vehicule est utilisé principalement sous l'une des conditions suivantes, changer l'huile du différentiel arrêté tous les 45.000km (28.100 milles).
a) Traction d'une remorque ou utilisation d'un porte-bagage de toit
b) Conduite dans des conditions poussiereuses, sablonneuses ou humides
c) Périodes prolongées de ralenti ou d'opération à basse vitesse
d) Courts déplacements répétés de moins que 16km (10 milles)
*5 Si les composantes ont été immergees dans l'eau, l'huile doit être changée.
Entretien periodique (Mexique)
Suivre le tableau 1 si le vehicule est utilisé à où aucune des conditions suivantes ne s'applique.
Conduite sur de courtes distances
Conduite dans des conditions poussiereuses
- Conduite demandant une utilisation fréquence des freins
- Conduite dans des régions où du sel d'épandage ou tout autre produit corrosif est utilisé
Conduite sur des routes cahoteuses ou boueuses
Périodes prolongées de ralenti ou conduite à basse vitesse
- Conduite pendant de longues périodes dans des climats froids ou extrémement humide
Conduite en climat très chaud
Conduite continue en région montagneuse
Si une des conditions ci-dessous s'applique, suivre le tableau 2.
REMARQUE
Après la période indiquée, continuer de suivre l'entretien et la périodité prescrits.
▼Tableau 1
| Périodicité | Nombre de mois ou kilométrage, au premier des deux termes atteint | |||||||||||
| Mois | 6 | 12 | 18 | 24 | 30 | 36 | 42 | 48 | 54 | 60 | 72 | |
| ×1000 km | 10 | 20 | 30 | 40 | 50 | 60 | 70 | 80 | 90 | 100 | 110 | |
| MOTEUR | ||||||||||||
| Jeu des soupapes du moteur | Effectuer une inspection auditive tous les 120.000 km, si les soupapes sont bruyante, ajuster | |||||||||||
| Courroies d'entrainment | I | I | I | |||||||||
| Huile moteur | R | R | R | R | R | R | R | R | R | R | R | |
| Filtre à huile du moteur | R | R | R | R | R | R | R | R | R | R | R | |
| SYSTEME DE REFROIDISSEMENT | ||||||||||||
| Système de refroidissement | I | I | I | |||||||||
| Liquide de refroidissement du moteur | Type FL22*1 | Remplacer aux premiers 190.000 km ou 10 ans; ensuite, replacer tous les 60.000 km ou 3 ans | ||||||||||
| Autres | R | R | R | |||||||||
| SYSTEME DE CARBURANT | ||||||||||||
| Filtre à air | R | R | R | R | R | |||||||
| Durites et canalisations de carburant | I*2 | I*2 | I | |||||||||
| Tuyaux et conduites du système antipollution | I*2 | I*2 | I | |||||||||
| Filtre à carburant | R | R | R | |||||||||
| SYSTEME D'ALLUMAGE | ||||||||||||
| Bougies d'allumage | Remplacer tous les 60.000 km | |||||||||||
| CHASSIS et CARROSSEIRE | ||||||||||||
| Conduites de frein, durites et raccords | I | I | I | I | I | |||||||
| Niveau du liquide de frein | I | I | I | I | I | I | I | I | ||||
| Liquide de frein | R | R | R | |||||||||
| Freins à disques | I | I | I | I | I | I | I | I | I | I | I | |
| Pneus (Permutation) | Permuter tous les 10.000 km | |||||||||||
| Pression de gonflage des pneus et usure des pneus | I | I | I | I | I | I | I | I | I | I | I | |
| Timonerie et fonctionnement de la direction | I | I | I | I | I | I | I | I | I | I | I | |
| Niveau du liquide de direction assistée | I | I | I | I | I | I | I | I | I | I | I | |
| Suspension avant et arrière, joints à rotule, et jeu axial de roulement de roues | I | I | I | I | I | |||||||
| Huile de différentiel arrêté (AWD) | *3*4 | |||||||||||
| Huile de boîte de vitesses (AWD) | *4 | |||||||||||
| Soufflets cache-poussière d'arbre d'entrainment | I | I | I | I | I | |||||||
| Boulons et écrous du châssis et de la carroserie | T | T | T | T | T | |||||||
| Boucliers thermiques du système d'échéppement | I | I | I | I | I | |||||||
| Tous les gonds et loquets | L | L | L | L | L | L | L | L | L | L | L | |
| Niveau du liquide de lavage | I | I | I | I | I | I | I | I | I | I | I | |
| Mois | 6 | 12 | 18 | 24 | 30 | 36 | 42 | 48 | 54 | 60 | 66 | |
| ×1000 km | 10 | 20 | 30 | 40 | 50 | 60 | 70 | 80 | 90 | 100 | 110 | |
| SYSTEME DE CLIMATISEUR | ||||||||||||
| Filtre à air d'habitacle | R | R | R | |||||||||
Symboles du tableau:
I: Inspector: Inspector et nettoyer, réparer, ajuster, faire l'appoint, ou replacer si nécessaire.
R: Remplacer
L:Lubrifier
T: Serrer
Remarks:
1 Utiliser un liquide de refroidissement de type FL22 dans le cas de vehicules portant l'inscription "FL22" sur le bouchon du radiateur lui-même ou dans les environ. Utiliser un FL22 lors du remplacement du liquide de refroidissement.
2 Suivant la reglementation fédérale et provinciale ou de l'Etat, le manque de suivre ces points d'entretien n'annulera pas la garantie sur le système antipollution. Cependant, Mazda commande que tous les points d'entretien soient executés suivant l'intervalle de temps ou le kilométrage commandé, afin d'assurer une fiabilité à long terme.
*3 Si le vehicule est utilisé principalement sous l'une des conditions suivantes, changer l'huile du différentiel arrêté tous les 40,000~km .
a) Traction d'une remorque ou utilisation d'un porte-bagage de toit
b) Conduite dans des conditions poussièresuses, sablonneuses ou humides
c) Périodes prolongées de ralenti ou d'opération à basse vitesse
d) Courts déplacements répétés de moins que 16km
*4 Si les composantes ont été immergees dans l'eau, l'huile doit être changée.
▼Tableau 2
| Périodicité | Nombre de mois ou kilométrage, au premier des deux termes atteint | |||||||||||
| Mois | 3 | 6 | 9 | 12 | 15 | 18 | 21 | 24 | 27 | 30 | 33 | |
| ×1000 km | 5 | 10 | 15 | 20 | 25 | 30 | 35 | 40 | 45 | 50 | 55 | |
| MOTEUR | ||||||||||||
| Jeu des soupapes du moteur | Effectuer une inspection auditive tous les 120.000 km, si les soupapes sont bruyante, ajuster | |||||||||||
| Courroies d'entrainment | I | |||||||||||
| Huile moteur | R | R | R | R | R | R | R | R | R | R | R | |
| Filtre à huile du moteur | R | R | R | R | R | R | R | R | R | R | R | |
| SYSTEME DE REFROIDISSEMENT | ||||||||||||
| Système de refroidissement | I | |||||||||||
| Liquide de refroidissement du moteur | Type FL22*1 | Remplacer aux premiers 190.000 km ou 10 ans; ensuite, replacer tous les 60.000 km ou 3 ans | ||||||||||
| Autres | R | |||||||||||
| Niveau du liquide de refroidissement du moteur | I | I | I | I | I | I | I | I | I | I | I | I |
| SYSTEME DE CARBURANT | ||||||||||||
| Filtre à air | C | R | C | R | C | R | ||||||
| Durites et canalisations de carburant | I*2 | |||||||||||
| Tuyaux et conduites du système antipollution | I*2 | |||||||||||
| Filtre à carburant | R | |||||||||||
| SYSTEME D'ALLUMAGE | ||||||||||||
| Bougies d'allumage | Remplacer tous les 60.000 km | |||||||||||
| SYSTEME ELECTRIQUE | ||||||||||||
| Fonctionnement de tous les éclairages | I | I | I | I | I | I | I | I | I | I | I | I |
| CHASSIS et CARROSSERIE | ||||||||||||
| Conduites de frein, durites et raccords | I | I | I | |||||||||
| Niveau du liquide de frein | I | I | I | I | ||||||||
| Liquide de frein | R | |||||||||||
| Freins à disques | I | I | I | I | I | |||||||
| Pneus (Permutation) | Permuter tous les 10.000 km | |||||||||||
| Pression de gonflage des pneus et usure des pneus | I | I | I | I | I | |||||||
| Timonerie et fonctionnement de la direction | I | I | I | I | I | |||||||
| Niveau du liquide de direction assistée | I | I | I | I | I | |||||||
| Suspension avant et arrêté, joints à rotule, et jeu axial de roulement de roues | I | I | I | |||||||||
| Huile de différentiel arrêté (AWD) | *3*4 | |||||||||||
| Huile de boîte de vitesses (AWD) | *4 | |||||||||||
| Soufflets cache-poussière d'arbre d'entrainmentement | I | I | I | |||||||||
| Boulons et écrous du châssis et de la carroserie | T | T | T | |||||||||
| Boucliers thermiques du système d'échéppement | I | I | I | |||||||||
| Tous les gonds et loquets | L | L | L | L | L | |||||||
| Niveau du liquide de lavage | I | I | I | I | I | |||||||
| SYSTEME DE CLIMATISEUR | ||||||||||||
| Filtre à air d'habitacle | R | R | R | |||||||||
Symboles du tableau:
I: Inspector: Inspector et nettoyer, réparer, ajuster, faire l'appoint, ou remplaner si nécessaire.
R: Remplacer
L:Lubrifier
C:Nettoyer
T: Serrer
Remarques:
1 Utiliser un liquide de refroidissement de type FL22 dans le cas de vehicules portant l'inscription "FL22" sur le bouchon du radiateur lui-même ou dans les environs. Utiliser un FL22 lors du remplacement du liquide de refroidissement.
2 Suivant la reglementation fédérale et provinciale ou de l'Etat, le manque de suivre ces points d'entretien n'annulera pas la garantie sur le système antipollution. Cependant, Mazda recommende que tous les points d'entretien soient exécutés suivant l'intervalle de temps ou le kilométrage commandé, afin d'assurer une fiabilité à long terme.
*3 Si le vehicule est utilisé principalement sous l'une des conditions suivantes, changer l'huile du différentiel arrêté tous les 40.000km .
a) Traction d'une remorque ou utilisation d'un porte-bagage de toit
b) Conduite dans des conditions poussiereuses, sablonneuses ou humides
c) Périodes prolongées de ralenti ou d'opération à basse vitesse
d) Courts déplacements répétés de moins que 16km
*4 Si les composantes ont été immergees dans l'eau, l'huile doit être changée.
(Suite)
| Périodicité | Nombre de mois ou kilométrage, au premier des deux termes atteint | ||||||||||||
| Mois | 39 | 42 | 45 | 48 | 51 | 54 | 57 | 60 | 63 | 66 | 72 | ||
| ×1000 km | 65 | 70 | 75 | 80 | 85 | 90 | 95 | 100 | 105 | 110 | 115 | ||
| MOTEUR | |||||||||||||
| Jeu des soupapes du moteur | Effectuer une inspection auditive tous les 120.000 km, si les soupapes sont bruyante, ajuster | ||||||||||||
| Courroies d'entrainment | I | I | |||||||||||
| Huile moteur | R | R | R | R | R | R | R | R | R | R | R | ||
| Filtre à huile du moteur | R | R | R | R | R | R | R | R | R | R | R | ||
| SYSTème DE REFROIDISSEMENT | |||||||||||||
| Système de refroidissement | I | I | |||||||||||
| Liquide de refroidissement du moteur | Type FL22*1 | Remplacer aux premiers 190.000 km ou 10 ans; ensuite, replacer tous les 60.000 km ou 3 ans | |||||||||||
| Autres | R | R | |||||||||||
| Niveau du liquide de refroidissement du moteur | I | I | I | I | I | I | I | I | I | I | I | ||
| SYSTème DE CARBURANT | |||||||||||||
| Filtre à air | C | R | C | R | C | R | |||||||
| Durites et canalisations de carburant | I*2 | I | |||||||||||
| Tuyaux et conduites du système antipollution | I*2 | I | |||||||||||
| Filtre à carburant | R | R | |||||||||||
| SYSTème D'ALLUMAGE | |||||||||||||
| Bougies d'allumage | Remplacer tous les 60.000 km | ||||||||||||
| SYSTème ELECTRIQUE | |||||||||||||
| Fonctionnement de tous les éclairages | I | I | I | I | I | I | I | I | I | I | I | ||
| Périodicité | Nombre de mois ou kilométrage, au premier des deux termes atteint | |||||||||||
| Mois | 39 | 42 | 45 | 48 | 51 | 54 | 57 | 60 | 63 | 66 | 72 | |
| ×1000 km | 65 | 70 | 75 | 80 | 85 | 90 | 95 | 100 | 105 | 110 | 115 | |
| CHASSIS et CARROSSERIE | ||||||||||||
| Conduites de frein, durites et raccords | I | I | I | |||||||||
| Niveau du liquide de frein | I | I | I | I | ||||||||
| Liquide de frein | R | R | ||||||||||
| Freins à disques | I | I | I | I | I | I | ||||||
| Pneus (Permutation) | Permuter tous les 10.000 km | |||||||||||
| Pression de gonflage des pneus et usure des pneus | I | I | I | I | I | I | ||||||
| Timonerie et fonctionnement de la direction | I | I | I | I | I | I | ||||||
| Niveau du liquide de direction assistée | I | I | I | I | I | I | ||||||
| Suspension avant et arrêté, joints à rotule, et jeu axial de roulement de roues | I | I | I | |||||||||
| Huile de différentiel arrêté (AWD) | *3*4 | |||||||||||
| Huile de boîte de vitesses (AWD) | *4 | |||||||||||
| Soufflets cache-poussière d'arbre d'entrainment | I | I | I | |||||||||
| Boulons et écrous du châssis et de la carroserie | T | T | T | |||||||||
| Boucliers thermiques du système d'échéppement | I | I | I | |||||||||
| Tous les gonds et loquets | L | L | L | L | L | L | ||||||
| Niveau du liquide de lavage | I | I | I | I | I | I | ||||||
| Mois | 39 | 42 | 45 | 48 | 51 | 54 | 57 | 60 | 63 | 66 | 69 | |
| ×1000 km | 65 | 70 | 75 | 80 | 85 | 90 | 95 | 100 | 105 | 110 | 115 | |
| SYSTEME DE CLIMATISEUR | ||||||||||||
| Filtre à air d'habitacle | R | R | R | |||||||||
Symboles du tableau:
I: Inspector: Inspector et nettoyer, réparer, ajuster, faire l'appoint, ou replacer si nécessaire.
R: Remplacer
L: Lubrifier
C:Nettoyer
T: Serrer
Remarques:
1 Utiliser un liquide de refroidissement de type FL22 dans le cas de vehicules portant l'inscription "FL22" sur le bouchon du radiateur lui-même ou dans les environs. Utiliser un FL22 lors du remplacement du liquide de refroidissement.
2 Suivant la reglementation fédérale et provinciale ou de l'Etat, le manque de suivre ces points d'entretien n'annulera pas la garantie sur le système antipollution. Cependant, Mazda recommende que tous les points d'entretien soient exécutés suivant l'intervalle de temps ou le kilométrage commandé, afin d'assurer une fiabilité à long terme.
*3 Si le vehicule est utilisé principalement sous l'une des conditions suivantes, changer l'huile du différentiel arrêté tous les 40.000km .
a) Traction d'une remorque ou utilisation d'un porte-bagage de toit
b) Conduite dans des conditions poussièresuses, sablonneuses ou humides
c) Périodes prolongées de ralenti ou d'opération à basse vitesse
d) Courts déplacements répétés de moins que 16km
*4 Si les composantes ont été immergees dans l'eau, l'huile doit être changée.
Périodicité de l'entretien réalisable par le propriétaire
Le propriétaire ou un mécanien qualifié doit faire ces inspections à la périodicité décrite de manière à assurer un fonctionnement sécurité et sans problème.
Notifier au plus tout un concessionnaire agréé Mazda ou un mécanicien qualifié de tout problème.
Au moment de faire le plein
- Niveau de liquide de frein (page 8-28)
- Niveau de liquide de refroidissement du moteur (page 8-26)
- Niveau d'huile moteur (page 8-24)
- Niveau de liquide de lave-glace (page 8-33)
Au moins une fois par mois
Pression de gonflage des pneus (page 8-42)
Au moins deux fois par an (Par exemple, au printemps et en automne)
- Niveau de liquide de boîte de vitesses automatique (page 8-30)
- Niveau du liquide de direction assistée (page 8-30)
Les opérations suivantes peuvent être réalisées si l'on a une certaine connaissance mécanique et quelques outils élémentaires, et en suivant à la lecture les instructions de ce manuel.
Liquide de refroidissement du moteur (page 8-26)
Huile moteur (page 8-22)
Précautions concernant l'entretien réalisable par le propriétaire
Un entretien inadéquat ou incomplet peut cause des problèmes. Cette section donne les instructions concernant les opérations facilement réalisables.
Tel qu'indiqué à l'Introduction (page 8-2), plusieurs de ces opérations ne peuvent être réalisées que par un mécanien qualifié à l'aide d'outils spéciaux.
Un entretien incorrect effectué par le propriété pendant la période de garantie peut affecter la validité de la garantie. Pour plus de détails, se référer au manuel de garantie fourni avec le vehicule. Si l'on n'est pas certain de la marche à suivre pour l'opération d'entretien ou de réparation, faire faire l'opération par un concessionnaire/agréé Mazda.
La mise au rebut des huiles et liquides usés est reglementée par de strictes lois de protection de l'environnement. Veiller à lesmettre au rebut de manière ajustate avec égards pour l'environnement.
Il est recommandé de confier les changements d'huile et de liquide à un concessionnaire agréé Mazda.
PRUDENCE
Ne pas effectuer les travaux d'entretien si vous n'avez pas les connaissances ou l'expérience nécessaire, ou que vous ne disposez pas des outils appropriés. Confier l'entretien à un technicien qualifié:
Faire l'entretien d'un vehicule est dangereux s'il n'est pas fait correctement. On risque d'être gravement blessé lorsqu'on réalise certaines opérations d'entretien.
Si l'on doit travailler dans le compartmentement moteur alors que le moteur tourne, retiret tous ses bijoux (en particulier les bagues, bracelets, montres et colliers) et toute cravate, écharpe et tout vêtement ample, avant de s'approcher du moteur ou du ventilateur de refroidissement qui risque de semettre en marche soudainement:
Travailler dans le compartment moteur lorsque le moteur tourne est dangereux. Cela est encore plus dangereux si l'on porte des bijoux ou des vêtements amples. Ces derniers peuvent être pris par des pieces en mouvement et causer des blessures.
Mettre le contacteur sur la position d'arrêt et s'assurer que le ventilateur ne tourne pas avant d'entreprenevre des travaux à proximate du ventilateur de refroidissement:
Il est dangereux de travailler à proximé du ventilateur de refroidissement lorsque celui-ci fonctionne. Le ventilateur pourrait continuer à fonctionner indéfiniment, même si le moteur s'est arrêté et que la température du compartment ment moteur est élevée. On risque d'être blessé gravement par les ailettes tournantes du ventilateur.
Ne rien laisser dans le compartmentement moteur:
Une fois la vérification ou l'entretien dans le compartment mateur terminé, ne pas laisser d' éléments tels que des outils ou des chiffons dans le compartment mateur. Les outils et autres éléments liassés dans le compartment mateur peuvent endommager le moteur ou entraîner un incendie occasionnant un accident inattendu.
Vue générale du compartmente moteur

Moteur de 2,3 litres

Moteur de 2,5 litres
Huile moteur
REMARQUE
Les changements d'huile moteur devraient etre faits par un concessionnaire agreé Mazda.
▼Huile moteur recommende
Utiliser l'huile moteur SAE 0W-20 (Moteur de 2,5 litres).
Les étiquettes sur les contenants d'huile moteur comportent une information importante.
Elles améliorent l'économie de carburant en réduisant la quantité de carburant consommée par la friction du moteur.
Etats-Unis et Canada

(ILSAC)
Utiliser uniquement les huiles "certifiées pour moteurs à essence" par le American Petroleum Institute (API). Une huile affichant cette marque de commerce est conforme aux normes de protection du système antipollution et du moteur actuel ainsi qu'aux exigences d'économie de carburant du International Lubricant Standardization and Approval Committee (ILSAC), englobant les fabricants d'automobiles japonais et américain.

0W-20
Excepté aux États-Unis et au Canada


(ILSAC)
(Mexique)
Utiliser l'huile moteur SAE 0W-20. Si l'huile moteur SAE 0W-20 n'est pas disponible, utiliser de l'huile moteur SAE 5W-20, 5W-30.
La désignation de qualité "SM" ou "ILSAC" doit être indiquée sur l'étiquette.

0W-20
Utiliser l'huile moteur SAE 5W-30 (Moteur de 2,3 litres).
Les étiquettes sur les contenants d'huile moteur comportent une information importante.
Elles améliorent l'économie de carburant en réduisant la quantité de carburant consommée par la friction du moteur. Mazda recommende les pieces Mazda d'origine et Castrol (Etats-Unis et Mexique). Pour une performance optimale du moteur, il y a certaines huiles pour moteurs et des filtres appropriés pour votre vehicule. Consulter un concessionnaire/agréé Mazda.

Etats-Unis et Canada
(ILSAC)
Utiliser uniquement les huiles "certifiées pour moteurs à essence" par le American Petroleum Institute (API). Une huile affichtant cette marque de commerce est conforme aux normes de protection du système antipollution et du moteur actuel ainsi qu'aux exigences d'économie de carburant du International Lubricant Standardization and Approval Committee (ILSAC), englobant les fabricants d'automobiles japonais et américain.

5W-30

Excepté aux États-Unis et au Canada

(ILSAC)
La désignation de qualité "SM" ou "ILSAC" doit être indiquée sur l'étiquette.

Vérification du niveau d'huile moteur
Moteur de 2,3 litres
- Veiller à ce que le vehicule se touve sur une surface horizontal.
- Rechauffer le moteur jusqu'à ce qu'ilatteigne sa température normale defonctionnement.
- Arrête le moteur et attendre au moins 5 minutes afin de laisser l'huile returner dans le demi-carter inférieur.
- Ouvrir le bouchon.

- Retirer la jauge, l'essuyer et l'introduire à nouveau à fond.

- Retirer à nouveau la jauge et vérifier le niveau.
Le niveau est ajusté s'il se trouve entre "MIN" et "MAX".
S'il est pres ou plus bas que "MIN", ajouter assez d'huile pour porter le niveau à "MAX".
ATTENTION
Ne pas ajouter d'huile au-delà de MAX. Cela pourrait endommager le moteur.
- S'assurer que le joint torique sur la jauge est place correctement avant de réinsérer la jauge.
-
Réintroduire la jauge à fond.
-
Fermer le bouchon.

REMARQUE
Pour referrer le bouchon d'huile du moteur, le positionner en mettant la marque () alignée à la position OPEN () , puis le tourner sur la position CLOSE () .
Moteur de 2,5 litres
- Veiller à ce que le vehicule se trouve sur une surface horizontale.
- Rechauffer le moteur jusqu'à ce qu'il atteigne sa température normale de fonctionnement.
- Arrête le moteur et attendre au moins 5 minutes afin de laisser l'huile returner dans le demi-carter inférieur.
- Retirer la jauge, l'essuyer et l'introduire à nouveau à fond.

Type A

Type B
- Retirer à nouveau la jauge et vérifier le niveau. Le niveau est normal si'il se trouve entre les repères "Plein" et "Niveau bas". S'il est pres ou plus bas que "Niveau bas", ajouter assez d'huile pour porter le niveau à "Plein".
ATTENTION
Ne dépasser pas le niveau "Plein".
Cela risque d'endommager le moteur.
- S'assurer que le joint torique sur la jauge est place correctement avant de réinsérer la jauge.
- Réintroduire la jauge à fond.
Liquide de refroidissement du moteur
Vérification du niveau de liquide de refroidissement
4 PRUDENCE
Ne pas utiliser une allumette ou autre flamme vivé dans le compartment moteur. NE PAS FAIRE L'APPOINT DE LIQUIDE DE REFROIDISSEMENT LORSQUE LE MOTEUR EST CHAUD:
Un moteur chaud est dangereux. Si le moteur a tourné, les composantes dans le compartment moteur peuvent être très chaudes. On risque de se brûler. Inspector avec précautions le liquide de refroidissement dans le réservoir de liquide de refroidissement, mais ne pas l'ouvrir.

Mettre le contacteur sur la position d'arrêt et s'assurer que le ventilateur ne tourne pas avant d'entreprenevre des travaux à proximité du ventilateur de refroidissement:
Il est dangereux de travailler à proximé du ventilateur de refroidissement lorsque celui-ci fonctionne. Le ventilateur pourrait continuer à fonctionner indéfiniment, même si le moteur s'est arrêté et que la température du compartmentement moteur est élevé. On risque d'être blessé gravement par les ailettes tournantes du ventilateur.
APRUDENCE

Ne pas-retirer le bouchon du refroidissement lorsque le radiateur sont chauds:
Lorsque le moteur et le radiateur sont chauds, du liquide de refroidissement brulant et de la vapeur risquent de jaillir sous pression et causer de graves blessures.
REMARQUE
Les changements de liquide de refroidissement du moteur devraient etre faits par un concessionnaire agreé Mazda.
Vérifier la protection contre le gel et le niveau du liquide de refroidissement dans le réservoir de liquide de refroidissement au moins une fois par an—au début de l'hiver—et avant de partir pour une région où la température risque de descendre en dessous de 0^ (32^) .
Vérifier l'etat et les raccords de toutes les durites du circuit de refroidissement et les durites du chauffage.
Remplacer toute durite gonflée ou déteriorée.
Le liquide doit replir le radiateur et être entre les repères FULL (plein) et LOW (niveau bas) dans le réservoir lorsque le moteur est froid.

Si le niveau se trouve au niveau ou a proximé du repère LOW, ajouter suffisamment de liquide de refroidissement spécifique dans le réservoir de liquide de refroidissement pour la protection contre le gel et la corrosion et porter le niveau jusqu'àu repère FULL. Serrez fermement le bouchon du réservoir de liquide de refroidissement après avoir ajoute du liquide de refroidissement.
ATTENTION
Le liquide de refroidissement abime la peinture. Rincer immédiatement tout liquide qui s'est renversé.
N'utiliser que de l'eau douce (déminéralisée) pour le mélange de liquide de refroidissement. De l'eau contenant des minéraux diminue l'efficacité du liquide de refroidissement.
Ne pas ajouter de l'eau uniquement. Toujours ajouter le mélange correct de liquide de refroidissement.
Le moteur du vehicule comporte des pièces en aluminium et elles doivent être protégées par un liquide à l'éthylène-glycol afin d'éviter qu'elles ne soient endommagées par la corrosion ou le gel.
NE PAS UTILISER de liquide de refroidissement contenant de l'alcool, du methanol, du borate ou du silicate. Ces liquides de refroidissement peuvent endommager le circuit de refroidissement.
NE PAS MELANGER d'alcool ou de methanol avec le liquide de refroidissement. Cela risque d'endommager le circuit de refroidissement.
Ne pas utiliser une solution contenant plus de 60 pour cent d'antigel. Cela réduirait son efficacité.
REMARQUE
Si l'indication "FL22" apparait sur ou pres du bouchon du système de refroidissement, il est recommendé d'utiliser le liquide de refroidissement FL22 Mazda d'origine (page 8-3).

FL22圆
Si le réservoir de liquide de refroidissement est vide ou qu'il doit etre fréquemment rempli de nouveau liquide de refroidissement, consulter un concessionnaire agreé Mazda.
Liquide de frein
Vérification du niveau du liquide de frein
Vérifier périodiquement le niveau du liquide dans le réservoir. Le niveau doit être gardé au niveau MAX.
Le niveau baisse normalement lorsque la distance parcourue augmente, en raison de l'usure des garnitures de freins. Si le niveau du liquide est excessivement bas, faire vérifier le circuit de freinage par un concessionnaire/agréé Mazda.

Appoint de liquide de frein

PRUDENCE
Faire attention de ne pas renverser de liquide de frein sur soi ou sur le moteur: Du liquide de frein renversé est dangereux. S'il entre en contact avec les yeux, cela peut cause de graves blessures. Dans ce cas, se rincer immidiatement les yeux avec de l'eau et consulter un médecin. Du liquide de frein renversé sur un moteur chaud peut cause un incendie.
Si le niveau du liquide de frein est bas, faire contrôler les freins:
Si le niveau du liquide de frein est bas, ceci est dangereux. Un niveau bas peut indiquer une usure des plaquettes de frein ou une fuite du système de freinage. Les freins risquent de ne pas fonctionner et cela peut causer un accident.
Si le niveau du liquide est bas, ajouter du liquide jusqu'au repère MAX.
Avant d'ajouter du liquide, nettoyer soigneusement la zone entourant le bouchon du réservoir.

ATTENTION
Le liquide de frein endommage les surfaces peintes. Si du liquide de frein entre en contact avec une surface peinte, le laver immédiatement avec de l'eau.
L'utilisation d'un liquide de frein autre que celui spécifié (page 10-4) endommagera le système. Le mélange de liquides différents endommage aussi le système. Si l'on doit rajouter fréquement du liquide de frein, s'adresser à un concessionnaire agréé Mazda.
Liquide de direction assistée
Vérification du niveau de liquide de direction assistée

ATTENTION
Pour éviter d'endommager la pompe de direction assistée, ne pas utiliser le vehicule pour de longues périodes si le niveau de liquide de direction assistée est bas.
REMARQUE
Utiliser le liquide de direction assistée spécifique (page 10-4).
Vérifier le niveau du liquide dans le réservoir à chaque changement d'huile, avec le moteur arrêté et froid. Ajouter du liquide au besoin; il n'est pas nécessaire de changer le liquide périodiquement.

Le niveau doit se trouver entre les repères MAX et MIN.
Vérifier les durites et tuyaux pour fuites ou dommages.
Si une réparation est requise, s'adresser à un concessionnaire/agréé Mazda.
Liquide de boîte de vitesses automatique
Vérification du niveau de liquide de boîte de vitesses automatique
Vérifier régulièrement le niveau du liquide de boîte de vitesses automatique. Mesurer le niveau du liquide tel que décrit ci-dessous.
Boite de vitesses 5 vitesses

ATTENTION
Toujours vérifier le niveau du liquide de boîte de vitesses automatique en procédant comme suit. Si l'on n'effectue pas cette procédure correctement, il sera impossible de mesurer précisément le niveau du liquide de boîte de vitesses automatique, ce qui risque d'endommager la boîte de vitesses automatique.
Si le niveau de liquide est bas, ceci risque de faire patiner la boite de vitesses. Si le niveau est trop haut,ILA cause de la mousse,des fuites de liquide et un mauvais fonctionnement.
Il est recommandé d'utiliser le liquide de boite de vitesses automatique Mazda d'origine (page 10-4).
- Garer le vehicule sur une surface horizontal et tirer fermement le frein de stationnement.
-
S'assurer qu'il n'y ait pas de fuite du liquide de boîte de vitesses automatique dans le tuyau du liquide de boîte de vitesses automatique ou dans le carter.
-
Mettre le levier selecteur sur la position de stationnement (P), demarrer le moteur et le laisser se rechauffer.

ATTENTION
Ne pas actionner le levier selecteur pendant que le rechauffement du moteur est en cours. Si le niveau du liquide de boite de vitesse automatique est très bas, la boite de vitesse automatique risque d'être endommagée.
- Pendant que le moteur tourne au ralenti,steroler la jauge,l'essuyer et l'introduire a nouveau.
- Vérifier le niveau du liquide de boîte de vitesses automatique. S'il n'y a pas de liquide de boîte de vitesses automatique qui adhére à 5 mm de l'extrémité de la jauge, ajouter du liquide de boîte de vitesses automatique.

ATTENTION
S'il n'y a pas de liquide de boite de vitesses automatique qui adhére à la jauge même après que le moteur se soit rechauffé, ne pas conduire le vehicule. Sinon, la boite de vitesses automatique pourrait être endommagée.
- Faire passer le levier sélecteur sur chaque plage et à chaque position, et vérifier s'il n'y a pas d'anomalie.
- Conduire le vehicule dans les rues de la ville pendant 5km (3,1 milles) ou plus.
-
Garer le vehicule sur une surface horizontal et tirer fermement le frein de stationnement.
-
Mettre le levier sélecteur sur la position de stationnement (P), vérifier le niveau du liquide de boîte de vitesses automatique pendant que le moteur tourne au ralenti, et s'assurer que le niveau du liquide de boîte de vitesses automatique soit bien correct. Si le niveau du liquide de boîte de vitesses automatique n'est pas dans les limites correctes, rajouter du liquide de boîte de vitesses automatique.
Le niveau correct est indiqué par la jauge tel qu'indiqué ci-contre.

Boite de vitesses 6 vitesses
Le volume du liquide de boite de vitesses varie en fonction de la temperature. Le liquide doit etre vérifie avec le moteur tournant au ralenti, lorsque le vehicule n'apas roulé, à la temperature normale.

ATTENTION
Si le niveau de liquide est bas,ILA fait patiner la boite de vitesse automatique. Si le niveau est trop haut, esta cause de la mousse, des fuites de liquide et un mauvais fonctionnement.
Il est recommandé d'utiliser le liquide de boite de vitesses automatique Mazda d'origine (page 10-4).
- Garer le vehicule sur une surface horizontal et tirer fermement le frein de stationnement.
- Demarrer le moteur et appuyer sur la pedale de frein.
- Déplacer le levier sélecteur sur toutes les plages, puis le remettre sur la plage P.
4 PRUDENCE
S'assurer d'appuyer sur la pedale de frein avant de déplacer le levier sélecteur:
Le fait de déplacer le levier sélecteur sans appuyer en premier sur la pédale de frein est dangereux. Le vehicule peut se déplacer soudainement et cause un accident.
- Laisser le moteur tourner au ralenti,
retirer la jauge, l'essuyer et l'introduire à nouveau. - Retirer à nouveau la jauge.
Le niveau correct est indiqué par la jauge tel qu'indiqué ci-contre.

Plage de liquide chaud A
Si l'on a roulé et que le liquide a atteint la température normale de fonctionnement, environ 65^ (150^) , le liquide devrait se couver entre les repères Plein et Niveau bas.
Plage de liquide froid B
Lorsque le moteur n'a pas tourné et que la température extérieure est d'environ 20^ (70^) , le niveau du liquide doit être proche, mais pas au-dessus, de l'encochrome inférieure de la jauge.
ATTENTION
N'utiliser la plaque de liquide froid qu'en guise de refERENCE.
Si la température ambiente est inférieure à environ 20^ (70°F), démarrer le moteur et mesurer le niveau du liquide après avoir laisser tourner le moteur pour qu'il atteigne la température normale de fonctionnement.
Si l'on a roule pendant une durée prolongée à grande vitesse ou dans un traffic dense par temps chaud, il est préféable de mesurer le niveau d'huile après avoir arrêté le moteur et laissé refroidir le liquide pendant 30 minutes.
Introduire laJAuge à fond. Lorsqu'on ajoute du liquide, mesurer le niveau avec laJAuge afin de s'assurer que le niveau ne se trouve pas au-dessus du repere de niveau plein.
REMARQUE
Pour une lecture précise, inspector le niveau du liquide sur les deux côts de laJAuge, dans un endroit bien éclairé.
Liquide de lave-glace
Vérification du niveau du liquide de lave-glace

PRUDENCE
N'utiliser que du liquide de lave-glace de pare-brise ou de l'eau pure dans le réservoir de liquide:
L'utilisation de liquide antigel comme liquide de lave-glace est dangereuse. Si pulverisé sur le pare-brise, il le salira, généra la visibilité et cela peut causer un accident.
Utilisation de liquide de lave-glace sans protection antigel en hiver:
L'utilisation du vehicule par des températures inférieures à 4^ (40^) avec du liquide de lave-glace sans protection antigel est dangereuse car cela risque de bloquer la vue par le pare-brise et causer un accident. Par temps froid, s'assurer de tousjours utiliser du liquide de lave-glace avec une protection antigel.
REMARQUE
La réglementation locale, provinciale ou fédérale peut limiter l'utilisation de composés organiques volatils (COV) qui sont communément utilisés comme agents antigel dans le liquide de lave-glace. Un liquide de lave-glace avec un bas pourcentage de COV ne doit être utilisé que s'il fournit une protection contre le gel ajustate pour toutes les régions et les climats où le vehicule sera utilisé.
Vérifier le niveau sur le réservoir du liquide de lave-glace, ajouter du liquide si nécessaire.

Utiliser de l'eau pure si du liquide de lave-glace n'est pas disponible.
Par temps froid, n'utiliser qu'une solution de lave-glace antigel.
REMARQUE
Les lave-glaces avant et arrêtre utilisent le même réservoir.
Lubrification de la carrosserie
Toutes les parties mobiles du vehicule, telles que les charnières et les serrures de portières et du capot, doivent être lubrifiées à chaque changement d'huile. Par temps froid utiliser un lubrifiant antigel pour les serrures.
S'assurer que le loquet seconde du capot empêche le capot de s'ouvrir lorsque le loquet primaire est relâché.
Balais d'essuie-glace
ATTENTION
Les cires chaudes appliquées par des lave-auto automatiques peuvent réduire la capacité de nettoyage des essuie-glaces.
Afin d'eviter d'endommager les balais d'essuie-glace, ne pas utiliser d'essence, kérosène, diluant pour peinture ou autres dissolvants sur ou à proximé des balais d'essuie-glace.
Lorsque le levier d'essuie-glace est sur la position AUTO et que le contacteur est mis sur la position ON, les essuie-glaces peuvent semettre en marche automatique dans les cas suivants:
Si le pare-brise au-dessus du capteur de pluie est touché.
Si le pare-brise au-dessus du capteur de pluie est essuyé avec un chiffon.
Si le pare-brise est.frappé avec la main ou un autre object.
Si le capteur de pluie est.frappé avec la main ou un autre objet à partir de l'intérieur du vehicule.
Faire attention à ne pas se faire pincer les mains ou les doigts car ils peuvent subir des blessures ou endommager les essuie-glace. Lorsque le vehicule Mazda est lavé ou réparé, s'assurer que le levier d'essuie-glace est à la position OFF.
La contamination du pare-brise ou des balais d'essuie-glace par des matieres étrangères peut réduire l'efficacité des balais d'essuie-glace. Les sources fréquentes de contamination sont les insectes, la sève d'arbre et lestraitements à la cire chaude utilisée dans certains appeareils de lave-auto automatiques.
Si les balais n'essuient pas correctement, nettoyer la vitre et les balais avec un bon produit de nettoyage ou du détergent doux et rincer entièrement à l'eau limpide. Répéter l'opération si nécessaire.
Remplacement des balais d'essuie-glace de pare-brise
Lorsque les essuie-glace ne nettoient plus correctement le pare-brise, les balais sont probabilitément usés ou abîmés. Les remplacer.
ATTENTION
Pour éviter d'endommager les bras d'essuie-glace et les autres composants, ne pas déplacer manuellement les essuie-glace.
REMARQUE
Pour éviter d'endommager les balais des bras d'essuie-glace lorsque les bras d'essuie-glace côté conducteur et côté passager sont les deux relevés, relever le bras d'essuie-glace côté conducteur en premier. Aussi, lorsque les bras d'essuie-glace sont remis en place, abaiser le bras d'essuie-glace côté passager en premier.
-
Relever le bras d'essuie-glace.
-
Ouvrir la pince et faire glisser l'ensemble de balai dans le sens de la flèche.

- Incliner l'ensemble de balai et le retirer du bras.

ATTENTION
Pour empêcher les dommages au pare-brise, laisser retomber doucement l'essuie-glace sans le frapper contre le pare-brise.
- Tirer le balai et le faire coulisser pour le sortir du support de balai.

- Retirer les barres métalliques du caoutchouc de chaque balai d'essuie-glace et les monter sur un caoutchouc de balai d'essuie-glace neuf.


ATTENTION
Ne pas plier ou jeter les barres métalliques. Elles doivent être réutilisées.
Si les barres métalliques sont inversées, l'efficacité des balais d'essuie-glace risque de diminuer. Dès lors, ne pas utiliser les barres métalliques côté conducteur sur les balais côté passager, ou vice versa.
S'assurer de réinstaller les barres métalliques dans le nouveau caoutchouc de balai de sorte que la courbure soit la même que celle du caoutchouc retire.
- Introduire prudemment un caoutchouc de balai neuf. Installer l'ensemble du balai dans l'ordre inverse de celui du retrait.

Remplacement du balai d'essuie-glace de lunette arrête
Lorsque l'essuie-glace ne nettoie plus correctement la lunette arrriere, le balai est probabilité used ou abimé. Le remplacer.

ATTENTION
Pour éviter d'endommager le bras d'essuie-glace et les autres composants, ne pas déplacer manuellement l'essuie-glace.
- Retirer le cache et relever le bras d'essuie-glace.

- Tourner fermement le balai d'essuie-glace vers la droite jusqu'à ce qu'il se déverrouille, puis retirer le balai.


ATTENTION
Pour empêcher les dommages à la lunette arrêté, faisser retomber doucement l'essuie-glace sans le frapper contre la lunette arrêté.
- Tirer le balai et le faire coulisser pour le sortir du support de balai.

- Retirer les barres métalliques du caoutchouc de chaque balai d'essuie-glace et les monter sur un caoutchouc de balai d'essuie-glace neuf.


ATTENTION
Ne pas plier ou jeter les barres métalliques. Elles doivent être réutilisées.
- Introduire prudemment un caoutchouc de balai neuf.
Installer l'ensemble du balai dans
l'ordre inverse de celui du retrait.

Batterie

PRUDENCE
Se laver les mains après avoir manipulé la batterie et les accessoires connexes:
Les bornes, connecteurs et les pieces reliées contiennent du plomb et des dérivés de plomb, des produits chimiques qui ont été trouvés par l'Etat de la Californie comme causant le cancer et des problèmes de reproduction.

Pour garantir une manipulation correcte et sans danger de la batterie, dire les précautions suivantes attentivement avant de l'utiliser ou de l'inspector:

S'assurer de toujours porter des lunettes de protection lorsque l'on travaille après de la batterie:
Travailler sans lunettes de protection est dangereux. Le liquide de la batterie contient de l'ACIDE SULFURIQUE qui peut cause la cécité s'il entre en contact avec vos yeux. Aussi, l'hydrogène produitpendant le fonctionnement normal de la batterie, peut s'enflammer et faire exploser la batterie.

Porter des lunettes de protection et des gants de protection pour éviter le et avec du liquide de la batterie:
Du liquide de batterie renversé est dangereux.
Le liquide de la batterie contient de l'ACIDE SULFURIQUE qui peut cause de graves blessures s'il entre en contact avec vos yeux, votre peu ou vos vêtements. Si cela se produit, se rincer immédiatement les yeux avec de l'eau pendant 15 minutes ou se laver la peau complètement et consulter un médecin.

S'assurer de tous jours garder les batteries hors de portée des enfants:
Le fait de laisser des enfants jouer pres d'une batterie est dangereux. Du liquide de batterie peut cause de graves blessures s'il entre en contact avec les yeux ou la peau.

Garder les flammes et les étincelles àonne distance de la batterie, ne pas laisser des outils en métal entre en contact avec la borne positive (+) ou négative (-) de la batterie quand vous travailliez présde celle-ci. Ne pas laisser la borne positive (+) entre en contact avec la carrosserie du vehicule:
Des flammes ou des étincelles pres de cellules ouvertes de la batterie sont dangereuses. De l'hydrogène, qui est produit lors du fonctionnement normal de la batterie, peut s'enflammer et faire explodeer la batterie. Une batterie qui explode peut causer de graves brûlures et blessures. Garder toutes les flammes y compris les cigarettes et les étincelles éloignées des cellules ouvertes de la batterie.

Garder les flammes, y compris les cigarettes, et étincelles éloignées des
cellules ouvertes de la batterie:
Des flammes ou des étincelles près de cellules ouvertes de la batterie sont dangereuses. De l'hydrogène, qui est produit lors du fonctionnement normal de la batterie, peut s'enflammer et faire explodeer la batterie. Une batterie qui explode peut cause de graves brûlures et blessures.
REMARQUE
Retirer le cache de la batterie avant d'exécuter l'entretien de la batterie.


Entretien de la batterie
Pour que les performances de la batterie soient optimes:
- Veiller à ce que la batterie soit toujours correctement fixée.
- Veiller à ce que le dessus de la batterie soit propre et sec.
- Veiller à ce que les bornes et les cosses soit propres et correctement serrées, et les enduire de vaseline ou deGRAISSER pour borne.
-
Nettoyer immédiatement toute trace d'électrolyte avec un mélange d'eau et de bicarbonate de soude.
-
Si le vehicule n'est pas utilisé pendant une période prolongée, déconnecter les cables de la batterie.
Pneus
Pour des performances optimes, la sécurité, et l'économie de carburant maximale, les pneus doivent toujours être gonflés aux pressions de gonflage recommendées et respecter également les limites de charge et la répartition du poids recommendées.

PRUDENCE
Utilisation de pneus de type différent:
Le fait de conduire avec des pneus de type différent est dangereux. Cela peut entrainer une mauvaise maniability et de mauvaises performances de freinage; et cela peut entrainer une perte de contrôle du vehicule.
Sauf lors de l'utilisation limitée de la roue de secours à usage-temporaire, n'utiliser que des pneus du même type (radianx, ceinturés à carcasse diagonale, à carcasse diagonale) sur les quatre roues.
Utilisation des pneus de taille incorrecte:
L'utilisation de pneus de dimensions autres que celles recommendées pour ce vehicule Mazda (page 10-7) est dangereuse. Cela peut sérieusement affecter le comfort, la conduite, la garde au sol, le passage de roue et l'indication du compteur de vitesse. Ceci peut entraîner un accident. N'utiliser que des pneus de dimensions spécifiées pour ce vehicule Mazda.
Pressure de gonflage des pneus

PRUDENCE
Toujours garder les pneus gonflés à la pression correcte:
Un sur-gonflage ou un sous-gonflagedes pneus est dangereux. Unemauvaise tenue de route ou unedefaillance soudaine des pneus peutcauser un grave accident.
Se référer à Pneus à la page 10-7.
Utiliser seulement un bouchon de la valve Mazda d'origine:
Il est dangereux d'utiliser une piece non d'origine, car la pression de gonflage de pneu correcte ne pourra pas etre maintainue si la valve de pneu est endommagée. Si I'on conduit le vehicule dans cet etat, la pression de gonflage de pneu diminuera, et un accident grave risquera de s'ensuivre. Ne pas utiliser de piece qui ne soit pas une piece Mazda d'origine pour le bouchon de valve.
Le système de surveillance de pression des pneus* n'élimine pas la nécessité de vérifier l'etat des pneus tous les jours, incluant une vérification visuelle de l'etat de gonflage des pneus. Les pressions de gonflage de tous les pneus (y compris le pnu de la roue de secours) doivent être contrôlées tous les mois, lorsque les pneus sont froids. Les pressions recommendées doivent être respectées si l'on peut obtenir une conduite et une tenue de route optimale ainsi qu'une usure minimale des pneus.
Lors de la vérification de la pression, l'utilisation d'une jauge de pression numérique est recommendée.

Sauf le Canada (Etiquette de pressions de gonflage des pneus)

Canada (Etiquette des normes de sécurité automobile)
Se référer au tableau de gonflage des pneus (page 10-7).
REMARQUE
- Vérifier toujours la pression des pneus lorsqu'ils sont frioids.
- Lorsque les pneus sont chauds, les pressions de gonflage dépassent généralement les valeurs recommandées. Ne pas dégonfier les pneus, pour ajuster la pression, lorsqu'ils sont chauds.
- Un sous-gonflage peut causeur une diminution de I'ecomie de carburant, une usure irreguliere et prematurée du pneu, et une mauvaise etanchete du talon du pneu; cela peut deformer la roue et faire que le pneu se sépare de la jante.
- Un sur-gonflage peut cause une conduite dure, une usure irregulière et prematurée du pneu, et accroit considérablement la possibilité de dommages causés par les risques de la route.
Veiller à ce que les pressions des pneus soient constamment aux niveaux corrects. Si l'on doit gonfler un pneu souvent, le faire vérifier.
Permutation des pneus
PRUDENCE
Permuter périodiquement les pneus: Il est dangereux d'utiliser un pneu comportant une usure irreguliere. Pour égaliser l'usage des pneus afin de maintainir de bonnes performances de conduite et de freinage, permuter les pneus conformément aux tableaux des programmes d'entretien.
Se référer à Entretien périodique à la page 8-3.
Lors de la permutation, vérifier si l'équilibrage est correct.

Ne pas inclure la roue de secours à usage-temporaire (TEMPORARY USE ONLY) dans la permutation.
A chaque permutation des pneus, vérifier si les pneus sont endommagés et s'ils sont usés irrégulièrement. L'usure anormale des pneus est généralement causée par une ou plusieurs des causes suivantes:
- Pression de gonflage incorrecte
- Alignment des roues inadéquat
Equilibrage incorrect des roues
Freinages importants
Après la permutation, veiller à régler les pressions de gonflage des pneus avant et arrrière en fonction des specifications (page 10-7) et vérifier le couple de serrage des écrous de roues.

ATTENTION
Permuter les pneus unidirectionnels et les pneus à carcasse radiale à bande de roulement à dessins asymétriques ou à crampons de l'avant à l'arrière uniquement, et non pas entre la droite et la gauche. La performance des pneus sera réduite si la rotation des pneus est faite d'un côté à l'autre.

ATTENTION
Système Différentiel autobloquant; ne pas utiliser les pneus suivants:
Pneus de dimension autre que cette recommandaee
Une combinaison de pneus de dimension ou de type différent
Des pneus sous-gonflés
Si ces instructions ne sont pas suivies, la rotation des roues de droite et de gauche sera différente et cela applique une surcharge constante au différentiel autobloquant par viscosité.
Cela causera un mauvais fonctionnement.

Remplacement d'un pneu

PRUDENCE
N'utiliser que des pneus en bon etat: La conduite avec des pneus uses est dangereuse. Des performances de freinage, direction et traction reduites peuvent cause un accident.
Remplacer tous les quatre pneus en même temps:
Il est dangereux de ne remplacer qu'un seul pneu. Cela pourrait cause de mauvaises performances de maniabilité et de freinage risquant d'entrainer une perte de contrôle du vehicule. Mazda recommande vivement de remplaner tous les quatre pneus en même temps.

ATTENTION
(Avec système de surveillance de pression des pneus)
Lors du remplacement ou de la réparation des pneus, des jantes ou des deux, faire faire le travail par un concessionnaire agréé Mazda, sinon les capteurs de pression des pneus peuvent être endommagés.
REMARQUE
(Avec système de surveillance de pression des pneus)
- Lorsque des pneus avec flancs ceintures d'acier sont utilisés, le système peut ne pas fonctionner correctement même si une jante d'origine est utilisé.
Se référer à Activation erronée du système à la page 5-35.
- S'assurer d'installer les capteurs de pression des pneus lorsque les jantes ou les pneus sont replacés.
Se référer à Pneus et jantes à la page 5-35.
Si un pneu est usé régulierement, un témoin d'usure apparait en travers de la chape.
Dans un tel cas, remplacer le pneu.

Chape neuve

Témoin d'usure
Chape usee
Il est nécessaire de replacer le pneu avant que le témoin d'usure n'apparaisse en travers de la chape.
REMARQUE
Les pneus s'abiment avec le temps, même si on ne les utilise pas pour rouler sur la route. Il est généralement recommandié de replacer les pneus lorsqu'ils sont dernux de 6 ans ou plus. La chaleur causee par l'utilisation en climat chaud ou sous conditions de forte charge peut accelerer le processus de vieillissement. Il faut replacer le pneu de la roue de secours quand on remplace les autres pneus, car le pneu de la roue de secours vieillit aussi. La date de fabrication du pneu (semaine et année) est indiquee par un numero à 4 chiffres.
Se référer à Etiquetage des pneus à la page 9-24.
Roue de secours à usage-temporaire
Vérifier la roue de secours-temporaire au moins une fois par mois, pour qu'elle soit toujours correctement gonflée et rangée.
REMARQUE
La condition de la roue de secours à usage temporaire se détière graduèlement même si elle n'a pas été utilisée.
La roue de secours à usage-temporaire est plus facile à manipuler car elle est plus légère et plus petite qu'une roue conventionnelle. Cette roue ne doit être utilisée qu'en cas d'urgence et sur une distance limitée.
N'utiliser la roue de secours temporaire que le temps nécessaire à la réparation de la roue conventionnelle, réparation qui doit être faite des que possible.
(Sauf Mexique)
Garder la pression de gonflage à 420kPa (4,2 bar, 60 psi).
(Mexique)
Garder la pression de gonflage à 250kPa (2,5 bar, 36 psi).

ATTENTION
Ne pas monter de pneu à neige ou normal sur la jante de la roue de secours à usage-temporaire. Ces pneus ne s'adapteront pas et cela risque d'endommager la jante et le pneu.
La roue de secours à usage temporaire a une surface de roulement de moins de 5.000 km (3.000 milles). La surface de roulement pourrait être encore plus courte selon les conditions de conduite.
L'utilisation de la roue de secours à usage-temporaire doit être limitée, cependant, si le témoin d'usure apparait en travers de la chape, replacer cette roue par une roue de secours temporaire du même type (page 8-44).
REMARQUE
Les pneus s'abiment avec le temps, même si on ne les utilise pas pour rouler sur la route. Il est généralement recommendé de replacer les pneus lorsqu'ils sont vais de 6 ans ou plus. La chaleur causee par l'utilisation en climat chaud ou sous conditions de force charge peut accelerer le processus de vieillissement. Il faut replacer le pneu de la roue de secours quand on replace les autres pneus, car le pneu de la roue de secours vieillit aussi. La date de fabrication du pneu (semaine et année) est indiquee par un numero a 4 chiffres. Se referrer a Etiquetage des pneus à la page 9-24.

Remplacement d'une roue

PRUDENCE
N'utiliser que des roues de dimensions correctes sur ce vehicule:
L'utilisation de roues de dimensions non spécifiées pour ce vehicule est dangereuse. Cela peut affecter le freinage et la conduite, ce qui peut causer une perte de contrôle du vehicule et un accident.

ATTENTION
Une roude de dimension autre que celle spécifiée peut affecter:
Ajustement du pneu
Durée de vie de la roue et du roulement de roue
Garde au sol
Espac necessitiesaire à la chaîne
Indication du compteur de vitesse
Alignment des phares
Hauteur des pare-chocs
Système de surveillance de pression des pneus
(Avec système de surveillance de pression des pneus)
Lors du remplacement ou de la réparation des pneus, des jantes ou des deux, faire faire le travail par un concessionnaire/agréé Mazda, sinon les capteurs de pression des pneus peuvent être endommagés.
Les jantes montées sur ce vehicule Mazda sont spécialement conçues pour l'installation de capteurs de pression des pneus. Ne pas utiliser des jantes non d'origine, car il peut ne pas être possible d'y installer les capteurs de pression des pneus.
REMARQUE
S'assurer d'installer les capteurs de pression des pneus lorsque les jantes ou les pneus sont replacés. Se référer à Pneus et jantes à la page 5-35.
En cas de remplacement d'une roue, veiller à ce que la roue neuve soit équivalente en diamètre, en largeur de jante et en déport (déport interne/externe), à la roue d'origine.
Un équilibrage correct des roues offre un
meilleur comfort de conduite et réduit
l'usure des pneus. Des roues
désequilibrées peuvent cause des
vibrations et entrainer une usure
irrégulière des pneus.
Ampoules

Feu de freinage auxiliaire

*Certains modèles.

PRUDENCE
Ne pas remplacer les ampoules à décharge en xénon soi-même:
Le fait de replacer des ampoules à décharge en xénon soi-même est dangereux. Etant donné que les ampôules à décharge en xénon requisérant une tension élevée, on risque de subir une décharge électrique si les ampôules ne sont pas manipulées correctement. Lorsque le remplacement des ampôules est requis, s'adresser à un concessionnaire/agréé Mazda.
Ne jamais toucher le verre d'une ampoule halogène avec les mains nues et toujours porter des lunettes de suturetés lors de la manipulation ou lorsque l'on travaille pres d'ampoules:
Si une ampoule halogène se casse,
cela est dangereux. Ces ampoules
contiennent du gaz sous pression. Si
une ampoule se casse, elle explosera
et les éclats de verre peuvent cause
de graves blessures.
Si le verre de l'ampoule est touché avec les mains nues, l'huile naturelle du corps peut faire que l'ampoule surchauffe et explode lorsqu'elle est allumée.
Toujours garder les ampoules halogènes hors de la portée des enfants:
Le fait de jouer avec une ampoule halogène est dangereux. Si l'ampoule tombe ou si elle se casse, cela peut causer de graves blessures.
Remplacement des ampoules d'éclairages extérieurs
Remplacement d'une ampoule de phare
Ampoule de faux route
- S'assurer que le contacteur est en position d'arrêt et que l'interrupteur des phares est coupé.
- Ouvrir le capot.
- Tourner l'ensemble douille et ampoule dans le sens contraire des aiguilles d'une montre et le retarder. Retirer prudemment l'ampoule de feu de route de la douille du reflecteur en la tirant doucement tout droit hors de la douille.
- Debrancher l'ampoule du connecteur électrique en appuyant sur la languette du connecteur avec un doigt et en tirant l'ampoule vers le haut.

- Installer la nouvelle ampoule en procédant dans l'ordre inverse des opérations de retrait.
REMARQUE
- Pour replacer l'ampoule, s'adresser à un concessionnaire/agréé Mazda.
- Si l'on touche l'ampoule halogène par mègarde, il faut la nettoyer en la frottant avec de l'alcool avant de l'utiliser.
Utiliser le protecteur et l'emballage de la nouvelle ampoule pourmettre au rebut, hors de portee des enfants,l'ancienne ampoule.
Ampoule de feu des croisement
(Ampoule à décharge en Xénon)
Il n'est pas possible de replacer les ampoules des yeux de croissement des phares soi-même.
Les ampoules doivent être replacées par un concessionnaire/agréé Mazda.
(Ampoule halogène)
- Veiller à ce que l'interrupteur des phares soit coupé.
-
Pour changer l'ampoule de feu de croisement droite, démarrer le moteur, tourné le volant de direction à fond vers la droite, et arrêté le moteur. Pour changer l'ampoule de feu de croisement gauche, tourné le volant de direction à fond vers la gauche.
-
Tournier les vis et la section centrale des pieces de retenue en plastique dans le sens contraire des aiguilles d'une montre et les retirer, puis decoller partiellement le garde-boue vers l'arrière.

- Débrancher le connecteur électrique de l'ampoule en le tirant vers l'arrière.

- Tirer le couvercle d'étanchéité pour le retirer.
-
Decrocher le ressort de retenue de l'ampoule.
-
Basculer le ressort de retenue vers l'extérieur pour libérer l'ampoule.

- Retirer soigneusement l'ampoule de la douille et le tirant droit vers l'arrière.

- Remplacer l'ampoule.
- Installer la nouvelle ampoule en procédant dans l'ordre inverse des opérations de retrait.
REMARQUE
- Pour remplaçer l'ampoule, s'adresser à un concessionnaire/agréé Mazda.
- Si l'on touche l'ampoule halogène par mègarde, il faut la nettoyer en la frottant avec de l'alcool avant de l'utiliser.
Utiliser le protecteur et l'emballage de la nouvelle ampoule pourmettre au rebut, hors de portee des enfants,l'ancienne ampoule.
Feux de position avant
- Veiller à ce que l'interrupteur des phares soit coupé.
- Pour changer une ampoule dans le corps de phare droit, demarrer le moteur, tournier le volant de direction à fond vers la droite, et arreter le moteur. Pour changer une ampoule dans le corps de phare gauche, tournier le volant de direction vers la gauche.
- Tourner les vis et la section centrale des pièces de retenue en plastique dans le sens contraire des aiguilles d'une montre et les retirer, puis décoller partiellement le garde-boue vers l'arrière.

-
Tourner l'ensemble douille et ampoule dans le sens contraire des aiguilles d'une montre et le retarder.
-
Debrancher l'ampoule de la douille.

- Installer la nouvelle ampoule en procédant dans l'ordre inverse des opérations de retrait.
REMARQUE
Pour remplaçer l'ampoule, s'adresser à un concessionnaire/agréé Mazda.
Clignotants avant/Feux de stationnement
- S'assurer que le contacteur est en position d'arrêt et que l'interrupteur des phares est coupé.
- Desserrer les vis fixant l'unité.

-
Retirer l'unité en la tirant vers l'extérieur avec les deux mains.
-
Debrancher le connecteur de l'unité en appuyant sur la languette du connecteur avec un doigt et en tirant le connecteur vers le bas.

- Tourner l'ensemble douille et ampoule dans le sens contraire des aiguilles d'une montre et le retarder.
- Debrancher l'ampoule de la douille.

- Installer la nouvelle ampoule en procédant dans l'ordre inverse des opérations de retrait.
REMARQUE
Pour remplaçer l'ampoule, s'adresser à un concessionnaire/agréé Mazda.
Antibrouillards*
- S'assurer que le contacteur est en position d'arrêt et que l'interrupteur des phares est coupé.
- Desserrer les vis fixant l'unité.

- Retirer l'unité en la tirant vers l'extérieur avec les deux mains.
- Debrancher le connecteur de l'unité en appuyant sur la languette du connecteur avec un doigt et en tirant le connecteur vers le bas.

- Desserrer les vis fixant l'unité d'antibrouillard.

- Appuyer sur la languette de la douille de l'ampoule et déconnecter le cordon du connecteur.
- Faire tourner la douille de l'ampoule dans le sens contraire des aiguilles d'une montre comme illustré, et la retirer.

- Installer la nouvelle ampoule en procédant dans l'ordre inverse des opérations de retrait.
REMARQUE
- Pour replacer l'ampoule, s'adresser à un concessionnaire/agréé Mazda.
- Si l'on touche l'ampoule halogène par mègarde, il faut la nettoyer en la frottant avec de l'alcool avant de l'utiliser.
Utiliser le protecteur et l'emballage de la nouvelle ampoule pourmettre au rebut, hors de portee des enfants,l'ancienne ampoule.
Feux de freinage/Feux arrêté, clignotants arrêté, deux de recul, deux de position arrêté
- S'assurer que le contacteur est en position d'arrêt et que l'interrupteur des phares est coupé.
- Retirer le couvercle.

- Tourner l'ensemble douille et ampoule dans le sens contraire des aiguilles d'une montre et le prisoner.
- Debrancher l'ampoule de la douille.

Feux de position arrêté
Feux de freinage/Feux arrêté


Clignotants arrêté

Feux de recul
- Installer la nouvelle ampoule en procédant dans l'ordre inverse des opérations de retrait.
REMARQUE
Pour remplaçer l'ampoule, s'adresser à un concessionnaire/agréé Mazda.
Feu de freinage auxiliaire, Clignotants lateraux
En raison de la complexité et la difficulté des opérations, confier le remplacement des ampoules LED à un concessionnaire agréé Mazda.
REMARQUE
Le remplacement de l'ampoule LED n'est pas possible car elle est intégrée à l'unité. Remplacer l'unité.
Feux de plaque d'immatriculation
- S'assurer que le contacteur est en position d'arrêt et que l'interrupteur des phares est coupé.
-
A l'aide d'un tournevis à tête plate enveloppè d'un chiffon, pour éviter d'endommager la lentille,steroler la lentille en la soulevant doucement par le bord en faisant levier avec le tournevis à tete plate.
-
Debrancher l'ampoule en la tirant.

- Installer la nouvelle ampoule en procédant dans l'ordre inverse des opérations de retrait.
Remplacement des ampoules d'éclairages interieurs
Eclairage au pavillon (Avant)/Lampes de lecture
En raison de la complexité et la difficulté des opérations, confier le remplacement des ampôules à un concessionnaire agréé Mazda.
Eclairage au pavillon (arrière), éclairage de compartment à bagages, éclairages de miroir de pare-soleil
- A l'aide d'un petit tournevis à tête plate enveloppè d'un chiffon, pour éviter d'endommager la lentille,steroler la lentille en la soulevant doucement par le bord.
- Debrancher l'ampoule en la tirant.
Eclairage au pavillon (arrière), Eclairage de compartment et bagages

Eclairages de miroir de pare-soleil

3. Installer la nouvelle ampoule en procédant dans l'ordre inverse des opérations de retrait.
Fusibles
Le circuitélectrique du vehicule est protégé par des fusibles.
Si un des feuux, accessoires ou commandes ne fonctionne pas, vérifier la protection du circuit relié. Si un fusible est fondu, le filament se trouvant à l'intérieur sera coupé.
Si le même fusible fond de nouveau, ne pas utiliser ce système et s'adresser à un concessionnaire agréé Mazda dés que possible.
Remplacement d'un fusible
Remplacement des fusibles sur le côte conducteur
Si un circuit électrique ne fonctionne pas, vérifier en premier les fusibles du côté conducteur.
-
S'assurer que le contacteur est en position d'arrêt et que les autres interrupteurs sont hors tension.
-
Ouvrir le couvercle de la boite à fusibles.

- Tirer le fusible tout droit vers l'extérieur à l'aide de l'outil de retrait se trouvant à l'intérieur du couvercle de la boîte à fusibles.

- Vérifier le fusible et le replacer s'il est fondu.

Normal

Fondu
- Insérer un fusible neuf de même valeur, et s'assurer qu'il est fermement installé. S'il n'est pas fermement installé, le faire installer par un mécanien experimenté. Un concessionnaire agrée Mazda est recommendé. Si un fusible de rechange n'est pas disponible, utiliser un fusible de même valeur d'un circuit non nécessaire à la conduite du vehicule, comme le fusible ROOM.

ATTENTION
Toujours remplacer un fusible par un de la même valeur. Sinon cela risque d'endommager le circuit électrique.
- Reinstaller le couvercle en prenatal soin qu'il est bien installé.
Remplacement des fusibles sous le capot
Si les phares ou d'autres composantes électriques ne fonctionnent pas et que les fusibles se trouvant dans l'habitacle sont corrects, vérifier le porte-fusibles situé dans le compartment moteur. Si un des fusibles est fondu, il doit être remplace. Suivre les étapes suivantes:
- S'assurer que le contacteur est en position d'arrêt et que les autres interrupteurs sont hors tension.
- Retirer le couvercle du porte-fusibles.

- Si un des fusibles autres que le fuseble MAIN est fondu, le replacer par un de même ampérage.

Normal

Fondu
PRUDENCE
Ne pas remplacer le fusible principal soi-même. Confier le remplacement à un concessionnaire agréé Mazda:
Il est dangereux de replacer soimeme le fusible, car le fusible MAIN est un fusible a haute intensite de courant. Si I'on effectue incorrectement le remplacement, on risque de se faire electrocutter ou de causer un court-circuit pouvant entrainer un incendie.
4. Reinstaller le couvercle ennant soin qu'il est bien installé.
Description des panneaux à fusibles
Porte-fusibles (Compartment moteur)

| DESCRIPTION | VALEUR DE FUSIBLE | COMPOSANTE PROTEGEE | |
| 1 | PCS | — | — |
| 2 | BLOWER | 40 A | Climatisationur |
| 3 | FUEL PUMP | 30 A | Pompe à carburant |
| 4 | FAN 2 | 40 A | Ventilateur de refroidissement |
| 5 | IG KEY 1 | 40 A | Pour la protection de plusieurs circuits |
| 6 | FAN 1 | 40 A | Ventilateur de refroidissement |
| 7 | P.SEAT (D) | 30 A | Sièges électriques* |
| 8 | INJ 1 | 30 A | Système de commande du moteur* |
| 9 | P.SEAT (P) | 30 A | Sièges électriques* |
| 10 | BOSE | 30 A | Système audio Bose®* |
| 11 | ENGINE | 30 A | Système de commande du moteur |
| 12 | D.LOCK | 20 A | Verrouillages électriques des portières |
| 13 | P.WIND | 30 A | Lève-vitres électriques |
| 14 | IG KEY 2 | 40 A | Pour la protection de plusieurs circuits |
| 15 | ABS 1 | 40 A | ABS |
| 16 | ABS 2 | 20 A | ABS |
Entretien réalisable par le propriété
| DESCRIPTION | VALEUR DE FUSIBLE | COMPOSANTE PROTEGEE | |
| 17 | DSC | — | — |
| 18 | H/L CLEAN/ROOF | 20 A | Toit ouvrant transparent* |
| 19 | DEF | 30 A | Dégivreur de lunette arrêté |
| 20 | TNS | 15 A | Feux de stationnement, yeux de plaque d'immatriculation, éclairage |
| 21 | A/C | 10 A | Climatisationur |
| 22 | TRAILER/TCM | 20 A | Système de commande de boîte de vitesse* |
| 23 | HEAD HI RH | 15 A | Feux de route des phares (Droite) |
| 24 | HEAD HI LH | 15 A | Feux de route des phares (Gauche) |
| 25 | HEAD LO RH | 15 A | Feux de croisement des phares (Droite) |
| 26 | HEAD LO LH | 15 A | Feux de croisement des phares (Gauche) |
| 27 | ETC | 10 A | Système de commande du moteur* |
| 28 | ENG BAR 2 | 7,5 A | Système de commande du moteur |
| 29 | ECM | 10 A | Système de commande du moteur |
| 30 | INJ 2 | 10 A | Système de commande du moteur* |
| 31 | ENG BAR 1 | 15 A | Système de commande du moteur |
| 32 | FOG | 15 A | Antibrouillards* |
| 33 | STOP | 10 A | Feux de freinage |
| 34 | HORN | 20 A | Avertisseur |
| 35 | ENG B+ | 25 A | Système de commande du moteur |
| 36 | HAZARD | 10 A | Feux de détresse, clignotants |
Porte-fusibles (Côté conducteur)

| DESCRIPTION | VA-LEUR DE FUSIB-LE | COMPOSANTE PROTEGEE | |
| 1 | P.WIND 2 | 30 A | Lève-vitres électriques |
| 2 | OUTLET 1 | 15 A | Prise des accessoires |
| 3 | P.MIR | 7,5 A | Rétroviseur à commande à distance |
| 4 | OUTLET 2 | 15 A | Prise des accessoires |
| 5 | SCR | — | — |
| 6 | WIPER | 20 A | Essuie-glace et lave-glace de pare-brise |
| 7 | M.DEF | 7,5 A | Dégivreur de rétroviseur* |
| 8 | P/ST/ENGBAR 3 | 7,5 A | Système de commande du moteur |
| 9 | P.WIND | — | — |
| 10 | A/B | 7,5 A | Coussin d'air |
| 11 | ENGINE | 15 A | Système de commande du moteur |
| 12 | METER | 15 A | Combiné d'instruments |
| 13 | ILLUMI | 10 A | Eclairage du tableau de bord |
| 14 | ROOM | 15 A | Système audio, éclairage au pavillon |
| 15 | R.FOG | — | — |
| 16 | SIREN | — | — |
Entretien réalisable par le propriété
| DESCRIPTION | VA-LEUR DE FUSIB-LE | COMPOSANTE PROTEGEE | |
| 17 | SEAT | 20 A | Chauffage de siège* |
| 18 | A/C | 10 A | Climatisationur |
| 19 | R.WIP | 10 A | Essuie-glace et lave-glace de lunette arrêté |
Pour éviter les dommages à la peinture causés par l'environnement
Le procédé de peinture de votre Mazda incorpore les derniers développements techniques de composition et de méthodes d'application.
Cependant, si l'entretien correct n'est pas apporté, l'environnement peut affecter les propriétés protecrices de la peinture.
Ci-dessous sont indiqués quelques exemples de dommages possibles et des conseils sur comment les éviter.
Dommages causés par les pluies acides ou les retombées chimiques
Apparition
Les polluants industriels et les émissions d'échévement des vehicules automobiles se mélangent dans l'air avec la pluie ou l'humidité pour former des retombées acides. Ces acides peuvent restomer sur le fini du vehicule. Lorsque l'eau s'évapore, la concentration de l'acide augmente et peut endommager le fini. Le plus longtemps cet acide reste sur la surface, plus elevés sont les risques de dommages.
Prévention
Il est nécessaire de laver et cirer le vehicule, suivant les instructions fournies dans cette section, pour protégger son fini. Ceci avait été fait des que l'on pensé que des retombées acides se sont déposées sur le vehicule.
Dommages causés par les excréments d'oiseaux, les insectes ou la sève d'arbre
Apparition
Les excréments d'oiseaux contiennent des acides. S'ilns ne sont pas retirees,ils peuvent attaquer la couche transparente et de couleur de la peinture du vehicule.
Lorsque des insectes collent à la surface peinte et se décomposent, des composés corrosifs se forment. S'ilns ne sont pas retirees, ils peuvent éroder la couche transparente et de couleur de la peinture du vehicule.
La sève d'arbre durcira et collera au fini.
Si l'onessaie de retirer de la sève durcie,
on risque de retirer de la peinture.
Prévention
Il est nécessaire de laver et cirer le vehicule, suivant les instructions fournies dans cette section, pour protéger son fini. Ceci devrait être faitès que possible.
Les excréments d'oiseaux peuvent être rétérés à l'aide d'une éponge douce et de l'eau. Si lors d'un voyage, une éponge n'est pas disponible, un mouchoir en papier mouillé peut aussi être utilisé. L'endroit nettoyé devrait être cière suivant les instructions fournies dans cette section.
Les insectes et la sève d'arbre peuvent être rétérés à l'aide d'une éponge douce et de l'eau ou d'un produit de nettoyage disponible dans le commerce.
On peut aussi couvir l'endetroit affecté, d'un journal mouillé,pendant une a deux heures. Retirer ensuite le journal et rincer à l'eau les débris restants.
Marques d'eau
Apparition
La pluie, le brouillard, l'humidité et même l'eau courante peut contenir des mineraux nuisibles, tel que du sel et des dépôts. Si de l'humidité contenant des mineraux se dépose sur le vehicule puis s'évapore, les mineraux se concentrent et durcissant pour former des ronds blancs. Ces ronds peuvent endommager le fini du vehicule.
Prévention
Il est nécessaire de laver et cirer le vehicule, suivant les instructions fournies dans cette section, pour protégger son fini. Ceci devrait être fait des que l'on découvert des tâches d'eau sur le fini du vehicule.
Ecaillage de la peinture
Apparition
L'écaillage de la peinture se produit lorsque des graviers projétés en l'air par les pneus d'autre vehicules retombent sur le vehicule.
Pour éviter l'écaillage de la peinture
Garder une distance adequate entre ce vehicule et le vehicule que l'on suit, pour réduire les risques d'ecaillege de la peinture dus à des projections de graviers.
REMARQUE
- La zone de risque d'écaillage de la peinture varie suivant la vitesse du vehicule. Par exemple, à 90 km/h (56 mi/h), la zone de risque d'écaillage de la peinture est de 50 metres (164 pieds).
- Lorsqu'il fait froid, le fini du vehicule durcit. Ceci augmente les risques d'écaillage de la peinture.
- Un écallement de la peinture peut entrainer la formation de rouille sur le vehicule Mazda. Pour éviter ici, réparer les dommages à l'aide de peinture de retouché Mazda, tel qu'indiqué dans cette section. Sinon, la rouille peut s'étendre et entrainer des réparations couteuses.
Entretienextérieur
Toujours lire toutes les instructions mentionnées sur l'étiquette lors de l'utilisation de tout produit chimique de nettoyage ou de lustrage. Lire également tous les avertissements et remarques.
Entretien du fini
Lavage
ATTENTION
Lorsque le levier d'essuie-glace est sur la position AUTO et que le contacteur est mis sur la position ON, les essuie-glaces peuvent semettre en marche automatiquement dans les cas suivants:
Si le pare-brise au-dessus du capteur de pluie est touché ou essuyé avec un chiffon.
Si le pare-brise est.frappé avec la main ou un autre objet à partir de l'extérieur ou de l'intérieur du vehicule.
Ne pasapprocher les mains et les grattoirs du pare-brise lorsque le levier d'essuie-glaces est sur la position AUTO et que le contacteur est sur la position ON,car les doigts pourraient etre pincés ou les essuie-glaces et les balais d'essuie-glaces pourraient etre endommagés lorsqu'ils sont activés automatiquement. Lorsqu'on veut nettoyer le parebrise,veiller a eteindre complètementles essuie-glaces — surtout lorsqu'on elimine la glace et la neige — quand on laisse le moteur tourner.
Ne pas asperger d'eau dans le compartment moteur. Sinon, cela peut entraîner des problèmes de démarrage du moteur ou endommager les pieces du circuit électrique.
Pour protégger le fini contre la rouille et la déterioration, laver ce vehicule Mazda complètement et féquemment, au moins une fois par mois, avec de l'eau tiède ou froide.
Si le vehicule n'est pas lavé correctement, la peinture risque d'être égratignée. Voici quelques exemples qui indiquent les situations où des égratignures peuvent se produit.
Des égratignures se produit si:
Le vehicule est lavé avant d'avoir rince la poussière ou autre matière étrangère.
Le vehicule est lavé avec un chiffon réche, sec ou sale.
- Le vehicule est lavé dans un lave-auto automatique dont les brosses sont sales ou trop dures.
- Des nettoyants ou cires contenant des produits abrasifs sont utilisés.
REMARQUE
- Mazda ne peut pas être tenue responsable pour les égratignures causées par un lave-auto automatique ou par un lavage incorrect.
- Les égratignures seront plus évidentes sur des vehicules dont la peinture estASFRE.
Pour réduire les égratignures de la peinture du vehicule:
- Rincer la poussière ou autre matière étrangère à l'eau tiède ou froide avant le lavage.
Utiliser beaucoup d'eau tiède ou froide et un chiffon doux pour laver le vehicule. Ne pas utiliser de chiffon en nylon. - Frotter sans appliquer de pression lors du lavage ou du séchage du vehicule.
-
Ne laver le vehicule que dans un laveauto dont les brosses sont bien entretenues.
-
Ne pas utiliser de nettoyants ou cires contenant des produits abrasifs.
ATTENTION
Ne pas utiliser de laine d'acier, de produits de nettoyage abrasifs ou de déterments puissants contenant des agents fortement alcalins ou caustiques sur les parties chromées ou en aluminium anodisé. Cela risque d'endommager la couche de protection et provoquer une décoloration ou une détérioration de la peinture.
Pour ne pas endommager l'antenne, la retirer avant d'entre dans un lave-auto ou avant de passer sous un obstacle bas.
Veiller à retarder le SEL, la poussière, la boue et autre matière du dessous des ailes, et s'assurer que les troughs d'évacuation des bords inférieurs des portières et panneaux de bas de caisse sont propres.
Les insectes, le goudron, la sève d'arbre, les excréments d'oiseaux, les retombées chimiques et toute autre accumulation peuvent endommager le fini s'ils ne sont pas retrés immédiatement. Lorsqu'un simple lavage à l'eau n'est pas efficace, utiliser un savon doux pour automobiles.
Rincer à fond le savon, à l'eau tiède ou froide. Ne pas laisser le savon sécher sur le fini.
Après avoir lavé le vehicule, le sécher à l'aide d'une peau de chamois propre pour éviter la formation de taches d'eau.
APRUDENCE
Secher les freins qui sont devenus mouillés en conduisant lentement, en relachant la pédale d'accélérateur et en appliquant légèrement les freins à plusieurs reprises jusqu'à ce que le freinage soit redevenu normal:
Le fait de conduire avec des freins mouillés est dangereux. Une distance d'arrêt plus longue ou le vehicule tirant d'un côte lors du freinage peut entrainer un accident grave. Une légère application des freins indiquera s'ils sont affectés par l'eau.
Lors d'un lavage de voiture à l'eau sous haute pression
Des stations de lavage de voitures avec de l'eau à la température et la pression élevées sont disponibles en fonction du type de machine de lavage de voiture. Si le giclur de la station de lavage de voitures est place trop pres du vehicule, la force du jet peut endommager ou déformer la moulure, affecter l'étanchéité des pièces et laisser de l'eau pénétrer à l'intérieur. Conserver une distance suffisante (30 cm ou plus) entre le giclur et le vehicule. Par ailleurs, ne passer pas trop de temps à asperger la même zone du vehicule et faire attention très prudent quand vous aspergez entre les espaces dans les portes et autour des fenêtres.
Cirage
Le vehicule doit être cié si l'eau ne perle plus sur les surfaces peintes.
Toujours laver et sécher le vehicule avant de le cirer. En plus de cirer la carrosserie, cirer les garnitures métalliques pour protégger leur lustre.
- Utiliser une cire qui ne contient pas d'abrasifs.
Sinon, elle risque de retarder la peinture et d'endommager les pieces métalliques brillantes. - Utiliser une cire naturelle de bonne qualite conque pour les couleurs metalliques, mica ou uniformes.
- Lors du cirage, appliquer une couche uniforme à l'aide de l'épange fournie ou d'un chiffon doux.
- Essuyer la cire à l'aide d'un chiffon doux.
REMARQUE
Lorsque l'on utilise un nettoyant pour retarder l'huile, le goudron ou autres, cela enlève aussi la cire. Cirer ces surfaces de nouveau, même si le vehicule ne nécessite pas de cirage.
Réparation des endommagements du fini
Toute rayure profonde ou écallement du fini doit être réparé au plusôt. Tout métal exposé rouillera et cela entraînera des réparations majores.
ATTENTION
Si ce vehicule Mazda est abimé et nécessite que des panneaux métalliques soient réparés ou remplaces, s'assurer que l'atelier de réparation de carrosserie applique du produit antirouille à toutes les pièces, celles réparées ainsi que les neuves. Ceci pour éviter qu'elle ne rouillent.
Réparation des endommagements du fini
Réparer tout endommagement de la peinture causé par la projection de pierre, lors du stationnement du vehicule, etc. en utilisant de la peinture pour retouches Mazda avant que la rouille ne commence à apparaitre. Retirer d'abord la saleté et laGRAISE avec un chiffon propre et doux.
Si la rouille est déjà evidente:
- Retirer toute la rouille avec du papier de verre.
- Essuyer avec un chiffon doux et propre.
- Appliquer une couche d'après antirouille sur la partie en question.
- Avec que la couche soit complètement sèche, appliquer une couche de peinture appropriée sur la partie en question.
Naturellement, il n'y aura aucun probleme si le travail est confié à un concessionnaire/agréed Mazda.
Protection des structures creuses
Les structures creuses recoivent une protection à l'usine, cependant une protection supplémentaire, après que le vehicule ait eté utilisé, prolongera la longévité de la carrosserie. Pour plus de détails concernant cette précaution supplémentaire, nous conseillons de consulter un concessionnaire/agree Mazda.
Entretien des parties métalliques brillantes
Utiliser un produit de nettoyage pour retarder le goudron et les insectes. Ne jamais utiliser de couteau ou autre outil.
- Pour protégger les surfaces des pieces métalliques brillantes contre la corrosion, appliquer de la cire ou un produit de protection pour chromosomes et frottier jusqu'à ce que la surface brille.
- En hiver ou dans les régions côtières, recouvrir les parties métalliques brillantes d'une couche plus épaisse de cière ou de produit de préparation. Si nécessaire, enduire ces parties de gelée de petrole non corrosive ou de tout autre produit protecteur.
ATTENTION
Ne pas utiliser de laine d'acier, de produits de nettoyage abrasifs ou de déterments puissants contenant des agents fortement alcalins ou caustiques sur les parties chromées ou en aluminium anodisé. Cela risque d'endommager la couche de protection et de provoquer une décoloration ou une déterioration de la finition.
Entretien du dessous de la carrosserie
Les produits chimiques et le calcium utilisés pour retarder la glace et la neige ainsi que les produits anti-poussière peuvent s'accumuler sur le dessous de la carrosserie. S'ils ne sont pas retirés, ils causeront une corrosion prematurée et la déterioration des pieces du dessous de la carrosserie, tel que les conduites d'alimentation, le chassis, le plancher et le système d'échévement, même si ces pieces sont recouvertes d'un produit antirouille.
Rincer le dessous de la carrosserie et des ailes avec de l'eau tiède ou froide à la fin de chaque hiver. Si possible, faire aussi cette opération une fois par mois.
Faire attention à ces endroits car il est difficile de voir la boue et la saleté qui s'y accumule. Si la saleté accumulée est mouillée s'assurer de la retirer, sinon cela aura un effet contraire.
Le bord inférieur des portières, les panneaux de bas de caisse et les poutres du chassin sont des trouss d'évacuation d'eau qui doivent être gardés débouchés. L'eau qui s'y accumulerait fait rouiller le vehicule.
PRUDENCE
Faire sécher les freins mouillés en conduisant à très bassé vitesse et en appliquant les freins jusqu'à ce que le freinage soit de nouveau normal:
Le fait de conduire avec des freins mouillés est dangereux. Une distance d'arrêt plus longue ou le vehicule tirant d'un côte lors du freinage peut entraîner un accident grave. Une légère application des freins indiquera s'ils sont affectés par l'eau.
Sous-couche
Cette couche spéciale est appliquée sur les pieces critiques du dessous de la carrosserie afin de protégger les vehicules contre les produits chimiques et les projections de pierres. Cette couche est susceptible d'être endommagée avec le temps. Par conséquent, vérifier la couche périodiquement.
Les concessionnaires agrésés Mazda savent parfaitement comment effectuer les réparations. S'adresser à un concessionnaire agréé Mazda.
Entretien des roues en aluminium*
Une couche protectrice est appliquée sur les roues en aluminium. Un entretien particulier est nécessaire pour protéger cette couche de finition.
ATTENTION
N'utiliser qu'un détergent doux.
Avant d'utiliser un détergent, vérifier les ingrédents. Sinon, le produit pourrait décolorer ou tâcher les roues en aluminium.
REMARQUE
- Ne pas utiliser de nettoyant abrasif, de pâté à polir, de solvant ou de Brosse métallique pour nettoyer les roues en aluminium. Ces moyens de nettoyage pourraient endommager la couche de finition.
- Toujours utiliser une éponge ou un chiffon doux pour nettoyer les roues. Bien rincer les roues à l'eau tiède ou froide. Pour empêcher la corrosion, s'assurer également de nettoyer les roues après avoir conduit sur des routes poussièresuses ou recouvertes de sel d'épandage.
- Eviter de laver le vehicule dans un laveauto automatique qui utilise des brosses de lavage à haute vitesse ou des brosses dures.
- Si les roues en aluminium perdent de leur lustre, les cirer.
(Avec système de surveillance de pression des pneus)
Consulter les exigences en matière de système de surveillance de la pression des pneus. Se référer à Pneus et jantes à la page 5-35.
Entretien des pieces en plastique
-
Lorsqu'on nettoie les lentilles en plastique des feu, ne pas utiliser d'essence, de petrole, d'alcool rectifié, de diluant pour peinture, de déterments très acides ou de déterments fortement alcalins. Sinon, ces produits chimiques pouraient décolorer ou endommager les surfaces, ce qui pourrait cause une perte importante de fonctionnalité. Si des pieces en plastique sont exposées par mégarde à l'unquelconque de ces produits chimiques, les rincer immédiatement à l'eau.
-
Si des pièces en plastique telles que les pare-chocs sont exposés accidentellement à des produits chimiques ou à des liquides tels que de l'essence, de l'huile, du liquide de refroidissement du moteur ou du liquide de batterie, ceci pourrait cause une décoloration, des taches ou un écaillage de la peinture. Eliminer immédiatement de tels produits chimiques ou de tels liquides en essuyant avec un chiffon doux.
- Des stations de lavage de voitures avec de l'eau à température et pression élevées sont disponibles en fonction du type de dispositif de lavage de voiture à pression élevée. Si lebec de lavage de voiture est mis trop pres du vehicule ou qu'il est dirigé vers une zone particulière pendant une durée prolongée, ceci risque de déformer les pieces en plastique ou d'endommager la peinture.
- Ne pas utiliser de cire contenant des composés (produit de lustrage). Sinon, la peinture pourrait être endommagée.
- En outre, ne pas utiliser d'outil électrique ou pneumatique pour appliquer la cire. Sinon, la chaleur de frottement produit pourraitdéformer les pieces en plastique ou endommager la peinture.
Entretien de l'habitatcle

PRUDENCE
Ne pas asperger d'eau dans la cabine:
Asperger d'eau les composants électriques tels que l'unité audio et les commutateurs est dangereux car cela pourrait provoquer une anomalie ou un incendie.
Protection du tableau de bord
Empêcher tout contact de solutions caustiques tel que parfums et huiles cosmétiques avec le tableau de bord. Elles endommageront et provoqueront une décoloration du tableau de bord. Si l'une de ces solutions vient en contact avec le tableau de bord, l'essuyer immédiatement.

ATTENTION
Ne pas utiliser de composés de glaçage.
Les composés de glaçage contiennent des ingréductents qui peuvent cause une décoloration, la formation de rides, de fissures et le pelage.
Nettoyage des garnitures de l'habitacle
Vinyle
Retirer la poussière et les saletés avec une brosse à poils longs ou un aspirateur.
Nettoyer les surfaces en vinyle avec un produit de nettoyage pour le cuir ou le vinyle.
Cuir*
Tout d'abord enlever la poussière et le sable avec un aspirateur ou d'autres moyens, puis essuyer la poussière en utilisant un chiffon doux imbibé de nettoyant pour cuir ou un chiffon doux imbibé de savon doux.
Essuyer le nettoyant ou le savon restant en utilisant un chiffon imbibé d'eau propre puis bien essore.
Retirer l'humidité avec un chiffon doux et sec puis laisser sécher le cuir davantage dans une zone bien ventilée à l'ombre. Si le cuir a été mouillé par la pluie, alors éponger l'eau aussitôt que possible et laisser sécher.
REMARQUE
- Parce que le cuir veritable est un matériel naturel sa surface n'est pas régulière. Il peut y avoir dessus des cicatrices, des griffures et des rides.
- Il est recommandé de l'entreinir périodiquement environ deux fois par an pour maintainir sa qualité aussi longtemps que possible.
- Le sable et la poussière sur la surface du siège peuvent endommager le manteau des surfaces en cuir veritable et provoquer une accélération de l'usure.
- Des salissuresGRAisseuses sur du cur veritable peuvent cause des coulées et des taches.
- Frotter énergiquement avec unerosse ou un chiffon dur peut aussi l'endommager.
- Ne pas froter le cuir avec de d'alcool, de l'eau de javel, ou des solvants organiques tels que des diluants, benzène ou de l'essence. Autrement cela pourrait résulter en décoloration ou taches.
- Si les sièges sont mouillés, éponger l'eau de suite avec un chiffon sec. L'humidité restante sur la surface peut provoquer des déteriorations telles qu'un durissement ou rétrécissement.
- L'exposition aux rayons directs du soleil pendant de longues périodes peut entraîner une déterioration et un rétrécissement. Lors du stationnement de la voiture en plein soleil pendant de longues heures, créer de l'ombre à l'intérieur en utilisant des pare-soleils.
- Ne pas laisser d'objets en vinyle sur les sièges pendant de longues périodes car ils risquent de nuire à la souplesse et à la coucleur du cuir. Si la température de la cabine devient très chaude, le vinyle peut alors se déteriorer et adhérer ainsi au cuir veritable.
Tissu
Retirer la poussière et les saletés avec une brosse à poils longs ou un aspirateur. Le nettoyer avec une faible solution de savon pour tapissages ou tapis. Retirer les taches fraîches avec un produit détachant pour tissus.
Entretenir le tissu pour qu'il garde une apparcènce propre. Sinon, ses couleurs peuvent être affectées, il se salira facilement et ses propriétés ignifuges peuvent être réduites.
ATTENTION
Utiliser uniquement les nettoyeurs et les procédés recommends. Sinon, l'apparce et la résistance au feu du produit risqueront d'être négativement affectées.
Panneau piano noir
Les pieces suivantes sont équipées de panneaux traités d'une couche de protection résistant aux éraflues.
- Panneau central
- Panneau d'interrupteurs de portière
- Volant de direction (partiel)
Lorsque le panneau a besoin d'être nettoyé, utiliser un chiffon doux pour enlever la saleté de la surface.
REMARQUE
Les éraflures ou entailles sur les panneaux resultant de l'utilisation d'une Brosse ou d'un chiffon dur peuvent ne pas être réparables.
Nettoyage des ceintures abdominale-baudrier
Nettoyer la sangle avec une solution savonneuse appropriée pour garniture ou tapis. Suivre les instructions. Ne pas blanchir ou reteindre les sangles car cela pourrait réduire leur résistance.
Après avoir nettoyé les ceintures de sécurité, bien secher les sangles et s'assurer qu'il ne reste aucune humidité avant de les rétractor.
PRUDENCE
Faire replacer les ceintures de sécurité endommagées par un concessionnaire/agree Mazda immédiatement:
L'utilisation de ceintures de sécurité endommagées est dangereuse. En cas de collision, des ceintures de sécurité endommagées ne fourniront pas une protection ajustée.
Nettoyage des vitres de l'habitacle
Si les surfaces interieures des vitres du vehicule sont sales, recouvertes d'une pellicule de graisse, d'huile ou de cire, les laver avec un produit de nettoyage pour vitres. Suivre les instructions fournies avec le produit.
ATTENTION
Ne pas gratter ou griffer l'intérieur du verre de la vitre. Cela pourrait endommager les filaments thermiques.
Lors du nettoyage de l'intérieur du verre de la vitre, utiliser un chiffon doux impregné d'eau tiège pour essuyer doucement les filaments thermiques. L'utilisation de produits de nettoyage pour verre pourrait endommager les filaments thermiques.
Nettoyage des tapis de plancher
Le nettoyage des tapis de plancher en caoutchouc peut etre fait a l'aide de savon doux et d'eau uniquement.
PRUDENCE
Ne pas utiliser des nettoyants pour le caoutchouc comme un nettoyant ou un lustrant pour les pneus pour nettoyer les tapis de plancher en caoutchouc:
Les tapis de plancher seront glissants s'ils sont nettoyés avec des produits nettoyants pour caoutchouc.
Cela peut entrainer un accident lorsqu'on enforce la pédale d'accéléateur ou de frein ou pour entraire dans le vehicule ou en ressortir.
Après avoir retire les tapis de plancher pour les nettoyer, toujours les réinstaller de manière sécurisée. Se réferer à la section Tapis de plancher à la page 4-10.
9
Informations à la clientèle et signalement des problèmes de sécurité
Informations importantes pour le client incluant les garanties et les accessoires.
Assistance à la clientèle 9-2
Assistance à la clientèle (Etats-Unis)... 9-2
Assistance à la clientèle (Canada) 9-7
Assistance à la clientèle (Puerto Rico) 9-10
Assistance à la clientèle (Mexique) ... 9-11
Importateur/distributeurs Mazda .... 9-13
Importateur/Distributeur 9-13
Distributeur regional 9-13
Garantine 9-15
Garanties applicables à ce vehicule
Mazda 9-15
Utilisation du vehicule en dehors des Etats-Unis et du Canada 9-16
Utilisation du vehicule en dehors des Etats-Unis 9-17
Utilisation du vehicule en dehors du Canada 9-18
Immatriculation du vehicule à l'étranger (Sauf Etats-Unis et Canada) 9-19
Pièces et accessoires non originaux additionnels 9-20
Téléphones cellulaires 9-21
Avertissement concernant l'utilisation de téléphones cellulaires 9-21
Système de classement uniforme de la qualité d'un pneu (indice UTQGS) .... 9-22
Système de classement uniforme de la qualité d'un pneu (indice UTQGS).... 9-22
Informations relatives aux pneus (sauf Canada) 9-24
Etiquetage des pneus 9-24
Emplacement de I'etiquette de pneus (plaque signalétique) 9-30
Entretien des pneus 9-33
Chargement du vehicule 9-36
Etapes pour déterminer la limite de charge correcte: 9-43
Signalement des problèmes de sécurité 9-44
Signalement des problèmes de sécurité (Etats-Unis) 9-44
Signalement des problèmes de sécurité (Canada) 9-45
Publications d'entretien 9-46
Publications d'entretien 9-46
Assistance à la clientèle (Etats-Unis)
Votre satisfaction complète et permanente est notre'affaire. Nous sommes ici pour vous servir. Tous les concessionnaires agregés Mazda possédent les connaissances et l'outillage nécessaires pour maintainir votre vehicule en parfait état.
Si vous avez des questions ou des recommendations sur comment améliorer le service de votre vehicule Mazda ou le service offert par le personnel d'un concessionnaire Mazda, nous vous recommendons de suivre les étapes suivantes:
REMARQUE
S'il est nécessaire de faire modifier les composants ou le système de cablage du système de retenue supplémentaire pour accommoder une personne avec certaines conditions sociales selon l'avis d'un medecin certifié, contacter un concessionnaire/agréed Mazda.
ETAPE 1: Adressez-vous à votre concessionnaire Mazda
Discutez de la situation avec un concessionnaire agree Mazda. Ceci est l'approche la meilleure et la plus rapide pour régler un problème.
- Si votre problème n'a pas eté reglé par le DEPARTEMENT DU SERVICE A LA CLIENTELE, le DEPARTEMENT DES VENTES, le DEPARTEMENT DU SERVICE ou le GERANT DES PIECES, veuillez alors contacter le DIRECTEUR GENERAL ou le PROPRIÉTAIRE de l'établissement.
- S'il est nécessaire de faire modifier les composants ou le système de câblage du système de retenue supplémentaire pour accommoder une personne avec certaines conditions Médicales selon l'avis d'un médecin certifié, passer à l'ETAPE 2.
ETAPE 2: Adressez-vous à Mazda Amérique du Nord
Si pour n'importe qu'elle raison vous avez encore besoin d'aide après avoir contacté la direction de votre concessionnaire ou qu'il est nécessaire de faire modifier les composants ou le système de cablage du système de retenue supplémentaire pour accommoder une personne avec certaines conditions medicales selon l'avis d'un medecin certifié, vous pouvez contacter Mazda Amérique du Nord d'une des manières suivantes.
Visitor: www.mazdaUSA.com
Les réponses à beaucoup de questions, incluant comment localiser ou entraer en contact avec un concessionnaire Mazda local aux États-Unis, peuvent y être trouvées.
Courriel: cliquer sur "Contact Us", au niveau de l'onglet "Inside Mazda" ou au bas de la page www.mazdaUSA.com
En téléphonant au: 1 (800) 222-5500
Par courrier à:
Attention: Assistance à la clientèle
Afin que nous puissions vous servir efficacement et immédiatement, veuillez nous fournir l'information suivante:
- Voiture nom, adresse et numero de téléphone
- L'année et le modele du vehicule
- Le numero d'identification du vehicule (17 caractères, indiqué sur votre preuve d'enregistrement et situé dans le coin supérieur du tableau de bord, du côte passager)
- Date d'achat et kilométrage actuel
- Le nom et l'emplacement du concessionnaire
- Voitre ou vos questions
Si vous demeurez en dehors des Etats-Unis, veuillez contacter le distributeur Mazda le plus proche.
ETAPE 3: Contactez Better Business Bureau (BBB)
Mazda North American Operations est bien conscient du fait que, pour certains problèmes, il peut être impossible d'arriver à un accord réciropque. Comme mesure finale permettant d'assurer que vos inquiétudes sont prises en compte équitablement, Mazda North American Operations a accepté de participer à un programme de règlement des conflits administré par le système Better Business Bureau (BBB), sans aucun frais pour vous les clients.
BBB AUTO LINE tâche, avec les clients et le fabricant, d'essayer de tracer une résolution mutuellement acceptable des problèmes liés aux garanties. Si le BBB ne parvient pas à faciliter le règlement du problème, il organisera une audience sans complications de procédure devant un arbitre.
Voudevez aovircoursaBBB AUTO LINE avant d'exercerdes droits ou de rechercher des remedes legaux sous la loi federale Magnuson-Moss Warranty Act (loi relative a la protection des consommateurs),15 U.S.C. 2301 et seq.Dans la mesure permise par la loi "Lemon Law" de I'etat concenre, you veez aussi avoir recours a BBB AUTO LINE avant d'exercer des droits ou de rechercher des remedes legaux sous la loi "Lemon Law".Si vous avez choisi de rechercher des remedes legaux qui ne sont pas crees par la loi MagnusonMoss Warranty Act ou par la loi "Lemon Law" de I'etat concenre, il ne vous est pas nécessaire d'avoir d'abord recours a BBB AUTO LINE.
Le processus entier prend normalement 40 jours ou moins. La décision de mediation ne lie ni vous-même, ni Mazda, sauf si vous acceptez la décision. Pour plus de détails concernant BBB AUTO LINE, y compris les normes d'éligibilité actuelles, veuilles téléphoner au 1-800-955-5100, ou vous rendre sur le site Web de BBB, à www.lemonlaw.bbb.org.
L'engagement total pour la satisfaction des clients est plus qu'une simple formule chez Mazda. Nous espérons satisfaire directement chacun de nos clients; mais si jamais une de nos décisions pose un problème, Mazda croit qu'en offrant une méthode rapide, équitable et gratuite, telle que BBB AUTO LINE, Mazda pourra tener son engagement de toujours faire au moins pour nos clients!
Pour les Clients de Californie
- Mazda North American Operations participate à BBB AUTO LINE, programme de mediation-arbitrage administré par le Conseil de Better Business Bureaus [4200 Wilson Boulevard, Arlington, Virginia 22203] par l'intermédiaire de Better Business Bureaus locaux. BBB AUTO LINE et Mazda ont été certifiés par l'Arbirtration Certification Program du California Department of Consumer Affairs.
- Si vous avez un probleme qui se produit sous une garantie ecrite de Mazda, nous vous conseillons vivement de nous le signaler. Si nous ne parvenons pas a le resoudre, vous pouvez déposer une réclamation auprès de BBB AUTO LINE. Les réclamations doivent être déposées auprès de BBB AUTO LINE dans les six (6) mois suivant l'expiration de la garantie.
- Pour déposer une réclamation auprès de BBB AUTO LINE, veuillez téléphoner au 1-800-955-5100. L'appeil est gratuite.
- Pour déposer une réclamation auprès de BBB AUTO LINE, vous devrez indiquer votre nom, votre adresse, la marque et le numéro d'identification (VIN) de votre vehicule, et une déclaration relative à la nature de votre problème ou de votre plaine. Vous devrez aussi indiquer: la date approximative de l'acquisition de votre vehicule, le kilométrage actuel du vehicule, la date et le kilométrage approximatifs au moment où le(s) problème (s) a (ont) été pour la première fois signalé(s) à Mazda ou à l'un de nos revendeurs, et une déclaration de la solution que vous souhaitez.
-
Le personnel de BBB AUTO LINE pourra alors essayer de résoudre ce litige par l'intermédiaire d'une mediation. Si la mediation échoue, ou si vous ne désirez pas participer à une mediation, les réclamations dans la juridiction du programme pourront alors être représentées à un arbitre lors d'une audition à procédure simplifiée. La décision de l'arbitre doit normalement être communiquée dans les 40 jours suivant la date du dépôt de votre réclamation; il pourrait y avoir un-delai de 7 jours si vous n'avez pas signaléAAParavant voser problème à Mazda, ou un-delai de 30 jours au maximum si l'arbitre demande une inspection/rapport à un expert technique impartial, ou une enquête et un rapport complémentaires à BBB AUTO LINE.
-
Vous étés tenu d'utiliser BBB AUTO LINE avant de revendiquer en justice des droits ou des remèdes conférés par la Section 1793.22 du Code Civil de Californie. Vous étés aussi tenu d'utiliser BBB AUTO LINE avant d'exercer des droits ou de rechercher des remèdes créés sous le Titre I de la loi fédérale Magnuson-Moss Warranty Act (loi relative à la protection des consommateurs), 15 U.S.C. § 2301 et seq. Si vous désisissez de demander réparation en exerçant des droits et des remèdes non créés sous la Section 1793.22 du Code Civil de Californie ou sous le Titre I de la loi fédérale Magnusson-Moss Warranty Act, chaque recours à BBB AUTO LINE n'est exigé par ces statuts.
-
La Section 1793.2 (d) du Code Civil de Californie exige que, si Mazda ou ses représentants ne parviennent pas à réparer un vehicule à moteur neuf conformément à la garantie expressée applicable du vehicule après un nombre raisonnable de tentatives, Mazda pourra être obligé de replacer ou de racheter le vehicule. La Section 1793.22 (b) du Code Civil de Californie create la presomption que Mazda a disposé d'un nombre raisonnable de tentatives pour rendre le vehicule conforme à ses garanties expresses applicables si, dans la limite de 18 mois suivant la date de livraison à l'acheteur ou d'un kilométrage de 18.000 miles indiqué sur le totalisateur kilométrique du vehicule, selon le cas seprésentant en premier, une ou plusieurs des conditions suivantes s'est produit:
-
La même non-conformité [non respect de la garantie écrite qui affecte considérablement l'utilisation, la valeur ou la sécurité du vehicule] produit une condition susceptible de causeurs des blessures corporelles graves ou mortelles lors de la conduite du vehicule ET la non-conformité a subi deux fois ou plus des réparations effectuees par Mazda ou ses agents ET l'acheteur ou le preneur à bail a signalé directement à Mazda la nécessité de la réparation de la non-conformité; OU
- La même non-conformité a subi 4 fois ou plus des réparations effectuees par Mazda ou ses agents ET l'acheteur a signalé à Mazda la nécessité de la réparation de la non-conformité; OU
- Le vehicule est hors d'usage en raison de la réparation des non-conformités par Mazda ou ses agents pour un total cumulé de plus de 30 jours de calendrier après la livraison du vehicule à l'acheteur.
L'AVIS A Mazda COMME EXIGE CI-DESSUS SERA ENVOYE A L'ADRESSE SUIVANTE:
-
Les remèdes suivants pourront être recherchés dans BBB AUTO LINE: réparations, remboursement de la somme d'argent payée pour réparer le vehicule ou autres frais encourus en raison de la non-conformité du vehicule, rachat ou remplacement de votre vehicule, et compensation pour dommages et remèdes disponibles au titre de la garantie écrite de Mazda ou des lois applicables.
-
Les remèdes suivants ne pourront pas être recherchés dans BBB AUTO LINE: dommages punitifs ou multiples, honoraires d'avocats, ou dommages indirects autres que ceux indiqués dans la Section 1794 (a) et (b) du Code Civil de Californie.
- Vous pouvez refuser la décision rendue par un arbitre de BBB AUTO LINE. Si vous refusez la décision, vous serez libre d'engager d'autres actions judiciaires. La décision de l'arbitre et toute autre conclusion seront admissibles dans une action judiciaire.
- Si vous acceptez la décision de l'arbitre, Mazda sera lié par cette décision, et devra se conformer à cette décision dans un début raisonnable ne dépassant pas 30 jours après que nous avons reçu l'avais de votre acceptation de la décision.
- Pour plus de détails concernant le programme, veuillez téléphoner à BBB AUTO LINE au 1-800-955-5100.
Assistance à la clientèle (Canada)
▼ Processus de révision "satisfaction-client"
Votre entière satisfaction est des plus importante pour Mazda. Tous les concessionnaires agregés Mazda possèdent les connaissances et l'outillage nécessaires pour maintainir votre vehicule en parfait état. D'après notre expérience, toute question, problème ou plainte concernant le fonctionnement de votre Mazda ou toute autre transaction de service en général sont le plus efficacement régés par votre concessionnaire. Si la procédure normale du concessionnaire ne suffit pas à vous donner satisfaction, nous vous recommendons de suivre les étapes suivantes:
ETAPE 1: Adressez-vous à votre concessionnaire Mazda
Expliquez votre problème à un membre de la direction du concessionnaire. Si le problème a déjà été presenté au gerant du service, entrez en contact avec le propriétaire ou le gérant général de l'établissement.
ETAPE 2: Adressez-vous au bureau regional Mazda
Si vous nécessitez plus d'aide, demandez au gérant du service du concessionnaire de vousmettre en contact avec le représentant local de Mazda pour le service. Ou contactez lebureau regional de Mazda Canada Inc. pour de tels arrangements. L'adresse et le numero detelephone des bureaux regionaux sont indiqués (page 9-9).
ETAPE 3: Adresse-vous au département des relations publiques de Mazda
Si vous n'êtes pas complètement satisfait, contactez le département des relations publiques, Mazda Canada Inc., 55 Vogell Road, Richmond Hill, Ontario, L4B 3K5 Canada, Tél.: 1 (800) 263-4680.
Donnez-leur les renseignements suivants:
- Voiture nom, adresse et numero de téléphone
- L'année et le modele du vehicule
- Le numéro d'identification du vehicule (VIN). Voir les pages "Etiquettes d'informations sur le vehicule" de la section 10 de ce manuel pour l'emplacement de ce numéro.
- La date d'achat
- Le kilométrage actuel
- Le nom et l'emplacement du concessionnaire
- La nature de votre problème et/ou la cause de votre insatisfaction
Le département, en collaboration avec le représentant local de Mazda pour le service, examinera le cas pour déterminer si toutes les mesures ont été prises pour vous donner satisfaction.
Voudevez neanmoins reconnaître que pour resoudre des problemes au niveau du service, il faut recourir dans la plupart des cas aux installations, personnel et outillage de votre concessionnaire Mazda. Nous vous prions donc de suivre dans l'ordre indiqué, les trois étapes mentionnées ci-dessus de manière à obtaining les meilleurs résultats possibles.
▼Programme mediation/arbitrage
Il peut y avoir des cas où le client peut ne pas obtenir satisfaction par le Programme satisfaction client de Mazda. Si après avoir suivi toutes les étapes indiquées dans ce manuel, votre problème n'est always pas résolu, vous avez un autre recours.
Mazda Canada Inc. participe à un programme d'arbitrage administré par le Programme d'Arbitrage pour les vehicules automobiles du Canada (PAVAC). Le PAVAC vous indiquera comment votre problème peut être revu et résolu par un arbitre dans le cadre d'un arbitrage dont la décision sera définitive pour tous.
Votre complète satisfaction est le but de Mazda Canada Inc. et de nos concessionnaires. La participation de Mazda au PAVAC est une contribution envers ce but. Le PAVAC est un service gratuite. Les résultats de PAVAC sont rapides, équitables et finaux car la décision rendue est définitive pour vous, le client et pour Mazda Canada Inc.
▼Programme d'Arbitrage pour les vehicules automobiles du Canada (PAVAC)
Si un problème particulier se présente pour lequel le client et Mazda, et/ou un de ses concessionnaires ne peuvent pas atteindre une solution (acceptable par tous les intérêssés), le client peut requérir les services offerts par le Programme d'Arbitrage pour les vehicules automobiles du Canada (PAVAC).
Le PAVAC utilise les services d'Administrateurs Provinciaux pou assister les clients avec le programme et la préparation de leur audience d'arbitrage. Cependant, avant de vous adresser au PAVAC, vous devez suivre les étapes de résolution de différents, décrites précédemment, proposées par le manufacturier.
Le PAVAC est effectif dans toutes les provinces et territorioires.
Les clients qui désirent obtenir de plus amples renseignements sur le Programme devraient s'adresser à l'Administrateur Provincial au 1 (800) 207-0685, ou en contactant le Bureau du Programme d'Arbitrage pour les vehicules automobiles du Canada à l'adresse suivante:
Programme d'Arbitrage pour les vehicules automobiles du Canada
235 Yorkland Boulevard, suite 300
North York, Ontario
M2J 4Y8
http://camvap.ca
Les Administrateurs Provinciaux locaux peuvent être contactés aux numérios indiqués ci-dessous:
| Province/Territoire | Numéro du PAVAC |
| Colombie Britannique et Territoires du Yukon | 1 (800) 207-0685 |
| Alberta et Territoires du Nord-Ouest | 1 (800) 207-0685 |
| Saskatchewan | 1 (800) 207-0685 |
| Manitoba | 1 (800) 207-0685 |
| Ontario | 1 (800) 207-0685 |
| Canada Atlantique | 1 (800) 207-0685 |
| Quebec | 1 (800) 207-0685 |
Bureauux régionaux
| BUREAU X REGIONAUX | ZONES COUVERTES |
| MAZDA CANADA INC. REGION DE L'OUEST 8171 ACKROYD ROAD SUITE 2000 RICHMOND B.C. V6X 3K1 (604) 303-5670 | ALBERTA, COLOMBIE-BRITANNIQUE, MANITOBA, SASKATCHEWAN, YUKON |
| MAZDA CANADA INC. REGION CENTRALE/ATLANTIQUE 55 VOGELL ROAD, RICHMOND HILL, ONTARIO, L4B 3K5 (905) 787-7000 | ONTARIO |
| MAZDA CANADA INC. QUEBEC REGION 6111 ROUTE TRANS CANADIENNE POINTE CLAIRE, QUEBEC H9R 5A5 (514) 694-6390 | QUEBEC, NUVEAU BRUNSWICK, NUOVILLE ECOSSE, ILE DU PRINCE EDOUARD, TERRE-NEUVE |
Assistance à la clientèle (Puerto Rico)
Votre satisfaction complète et permanente est notre'affaire. C'est pourquoit tous les concessionnaires agrésés Mazda possèdent les connaissances et l'outillage nécessaires pour maintainir votre vehicule en parfait état.
Si vous avez des questions ou des recommendations sur comment améliorer le service de votre vehicule Mazda ou le service offert par le personnel d'un concessionnaire Mazda, nous vous recommendons de suivre les étapes suivantes:
ETAPE1
Discutez de la situation avec un concessionnaire agree Mazda. Ceci est l'approche la meilleure et la plus rapide pour régler un problème. Si votre problème n'a pas été régé par le DEPARTEMENT DU SERVICE A LA CLIENTELE, le DEPARTEMENT DES VENTES, le DEPARTEMENT DU SERVICE ou le GERANT DES PIECES, veuillez alors contacter le DIRECTEUR GENERAL ou le PROPRIÉTAIRE de l'établissement.
ETAPE2
Si après avoir suivi l'ETAPE 1, vous pensez avoir besoin d'une assistance supplémentaire, veuillez contacter le représentant local de Mazda (indiqué à la page suivante).
Veuillez nous fournir l'information suivante:
- Voiture nom, adress et numero de téléphone
- L'année et le modele du vehicule
- Le numéro d'identification du vehicule (17 caractères, indiqué sur votre preuve d'enregistrement etitué dans le coin supérieur du tableau de bord, du côte passager)
- Date d'achat et kilométrage actuel
- Le nom et l'emplacement du concessionnaire
- Voitre ou vos questions
Assistance à la clientèle (Mexique)
Votre satisfaction complète et permanente est notre'affaire. Nous sommes ici pour vous servir. Tous les concessionnaires agréés Mazda possèdent les connaissances et l'outillage nécessaires pour maintainir votre vehicule en parfait état.
Si vous avez des questions ou des recommendations sur comment améliorer le service de votre vehicule Mazda ou le service offert par le personnel d'un concessionnaire Mazda, nous vous recommendons de suivre les étapes suivantes:
Adressez-vous à votre concessionnaire Mazda
Discutez de la situation avec un concessionnaire agreeé Mazda. Ceci est l'approche la meilleure et la plus rapide pour régler un problème.
- Si votre problème n'a pas eté régèle par le DEPARTEMENT DU SERVICE A LA CLIENTELE, le DEPARTEMENT DES VENTES, le DEPARTEMENT DU SERVICE ou le GERANT DES PIECES, veuillez alors contacter le DIRECTEUR GENERAL ou le PROPRIÉTAIRE de l'établissement.
- S'il devient nécessaire de faire modifier les composants ou le système de câblage du système de retenue supplémentaire pour accommoder une personne avec certaines conditions Médicales selon l'avis d'un médecin certifié; contactez votre concessionnaire afin d'éviter de perdre la garantie de votre vehicule ce qui se produit si un tiers embauché par le client effectue des modifications nécessaires à ce système.
Les réponses à de nombreuses questions, telles que comment localiser ou entraer en contact avec un concessionnaire Mazda local au Mexique, peuvent y'être trouvées.
Courriel: cliquer sur "Contactanos" en haut de la page à www.MazdaMexico.com.mx
En teléphant au: 01 800 01 MAZDA (62932)
Par courrier à:
Attention: Assistance à la clientèle
Mazda Motor de Mexico
Mario Pani #150, PB Col. Lomas de Santa Fe
Mexico, D.F. C.P. 05300
Tél: Assistance à la clientèle
01 800 01 MAZDA (62932).
Afin que nous puissions vous servir efficacement et immédiatement, veuillez nous fournir l'information suivante:
- Voitr nom, adresse et numero de téléphone
- L'année et le modele du vehicule
- Le numéro d'identification du vehicule (17 caractères, indiqué sur votre preuve d'enregistrement et situé dans le coin supérieur du tableau de bord, du côte passager)
- Date d'achat et kilométrage actuel
- Le nom et l'emplacement du concessionnaire
- Notre ou vos questions
Importateur/Distributeur
▼Etats-Unis
Tél: 1 (800) 222-5500 (aux Etats-Unis)
(949) 727-1990 (de l'extérieur des Etats-Unis)
Distributeur régional
CANADA
Mazda Canada Inc.
(905) 787-7000 (de l'extérieur du Canada)
PUERTO RICO/Iles Vierges des ETATS-UNIS
Plaza Motors Corp. (Mazda de Puerto Rico)
P.O.Box 362722, San Juan, Puerto Rico 00936-2722
Tél: (787) 641-9300
▼MEXIQUE
Mazda Motor de Mexico
Mario Pani # 150, PB Col. Lomas de
Santa Fe Mexico, D.F. C.P. 05300 Del.
Cuajimalpa
Tél: Service des relations avec la clientèle:
01 (800) 016 2932. au Mexique
▼GUAM
Triple J Motors
Garanties applicables à ce vehicule Mazda
- Garantie limitée des vehicules neufs
- Garantie limitée du groupe motopropulseur
- Garantie limitée du système de protection pour la sécurité
- Garantie limitée contre les perforations
-
Garantie fédérale du système antipollution/Garantie de la Californie du système antipollution
-
Garantie contre les défauts du système antipollution
-
Garantie de l'efficacité du système antipollution
-
Garantie du système antipollution
- Garantie limitée des pieces de remplacement et accessoires
- Garantie des pneus
REMARQUE
Les informations concernant la garantie varient selon le pays. Se reférer au Livret de garantie, pour plus d'informations au sujet de la garantie.
Utilisation du vehicule en dehors des Etats-Unis et du Canada
Les lois américain et canadaienne requirement que les vehicules automobiles soient conformes aux reglementations concernant les gaz d'échéppement et les normes de sécurité. Dès lors, les vehicules construits pour le marché américain, ses territoires et le Canada peuvent etre differentes de ceux vendus dans d'autres pays.
Ceci peut faire que, dans un autre pays, votre vehicule ne puisse pas toujours receivevoir un entretien ajustat. Par conséquent, il est recommendé de NE PAS utiliser ce vehicule Mazda en dehors de ces zones.
Dansquelcasvousrisqueriezd'etreconfrontéauxproblèmes suivant:
- Le carburant approprié peut ne pas être disponible. Les carburants au plomb ou à faible indice d'octane utilisés localement peuvent entrainer un mauvais fonctionnement du vehicule et endommager le système antipollution et le moteur.
- Il peut manquer de centres de réparations, d'outils, d'équipements et de pieces de remplacement appropriés.
La garantie Mazda ne s'applique qu'aux vehicules Mazda enregistrres et circulant normalement aux Etats-Unis, sur ses territoires et au Canada.
Utilisation du vehicule en dehors des Etats-Unis
La loi française requiert que les vehicules automobiles soient conformes aux réglementations concernant les gaz d'échémpement et les normes de sécurité. Dès lors, les vehicules construits pour le marché américain peuvent être différents de ceux vendus dans d'autres pays.
Ceci peut faire que, dans un autre pays, votre vehicule ne puisse pas toujours receivevoir un entretien ajustat. Par conséquent, il est recommendé de NE PAS utiliser ce vehicule Mazda en dehors des États-Unis. Cependant, en cas de déménagement permanent au Canada, les vehicules Mazda construits pour les États-Unis sont éligibles à l'exportation au Canada après des modifications spécifiques au vehicule pour le rendre conforme aux exigences des Normes de sécurité des vehicules automobiles du Canada (NSVAC).
REMARQUE
Ceci s'applique à une situation ou l'importation/exportation est permanent et ne concerne pas les visiteurs temporaires.
Les problèmes suivants peuvent se désigner si le vehicule est utilisé à l'extérieur des États-Unis:
- Le carburant approprié peut ne pas être disponible. Les carburants au plomb ou à faible indice d'octane utilisés localement peuvent entrainer un mauvais fonctionnement du vehicule et endommager le système antipollution et le moteur.
- Il peut manquer de centres de réparations, d'outils, d'équipements et de pieces de remplacement appropriés.
Se référer au Livret de garantie, pour plus d'informations.
Utilisation du vehicule en dehors du Canada
La loi Canadienne requiert que les vehicules automobiles soient conformes aux reglementations concernant les gaz d'échémpement et les normes de sécurité. Dès lors, les vehicules construits pour le marché canadien peuvent être différents de ceux vendus dans d'autres pays.
Ceci peut faire que, dans un autre pays, votre vehicule ne puisse pas toujours receivevoir un entretien ajustat. Par conséquent, il est recommendé de NE PAS utiliser ce vehicule Mazda en dehors du Canada. Cependant, en cas de déménagement permanent aux Etats-Unis, les vehicules Mazda construits pour le Canada sont éligibles à l'exportation aux Etats-Unis après des modifications au vehicule pour le rendre conforme aux exigences de la FMVSS (Federal Motor Vehicle Safety Standards) aux Etats-Unis.
REMARQUE
Ceci s'applique à une situation ou l'importation/exportation est permanent et ne concerne pas les visiteurs temporaires.
Les problèmes suivants peuvent se désenter si le vehicule est utilisé à l'extérieur du Canada:
- Le carburant approprié peut ne pas être disponible. Les carburants au plomb ou à faible indice d'octane utilisés localement peuvent entrainer un mauvais fonctionnement du vehicule et endommager le système antipollution et le moteur.
- Il peut manquer de centres de réparations, d'outils, d'équipements et de pieces de remplacement appropriés.
Se référer au Livret de garantie, pour plus d'informations.
Immatriculation du vehicule à l'étranger (Sauf États-Unis et Canada)
Il pourrait être problématique d'enregistrer le vehicule dans un pays étranger, selon que le vehicule satisfait ou non aux normes de pollution et de sécurité spécifique en vigueur dans le pays où le vehicule sera conduit. Par conséquent, vous pourrez être tenu d'effectuer des modifications du vehicule à vos propres frais afin de satisfaire à la réglementation.
En outre, il faut etre conscient des problemes suivants:
Il pourrait être difficile ou impossible d'effectuer un entretien satisfaisant du vehicule dans un autre pays.
Le carburant spécifique pour votre vehicule peut ne pas etre disponible.
Les pieces, les techniques d'entretien et les outils nécessaires à l'entretien et à la réparation de votre vehicule peuvent ne pas être disponibles.
Il peut ne pas y avoir de concessionnaire agréé Mazda dans le pays où l'on désire emmener le vehicule.
De plus, la garantie du manufactureder Mazda n'est valide que dans certains pays.
Pieces et accessoires non originaux additionnels
Des pieces et accessoires non originaux additionnels pour vehicules Mazda sont disponibles dans certains magasins.
Ils peuvent être montés sur ce vehicule, mais ils ne son pas approuvés par Mazda pour une utilisation sur des vehicules Mazda. L'installation de pieces et accessoires non originaux additionnels peut affecter les performances du vehicule ou les systèmes pour la sécurité; la garantie Mazda ne couvrira pas ces problèmes. Avant d'installer toute piece ou accessoire non original additionnel, consulter un concessionnaire/agree Mazda.
PRUDENCE
Consulter un concessionnaire agréé Mazda avant d'installer toute piece ou accessoires non original:
L'installation de pieces et accessoires no originaux additionnels est dangereuse. Des pieces ou accessoires qui ne sont pas bien conçus peuvent affecter les performances du vehicule ou les système pour la sécurité. Ceci peut cause un accident ou augmenter les risques de blessures en cas d'accident.
Dès lors, faire très attention lors de la sélection et de l'installation d'accessoires additionnels, comme des téléphones, des émetteurs/recepteurs radio, des systèmes de son et des systèmes d'alarme pour voiture:
Toute sélection ou installation incorrekte de pieces et accessoires non originaux additionnels ou l'installation par une personne non qualifiée est dangereuse. Des systèmes vitaux peuvent être endommages, causant le calage du moteur, l'activation du coussin d'air (SRS), l'inactivation du système ABS/TCS/DSC ou un incendie dans le vehicule.
Mazda n'assume aucune responsabilité pour mort, blessures ou frais qui peuvent résultat de l'installation de piece ou accessoire non original.
Avertissement concernant l'utilisation de téléphones cellulaires

PRUDENCE
Prière de respecter la reglementation locale applicable concernant l'utilisation d'équipment de communication dans le vehicule en vigueur dans chaque région: L'utilisation d'appareils comme un téléphone cellulaire, un ordinateur, une radio portable, un dispositif de système de positionnement global ou autre appareil, par le conducteur, pendant la conduite est dangereux. La composition d'un numéro sur un téléphone cellulaire pendant la conduite occupe aussi les mains du conducteur. L'utilisation de ces appareils causera une perte de concentration à la route par le conducteur et peut causeur un accident grave. Si un passager ne peut utiliser l'appareil, se garer dans un endroit sécurité avant l'utilisation. Si l'utilisation d'un téléphone cellulaire est absolument nécessaire malgré cet averissement, utiliser un système mains-libres pour avoir les mains disponibles pour la conduite du vehicule. Ne jamais utiliser de téléphone cellulaire ou autre appareil pendant la conduite, et se concentrer plutilot sur la conduite qui requiert toute l'attention du conducteur.
Système de classement uniforme de la qualité d'un pneu (indice UTQGS)
Cette information s'applique au système de classement des pneus concu par la National Highway Traffic Safety Administration (NHTSA) des Etats-Unis, pour le classement des pneus suivant l'usage de la bande de roulement, l'adherence et la température d'opération du pneu.
Usure de la bande de roulement
L'indice d'usure de la bande de roulement est basé sur le taux d'usure d'un pneu mis à l'essay dans des conditions spécifiques sur un circuit routier répondant aux normes gouvernementales.
Si, par exemple, un pau a un indice d'usure de 150, il s'aura 1,5 fois plus lentement qu'un pau qui affiche un indice de 100.
Les performances relatives du pneu dépendent des conditions qui prévalaient lors de l'essay et peuvent varier sensiblement selon les habitudes de conduite, l'entretien, les conditions routières et le climat.
Adhérence (AA, A, B, C)
Les indices d'adhésion sont, du plus élevé au plus bas, AA, A, B et C. Ces indices représentent la capacité du pau d'effectuer un arrêt complet sur une chaussée mouillée, telle que mesuree dans des conditions controledes sur des surfaces de route en asphalte et en ciment repondant aux normes governementales. Un pau portant l'indice C peut avoir une mauvaise performance d'adherence.
PRUDENCE
L'indice d'adherence assigné à ce pneu est basé sur des essais d'adherence au freinage (en ligne droite) et n'incluent pas les caractéristiques d'accélération, dans les virages, d'aquplanage ou de limite de traction.
Température (A, B, C)
Les indices de température A (le meilleur), B et C représentent la résistance du pneu à la génération de chaleur et à sa capacité de dissipation de chaleur lorsque testé dans des conditions spécifique en laboratoire sur une roue d'essay.
Des températures élevées pendant de longues durées peuvent cause la dégéénération du matériel du pau et réduire la durée de vie du pau, et des températures excessives peuvent entraîner la défaillance soudaine du pau.
L'indice C correspond au niveau de performance requis des pneus de vehicules de promenade suivant le Federal Motor Vehicle Safety Standard No. 109. Les indices A et B représentent des niveaux plus élevés de performance sur la roue d'essai en laboratoire, que le niveaux minimum requis par la loi.

PRUDENCE
Garder les pneus du vehicule correctement gonflés, sans les surcharger:
Il est dangereux de conduire le vehicule avec des pneus incorrectement gonfles ou surcharges. Une vitesse excessive, le sous-gonflage ou une charge excessive que ce soit séparément ou ensembles, peuvent cause une augmentation de la température et la défaillance possible du pneu. L'indice de température pour ce pneu est établi sur un pneu correctement gonfle et non surcharge.
Ces indices seront ajoutés au flanc des pneus de vehicules de promenade au cours des années à partir suivant un programme établi par la National Highway Traffic Safety Administration (NHTSA) des États-Unis et les fabricants de pneus.
Les indices des pneus montés d'origine ou disponibles en option sur les vehicules Mazda peuvent varier.
TOUS LES PNEUS POUR VEHICULES DE PROMENADE DOIVENT ETRE CONFORMES A CES INDICES ET A TOUTES LES AUTRES EXIGENCES FEDERALES SUR LA SECURITE DES PNEUS.
Système de classement uniforme de la qualité d'un pneu
Les clasements de qualité sont trouvés là où ils s'appliquent sur le flanc du pau entre l'épaulement de bande de roulement et la largeur de section maximale.
Par example:
Usure de la bande de roulement 200 Adherence AA Température A
INDICE UTQGS (exampie)

Etiquetage des pneus
Les lois fédérales exigent que les fabricants placent des informations standardisées sur la paroi latérale de tous les pneus. Ces informations identifient et décrivent les caractéristiques fondamentales du pneu, et fournissant aussi un numéro d'identification du pneu comme certificat standard de sécurité en cas de rappel.
Informations figurant sur les pneus des vehicules pour passagers
Se reporter à l'échantillon ci-dessous.

- TIN: U.S. DOT numero d'identification du pneu
- Pneu de voiture pour passagers
- Largeur nominale du pneu en millimetres
- Rapport hauteur/largeur (taux d'aspect)
- Radial
- Pneu à flances renforcés
- Code de diamètre de jante
- Indice de charge & symbole de vitesse
- Conditions d'enneigement séveres
-
Composition des plis du pneu et matérieliaux utilisés
-
Indice de charge max.
- Indices d'usure de la bande de roulement, d'adherence et de température
- Pression de gonflage admissible max.
- AVERTISSEMENT POUR LA SECURITE
P215/65R15 95H est un exemple de taille de pneu et de norme d'indice de charge. Voici une explication des différents composants de cette taille de pneu et de la norme d'indice de charge. Bien noter que la taille de pneu et la norme d'indice de charge peuvent différer de l'exemple.
P
Indique un pneu qui a eté installé sur des automobiles, des SUV, des minivans, et des camionnettes, comme indiqué par Tire and Rim Association (T&RA).
REMARQUE
Si vous taille de pneu ne commence pas par une dette, alors celle-ci est peut-être désignée par l'ETRTO (European Tire and Rim Technical Organization) ou par la JATMA (Japan Tire Manufacturing Association).
215
"215" est la largeur nominale du pneu en millimétrès. Ce nombre à trois chiffres indique la largeur du pneu en millimétrès, d'un bord de la paroi latérale à l'autre. En général, plus le nombre est grand, plus le pneu est large.
65
"65" est le taux d'aspect. Ce nombre à deux chiffres indique le rapport hauteur/largeur du pneu.
R
“R” est le symbole de structure du pneu. R indique “Structure radiale des pris”.
15
"15" est le diamètre de jante de roue en pouces.
95
"95" est l'indice de charge. Ce nombre à deux ou trois chiffres indique le poids que chaque pneu peut supporter.
H
"H" est l'indice de vitesse. L'indice de vitesse indique la vitesse maximum correspondant à la norme d'utilisation du pneu.
| Indice alphétique | Indice de vitesse |
| Q | 99 mi/h |
| R | 106 mi/h |
| S | 112 mi/h |
| T | 118 mi/h |
| U | 124 mi/h |
| H | 130 mi/h |
| V | 149 mi/h |
| W | 168* mi/h |
| Y | 186* mi/h |
- Pour les pneus ayant une capacité de vitesse maximum supérieure à 149 mi/h, les fabricants de pneus utilisant parfois les lettres ZR. Pour les pneus ayant une capacité de vitesse maximum supérieure à 186 mi/h, les fabricants de pneus utilisant toujours les lettres ZR.
M+ S ou M/S: Boue et neige
AT: Tous terrains.
AS: Toutes saisons. Les symboles "M+ S" ou "M/S" indiquent que le pneu peut etre utiliser dans la boue et la neige.
U.S. DOT numero d'identification du pneu (TIN)
Ceci commence par les lettres "DOT" qui indiquent que le pneu est conforme aux normes fédérales. Les deux chiffres ou lettres suivants sont le code de l'usine ayant fabriqué le pneu, et les quatre derniers chiffres représentent la semaine et l'année de fabrication du pneu. Par exemple, les chiffres 457 signifient la 45ème semaine de 1997. ÀpRES 2000, les nombres possèdent quatre chiffres. Par exemple, le nombre 2102 signifie la 21ème semaine de 2002. Les autres chiffres sont des codes de commercialisation utilisés à la désétion du fabricant. Ces informations sont utilisées pour contacter les clients au cas où un début du pneu exige un rappel de celui-ci.
Composition des plis du pneau et matériaux utilisés
Le nombre de pris indique le nombre de couches de tissu revetu de caoutchouc dans le pneu. Généralement, plus le nombre de pris est grand, plus le poids pouvant être supporté par le pneu est grand. Les fabricants des pneus doivent aussi indiquer les matériaux de fabrication du pneu, tels que l'accier, le nylon, le polyester, etc.
Indices de charge maximum
Ce nombre indique la charge maximum, en kilogrammes et en livres, qui peut être supportée par le pneu.
Pression de gonflage admissible maximum
Ce nombre est la plus grande quantité de pression d'air à laquelle il est possible de gonfler le pneu dans les conditions de conduites normales.
Indices d'usure de la bande de roulement, d'adhérence et de température
Usure de la bande de roulement: L'indice d'usure de la bande de roulement est basé sur le taux d'usure d'un pneu mis à l'essai dans des conditions spécifiques sur un circuit routier répondant aux normes gouvernementales. Si, par exemple, un pneu a un indice d'usure de 150, il s'utilera 1,5 fois plus lentement qu'un pneu qui affiche un indice de 100.
Adhérence: Les indices d'adhésion sont, du plus élevé au plus bas, AA, A, B et C. Les indices représentent la capacité du pneu d'effectuer un arrêt complet sur une chaussée mouillée, telle que mesurée dans des conditions contrôlées sur des surfaces de route en asphalte et en ciment répondant aux normes gouvernementales. Un pneu portant l'indice C peut avoir une mauvaise performance d'adhérence.
Température: Les indices de température A (le meilleur), B et C représentent la résistance du pau à la génération de chaleur et à sa capacité de dissipation de chaleur lorsqu'il est testé dans des conditions spécifique en laboratoire sur une roue d'essay.
Pneus à neige
Dans certaines régions très enneigées, les autorités locales peuvent exiger l'utilisation de pneus neige veritables possédant une bande de roulement aux sculptures très profundes. Ces pneus ne doivent être utilisés qu'en paire ou équiper toutes les quatre roues. Veiller à acheter des pneus neige de même taille et de même structure que les autres pneus du vehicule.
AVERTISSEMENT POUR LA SECURITE
Les averissements de sécurité suivants sont marqués sur la paroi latérale du pneu. DES BLESSURES GRAVES PEUVENT ETRE CAUSEES PAR:
L'EXPLOSION DE L'ENSEMBLE PNEU/JANTE EN RAISON D'UN MONTAGE OU CORRESPONDANCE INCORRECTS ENTRE DIAMETRES PNEU/JANTE; NE JAMAIS DEPASSER 40 psi (275 kPa) SUR LE TALON DU PNEU - MONTAGE DES PNEUS A CONFIER UNIQUEMENT A UN PERSONNEL QUALIFIE.
- ANOMALIE DES PNEUS DUE A UN SOUS-GONFLAGE/SURCHARGE/DOMMAGE-SE CONFORMER AU CONDUITE ET ENTRETIEN ET A LA PLAQUE SIGNALETIQUE DU VEHICULE-VERIFIER SOUVENT LA PRESSION DE GONFLAGE DES PNEUS ET LEUR ETAT D'ENDOMMAGEMENT.
Informations relatives aux roues de secours à usage-temporaire
Se reporter à l'échantillon ci-dessous.

- Roues de secours à usage-temporaire
- Largeur nominale du pneu en millimétres
- Rapport hauteur/largeur (taux d'aspect)
- Diagonale
- Code de diamètre de jante
- Indice de charge & symbole de vitesse
T115/70D 16 90M est un exemple de taille de pneu et de norme d'indice de charge. Voici une explication des différents composants de cette taille de pneu et de la norme d'indice de charge. Bien noter que la taille de pneu et la norme d'indice de charge peuvent différer de l'exemple.
T
Indique un pneu qui a eté installé sur des automobiles, des SUV, des minivans, et des camionnettes, comme indiqué par Tire and Rim Association (T&RA).
115
"115" est la largeur nominale du pau en millimètres. Ce nombre à trois chiffres indique la largeur du pau en millimètres, d'un bord de la paroi latérale à l'autre. En général, plus le nombre est grand, plus le pau est large.
70
"70" est le taux d'aspect. Ce nombre à deux chiffres indique le rapport hauteur/largeur du pau.
D
"D" est le symbole de structure du pineu. D indique la "structure en diagonale des pris".
16
"16" est le diamètre de jante de roue en pouces.
90
"90" est l'indice de charge. Ce nombre à deux ou trois chiffres indique le poids que chaque pneu peut supporter.
M
"M" est l'indice de vitesse. L'indice de vitesse indique la vitesse maximum correspondant à la norme d'utilisation du pneu.
| Indice alphabetique | Indice de vitesse |
| M | 81 mi/h |
Emplacement de l'etiquette de pneus (plaque signalétique)
L'étiquette des pneus mentionne la pression de gonflage des pneus par taille de pneu et d'autres informations importantes; elle se trouve sur le montant B du côte conducteur ou sur le bord du cadre de la portière du conducteur.
ECHANTILLON
| TIRE AND LOADING INFORMATION RENSEIGNEMENTS SUR LES PNEUS ET LE CHARGEMENT | ||||
| SEATING CAPACITY NOMBRE DE PLACES | TOTAL 5 | FRONT AVANT 2 | REAR ARRÊRE 3 | |
| The combined weight of occupants and cargo should never exceed Le poids total des occupants et du chargement ne doit jamais dépasser | xxx | kg or kg ou xxx | Ibs. * | |
| SIZE DIMENSIONS | COLD TIRE PRESSURE PRESSION DES PNEUS À FROID | SEE OWNER'S MANUAL FOR ADDITIONAL INFORMATION | ||
| FRONT AVANT | P195/70R14 | 200 kPa, 29 psi | ||
| REAR ARRÊRE | P195/70R14 | 200 kPa, 29 psi | VOIR LE MANUEL DE L'USAGER POUR PLUS DE RENSEIGNEMENTS | |
| SPARE DE SECOURS | T125/70D15 | 420 kPa, 60 psi | ||
Pression de gonflage des pneus recommendée
L'étiquette des pneus mentionne la pression de gonflage des pneus recommende en kPa et en psi pour les pneus installés en équipement d'origine sur le vehicule. Il est essentiel que la pression de gonflage des pneus du vehicule soit conservée à la pression recommende. Il faut vérifier régulièrement la pression des pneus pour s'assurer que la pression de gonflage correcte est bien conservée.
Se référer à Pneus à la page 10-7.
REMARQUE
Les pressions de gonflage des pneus mentionnées sur la plaque signalétique du vehicule ou sur l'étiquette d'informations des pneus indiquent les pressions de gonflage des pneus à froid recommendées, mesurées lorsque les pneus sont froids, après que le vehicule ait été stationné pendant au moins 3 heures. Lors de la conduite, la température des pneus augmente, ce qui fait augmenter la pression des pneus.

PRUDENCE
Toujours vérifier la pression de gonflage des pneus à intervalles réguliers conformément aux indications de pression de gonflage des pneus figurant sur l'étiquette des pneus et aux informations containues dans ce conduite et entretien: Le fait de conduire avec des pneus sous-gonflés est dangereux.
Le sous-gonflage est la cause principale des anomalies des pneus, et peut causegraves fissurations, separation de bande de roulement ou "éclatement", avec perte soudaine de contrôle du vehicule et plus grands risques de blessures. Le sousgonflage augmente la courbure de la paroi latérale du pneu et la résistance au roulement, causant une augmentation de chaleur et des dommages internes au pneu. Il produit unefatigue indésirable du pneu, une usure irregulière, et peut entrainer pertes de contrôle et accidents. Un pneu peut perdre jusqu'à la moitié de sa pression d'air sans paraître dégonfle!
Il est impossible de juger si les pneus sont correctement gonflés ou pas rien qu'en les regardant.
Vérification de la pression des pneus
- Lorsque vous vérifie la pression des pneus, voirlez à ce que les pneus soient froids-c-à-d. à ce qu'ils ne soient pas du tout échauffés par une conduite de même un seul mile.
- Retirer le capuchon de la valve d'un pneu.
- Enfoncer fermement la jauge de pneu sur la valve.
- Ajouter de l'air pour obtenir la pression d'air recommende.
- Si l'on gonfle excessivement le pneu, libérer de l'air en,enfantant la tige métallique se trouvant au centre de la valve. Ensuite, vérifier a nouveau la pression à l'aide de la jauge de pneu.
- Remplacer le capuchon de la valve.
- Répéter cette opération sur chacun des pneus, y compris le pneu de secours.
REMARQUE
Certsains pneus de secours exigent une pression de gonflage plus grande.
- Inspector visuèlement les pneus pour s'assurer qu'ils ne comportent pas de clous ou d'autres objets encastrés susceptibles de percer le pneu et de causeur une fuite d'air.
- Vérifier les parois laterales pour s'assurer qu'il n'y a pas de griffures, de coupures, d'hernies, de fissures ou d'autres irregularités.
REMARQUE
Lorsque les pneus sont chauds, les pressions de gonflage dépassent généralement les valeurs recommendées. Ne pas dégonfier les pneus, pour ajuster la pression, lorsqu'ils sont chauds.
Un sous-gonflage peut cause des pannes et des accidents graves.
Un sur-gonflage rend la conduite dure et accroit considérablement la possibilité de dommages causés par les risques de la route.
Glossaire des termes
Plaque signalétique des pneus: Etiquette indiquant les tailles de pneu d'origine, les pressions de gonflage recommendées, et le poids maximum pouvant être transporte par le vehicule.
Numéro d'identification du pneu (TIN): Numéro figurant sur la paroi latérale de chaque pneu, donnant des informations concernant la marque du pneu et l'usine de fabrication, laaille du pneu et la date de fabrication.
Pression de gonflage: Mesure de la quantité d'air dans un pneu.
kPa: Kilopascal, unité métrique de pression d'air.
psi: Livres par pouce carré, unité anglaise de pression d'air.
Montant B: Montant structurel se trouvant sur le côte du vehicule derrière la portière avant.
Equipement d'origine (EO): Decrit les composants d'origine du vehicule.
Liminé de charge du vehicule: Valeur maximum du poids combiné des occupants et de la charge ajoutée.
Talon du pneu: Partie du pneu s'appuyant sur la jante.
Paroi latérale du pneu: Zone comprise entre le talon et la bande de roulement du pneu.
Bande de roulement du pau: Zone du pourtour du pau en contact avec la route lorsqu'il est monté sur le vehicule.
Nombre de places assises signifie le nombre total admissible d'occupants du vehicule. Le nombre de places assises figure sur l'étiquette des pneus.
Le poids des options de production est le poids combiné des options de production ordinaires installées, pesant plus de 2,3 kilogrammes en plus des éléments standard qu'elles remplacent, et non prises en compteAAParavant dans le poids du vehicule en etat de marche ou le poids des accessoires, y compris les freins surpuissants, les dispositifs de mise à niveau de conduite, la galerie de toit, la batterie surpuissante et les jantes spéciales.
La jante est le support métallique (roue) supporting un pneu ou un ensemble pneu et chambre à air sur laquelle le talon du pneu s'appuie.
Entretien des pneus
L'entretien incorrect ou inadéquat du vehicule peut cause une usure anormale des pneus. Voici quelques points importants pour l'entretien:
Pression de gonflage des pneus
Les pressions de gonflage de tous les pneus (y compris le pneu de la roue de secours) doivent être contrôlées tous les mois, lorsque les pneus sont froids. Les pressions recommendées doivent être respectées si l'on peut obtaining une conduite et une tenue de route optimale ainsi qu'une usure minimale des pneus. Utiliser les pressions spécifiées sur la plaque signalétique des informations des pneus du vehicule ou sur l'étiquette des pneus pour assurer la meilleure utilisation possible.
Permutation des pneus
Pour égaliser l'usure des pneus, il est recommendé de procéder à leur permutation tous les 12.000km (7.500 milles) ou plus frequentlyment si une usure irrégulière apparait. Lors de la permutation, vérifier si l'équilibrage est correct.

Ne pas inclure la roue de secours à usage-temporaire (TEMPORARY USE ONLY) dans la permutation.
Vérifier si les pneus sont endommagés et s'ils sont usés irrégulièrement. L'usure anormale des pneus est généralement causée par une ou plusieurs des causes suivantes:
- Pression de gonflage incorrecte
- Alignment des roues inadéquat
Equilibrage incorrect des roues
Freinages importants
Après la permutation, veiller à régler les pressions de gonflage des pneus avant et arrrière en fonction des specifications (page 10-7) et vérifier le couple de serrage des écrous de roues.

ATTENTION
Permuter les pneus unidirectionnels et les pneus à carcasse radiale à bande de roulement à dessins asymétriques ou à crampons de l'avant à l'arrête uniquement, et non pas entre la droite et la gauche. La performance des pneus sera réduite si la rotation est faite entre la droite et la gauche.
(Avec différentiel autobloquant)
Ne pas utiliser les pneus suivants:
Pneus de dimension autre que celle recommandée
Une combinaison de pneus de dimension ou de type différent
Des pneus sous-gonflés
Si ces instructions ne sont pas suivies, la rotation des roues de droite et de gauche sera différente et cela applique une surcharge constante au différentiel autobloquant par viscosité.
Cela causera un mauvais fonctionnement.
Remplacement d'un pneu

PRUDENCE
N'utiliser que des pneus en bon etat:
La conduite avec des pneus usés est dangereuse. Des performances de freinage, direction et traction réduites peuvent cause un accident.
Si un pneu est use regulierement, un témoin d'usure apparaît en travers de la chape.
Dans un tel cas, remplacer le pneu.

Chape neuve

Chape usee
Il est nécessaire de remplacer le pneu avant que le témoin d'usure n'apparaisse en travers de la chape.
REMARQUE
Les pneus s'abiment avec le temps, même si on ne les utilise pas pour rouler sur la route. Il est généralement recommendé de replacer les pneus lorsqu'ils sont vais de 6 ans ou plus. La chaleur causee par l'utilisation en climat chaud ou sous conditions de forte charge peut accelerer le processus de vieillissement. Il faut replacer le pneu de la roue de secours quand on remplace les autres pneus, car le pneu de la roue de secours vieillit aussi. La date de fabrication du pneu (semaine et année) est indiquee par un numero a 4 chiffres.
Se référer à Etiquetage des pneus à la page 9-24.
Pratiques sécuritaires
Votre façon de conduire influe grandement sur le kilométrage des pneus et la sécurité. Cultiver donc de bonnes habitudes de conduite dans votre propre intérêt.
- Respecter les limites de vitesses indiquées.
- Eviter de démarrer, de vous arrêté et de tournier brusquement.
- Eviter les nids-de-poule et les objets se trouvant sur la route.
- Ne monter pas sur le trottoir ou ne touchez pas le bord du trottoir avec le pneu lorsque vous vous garez.
ATTENTION
Si vous ressentez des vibrations soudaines ou des anomalies pendant la conduite, ou si vous suspectez un dommage du pneu ou du vehicule, ralentir immédiatement. Conduire prudèment jusqu'à ce que vous puissiez quitter la route en toute sécurité. Arrête et vérifier si les pneus sont endommages. Si un pneu est sous-gonflé ou endommagé, le dégonfler, enlever le pneu et la jante et le replacer par la roue de secours. Si vous ne pouvez pas tracer de cause, faire remorquer le vehicule jusqu'au concessionnaire ou revendeur de pneus le plus proche pour faire inspecter le vehicule.
Chargement du vehicule
Le present chapitre indique comment charger correctement le vehicule et/ou la remorque et conserver le poids du vehicule charged dans les limites nominales, avec ou sans remorque. En chargeant correctement le vehicule, on peut obtenir les dernières performances possibles de son vehicule. Avant de charger votre vehicule, familiariser avec les termes suivants pour déterminer les normes de poids du vehicule, avec ou sans remorque, sur la base de l'étiquette du certificat de sécurité du vehicule et de l'étiquette d'informations relatives au chargement et aux pneus:
PRUDENCE
Véhicule surcharge:
Il est dangereux de surcharger un vehicule. Un vehicule surcharge peutmettre les passagers en danger. Le poids excessif sur le systeme de suspension du vehicule peut causer une panne des ressorts ou des amortisseurs, une panne des freins, des problèmes de conduite ou de direction, des irregularités d'usure des pneus, des anomalies des pneus ou d'autres dommages.
Un vehicule surcharge est plus difficile à conduire et à contrôler. La distance nécessaire pour s'arrête augmente aussi. En cas de surcharge vraiment excessive, les freins risquent de ne plus fonctionner du tout, en particulier sur les pentes fortes. La charge qu'un pneu peut supporter est fonction à la fois de la taille du pau, de sa plage de chargement, et de la pression de gonflage correspondante.
Ne jamais surcharger le vehicule et toujours se conformer aux normes de poids du vehicule indiquées sur les étiquettes du certificat de sécurité et des informations relatives au chargement et aux pneus.
Le poids en état de marche de base est le poids du vehicule complenant le réservoir plein de carburant et tout l'équipement standard. Il ne comprend pas les passagers, les paquets ou les équipements en option.
Le poids en état de marche du vehicule est le poids du vehicule neuf au moment de la livraison, y compris les équipements non standard.

CHARGE UTILE
La charge utile est le poids combiné des paquets et des passagers que le vehicule peut transporter. La charge utile maximum de votre vehicule est mentionnée sur l'étiquette des informations relatives au chargement et aux pneus se trouvant sur le cadre de portière du conducteur ou sur le montant de portière. Pour la charge utile maximum, voir "THE COMBINATION WEIGHT OF OCCUPANTS AND CARGO SHOULD NEVER EXCEED XXX kg or XXX lbs". La charge utile mentionnée sur l'étiquette des pneus est la charge utile maximum pour le vehicule fabriqué par l'usine de montage. Si des équipements non standard ont été installés sur le vehicule, le poids de cet équipement doit être soustrait de la charge utile mentionnée sur l'étiquette des pneus afin d'obtenir une bonne précision.
ECHANTILLON

Le poids de la charge ajoutée comprend tout le poids ajouté au poids en état de marche de base, y compris les paquets et les équipements en option. Lors du remorquage, le poids de la languette de la remorque ou de l'axe de rotule fait aussi partie du poids de la charge ajoutée.
La limite du poids de la charge ajoutée diminue en fonction du nombre d'occupants du vehicule. La limite du poids de la charge ajoutée peut etre calculee en soustrayant le poids total des occupants du vehicule de la valeur du "poids combiné maximum des occupants et des paquets" mentionnée sur I'etiquette des pneus.
Exemples: Sur la base d'un seul occupant pesant 68kg (150 lbs), et d'une valeur de 385kg (849 lbs) pour le "poids combiné maximum des occupants et des paquets":
La limite du poids de la charge ajoutée avec un occupant est de 385kg (849 lbs) - 68 kg (150 lbs) = 317 kg (699 lbs)
La limite du poids de la charge ajoutée avec deux occupants est de 385kg (849 lbs) - (68× 2)kg((150× 2)lbs) = 249kg (549 lbs)
Si le poids des occupants augmente, la limite du poids de la charge ajoutée diminue d'autant.
PBE (poids brut sur l'essieu) est le poids total place sur chaque essieu (avant et arrêté) - y compris le poids en état de marche du vehicule et toute la charge utile.
PNBE (poids nominal brut sur l'essieu) est le poids admissible maximum pouvant etre supporte par un seul essieu (avant ou arriere). Ces nombres sont mentionnés sur l'etiquette du certificat de conformite a la securite située sur le cadre de portiere du conducteur ou sur le montant de portiere. La charge totale supportee par chaque essieu ne doit jamais depasser son PNBE.

PBV (poids brut du vehicule) est le poids en etat de marche du vehicule + les bagages + les passagers.
PNBV (poids nominal brut du vehicule) est le poids permissible maximum du vehicule complètement chargé (y compris toutes les options, équipements, passagers et bagages). Le PNBV est indiqué sur l'étiquette du certificat de conformité à la sécurité située sur le cadre de portière du conducteur ou sur le montant de portière. Le PBV ne doit jamais dépasser le PNBV.
ECHANTILLON


PRUDENCE
Dépassement des limites nominales du poids sur l'essieu:
Le dépassement des limites du poids nominal sur l'essieu mentionné sur l'étiquette du certificat de sécurité est dangereux et peut entraîner des blessures graves ou mortelles en raison de l'amoiindissement de la maniabilité du vehicule, de ses performances, du fonctionnement du moteur, de la transmission, et/ou causer des dommages structuraels, des dommages graves au vehicule, ou une perte de contrôle du vehicule.
Veiller toujours à ne pas dépasser les limites nominales du poids sur l'essieu.
Ne pas tracter de remorque avec ce vehicule:
Il est dangereux de tracter une remorque avec ce vehicule car celui-ci n'a pas ete concu pour tracter une remorque, et donc le systeme d'entrainement pourrait etre négativement affecte, ce qui risquerait d'endommager le vehicule.

PCB (poids combiné brut) est le poids du vehicule charge (PBV) plus le poids de la remorque complètement chargée.
PNCB (poids nominal combiné brut) est le poids admissible maximum du vehicule et de la remorque chargée - y compris tous les bagages et les passagers - que le vehicule peut supporter sans risquer d'être endommagé. (Important: Le système de freinage du vehicule tracteur est pris en compte dans PNBV, non dans PNCB. Des freins fonctionnels séparés doivent être utilisés pour assurer le contrôle sur des vehicules remorqués et des remorques pesant plus de 1.500 lbs). PCB ne doit jamais dépasser PNCB.
Le poids maximum de la remorque chargée est le poids le plus grand possible d'une remorque complètement chargée que le vehicule peut remorquer. Ceci implique que le vehicule ne compertera que les options obligatoires, aucune charge ajoutée (interne ou externe), une languette de remorque de 10 - 15% (remorque conventionnelle) ou un poids d'axe de rotule de 15 - 25% (remorque à cinquième roue), et le conducteur seulement (150 lbs). Pour plus de détails, consultez votre concessionnaire (ou le guide de remorquage de remorque et RV fourni par votre concessionnaire).
La charge sur languette ou le poids d'axe de rotule avec cinquième roue signifie la quantité de poids qu'une remorque applique vers le bas lorsque la remorque se déplace.
Exemples: Pour une remorque conventionnelle de 5000 lb, multiplier 5000 par 0,10 et 0,15 pour obtenir une plage de charge sur languette de 500 à 750 lbs. Pour une remorque à cinquième roue de 11.500 lb, multiplier par 0,15 et 0,25 pour obtenir une plage de charge sur axe de rotule de 1.725 à 2.875 lbs.
PRUDENCE
Dépassement des specifications de PNBV ou PNBE:
Il est dangereux de dépasser le PNBV ou le PNBE spécifiés sur l'étiquette du certificat.
Le dépassement des limites nominales du vehicule risque de causeur un accident grave, des blessures corporelles ou des dommages au vehicule.
Ne pas utiliser de pneus de rechange ayant une capacité de charge inférieure à celle des pneus d'origine, car ils risquent de diminuer les limites du PNBV et du PNBE du vehicule. Le remplacement des pneus par des pneus ayant une limite plus haute que les originaux n'augmente pas les limites de PNBV et PNBE.
Ne jamais dépasser les valeurs de PNBV ou PNBE spécifiées sur l'étiquette du certificat.
Etapes pour déterminer la limite de charge correcte:
Etapes pour déterminer la limite de charge correcte:
(1) Localiser la mention "The combined weight of occupants and cargo should never exceed XXX kg or XXX lbs" sur la plaque signalétique du vehicule.
(2) Déterminer le poids combiné du conducteur et des passagers devant occuper le vehicule.
(3) Soustraire le poids combiné du conducteur et des passagers de XXX kg ou XXX lbs.
(4) Le nombre obtenu est égal à la quantité disponible de capacité de charge ajoutée et de bagages. Par exemple, si la quantité “XXX” est égale à 1.400 lbs. et que cinq passagers de 150 lb prendront place dans le vehicule, la capacité disponible de charge ajoutée et de bagages sera de 650 lbs. (1400 - 750 (5 × 150) = 650 lbs.)
(5) Détérminer le poids combiné de bagages et de charge ajoutée sur le vehicule. Ce poids pourrait ne pas dépasser la capacité de charge ajoutée et de bagages calculée à l' étape 4.
(6) Si votre vehicule doit remorquer une remorque, la charge de votre remorque sera transférée à votre vehicule. Consulter ce manuel pour déterminer comment ceci réduit la capacité de charge ajoutée et de bagages de votre vehicule.
Signalement des problèmes de sécurité (Etats-Unis)
Si vous pensez que votre vehicule présente une anomalie susceptible de provoquer un accident, des blessures corporelles ou la mort, vous doivent en informer immédiatement la National Highway Traffic Safety Administration (NHTSA) ainsi que Mazda Motor Corporation (vous importateur/distributeur Mazda).
Si la NHTSA recoit plusieurs plaintes identiques, elle peut proceder à une enquête et, en cas d'anomalie compromettant la sécurité constatée sur un groupe de vehicules, elle peut ordonner une campagne de rappel et de mesures correctives. Toutefois, la NHTSA ne peut intervenir pour régler un différend entre vous, votre concessionnaire ou Mazda Motor Corporation (vous importateur/distributeur Mazda).
Vou puez joindre la NHTSA par téléphone au numero sans frais d'assistance téléphonique Vehicle Safety Hotline à 1-888-327-4236 (TTY: 1-800-424-9153); vous rendre sur le site http://www.safercar.gov; ou écrire à:
Administrateur, NHTSA, 1200 New Jersey Avenue, SE., Washington, DC, 20590. Vous pouvez également obtaining d'autres renseignements sur la sécurité des vehicules automobiles en vous rendant sur le site http://www.safercar.gov.
REMARQUE
Si vous résiduez aux États-Unis, toute la correspondance à Mazda Motor Corporation devrait être adressée à:
Centre d'assistance à la clientèle ou au nombre sans frais 1 (800) 222-5500
Si vous résidez à l'extérieur des États-Unis, veuillez contacter le distributeur Mazda le plus proche indiqué (page 9-13) de ce manuel.
Signalement des problèmes de sécurité (Canada)
Les clients canadiens désireux de signaler une défectuosité liée à la sécurité à Transport Canada, Defect Investigations and Recalls, peuvent appeler le numéro sans frais 1-800-333-0510 ou contacter Transport Canada par la poste à l'adresse: Transport Canada, ASFAD, Place de Ville Tour C, 330 Sparks Street, Ottawa ON K1A 0N5.
Pour de plus amples informations sur la sécurité routière, visiter le site Internet sur la sécurité routière à l'adresse:
Publications d'entretien
Des publications autorisées par Mazda sont disponibles pour les propriétaires qui désirent réaliser l'entretien ou les réparations.
Consulter le tableau ci-dessous pour les publications qui peuvent être commandées chez un concessionnaire agréé Mazda.
Si le concessionnaire n'a pas la publication désirée, ils peuvent la commander.
| NUMERO DE COMMANDE DE PUBLICATION | DESCRIPTION DE PUBLICATION |
| 9999-95-034B-12 | MANUEL D'ATELIER 2012 (Anglais) |
| 9999-MX-034B-12 | MANUEL D'ATELIER 2012 (Espagnol) |
| 9999-95-068G-12 | SCHEMA DE CABLAGE 2012 (Anglais) |
| 9999-MX-068G-12 | SCHEMA DE CABLAGE 2012 (Espagnol) |
| 9999-95-080C-12 (Etats-Unis uniquement) | CONDUITE ET ENTRETIEN 2012 |
| 9999-EC-080C-12 (Canada uniquement) | CONDUITE ET ENTRETIEN 2012 |
| 9999-PR-080C-12 (Puerto Rico uniquement) | CONDUITE ET ENTRETIEN 2012 |
| 9999-95-MODL-12 | POINTS PRINCIPAUX POUR L'ENTRETIEN 2012 |
| Système de navigation de 7 pouces | |
| 9999-EC-080C-12NAV (Canada uniquement) | CONDUITE ET ENTRETIEN DU SYSTEME DE NAVIGATION 2012 |
| Affichage multi-informations (MID) avec système de navigation compact | |
| 9999-95-080C-12NAV (Etats-Unis uniquement) | CONDUITE ET ENTRETIEN DU SYSTEME DE NAVIGATION 2012 |
| 9999-PR-080C-12NAV (Puerto Rico uniquement) | CONDUITE ET ENTRETIEN DU SYSTEME DE NAVIGATION 2012 |
▼MANUEL D'ATELIER:
Couvre l'entretien et les réparations concernant le groupe motopropulseur, la carrosserie et le chassin.
▼SCHEMA DE CABLAGE:
Donne les diagrammes électriques et l'emplacement des composantes du système électrique au complet.
▼CONDUITE ET ENTRETIEN:
Ce manuel contient l'information concernant l'entretien et l'utilisation ajustats de votre vehicule. Ceci n'est pas un manuel technique.
POINTS PRINCIPAUX POUR L'ENTRETIEN:
Décrit et explique l'utilisation des nombreux systèmes de votre Mazda.
CONDUITE ET ENTRETIEN DU SYSTEME DE NAVIGATION:
Ce manuel contient les informations concernant le fonctionnement et l'utilisation correcte du système de navigation. Ceci n'est pas un manuel technique.
10 Spécifications
Informations techniques sur votre vehicule Mazda.
Numero d'identification 10-2
Etiquettes d'informations sur le vehicule 10-2
Specifications 10-4
Specifications 10-4
Fonctions de personnelisation 10-9
Fonctions de personnelisation 10-9
Etiquettes d'informations sur le vehicule
Numéro d'identification du vehicule
Le numero d'identification du vehicule, l'identifie legalement. Le numero est gravé sur une plaque fixée au panneau d'auvent située dans le coin gauche du tableau de bord. Cette plaque est facilement visible à travers le pare-brise.

Etiquette des normes de sécurité automobile

Numéro du chàssis
Ouvrir le couvercle comme indiqué sur l'illustration pour vérifier le numero du chassin.

Etiquette d'informations du système antipollution du vehicule

Etiquette de pressions de gonflage des pneus (sauf Canada)

Numéro du moteur Moteur de 2,3 litres

Moteur de 2,5 litres

Specifications
Moteur
| Dénomination | Spécification | |
| Mateur de 2,3 litres | Mateur de 2,5 litres | |
| Type | Double Act, 16 soupapes, 4 cylindres en ligne | |
| Alésage × Course | 87,5 × 94,0 mm (3,44 × 3,70 po.) | 89,0 × 100 mm (3,50 × 3,94 po.) |
| Cylindrée | 2.261 ml (2.261 cm3, 138,0 cu po.) | 2.488 ml (2.488 cm3, 151,8 cu po.) |
| Rapport de compression | 9,5 | 9,7 |
Systemé électrique de la batterie
| Dénomination | Classification | |
| Mateur de 2,3 litres | Mateur de 2,5 litres | |
| Batterie | 12V-48AH/5hr Sans entretien | 12V-48AH/5hr Sans entretien |
| 12V-55AH/5hr Sans entretien | 12V-52AH/5hr Sans entretien | |
| Numéro des bougies | L3BD 18 110*1 | LFG1 18 110*1 |
| L3YD 18 110 | L3Y2 18 110 | |
| Écartement des electrodes de bougies | 0,60—0,70 mm (0,024—0,027 po.) | 1,25—1,35 mm (0,049—0,053 po.) |
*1 à l'usine

ATTENTION
Lors du nettoyage de bougies à l'iridium, ne pas utiliser de Brosse métallique. Sinon, cela risque d'endommager la fine couche de particules sur les pointes en alliage d'iridium et platine.
Qualité des lubrifiants
| Lubrifant | Classification | |
| Huile moteur | Se référer à Huile moteur recommendée à la page 8-22. | |
| Liquide de boîte de vitesses automatique | Boîte de vitesses 5 vitesses | ATF M-V Mazda d'origine |
| Boîte de vitesses 6 vitesses | JWS3309 Mazda d'origine | |
| Huile de boîte de transfert | API Service GL-5 (SAE 80W-90) | |
| Huile de différentiel arrêté | API Service GL-5 (SAE 80W-90) | |
| Liquide de direction assistée | ATF M-III, M-V Mazda d'origine ou l'équivalent (par ex. Dexron® II) | |
| Liquide de frein | SAE J1703 ou FMVSS116 DOT-3 | |
Contenances
| Dénomination | Capacité | ||
| Huile moteur | Moteur de 2,3 litres | Avec remplacement du filtre à huile | 5,7 litres (6,0 US qt, 5,0 Imp qt) |
| Sans remplacement du filtre à huile | 5,3 litres (5,6 US qt, 4,7 Imp qt) | ||
| Moteur de 2,5 litres | Avec remplacement du filtre à huile | 5,0 litres (5,3 US qt, 4,4 Imp qt) | |
| Sans remplacement du filtre à huile | 4,6 litres (4,9 US qt, 4,0 Imp qt) | ||
| Liquide de refroidissement | 9,0 litres (9,5 US qt, 7,9 Imp qt) | ||
| Liquide de boîte de vitesses automatique | Boîte de vitesses 5 vitesses | 8,14 litres (8,60 US qt, 7,16 Imp qt) | |
| Boîte de vitesses 6 vitesses | 7,0 litres (7,4 US qt, 6,2 Imp qt) | ||
| Huile de boîte de transfert | 1,2 litre (1,3 US qt, 1,1 Imp qt) | ||
| Huile de différentiel arrêté | 1,0 litre (1,1 US qt, 0,9 Imp qt) | ||
| Liquide de lave-glace | Avec voyant de niveau bas de liquide de lave-glace | 4,5 litres (4,8 US qt, 4,0 Imp qt) | |
| Sansvoyant de niveau bas de liquide de lave-glace | 2,5 litres (2,6 US qt, 2,2 Imp qt) | ||
| Réservoir de carburant | Moteur de 2,3 litres | 69,0 litres (18,2 US gal, 15,2 Imp gal) | |
| Moteur de 2,5 litres | 62,0 litres (16,4 US gal, 13,6 Imp gal) | ||
Vérifier les niveaux d'huile et de liquide à l'aide des jauges ou des repêres de niveau sur les réservoirs.
Dimensions
| Dénomination | Spécifications du vehicule | |
| Longueur hors tout | Avec support de plaque d'immatriculation | 4.694 mm (184,8 po.) |
| Sans support de plaque d'immatriculation | 4.682 mm (184,3 po.) | |
| Largeur hors tout | 1.872 mm (73,7 po.) | |
| Hauteur hors tout | 1.645 mm (64,8 po.) | |
| Voie avant | 17 po. | 1.627 mm (64,1 po.) |
| 18 ou 19 po. | 1.617 mm (63,7 po.) | |
| Voie arrêté | 17 po. | 1.622 mm (63,9 po.) |
| 18 ou 19 po. | 1.612 mm (63,5 po.) | |
| Empattement | 2.750 mm (108,3 po.) | |
Poids
Moteur de 2.3 litres
| Dénomination | Poids | ||
| 2WD | AWD | ||
| PNBV (Poids nominal brut du vehicule) | 2.233 kg (4.923 lb) | 2.322 kg (5.119 lb) | |
| PNBE (Poids nominal brut sur l'essieu) | Avant | 1.188 kg (2.619 lb) | 1.217 kg (2.683 lb) |
| Arrière | 1.049 kg (2.313 lb) | 1.115 kg (2.458 lb) | |
Moteur de 2.5 litres
| Dénomination | Poids | |
| PNBV (Poids nominal brut du vehicule) | 2.125 kg (4.685 lb) | |
| PNBE (Poids nominal brut sur l'essieu) | Avant | 1.104 kg (2.434 lb) |
| Arrière | 1.025 kg (2.260 lb) | |
Climatiseur
| Dénomination | Classification |
| Type de réfrigérant | HFC134a (R-134a) |
Ampôules
Eclairage extérieur
| Ampoule | Catégorie | |||
| Puisance en watt | ECE R (SAE) | |||
| Phares | Feux de route | 60 | HB3 (#9005) | |
| Feux de croissement | Halogène | 55 | H7 (H7) | |
| A décharge en xénon | 35 | D2S (D2S) | ||
| Clignotants avant/Feux de stationnement | 28/8 | — (#7444NA) | ||
| Feux de position avant | 5 | W5W (#168) | ||
| Antibrouillards* | 55 | H11 (H11) | ||
| Clignotants latéraux (intégrés aux rétroviseurs extérieurs)* | LED*1 | — (-) | ||
| Feu de freinage auxiliaire | LED*1 | — (-) | ||
| Clignotants arrêté | 21 | WY21W (-) | ||
| Feux de freinage/Feux arrêté | 21/5 | W21/5W (#7743) | ||
| Feux de recul | 21 | W21W (#7440) | ||
| Feux de plaque d'immatriculation | 5 | W5W (#168) | ||
| Feux de position arrêté | 5 | W5W (#168) | ||
*1 LED est l'abréviation de Light Emitting Diode (diode électroluminescente)
Eclairage de l'habitacle
| Ampoule | Catégorie | |
| Puisance en watt | ECE R | |
| Eclairages au pavillon (Avant)/Lampes de lecture | 5 | W5W |
| Eclairage au pavillon (Arrière) | 10 | — |
| Eclairage de compartment à bagages | 10 | — |
| Eclairage de miroir de pare-soileil | 1,8 | — |
Pneus
REMARQUE
Les pneus montés sont ceux qui correspondent le mistraux besoins du chassis du vehicule. Lors du remplacement des pneus, Mazda recommande de les replacer par des pneus du même type que ceux montés à l'origine. Pour plus de détails, s'adresser à un concessionnaire agrée Mazda.
Vérifier l'étiquette de pressions de gonflage des pneus pour la taille des pneus et leur pression de gonflage.
Se référer à Pression de gonflage des pneus à la page 8-42.
Roude secours standard
(Etats-Unis et Canada)
| Taille de pneu | Pression de gonflage | |
| Avant | Arrière | |
| P215/70R17 100H | 220 kPa (32 psi) | 220 kPa (32 psi) |
| P235/60R18 102H | 220 kPa (32 psi) | 220 kPa (32 psi) |
| P235/55R19 101H | 220 kPa (32 psi) | 220 kPa (32 psi) |
(Sauf Etats-Unis et Canada)
| Taille de pneu | Pression de gonflage | |
| Avant | Arrière | |
| P215/70R17 100H | 220 kPa (32 psi) | 220 kPa (32 psi) |
| 235/60R18 103H | 220 kPa (32 psi) | 220 kPa (32 psi) |
Roue de secours à usage-temporaire
(Etats-Unis et Canada)
| Taille de pneu | Pression de gonflage |
| T155/90D18 103M | 420 kPa (60 psi) |
(Sauf Etats-Unis et Canada)
| Taille de pneu | Pression de gonflage |
| 185/80R17 95M | 250 kPa (36 psi) |
Fusibles
Se référer à Fusibles à la page 8-56.
Fonctions de personnalisation
Les "Fonctions de personnelisation" suivantes sont disponibles. Ces réglages ne peuvent être modifiés que par un concessionnaire/agréed Mazda.
| Dénomination | Fonction | Réglage en usine | Réglages disponibles |
| Fonction à télécommande | Il est possible de désactiver levoyant de niveau de la pile de la clé avancée sur le combiné d'instruments | Activé | Déactivé |
| Un bip sonore retentit pour confirmer que toutes les portières ou le hayon ont été verrouillés/déverrouillés*1 | Activé | Déactivé | |
| Il est possible d'activer la fonction qui permet de verrouiller automatiquement les portières lorsque le conducteur emporte la clé*2 | Déactivé | Activé |
1 Lorsque le verrouillage automatique fonctionne, l'avertisseur sonore retentit quelque queit soit le réglage.
2 Lorsque la fonction de verrouillage automatique est activée, les vitres ne se fermeront pas automatiquement. Il faut les fermer avant de quitter le vehicule.
11 Index
A
Affiche d'informations. 6-119
Affichage audio 6-120
Affichage de commande température 6-120
Fonctions de l'affichage d'informations 6-119
Affichage multi-informations 6-121
Affichage audio 6-124
Affichage de la températe extérieure 6-124
Contrôle d'entretien 6-126
Ecran de rétrovision 6-133
Fonctions de l'affichage multi-informations 6-122
Indicateur d'ajretissement 6-131
Montre 6-123
Ordinateur de bord 6-124
Réglages 6-131
Assistance à la clientèle 9-2
Attelage d'une remorque 4-17
Avant de démarrer le moteur 4-6
Avant d'entrée dans le vehicule .... 4-6
De l'intérieur du vehicule 4-6
Avertisseur 5-80
Avertisseurs sonores Avertisseur de ceinture de sécurité 5-66
Avertisseur de surveillance de
pression des pneus 5-66
Rappel de clé au contact. 5-66
Rappel de frein de stationnement 5-66
B
Batterie Demarrage d'urgence 7-16
Entretien 8-39
Specifications 10-4
Boite a gants 6-140
Boite de vitesses automatique Conseils concernant la conduite 5-19
Liquide 8-30
Mode de seLECTION manuelle des rapportes 5-15
Plages de la boîte de vitesses .... 5-13
Système de verrouillage de levier sélecteur 5-14
C
Carburant Contenance du réservoir 10-5
Exigences 4-2
Jauge 5-47
Trappe de replissage et bouchon de réservoir 3-42
Ceintures de sécurité Blocage automatique 2-20
Blocage d'urgence 2-20
Femmes enceintes 2-20
Position centrale arriere 2-26
Précautions concerning les ceintures de sécurité 2-18
Prétension et de limitation de charge 2-23
Rallonge 2-30
Rappel de bouclage des ceintures de sécurité 2-32
Sauf position centrale arriere..... 2-21
Voyant/bip 2-32
Changement de file 5-74
C
Clé avancée 3-2
Entretien 3-7
Entretien de la clé avancée 3-5
Fonction de suspension de clé avancée 3-19
Voyants et avertisseurs sonores... 3-20
Clés 3-23
Clignotant Feux de détresse 5-81
Phares 5-68
Clignotants et changement de file .... 5-74
Combé d'instruments 5-44
Commanded'éclairage 5-68
Commandedynamique de stabilité
(DSC) 5-29
Témoin TCS/DSC 5-29
Compartiments de rangement 6-140
Anneaux de fixation de la charge 6-141
Boite a gants 6-140
Console centrale 6-141
Crochets à manteau arrêté...... 6-142
Comptes-tours 5-46
Compteur de vitesse 5-45
Compteurjournalier 5-45
Compteur totalisateur et compteur journalier 5-45
Conduite dans des conditions dangereuses 4-8
Conduite dans l'eau 4-13
Conduite hivernale 4-11
Conduite sur routes irrégulières 4-15
C
Conseils concernant la conduite 4-7
Boite de vitesses automatique ... 5-19
Conduite dans des conditions dangereuses 4-8
Conduite dans l'eau 4-13
Conduite hivernale 4-11
Conduite sur routes
irregulieres 4-15
Période de rodage 4-7
Pour désembourber le vehicule... 4-11
Suggestions pour rouler plus
economiquelement 4-7
Véhicules à turbocompresseur... 4-16
Console centrale 6-141
Contact Clés 3-23
Interrupteur 5-2
Contenances 10-5
Convertisseur catalytique 4-4
Crochets à manteau arrêté 6-142
D
Dégivreur Lunette arrête 5-79
Retroviseur 5-80
Dégivreur de lunette arrête 5-79
Dégivreur de rétroviseur 5-80
Demarrage avec batterie de
secours 7-17
Demarrage du moteur 5-4
Demarrage d'urgence 7-16
Demarrage avec batterie de
secours 7-17
Demarrage en poussant 7-20
Moteur noyé 7-16
Demarrage en poussant 7-20
Déverrouillage du capot 3-43
D
Dimensions 10-5
Direction assistée 5-19 Liquide 8-30
Dispositifs de sécurité pour enfants Installation de systèmes de dispositif de sécurité pour enfants 2-41 Position d'installation de système de dispositif de sécurité pour enfants 2-40 Précautions concernant les dispositifs de sécurité pour enfants 2-34 Système de dispositif de sécurité pour enfants de type LATCH 2-49
E
Eclairage de compartment à bagages 6-118
Eclairage du tableau de bord 5-47
Eclairages au pavillon 6-117
Eclairages interieurs 6-117
Ecran de rétrovision 6-133
Endommagement de la peinture...... 8-63
Entretien
Introduction 8-2
Périodicité de l'entretien réalisable par le propriétaire 8-18
Périodique 8-3
Précautions concernant l'entretien réalisable par le propriétaire 8-19
Entretien de l'habitacle 8-71
Entretienextérieur 8-65
Essuie-glace de lunette arrête 5-79
Essuie-glace de pare-brise 5-75
Remplacement des balais d'essuie-glace 8-34
Etiquettes d'informations sur le vehicule 10-2
F
Feux de détresse 5-81
Feux de position diurnes 5-73
Fonctions de personnelisation 10-9
Frein Liquide 8-28
Frein de stationnement 5-7
Freins 5-5 Assistance des freins 5-10
Frein de stationnement 5-7
Freins 5-5
Indicateur d'usure des plaquettes 5-11
Système d'antiblocage de frein (ABS) 5-9
Voyant 5-8
Fusibles 8-56
Description des panneaux 8-59
Replacement 8-56
G
Garantie 9-15
Gaz d'échéppement 4-5
H
Hayon 3-34
Compartment à bagages 3-36
1
Immatriculation du vehicule à l'étranger 9-19
Immobilisation Crochet 7-22
Information sur l'etiquette 10-2
Informations relatives aux pneus .... 9-24
J
Jauge de température du liquide de refroidissement du moteur 5-46
L
Lampes de lecture 6-118
Lave-glace de lunette arrête 5-79
Lave-glace de pare-brise 5-78
Lève-vitre électricité 3-38
Liquide de lave-glace 8-33
Liquide de refroidissement du moteur Surchauffe 7-14
Liquides Classification 10-4 Entretien réalisable par le propriete 8-18
Lubrification de la carrosserie 8-34
M
Miroirs de pare-soleil 6-116
Moteur
Demarrage 5-4
Déverrouillage du capot 3-43
Gaz d'échéppement 4-5
Huile 8-22
Liquide de refroidissement...... 8-26
Surchauffe 7-14
0
Outil 7-3
Oxyde de carbone 4-5
P
Panneau pare-soileil 3-47
Pare-soleil 6-116
P
Pare-soleils a rallonge laterale..... 6-116
Période de rodage 4-7
Phares Appel de phares 5-72 Commande . 5-68 Feux de route/croisement 5-72 Reglage 5-73
Pièces et accessoires non originaux additionnels 9-20
Pneu a plat 7-3 Changement 7-6 Rangement de la roue de secours et des outils 7-3
Pneus Permutation 8-43 Pneu a plat .7-3 Pneus a neige 4-12
Pression de gonflage 8-42
Rangement de la roue de secours et des outils 7-3
Système de classement uniforme de la qualité d'un pau (indice UTQGS) 9-22
Poids 10-6
Porte-bouteilles 6-140
Porte-verres 6-139
Portieres arrières, verrous de sécurité pour enfants 3-34
Pour désembourber le vehicule 4-11
Prise des accessoires 6-143
Publications d'entretien 9-46
Q
Qualité des lubrifiants 10-4
R
Rangement de la roue de secours et des
outils 7-3
Régulateur de vitesse de croisière .... 5-22
Remorquage
Attelage d'une remorque 4-17
Description 7-21
Remorquage d'urgence 7-21
Remorquage récréatif 7-25
Remorquage d'urgence 7-21
Remorquage récréatif 7-25
Remplacement d'une ampoule 8-48
Remplacement d'une roue 8-46
Rétroviseur interieur 3-60
Rétroviseurs
Rétroviseur interieur 3-60
Retroviseurs extérieurs 3-59
Rétroviseurs extérieurs 3-59
Roue de secours à usage
temporaire 8-45
S
Serrures des portieres 3-30
Siège arrête 2-11
Sièges
Chauffage de siege 2-16
Siège arrête 2-11
Siège avant
(Sièges à commande électrique) ... 2-5
Siège avant
(Sièges à commande manuelle) .... 2-2
Sièges avant
(Sièges à commande électrique) 2-5
Sièges avant
(Sièges à commande manuelle) 2-2
Signalement des problèmes de
sécurité 9-44
Soins a apporter 8-63
S
Specifications 10-4
Stationnement en cas d'urgence 7-2
Suggestions pour rouler plus
économique 4-7
Surcharge 4-14
Surchauffe 7-14
Système antipollution
Système antivol 3-56
Système audio 6-16
Appareil audio 6-27
Certification de sécurité 6-67
Commande audio 6-61
Conseils d'utilisation du système audio 6-17
Mode AUX 6-65
Système audio Bluetooth® 6-68
Système BSM
Surveillance des angles morts) 5-38
Entretien des capteurs radars..... 5-42
Interrupteur BSM OFF 5-41
Signal sonore d'advertisement/ voyant 5-40
Témoin BSM OFF 5-41
Système d'antiblocage de frein
(ABS) 5-9
Voyant 5-9
Système de commande de
température 6-2
Spécifications relatives à l'essence 10-6
Système de commande de traction
(TCS) 5-26
Interrupteur TCS OFF 5-28
Témoin TCS OFF 5-27
Témoin TCS/DSC 5-26
S
Système de sécurité
Système antivol 3-56
Système d'immobilisation
(sans clé avancée) 3-52
Systmed'immobilisation
(aveccleavancée) 3-48
Système de surveillance de pression des
pneus 5-31
Activation erronee du système.... 5-35
Pneus et jantes 5-35
Voyant du système de surveillance de
pression des pneus 5-33
Système de télécommande
HomeLink 5-81
Système d'entrée éclairée 6-117
Système d'immobilisation
(avec clé avancée) 3-48
Système d'immobilisation
(sans clé avancée) 3-52
Système d'ouverture à
telecommande 3-24
Système mains-libres Bluetooth®
(Reconnaissance vocale)
Certification de sécurité 6-114
Il est impossible d'utiliser le
telephone mains-libres
Bluetooth® 6-114
Réglage du téléphone mains
libres 6-103
Service clientèle du système mains
libres Bluetooth® Mazda 6-115
Utilisation du téléphone mains-libres
Bluetooth® 6-85
Utilisation pratique du système
mains-libres 6-92
Systèmes de coussin d'air 2-54
S
Systèmes de retenue supplémentaire à coussins d'air
Composants du système de retenue
supplémentaire 2-61
Contrôle et entretien 2-76
Critères de déploiement des coussins
d'air SRS 2-67
Explication du fonctionnement des
coussins d'air SRS 2-62
Limits du coussin d'air SRS .... 2-68
Précautions concernant les systèmes
de retenue supplémentaire 2-54
Système de classification des
occupants des sièges du conducteur et
du passager avant 2-70
T
Telephone mains-libres
Bluetooth® 6-80
Téléphones cellulaires 9-21
Témoins 5-49
BSM OFF 5-65
Clignotants et feuels de détresse...5-65
Croisière 5-64
Feux de route 5-62
Position de plaque de boite de
vitesse 5-63
Sécurité 5-62
TCS OFF 5-64
TCS/DSC 5-63
Toit ouvrant transparent 3-46
U
Utilisation du système toutes roues
motrices (AWD) 5-20
Voyant du système toutes roues
motrices (AWD) 5-20
V
Verrouillage electrique des portieres 3-32
Verrous de sécurité pour enfants des portieres arrêté 3-34
Vitres Lève-vitres electriques 3-38
Volant 3-59
Avertisseur 5-80
Voyants 5-49
ABS 5-52
Anomalie du moteur 5-54
AWD 5-57
Boite de vitesses automatique 5-57
Ceinture de sécurité 5-55
Circuit de charge 5-53
Circuit de freinage 5-51
Niveau bas de carburant 5-55
Niveau bas de liquide de lave-glace 5-57
Portiere ouverte 5-57
Pression d'huile moteur 5-53
Système de coussin d'air 5-54
Système de surveillance de pression des pneus 5-58
Système du dispositif de prétension des ceintures de sécurité avant.... 5-54
Vérification du bouchon du réservoir de carburant.... 5-55
Voyant KEY (rouge)/Témoin KEY (vert) 5-61
V
Vue générale du compartment
moteur 8-21
Notice Facile