RHVI912IN - Hotte aspirante ROSIERES - Notice d'utilisation et mode d'emploi gratuit
Retrouvez gratuitement la notice de l'appareil RHVI912IN ROSIERES au format PDF.
| Type de produit | Hotte aspirante |
| Dimensions approximatives | 90 cm de largeur |
| Type d'installation | Murale |
| Débit d'air | Jusqu'à 700 m³/h |
| Niveaux de puissance | 3 niveaux de puissance + mode intensif |
| Éclairage | LED |
| Filtre à graisse | Filtre métallique lavable |
| Filtre à charbon | Optionnel, non inclus |
| Alimentation électrique | 220-240 V |
| Puissance | 250 W |
| Poids | Environ 15 kg |
| Matériaux | Acier inoxydable |
| Entretien et nettoyage | Filtres lavables en machine, nettoyage de la surface avec un chiffon humide |
| Pièces détachées et réparabilité | Disponibilité des pièces détachées à vérifier auprès du fabricant |
| Normes de sécurité | Conforme aux normes CE |
| Garantie | 2 ans |
FOIRE AUX QUESTIONS - RHVI912IN ROSIERES
Questions des utilisateurs sur RHVI912IN ROSIERES
0 question sur cet appareil. Repondez a celles que vous connaissez ou posez la votre.
Poser une nouvelle question sur cet appareil
Téléchargez la notice de votre Hotte aspirante au format PDF gratuitement ! Retrouvez votre notice RHVI912IN - ROSIERES et reprennez votre appareil électronique en main. Sur cette page sont publiés tous les documents nécessaires à l'utilisation de votre appareil RHVI912IN de la marque ROSIERES.
MODE D'EMPLOI RHVI912IN ROSIERES
F HOTTE DE CUISINE - Notice d'utilisation

A

B


Fig.1

Fig.3

Fig.2

Fig.4

Fig.5

Fig.6

Fig.7

Fig.8


Fig.9
Fig.10

Fig.11

Fig.12

Fig.13


Fig.14

Fig.15

Fig.16

Fig.17

Fig.18

Fig.19

Fig.20
GENERALITA'
Lire attentivement le contentu du mode d'emploi puisqu'il fournit des indications importantes concernant la sécurité d'installation, d'emploi et d'entretien. Le conserver pour d'ultérieures consultations. L'appareil a ete concu pour etre utilise dans le modele aspirant (evacuation de l'air a l'extérieur -Fig.1B), filtrant (retour de I'air a I'intérieur -Fig.1A).
CONSEILS POUR LA SÉCURITÉ
- Attention, lorsque dans la même piece vous utilisez simultanement la hotte à évacuation avec un brûleur ou une chimine alimentées par une energia autre que l'électricité, vous pouvez creer un problème "d'inversion de flux". Dans ce cas la hotte aspire l'air nécessaire à leur combustion. La dépression dans le local ne doit pas dépasser les 4 Pa (4x10-5 bar). Pour un fonctionnement en toute sécurité, n'oubliez pas de prévoir une ventilation suffisante du local. Pour l'évacuation vers l'extérieur, veilliez vous reférer aux dispositions en vigueur dans votre pays.
Avant de brancher la hotte au réseau de distribution électrique:
- Lire les données reportées sur la plaquette d'identification (appliquée à l'intérieur de la hotte) pour vérifier si le voltage et la puissance correspondant à ceux du réseau. Contrôler aussi si la prise est adaptée. - En cas de doutes, contacter un électricien qualifié.
- Si le cable d'alimentation est abimé, il faut le replacer par un autre cable ou par un ensemble, spécialement prévus, que vous pouvez commander au fabricant ou à un de ses services d'assistance technique.
Raccorder le dispositif au secteur à l'aide d'une prise avec fusible 3A ou aux deux fils du diphase protégés par un fusible 3A.
2. Attention!
Dans certaines circonstances les electroménagers peuvent etre dangereux.
A) N'essayez pas de contrôle l'état des filtres quand la hotter est en marche.
B) Ne jamais toucher les lampes et les zones adjacentes, pendant et tout de suite après l'utilisation prolongée de l'éclairage.
C) Il est absolument interdit de flamber sous la hotte.
D) Évitez de laisser des flammes libres, elles sont dangereuses pour les filtres et pour les risques d'incendie.
E) Surveillez constamment les fritures pour éviter que l'huile surchauffée prenne feu.
F) Avant de procéder à toute opération d'entretien, coupez l'alimentation électrique de la hotte.
G) Cet apparéil ne peut pas être utilisé par des enfants ou par des personnes nécessitant une surveillance.
H) Veiliez à ce que les enfants ne jouent pas avec l'appareil.
1) Lorsque la hotte est utilisé en présence d'appareils utilisant du gaz ou d'autres combustibles, la pièce doit être correctement ventilée.
L) Si le nettoyage n'est pas réalisé conformément aux instructions, un incendie peut se déclarer.
Cet apparéil est marqué conformément à la Directive eu
ropeenne 2002/96/CE sur les déchets d'équipements électriques et électroniques (DEEE). Assurez-vous que cet apparéil soit mis au rebus selon la réglementation en vigueur, vous éviterez ainsi des conséquences néfastes sur l'environnement et la santé.
Le symbole applique sur le produit ou sur la documentation jointe rappelle que cet apparéil ne doit pas être traité comme un déchet domestique mais faire l'objet d'une collecte sélective dans une déchetterie spécialisée dans le recyclage des apparéils électriques et électroniques. Conformez-vous aux réglementsations locales sur la collecte et l'élimination des déchets. Pour tout autre renseignement sur le traitement, la recupération et le recyclage de cet apparéil, veuillez contacter le bureau concerné de votre ville, le service de collecte des déchets domestiques ou le magasin où vous avez achété votre apparéil.
INSTRUCTIONS POUR L'INSTALLATION
- Le montage et le branchement électrique doivent être effectuels par un personnel spécialisé.
- Utiliser des gants de protection avant de procéder aux opérations de montage.
- Connexionélectrique:
L'appareil est construit en classe II, pour cela aucun cable ne doit être connecté avec la prise terre.
La connection avec le réseau électrique doit être exécutée comme suit:
MARRON = Ligne
BLEU = N neutrte.
Si elle n'a pas eté prévue, monter sur le cable une fiche normalisée pour la charge indiquée sur l'etiquette des caractéristiques. Si elle est dotée d'une fiche, la hotte doit être installée en sorte que la fiche soit accessible. En cas de connection directe avec le réseau électrique, il est nécessaire d'interposer entre l'appareil et le réseau un interrupteur omnipolaire avec une ouverture minimale entre les contacts de 3mm proportionnel à la charge et correspondant aux normes en vigueur.
-
La distance minimum entre la surface de support des recipients de cuisson sur le dispositif de cuisson et la partie la plus basse de la hotte pour cuisine doit être de 65~cm au moins (Fig.14). S'il doit être utilisé un tuyau de connection composé de deux ou plusieurs parties, la partie supérieure doit être à l'exterieur de cette inférieure. Ne pas relier le tuyau d'échévement de la hotte à un conduit dans lequel circule de l'air chaud ou employé pour evacuer les fumées des apparéils alimentés par une énergie différente de cette électrique. En vue d'une manoeuvrabilité de l'appareil plus facile, avant d'exécuter les opérations de montage, déconnecter le filtre/les filtres anti-graisse (Fig.15).
-Sil s'agit d'une hotte aspirante, il faudra prévoir une ouverture pour l'évacuation de l'air. -
Nous conseillons d'utiliser un tuyau d'évacuation de l'air de même diamètre que l'orifice de sortie de l'air. L'utilisation d'une réduction pourrait diminuer les performances du produit et augmenter le niveau sonore.
- Montage de la hotte:
-
Deballer la structure et enlever les 2 vis A pour séparer la partie supérieure de la partie inférieure (Fig.2).
-
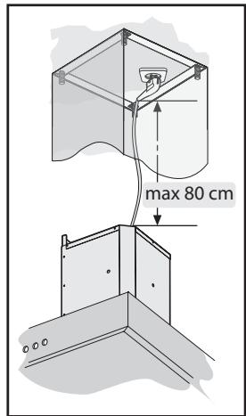
Positionner le gabarit de forure au plafond en faisant attention à ce que la flèche soit positionné du même côté que la commande de l'appareil (Fig.3). Effectuer les 4 trou s 08 au plafond et visser 3 vis sans les serrer complètement et en prénant garde de ne pas insérer la vis dans le trou marqu par un X sur le gabarit de forure (les vis normales et les vis tamponnées doivent être appropriées au type de mur).
-Prendre la partie supérieure de la structure B (Fig.4) et l'insérer sur les 3 vis pas visées complètement correspondant avec les 3 orifices fendus. Faire une petite rotation pour l'encastrement (Fig.4). Visser la quatrième vis X et serrer les 3 autres qui restent pour permettre le blocage définitif de la partie supérieure de la structure B.
-Prendre la partie inférieure de la structure téléscopique C et l'insérer sur la partie supérieure B (Fig.5).
Régler la hauteur désirée en se référant aux cotes indiquées dans la Fig.14 et la bloquer au moyen des 8 vis G fournies avec l'appareil (Fig.6).
-Version aspirante: Fixer le tuyau flexible au trou d'évacuation air disposé préalablement (Fig.7).
- Version filtrante: Relier le tuyau flexible au déflecteur M et fixer la vis I comme c'est indiqued dans la (Fig.8). L'appareil est fourni équipé de filtres à charbon (Fig.16).
- Prende le conduit de fumées supérieur et le fixer à la structure à l'aide des 2 vis A (Fig.9). Assembler le conduit de fumées inférieur avec le conduit supérieur et le fixer attentivement avec du ruban adhésif L (Fig.10A).
-Devisser les 2 vis O (Fig.10A) de 3mm au maximum.
Insérer le groupe d'aspiration à l'intérieur de la structure en faisant attention à ce que les vis O, dévisées précédemment, aillent se placer avec les orifices fendus dans la partie inférieure comme c'est indiquedans la Fig.10B.
Visser les 3 vis N (fournies avec l'appareil) et serrer les 2 vis O (Fig.10B).
-Fixer le tuyau d'évacuation air H (pas fourni avec l'appareil) sur la bride de raccordement F (Fig.11).
-Enlever le ruban adhesif L et poser le conduit de fumées inférieur sur le corps de la hotte (Fig.12).
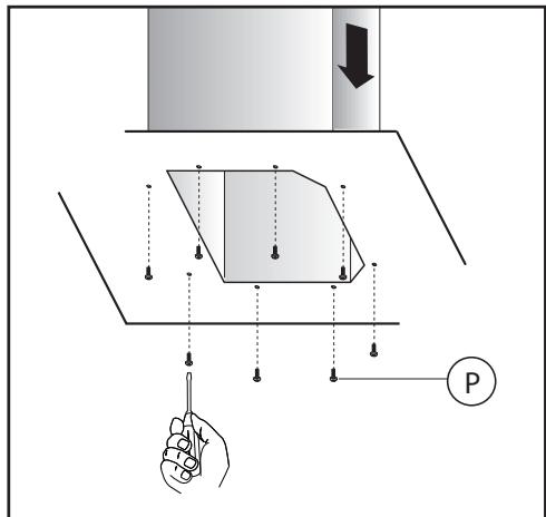
-Si vous appeareil est doté d'un conduit de fumées inférieur qui doit être fixé au corps de la hotte avec les vis, enlever les filtres anti-graisse de la hotte en intervenant sur les manilles correspondantes (Fig.15). Visser ensuite le tuyau du conduit de fumées inférieur depuis l'intérieur de la hotte, en utilisant les vis P (Fig.13). Pourvoir enfin à replacer les filtres dans leur logement.
EMPLOI ET ENTRETIEN
- Il est conseilé demettre en service la hotte quelques minutes avant de commencer à cuisine. De même il est conseilé de l'arrer 15 minutes après avoir terminé la cuisson pour éliminer au maximum les odeurs et evacuer l'air vicié. Le bon fonctionnement de la hotte est lié à la fréquence des opérations d'entretien et, plus particulièrement, à l'entretien du filtre anti-graisse et du filtre à charbon actif.
- Le filtré anti-graisse a pour role de retenir les particules grasses en suspension dans l'air. Il peut donc se boucher plus ou moins rapidement selon la fréquence d'utilisation de la hotte.
-Afin de prévenir le danger d'eventuels incendies, il faut laver manuellement, au moins tous les 2 mois, les filtres anti-graisse, en utilisant des détermants liqués neutres non abrasifs, ou en lave-vaisselle à de basses températures et à cycles brefs.
-Apres plusieurs lavages,ils peuvent changer de couleur. Ceci ne donne pas droit a réclamation ni croit,par conséquent,a leur remplacement.
Le non-respect des consignes de remplacement et de lavage peut entrainer un risque d'incendie des filtres anti-graisse.
- Les filtres à charbon actif seront à filtrer l'air qui est ensuite renvoyé dans la pierce. Les filtres ne sont ni lavables ni régénérables, il faut par consécut le changer au moins tous les quatre mois. La saturation du charbon actif dépend de l'utilisation plus ou moins prolongée de l'appareil, du type de cuisine pratiquée et de la régularité du nettoyage du filtre anti-graisse.
- Nettoyez frequently mon la hotte, à l'intérieur et à l'extérieur, à l'aide d'un chiffon imbibé d'alcool dénaturé ou de détergents liquides neutres non abrasifs.
- N'utiliser l'éclairage de la hotte que pendant la cuisson, ce dernier n'est en effet pas conscience pour un éclairage général prolongé de la piece. Une utilisation prolongée de l'éclairage diminuée considérablement la durée de vie moyenne des lampes.
- Remplacement des lampes halogènes (Fig.17):
Pour changer les lampes halogènes B retirez le verre C en faisant levier dans les fentes prévues.
Remplacez-les par des lampes de même type.
Attention: Ne touchez pas aux lampes mains nues.
- Remplacement des lampes à LED (Fig.18):
Si la version de l'appareil est avec lampes à LED, elles doivent être obligatoirement remplacées par un technician spécialisé.
Touche A = Allume/Éteint les lumières. En appuyant pendant quelques secondes sur la touche, on réarmé le signal "alarme filtres".
Touche B = Allume l'appareil/Diminue la puissance d'aspiration du moteur. Si la hotte se trouve sur la 1ere vitesse, elle l'éteint. Il est également possible d'éteindre l'appareil en appuyant pendant quelques secondes sur la touche "D".
Fonction aspiration automatique: Cette fonction permet à l'appareil de modifier automatiquement la puissance d'aspiration du moteur, en fonction de la qualité de l'air en dessous. Cela est possible grâce au capteur positionné sur la partie inférieure de la hotte (Fig.20).
Pour l'activer, appuyer pendant quelques secondes sur la touche "B". La lecture "S" s'affichera sur I'ecran.
Lors de l'allumage de la hotte, avant que la fonction aspiration automatique soit activée, il faut attendre quelques secondes, selon le type de configuration du capteur. Lorsque celui-ci'est pas encore activé, le point décimal sur l'écran clignotera.
Configuration du capteur: En fonction du type de plan de cuisson (gaz ou électricque), il est possible d'augmenter l'efficacité du capteur, en faisant une combinaison correcte hotter/plan de cuisson.
Pour ce faire, appuyer simultanément pendant quelques secondes sur les touches "B" et "D" avec le moteur eteint.
-
Si I'on souhaite associé à la hotte un plan de cuisson à gaz, appuyer sur la touche "B". Les lettres "P" et "0" s'afficheront, de manière alternée, sur l'écran.
-
Si l'on souhaite associé à la hotte un plan de cuisson électrique, appuyer sur la touche "D". Les lettres "P" et "1" s'afficheront, de manière alternée, sur l'écran.
Pour conclude la configuration, appuyer pendant quelques secondes sur les touches B + D
L'appareil a déjà été configuré par le producteur avec le paramètre plan de cuisson électrique.
Intensive: Cette fonction permet d'augmenter simultanément la puissance d'aspiration du moteur pendant environ 10 minutes. Pour l'activer, appuyer sur la touche "D" après
avoir positionné le niveau de puissance de l'aspiration sur 3.
Après 10 minutes, l'appareil returnera au niveau de puissance d'aspiration 3.
Timer: Cette fonction permet de configurer la durée de fonctionnement de l'appareil correspondante à 15 minutes environ, pour ensuite s'éteindre lorsque le temps sera écoulé. Pour l'activer, appuyer sur la touche "E"; le point decimal clignotera sur l'écran. Il n'est pas possible d'activer le timer simultanément à la fonction "Intensive". Le timer n'influence pas le fonctionnement des lampes. Pour désactiver la fonction, positionner le niveau de puissance d'aspiration sur "0".
Clean air: La fonction "Clean air" met en marche l'appareil pendant 10 minutes environ chaque heures, au niveau minimal de puissance d'aspiration, en garantissant un renouvellement et une recirculation constants de l'air.
Pour l'activer, appuyer pendant quelques secondes sur la touche "E" avec le moteur eteint. Lorsque la fonction est activee, la lette "C" clignotera sur I'ecran. Pour la desactiver, appuyer simultanement sur les touches "B + D" .
Filtre au charbon: les filtres au charbon servent à épurer l'air qui est renvoyé dans la pierce. Les filtres ne sont ni ravables ni régénérables et il faut les changer au moins tous les quatre mois. La saturation des filtres au charbon dépend de l'utilisation plus ou moins prolongée de l'appareil, du type de cuisine et de la régularité avec laquelle on effectue le nettoyage du filtre anti-graisse.
Pour activer la fonction « alarme filtres au charbon», appuyer simultanément sur les touches “A+E”.
-
Si l'on soushaute activer l'alarme filtre au charbon, appuyer sur la touche "D". Les lettres "A" et "1" s'afficheront, de manière alternée, sur l'écran.
-
Si l'on souhaite désactiver l'alarme filtré au charbon, appuyer sur la touche "B". Les lettres "A" et "0" s'afficheront, de manière alternée, sur l'écran.
Pour désactiver cette opération, appuyer simultanément pendant quelques secondes sur les touches "A+E" avec le moteur éteint.
Touche C = L'écran affiche la puissance d'aspiration du moteur, ainsi que toutes les fonctions associées aux touches sus mentionnées.
Alarme Filtres:
- Saturation Filtres Anti-graisse:
Cette fonction est activée après 30 heures environ de fonctionnement de l'appareil.
La dette "F" et le niveau de puissance d'aspiration de fonctionnement en cours s'afficheront, de manière alternative, sur l'écran, les filtres anti-graisse doivent être lavés.
En appuyant pendant quelques secondes sur la touche "A", la fonction est réinitialisée.
- Saturation Filtres au Charbon:
Cette fonction est activée après 120 heures environ de fonctionnement de l'appareil.
La dette "A" et le niveau de puissance d'aspiration de fonctionnement en cours s'afficheront, de manière alternative, sur l'écran, les filtres au charbon doivent être replacés.
En appuyant pendant quelques secondes sur la touche "A", la fonction est réinitialisée.
SERVICE ASSISTANCE CLIENTS
Avant de faire appel au service d'assistance technique.
En cas de non fonctionnement du produit, nous vous conseillons de:
- Vérifier que la fiche est bien enforcée dans la prise de couvant.
Si vous n'arrivez pas à identifier la cause du mauvais fonctionnement: mettez l'appareil hors tension et appelez le
service d'assistance technique. N'essayez surtout pas de le réparer vous-même.
NUMERO DE SÉRIE DU PRODUIT. À où se trouve-t-il?
Il est important de communiquer au service d'assistance technique le sigle du produit ainsi que son nombre de série (16 caractères commençant par le chiffre 3) que vous trouvrez dans le certificat de garantie ou bien sur la plaque d'immatriculation située à l'intérieur de l'appareil.
Vous éviterez ainsi que le technicien n'effectue des déplacements inutiles et economiserez par la même occasion sur les frais correspondants.
Notice Facile