PASSEO 400 - Automatisme de portail SOMFY - Notice d'utilisation et mode d'emploi gratuit
Retrouvez gratuitement la notice de l'appareil PASSEO 400 SOMFY au format PDF.
| Type d'appareil | Ouvre-portail à crémaillère |
| Type de portail | Portail coulissant |
| Alimentation électrique | Non précisé |
| Type de motorisation | Électrique |
| Mode de commande | Télécommande |
| Nombre de télécommandes fournies | 2 |
| Vitesse d'ouverture | Non précisé |
| Poids maximal du portail | Non précisé |
| Longueur maximale du portail | Non précisé |
| Type de crémaillère | Plastique ou métal (non précisé) |
| Fonction sécurité | Non précisé |
| Installation | Murale ou au sol |
| Accessoires inclus | 2 télécommandes, boîtier de commande, crémaillère |
| Garantie | Non précisé |
| Marque | Non précisé |
FOIRE AUX QUESTIONS - PASSEO 400 SOMFY
Téléchargez la notice de votre Automatisme de portail au format PDF gratuitement ! Retrouvez votre notice PASSEO 400 - SOMFY et reprennez votre appareil électronique en main. Sur cette page sont publiés tous les documents nécessaires à l'utilisation de votre appareil PASSEO 400 de la marque SOMFY.
MODE D'EMPLOI PASSEO 400 SOMFY
Notice d'installation

Ouvre-portail à crémaillière pour portail coulissant
PASSEO 400
TABLES DES MATIères
| Garantie | 3 |
| Conseils importants | 3 |
| Définitions | 3 |
| Outillage nécessaire | 3 |
| Quincaillerie nécessaire | 3 |
| Fixations | 3 |
| Préparation du chantier | 3 |
| L'électricité | 4 |
| Description | 4 |
| Composition du kit | 4 |
| Caracteristique | 4 |
| FIXATION DU MOTEUR | 6 |
| Encombrement moteur | 6 |
| Cotes d'implantation | 6 |
| Montage des butées | 7 |
| Fondations | 7 |
| Gabarit de pose | 7 |
| Mise en place des fixations | 7 |
| Montage du PASSEO 400 | 8 |
| Montage de la crémaillière | 8 |
| Réglage mécanique | 9 |
| Positionnement du boîtier électronique | 9 |
| BRANCHEMENT DU BOITIER DE COMMANDE ELECTRONIQUE | 9 |
| Présentation du boîtier | 9 |
| Branchements | 10 |
| Vérification des branchements | 11 |
| PROGRAMMATION | 11 |
| Sélection des paramètres | 11 |
| Choix du mode de fonctionnement | 12 |
| Mémorisation des télécommandes | 12 |
| PROGRAMMATION DE L'ÉLECTRONIQUE | 12 |
| Phase d'auto-apprentissage | 12 |
| FONCTIONNEMENT | 13 |
| Utilisation normale sans les cellules | 13 |
| Détection d'obstacle | 13 |
| Utilisation avec les cellules | 13 |
| ACCESSIONS SOMFY | 14 |
| Les accessoires de sécurité | 14 |
| Les accessoires de commande | 16 |
| Les autres accessoires | 18 |
| DEPANNAGE | 19 |
Nous vous remercions d'avoir besoin un équipement SOMFY.
Le PASSEO 400 SOMFY a ete commercialise selon une organisation qualite conforme à la norme ISO certifiée par l'AFAQ. Il est destiné aux portails coulissants pour maisons individuelles.
Le PASSEO 400 est conforme aux exigences essentielles et autres dispositions de la directive 1999/5/CE.
Garantie
Les conditions de garantie sont exposées sur le bulletin de garantie.

Conseils importants

Ne jamais intervenir sur votre PASSEO 400 sous tension ou avec la batterie de secours.
Vérifier régulièrement l'etat du portail. Les portails en mauvais état doivent être réparés, renforcés, voir changés avant l'installation.
Vérifier régulièrement le bon serrage des vis et des fixations des différents éléments du PASSEO 400.
Porter des lunettes lors des phases de perçage.
Ne jamais laisser jouer les enfants à proximé du portail en mouvement et éviter le passage de personnes pendant les phases d'ouverture et de fermeture.
Suivant le type de fonctionnement programme, certains accessoires de sécurité (cellules photoélectriques, barres palpeuses) et de signalisation (feu orange, éclairage extérieur de zone peuvent être obligatoires pour que l'installation soit conforme à la norme NFP 25-362.
Tout éclairage alimenté en 230V raccordé sur la sortie "éclairage extérieur de zone" doit être raccordé à la terre ou être du type double isolation.
Eviter les projections directes d'eau.
Définitions
Ouverture totale : ouverture complète du portail.
Ouverture piétonne : ouverture partielle du portail (environ 1m).
Outillage nécessaire
1 Niveau à bulle, mètre, crayon de papier; couteau d'électricien et pince à dénuder; Nécessaire pour patte de scèlement en fonction de la nature du bloc; clés plates 017 et 13, tournevis plats, ciseaux, clé 6 pans.
Quincaillerie nécessaire
Visserie 06 pour fixation de la crémaillère et gaine ICT 025mm pour passage enterré des câbles.
Fixations
La visserie non fournie de la crémaillère doit être adaptée à la structure du portail.

Préparation du chantier
Pour être motorisé, le portail doit coulibser facilement à la main.
Vérifier particulièrement :
- le parfait état du rail de guidage au sol.
- les galets de guidage et les roues porteuses (les lubrifier si nécessaire).
- l'absence de résistance mécanique.
- la propre de la zone de dégagement du portail.
Avant de procéder à l'installation, enlever tous les accessoires de verrouillage (serrure, verrou, etc...) afin qu'ils ne génent pas le bon fonctionnement du portail.
Le portail doit être arrêté par des butées fixées solidement au sol afin que sa course soit déliminée.
L'électricité
Pour fonctionner, le PASSEO 400 doit être alimenté sous 230V50Hz , la ligne électrique doit être:
- exclusivement réservée au PASSEO 400,
- d'une section minimale de 2,5mm =
- dotée d'une protection (fusible ou disjoncteur calibre 16A) et d'un dispositif différentiel (30mA)
- installée selon les normes de sécurité électrique en vigueur.
- équipé d'un moyen de déconnexion omnipolaire (normatif).
Il est conseilé de munir l'installation d'un parafoudre (Conforme à la norme NF C 61740, tension résiduelle maxi 2kV).
Description
L'électronique calcule et memorise la course d'ouverture et le code confidential des télécommandes du portail par réglage automatique dit auto apprentice.
Pour les portails lourds, il est possible d'augmenter le couple et de désoirir la vitesse d'approche (2 vitesses possibles).
2 Vue d'ensemble d'une installation type.
A PASSEO 400
B Feu orange (en option).
C Antenne (en option).
D Butées obligatoires (en option).
E Jeu de cellules (en option).
F Crémaillère.
G Commande à clé ou clavier à touches (en option).
H Eclairage extérieur de zone (en option).
Composition du kit
3 Voir figure.
| REP. | DÉSIGNATION | QTÉ. |
| 1 | Bloc motoréducteur | 1 |
| 2 | Boîtier électronique de commande | 1 |
| 3 | Capot | 1 |
| 4 | Télécommande 433,92 MHz 4 touches | 2 |
| 5 | Crémaillère de 33,7 cm | 4 m |
| 6 | Pattes de fixation au sol / tire-fond | 4 |
| 7 | Rondelles | 8 |
| 8 | Ecrous | 12 |
| 9 | Vis capot | 2 |
| 10 | Gabarit de pose pour fixation au sol (sur emballage) | 1 |
| 11 | Fil ANTENNE | 1 |
| 12 | Passe câble | 1 |
\section*{Caracteristiques}
| Alimentation | 230V (+6% -10%) - 50Hz |
| Alimentation moteur | 24V |
| Puisance moteur | 300W |
| Consommation en veille | 4,5W |
| Vitesse de déplacement | 12m/min |
| Electronique et récepteur | intégrés |
| Fréquence de manœuvre conseillée | 20 cycles par jour maxi |
| Mesure automatique de l'effort | oui |
| Réglage automatique par auto-apprentissage | oui |
| Garantie | 2 ans / 15.000 cycles |
| Température de fonctionnement | -20° +60°C |
| Pignon | module 4, 16 dents |
| Indice de protection | IP 54 |
| Protection thermique | 100° |
| Ouverture piéonne | oui (~1 mètre) |
| Détection d'obstacle | oui |
| Ralentissement fin de course | oui |
| Irréversibilité | oui (sous tension) |
| Déverrouillage interieur | oui (de base / par déconnection au boîtier de commande électronique de la fiche moteur) |
| TELECOMMANDE | Rolling code |
| Fréquence radio | 433,92 MHz |
| Nombre de canaux mémorables | 32 |
| ACCESSIONS | |
| Eclairage extérieur de zone | 500W maxi |
| Feu orange | 24V-15W maxi |
| Batterie de secours | oui (en option) |
| PORTAIL | |
| Poids maxi | 400 Kg |
| Longueur maxi | 8m |
C€ 0678①


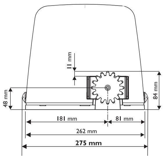
4 Encombrement moteur

4

5 Cotes d'implantation
Positionnement horizontal : veillez à ce que le PASSEO 400 se trouve toujours dans le champ du portail en ouverture comme en fermetre.
Positionnement vertical : veillez à ce que le PASSEO 400 soit situé légèrement au-dessus du niveau du sol pour éviter les infiltrations d'eau sous le capot.

5
Montage des butées
Le portail doit être arrêté par des butées fixées solidément au sol afin que la fin de course du portail soit déliminée.
6 Fondations
Les tire-fond de fixation du PASSEO 400 doivent être ancrés solidement au sol. Le type et la dimension de la fondation dépendent de la nature du sol. Prévoir le passage du cable d'alimentation suivant les normes électriques en vigueur dans le pays d'utilisation.

7 Gabarit de pose

8 Mise en place des fixations
Positionner le gabarit de pose contre le sol et percer 4 troughs un utilisant un(forêt (Ø 12mm) en fonction de la nature du sol.
Insérer les chevilles. Visser les tire-fond.
Conseil SOMFY
Graisser légèrement les tire-fond avant de les visser dans les chevilles.

9 10 Montage du PASSEO 400
Visser les 4 écrous et rajouter les 4 rondelles.
Retirer le capot.
Positionner le PASSEO 400 sur les tire-fond : Veillez à ce que la bride (embase du moteur) se trouve à une hauteur maximum de 25 mm au-dessus du sol. L'espace conseillé se situe entre 15 et 25 mm.
Une fois positionné en hauteur par rapport au sol, fixer le PASSEO 400 à l'aide des rondelles et visser les 4 écrous.
Positionner le passe-fil prépercé à l'endetroit du cable.
11 12 Montage de la crémaillere
Aucune connexion moteur ne doit être effectue lors des vérifications mécaniques du positionnement de la crémaillière.
Utiliser des vis (tête CHc) 6 en fonction de la composition du portail (métal, bois).
Fixer un premier élément de crémaillère et à l'aide d'une règle, fixer les éléments suivants.
Un ajust de morceaux de crémaillage (options) permet la motorisation d'un portail allant jusqu'à 8m.




Réglage mécanique
Régler la hauteur du PASSEO 400 et le nivellement à l'aide des 4 écrous situés sous la bride. Régler la crémaillère si nécessaire et serrer les écrous.
14 Positionnement du boîtier électronique

BRANCHEMENT DU BOITIER DE COMMANDE ELECTRONIQUE
Il est impératif de couper l'alimentation au niveau du disjoncteur avant toute intervention sur LE PASSEO 400.
Présentation du boîtier
15 Description
M1: Moteur 1.
M2: NON UTILISÉ.
1: Câble d'alimentation.
2: Antenne fil.
3: Sortie éclairage extérieur de zone (contact non alimenté 500W maxi en 230V).
4: Sortie clignotante perpettant d'alimenter 1 feu orange (24V - 15W).
5: Entrée pour contact cellules.
6: Sortie permettant d'alimenter les accessoires (24 Vdc/12Vac).
7: Commandepour l'ouverture totale.
8: Commandepour l'ouverture piétonne.

16 Touches du clavier
B1: fonction Marche (ON) / Arrêt (OFF).
B2: 3 fonctions suivant utilisation:
1 - Commande manuelle pour la sortie "M1".
2 - Réglage accostage rapide/lent.
3 - Choix "éclairage de zone".
B3: 2 fonctions suivant utilisation:
1 - Réglage portail lourd/léger.
2 - Choix "info portail fermé".(voir chapitre accessoires)
B4: fonction paramétrage : Mémorisation des canaux de la télécommande + auto-apprentissage (réglage automatique des paramètres).

17 Voyants
V1: Est éteint en position "arrêt" (OFF).
Est allumé rouge en position "marche" (ON).
V2 : Pendant les phases de programmation, le voyant est eteint, allumé ou clignotant suivant l'appui sur B2. Hors phase de programmation, le voyant reste allumé quand la vitesse d'approche rapide est programmée et eteint quand la vitesse d'approche lente est programmée.
V3 : Pendant les phases de programmation, le voyant est eteint, allumé ou clignotant suivant l'appui sur B3.
Hors phase de programmation, levoyant reste allumé dans la configuration "portail lourd" et éteint dans la configuration "portail léger".
V4: Levoyant est eteint,allumé ou clignotantsuivant l'appui sur B4.

Branchements
Bien respecter le sens du connecteur : Vis sur le dessus.
Moteur / électronique
Encliqueter le connecteur du moteur dans M1.
18 Moteur à gauche vue de l'intérieur:
19 Moteur à droite vue de l'intérieur:


Electronique / secteur
20 Connecter l'antenne.
21 Connecter le cable d'alimentation du boitier électronique sur la barrette de raccordement moteur en respectant la couleur des fils.
Connector les fils de l'alimentation secteur sur la barrette de raccordement du moteur en respectant la configuration phase, neutre et terre.


Pour un déverrouillage interieur manuel
(en cas de coupure de courant, de perte de télécommande ou de manoeuvres manuelles volontaires du portail...)
- Ouvrir le capot, déconnecter le moteur M1 de l'électronique, tirer le portail pour l'ouvrir.
- Pour verrouiller de nouveau le portail : le fermer et connecter le moteur à sa place initiale M1.
Vérification des branchements
Alimenter en 230V votre électronique.
Action
Réaction
| B1 est sur OFF | V1 est étéint : |
| Un appui maintainu sur B2 | ouvre le portail. V2 est allumé. |
| Relâchement de B2 | arrêt du portail. V2 est étéint. |
| Un nouvel appui maintainu sur B2 | ferme le portail. V2 est allumé. |
En cas de dysfonctionnement, vérifier le montage et les branchements du PASSEO 400.
PROGRAMMATION
Sélection des paramètres
B1 est sur ON,V1 est allumé :
Il est possible de configurer l'électronique selon 2 paramètres liés aux caractéristiques du portail: lourd / léger, rapide / lent.
LEGEENDE
| SYMBOLE | EXPLICATIF | Voyant |
| Vitesse d'approche lente : 4m < portail < 8 m | v2 éteint | |
| Vitesse d'approche rapide : portail < 4 m | v2 allumé | |
| Portail léger < 200 kg | v3 éteint | |
| Portail lourd > 200 kg | v3 allumé |
AIDE AU PARAMETRAGE (par vantage)
| Largeur | de 1m à 4m | de 4m à 8m | ||||
| Poids | ||||||
| de 0 kg à 200 kg | ⅢⅢⅠ | ⅢⅢⅠ | ⅢⅢⅠ | ⅢⅢⅠ | ⅢⅢⅠ | ⅢⅢⅠ |
| de 200 kg à 400 kg | ⅢⅢⅠ | ⅢⅢⅠ | ⅢⅢⅠ | ⅢⅢⅠ | ⅢⅢⅠ | ⅢⅢⅠ |
Choix du mode de fonctionnement
2 modes de fonctionnement possibles : semi-automatique ou automatique.
Semi-automatique (séquentiel):
Une impulsion sur une touche de la télécommande provoque l'ouverture du portail. Une nouvelle impulsion sur la même touche provoque sa fermeture.
Pendant l'ouverture ou la fermeture, une impulsion sur une touche de la télécommande arrête le portail. Une nouvelle impulsion valide le sens opposé.
Automatique:
Une impulsion sur une touche de la télécommande provoque l'ouverture du portail. La refermeture est automatique (la durée de la temporisation avant refermeture est régable).
Pendant l'ouverture, une impulsion sur une touche de la télécommande n'a aucun effet.
Pendant la fermeture, une impulsion sur une touche de la télécommande provoque la réouverture.
Nous vous rappelons que conformément à la norme NFP 25 362, ce mode d'utilisation exige l'installation d'un jeu de cellules, d'un feu orange et d'un feu d'éclairage extérieur de zone. L'absence de cellules interdit le fonctionnement automatique. Par défaut, le PASSEO 400 fonctionne en mode semi-automatique.
Mémorisation des télécommandes
La mise en service de votre automatisme sera effective après réalisation de la mémorisation des télécommandes et programmation de l'électronique.
22 Choix des touches
L1: led rouge de contrôle d'émission.
CH A, B, C ou D: touche d'émission.
Le maximum de touches (code + canal) mémorables est de 32 (ex. 32 ouvertures totales, ou 16 ouvertures totales + 16 ouvertures piétonnes).

Processus de mémorisation
| Action | Réaction |
| B1 est sur ON | V1 est allumé. |
| Maintenir appuyée une touche de la télécommande. | Le voyant L1 (figure 22) de la télécommande clignote ainsi que levoyant V4 du boîtier de commande (figure 17). |
| Sans relâcher la touche de la télécommande donner une impulsion sur B4 | V4 reste allumé fixependant 2 secondes et reclignote. |
| Relâcher la touche de la télécommande | Elle est enregistrée (code + canal). |
Réaliser ces opérations pour toutes les touches et les nouvelles télécommandes que vous pouze utiliser.
Dans le cas ou vous ne désirez pas utiliser l'ouverture piétonne, une seule touche par télécommande doit être mémorisée.
En cas de mauvaise manipulation, supprimer les codes enregistrés et recommencer le processus deémorisation d'une télécommande.
Suppression d'une télécommande
Dans le cas d'enregistrement involontaire, de perte ou de vol d'une télécommande, vous doivent annuler toutes les télécommandes en mémoire.
- Mettre B1 sur OFF. V1 est eteint.
- Maintenir appuyé B4, puis sans le relâcher, donner une impulsion sur B1 => V1 et V4 s'allume.
- Relâcher B1 => V4 s'allume.
- Attendre l'extinction de V4 pour relâcher B4.
Toutes les télécommandes sont alors suprimées.
PROGRAMMATION DE L' ELECTRONIQUE
Phase d'auto-apprentissage
La phase d'auto-apprentissage va permettre au boitier de commande de :
- mémoriser automatiquement tous les paramètres de votre installation,
- connaître le mode de fonctionnement que vous avez choisi,
- connaître la touche (code + canal) que vous avez besoin pour l'ouverture totale et piétonne.
La première touche de la première télécommande que vous utiliserez pour l'auto apprentice (code + canal) aura la fonction ouverture totale (ex. Touche CH-A). Sur toutes les autres télécommandes mémorisées, cette même touche aura la fonction ouverture totale.
Les autres canaux (ex. Touche CH-C) que vous mémorisez auront la fonction ouverture piétonne.
| SEMI- AUTOMATIQUE | AUTOMATIQUE 1 ère étape 25 26 Brancher les cellules. |
| 2 ème étape Le portail est en position fermée. B1 est sur ON, V1 est allumé. Appuyer sur B4 puis relâcher: V4 clignote. 3 ème étape Appuyer sur la touche de la télécommande destinée à l'ouverture totale: le portail part en ouverture en petite vitesse, sans ralentissement jusqu'à la butée d'ouverture. 4 ème étape Sur la télécommande, appuyer de nouveau sur la touche destinée à l'ouverture totale: le portail part en fermeture, en grande vitesse avec ralentissement avant la butée de fermeture. V4 s'éteint. | |
| 5 ème étape Sur la télécommande, appuyer de nouveau sur la touche destinée à l'ouverture totale: le portail part en ouverture, en grande vitesse avec ralentissement avant la butée d'ouverture. | Ne pas toucher à la télécommande. Effectuer un appui maintenu sur B4. - Pendant les 5 premières seconds, V4 reste fixe puis clignote, ce qui announce le passage en mode automatique. - Le temps entre le début de l'appui sur B4 et l'instant où vous allez le relâcher correspond au temps où votre portail restera ouvert (temps minimum de 5 secondes). |
| L'auto-apprentissage est terminé | |
FONCTIONNEMENT
Utilisation normale sans les cellules
Ouverture totale et piétonne.
L'ouverture : s'effectue par une impulsion sur une touche de la télécommande ou par l'utilisation de l'un des accessoires de commande connectés.
La fermeture : s'effectue par une impulsion sur une touche de la télécommande ou par l'utilisation de l'un des accessoires de commande connectés en mode semi-automatique ou après temporisation en mode automatique.
Détction d'obstacle
En mode semi-automatique, le PASSEO 400 s'arrêtedsqu'il rencontre un obstacle. Une impulsion sur une touche de la télécommande provoque la remise en marchedu portail en sens inverse.
A la 3ème détction successive d'obstacle, le portail s'arrête.
Utilisation avec les cellules
Portail fermé : la cellule détecte une présence
=> l'ouverture du portail est impossible.
Portail ouvert : la cellule détecte une présence
la fermetre du portail est impossible.
En mode automatique et semi-automatique:
Pendant le mouvement d'ouverture : la cellule détecte une présence le portail continue son mouvement, il ne prend pas en compte l'état des cellules.
Pendant le mouvement de fermeture : la cellule déetecte une présence le portail s'arrête 1 seconde puis part en ouverture automatiquement.
Les accessoires de sécurité
Il est impératif de couper l'alimentation (disjoncteur ou prise) avant d'effectuer les branchements. Leur prise en compte n'est effective qu'après la remise sous tension (ON).
23 Feu orange
Obligatoire en mode automatique.
Section minimale des fils pour le feu orange clignotant : 0,5mm 2.
Puissance 15W maxi (24 V).
Le feu orange s'allume 2 secondes avant le début du mouvement du portail et s'eteint lorsque le mouvement est terminé. Le clignotement est assure par l'électronique.

24 Eclairage extérieur de zone (double isolation)
Obligatoire en mode automatique.
Prévoir une sortie à la terre dans le cas d'un éclairage non muni d'une double isolation.
Section minimale des fils pour l'éclairage de zone : 0,75mm 2 .
Contact non alimenté (type interrupteur). Puisance admissible 500W maxi pour 230V, 120W maxi pour 24V. Prévoir un fusible adapté (F).
L'éclairage s'allume dés qu'une commande est validée et s'eteint 1 minute après l'arrêt du portail.
Lors de l'installation ou après une panne de courant, l'éclairage reste alluméès la mise sous tension :
-
2 secondes en mode semi-automatique,
-
1 minute en mode automatique.

Voyant indiquant la fermetre totale du portail
Si vous désirez avoir dans la maison une indication de fermetre du portail, il est possible de modifier l'etat de la sortie éclairage extérieur de zone (si elle n'est pas utilisée) pour y brancher unvoyant (par exemple dans le garage) vous indiquant que le portail est totallement fermé.
Pour obtenir cette fonction, maintainir appuyé B3 plus de 3 secondes.
Dans ce cas, levoyant branché resté allumé durant tout le mouvement du portail. L'extinction duvoyant confirme la position "portail fermé". Pour revenir à l'état "éclairage de zone" maintainir appuyé B2 plus de 3 secondes.
Jeu de cellules
En mode automatique
25 Le jeu de cellule (CE = émettrice - CR = réceptrice) est obligatoire en mode automatique et doit être impératifement branché avant l'auto-apprentissage.
En mode semi-automatique
25 Meme branchement (contact NF)
26 Si 2 produits de cellules sont utilisés, il faut brancher les contacts NF en série.


26 Batterie de secours
Permet la manoeuvre du portail par la télécommande en cas de coupure de courant ou de défaut d'alimentation. S'installé à l'intérieur du boîtier de commande électronique qui la recharge.
Il est possible d'effectuer 10 cycles (ouverture/fermeture) selon la charge de la batterie et le poids du portail.
L'autonomie à pleine charge est de 24h maximum.
Conseil SOMFY
Pour préserver la longévité de la batterie de secours, utiliser deux fois par an le fonctionnement de secours en effectuant au moins 5 cycles, après avoir coupé l'alimentation de l'ouvre-portail.

27Commandaclé
Il permet sans une télécommande
- l'ouverture totale uniquement ou
- l'ouverture piétonne uniquement ou
- l'ouverture totale et l'ouverture piéonne.
Se place généralement à l'extérieur de la propriété. Ne peut être utilisé en tant qu'accessoire de déverrouillage extérieur.
B1: bouton pousoir 1
B2: bouton pousoir 2
Borne 1:24 V continu.
Borne 2: ouverture piétonne.
Borne 3 : ouverture totale.

28 Clavier code à touches
Il permet sans une télécommande
- l'ouverture totale uniquement
ou
- l'ouverture piétonne uniquement
ou
- l'ouverture totale et l'ouverture piétonne.
Se place généralement à l'extérieur de la propriété.
CC: Bornier du clavier codé
Borne 1:24 V continu.
Borne 2: ouverture piétonne.
Borne 3 : ouverture totale.
Borne 4:0 Volt.

28 Interphone
Le branchement s'effectue à partir de la sortie gâche de l'interphone.
AV: bornier de l'interphone
Borne 1:24 V continu, 12 V alternatif.
Borne 2: ouverture piétonne.
Borne 3 : ouverture totale.

28




Les autres accessoires
Crémaillère supplémentaire (le mètre)
Permet de compléter la crémaillère fournie dans le kit dans le cas ou la dimension du portail est supérieure à 4m.
Jeudebutées
Les butées se fixent directement au sol pour limiter la course des vantaux à l'ouverture.
L'antenne radio
29 Branchement du fil antennae (N) fourni.
30 Branchement de l'option antennne (A = âme et T = tresse).
L'antenne permet une meilleure réception et une portée plus importante de la télécommande. Elle se branche directement sur le boîtier électronique (fiche de raccordement fournie).


Le déverrouillage extérieur
Il est possible de réaliser la fonction déverrouillage à clé interieur et extérieur par simple branchement électrique (cet accessoire ne peut avoir la fonction de commande d'ouverture et fermeture). Ce verrouillage reste fonctionnel même en l'absence de tension secteur ou de panne électrique. En effet, il libre simplement le moteur en déconnectant la fonction freinage réalisé par l'électronique. Un contact à clé à 2 positions stables doit être connecté en série sur l'un des fils de connection du moteur.
Plus précisé, effectuer les 3 connections suivantes:
- fil bleu (a) sortant du moteur => sur le bornier M1 de l'électronique.
- fil marron (b) sortant du moteur => sur 1 borne du contact à clé.
- l'autre borne du contact à clé => sur le bornier M1 de l'électronique.
Lors de la manoeuvre manuelle du portail, tirer fortement sur le portail en veillant à ce qu'il reste positionné sur la crémaillère.
DEPANNAGE
Voir tableau ci-après.
| PROBLÈME | SYMPTOMES | A FAIRE |
| La fonction de sécurité n'est pas assurée. | En fermeture: Après détection d'un obstacle, le portail s'arrête et ne repeats pas en ouverture. En ouverture: Après détection d'un obstacle, le portail s'arrête et repeats en fermeture. | Corriger le branchement du moteur en fonction de sa position vue de l'intérieur (à gauche ou à droite) Refaire la programmation de l'électronique (portail position fermée). |
| Le portail se refère tout seul ou se bloque en fonctionnement. | Lors des phases d'auto-apprentissage ou en fonctionnement normal, le portail se refère seul sans appui sur la télécommande. | - Vérifier les côtes d'implantation. - Vérifier le bon fonctionnement d'eventuels organes de commandes (clavier codé, contact à clé...). Au besoin, les débrancher et refaire l'essai. - Vérifier l'installation des butées. |
| Le boîtier de commande électronique ne s'allume pas après appui sur la touche B1. | Aucun voyant ne s'allume malgré le branchement du boîtier de commande électronique sur l'alimentation et malgré l'appui sur B1. | - Vérifier l'alimentation secteur et le cable d'alimentation. - Vérifier le bon fonctionnement du disjoncteur. |
| V4 reste allumé en permanence. | V4 reste allumé, pas de reprogrammation possible et le portail ne rouge plus. | - Vérifier l'alignment des cellules. - Vérifier l'alimentation secteur et les cables des cellules. - Vérifier la présence des cellules en mode automatique. |
| V1 clignote. | V1 clignote, pas de reprogrammation possible et les vantages ne bougent plus. | - Le nombre de manœuvres est atteint (sonde thermique). Attendre 15 min puis essayer de nouveau. |
| La portée des télécommandes est réduite. | - Il faut être proche du boîtier de commande électronique pour faire fonctionner l'ouvre portail. - Ecart important de température entre la télécommande et l'électronique. | - Vérifier le fil d'antenne. - Vérifier la pile des télécommandes. - Environnement perturbé (pylône électrique, murs ferraillés, etc). Prévoir une antenne extérieure. - Attendre que les deux éléments retrouvent une température identique. |
Distribué par SIMINOR SAS
31-43 quai des Grésillons
BP105 - 92232 GENNEVILLIERS CEDEX
Notice Facile