LUCKI - Climatiseur SAUTER - Notice d'utilisation et mode d'emploi gratuit
Retrouvez gratuitement la notice de l'appareil LUCKI SAUTER au format PDF.
| Type d'appareil | Lave-vaisselle |
| Catégorie électrique | CAT B ou C |
| Indice de protection | IP24 |
| Classe d'isolation | Classe II |
| Conformité environnementale | Directive Européenne 2002/96/CE (DEEE) |
| Installation recommandée | Local résidentiel |
| Conditions d'installation | Respect des normes NFC 15100 |
| Emplacement interdit | Courant d'air, prise de courant fixe, salle de bains |
| Hauteur maximale d'installation | 1000 m d'altitude |
| Fixation | Patte d'accrochage et chevilles |
| Support | Support mural ou pieds |
| Raccordement électrique | Doit être effectué avant fixation |
| Protection contre projections d'eau | Oui, IP24 |
| Isolation électrique | Double isolation |
| Utilisation mobile | Interdite (pas sur roulettes) |
| Consignes de sécurité | Couper alimentation avant installation |
| Conservation de la notice | Recommandée après installation |
FOIRE AUX QUESTIONS - LUCKI SAUTER
Questions des utilisateurs sur LUCKI SAUTER
0 question sur cet appareil. Repondez a celles que vous connaissez ou posez la votre.
Poser une nouvelle question sur cet appareil
Téléchargez la notice de votre Climatiseur au format PDF gratuitement ! Retrouvez votre notice LUCKI - SAUTER et reprennez votre appareil électronique en main. Sur cette page sont publiés tous les documents nécessaires à l'utilisation de votre appareil LUCKI de la marque SAUTER.
MODE D'EMPLOI LUCKI SAUTER
Lisez la notice avant de commencer l'installation de l'appareil, afin de répondre aux prescriptions normatives.
Vérifier la tension d'alimentation et couper le courant avant le raccordement de l'appareil.
Conserver la notice, même après l'installation de l'appareil.
de l'appareil : (indiquez sur I'etiquette signalétique de I'appareil)
CAT B ou C : appeareil satisfaisant à la norme NF Electricité Performance selon les critères de la catégorie indiquée.
IP24 : appeareil protégé contre les projections d'eau.
Classe II : double isolation.

: apparéil conforme à directive Européenne 2002/96/CE (DEEE).
INSTALLATION DE L'APPAREIL
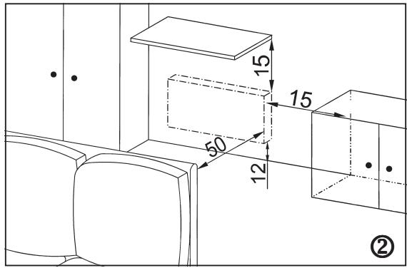
1) Où installer l'appareil ? ① ②
- Cét apparéil a été créé jusqu'à partir de la société, en cas d'une dépréciation. Dans tout autre cas, veuillez consultier leur distributeur.
- L'installation doit être faite dans les règles de l'art et conforme aux normes en vigueur dans le pays d'installation (NFC 15100 pour la France).
-
Si vous avez un revêtement mural posé sur mousse, il fautmettre une cale sous le support de l'appareil d'épaisseur égale à celle de la mousse afin de conserver un espace libre derrière l'appareil pour ne pas perturber sa régulation.
-
Ne pas installer l'appareil :
Dans un courant d'air susceptible de perturber sa régulation (sous une Ventilation Mécanique Centralisée etc...).
Sous une prise de courant fixe.
Dans le volume 1 des salles de bains.
Dans le volume 2 si la manipulation des commandes est possible par une personne utilisant la douche ou la baignoire.



Il est fortement déconseilé de monter les apparèils verticaux au-dessus d'une altitude de 1000 m (risque de mauvais fonctionnement). L'installation d'un apparéil en altitude provoque une éLEVation de la température de sortie d'air (de l'ordre de 10^ par 1000m de dénivèle). Il est interdit de monter un apparèil vertical horizontally et vice-versa.
2) Comment installer l'appareil ?
2-1) Fixer votre apparéil
A - Version Standard - Haut
- Poser la patte d'accrochage au sol. ③.1
- Pointer les trouss en haut de l'oblong, ceux-ci donnent la position des fixations inférieures.
- Remonter la patte d'accrochage en faisant coïncider les trous précédendum repérés afin de pointer les deux trous restant. ③.2
- Proceder au perçage et à la mise en place des chevilles.
- Monter le support.
- Réaliser le raccordement électrique (chap. 2.2).
- Accrocher l'appareil et tourner le ou les verrous V vers la droite pour bloquer l'appareil. ④ ⑤
Nota : Il est formellement interdit d'utiliser l'appareil en configuration mobile, sur pieds ou sur roulettes. (schéma 3bis)

(4)

Scheme correspondant au 500W de la version haut.

(5)
B - Version Plinthe - Bas
- Pointer les trouss en respectant les cotes données sur le schéma. ⑥
- Proceder au perçage et à la mise en place des chevilles.
- Monter le support.
- Réaliser le raccordement électrique (chap. 2.2).
- Accrocher l'appareil et tourner le ou les verrous V vers la droite pour bloquer l'appareil. ⑦
Remarque : il est possible de fixer la version plinthe au sol grâce aux pieds fournis en option.

(6)

(7)
2-2) Raccorder l'appareil : ⑧
- L'appareil doit être alimenté en 230V 50Hz.
- Le raccordement au secteur se fera à l'aide d'un cable 3 fils (Marron=Phase, Bleu=Neutre, Noir=Fil pilote) par l'intérmédiaire d'un boîtier de raccordement. Dans des locaux humides comme les salles d'eau et les cuisines, il faut installer le boîtier de raccordement au moins à 25cm du sol.
- L'installation doit être équipée d'un dispositif de coupure omnipolaire ayant une distance d'ouverture de contact d'au moins 3mm.
- Le raccordement à la terre est interdit.
Ne pas brancher le fil pilote (noir) à la terre.
- Si le cable d'alimentation est endommagé, il doit être replacé par le fabricant, son service après-vente ou une personne de qualification similaire afin d'éviter un danger.
- Si un apparéil pilote ou piloté est protégé par un différentiel 30mA (ex : salle de bain) il est nécessaire de protéger l'alimentation du fil pilote sur ce différentiel.

Tableau des ordres que l'appareil peut receivevoir sur son fil pilote (à mesurer entre le fil pilote et le neutre).
| Ordres reçus | Absence de courant | Alternance absence de courant (4'57") phase 230V (3") | Alternance absence de courant (4'53") phase 230V (7") | Alternance complète 230 V | Demi-alternance négative - 115V | Demi-alternance positive +115V |
| Oscilloscope Rêf/Neutre | — | 5' 3" | 5' 7" | — | — | — |
| Mode obtenu | CONFORT | CONFORT -1°C | CONFORT -2°C | ECO | HORS GEL | ARRET DELESTAGE |
UTILISATION DE L'APPAREIL
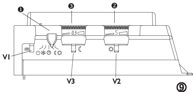
1) Description du panneau de commande : ⑨
1 Curseur des modes.
Molette de réglage de la température Confort (repère de 2 à 8).
3 Molette de réglage de l'abaisissement Eco (par rapport à la consigne comport).
V1 Voyant témoin de chauffe.
V2 Voyant de mode Confort.
V3 Voyant de mode Eco.

2) Régler la température Confort :

C'est la température souhaitiée pendant l'occupation de la pierce.
a) Mettez le curseur ① sur, le voyant V2 s'allume.
b) Régler la molette ② sur 5, le voyant de chauffe V1 s'allume si la température ambiente est inférieure à celle désirée.
c) Attendre quelques heures pour que la température se stabilise.
d) Si le réglage vous convient (préndre éventuelles un thermomètre pour vérifier) repérer la position une fois pour toutes.
Si le réglage ne vous convient pas, ajuster le réglage et reprendre au point c.
3) Régler la température Eco : (

Il s'agit d'un abaisissement en degrés par rapport à la température Confort. Il est conseillé d'utiliser ce mode pour des périodes d'absence supérieures à 2 heures ou la nuit.
Attention : cet abaisissement s'appliquant à la température Confort, il est important de régler d'abord cette température Confort avant de régler l'abaisissement éco.
a) Mettez le curseur ① sur (C, le voyant V3 s'allume.
b) Réglez la molette ③ sur -3,5^ , le voyant de chauffe V1 s'allume si la température ambiente est inférieure à la température Eco désirée.
c) Attendre quelques heures pour que la température se stabilise.
d) Si le réglage vous convient (préndre éventuelles un thermomètre pour vérifier) repérer la position une fois pour toutes.
Si le réglage ne vous convient pas, ajuster le réglage et reprendre au point c.
Note : Le réglage de la mesure à -3,5°C est établi dans nos laboratoires. En fonction des caractéristiques de votre installation, il est possible que le réglage d'abaissement ne donne pas exactement -3,5°C. Dans ce cas, adaptez le réglage afin d'obtenir l'abaissement souhaité.
4) Mode Hors Gel:
C'est le mode qui permet de maintainir la température à environ 7^ dans la piece lors d'une absence prolongée de la maison (généralement plus de 24 heures).
a) Mettez le curseur ① sur
5) Le témoin de chauffe V1 :
Ce témoin indique les périodes pendant lesquelles la résistance chauffe.
A température stabilisée il clignote et si la température est trop élevé il s'éteint.
6) Mise en veille de l'appareil :

Positionnéz le curseur sur .
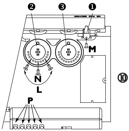
7) Blocage des commandes : ⑩
Il est possible de bloquer ou limiter la plage d'utilisation des molettes ② et ③ et se bloquer le curseur commutateur ① pour empêcher les manipulation intempéstives de l'appareil (enfants,...).
a) Decrochez l'appareil de son support mural.
b) Sur le dos du boîtier thermostat, détachez les pions P de leurs supports.
c) Optez pour la position B pour bloquer les molettes ou la position L pour limiter la plaque d'utilisation des molettes.
Choisissez une des positions M pour bloquer le curseur dans le mode désiré.
8) Mode de programmation :

Cet apparéil est équipé d'un thermostat capable de receivevoir des ordres par son fil pilote. Il reconnaît les ordres :
- CONFORT : Température régée par la molette ③
- CONFORT -1 : Température régée par la molette ③ : -1°C
- CONFORT -2 : Température régée par la molette ③ : -2°C
-ECO : Température par la molette ②. - HORS GEL : Température ambiente maintainue à environ 7^
- ARRET : Arrêt immédiat de l'appareil (utilisé pour le délestage).
Pour activer le mode de programmation, positionné le curseur ① sur ①.
Ainsi en connectant le fil pilote sur un programmeur, vous pouvez programmer vers périodes de température Confort et Eco. Il est possible de brancher sur un programmeur plusieurs appareils et de réaliser ainsi des économies d'énergie.
NB: En cas d'absence d'ordre sur le fil pilote, l'appareil chauffe en mode Confort. Les ordres HG et délestage sont prioritaires par rapport aux modes Eco et Confort. Lors d'un passage du mode Confort vers le mode Eco, le temps de bascullement est de l'ordre de 12 secondes.
CONSEILS D'UTILISATION
- Il est inutile de mettre l'appareil au maximum, la température de la piece ne montera pas plus vite.
- Lorsque vous aérez la pièce, couper l'appareil en mettant le curseur ① sur
- Si vous vous absentez pendant plusieurs heures, pensez à baiser la température.
Absence de : moins de 2 heures, ne pas toucher aux commandes.
de 2 heures à 24 heures,mettre le curseur ① sur
plus de 24 heures ou I'eté,mettre l'appareil en mode Hors Gel ().
- Si vous avez plusieurs apparéils dans une pièce, laissez les fonctionner simultanément, vous aurez ainsi une température plus homogène sans pour autant augmenter la consommation d'électricité.
MISE EN GARDE

Cet apparéil n'est pas prévu pour être utilisé par des personnes (y compris les enfants) dont les capacities physiques, sensorielles ou mentalles sont réduites, ou des personnes dénuées d'expérience ou de connaissance, sauf si elles ont pu bénéficier, par l'intérimédiaire d'une personne responsable de leur sécurité, d'une surveillance ou d'instructions préalables concernant l'utilisation de l' apparéil.
Il convient de surveiller les enfants afin qu'ils ne jouent pas avec l'appareil. Afin d'éviter une surchauffe, ne pas couvrir l'appareil de chauffage. Veillez à ne pas introduire d'objets ou du papier dans l'appareil.
Toutes interventions à l'intérieur de l'appareil doivent être effectuées par un professionnelnel qualifié.

ENTRETIEN
Pour conserver les performances de l'appareil, il est nécessaire environ deux fois par an d'effectuer à l'aide d'un aspirateur ou d'une Brosse le dépoussierage des grilles inférieure et supérieure de l'appareil. Tous les cinq ans faire vérifier l'intérieur de l'appareil par un professionnel.
En ambiance polluée, des salissures peuvent apparaître sur la grille de l'appareil. Ce phénomène est lié à la mauvaise qualité de l'air ambiant. Il est conseillé, dans ce cas, de vérifier la bonne aération de la pièce (ventilation, entrée d'air, etc...) et la propre de l'air. Ces salissures ne justifiient pas le remplacement sous garantie de l'appareil.
La carrosserie de l'appareil peut etre nettoyee avec un chiffon humide, ne jamais utiliser de produits abrasifs.
L'appareil nechauffe pas:
Vérifier que le programmeur est en mode CONFORT.
S'assurer que les disjoncteurs de l'installation sont enclenchés, ou bien que le délesteur (si vous en avez un) n'a pas coupé l'alimentation de l'appareil. Vérifier la température de l'air de la pierce.
L'appareil ne suit pas les ordres de programmation :
S'assurer de la bonne utilisation de la centrale de programmation (se reporter à son manuel d'utilisation) ou que la Cassette Program est bien engagée dans son logement et qu'elle fonctionne normalement (piles?).
L'appareil chauffe tout le temps :
Vérifier que l'appareil n'est pas situé dans un courant d'air ou que le réglage de température n'a pas été modifié.
Cet apparéil à régulation électronique contient un microproesseur pouvant être perturbé par certains parasites secteurs importants (Hors normes CE définissant le niveau de protection aux parasites).
En cas de problèmes (thermostat bloqué...) couper l'alimentation de l'appareil (fusible, disjoncteur...) pendant environ 10 mn pour faire repartir l'appareil.
Si le phénomène se produit fréquemment, faire contrôler l'alimentation par votre distributeur d'énergie.
Notice Facile