DCI 24 CONDENS V 24 KW - Chaudière à condensation DEVILLE - Notice d'utilisation et mode d'emploi gratuit
Retrouvez gratuitement la notice de l'appareil DCI 24 CONDENS V 24 KW DEVILLE au format PDF.
| Intitulé | Valeur / Description |
|---|---|
| Type de produit | Chaudière à condensation |
| Puissance | 24 kW |
| Rendement énergétique | Jusqu'à 109% |
| Type de combustible | Gaz naturel ou propane |
| Dimensions approximatives | 700 x 400 x 300 mm |
| Poids | 30 kg |
| Installation | Murale |
| Contrôle de la température | Thermostat intégré |
| Entretien et nettoyage | Vérification annuelle recommandée, nettoyage du brûleur et des échangeurs de chaleur |
| Pièces détachées et réparabilité | Disponibilité des pièces détachées auprès des revendeurs agréés |
| Sécurité | Équipée de dispositifs de sécurité contre la surchauffe et les fuites de gaz |
| Compatibilités | Compatible avec les systèmes de chauffage central et production d'eau chaude |
| Garantie | 2 ans |
| Informations générales | Idéale pour les maisons individuelles, faible consommation d'énergie |
FOIRE AUX QUESTIONS - DCI 24 CONDENS V 24 KW DEVILLE
Questions des utilisateurs sur DCI 24 CONDENS V 24 KW DEVILLE
0 question sur cet appareil. Repondez a celles que vous connaissez ou posez la votre.
Poser une nouvelle question sur cet appareil
Téléchargez la notice de votre Chaudière à condensation au format PDF gratuitement ! Retrouvez votre notice DCI 24 CONDENS V 24 KW - DEVILLE et reprennez votre appareil électronique en main. Sur cette page sont publiés tous les documents nécessaires à l'utilisation de votre appareil DCI 24 CONDENS V 24 KW de la marque DEVILLE.
MODE D'EMPLOI DCI 24 CONDENS V 24 KW DEVILLE
NOTICE Installateur / Utilisateur / Chauffagiste


dvilk
INDEX
Pages
INFORMATIONS GENERALES
Avertissements généraux 1
Conformité du produit 3
CHARACTERISTIQUES TECHNIQUES
Données techniques 4
Dimensions d'encombrement 5
Vue d'ensemble de la chaudiere 6
Scheme hydraulique de principe 7
Diagramme du circulator 8
Cartelectronique 9
Tableau de commande 9
INSTALLATION (technicien qualifié)
Avertissement général 10
Déballage 10
Fixation de la chaudière 11
Kit de raccordements chaudiere 12
Raccordements hydrauliques 13
Raccordement gaz 14
Recirculation ECS 15
Branchements électriques 16
Raccordements des conduits de fumées ventouse 18
MISE EN SERVICE (technicien qualifié)
Avertissements généraux 24
Remplissage de l'installation 25
Remplissage du siphon de récapuration des condensats 26
Remplissage de l'appareil cote eau sanitaire 26
Mise en service de la chaudière 27
REGLAGE DE LA CHAUDIERE (technicien qualifié)
Pages
Tableau des paramètres 28
Programmation des paramètres 29
Transformation du type de gaz 35
Alimentation gaz 36
ENTRETIEN (technicien qualifié)
37
Contrôle de l'ordinate 37
Accès à la chaudière 38
Vidange de l'installation de chauffage et eau chaude sanitaire 39
Production d'eau chaude sanitaire 40
Schémas électriques 41
Anomalies de fonctionnement 47
INSTRUCTIONS POUR L'UTILISATEUR
Avertissements généraux 50
Tableau de commande (cf. page 9) 51
Allumage de la chaudière, modes de fonctionnement, réglage températures 52
Remplissage de l'installation 53
Diagnostic - Codes d'erreur 53
INFORMATIONS GÉNÉRALES
Avertissements généraux
L'installation de l'appareil doit se faire en conformité suivant les normes en vigueur, selon les instructions du constructeur et par du personnel professionnellement qualifié.
Par personnel professionnellement qualifié, on désigne le personnel ayant les connaissances techniques en matière d'installation et d'entretien des composants de système de chauffage et de production d'eau chaude sanitaire de type civil et industririel.
La mise en service de la chaudière et tout type d'intervention successive sur l'appareil doit être effectuels par un Centre d'Assistance Technique autorisé par la société DEVILLE THERMIQUE S.A., sous peine d'annulation de la garantie (voir certificat de mise en service).
ATTENTION: Cet apparéil devra être destiné à l'usage pour lequel il a été expressément construit: le chauffage et la production d'eau chaude sanitaire. Toute autre utilisation est à considérer impropre et par conséquent dangereuse. Le constructeur décline toute responsabilité aux termes du contrat et en dehors de ce dernier pour tout dommage causé aux personnes et aux biens par des erreurs d'installation ou d'utilisation, et dans tous les cas de non observation des normes nationales et locales en vigueur et des instructions données par le constructeur lui-même.
Le manuel d'installation, usage et entretien constitue une partie intégrante et essentielle du produit et doit toujours être fourni avec l'appareil.
Conserver ce manuel avec soin pour toute consultation future. En cas de vente de l'appareil ou de transfert de propriété à une autre personne, en cas de déménagement par exemple et si l'appareil reste dans l'immeuble où il a été installé, s'assurer que ce manuel reste avec l'appareil à la disposition du nouveau propriétaire et/ou de l'installateur.
Les avertissements contenus dans ce chapitre sont destinés aussi bien à l'utilisateur qu'au personnel qui sera chargé de l'installation et de l'entretien du produit.
L'utilisateurauralesinformationscoccernantlefonctionnementetleslimitesd'utilisationd'usage dansce manuel au chapitre « Instructions pour l'utilisateur »dontnous recommandons vivement la lecture.
Cet apparéil doit être utilisé exclusively avec un système de chauffage central fermé muni d'un vase d'expansion.
- ÀpRES avoir été tout emballage, s'assurer de l'intégrité du produit. En cas de doute, ne pas utiliser l'appareil et s'adresser au fournisseur. Aucun emballage (boîte en carton, bois, clous, agrafes, sachets en plastique, polystyrene expansé, etc.) ne doit être laissé à la portée des enfants car tout emballage constitue une source potentielle de dangers.
Avant d'effectuer toute opération de nettoyage ou d'entretien, débrancher l'appareil du réseau électrique en agissant sur l'interrupteur de l'st installation et/ou au moyen des organes d'interruption spécifique.
- Ne pas obstruer les grilles d'aspiration ou d'évacuation.
- Ne pas obstruer les embouts des conduits d'aspiration et/ou d'évacuation.
En cas de panne et/ou de mauvais fonctionnement de l'appareil, il convient de l'arrête et de s'abstenir de tout essai de réparation ou d'intervention directe. S'adresser exclusivement à un personnel professionnellement qualifié.
Toute eventuelle réparation du produit doit être effectuee exclusivement par un centre d'assistance technique autorisé par le constructeur et en utilisant exclusivement des pieces détaches d'origine. Le non-respect des clauses ci-dessus peut comprometer la sécurité de l'appareil. Pour garantir la sécurité de l'appareil et son bon fonctionnement, il est indispensable que l'entretien periodique soit effectue par du personnel professionnellement qualifie s'engageant a respecter les indications du constructeur.
Si on decide de ne plus utiliser l'appareil, il faudra rendre inutilisables les parties susceptibles de représentater des sources potentielles de danger.
Pour tout apparéil livre avec des options ou des kits (y compris les kits ou options électriques), seuls des accessoires originaux devront être utilisés.
■ En cas de décèlement de fuite de gaz dans les locaux où est installé l'appareil, ne pas actionner les interrupteurs électriques, téléphones ou tout autre appareil pouvant provoquer des étincelles. Ouvrir immédiatement les portes et les fenêtres pour creer un courant d'air. Fermer le robinet général du gaz (au compteur) ou la bonbonne de gaz, et demander l'intervention du service d'assistance technique.
S'abstenir d'intervenir personnellement sur l'appareil.
- Les installations de chauffage munies de vannes thermostatiques doivent'être équipées d'un by-pass.
■ Selon les normes en vigueur, ces apparèils doivent être exclusivement installés par du personnel qualifié qui devra se conformer aux normes et mises à jour successives, ainsi qu'aux dispositions émanant des pompiers et de l'entreprise locale fournissant le gaz. Avant la mise en marche de la chaudière, il convient de contrôle que l'appareil est bien branché au réseau d'eau et au système de chauffage qui doivent être conformes aux prestations de la chaudière. Les locaux devront être aérés au moyen d'une prise d'air (voir Normes en vigueur).
L'air indirect provenant de locaux adjacents peut ettre utilise dans la piece a condition que la pression soit inférieure à la pression exter et qu'il n'y ait pas de cheminée a feu de bois ni de VMC. En cas de montage exter de la chaudiere, par ex.: sur un balloon ou terrasse, s'assurer que cet espace n'est pas sujet aux agents atmosphériques afin d'eviter tout dommage aux composants, et l'annulation de la garantie que cela pourrait entrainer. Dans ce cas, il est conseilled de construire un espace thermique protegeant la chaudiere des intemperies.
Vérifier que les données techniques reportées sur l'emballage et sur la plaque signalétique de la chaudière correspondent et que la chaudière est équipée pour fonctionner avec le gaz raccordé.
S assurer que les tuyaux et les raccordements sont en parfait et d'etanchete et qu'il n'y a aucune fuite de gaz.
■ Nous conseillons d'effectuer un nettoyage des tuyaux afin dePTRer tout residu pouvant comprometter le bon fonctionnement de la chaudiere.
- On peutvriment parler de sccurté électrique de l'appareil uniquely quand celui-ci est correctement branché à la terre et de façon satisfaisante et efficace, conformément aux normes en vigueur concernant la sécurité.
■ Il faut vérifier que cet aspect fondamental de la sécurité soit satisfait. En cas de doute, demander un contrôle soigné de l'installation électrique par du personnel professionnellement qualifié, puisque le constructeur ne peut être tenu responsable pour tout dommage causé par le manque de mise à la terre de l'appareil.
Faire vérifier par du personnel professionnellement qualifié que l'installation électrique est adaptée à la puissance maximum absorbée par l'appareil, reportée sur la plaque signalétique ; et s'assurer en particulier que le diamètre des cables de l'installation est suffisante pour la puissance absorbée par l'appareil.
Aucun adaptateur, prise multiples et/ou rallonges ne sont autorisés pour le branchement électrique de l'appareil.
Pour le branchement au réseau, il convient de prévoir un interrupteur bipolaire ayant une distance d'ouverture d'au moins 3 mm, conformément aux normes de sécurité en vigueur.
L'utilisation de tout composant faisant recours à l'énergie électrique comporte l'application de quelques règes fondamentales, telles que:
Ne pas toucher l'appareil avec les parties du corps mouillées ou humides et/ou pieds nus.
- Ne pas tirer sur les cables électriques.
Ne pas laisser l'appareil exposé aux agents atmosphériques (pluie, soleil, etc.) à moins que cela ne soit expressément prévu.
Interdire l'utilisation de I'appareil aux enfants et aux personnes peu expertes.
Le cable de l'alimentation de l'appareil ne doit pas etre remplace par l'utiliseur.
■ En cas de cable endommagé, arrêtier l'appareil, et, pour son remplacement, contacter exclusivement un personnel professionnellement qualifié.
■ En cas de non utilisation de l'appareil pendant un certain temps, il convient de couper l'alimentation électrique générale de la chaudière.
Conformité du produit
La société DEVILLE THERMIQUE S.A. déclare que les chaudières DCA 25/20-D sont fabriquées dans les règles de l'art et qu'elles ont obtenu la certification CE. (CE n°694BN3485)
Les chaudières DCA 25/20-D sont en outre conformes aux directives suivantes :
DIRECTIVE GAZ 90/396/CEE pour la conformité CE
DIRECTIVE BASSE TENSION 2006/95/CEE
DIRECTIVE COMPATIBILITE ELECTROMAGNETIQUE 89/336/CEE
DIRECTIVE RENDEMENTS 92/42/CEE
Les matériaux utilisés tel le cuivre, le laiton, l'acier inox, créé un ensemble homogène et compact, maisURT fonctionnel, facile à installer et simple à utiliser. De part sa simplicité, la chaudière murale est fournie avec tous les accessoires aux normes nécessaires pour en faire une vraie centrale thermique indépendante, aussi bien pour le chauffage domestique que pour la production d'eau chaude sanitaire. Toutes les chaudières sont soumises à des essais et sont accompaniesées de certificat de qualité délivré par la personne chargée d'effectuer les essais ainsi que d'un certificat de garantie. Lire attentivement ce manuel, le conserver avec soin, et le laisser toujours à la disposition de l'utilisateur de la chaudière.
La société DEVILLE THERMIQUE S.A ne pourrait être tenue responsable de la non observation des instructions containues dans le present manuel ni des conséquences de toute intervention n'y étant pas spécifique décrite.
CHARACTERISTIQUES TECHNIQUES
Données techniques
| Modèle | DCA 25/20-D | |
| Certification CE | n° | 0694BN3485 |
| Catégorie | B23p-B33-C13-C33-C43-C53-C63-C83-C93 | |
| Type | II2H3B/P | |
| Débit calorifique nominal | kW | 25 |
| Débit calorifique minimal | kW | 9 |
| Puisance nominale (50/30°C) | kW | 26.68 |
| Rendement thermique à 100% Pn (50/30°C) | % | 106.7 |
| Rendement thermique à 30% (charge partielle Pn) (50/30°C) | % | 106.3 |
| Puisance nominale (80/60°C) | kW | 24.6 |
| Puisance minimale (80/60°C) | kW | 8.73 |
| Rendement thermique à 100% Pn (80/60°C) | % | 98.4 |
| Rendement thermique à 30% (charge partielle Pn) (80/60°C) | % | 100.1 |
| Marquage rendement énergétique (Directive 92/42/CEE) | étoiles | 4 |
| Circuit de chauffage | ||
| Température chauffage - Plage de réglage | °C | 25-40 ou 30-80 |
| Température max. de service | °C | 80 |
| Capacité vase d'expansion installation | litres | 8 |
| Pression max. de service circuit chauffage | bar | 3 |
| Pression min. de service circuit chauffage | bar | 0.3 |
| Circuit sanitaire | ||
| Température sanitaire - Plage de réglage | °C | 35-60 |
| Pression max. de service circuit sanitaire | bar | 6 |
| Pression min. dynamique circuit sanitaire | bar | 0.5 |
| Prélèvement continu eau mélangée avec Δt 30°C | litres/h | 768 |
| Prélèvement maximum continu eau mélangée Δt 30°C premières 10 minutes | litres | 141 |
| Capacité ballon accumulator | litres | 20 |
| Capacité vase d'expansion sanitaire | litres | 1 |
| Dimensions | ||
| Largeur | mm | 490 |
| Hauteur | mm | 900 |
| Profondeur | mm | 450 |
| Poids | kg | 70 |
| Raccordements hydrauliques | ||
| Entrée | Ø | 3/4" M |
| Retour | Ø | 3/4" M |
| Eau froide | Ø | 1/2" M |
| Eau chaude | Ø | 1/2" M |
| Raccord du gaz à la chaudière | Ø | 1/2" M |
| Raccordement du conduit d'évacuation des fumées | ||
| Système coaxial horizontal | Ø mm | 100/60 |
| Longueur max. coaxiale horizontal | m | 5 |
| Système coaxial vertical | Ø mm | 100/60 |
| Longueur max. coaxiale verticale | m | 5 |
| Système coaxial horizontal - kit AK 50 | Ø mm | 80/125 |
| Longueur maxi. coaxial horizontal | m | 10 |
| Système coaxial vertical - kit CK 50 | Ø mm | 80/125 |
| Longueur maxi. coaxial vertical | m | 10 |
| Alimentation gaz | ||
| Méthane G20 - Gaz naturel | ||
| Pression d'alimentation | mbar | 20 |
| Consommation combustible | m³/h | 2.64 |
| Méthane G25 - Gaz naturel | ||
| Pression d'alimentation | mbar | 25 |
| Débit gaz | m³/h | 3.08 |
| Propane G31 | ||
| Pression d'alimentation | mbar | 37 |
| Débit gaz | kg/h | 1.94 |
| Caracteristiques électriques | ||
| Alimentation électrique | V/Hz | 230/50 |
| Puisance électrique absorbée | W | 180 |
| Dégré de protection électrique | IP | X4D |

Dimensions d'encombrement

| R | RETOUR CHAUFFAGE | Ø3/4” M |
| D | DEPART CHAUFFAGE | Ø3/4” M |
| G | ALIMENTATION GAZ | Ø1/2” M |
| EF | ENTREE EAU FROIDE | Ø1/2” M |
| EC | EAU CHAUBE SANITAIRE | Ø1/2” M |
| SC | EVAC. CONDENSATS | - |

Vue d'ensemble de la chaudière



LEGENDE
- ECHANGEUR PRIMAIRE
- GROUPE BRULEUR (BRULEUR + CHAMBRE DE MELANGE)
- TUYAU DE VIDANGE DES CONDENSATS
- ELECTRODE DE DETECTION
- ELECTRODE D'ALLUMAGE + MASSE
- VENTILATEUR
- VENTURI
- TRANSFORMATEUR D'ALLUMAGE
- VANNE GAZ ELECTRONIQUE
- SOUPAPE DE SECURITE 3 BAR POUR CIRCUIT CHAUFFAGE
- PURGEUR D'AIR AUTOMATIQUE (BALLON)
- THERMSOTAT DE SURCHAUFFE
- SONDE DE CHAUFFAGE
- CIRCULATEUR
- PRESSOSTAT EAU
- CONDUIT D'EVACUATION DES FUMEES
- THERMOFUSIBLE SECURITE FUMEES 102°C
- VASE D'EXPANSION CHAUFFAGE
- SONDE SANITAIRE
- SIPHON DE RECUPERATION DES CONDENSATS
- MANOMETRE
- BY-PASS
- EVACUATION SIPHON
- ROBINET DE VIDANGE
- PARTIE INFERIEURE CHAMBRE ETANCHE
- Filtre + LIMITEUR ENTREE EAU FROIDE (NON REGLABLE)
- FLUSSOSTAT ELECTRONIQUE
- ECHANGEUR SANITAIRE A PLAQUES
- VANNE 3 VOIES
- VASE D'EXPANSION SANITAIRE
- ROBINET DE VIDANGE BALLON ACCUMULATEUR
- BALLON ACCUMULATEUR 20 LITRES
- ANODE MAGNESIUM
- VANNE DE SECURITE SANITAIRE 8 BAR
- CLAPET ANTI-RETOUR
- ROBINET DE REMPLISSAGE
37.DISCONNECTEUR - PURGEUR MANUEL CORPS DE CHAUFFE
- THERMOFUSIBLE SECURITE 160^
Schéma hydraulique de principe
LEGENDE
- ECHANGEUR PRIMAIRE
- GROUPE BRULEUR (BRULEUR + CHAMBRE DE MELANGE)
- TUYAU DE VIDANGE DES CONDENSATS
- ELECTRODE DE DETECTION
- ELECTRODE D'ALLUMAGE + MASSE
- VENTILATEUR
- VENTURI
- ROBINET DE VIDANGE ACCUMULATEUR
- VANNE GAZ ELECTRONIQUE
- SOUPAPE DE SECURITE 3 BAR POUR CIRCUIT CHAUFFAGE
- PURGEUR D'AIR AUTOMATIQUE
- THERMOSTAT DE SURCHAUFFE
- SONDE DE CHAUFFAGE
- CIRCULATEUR
- PRESSOSTAT EAU
- CONDUIT D'EVACUATION DES FUMEES
- THERMOFUSIBLE SECURITE FUMEES 102°C
- VASE D'EXPANSION CHAUFFAGE
- PURGEUR MANUEL CORPS DE CHAUFFE
- SIPHON DE RECUPERATION DES CONDENSATS
- MANOMETRE
- BY-PASS
- EVACUATION SIPHON
- ROBINET DE VIDANGE CHAUFFAGE
- PARTIE INFERIEURE CHAMBRE ETANCHE
26.DISCONNECTEUR - FLUSSOSTAT ELECTRONIQUE
- ECHANGEUR SANITAIRE A PLAQUES
- VANNE 3 VOIES
- SONDE SANITAIRE
- SOUPAPE DE SECURITE SANITAIRE 8 BARS
- ANODE MAGNESIUM
- BALLON ACCUMULATEUR
- VASE D'EXPANSION SANITAIRE
- CLAPET ANTI-RETOUR
- ROBINET REMPLISSAGE
- Filtre + LIMITEUR ENTREE EAU FROIDE (NON REGLABLE)
- THERMOFUSIBLE SECURITE 160°C

LEGENDE
| R | RETOUR | EF | ENTREE EAU FROIDE |
| D | DEPART | EC | EAU CHAUBE SANITAIRE |
| G | GAZ | SC | EVAC. CONDENSATS |

Diagramme du circulateur : débit (l/h) / hauteur manométrique (kPa)
III
II
I
1 + u8 = u^2 + u
Puisance disponible de pompé fonctionnant à vitesse max.
Puisance disponible de pompé fonctionnant à vitesse II.
Puisance disponible de pompé fonctionnant à vitesse I.
Perte pression de chaudière
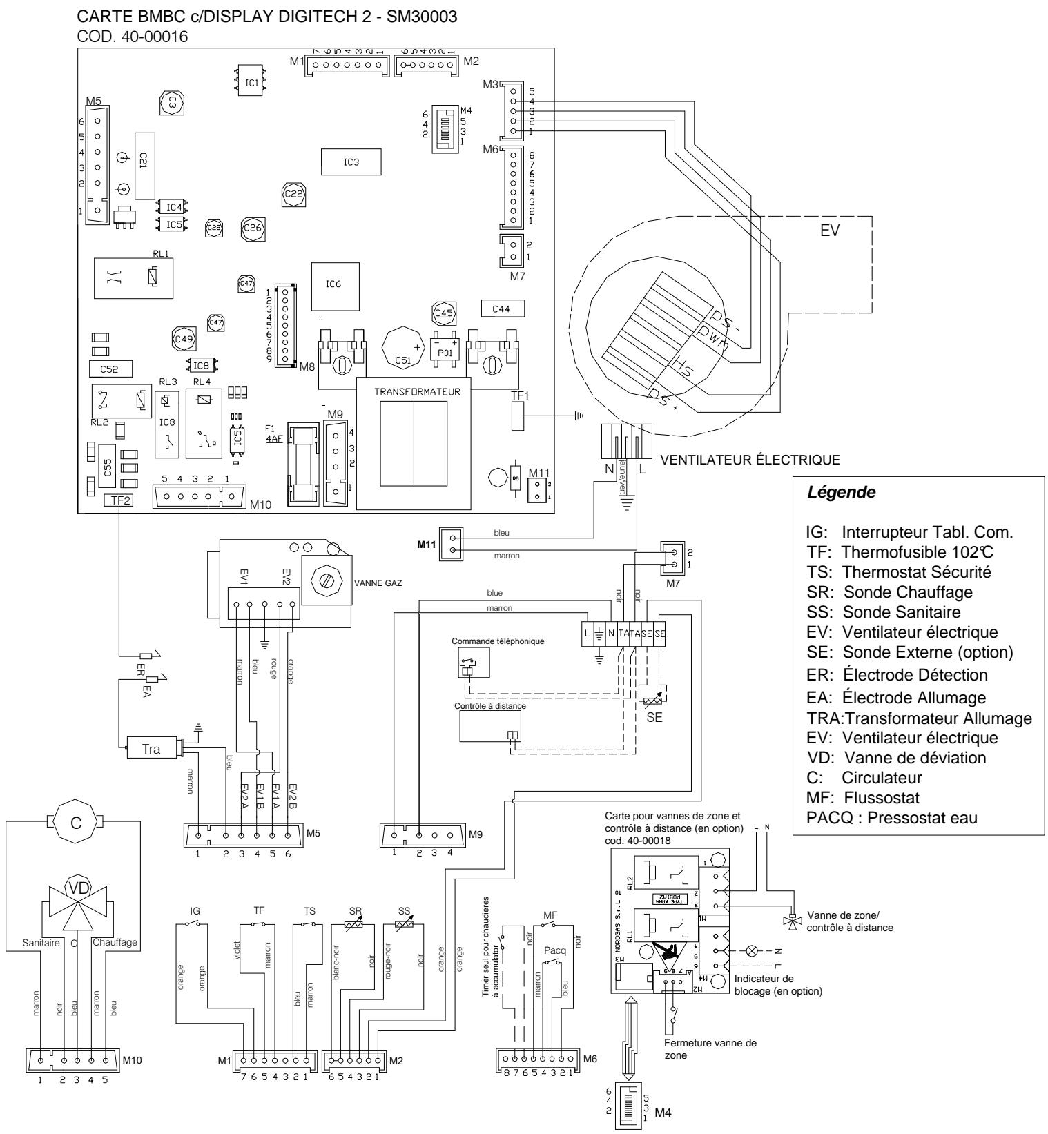
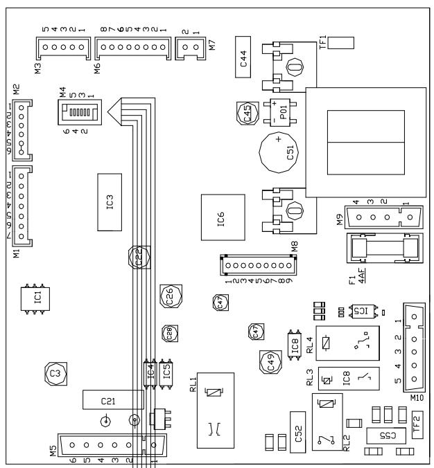
Carte électronique DIGITECH 2® série SM30003
\section*{Caracteristiques techniques}
Réglages pour les techniciens
- Sélection du modele de chaudière
- Température standard / réduite
Protection coup de belier - Temporisation Chauffage (0-7,5 min)
- Temporisation Post-Circulation Chauffage
Temporisation Post-Circulation Sanitaire
Puisssance gaz mini - Puissance chauffage maxi
- Progressivité puissance chauffage
Réglages pour l'utilisateur
- Allumage
Réglage Température Chauffage (30-80°C) - (25-40 °C) - Réglage Température Sanitaire (35-60°C)
- Fonction Seulement Été/Seulement Hiver /Été-Hiver
Affichage
- Alarme blocage
- Sécurité manque d'eau
- Température
Lorsque la chaudière est eteinte au moyen du bouton possoir marche/arrêt situé sur le tableau de commande, l'écran affiche « OFF » et le système anti-gel reste actif sur le sanitaire et le chauffage à la condition que la chaudière reste alimentee en gaz et électricité. Si la chaudière était en fonctionnement, elle s'eteint et les fonctions de post-ventilation, post-circulation, anti-blocage de la pompe et la vanne à trois voies restent actives.
Le contrôle à distance, s'il est branché, reste actif et allumé.
Tableau de commande
LEGENDE COMMANDES
- BOUTON POUSSOIR MARCHE/ARRÉT
- SELECTEUR DE REGLAGE TEMPERATURE CHAUFFAGE
- SELECTEUR DE REGLAGE TEMPERATUR SANITAIRE
- TOUCHE
Si sonde extérieure raccordée: En chauffage = température eau chauffage
Appui sur 4 = affichage
température extérieure
Puis en restant appuyé
5 secondes = tempereature eau sanitaire
Si pas de sonde extérieure :température eau chauffage
Enchauffage =
Appui sur 4 = affichage
de 2 tirets
Puis en restant appuyé
5 secondes = tempereature eau sanitaire Idem si chaudiere en mode sanitaire
- BOUTON SERVICE
- BOUTON SELECTION MODE ÉTÉ, HIVER OU ÉTÉ-HIVER
- BORNIER POUR CÂBLAGES EXTERIEURS
- ÉCRAN AFFICHAGE TEMPERATURES, CODES D'ERREUR, ET CONDITIONS DE FONCTIONNEMENT

INSTALLATION (technicien qualifié)
Avertissement général
- L'installation et la première mise en service de la chaudière, les branchements en eau, gaz et électricité doivent être réalisés par un installateur qualifié conformément aux règles de l'art et aux normes en vigueur.
Déballage
■ Il est conseilé de déballer la chaudière peu avant son installation. La Société ne répond pas des dommages causés à la chaudière en cas de conservation incorrecte du produit.
L'emballage est réalisé à partir de matérielles recyclables individuellement.
■ Les éléments de l'emballage (sachets en plastique, polystyrene expansé, clous, etc.) ne doivent pas être laissés à la portée des enfants car ils constituent des sources potentielles de danger.
Explications fig.1
A. Placer la chaudière emballée sur le sol suivant schéma. Oter les agrafes pour ouvrir le carton.
B. Basculer le carton verticalement en Maintenant la chaudière.
C. Retirer le carton et les protections.

Fixation de la chaudière
L'appareil doit etre instalé exclusivement sur un mur vertical et solide qui en supporte le poids.
La chaudière doit être installée perpendicular au mur d'installation. Ceci afin d'éviter une mauvaise inclinaison qui pourrait provoquer un mauvais écoulement des condensats ayant pour conséquence la stagnation de l'eau à l'intérieur de l'échangeur.
Pour pouvoir acceder à l'intérieur de la chaudière et effectuer les opérations d'entretien, il convient de respecter les distances minimum indiquées dans la fig.2


fig. 2
| DISTANCES MINIMALES EN mm. | ||||||
| Model | X | Y | L | H | A | B |
| DCA 25/20 | 60 | 60 | 490 | 1000 | 200 | 300 |
Instructions de montage
Pour faciliter le montage de la chaudière, celle-ci est équipée d'un gabarit carton permettant de repérer les divers raccordements avant d'installer la chaudière.
Pour le montage,proceder comme suit (voir fig.3)
1) Fixer le kit de raccordements (B) en respectant la hauteur h mini.
2) Raccorder :
- le retour chauffage à la tubulure R
- la sortie eau chaude sanitaire à la tubulure EC
- l'alimentation du gaz à la tubulure G
- l'entrée eau froide sanitaire à la tubulure EF et départ circuit chauffage à la tubulure D
Relier les tubes et robinets comme indiqué sur la figure du kit (B).
Attention la connexion du Gaz est au milieu (G).
3) Positionner la chaudière à l'aide de deux vis (en fonction de la nature du support et du poids de la chaudière).
Attention: ne pas appuyer la chaudière sur le kit de raccordement (B).
Accrocher la chaudière et brancher tous les tuyaux.
B:Kit der raccordements chaudiere
R: Tubulure de retour circuit chauffage
EC : Tubulure de sortie eau chaude sanitaire
G: Tubulure d'entree gaz
EF : Tubulure d'entrée eau froide sanitaire
D: Tubulure de départ circuit chauffage

Il est recommendé de nettoyer l'installation (à l'aide d'un produit désemboute) pour éliminer les impuretés provenant des tuyaux et des radiateurs (en particulier les résidus huileux ou gras) afin de préserver l'échangeur et le circulateur.
S'assurer que les tuyaux pour l'eau et le chauffage ne soient pas utilisés comme prise de terre pour l'installation électrique. Ils ne sont absolument pas adaptés à cet usage.
Pour éviter vibrations et bruits dans les installations, ne pas employerer de tuyaux de petits diamètres, de coudes à angle réduit et éviter les réductions de diamètre trop importantes.
Circuit sanitaire
La pression de l'eau froide en entrée doit être comprise entre 1 et 6 bar.
Il est indispensable d'inverter un réducteur de pression en avant de la chaudière si la pression d'alimentation est supérieure à 6 bar.
La fréquence de nettoyage du serpentin d'échange dépend de la durée de l'eau d'alimentation et de la présence de résidus solides ou d'impuretés se trouvant souvent dans les nouvelles installations. En fonction des caractéristiques de l'eau d'alimentation, il est conseillé dinstaller des appareils spécifiques pour le traitement de l'eau, alors que pour la présence d'eventuels résidus, il est conseillé d'inverter un filtré en amont.

| R | RETOUR CHAUFFAGE | Ø3/4” M |
| D | DEPART CHAUFFAGE | Ø3/4” M |
| G | ALIMENTATION GAZ | Ø1/2” M |
| EF | ENTREE EAU FROIDE | Ø1/2” M |
| EC | EAU CHAUBE SANITAIRE | Ø1/2” M |
Circuit de chauffage
Relier la soupape de sécurité du circuit chauffage à une évacuation. La société Deville n'est pas responsable de toute éventuelle inondation due à l'ouverture du clapet de sécurité en cas de surpression de l'installation.
Evacuation des condensats
Relier le tuyau flexible d'évacuation des condensats spécialement prévu à un système d'écoulement adéquat. L'écoulement des condensats peut se faire directement dans le système d'égout en insérant un siphon accessible pour contrôle.
L'installation doit être réalisée de façon à éviter le gel des condensats. Avant demettre en service l'appareil, contrôler que les condensats s'écoulient correctement.
Remplir le siphon d'eau lors de la première mise en service.
Raccordement gaz
Le branchement doit être réalisé par du personnel professionnellement qualifié conformément aux normes en vigueur.
Avant d'effectuer l'installation de la chaudière, vérifier les points suivants :
La tuyauterie doit avoir un diamètre adapté à sa longueur et au débit gaz de la chaudière ; elle doit également être équipée de tous les dispositifs de sécurité et de contrôle conformément aux normes en vigueur.
La fourniture de gaz doit etre conforme aux normes et dispositions en vigueur.
- Contrôler l'étanchéité interne et externe de l'installation d'entrée du gaz.
- Installer un robinet de coupure du gaz en avant de la chaudière.
La tuyauterie d'alimentation du gaz doit avoir un diamètre supérieur ou égal à celui de la chaudière.
Avant l'allumage, vérifier que l'appareil soit bien alimenté par le type de gaz pour lequel il a eté prévu (voir la plaque signalétique du type de gaz située à l'intérieur de la chaudière).
La pression de l'alimentation du gaz doit etre comprise entre les valeurs reportees sur la plaque signaletique (voir la plaque signaletique du type de gaz située a l'intérieur de la chaudiere).
Avant l'installation de l'appareil, il est nécessaire de s'assurer que le tuyau du gaz ne contienne pas de résidus.
La transformation gaz pour passer du gaz methane au G.P.L. (et inversement) doit etre effectuee par du personnel qualifie selon les normes en vigeur.
N.B. Le branchement au gaz doit se faire au moyen d'un joint plat dont la taille et le matériel de construction sont adaptés au type de gaz fourni à la chaudière. Il est interdit d'utiliser du chanvre, du ruban en téléfon ou autre de même nature.
Recirculation ECS
Pour raccorder la tuyauterie de recirculation, proceder comme suit (voir schéma ci-dessous):
a) Dévisser le bouchon A (1/2") situé sous le préparateur.
b) Visser un raccord maje (1 / 2^ ) en lieu et place du bouchon et y raccarder la tuyauterie de recirculation.

Branchements électriques
Avertissements généraux
Le branchement doit être réalisé par du personnel professionnellement qualifié conformément à la réglementation en vigueur.
La chaudière fonctionne avec du courant alternatif de 230 V et 50 Hz et une puissance électrique maximum de 180 W. Le branchement au réseau électrique doit être effectué au moyen d'un disjonteur différentiel adapté. Il faut impératifement respecter la polarité phase/neutre de ce branchement, dans le cas contraire la chaudière se mettra en début (voir évientuelles le schéma électrique général de la chaudière).
L'appareil doit être raccordé à la terre suivant les normes de sécurité en vigueur (C15-100); il faut absolument vérifier que cette condition fondamentale de sécurité soit bien remplie. En cas de doute, faire contrôler l'installation électrique par du personnel professionnellement qualifié, le constructeur ne pouvant être tenu pour responsable de tout dommage évientuel causé par un manque de mise à la terre de l'installation.
Faire vérifier par du personnel professionnellement qualifié que l'installation électrique est adaptée à la puissance maximum absorbée par l'appareil, selon les indications reportées sur la plaque signalétique, en prétant une attention particulière au diamètre des cables qui doit être adapté à la puissance absorbée de l'appareil.
L'utilisateur ne doit en aucune façon remplaçer le cable d'alimentation de l'appareil. En cas de dommage sur le cable, eteindre l'appareil, et, pour son remplacement, s'adresser exclusivement a du personnel professionnellement qualifié.
En cas de remplacement du cable electrique d'alimentation, utiliser exclusivement des cables ayant les mêmes caractéristiques (HO5 VV-F 3x1) et un diamètre extérieur maximum de 1,5mm .
L'utilisation de tout composant électrique implique quelques règes fondamentales, telles que :
ne pas toucher l'appareil avec des parties du corps mouillées et/ou humides et/ou pieds nus;
ne pas tirer sur les cables electriques;
ne pas laisser l'appareil exposé aux agents atmosphériques (pluie, soleil, etc.) à moins que cela ne soit expressément prévu;
ne pas permettre que l'appareil soit utilise par des enfants ou des personnes non expertes.
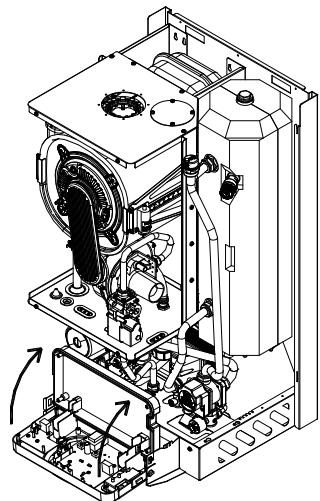
Accès aux branchements du tableau de commande
Pour acceder aux branchements électriques du tableau de commande, proceder comme suit :
retirer le panneau avant (voir page 38 "Accès à la chaudiere")
- saisir simultanément les équres du tableau de commande (fig.4) et en les écantant, ouvrir le panneau en le faisant tourner vers le bas
- dévisser les quatre vis (fig.5) et-retirrer le capot

fig. 4

fig. 5
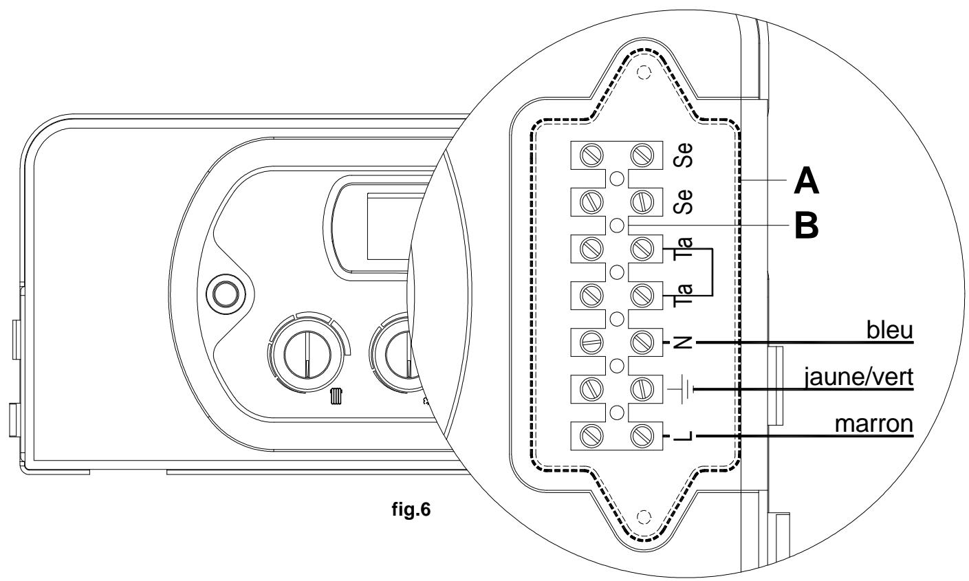
Alimentation électrique
Brancher les cables au bornier se trouvant à l'intérieur du tableau de commande de la façon suivante :
a. Couper l'alimentation avec le bouton pouvoir marche/arrêt
b. Retirer le panneau avant de la chaudière
C. Dévisser les vis etPTRer le couvercle A (voir fig.6)
d. Une fois le couvercle retire, effectuer les branchements suivants sur le bornier B:
Cable de terre : de couleur jaune/vert à la borne portant le symbole de la terre “ 1一
Cable de neutrte : de couleur bleu clair a la borne portant la lecture "N"
Cable de phase : de couleur marron à la borne reportant la lecture “L”
Les bornes marquées : Ta Thermostat d'ambiance (en option)
Se Sonde extérieure (en option)
Après cette opération, remonter le couvercle et le panneau avant.

Raccordements des conduits de fumées ventouse
Avertissements généraux sur l'installation des conduits
■ Afin de garantir un fonctionnement parfait et une efficacité totale de l'appareil, il est indispensable de raccorder l'évacuation des fumées de la chaudière en utilisant les accessoires d'origine, spécifiques pour chaudières à condensation (conduit en polypropylène).
Pour faciliter le choix du système à adopter, tous les accessoires de raccordement d'évacuation des fumées ont été signalés graphiquement de façon différente dans le catalogue spécifique et également dans le tarif général où leurs descriptions reportent la précision "...en polypropylène..."
- Dans le cas d'une installation du système coaxial horizontal, placer correctement le terminal coaxial horizontal spécialement prévu pour respecter au moins les pentes du conduit. Le conduit d'évacuation ventouse doit être légerement incliné vers le haut afin de recueillir et evacuer par la chaudière les condensats pouvant se creator dans ce conduit.
N.B. Il n'est pas possible d'utiliser les accessoires traditionnels de raccordement d'évacuation des fumées des chaudières à condensation pour les chaudières traditionnelles.
Voir configurations et schémas d'évacuation des fumées pages 20-21-22-23
Implantation des terminaux de ventouse
Pour l'implantation des terminaux ventouse, se conformer en tout etat de cause aux normes en vigueur (DTU 61.1.P4)
| Exemples de distances minimales à respecter pour la mise en place des terminaux deventouse (en mètres). Se référer au DTU 61.1 P4. | ||
| A | Sous un ouvrant | 0.40 |
| B | Sous un orifice de ventilation | 0.60 |
| C | Sous un rebord de toit ou une gouttière | 0.30 |
| D | Sous un balcon | 0.30 |
| E | D'un ouvrant adjacent | 0.40 |
| F | D'un orifice de ventilation adjacent | 0.60 |
| G | De tubes d'évacuation verticaux ou horizontaux | 0.30 |
| H | D'un angle de bâtiment | 0.30 |
| I | D'un mur en angle rentrant | 1.00 |
| L | Du sol avec terminal sans protection / avec protection (grille) * | 1.80 / 0.30 |
| M | Entre deux terminaux verticaux | 1.50 |
| N | Entre deux terminaux horizontaux | 1.00 |
| P | D'une haie ou plantation | 2.00 |

REMARQUES
- Les terminaux débouchant directement sur une voie de circulation extérieure doivent être munis de déflecteur inamovible conférant aux produits de combustion evacués une direction la plus parallèe au mur possible.
Les terminaux doivent être placés sur les murs extérieurs du bâtiment tout en respectant les distances minimales reportées dans le tableau ci-dessus. Il est indispensable de garantir que les gaz de combustion sortant de la ventouse ne soient pas refoulés dans le bâtiment ou dans un autre bâtiment adjacent par des ventilateurs, fenêtres, portes, infiltrations naturelles d'air ou climatiseurs. Si un de ces cas devant se vérifier, éteindre immédiatement la chaudière et appeler l'installateur.
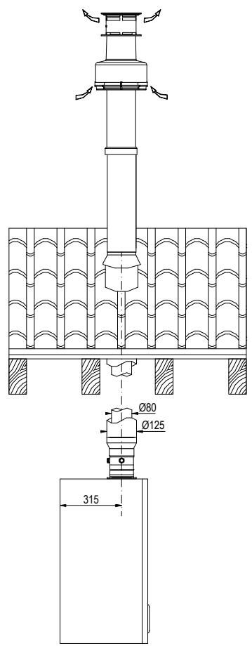
Evacuation coaxiale horizontal
(Kit coaxial horizontal 60/100 de série)
Système d'évacuation des fumées coaxial horizontal Ø 60/100 en polypropylène PPS orientable à 360°. Il permet d'évacuer les fumées et de prendre de l'air depuis le mur extérieur.

Il est adapté uniquement aux chaudières à condensation. Il permet d'évacuer les gaz de combustion et d'aspirer l'air pour la combustion au moyen de deux conduits coaxiaux, un conduit extérieur 0100 pour l'aspiration de l'air et un conduit interieur en plastique 060 pour l'évacuation des fumées.
Ce conduit peut évacuer les fumées directement à l'extérieur (sauf règlement local contraire) ou peut être raccordé à un conduit de fumées collectif. (3 CE)
LONGUEUR MAXIMUM D'EVACUATION : 5 m
La longueur maximum d'évacuation (ou développement linéaire de referencia) s'obtient en ajoutant la mesure des tuyaux linéaires et l'équivalent de chaque coude supplémentaire.
Par développement linéaire de referencia, on désigne la longueur totale des tubes d'évacuation depuis le raccordement de l'appareil sur la chambre étanche à l'exclusion du premier coude.
Pour chaque coude supplémentaire, il faut ajouter comme suit :
coude 60/100 à 90^ = 1,6m
coude 60/100 à 45^ = 0,9m


Evacuation coaxiale horizontale
(Kit AK50)
Système coaxial horizontal Ø 80/125 conduit interne en polypropylene orientable à 360^ . Il permet l'évacuation des fumées et la prise d'air d'un mur externe.

Il est adapté uniquement pour les chaudières à condensation. Il permet d'évacuer les gaz de combustion et d'aspirer l'air pour la combustion au moyen de deux conduits coaxiaux, un conduit externe Ø125 pour l'aspiration de l'air et un conduit interne en plastique Ø80 pour l'évacuation des fumées.
Ce conduit peut évacuer les fumées directement à l'extérieur ou peut être branché à un conduit des fumées collectif.
LONGUEUR MAXIMUM D'ÉVACUATION : 10 m
La longueur maximum d'évacuation (ou développement linéaire de referencia) s'obtient en ajoutant la mesure des tuyaux linéaires et l'équivalent de chaque courbe supplémentaire.
Par développement linéaire de referencia on désigne la longueur totale des tuyaux (evacuation + aspiration) depuis le raccordement de l'appareil sur la chambre étanche à l'exclusion du premier coude.
Pour chaque coude supplémentaire, il faut ajouter comme suit :
coude 0100/60 à 90^ = 1 m
coude0100/60a 45^ = 0,5m

Système d'évacuation des fumées de type coaxial vertical en polypropylene PPS
Permet d'évacuer les fumées et cree une prise d'air directe du toit.

Il est adapté uniquement aux chaudières à condensation.
Il permet d'évacuer les gaz de combustion et d'aspirer l'air pour la combustion au moyen de deux conduits coaxiaux, un conduit extérieur Ø100 pour l'aspiration de l'air et un conduit interieur en plastique Ø60 pour l'évacuation des fumées.
LONGUEUR MAXIMUM D'EVACUATION : 5 m
La longueur maximum d'évacuation (ou développement linéaire de referencia) s'obtient en ajoutant la mesure des tuyaux linéaires et l'équivalent de chaque coude supplémentaire.
Par développement linéaire de référence, on désigne la longueur totale des tubes (évacuation + aspiration) depuis le raccordement de l'appareil sur la chambre étanche à l'exclusion du premier coude.
Pour chaque coude supplémentaire, il faut ajouter comme suit :
coude 60/100 à 90^ = 1,6 m
coude 60/100 à 45^ = 0,9m


Système coaxial vertical 80/125 conduit interne en polypropylène.
Permet l'évacuation des fumées et la prise d'air directement du toit.

Il est adaptable uniquement pour les chaudières à condensation.
il permet d'évacuer les gaz de combustion et d'aspirer l'air pour la combustion par le toit au moyen de deux conduits coaxiaux, un conduit externe Ø125 pour l'aspiration de l'air et un conduit interne en plastique Ø80 pour l'évacuation des fumées.
LONGUEUR MAXIMUM D'ÉVACUATION : 10 m
La longueur maximum d'évacuation (ou développement linéaire de reference) s'obtient en ajoutant la mesure des tuyaux linéaires et l'équivalent de chaque courbe supplémentaire.
Par développement linéaire de referencia on désigne la longueur totale des tuyaux (evacuation + aspiration) depuis le raccordement de l'appareil sur la chambre étanche à l'exclusion du premier coude.
Pour chaque coude supplémentaire, il faut ajouter comme suit :
coude 80/125 à 90^ = 1 m
coude 80/125 a 45^ = 0,5m


MISE EN SERVICE (technicien qualifié)
Avertissements généraux
Les opérations décrites ci-après doivent être effectuées par du personnel professionnellement qualifié conformément aux dispositions des normes en vigueur.
La chaudière sort de l'usine après des réglages et des essais réalisés avec le gaz métane ou G.P.L. Durant la phase du premier allumage, il faut vérifier que les données reportées sur la plaque signalétique correspondant bien au type de combustible qui l'almente.
A la fin des opérations de replissage et de réglage, vérifier le serrage des vis des prises de pressions mesurées. Il faut également vérifier qu'il n'y a pas de fuite de gaz sur le circuit gaz, aussi bien dans la chaudière qu'en冲动 de cette-ci.
Dans le cas d'une nouvelle installation Gaz, l'air se trouvant dans la tuyauterie peut empêcher l'allumage de la chaudière lors le premier essai de mise en service. Si tel est le cas, purger la circulation d'arrivée gaz.
Opérations préliminaires
A la mise en service de la chaudière il convient de contrôle son installation, réglage et fonctionnement, et en particulier :
S'assurer que le type du gaz soit le même que celui pour lequel la chaudière a ete essaye et reglee (voir plaque signaletique).
Vérifier que les autres données reportées sur la plaque signalétique correspondent également (électricité, eau).
Vérifier la tension d'alimentation de 230V - 50Hz ainsi que la polarité phase/neutre, s'assurer que l'appareil ait une bonne mise à la terre.
Vérifier l'étanchéité de l'alimentation gaz.
Ouvrir le robinet du gaz de la chaudière et vérifier l'absence de fuite depuis les raccordements en amont de la chaudière (verifier le raccordement du gaz au brûleur quand la chaudière fonctionne).
Vérifier que la capacité de l'installation de fourniture de gaz soit compatible avec la puissance nécessaire à la chaudière et que cette fourniture comprendne tous les dispositifs de sécurité et de contrôle prescrits par les normes en vigueur.
Vérifier que l'adduction de l'air combustant et l'évacuation des fumées et des condensats soient conformes aux normes nationales et locales en vigueur.
Vérifier que les ouvertures d'aération/ventilation permanentes soient générées et de dimensions adéquates selon les normes s'appliquant aux apparèils installés.
Vérifier que le conduit d'évacuation des fumées soit bien raccordé au conduit principal et que l'ensemble soit conforme aux normes nationales et locales s'appliquant aux appareils installés.
Vérifier le système d'évacuation des condensats y compris les parties externes à la chaudière (dispositif de récapération des condensats des systèmes d'évacuation des fumées), s'assurer de l'écoulement correct des condensats jusqu'àu système de récapération. En cas d'écoulement des condensats dans les égouts, installer un siphon accessible avant le raccordement à l'égout.
Vérifier que la système d'évacuation des fumées soit parfaitement étanche.
- Contrôler qu'il n'y ait pas de liquides ou de matérieliaux inflammables à proximé de la chaudière.
Sassurer que toute eventuelle vanne placée sur l'installation de chauffage soit ouverte.
Remplissage de l'installation
Afin de prévenir la formation de dépôts calcaires et tout dommage à l'échangeur sanitaire, l'eau d'alimentation sanitaire ne doit pasprésenter une durété inférieure à 10fr et supérieure à 25fr et un PH ± 7. Dans tous les cas, il est conseilé de contrôle les caractéristiques de l'eau et d'insteller tout dispositif nécessaire au traitement de l'eau.
Pour replir l'installation, utiliser uniquement de l'eau propre du réseau.
Après avoir effectué les raccordements hydrauliques, fermer le robinet du gaz et procéder au replissage de l'installation comme suit :
- contrôler que le circulateur ne soit pas bloqué;
- contrôle que le bouchon du purgeur du circulator soit légèrement desserré pour permettre à l'air de sortir (fig.7);
ouvrir le robinet général d'entrée de l'eau sanitaire ;
ouvrir également le robinet de replissage R (fig.8) ; - dévisser le bouchon du circulator pour éliminer toute éventuelle bulle d'air et le reférer des que l'eau en sort ;
purger le corps de chauffe de la chaudière à l'aide du purgeeur situé en haut à gauche du corps de chauffe (fig.9) en dévissant légèrement le purgeur; le reférer après la purge d'air; - ouvr les purgeurs des radiateurs et contrôler le processus d'élimination de l'air. Fermer les purgeurs des radiateurs lors que de l'eau en sort;
Utilisez le manomètre de pression M (fig.8) pour vérifier que le niveau de pression du système atteint au milieu de la zone verte (1.2 bar - fig.10) et que le code H2O (voir page 53) ne s'affiche PAS sur le tableau de commande (voir page 9 « Tableau de commande »); - si après les opérations décrites plus haut, on relève une baisse de pression, ouvrir à nouveau le robinet de replissage R jusqu'à ce que la pression du manomètre indique 1 bar et que le code H20 (voir page 53) disparaissé de l'écran du tableau de commande;
- à la fin de cette opération, s'assurer que le robinet de replissage R soit bien fermé.




Remplissage du siphon de récapération des condensats

Avant le premier allumage, il est nécessaire de nettoyer soigneusement le siphon et la boule du siphon afin d'eviter son blocage.
Il est également nécessaire de replir le siphon de récapération des condensats afin d'éviter le reflux des gaz brûlés au travers du siphon lui-même.
Pour le remplissage, proceder comme suit (fig.11):
- Retirer le bouchon T et replir le siphon S avec de l'eau jusqu'àux trois quarts.
Refermer le bouchon T et brancher le tuyau de trop-plein P à l'intérieur de l'embout de vidange spécialement prévu à cet effet.

fig. 11
N.B.
Il est nécessaire de vérifier et nettoyer régulièrement le siphon de récapération des condensats ainsi que la boule du siphon. En effet, des corps gras peuvent se déposer dans le siphon et entraver son bon fonctionnement.
Remplissage de l'appareil cote eau sanitaire
Pour replir l'accumulateur d'eau sanitaire, proceder de la façon suivante :
ouvrir le robinet d'alimentation d'eau froide vers l'appareil et un robinet d'eau chaude
- l'accumulateur se remplit et se vide peu à peu de l'air qui s'y trouvait par le robinet d'eau chaude ouvert ;
- l'accumulateur est plein lorsque de l'eau chaude commence à couler du robinet d'eau chaude ouvert ;
fermerle robinet d'eau chaude.
Mise en service de la chaudière
Une fois le remplissage effectué, procéder comme suit :
- Contrôler que rien n'obstrue le conduit d'évacuation des fumées et que ce dernier soit bien branché au système d'évacuation des fumées.
- Mettre la chaudière sous tension.
Ouvrir le robinet du gaz. - Mettre le bouton pouvoir 1 sur la position ON (marche) (voir page 9 « Tableau de commande »); après quelques secondes, le circulateur se mettra en marche.
- Agir sur le bouton 6 pour sélectionner le mode ÉTÉ, HIVER ou ÉTÉ-HIVER.
L'allumage des symboles en indique l'activation.
- Le système d'allumage automatique allumera le brûleur et par défaut, répétera l'opération 2 fois. Si la chaudière n'est toujours pas allumée à la fin de ces essais, purger la canalisation gaz et répéter l'opération d'allumage. Pour répéter l'opération d'allumage, attendre environ trois minutes entre chaque essai, couper l'alimentation électrique de la chaudière, puis réarmer la chaudière avec le bouton poussoir 1 (page 9) et répéter l'opération.
- En cas de bruits de circulation lorsque la chaudière est allumée, procéder à une purgege de l'installation pour éliminer l'air encore present.
- Contrôler la pression de l'eau de l'installation ; si elle a baisse, ouvrir à nouveau le robinet de replissage jusqu'à ce que le code H20 (voir 53) disparaissé de l'affichage et que le niveau de pression sur le manomètre atteint au milieu de la zone verte. En fin d'opération, refermer le robinet.
Tableau n°1
| Type de gaz | CO2 % |
| G 20 | 9.4 |
| G 25 | 9 |
| G 31 | 11 |

- Dévisser le bouchon de la prise de contrôle des fumées et procéder aux contrôles de combustion (CO, CO2).
Si la quantité de CO2 diffère de la valeur indiquée dans le tableau n°1, tourner la vis V (fig.12) du venturi vers la croite pour diminuer la valeur de CO2 et vers la gauche pour l'augmenter.
DANS TOUS LES CAS, IL FAUT EFFECTUER UNE VERIFICATION RAPIDE DU REGLAGE DE LA CHAUDIERE VOIR PARAGRAPHE SUIVANT « REGLAGE DE LA CHAUDIERE » (page 28)
N.B. L'opération de réglage de l'appareil doit être effectuee exclusivement par du personnel qualifie.
RéGLAGE DE LA CHAUDIÈRE
Tableau des paramètres
| N°PARAMÈTRE | TYPE D'OPÉRATION | VALEUR PARAMÈTRE | FONCTION |
| P00 | Sélection du modele de chaudière | 00 01 (défaut) 02 03 04 | 00 = 18Kw 01 = 25Kw 02 = 29Kw 03 = 34 Kw 04 = 50 Kw |
| P01 | Sélection du type de chaudière | 00 01 02 | 00 = Instantanée 01 = Accumulateur 02 = Accumulateur Confort (+7℃) |
| P02 | Sélection du type de gaz | 00 01 | 00 = Méthane 01 = Gpl |
| P03 | Réglage de la température du chauffage | 00 01 | 00 = Standard (30-80℃) 01 = Réduite (25-40℃) |
| P04 | Progressivité puissance chauffage | 00 01 (défaut) 02 03 04 | 00 = 0 secs. 01 = 50 secs. 02 = 100 secs. 03 = 200 secs. 04 = 400 secs. |
| P05 | Protection coup de bélier | 00 01 | 00 = Exclue 01 = Activée |
| P06 | Fonction Maintien Sanitaire | 00 01 | 00 = Exclue 01 = Activée |
| P07 | Temporisateur Chauffage | 00-90 (défaut = 36) | Exprimée en pas de 5 secs. (préréglée à 36 x 5 = 180") |
| P08 | Temporisateur Post-circuit Chauffage | 00-90 (défaut = 36) | Exprimée en pas de 5 secs. (préréglée à 36 x 5 = 180") |
| P09 | Temporisateur Post-circuit Sanitaire | 00-90 (défaut = 18) | Exprimée en pas de 5 secs. (préréglée à 18 x 5 = 90") |
| P10 | Réglage Vit. Mini du Ventilateur | Préreglé | Exprimée en hertz |
| P11 | Réglage Vit. Maxi du Ventilateur | Préreglé | Exprimée en hertz |
| P12 | Réglage Vit. Mini du Ventilateur (Chauffage) | Préreglé | Exprimée en hertz |
| P13 | Réglage Vit. Maxi du Ventilateur (Chauffage) | Modifiable | Exprimée en hertz |
| P14 | Réglage Pas de départ | 33-203 | Exprimée en hertz |
| P15 | Activation Carte de Gestion des Zones | 00 01 | 00 = Exclue 01 = Activée |
| P16 | Activation de la Commande téléphonique | 00 01 | 00 = Exclue 01 = Activée |
| P17 | Affichage Fréquence du Ventilateur | 00 01 | 00 = Exclue 01 = Activée |
REMARQUES :
P04 - Avec ce paramètre on peut selectionner le temps nécessaire à la chaudière pour arriver à la puissance maxi (Chauffage)
P10, P11, P12 Ces paramètres se règlent automatiquement en fonction de la valeur régée au paramètre P00
P13 - On peut régler la puissance maxi de la chaudière dans la modalité Chauffage (voir le Diagramme charge thermique (Kw) – fréquences du electroventilateur (Hz) dans ce manuel d'instructions.
P15 - En cas d'installations thermiques avec plusieurs zones, il faut installer une carte supplémentaire d'interface (en option, fournie séparément) sur la carte électronique et porter le paramètre 15 sur la valeur 01 ;
P16 - Pour installer la commande téléphonique, il faut faire un branchement au moyen de conducteurs non polarisés n parallele avec la commande à distance et porter la valeur du paramètre de 16 à 01.
Programmation des paramètres
Pour modifier les valeurs prérégliées des paramètres selon le tableau précédent, il faut acceder au menu de réglage des paramètres selon la procédure suivante :

- Appuyer sur le bouton pouvoir 1 pour obtenir l'affichage « OFF ».

-
Appuyer simultanément et maintainir les touches « » et « » puis appuyer sur le bouton pouvoir 1; attendre que « PL » s'affiche.
-
Relâcher les touches «△» et «▽». « P 00 » s'affiche alors (« P » clignotant et « 00 » fixe).

- Appuyer et maintainir la touche « S » appuyée. Sélectionner le paramètre à modifier au moyen des touches « » et « »

- Une fois le paramètreChoisi affiché,relâcher la touche "S" (affichage « P » clignotant et numero de parametre fixe).Appuyer à nouveau sur la touche « S » et relâcher : l'afficheur visualisera la valeur du parametre à modifier.
Régler le paramètre en suivant la procédure décrite dans les pages suivantes.








PARAMÉTRE P00 - SELECTION DU MODELE DE CHAUDIÈRE
- Agir sur les touches « » ou « » pour modifier le paramètre :
$$ 0 0 = 1 8 \mathrm {K w} $$
$$ 0 1 = 2 5 \mathrm {K w} (\text {d e f a u t}) $$
$$ 0 2 = 2 9 \mathrm {K w} $$
$$ 0 3 = 3 4 \mathrm {K w} $$
$$ 0 4 = 5 0 \mathrm {K w} $$
- Appuyer et relâcher la touche « S » pour confirmer. Le numéro du paramètre (P00) s'affiche sur l'écran ;
- Pour régler un autre paramètre si besoin, réiterer les étapes 4 et 5.
PARAMÉTRE P01 - SELECTION DU TYPE DE CHAUDière
- Agir sur les touches « » ou « » pour modifier le paramètre :
$$ 0 0 = \text {i n s t a n t a n e e} $$
$$ 0 1 = \text {a c c u m u l a t e u r} $$
$$ 0 2 = \text {a c c u m u l a t e u r} (+ 7 ° C); $$
- Appuyer et relâcher la touche « S » pour confirmer. Le numéro du paramètre (P01) s'affiche sur l'écran ;
- Pour régler un autre paramètre si besoin, réiterer les étapes 4 et 5.
PARAMÉTURE P02 - SELECTION DU TYPE DE GAZ
- Agir sur les touches « » ou « » pour modifier le paramètre :
$$ 0 0 = \text {m e t h a n e} $$
$$ 0 1 = G P L $$
- Appuyer et relâcher la touche « S » pour confirmer. Le numéro du paramètre (P02) s'affiche sur l'écran ;
- Pour régler un autre paramètre si besoin, réiterer les étapes 4 et 5.
PARAMÉTRE P03 - RÉGLAGE DE LA TEMPERATURE DE CHAUFFAGE
- Agir sur les touches « » ou « » pour modifier le paramètre :
$$ 0 0 = \text {s t a n d a r d} (3 0 - 8 0 ^ {\circ} \mathrm {C}) $$
$$ 0 1 = \text {r é d u i t e} (2 5 - 4 0 ^ {\circ} \mathrm {C}) \text {p o u r l e s c h a u d i e r e s a u s o l} $$
- Appuyer et relâcher la touche « S » pour confirmer. Le numéro du paramètre (P03) s'affiche sur l'écran ;
- Pour régler un autre paramètre si besoin, réiterer les étapes 4 et 5.






PARAMÈTRE P04 - RÉGLAGE PROGRESSIVÉ PUISSANCE CHAUFFAGE
- Agir sur les touches « » ou « » pour modifier le paramètre :
00 = 0 seconds
01 = 50 seconds (défaut)
02 = 100 seconds
03 = 200 seconds
04 = 400 seconds
- Appuyer et relâcher la touche « S » pour confirmer. Le numéro du paramètre (P04) s'affiche sur l'écran ;
- Pour régler un autre paramètre si besoin, réiterer les étapes 4 et 5.
PARAMÉTRE P05 - PROTECTION COUP DE BÉLIER
- Agir sur les touches « » ou « » pour modifier le paramètre :
00 = off
01 = on (défaut = 2")
- Appuyer et relâcher la touche « S » pour confirmer. Le numéro du paramètre (P05) s'affiche sur l'écran ;
- Pour régler un autre paramètre si besoin, réiterer les étapes 4 et 5.
PARAMÉTRE P06 - MAINTIEN SANITAIRE
Maintien la vanne 3-voies en position sanitaire (eau chaude) pour en temps égale à la temporisation Post-Circuit sanitaire, afin deMAINTER l'échangeur sanitaire à température
- Agir sur les touches « » ou « » pour modifier le paramètre:
00 = off
01 = on (défaut = 120")
- Appuyer et relâcher la touche « S » pour confirmer. Le numéro du paramètre (P06) s'affiche sur l'écran ;
- Pour régler un autre paramètre si besoin, réiterer les étapes 4 et 5.






PARAMÉTRE P07 - TEMPORISATEUR CHAUFFAGE
- Agir sur les touches « » ou « » pour modifier le paramètre compris entre les valeurs limite :
$$ 0 0 = 0 \times 5 ^ {\prime \prime} = 0 ^ {\prime \prime} $$
$$ 9 0 = 9 0 \times 5 ^ {\prime \prime} = 4 5 0 ^ {\prime \prime} (7, 5 \min) $$
La valeur par défaut est 36 = 180'' = 3 min.
- Appuyer et relâcher la touche « S » pour confirmer. Le numéro du paramètre (P07) s'affiche sur l'écran ;
- Pour régler un autre paramètre si besoin, réiterer les étapes 4 et 5.
PARAMÉTRE P08 - TEMPORISATEUR POST-CIRCULATION DU CHAUFFAGE
- Agir sur les touches « » ou « » pour modifier le paramètre compris entre les valeurs limite :
$$ 0 0 = 0 \times 5 ^ {\prime \prime} = 0 ^ {\prime \prime} $$
$$ 9 0 = 9 0 \times 5 ^ {\prime \prime} = 4 5 0 ^ {\prime \prime} (7, 5 \min) $$
La valeur par défaut est 36 = 180'' = 3 min.
- Appuyer et relâcher la touche « S » pour confirmer. Le numéro du paramètre (P08) s'affiche sur l'écran ;
- Pour régler un autre paramètre si besoin, réiterer les étapes 4 et 5.
PARAMÉTRE P09 - TEMPORISATEUR POST-CIRCULATION DU SANITAIRE
- Agir sur les touches « » ou « » pour modifier le paramètre compris entre les valeurs limite :
$$ 0 0 = 0 \times 5 ^ {\prime \prime} = 0 ^ {\prime \prime} $$
$$ 9 0 = 9 0 \times 5 ^ {\prime \prime} = 4 5 0 ^ {\prime \prime} (7, 5 \min) $$
La valeur par défaut est 18 = 90'' = 1,5 min.
- Appuyer et relâcher la touche « S » pour confirmer. Le numéro du paramètre (P09) s'affiche sur l'écran ;
- Pour régler un autre paramètre si besoin, réiterer les étapes 4 et 5.








PARAMÉTURE 10 – Réglage puissance sanitaire mini
- Agir sur les touches « » ou « » pour modifier la valeur du paramètre comprise entre les valeurs limites : mini = 60 Hz / maxi = valeur du paramètre 11.
Valeurs par défaut :
66 Hz pour le gaz métahane G20, 69 Hz pour le gaz métahane G25, 60 Hz pour le GPL.
7. Appuyer et relâcher la touche « S » pour confirmer. Le numéro du paramètre P 10 (« P » clignotant et « 10 » fixe) s'affiche sur l'écran.
8. Pour régler un autre paramètre si besoin, réiterer les étapes 4 et 5.
PARAMÉTURE 11 – Réglage puissance sanitaire maxi
- Agir sur les touches « » ou « » pour modifier la valeur du paramètre comprise entre les valeurs limites : mini = valeur du paramètre 17 / maxi = 162 Hz.
Valeurs par défaut :
162 Hz pour le gaz methane G20 et G25, 149 Hz pour le GPL.
- Appuyer et relâcher la touche « S » pour confirmer. Le numéro du paramètre P 11 (« P » clignotant et « 11 » fixe) s'affiche sur l'écran.
- Pour régler un autre paramètre si besoin, réiterer les étapes 4 et 5.
PARAMÉTURE 12 – Réglage puissance chauffage mini
- Agir sur les touches « » ou « » pour modifier la valeur du paramètre comprise entre les valeurs limites : mini = 60 Hz / maxi = valeur du paramètre 11.
Valeurs par défaut :
66 Hz pour le gaz métane G20, 69 Hz pour le gaz métane G25, 60 Hz pour le GPL.
7. Appuyer et relâcher la touche « S » pour confirmer. Le numéro du paramètre P 12 (« P » clignotant et « 12 » fixe) s'affiche sur l'écran.
8. Pour régler un autre paramètre si besoin, réiterer les étapes 4 et 5.
PARAMÉTURE 13 – Réglage puissance chauffage maxi
- Agir sur les touches « » ou « » pour modifier la valeur du paramètre comprise entre les valeurs limites : mini = valeur du paramètre 10 / maxi = 162 Hz.
Valeurs par défaut :
162 Hz pour le gaz méthane G20 et G25, 149 Hz pour le GPL.
- Appuyer et relâcher la touche « S » pour confirmer. Le numéro du paramètre P 13 (« P » clignotant et « 13 » fixe) s'affiche sur l'écran.
- Pour régler un autre paramètre si besoin, réiterer les étapes 4 et 5.








PARAMÉTURE 14 – Réglage fréquence ventilateur à l'allumage
- Agir sur les touches « » ou « » pour modifier la valeur du paramètre comprise entre les valeurs limites : mini = valeur du paramètre 10 / maxi = valeur du paramètre 11.
Valeurs par défaut :
90 Hz pour le gaz métane G20, 97 Hz pour le gaz métane G25, 110 Hz pour le GPL.
- Appuyer et relâcher la touche « S » pour confirmer. Le numéro du paramètre P 14 (« P » clignotant et « 14 » fixe) s'affiche sur l'écran.
- Pour régler un autre paramètre si besoin, réiterer les étapes 4 et 5.
PARAMÉTURE P15 - INSTALLATION À ZONES
- En cas d'installations avec vannes de zone, porter le paramètre à « 01 ». Si une commande à distance est installée, il faut ajouter une carte d'interface pour commander les vannes de zone et porter le paramètre à '01'.
- Appuyer et relâcher la touche « S » pour confirmer. Le numéro du paramètre (P15) s'affiche sur l'écran ;
- Pour régler un autre paramètre si besoin, réiterer les étapes 4 et 5.
PARAMÉTRE P16 - COMMANDE TELEPHONIQUE
- S'il faut installer une interface téléphonique, activer la carte en portant le paramètre 16 à '01';
- Appuyer et relâcher la touche « S » pour confirmer. Le numéro du paramètre (P16) s'affiche sur l'écran ;
- Pour régler un autre paramètre si besoin, réiterer les étapes 4 et 5.
N.B. Le branchement de l'interface téléphonique au bornier doit se faire en parallèle avec la commande à distance au moyen de deux conducteurs non polarisés.
PARAMÈTRE P17 - AFFICHAGE DE LA FREQUENCY DU VENTILATEUR ÉLECTRIQUE
-
Agir sur les touches « » ou « » pour modifier le paramètre compris entre les valeurs :
-
00 = fonction désactivée ;
- 01 = fonction activée.
Avec la valeur du paramètre sur 01, pendant les diverses phases de fonctionnement de l'appareil, la fréquence instantanée du ventilateur électrique s'affichera pendant une durée de 10' .
- Appuyer et relâcher la touche « S » pour confirmer. Le numéro du paramètre (P17) s'affiche sur l'écran ;
- Pour régler un autre paramètre si besoin, réiterer les étapes 4 et 5.
Transformation du type de gaz
La transformation de la chaudière de gaz méthane en G.P.L. doit être effectue exclusivement par du personnel professionnellement qualifié conformément aux Normes en vigueur et doit être également autorisée par la société DEVILLE THERMIQUE S.A.
Contrer que la tuyauterie d'alimentation gaz soit adaptée au nouveau type de combustible avec lequel sera alimentee la chaudiere.
Pour effectuer la transformation, proceder comme suit :
- selectionner le gaz d'alimentation en modifiant le paramètre 2 du panneau de contrôle (voir chapitre Programmation des paramétres page 29);
- dévisser le bouchon et placer l'analyseur dans la prise d'inspection des fumées PF (fig. 1 chapitre Mise en service de la chaudière page 27) pour contrôle la quantité de CO2 et vérifier que cette valeur est bien conforme aux indications du tableau 1 (chapitre Mise en service de la chaudière page 27);
si la quantité de CO2 détectée par l'instrument différé de la valeur mentionnée ci-dessus, tourner la vis V (fig. 12 chapitre Mise en service de la chaudière page 27) du venturi vers la droite pour diminuer la valeur de CO2 et vers la gauche pour l'augmenter.
Alimentation gaz
Tableau des données Gaz
| Tableau 1 – Valeurs de CO2 | |||
| Type de gaz | G20 | G25 | G31 |
| CO2 % | 9.40 | 9 | 11 |
| Tableau 2 – Fréquences de réglage | |||
| Type de gaz | Allumage (Hz) | Minimum (Hz) | Maximum (Hz) |
| G 20 | 90 | 66 | 162 |
| G 25 | 97 | 69 | 162 |
| G 31 | 110 | 60 | 149 |
| Tableau 3 – Caractéristiques du gaz | ||||
| GAZ METHANE G20 | GAZ METHANE G25 | GAZ LIQUIDE PROPANE G31 | ||
| Pouvoir calorifique inférieur (15℃; 1013 mbar) | kW/Nm3 | 34.02 | 29.25 | 88.00 |
| Pression nominale d'alimentation | mbar | 20 | 25 | 37 |
| Débit gaz (15℃; 1013 mbar) | m3/h | 2.64 | 3.08 | - |
| Débit gaz (15℃; 1013 mbar) | kg/h | - | - | 1.94 |
Diagramme charge thermique (kW) - fréquences du ventilateur (Hz)

ENTRETIEN (technicien qualifié)
Avertissements généraux
Les opérations d'entretien doivent être effectuées tous les ans par un technicien qualifié.
Pour garantir une durée de vie plus longue et un bon fonctionnement de l'appareil, n'utiliser que des pieces de rechange d'origine dans le cadre des travaux de dépannage ou d'entretien.
Contrôle de l'appareil
Pour que la chaudière soit toujours efficace en termes de fonctionnalité et de sécurité, nous vous recommendons de la faire contrôle par du personnel qualifié après chaque période de chauffage (tous les ans).
Il est conseilé d'effectuer les opérations suivantes :
- Contrôler l'étanchéité des raccords du gaz et au besoin, remplaçer les joints.
- Contrôler l'étanchéité des raccords de l'eau, et au besoin, replacer les joints.
Demonter et nettoyer le bruleur. - Contrôler l'échangeur primaire et au besoin, le nettoyer.
- Contrôler les pressions maxi et mini de modulation et vérifier la modulation.
- Contrôler l'état et le fonctionnement des systèmes d'allumage et de sécurité gaz. Au besoin, démonter et nettoyer les électrodes d'allumage et de détention de la flamme.
- Contrôler les systèmes de sécurité de chauffage : thermostat de sécurité de surchauffe et soupapes de sécurité chauffage et sanitaire.
- Contrôler le joint d'étanchéité de la chambre étanche qui doit être en bon état et bien en place.
- Contrôler et nettoyer le système d'évacuation ventouse des fumées (et d'aspiration air neuf).
- Contrôler les branchements électriques à l'intérieur du tableau de commande.
- Contrôler l'aspect visuel de la flamme et de la chambre de combustion.
- Contrôler le réglage de la combustion et, si nécessaire, suivre les indications reportées page 27.
- Contrôler le débit et la température de l'eau sanitaire.
Nettoyer régulierement la boule du siphon de récapération des condensats, contrôle le bon fonctionnement du système d'évacuation des condensats (siphon compris) et évientuèlement tout dispositif de neutralisation des condensats acides.
RAPPEL :
- Contrôler la présence, les bonnes dimensions et le bon fonctionnement des prises d'aération/ventilation permanentes qui doivent être adaptées aux appareils installés. Respecter les normes nationales et locales en vigueur.
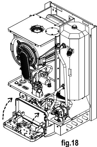
Accès à la chaudière
Pour la plupart des opérations de contrôle et d'entretien, il faut démonter un ou plusieurs panneaux.
Il est nécessaire de retarder le panneau avant pour démonter les panneaux lateraux.
panneau avant :
Retirer la vis de fixation placée sur le bord supérieur du panneau (Fig.13).
Saisir le panneau par le bas, le tirer vers soi (fig.13) et l'extraire en le poussant vers le haut (fig.14).


panneau létalroidroit (ougauche):
Retirer les vis de fixation placées sur le bord inférieur du panneau latorial.
- Saisir la base du panneau et, après l'avoir déplaced vers le côté (fig.15), le retirer en le levant (fig.16)


Pour acceder aux branchements électriques du tableau de commande, proceder comme suit :
- Retirer le panneau avant (voir fig.13 et 14).
- Saisir simultanément les équres du tableau de commande (fig.17) et, en les écartant, baisser le tableau en le faisant tourner vers le bas.
- Dévisser les quatre vis de fixation (fig.18) etPTRer le capot.


Vidange de l'installation de chauffage et eau chaude sanitaire
Chaque fois qu'il sera nécessaire de vidanger l'installation de chauffage, procéder de la façon suivante :
-Sélectionner le mode "HIVER" et attendre l'allumage de la chaudière.
-Couper l'interrupteur général et attendre que la chaudière se refroidisse.
-Raccorder un tuyau flexible à l'embout du robinet de vidange de l'installation et placer l'autre extrémité du tuyau dans une évacuation d'eau.
-Ouvrir le robinet de vidange de l'installation.
-Ouvrir les robinets placés sur les radiateurs en commençant par le plus haut place et ainsi de suite jusqu'au plus bas.
-Quand toute l'eau s'est écoulée, fermer les robinets des radiateurs et le robinet de vidange.

-Pour vidanger uniquement la chaudière, fermer les robinets départ/retour du circuit de chauffage. Ouvrir le robinet de vidange (fig.19) placé dans le collecteur de la pompe sur la partie inférieure de la chaudière.
Chaque fois qu'il sera nécessaire de vidanger l'installation sanitaire, proceder de la façon suivante :
-Fermer la vanne générale d'alimentation de l'eau froide sanitaire.
-Ouvrir tous les robinets des apparecs sanitaires (eau chaude et eau froide).
-Ouvrir la vanne de vidange de l'installation sanitaire.
-En fin d'opération, fermer la vanne de vidange et tous les robinets d'eau ouverts precedemment.
Production d'eau chaude sanitaire
Les chaudières murales avec ECS par accumulation sont conçues pour produit de l'eau chaude sanitaire avec un préparateur ECS incorpore.
L'avantage de ce système est la quantité d'eau disponible immédiatement grâce à la grande surface d'échange du serpentin situé à l'intérieur du préparateur.
Le serpentin ainsi que la surface interne du préparateur sont traités en émail vitrifié garantissant un très haut niveau d'hygiene ; le préparateur est également équipé d'une anode au magnésium qui, en présence de courants galvaniques, le réserve des corrosions et en augmente ainsi sa longévité.
Sanitaire
Le système « DUOPASS», principe du surgénérateur avec deux échangeurs pour le sanitaire :
Echangeur à plaques + serpentin dans le ballon.
- La surface d'échange étant fortement augmentée, les températures dans le circuit primaire sont abaissées (35-60°C au lieu de 60-80°C sur une chaudière classique).
- Cela permet de condenser pendant la production d'ECS et ainsi d'obtenir un meilleur rendement.
Entretien de l'accumulateur
Tous les ans ou plus fréquement si la quantité et la consommation de l'eau l'excigent, vérifier l'état de l'anode au magnésium et, si nécessaire, la replacer.
Pour vérifier l'etat de l'anode, ouvrir la vanne située sur la partie supérieure du préparateur.
A la fin de l'opération de vérification décrite ci-dessus, refermer la vanne.
Schémas électriques

Branchement du thermostat d'ambiance (en option)
Brancher les cables au bornier se trouvant à l'intérieur du tableau de commande de la façon suivante (voir fig.20):
a. couper l'alimentation depuis l'interrupteur général.
b. retirer le panneau avant de la chaudière.
c. dévisser les vis et prisoner le couvercle A.
d. retirer le pont Ta-Ta du bornier B.
e. brancher le thermostat d'ambiance aux bornes Ta.
Après cette opération, remonter le couvercle A , puis le panneau avant.

Branchement de la sonde extérieure (en option)
Brancher les cables au bornier se trouvant à l'intérieur du tableau de commande de la façon suivante (voir fig.20):
a. couper la tension depuis l'interrupteur général.
b. retirer le panneau avant de la chaudière.
c. dévisser les vis etPTRirer le couvercle A.
d. brancher la sonde extérieure sur les contacts Se-Se du bornier B.
Après cette opération, remonter le couvercle A , puis le panneau avant.
Branchement avec contrôle à distance et sonde externe en option
Brancher les câbles au bornier se trouvant à l'intérieur du panneau des instruments de la façon suivante :
a. couper la tension depuis l'interrupteur général.
b. retirer le panneau avant de la chaudière.
c. dévisser les vis etsterol la plaquette A (voir fig.21).
d. retirer le pont TA-TA du bomier;
e. brancher le contrôle à distance ;
f. brancher la sonde externe sur les contacts SE-SE du bornier B;
Après cette opération, remonter la plaque "
A^ ,puis le panneau avant.


cod. 40-00022
Branchement avec contrôle à distance et commande téléphonique en option
Brancher les câbles au bornier se trouvant à l'intérieur du panneau des instruments de la façon suivante :
a. couper la tension depuis l'interrupteur général.
b. retirer le panneau avant de la chaudière.
c. dévisser les vis etsterol la plaquette A (voir fig.22).
d. retirer le pont TA-TA du bomier ;
e. brancher le contrôle à distance et la commande téléphonique ;
f. Activer la commande téléphonique au moyen du paramètre 16 (page 28 « Tableau des paramétres »)
Après cette opération, remonter la plaque "A", puis le panneau avant.

Fig. 22

cod. 40-00022
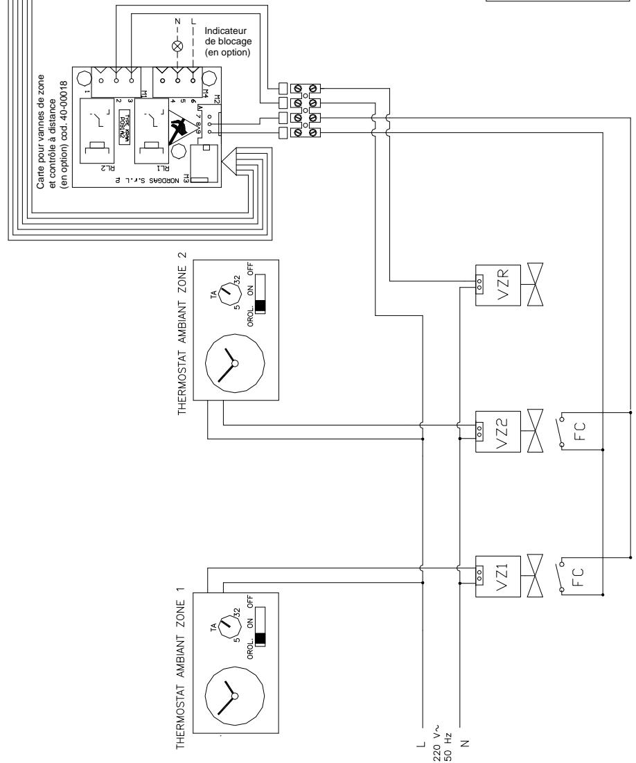
Branchement avec contrôle à distance et Vannes de zone
En cas d'installation d'une carte pour les vannes de zone, pour effectuer les branchements électriques, il faut acceder à la carte de modulation sur le tableau des commandes de la chaudière (page 38 « Accès à la chaudière ») et activer le paramètre 15 « Tableau des paramètres »



cod. 40-00022

VZ1 = VANNE DE ZONE 1
VZ2 = VANNE DE ZONE 2
VZR = VANNE DE ZONE CONTROLÉE À DISTANCE
FC = FERMETURE VANNE DE ZONE
Branchement avec contrôle à distance, Vannes de Zone et Commande Télophonique



cod. 40-00022

VZ1 = VANNE DE ZONE 1
VZ2 = VANNE DE ZONE 2
VZR = VANNE DE ZONE CONTROLLEÀ DISTANCE
FC = FERMETURE VANNE DE ZONE
Modulation de la température d'entrée en fonction de la température extérieure
Le branchement de la sonde extérieure se fait directement sur la carte électronique SM30003. La gestion de la sonde peut donc se faire :
- en cas d'installation de commande à distance + sonde extérieure, le réglage de la courbe de chauffe (pente) se fait par l'intermédiaire de la commande à distance (voir notice d'installation et d'instructions de la commande à distance).
- en cas de branchement direct de la sonde extérieure sur la carte, le réglage de la courbe de chauffe (pente) se fait en agissant sur le bouton de réglage du chauffage. Tourner le bouton encadré (fig.24) pour visualiser la numération correspondant à la courbe du diagramme de la figure 23.
La loi de correction est reportée dans le diagramme de la figure 23.
Le choix de la courbe est fonction de la température maxi de départ Tm et de la température mini extérieure Te.
N.B. Les valeurs en ordonnée des températures de départ Tm se refèrent à des installations standard 80-30°C ou à des installations basse température 40-25°C. Le type d'installation peut être régle au moyen de la programmation du paramètre 3 (voir page 30 « Paramètre 03 – Sélection de la température de départ chauffage »).

SONDE EXTERIEURE
LOI DE CORRECTION DE LA TEMPERATURE D'ENTREE EN FONCTION DE LA TEMPERATURE EXTERIEURE ET DE LA POSITION DE REGULATION PAR L'UTILISATEUR DE LA TEMPERATURE DE CHAUFFAGE
fig.23
TM-MAX/MIN = Plage temp. Entrée sélectionnée
Te = Température extérieure
Tm = Température de l'eau de chauffage

fig.24
Anomalies de fonctionnement
| Code défaut | Anomalie | Cause possible | Solution |
| E 01E fixe01 clignotant + symbole flamme barré | Défaut flamme | Manque gazElectrode allumage défectueuse ou débranchéeCable électrode défectueuxSonde ionisation défectueuse ou débranchéeTransfo allumage défectueuxBloc gaz défectueuxCarte électronique principale défectueuse | -verbier l'alimentation gaz (ouverture du robinet gaz).purger la canalisation gaz.-verbier la pression d'alimentation gaz sur prise de pression entrée bloc gaz.-verbier la connexion des cables allumage.-verbier l'électrode d'allumage (électrode à la masse, ou mal régèle).-verbier le réglage de l'électrode :entre electrolyte allumage et electrolyte masse = 5 mmentre electrolyte allumage et brûleur = 6 mm-remplacer l'électrode d'allumage.-remplacer le cable d'allumage.-verbier la connexion du cable d'ionisation.-verbier l'électrode d'ionisation.-verbier le réglage de l'électrode, écartement par rapport au brûleur = 6mm.-remplacer l'électrode d'ionisation.-remplacer le cable d'ionisation.-remplacer le transfo d'allumage.-remplacer le bloc gaz.- remplacer la carte électronique principale. |
| E 02E fixe02 clignotant | Sécurité surchauffe 95°C | Déclenchement de la sécurité de surchauffeSécurité surchauffe défectueuse ou cable sécurité coupé ou débranché. | -présence d'air dans la chaudière, purger l'installation.-mauvaise circulation hydraulique.-pompe bloquée, débloquer la pompé.-verbier la connexion des fils.-remplacer l'aquastat sécurité.-remplacer le cable de l'aquastat.Après élimination du défaut, appuyer sur le bouton 1(marche/arrêt) pour restérer. |
| E 03E fixe03 clignotant | Sonde fumée | Mauvaise combustion, montée anormale de la température des gaz brûlés.Observation du conduit ventouse.Sonde fumée défectueuse ou cable de la sonde coupé ou débranché. | -verbier le réglage de combustion (CO2) ainsi que la fréquence du ventilateur.-verbier que le conduit concentrique ne soit pas obstrué (amenée d'air et évacuation gaz brûlés).-verbier la connexion des fils.-remplacer la sonde de fumée.-remplacer le cable de la sonde.Après élimination du défaut, débrancher la chaudière du secteur et la rebrancher pour restérer. |
| H2O H2O clignotant + symbole pression fixe | Manque d'eau | Manque de pression d'eau dans le circuit chauffage.Pression inférieure à 0,3/0,4 bar.Pressostat eau défectueux ou cable du pressostat coupé ou débranché. | -rem Monter la pression d'eau à 1,1 bar mini.-verbier la connexion des fils.-remplacer le cable du pressostat.-remplacer le pressostat eau.Pas de reset à effectuer. |
| E 05 clignotant | Sonde chauffage | Sonde chauffage défectueuse ou cable de la sonde coupé ou débranché. | -verbier le contact de la sonde sur le tube chauffage.-verbier la connexion des fils.-remplacer la sonde - CTN 10 Kohm à 25°.Pas de reset à effectuer. |
| E 12 clignotant | Sonde sanitaire accumulator | Sonde sanitaire défectueuse ou cable de la sonde coupé ou débranché | -verbier le contact sur la sonde au niveau de l'échangeur à plaques.-verbier la connexion des fils.-remplacer la sonde - CTN 10 Kohm à 25°.Pas de reset à effectuer. |
| E 16 clignotant | Ventilateur | Fusible alimentation ventilateur casséCâble ventilateur coupé ou débrancherCarte ventilateur défectueuseVentilateur défectueux | -éméris le fusible alimentation ventilateur.-éméris la connexion électrique du ventilateur.-éméris la carte ventilateur.-éméris le ventilateur.Après élimination du défaut, débrancher la chaudière du secteur et la rebrancher pour reseter. |
| E 22 | Demande programmation paramètres | -reprogrammation des paramètres de réglage. | |
| Défaut sans affichage | Mauvais allumagePlus d'indication sur l'écran du tableau | Fréquence d'allumage trop BASSEFusible de la carte principale défectueux | -étrogler la fréquence d'allumage du ventilateur à la valeur indiquée sur la notice.-éméris le fusible. |
Diagnostic
Codes d'erreur :
E01 Défaut flamme
E02 Intervention sécurité surchauffe
E03 Défaut sonde fumée
H2O Manque d'eau
E05 Défaut sonde chauffage
E12 Défaut sonde sanitaire accumulateur
E16 Destructventilateur
E22 Demande programmation paramètres

Codes de signalisation
| Codes de signalisation | Type de signalisation | Description |
| 07 clignotant | Fonction Ramoneur | Chaudière en fonctionnementAppuyer sur la touche « service » pendant 7 secondes pour activer la fonction « ramoneur ». Appuyer sur le bouton poussoir marche/arrêt pour désactiver cette fonction.Cette fonction permet de faire fonctionner la chaudière au maximum pendant 15 minutes, sans modulation, pour effectuer des essais et contrôles de combustion. |
| 08 clignotant | Fonction anti-gelCHAUFFAGE | Se met automatiquement en fonction quand la sonde de chauffage déetecte une température de 5°C. La chaudière fonctionne à la pression de gaz mini en mode « hiver ». Elle se désactive quand la température d'eau du circuit chauffage atteint 30°C. |
| 13 clignotant | Fonction anti-gel SANITAIERECUMULATEUR | Se met automatiquement en fonction quand la sonde sanitaire déetecte une température de 4°C. La chaudière fonctionne à la pression de gaz mini en mode « été ». Elle se désactive quand la température d'eau du circuit sanitaire atteint 8°C. |
| 28 clignotant | Fonction anti-égionellose | Cette fonction n'est présente que sur les chaudières à production d'eau chaude à accumulation.Une fois parSEAime, l'eau sanitaire est portée automatiquement à 60°C pour détruire les bactéries évientuelles. |
| 31 clignotant | Contrôle à distance non compatible | Signale que le contrôle à distance branché à la chaudière n'est pasCompatible avec la carte électronique installée sur la chaudière. |
INSTRUCTIONS POUR L'UTILISATEUR :
UTILISATION ET RÉGLAGE DE LA CHAUDière
Avertissements généraux

S'assurer que la fiche de garantie porte bien le cachet du technician autorisé ayant effectué les essais de la chaudière.

L'installation, le premier allumage, les réglages et les opérations d'entretien doivent être effectués exclusivement par du personnel qualifié (ex. les centres d'assistance technique autorisés par la société DEVILLE THERMIQUE S.A.). Une mauvaise installation peut provoquer des dommages aux personnes, animaux ou aux matériels, à l'égard desquels le constructeur ne pourrait être tenu responsable.
Pendant l'intervention, il est important que le technicianie effectue les contrôles suivants :
■ Les données reportées sur la plaque signalétique doivent correspond à celles des réseaux d'alimentation (électricité, eau, gaz).
Le réglage de la chaudière doit correspondre au besoin de l'installation.
Le système d'évacuation des gaz brûlés et l'aspiration de l'air comburant doivent être installés et fonctionner correctement.
■ En toute situation d'installation (interieure, extérieure, dans une armoire, etc.), le système de ventilation et d'évacuation des fumées doit respecter les dispositions des normes nationales et locales en vigueur.
Ne pasmettre la chaudiere en service si vous n'etes pas sur que les essais aient eteffectués par un technicien qualifie. Toutes les opérations d'entretien, manutention et changement du type de gaz DOIVENT ETRE EFFECTUÉES PAR DU PERSONNEL QUALIFIÉ ET AUTORISE conformément aux normes en vigueur.
Contrôler que les ventilations hautes et basses de la pièce dans laquelle la chaudière est installée soient conformes aux normes en vigueur.
Les chaudières peuvent être installées à l'air libre, dans des locaux partiellement protégés en conformité aux normes en vigueur et dans des conditions de température extérieure minimum d'utilisation de -10^ ; la société ne pourra être tenue responsable pour des installations dans des locaux où la température est inférieure à -10^ .
La chaudière est équipée d'un système anti-gel. Dans le cas d'installation responsable un risque de gel, le système anti-gel entre en fonction uniquement lorsque la chaudière est sous tension (interrupteur sur la position ON -marche) et lorsque le gaz est ouvert. Aucune responsabilité ne peut être engagée pour dommages à la chaudière causés par le non-respect de la presente recommandation.
En cas de gel de la chaudiere, ne l'allumer pour aucune raison et appeler tout de suite le centre d'assistance.
La chaudière fait partie intégrante d'une installation thermique. Par conséquent, toute installation doit être accompagnée par le livre d'umont rempli, conformément aux dispositions des normes en vigueur et modifications successives. Toutes les opérations d'entretien ordinaire et extraordinaire, ainsi que les vérifications de la combustion doivent être reportées dans le livre avec le nom du responsable de l'entretien et, si c'est le cas, le nom du tiers responsable.
La vérification de la combustion de l'appareil doit être effectuee tous les ans. Cette verification consiste en un contrôle de l'efficacite du generateur et doitetre realizede par du personnel autorise (ex. les centres d'assistance technique agrees).
Ne pas obstruer les ouvertures d'aération de la piece où est installé un apparil à gaz (chaudière, apparil de cuisson) afin d'eviter la présence de mélanges toxiques et explosifs.
Si on détecte des odeurs de gaz …
NE PAS ACTIONNER LES INTERRUPEURS ÉLECTRIQUES, LE TÉLÉPHONE NI TOUT AUTRE APPAREIL POUVANT GÉNÉRER DES DÉCHARGES ÉLECTRIQUES OU DES ÉTINCELLES.
OUVRIR IMMÉDIATEMENT LES PORTES ET LES FENÊTRES POUR VENTILER LA PIECE.
FERMER LES ROBINETS GAZ.
DEMANDER IMMÉDIATION L'INTERVENTION D'UN PERSONNEL PROFESSIONNELLEMENT QUALIFIÉ.
Tableau de commande
LEGENDE COMMANDES
- BOUTON POUSSOIR MARCHE/ARRÉT
- SELECTEUR DE REGLAGE TEMPERATURE CHAUFFAGE
- SELECTEUR DE REGLAGE TEMPERATURE SANITAIRE
- TOUCHE
Sonde extérieure raccordée: En chauffage = tempereature eau chauffage Appui sur 4 = affichage tempereature exterieure Puis en restant appuyé 5 secondes = tempereature eau sanitaire
Pas de sonde exterieure: En chauffage = tempereature eau chauffage Appui sur 4 = affichage de 2 tirets Puis en restant appuyé 5 secondes = tempereature eau sanitaire
Idem si chaudiere en mode sanitaire
- BOUTON SERVICE
- BOUTON SELECTION MODE ETÉ, HIVER OU ETÉ-HIVER
- BORNIER POUR CÂBLAGES EXTERIEURS
- ÉCRAN AFFICHAGE TEMPERATURES, CODES D'ERREUR, ET CONDITIONS DE FONCTIONNEMENT

fig. 25
Allumage de la chaudière
Ouvrir le robinet gaz place sous la chaudière.
- Appuyer sur le bouton poussoir 1 marche/arrêt (marche). (fig.26)
- La chaudière s'allume automatiquement avec réglage en mode HIVER à la condition que le thermostat s'ambiance soit en besoin.
- Vérifier que l'afficheur 8 ne signale aucun défaut; si la valeur H20 s'affiche, cela signifie que l'eau manque dans la chaudière et qu'il est nécessaire de replir l'installation (voir indications page 25 « Remplissage de l'installation »).

Mode "ÉTE" - sanitaire seul
Pour commuter la chaudière sur « ÉTÉ», agir sur la touche 6 (fig.26) et Sélectionner ainsi la fonction sanitaire. En mode “ÉTÉ”, le symbole s'allume sur l'afficheur du tableau de commande.
Le système d'allumage automatique allume le brûleur à chaque demande d'eau sanitaire et le symbole se met à clignoter sur l'afficheur du tableau de commande.
Mode “HIVER” – chauffage seul
Pour commuter la chaudière sur « HIVER», agir sur la touche 6 (fig.26) et selectionner ainsi la fonction chauffage. En mode “HIVER”, le symbole s'allume sur l'afficheur du tableau de commande.
Le système d'allage automatique allume le bruleur à chaque demande d'énergie pour le chauffage de l'habitation et le symbole se met à clignoter sur l'afficheur du tableau de commande.
Mode “ÉTE-HIVER” – chauffage + sanitaire
Pour commuter la chaudière en fonctionnement ÉTE-HIVER, agir sur la touche 6 (fig.26) et seLECTIONner la fonction chauffage/eau chaude sanitaire. Le fonctionnement ÉTE-HIVER se reconnaît à l'allumage simultané des symboles sur l'afficheur du tableau de commande.
Le système d'allumage automatique allume le brûleur à chaque demande d'énergie pour le chauffage de l'habitation ou demande d'eau chaude sanitaire ; les symboles se mettent à clignoter sur l'afficheur du tableau de commande.
Réglage température chauffage
Le réglage de la température s'effectue au moyen du bouton 2 (fig.26):
- Tourner vers la gauche pour diminuer la température.
- Tourner vers la croite pour augmenter la température.
La plaque de réglage de la température de chauffage est de 30^ à 80^ ou de 25^ à 40^ selon réglage des paramètres.
Réglage température eau chaude sanitaire
Le réglage de la température s'effectue au moyen du bouton 3 (fig.26):
- Tourner vers la gauche pour diminuer la température.
- Tourner vers la croite pour augmenter la température.
- La plage de réglage de la température de l'eau chaude sanitaire va d'un minimum de 35^ à un maximum de 60^ .
Remplissage de l'installation
Contrôler la pression de l'eau sur le manomètre M (fig.27) place sur la partie inférieure de la chaudière; il ne doit pas descendre en dessous de 1 bar.
Si l'eau vient à manquer dans la chaudière, le code « H20 » (voir page 52) s'allume sur l'afficheur du tableau de commande.
Pour rétablit la pression de l'eau, ouvrir le robinet de replissage R et contrôle au moyen du manomètre M que la pression de l'installation attigne au milieu de la zone verte (1.2 bar).
Une fois l'opération terminée, fermer le robinet de replissage.

Diagnostic - Codes d'erreur
Dans ce paragraphe se trouve la liste des codes des erreurs pouvant être visualisés sur l'afficheur 8 (fig.25 page 51) avec les signalisations correspondantes et les opérations que l'utilisateur peut effectuer pour débloquer la chaudière.
EO1 D俟out flamme
Code E01 allumé sur l'afficheur.
- Contrôler que le robinet gaz soit bien ouvert.
- Éteindre et allumer la chaudière à l'aide du bouton pouvoir marche/arrêt 1 du tableau de commande.
- Quand le code erreur s'eteint, la chaudière se remet en service.
Si le défaut persiste, appeler le Centre Assistance Technique.
E02 Intervention sécurité surchauffe
Code E02 allumé sur l'afficheur. Appeler le Centre Assistance Technique.
Code E03 allumé sur l'afficheur. Appeler le Centre Assistance Technique.
H2O Manque d'eau
Code H20 allumé sur l'afficheur.
- Contrôler la pression d'eau dans l'installation du chauffage et vérifier que la pression indiquée sur le manomètre M (fig. 27), se trouvant dans le bas de la chaudière, ne soit pas inférieure à 1 bar.
Si la pression est inférieure à 1 bar, proceder au remplissage de l'installation selon les indications du paragraphe « Remplissage de l'installation » - La chaudière se remettra en marche automatiquement.
Si le problème persiste, appeler le Centre Assistance Technique.
EO5 Destruct sonde chauffage
Code E05 allumé sur l'afficheur. Appeler le Centre Assistance Technique.
E12 Destruct sonde sanitaire accumulateur
Code E12 allumé sur l'afficheur. Appeler le Centre Assistance Technique.
E16 Dedefautventilateur
Code E16 allumé sur l'afficheur. Appeler le Centre Assistance Technique.
E22 Demande programmation paramètres
Code E22 allumé sur l'afficheur. Appeler le Centre Assistance Technique.
N.B. En cas d'arrêt prolongé de la chaudière :
Laisser la chaudiere en mode « veille » pour maintainir la fonction « hors-gel » :
chaudiere sous tension
alimentation gaz ouverte
boutons chauffage et sanitaire régels au mini
- Mettre la chaudiere en arrêt en débranchant l'alimentation électrique, en fermant l'alimentation gaz et en vidangeant totalement l'installation ainsi que le siphon de récapération des condensats.
Notice Facile