DHG576XP1 - Hotte DE DIETRICH - Notice d'utilisation et mode d'emploi gratuit
Retrouvez gratuitement la notice de l'appareil DHG576XP1 DE DIETRICH au format PDF.
| Type de produit | Four à gaz encastrable |
| Caractéristiques techniques principales | Four à convection, 5 fonctions de cuisson, éclairage intérieur |
| Alimentation électrique | 230 V, 50 Hz |
| Dimensions approximatives | Largeur : 60 cm, Hauteur : 60 cm, Profondeur : 55 cm |
| Poids | Environ 35 kg |
| Compatibilités | Compatible avec les cuisines encastrables standards |
| Type de batterie | Non applicable |
| Tension | 230 V |
| Puissance | 2,5 kW |
| Fonctions principales | Cuisson, rôtissage, grill, décongélation, maintien au chaud |
| Entretien et nettoyage | Intérieur émaillé, nettoyage facile, fonction pyrolyse disponible |
| Pièces détachées et réparabilité | Disponibilité de pièces détachées via le service après-vente |
| Sécurité | Système de sécurité gaz, verrouillage de la porte, refroidissement du four |
| Informations générales utiles | Garantie de 2 ans, manuel d'utilisation inclus, consommation énergétique A |
FOIRE AUX QUESTIONS - DHG576XP1 DE DIETRICH
Questions des utilisateurs sur DHG576XP1 DE DIETRICH
0 question sur cet appareil. Repondez a celles que vous connaissez ou posez la votre.
Poser une nouvelle question sur cet appareil
Téléchargez la notice de votre Hotte au format PDF gratuitement ! Retrouvez votre notice DHG576XP1 - DE DIETRICH et reprennez votre appareil électronique en main. Sur cette page sont publiés tous les documents nécessaires à l'utilisation de votre appareil DHG576XP1 de la marque DE DIETRICH.
MODE D'EMPLOI DHG576XP1 DE DIETRICH
Vou venez d'acquérir une hote DE DIETRICH et nous vous en remercions.
Nos équipes de recherche ont conçu pour vous une nouvelle génération d'appareils, qui par leur qualité, leur design et leurs évolutions technologiques en font des produits d'exception et révèle un savoir-faire unique.
Avec des lignes modernes et raffinées, votre nouvelle hotte DE DIETRICH s'intègre harmonieusement dans votre cuisine et allie parfaitement la maitrise technologique, les performances d'aspiration, et leUXe esthetique.
Vous trouvez également dans la gamme des produits DE DIETRICH, un vaste choix de fours encastrables, tables de cuisson, de lave-vaisselle, de jours micro-ondes et de réfrigérateurs intégrables, que vous pourrezCOORDner à votre nouvelle hotte DE DIETRICH.
Bien entendu, dans un souci permanent de satisfaire au besoin vos exigences vis à vis de nos produits, notre service consommateurs est à votre disposition et à votre écoute pour répondre à toutes vos questions ou suggestions (coordonnées à la fin de ce livre).
Gracé à ces "nouveaux objets de valeurs" qui nous servent de repère dans nos vies de tous les jours, DE DIETRICH, reférence de l'excellence, est une veritable invitation à un nouvel art de vivre.
La Marque DE DIETRICH.
IMPORTANT; AVANT Toute OPERATION D'INSTALLATION ET UTILISATION, VEUILLEZ PRENDRE BONNE NOTE DES INSTRUCTIONS SUIVANTES
La distance minimum entre la surface de support des casseroles sur le plan de cuisson et la partie inférieure de la hotte doit etre de 65 cm. Si les consignes, pour l'installation du plan de cuisson, indiquent une plus grande distance, il faut en tener compte. L'air aspiré ne doit pas etre canalisé dans un conduit qui est utilise pour evacuer les fumées produites par des apparils alimentés par des sources d'énergies autres que l'énergie électrique (installations de chauffage central, radiateurs, chauffe-eau, etc.). Pour evacuer l'air qui doit etre eliminé respectez les prescriptions des autorités compétentes. De plus l'air qui doit etre evacué ne doit pas etre décharge dans une cavité du mur, à moins que cette cavité soit prévue pour ce but.
Prévoyez une aération de la piece ajusté quand une hotte et des apparciels alimentés par une énergie autre que l'énergie électrique (poèle à gaz, à huile, à charbon etc.) sont utilisés en même temps. En effet, en evacuant l'air, la hotte pourrait creer une dépression dans la piece. La pression négative de la piece ne doit pas dépasser 0,04mbar, évitant ainsi que la source de chaleur provoque un appel des gaz qui doivent être evacués. Il est donc nécessaire d'équiper la piece de prises d'air alimentant un flux d'air frais constant.
Contrer la plaque des caractéristiques techniques se trouvant à l'intérieur de l'appareil; si le symbole (回) figure sur la plaque suivre les instructions suivantes: cet appareil est construit pour appartenir à la classe d'iso1ation II ; il ne doit donc pas etre relié à la terre.
Contrer la plaque des caractéristiques techniques se trouvant à l'intérieur de l'appareil; si le symbole (回) NE figure pas sur la plaque suivre les instructions suivantes: ATTENTION: cet appareil doit être relié à la terre. Lors du raccordement électrique s'assurer que la prise de courant est équipée d'une connexion de mise à la terre.
Lors du raccordement electrique assurez-vous que les valeurs de tension correspondant à celles qui sont indiquées sur la plaque des caractéristiques de l'appareil, qui se trouve à l'intérieur de celui-ci. Si vous appareil, n'a pas de cable flexible qui ne peut pas etre séparé ni de prise, ou bien d'autre disposifit qui garantisse le débranchement de tous les pôles du réseau, avec une distance d'ouverture entre les contacts d'au moins 3 mm, ces disposifits de séparation du réseau doivent alors etre prévus dans l'installation fixe. Si vous appareil est muni d'un cable d'alimentation, positionner l'appareil de maniere à ce que la fiche soit accessible.
Avant de proceder à une opération d'entretien ou de nettoyage quelconque, débranchez l'appareil.
ATTENTION: ces apparèils doivent être reliés à la terre.
UTILISATION
Evitez d'utiliser des matérieliaux qui provoquent des flammes à proximé de l'appareil.
Dans le cas de fritures, faites tout particulierement attention au danger d'incendie que représentent les huiles et les corps gras.
A cause de son inflammabilité l'huile usagée est particulièrement dangereuse. N'utilise pas de grils électriques découverts.
Pour éviter des risques d'incendie possibles suivez les instructions données concernant le nettoyage des filtres àGRAisse et sur la façon d'enlever des depots eventuels de graisse sur l'appareil.
ENTRETIEN
Un entretien soigné est une garantie de bon fonctionnement et de bon rendement de votre apparéil dans le temps.
Faites beaucoup d'attention surlout aux filtres antigraisse et nettoyez-les périodiquement (au moins tous les deux mois). Retirez les filtres àGRAISSÉ et LAVE-LES avec un détergent liquide à la main ou dans le lave-vaisselle.(voir chapitre Entretien).
L'élimination, déventuels dépôts de graisse sur l'appareil, doit être effectuee en fonction de l'utilisation de ce dernier (au moins tous les 2 mois). Il faut éviter d'utiliser des produits contenant des abrasifs ou des corrosifs. Pour le nettoyage extérieur des appeareils points, utiliser un chiffon mouillé avec de l'eau tiède et un détersif neutre. Pour le nettoyage extérieur des appeareils en acier, en cuivre et en laiton il est conseilé d'utiliser des produits spécifiques et de suivre les instructions fournies sur le produit.
Pour le nettoyage de l'intérieur de l'appareil, utiliser un chiffon (ou un pinceau) imbibé d'alcool dénaturé.
DESCRIPTION DES APPAREILS
Les descriptions et caractéristiques figurant sur ce document sont données à titre d'information et non d'engagements. En effet, socieux de la qualité de nos produits, nous nous réservons le droit d'effectuer, sans préavis, toutes modifications ou améliorations.
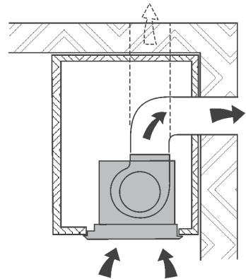
La hotte pourra etre installee en version Recyclage, Evacuation ou avec moteur exterieur, selon le modele que you achetez. Modles DHG556XP-DHG576XP-DHG577XP-DHG589: ces modles peuvent etre installes en version Recyclage ou Evacuation, selon vos besoins.
Dans la version Recyclage (Fig. 1), l'air et les vapeurs convoyés par l'appareil sont épures par le filtré à charbon et remis en circulation dans la piece. ATTENTION: Pour la version Recyclage vous doivent utiliser le filtré à charbon qui purifie l'air qui est remis en circulation dans la piece.
Dans la version Evacuation (Fig. 2), les vapeurs et les odeurs de la cuisine sont convoyées directement à l'extérieur par un tuyau d'évacuation à travers la paroi/plafond. Il n'est donc pas nécessaire d'utiliser le filtré à charbon.
Modèle DHG560XP-DHG570XP: ces modèle peuvent être installés uniquement dans la version avec moteur externe (Fig.3); c'est-à-dire qu'il faut relier un moteur extérieur à l'appareil, qui opérera séparément, en utilisant l'appareil comme base de raccordement de l'air à evacuer.
Cet appeareil est conforme à l'arrêté du 16.08.89 relatif à la limitation des perturbations radioélectriques (Directive CEE n. 76.889 modifiée par la Directive CEE 87.308).

Fig. 1

Fig. 2

Fig. 3
INSTALLATION
Il est conseilé de confier les opérations d'installation à des spécialistes.
Lire attentissement les indications au paragraphe "IMPORTANT" de la page n.3 de la notice d'utilisation.
Avont de proceder aux opérations de montage, pour manoeuvrer plus aisément l'appareil, demontez les filtres àGRAisse: à l'aide de la poignee, pousser l'arrêt vers l'intérieur et tirer le filtre vers le bas (Fig. 4).

Fig. 4
Faites le trou nécessaire afin d'insérer l'appareil (Fig. 5). La base inférieure du meuble doit avoir une épaissur de 16 mm. Contrcler que les ailettes de fixation (Fig. 6) au meuble suspendu sont placées à une hauteur appropriée à l'épaissur du bas de ce dernier. Si cette distance est inférieure à l'épaissur, il faut l'augmenter en dévisant les 2 vis correspondantes à l'intérieur de l'appareil.
INSTALLATION EN VERSION RECYCLAGE
Prévoyez l'alimentation électrique. Insérez l'appareil dans le trou effectué (Fig. 5). Prévoyez le trou d'évacuation de l'air au sommet de votre placard (Fig.1).
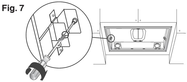
Serrez les deux vis qui se trouvent à l'intérieur de l'appareil (Fig. 7), jusqu'à ce que celui ci soit parfaitement intégré. Eviter de serrer trop fort les vis de manière à ce que les petits étriers métalliques restent en bonne position.
Raccordez le tuyau de raccordement à la bride de sortie de l'appareil (le tuyau n'est pas fourni). Remontez les filtres antigraissse.
Effectuez le raccordement électrique de la hotte au moyen du cable d'alimentation.

Fig. 6
| MODELS | A |
| DHG556XP | 490mm |
| DHG576XP | |
| DHG589XP | |
| DHG560XP | |
| DHG577XP | 690mm |
| DHG570XP |

Fig. 5

Fig. 7
INSTALLATION EN VERSION EVACUATION ET AVEC MOTEUR EXTERNE
Prévoyez l'alimentation électric et le trou d'évacuation de l'air (Fig. 2).
Insérez l'appareil dans le trou effectué (Fig. 5).
Serrez les deux vis qui se trouvent à l'intérieur de l'appareil (Fig. 7), jusqu'à ce que celui ci soit parfaitement intégré. Eviter de serrer trop fort les vis de manière à ce que les petits étriers métalliques restent en bonne position.
Pour obtenir des conditions optimes, vous devez employer un tuyau d'évacuation qui ait une longueur suffisante avec le moins de courbes possible (l'angle maximum des courbes ne doit pas dépasser 90^ ). Sa matière doit être conforme à la réglementation en vigueur. La partie interne doit être le plus lisse possible.
De plus, nous vous conseillons d'eviter des changements brusques de section du tuyau (diamètre conseillé: 150 mm). L'appareil est livré avec un réducteur 150-125cm.
Raccordez le tuyau pour l'évacuation de l'air à la bride de sortie de l'air de la hotte (Fig. 2): utilisez un tuyau couple et bloquez le sur la sortie de l'air à l'aide d'un collier métallique (le tuyau et le collier ne sont pas fournis).
Enlevez le filtré à charbon, en appuyant sur l'arrêt vers l'intérieur et en le faisant pivoter jusqu'à ce que les deux languettes sortent de leurs logements (Fig.8).
Remontez les filtrres antigraisse.

Fig. 8
Effectuez le raccordement électrique de la hotte au moyen du cable d'alimentation.
Uniquement pour les modèles en version moteur exter (DHG560XP-DHG570XP) : effectuez le raccordement électrique de la hotte au moteur extérieur, en utilisant des borniers appropriés (Fig. 9) : enlevez l'élement A et le couvercle B du boîtier de raccordement. Fixez le cable de raccordement du moteur au boîtier de raccordement C. Remontez l'élement A et le couvercle B du boîtier de raccordement. L'autre extrémité du cable devra être fixée au bornier du moteur extérieur.

Fig. 10
DEMONTAGE DE L'APPAREIL
Retirer le ou les filtres antigraissse.
Pendant les opérations suivantes veuillez toujours soutenir l'appareil. Dévisser les deux vis situées à l'intérieur de l'appareil (Fig. 7); déplacer les 2 languettes vers l'intérieur de l'appareil en utilisant les entailles appropriées (Fig. 10); extraire l'appareil de son siège.

FONCTIONNEMENT DE L'APPAREIL
Selon les modèles, l'appareil est muni des types suivants de commandes:
DHG556XP, DHG576XP, DHG577XP, DHG560XP, DHG570XP
COMMANDES - Fig. 11:
A) ON/OFF lampes. Cette touche s'utilise également pour la fonction alarme filtres àGRAISSÉ et filtres àcharbon.
Alarme filtres : Àpres 30h de fonctionnement, le témoin lumineux L1 s'allume et reste allumé (c'est le moment de nettoyer les filtres àGRAISE). Àpres 120h de fonctionnement, le témoin lumineux L1 s'allume et reste allumé (c'est le moment de remplacer les filtres à charbon si la hotte en est équipée). L'alarme des filtres s'active UNIQUEMENT avec le moteur ARRETE. L'alarme des filtres s'annule (remise à zéro du compteur HORAIRE) en maintainant la touche A enfoncée pendant 2". B) Appuyer sur la touche B pour actionner le moteur à la première vitesse. La vitesse est signalée par le témoin lumineux L2 allumé. En la maintainant enfoncée pendant 2" le moteur s'arrête. En appuyant une seule fois, avec le témoin lumineux allumé, on active la fonction "Arrêt temporisé" (le moteur de l'appareil s'arrête après 5 minutes) signalée par le témoin lumineux qui clignote. Pour désactiver la fonction "Arrêt temporisé" appuyer encore une seule fois. C) Appuyer sur la touche C pour actionner le moteur en deuxieme vitesse. La vitesse est signalée par le témoin lumineux L3 allumé. En appuyant une seule fois, avec le témoin lumineux allumé, on active la fonction "Arrêt temporisé" (le moteur de l'appareil s'arrête après 5 minutes) signalée par le témoin lumineux qui clignote. Pour désactiver la fonction "Arrêt temporisé" appuyer encore une seule fois. D) Appuyer sur la touche D pour actionner le moteur en troisieme vitesse. La vitesse est signalée par le témoin lumineux L4 allumé. En appuyant une seule fois, avec le témoin lumineux allumé, on active la fonction "Arrêt temporisé" (le moteur de l'appareil s'arrête après 5 minutes) signalée par le témoin lumineux qui clignote. Pour désactiver la fonction "Arrêt temporisé" appuyer encore une seule fois. E) Appuyer sur la touche E pour actionner le moteur en quatrième vitesse. La vitesse est signalée par le témoin lumineux L5 allumé. En appuyant une seule fois, avec le témoin lumineux allumé, on active la fonction "Arrêt temporisé" (le moteur de l'appareil s'arrête après 5 minutes) signalée par le témoin lumineux qui clignote. Pour désactiver la fonction "Arrêt temporisé" appuyer encore une seule fois.
ATTENTION : EN ACTIONNANT LA FONCTION “ARRÉT TEMPORISE”, LE MOTEUR S'ETEINT APRès 5 MINUTES. ATTENTION : QUAND LE TEMOIN LUMINEUX L1 S'ALLUME IL EST NECESSAIRE DE NETTOYER LES FILTRES ANTIGRAISSE OU DE REMPLACER LE FILTRE CHARBON.

DHG589XP
COMMANDES - Fig. 12:
A) ON/OFF lampes. Cette touche s'utilise également pour la fonction alarme filtres à graisse et filtres à charbon.
Alarme filtres : Àpès 30h de fonctionnement, le témoin lumineux L1 s'allume et resté allumé pendant 30" (c'est le moment de nettoyer les filtres àGRAISE). Àpès 120h de fonctionnement, le témoin lumineux L1 s'allume et resté allumé pendant 30" (c'est le moment de remplaçer les filtres à charbon si la hotte en est équipée). L'alarme des filtres s'active UNIQUÉMENT avec le moteur ARRETE. L'alarme des filtres s'annule (remise à zéro du compteur HORAIRE) en Maintenant la touche A enforcée pendant 2".
B) La touche B permet d'activer ou de désactiver la fonction automatique (une fois le capteur activé, le témoin L2 s'allume).
C) Appuyer sur la touche C pour actionner le moteur à la première vitesse. La vitesse est signalée par le témoin lumineux L3 allumé. En la maintainant enforcée pendant 2" le moteur s'arrête. D) Appuyer sur la touche D pour actionner le moteur en deuxieme vitesse. La vitesse est signalée par le témoin lumineux L4 allumé. E) Appuyer sur la touche E pour actionner le moteur en troisieme vitesse. La vitesse est signalée par le témoin lumineux L5 allumé. F) Appuyer sur la touche F pour actionner le moteur en quatreieme vitesse. La vitesse est signalée par le témoin lumineux L6 allumé.
SENSIBILITE DU CAPTEUR : la sensibilité du AUTO peut être adaptée aux exigences propres.
Modifier la sensibilité, en appuyant en même temps sur les touches A et B. La sensibilité préfixée grâce aux 4 tímoins L3, L4, L5, L6 clignotants s'affiche. Fixez la sensibilité désirée, en utilisant les touches C, D, E ou F (touche C sensibilité minimale, touche F sensibilité maximale). Fixez une sensibilité minimale pour une table gaz, moyen pour la vente, Maxi pour l'Induction.
ATTENTION : LORSQUE LE TEMOIN LUMINEUX L1 S'ALLUME, IL EST NECESSAIRE DE NETTOYER LES FILTRES ANTIGRAISSE OU DE REMPLACER LE FILTRE CHARBON.
FONCTION AUTOMATIQUE (elle s'active grâce à la touche B) : cet apparéil est équiné d'un système complètement automatisé (ICS) qui permet de gérer toutes les fonctions de la hotte. Grace au système ICS, l'air reste toujours propre et sans mauvaises odeurs dans la cuisine et ce, sans nécessiter aucune intervention de la part de l'utilisateur. Les capteurs très sophistiqués réussissant à capter tous types d'odeur, vapeur, fumée ou chaleur dus à la cuisson. L'ICS capte également la présence anormale de gas dans l'atmosphère.
Lorsque la fonction capteur est activée, les touches C D, E, F n'activent que momentanément les vitesses, puis c'est au tour du AUTO d'imposer automatiquement les vitesses.

Fig. 12
. Characteristiques techniques - DHG556XP:
- 1 Moteur puissance 155W
- Tension réseau : 230-240V monophasé
- Eclairage 2 ampoules halogènes de 20W
- Livré avec cordon de 150 cm. avec prise de courant
- Poids brut:Kg.11
- Poids net: Kg.8,5
- 2 litres antigraissse métalliques
Characteristiques techniques - DHG576XP:
- 1 Moteur puissance 250W
- Tension réseau : 230-240V monophasé
- Eclairage 2 ampoules halogènes de 20W
- Livré avec cordon de 150 cm. avec prise de courant
- Poids brut:Kg.11
- Poids net: Kg.8,5
- 2 litres antigraissse métalliques
Characteristiques techniques - DHG577XP:
- 1 Moteur puissance 250W
- Tension réseau : 230-240V monophasé
- Eclairage 2 ampoules halogènes de 20W
- Livre avec cordon de 150 cm. avec prise de courant
- Poids brut:Kg.13,5
- Poids net : Kg.10
- 2 litres antigraissse métalliques
Characteristiques techniques - DHG589XP:
- 1 Moteur puissance 350W
- Tension réseau : 230-240V monophasé
- Eclairage 2 ampoules halogènes de 20W
- Livré avec cordon de 150 cm. avec prise de courant
- Poids brut:Kg.12
- Poids net: Kg.9,5
- 2 litres antigraissse métalliques
Characteristiques techniques - DHG560XP:
- Tension réseau : 230-240V monophasé
- Eclairage 2 ampoules halogènes de 20W
- Livré avec cordon de 150 cm. avec prise de courant
- Poids brut:Kg.8
- Poids net:Kg.6
- 2 litres antigraissse métalliques
Characteristiques techniques - DHG570XP:
- Tension réseau : 230-240V monophasé
- Eclairage 2 ampoules halogènes de 20W
- Livré avec cordon de 150 cm. avec prise de courant
- Poids brut:Kg.10,5
- Poids net: Kg. 8,5
- 2 litres antigraissse métalliques
Characteristiques dimensionnelles




BRANCHEMENT ELECTRIQUE
Lors du branchement électrique, s'assurer que la tension correspond bien à cette indiquée sur la plaque signalétique. Avant de proceider aux opérations de nettoyage ou d'entretien couper le courant. Le branchement au réseau doit être réalisé par un installateur agreeé, en se conformant à la norme en vigueur. Cet apparéil est construit de façon a partirir à la classe d'isoation I; il est nécessaire de relier à la terre.
ENTRETIEN
AVANT Toute INTERVENTION, IL FAUT COUPER L'ALIMENTATION DE LA HOTTE (PRISE DE COURANT ou INTERRUPEUR).
Un entretien soigné assure un bon fonctionnement et un bon rendement dans le temps.
ATTENTION: LE MODELE DHG589XP EST EQUIRE D'UN CAPTEUR. EVITEZ DONC D'UTILISER DES PRODUITS SILICONES A PROXIMATE DE LA HOTTE POUR NE PAS ENDOMMAGER LE CAPTEUR.
-Entretien de la carrosserie:
Pour le nettoyage de la carrosserie de l'appareil, éviter l'emploi de produits contenant des abrasifs.
-Entretien des filtres antigraisse:
Les filtres antigraissè nécessitant un entretien régulier et il faut donc les nettoyer périodiquement en moyenne tous les deux mois. Demontez les filtres antigraissè: à l'aide de la poignée, pousser l'arrêt vers l'intérieur et tirer les filtres vers le bas (Fig.13). Lavez-les avec un nettoyant menager du commerce puis rincer abondamment et secher. Ce nettoyage peut être effectué dans un lave-vaisse ennant soin de ne pasmettre les filtres en contact avec de la vaisse sale ou avec des couverts en argent.
Remontez les filtrres antigraisse.

-Entretien du filtré à charbon:
Si vous utilisez cette apparéil en version récyclage, il sera nécessaire de replacer le filtre à charbon en moyenne tous les six mois, selon l'emploi. Code filtre à charbon: AH4063U1.
Pour enlever le filtré à charbon, il faut d'abord demonter les filtres antigraissse (Fig.13). Puis, enlevez le filtré à charbon, en appuyant sur l'arrêt vers l'intérieur et en le faisant pivoter jusqu'à ce que les deux languettes sortent de leurs logements (Fig.14). Remplacez le filtré à charbon et rémontez les filtres antigraissse.

Fig. 14
-Remplacement des lampes halogenes:
Pour remplacer les lampes halogènes, commencez par enlever les filtres antigraissse (Fig. 13). Otez les hublot (Fig.15). Remplacez les lampes par des halogènes ayant les mêmes caractéristiques. ATTENTION: Ne pas toucher l'ampoule à main rue.

Fig. 15
IMPORTANT; BEFORE ANY OPERATION OF INSTALLATION AND USE, TAKE NOTE OF THE FOLLOWING INSTRUCTIONS:
| MODELS | A |
| DHG556XP | 490mm |
| DHG576XP | |
| DHG589XP | |
| DHG560XP | |
| DHG577XP | 690mm |
| DHG570XP |

Fig. 5

DHG556XP, DHG576XP, DHG577XP, DHG560XP, DHG570XP
CONTROLS - Fig. 11:
| MODELS | A |
| DHG556XP | 490mm |
| DHG576XP | |
| DHG589XP | |
| DHG560XP | |
| DHG577XP | 690mm |
| DHG570XP |

Abb. 5

Abb. 7
INSTALLATION MIT ABLUFTVERSION UND AUSSEN MOTOR
DHG556XP, DHG576XP, DHG577XP, DHG560XP, DHG570XP
Bedienung - Abb. 11:
| MODELS | A |
| DHG556XP | 490mm |
| DHG576XP | |
| DHG589XP | |
| DHG560XP | |
| DHG577XP | 690mm |
| DHG570XP |

Fig. 5

Fig. 7
DHG556XP, DHG576XP, DHG577XP, DHG560XP, DHG570XP
COMANDI - Fig. 11:
| MODELS | A |
| DHG556XP | 490mm |
| DHG576XP | |
| DHG589XP | |
| DHG560XP | |
| DHG577XP | 690mm |
| DHG570XP |

Fig. 5

Fig. 7
INSTALACION DE LA VERSION ASPIRANTE Y CON MOTOR EXTERNO
DHG556XP, DHG576XP, DHG577XP, DHG560XP, DHG570XP
MANDOS - Fig. 11:
| MODELS | A |
| DHG556XP | 490mm |
| DHG576XP | |
| DHG589XP | |
| DHG560XP | |
| DHG577XP | 690mm |
| DHG570XP |


Fig. 7
DHG556XP, DHG576XP, DHG577XP, DHG560XP, DHG570XP
COMANDOS - Fig. 11:
| MODELS | A |
| DHG556XP | 490mm |
| DHG576XP | |
| DHG589XP | |
| DHG560XP | |
| DHG577XP | 690mm |
| DHG570XP |

Afb. 5

INSTALLATIE IN DE ZUIGVERSIE MET EXTERNE MOTOR
DHG556XP, DHG576XP, DHG577XP, DHG560XP, DHG570XP
Tout dépannage doit être effectué par un technicien qualifié.
Seul les distributeurs de notre marque :
Connaissent parfaitement votre apparéil et son fonctionnement.
Applicant intégralement nos méthodes de réglage, d'entretien et de réparation.
Utilisent exclusivement les pieces d'origine.
Pour toute commande à votre distributeur, précisez-lui la reférence complète de votre apparéil (type de l' apparéil et numéro de série)
Ces renseignements figurent sur la plaque signalétique fixe a l'intérieur de l'appareil.
Les descriptions et les caractéristiques apportées dans ce livre sont donnéesse单独ement à titre d'information et non d'engagement. En effet, socieux de la qualite de nos produits, nous nous réservons le droit d'effectuer, sans préavis, toutes modifications ou améliorations nécessaires.
PIÉCES D'ORIGINE : demandez à votre vendeur que, lors d'une intervention d'entretien, seules des PIÉCES DETACHÉES CERTIFIÉES D'ORIGINE soient utilisées.

Relations consommateurs
Numero de téléphone du service consommateurs Brandt :

( 0,34 euros par minute ) *
- Service fourni par Brandt Customer Service société par actions simplifiée au capital de 2.500.000 euros 5/7 Avenue des Béthunes, 95310 Saint Ouen l'Aumône RCS Pontoise 440 303 303
Notice Facile