DHG576XP1 - Basket DE DIETRICH - Free user manual and instructions
Find the device manual for free DHG576XP1 DE DIETRICH in PDF.
User questions about DHG576XP1 DE DIETRICH
0 question about this device. Answer the ones you know or ask your own.
Ask a new question about this device
Download the instructions for your Basket in PDF format for free! Find your manual DHG576XP1 - DE DIETRICH and take your electronic device back in hand. On this page are published all the documents necessary for the use of your device. DHG576XP1 by DE DIETRICH.
USER MANUAL DHG576XP1 DE DIETRICH
The distance between the supporting surface for the cooking vessels on the hob and the lower part of the hood must be at least 65 cm. If the instructions for installation for the hob specify a greater distance, this has to be taken into account.
The air collected must not be conveyed into a duct used to blow off smokes from appliances fed with an energy other than electricity (central heating systems, thermosiphons, water-heaters, etc.).
Comply with the official instructions provided by the competent authorities in merit when installing the disposal duct. In addition, exhaust air should not be discharged into a wall cavity, unless the cavity is designed for that purpose.
The room must be well aerated in case a hood and some other heat equipment fed with an energy other than electricity (gas, oil, coal heaters, etc) operate at the same time.
In fact the intake hood, disposing of air, could create a vacuum in the room. The vacuum should not exceed 0,04mbar. This prevents the gas exhausted by the heat source from being intaken again. It is therefore advisable to ensure the room contains air taps able to ensure a steady flow of fresh air.
Check the data label inside the appliance; if the symbol ( l ) is printed, read the following: this appliance has such technical particulars that it belongs to class II insulation, therefore it must not be earthed.
The following warning is valid in the United Kingdom only: in case your cable is not furnished with a plug, read the following instructions; as the colours of the wires in the mains lead of this appliance may not correspond with the coloured markings identifying the terminals in your plug, proceed as follows: – the wire which is coloured blue must be connected to the terminal which is marked with the letter N or coloured black; – the wire which is coloured brown must be connected to the terminal which is marked with the letter L or coloured red. – terminal of a three-pin plug.
Check the data label inside the appliance; if the symbol (回) is NOT printed, read the following: ATTENTION: This appliance must be earthed. When making the electrical connections, check that the current socket has a ground connection.
The following warning is valid in the United Kingdom only: in case your cable is not furnished with a plug, read the following instructions; as the colours of the wires in the mains lead of this appliance may not correspond with the coloured markings identifying the terminals in your plug, proceed as follows: - the wire which is coloured green and yellow must be connected to the terminal in the plug which is marked with the letter E or by the earth symbol [1±] , or coloured green or green and yellow; - the wire which is coloured blue must be connected to the terminal which is marked with the letter N or coloured black; - the wire which is coloured brown must be connected to the terminal which is marked with the letter L or coloured red.
When making the electrical connections, check that the voltage values correspond to those indicated on the data plate inside the appliance itself. In case your appliance is not furnished with a non separating flexible cable and has no plug, or has not got any other device ensuring omnipolar disconnection from the electricity main, with a contact opening distance of at least 3mm , such separating device ensuring disconnection from the main must be included in the fixed installation. If your unit features a power lead and plug, position this so the plug is accessible.
Always switch off the electricity supply before carrying out any cleaning or servicing operations on the appliance.
ATTENTION: This appliance must be grounded.
USE
Avoid using materials which could cause spurts of flame (flambées) near the appliance.
When frying, take particular care to prevent oil and grease from catching fire. Already used oil is especially dangerous in this respect. Do not use uncovered electric grates.
To avoid possible risks of fire always comply with the indicated instructions when cleaning anti-grease filters and when removing grease deposits from the appliance.
MAINTENANCE
Thorough servicing guarantees correct and long-lasting operation.
Any fat deposits should be removed from the appliance periodically depending on amount of use (at least every 2 months). Avoid using abrasive or corrosive products. To clean painted appliances on the outside, use a cloth dipped in lukewarm water and neutral detergent. To clean steel, copper or brass appliances on the outside, it is always best to use specific products, following the instructions on the products themselves. To clean the inside of the appliance, use a cloth (or brush) dipped in denatured ethyl alcohol.
DESCRIPTION OF THE APPLIANCE
The description and characteristics shown in this document are for information only and not obligatory. Indeed, we reserve the right to carry out any modification or improvement of the quality of certain of our products without prior notice.
Depending on the model purchased, the hoods may be installed in the filtering, ducting or external motor version.
Models: DHG556XP-DHG576XP-DHG577XP-DHG589: These models can be installed both in filtering or ducting versions, in accordance with your requirements.
In the Filtering version (Fig. 1), the air and vapours conveyed by the appliance are depurated by charcoal filter and recirculated around the room. ATTENTION: Using the hood as a filtering one it is necessary to use the charcoal filter that purifies the air sent back into the room.
In the Ducting version (Fig. 2), cooking vapours and odours are conveyed straight outside by a disposal duct which passes through the wall/ceiling. Use of charcoal filter is therefore unnecessary.
Models DHG560XP-DHG570XP: these models may only be installed in the External motor version (Fig. 3); more particularly the apparatus must be connected to a ducted control unit that operates remotely, utilising the apparatus as a collection base for the expelled air.
This apparatus conforms to the 16.08.89 regulation relating to the limitation of radio-electric disturbances (EC Directive n./6.889 modified by the EC Directive 8/.308.).


Fig. 2

Fig. 3
INSTALLATION
It is advisable to entrust the installation operations to specialised personnel.
Read carefully the indications in the paragraph "IMPORTANT" at page 9 of the instruction booklet.
To facilitate installation, before starting remove the grease filters: press inward on the clamp at the handle and pull the filter downward (Fig. 4).

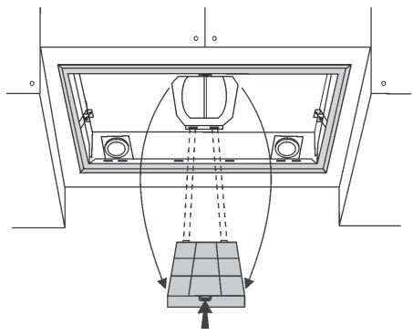
Cut a hole in the bottom of the pensile cupboard in order to settle the appliance (Fig. 5). The pensile cupboard bottom must be 16mm thick.
Check that the fixing tabs (Fig. 6) to the wall unit are positioned at a height suited to the thickness of the bottom of the wall unit. If this distance is less than the thickness, increase it by unscrewing the 2 corresponding screws inside the hood.

Fig. 6
INSTALLATION IN FILTERING VERSION
Install the wiring system. Insert the appliance in the hole (Fig. 5). Make the air evacuation hole on the top of the pensile cupboard (Fig.1). Tighten the 2 screws inside the appliance (Fig. 7) until it fits snug on the bottom of the wall unit.
Do not tighten the two screws strongly to maintain the two metallic clamps in the right position. Connect the tube with the device air outlet, to such a height to reach the top of the pensile cupboard ( the tube is not included).Install again the
grease filters. Make the electrical connection of the hood by means of the power supply cable.
INSTALLATION OF THE DUCTING AND EXTERNAL MOTOR VERSIONS
Install the wiring system and prepare the air venting hole (Fig. 2).
Insert the appliance in the hole (Fig. 5).
Tighten the 2 screws inside the appliance (Fig. 7) until it fits snug on the bottom of the wall unit. Do not tighten the two screws strongly to maintain the two metallic clamps in the right position.
To get optimal conditions the air venting pipe should be as short as possible, have the lowest number of bends (max bend angle: 90^ ), be made of material approved by local authorities (according to the State), have its inner side as regular and smooth as possible. It is moreover recommended to avoid drastic changes of pipe cross section (recommended diameter: 150~mm ). The device is provided with a 150-125 cm reduction.
Connect the air exit tube with the device air outlet (Fig. 2): use a flexible tube and stop it in the device air outlet through a metallic clamp (tube and clamp are not provided).
Remove the charcoal filter by placing pressure on the clamp located on the interior of the hood and rotating it until the two tabs are removed from position (Fig. 8).
Make the electrical connection of the hood by means of the power supply cable.
Only for those models with the external motor (DHG560XP-DHG570XP): Connect the electrical wires of the hood to the external motor via the relevant terminals (Fig. 9); remove cable fastener A to the cover B of the connection box. Fix the external motor's power supply cable to the C terminal. Reassemble the cable fastener A and the cover B of the connection box. The other extremity of the cable is to be fixed to the terminal of the external motor.

DEVICE DISASSEMBLY
Remove the grease filter.
During the following operations always support the device.
Tighten the 2 screws inside the device (Fig. 7); moving the 2 small tongues toward the device inside using the right carvings (Fig. 10); pull out the device from its side.

Fig. 10
Depending on the model, the unit is equipped with the following controls:
A) ON/OFF - lamps. This button is also used for the alarm function of the grease and charcoal filters.
Filter alarm: After 30h of motor operation, the L1 LED comes ON and remains ON (the grease filters have to be cleaned). After 120h of motor operation, the L1 LED comes ON and flashes (the charcoal filter have to be changed if the hood is so equipped). The Filter Alarm is ONLY given with the motor is OFF. The Filter Alarm is cancelled (HOUR meter reset) by holding down button A for 2^ . B) Press button B to start the motor at Speed 1. The speed is shown by the L2 LED coming ON. When held down for 2^ , the motor switches off. A single pressure on the button when the LED is ON activates the timer function (motor ON for 5' ), shown by the flashing LED. To cancel the timer function, press the button again ONCE. C) Press button C to start the motor at Speed 2. The speed is shown by the L3 LED coming ON. A single pressure on the button when the led is on activates the timer function (motor on for 5' ), shown by the flashing led. To cancel the timer function, press the button again ONCE. D) Press button D to start the motor at Speed 3. The speed is shown by the L4 LED coming ON. A single pressure on the button when the led is on activates the timer function (motor on for 5' ), shown by the flashing led. To cancel the timer function, press the button again ONCE. E) Press button E to start the il motor at Speed 4. The speed is shown by the L5 LED coming ON. A single pressure on the button when the led is on activates the timer function (motor on for 5' ), shown by the flashing led. To cancel the timer function, press the button again ONCE.
ATTENTION : BY ACTIVATING THE TIMER FUNCTION, THE MOTOR SWITCHES OFF AFTER 5 MINUTES.
ATTENTION : WHEN THE LED L1 LIGHTS UP IT IS TIME TO CLEAN THE GREASE FILTERS OR REPLACE THE CHARCOAL FILTER.

DHG589XP
CONTROLS - Fig. 12:
A) ON/OFF - lamps. This button is also used for the alarm function of the grease and charcoal filters.
Filter alarm: After 30h of motor operation, the L1 LED comes ON and remains ON for 30^ (the grease filters have to be cleaned). After 120h of motor operation, the L1 LED comes ON and flashes for 30^ (the charcoal filter have to be changed if the hood is so equipped). The Filter Alarm is ONLY given with the motor is OFF. The Filter Alarm is cancelled (HOUR meter reset) by holding down button A for 2^ .
B) The button B activates/deactivate sensor function (when activated the sensor is lit by the LED L2).
C) Press button C to start the motor at Speed 1. The speed is shown by the L3 LED coming ON. When held down for 2^ , the motor switches off.
D) Press button D to start the motor at Speed 2. The speed is shown by the L4 LED coming ON.
E) Press button E to start the motor at Speed 3. The speed is shown by the L5 LED coming ON.
F) Press button F to start the il motor at Speed 4. The speed is shown by the L6 LED coming ON.
SENSOR SENSITIVITY: sensitivity of the sensor may be modified in accordance with individual requirements. Modify the sensitivity by pressing simultaneously on the A and B buttons. The set sensitivity level will be displayed via the 4 flashing LEDs - L3, L4, L5, and L6. The desired sensitivity is set via the C, D, E, and F buttons (C being minimum, F being maximum). Set the sensitivity level to minimum for gas cook tops, medium for glass-ceramic cook tops and maximum for induction cook tops.
WARNING: WHEN LED L1 LIGHTS UP, THIS INDICATES THAT THE GREASE OR CHARCOAL FILTERS REQUIRE CLEANING.
FILTER SENSOR (activated via the B button): this device is equipped with a completely automatic system (Advanced Sensor Control) for management of all hood functions. Thanks to the Advanced sensor Control (ASC), air circulating in the kitchen is maintained clean and odour-free without requiring any user intervention. The sophisticated sensors are able to capture any type of odour, vapour, smoke or heat caused by cooking. The ASC also captures any possible irregular gases present in the environment.
When the sensor function is activated, the C, D, E and F buttons activate the speed temporarily, to then be overridden by the automatic speed setting.

Technical data - DHG556XP:
- 1 Motor - power 155W
Voltage: 230-240V single phase - 2 halogen lamps 20W
- Supplied with 150 cm electricity supply cable with plug.
- Gross weight: Kg.11
Net weight: Kg.8,5 - 2 metallic grease filters
Technical data - DHG576XP:
- 1 Motor - power 250W
Voltage: 230-240V single phase - 2 halogen lamps 20W
- Supplied with 150 cm electricity supply cable with plug.
- Gross weight: Kq.11
Net weight: Kg.8,5 - 2 metallic grease filters
Technical data - DHG577XP:
- 1 Motor - power 250W
Voltage: 230-240V single phase - 2 halogen lamps 20W
- Supplied with 150 cm electricity supply cable with plug.
- Gross weight: Kg.13,5
Net weight: Kg.10 - 2 metallic grease filters
Technical data - DHG589XP:
- 1 Motor - power 350W
Voltage: 230-240V single phase - 2 halogen lamps 20W
- Supplied with 150 cm electricity supply cable with plug.
- Gross weight: Kg.12
Net weight: Kg.9,5 - 2 metallic grease filters
Technical data - DHG560XP:
Voltage: 230-240V single phase
- 2 halogen lamps 20W
- Supplied with 150 cm electricity supply cable with plug.
- Gross weight: Kg. 8
Net weight: Kg. 6
- 2 metallic grease filters
Technical data - DHG570XP:
Voltage: 230-240V single phase
- 2 halogen lamps 20W
- Supplied with 150 cm electricity supply cable with plug.
- Gross weight: Kg. 10,5
Net weight: Kg. 8,5
- 2 metallic grease filters

Dimensions



ELECTRICITY CONNECTION
While connecting the electricity make sure that the tension is that indicated in the technical lable.
Before proceeding to cleaning or maintenance operations remove the tension.
Connecting the electricity must be performed by a specialised technician in conformity with the regulation in force.
This apparatus is constructed so as to belong to the I insulation class and therefore needs grounding.
MAINTENANCE
REMOVE THE TENSION AT THE HOOD (PLUG or SWITCH) BEFORE ANY OPERATION
Thorough servicing guarantees correct and long-lasting operation.
WARNING: MODEL DHG589XP HAS THIS SENSOR. AVOID USING SILICON BASED PRODUCTS IN THE VICINITY OF THE HOOD TO PREVENT SENSOR DAMAGE.
-Maintenance of the casing:
Avoid products containing abrasives when cleaning the casing.
-Maintenance of the grease filters:
The grease filters require regular maintenance and must be cleaned periodically every two months.
Remove the grease filters in correspondence with the handle, push the stop inward and pull the filter downwards (Fig.13). Wash them with a normal neutral product in commerce, then rinse abundantly and dry. The washing can be carried out in the dishwasher making sure not to let the filters make contact with dirty or silver dishes.
Remount the grease filters.

Fig. 13
-Maintenance of the charcoal filter:
If you are using the filtering version apparatus, the charcoal filter need to be changed every six months on average depending on the use made of the hood. Reference charcoal filter: AH4063U1.
To take away the charcoal filter, firstly you must remove the grease filters (Fig.13). Following this, remove the charcoal filter by placing pressure on the clamp located on the interior of the hood and rotating it until the two tabs are removed from position (Fig. 14). Replace the charcoal filter and install again the grease filters.

Fig. 14
-Changing the halogen lamps:
To replace the halogen bulbs, remove the grease filters (Fig. 13). Open the cover levering from the proper slots (Fig.15). Change with a lamp of the same kind. CAUTION: Do not handle glass bulb with bare hands.

Fig. 15
Modelos DHG560XP-DHG570XP: these models are simply used in the case of a car.
EasyManual