MEJS750 - Perceuse MAC ALLISTER - Notice d'utilisation et mode d'emploi gratuit
Retrouvez gratuitement la notice de l'appareil MEJS750 MAC ALLISTER au format PDF.
| Puissance | 750 W |
| Type d'alimentation | Électrique filaire |
| Vitesse variable | Oui |
| Profondeur de coupe bois | Non précisé |
| Profondeur de coupe métal | Non précisé |
| Type de lame | Lame en T |
| Poids | Non précisé |
| Longueur du câble | Non précisé |
| Fonction soufflerie | Oui |
| Réglage de la semelle | Oui, inclinable |
| Type de poignée | Poignée en D |
| Accessoires inclus | Guide parallèle |
| Usage conseillé | Découpe bois, métal et plastique |
| Protection utilisateur | Non précisé |
| Marque | Non précisé |
FOIRE AUX QUESTIONS - MEJS750 MAC ALLISTER
Questions des utilisateurs sur MEJS750 MAC ALLISTER
0 question sur cet appareil. Repondez a celles que vous connaissez ou posez la votre.
Poser une nouvelle question sur cet appareil
Téléchargez la notice de votre Perceuse au format PDF gratuitement ! Retrouvez votre notice MEJS750 - MAC ALLISTER et reprennez votre appareil électronique en main. Sur cette page sont publiés tous les documents nécessaires à l'utilisation de votre appareil MEJS750 de la marque MAC ALLISTER.
MODE D'EMPLOI MEJS750 MAC ALLISTER
Ce mode d'emploi est important pour votre sécurité. Lisez-le attentivement dans son intégralité avant d'utiliser l'appareil, et conservez-le pour pouvoir vous y reférer ultérieurement.

Pour commencer… 02
Sécurité 03
Symboles 13
Le produit 15
Informations techniques et legales 16
Avant de commencer 18

En détails... 23
Fonctions de l'appléil 24
Utilisation 31
Entretien et maintenance 38
Dépannage 41
Mise au rebut et recyclage 42
Garantie 43
Déclaration de Conformité CE 45
Mises en garde
Avertissements de sécurité généraux pour l'outil

AVERTISSEMENT! Lire tous les avertissements de sécurité et toutes les instructions. Ne pas suivre les avertissements et instructions peut donner lieu à un choc électrique, un incendie et/ou une blessure sérieuse.
Conserver tous les averissements et toutes les instructions pour pouvoir s'y reporter ultérieurement.
Le terme « outil» dans les avertissements fait réference à votre outil électrique alimenté par le secteur (avec cordon d'alimentation) ou votre outil fonctionnant sur batterie (sans cordon d'alimentation).
Sécurité de la zone de travail
- Conserver la zone de travail propre et bien éclairée. Les zones en désordre ousons sont propices aux accidents.
- Ne pas faire fonctionner les outils électriques en atmosphère explosive, par exemple en présence de liquides inflammables, de gaz ou de poussières. Les outils électriques produits des étincelles qui peuvent enflammer les poussières ou les fumées.
- Maintenir les enfants et les personnes prsentes à l'écart pendant l'utilisation de l'outil. Les distractions peuvent vous faire perdre le contrôle de l'outil.
Mises en garde
Sécurité électrique
- Il faut que les fiches de l'outil électrique soient adaptées au socle. Ne jamais modifier la fiche de chaque façon que ce soit. Ne pas utiliser d'adaptateurs avec des outils à branchement de terre. Des fiches non modifiées et des socles adaptés réduiront le risque de chocoléctrique.
- Eviter tout contact du corps avec des surfaces reliées à la terre telles que les tuyaux, les radiateurs, les cusinières et les réfrigérateurs. // existe un risque accru de chocolélectrique si votre corps est relié à la terre.
- Ne pas exposer les outils à la pluie ou à des conditions humides. La pénétration d'eau à l'intérieur d'un outil augmentera le risque de choc électrique.
- Ne pas maltraiter le cordon. Ne jamais utiliser le cordon pour porter, tirer ou débrancher l'outil. Maintenir le cordon à l'écart de la chaleur, du lubrifiant, des arêtes ou des parties en mouvement. Des cordons endommages ou emmélés augmentent le risque de chic électrique.
- Lorsqu'on utilise un outil à l'extérieur, utiliser un prolongateur adapté à l'utilisation extérieur. L'utilisation d'un cordon adapte à l'utilisation extérieur réduit le risque de chocoléctrique.
- Si l'usage d'un outil dans un emplacement humide est inévitable, utiliser une alimentation protégée
par un dispositif à courant différentiel résiduel (DDR). L'usage d'un DDR réduit le risque de chocolélectrique.
Sécurité des personnes
- Rester vigilant, regarder ce que vous étés en train de faire et faire preuve de bon sens dans votre utilisation de l'outil. Ne pas utiliser un outil lorsque vous étés fatigué ou sous l'emprise de drogues, d'alcohol ou de médicaments. Un moment d'inattention en cours d'utilisation d'un outil peut entraîner des blessures graves des personnes.
- Utiliser un équipement de sécurité. Toutjour porter une protection pour les yeux. Les équipements de sécurité tels que les masques contre les poussières, les chaussures de sécurité antidéraptantes, les casques ou les protections acoustiques utilisés pour les conditions appropriées réduiront les blessures de personnes.
- Eviter tout démarrage intempestif. S'assurer que l'interrupteur est en position arrêt avant de brancher l'outil au secteur et/ou au bloc de batteries, de le ramasser ou de le porter. Porter les outils en ayant le doigt sur l'interrupteur ou brancher des outils dont l'interrupteur est en position marche est source d'accidents.
- Retirer toute clé de réglage avant demettre l'outil en marche. Une clé laissée fixée sur une partie tournante de l'outil peut donner lieu à des blessures de personnes.
Mises en garde
- Ne pas se précipiter. Garder une position et un équilibre adaptés à tout moment. Cela permet un meilleur contrôle de l'outil dans des situations inattendues.
- S'habiller de manière adaptée. Ne pas porter de vêtements amples ou de bijoux. Garder les cheveux, les vêtements et les gants à distance des parties en mouvement. Des vêtements amples, des bijoux ou les cheveux longs peuvent être pris dans des parties en mouvement.
- Si des dispositifs sont fournis pour le raccordement d'équipements pour l'extraction et la récapération des poussières, s'assurer qu'ils sont connectés et correctement utilisés. Utiliser des collecteurs de poussière peut réduire les risques dus aux poussières.
Utilisation et entretien de l'outil
- Ne pas forcer l'outil. Utiliser l'outil adapté à votre application. L'outil adapte réalisera mistrs le travail et de manière plus sure au régime pour lequel il a ete construit.
-
Ne pas utiliser l'outil si l'interrupteur ne permet pas de passer de l'état de marche à arrêt et vice versa. Tout outil qui ne peut pas être commandé par l'interrupteur est dangereux et il faut le réparer.
-
Débrancher la fiche de la source d'alimentation en courant et/ou le bloc de batteries de l'outil avant tout réglage, changement d'accessoires ou avant de ranger l'outil. De telles mesures de sécurité préventives réduisent le risque de démarrage accidentel de l'outil.
- Conserver les outils à l'arrêt hors de la portée des enfants et ne pas permettre à des personnes ne connaissant pas l'outil ou les générantes instructions de le faire fonctionner. Les outils sont dangereux entre les mains d'utilisateurs novices.
- Observer la maintenance de l'outil. Vérifier qu'il n'y a pas de mauvais alignement ou de blocage des parties mobiles, des pièces cassées ou toute autre condition pouvant affecter le fonctionnement de l'outil. En cas de dommages, faire réparer l'outil avant de l'utiliser. De nombreux accidents sont dus à des outils mal entretenus.
- Gardner affutés et propres les outils permettant de couper. Des outils destinés à couper correctement entretenus avec des pièces coupantes tranchantes sont moins susceptibles de bloquer et sont plus faciles à contrôle.
- Utiliser l'outil, les accessoires et les lames etc., conformément à ces instructions, en tenant compte des conditions de travail et du travail à réaliser. L'utilisation de l'outil pour des opérations différentes de celles prévues pourrait donner lieu à des situations dangereuses.
Mises en garde
Maintenance et entretien
- Faire entretenir l'outil par un réparateur qualifié utilisant uniquement des pieces de rechange identiques. Cela assurera que la sécurité de l'outil est maintainue.
Consignes de sécurité pour les scie sauteuse
- Tenir l'outil par les surfaces de préhension isolées, lors de la réalisation d'une opération au cours de laquelle l'organe de coupe peut entrairen contact avec un câblage non apparent ouson propre cordon d'alimentation. Le contactavec un fil "sous tension" peut égalementmettre"sous tension" les parties métalliques exposées del'outil électrique et provoquer un choc électrique surl'opérateur.
Mises en garde concernant le laser
- Protégéz-vous et votre environnement contre les risques d'accident grâce à des mesures approPRIées!
- Ne regardez pas directement le faisceau laser sans protection pour les yeux. Un faisceau laser dirigé directement dans l'eel peut cause des dommages permanents sur la rétine.
-
Ne regardez pas directement dans le laser à travers un autre instrument optique, par exemple une loupe.
-
Ne dirigez pas le faisceau laser vers des personnes, vers des animaux ou sur des surfaces refléchissantes. Les personnes et les animaux peuvent être aveuglés ou irrités. Meme un laser de faible puissance peut endommager l'eel.
- Attention - L'exécution de processus différents de ceux décrits ici peut conduire à une exposition à des radiations dangereuses.
- N'ouvre ni ne manipulez jamais le module laser. Cela pourrait entraîner une exposition inattendue au rayonnement.
Réduction du bruit et des vibrations
Afin de réduire l'impact négatif des vibrations et du bruit, limitez la durée des séances de travail, travailliez en mode de bruit et de vibrations réduits, et portez des équipements de protection individuelle.
Afin de minimiser l'exposition aux vibrations et au bruit, tenez compte des points suivants:
1 Utilisez seulement l'appareil d'une manière conforme à son design et aux instructions.
2 Faites en sorte que l'appareil reste en bon et correctement entretenu.
3 Utilisez les outils adéquats avec l'appareil, et faites en sorte qu'ils restent en bon état.
Mises en garde
4 Gardez toujours une bonne prise sur les poignées/ surfaces de préhension.
5 Cet apparéil doit être correctement entretenu de la manière décrite dans le mode d'emploi. Faites en sorte qu'il soit suffisammentGRAISSÉ(le cas échéant).
6 Si vous doivent travailler avec un apparéil à fortes vibrations, étalez le travail sur plusieurs jours.
Urgences
À l'aide duprésent mode d'emploi, familiarisez-vous avec l'utilisation de cet apparéil. Assimilez bien les mises en garde et suivez-les à la lecture. Cela permettra de réduire les risques d'accidents.
- Restez vigilant à tout instant lorsque vous utilisez cet apparéil. Vous serez ainsi en mesure d'anticiper les risques et de les géné. Une réaction rapide permet de réduire les risques de dommages corporels et matériels.
- En cas de dysfonctionnement, éteignez et débranchez l'appareil. Faites regarder l'appareil par un spécialiste qualifié et, le cas échéant, faites-le réparer avant de le réutiliser.
Risques résiduels
Mème si vous utilisez cet apparéil en respectant les normes de sécurité, certains risques de dommages corporels et matériels subsistant. Du fait du mode de construction et de fonctionnement de l'outil, vous pouvez notamment être exposé aux risques suivants:
- Lesfortes vibrations peuvent etre nuisibles à la santé si l'outil estutilisependant une durée trop longue,ou si l'outil n'est pasutilisé etentenu conformément aux instructions.
- Dommages aux biens et aux personnes causés par des accessoires cassés ou par l'impact soudain de l'ordinateil avec des objets cachés en cours d'utilisation.
- Dommages aux biens et aux personnes résultat de la projection d'objets.

ATTENTION! Cet apparéil génére un champ électromagnétique pendant qu'il fonctionne! Dans certaines circonstances, ce champ magnétique peut interférer avec les implants médicaux actifs ou passifs! Afin de réduire les risques de blessures graves voire mortelles, les personnes portant des implants Médicaux doivent consulter leur médecin et le fabricant de leur implant avant d'utiliser ce produit!
Mises en garde

ATTENTION! Certaines poussières engendrées par ponçage, sciage, meulage, perçage et d'autres activités du domaine de la construction contiennent des substances chimiques considérées comme cancérigènes, tératogènes ou nocives pour les fonctions reproductrices. Liste non exhaustive de ces substances :
- Le plomb contenu dans les peintures au plomb.
- La silice cristalline contenue dans les briques, le ciment et d'autres matériaux de construction.
- L'arsenic et le chrome contenus dans le bois de construction traité chimiquement. Les risques engendrés par l'exposition à ces substances dépendant de la fréquence de ce type de travaux. Pour réduire votre exposition à ces substances chimiques,
- Travailler dans un endroit bien aéré.
- Travailler avec des équipements de sécurité approvés
(ex : masques anti-poussières spécialement concus pour filtrer les particules microscopiques).
Symboles
Sur l'appareil, sur la plaque signalétique et dans le mode d'emploi, vous trouvrez entre autres les symboles et abréviations suivants. Familiarisez-vous avec leur signification afin de réduire les risques de dommages corporels et matériels.
m/s² Mètres par seconde au carré
cm³ Centimètres cubes
yyWxx Code de date de fabrication; année de fabrication (20yy) et semaine de fabrication (Wxx).

Attention/danger.

Verrouille: pour serrer ou bloquer

Déverrouille: pour desserrer

Remarque

Lisez le mode d'emploi.

Portez des chaussures de protection

Portez une protection auditive.

Portez des lunettes de protection.

Portez un masque antipoussières

Portez des gants de travail.

Éteignez et débranchez l'appareil avant de le ranger, de le transporter et d'effectuer toute manipulation de montage, de nettoyage, de réglage et d'entretien.

Ceci est un produit de classe de protection II. Cela signifie qu'il est équipé d'une isolation renforcée ou d'une double isolation.

Ce produit est conforme aux directives européennes applicables et a subi un test de conformité avec les directives en question.

Symbole DEEE. Les produits électriques usages ne doivent pas être jetés avec les ordures menagères. Apportez le produit à un endroit où il pourrait être recyclé. Pour plus d'informations sur le recyclage, adressez-vous au magasin d'achat ou aux autorités de votre commune.

Coupe de bois seulement

Coupe de métal seulement
Le produit


- Surface d'accroche
- Verrou d'interrupteur
- Bouton marche/arrêt
- Poignée
- Guide parallele
- Ouvertures d'aération
- Molette d'ajustement de la base
- Adaptateur d'aspiration des poussières
- Compartiment de rangement des lames (x2)
- Douille
-
Bouton de verrouillage du guide parallele
12.Semelle -
Guide-lame
- Bouton du souffleur
- Selecteur de vitesse
- Protège-lame
- Lampe de travail LED
18.Lame de scie (metal x1, bois x2) - Manette de démontage (de la douille)
- Fonction pendulaire
- Trou du laser
- Bouton marche/arrêt du laser et de la lampe de travail
- Guide de ligne
- Protection anti-éclats
Spécifications techniques
Généralités
Tension nominale d'entrée: 220-240 V\~, 50 Hz
Puisance nominale d'entrée: 750 W
Vitesse nominale à vide n_0 : 800-3000 min-1
Type de lame: U,T
Capacité de coupe maximale
- dans le bois 100 mm
- dans l'acier doux 8 mm
- dans l'aluminium 15 mm
Classe de protection
Poids: 2,4 kg
Laser
Classe 2
Norme EN 60825-1:2007
Longueur d'onde 650 nm
Production d'énergie P_0 ≤ ≤1mW
Bruit mesure en ISO 3744 et EN ISO 11203
Pressionacoustique LpA : 90dB(A)
Puisanceacoustique LWA 101dB(A)
Incertitude K,K 3 dB(A)
Vibrations mesurées selon la norme EN 60745-1
Coupe de planches a_h,B : 20,66 m/s²
Coupe de feuilles de métal a_h,M : 10,25 m/s²
Incertitude K: 1,5 m/s²
Portez une protection auditive, notamment lorsque la pression acoustique est supérieure à 80dB(A).
La valeur totale de vibrations déclarée a été mesurée conformément à une méthode d'essay normalisée(EN60745) et peut être utilisée pour comparer un outil à un autre;
La valeur totale de vibrations déclarée peut également être utilisée pour une évaluation préliminaire de l'exposition.

Avertissement:
- l'émission de vibration au cours de l'utilisation réelle de l'outil électrique peut différer de la valeur totale déclarée, selon les méthodes d'utilisation de l'outil; et
- les mesures de sécurité visant à protégger l'opérateur, qui sont basées sur une estimation de l'exposition dans les conditions d'utilisation réelles (compte tenu de toutes les parties constituantes du cycle de fonctionnement, telles que les temps d'accreté de l'outil et de fonctionnement au repos, en plus du temps de déclenchement).
Déballage
Sortez les pieces de l'emballage et posez-les sur une surface plane et stable.
Enlevez tous les matériaux d'emballage ainsi que les accessoires de livreaison, le cas échéant.
Vérifiez que le produit est complét et en bon état. Si l'une des pieces est manquante ou endommagée, n'utilise pas l'appareil et contactez le magasin d'achat. L'utilisation d'un produit incomplet ou endommagé peut représenter un danger à la fois pour les biens et pour les personnes.
Vérifiez que vous disposez de tous les accessoires nécessaires au montage et à l'utilisation de l'appareil. Les accessoires incluent notamment les équipements de protection personnelle.
Accessoires requis
(nonfournis)
Équipements de protection individuelle adéquats
(Fournis)
Guide parallele
Lame de scie (à bois)
Lame de scie (à métaux)
Adaptateur d'aspiration des poussières
Guide de ligne
Protection anti-éclats
Lames de scie
Cet apparéil peut être utilisé avec différents types de lames (de type U et de type T) selon le matériel de la pierce à travailler.

Type U (universal)

Type T (à baionnette)

ATTENTION! Utilisez toujours la lame correspondant au travail à effectuer!

Prenoz en compte les exigences techniques de l'appareil (voir section "Spcifications techniques") lors de l'achat et de l'utilisation de lames de scie!
Les lames de scie sont très coupantes et sont portées à haute température lorsque l'appareil fonctionne! Manipuez-les avec précaution! Mettez des gants de protection pour manipuler les lames, vous évitezez ainsi de vous couper ou de vous brûler!
Montage
- Relevez le protège-lame [16] (fig. 1) et returnez l'appareil (fig. 2).
- Abaissez la manette de démontage [19] et maintenez-la dans cette position (fig. 3).
- Prenez une lame de scie [18] ajuste et insérez-la à fond. Vérifiez que le tranchant de la lame est bien en contact avec le guide-lame [13], puis relâchez doucement la manette [19] (fig. 4).
- Tirez sur la lame [18] pour vérifier qu'elle tient bien en place. Elle ne doit pas pouvoir sortir.


2

3

4
Démontage/changement
- Retournez l'appareil et relevez le protège-lame [16].
- Abaissez la manette de démontage [19] et maintenez-la dans cette position.
- Retirez la lame [18] et insérez une nouvelle lame, le cas échéant.
Guide parallèle
Le guide parallele se fixe sur le côté gauche ou droit; il permet d'effectuer des coupes paralleles aux arêtes de la pièce à travailler.
-
Desserrez la vis en tournant le bouton de verrouillage du guide parallele [11]. Alignez le guide parallele [5] avec le support et insérez-le (fig. 5).
-
Réglez la largeur avec l'échelle de graduation.
- Verrouillez le guide parallèle en tournant le bouton de verrouillage [11] dans le sens des aiguilles d'une montre (fig. 6).

5

6
Aspiration des poussières

ATTENTION! Afin de garder la zone de travail propre, l'appareil doit être relié à un dispositif d'aspiration des poussières lorsqu'il est utilisé pour scier du bois! Portez un masque anti-poussière pour utiliser cet apparéil : Les poussières peuvent être nocives pour la santé, notamment la scirure et les copeaux de bois traités (ex : avec de la lasure ou un produit de préparation)!

- L'adaptateur d'aspiration des poussières [8] s'insère à l'arrêt de la semelle; il permet de relier l'appareil à un système d'aspiration ou à un aspirateur ajustat, afin d'enlever les poussières au cours du travail (fig. 7).
- Reliez à l'adaptateur d'aspiration [8] un dispositif permettant d'évacuer la poussière de manière ajustée, par exemple un aspirateur (fig. 8).


- Mettez le bouton du souffleur en mode aspiration pour utiliser un aspirateur.
Branchement de l'appareil
- Assurez-vous que le bouton marche/arrêt [3] est bien sur Off.
- Branchez la prise maje sur une prise de courant adequate.

ATTENTION! Vérifiez la tension de la prise! Elle doit correspondre à cette indiquée sur la plaque signalétique de l'appareil.
- Notre apparéil est maintainant prét à l'emploi.

Endetails...
Fonctions de l'appareil 24
Utilisation 31
Entretien et maintenance 38
Dépannage 41
Mise au rebut et recyclage 42
Garantie 43
Déclaration de Conformité CE 45

Domaine d'utilisation
Cet apparéil est conçu pour couper le bois et les matériaux similaires (ex : MDF et aggloméré), le plastique et le métal au moyen de lames de scie appropriées. Le laser intégré vous aide à repérer la ligne de coupe.
Cet appeareil doit impérativement être utilisé à la verticale, avec la semelle posée à plat sur la piece à travailler. Il ne doit pas être utilisé la tête en bas ou comme outil stationnaire sur un plan de travail.
Il ne peut pas servir pour travailler sur de la pierre ou sur des matériaux dangereux pour la santé.
Cet apparéil est donc pour une utilisation domestique seulement. Il n'est pas donc pour une utilisation commerciale. Ne l'utilise pas pour d'autres travaux que ceux décrits dans le mode d'emploi.
Bouton marche/arrêt
L'appareil peut s'utiliser en mode instantané ou continu.
Mode de fonctionnement discontinu
- Allumez l'appareil en appuyant sur le bouton marche/arrêt [3].
- Relâchez le bouton marche/arrêt [3] pour éteindre l'appareil.
Mode de fonctionnement continu
- Allumez l'appareil en appuyant sur le bouton marche/arrêt [3], et maintenez-le,enforcé.
-
Appuyez sur le verrou [2] pour verrouiller le bouton marche/arret [3].
-
Relâchéz les deux boutons. Le bouton marche/arrêt est maintainant verrouillé en position marche et l'appareil fonctionne en continu.
- Pour éteindre l'appareil, appuyez sur le bouton marche/arrêt [3] puis relâchéz-le.

9
Fonction pendulaire
Réglez la vitesse pendulaire selon le matériel et l'épaisseur de la pièce à travailler.
| Illustration | Position | Vitesse pendulaire | Application |
| 0 | off | Coupes fines dans des matériaux fins Coupes de cercles ou de courbes serrées | |
| 1 | Lente | Matéraux durs (ex:.acier, agglomeré) | |
| 2 | Intermédiaire | Matériaux écais (ex: bois, plastique) | |
| 3 | Rapide | Coupes rapides dans des matériaux mous (ex: bois tendre) Coupes dans le sens du fil |
Sélecteur de vitesse
- Le sélecteur de vitesse [15] permet de limiter la vitesse maximale.
- Poussez le sélecteur de vitesse [15] vers l'avant pour augmenter la vitesse maximale (fig. 10). Une vitesse élevée combinée avec une lame fine [18] est plus adaptée pour la découpe de matérieliaux tendres.
- Tirez le sélecteur de vitesse [15] vers l'arrête pour diminuer la vitesse maximale (fig. 11). Une vitesse lente combinée avec des lames de scie épaisses [18] est plus adaptée pour la découverte de matérieliaux durs.
10

11

| Position | 1 | 2 | 3 | 4 | 5 | 6 |
| Vitesse | lente | intermédiaire | rapide | |||
| Application | bois dur, pièces épaisSES | contré-plaqué, acier doux, aluminium et matières plastiques, métaux non-ferreux | matériaux tendres, pièces fines | |||
Réglage de l'angle de coupe

ATTENTION! Éteignez et débranchez l'appareil avant d'effectuer toute manipulation sur l'appareil!
Ajustez l'angle de coupe selon vos besoin.
- Retournez l'appareil.
- Desserrez la vis en tournant la molette d'ajustement de la base [7] avec les deux mains. (Fig. 12).
-
Mettez la plaque de base [12] sur l'angle de coupe qui convient. Tirez la plaque de base [12] vers l'arrière de manière à ce que les dents de la plaque de base ne soient plus en contact avec les dents de détention et à ce que la semelle puisse être bougee vers la gauche ou vers la droite. Réglez l'angle sur ± 45^ ou sur 0^ , puis poussez la semelle vers l'avant jusqu'à ce que les dents de la plaque s'enclenchent avec les dents de détention. (Fig. 13-15).
-
Resserrez la vis en tournant de nouveau la molette d'ajustement [7] avec les deux mains.


13

14

15
Souffleur/aspirateur
- Mettez le bouton du souffleur [14] sur pour enlever la sciure et les copeaux accumulés dans la zone de coupe (fig. 16).
- Pour utiliser l'appareil comme aspirateur, reliez-le à un aspirateur domestique ou à un dispositif d'aspiration de la poussière puis mettez le bouton du souffleur [14] de l'autre côté

C. (Fig.17)

17

ATTENTION! N'utilisez pas le souffleur en même temps que le dispositif d'aspiration
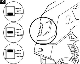
Allumer/éteindre le laser et la lampe de travail
- Pour allumer le laser, mettez l'interrupteur combiné [22] en positionasse.
- Pour allumer la lampe de travail LED, mettez l'interrupteur combiné [22] en position haute.
- La position du milieu permet d'eteindre le laser et la lampe LED (fig. 17).

18



ATTENTION! Ne regardez jamais de face le rayon laser ou la lampe LED! Produit laser de classe 2.
Rangement des lames
Le compartment de rangement des lames [9] est situé dans la semelle de la scie.
- Pour ouvrir: tirez le couvercle du compartment vers l'extérieur.
- Pour referrer : poussez le couvercle vers l'intérieur avec le pouce ou un doigt (fig. 19).

Utilisation générale
- Avant chaque utilisation, examinez le cable, la prise mâle et les accessoires afin de vous assurer qu'ils sont en bon état. N'utilisez pas l'appareil s'il est usé ou endommagé.
- Reverifiez le montage des accessoires.
- Portez toujours l'appareil en le tenant par ses poignées. Afin d'assurer une bonne prise, les poignées doivent rester sèches.
- Les ouvertures d'aération doivent rester propres et dégagées en permanence. Le cas échéant, nettoyez-les avec une Brosse à poils mous. Si elles sont obstruées, l'appareil risque de surchauffer et d'être endommagé.
- Éteignez immédiatement l'appareil si vous étés distrait par quelqu'un ou si une personne s'approche de la zone de travail. Attendez l'arrêt complet de l'appareil avant de le poser.
- Limitez votre temps de travail : Faites des pauses régulières, cela vous permettra d'être plus concentré dans votre travail et de很好地 garder le contrôle de l'appareil.
Coupe
Coupe générale

ATTENTION! L'utilisation de cet apparéil engendre de la poussière fine!

Certaines poussières sont hautement inflammables voire explosives! Ne fumez pas au cours du travail et faites en sorte qu'aucune source de chaleur ou de flamme neue ne se trouve dans la zone de travail!

Portez un masque anti-poussière et utilisez toujours un système d'extraction afin de vous protégger contre les risques liés aux poussières fines!
- Dans la mesure du possible, essayez de couper dans le sens du fil du bois ; vous éviterez ainsi de coincer la lame [18] et d'effilocher les bords.
- Prenez en compte le tranchant de la lame lorsque vous devez couper le long d'une ligne de coupe. Ne foupez pas directement sur la ligne, mais juste à côté (fig. 20).

20
- Pour une coupe dans du métal, mettez toujours de l'huile de coupe le long de la ligne, afin de limiter la friction.
- Assurez-vous que la pièce à travailler ne comporte aucun obstacle (clous, vis etc.) avant de commencer le travail. Enlevezles, le cas échéant.
- Vérifiez qu'il y a un espace suffisant pour la lame [18] sous la pièce.
- Tenez l'appareil avec une main sur la poignée [4] et l'autre sur la surface d'accroche [1]. N'essayez enaucun cas d'utiliser l'appareil en le tenant d'une seule main! Ne mettez pas les mains sous la piece.
- Allumez l'appareil et attendez qu'il tourne à pleine vitesse avant de l'appliquer sur la piece.
- Mettez la semelle [12] à plat sur la piece, et poussez l'appareil vers l'avant en maintainant une vitesse constante.

ATTENTION! La semelle doit toujours reposer à plat sur la pièce pendant le travail! N'essayez pas d'effectuer une coupe en tenant seulement l'appareil des deux mains!
- Exercez une pression juste suffisante pour maintainir l'appareil à plat sur la piece. Une pression trop fierce aura pour conséquence non pas d'améliorer la performance de l'appareil, mais au contraire de la diminuier, et le résultat ne sera pas uniforme.
- L'appareil doit avancer sans s'arrête; ne l'arrêtez jamais à un endroit précis pour éviter les rainures.
- Decollez l'appareil de la pierce avant de I'eteindre.
- Si la lame [18] se coince dans la pierce, eteignez l'appareil, attendez son arrêt complet puis débranchez-le avant d'essayer de décoincer la lame.
Coupe en biseau
- Réglez l'angle de coupe qui convient, puis reisserrez suffisamment la molette d'ajustement de la base [7]. Pour un travail plus précis, commencez par faire des coupes d'essay sur des chutes. Vérifiez les résultats et réajustez l'angle jusqu'à obtenir le type de coupe souhaïte.
- Allumez l'appareil et attendez qu'il tourne à pleine vitesse avant de l'appliquer sur la piece. Mettez la semelle [12] à plat sur la piece et poussez l'appareil vers l'avant enMAINANT une vitesse constante (fig. 21).

Coupe en plongée

ATTENTION! La coupe en plongée ne peut se faire que sur les matériaux mous (bois, plaques de plâtre, etc.)! Utilisez impératifement une lame courte!
- Posez l'avant de la semelle [7] sur la pierce et démarrez l'appareil ; attendez qu'il tourne à pleine vitesse.
- Appuyez fortement l'appareil sur la pièce et enoncez doucément la lame à l'intérieur.
- Continue de scier le long de la ligne de coupe dés que l'ensemble de la surface de la semelle [7] repose sur la pièce à travailler.
Méthode du trou
Utilisez la «methode du trou» suivante pour commencer à couper dans le centre de la pierce.
- À l'aide d'une perceuse ajusté, percez un trou d'au moins 12 mm sur la ligne de coupe (fig. 22).
- Insérez dans le trou la lame [18] montée sur l'appareil, en faisant attention à ce qu'elle ne touche pas la piece elle-même.
- Allumez l'appareil et attendez qu'il tourne à pleine vitesse avant de commencer la coupe.

Laser
- Tracez la ligne de coupe sur la piece.
- Allumez l'appareil et attendez qu'il tourne à pleine vitesse.
- Mettez la semelle [12] à plat sur la pièce et allumez le laser.
- Alignez le rayon laser avec la ligne de coupe que vous venez de tracer, et poussez l'appareil vers l'avant enMAINENANT une vitesse constante.

ATTENTION! Àprous chaque coupe et de maniere générale après le travail, éteignez le laser avant de reposer l'appareil afin d'éviter de regarder le rayon de face délibérément!
Guide de ligne
Le guide de ligne [23] est un guide qui vous permet d'effectuer des coupes précises le long de lignes marquées sur la piece.
- Montez le guide de ligne [23] en le fixant sur la semelle (fig. 23).
- Abaissez l'avant du guide [23] et verrouillez-le en position basse (voir fig. 24).
- Pour les angles de coupe à 0^ , alignez le trait 0^ du guide avec la ligne de coupe.
- Pour les angles de coupe à 45^ , alignez le trait 45^ du guide avec la ligne de coupe.



REMARQUE: Reportez-vous à la section "Réglage d'angle" pour plus d'informations sur le réglage de l'angle.
Protection anti-éclats
La protection anti-éclats [24] permet de faire en sorte que le matériel a découvert ne risque pas de se fendre ou d'éclater au cours du travail.
- Insérez la protection anti-éclats [24] dans la rainure située dans la semelle; la flèche au bout de la protection doit être dirigée vers l'avant de l'appareil. (Fig. 25)
- Pressez les bords de la protection [24] vers l'intérieur (aux endroits indiqués par les deux flèches) et appuyez-la vers le bas. (Fig. 26)
- Relâchéz la protection [24] et assurez-vous qu'elle tient bien en place.

ATTENTION! La protection anti-éclats [24] ne peut servir que pour les coupes à 0^ ; enlevez-la pour effectuer des coupes entre 0^ et 45^ !


Après usage
- Éteignez l'appareil, débranchez-le et laisseze-le refroidir.
- Examinez l'appareil, nettoyez-le puis rangez-le de la maniere décrite ci-dessous.
Règles d'or pour l'entretien

ATTENTION! Éteignez l'appareil, débranchez-le et laissez-le refroidir avant de l'examiner et d'effectuer toute manipulation de nettoyage ou d'entretien.

L'appareil doit rester propre. Nettoyez-le après chaque utilisation et avant de le ranger.

Un nettoyage régulier et approfondi permet d'assurer la sécurité d'utilisation de l'appareil et contribue à prolonger sa durée de vie.

Avant chaque utilisation, examinez l'appareil afin de vous assurer qu'il n'est pas used ou endommagé. Ne l'utilise pas si des pieces sont cassées ou endommagées.

ATTENTION! N'essayez pas d'effectuer d'autres manipulations de réparation et d'entretien que celles décrites dans le mode d'emploi! Toute autre manipulation doit être effectuee par un spécialiste qualifié!
Nettoyage général

REMARQUE : N'utilisez pas de substances chimiques, alcalines ou abrasives, ni de détergents ou de désinfectants caustiques ; ceux-ci sont de nature à endommager les surfaces de l'appareil.
- Nettoyez le produit avec un chiffon sec. Pour les endroits difficiles à atteindre, utilisez une Brosse.
-
En particulier, les ouvertures de ventilation doivent être nettoyées après chaque utilisation, à l'aide d'un chiffon et d'une Brosse.
-
Enlevez les poussières tenaces avec de l'air comprimé (max. 3 bars).
- Examinez l'appareil pour voir si certaines pieces sont usées ou endommagées. Changez les pieces usées ou adressez-vous à un centre de réparation agrée pour faire réparer l'appareil avant de le réutiliser.
Câble d'alimentation
- si le remplacement du cable d'alimentation est nécessaire, cela doit être réalisé par le fabricant ou son agent pour éviter un danger.
Réparation
- Cet apparéil ne contient aucune piece pouvant être réparée par l'utilisateur. Faites examiner et réparer l' apparéil par un spécialiste qualifié.
Rangement
Nettoyez l'appareil (voir plus haut).
- Rangez l'appareil et ses accessoires dans un endroit sec et à l'abri du gel.
- L'appareil doit toujours être rangé dans un endroit hors de portée des enfants. Dans l'idéal, la température de la pièce dans laquelle l'appareil est rangé doit être comprise entre 10^ et 30^ .
- Nous vous recommendons de ranger l'appareil dans son emballage d'origine ou de le recouvrir avec un tissu afin de le protégger contre la poussière.
Transport
- Éteignez l'appareil et débranchez-le avant de le déplacer où que ce soit.
Montez les protections de transport, le cas échéant. - Portez toujours l'appareil en le tenant par ses poignées.
- Protégez l'appareil contre les risques de chocs ou de fortes vibrations auxquels il pourrait être soumis lors d'un déplacement en vehicule.
- Maintenez-le bien en place de manière à ce qu'il ne puisse ni glisser ni tomber.
Dépannage
Les dysfonctionnements supposés sont souvent liés à des causes que l'utilisateur peut éliminer par lui-même. Il est donc recommandé de consulter cette section en cas de besoin. Dans la plupart des cas, le problème peut être résolu rapidement.

ATTENTION! N'essayez pas d'effectuer d'autres manipulations que celles décrites dans le mode d'emploi! Si vous n'arrivez pas à résoudre le problème par yourselves, toutes les autres manipulations de contrôle, d'entretien et de réparation devront être effectuées par un centre de réparation agrée ou par un spécialiste de qualification équivalente.
| Problème | Cause possible | Solution |
| L'appareil ne démarre pas. | Il n'est pas branché | Branchez-le |
| Le cable ou la prise môle sont défectueux | Consultez un électricien qualifié | |
| Autre dysfonctionnement électrique de l'appareil | Consultez un électricien qualifié | |
| L'appareil ne fonctionne pas à pleine puissance | La rallonge ne convient pas à l'appareil | 2.1 Utilisez une rallonge ajustée |
| La tension de l'alimentation (ex: générateur) est trop faible | Essayez une autre source d'alimentation | |
| Les ouvertures de ventilation sont bloquées | Nettoyez les ouvertures de ventilation | |
| Résultat insatisfaisant | La lame est usée | Changez-la |
| La lame ne convient pas pour le matériel | Utilisez une lame ajustée |
Mise au rebut et recyclage

Les produits électriques usagés ne doivent pas être jetés avec les ordures menagères. Apportez le produit à un endroit où il pourrait être recyclé. Pour plus d'informations sur le recyclage, adressez-vous au magasin d'achat ou aux autorités de votre commune.
Garantie
CERTIFICAT DE GARANTIE
Le constructeur garantit sa machine pendant 24 mois à compter de la date d'achat. Les machines destinées à la location ne sont pas couvertes par la présente garantie.
Le constructeur assure le remplacement de toutes les pièces reconnues défectueuses par un défaut ou un vice de fabrication.
Eneldom cas la garantie ne peut donner lieu a un remboursement du matériel ou a des dommages et intérêts directs ou indirects.
Cette garantie ne couvre pas:
- une utilisation anormale
- un manque d'entretien
- une utilisation à des fins professionnelles
- le montage, le réglage et la mise en route de l'appareil
- tout dégât ou perte survenant pendant un transport ou déplacement
- les frais de port et d'emballage du matériel. Dans tous les cas ceux-ci restent à la charge du client. Tout envoi chez un répartirateur en port d'樨了一
- les pieces dites d'usure (mandrin, courroies, lames, supports de lame, cables, roues, déflecteurs, ampoules, sacs, filtres, télécommandes, etc.)
Il est entendu que la garantie sera automatiquement annulée en cas de modifications apportées à la machine sans l'autorisation du constructeur ou bien en cas de montage de pieces n'était pas d'origine.
Le constructeur décline toute responsabilité en matière de responsabilité civile découlant d'un employe abusif ou non conforme aux normes d'emploi et d'entretien de la machine.
L'assistance sous garantie ne sera acceptée que si la demande est adressée au service après vente agréé accompagnée de la carte de garantie dûment complétée et du ticket de caisse.
Aussitôt après l'achat nous vous conseillons de vérifier l'état intact du produit et de dire attentivement la notice avant son utilisation.
Dans toute demande de pieces de rechange on devra spécifique le modele exact de la machine, l'année de fabrication et le numero de série de l'appareil.
NOTA BENE. Utiliser exclusivement des pieces de rechange d'origine.
Déclaration de Conformité CE
MAC
ALLISTER
· ( - ) = 0
Castorama France, BP101 - 59175 Templemars
Déclaré que la machine désigné ci-dessous:
Scie sauteuse MEJS750 750W Ref. 654870
Est conforme aux dispositions des directives européennes suivantes:
-
Directive machine 2006/42/CE
-
Directive basse tension 2006/95/CE
-
Directive sur la compatibilité electromagnétique 2004/108/CE
-
Directive RoHS 2011/65/UE
Est conforme aux dispositions des normes harmonisées suivantes:
EN 60745-1: 2009+A11: 2010
EN 60745-2-11: 2010
EN 55014-1: 2006+A1: 2009+A2: 2011
EN 55014-2: 1997+A1: 2001+A2: 2008
EN 61000-3-2: 2006+A1: 2009+A2: 2009
EN 61000-3-3: 2008
Cette déclaration couvre les machines dont le nombre de série est compris entre 1 et 100000
Signataires et responsable de
la documentation technique autorisé:
Dominique Dole
Directeur qualité et expertise
A Templemars le 03/03/2014
Castorama France
C.S. 50101 Templemars
59637 Wattignies CEDEX
www.castorama.fr
N°Azur 0810 104 104
Dites «Question»


Castorama France
C.S. 50101 Templemars
59637 Wattignies CEDEX
www.castorama.fr
N°Azur 0 810 104 104
Dites «Question» (prix appel local)
Notice Facile