Delta Inox DI 300 l - Vannvarmer OSO - Gratis bruksanvisning og manual
Finn enhetens veiledning gratis Delta Inox DI 300 l OSO i PDF-format.
| Tekniske spesifikasjoner | Kapasitet: 300 liter, Materiale: Rustfritt stål, Type: Termodynamisk varmtvannsbereder |
|---|---|
| Bruk | Designet for produksjon av varmt tappevann, ideell for mellomstore husholdninger. |
| Vedlikehold og reparasjon | Årlig kontroll av anoden, rengjøring av tank anbefales hvert 5. år. |
| Sikkerhet | Utstyrt med sikkerhetsventil, i samsvar med gjeldende sikkerhetsstandarder. |
| Generell informasjon | Garanti: 5 år på tanken, profesjonell installasjon anbefales. |
Ofte stilte spørsmål - Delta Inox DI 300 l OSO
Brukerspørsmål om Delta Inox DI 300 l OSO
0 spørsmål om dette apparatet. Svar på dem du kjenner, eller still ditt eget.
Still et nytt spørsmål om dette apparatet
Last ned instruksjonene for din Vannvarmer i PDF-format gratis! Finn veiledningen din Delta Inox DI 300 l - OSO og ta den elektroniske enheten tilbake i hendene. På denne siden er alle dokumenter som er nødvendige for bruken av enheten din publisert. Delta Inox DI 300 l av merket OSO.
BRUKSANVISNING Delta Inox DI 300 l OSO
1.1 Generell informasjon 3
1.2 Sikkerhetsinstruks for brukeren.... 4
1.3 Sikkerhetsinstruks for installatøren..... 4
2. Produktbeskrivelse 5
2.1. Produktidentifikasjon.... 5
2.2. Bruksområde 5
2.3 CE merking 5
2.4 Tekniske data.... 5
2.5. ErP data (TDS) 5
3. Installasjonsinstruks.... 6
3.1. Produkter omfattet av instruksen...... 6
3.2. Medfølgende i leveransen.... 6
3.3. Produktdimensjoner 6
3.4. Krav til installasjonssted 7
3.5. Rør-installasjon 8
3.6. El-installasjon 10
4.1. Fylling av vann.... 12
4.2. Påsettelse av strøm.... 12
4.3. Innstilling av blandeventil.... 12
4.5. Tømming av vann.... 12
4.6. Overlevering til sluttbruker.... 12
5. Brukerveiledning 13
5.1. Innstillinger.... 13
5.2. Vedlikehold 13
6. Feilsøking 14
6.1. Feil og løsninger.... 14
7. Garantibetingelser 15
7.1. Garanti og garantiregistrering...... 15
7.2. Kundeservice.... 15
1.1 Generell informasjon
- Les følgende sikkerhetsinstruks grundig før installering, vedlikehold eller justering av varmtvannsberederen.
- Personskade eller materiell skade kan oppstå hvis produktet ikke monteres eller brukes på tiltenkt måte.
- Oppbevar denne manualen og andre relevante dokumenter slik at de er tilgjengelige for fremtidig referanse.
- Produsenten forutsetter overholdelse av sikkerhets-, drifts- og vedlikeholdsinstrukser som medfølger (sluttbruker), samt samsvar med montasjeanvisning, gjeldende standarder og forskrifter på installasjonstidspunkt (installatør).

| ⚠ ADVARSEL | Mulighet for alvorlig personskade eller død |
| ⚠ FORSIKTIG | Mulighet for mindre eller moderat skade på person eller eiendom |
| ∅ | FORBUDT å utføre |
| #! | SKAL utføres |

Dette dokumentet skal oppbevares på et egnet sted, tilgjengelig for fremtidig referanse.
1.2 Sikkerhetsinstruks for brukeren
| ⚠ ADVARSEL | |
| ∅ | Sikkerhetsventilens overløp skal IKKE tettes eller plugges. |
| ∅ | Produktet skal IKKE tildekkes foran el. lokk i front. |
| ∅ | Produktet skal IKKE modifiseres eller endres fra sin originale tilstand. |
| ∅ | Barn skal IKKE leke med produktet, og ikke oppholde seg ved produktet uten tilsyn. |
| ! | Produktet skal være fylt med vann før strøm tilkobles. |
| ! | Vedlikehold / innstillinger skal kun utføres av personer over 18 år, med tilstrekkelig kompetanse |
| ⚠ FORSIKTIG | |
| ∅ | Produktet skal ikke utsettes for frost, overtrykk, overspenning eller klorbehandling. Se garanti-bestemmelser. |
| ∅ | Vedlikehold / innstillinger skal ikke utføres av personer med nedsatte fysiske eller mentale evner, med mindre de har fått instruksjoner om bruk av noen ansvarlig for deres sikkerhet. |
1.3 Sikkerhetsinstruks for installatøren
| ⚠ ADVARSEL | |
| ∅ | Sikkerhetsventilens overløp skal IKKE tettes eller plugges. |
| ! | Evt. overløpsrør fra sikkerhetsventil SKAL være ≥ 18 mm. innvendig, uavstengbart, brutt og frostfritt m/fall til sluk. |
| ! | Fast el. montasje skal benyttes ved installasjon i nye boliger eller ved endring av eksister-ende el. opplegg iht. forskrift. Nettkabel med støpsel for veggkontakt kan benyttes ved utskiftning av produkt uten endring av el. opplegg. |
| ! | Nettkabel skal tåle 90°C. Strekkavlaster skal monteres. |
| ! | Produktet skal være fylt med vann før strøm tilkobles. |
| ! | Gjeldende forskrifter, standarder og denne montasjeanvisning skal følges. |
| ⚠ FORSIKTIG | |
| #! | Produktet skal plasseres i rom med sluk, utført iht. våtromsnormen / siste TEK. Alternativt skal aut. vannstoppventil med sensor og overløp fra sikkerhetsventil til sluk monteres.Følgeskadeansvar gjelder kun hvis dette blir fulgt. |
| #! | Produktet skal monteres loddrett og i vater, på gulv eller vegg egnet for totalvekt av produktet i drift. Se merkeplate. |
| #! | Produktet skal ha fri serviceavstand på 40 cm foran el. lokk / 10 cm over blandeventil. |
2. PRODUKTBESKRIVELSE
2.1 Produktidentifikasjon
Identifikasjon for ditt produkt finnes på merkeplaten festet til produktet. Merkeplaten inneholder informasjon om produktet iht. EN 12897:2016 og EN 60335-2-21, i tillegg til andre nyttige data. Se samsvarserklæring på www.osohotwater.com for mer informasjon.
OSO produkter er designet og produsert iht.:
• Trykktankstandard EN 12897:2016
• Sikkerhetsstandard EN 60335-2-21
• Sveisestandard EN ISO 3834-2
OSO Hotwater AS er sertifisert iht.
• Kvalitet ISO 9001
- Miljø ISO 14001
• Arbeidsmiljø OHSAS 18001
2.2Bruksområde
Delta Inox er designet for å forsyne boliger med
varmt forbruksvann. Produktet er egnet for montasje i tøffe miljøer som fjøs, stall o.l.
2.3CEmerking
CE
CE merket viser at produktet er i samsvar med de aktuelle direktivene. Se samsvarserklæring på www.osohotwater.com for mer informasjon.
Produktet er i samsvar med direktiver for:
• Lavspenning LVD 2014/35/EU
• Elektromagnetisk kompatibilitet EMC 2014/30/EU
• Trykkutstyr PED 2014/68/EU
Sikkerhetsventil(er) benyttet skal være CE merket og samsvare med PED 2014/68/EU.
2.4 Tekniskedata
| NRF nr. | Produktkode: | Kapasitet personer | Vekt kg. | DiaxHøyde mm. | Frakt vol. m^3 | Oppv. tid timer t 65°C | Varme-tap W |
| 800 0402 | DI 200 - 3 kW/1x230V 4,0 39 ø595x1270 0,46 | 6 5,0 48 | |||||
| 800 0404 | DI 300 - 3 kW/1x230V 5,0 51 ø595x1750 0,62 | 7,3 64 | |||||
| 800 0406 | DI 300 - 3 kW/3x400V 5,0 51 ø595x1750 0,62 | 7,3 64 |
2.5 ErP data - Technical Data Sheet
| Varemerke Modellnr.. | Modellnavn | ErP profil | ErP Rating | Energi eff. % | AEC - kWh/a | Termostat innst. °C | Volum 40°C vann | ||
| OSO Hotwater AS | 800 0402 | DI 200 - 3 kW | XL | D | 37 | 4 501 | 75 | 317 | |
| OSO Hotwater AS | 800 0404 | DI 300 - 3 kW | XL | D | 37 | 4 557 | 75 | 471 | |
| OSO Hotwater AS | 800 0406 | DI 300 - 3 kW | XL | D | 37 | 4 557 | 75 | 471 | |
| Direktiv: 2010/30/EU Regulativ: EU 812/2013 | Direktiv: 2009/125/EC Regulativ: EU 814/2013 | ||||||||
| Effektivitetstestet iht. standard: EN50440 : 2015 | |||||||||
3. INSTALLASJONSINSTRUKS
3.2 Medfølgende i leveransen
| Ref no. | Antall | Beskrivelse |
| 1 | 1 Blandeventil (medfølger) | |
| 2 | 1 Varmtvannsbereder | |
| 3 | 1 Montasjeanvisning (dette dokument) | |
| 4 | 1 Termostat | |
| 5 | 1 Varmeelement | |
| 6 | 1 Sikkerhetsventil (fabrikkmontert) | |
| 7 3 | Stillben (fabrikkmontert) | |
3.3Produktdimensjoner
Alle mål i mm.
| Produkt. | A | B | C | D | |||||
| DI 200 | 0 | -40 | 133 | 6 | 1321 | 154 | 595 | ||
| DI 300 | 0 | -40 | 181 | 6 | 1801 | 154 | 595 |
Toleranse +/- 5 mm. (gjelder ikke mål A).

Produktet skal transporteres varsomt som illustrert, med emballasje. Benytt håndtakene i esken.
| ⚠ FORSIKTIG |
| Stusser, ventiler og lignende skal ikke benyttes til å løfte produktet da dette kan forårsake funksjonsfeil. |

3.4 Krav til installasjonssted og plassering
| ⚠ FORSIKTIG | |
| 💡 | Produktet skal plasseres i rom med sluk, utført iht. våtromsnormen / siste TEK. Alternativt skal aut. vannstoppventil med sensor og overløp fra sikkerhetsventil til sluk monteres. |
| 💡 | Produktet skal plasseres i et tørt og permanent frostfritt miljø. |
| 💡 | Produktet skal plasseres på gulv eller vegg egnet for totalvekt av produktet i drift. Se merke-plate. |
| 💡 | Produktet skal ha fri serviceavstand på 40 cm foran el. lokk / 10 cm over blandeventil. |
| 💡 | Produktet skal være enkelt tilgjengelig i boligen for service og vedlikehold. |

text_image
Min. 40 cm Min. 10 cm Min. 40 cm3.5Rør-installasjon
Produktet er beregnet å være permanent tilkoblet hovedvanntilførsel. Ved installasjon skal godkjente rør av korrekt dimensjon benyttes. Gjeldende standarder og forskrifter skal følges.
| Produkt. KV | VV Overløp (2) | ||
| DI 200 - 300 | 1/2" / ø15 mm klemring | 1/2" / ø15 mm klemring | 3/4" innvendig |
3.5.1 Inngående vanntrykk
Produktets effektivitet avhenger av inngående kaldtvannstrykk. Vanntrykket bør være minimum 2 bar og maksimum 6 bar over hele døgnet. For høyt vanntrykk kan justeres ved å installere en trykkreduksjonsventil.
3.5.2 Montering av kaldt- og varmtvannsrør (KV-VV) og overløpsrør
A) Blandeventilen dreies til ønsket posisjon.
• Klemring mot bereder tiltrekkes (se 3.5.3)
B) KV / VV rør i egnet dimensjon føres til blandeventil og tiltrekkes (se 3.5.3)
- Ved større rørdimensjon kan overgang med 1/2" innvendig gjenge benyttes.
C) Evt. overløpsrør (1) ≥ 18 mm. innvendig føres til sikkerhetsventil;
- Kobles til SV 3/4" innvendig gjenge.
- Føres uavstengbart, brutt og frostfritt med fall til sluk.
3.5.3 Tiltrekkingsmomenter
| Komponent | Tiltrekkingsmoment |
| Klemringskobl. mot KV / VV (ø15) | 40 Nm (+/- 3) |
| Klemringskobl. mot bereder (ø22) | 60 Nm (+/- 5) |

text_image
360°
text_image
SV2 N 2 1 13.5.5 Montasjeinstruks
| ⚠ ADVARSEL | |
| 💡 | Produktet skal være fylt med vann før strøm tilkobles. |
| 💡 | Evt. overløpsrør fra sikkerhetsventil skal være ≥ 18 mm. innvendig, uavstengbart, brutt og frostfritt m/ fall til sluk. |
| ⚠ FORSIKTIG | |
| 💡 | Produktet skal plasseres i rom med sluk, utført iht. våtromsnormen / siste TEK. Alternativt skal aut. vannstoppventil med sensor og overløp fra sikkerhetsventil til sluk monteres. |
| 💡 | Produktet skal monteres loddrett og i vater, på gulv eller vegg egnet for totalvekt av produktet i drift. Se merkeplate. |
| 💡 | Produktet skal ha fri serviceavstand på 40 cm foran el. lokk / 10 cm over blandeventil. |
3.5.6 Montasjeanbefaling
| ANBEFALING | |
| - | Sørg for avstand til gulv. Skru medfølgende stillben ut minimum 15 mm. fra bunn av produktet. |
| - | Evt. overløpsrør fra sikkerhetsventil til sluk (1) og nettkabel til veggkontakt (2) bør legges skjult under kanalene i bunn av produktet. |
| - | Ved tett tilbakeslagsventil bør reduksjonsventil og ekspansjonskar monteres (hindrer drypp fra sikkerhetsventil). |
| - | Dersom maksimalt vanntrykk overstiger 6 bar over døgnet, bør reduksjonsventil og ekspansjonskar monteres. |
| - | Ved installasjon i rom som ikke er utført iht. våtromsnormen, bør vanntett spillbakke med overløpsrør ≥ 18 mm. innv. til sluk monteres under produktet, i tillegg til aut. vannstoppventil med sensor. Dette vil forebygge mot evt. materielle skader. |

Fast el. montasje skal benyttes ved installasjon i nye boliger eller ved endring av eksisterende el. opplegg iht. forskrift. Nettkabel med støpsel for veggkontakt kan benyttes ved utskiftning av produkt uten endring av el. opplegg. Evt. fast el-montasje skal utføres av aut. elektriker. Gjeldende standarder og forskrifter skal følges.
3.6.1 Elektriske komponenter
| Komponent Merknad | |
| Sikkerhetstermostat 98°C termoutløser | |
| Arbeidstermostat 60-90°C stillbar | |
| Varmeelement 1fas 230V | |
| Nettkabel med støpsel | Varmebestandig |
| Internledninger | Varmebestandig |
3.6.2 Elektriske tilkoblinger i el-boks
| ⚠ ADVARSEL |
| Kontinuerlig spenning er tilstede på tilkoblingspunktene R og S. Før elektrisk arbeid utføres skal strømtilførsel brytes og sikres mot påsetting mens arbeid pågår. |
A) Blå ledning (R) – Nøytral – er koblet til punkt «1» på sikkerhetstermostat.
B) Brun ledning (S) – Faseleder – er koblet til punkt «3» på sikkerhetstermostat.
C) Gul ledning med grønn stripe ⏻Jord – er koblet til koblingspunkt på varmeelementet (sekskant messing)
D) Internledninger fra element til termostat er koblet til hhv. punkt «4» på sikkerhetstermostat og punkt «2» på arbeidstermostat. Se illustrasjon.
3.6.3 Tiltrekkingsmomenter
| Komponent Tiltrekkingsmoment | |
| 5/4" varmeelement 60 Nm (+/- 5) | |
| Termostatskruer 2 Nm (+/- 0,1) | |
| Skruer på elementhode 2 Nm (+/- 0,1) |

text_image
R 1 3 S RESET RESET 2 4 1 100°C-50°C 2 60°C 80°C 70°C ±El-kobling, skjematisk
3.6.4 Montasjeinstruks
| ⚠ ADVARSEL | |
| 💡 | Produktet skal være fylt med vann før strøm tilkobles. |
| 💡 | Fast el. montasje skal benyttes ved installasjon i nye boliger eller ved endring av eksisterende el. opplegg iht. forskrift. Nettkabel med støpsel for veggkontakt kan benyttes ved utskiftning av produkt uten endring av el. opplegg. |
| 💡 | Nettkabel skal tåle 90°C. Strekkavlaster skal monteres. |
| ⚠ FORSIKTIG | |
| 💡 | Produktet skal ha fri serviceavstand på 40 cm foran el. lokk / 10 cm over blandeventil. |
| 💡 | Ved evt. skade på nettkabel med støpsel, skal denne erstattes med spesialtilpasset nettkabel fra leverandøren. |
3.6.5 Montasjeanbefaling
| ANBEFALING | |
| - | Medfølgende nettkabel bør benyttes ved fast el. montasje ved å fjerne plugg for veggkontakt. (Varmebestandig) |
| - | Nettkabel til veggkontakt / veggboks bør legges skjult under en av kanalene i bunn av produktet. |
| - | For produkter med ≤ 2kW effekt, bør ≥ 10A sikring / ≥ 1,5# ledning benyttes.For produkter med ≤ 3kW effekt, bør ≥ 15A sikring / ≥ 2,5# ledning benyttes. |
4. IGANGSETTELSE F∅RSTE GANG
4.1 Fylling av vann
Sjekk først at alle røranslutninger er korrekt utført.
Gjør deretter følgende:
A) Åpne en varmtvannskran – la denne stå åpen
B) Skru blandeventilens justerbare ratt helt mot "+".
C) Åpne kaldtvannstilførsel til produktet.
Sjekk at vannet fra den åpne varmtvannskranen flommer fritt, uten avbrudd av luft.
A) Steng varmtvannskranen.
4.2 Påsettelse av strøm
Når bereder er fylt med vann kan strøm påsettes.
A) Sett plugg i dimensjonert veggkontakt eller slå på bryter/sikring.
4.3 Innstilling av blandeventil
Produktets utgående varmtvannstemperatur til tappestedene i boligen justeres med rattet på blandeventilen. Justering av blandeventilen påvirker ikke temp. på varmtvannet i produktet.
For å justere temperaturen:
A) Vri det justerbare rattet (1) helt mot "+"
B) Vri deretter rattet mot “—” til ønsket temperatur.
| Omdreininger Temperatur | ![]() | |
| 0 Ca. 70°C | ||
| 1/4 Ca. 60°C | ||
| 1/2 Ca. 50°C | ||
| 3/4 Ca. 40°C | ||
4.4 Kontrollpunkter
A) Sjekk at alle rørkoblinger til/fra produktet er tette og ikke lekker.
B) Sjekk at strømtilførsel til produktet ikke er i fare for å bli utsatt for mekanisk, termisk eller kjemisk påvirkning.
C) Sjekk at evt. overløpsrør fra sikkerhetsventil er uavstengbart og brutt, samt ligger frostfritt m/ fall til sluk.
D) Sjekk at produktet står stabilt i lodd og i vater.
4.5 Tømming av vann
![]() |
| Vanntemperaturen i produktet kan overstige 75°C og medfører skoldingsfare. Før tømming utføres skal en varmtvannskran åpnes på maks trykk / temperatur i min. 3 minutter. |
A) Koble fra strømtilførselen.
B) Steng inngående kaldtvannstilførsel.
C) Åpne en varmtvannskran maksimalt – la stå (hindrer vacuum).
D) Åpne blandeventilen maksimalt mot "+".
E) Vri rattet på sikkerhetsventilen (2) ca. 90 grader til åpen posisjon.
Produktet tømmes.

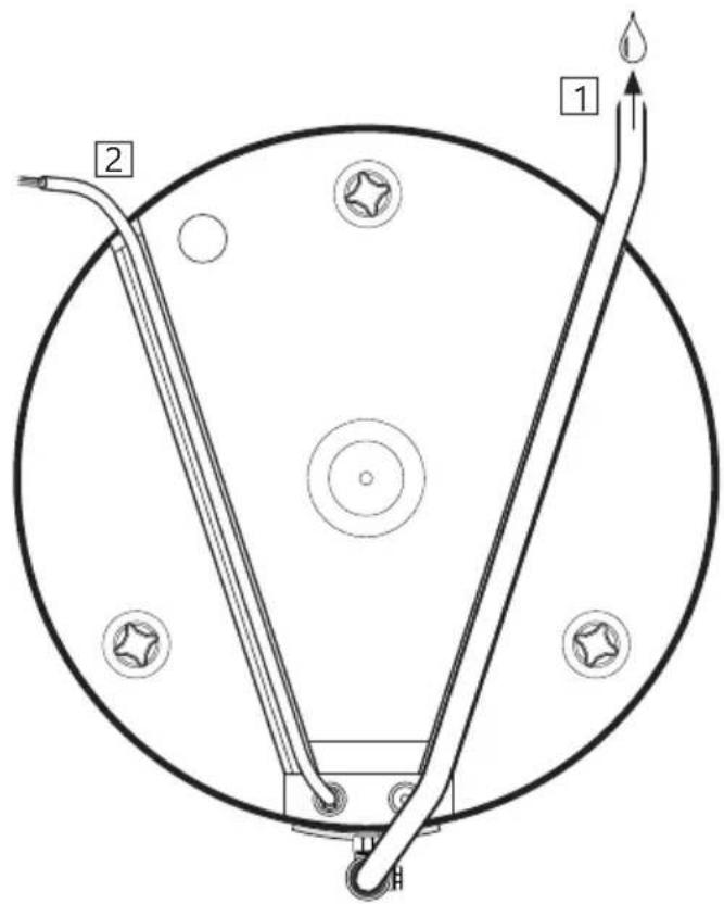
text_image
3 2Etter tømming stenges sikkerhetsventilen ved å vri rattet (2) videre med klokken. Steng alle åpne kraner. Juster blandeventilen til opprinnelig innstilling.
Ved evt. behov for raskere tømming kan sikkerhetsventilen demonteres ved å skru av klemringskoblingen mot SV anslutning. Ved re-montering skal klemringskoblingen tiltrekkes med 60 Nm moment (+/-5).
4.6 Overlevering til sluttbruker
| INSTALLAT∅R SKAL: |
| Instruere sluttbruker om sikkerhetsinstruks og vedlikeholdsinstruks. |
| Veilede sluttbruker vedr. innstillinger og tømming av produktet. |
| Overlevere denne montasjeanvisningen til slutt-bruker. |
| Skrive inn kontaktinformasjon på produktets merkeplate. |
5. BRUKERVEILEDNING
5.1 Innstillinger
5.1.1 Termostatinnstilling
Produktets termostat er stillbar fra 60-90°C. Termostaten bør ikke stilles lavere enn 65°C for å unngå bakterievekst. For å justere temperaturen:
A) Koble fra strømtilførselen.
B) Demonter el-lokket (3) nede i front med en skrutrekker.
C) Juster temperatur på termostaten (5) med en skrutrekker.
Monter el-lokket (3) før strømtilførsel kobles til. Endring av temperaturinnstilling på termostaten forandrer kun temp. på vannet i tanken. Temperatur til tappestedene justeres på blandeventilen.
5.1.2 Resetting av sikkerhetstermostat
Produktets sikkerhetstermostat slår ut ved fare for overoppheting. Denne resettes ved å demontere el-lokket (3) og trykke inn den røde "RESET"-knappen (4). Om termostaten slår ut gjentatte ganger, kontakt installatør.
5.1.3 Innstilling av blandeventil
Produktets utgående varmtvannstemperatur til tappestedene i boligen justeres med rattet på blandeventilen. For å justere temperaturen:
A) Vri det justerbare rattet (1) helt mot "+"
B) Vri deretter rattet mot “—” til ønsket temperatur.
5.1.4 Justering av stillben
Produktet er utstyrt med tre fabrikkmonterte stillben, justerbare fra 0-40 mm. Skru stillbena ut minimum 15 mm. fra bunn av produktet. Juster bena individuelt til produktet står støtt og stabilt i lodd og i vater.
| ⚠ ADVARSEL |
| Kontinuerlig spenning er tilstede i el.-boksen. Før elektrisk arbeid utføres skal strømtilførsel brytes og sikres mot påsetting mens arbeid pågår. |

text_image
1 3 4 RESET RESET 2 4 2 5 60°C 90°C 80°C 70°C| Omdreininger Temperatur | ![]() | |
| 0 Ca. 70°C | ||
| 1/4 Ca. 60°C | ||
| 1/2 Ca. 50°C | ||
| 3/4 Ca. 40°C | ||
5.2 Vedlikehold
| VEDLIKEHOLDSINSTRUKS | ||
| ! | Vedlikehold skal utføres av personer over 18 år, med tilstrekkelig kompetanse. | ![]() |
| ! | Årlig kontroll av sikkerhetsventil: | |
| - | Åpne ventilen 1 minutt ved å vri ratt (2) ca. 90 grader til åpen posisjon. | |
| - | Kontroller visuelt at vannet renner fritt til avløp. | |
| - | JA = OK. Steng ventilen ved å vri ratt (2) ytterligere 90 grader til lukket posisjon. | |
| - | NEI = IKKE OK. Bryt strømtilførsel / steng vanntilførsel. Kontakt installatør. | |
6. FEILS∅KING
6.1 Feil og løsninger
Hvis det oppstår problemer med produktet under drift, sjekk mulige feil og løsninger i tabellen. Dersom problemet ikke er vist i feilsøkings-
tabellen eller det er usikkerhet rundt problemet, kontakt installatør (se produktets merkeplate) eller OSO Hotwater AS - se pkt. 7.2.
| FEILS∅KING | ||
| Problem Mulig feilårsak Mulig løsning | ||
| Det renner/drypper fra sikkerhetsventilen/det er ofte vann på gulvet ved bereder om morgenen | Trykkreduksjonsventil, vannmåler eller tett tilbakeslagsventil på vanninntaket. Vanntrykket inn i boligen er for høyt. | Monter AX ekspansjonskar som tar opp ekspansjon under oppvarming og monter trykkreduksjonsventil for stabilt vanntrykk inn i boligen. Trykkreduksjonsventilen justeres inn ift. eksp.karets fortrykk. Kontakt aut. installatør. |
| Sikkerhetsventilen er slitt eller det ligger partikler mellom membran og ventilsete pga. urent vann | Forsøk å spyle gjennom sikkerhetsventilen med vann. Åpne ventilen i ca. 1 minutt. Se pkt. 5.2. Hvis ventilen fremdeles renner må ventilen skiftes. Kontakt aut. installatør. | |
| Lekkasje ved varmeelement. | Verifiser ved å: a) bryte elektrisk tilførsel, b) skru av el-lokk, c) Visuelt sjekke om lekkasjen kommer fra varmeelement. I så fall: skift pakning / varmeelement. Kontakt aut. installatør. | |
| Ikke varmtvann | Strømtilførsel er brutt. | Verifiser at sikringen er på / støpsel er plugget inn i veggkontakt / jordfeilbryter ikke har slått ut. |
| Termostat har slått ut. | Trykk inn "RESET" knapp på sikkerhetstermostat, se "Brukerveiledning". | |
| Varmeelement er defekt. | Skift varmeelement. Kontakt aut. installatør. | |
| Lekkasje på varmtvannsrør | Verifiser ved å: a) stenge blandeventilen, b) vente 2-3 timer, c) kjenne på blandeventilen om den er varm. I så fall er det lekkasje på varmtvannsrør eller annen lekkasje. Kontakt aut. installatør. | |
| Ikke nok varmtvann Mye forbruk i boligen. | Juster opp temperatur på termostaten til 85°C, se "Brukerveiledning". Bytt til en større OSO varmtvannsbereder. Kontakt aut. installatør. | |
| Ikke høy nok temperatur | Blandeventilen er stilt på for lav temperatur. | Juster opp temperatur på blandeventilen, se "Brukerveiledning". |
| Termostat er stilt på for lav temperatur. | Juster opp temperatur på termostaten til 85°C, se "Brukerveiledning". | |
| Overslag i kraner fra kaldtvann til varmtvann. | Kontakt aut. installatør. | |
| Sikring/jordfeilbryter slår ut gjentatte ganger | Mulig feil på berederens elektriske anlegg. | Verifiser slik: a) bryt elektrisk tilførsel, b) skru av el-lokk, c) sjekk visuelt el.-boksen for evt. problemer. Kontakt i så fall aut. elektriker for kontroll. Monter el-lokk. |
| Lang tid før varmtvannet kommer til tappested | Lange rørstrekk fra bereder til tappested. | Monter sirkulasjonsledning eller varmekabel på VV rør. Alt. monter ettervarmer ved tappested. Kontakt aut. installatør. |
| Slag i rørene når varmtvannskran stenges | Stor trykkøkning når kranen stenges hurtig. | Helt normalt. Monter AX ekspansjonskar hvis plagsomt. Kontakt aut. installatør. |
7. GARANTIBETINGELSER
| GARANTIBESTEMMELSER | |
| Ditt OSO produkt garanteres fritt for material- eller produksjonsfeil.Vi er stolte av produktene våre og gir derfor markedets beste garantivilkår. | |
| 1 | Din basis OSO garanti dekker produkt- og utskiftningskostnaden for trykktanken i 5 år fra kjøpsdato, forutsatt at produktet: |
| ! | Er enkelt tilgjengelig i boligen for service og vedlikehold. |
| ! | Er installert i henhold til montasjeinstruks, og at sikkerhetsinstruks er fulgt. |
| ∅ | Ikke har vært tilkoblet drikkevannskilde med kloridinnhold over 50 mg/LVed nivåer over 50 mg/l. skal anode monteres før vann påfylles. |
| ∅ | Ikke har blitt utsatt for frost, overtrykk, overspenning eller klorbehandling. |
| ∅ | Ikke har blitt modifisert, endret eller utsatt for ytre, unormale påvirkninger. |
| 2 | Din utvidede OSO garanti dekker produktkostnaden for trykktanken i 10 år fra kjøpsdato, forutsatt at produktet i tillegg til ovenstående: |
| ! | Er kjøpt hos, og installert av, autorisert installatør / rørlegger. |
| 3 | Utskiftbare komponenter garanteres fri for material- og produksjonsfeil i 2 år fra kjøps-dato, forutsatt at produktet: |
| ∅ | Ikke har vært tilkoblet drikkevannskilde med kalkinnhold over 35 mg/L (5°dH). |
7.1 Kundeservice
Ved problemer som ikke er løsbare etter gjennomgang av feilsøkingsguiden i denne montasjeanvisningen, kontakt enten:
A) Installatøren som leverte produktet.
B) OSO Hotwater AS: Tlf. 32 25 00 00
oso@oso.no / www.oso.no
8. DEMONTERING AV PRODUKTET
8.1 Demontering
A) Koble fra strømtilførselen.
B) Steng inngående kaldtvannstilførsel.
C) Tøm produktet for vann – se punkt. 4.4.
D) Koble fra alle røranslutninger.
E) Produktet kan nå fjernes.
8.2 Returordning
Dette produktet er resirkulerbart, og bør leveres på miljøgjenvinningsstasjon. Dersom produktet erstattes av et nytt kan installatør ta med seg gammel bereder til gjenvinning.

© Alle deler av denne montasjeanvisningen er beskyttet av åndsverksloven og skal ikke reproduseres eller distribueres uten skriftlig avtale med produsenten. Forandringer forbeholdes.
EnkelManual 


