WK 341 400 S - Wijnkelder AMICA - Gratis gebruiksaanwijzing en handleiding
Vind de handleiding van het apparaat gratis WK 341 400 S AMICA in PDF-formaat.
| Technische kenmerken | AMICA WK 341 400 S wijnkelder, capaciteit van 34 flessen, instelbare temperatuur van 5 tot 20°C, digitale display, LED-verlichting. |
|---|---|
| Gebruik | Ideaal voor het bewaren en serveren van uw wijnen op de optimale temperatuur, met houten planken voor veilige opslag. |
| Onderhoud en reparatie | Regelmatig reinigen van het interieur met een zachte doek, controleer de afdichtingen, aanbevolen onderhoud van het koelsysteem. |
| Veiligheid | Voorzien van een veiligheidsslot om ongeautoriseerde toegang te voorkomen, UV-bescherming dankzij de getinte glazen deur. |
| Algemene informatie | Afmetingen: 84,5 x 59,5 x 57 cm, gewicht: 38 kg, energieverbruik: klasse A. |
Veelgestelde vragen - WK 341 400 S AMICA
Gebruikersvragen over WK 341 400 S AMICA
0 vraag over dit apparaat. Beantwoord die u kent of stel uw eigen vraag.
Stel een nieuwe vraag over dit apparaat
Download de handleiding voor uw Wijnkelder in PDF-formaat gratis! Vind uw handleiding WK 341 400 S - AMICA en neem uw elektronisch apparaat weer in handen. Op deze pagina staan alle documenten die nodig zijn voor het gebruik van uw apparaat. WK 341 400 S van het merk AMICA.
GEBRUIKSAANWIJZING WK 341 400 S AMICA
AANWIJZINGEN VOOR VEILIG GEBRUIK 54
INSTALLATIE EN WERKINGSVOORWAARDEN VAN HET APPARAAT 56
KLIMAATKLASSE
57
PRAKTISCHE TIPS 58
UITPAKKEN
59
VERWIJDERING VAN GEBRUIKTE APPARATUUR 59
GEBRUIK EN BEDIENING 60
BEDIENINGSELEMENTEN
60
VENTILATIEOPENINGEN IN ACHT TE NEMEN 64
REINIGING EN ONDERHOUD 65
UITNEMEN VAN DE SCHAPPEN 65
REINIGING
65
VERWIJDEREN VAN DE LADE 65
HET OPLOSSEN VAN PROBLEMEN 65
ALS HET APPARAAT NIET WERKT, CONTROLEERT U HET VOLGENDE: 66
ALS HET APPARAAT NIET GOED WERKT, CONTROLEERT U HET VOLGENDE: 66
ALS HET APPARAAT HERRIE MAAKT, CONTROLEERT U HET VOLGENDE: 66
ALS DE VERLICHING NIET WERKT, CONTROLEERT U HET VOLGENDE: 66
ALS DE DEUR NIET GOED SLUIT, CONTROLEERT U HET VOLGENDE: 66
Vanaf vandaag zijn de dagelijkse klusjes eenvoudiger dan ooit tevoren. Het apparaat Amica is een combinatie van uitzonderlijk bedieningsgemak en perfecte effectiviteit. Na het lezen van de gebruiksaanwijzing kent de bediening voor u geen geheimenmeer.
leder apparaat dat de fabriek verlaat is voor het inpakken op controlekken grondig gecontroleerd op veiligheid en functionaliteit.
Wij VXJU deze gebruiksaanwijzing zorgvuldig doorte lezen voordat u het apparaat inschakelt. Naleving van de aanwijzingen die erin+zijn opgenomen beschermt u tegen onjuist gebruik. Bewaar de gebruiksaanwijzing en zorg dat u hem.altijd binnen handbereik heeft.
Volg de gebruiksaanwijzing nauwkeurig op om oncevallen te voorkomen.
Hoogachtend
Amica
AANWIJZINGEN VOOR VEILIG GEBRUIK
- Het apparaat is uitsluitend bestemd voor huishoudelijk gebruik.
- De produit behoudt zich hetrecht voor om wijzigingen aan te brengen die het gebruik van het apparatusaat Niet beinvloeden.
- De produit is nicht aansprakelijk voor schade die is veroorzaakt doordat de regelsuit deze gebruiks-aanwijzing Nietং nageleefd.
- Bewaar deze gebruiksaanwijzing voor toekomstig gebruik of om door te gehen aan een eventuele volgende gebruiker.
- Dit apparaat is nicht bestemd voor gebruik door Personen (waaronder kinderen) met lichamelijke of geestelijk beperkingen of Personen zonderervaaring met of kennis van het apparaat, tenzij dit gebruikplaatsvindt onder toezicht of overeenkomstig de gebruiksaanwijzing van het apparaat, door Personen die verantwoordelijk zijn voor hun verilgheid.
- Zorg ervoor dat u het apparaat Niet door kinderen zonder toezicht kan worden gebruikt. Laat ze Niet spelen met het apparaat. Ze mogen Niet op de uittrekelementen zitten of aan de deur hangen.
- Het apparaat werkkt correct bij de omgevingstemperatuur die op de productkaart is aangegeven. Gebruik het apparaat Niet in een kelder, hal of onverwarmd zomerhuis in de herfst en winter.
- Wonneer u de koelkast plaatst, verschuift of optilt, grijp hem dan nicht vast aan de deurgrepen, trek Niet aan de condensator op deijkenkant van de koelkast en raak de compressor nit een.
Haal de stekker uit het stopcontact voordat u begint met onderhoudshandelingen. Trek Niet aan de kabel, maar aan de stekker zich. - Geluiden als klikken of kraken worden veroorzaakt door onderdelen die uitzetten en krimpen als gevolg van temperatuurveranderingen.
- Om'veiligheidsredenen mag u het apparaat Niet
zelf repareren. Reparaties die zijn uitgevoerd door personen die nicht over de vereiste kwalificaties beschikken, können een ernstig gevaar opleveren voor de gebruiker van het apparaat.
- Let op dat u het koelcircuit Niet beschadigt, bijvoorbeeld door het doorprikken van de kanalen voor koelmiddel in de verdamper of het breken van de buizen. Ontsnappend koelmiddel is brandhaar. Bij contact met de ogen moet u ze uitspoelen met schoon water en onmiddelijk een arts raadplegen.
- Opgelet! Indien de vaste voedingskabel beschadigd raakt, dient deze bij de producent of een gespecialiseerde reparateur verrangen te worden of door een bevoegde person om gevaar te voorkomen.
- Koppel het apparaat volledig los van het Lichtnet (door de stekker uit het stopcontact te trekken) tijdens werkzaamheden als schoonmaken, onderhoud of verplaatsen.
- Dit apparaat mag gebruikt worden door kinderen van 8aar en ouder, door personen met een lichamelijke, zintuiglijke of verstandelijk beperkingen en Personen zonder ervaring of kennis van het apparaat wonneer op hen gelet wordt of ze geinstruendum zich over het veilig gebruik van het apparaat en ze de bevaren kennen in verband met het gebruik van het apparaat. Kinderen mogen nicht met het apparaat spelen. Reiniging en onderhoud moogen Niet door kinderen gedaan worden tenzij ze 8aar of ouder zich en er toezicht worden gehouden door een geschikte persoon.
- Het apparęat mag 'niet gereinigd te worden met stoom
- Houd het apparaat en de kabel buiten bereik van kinderenjonger dan 8aar.
Dompel de kabel of de stekker nicht onder in water. - Houd de aansluitkabel uit de buurt van hete oppervlakken.
- Laat de kabel nicht over de tafelrand of rand van het werkblad hangen.
- Gebruik geen elektrische apparaten in de koelruimte
-
Gebruik geen gereedschap om het ontdooien teversnellen
-
Maak regelmatig de ventilatieopengen van het apparaat schoon (voor inbouw- of onderbouwaparaten)
- Dit apparaat is nicht ontworpen om te werken met elektronische timers of andere apparaten om de stroomtoevoer direct of op afstand af te sluiten.
- Als u per ongeluk vloeistof op elektrische componenten morst, moet u het apparaat onmiddelijk loskoppelen van het elektriciteitsnet.
- Zorg ervoor dat de voedingskabel nicht worden afgekneld of beschadigd tijdens de installmenteworkzaamheden.
Maak het apparaat onbruikbaar voordat u het wegooit. Dit omvat het loskoppelen en afknippen van de voedingskabel. Verwijder deuren, scharnieren en sloten om te voorkomen dat kinderen of huisdieren opgesloten komen te zitten in het apparaat. - Opgelet: Als het apparaat geen ruimte met *** heeft, betekent dit dat dit koelapparaat Niet geschikt is voor het invriezen van voedingsmiddelen.
- De minimumperiode waarin reserveonderdelen die nodig+zijn om het apparaat te repareren beschikbaar blijven, bedraagt 7 of 10aar, afhankelijk van het type en het doel van het reserveonderdeel, en is in overeenstemming met Verordening (EU) 2019/2019 van de Commissie.
- De lijst met reserveonderdelen en de bestelprocedure zichen beschikbaar op de websites van de fabrikant, importereur of de officièle vertegenwoordiger.
INSTALLATIE EN WERKINGSVOORWAARDEN VAN HET APPARAAT
- Sluit het apparaat pas aan op de voeding 24研究成果 het uitpakken en op de definitieve plaats zetten.
- Pak het product uit en verwijder het plakband waarmee de deuren en accesssoires zichn vastbezet. Achtergebleven lijmresten kurz u met een mild schoonmaakmiddel verwijderen.
Maak de binnenkant van de koelkast en de accessoires schoon met lauw water en een beetje afwasmiddel. Maak, ze daarna, droog. - Plaats de koelkast op een vlakke, horizontale en stabiele ondergrond, in een droge en geventileerde ruimte zonder direct zonlicht,uit de buurt van warmtebronnen zoals een fornuis, radiatoren, cv-leidingen, warmwaterinstallations etc.
Op de buitenoppervlakken van het product kan beschemende folie zitten.
Deze moet u verwijderen.
Zorg ervoor dat het product horizontaal staat door de 2 stelvoetjes in of uit te schroeven (Afb. 1).
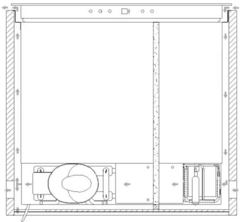
Houd de ruimte aan de zijkanten en achterkant van het toestel vrij (zie montagetekening).
Zorg ervoar dat bij installatione van het apparaat in een inbouwmeubel het ventilatierooster aan de onderkant van de koelkast Niet worden geblokkeerd.
- Na de eerste start van het apparaat kan er een specifieke geur vrijkomen. Deze verdwijnt als de binnenkant van het apparaat is afgekoeld.
- Bij de eerste start zal de compressor van het apparaat continu draaien totdat de gewenste temperatuur in de koelkast is bereikt.
- Na het loskoppelen van de voeding raden we aan het apparaat pas na ten minste 5 minuten opnieuw aan te sluiten. Dit vermindert het risico op beschadiging van de compressor.
Bij bepaalde modellen wordt de juiste temperatuur pas een paar uur na het opstarten van de koelkast op de display weergegeven.
- Sluit het apparaat aan op wisselstroom van 220-240 V en 50 Hz via een juist geinstalleerd stopcontact dat is geaard en beveiligd met een zekering van 10 A.
- Aarding van het apparaat is wettelijk verplicht. De fabrikant is Niet aanspra-kelijk voor eventuele schade aan Personen of voorwerpen als gevolg van het Niet naleven van, de verplichting die deze bepaling oplegt.
- Gebruik geen adapters, stekkerdozen (verdelers) of twee-aderige verlangsnoeren. Indien het noodzakelijk is een verlengsnoer te gebruiken, mag dit uitsluitend een verlengsnoer zijn met een beschermring, een enkel stopcontact en een VDE/GS-veiligheidsattest.
- Als u een verlengsnoer gebruikt (met beschermring en veiligheidskeurmerk), moetশn stopcontact zich op veilige afstand van de gootsteen bevinden en mag het Niet worden blootgesteld aan water of afvalwater.
Zorg'ervoor dat het apparaat makkelijk losgekoppeld kan worden van het elektriciteitsnetwork door de stekker uit het stopcontact te trekken of de dipoolschakelaar uit te schaken.
Klimaatklasse
Informatie over de klimaatklasse van het apparaat vindt u op het typeplaatje. Het geeft aan bij welke omgevingstemperatuur (nl. in de ruimte waarin het product werkt) het product optimaal (correct) presteert.
Klimaatklasse Toelaatbare omgevingstemperatuur
| SN | uitgebrend gematigd | Het koelapparaat is bestemd voor gebruik bij omgevingsttemperaturesen binnen een bereik van 10°C tot 32°C |
| N gematigd | Het koelapparaat is bestemd voor gebruik bij omgevingsttemperaturesen binnen een bereik van 16°C tot 32°C | |
| ST. subtropisch | Het koelapparaat is bestemd voor gebruik bij omgevingsttemperaturesen binnen een bereik van 16°C tot 38°C | |
| T tropisch | Het koelapparaat is bestemd voor gebruik bij omgevingsttemperaturesen binnen een bereik van 16°C tot 43°C | |
PRAKTISCHE TIPS
- Als u het Licht in het apparaat aan LAST, zorgt dit ervoor dat de temperatuur in het apparaat hoger is.
- De binnentemperatuur hangt af van het aantal en het type van de opgeslagen wijnflessen.
- Om de veiligheid van de gebruiker en de hoge kwaliteit van de opgeslagen wijn te garanderen, mag u het apparaat Niet in vochtige ruimtenplaatsen.
- Bewaar de flessen wijn op de aangeduide plaatsen.
- De koelkast heeft een beperkte capaciteit,plaats nicht更是 flessen dan de aangegeven hoeveeelheid (zie de productkaart).
- Open de deur van de koelkast Niet, tengij ditoodzakelijk is.
Bedek de schappen nicht met aluminiumfolie of enig ander materiaal. Dit blokeert de luchtcirculatie in het apparatus. - Om beschadiging van de deurdichting te voorkomen, moet u ervoor zorgen dat de deur volledig open staat voordat u een schap verwijdert. De schappen要去en zo ver möglichk worden ingeschoven, anders kan het schap de dichting verrormen, waardoor hij volledig beschadigd kan raken.
- Trek beladen schappen nicht verder uit dan de uittreklimiet (ongeveer 1/3 van de schaplengte).
- Dit apparaat is bestemd voor het bewaren van flessen wijn. Gebruik het Niet voor andere doeleinden.
- Temperatuurstabilititeit is erg belongingsrijk bij het bewaren van wijn.
- Bootstelling van de koelkast aan zonlicht, große temperatuurschommelingen, hoge vochtigheid en trillingen make n de wijn maar verwachting ongeschikt voor consumptie.
Tijdens perioden met een hoge luchtvochtigheid kan zich condens vormen op de buitenoppervlakken van de glazen deur. Om dit te voorkomen, bevelen we aan om het apparaat in een droge, goed geventileerde ruimte te installereren. - Bepaalde modellen zijn uitgerust met een externe handgreep die u zich moet vastschroeven. Gebruik hiervoort geen elektrisch gereedschap (Afb. 3)*. Trek hiertoe de deurdichting voorzichtig opzij enplaats de schroeven aan de binnenkant van de deur. Lijn de handgreepuit met de gaten aan de buitenkant van de deur en draai de schroeven vast met een schroevendraaier. Plaatsd er deurdichting terug.
- De maximale capaciteit van het apparaat staat vermeld op de productkaart die is meegeleverd met de koelkast. Deze capaciteit geldt voor standard Bordeaux-fleussen van 0,75 l.
- Bepaalde modellen zijn uitgerust met een kantelbeveiliging. Installeer deze volgens het bijgevoegde schema. (Afb. 6)*.
- Dit koelapparaat is bedoeld voor gebruik als inbouwapparaat.
- Om voedingsmiddelen zo lang möglich te kuren bewaren en verspilling te voorkomen,plaatst u de producten zoals weergegeven op Afb. 12. Bovendien toont deze afbeelding de verdeling van laden,manden en planken die zorgt voor het meest efficiente energiegebruik van het koelapparaat.
- Het bewaren van voedingsmiddelen onder de juiste omstandigheden en bij de juiste temperatuur verlengt de houdbaarheid en optimaliseert het elektricieteitsverbruik. Het juiste temperatuurbereik moet op de verpakking of etiketten van voedselproducten zijn vermeld.
*Afhankelijk van het model
UITPAKEN

Het apparaat is beveiligd gegen transportschade. Na het uitpakken moet het verpakkingsmaterialiaal zoverwerkt worden dat er geen risico voor het milieu ontstaat. Al het materiaaal dat voor de verpakking is gebruikt is milieuvriendelijk, het kan voor 100% hergebruikt worden
en het is gelabeld met het bijbehorende symbol.
Attentie! Het verpakkingsmaterialial (polyethyleenzakjes, stukken polystyreen etc.) bij het uitpakken buiten het bereik van kinderen houden.
VERWIJDERING VAN GEBRUIKTE APPARATUUR

Dit product is overeenkomstig met de Europese richtlijn 2012/19/EG. Dit merkteken informeert dat dit apparaat na afloop van zijn levensduur Niet samen met ander huishoudelijk afval verwijderd mag worden. De gebruiker is verplicht om het aan te bieden bij een inzamelpunt voor gebruikte elektrische en elektronische apparatuur.
Deinzamelende instanties, waaronder lokale inzamelpunten, winkels en gemeentelijk instanties vormen een geschikt system voor de inzameling van deze apparatuur. De juiste behandeling van gebruike elektrische en elektronische apparatuur leidt tot het vermijden van consequenties die schadelijk+zijn voor de menselijk gezondheid en de naturuurlijke omgeving en voortkomen uit de aanwezigheid van gevaarlijke bestanddelen en verkeerde opslag en verwerking van dergelijk apparatuur.
GEBRUIK EN BEDIENING
Bedieningselementen

VOEDING
Om het apparaat uit te schakelen houdt u de knop ① 5 secondenlichtjes ingedrukt totdat de temperatuurdisplay uitgaat. Om het apparaat in te schakelen houdt u de knop ① 1 seconde lichtjes ingedrukt totdat de temperatuurdisplay oplicht.
OPGELET: Door op de knop ①te drukken kunt u het alarm uitschakelen wonneer dit aan staat.
VERLIGHTING
Wordt gebruikt om de binnenverlichting aan/uit te zetten
OMHOOG +
Wordt gebruikt om de ingestelde temperatuur met 1^ / 1^ te verhogen.
OMLAAG -
Wordt gebruikt om de ingestelde temperatuur met 1^ / 1^ te verlagen.
^ / ^ -schakelaar
Instellen van de temperatuurweergave in graden Fahrenheit of graden Celsius
Display
Geeft temperatuurcijfers en service-indicatoren weeer.
Controleampje / multifunctionele knoppen
Het contrôlelampje is de stip in de rechtberbenedenhoek van het display. Wanner de multifunctionele knoppen geselecteerd zich, gaat het contro- lampje branden. Om de multifunctionele knoppen te selecteren raakt u de eerste knop aan en houdt u deze ingedrukt, cervolgens raakt u de volgende knop gedurende minstens 5 seconden aan en cervolgens LAST u alle knoppen los.
Als er 2 minuten of langer geen knop worden aangeraakt, worden de opstartvergrendeling (het Kinderslot) automatisch geactiveerd. Om de vergrendeling op te heffen raakt u de toetsen OMHOOG en OMLAAG gedurende minstens 5 seconden tegelijkertijd aan.
Temperatuur instellen
- Het apparaat heeft een instelbare temperatuurzone. De temperatuur kan worden ingesteld tussen 5^ en 20^ ( 41^ en 68^ ). Het apparaat kan worden gezruikt als wijnrijpingskoeler of als serveerkoeler voor wijn. Het aanbevolen temperatuurinstelbereik voor het latent rijpen van wijn is 11^ tot 14^ ( 52^ tot 57^ ). Het aanbevolen temperatuurinstelbereik voor het serveren van witte wijn is 5^ tot 10^ ( 41^ tot 50^ ) en voor het serveren van rode wijn 15^ tot 20^ ( 58^ tot 68^ ).
- Wanneer het apparaat voor het eerst worden aangesloten, worden het automatisch ingeschakeld met de standaardinstelleningen. De in de fabrik ingestelde temperatuur is 12^ ( 54^ ) (ideale rijpingstemperatuur).
- U kunt de gewenste temperatuur instellen door de knop OMHOOG of OMLAAG aan te raken. Wanneer u een van de knoppen voor de eerste keer aanraakt, zar het display de LAST ingestelde temperatuur weergeven. De temperatuur zar met 1^ / 1^ stijgen als u de OMHOOG-toets eenmaal aanraakt of zar met 1^ / 1^ dalen als u de OMLAAG-toets eenmaal aanraakt. Het display knippert verwijl de instelleningen worden ingevoerd.
Zodra de temperatuur is ingesteld, toont het display de huidige temperatuur in het apparaat. - Om de ingestelde temperatuur op elk moment waar te gehen, raakt u de OMHOOG- of OMLAAG-toets aan, waarna de ingestelde temperatuur gedurende 5 seconden op het display knippert. Daarna verschijnt de huidige binnentemperatuur weeer op het display.
TEMPERATUURDISPLAY
Tijdens normal bedrijf geeft het temperatuurdisplay op het bedi-iningspaneel de temperatuur in het apparaat weer. De temperatuurweergave begint te knipperen als
- Er een andere temperatuur worden ingesteld,
- De temperatuur in de zone meer dan 5^ ( 9^ ) afwijk van de ingestelde temperatuur.
De knipperende temperatuurdisplay zorgt ervoor dat de temperatuur Niet ongemerkst stijgt of daalt en de wijn nicht negatief beinvloedt.
Bij een stroomonderbreking (piekstroom, veiligheidsschakelaar, enz.) onthoudt het apparaat de vorige temperatuurinstelleningen. Wanneer de voeding hersteld is, keert de temperatuur in de kast terug maardezelfde ingestelde temperatuur als voor de stroomonderbreking.
TEMPERATUURALARM
Er werkklassen een geluidsalarm als de temperatuur buiten het temperatuurbereik stijgt of daalt. Tegelijkertijd begint het temperatuurdisplay te knipperen.
De temperatuur waarop het apparaat is ingesteld, bepaalt de tempera
tuur die het apparaat herkent als de grens voor te hoog of te laag.
Er werklijk teen geluidsalarm en de temperatuurdisplay begint te knipperen:
- Als de temperatuur in het apparaat na het inschakelen ervan aanzienlijk afwijkst van de ingestelde temperatuur.
- Als er een lange stroomonderbreking is geweest.
- Als er te veel artikelen tegelijk in het apparaat zijn geplaatst. Of wonneer er te veel omgevingslucht is binnengestroomdijdens het verplaatsen en verwijderen van opgeslagen artikelen.
- Wanneer de deur Niet goed gesloten is.
- Het apparaat een storing heeft.
Het geluidsalarm worden automatisch uitgeschakeld, de temperatuurdisplay stocht met knipperen als de ingestelde temperatuur waar bereikt is. Echter, als het geluid storend is, kunt u het geluidsalarm van tevoren uitschakelen door de VOEDING-knop eenmaal aan te raken. Het alarm wordenuitgeschakeld. Het passende temperatuurlampje knippert totdat de ingestelde temperatuur bereikt is. Daarna gaat het display permanent branden en is het alarmsystemeer vier volledig actief.
DEURALARM
Als de deur langer dan 60 seconden open blijft staan, werkklasskt er een geluidsalarm. Door de deur te sluiten of de VOEDING-knop eén keer aan te raken kunt u het geluidsalarm uitschakelen.
BINNENVERLIGHTING
De binnenverlichting maakt het gemakkelijker om de wijnetiketten te bekijken en maakt de collectie better zichtaar. Door de toets VERLICH-TING aan te raken schakelt u tussen 2 modi voor de binnenverlichting: de fonctionele modus (standaard) en de presentatiemodus. In de functionele modus (standaard) gaat de verlichting alleen aan als de deur open staat. De binnenverlichting gaat ongeveer 5 seconden nadat de deur gesloten is weeer uit. In de presentatiemodus brandt de verlichting ongeacht of de deur open staat.
MODUS DYNACLIMA / STILLE MODUS
Het apparaat heeft twee verschillende bedrijfsmodi: DynaClima en Silent.
De DYNACLIMA-modus (Dynamic Climate) zorgt ervoor dat de relatieve vochtigkeit in het apparaat en de temperatuur binnenin gelijkmatig worden verdelijk, zodat alle wijn in precies bezelfde volmaakte omstandigheden kan worden bewaard. Voor het langdurig bewaren van wijn is de DYNACLIMA-modus vereist. Deze modus creeert een permanent klimaat in de kast, die een wijnkelder nabootst.
In de DYNACLIMA-modus zorgt de interne ventilator voor een gelijkmatige luchtcirculatie binnenin, zichs nadat de ingestelde temperatuur is bereikt. Om de DYNACLIMA-modus in te schakelen houdt u de OMLAAG-knop ongeveer vijf seconden ingedrukt. De wijnkoeler zal vijf koer piepen om te bevestigen dat de DYNACLIMA-modus is ingeschakeld. Om de STILLE modus (ook bekend als de energiebesparende modus) in te schakelen houdt u de OMHOOG-knop ongeveer vijf seconden ingedrukt. De wijnkoeler piept drie koer om te bevestigen dat de STILLE modus (standaard) is ingeschakeld.
Sabbatmodus
De sabbatmodus is beschikbaar om bepaalde religieuze feestdagen te vieren. Deze modus schakelt de displays, de binnenverlichting, de pieptonen van knappen en de akoestische alarmen uit en voorkomt dat deze opniew worden ingeschakeld. De normale koelwerking gaat door.
Om de sabbatmodus te starten drukt u gedurende minstens 5 seconden tegelijkkertijd op de knappen VOEDING en ^c / _F . De displays en binnenverlichting gaanuit om te bevestigen dat de sabbatmodus AAN staat.
U kunft de sabbatmodus annulerten door de hierboven beschreiben procedure te herhalen. De sabbatmodus worden na 48 uur automatisch uitgeschakeld.
Als er een aan de bovenkant van het apparaat ofussen dechterwand en het中断paneel van de behuizing opening is om een ventilatiekanaal te vormen, gebruik dan de meegeleverde affdichtspons zoals aangegeven in de onderstaande afbeelding.
WAARSCHUWING: Als de gespecifieerde ventilatieopengingen Niet zich gemaakt, zal de compressor vaker draaien en er langer over doen om op te starten. Dit leidt tot een hoger energieverbruik en hogere bedrijsttemperaturen van de compressor. Dit kan schade aan de compressor veroorzaken. Het is essentieel om de regels voor het makeen van de gespecifieerde ventilatieopeningen in acht te nemen.

Figuur 7:
REINIGING EN ONDERHOUD
Koppel het apparaat los van het elektriciteitsnet voordat u begint met schoonmaken of onderhoud.
Uitnemen van de schappen
- Om de schappen uit de wijnkoelkast te verwijderen, verwijdert u eerst alle flessen en trekt u het schap maar voren totdat de inkepingen aan beiden+zijden van het schapuitgelijnd zichn met de plastic lipjes aan beiden+zijden van de koelruimte (zoals getoond op Afb. 5). Til verwolgens het schap op en trek het�aten uit de koelkast.
- Ga in omgekeerde volgorde te werk om het schap in de koelkast teplaatsen.
Reiniging
- Gebruik geen schurende schoonmaakmiddelen of detergenten. Na het wassen grondig afspoelen en drogen.
Maak de behuizing van het apparaat en de deurdichtingen schoon met water en een mild schoonmaakmiddel, droog ze daarna goed af.
Maak de binnenkant van het apparaat schoon met een oplossing van soda in warm water. - Maak de schappen apart schoon met water en schoonmaakmiddel. Was de schappen Niet af in de vaatwasmachine.
- Veeg het bediëningspaneel af met een vochtige doek en droog het goed af voordat u het apparaat weeop het elektriciteitsnet aansluit.
- Sluit na het schoonmaking het apparaat waar aan op het elektriciteit-snet.
- Als het apparaat gedurende langearend zich nicht zal worden gebruikt, haal dan de stekker uit het stopcontact en kaak het apparaat grondig schoon. Laat de deur op een kier staan om geurvorming en condensatie te voorkomen.
VERWIJDEREN VAN DE LADE
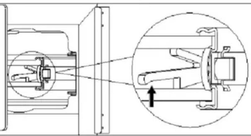
- Om de lade te verwijderen schuift u deze zover möglichkuit de rails en de verwijdert u alle flessen uit de lade.
Draai de schroef los waarmee de kabelafdekking aan de linkerkant aan de lade bevestigd is, zoals getoond in afbeelding 1, en verwijder de kabelafdekking.
Maak verrolgens de kabel maar de lade los.
Duw de ontgrendelingshendel van de linker schuiver omlaag en til tege-lijkertijd de overeenkomstige hendel van de rechtter schuiver omhoog en trek de lade maar buiten totdat deze loskomt van de geleiders en de kast, zoals getoond in afbeelding 2.
Volg de procedure in omgekeerde volgorde om de plank te installereren.
HET OPLOSSEN VAN PROBLEMEN
Controleer in geval van problemen eerst de tips voor het oplossen van problemen voordat u de servicedienst belt, zDat u onnodige bezoeken van de servicedienst en kosten voorkomt.
Als het apparaat nicht werkt, contrôleert u het volgende:
- Is het apparaat aangesloten op het elektriciteitsnet?
- Werken de zekeringen of stroomonderbrekers in uw huis nog goed?
- Functioneert het stopcontact? Sluit andere elektrische apparaten aan om te controleren of het stopcontact nog functioneert.
- De omgevingstemperatuur moet vallen binnen de klimaatklasse waarvoor het apparaat is ontworpen.
Als het apparaat nicht goed werk, contrôleert u het volgende:
- Is het apparaat Niet overbelast?
- Is er wel de juiste temperatuur ingesteld?
- Is de deur goed gesloten?
- Sluit de deurdichting goed aan?
- Is de ventilatie aan de zijkanten en dechterkant wel voldoende?
- De omgevingstemperatuur moet vallen binnen de klimaatklasse waarvoor het apparaat is ontworpen.
Als het apparaat herrie maakt, contrôleert u het volgende:
- Staat het apparaat waterpas en stabel?
- Het koelgas in het systeme maakt geluid, zichs als de compressor Niet werkt.
- Tijdens de werkking van het apparatus kan de ventilator draaien, zichs als de compressor nicht werkt.
Als de verlichting nicht werkt, contrôleert u het volgende:
- Is het apparaat aangesloten op het elektriciteitsnet?
- Werken de zekeringen of stroomonderbrekers in uw huis nog goed?
- Staat delichtknop Niet in de uit-stand?
Opgelet:
Ledverlichting moet worden onderhonden door een technicus. Repareen de verlichting Niet zonder de juiste bevoegtheid.
Als de leur nicht goed sluit, contrôleert u het volgende:
- Staat het apparaat waterpas en stabel?
- Als de deur eerder verwijderd is, kan het zijn dat hij nicht correct is gemonteerd.
- De deurdichting is vuil.
- De schappen zichn nicht correct geplaatst.
Als op de display "E1" of "E2" brandt
- Beschadiging van de temperatuurvoeler. Neem contact op met de servicedienst.
EPREL
Meer informatatie over het product vindt u in de Europese productdatabase voor energie-etikettering EPREL op de website https://eprel.ec.europa.eu. U Kunt de informatatie verkrijgen door de QR-code op het energie-etiket te scannen of door het productmodel in te voeren in de Zoekmachine van EPREL https://eprel.ec.europa.eu/
GARANTIE, SERVICE
Garantie
De garantieverplichtingen blijken uit het garantiebewijs. De produit is Niet aansprakelijk voor schade die is veroorzaakt door oneigenlijk gebruik van het product.
Service
- De produit van het apparaat raadt aan om alle reparations en afstelwerkzaamheden uit te latent voeren door de fabrieksservice of de geautoriseerde service van de produit. Om veiligheidsredenen mag u het apparaat Niet zich repareren.
- Reparations die 'zijn uitgevoerd door personen die nicht over de vereiste kwalificaties beschikken,{kunnen een ernstig gevaar opleveren voor de gebruiker van het.apparaat.
- De minimale garantiepiode voor het apparaat die door de fabrikant, importeur of gevolmachtigde worden aangeboden, staat vermeld op het garantiebewijs.
- Het apparaat verliest zijn garantie als gevolg van eigenhandige aanpassingen, wijzigingen, schending van de verzegeling of andere beveiligingen van het apparaat of onderdelen waarvan, en andere eigenhandige intervenie in de apparatuur die nicht in overeenstemming is met de gebruiksaanwijzig.
Reparatiemelding en assistentie bij storingen
Als het apparaat gerepareerd moet worden,要去 u contact opnemen met de klantenservice. De adresgeveens en het telefoonnummer van de klantenservice vindt op het garantiebewijs. Als u contact opneemt, zorg er dan voor dat u het seriENUMmer van het apparaat bij de hand hebft, dit staat op het typeplaatje. Voor uw gemak kunt u het hieronder noteren:

Verklaring van de producent
Hierbij verklaart de producent, dat het product aan de eisen van de onderstaande Europese richtlijnen voldoet:
Laagspanningsrichtlijn 2014/35/EC
- Richtlijn elektromagnetische compatibiliteit 2014/30/EC
Richtlijn 2009/1257EC
Richtlijn RoHS 2011/65/EC
en over de certifi cering en de conformiteitsverklaring voor organen die toezicht op de markt honden beschikt.












EN
Als de temperatuur in de compacte oven is ingesteld op meer dan 100^ , kan dit de temperatuur in de wijnlade beinvloeden.

4

5

7

8a

8b

5



5


Amica S.A.
ul . Mickiewicza 52 / 64- 510 WronkiTel. 67 25 46 100 / fax 67 25 40 320
www.amica.pl
Amica International GmbH
Lüdinghauser Str. 52
D-59387 Ascheberg
Tel: 0 25 93 - 95 67- 0
www.amica-group.de
SimpelGids