LST 328 AHA - Vaatwassers HOTPOINT-ARISTON - Gratis gebruiksaanwijzing en handleiding
Vind de handleiding van het apparaat gratis LST 328 AHA HOTPOINT-ARISTON in PDF-formaat.
Download de handleiding voor uw Vaatwassers in PDF-formaat gratis! Vind uw handleiding LST 328 AHA - HOTPOINT-ARISTON en neem uw elektronisch apparaat weer in handen. Op deze pagina staan alle documenten die nodig zijn voor het gebruik van uw apparaat. LST 328 AHA van het merk HOTPOINT-ARISTON.
GEBRUIKSAANWIJZING LST 328 AHA HOTPOINT-ARISTON
Plaatsing en waterpas zetten
Hydraulische en elektrische aansluitingen
Aanwijzingen voor de eerste afwascyclus
Technische gegevens
Beschrijving van het apparatusat, 52
Aanzichttekening
Bedieningspaneel
LST 328
Het laden van derekken, 53
Onderrek
Bestekkorf
Bovenrek
Starten en gebruik, 54-55
Het starten van de afwasautomaat
Het vaatwasmiddel toevoegen
Afwasopties
Programma's, 56
Programmatabel
Glansmiddel en onthardingszout, 57
Het glansmiddel toevoegen
Het onthardingszout toevoegen
Onderhoud en verzorging, 58
Water en elektrische stroom afluien
Reinigen van de afwasautomaat
Vermijden van verwelende luchtjes
Reinigen van de spreoiarmen
Reinigen van het watertoevoerfilter
Reinigen van de filters
Als u langereijd geen gebruik maakt van de
afwasautoaat
Voorzorgsmaatregelen, advies en Service, 59
Algemene veiligheid
Afvalverwijdering
Energiebesparing en respect voor het milieu
Service
Storingen en oplossingen, 60
NL
A Bewaar dit boekje zorgvuldig voor eventuele toekomstige raadpleging. Wanner u het product weggeeft, verkoopt of wanner u verhuist, dient u dit boekje bij het apparaat te bewaren.
A Lees de gebruiksaanwijzingen zorgvuldig door: er staat belangrijke informatie in over installment, gebruik en veiligheid.
A Als u het apparaat verplaatst moet u het verticalaal houden; als dit Niet mogelijk is moet u het waar achteren kantelen.
A Dit apparatus is ontworpen voor huiselijk gebruik of gelifkoortige toepassingen, bijvoorbeeld:
- keulenblokken voor personeel in winkels, kantoen en andere werkomgeveingen;
- boerderijen;
- gebruik door klanten in hotels, motels en andersoorlige verblijfsmogelijkheden;
- bed and breakfast.
Plaatsing en waterpas zetten
- Haal het apparaat UIT de verpakking en controllerer dat het geen schade heeft geledenijdens het transport.
Als het apparaat beschadigd is, moet u het Niet aansluiten maar de dealer inschakelen. - De afwasautomaat moet met de zichkant of de achterkant gegen de aang renzende kastjes of de wand worden geinstalleerd. Dit apparaat kan ook onder het aanrecht worden ingebouwd* (zie Montageblad).
- Plaats de afwasautmaat op een rechte en stevige vloer. Compenseer eventuele onregelmatigheden door de voorste stelvoetjes los- of vast te draaien, totdat het apparaat horizontaal staat. Een correcte nivelling geeft stabiliteit en voorkomtrillingen, geluiden en verplaatsingen.
4^* . Om de hoogte van hetijkenste stelvoetje te regelen要去 draaien aan de zeshoekige rode beslagring aan de onder-/voorlijke in het midden van de afwasautomaat. Gebruik hiervoor een zeshoekige sleutel met een opening van 8mm . Draai rechtsom om de hoogte te vermeerderen, linksom om de hoogte te verminderen (zie instructieblad voor de inbouw die bij de documentatie worden geleverd).
Hydraulische en elektrische aansluitingen
A Het voor de installmentie aanpassen aan het elektrische en hydraulische system mag alleen door erkende technici worden uitgevoerd.
A De afwasautmaat mag nicht bovenop de buizen of de elektrische voedingskabel worden geplaatst.
A Het apparatusa dient aangesloten te zich op de waterleiding met{nieuwe buizen.
Gebruik geen oude buizen.
De buizen voor de toevoer en de afvoer van het water, en de elektrische voedingskabel+kennen voor een optimale installment zowel hier rechts als hier links worden gericht.
Aansluiting van de buis voor de watertoevoer
- Aansluiting op de koudwaterkraan: schroef de toevoerbuis op een kraan met schroefdraad van 3/4 gas. Voor u hem vastschroeft moet u het water lately lopen tot het compleet holder is. Zo voorkomt u dat eventuele onzuiverheden het apparaat doein verstoppen.
- Aansluiting op de warmwaterkraan: als er een centrale verwarming is met radiatoren kan de afwasautomaat worden voorzien met warm water mits dit water Niet warmer is dan 60^ .
Schroef de buis aan de kraan zoals beschreiben voor de koudwateraansluiting.
A Als de lenghte van de toevoerbuis Niet toereikend is, dient u zich te wenden tot een specialzaak of tot een erkende monteur (zie Service).
A De waterdruk要去 zich bevinden:tussen de waarden die staan vermeld in de tabel met Technische gegevens (zie hiernaast).
A Zorg ervoor dat de buis nicht worden gebogen of samengedrukt.
Aansluiting van de waterafvoerslang
steek de slang, zonder deze te buigen, in een afvoerleiding met een minimumdoorsnede van 4 cm.

De afvoerslang要去en hoogte tussen de 40 en 80 cm van de vloer of het steunvlak van de vaatwasser (A) bevinden. Verwijder de plastic dop (B) alvorens de waterafvoerslang aan de sifon van de goatsteen aan te sluiten.
Lekkagebeveiliging
Om lekkages te voorkomen is de afwasaautomaat:
- voorzien van een system dat de watertoevoer onderbreekt in geval van storingen of lekkages van binnenuit.
Enkele modellen zijn voorzien van een aanvullend beveiligingsmechanisme New Acqua Stop*, dat de lekkage ook voorkomt in het geval de toevoerbuis kapotgaat.

BELANGRIJK: GEVAARLIJKE SPANNING!
De toevoerbuis mag in geen geval worden doorgesneden: hij bevat onderdelen die onder spanning staan.
- Alleen aanwezig op bepaalde modellen.
Elektrische aansluiting
Voordat u de stekker in het stopcontact steekt, moet u zich ervan verzekeren dat:
- het stopcontact geaard is en voldoet aan de geldende normen;
- het stopcontact in staat is het maximale vermogen van het apparaat te dragen. Dit vermogen worden aangegeven op het typeplaatje aan de binnenkant van de deur (zie hoofdstuk Beschrijving van de afwasautomaat);
- de spanningswaarden zich bevinden:tussen de waarden die staan aangegeven op het typeplaatje aan de binnenkant van de deur;
- de stekker van het apparaat en het stopcontact overeenkomen. Als dit Niet het geval is moet u een bevoegde monteur inschaken om de stekker te lately verrangen (zie Service); gelebruik geen verlengsnoeren of dubbelstekkers.
A Wanner het apparaat is geinstalleerd, moeten de elektrische voedingskabel en het stopcontact makkelijk te bereiken zich.
A De kabel mag nicht worden gebogen of samengedrukt.
In het geval dat de voedingskabel beschadigd is, dient\
deze verrangen te worden door de fabrikant of door uw Installa-
teur, zodate elk risico vermeden worden. (Zie Service)
A De fabrikant kan nicht verantwoordelijk worden gesteld als\
deze normen nicht worden nageleefd.
Anticondensstrip*
Nadat u de afwasautomaat hebft ingebouwd opent u de deur en plakt u de doorzlichtige plankstrip onder het houten werkvlak, zodat u het beschermt gegen eventuele condens.
Aanwijzingen voor de eerste afwascyclus
Nadat het apparaat is geinstalleerd, onmiddelijk voor de eerste afwasbeurt, moet u het zoutreservoir volledig met water vullen en ongeveer 1 kg onthardingszout toevoegen (zie hoofdstuk Glansmiddel en onthardingszout): het is normala dat erijdens deze handeling water overloopt. Selecteer de hardheid van het water (zie hoofdstuk Glansmiddel en onthardingszout).
- Na het vullen van het onthardingszout gaat het controleampje ZOUT TOEVOEGEN*uit.
A Als u geen onthardingszout toevoegt kan de waterontharden het verwarmingselement worden beschadigd.
| Technische gegevens | |
| Afmetingen | breedte cm 44,5 hoogte cm 82 diepte cm 57 |
| Capaciteit 10 bordensets | |
| Waterdruk toevoer | 0,05 ÷ 1 MPa (0,5 ÷ 10 bar) 7,25 psi - 145 psi |
| Netspanning Zie typeplaatje | |
| Totaal opnemingsvermogen | Zie typeplaatje |
| Zekering Zie typeplaatje | |
| CE | Deze afwasautomaat voldoet aan de volgende EU richtlijnen: - 2006/95/EC (Laagspanning) - 2004/108/EC (Elektromagnetische Compatibleit) |
| - 2005/32/EC (Comm. Reg. 1275/2008) (Ecodesign) | |
| -97/17/EC (Etikettering) | |
| -2002/96/EC | |
ECODESIGN REGULATION
De ECO-wascyclus is het standardprogramma waarop de gegevens op het energielabel betrekking hebben: dieze cyclus is geschikt voor het reinigen van normala vuile afwas en is het meest efficiente programma voor wat betreft energie- en waterverbruik voor dit soort afwas. Voor een zuiniger verbruik de afwasmachine volgeladen latent draaien.
Verbruik in standby: Verbruik in left-on stand: 3 W - verbruik in off mode: 1,3 W
Tabel met verbruik voor de hoofdcycli
| Standaardomstandigheden* | Gebruikersomstandigheden** | |||||
| Energieverbruik(KWh/cyclus) | Waterverbruik(I/cyclus) | Duur (min/cyclus) | Energieverbruik(KWh/cyclus) | Waterverbruik(I/cyclus) | Duur(min/cyclus) | |
| INTENSIEF | 1,25 | 13 | 150 | 1,05 | 13 | 140 |
| NORMAAL | 1,00 | 13 | 115 | 0,90 | 13 | 110 |
* De gegevens van het programma zijn laboratorium meetwaarden die volgens de Europese vorm EN 50242 verzameld zijn. ** De gegevens zijn verzameld door het uitvoeren van metingen onder gebruiksomstandigheden met een door bebruikers geladen afwasmachine.
Beschrijving van het apparatusat

Aanzichttekening

- Bovenrek
- Bovenste sproeiarm
- Opklaprekjes
- Regelen hoogte rek
- Onderrek
- Onderste spreoiarm
- Bestekkorf
8.Filter
9.Zoutreservoir - Bakjes voor afwasmiddel en glansmiddelreservoir
11.Typeplaatje - Bedieningspaneel
Bedieningspaneel

***Alleen op modellen voor volledige inbouw.
* Alleen aanwezig op bepaalde modellen.
Het aantal en het soort programma's en opties verschilt aan de hand van het model afwasautomaat.
Voordat u de vaat inlaadt moet u overtollige etensresten verwilderen en glazen en bekers legen.
Het vaatwerk zo in de machine plaatsen dat het stevig op zijnplaats zit en nicht omvalt.
Nadat u alles heeft ingeladen moet u controleren of desproeiarmen vrij hunnen ronddraaien.
Onderrek
In het onderrek(Intkunt u pannen, deksels, borden, slakommen, bestek, etc. plaatsen, volgens de Inlaadvoorbeelden.
Grote deksels en borden können het Beste aan de zijkanten van het rek worden geplaatst. Zorg ervoor dat ze het draaien van de bovenste spreiem Niet verhinderen.

Enkele modellen afwasa automaat beschikken over uitklapbare delen'. Deze kunnen in verticale stand worden gebruikt voor het laden van borden, of in horizontale stand voor het laden van pannen en slakommen.
Bestekkorf
De bestekkorf verschilt aan de hand van het model afwasautomaat.
De bestekkorf要去 aan de voorzijde van het onderrek worden geplaatst. Hij kan worden verschovenussen de vaste delen of ook op het bovenrek gezet worden. Deze oplossing is ideaal voor het wassen van een halve lading (bij modellen die beschikken over deze optie).

Hij is voorzien van beweegbare rekjes waarmee u het bestek beter kunt opbergen.
Messen en andere gebruiksvoorwerpen met scherpe punten dienen met de puntenaar beneden in de bestekkorf of in horizontale positie in de opklaprekjes van de het bovenrek geplaatst te worden.
Inlaadvoorbeelden bestekkorf

Bovenrek
Plaats hier de fijnere enlichtere vaat: glazen, theekopjes, mokken, bordjes,kleine slabakken, koekenpannen, lage, Niet zo vuile pannen, zoals beschreiben in de Inladaadvoorbeelden.
- Mokken en kopjes, lange en scherpe messen, opschepbestek:plaats deze op de opklaprekjes**.
Opklaprekjes met verschillende inclinatiehoeken* - M.b.v. de verschillende inclinations van het rekjve verkrijgt u meer ruimte in het bovenrek. U kurz zo beter wijnglazen van verschillende hoogtes plaatsen en ook de droogprestaties verbeteren.
Inclinatie A Inclinatie B Inclinatie C



- Til het rekke op, schuif het een Klein beetje op enplaats het in de gewenste stand.
Het regelen van de hoogte van het bovenrek
Om de vaat beter te kunnen verdelen,kest u het bovenrek hoger oflager zetten.
A We raden u aan de hoogte van het bovenrek te regelen als het REK LEEG IS.
Til of laat het rek nooit aan een enkele kant neer.

Open de grendeltjes van de rails aan de rechter- en aan de linkerkant en haal het rek maar buiten;plaats het boven of onder en schuif het over de rails totdat ook de voorste wieltjes erin zitten; sluitervolgens de grendeltjes (zie afbeelding).

Als het rek voorzien is van "Dual Space" hendels (zie afbeelding) haalt u het bovenrek maar voren tot aan het einde, houdt u de hendels aan de zijkant van het rek vast en verplaatst u het�<|im_start|>
beneden zakken.
Voorbeelden van het inladen van het bovenrek

Voorbeelden van het inladen van het onderrek

Vaat die nicht geschickt is voor de afwasautomaat
- Houten voorwerpen of met een handvat van hout, hoorn of met delen die+zijn vastgelijmd.
- Voorwerpen van aluminium, koper, messing of tin.
- Niet hittebestendige plastic voorwerpen.
Antiek of handbeschilderd porselein. - Antiek zilver. Niet antiek zilver kan darüber wel met een fjn programma worden gewassen. Zorg ervoor dat het nicht in contact kommt met andere metalen.
A We raden u aan vaatwerk te gebruiken dat wel geschikt is voor de afwasautomaat.
NL

Het starten van de afwasa automaat
- Open de waterkraan.
- Open de deur en druk op de ON-OFF toets: u hoor een korte pieptoon. Het controelampje ON/OFF, het display en het controelampje van de opties gaan aan.
- Doseer het vaatwasmiddel (zie onder).
- Laad de rekken (zie Het laden van de rekken).
- Kies het afwasprogrammaaar gelang het soort vaatwerk en het type vuil (zie de programmatabel) door op de toets P te drukken.
- Selecteer de wasopties (zie hiernaast).
- Als u de deur sluit start het programma: een lange pieptoon geeft aan dat het programma is begonnen.
- Aan het einde zullen twee korte en een lange pieptoon aangeven dat het programma is beeindigd. Het nummer van het programma za op het display gaan knipperen. Open de deur, schakel het apparaat uit met de ON-OFF toets, doe de waterkraan zich en haal de stekker uit het stopcontact.
- Wacht enkele minuten voordat u de vaat eruit haalt om te voorkomen dat u zich verbrandt. Laad de vaat uit, beginnend met het onderrek.
- Om het energieverbruik te verminderen, worden de machine onder bepaalde omstandigheden van NIET gebruik automatisch uitgezet.
PROGRAMMA'S AUTO*: dit model afwasautomaat beschikt over een speciale sensor die kan waarnenen hoe vuil de vaat is en het meest efficiente en zuinige wasprogramma ervoor kiezen. De duur van de automatische programma's hangt als gevolg af van wat de sensor waarneemt.
A Als de vaat Niet zo vuil is of reeds is afgespoeld, dient u de dosis vaatwasmiddel aanzienlijk te beperken.
Het wijzigen van een reeds gestart programma
Als u een verkeerd programma heeft geseleerd kunt u dit wijzigen, mits het net gestart is: open de deur en zorg ervoor u Niet te branden met de vrijkomende stoom. Door langereijd te drukken op de ON/OFF toets gaat het apparaat UIT en hoort u een lange pieptoon. Doe het apparaat wee aan met de ON/OFF toets en selecteer het neue programma en de eventuele opties. Start de afwasautomaat door de deur te sluiten.
Het toevoegen van overige vaat
Zonder de afwasautomaat uit te zetten opent u de deur. Pas op de vrijkomende hete stoom, en doe de vaat in de afwasautomaat. Sluit de deur: de wascyclus worden hervat.
Onvoorziene onderbrekingen
Alsijdens het wassen de deur worden geopend of er een stroomonderbreking plaatsvindt, worden het programma onderbroken. Het zal worden hervat op het punt waar het werden onderbroken als de deur wee derichtgaat of wanner de stroom terugkeert.
Het vaatwasmiddel toevoegen
Een goed wasresultaat hangt ook af van een correcte dosering van het vaatwasmiddel. Teveel wasmiddel betekent Niet automatisch een efficientreinriging. Bovendlen is dit Niet goed voor het milieu.
Gebruik alleen specifiek vaatwasmiddel.
GEBRUK NOOIT awasmiddel voor het met de hand wassen.
A Een overmatig gebruik van afwasmiddel kan schuimresiduen overlaten aan het einde van de wascyclus.
A We raden u aan alleen tabletten te gebruiken bijuitvoeringen waar de optie MULTIFUNCTIE TABLETEN bestaat.
A De Beste was- en droogprestaties bereikt u met het gebruik van een vaatwasmiddel in poedervorm, een vloeijaar glansspoelmiddel en onthardingszout.
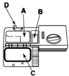
bakje A: Vaatwasmiddel hoofdwas
bakje B: Vaatwasmiddel voorwaa

- Open het deksel C door te drukken op de knop D.
- Doseer het vaatwasmiddel met behulp van de Programmatabel:
- vaatwasmiddel in poeder: bakjes A en B.
- tabletten: wanner het programma
1 tablet vereist doet u hem in het
bakje A en sluit u het deksel. Wanner
het programme 2 tabletten vereist, doet u de tweede op de bodem van de afwasautomaat.
- Verwijder de eventuele wasmiddelresten van de rand van het bakje en sluit het deksel met een klik.
Afwasopties
Als een optie Niet compatibel is met het geselecteerde programma (zie programmatabel) zal de betreffende led 3 maal能力和 knipperen en hoort u 2 korte pieptonen.
Uitgestelde start
Het is möglich het starten van een programme 3,6 of 9 uwui te stellen:
- Druk op de toets UITGESTELDE START: elke keer dat u op de toets drukt hoogt u een geluidssignaal en za de gekozen vrij worden getoond;
- Selecteer het programme en sluit de deur: na de pieptoon begint het terugtellen;
- Als deijd verstreken is gaat het contrôlelampje uit en start het programme.
Om de uitgestelde start te wijzigen en een korter uiststel te selectoreren moet u op de toets UITGESTELDE START drukken. Om dit te annuleren drukt u enkele keren op de toets totdat het controelampje van de uitgestelde start uitgaat. Het programme worden gestart op het moment dat de deur dichtgaat.
Halve lading op het boven- of onderrek\*
Als u weinig vaat heeft faktukt u een halve lading wassen en zo water, energie en vaatwasmiddel besparen. Selecteer het programma en druk op de toets HALVE LADING: het driehoekje met betrekking tot de gekozen lading gaat aan en alleen de vaat in het boven- of onderrek worden gewassen.
A Deze optie kan nicht worden gekozen samen met het programma: Snel, WELTERUSTEN (Good Night).
A Laad de vaat alleen in het boven- of onderrek en doe slechts de helft van de hoeveelheid wasmiddel in het bakje.
Multifunctie tabletten*
Met deze optie krijgt u de Beste was- en droogresultaten. Als u multifunctie tabletten gebruikt moet u op de toets MULTIFUNCTIE TABLETTEN drukken. Het betreffende controleampje.gaat aan. Bij de optie "Multifunctie Tabletten"duurt het programmaietis langer.
A De optie MULTIFUNCTIE TABLETTEN blijft ook de volgende keren aanstaan, als u hem nicht uitschakelt.
We raden u aan alleen tabletten te gebruiken bijuitvoeringen waar de optie MULTIFUNCTIE TABLETENbestaat.
Deze optie worden afgeraden bij programme's die nicht op het gebruik van multifunctie tabletten zijn ingesteld (zie de tabel van de opties).
| Tabel Opties | A | B | |
| Uitgestelde Start | Halve lading | Multifunctie tabletten | |
| 1. Eco | Ja | Ja | Ja |
| 2. Auto Normaal | Ja | Ja | Ja |
| 3. Weken | Ja | Ja | Nee |
| 4. Intensief | Ja | Ja | Ja |
| 5. Snel | Ja | Nee | Ja |
| 6. Kristal | Ja | Ja | Ja |
| 7. Ultra Intensive | Ja | Ja | Ja |
| 8. Good Night | Ja | Nee | Ja |
*Alleen aanwezig op bepaalde modellen.

Voor de OPTIES dient u de tabel Opties te raadplegen op de pagina Starten en Gebruik.
A Het aantal en het soort programma's en opties verschilt aan de hand van het model afwasautoaat.
| Aanwijzingen voor deprogrammakeuze | Programma | Vaatwasmiddel(A) = bakje A(B) = bakje B | Program-ma's met droog functie | Opties | Duur van hetprogramma(tolerantie±10%)Hr. Min. | ||
| Poeder | Vloeijaar | Tableten | |||||
| Ecologisch wasprogramma metlaag energieverbruik, geschiktvoor vaat en pannen. | 50eco1. Eco* | 25 g (A) | 25 ml (A) | 1 (A) | Ja | A-B-C | 2:50' |
| Normaal vuile vaat en pannen.Standaard programma dagelijks. | 2. Auto Normaal | 21 g (A)4 g (B) | 21 ml (A)4 ml (B) | 1 (A) | Ja | A-B-C | 1:50' |
| Voorwas in afwachting van delading van de volgende maaltijd. | 3. Weken | Nee | Nee | Nee | Nee | A-B | 0:08' |
| Zeer vuile vaat en pannen (niet tegebruiken voor teen vaatwerk). | 4. Intensief | 25 g (A) | 25 ml (A) | 1 (A) | Ja | A-B-C | 2:25' |
| Zuinige snelle cyclus voor Niet zo vuile vaat, direct na gebruik. (2borden + 2 glazen + 4 delenbestek + 1 pan + 1 pannetje) | 5. Snel | 21 g (A) | 21 ml (A) | 1 (A) | Nee | A-C | 0:25' |
| Zuinige, snelle cyclus voor teenvaatwerk dat gevoelig is voor hoge Temperaturen, direct na gebruik.(wijnglazen bovenrek + breekbareborden, onderrek). | 6. Kristal | 25 g (A) | 25 ml (A) | 1 (A) | Ja | A-B-C | 1:30' |
| Uitzonderlijk vuile vaat of metaangekoekt voedsel. | 7. Ultra Intensive | 25 g (A)4 g (B) | 25 ml (A)4 ml (B) | 1 (A)1 (bodemmachine) | Ja | A-B-C | 2:35' |
| Garandeert optimale prestaties,beperkt energieverbruikengeluidloosheid. Geschikt voorgebruik 's nachts. | 8. Good Night | 21 g (A)4 g (B) | 21 ml (A)4 ml (B) | 1 (A) | Ja | A-C | 3:30' |
N.B.:
De beste prestaties van de programma's "Snel" worden bereikt als u het aantal aangegeven couverts nicht overschrijdt.
- Het programme Eco volgt de richtlijn EN-50242 en heeft een langere duur dan de rest van de programme's. Dit programme heeft echter het laagste energieverbruik en is het minst schadelijk voor het milieu.
Aanwijzing voor de Proeflaboratoria: voor gedetailleerde informatie over de omstandigheden van de EN vergelijkingsproof(Inte contact opnemen met: ASSISTENZA_EN_LVS@indesitcompany.com
Om de dosering van het wasmiddel te vereenvoudigen is het goed te weten dat:
1 eetlepel = 15 gram poeder = 15 ml vloeijaar wasmiddel circa - 1 theelepel = 5 gram poeder = 5 ml vloeijaar wasmiddel circa
A Gebruik uitsluitend producten die special voor afwasautomaten zich bestemd.
Gebruik geen keukenzout of industrieel zout en ook geen wasmiddelen voor handwas. Volg de aanwijzingen op de verpakking.
A Als u een multifunctie product gebruikt is het Niet nodig een glansmiddel toe te voegen. We raden u echter wel aan onthardingszout toe te voegen als het water hard of zeer hard is. Volg de aanwijzingen op de verpakking.
A Als u geen zout of glansmiddel toevoegt is het normal dat de controleampjes ZOUT TOEVOEGEN* en GLANSMIDDEL TOEVOEGEN* blijven aan staan.
Het glansmiddel toevoegen
Het glansmiddel bevordert het drogen van de vaat door het water van het oppervlak te lately glijden. Op deze manier voorkomt u strepen en vlekken.
Het glansmiddelreservoir moet worden gezuld:
- als op het bedieningspaneel het contrôlelampje GLANSMIDDEL TOEVOEGEN* aangaat;

Giet het glansmiddel NOoit
- Open het reservoir door de dop (G) gegen de klok in te draaien.
- Giet het glansmiddel in het reservoir zonder te morsen. Als u wel morst, moet u het product gewiek met een droge doek verwijderen.
- Schroef de dop weeer op zich plaats.
Het regelen van de dosis glansmiddel
Als u Niet tevreden bent over de droogresultaten, kut u de dosis glansmiddel afregelen. U kut met een schroevendraaier aan de regelaar (F) draaien en kiezenussen 6 verschillende standen (de fabrieksinstelling is op stand 4):
- als u op de vaat strepen aantreft要去 een lagere stand instellen (1-3).
- als u waterdruppels of kalkaanslag aantreft moet u een hogere stand instellen (4-6).
Instellen hardheid van het water
Elke afwasautomaat is voorzien van een waterontharder die, met behulp van speciaal onthardingszout, kalkvrij water levert voor het wassen van de vaat.
In deze afwasa automaat kan de waterontharder aan de hand van de waterhardheid worden geregeld voor het beperken van de verwuiling en het optimaliseren van de wasprestaties. Dit geveven(Intkunt u bij uwplaatselijk waterbedrijf opvragen.
- Open de deur en schakel het apparaat in door op de ON/OFF toets te drukken.
-
Druk ongeveer 5 seconden op de P toets. U hoog twee korte pieptonen. Op het display knippert langzaam het nummer van de ingestelde hardheid (de ontharder staat standard op stand n.3).
-
Druk net zolang op de P toets tot u de gewenste hardheid bereikt (1-2-3-4-5* Zie tabel Hardheid van het water).
-
Om de functie te verlaten, enkele seconden wachten, op een andere toets van de opties* drukken of de afwasmachine uitschakelen met de ON/OFF toets.
Als u multifunctie tabletten gebruikt moet u toch het zoutreservoin vullen.
| Tabel Waterhardheid | Gemiddelde duur**zoutreservoir | |||
| niveau | °dH | °FH | mmol/l | maanden |
| 1 | 0 - 6 0 - 1 | 0 0 - 1 | 7 maanden | |
| 2 | 6 - 11 11 | - 20 1,1 | - 2 | 5 maanden |
| 3 | 12 - 17 21 | - 30 2,1 | - 3 | 3 maanden |
| 4 | 17 - 34 31 | - 60 3,1 | - 6 | 2 maanden |
| 5* | 34 - 50 | 61 - 90 | 6,1 - 9 | 2/3 weken |
| Van 0°f tot 10°f raden wij u aan geen onthardingszout te gebruiken.*als u 5 instelt kan de duur iets longer+zijn.** met 1 cyclus per dag | ||||
dH = waterhardheid in Duitse grade ^ = waterhardheid in Franse grade - mmol/l = millimol/liter)
Het onthardingszout toevoegen
Om goede wasresultaten te bereiken moet u alkijd controlleren of het zoutreservoir voldoende bevuld is. Het zout verwijdert het kalk uit het water en zorgt ervoor dat er geen kalkaanslag op de vaat achechterblijt.
Het zoutreservoir bevindt zich aan de onderzijde van de afwasautomaat (zie Beschrijving) en moet worden gezuld:
- als de groene drijver ^ Niet zichtaar is wonneer u de dop van het zoutreservoir bekijkt;
- als op het bedieningspaneel het contrôlelampje ZOUT TOEVOEGEN* aangaat;

- Haal het onderrek waar voren en draai de dop van het zoutreservoir gegen de klok in.
- Alleen voor de eerste afwasbeurt: vul het reservoir tot aan de rand met water.
- Plaats de trechter* op de opening (zie
afbeelding) en vul het reservoir tot aan de rand met zout (ongeveer 1 kg); het is normal dat er wat water overloopt.
4. Verwijder de trechter, reinig de eventuele zoutresten op de opening. Spoel de dop onder het water af voor u hem waar terugschroeft door hem ondersteboven onder de waterstraal teplaatsen en het wateruit de 4 gleuven aan de onderzijde van de dop te laten stromen. (Dop onthardingszout met groene drijver) We raden u aan bovenstaande handeling elke keer ult te voeren als u onthardingszout bijvult.
Schroef de dop weer op+zijn plaat, zodat tijdens het wassen geen wasmiddel in het reservoir kan komen (de waterontharder zou onhersteltaar+kunnen worden beschadigd).
A Wanneru onthardingszout toevoegt moet u direct daarna een wascyclus starten zodate overgelopen zoutoplossing direct worden verwijderd.
Alleen aanwezig op bepaalde modellen.
Onderhoud en
verzorging
NL
Water en elektrische stroom afsluiten
- Sluit na elke afwasbeurt de waterkraan af om lekkage te voorkomen.
- Haal de stekker uit het stopcontact tijdens reiniging en onderhoud.
Reinigen van de afwasautomaat
- De buitenkant en het bedieningspaneel können worden:gereinigd met een natte, Niet schurende doek. Gebruik geen oplosmiddelen of schuirmiddelen.
- De vlekken aan de binnenkant van de afwasautomaat hunnen worden verwijderd met een natte doeken wat azijn.
Vermijden van vervelende luchtjes
- Laat de deur altijd op een kier om het ophopen van vocht te voorkomen.
- Reinig geregeld de afdichtingen rondon de deur en de wasmiddelbakjes met een vochtige spons. Zo vermijdt u het ophopen van etensresten die de hoofdoorzaak zijn van vervelende luchtjes.
Reinigen van de spreoiarmen
Het kan gebeuren dat er etensresten aan de spreoiarmen blijven kleven en de gaatjes waar water uit komt verstoppen: u doet er goed aan ze regelmatig te controleren en te reinigen met een Niet-metalen borsteltje.
De twee spreoiarmen kunnen beide uit elkaar worden gehaald.

Om de bovenste spreoiarm uit elkaar te halen dient u de plastic dop linksom los te schroeven.De bovenste spreoiarm moet worden gemonteerd met de gaten maar boven gericht.

De onderste spreoiarm kan worden verwijderd door hem maar boven te trekken.
Reinigen van het watertoevoerfilter*
Als de waterleiding nieuw is of langearend Niet gebruikt, maar dan voordat u de aansluiting tot stand brengt het water lopen totdat het helder is en vrij van vuiddeeltjes. Als u dit Niet doet loopt u het risico dat het punt waar het water binnenkomt verstopt raakt en uw afwasautomaat beschadigt.
Reinig geregeld het watertoevoerfilter bij de kraan.
- Doe de waterkraan zich.
- Schroef het uiteinde van de watertoevoerbuis los, verwijder het filter en reinig het voorzichtig onder stromend water.
- Doe het filter op+zijnplaats en schroef de buis vast.
Reinigen van de filters
De filtergroep worden gevormd door drie filters die etensresten uit het waswater verwijderen en zorgen dat het weeer schoon in het watercircuitterechtkomt: voor een optimaal resultaat要去en de filters regelmatig worden schoongemaakt.
Reinig de filters regelmatig.
A De afwasautomaat mag nicht zonder filters of met een los filter worden gebruikt.
- Controller na enkele wasbeurten de filtergroep. Reinig hem indienoodzakelijk grondig onder stromend water met behulp van een Niet-metalen borsteltje. Volg onderstaande aanwijzingen:
- draai het cilindrische filter C linksom en trek hem maar buiten (afb. 1).
- Verwijder het glasfilter B door een lichte druk uit te oefenen op de lipjes aan derijkant (Afb. 2);
3.Haal het roestvrijstalen bordfilter A van zich plek (afb. 3). - Controller het afvoerputje en verwijder eventuele etensresten. VERWIJDER NOOIT de bescherming van de waspomp (zwart element) (afb. 4).




Na het reinigen van de filters dient u de filtergroep waar op+zijn plaatstzetten.Dit isfundamenteel voor een goede werking van de afwasautomaat.
Als u langereijd geen gebruik maakt van de afwasautomaat
- Schakel de stroom uit en sluit de waterkraan af.
- Laat de deur op een kier staan.
-
Laat als u terugkeert de afwasautomaat een keer leeg draaien.
-
Alleen aanwezig op bepaalde modellen.
Het apparaat is ontworpen en gebouwd overeenkomstig de internationale veiligheidsnormen. Deze aanwijzingen zich geschreven om veiligheidsredenen en要去en zorgvuldig worden doorgenomen.
Algemene veiligheid
- Deze afwasmachine mag Niet gebruikt worden door Personen (inclusief kinderen) met beperkte fysieke, zintuiglijke of mentale capacititeiten, of gebrek aan ervaring en kennis, tenzij zij onder toezicht staan van of instructies met betrekking tot het gebruik ontvangen door een persoon die verantwoordelijk is voor hun veiligheid.
- Volwassenen dieren toezicht te honden om te voorkomen dat kinderen met het apparaat spelen.
- Dit apparaat is ontwikkeld voor Niet-professioneel gebruik binnenshuis.
- Dit apparaat moet worden gezrukt voor het wassen van huishoudelijkke vaat en alleen door volwassenen volgens de aanwijzingen die terug+zijn te vinden in dit boekje.
- De afwasautomaat mag Niet buitenshuis worden geinstalleerd, ook Niet in overdekte toestand. Het is zeer gevaarlijk hem bloot te stellen aan regen en onweer.
- Raak de afwasautomaat Niet blootsvoets aan.
- Haal de stekker Niet uit het stopcontact door eraan te trekken, maar door hem beet te pakken.
- Voordat u de afwasautomaat reinigt of onderhoud uitvoert moet u de waterkraan afluien en de stekker uit het stopcontact halen.
- In het geval van een storing mag u in geen enkel geval aan de interne mechanismen sleutelen om een reparatie trachten uit te voeren.
- Raak nooit de waarstand aan.
- Leun of zit nooit op de open deur: het apparaat zou om kuren vallen.
- De deur dient nicht in openstaande stand gelaten te worden odomat men erover zou können struikelen.
- Houd was- en glansmiddelen buiten het bereik van kinderen.
- Het verpakkingsmaterial is geen spelelgoed voor kinderen.
Afvalverwijdering
- Verwijdering van het verpakkingsmateriaal: houdt u aan de locale normen, zodate het verpakkingsmateriaal kan worden hergebruikt.
- De Europese richtlijn 2002/96/EG betreffende afgedankte elektrische en elektronische apparatuur (AEEA), voorziet dat elektrische apparaten Niet met het gewone huisvuil月至 worden meegegeven. Afgedankte apparaten要去es geschaden worden ingezameld om het recyclen en herwinnen van de gebruikte materialen te optimaliseren en potentielle schade voor de gezondheid en het milieu te voorkomen. Het symbool van de afvalemmer met een kruis staat op alle producten om de consument eraan te herinneren dit product gescheden in te zamelen.
Voor meer informatatie betreffende het verwijderen van elektronische apparatuur kan de consument zich wenden tot de gemeentelijkke reinigingsdienst of de verkoper.
Energiebesparing en respect voor het milieu
Water en energia bespare
- Start de afwasautomaat alleen als hij volgeladen is. Als u moet wachteten totdat de afwasautomaat compleet gemvuld is, kutu vervelende luchtjes vermijden door het programma Weken te gebruiken (zie Programma's).
- Selecteer een programma wat geschikt is voor het type vaat en het soort vuil door de Programmatabel te raadplegen: - voor een gemiddeld vuile vaat gebruikt u het programma Eco, dat een laag energie- en waterverbruik garandeert. - als u eenkleine vaat heeft activeert u de optie Halve lading * (zie Starten en gebruik).
- Als u elektriciteitsbedrijf op bepaalde tijden ofragen goedkopere tarieven heegt, dient u de awasautomaat te gebruiken op deze tijden. De optie Uitgestelde start* (zie Starten en gebruik) kan u erbij helpen het wassen op deze wijze te organiseren.
Afwasmiddelen zonder fosfaten, zonder chloor en met enzymen.
- We raden u sterk aan afwasmiddelen zicher fosfaten of chloor te gebruiken waar deze geschikter zichen voor het behoud van het milieu.
- Enzymen zorgen voor een effectieve werkung op temperaturen van ongeveer 50^ . Daarom(Intu) u met vaatwasmiddelen met enzymen op lage temperaturen resultaten bereiken die u anders pas op 65^ zou hebben.
- Doseer het afwasmiddel goed op basis van de aanwijzingen van de fabrikant, van de waterhardheid, de hoeveelheid vuil en de hoeveelheid vaat, om zo verspillingen te voorkomen. Ook alijken ze biologisch afbreekbaar, afwasmiddelen bevatten elementen die het evenwicht van de natuur verstoren.
Service
Voordat u de Servicedienst inschakelt:
- Dient u te controleren of u de storing zich kunt oplossen (zie Storingen en Oplossingen).
- Start het programme opnieuw om te controlleren of het probleem is opgelost.
- Als dit nicht het geval is dient u de erkende Technische Servicedienst in te schakelen.
A Wendt u nooit tot nicht erkende technici.
U dient door te given:
- het type storing;
- het model van het apparatusat (Mod.);
- het serienummer (S/N).
Deze informatatie bevindt zich op het typeplaatje op het apparaat (zie Beschrijving van het apparaat).
NL
Als er storingen zich in de werkung van het apparaat dient u eerst de volgende punten na te gaan voor u zich tot de Servicedienst verwit.
| Storingen: Mogelijk oorzaken / Oplossing: | |
| De vaatwasser start nicht of voert geen ingestelde programma's uit | Zet de machine uit met de ON/OFF knop. Zethaar na ongeveer een minuut waar aan en stel het programme opnieuw in.De stekker zit Niet goed in het stopcontact.De deur van de vaatwasser is Niet goed gesloten. |
| De deur sluit nicht | Het slot is opengesprongen; duw krachtig谈起 de deur tot u de klik hoor. |
| De vaatwasser pomp het water nicht af. | Het programme is nog Niet afgelopen.De waterafvoerslang zit bekneld (zie Installatie).De afvoer van de wasbak is verstopt.Het filter is verstopt met etensresten. |
| De vaatwasser maakt lawaai. • De vaatstroom is slekter op de vaat. | Haat stoot谈起 elkaar of谈起 de sproeiarmen.Overtollig schuiim: het wasmiddel is Niet goed gedoseerd of is Niet geschikt voor de vaatwasser. (zie Starten en gebruik). |
| Er blijven kalkafzetterungen of witte aanslag achechter op de vaat. | Er zit Niet genoeg onthardingszout in het reservoir of de afstellung ervan is Niet geschikt voor de waterhardheid (zie Glansmiddel en zout).Het deksel van het zoutreservoir is Niet goed gesloten.Het glansmiddel is op of de dosering is ontoreiekend. |
| Er blijven strepen of blauwe kringen darüber op de vaat. | De dosering van het glansmiddel is te hoog. |
| De vaat is Niet droog genoeg. • Er is een programa zonder droogcylclus geselecteerd.Het glansmiddel is op of de dosering is ontoreiekend (zie Glansmiddel en zout).De regeling van het glansmiddel is Niet correct.Het vaatwerk is van plastic of voorzien van een antiaanbaklaag. | |
| De vaat is Niet schoon. | De rekkenzem te vol geladen (zie Het laden van de rekken).De vaat is Niet goed verdeld.De sproeiarmen kannen Niet vrijuit draaien.Het wasprogramma is Niet krachtig genoeg (zie Programma's).Overtollig schuiim: het wasmiddel is Niet goed gedoseerd of is Niet geschikt voor de vaatwasser. (zie Starten en gebruik).De dop van het glansmiddelreservoir is Niet goed gesloten.Het filter is vuil of verstopt (zie Onderhoud en verzorging).Er is Niet genoeg onthardingszout (zie Glansmiddel en zout). |
| De vaatwasser vucht zich nicht met water - Alarm kraan richtig. (u hoor enkele korte pieptonen) (het lampje ON/OFF knippert en op het display verschijnt het getal 6). | Er zit geen water in de waterleiding.De watertoevoerslang zit gebogen (zie Installatie).Open de kraan en de machine start na enkele minutes vanzelf. Het apparaat is geblokkeerd onder u Niet heeft ingegrepen na de pieptonen.Zet de machine uit met de ON/OFF knop, open de kraan en zet de machine na 20 seconden metdezelfde knop opnieuw aan. Herprogrammeer de machine en starthaar opnieuw. |
| Alarm watertoevoerslang/Watertoevoerfilter verstopt.(het lampje ON/OFF knippert en op het display verschijnt het getal 7) | Zet de machine uit met de ON/OFF knop. Draai de waterkraanricht om overstromingen te voorkomen en haal de stekker uit het stopcontact.Controlleur of het watertoevoerfilter verstopt zit met vuil. (zie hoofdstuk "Onderhoud en verzorging") |
ES
Espanol, 61
Notice-Facile