PAS3100E - Fornuis PROGRESS - Gratis gebruiksaanwijzing en handleiding
Vind de handleiding van het apparaat gratis PAS3100E PROGRESS in PDF-formaat.
Questions des utilisateurs sur PAS3100E PROGRESS
0 question sur cet appareil. Repondez a celles que vous connaissez ou posez la votre.
Poser une nouvelle question sur cet appareil
Download de handleiding voor uw Fornuis in PDF-formaat gratis! Vind uw handleiding PAS3100E - PROGRESS en neem uw elektronisch apparaat weer in handen. Op deze pagina staan alle documenten die nodig zijn voor het gebruik van uw apparaat. PAS3100E van het merk PROGRESS.
GEBRUIKSAANWIJZING PAS3100E PROGRESS
Veiligheidsinformatie 2
Veiligheidsvoorschriften 4
Beschrijving van het product 6
Dagelijks gebruik 6
Aanwijzingen en tips 7
Onderhoud en reiniging 7
Probleemoplossing 8
Montage 9
Energiezuinigheid 12
Wijzigingen voorbehouden.
VEILIGHEIDSINFORMATIE
Lees zorgvuldig de meegeleverde instructies voor installmentie en gebruik van het apparaat. De fabrikant is Niet verantwoordelijk voor letsel of schade verooorzaakt door een verkeerde installmentie of verkeerd gebruik. Bewaar de instructies algijd op een veilige en toegankelijkpeaats voor toekomstig gebruik.
Veiligheid van kinderen en kwetsbare mensen
- Dit apparaat kan worden gebruikt door kinderen vanaf 8年龄段 en ouder en door personen met beperkingen, mits ze zijn voorgelicht over het veilige gebruik van het apparaat en de potentièle gezaren en/of ze onder toezicht staan.
- Laat kinderen nicht met het apparaat spelen.
- Houd alle verpakking uit de buurt van kinderen en gooi het op passende wijze weg.
- Houd kinderen en huisdieren uit de buurt van het apparaat als het in werkung is of afkoelt. Het apparaat is heet.
- Als het apparaat is voorzien van een kinderslot, dient dit te worden geactiveerd.
- Kinderen mogen zonder toezicht geen reinigings- en onderhoudswerkzaamheden aan het apparaatuitvoeren.
- Kinderen van 3aar enjonger moeten tijdens de werkking van dit apparaat alkijd uit te buurt worden gehonden.
Algemene veiligkeit
WAARSCHUWING: Het apparaat en de toegankelijke onderdelen ervan worden heetijdens gebruik. U dient op te passen dat u de verwarmingselementen nicht aanraakt. Houd
kinderenjonger dan8aaruitdebuurtofonderpermanenttoezicht.
- Bedien het apparaat Niet met een externe timer of een apart afstandbedieningssystem.
WAARSCHUWING: Zonder toezicht koken op een kookplaat met vet of olie kan gevaarlijk+zijn en brandgevaar opleveren. - Probeer brand NOOIT met water te blussen, maar schakel inplaats waarvan het apparaat uit en bedek de vlam bijv. met een deksel of blusdeken.
- LET OP: Er dient toezicht te worden gehonden op het bereidingsproces. Een kort bereidingsproces要去 onder constant toezicht staan.
WAARSCHUWING: Brandgevaar: Bewaar geen voorwerpen op de kookplaten. - Metalen voorwerpen, zoals messen, vorken, lepels en deksels mogen Niet op de kookplaat worden geplaatst, aangezien ze heet+kunnen worden.
- Gebruik geen stoomreiniger om het apparaat schoon te make.
- Als de glaskeramische / glazen oppervlakte gebarsten is, schakel het apparaat dan uit om het risico op elektrische schokken te voorkomen.
- Als de voedingskabel beschadigd is,要去 fabrikant,een erkende serviceverlener of een gekwalificeerd persoon dezeervangen teneinde gevaarlijke situatuies te voorkomen.
- WAARSCHUWING: Gebruik alleen kookplaatbeschemmers die door de fabrikant van het kookapparaat� ontworpen of door de fabrikant van het apparaat in de gebruiksinstrumenties als geschikt� aangegeven of kookplaatbeschemmers die in het apparaat� geintegreerd. Het gebruik van ongeschikte kookplaatbeschemmers kan ongelukken veroorzaken.
VEILIGHEIDSVOORSCHRIFTEN
installatie

WAARSCHUWING! Alleen een erkende installmenttechnicus mag het apparaat installeren.
- Verwijder alle verpakkingsmaterialen.
- Installee en gebruik geen beschadigd apparaat.
- Volg de installment-instructies op die+zijn meegeleverd met het apparaat.
- Houd de minimumafstand maar andere apparaten en units in acht.
- Pas.altijd op bij verplaatsing van het apparaat,want het is zwaar. Gebruik altijd veiligheidshandschoenen en gesloten schoeisel.
- Dicht de oppervlakken af met kit om te voorkomen dat ze gaan opzetten door vocht.
- Bescherm de bodem van het apparaat gegen stoom en vocht.
- Installee het apparaat Niet naast een deur of onder een raam. Dit voorkomt dat heet kookgerei van het apparaat valt als de deur of het raam worden geopend.
- Als het apparaat geinstalleerd is boven lades zorg er dan voor dat de ruimte tussen de onderkant van het apparaat en de bovenste lade voldoende is voor luchtcirculatie.
- De onderkant van het apparaat kan het worden. Wij raden aan om een onbrandbaar scheidingspaneel teplaatsen onder het apparaat om te voorkomen dat de onderkant kan worden aangeraakt.
Aansluting aan het elektriciteitsnet

WAARSCHUWING! Gevaar voor brand en elektrische schokken.
- Alle elektrische aansluitingen要去en door een gediplomeerd elektromonteur worden gemaakt.
-
Dit apparaat moet worden aangesloten op een geaard stopcontact.
-
Verzeker u ervan dat de stekker UIT het stopcontact is getrokken, voordat u welke werkzaamheden dan ook UITvoert.
- Controller of de elektrische informatatie op het typeplaatje overeenkomt met de stroomvoorziening. Zo Niet, neem dan contact op met een elektromonteur.
- Zorg ervoor dat het apparaat correct is geinstalleerd. Losse en onjuiste stroomkabels of stekkers (indien van toepassing) können ervoor zorgen dat de contactklem te heet worden.
- Gebruik de juiste stroomkabel.
- Voorkom dat de stroomkabels verstrikt raken.
Zorg ervoor dat er een schokbescherming worden geinstalleerd. - Gebruik het klem om spanning op het snoer te voorkomen.
- Zorg ervoor dat de stroomkabel of stekker (indien van toepassing) het hare apparaat of heet kookgerei Niet aanraakt als u het apparaat op de nabijgelegen contactdozen aansluit
- Gebruik geen meerwegstekkers en verlengsnoeren.
- Zorg dat u de hoofdstekker (indien van toepassing) of kabel Niet beschadigt. Neem contact op met once service-afdeling of een elektromonteur om een beschadigde hoofdkabel te verrangen.
- De schokbescherming van delen onder stroom en geisoleerde delen moet op zo'n manier worden bevestigd dat het Niet+zonder gereedschap kan worden verplaatst.
- Steek de stekker pas in het stopcontact als de installmentie is voltooid. Zorg ervoor dat het netsnoer na installmentie bereikbaar is.
- Sluit de stroomstekker Niet aan op een losse stroomaansluiting.
- Trek Niet aan het netsnoer om het apparaat los te koppelen. Trek.altijd aan de stekker.
- Gebruik alleen de juiste isolatie-apparaten: stroomonderbrekers, zekeringen (schroefzekeringen要去en
uit de houder worden verwijderd), aardlekschakelaars en contactgevers.
- De elektrische installmentie要去 een isolatieapparaat bevatten waardoor het apparaat volledig van het lichtnet afgesloten kan worden. Het isolatieapparaat要去 een contactopening hebben met een minimale bredte van 3 mm.
Gebruik

WAARSCHUWING! Gevaar op letsel, brandwonden of elektrische schokken.
- Verwijder voor gebruik (indien van toepassing) de verpakking, labels en beschermfolie.
- Gebruik dit apparaat in een huishoudelijkke omgeving.
- De specificatie van het apparaat mag nicht worden veranderd.
- Zorg ervoor dat de ventilatieopeningen Niet geblokkeerd zich.
- Laat het apparaat tijdens het gebruik Niet onbeheerd awhile.
- Zet de kookzone op "uit" na elk gebruik.
- Leg geen bestek of pannendeksels op de kookzones. Deze können heet worden.
Bedien het apparaat Niet met natte handen of als het contact maakt met water. - Het apparaat mag nicht worden gebrukt als werkblad of aanrecht.
- Sluit het apparaat direct af van de stroomtoevoer als het oppervlak van het apparaat gebroken is. Dit om elektrische schokken te voorkomen.
- Als u eten in de hete olie doet, kan het spatten.

WAARSCHUWING! Risico op brand en explosie
- Verhitte vetten en olie können ontvlambare damp afgeven. Houd vlammen of verwarmde voorwerpen uit de buurt van vet en olie als u er mee kookt.
-
De dampen die hete olie afgeeft{kennen spontane ontbranding voroorzaken.
-
Gebrukke olie die voedselresten bevat kan brand verooorzaken bij een lagere temperatuur dan olie die voor de eerste keer worden gebruikt.
- Plaats geen ontvlambare producten of gerechten die vochtig zijn gemaaakt met ontvlambare producten in, bij of op het apparaat.

WAARSCHUWING! Risico op schade aan het apparatus.
- Zet geen heet kookgerei op het bedieningspaneel.
- Leg geen hete deksel op het glazen oppervlak van de kookplaat.
- Laat kookgerei niedroogkoken.
- Laat geen voorwerpen of kookgerei op het apparaat vallen. Het oppervlak kan beschaden.
- Activeer de kookzones nicht met lege pannen of zonder pannen erop.
- Geen aluminiumfolie op het apparaat leggen.
- Pannen van gietijzer, aluminium of met beschadigde bodems kuren krassenveroorzaken in het glas / glaskeramiek. Til deze voorwerpen algijd op als u ze moet verplaatsen op de kookplaat.
- Dit apparaat is uitsluitend bestemd om mee te koken. Het mag Niet worden gebruikt voor andere doeleinden, zoals het verwarmen van een kamer.
Onderhoud en reiniging
- Reinig het apparaat regelmatig om te voorkomen dat het materiaal van het oppervlak anscheruitgaat.
- Schakel het apparaat uit en LAST het afkoelen voordat u het schoonmaakt.
- Trek voor onderhoudswerkzaamheden de stekker uit het stopcontact.
- Gebruik geen waterstralen of stoom om het apparaat te reinigen.
- Reinig het apparaat met een vochtige zachte doek. Gebruik alleen neutrale Reinigungsmiddelen. Gebruik geen schuurmiddelen, schuursponsjes, oplosmiddelen of metalen voorwerpen.
Verwijdering

WAARSCHUWING! Gevaar voor letsel of verstikking.
- Neem contact met uwplaatselijke overheid voor informatie m.b.t. correcte afvalverwerking van het apparaat.
Haal de stekker uithetstopcontact. - Snijd het netsnoer vlak bij het apparaat af en gooi het weg.
Servicedienst
- Neem contact op met een erkende servicedienst voor reparatie van het apparaat.
- Gebruikuitsluitend originele reserveonderdelen.
| Sym- bool | Functie |
| 0 | Uit-stand |
| 1 - 6 | Verwarmingsstunden |
Restwarmte

WAARSCHUWING! Er bestaat verbrandingsgevaar door restwarmte.
DAGELIJKS GEBRUIK

WAARSCHUWING! Raadpleeg de hoofdstukken Veiligheid.
Om uit te schakelen, draai de knop maar stand uit.
De kookstand
Draai de knop maar de juiste kookstand om de kookstand in te stellen of te wijzigen.

WAARSCHUWING! Raadpleeg de hoofdstukken Veiligheid.
Kookgerei

De bodem van het kookgerei moet zo dik en vlak möglichlijk.zijn.

Kookgerei gemaakt van geëmailleerd staal of met aluminium of koperen bodems, hunnen tot verkleuringen leiden van de glazen keramische kookplaat.
Voorbeelden van kooktoepassingen
Ver-.
warming
s-
stand:
Toepassing:
1 Warm houden
ONDERHOUD EN REINIGING

WAARSCHUWING! Raadpleeg de hoofdstukken Veiligheid.
Algemene informatatie
- Reinig de kookplaat na elk gebruik.
- Gebruik alsijd pannen met een schone bodem.
- Krassen of donkere vlekken op de oppervlakte hebben geen invloed op de werking van de kookplaat.
- Gebruik een specifiek schoonmaakmiddel voor het oppervlak van de kookplaat.
- Gebruik een speciale schraper voor de glazen plaat.
Ver-. war-. ming s- stand:
Toepassing:
2 Zachtjes te sudderen
3 Te sudderen
4 Te frituren / gratineren
5 Aan de kook te brengen
6 Aan de kook te brengen / snel frituren / heet frituren
De kookplaat schoonmaken
- Verwijder direct: gesmolten plastic, gesmolten folie, suiker en suikerhoudende gerechten. Anders kan het vuil de kookplaat beschadigen. Doe voorzichtig om brandwonden te voorkomen. Plaats de speciale schaper schuin op de glazenplaat en verwijder resten door het blad over het oppervlak te schuiven.
-
Verwijder nadat de kookplaat voldoende is afgekoeld: kalk- en waterkringen, vetspatten en metaalachtig glanzende verkleuringen. Reinig de kookplaat met een vochtige doek en een beetje nicht-schurend reinigingsmiddel. Droog de kookplaat na reiniging af met een zachte doek.
-
Verkleuring glanzende metalen
verwijderen: reinig het glazen oppervlak
met een doek en een oplossing van
water met azijn.
PROBLEEMOPLossing

WAARSCHUWING! Raadpleeg
de hoofdstukken Veiligheid.
Wat moet u doe n als...
| Probleem Mogelijk deoorzaak Oplossing | ||
| U kunt de kookplaat Niet in-schakelen of bedieren. | De kookplaat is Niet aange-sloten op een stopcontact of is Niet goed geinstalleerd. | Controller of de kookplaat goed is aangesloten op het Lichtnet. Raadpleeg het aan-slutdiagram. |
| De zekering is doorgeslagen. | Controller of de zekering de | oorzaak van de storing is. Als de zekeringen koer op koer doorslaan, neemt u contact op met een erkende installa-teur. |
Als u het probleem nicht kunt oplossen...
Als u Niet zich het probleem kunt verhelpen, neem dan contact op met uw verkoper of de serviceafdeling. Zie voor deze gegevens het typeplaatje. Geef ook de driecijferige code voor het glaskeramiek (bevindt zich op de hoek van het glazen oppervlak) Verzeker u ervan dat u de kookplaat correct gebruikt heeft. Bij onjuist gebruik van het
apparaat worden het bezoek van de onderhoudstechnicus van de klantenservice of de vakhandelaar in rekening gebracht, zichsijdens de garantieperiode. De instructies over het service center en de garantiebepalingen vindt u in het garantieboekje.
Labels meegeleverd in de zak met accessoires
Bevestig de stickers zoals hieronder weergegeven:

A. Plak het op de garantiekaart en verstuur dit deel (indien van toepassing).
B. Plak het op de garantiekaart en bewaar dit deel (indien van toepassing).
C. Plak het op het instructieboekje.
MONTAGE

WAARSCHUWING! Raadpleeg de hoofdstukken Veiligheid.
Voor montage
Voordat u de kookplaat installeert, dient u de onderstaande informatatie van het typeplaatje te noteren. Het typeplaatje bevindt zich onderop de kookplaat.
Model
Productnummer
(PNC)
Serienummer
Ingebouwde kookplaten
Inbouwkookplaten mogen alleen worden gebruikt nadat zij ingebouwd zich in geschikte inbouwunits of werkbladen die aan de normen voldoen.
Aansluitkabel
- De kookplaat is voorzien van een aansluijsnoor.
- Vervang de beschadigde voedingskabel door het volgende netsnoor (of hoger): H05V2V2-F T min. 90^ . Neem contact op met een klantenservice bij u in de buurt.
De afdichting bevestigen
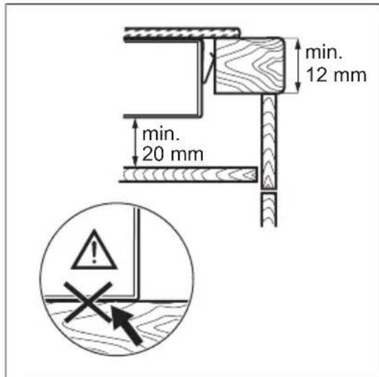
- Reinig het werkblad rond de plek waar het gat moet worden uitgezaagd.
- Bevestig de meegeleverde afldichtstrip gegen de ondderrand van de kookplaat langs de buitenrand van de keramische plaat. Rek het afldichtbandaar bij nichtuit.Zorg dat de uiteinden van de
afdichtstrip zich in het midden van een van de zijden van de kookplaat bevinden.
- Tel een paar mm bij de af te knippen lengte van de afdichtstrip.
- Duw de twee uiteinden van de afdicht strip samen.
Montage





De montage van meer dan een kookplaat

Als er meerere kookplaten van 30 cm naast elkaar indezelfde opening gemonteerd worden is hiervoor een montageset verkrijgbaar -bestaande uit een draagbeugel aan de zijkant en aanvullende afdichtingen - bij once Klantenservice. De bijbehorende installment-instructies zitten in de verpakking van deze set.
TECHNISCHE GEGEVENS
Specificatie kookzones
| Kookzone | Nominal vermogen (max warm-te-installung) [W] | Diameter van de kookzone [mm] |
| Middenvoor 1200 | 145 | |
| Middenachter 1700 | 180 |
Gebruik voor optimale kookresultaten kookgerei dat Niet groter is dan de diameter van de kookzone.
ENERGIEZUINIGHEID
Productinformatie volgens EU-richtlijn 66/2014
| Modelidentificatie PAS3100E | ||
| Type kooktoestel Ingebouwde | kookplaten | |
| Aantal kookzones 2 | ||
| Verwarmingstechnologie Stralingswarmte | ||
| Diameter Ronde kookzones (Ø) | Middenvoor | 14,5 cm |
| Middenachter | 18,0 cm | |
| Energieverbruik per kookzone (EC electric cooking) | Middenvoor | 183,8 Wh / kg |
| Middenachter | 182,4 Wh / kg | |
| Energieverbruik van de kookplaat (EC electric hob) | 183,1 Wh / kg | |
EN 60350-2 - Elektrische huishoudelijkke kookapparaten - Deel 2: Kookplaten - Methodes voor het meten van de prestatie
Energiebesparing
U kunt elke dag energia besparen tijdens het koken door de onderstaande tips te volgen.
- Warm alleen de hoeveelheid water op die u nodig hebft.
- Doe indien möglich als tijd een deksel op de pan.
MILIEUBESCHERMING
Recycle de materialen met het symbol Gooi de verpakking in een geschikte verzamelcontainer om het te recyclen. Help om het milieu en de volksgezondheid te beschermen en recycle het afval van elektrische en elektronische apparaten.
- Zet uw kookgerei op de kookzone voordat u deze activeert.
- De bodem van het kookgerei要去 bezelfde afmeting hebben als de kookzone.
- Zet kleiner kookgerei op Kleinere kookzones.
- Plaats het kookgerei precies in het midden van de kookzone.
- Gebruik de restwarmte om het eten warm te honden of te smelten.
Gooi apparaten gemarkeerd met het symboliet wet met het huishoudelijk afval. Breng het productaar het milieuustation bij u in de buurt of neem contact op met de gemeente.
CONTENTS
Safety information 13
SimpelGids