PK0800 - Koelkast PROGRESS - Gratis gebruiksaanwijzing en handleiding
Vind de handleiding van het apparaat gratis PK0800 PROGRESS in PDF-formaat.
Questions des utilisateurs sur PK0800 PROGRESS
0 question sur cet appareil. Repondez a celles que vous connaissez ou posez la votre.
Poser une nouvelle question sur cet appareil
Download de handleiding voor uw Koelkast in PDF-formaat gratis! Vind uw handleiding PK0800 - PROGRESS en neem uw elektronisch apparaat weer in handen. Op deze pagina staan alle documenten die nodig zijn voor het gebruik van uw apparaat. PK0800 van het merk PROGRESS.
GEBRUIKSAANWIJZING PK0800 PROGRESS
Veiligheidsinformatie 25
Bediening 27
Het eerste gebruik 27
Dagelijks gebruik 27
Nuttige aanwijzingen en tips 28

Reiniging en onderhoud 29
Problemen oplossen 30
Veiligheidsinformatie
In het belang van uw verilgheid en om een correct gebruik te konnen waarborgen is het van belang dat u, alvorens het apparaat te installereren en in gebruik te nemen, deze gebruiksaanwijzing, inclusief de tips en waarschuwingen, grondig doorleest. Om onnodiige vergissingen en oncegevallen te voorkomen is het belangrijk ervoor te zorgen dat alle mensen die het apparaat gebruiken, volledig bekend zich met de werkung ervan en de verilgheidsvoorzieningen. Bewaar deze instru-cies en zorg ervoor dat zich bij het apparaat blijven als het wordt verplaatst of verkocht, zodat iedereen die het apparaat gedurende zich hele levensduur gebruikt, maar behoren is geinformeerd over het gebruik en de verilg-heid van het apparaat.
Voor de veiligheid van mensen en eigendommen dient u zich aan de voorzorgsmaatregelenuit dit instructieboekje te houden, de fabrikant is Niet verantwoordelijk voor schade die door het Niet opvolgen van de aanwijzingenveroorzaakt is.
Veiligheid van kinderen en kwetsbare mensen
- Dit apparaat is Niet bedoeld voor gebruik door(AP)doerlen (waaronder begrepen kinderen) met verminderde fysieke, zintuiglike vermogens of een gebrek aan ervaring en kennis, tenzij dit onder toezicht gebeurt van een voor hun verilgheid verantwoordelijke persoon of tenzij zij van een dergelijkpeisoon instructie hebben ontvangen over het gebruik van het apparaat.
Houd kinderen uit de buurt om te voorkomen dat ze met het apparatusaat gaan spelen.
- Houd alle verpakkingsmaterialaal buiten het bereik van kinderen. Gevaar voor verstikking.
- Als u het apparaat afdankt trek dan de stekker uit het stopcontact, snij de voe
dingskabel door (zo zicht möglichk bij het apparaat) en verwijder de deur om te voorkomen dat kinderen een elektrische schok krijgen of zichzelf in het apparaat opsluiten.
- Als dit apparaat, dat voorzien is van een magnetische deursluiting, een ouder apparaat verrangt, dat voorzien is van een veerslot (slot) op de deur of het deksel, zorg er dan voor dat u het slot onbruikbaar maakt voordat u het oude apparaat wegooit. Dit voorkomt dat kinderen er in opgesloten können rakeen.
Algemene veiligheid

Let op! Houd de ventilatie-openingen altijd vrij van obstructies.
- Dit apparaat is bedoeld voor het bewaren van levensmiddelen en/of dranken in een gewoon huishouden, zoals uitgelegd in dit instructieboekje.
- Gebruik geen mechanische hulpmiddelen of kunstgrepen om het ontdoopproces te versnellen.
- Gebruik geen andere elektrische apparaten (bijvoorbeeld ijsmachines) in koelkasten, TENZIJ ze voor dit doel goedgekeurd়n door de fabrikant.
- Let op dat u het koelcircuit nicht beschadigt.
- Het koelmiddel isobutaan (R600a) bevindt zich in het koelcircuit van het apparaat, dit is een tatsächijk gas dat weliswaar milieuvriendelijk is, maar ook uiterst ontvlambaar.
Controller of de onderdelen van het koelcircuitijdens transport en installmentie van het apparaat Niet beschadigd zich geraakt. Indien het koelcircuit beschadigd is:
- open vuur en ontstekingsbronnen vermiiden
-
de ruimte waar het apparaat zich be-vindt grondig ventileren
-
Het is gevaarlijk om wijzigingen aan te brengen in de specificaties of dit product op enigerlei wijze te modificeren. Een beschadigd netsnoer kan kortsluiting, branden/of een elektrische schok veroorzaken.
! Waarschuwing! Alle elektrische onder-delen (netsnoer, stekker, compressor) mogen uitsluitend verrangen worden door een erkende onderhoudsdienst of gekwalificeerd onderhoudspersoneel.
- Het netsnoer mag nicht verlengd worden.
- Verzeker uervaan dat de stekker nicht platgedrukt of beschadigd worden doorde achechterkant van het apparaat. Een platgedrukte of beschadigde stekker kan oververhit raken en brand veroorzaken.
- Verzeker u ervan dat u de stekker van het apparaat kurz bereiken.
- Trek nicht aan het snoer.
- Als de stekker los zit, stek hem dan Niet in het stopcontact. Dit kan geaar opleveren van een elektrische schok of brand.
-
U mag het apparaat Niet gebruiken zonder de afdekking van het lampje 7) voor de binnenverlichting.
-
Dit apparatus is zwaar. Wees voorzichtig als u het apparatus verplaatst.
Haal geen artikelen uit het vriesvak en raak ze Niet aan als uw handen vochtig/nat+zijn, dit kan uw huid beschadigen of vrieswondenveroorzaken. - Stel het apparaat nicht langdurig bloot aan direct zonlicht.
Dagelijks gebruik
- Zet geen hete potten op de kunststof onderdelen in het apparaat.
- Bewaar geen brandbare gassen of vloeistoffen in het apparaat, deze können ontploffen.
- U dient zich strikt te houden aan de aanbevelingen van de fabrikant van het apparaat met betrekking tot het bewaren van voedsel. Raadpleeg de betreffende aanwijzingen.
Onderhoud en reiniging
Schakel het apparaat uit en trek de stekker uit het stopcontact voordat u onderhouds-handelingen verricht. Als u het stopcontact Niet kurz bereiken, onderbreek dan de stroomtoevoer.
Maak het apparaat Niet schoon met metalen voorwerpen.
- Controller de afvoer in de koelkast regelmatig op dooiwater. Maak de afvoer, indien nodig, schoon. Als de afvoer verstopt is, zar er water op de bodem van het apparaat liggen.
Installatie
Belangrijk! Voor de aansluiting van elektricitieit dienen de instructies in de desbetreffende paragrafen nauwgezet te worden opgevolgd.
- Pak het apparaat uit en controllerer of er beschadigingen zich. Sluit het apparaat Niet aan als het beschadigd is. Meld möglichke beschadigingen onmiddelijk bij de winkel waar u het apparaat gekocht heeft. Gooi in dat geval de verpakking Niet weg.
- Wij adviseren u om 4aar te wachten voor dat u het apparaat aansluit, dan kan de olie terugvloeien in de compressor.
- Rond het apparaatClient adequate luchtcirculatie te zich, anders kan dit tot oververhitting leiden. Om voldoende ventilatie te verkrijgen de instructies met betrekking tot de installment opvolgen.
- De hinterkant dient zo möglichk gegen een muur geplaatst te worden, teneinde te voorkomen dat hare onderdelen (compressor, condensator) aangeraakt hunnen worden en brandwonden veroorzaken.
- Het apparaat mag Niet vlakbij radiatoren of kooktoestellen geplaatst worden.
- Verzeker uervaand dat de stekker bereikbaar is nadat het apparaat geinstalleerd is.
- Sluit het apparaat alleen aan op een drink-waterleiding. 8)
Onderhoud
-
Alle elektrotechnische werkzaamheden die noodzakelijk zijn voor het uitvoeren van onderhoud aan het apparaat, dienen uitgevoerd te worden door een gekwalificierd elektricien of competent persoon.
-
Dit product mag alleen worden onderhouden door een erkend onderhoudscentrum en er dient alleen gebruik te worden gemaatk van originele reserveonderdelen.
Bescherming van het milieu

Dit apparaat bevat geen gassen die de ozonlaag+kunnen beschadigen,iet in het koelcircuit en evenmin in de isolatiematerialen.Het apparaat mag Niet worden weggegooid bij het normale huis
houdelijkke afval. Het isolatieschuim bevat ontvlambare gassen: het apparaat moet weggegooid worden conform de van toepassing+zijnde regels die u bij de lokale overheidsinstanties kunt verkrijgen.Voorkom beschadiging aan de koeleenheid,vooral aan de achterkant bij de warmtewisselaar.De materialen die gebruikt zich voor dit apparaat en die voorzien zich van het symbool 念 zich recyclebaar.
Bediening
Inschakelen
Steek de stekker in het stopcontact.
Draai dethermostaatknop op een gemiddelde stand.
Uitschakelen
Draai de thermostaatknop op de stand "O" om het apparaat uit te schakelen.
Temperatuurregeling
De temperatuur worden automatisch gere-geld.
Ga als volgt te werk om het apparaat in werk- ing te stellen:
- draai dethermostaatknop op een lagere stand om de minimale koude te verkrijgen.
- draai de thermostaatknop op een hogere stand om de maximale koude te verkrijgen.

Een gemiddelde instelling is over het al-gemeen het meest geschikt.
De exacte instelling moet darüber gekozen worden rekening houdend met hetfeit dat de temperatuur in het apparaat afhankelijk is van:
- de omgevingstemperatuur
- hoe vaak de deur geopend worden
- de hoeveelheid voedsel die bewaard worden
- plaatsing van het apparaat.
Belangrijk! Als de omgevingstemperatuur hoog is of als het apparaat volledig bevuld is en de thermostaatknop op de koudste instelling staat, kan het apparaat continu werken waardoor er ijs op dechterwand gefvormd wordt. In dat geval moet de knop op een hogere temperatuur gezet worden om automatische ontdooling möglich te makeen en zodoende het energieverbruik te beperken.
Het eerste gebruik
Belangrijk! Wij adviseren u om 2aar te wachtenden voordat u het apparaat aansluit, dan kan de olie terugvloeien in de compressor.
De binnenkant schoonmaken
Voordat u het apparaat voor de eerste keer gebruikt, wast u de binnenkant en de interne
accessoires met lauwarm water en een beetje neutrale zeep om de typische geur van een nouveau product weg te nemen. Droog daarna grondig af.
Belangrijk! Gebruik geen oplosmiddelen of schuurpoeders. Deze beschadigen de lak.
Dagelijks gebruik
Verplaatsbare schappen
De wanden van de koelkast zich voorzien van een,aantal geleiders zodat de schappen op de gewenste plaats gezet kannen worden.
Belangrijk! Verwijder de glasplaat boven de groentela en het flessenrek Niet om een goede luchtcirculatie te garanderen.

Hetplaatsen van de deurschappen
Om het bewaren van voedselpakketten van verschillende afmetingen möglichk te make, kuren de schappen op verschillende hoogtes geplaatst worden.
Om deze aanpassingen uit te voeren, gaat u als volgt te werk:
trek het schap geleidelijk in de richting van de pijlen totdat het los komt enplaats op een andere gewenste hoogte terug.

Nuttige aanwijzingen en tips
Tips voor energiebesparing
- De deur nicht vaker openen of open latent staan dan striktoodzakelijk.
- Als de omgevingstemperatuur hoog is, de thermostatstknop op de hoogste instelling staat en het apparaat volledig bevuld is, kan de compressor continu aan staan waardoor er ijs op de verdamper ontstaat. Als dit gebeurt, draait u de thermostatstknop maar een lagere instelling om de koelkast automatisch teLATen ontdooien en zo elektriciteitsverbruik te besparen.
Tips voor het koelen van vers voedsel
Om de beste prestatie te verkrijgen:
- Zet geen warm voedsel of verdampende vloeistoffen in de koelkast
- dek het voedsel af of verpak het, in het bij-zonder als het een sterke geur heeft
- plaats het voedsel zodanig dat de lucht en vrijelijk omheen kan circuleren
Nuttige tips voor het koelen
Nuttige tips:
Vlees (alle soorten) in plastic zakken verpakken en op het glazen schap leggen, boven de groentelade.
Bewaar het, voor de veiligheid, slechts een of maximaal twee dagen op deze manier.
Gekookt voedsel, koude schotels, enz.:dezemeoten afgedekt worden en mogen op willekeurig welk schap gezet worden.
Fruit en groente: deutsche moeten zorgvuldig schoongemaaakt worden en in de special aanoor bedoelde lade(n) geplaatst worden.
Boter en kaas: dit moet in speciale luchtdichte bakjes gelegd of in aluminiumfolie of plastic zakjes gewikkeld worden om zoveel mogelijk lucht buiten te sluiten.
Melkflessen: deze要去en een afdekdop hebben en opgeslagen worden in het flessenrek in de deur.
Reiniging en onderhoud
! Let op! Voordat u welke onderhoudshandeling dan ook verricht, de stekker uit het stopcontact trekken.
Het koelcircuit van dit apparaat bevat koolwaterstoffen; onderhoud en herla- den mag alleen uitgevoerd worden door bevoegde technici.
Periodieke reiniging
Het apparaat moet regelmatig worden schoongemaaakt:
- maak de binnenkant en de accessoires schoon met laww water en wat neutrale zeep.
- controller de ajdichtingen regelmatig en wrijf ze schoon om u ervan te verzekerend dat ze schoon zich en vrij van restjes zich.
- spoel ze af en maak ze grondig droog.
Belangrijk! Trek Niet aan leidingen en/of kabels aan de binnenkant van de kast en verplaats of beschadig ze Niet.
Gebruik nooit schoonmaakmiddelen, schuurpoeders, erg geparfumeerde reini-gingsproducten en waspolijstmiddelen om de binnenkant schoon te make, aangezien deze het oppervlak beschadigen en een ster-ke geur acheterlaten.
Maak de condensor (zwart rooster) en de compressor op deijkenkant van het apparaat schoon met een borstel of stofzuiger. Deze handeling zal de prestatie van het apparaat verbeteren en het elektriciteitsverbruik besparen.
Belangrijk! Zorg ervoor dat u het koelsystem nicht beschadigt.
Veel normala vergrijgbare keukenreiners bevatten chemicalien die de kunststoffen die in dit apparaat gebruikt zich kuren aantasten/beschadigen. Daarom wordt het aanbevolen de buitenkant van dit apparaat alleen schoon te make n met warm water met een beetje afwasmiddel.
Steek, na het schoonmaken van het appar-. raat, de stekker wee in het stopcontact.
Het ontdooien van de koelkast
Rijp worden elke keer als de compressormotor tijdens normale werking stopt, automatisch
van de verdamper van het koelvak verwijderd. Het dooiwater loopt via een goatje in een speciale opvangbak aan de achterkant van het apparaat, boven de compressormotor, waar het verdampt.
Het is belangrijk om het afvoergaatje van het dooiwater in het midden van het koelvak regelmatig schoon te make, om te voorkomen dat het water overloopt en op het voedsel in de koelkast gaat druppelen. Gebruik waaroor de speciale reiniger, die al in het afvoergaatje zit.

Periodes dat het apparaat Niet gebruikt worden
Als het apparaat gedurende langeijd Niet gebruikt worden, neem dan de volgende voor-zorgsmaatregelen:
trek de stekker uithetstopcontact,
- verwijdter al het voedsel,
ontdoo i de koelkast, 9)en maak het apparaat en alle accessoires schoon,
- liaison de deur/deuren op een kier staan om de vorming van onaangename luchtjes te voorkomen.
Als uw apparaat aan blijft staan, vraag dan iemand om het zo nu en dan te controlleren, om te voorkomen dat het bewaarde voedsel berdeft, als de stroom uittvalt.
Problemen oplossen

Waarschuwing! Voordat u storingopspoort, de stekker uit het stopcontacttrekken.
Het opsporen van storingen die nicht in deze handleiding vermeld zijn, dient te worden verricht door een gekwalificeerd technicus of competent persoon.
Belangrijk! Er zijn tijdens de normale werkig geluiden te horen (compressor, koelcircuit).
| Probleem Mogelijk oorzaak Oplossing | ||
| Het apparaat werkkt Niet. Het lampje brandt Niet. | Het apparaat is uitgeschakeld. Schakel het apparaat in. | |
| De stekker zit Niet goed in het stopcontact. | Steek de stekker goed in het stop-contact. | |
| Het apparaat krijgt geen stroom. Er staat geen spanning op het stopcontact. | Sluit een ander elektrisch apparaat aan op het stopcontact. Neem contact op met een gekwa-lificeerde elektricien. | |
| Het lampje brandt Niet. | Het lampje is stuk. | Raadpleeg "Het lampje verran-gen". |
| De compressor werkt continu. | De temperatuur is Niet goed inge-steld. | Stel een hogere temperatuur in. |
| De deur is Niet goed gesloten. | Raadpleeg "De deur sluiten". | |
| De deur is te vaak open gedaan. | Laat de deur Niet langer open staan danoodzakelijk. | |
| De temperatuur van het product is te hoog. | De kamertemperatureur is te hoog. | Laat het product afkoelen tot ka-mertemperatuur voordat u het op-bergt. |
| De kamertemperatureur is te hoog. | Verlaag de kamertemperatureur. | |
| Er loopt water over de achterkant van de koel-kast. | Tijdens het automatische ont-dooiproces, ontdooit de rijp te-gen dechterwand. | Dit is juist. |
| Er loopt water in de koel-kast. | De waterafvoer is verstopt. Maak de waterafvoer schoon. | |
| Producten verhinderen het water om in de wateropvangbak te lo-pen. | Zorg ervoor dat de producten dechterwand nicht raken. | |
| Er loopt water over de vloer. | De dooiwaterafvoer loopt Niet in de verdamperbak boven de com-pressor. | Maak de dooiwaterafvoer vast op de verdamperbak. |
| De temperatuur in het ap-paraat is te laag. | De temperatuur is Niet goed inge-steld. | Stel een hogere temperatuur in. |
| De temperatuur in het ap-paraat is te hoog. | De temperatuur is Niet goed inge-steld. | Stel een lagere temperatuur in. |
| De deur is Niet goed gesloten. | Raadpleeg "De deur sluiten". | |
| De temperatuur van het product is te hoog. | Laat het product affkoelen tot ka-mertemperatuur voordat u het op-bergt. | |
| Er+zijn veel producten tegelijk op-geborgen. | Berg minder producten tegelijk op. | |
| Probleem Mogelijk oorzaak Oplossing | |
| Er is geen koude luchtcirculatie in het apparaat. | Zorg ervoor dat er koude luchtcirculatie in het apparaat is. |
Het lampje verrangen
- Trek de stekker uit het stopcontact.
- Verwijder de schroef van de afdekking van het lampje.
- Verwijder de afdekking van het lampje (raadpleeg de afbeelding).
- Vervang het kapotte lampje door een新产品 met hetzelfde vermogen (het maximumvermögen is vermeld op de afdekking van het lampje).
- Installer de afdekking van het lampje.
- Draai de schroef van de afdekking van het lampje vast.
- Steek de stekker in het stopcontact.
- Maak de deur open. Controller of het lampje gaat branden.

De deur sluiten
- Maak de afdichtingen van de deur schoon.
- Stel de deur, indien nodig, af. Raadpleeg "Montage".
- Vervang, indien nodig, de defekte deur-afdichtingen. Neem contact met de service-afdeling.
Technische gegevens
| Afmetingen van de uitsparing | ||
| Hoopte 880 mm | ||
| Breedte 560 mm | ||
| Diepte 550 mm |
De technische gegevens staan op het typeplaatje aan de linker binnenkant in het apparaat en op het energielabel.
Montage
Lees voor uw eigenveiligheid en correcte werking van het apparaat eerst de "veiligheidsinformatie" aandachtig door, alvorens het apparaat te installereren.
Opstelling
Installer dit apparaat op eenplaats waar de omgevingstemperatuur overeenkomt met de klimaatklassie die vermeld is op het typeplatie van het apparaat:
| Klimaat-klasse | Omgevingstemperatuur |
| SN +10°C tot + 32°C | |
| N +16°C tot + 32°C | |
| ST +16°C tot + 38°C | |
| T +16°C tot + 43°C | |
Elektrische aansluiting
Zorg er vór het aansluiten voor dat het voltage en de freiagentie op het typeplaatje overeenkomen met de stroomtoevoer in uw漉.
Het apparaat要去 geaard zich. De netsnoerstekker is voorzien van een contact voor dit doel. Als het stopcontact Niet geaard is, sluit het apparaat dan aan op een afzonderlijk aardepunt, in overeenstemming met de geldende regels, raadpleeg hiervoor een gekwalificeerd elektricien.
De fabrikant neemt geen verantwoordelijkheid op zich als de bovenstaande veiligheidsmaatregelen nicht worden nageleefd.
Dit apparaat voldoet aan de EU. richtlijnen.
Omkeerbaarheid van de deur
De deur van het apparaat.gaat maar rechts open. Als u wilt dat de deur maar links open gaat, ga dan als volgt te werk, voordat u het apparaat installeert:
- Maak de bovenste pen los en verwijder hem.
- Verwijder het bovenste afstandsstuk.
- Verwijder de deur.
- Maak de onderste pen los en verwijder hem.
- Verwijder het onderste afstandsstuk.

Op de gegenoverliggende kant:
- Verwijder de afdekking van het scharnier en monteer het op het gegenoverliggende scharnier.
- Monteer het onderste afstandsstuk.
- Zet de onderste pen vast.
- Monteer de deur.
- Monteer het bovenste afstandsstuk.
- Zet de bovenste pen vast.

Ventilatievereisten
De luchtstroom achefter het apparaat要去 voldoende zijn.

Uitlijning meubilair
Belangrijk! Zorg ervoor dat het keukenmeubilair verticaal en in allerichtingen 90^ isuitgelijnd.
Stel de deuren van het keukenmeubilair eerst af voordat u het apparaat installeert.



Belangrijk! Verwijder de deurveer van het meubilair, indien möglichk, om de deur van het apparaat meer ruimte te gehen om vrij te bewegen.
De installment van het apparaat

Let op! Zorg ervoor dat het aansluitsnoor vrij kan bewegen.
Ga als volgt te werk:
- Installee de afficht strip.
a) Verwijder de afdekking van de strip.
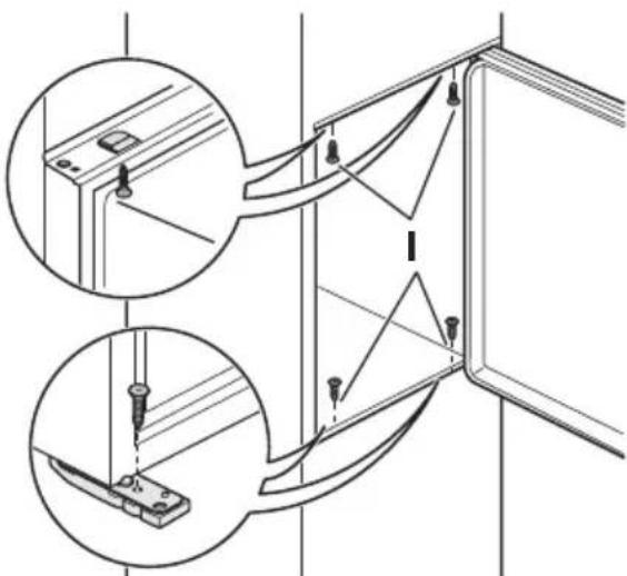
b) Bevestig de zichklevende afdicht strip op het apparaat zoals aangegeven op de afbeelding.

- Installer het apparaat in de nis.
a) Duw het apparaat in de richting van de pijlen (1) totdat de afdekking van de opening gegen het keukenmeubel aankomt.
b) Duw het apparaat in de richting van de pijlen (2) gegen de kast tegenover het scharnier.

- Stel het apparaat in de nis af. Lijn het onderste scharnieruit met het keukenmeubilair.

- Bevestig het apparaat met 4 schroeven aan de nis.

- bevestig de afdekkingen (C, D) aan deuitsteeksels en de gaten van de scharnieren.
Bevestig de afdekking van het scharnier (E) op het scharnier.

- Maak de onderdelen (Ha), (Hb), (Hc) en (Hd) los.

- Monteer onderdeel (Ha) aan de binnenkant van het keukenmeubel.

- Duw onderdeel (Hc) op onderdeel (Ha).

- Zet de deur van het apparaat en de deur van het keukenmeubel open in een hoek van 90^
Plaats hetkleine vierkantje (Hb) in de geleider Ha).
Zet de deur van het apparatusat en de deur van het keukenmeubel gegen elkaar en markeer de gaten.

- Verwijder de beugels. Installee de spijker (K) 8 mm van de buitenste rand van de deur.

- Plaats hetkleine vierkantje op de geleider terug en maakt het goed met de meegeleverde schroeven vast.
Lijn de deur van het keukenmeubel en de deur van het apparaatuit met behulp van onderdeel Hb.

- Duw onderdeel (Hd) op onderdeel (Hb).

Controleer goed en verzeker u ervan dat:
-
alle schroeven zijn aangehaald. - de afdichtingsstrip goed bevestigd is aan de kast.
-
De deur goed open en dicht gaat.
Het milieu
Het symbol op het product of op de verpakking wijst erop dat dit product Niet als huishoudafval mag worden behandeld, maar要去 worden afgegeven bij een verzamelpunt waar elektrische en elektronische apparatuur worden gerecycled. Als u ervoor zorgt dat dit product op de juiste manier wordt verwijderd, voorkomt u mogelijkke negatieve gevolgen voor mens en milieu die zich zouden+kennen voordoen in geval van verkeerde afvalverwerking. Voor gedetailleerdere informatie over het recylen van dit product, kunt u contact opnemen met de gemeente, de gemeentereing of de winkkel waar u het product hebts gekocht.
SimpelGids