PK0840 - Koelkast PROGRESS - Gratis gebruiksaanwijzing en handleiding
Vind de handleiding van het apparaat gratis PK0840 PROGRESS in PDF-formaat.
Download de handleiding voor uw Koelkast in PDF-formaat gratis! Vind uw handleiding PK0840 - PROGRESS en neem uw elektronisch apparaat weer in handen. Op deze pagina staan alle documenten die nodig zijn voor het gebruik van uw apparaat. PK0840 van het merk PROGRESS.
GEBRUIKSAANWIJZING PK0840 PROGRESS
Veiligheidsinformatie 31
Bediening 33
Het eerste gebruik 33
Dagelijks gebruik 34
Nuttige aanwijzingen en tips 35

Onderhoud en reiniging 36
Problemen oplossen 37
Veiligheidsinformatie
In het belang van uw verilgheid en om een correct gebruik te konnen waarborgen is het van belang dat u, alvorens het apparaat te installereren en in gebruik te nemen, deze gebruiksaanwijzing, inclusief de tips en waarschuwingen, grondig doorleest. Om onnodiige vergissingen en oncegevallen te voorkomen is het belangrijk ervoor te zorgen dat alle mensen die het apparaat gebruiken, volledig bekend+zijn met de werkung ervan en de verilgheidsvoorzieningen. Bewaar deze instru-cies en zorg ervoor dat zich bij het apparaat blijven als het wordt verplaatst of verkocht, zodat iedereen die het apparaat gedurende zich hele levensduur gebruikt, maar behoren is geinformeerd over het gebruik en de verilg-heid van het apparaat.
Voor de veiligheid van mensen en eigendommen dient u zich aan de voorzorgsmaatregelenuit dit instructieboekje te houden, de fabrikant is Niet verantwoordelijk voor schade die door het Niet opvolgen van de aanwijzingenveroorzaakt is.
Veiligheid van kinderen en kwetsbare mensen
- Dit apparaat is Niet bedoeld voor gebruik door(AP)doerlen (waaronder begrepen kinderen) met verminderde fysieke, zintuiglike vermogens of een gebrek aan ervaring en kennis, tenzij dit onder toezicht gebeurt van een voor hun verilgheid verantwoordelijke persoon of tenzij zij van een dergelijkpeisoon instructie hebben ontvangen over het gebruik van het apparaat.
Houd kinderen uit de buurt om te voorkomen dat ze met het apparaat gaan spelen.
- Houd alle verpakkingsmaterialaal buiten het bereik van kinderen. Gevaar voor verstiking.
- Als u het apparaat afdankt trek dan de stekkeruit het stopcontact, snij de voe
dingskabel door (zo zicht möglichk bij het apparaat) en verwijder de deur om te voorkomen dat kinderen een elektrische schok krijgen of zichzelf in het apparaat opsluiten.
- Als dit apparaat, dat voorzien is van een magnetische deursluiting, een ouder apparaat verwangt, dat voorzien is van een veerslot (slot) op de deur of het deksel, zorg er dan voor dat u het slot onbruikbaar maakt voordat u het oude apparaat wegooit. Dit voorkomt dat kinderen er in opgesloten können rakeen.
Algemene veiligheid

Let op! Houd de ventilatie-openingen altijd vrij van obstructies.
- Dit apparaat is bedoeld voor het bewaren van levensmiddelen en/of dranken in een gewoon huishouden, zoals uitgelegd in dit instructieboekje.
- Gebruik geen mechanische hulpmiddelen of kunstgrepen om het ontdoopproces te versnellen.
- Gebruik geen andere elektrische apparaten (bijvoorbeeld ijsmachines) in koelkasten, tenzij ze voor dit doel goedgekeurd়n door de fabrikant.
- Let op dat u het koelcircuit nicht beschadigt.
- Het koelmiddel isobutaan (R600a) bevindt zich in het koelcircuit van het apparaat, dit is een naturulijk gas dat weliswaar milieuvriendelijk is, maar ook uiterst ontvlambaar.
Controller of de onderdelen van het koelcircuitijdens transport en installmentie van het apparaat Niet beschadigd zichnaakt. Indien het koelcircuit beschadigd is:
- open vuur en ontstekingsbronnen vermiiden
-
de ruimte waar het apparaat zich be-vindt grondig ventileren
-
Het is gevaarlijk om wijzigingen aan te brengen in de specificaties of dit product op enigerlei wijze te modifiereren. Een beschadigd netsnoer kan kortsluiting, branden/of een elektrische schok veroorzaken.
! Waarschuwing! Alle elektrische onder-delen (netsnoer, stekker, compressor) mogen uitsluitend verrangen worden door een erkende onderhoudsdienst of gekwalificeerd onderhoudspersoneel.
- Het netsnoer mag nicht verlengd worden.
- Verzeker uervaan dat de stekker nicht platgedrukt of beschadigd worden doorde achechterkant van het apparaat. Een platgedrukte of beschadigde stekker kan oververhit raken en brand veroorzaken.
- Verzeker u ervan dat u de stekker van het apparaat=kunt bereiken.
- Trek nicht aan het snoer.
- Als de stekker los zit, stek hem dan Niet in het stopcontact. Dit kan geaar opleveren van een elektrische schok of brand.
-
U mag het apparaat Niet gebruiken zonder de afdekking van het lampje 9) voor de binnenverlichting.
-
Dit apparaat is zwaar. Wees voorzichtig als u het apparaat verplaatst.
- Haal geen artikelen uit het vriesvak en raak ze Niet aan als uw handen vochtig/nat�k, dit kan uw huid beschadigen of vrieswonden veroorzaken.
- Stel het apparaat nicht langdurig bloot aan direct zonlicht.
Dagelijks gebruik
- Zet geen hete potten op de kunststof onderdelen in het apparaat.
- Bewaar geen brandbare gassen of vloeistoffen in het apparaat, deze können ontploffen.
- Zet geen levensmiddelen direct gegen de luchtopening in de weiterwand. 10)
Diepgevroren voedsel mag nicht opniew worden ingevroren als het eenmaal ontdooid is. -
Bewaar voorverpakte diepvriesproducten volgens de aanwijzingen van de fabrikant.
-
U dient zich strikt te houden aan de aanbevelingen van de fabrikant van het apparaat met betrekking tot het bewaren van voedsel. Raadpleeg de betreffende aanwijzingen.
- Leg geen koolzuurhoudende of mousserende dranken in de vriezer, deze veroorzaken druk op de fles die daardoor kan ontploffen, dit kan schade toebrengen aan het apparaat.
- IJslollies können vrieswonden veroorzaken als zerechtstreeks vanuit het apparaat geconsumeerd worden.
Onderhoud en reiniging
- Schakel het apparaat uit en trek de stekker uit het stopcontact voordat u onderhouds-handelingen verricht. Als u het stopcontact Niet kunt bereiken, onderbreek dan de stroomtoevoer.
Maak het apparaat Niet schoon met met talen voorwerpen. - Gebruik geen scherpe voorwerpen om ij's van het apparaat te krabben. Gebruik een kunststof schraper.
- Controller de afvoer in de koelkast regelmatig op dooiwater. Maak de afvoer, indien nodig, schoon. Als de afvoer verstopt is, zar er water op de bodem van het apparaat liggen.
Installatie
Belangrijk! Voor de aansluiting van elektricitie dienen de instructies in de desbetreffende paragrafen nauwgezet te worden opgevolgd.
- Pak het apparaat uit en controllerer of er beschadigingen zich. Sluit het apparaat niets aan als het beschadigd is. Meld möglichke beschadigingen onmiddelijk bij de winkel waar u het apparaat gekocht heeft. Gooi in dat geval de verpakking Niet weg.
- Wij adviseren u om 4=uur te wachten voor dat u het apparaat aansluit, dan kan de olie terugvloeien in de compressor.
-
Rond het apparaat dient adequate luchtcirculatie teijken, anders kan dit tot oververhitting leiden. Om voldoende ventilatie te verkrijgen de instructies met betrekking tot de installmente opvolgen.
-
De hinterkant dient zo möglichk gegen een muur geplaatst te worden, teneinde te voorkomen dat hete onderdelen (compressor, condensator) aangeraakt konnen worden en brandwonden veroorzaken.
- Het apparaat mag nicht vlakbij radiatoren of kooktoestellen geplaatst worden.
- Verzeker uervaand dat de stekker bereikbaar is nadat het apparaat geinstalleerd is.
- Sluit het apparaat alleen aan op een drink-waterleiding. 11)
Onderhoud
- Alle elektrotechnische werkzaamheden die noodzakelijk zijn voor het uitvoeren van onderhoud aan het apparaat, dienen uitgevoerd te worden door een gekwalificierd elektricien of competent persoon.
- Dit product mag alleen worden onderhouden door een erkend onderhoudscentrum en er dient alleen gebruik te worden gemaatk van originele reserveonderdelen.
Bediening
Inschakelen
Steek de stekker in het stopcontact. Draai de thermostaatknop op een gemiddelde stand.
Uitschakelen
Draai de thermostaatknop op de stand "O" om het apparaat uit te schakelen.
Temperatuurregeling
De temperatuur worden automatisch gere-geld.
Ga als volgt te werk om het apparaat in werk ing te stellen:
- draai dethermostaatknop op een lagere stand om de minimale koude te verkrijgen.
- draai de thermostaatknop op een hogere stand om de maximale koude te verkrijgen.
Een gemiddelde instelling is over het al-gemeen het meest geschikt.
Het eerste gebruik
Belangrijk! Wij adviseren u om 2aar te wachten voordat u het apparaat aansluit, dan kan de olie terugvloeien in de compressor.
11) Indien er een wateraansluiting voorzien is
Bescherming van het milieu
Dit apparaat bevat geen gassen die de ozonlaag+kunnen beschadigen,niet in het koelcircuit en evenmin in de isolatie-materialien.Het apparaat mag Niet worden weggegooid bij het normale huishoudelijkke afval. Het isolatieschuim bevat ontvlambare gassen:het apparaat要去weggegooid worden conform de van toepassing zijnde regels die u bij de lokale overheidsinstanties kunt verkrijgen.Voorkom beschadiging aan de koeleenheid,vooral aan de achterkant bij de warmtewisselaar.De materialen die gebruikt zichn voor dit apparaat en die voorzien zichn van het symbool Zijn recyclebaar.
De exacte instelling moet darüber gekozen worden rekening houdend met hetfeit dat de temperatuur in het apparaat afhankelijk is van:
- de omgevingstemperatuur
- hoe vaak de deur geopend worden
- de hoeveelheid voedsel die bewaard worden
- plaatsing van het apparaat.
Belangrijk! Als de omgevingstemperatuur hoog is of als het apparaat volledig bevuld is en dethermostaatknop op de koudste instelling staat, kan het apparaat continu werken waardoor er ijs op de awhile gezormd worden. In dat geval moet de knop op een hogere temperatuur gezet worden om automatische ontdooling möglich te makeen en zodoende het energieverbruik te beperken.
De binnenkant schoonmaken
Voordat u het apparaat voor de eerste keer gebruikt, wast u de binnenkant en de interne accessoires met lauwwarm water en een beetje neutrale zeep om de typische geur van
een zichew product weg te nemen. Droog daarna grondig af.
Dagelijks gebruik
Vers voedsel invriezen
Het vriesvak is geschikt voor het invriezen van vers voedsel en voor het voor een lange periode bewaren van ingevroren en diepgevroren voedsel.
Om vers voedsel in te vriezen要去 de gemiddelde instelling veranderd worden.
Om het invriezen sneller teLATen verlopen moet u dethermostaatknop echter op een hogere stand instellen om de maximale koude te kannen verkrijgen.
Belangrijk! In deze omstandigheden kan de temperatuur in de koelkast tot onder de 0^ calen. Als dat gebeurt dethermostaatknop op een warmere stand instellen.
Het bewaren van ingevroren voedsel
Als u het apparaat voor het eerst of na eenperiode dat het Niet gebruikt is inschakelt, hetapparaat minstens 2aar op een hoge instelling laden werken voordat u er producten inplaatst.
Belangrijk! In het geval van onbedoelde ontdooling, bijvoorbeeld als de stroom langer is uitgeallen dan de duur die op de kaart met technische kenmerken onder "tijdsduur" is vermeld,要去 het ontdooide voedsel snel geconsumeerd worden of onmiddelijk bereid worden en dan weer worden ingevroren (nadat het afgekoeld is).
Ontdooien
Diepgevroren of ingevroren voedsel kurz, voordat het gebruikt worden, in het koelvak of op kamertemperatuur lately ontdooien, afhankelijk van de hoeveelheidijd die hiervoor nodig is.
Kleine stukken können zelfs rechtstreeks vanuit de vriezer gekookt worden als ze nog bevroren zijn: in dat geval zal de bereidingiets langer duren.
Het make van ijsblokjes
Dit apparaat is uitergerust met een ofeer bladen voor het maken van ijsblokjes. Vul deze bladen met water en zet ze dan in het vriesvak.
Belangrijk! Gebruik geen oplosmiddelen of schurpoeders. Deze beschadigen de lak.
Belangrijk! Gebruik geen metalen instrumenten om de laden uit de vriezer te halen.
Verplaatsbare schappen
De wanden van de koelkastঀ voorzien van een aantal geleiders zodate schappen op de gewenste plaats gezet hunnen worden.
Belangrijk! Verwijder de glasplaat boven de groentela en het flessenrek Niet om een goede luchtcirculatie te garanderen.

Hetplaatsen van de deurschappen
Om het bewaren van voedsvelpakketten van verschillende afmetingen möglichk te make, kuren de schappen op verschillende hoogtes geplaatst worden.
Om deze aanpassingen uit te voeren, gaat u als volgt te werk:
trek het schap geleidelijk in de richting van de bijlen totdat het los komt enplaats op een andere gewenste hoogte terug.

Nuttige aanwijzingen en tips
Tips voor energiebesparing
- De deur nicht vaker openen of open latent staan dan striktoodzakelijk.
- Als de omgevingstemperatuur hoog is, de thermostatknop op de hoogste instelling staat en het apparaat volledig bevuld is, kan de compressor continu aan staan waardoor er ijs op de verdamper ontstaat. Als dit gebeurt, draait u de thermostatknop maar een lagere instelling om de koelkast automatisch teLATen ontdooien en zo elektriciteitsverbruik te besparen.
Tips voor het koelen van vers voedsel
Om de beste prestatie te verkrijgen:
- Zet geen warm voedsel of verdampende vloeistoffen in de koelkast
- dek het voedsel af of verpak het, in het bij-zonder als het een sterke geur heeft
- plaats het voedsel zodanig dat de lucht en vrijelijk omheen kan circuleren
Nuttige tips voor het koelen
Nuttige tips:
Vlees (alle soorten) in plastic zakken verpakken en op het glazen schap leggen, boven de groentelade.
Bewaar het, voor de verilgheid, slechts een of maximaal twee dagen op deze manier.
Gekootkt voedsel, koude schotels, enz.:dezemeoten afgedekt worden en mogen op willekeurig welt schap gezet worden.
Fruit en groente: deutsche moeten zorgvuldig schoongemaaKT worden en in de special aanoor bedoelde lade(n) geplaatst worden. Boter en kaas: dit moet in speciale luchtdichte bakjes gelegd of in aluminiumfolie of plastic zakjes gewikkeld worden om zoveel mogelijk lucht buiten te sluiten.
Melkflessen: deze要去en een afdekdop hebben en opgeslagen worden in het flessenrek in de deur.
Tips voor het invriezen
Om u te helpen om het Beste van het invriesproces te make, volgen hier eenaar belangrijke tips:
- de maximale hoeveelheid voedsel die in 24aar ingevroen kan worden. is vermeld op het typeplaatje;
- het invriesproces duurt 24 uur. Voeg gedurende dezeperiode Nieteer in te vriezen voedsel toe;
-
vries alleen vers en grondig schoongemaakte levensmiddelen van uitstekende kwaliteit in;
bereid het voedsel inkleine porties voor, zo kan het snel en volledig worden ingevroren en zo kunt u later alleen die hoeveelheid lately ontdooien die u nodig heeft; -
wikkel het voedsel in aluminiumfolie of plastic en zorg ervoor dat de pakjes lucht-dichtহ;
leg vers, nog nicht ingevroren voedsel nicht gegen het al ingevroren voedsel, om te voorkomen dat dit LASTE warm wordt; - smalle pakjes zijn makkelijker op te bergend dan dikke; zout maakt voedsel minder lang houdbaar;
- water bevriest, als dit rechtstreeks ut het vriesvak geconsumeerd worden, kan het aan de huid vastvriezen;
- het is aan te bevelen de invriesdatum op elk pakje te vermelden, dan kunt u zien hoe lang het al bewaard is;
Tips voor het bewaren van ingevroen voedsel
Om de Beste resultaten van dit apparaat te verkrijgen, dient u:
Onderhoud en reiniging

Let op! Voordat u welke onderhoudshandeling dan ook verricht, de stekker uit het stopcontact trekken.

Het koelcircuit van dit apparaat bevat koolwaterstoffen; onderhoud en herladen mag alleen uitgevoerd worden door bevoegde technici.
Periodieke reiniging
Het apparaat moet regelmatig worden schoongemaaakt:
- maak de binnenkant en de accessoires schoon met lauw water en wat neutrale zoep.
- controller de afdichtingen regelmatig en wrijf ze schoon om u ervan te verzekerend dat ze schoon zich en vrij van restjes zich.
- spoel ze af en maak ze grondig droog.
Belangrijk! Trek Niet aan leidingen en/of kabels aan de binnenkant van de kast en verplaats of beschadig ze Niet.
Gebruik nooit schoonmaakmiddelen, schuurpoeders, erg geparfumeerde reinigingsproducten en waspolijstmiddelen om de binnenkant schoon te make, aangeziendeze het oppervlak beschadigen en een sterke geur acheterlaten.
Maak de condensor (zwart rooster) en de compressor op de awhilekant van het apparaat schoon met een borstel of stofzuiger.
- er zich van te verzekeren dat de commercieel ingevroen levensmiddelen op geschikte wijze door de detailhandelaar werden opgeslagen;
- ervoor te zorgen dat de ingevroren levens-middelen zo snel möglichk van de winkel\ aar uw vriezer gebracht worden;
- de deur nicht vaker te openen of open te latent staan dan striktoodzakelijk.
- Als voedsel eenmaal ontdood is, bederft het snel en kan het Niet opnieuw worden ingevroren.
- Bewaar het voedsel Niet langer dan de door de fabrikant aangegeven bewaarperiode.
Deze handeling zal de prestatie van het apparaat verbeteren en het elektriciteitsverbruik besparen.
Belangrijk! Zorg ervoor dat u het koelsystemeim nicht beschadigt.
Veel normala verkrijgbare keukenreiners bevatten chemicalien die de kunststoffen die in dit apparaat gebruikt zich kuren aantasten/beschadigen. Daarom worden het aanbevolen de buitenkant van dit apparaat alleenschoon te make n met warm water met een beetje afwasmiddel.
Steek, na het schoonmaken van het appar-. raat, de stekker wee in het stopcontact.
Het ontdooien van de koelkast
Rijp worden elke keer als de compressormotor tijdens normale werking stopt, automatisch van de verdamper van het koelvak verwijderd. Het dooiwater loopt via een goatje in een speciale opvangbak aan de achterkant van het apparaat, boven de compressormotor, waar het verdampt.
Het is belangrijk om het afvoergaatje van het dooiwater in het midden van het koelvak regelmatig schoon te makeen, om te voorkomen dat het water overloopt en op het voedsel in de koelkast gaat druppelen. Gebruik waaroor de speciale reiniger, die al in het afvoergaatje zit.

De vriezer ontdooien
Een zekere hoeveelheid rijp zal zich alkijd vormen op de schappen van de vriezer en rond het bovenstevak.
Belangrijk! Ontdooi de vriezer wanner de rijplaag een dikte van ongeveer 3-5 mm bereikt heeft.
Volg onderstaande aanwijzingen om de rijp te verwijderen:
- Schakel het apparaatuit.
- Verwijder al het ingevroren voedsel, wikkel het in eenaar lagen krantenpapier en leg het op een koele plaats.
- Laat de deur open staan.
- Na afloop van het ontdooien de binnenkant grondig droog make en de dop terugzetten.
Problemen oplossen
! Waarschuwing! Voordat u storing opspoort, de stekker uit het stopcontact trekken.
Het opsporen van storingen die nicht in deze handleiding vermeld zich, dient te worden verricht door een gekwalificeerd technicus of competent persoon.
- Schakel het apparaat in.
- Zet dethermostatknop op de maximale koude en laat het apparaat twee tot drieeur in deze instelling werken.
- Zet het erender verwijdderde voedsel terug in het vriesvak.
Belangrijk! Gebruik nooit scherpe metalen om de rijp van de verdamper te krabben, deze zou beschadigd können raken. Gebruik geen mechanische of kunstmatige middelen om het ontdooiprocesse te versnellen, behalve die middelen die door de fabrikant zijn aanbevolen. Een temperatuurstijgingijdens het ontdooien van de ingevroren levensmiddelen, kan de veilige bewaartijd verkorten.
Periodes dat het apparaat Niet gebruikt worden
Als het apparaat gedurende langeijd Niet gebruikt worden, neem dan de volgende voor-zorgsmaatregelen:
trek de stekker uithetstopcontact,
- verwijdter al het voedsel,
ontdooi de koelkast, ^12 en maak het apparaat en alle accessoires schoon,
- liaison de laur/duuren op een kier staan om de vorming van onaangename luchtjes te voorkomen.
Als uw apparaat aan blijft staan, vraag dan iemand om het zo nu en dan te controlleren, om te voorkomen dat het bewaarde voedsel berdt, als de stroom uittvalt.
Belangrijk! Er zijnijdens de normale werkig geluiden te horen (compressor, koelcircuit).
| Probleem Mogelijk oorzaak Oplossing | |
| Het apparaat werkt nicht.Het lampje brandt nicht. | Het apparaat is uitgeschakeld. Schakel het apparaat in. |
| De stekker zit nicht goed in hetstopcontact. | Steen de stekker goed in het stop-contact. |
12) indien nodig,
| Probleem Mogelijk oorzaak Oplossing | ||
| Het apparaat krijgt geen stroom. | Er staat geen spanning op het stopcontact. | Sluit een ander elektrisch apparaat aan op het stopcontact. Neem contact op met een gekwa-lificeerde elektricien. |
| Het lampje brandt nicht. | Het lampje is stuk. Raadpleeg "Het | lampje venvan-gen". |
| De compressor werkt continu. | De temperatuur is Niet goed inge-steld. | Stel een hogere temperatuur in. |
| De deur is Niet goed gesloten. | Raadpleeg "De deur sluiten". | |
| De deur is te vaak open gedaan. | Laat de deur Niet langer open staan danoodzakelijk. | |
| De temperatuur van het product is te hoog. | De kamertemperatureur is te hoog. | Laat het product afkoelen tot ka-mertemperatureur voordat u het op-bergt. |
| Tijdens het automatische ont-dooijproces, ontdooit de rijp te-gen dechterwand. | Verlaag de kamertemperatureur. | |
| Er loopt water over de achterkant van de koel-kast. | De waterafvoer is verstopt. Maak de waterafvoer schoon. | Dit is juist. |
| Er loopt water in de koel-kast. | ||
| Producten verhinderen het water om in de wateropvangbak te lo-pen. | Zorg ervoor dat de producten dechterwand Niet raken. | |
| Er loopt water over de vloer. | De dooiwaterafvoer loopt Niet in de verdamperbak boven de com-pressor. | Maak de dooiwaterafvoer vast op de verdamperbak. |
| De temperatuur in het ap-paraat is te laag. | De temperatuur is Niet goed inge-steld. | Stel een hogere temperatuur in. |
| De temperatuur in het ap-paraat is te hoog. | De temperatuur is Niet goed inge-steld. | Stel een lagere temperatuur in. |
| De deur is Niet goed gesloten. | Raadpleeg "De deur sluiten". | |
| De temperatuur van het product is te hoog. | Laat het product afkoelen tot ka-mertemperatureur voordat u het op-bergt. | |
| Er+zijn veel producten tegelijk op-gengeborgen. | Berg minder producten tegelijk op. | |
| Er is geen koude luchtcirculatie in het apparaat. | Zorg ervoor dat er koude luchtcir-culatie in het apparaat is. | |
Het lampje verrangen
- Trek de stekker uit het stopcontact.
- Verwijder de schroef van de afdekking van het lampje.
- Verwijder de afdekking van het lampje (raadpleeg de afbeelding).
- Vervang het kapotte lampje door een neueuw lampje met hetzelfde vermogen (het maximumvermogen is vermeld op de afdekking van het lampje).
-
Installeer de afdekking van het lampje.
-
Draai de schroef van de afdekking van het lampje vast.
- Steek de stekker in het stopcontact.
- Maak de deur open. Controller of het lampje gaat branden.

De deur sluiten
- Maak de afdichtingen van de deur schoon.
- Stel de deur, indien nodig, af. Raadpleeg "Montage".
- Vervang, indien nodig, de defecte deur-afdichtingen. Neem contact met de service-afdeling.
Technische gegevens
| Afmetingen van de uitsparing | ||
| Hoogte 880 mm | ||
| Breedte 560 mm | ||
| Diepte 550 mm | ||
| Tijdsduur 12 h |
De technische gegevens staan op het typeplaatje aan de linker binnenkant in het apparaat en op het energielabel.
Montage
Lees voor uw eigeneiligkeit en correcte werking van het apparaat eerst de "veiligheidsinformatie" aandachtig door, alvorens het apparaat te installereren.
Opstelling
Installer dit apparaat op eenplaats waar de omgevingstemperatuur overeenkomt met de klimaatklassie die vermeld is op het typeplatie van het apparaat:
| Klimaat-klasse | Omgevingstemperatuur |
| SN +10°C tot + 32°C | |
| N +16°C tot + 32°C | |
| ST +16°C tot + 38°C | |
| T +16°C tot + 43°C | |
Elektrische aansluiting
Zorg er voor het aansluten voor dat het voltage en de freiagentie op het typeplaatje overeenkomen met de stroomtoevoer in uwuis.
Het apparaat moet geaard zich. De netsnoer stekker is voorzien van een contact voor dit doel. Als het stopcontact Niet geaard is, sluit het apparaat dan aan op een afzonderlijk aardepunt, in overeenstemming met de geldende regels, raadpleeg hiervoor een gekwalificeerd elektricien.
De fabrikant neemt geen verantwoordelijkheid op zich als de bovenstaande veiligheidsmaatregelen nicht worden nageleefd.
Dit apparaat voldoet aan de EU. richtlijnen.
Omkeerbaarheid van de deur
De deur van het apparaat.gaat maar rechts open. Als u wilt dat de deur maar links open gaat, ga dan als volgt te werk, voordat u het apparaat installeert:
- Maak de bovenste pen los en verwijder hem.
- Verwijder het bovenste afstandsstuk.
- Verwijder de deur.
- Maak de onderste pen los en verwijder hem.
- Verwijder het onderste afstandsstuk.

Op de gegenoverliggende kant:
- Verwijder de afdekking van het scharnier en monteer het op het gegenoverliggende scharnier.
- Monteer het onderste afstandsstuk.
- Zet de onderste pen vast.
- Monteer de deur.
- Monteer het bovenste afstandsstuk.
- Zet de bovenste pen vast.

Ventilatievereisten
De luchtstroom anschter het apparaat要去 voldoende zijn.

Uitlijning meubilair
Belangrijk! Zorg ervoor dat het keukenmeubilair verticaal en in allerichtingen 90^ isuitgelijnd.
Stel de deuren van het keukenmeubilair eerst af voordat u het apparaat installeert.



Belangrijk! Verwijder de deurveer van het meubilair, indien möglichk, om de deur van het apparaat meer ruimte te gehen om vrij te bewegen.
De installment van het apparaat

Let op! Zorg ervoor dat het aansluitsnoer vrij kan bewegen.
Ga als volgt te werk:
- Installeer de affdicht strip.
a) Verwijder de afdekking van de strip.
b) Bevestig de zichklevende aufdicht strip op het apparaat zoals aangegeven op de afbeelding.

- Installer het apparaat in de nis.
a) Duw het apparaat in de richting van de pijlen (1) totdat de afdekking van de opening gegen het keukenmeubel aankomt.
b) Duw het apparaat in de richting van de pijlen (2) gegen de kast tegenover het scharnier.

- Stel het apparaat in de nis af. Lijn het onderste scharnieruit met het keukenmeubilair.

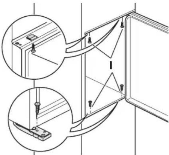
4. Bevestig het apparaat met 4 schroeven aan de nis.

5. bevestig de afdekkingen (C, D) aan deuitsteeksels en de gaten van de scharnieren. Bevestig de afdekking van het scharnier (E) op het scharnier.

6. Maak de onderdelen (Ha), (Hb), (Hc) en (Hd) los.


7. Monteer onderdeel (Ha) aan de binnenkant van het keukenmeubel.

8. Duw onderdeel (Hc) op onderdeel (Ha).
9. Zet de deur van het apparaat en de deur van het keukenmeubel open in een hoek van 90^ Plaats hetkleine vierkantje (Hb) in de geleider (Ha).
Zet de deur van het apparaat en de deur van het keukenmeubel gegen elkaar en markeer de gaten.

- Verwijder de beugels. Installee de spijker (K) 8 mm van de buitenste rand van de deur.

- Plaats hetkleine vierkantje op de geleider terug en maakt het goed met demeegeleverde schroeven vast.
Lijn de deur van het keukenmeubel en de deur van het apparaatuit met behulp van onderdeel Hb.

- Duw onderdeel (Hd) op onderdeel (Hb).

Controleer goed en verzeker u ervan dat:
- alle schroeven zijn aangehaald.
- de afflichtingsstrip goed bevestigd is aan de kast.
- De deur goed open en dicht gaat.
Omkeerbaarheid van de deur van de vriezer

Het milieu
Het symbool op het product of op de verpakking wijst erop dat dit product nicht als huishoudafval mag worden behandeld, maar要去 worden afgeveen bij een verzamelpunt waar elektrische en elektronische apparatuur worden gerecycled. Als uervoort zorgt dat dit product op de juiste manier wordt verwijderd, voorkomt u mogelijkne negatieve gevolgen voor mens en milieu die zich zonden+kennen voordoen in geval van verkeerde afvalverwerking.Voor gedetailleerdere informatie over het recylen van dit product, kunt u contact opnemen met de gemeente, de gemeentereing of de winkel waar u het product hebts gekocht.
SimpelGids