PK0840 - Kühlschrank PROGRESS - Kostenlose Bedienungsanleitung
Finden Sie kostenlos die Bedienungsanleitung des Geräts PK0840 PROGRESS als PDF.
Laden Sie die Anleitung für Ihr Kühlschrank kostenlos im PDF-Format! Finden Sie Ihr Handbuch PK0840 - PROGRESS und nehmen Sie Ihr elektronisches Gerät wieder in die Hand. Auf dieser Seite sind alle Dokumente veröffentlicht, die für die Verwendung Ihres Geräts notwendig sind. PK0840 von der Marke PROGRESS.
BEDIENUNGSANLEITUNG PK0840 PROGRESS
Sicherheitshinweise 2
Betrieb 4
Erste Inbetriebnahme 5
Täglicher Gebrauch 5
Praktische Tipps und Hinweise 6

Reinigung und Pflege 7
Was tun, wenn ... 9
Technische Daten 10
Gerat aufstellen 11
Hinweise zum Umweltschutz 16
Änderungen

Sicherheitshinweise
Lesen Sie zu ihrer Sicherheit und für die optimale Geräteanwendung vor der Installation und dem Gebrauch des Gerätes die vorliegende Benutzerinformation aufmerksam durch, einschließlich der Ratschläge und Warnungen. Es ist wichtig, dass zur Vermiedung von Fehlern und Unfälle alle Personen, die das Gerät benutzen, mit der Bedienung und den Sicherheitsvorschriften vertraut sind. HebEN Sie die Benutzerinformation gut auf und übergeben Sie sie bei einem Weiterverkauf des Gerätes dem neuen Besitzer, so dass jeder während der gesamten Lebensdauer des Gerätes über Gebrauch und Sicherheit informiert ist.
Halten Sie sich zu ihrer Sicherheit und zum Schutz Ihres Eigentums strikt an die Vorsichtsmaßnahmen der vorliegenden Benutzzerinformation, da der Hersteller bei Missachtung derselben von jeder Haftung freigesetzt ist.
Sicherheitshinweis
- Das Gerät darf von Personen (einschließlich Kindern), deren physische, sensorische Fähigkeiten und deren Mangel an Erfahrung und Kenntnissen einen sicheren Gebrauch des Gerätes ausschreiben nur unter Aufsicht oder nach ausreichender Einweisung durch eine verantwortungsbewusste Person benutzt werden, die sichereitlt, dass sie sich der Gefahren des Gebrauchs bewusst sind. Kinder mussen beaufsichtigt werden, damit sie nicht am Gerät herumspielen konnen.
- Halten Sie das Verpackungsmaterial unbedingt von Kindern fern. Erstickungsgehr!
- Ziehen Sie vor der Entsorgung des Gerätes den Netzstecker, schneiden Sie das Netzkabel (so nah wie möglich am Gerät)
ab und entfernen Sie die Tur, so dass spielende Kinder vor elektrischem Schlag geschützt sind und sich nicht in dem Gerätes einschließlich konnen.
- Wenn these Gerät mit magnetischer Türdlichtung ein ätheres Modell mit Schnappverschluss (Tülasche) an der Tur oder auf dem Deckel ersetzt, machen Sie den Schnappverschluss vor dem Entsorgendes Altgerätes unbrauchbar. So verhinder Sie, dass das Gerät nicht zu einer To-desfalle für Kinder wird.
Allgemeine Sicherheitschinweise

Vorsicht! Die Belüftungsöffnungen müssen immer frei von Hindernissen sein.
- Das Gerät ist für die Aufbewährung von Lebensmitteln und/oder Geträken in einem normalen Haushalt bestimmt, wie in den vorliegenden Bedienungsanweisungen beschrieben wird.
- Benutzen Sie keine mechanischen oder sonstigen Hilfsmittel, um den Abtauprozess zu beschleunigen.
- Verwenden Sie keine anderen Elektrogeräte (wie Speiseeisbereiter) in Kühlgäraten, wenn solche Geräte nicht ausdrücklich vom Hersteller für diesen Zweck zugelassen sind.
-
Achten Sie darauf, den Kühlkreislauf nicht zu beschädigen.
-
Das Kältemittel Isobutan (R600a) im Kältekreislauf des Gerätes ist ein natürliches und sehr umweltfreundliches Gas, das jederlich leicht entflammbar ist.
Achten Sie beim Transport und bei der Aufstellung des Gerätes daraufuf, nicht die Komponenten des Kältekreislaufs zu beschädigen.
Bei einer eventuellen Beschädigung des Kältekreislaufs:
offene Flammen und Zündfunken vermeiden - den Raum, in dem das Gerät installiert ist, gut lüften
- Änderungen der Spezifikationen und am Gerät sind gefährlich. Ein defektes Netzkabel kann Kurzschlüsse und Feuer verursachen und/oder zu Stromschlagen führen.
! Warning! Elektrische Bauteile (Netzka-bel, Stecker, Kompressor) dürfen nur vom Kundendienst oder einer kompeten ten Fachkraft ausgewechselt werden.
- Das Netzkabelarf nichtverlangert werden.
- Vergewissem Sie sich, dass der Netzstecker nicht von der Geräterückseite gequetscht oder beschädigt wird. Ein gequetschter oder beschädigter Netzstecker überhitz und kann einen Brand verursachen.
- Vergewissern Sie sich, dass der Netzstecker des Gerätes frei zugänglich ist.
- Ziehen Sie nicht am Netzkabel.
- Stecken Sie den Netzstecker nie in eine lockere Steckdose. Es besteht Brand- und Stromschlaggefahr.
-
Betreiben Sie das Gerät nicht ohne Lampenabdeckung, 1) Innenbeuch-tung vorgesehen ist.
-
Dieses Gerät ist schwer. Vorsicht beim Transport.
- Entnehmen oder berühren Sie nie mit nassen/feuchten Händen Tiefkühlgut, da this zu Hautverletzungen oder Kälteverbrennungen führen kann.
- Das Gerät nicht direkter Sonneneinstrahlung aussetzen.
Täglicher Gebrauch
- Stellen Sie keine bereits Töpfe auf die Kunststoffe des Gerätes.
- Lagern Sie keine feuergefährlichen Gase oder Flüssigkeiten in dem Gerät. Explosionsgefahr.
- Legen Sie Lebensmittel nicht direkt vorden Luftauslass auf der Rückwand. 2)
- Ein aufgetautes Produkt darf nicht wieder eingefroren werden.
- Abgepackte Tiefkuhlkost immer entsprechend den Herstellerangaben aufbewahren.
Die Lagerempfehlungen des Geräteherstellers sollen den strikt eingehalten werden. Halten Sie sich an die betreffenden Anweisungen. - Keine kohlensäurehaltigen Getränke oder Sprudel in den Tiefkühlschrank stellen, da der Druckanstieg in den Behältern zur Explosion führen und das Gerät beschädigen kann.
- Eis am Stiel kann Kälteverbrennungen verursuchen, wenn es direkt nach der Entnahme aus dem Gefrierschrank gegessen wird.
Reinigung und Pflege
- Schalten Sie vor Wartungsarbeiten immer das Gerät ab undziehen Sie den Netzstecker aus der Steckdose. Falls Sie nicht an die Steckdose kommt, unterbrechen Sie die Stromversorgung.
- Reinigen Sie das Gerät nicht mit Metallgegenständen.
- Keine scharfen Gegenstände zum Entfernen von Reif und Eis im Gerät verwenden. Verwenden Sie einen Kunststoffschafer.
- Kontrollieren Sie den Tauwasserabfluss im Kühlraum in regelmäßigen Abständen. Reinigen Sie den Ablauf, falls notig. Bei verstopftem Wasserabfluss sammelt sich das Wasser auf dem Boden des Gerätes an.
Inbetriebnahme
Wichtig! Halten Sie sich für den elektrischen Anschluss strikt an die Anweisungen der betreffenden Abschnittte.
- Kontrollieren Sie nach dem Auspacken das Gerät auf eventuelle Beschädigungen. Nehmen Sie das Gerät nicht in Betrieb, wenn es beschädigt ist. Melden Sie die Schäden umgehend dem Handler, bei dem Sie es erworben haben. Bewahren Sie in dieser Fall die Verpackung auf.
- Lassen Sie das Gerät mindestens vier Stunden stehen, bevor Sie es elektrisch anschließen, damit das Öl in den Kompressor zurückfließen kann.
- Ausreichenden Freiraum zur Luftzirkulatior um das Gerät lassen; anderenfalls besteht Überhitzungsgefahr. Halten Sie sich für die Belüftung an die Installationsanweisungen.
- Das Gerät sollte zur Vermeidung von Verbrennungen durch Berührung von freißen Bauteilen (Kompressor, Kondensator) möglichst mit der Rückseite gegen eine Wand aufgestellt werden.
- Das Gerätarf nicht in der Nähe von Heizkörpersn oder Kochern installiert werden.
- Vergewissern Sie sich, dass der Netzstecker des Gerätes nach der Installation frei zugänglich ist.
- Verbinden Sie das Gerät ausschließlich mit einer Trinkwasserzuleitung. 3)
Betrieb
Einschalten des Geräts
Stecken Sie den Stecker in die Wandsteck-dose.
Drehen Sie den Temperaturregler im Uhrzeigersinn auf eine mittlere Einstellung.
Ausschalten des Geräts
Drehen Sie den Temperaturregler zum Ausschalten des Geräts in die Position "O".
Temperaturregelung
Die Temperatur wird automatisch geregelt. Bedienen Sie das Gerät wie folgt:
- drehen Sie den Temperaturregler auf eine niedrigere Einstellung, um die minimal mögliche Kühlung zu erreichen.
- drehen Sie den Temperaturregler auf eine höhere Einstellung, um die maximal mögliche Kuhlung zu erreichen.
i eine mittlere Einstellung ist im Allgemeinen am besten geeignet.
Kundendienst
- Sollte die Wartung des Gerätes elektrische Arbeiten verlangen, so dürfen diese nur von einem qualifizierten Elektriker oder einem Elektro-Fachmann durchgeführt werden.
- Wenden Sie sich für Reparaturen und Wartung nur an Fachkräfte der autorisierten Kundendienststellen und verlangen Sie stets Original-Ersatzteile.
Umweltschutz
Das Gerät enthalt im Kältekreis oder in dem Isoliermaterial keine ozonschädigenden Gase. Das Gerätarf nicht wie normaler Hausmüll entsorgt werden. Die Isolierung enthalt entszündliche Gase: das Gerät muss gemäß den geltenden Vorschriften entsorgt werden; sie erhalten diese bei ihrer Gemeindeverwaltung. Nicht das Kälteaggregat beschädigen, insbesondere nicht in der Nähe des Wärmetauschers. Die Materialien, die bei der Herstellung deses Geräts verwendet wurden und mit dem Symbol markiert sind, können recycliert werden.
Allerdings muss für eine exakte Einstellung berücksichtigt werden, dass die Temperatur im Innern des Gerätes von verschiedenen Faktoren abhängt:
- von der Raumtemperatur
- von der Häufigkeit der Türoeffnung
- von der Menge der eingelagerten Lebensmittel
- und vom Standort des Geräts.
Wichtig! Ist die Umgebungstemperatur hoch oder das Gerät voll beladen, diese aber auf die niedrigste Temperatur eingestellt, so kann es bei andauerndem Betrieb des Geräts an der Rückwand zu Frostbildung kommt. In dieser Fall muss eine höhere Temperatur gewählt werden, die ein automatisches Abtauen ermöglich und damit auch einen niedrigeren Energieverbrauch.
Erste Inbetriebnahme
Reinigung des Innenraums
Bevor Sie das Gerät in Betriebnehmen, be-seitigen Sie den typischen "Neugeruch" am besten durch Auswaschen der Innenteile mit lauwarmem Wasser und einem neutralen Reinigungsmittel.Sorgfältig nachtrocknen.
Täglicher Gebrauch
Einfrierten frischer Lebensmittel
Das Gefrierfach eignet sich zum Einfrieren von frischen Lebensmitteln und zum Lagern von gefrorenen und tiefgefrorenen Lebensmitteln für einen längeren Zeitraum.
Für das Einfrierten frischer Lebensmittel ist eine Änderung der mittleren Einstellung nicht erforderlich.
Möchten Sie den Gefriervorgang beschleunigen, drehen Sieitte den Temperaturregler auf eine höhere Einstellung, um die maximal mögliche Kuhlung zu erreichen.
Wichtig! In diesen Fall kann die Temperatur im Kühlschrank unter 0^ fallen. Ist dies der Fall, drehen Sie den Temperaturregler auf eine wärmere Einstellung.
Lagerung gefroreiner Produkte
Lassen Sie das Gerät vor der ersten Inbetriebnahme oder nach einer Zeit, in der das Gerät nicht benutzt wurde, mindestens zwei Stunden lang auf den hohenen Einstellungen laufen, bevor Sie Lebensmittel in das Gefrierfach hinein legen.
Wichtig! Kam es zum Beispiel durch einen Stromausfall, der länger dauerte als der in der Tabelle mit den technischen Daten angegebene Wert (siehe "Ausfalldauer") zu einem ungewollen Abtauen, dann mussen die aufgetauten Lebensmittel sehr rasch verbraucht oder sofort gekocht und (nach dem Abkühlen) erneut eingefroren werden.
Auftauen
Tiefgefrorene oder gefrorene Lebensmittel konnen vor der Verwendung je nach der zur Verfugung stehenden Zeit im Kuhlschrank oder bei Raumtemperatur aufgetaut werden. Kleinere Gefriergutteile konnen unter Umstanden soccer direkt aus dem Gefrierschrank entnommen und anschlieBend sofort gekocht oder gegart werden: in thisem Fall
Wichtig! Benutzen Sie keinesfalls Putzmittel oder Scheuerpulver, da diese die Oberfläche beschädigen können.
duert der Garvorgang allerdings etwas länger.
Eiswürfelbereitung
Dieses Gerät ist mit einer oder mehreren Schalen für die Herstellung von Eiswürfeln ausgestattet. Füllen Sie die Schalen mit Wasser und stellen Sie diese in das Gefrierfach.
Wichtig!itte verwenden Sie zum Herausholen der Schalen aus dem Gefrierschrank keine Utensilien aus Metall.
Verstellbare Ablagen/Einsätze
Die Wände des Kühlschranks sind mit einer Anzahl von Führungsschienen ausgestattet, die verschiedene Möglichkeit für das Einsetzen der Ablagenieten.
Wichtig! Die Glasablage über der Gemüseschublade und die Flaschenablagesollen jedoch nicht verstellt werden, um eine korrekte Luftzirkulation zu gewährleisten.

Positionierung der Türeinsätze
Die Türeinsätze können in verschiedene Höhe positioniert werden; damit ermöglich
Sie das Lagern verschiedene großer Lebensmittelpackungen.
Bitte erhmen Sie die Einstellungen wie folgt vor:
ziehen Sie den Einsatz langsam in Richtung der Pfeile soweit hersaus, bis er ganz aus der Führung ist, und setzen Sieihn dann nach Wunsch wieder ein.

Praktische Tipps und Hinweise
Energiespartipps
-
Offnen Sie die Tur nicht zu halten Sie diese nicht länger offen als unbedingt notwendig.
-
Ist die Umgebungstemperatur hoch, der Temperaturregler auf eine höhere Einstellung gedreht und das Gerät voll beladen, kann es bei andauerndem Betrieb des Kompressors zu Frost- oder Eisbildung am Verdampfer kommt. In dieser Fall muss mit dem Temperaturregler eine niedrigere Temperatur gewählt werden, die ein automatisches Abtauen ermöglich und damit auch einen niedrigeren Energieverbrauch.
Hinweise für die Kuhlung frischer Lebensmittel
So erzielen Sie Beste Ergebnisse:
- legen Sieittekeine warmen Lebensmittel oder dampfendeFlüssigkeiten in den Kuhlschrank
decken Sie die Lebensmittel ab oder verpacken Sie diese entsprechend, besonderss wenn diese stark riechen - legen Sie die Lebensmittel so hinein, dass um sie Luft frei zirkulieren kann
Hinweise für die Kuhlung
Tipps:
Fleisch (alle Sorten): wickeln Sie Fleisch in lebensmittelechte Tüten und legen Sie diese
auf die Glasablage über der Gemüseschublade.
Bitte lagern Sie Fleisch aus Sicherheitsgründen nur einen oder maximal zwei Tage auf diese Weise.
Gekochtete Lebensmittel, kalte Gerichte usw.:\ diese können abgedeckt auf eine Ablage gelegt werden.
Obst und Gemüse:itte waschen Sie Obst und Gemüse grundlich und legen Sie es in die speziell dafür vorgesehene(n) Schublade(n).
Butter und Käse: diese sollen stets in speziellen luftdichten Behältern verpackt sein oder in Aluminiumfolie bzw. in lebensmitteltelechte Tuten eingepackt werden, um so weniger Luft wie möglich in der Verpackung zu haben.
Milchflaschen:itte bewahren Sie Milchflaschen stets mit Deckel im Flaschenregal in der Tur auf.
Bananen, Kartoffeln, Zwiebeln und Knoblauch sollenn nicht im Kühlschrank aufbewahrt werden, außer diese sind dafür speziellverpackt.
Hinweise zum Einfrierten
Im Folgenden finden Sie eine wertvolle Tipps für einen optimalen Gefriervorgang:
-
die maximale Menge an Lebensmitteln, die innerhalb von 24 Stunden eingefroren werden kann. Ist auf dem Typsvild angegeben;
-
der Gefriervorgang pauert 24 Stunden. Legen Sie während thesez Zeitraums keine weiteren einzufrierenden Lebensmittel in das Gefrierfach;
- frieren Sie ausschließlich frische und gründlich gewaschene Lebensmittel von sehr guter Qualität ein;
- teilen Sie die Lebensmittel in keinere Portionen ein, damit diesechnell und vollständig gefrieren und Sie später nur die Menge auftauen müssen, die Sie gerade benötigen;
- die einzufrierenden Lebensmittelportionen sollenn stets luftdicht in Aluminiumfolie oder in lebensmittelechte Gefrierbeutel verpackt werden, um so weniger Luft wie möglich in der Verpackung zu haben;
- achten Sie beim Hineinlagen von frischen, noch ungeborenen Lebensmitteln daraufuf, dass diese keinen Kontakt mit Gefriergutbekommen, da diese sont antauen kann;
- weniger fetthaltige Lebensmittel lassen sich better lagern als fetthaltigere; Salz verkurzt die Lagerzeit von Lebensmitteln im Gefrierfach;
- werden Gefrierwurfel direkt nach der Entnahme aus dem Gefrierfach verwendet,
konnen Sie zu Frostbrand auf der Haut führen;
- Es empfeht sich, das Einfrierdatum auf jeder einzeln Packung zu notieren, um einen genauen Überblick über die Lagerzeit zu haben.
Hinweise zur Lagerung gefroreiner Produkte
So erzielen Sie die besten Ergebnisse mit Ihrem Gerät:
- prüfen Sie sorgfältig, dass die im Handel erworbenen gefrorenen Lebensmittel sichgerecht gelagert wurden;
achten Sie unbedingt darauf, die eingekauften gefrorenen Lebensmittel in der kürzest möglichen Zeit in ihren Gefrierschrank zu bringen; - öffnen Sie die Tur nicht zu halten, und lassen Sie diese nicht länger offen als unbedingt notwendig.
- Abgetaute Lebensmittel verderben sehr Schnell und eignen sich nicht für ein erneutes Einfrieren.
- Das Haltbarkeitsdatum auf der Tiefkuhl-kostverpackung sollte nicht übersritten werden.
Reinigung und Pflege

Vorsicht! Ziehen Sieitte vor jeder Reinigungsrarbeit immer den Netzstecker aus der Steckdose.

Der Kältekreis des Gerätes enthalt Kohlenwasserstoffe; Wartungsarbeiten und Nachfüllen von Kältemittel dürfen dazu nur durch vom Hersteller autorisiertes Fachpersonal ausgeführrt werden.
Regelmäßige Reinigung
Der gesamte Kühlschrank muss regelmäßig gereinigt werden:
- Reinigen Sie die Innenseiten und die Zubehörteile mit lauwarmem Wasser und etwas Neutraleife.
- Prüfen und saubern Sie die Turdichtungen in regelmäßigen Abständen und kontrollieren Sie, dass diese sauber und frei von Verunreinigungen sind.
- Spülen und trocknen Sie diese sorgfällig ab.
Wichtig! Ziehen Sie nicht an Leitungen und/oder Kabeln im Innern des Kühlschranks und achten Sie darauf, diese nicht zu verschiben oder zu beschädigen.
Benutzen Sie zur Reinigung des Innenraums keinesfalls Putzmittel, Scheuerpulver, stark parlfumierte Reinigungsmittel oder Wachspolituren, da diese die Oberfläche des Innenaums beschädigen und einen starken Eigengeruch hinterlassen können.
Reinigen Sie den Kondensator (schwarzes Gitter) und den Motorkompressor auf der Geräterückseite mit einer Bürste oder einem Staubsauger. Dadurch verbessert sich die Leistung des Geräts und es verbraucht weniger Strom.
Wichtig!itte achten Sie darauf,das Kuhlsystem nicht zu beschädigen.
Viele Haushaltsreiniger für Kuchen enthalten Chemikalien, die den im Gerät verwendeten Kunststoff angreifen können. Aus thisem Grund ist es empfehlenswert, das Gerät au
Ben nur mit warmem Wasser und etwas flüssigem Tellerspulmittel zu reinigen.
Schlieben Sie das Gerät nach der Reinigung wieder an die Netzversorgung an.
Abtauen des Kühlschranks
Bei normalem Betrieb wird Frost bei jedem Anhalten des Motorkompressors automatisch aus dem Verdampfer des Kühlschranks entfernt. Das Tauwasser lauft durch eine Rinne in einen speziellen Behälter an der Rückseite des Gerats über dem Motorkompressor, wo es verdampft.
Reinigen Sie deshalb regelmäßig die Abflussöffnung des Tauwassers in der Mitte des Kühlschrankkanals, damit das Wasser nicht überfliebt und auf die gelagerten Lebensmittel tropf. Benutzen Sie dazuitte das mitgelieferte Reinigungswerkzeug, das sich bereits in der Ablauföffnung befindet.

Abtauen des Gefrierschranks
i Auf den Ablagen des Gefrierschranks und im Innern des oberen Fachs wird sich stets etwas Reif bilden.
Wichtig! Tauen Sie den Gefrierschrank ab, wenn die Reifschicht eine Stärke von etwa 3 bis 5mm erreicht hat.
Entfernen Sie den Reif wie nachstehend erlautert:
- Schalten Sie das Gerät aus.
- Nehmen Sie das gesamte Gefriergut heraus, verpacken Sie es in mehrere Schichten Zeitungspapier und lagern Sie es an einem kühlen Ort.
- Lassen Sie die Tur offen.
- Ist das Geräteinnere vollständig abgetaut, trocken Sie die nassen Oberflächen gründlich ab und setzen Sie den Stopfen wieder ein.
- Schalten Sie das Gerät ein.
- Drehen Sie den Temperaturregler auf eine höhere Einstellung, um die maximal möglichche Kühlung zu erreichen, und lassen Sie das Gerät zwei bis drei Stunden mit dieser Einstellung laufen.
- Legen Sie die ausgelagerten Lebensmittel wieder in das Fach hinein.
Wichtig! Verwenden Sieitte niemals scharfe Gegenstände zum Entfernen von Reif und Eis vom Verdampfer, da dieser dadurch beschadigt werden konnte.
Benutzen Sie keine mechanischen oder sonstigen Hilfsmittel, um den Abtauprozess zu beschleunigen; halten Sie sich dazu ausschließlich an die Angaben des
Gerätherstellers. Ein Temperaturanstieg des Gefrierguts während des Abtauens des Gerätes kann die Lagerzeit dieser Lebensmittel verkurzen.
Stillstandzeiten
Bei längerem Stillstand des Gerätes müssen Sie folgendermaßen vorgehen:
- trennen Sie das Gerät von der Netzversorgung
entnehmen Sie alle Lebensmittel
tauen Sie das Gerät ab, Reinigen Sie das Gerät und alle Zubehörteile - lessen Sie die Türen offen/angeleht, um das Entstehen unangenehmer Gerüche zu vermeiden.
Möchten Sie bei einer längeren Abwesenheit den Gefrierschrank weiter laufen{lassen, bitten Sie{jemanden, gelegentlich die Temperatur zu prufen, damit das Gefriergut bei einem möglichen Stromausfall nicht im Innern des Gerätes verdirbt.
Was tun, wenn ...

Warning! Ziehen Sie vor der
Fehlersuche immer den Netzstecker aus der Steckdose.
Die Fehlersuche, die in der vorliegenden Benutzerinformation nicht beschrieben ist, daß nur von einem qualifizierten
Elektriker oder einer kompetenten Person durchgeführt werden.
Wichtig! Wahrend das Gerät in Betrieb ist, entstehen bestimmte Gerausche (Kompressor und Kühlkreislauf).
| Störung Mögliche | Ursache Abhilfe | |
| Das Gerät faktioniert nicht. Die Lampe faktioniert nicht. | Das Gerät ist abgeschaltet. Schalten Sie das Gerät ein. | |
| Der Netzstecker ist nicht richtig in die Steckdose gesteckt. | Stecken Sie den Netzstecker rich-tig in die Steckdose. | |
| Das Gerät bereits keinener | Strom. Es liegt keine Spannung an der Netzsteckdose an. | Versuchen Sieitte, ob ein andere- res Gerät an dieser Steckdose faktioniert. Kontaktieren Sie einen qualifizier- ten Elektriker. |
| Die Lampe faktioniert nicht. | Die Lampe ist defekt. Siehe hierzu | "Ersetzen der Lam- pe". |
| Der Kompressor arbeitet ständig. | Die Temperatur ist nicht richtig eingestellt. | Stellen Sie eine höhere Temperatur ein. |
| Die Tür ist nicht richtig geschlos- sen. | Siehe hierzu "Schließen der Tür". | |
| Die Tür wurde zu früig geöffnet. | Lassen Sie die Tür nicht länger als unbedingt erforderlich offen. | |
| Die Produkttemperatur ist zu hoch. | Lassen Sie die Produkttemperatur auf Raumtemperatur abkühlen, bevor Sie die Produkte einlagern. | |
| Den Raumtemperatur ist zu hoch. | Senken Sie die Raumtemperatur. | |
| Wasser fließt auf die hin- tere Platte des Kühl- schranks. | Beim automatischen Abtauen schmilzt der Frost auf der hint-eren Platte. | Das ist normal. |
| Wasser fließt in den Kühl- schrank. | Der Wasserabflusskanal ist ver-stopft. | Reinigen Sie den Wasserabfluss- kanal. |
| Die eingelegten Produkte verhin- dem, dass das Wasser zum Kollektor fließt. | Stellen Sie sichere, dass die Pro-DUkte nicht die hintsere Platte be- rühren. | |
| Wasser fließt auf den Boden. | Der Tauwasserablaufläuft nicht in die Verdampferschale über dem Kompressor. | Befestigen Sie den Tauwasserab- lauf an der Verdampferschale. |
| Die Temperatur im Gerät ist zu niedrig. | Der Temperaturregler ist nicht richtig eingestellt. | Stellen Sie eine höhere Temperatur ein. |
| Die Temperatur im Gerät ist zu hoch. | Der Temperaturregler ist nicht richtig eingestellt. | Stellen Sie eine niedrigere Tempe- ratur ein. |
| Die Tür ist nicht richtig geschlos- sen. | Siehe hierzu "Schließen der Tür". | |
| Die Produkttemperatur ist zu hoch. | Lassen Sie die Produkttemperatur auf Raumtemperatur abkühlen, bevor Sie die Produkte einlagern. | |
| Es wurden gleichzeitig zu weitere Produkte zum Eingefrieren einge- legt. | Legen Sie möglichst weniger Pro-dukte zum Eingefrieren ein. | |
| Es zirkuliert keine Kaltluft im In- nern des Gerätes. | Stellen Sie sichere, dass die Kaltluft im Gerät zirkuliert. | |
Ersetzen der Lampe
- Trennen Sie den Netzstecker von der Netzversorgung.
- Losen Sie die Schraube an der Lampenabdeckung.
- Nehmen Sie die Lampenabdeckung ab (siehe hierzu die Abbildung).
- Ersetzen Sie die alte Lampe durch eine Lampe der gleichen Leistung (die maximal erlaubte Leistung liegt auf der Lampenabdeckung).
- Bringen Sie die Lampenabdeckung an.
- Ziehen Sie die Schraube an der Lampenabdeckung fest.
- Stecken Sie den Netzstecker in die Steckdose.
- Türöffnen. Prufen Sie, dass die Lampe brennt.

Schlieben Sie dieTür
- Reinigen Sie die Turdichtungen.
- Stellen Sie die Tur nach Bedarf ein. Sieher zu "Gerät aufstellen".
- Ersetzen Sie die defekten Turdichtungen, falls erforderlich. Kontaktieren Sie den Kundendienst.
Technische Daten
| Abmessung der Aussparung | ||
| Höhe 880 mm | ||
| Breite 560 mm | ||
| Tiefe 550 mm | ||
| Ausfalldauer 12 h |
Die technischen Informationen befinden sich auf dem Typenschild innen links im Gerät sowie auf der Energieplakette.
Gerät aufstellen

Lesen Sierette the "Sicherheitshinweise" sorgfaltig vor der Aufstellung des Gerats durch, um Gefahren fur Sie selbst zu vermeiden und einen korrekten Betrieb des Gerats zu gewährleisten.
Aufstellung
Installieren Sie these Gerät an einem Ort, an dem die Umgebungstemperatur mit der Klimaklasse übereinstimmt, die auf dem Typ-schild des Geräts angegeben ist:
| Klima-klasse | Umgebungstemperatur |
| SN +10°C bis + 32°C | |
| N +16°C bis + 32°C | |
| ST +16°C bis + 38°C | |
| T +16°C bis + 43°C | |
Elektrischer Anschluss
Kontrollieren Sie vor der ersten Benutzung des Gerätes, dass die Netzspannung und -frequenz Ihres Hausanschlusses mit den auf dem Typschild angegebenen Anschlusswerten übereinstimmen.
Das Gerät muss geerdet sein. Zu diesen Zweck ist die Netzkabelsteckdose mit einem Schutzkontakt ausgestattet. Falls die Steckdose Ihr's Hausanschlusses nicht geerdet sein sollte, halten Sie das Gerätitte gemäß den geltenden Vorschriften erden und Fragen Sie dazu einen qualifizierten Elektriker.
Der Hersteller übernimmt keinerlei Haftung für Schäden oder Verletzungen, die durch Missachtung der vorstehenden Sicherheitshinweise entstehen.
Das Gerät entspricht den EU- Richtlinien.
Wechsel des Turanschlags
Die Tur des Geräts Goes nach rechts auf.
Wenn Sie möchten, dass die Tur nach links aufgeht, befolgen Sieitte diese Schritte, bevor Sie das Gerät einbauen:
- Losen Sie den oberen Bolzen und entfern den Sieihn.
- Entfernen Sie das obere Distanzstück.
-
Entfernen Sie die Tür.
-
Losen Sie den unteren Bolzen und entfern den sieihn.
- Nehmen Sie das untere Distanzstück ab.

Auf der gegenüberliegenden Seite:
- Bauen Sie die Scharnierabdeckung ab und bauen Sie diese am gegenüber liegenden Scharnier ein.
- Setzen Sie das untere Distanzstück ein.
- Ziehen Sie den unteren Bolzen fest.
- Installieren Sie die Tür.
- Setzen Sie das obere Distanzstück ein.
- Ziehen Sie den oberen Bolzen fest.

Anforderungen an die Belüftung
Die Luftzirkulation hinter dem Gerät muss ausreichend groß sein.

Ausrichtung der Kuchenmöbel
Wichtig!itte stellen Sie sicher,dass das Kuchenmobel vertical im 90^ Winkel nach allen Seiten ausgerichtet ist. Richten Sie die Kuchenmobelturen vor der Aufstellung des Gerates aus.


Wichtig! Entfernen Sie nach Bedarf den Anschlagdämpfer der Kuchenmobeltür, um Platz für die frei Beweglichkeit der Geräte tür zu schaffen.
Installation des Geräts
Vorsicht! Vergewissern Sie sich, dass sich das Netzkabel des Gerätes frei bewegen kann.
Gehen Sie wie folgt vor:
- Installieren Sie den Dichtungsstreifen. a) Entfernen Sie den Dichtungsstreifen. b) Bringen Sie den Dichtungsstreifen wie in der Abbildung gezeigt am Gerät an.

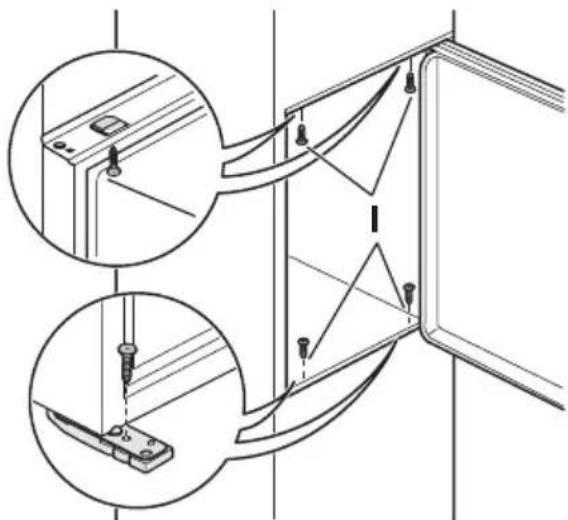
- Installieren Sie das Gerät in der Einbau-nische.
a) Schieben Sie das Gerät in Pfeilrichtung (1), bis die obere Spaltabdeckung am Kuchenmöbel anschlägt.
b) Schieber Ben Sie das Gerät in Pfeilrichtung (2), bis die untere Spaltabdeckung am Kuchenmöbel anschlägt.

- Stellen Sie das Gerät in der Einbaunische korrekt ein. Richten Sie das unter Scharnier auf das Kuchenmöbel aus.

- Befestigen Sie das Gerät mit 4 Schrauben in der Nische.

- Befestigen Sie die Abdeckungen (C, D) an den Ansätzen und den Scharnieröffnungen. Bringen Sie die Scharnierabdeckung (E) am Scharnier an.

- Losen Sie die Teile (Ha), (Hb), (Hc) und (Hd).


7. Montieren Sie Teil (Ha) an der Innenseite des Kuchenmobels.

8. Drücken Sie Teil (Hc) auf Teil (Ha).
9. Öffnen Sie die Geräte tür und die Tur des Kuchenmobels in einem Winkel von 90^ . Setzen Sie das keine Viereck (Hb) in die Führung ein (Ha).

Bringen Sie die Geräteur und die Küchenmobeltür zusammen und markieren Sie die Bohrungen.
10. Entfernen Sie die Halter. Setzen Sie den Nagel (K) 8 mm von der Außenkante der Tur ein.

11. Setzen Sie das keine Viereck erneut auf die Führung und schrauben Sie es mit den mitgelieferten Schrauben fest. Richten Sie die Kuchenmobeltür und die Gerätetür auf Teil Hb aus.

12. Drücken Sie Teil (Hd) auf Teil (Hb).

Prüfen Sie alles erneut, um sicherzustellen, dass:
- Alle Schrauben fest angezogen sind.
- Der Dichtungsstreifen fest am Gerät be-festigt ist.
Die Tur korrekt öffnet und schliebt.
Wechsel des Gefrierschranks-Türanschlags

Hinweise zum Umweltschutz
Das Symbol auf dem Produkt oder seiner Verpackung weist daraufhin, dass these Produkt nicht als normaler Haushaltsabfall zu behandeln ist, sondern an einem Sammelpunkt für das Recycling von elektrischen und elektronischen Geräten abgegeben werden muss. Durch ihren Beitrag zum korrekten Entsorgen these Produkte schützen Sie die Umwelt und die Gesundheit ihrer Mitmenschen. Umwelt und Gesundheit werden durch falsches Entsorgen gefährdet. Weitere Informationen über das Recycling these Products erhalten Sie von ihrem Rathaus, Ihrer Müllabfuhr oder dem Geschäft, in dem Sie das Produkt gekauft haben.
Contents
Safety information 17
Operation 19
First use 19
Daily use 19
Technische gegevens 39
Montage 39
Het milieu 44
Wijzigingen

Bananen, aardappelen, uien en knoflook, indien nicht verpakt, mogen nicht in de koelkast bewaard worden.
wwwprogress-hausgeraete.de
Notice-Facile