EDR2SPAN - Ketel INVENTUM - Gratis gebruiksaanwijzing en handleiding
Vind de handleiding van het apparaat gratis EDR2SPAN INVENTUM in PDF-formaat.
Questions des utilisateurs sur EDR2SPAN INVENTUM
0 question sur cet appareil. Repondez a celles que vous connaissez ou posez la votre.
Poser une nouvelle question sur cet appareil
Download de handleiding voor uw Ketel in PDF-formaat gratis! Vind uw handleiding EDR2SPAN - INVENTUM en neem uw elektronisch apparaat weer in handen. Op deze pagina staan alle documenten die nodig zijn voor het gebruik van uw apparaat. EDR2SPAN van het merk INVENTUM.
GEBRUIKSAANWIJZING EDR2SPAN INVENTUM
Fig. 1 Hoofdcomponenten
A Muurplug
B Muurbeugel
C Kunststof stelschijf
D Slitring
E Houtdraadbout
F Ophangbeugel
G Typeplaat
H Boiler
I Afdichtprofil
J Thermostaatknop
K Tijdschakelaar/lamp (optie)
L Afsuitkap
M Wartel
N Knelring
O Beschermbus
P Koudwateraansluiting
Q Warmwateraansluiting
R Stelschroef
S Steunbeugel
van de handleiding nl - 4
1.1 Gebruik volgens
bestemming nI - 4
1.2 Garantienl - 4
1.3 Aansprakelijkheid nl - 4
2 Beschrijving nl -
2.1 Hoofdcomponenten nl - 5
2.2 Productidentification nI - 5
2.3 Keurmerken nl - 5
2.4 Principewerking nl - 5
3 Bediening en gebruik nl - 5
3.1 Bediening nI-6
3.2 In en buiten bedrijf stellen n1-6
3.3 Controle op werkung n1-6
3.4 Werkzaamheden aan waterleiding n1-6
3.5 Water- en energiebesparing n1 - 6
4 Onderhoud nl-7
4.1 Schoonmaken nI-7
4.2 Inlaatcombinatie n1-7
5 Storingen nl - 8
6 Einde levensduur nl - 8
INSTALLATIEHANDLEIDING
7 Opslag en transport nl - 8
7.1 Inhoud van de
verpakking
n1-8
7.2 Verpakking en het milieu
nl-8
8 Technische
specificaties
nl-9
9 Installatie
voorbereiding
nl - 10
9.1 Plaatselijke installment
voerschriften
nl-10
9.2 Installatievoorwaarden
nl - 10
9.3 Aansluitvoorwaarden
nl - 10
9.4 Te gebruiken toebehoren
(niet meegeleverd)
nl-10
10 Installatie
nl - 10
10.1 Montage boiler nl - 10
10.2 Aansluitingen
waterleiding
nl - 10
10.3 Aansluiting afvoerleiding
(bij systeem onder druk)
nl-10
10.4 Boiler vullen
nl - 10
10.5 Aansluitingen
elektriciteit
nl-11
11 In en buiten bedrijf
stellen
nl - 11
11.1 In bedrijf stellen
nl-11
11.2 Controle op werkung
n1-11
11.3 Buiten bedrijf stellen
nl-11
11.4 Boiler legend nI - 11
1 Gebruik van de handleiding
Deze handleiding is bedoeld als naslagwerk voor de gebruiker en de installerateur. Met deze handleiding is de aan de voorzijde vermelde boiler op veilige wijze te installeren, te gebruiken en te onderhoven. Bewaar de handleiding bij de boiler. Het eerste gedeelte is bedoeld voor zowel de gebruiker als de installerateur. Het tweede gedeelte is uitsluitend bedoeld voor de installerateur. Lees het voor u bedoelde gedeelte van de handleiding aandachtig door. De gebruiker worden erop gewezen zich te latent informeren door de installerateur over het veilig gebruik van de boiler.
In de handleiding worden de volgende pictogrammen en symbolen gebrukt:

Let op!

Installateur
Actie
Deze handleiding is door Inventum bv met de grootste zorgvuldigheid samengesteld. Er kuren城县.
echter geen rechten aan worden ontleend.
Inventum bv behoudt zich, in verband met voordturende productinnovatie, te allen tijde hetrecht voor om zonder voorafgaande mededeling de specificaties te wijzigen.
1.1 Gebruik volgens bestemming
Deze boiler is geschikt voor het onder druk opslaan en verwarmen van drinkwater. De boiler dient te worden aangesloten op een waterleiding-net met een waterdruk van ten hoogste 700kPa (7 bar). Elk ander of verdergaand gebruik is Niet conform de bestemming. Installee en gebruik de boiler uitsluitend in technisch perfecte conditie.
1.2 Garantie
Deze boiler is met grote zorg vervaardigd en wordt door ons gegardeerd op alle materiaal- en/of constructiefouten.
Garantieverlening
De zorg voor de uitvoering van de garantie berust in eerste instantie bij de installerur/ leverancier waar de boiler is gekocht. Raadpleeg dan ook.altijd eerst uw installateur/ leverancier.
Garantietermijn
- 5aar op de koperen binnenketel (zonder toebehoren)
- 2aar op de overige onderdelen gerekend vanaf de datum van aankoop
Garantievoorwaarden
- Bij aanspraak op garantie moet het type- en serienummer van de boiler vermeld worden
- De aankoopnota met vermeling van de aankoopdatumClient te kuren worden overlegd
- De garantie geldt alleen voor materiaal-en constructiefouten (e.e.a. ter beoordeling van de fabrikant)
- De boiler mag uitsluitend volgens de installatione-en bedieningshandleiding zijn geinstalleerd, gezruikt en onderhoden
- De boiler mag constructief geen wijzigingen of aanpassingen hebben ondergaan
- Het defect mag geen gevolg়ijn van droog-koken, te hard of te agressief drinkwater, agressieve (vloei-)stoffen, dampen of gassen en in-of uitwendige corrosie of kalkafzetting
- Het defect mag geen gevolg zichn van eigenschuld, nalatigheid of onoordeelkundiggebruik
Garantie uitsluting
- Arbeidsloon
-Voorrijkosten
-Verzendkosten - Administratiekosten
-Transportschade - Secundaire schade zoals brandschade, bedrijfsschade, waterschade en lichamelijk letsel
Service
Meldt u zich alkijd bij deplaatselijk installmenter of verkooppunt wonneer u problemen heeft met de installmente en/of de bediening van de boiler. Voor het nabestellen van onderdelen kutu daar eveneens terecht. Inventum heeft een eigenservicedienst waar de installmenteur een beroep op kan doeen gegen bovengenoemde voorwaarden.
N.B.
Het defect van een of meerere onderdenrechtvaardigt in geen enkel geval de verwangting of terugzending van de volledige boiler. Alle Inventum onderden zijn op korte termijn te verkrijgen.
1.3 Aansprakelijkheid
Inventum bv of uw installeur/leverancier accepteert geen aansprakelijkheid voor schade of lichamelijk letsel van welke aard dan ook ontstaan door:
- het Niet opvolgen van de instructies in deze handleiding;
-onvoortichtigheid tijdens het installereren, gebruiken, onderhonden en repareren van deze boiler; - gebruik nicht conform de bestemming;
- het toepassen van onderdelen welke nicht door de fabrikant zich geleverd;
- gevolgschade door lekkage.
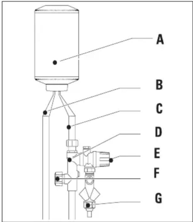
2 Beschrijving
Deze boiler is ontworpen voor het opslaan en verwarmen van drinkwater. In de boiler bevindt zich een geïsoleerde binnenketel die, afhankelijk van het type, 30 tot 150 liter water kan bevatten. Een ingebouwde verwarmingsbron verwarmt het water. Via de warm- en koudwateraansluiting kan de boiler opgenomen worden in een waterleidingnet.
2.1 Hoofdcomponenten
De hoofdcomponenten worden weergegeven in fig. 1 op pagina 2
2.2 Productidentification
De typeplaat bevat de volgende gegevens:
-productnaam
- typenummer
- serienummer
-inhoud [L]
- keurmerken
-werkdruk [kPa of bar]
- vermogen [W]
- elektrische aansluitwaarde [V]
bestendigheid gegen vocht
2.3 Keurmerken
Eén ofeer van de volgende keurmerken vindt u op de typeplaat:
- CE
- KEMA
-CEBEC
-VDE - NF
2.4 Principewerking
Koud leidingwater stroomt via de inlaat-combinatie in de boiler.
Eenthermostat en eenverwarmingsbron zorgtervoord het water tot de ingestelde temperatuur wordt verwarmd. In dit geval bestaat de verwarmingsbron uit een of meerere elektrische verwarmings-elementen.
Bij het verwarmen zet het water UIT, waardoor de druk in de boiler stijgt. Deze overdruk worden begrensd door de ontlastklep van de inlaatcombinatie.

Fig. 2 Principewerking
A Boiler
B Warmwaterleiding
C Koudwaterleiding
D Inlaatcombinatie
E Ontlastklep
F Stopkraan
G Trechter
3 Bediening en gebruik
Deze boiler is leverbaar in verschillendeuitvoeringen. Alle uitvoeringen zijn geschikt voor verwarming met dagstroom" (normaal tarief) of goedkopere "nachtstroom" (laag tarief). Metnachtstroom wordt de boiler's nachts volledig opgewarmd. Uw energiebedrijf kan u nader informeren betreffende demogelijkheden van een nachstroomaansluiting.

ED

EDR/EDOR..0 + EDR/EDOR..2

EDR/EDOR..1

EDR/EDOR..3
Fig. 3 Bedieningspanelen
3.1 Bediening
ED
Het water wordt's nachts verwarmd tot 73^ (fig. 3).
EDR/EDOR..0 + EDR/EDOR..2
Met dethermostaatknopkunt u de watertemperatuur instellen tussen 65 en 88 ^ C. EDOR..2 is geschikt voor aansluiting op een ex-terne tijsdschakelaar (bijv. in de meterkast) (fig.3).
EDR/EDOR..1
Met de tijsdschakelaar (links) kurz u de boiler overschakelen op dagstroom gedurende maximaal 120 minutes. Met de thermostaatknop (rechts) kurz u de watertemperatuur instellen:tussen 65 en 88^ (fig.3).
EDR/EDOR..3
Het water wordt's nachts verwarmd tot 88^. Met dethermostaatknopkunt u de boiler overschaken op dagstroom zodat het water de ingestelde temperatuur blijft behouden. Stand "Keuken"komt overeen met 55^ stand Douche"met 40^ .Stand "uit" betekent geen warmwaterbereiding overdag (fig.3).
3.2 In en buiten bedrijf stellen
De boiler kan aan/uit gezet worden door (inde meterkast) de stroom in/uit te schakelen.
3.3 Controle op werkung
De boiler verwarmt het water als de individiatelamp (optie) brandt en alsuit de ontlastklep expansiewater druppelt. Houd rekening met de opwarmtijd als u de boiler wee in bedrijf stelt. Afhankelijk van de inhoud en het vermogen van de boiler kan dit tientallen minutes tot enkele uren duren (fig. 6).
3.4 Werkzaamheden aan waterleiding
Indien de waterdruk wegvalt, bijvoorbeeld door werkzaamheden aan het waterleiding-net, handelt u als volgt:
- Sluit de stopkraan van de inlaatcombinatie (fig.2)
Zodra de waterdruk weeer aanwezig is: - Open de stopkraan van de inlaatcombinatie.
- Open een koudwaterkraan dicht bij de hoofdkraan.
- Sluit deze kraan zodra het water helder blijft.
3.5 Water- en energiebesparing
Door verstandig met (warm-)water om te gaan spaart u het milieu en verlaagt u uw water-en energierekening.
Een spaardouchekop bijvoorbeeld levert een gemiddelde besparing van 7500 liter warm water per persoon per Jaar. Met de toepassing van waterbesparende kransen is een gemiddelde besparing van 1000 liter per persoon per Jaar möglichk. Thermostatische mengkransen dragen bij aan hetveilig gebruik van warm water, verhogen het comfort en reduceren het warm watergebruik.
4 Onderhoud

Laat uw boiler jaarlijks ontkalken als u in een gebied woont met hard water (hoger dan 12^
Aanbevolen wordt een servicecontract met een erkend installeratuar af te sluiten zodate boiler regelmatinig gecontroleerd worden. Hiermee verzekert u zich van een veilige en bedrijfszekere werkinq. Als u de boiler huurt of least, dan is het onderhoud in het algemeen geregold via het contract. Voor informatatie betreffende specifieke afstelingen, onderhouds- of reparatiewerkzaamheden die buiten het bestek van de gebruikers handleiding vallen, gelieve contact op te nemen met een erkend installeratuar. Deze is.altijd bereid u te helpen.
4.1 Schoonmaken
De buitenzijde van de boiler is met een zachte doek en een Niet-agressief huishoudmiddel schoon te make.
4.2 Inlaatcombinatie
Controleer regelmatig of de ontlastklep (fig. 2) ongehinderd expansiewater uit de boiler afvoert. Om kalkafzetting in de ontlastklep te voorkomen, dient u deze regelmatig te bedieren.

Het druppelen van het expansiewateruit de ontlastklep mag nooit worden verhinderd. Als het druppelen worden verhinderd, kan er ontoelaatbare drukopbouw in de boilerplaats vinden.
Tabel 1 Storingstabel
| STORING VERKLARING | HANDEL ALS VOLGT | |
| De indicatielamp brandt nicht | - Stroomtoevoer is verbroken. • Controleer zekeringen. | |
| - Boiler is op de ingestelde • U hoeft niets te doen. | ||
| (Te) koud water. - Thermostat | te laag ingesteld. • Verstel thermostaatknop. | |
| - Warmwaterleiding (te) lang of • Niet geisoleerd. leiding. | Isoeleer de warmwater- | |
| Te heet water. | - Thermostat te hoog ingesteld. | • Verstel thermostaatknop. |
| Te weinig water. | - Waterdruk te laag. | • Controleer of de koud-waterkranen hetzelfde probleem hebben. • Neem contact op met waterleidingbedrijf. |
| - Stopkraan nicht goed open. | • Open stopkraan. | |
| Ontlastklep lekt constant. | - Waterleidingdruk is te hoog. | • Plaats reducerventiel voor inlaatcombinatie. |
| - Ontlastklep sluit nicht goed. | • Bedien ontlastklep enkele malen. | |
| Boiler lekt. | - Waterleidingen nicht goed aangesloten op boiler of - Pakking lekt of - Binnenketel lekt. | • Schakel de elektriciteit van de boiler uit. • Sluit de stopkraan. • Open een warmwaterkraan om de druk in de boiler op te heffen. • Vang het lekwater op. • Waarschuw uw installmenter. |
| De boiler maakt kookgeluiden. | - Kalkafzetting in de boiler. | • Waarschuw uw installmenter. |
5 Storingen
Een Inventum boiler is een bijzonder betrouwbare boiler. Indien er zich onverhopt toch storingen voordoen, volg dan de storingstabel (tabel 1).
WAARSCHUW UW INSTALLATEUR ALS DE STORING NIET MET DE VOORGESCHREVEN HANDELING KAN WORDEN OPGELOST!!!
Zorg dat u de volgende gegevens bij de hand heeft:
-productnaam
- typenummer
- serialnummer

Ga in geen geval zich repareren.
Er ontstaat möglich een onveiligesituatie, bovendien vervalt de garantie.
6 Einde levensduur
Alle door Inventum by gebruike materiai- len vrij van stoffen die bij sloop en/ of vernietiging schadelijk zijn voor het milieu.
Bij langdurige uitschakeling van de boiler, bijvoorbeeld i.v.m. vakitie, dient U de boiler voor het eerste gebruik
volledig tot de maximale temperatuur op te warmen i.v.m. legionella preventie. Voor het eerste gebruik na langdurige stilstand is het raadzaam de leidingen door te spoelen gedurende 1 minuut en hierbij het gebruik van de douchekop te vermijden.
WAARSCHUWING!

Bij boilers ingesteld op een hoge temperatuur bestaat de kans op verbrandingsgevaar ( met name voor kinderen ). Wij
adviseren de toepassing van een thermostatische mengkraan.
INSTALLATIEHANDLEIDING
7 Opslag en transport
Het toestel dient steeds te worden opgesla-gen in de originele verpakking van de fabrikant. Alle op de buitenzijde van deze verpakking gegeven aanwijzingen要去en worden opgevolgd.
De opslagruimte要去 droog zich en zodanig zich ingericht dat beschadigingen aan de verpakking worden voorkomen.
Tijdens het transport moet de originele verpakking intact blijven om het toestel te beschermen. Zet de doos zodanig in het vervoermiddel dat de doos Niet kan verschuiven. Houd het toestel zo lang möglichk in de verpak-king totdat u de plaats van montage heeft bereikt.

Zet de boiler nooit rechtstreeks op de grond. Laat de boiler zo lang möglichk in het voetstuk van de verpakking staan.
7.1 Inhoud van de verpakking
Het volgende treft u aan in de verpakking: - Boiler
- Muurbeugel (deze befindt sich in de polystyreen deksel van de verpakking)
Zakje met bevestigingsmaterial - Handleiding
7.2 Verpakking en het milieu
Om het milieu te sparen moet u:
- Het karton en polystyreen elementen afzonderlijk bij eenplaatselijk verzamelpunt in leveren t.b.v. hergebruik.
- De bandages en overige verpaktingsresten bij het reguliere afval voegen.
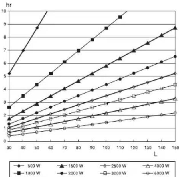
8 Technische specificaties
Voor technische specificaties van deze boiler verwijzen wij uহ:
- de typeplaat (fig. 1)
- de maatschets (fig.5)
- de grafiek met opwarmtijden (fig. 6). Hierin worden de opwarmtijd (hr) weergegeven als functie van het volume (L) en het vermoen (W) van de boiler. De opwarmtijd is de tijd die nodig is om de volledige inhoud van de boiler van 15^ tot 88^ te verwarmen.

Fig. 6 Opwarmtijden

Fig. 5 Maatschets
| Inhoud | 30 50 | 80 120 | 150 L | |||
| Amin | 820 10 | 05 115 | 5 1455 | 1645 mm | ||
| B 535 | 725 | 865 11 | 60 1330 | mm | ||
| C 244 | 432 | 576 87 | 6 1066 | mm | ||
| Dmin | 130 130 | 0 130 | 0 130 1 | 30 mm | ||
| E | 470 470 | 5 | 25 525 | 525 mm | ||
| F | 430 430 | 4 | 85 485 | 485 mm | ||
| G | 340 340 | 3 | 40 340 | 340 mm | ||
| H | 367 555 | 7 | 05 1005 | 1195 mm | ||
| I | 100 100 | 1 | 00 100 | 100 mm | ||
| J | 60 | 60 | 60 | 60 | 60 | mm |
| * | 31 | 37 | 42 | 57 | 66 | W/h |
| ** 16 | 21 | 28 | 39 | 50 kg | ||
| *** 46 | 71 108 | 8 159 | 200 kg |
9 Installatievoorbereiding
9.1 Plaatselijke installmentvoorschriften
Bij het installereren van de boiler dient u de ter plaatse geldende installmentevoorschriften van o.m. elektriciteits-en waterleidingbedrijf in acht te nemen.
9.2 Installatievoorwaarden
Bepaal aan de hand van de afmetingen van het toestel (fig. 5) deplaats waar de boiler opgesteldGaat worden.Houdaarbij rekening met de volgende punten:
- Boiler, inlaatcombinatie, water- en afvoerleidingen bevinden zich in een vorstvrije ruimte;
- De wand of devloer is vlak en kan het gewicht van de boiler met inhoud dragen;
Rond het toestel is voldoende ruimte voor service en onderhoud.
9.3 Aansluitvoorwaarden
-Elektrische aansluitingen zijn aanwezig of hunnen worden aangelegd.
- In de voeding要去en alpolige schakelaar met een contactafstand van tenminste 3mm worden opgenomen.
- Waterleidingen zijn aanwezig of hunnen worden aangelegd.
Tussen de inlaatcombinatie en de boiler mag nooit een afsluiter worden geplaatst.
- Een vorstvrije afvoerleiding is aanwezig of kan worden aangelegd.
- Direct na de ontlastklep worden een open trechter in de afvoerleiding opgenomen.
-Het expansiewater uit de ontlastklep worden via de afvoerleiding onder gelijkmatig aftschot maar bad, gootsteen of riool afgevoerd.
9.4 Te gebruiken toebehoren (niet meegeverd)
-Voor de wand geschikte bevestigings materialen: drie keilboute (M10) of houtdraadboute (10× 60mm)
-Een inlaatcombinatie* met ontlastklep waarvan de openingsdruk gelijk of lager moet+zijn dan de werkdruk van de boiler en tenminste 100kPa (1 bar) hoger dan de waterleidingdruk.
-Een reduceerventiel* indien de waterleidingdruk hoger is dan de sluitdruk van de ontlastklep.
-Een alpolige schakelaar voor in de elektrische voeding.
-Een sifon indien de afvoerleiding rechtstreeks op het riool worden aangesloten.
-Een boilerstoel* bij vloeropstelling.
Buisisolatiematerialiaal om de.
warmwaterleiding te isoleren.
- Te bestellen bij Inventum bv
10 Installatie
10.1 Montage boiler
- Bevestig met drie bouten de ophangbeugel op de vooraf bepalde plaats.
- Verdraai de kunststof schijven zodate du murbeugel horizontaal en verticaal wordt gesteld.
Draai de stelschroeven in de steunbeugel. - Hang de boiler aan de muurbeugel.
Stel m.b.v. de stelschroeven de boiler vertical.
10.2 Aansluitingen waterleiding

Gebruik bij de montage van wartels en knelkoppelingen algid 2 steeksleutels om buiging en wringing op de leidingen en appendages te voorkomen.
- Spoel eerst alle leidingen die op de boiler worden aangesloten goed door (vooral belangrijk bij新模式bouwwoningen).
- Sluit de hoofdkraan van de waterleiding.
- Monteer de inlaatcombinatie op de koudwateraansluiting van de boiler
- Sluit de stopkraan van de inlaatcombinatie.
- Monteer een reducerventiel stroomopwaarts van de inlaatcombinatie als de waterleidingdruk hoger is dan de sluitdruk van de inlaatcombinatie.
- Verbind de koudwaterleiding met de inlaatcombinatie of het redueerventiel en de warmwaterleiding met de warmwateraansluiting onderaan de boiler. Gebruik hiervoorde bijgeleverde knelringen met wartelmoeren
10.3 Aansluiting afvoerleiding
- Monteer direct na de ontlastklep een open trechter in de afvoerleiding.
- Monteer een sifon op de afvoerleiding indien deze direct op het riool worden aangesloten.
10.4 Boiler vullen
- Open de warmwaterkraan.
- Open de stopkraan van de inlaatcombinatie
- Open de hoofdkraan van de waterleiding.
- Laat de boiler goed doorstromen.
- Verwijder de afsluitkap en controllerer de installmente op lekkage.
- Isoeleer de warmwaterleiding.

10.5 Aansluitingen elektriciteit

De boiler要去 geheel met water gemuld着眼 en de installmentiekvrij voordat aansluiting op het elektriciteitsnet plaatsvindt.
- Schakel de stroom in de meterkast uit zodate aansluiting spanningsvrij kan plaatsvinden.
- Sluit de boiler aan volgens het juiste schema (fig. 7).
- Monteer de afsluitkap met het afdichtprofiel.
11 In en buiten bedrijf stellen
11.1 In bedrijf stellen
- Controller of de boiler geheel gemuld is met water en de installmentiekvrij is.
- Schakel de elektriciteit maar de boiler in.

De boiler moet na het installereren en het vullen met water binnen drie maanden in bedrijf worden gesteld om goede werkig te garanderen.
11.2 Controle op werkung
Na het in bedrijf stellen van het toestel dient u de volgende punten te controleren:
- Het druppelen van expansiewater uit de ontlastklep. Dit isoodzakelijk om te hoge druk in de boiler tijdens het opwarmen te voorkomen;
- De gehele installmente op lekkage, ook 30 minutes na inbedrijfname.
11.3 Buiten bedrijf stellen
- Schakel de elektricitei t maar de boileruit. De hoofdkraan van de waterleiding kan gewoon open blijven.
11.4 Boiler legend
Schakel de elektriciteit maar de boiler UIT.
- Tap een aantal liters af uit een warm-waterkraan.
- Sluit de hoofdkraan van de waterleiding.
- Sluit de stopkraan van de inlaatcombinatie.
- Open een warmwaterkraan en sluit deze als er geen warm watereer uitkomt.
- Neem maatregelen om eventueel lekwater op te vangen.
- Schroef de inlaatcombinatie los van de boiler.
- Sluit een aftapslang aan op de koud-wateraansluiting van de boileren leg het uiteinde van de slang op eenplaats waar het water goed afgevoerd kan worden
- Open een warmwaterkraan of draai de wartel van de warmwateraansluiting los.






Fig. 7 Elektrisch aansluitschemas
TR = Temperatuurregelaar
TB = Temperatuurbegrenzer
L Fase nachstroomaansluiting
L =Fase dagstromaansluiting
N = Nulaansluiting
L1-L2-L3=3-fase-aansluiting

SimpelGids