GWH2 - Verwarming Pelgrim - Gratis gebruiksaanwijzing en handleiding
Vind de handleiding van het apparaat gratis GWH2 Pelgrim in PDF-formaat.
Gebruikersvragen over GWH2 Pelgrim
0 vraag over dit apparaat. Beantwoord die u kent of stel uw eigen vraag.
Stel een nieuwe vraag over dit apparaat
Download de handleiding voor uw Verwarming in PDF-formaat gratis! Vind uw handleiding GWH2 - Pelgrim en neem uw elektronisch apparaat weer in handen. Op deze pagina staan alle documenten die nodig zijn voor het gebruik van uw apparaat. GWH2 van het merk Pelgrim.
GEBRUIKSAANWIJZING GWH2 Pelgrim
Handleiding gevelkachel
Deze gevelkachel is speciaal ontwikkeld om tegen een buitenmuur te plaatsen. De afvoergassen worden direct door de muur naar buiten gevoerd. De gevelkachel is volledig beveiligd door middel van een thermo-elektrische waakvlamboveiliging ter voorkoming van het onvoorzien uitstromen van gas uit de hoofdbrander.

text_image
50 cm 40 cm 20,7 cm 1 2
text_image
60 cm 20,7 cm 50 cm
text_image
50 cm 70 cm 20.7 cm
Als u deze handleiding doorleest bent u snel op de hoogte van de mogelijkheden die deze kachel u biedt. U vindt adviezen over de veiligheid tijdens het gebruik en informatie over de installatie, de bediening en het onderhoud van de kachel. Bij het samenstellen van deze handleiding is er van uitgegaan dat de kachel wordt geplaatst door een erkend gasttechnisch installateur die op de hoogte is van de nationaal en lokaal geldende voorschriften.
Bewaar dit boekje, zodat een volgende gebruiker er zijn voordeel mee kan doen.
inhoudsopgave
inleiding 1
veiligheid 2
plaatsing 3
installatie 4 - 5
ombouwen 6
gebruik 7
reiniging 8
storingen 9
afvoeren verpakking en toestel 9
onderdelenlijst I
technische gegevens II - IX
fig. 1
veiligheid
■Deze kachel mag uitsluitend worden geplaatst en geïnstalleerd door een erkend installateur.
De mantel van deze kachel is een 'werkend oppervlak', d.w.z. dat deze een hoge temperatuur kan bereiken. Wees dus voorzichtig met kinderen; houdt ze uit de buurt van de kachel of plaats een hekje rond de kachel.
■Leg nooit voorwerpen op de brandende kachel.
■Gebruik de kachel nooit om er kleren, handdoeken etc. op te drogen; wanneer men n.l. de mantel afsluit ontstaan er binnen de mantel zeer hoge temperaturen.
Omdat de opstijgende lucht boven de kachel een vrij hoge temperatuur heeft mag er geen vitrage of gordijn vlak boven de kachel worden gehangen. Plaats de kachel niet vast onder een brandbare vensterbank. Houdt minimaal 15 cm aan als afstand tussen de mantel en gordijnen of een brandbare vensterbank boven de mantel.
In verband met een goede en veilige werking van deze gevelkachel is periodiek onderhoud (minimaal 1 keer per jaar, bijv. aan het begin van het stookseizoen) door een erkend persoon aan te bevelen.
■ Mocht de kachel, door welke oorzaak dan ook, zijn uitgegaan, wacht dan minimaal 5 minuten voordat u het toestel weer ontsteekt.
■Gebruik een goedgekeurde aansluitkraan in de gastoevoer voor het aansluiten van de kachel.
■De kachel mag alleen gerepareerd worden met originele onderdelen.
■Verbrand stof verspreidt een onaangename geur en leidt bovendien tot verkleuring van wanden en plafonds. Deze verkleuring is echter nooit geheel te voorkomen, maar wel tot een minimum te beperken door het vertrek, de mantel en het binnenwerk stofvrij te houden.
gassoort en gasdruk
Het toestel is afgesteld en verzegeld in de fabriek, overeenkomstig de op de kenplaat aangegeven categorie en op de juiste nominale belasting. De waakvlambrander is afgesteld op het juiste verbruik. Controleer of de gegevens op de kenplaat overeenkomen met de lokale gassoort en de druk. Controleer of de gegevens op de typeplaat overeenkomen met de aard van uw installatie (zie technische gegevens voor controle). De typeplaat vindt u op de achterplaat.
plaatsing
Deze gevelkachel mag alleen tegen een buitenmuur geplaatst worden omdat de verbrandingsproducten direct naar buiten moeten worden afgevoerd.
Het toestel mag alleen worden geïnstalleerd door een erkend installateur volgens de nationaal en lokaal geldende voorschriften.
Plaats de kachel bij voorkeur niet in een hoek omdat de brander voor periodiek onderhoud uit het toestel verwijderd moet kunnen worden.
Plaats het muurrooster aan de buitenzijde niet te dicht onder een vensterbank (zie ook "veiligheid").
lengte van de in- en uitlaatkoker
Muurdikte: minimaal 70 mm
Lengte inlaatkoker: muurdikte + 10 mm.
Lengte uitlaatkoker: muurdikte + 70 mm,
maximale lengte 600 mm.
installatie van het toestel
Bij dit toestel is een montageplaat
meegeleverd, die dienst doet als aftekenmal en als montage-eenheid voor de
muurdoorvoer en het binnenwerk. De gaten A, B en C in fig. 2 zijn voor de
bevestigingsschroeven. De minimumafstand van de onderkant van deze montageplaat t.o.v. de vloer moet 20 mm zijn (295 mm van vloer tot onderkant kokergat).

Het gat voor de muurkoker moet inwendig rond zijn en een binnendiameter van 153 mm hebben. Het is aan te bevelen, dit gat te (laten) boren.
Om inregenen te voorkomen moet dit gat waterpas zijn en mag het zeker niet aflopen naar de binnenkant.
Indien de kachel wordt geplaatst voor een brandbare wand moet de diameter van de muurdoorvoer 180 mm zijn en dient over het gehele oppervlak achter de montageplaat een plaat van onbrandbaar materiaal te worden aangebracht met daarin een gat van 153 mm. Het verdient aanbeveling, deze plaat op 2 à 3 mm vrij van de wand te monteren.
Houdt bij de bepaling van de plaats waar het toestel geïnstalleerd moet worden ook rekening met de voorwaarden, genoemd in het hoofdstuk 'plaatsing'.
■Teken de gaten voor de keilbouten en het muurkokergat af m.b.v. de montageplaat. Let op dat dit waterpas gebeurt.
■Boor de gaten.
■Maak de inlaatkoker (grootste diameter) op maat.
■Monteer de keilbouten in de geboorde gaten in de muur.
■Bevestig de montageplaat aan de muur.
■Controleer met een waterpas of de montageplaat horizontaal hangt en draai de bevestigingsschroeven vast.
■Bevestig de inlaatkoker aan het afvoerrooster. Draai de trekstangen in het muurrooster. Schuif daarna het rooster op de inlaatkoker.
■ Steek deze van buiten door het gat in de muur.
■Steek nu de trekstangen door de hiervoor bestemde gaten in de montageplaat (de uitlaat hoort boven) en zet het geheel met de bijgeleverde moeren vast.

■Zorg ervoor dat de draadeinden niet te ver uitsteken (max. 10 mm inclusief moer). Zaag de overtollige lengte af.
■Maak nu de aluminium uitlaatkoker op lengte (muurdikte + 70 mm).
■Steek de uitlaatkoker in de daarvoor bestemde opening van het muurrooster.

■Pak het binnenwerk en leg de glasvezelafdichting om de luchtinlaat.
■Zet het binnenwerk met de onderkant op de onderste steunen.
■Schuif het binnenwerk met de geleidingssteunen om de lippen op de montageplaat.


fig. 5
■Steek de afvoer van het binnenwerk om de afvoerbuis.
■Schuif het binnenwerk horizontaal naar achteren tot de pinnen aan de onderzijde van het binnenwerk in de fixatie van de horizontale steunen vallen. Zet het binnenwerk vast door de geleidingssteunen vast te schroeven aan de bovenzijde.
Plaats de mantel verticaal tegen de muur en de montageplaat, zodat de nokjes in de sleufgaten vallen. Laat de mantel rechtstandig naar beneden zakken.


fig. 6
aansluiting op de gasleiding
Vermijd spanningen op de regelkraan bij het aansluiten. Controleer de gasaansluiting op gasdichtheid. Controleer de werking van de kachel en leg deze uit aan de gebruiker.
ombouwen op een andere gassoort
■Controleer of de waarden zoals vermeld op de onderdelen overeenkomen met de waarden uit de bijgeleverde tabel.
■Sluit de gaskraan.
■Vervang de drukregelaar aardgas door de stelschroef propaan (of andersom).
■Vervang de hoofdinspuiter door de inspuiter uit de ombouwset.
■Vervang de waakvlaminspuiter door de inspuiter uit de ombouwset.
■Vervang de kleinstandstuw door de kleinstandstuw uit de ombouwset.
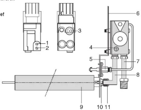
- Drukmeetpunt branderdruk
- Drukmeetpunt voordruk
- Drukregelaar of stelschroef
- Kleinstandstuw
- Waakvlam
- Bevestigingsbeugel
- Toevoerleiding
- Branderleiding
- Hoofdbrander
- Inspuiter
- Kegelring + wartel
fig. 7
■Vervang het instelplaatje door de instelplaat uit de ombouwset.
Stel de branderdruk in volgens de tabel zoals wordt bijgeleverd met de ombouwset. Let bij toestellen zonder drukregelaar speciaal op of de voordruk van een op volstand brandend toestel overeenkomt met de aansluitdruk van het toestel.
■Controleer alle eerder gedemonteerde aansluitingen op gasdichtheid.



text_image
ef 1 2 3 4 5 6 7 8 9 10 11aansteken
■Open de gaskraan.
Draai bedieningsknop B naar stand en
druk deze in. Er stroomt nu gas naar de
waakvlambrander.



fig. 8
Druk ontstekingsknop A in. Er springt nu een vonk over naar de waakvlambrander. Herhaal het indrukken tot de waakvlam ontstoken is. Houdt knop B nog ca. 10 seconden ingedrukt.
Als de waakvlam nu dooft moeten voorgaande handelingen herhaald worden en moet de aansteekknop B iets langer ingedrukt gehouden worden.
Nadat de waakvlam is ontstoken kunt u met thermostaatknop B een stand kiezen tussen 1 en 7.
uitschakelen
Als u de bedieningsknop op de stand tussen 1 draait brandt alleen de waakvlam. Dit is tevens de vorstbeveiliging, hetgeen wil zeggen dat de hoofdbrander pas ingeschakeld wordt bij een zeer lage omgevingstemperatuur om de ruimte vorstvrij to houden. Laat daarom de waakvlam tijdens het stookseizoen branden.
Draai de bedieningsknop B naar stand. De kachel is nu helemaal uitgeschakeld.
reiniging en onderhoud
De kachel dient jaarlijks te worden gereinigd en gecontroleerd door een erkend installateur.
Controle op:
- dichtheid van gascircuit;
- de juiste werking van de regelkraan, het thermokoppelcircuit en het ontsteken van de brander.
Reiniging van:
- het waakvlamsysteem;
- de brander;
- de verbrandingsruimte;
- de rookgasafvoer.
reiniging van de brander
Wanneer de kachel is afgekoeld, kan de brander gereinigd worden.
Verbrand stof verspreid een onaangename geur en leidt bovendien tot verkleuring van wanden en plafonds. Deze verkleuring is echter nooit geheel te voorkomen, maar wel tot een minimum te beperken door het vertrek, de mantel en het binnenwerk stofvrij te houden.
Verkleuring van de mantal is te voorkomen door deze regelmatig te reinigen met water of met zeep. Na het schoonmaken goed nabehandelen met schoon water en droog wrijven. Gebruik nooit agressieve of schurende schoonmaakmiddelen voor de mantel.
storingen
Niet aangaan of uitgaan van de kachel. Oorzaken:
- Lucht in de toevoerleiding (na stilstand van het toestel).
Ontluchten.
- Onvoldoende gasdruk.
Controleer of de gastoevoerleiding is vervuild of dat de aansluitkraan niet open staat.
- Waakvlam is vervuild.
Maak de brander voorzichtig schoon met een stofzuiger.
- De aansluiting van het thermokoppel maakt geen goed contact.
Controleer het thermo-elektrisch circuit.
afvoeren verpakking en toestel
De verpakking van het toestel is recyclebaar. Gebruikt kunnen zijn:
- karton;
- CFK-vrij schuim (zacht);
- hout;
- plastic;
- papier.
Deze materialen moeten op verantwoorde wijze en conform de overheidsbepalingen worden afgevoerd.
De overheid kan u ook informatie verschaffen over het op verantwoorde wijze afvoeren van afgedankte apparaten.
description
1 control valve
2 control block
SimpelGids