HC 60 W TER - Afzuigkap HIGH ONE - Gratis gebruiksaanwijzing en handleiding
Vind de handleiding van het apparaat gratis HC 60 W TER HIGH ONE in PDF-formaat.
Questions des utilisateurs sur HC 60 W TER HIGH ONE
0 question sur cet appareil. Repondez a celles que vous connaissez ou posez la votre.
Poser une nouvelle question sur cet appareil
Download de handleiding voor uw Afzuigkap in PDF-formaat gratis! Vind uw handleiding HC 60 W TER - HIGH ONE en neem uw elektronisch apparaat weer in handen. Op deze pagina staan alle documenten die nodig zijn voor het gebruik van uw apparaat. HC 60 W TER van het merk HIGH ONE.
GEBRUIKSAANWIJZING HC 60 W TER HIGH ONE
Bedankt om voor dit product van HIGHONE gekozen te hebben.
ELECTRO DEPOT kiest, test en beveelt de producten van het merk HIGHONE aan, deze staan garant voor eenvoud in gebruik, betrouwbare prestaties en een onberispelijke kwaliteit.
Dankzij dit toestel weet u dat elk gebruik tevredenstellend zal+zijn.
Welkom bij ELECTRO DEPOT.
Bezoek onsite website www.electrodepot.be

ELECTRO DEPOT

Alvorens het toestel te gebruiken
18 Veiligheidsvoorschriften

Gebruik van het toestel
22 Installatie van het toestel

Praktische informatie
26 Onderhoud en reiniging
28 Technische specificaties
29 Afdanken van uw oud toestel
Gelieve deze gebruikershandleiding aandachtig te lezen, want deze bevat belongingslijke informatatie over hoe u dit toestel veilig=kunt installereren, gebruiken en onderhonden. Bewaar de handleiding zorgvuldig, zodat u ze later opniew kan raadplegen. Dit toestel werden ontworpen om te worden gebruikt in de afvoerversie (lucht worden maar buiten afgezogen - Afb. 1A, filterversie (luchtGaat terug maar binnen - Afb. 1B, of met een externe motor (Afb. 1C).
Veiligheidsvoorschriften
- Letopwanneertegelijkertijd de dampkap en een brander of haard indezelfde kamer functioneren die afhankelijk zich van de omgevingslucht en gevoed worden door een andere bron dan elektrische energia.
In dat geval zuigt de dampkap de lucht aan die nodig is voor de verbranding. De druk in de kamer mag Niet hoger liggen dan 4 Pa (4 x 10⁵ bar). Vergeet voor een veilige werkung Niet om de kamer voldoende te verluchten. Raadpleeg de geldende voorschriften die van toepassing�n in uw land inzake de luchtafvoer maar buiten.
Vooraleer u de dampkap aansluit op het
elektriciteitsnet, dient u het volgende te doe:
-
Lees de gegevens op het typeplaatje (aan de binnenkant van de dampkap) om te controlleden of het voltage en het vermogen overeenkomen met deze van het net. Controller ook of het stopcontact geschikt is.
-
Vraag bij twijfel raad aan een erkend elektricien.
-
Indien het voedingsnoer beschadigd is, dient het verrangen te worden dooreen andere kabel of door eeneenheid die hiertoe voorzienis, die u kunt bestellen bij defabrikant of een dienst voor technische bijstand.
-
Sluit de voorziening aan op het net met behulp van een
stopcontact dat uitgerust is met een zekering van 3A of met twee tweefasige draden beschermd door een zekering van 3 A.

OPGELET
In bepaalde omstandigheden kunnen elektrische huishoudtoestellen gevaarlijk়n.
- Controller de staat van de filters nicht wanner de dampkap in werkung is.
- Raak de lampen en omliggende zones nooit aan tijdens of na een langdurig gebruik van de verlichting.
- Het is ten strengsteverboden wat dan ookte flamberen onder de dampkap.
-
Vermijd open vlammen,want deze zijn gevaarlijk voor de filters en{kennen brand veroorzaken.
-
Houd voortdurend toezicht op frituurolie om tevermijden dat oververhitte olie in brand schiet.
- Alvorens over te gaan tot een onderhoud, onderbreekt u de elektrische stroom van de dampkap.
- Dit toestel mag nicht worden gebrukt door kinderen of door mensen die toezicht nodig hebben.
- Zorg ervoor dat kinderen nicht met het toestel{kennen spelen.
- Wonneer de dampkap gebrukt worden in de aanwezigheid van toestellen die op gas of een andere brandstof werkken, dient de kamer correct verlucht te worden.
-
Indien het toestel nicht conform de voorschriften worden schoongemaakt, kan er brand ontstaan.
-
Dit toestel is geschikt voor kinderen vanaf 8aar, Personen met beperkte lichamelijke, zintuiglijke of geestelijkke capaciteiten of Personen zonder ervaring of kennis, op voorwaarde dat zich onder toezicht staan of instructies hebben gekreten over een veilig gebruik van het toestel en op voorwaarde dat zich de bevaren begrijpen. Kinderenogen Niet spelen met het toestel. De reiniging en het onderhoudogen Niet worden uitgevoerd door kinderen zonder toezicht.
- Indien de voedingskabel beschadigd is, dient deze verrangen te worden door de fabrikant, de Dienstna-verkoop of bevoegde Personen, om elk risico uit te sluiten.
-
Indien de dampkap gegelijktijdig met toestellen op gas of een ander soort brandstof worden gebruikt, moet de kamer goed worden verlucht.
-
Informatie over het onderhoud van het toestel kunt u raadplegen in het hoofdstuk 'Onderhoud en reiniging'.
- Er is een risico op brand indien de reiniging nicht worden uitgevoerd volgens de voorschriften.
- Flambeer geen voedingswaren onder de dampkap.
- De lucht mag nicht worden afgevoerd door een buis geschikt voor het afvoeren van uitwasemingen van toestellen op gas of andere brandstoffen.
- De voorschriften inzake de luchtafvoer要去en worden nageleefd.

OPGELET
De toegankelijke
delen kūnnen
warm়发展格局
het toestel worden
gebruikt met
keukentoestellen.
- Elektrische toestellen mogen nicht samen worden afgedankt met huishoudelijktoestellen. Conform de Europese Richtlijn 2012/19/EU inzakte de afdanking van elektrisch en elektronisch materiaal en de uitvoering ervan in het nationaalrecht, moeten elektrische toestellen apart worden verzamelden worden afgeleverd in de daartoe voorzieneinzamelpunten. Gaaar de lokale autoriteiten of maar uw verkoper om advies in te winnen over der recyclage van uw toestel.
Installatie van het toestel

Afb..1

B
C


| CM | D |
| 50 | 456 |
| 60 | 556 |
| 70 | 656 |
| 80 | 756 |
| 90 | 856 |
| CM | E |
| 50 | 410 |
| 60 | 510 |
| 70 | 610 |
| 80 | 710 |
| 90 | 810 |


2A

2C

2B

Afb..2


Nederlandss




BUISVORMIGE GLOEILAMP - 0 25 mm - L85-E14 - 40 W

HALOGEENLAMP - 0 - 35 mm - E14 - 28 W
Afb. 8



- De installmente en de aansluiting op het elektriciteitsnet要去en door erkende vakkui worden uitgevoerd.
- Doe beschermhandschoenen aan vooraleer u het toestel installeert.
Elektrische aansluitingen
-
Deze dampkap is een toestel van klassie II, die Niet moet worden geaard. Het stopcontact dient toegankelijk te blijven na de installmentie van het toestel. Indien het toestel direct is aangesloten,要去eermeerpolige schakelaar met een minimumafstand van 3mm tussen de contacten worden aangebracht:tussen het stroomnet en het toestel. Deze要去angepast zich aan het elektrische vermogen en voldoen aan de geldende normen.
-
De aansluiting op het elektriciteitsnet moet als volgt gebeuren: DONKERBRUIN = L, (lijn) BLAUW = N (neutraal).

-
De minimale afstand tussen de kookplaat waarop de kookpotten staan en het laagste deel van de dampkap dient 65~cm te bedragen. Indien een verbindingsbuis bestaande uit twee of meer delen要去 worden gebruikt, dan要去 het bovenste gedeelte aan de buitenkant van het onderste gedeelte zitten. Sluit de afvoer van de afzuigkap Niet aan op een leiding waardoor warmelucht circuleert of die gebruikt worden voor de afvoer van rook van toestellen die door een andere energiebron dan elektrische energia gevoed worden.
-
Indien het een aanzuigkap betreft, is het noodzakelijk een opening te voorzien voor de afvoer van de lucht.
-
We raden aan een leiding voor de luchtafvoer te gebruiken met bezelfde diameter als de opening voor de luchtuitlaat. Het gebruik van een Kleinere opening kan de prestaties van het product doen afnemen en het geluid doen toenemen.

OPGELET
Wanneer de lampen nicht gaan branden, dient u te controlleren of ze correct+zijn vastgeschroefd.
Installatie
Vooraleer u aan de installmentie begint [volgens het model dat u hebt gekocht], raden wij u aan om het rooster te verwijdersen, zodat u het toestel gemakkelijker kunt gebruiken, die afb. 5.
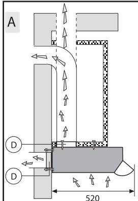
- Het toestel bestaat UIT 2 luchtuitlaten, een in het bovenste gedeelte en een in het achterste gedeelte, die u kunt gebruiken volgens uw behoeften (Afb.1A).
De beugel D,waaraan de leiding voor deluchtafvoer moet worden vastgemaakt,en een dop B om de Niet-gebruikte luchtafvoer af te sluiten, worden met het product meegeleverd. - Dit toestel kan op twee verschillende manieren worden gemonteerd:
1. Bevestiging van de dampkap onder een hoog meubel (Afb. 2):
- Boor 4 gaten in het hoge meubel in overeenstemming met de aanduidingen van afbeeldingen 2 A-2 C.
- Plaats de dampkap onder het meubel en zet deze vast met behulp van 4 schroeven (niet meegeleverd), die aangepastং aan het type meubel.
2. Bevestiging van de dampkap gegen demuur (Afb. 2):
-Boor 4 gaten in overeenstemming met de aanuidingen van afbeeldingen 2 A-2 B.
- Bevestig de dampkap gegen de muur door de 2 gaten H te gebruiken, lijn ze horizontallyuit en bevestig ze definitief door middel van de twee veiligheidsgaten I (Fig. 2B).
In geval van een andere montage, gebruikt u geschikte schroeven en expansiepluggen, afhankelijk van het type muur [bv. gewapend
beton, gipsplaat, enz.]. Indien de schroeven en de pluggen bij het product worden meegeleverd, dient u te controeren of ze geschikt zich voor het type muur waaraan de dampkap bevestigd worden.
- De dampkap werd gebouwd voor het gewenste type werkig. De volgende versies worden voorzien:
-Afzuigen naar buiten (Fig. 1A-3).
- Filterversie (Fig. 1B-4-7).
- Indien het gaat om een dampkap in afvoerversie,plaatst u de hendel C zoals aangeduid in afb.3.
- Indien het gaat om een dampkap in filterversie,plaatst u de hendel C zoals aangeduid in afb.4.
Afvoerversie
Bij dit soort installmentie voert het toestel de dampen maar buiten met behulp van een buitenwand of een reeds bestaande leiding. U dient zich dus een nicht-ontvlambare telescopische muurbuis aan te schaffen die voldoet aan de geldende normen en deze aan te sluiten op de beugel D (Fig. 1A). De beugel D die met het toestel worden meegeleverd, moet boven de luchtafvoeropening van de dampkap worden vastgemaakt, zoals aangeduid in Afb.3.
Filterversie
Om over te stappen van de afvoerversie waar de filterversie, vraagt u uw leverancier om filters met actieve koolestof.
Bevestig de filters op het motorhuis aan de binnenkant van de dampkap, door deze te centreren en ze 90 graden te draaien tot u een klik hoort (Afb.7). Om deze handelinguit te voeren, verwijdert u het rooster D (Afb.5). Sluit de luchtafvoeropening met behulp van de dop B, zoals aangeduid in Afb.4.
Onderhoud en reiniging
- Wij radenu aan de dampkap enkele Minutes voordat u begint te koken in werkung te stellen. Zo raden we ook aan dedampkap 15 minutennadatu gestopt bent met koken uitte schakelen, om geurtjes envieze lucht zo veel möglichke tewrijden. De goede werkung van de dampkap is afhankelijk van het aantal onderhoudshandelingen en, in het bijzonder, van het onderhoud van de antivetfilter en de filter met actieve koolstof.
- De antivirusfilter houdt de vetdeeltjes gegen die in de lucht circuleren; bijgevolg raakt deze na een bepaaldeijd oververzadigd, afhankelijk van het gebruik van het toestel.
- 0m eventueel brandgevaarte voorkomen, dient u omde 2 maanden de vetfilterste wassen, ofwel met de
hand door een neutraal, Niet-schurend vloeijaar wasmiddel te gebruiken ofwel in de vaatwasser op een lage temperatuur en met een korte cyclus.
- Na verschillende wasbeurten kan de kleur veranderen. Dit is geen reden om deze te verrangen.
- De filters met actieve koolstof dienen om de lucht te zuiveren die opniew in de kamer uitgestoten zal worden en om de baktluchtjes te verzachten.
- De Niet-recyclerbare filters met actieve koolstof要去en om de 4 maanden worden verrangen. De verzadiging van het actieve koolstof hangt af van het al dan Niet langdurige gebruik van het toestel, van het type keuken en van de_freqtie waarmee u de antivirusfilter reinigt.
- Vooraleer de antivetfilters en recyclerbare filters met actieve koolstof worden aangebracht,要去endezegoed droog+zijn.
Reinig de dampkap regelmatig, zowel de binnen- als buitenkant, door middel van een vochtige vod gedrenkt in spiritus of een neutraal, Niet-schurend vloeibaar wasmiddel.
- Het verlichtingssystem is ontworpen om gebruikt te wordenijdens het koken en Niet om langdurig gebruikt te worden om de kamer te verlichten. Het langdurig gebruik van de verlichting zal de gemiddelde levensduur van de lamp aanzienlijk verdorten.
- Indien het toestel voorzien is van een lamp, mag deze nicht langdurig worden gebruikt om de kamer teverlichten.

OPGELET
Het Niet-naleven
vande voorschriften
voor het reinigen
van de dampkap,
de verranging en
de reiniging van de
filters brengt een
risico op brand
met zich mee. Wij
raden dus aan deze
instructies na te
leven.
Vervanging van de panelen in acryl of metaal
Om de panelen in acryl of metaal te verrangen, dient u eerst het rooster D te verwijderen, door op det twee zichdelingse toetsen B te drukken, zoals aangeduid in Afb.5.
Verwijder de 2 bevestigingsstukken van defilters B (Afb.6) alsook het paneel in acryl of metaal C.
Om het geheel opnieuw te monteren, herhaalt u deze handelingen in omgekeerde volgorde.
Vervanginde gloelampen/halogeenlampen (Afb.8)
Gebruik enkel de lampen van hetzelfde type en met hetzelfde vermogen dan deze die geinstalleerd waren op het toestel.
Wij kūnnen nietaansprakelijk wordengesteld voor eventueleschade die resulteert uithet Niet-naleven van dezevoorschriften.
Technische specificaties
| a | Naam van de leverancier of merk: | HIGHONE | |
| b | Referentie van het model opgesteld door de leverancier | HC 60 D 305 W/K/XTER | HC 60 W/K/XTER |
| c | Jaarlijkse energieverbruik (AECdampkap), berekend op basis van bijlage II, punt 2, in kWh/a en afgerond op het eerste cijfer anschter de komma | 108.7 | 86,8 |
| d | Energie-efficiëntieklasse van het model | E | E |
| e | Fluidodynamische efficiëntie (FDEdampkap), afgerond op het eerste cijfer anschter de komma | 10,1 | 3,1 |
| f | Fluidodynamische efficiëntie van het model | E | G |
| g | Verlichtingsefficiëntie (LEdampkap) | 1,7 | 2 |
| u | Verlichtingsefficiëntieklasse van het model | G | G |
| i | Vetfilteringsefficiëntie | 66% | 81% |
| j | Vetfilteringefficiëntieklasse van het model | D | |
| k | Luchtdebiet (in m³/u afgerond op het dichtst ligende ronde getal) gegen de minimum- en maximumsnelheid bij een normale werkung, uit gezonderd intensieve modus of boost-modus | MIN: 150 m³/u MAX: 305 m³/u | MIN: 104 m³/u MAX: 175 m³/u |
| l | Eventueel luchtdebiet (in m³/u afgerond op het dichtst ligende ronde getal) in intensieve modus of boost-modus; | - | - |
| m | Akoestische A-gewogen geluidsemissie (in dB afgerond op het dichtst ligende ronde getal) in de lucht bij minimum- en maximumsnelheid bij normala gebruik | 70 | 61 |
| n | Eventuele akoestische A-gewogen geluidsemissie (in dB afgerond op het dichtst ligende ronde getal) in de lucht in intensieve modus of boost-modus | - | - |
| o | Het eventuele energieverbruik in de uit-stand, (Po) in watt, afgerond op het tweede cijfer anschter de komma | 0 | 0 |
| p | Het eventuele energieverbruik in stand-by, (Ps) in watt, afgerond op het tweede cijfer anschter de komma | - | - |
Afdanken van uw oude toestel
SELECTIEVE INZAMELING VAN ELEKTRISCH EN ELEKTRONISCH AFVAL

Dit toestel is voorzien van het DEEE-symbool, wat betekent dat het Niet bij het huishoudelijkke afval gegood mag worden op het einde van zich levensduur, maar dat het�n een recyclagecentrum voor elektrische en elektronische huishoudtoestellen gebracht dient te worden. De opwaardering van afval vormt een belangrijke bijdrage
tot de bescherming van het milieu.
BESCHERMING VAN HET MILIEU - RICHTLIJN 2012/19/EU
Wanner u versleten elektrische en elektronische apparaten recycleert, levert u een aanzienlijke bijdrage tot de bescherming van ons milieu en once gezondheid. Dit dientECHTER wel te gebeuren volgens bepaalde regels en vraagt de betrokkenheid van zowel leverancier als consument.
Daarom mag uw toestel, zoals aangegeven worden door het symbol op het kenplaatje of de verpakking, in geen geval in een openbare of private vuilnisbak voor huishoudelijk afval gegood worden. De gebruiker heeft hetrecht om het toestel maar een openbaar inzamelpunt voor selectieve afvalverwerking te brengen, zDat het toestel gerecycleeerd of opnieuw gebruikt kan worden voor toepassingen conform de richtlijn.
Vielen Dank!
NL dit product wordt gegarandeerd voor een periode van 2aar vanaf de aankoopdatum*,voor elke storing die het gevolg is van een fabricagefout of het materiaal. Gebreken of schade door slechte installment, onjuist gebruik of abnormale slijtage van het product worden nicht gedekt door.Deze garantie.
- op vertoon van kassabon.
SimpelGids