HC 60 W TER - Dunstabzugshaube HIGH ONE - Kostenlose Bedienungsanleitung
Finden Sie kostenlos die Bedienungsanleitung des Geräts HC 60 W TER HIGH ONE als PDF.
Questions des utilisateurs sur HC 60 W TER HIGH ONE
0 question sur cet appareil. Repondez a celles que vous connaissez ou posez la votre.
Poser une nouvelle question sur cet appareil
Laden Sie die Anleitung für Ihr Dunstabzugshaube kostenlos im PDF-Format! Finden Sie Ihr Handbuch HC 60 W TER - HIGH ONE und nehmen Sie Ihr elektronisches Gerät wieder in die Hand. Auf dieser Seite sind alle Dokumente veröffentlicht, die für die Verwendung Ihres Geräts notwendig sind. HC 60 W TER von der Marke HIGH ONE.
BEDIENUNGSANLEITUNG HC 60 W TER HIGH ONE
GEBRAUCHSANLEITUNG 30
MANUAL DEL USUARIO 44
Merci!
Vielen Dank, dass Sie diesen HIGHONE - Produkt gewählt haben.
Ausgewählt, getestet und empfohlen von ELECTRO DEPOT. Die Produkte der Marke HIGHONE garantieren Ohnen Benutzerfreundlichkeit, zuverlässige Leistung und tadellose Qualität.
Mit diesen Gerät können Sie sicherein, dass Sie{jedesmal zufriedengestellt werden, wenn Sie es benutzen.
Willkommen bei ELECTRO DEPOT.
Besuchen Sie unsere Websites: www.electrodepot.fr

ELECTRO DEPOT

Vor der Inbetriebnahme des Geräts
32 Sicherheitsvorschriften

Verwendung des Geräts
36 Das Gerä aufstellen

Praktische Hinweise
40 Wartung und Reinigung
42 Technische Spezifikationen
43 Entsorgung Ihres Altgeräts
Bittelesen Sie den Inhalt dieser Gebrauchsanleitung aufmerksam durch, Denn er liefert Ihnen wichtige Hinweise zur Installation,utzung und Wartung unter sicheren Bedingungen. Bewahren Sie sie auf, um später darauf auf zureckgreifen zu konnen. Dieses Gerat wurde fur dieutzung im Abluftbetrieb (Abführung der Luft nach auBen - Abb. 1A), den Umluftbetrieb (Luft wird in den Raum zureckgefuhrt - Abb. 1B) oder mit einem externen Motor (Abb. 1C) entwickelt.
Sicherheitsvorschriften
- Achtung, wenn Sie die Abzugshaube gleichzeitig mit einem Brenner oder einem Kamin im selbst Raum benutzen, die nicht mit Strom betrieben werden, könnte das zum Problem einer „Strömungsumkehr“ führen.
In diesen Fall saugt die Abzugshaube die Raumluft ab, die auch diese Geräte zur Verbrennung benötigen. Der Unterdruck im Raum darf den Wert von 4 Pa (4x10⁵ bar) nicht übersteigen. Um einen sicheren Betrieb der Abzugshaube zugewährleisten, ist daher immer auf eine ausreichende Belüfung des Raumes zu achten. Bei der Ableitung
der Luft nach außen,müssen die in Ihrem Land geltenden Vorschriften eingehalten werden.
Bevor Sie die Abzugshaube an den Stromkreis anschließen: - Lesen Sie die auf dem Typenschild angegebenen Daten (im Innerer der Haube), um zu überprüfen, ob Spannung und Stromstärke denjenigen des Stromnetzes entsprechchen. Überprüfen Sie auch, ob die Steckdose geeignet ist.
-
Im Zweifelsfall wenden Sie sichitte an einen qualifizierten Elektriker.
-
Wenn das Stromkabel beschädigt ist, müssen Sie es durch ein neues Kabel oder einen für diesen
Zweck bestimmten Bausatz ersetzen, die Sie beim Hersteller oder bei seinem technischen Kundendienst bestellen konnen.
- Das Gerät muss mittel eines Steckers mit 3A-Sicherung oder über die beiden Drahte des Zweiphasenanschusses, die durch eine 3A-Sicherung geschützt sind, und die Stromversorgung angeschlossen werden.

ACHTUNG
Elektrogeräte konnen unter gewissen U m ständengefährlich sein.
-
Niemals den Zustand der Filter kontrollieren, wenn die Dunstabzugshaube in Betrieb ist.
Die Lampen und die umliegenden Bereiche nicht während oder nach längerer Benutzung des Lichts berühren. -
Das Flambieren jeglicher Zubereitungen unter der Abzugshaube ist strengstens verboten.
- Offene Flammen sind unbedingt zu vermeiden, daß diese für die Filter gefährlich sind und einen Brand verursachen konnen.
- Beim Frittieren sind die Speisen ständig zu kontrollieren, um eine Entzündung von überhitztem Öl zu verhindern.
Vor jeglichen Wartungsarbeiten die Abzugshaube unbedingt vom Stromnetz trennen. -
Dieses Gerätarf nicht von Kindern und Personen benutzt werden, die beaufsichtigt werden müssen.
-
Achten Sie darauf, dass keine Kinder mit diesen Gerät speien.
- Der Raum muss über eine hinreichende Belüftung verfügen, wenn die Dunstabzugshaube mit anderen gas- oder brennstoffbetriebenen Geräten gleichzeitig verwendet wird.
- Es besteht Brandgebung, wenn die Reinigung nicht entsprechend den Anweisungen durchgeführt wird.
- Dieses Gerätarf von Kindern ab 8 Jahren und Personen mit eingeschrankten körperlichen, sensorischen oder geistigen Fähigkeiten und Personenohne Erfahrung und Kenntnisse bedient werden, sofern sie korrekt beaufsichtigt werden oder die notigen Anweisungen für den sicheren Gebrauch des Geräts erhalten
und die bestehenden Risiken verstanden haben. Das Gerät ist kein Kinderspielzeug. Die vom Benutzer vorzunehmenden Reinigung s- und Wartungsarbeiten dürfennicht von unbeaufsichtigten Kindern durchgeführt werden
- Ein beschädigtes Stromkabel muss vom Hersteller, dessen Kundendienst oder einer ähnlich qualifizierten Fachkraft ersetzt werden, um jegliche Gefahr zu vermeiden.
- Der Raum muss beigleichzeitigem Betrieb der Abzugshaube mit anderen gas-oder brennstoffbetriebenen Geräten in geeigneter Weise beluftet werden.
-
Einzelheiten zur Wartung des Geräts sind im Abschnitt „Wartung und Reinigung“ aufgeführrt.
-
Wenn die Reinigung nicht entsprechend der Anweisungenerfolgt, besteht Brandgefahr.
-
Unter der Abzugshaube keine Speisen flambieren.
Die Luft darft nicht ein Rohr abgeleitet werden, das zum Ableiten der Dämpfe von gas-oder brennstoffbetriebenen Geräten verwendet wird.
- Der Mindestabstand zwischen der Stellfläche für die Kochbehälter auf der Kochvorrichtung und dem untersten Teil der Abzugshaube (wenn sich die Abzugshaube über einem Gasgerät befindet, muss der Abstand mindestens 65 cm betragen. Wenn die Installationsanweisungen eines Gasherdes einen größeren Abstand angegeben, muss dies berücksichtigt werden.).
Die Vorschriften zur Luftableitung müssen eingehalten werden.

ACHTUNG
Die zugänglichen Teile können bei der Nutzung des Geräts mit Kuchengeräten besteht werden.
- Elektrische Produkte dürfen nicht mit dem Hausmüll entsorgt werden. Gemäß der Europäischen Richtlinie 2012/19/EU zur Entsorgung elektrischer und elektronischer Geräte und deren Ausführung nach nationalem Recht, müssen bebrauchte Elektrogeräte getrennt gesammelt und den dafür vorgesehen Sammelstellen zugeführrt werden. Wenden Sie sich an die örtlichen Behörden oder ihren Handl, um Hinweise zum Recyclen zu erhalten.
Deutsch
Das Gerät aufstellen

Abb.1

B
C

| CM | D |
| 50 | 456 |
| 60 | 556 |
| 70 | 656 |
| 80 | 756 |
| 90 | 856 |
| CM | E |
| 50 | 410 |
| 60 | 510 |
| 70 | 610 |
| 80 | 710 |
| 90 | 810 |


2A

2C

2B

Abb. 2


Deutsch




ROHRFORMIGE GLUHLAMPE - 025 mm - L85-E14 - 40 W

HALOGEN-LAMW- e 35 mm - E14 - 28 W
Abb.8



Die Montage und der elektrische Anschluss müssen von qualifiziertem Fachpersonal durchgefuhrt werden.
- Ziehen Sie vor allen Montagearbeiten Schutzhandschuhe an.
Elektrische Anschlüsse
- These Abzugshaube ist ein Gerät der Klasse II und besteht keineiend Erdungsleiter. Die Steckdose muss auch nach dem Aufstellenden Geräts zugänglich bleiben. Wenn das Gerät über ein Kabel ohne Stecker verfügt, muss zwischen Gerät und Stromnetz ein der Netzlast und den geltenden Vorschriften entsprechender Mehrpolstecker mit einer Mindestöffnung von 3 mm installiert werden. Der Anschluss an das Stromnetz ist folgendermaßen durchzuführen:
BRAUN = L (Linie)
BLAU = N (neutral).
- Der Mindestabstand zwischen der Stellfläche für die Kochbehälter auf der

Kochvorrichtung und dem unteren Teil der Abzugshaube muss mindestens 65 cm betragen. Falls die Verwendung eines Verbindungsrohrs nötig ist, das aus zwei oder mehr Teilen zusammen gesetzt ist, muss der obere Teil über den unteren gestülpt werden. Auf keinen Fall darf das Abluftrohr der Abzugshaube an ein Rohr angeschlossen werden, in dem Warmluft zirkuliert oder das zur Entlüfung von Geräten verwendet wird, die an eine andere Energiequelle als an Strom angeschlossen sind.
-
Sollte es sich um eine Abluftabzugshaube handeln, bereiten Sie eine Luftableitungssöffnung vor.
-
Es empfält sich der Einsatz eines Luftableitungsrohres, das denselben Durchmesser aufweist wie die Luftabzugsöffnung. Die Verwendung eines Reduzierstucks konnte die Leistungen des Produkts beeinträchtigen und das Betriebsgeräusch verstärken.

ACHTUNG
Sollten die Lampen sich nicht einschalten, vergewissern Sie sich, dass sie richtig eingeschraubt sind.
Installation
Bevor Sie die Abzugshaube befestigen (entspruchend dem Modell, das Sie erworben haben), empfehlen wir Ihnen zur bequemeren Handhabung, das Gitter abzunehmen, wie in Abbildung 5. darestellt.
Das Gerät besitzt 2 Abluftöffnungen, eine im oberen und eine im hinteren Bereich, die Sie entsprechend ihrer Bedürfnisse nutzen können (Abb.1A).
Der Anschlussflansch D, an den das Abluftrohr angeschlossen werden muss, sowie ein Stopfen B zum Verschlieben der ungenutzten Abluftöffnung werden mit dem Produkt gefelfert.
- Dieses Gerät kann auf zwei unterschiedliche Arten montiert werden:
1. Befestigung der Abzugshaube unter einem Hangeschrank (Abb. 2):
- 4 LÖcher in den Hängeschrank bohren, die Anweisungen der Abbildungen 2 A-2 C befolgen.
- Die Abzugshaube unter den Hängeschrank halten und mit 4 Schrauben (nicht im Lieferumfang enthalten) befestigen, die für die Möbelart geeignet sind.
2. Wandbefestigung der Abzugshaube (Abb. 2):
- 4 LÖcher entsprechend den Anweisungen der Abbildungen 2 A-2 B bohren.
- Befestigen Sie die Haube in den beiden Lächern H an der Wand, richten Sie sie horizontal aus und befestigen Sie sie endgültig in den beiden Sicherheitslöchern I (Abb. 2B).
Bei einer anderen Montageart verwenden Sie für die Wandart geeignete Schrauben und SpreizdübEL (z.B. Stahlbeton, Gipskarton
usw.). Wenn die Schrauben und Dubel mit dem Gerät gefelert wurden, vergewissern Sie sich, dass Sie für die Art der Wand geeignet sind, an der die Haube befestigt wird.
Die Haube wurde für die gewünschte FunktionsweiseVBoreitet. Es sind folgende Versionen vorgesehen:
- Ableitung nach außen (Abb.1A-3).
-Umluft (Abb.1B-4-7). - Wenn es sich um eine Abzugshaube in der Version Ableitung nach außen handelt, stellen Sie den Hebels so, wie in der Abb.3 dargestellt.
- Wenn es sich um eine Abzugshaube in der Version Umluft handelt, stellen Sie den Hebel C so, wie in der Abb.4 darestellt.
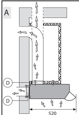
Abluftbetrieb
Bei dieser Installationsart leitet das Gerät Dämpfe über eine Seitenwand oder ein bestehendes Rohr nach außen ab. Sie brauchen dazu ein nicht entflammbares Wandtelescoprohr, das den geltenden Normen entspricht, und müssen dies an den Anschlussflansch D (Abb.1A) anschließen. Der mit dem Gerät gelieferte Anschlussflansch D muss oberhalb der Abluftöffnung der Dunstabzugshaube befestigt werden, wie in Abb.3 dargestellt.
Umluftbetrieb
Um die Abzugshaube von Abluftbetrieb auf Umluftbetrieb umzustellen, wenden Sie sich für den Kauf der benöttigten Aktivkohlefilteritte an ihren Fachhändler.
Die Filter mussen in die Luftansaugung im Inneren der Abzugshaube eingebaut werden, indem man sie mittig in die Abzugshaube einsetzt und um 90^ bis zum Einrasten dreht (Abb. 7). Um diesen Arbeitsgang durchzuführen, muss das Gitter D abgenommen werden (Abb. 5). Verschreiben Sie die Abluftöffnung mit Hilfe des Stopfens B, wie in Abbildung 4 dargestellt.
Wartung und Reinigung
-
Es wird empfohlen, die Abzugshaube schon eine Minuten vor dem Kocheneinzuschalten. Es wird weiterhin empfohlen, das Gerät nach Beendigung des Kochvorgangs noch 15 Minuten weiterlaufen zu halten, um die vollständige Entlüftung der Gerüche und Kochdämpfe zu gewährleisten. Daseinwandfrei Funktionierender Abzugshaube hangt von der Häufigkeit der Wartungsarbeiten ab, und insbesondere von der Wartung des Fettfilters und des Aktivkohlefilters.
-
Der Fettfilter soll die in der Luft befindlichen Fettpartikel binden; davon hängt die Dauer bis zu seiner Verstopfung vom Gebrauch des Geräts ab.
-
Um einer möglichen Brandgefahr vorzubeugen,
müssen die Fettfilter alle 2 Monate durch Handwäsche mit nicht scheuerndem Flüssigreiniger oder beiniedriger Temperatur in der Geschirrspulmaschine bei einem Kurzwaschgang gereinigt werden.
- Nach mehreren Wäschen kann es zu Farbveränderungenkommen. Dies ist kein Grund für den Austausch.
Die Aktivkohlefilter dieren dazu, die Luft zu reinigen, die wieder in den Raum zurückgefuhrt wird, und die beim Kochen entstehenden Gerüche zu verringern.
- Die nicht regenerbaren Aktivkohlefilter,müssen alle vier Monate ausgetauscht werden. Die Sattigung der Aktivkohle hangt von der mehr oder weniger langen Benutzungsdauer des Geräts, der Art der zubereiteten Speisen und
der Regelmäßigkeit der Reinigung des Fettfilters ab.
- Bevor die Antifettund regenerierbaren Aktivkohlefilter eingesetzt werden, ist es wichtig, dass sie richtig trocken sind.
- Reinigen Sie die Abzugshaube regelmäßig voninnen und von außen mit einem mit vergälltem Alkohol oder mit neutralen, nicht schieuernden Flüssig reizinern befeuchteten Tuch.
Die Beleuchtung ist für den Gebrauch während des Kochvorgangs vorgesehen, jedoch nicht für die länger andauernde Beleuchtung des Raums. Die länger andauernde Benutzung der Beleuchtung führt zu einer betrachtlichen Verringerung der Lebensdauer der Lampe.
- Falls das Gerät über eine Deckenleuchte verfügbar,
darf diese nicht über einen längeren Zeitraum zur Raumbeleuchting verwendet werden.

ACHTUNG
Die Nichteinhaltung der Vorschriften zur Reinigung der Abzugshaube und zum Ersatz der Filter stellt ein Brandrisikodar. Es wird demnach dringend empfohlen, diese Anweisungen zu befolgen.
Austausch der Acryl- oder Metallplatten
Zum Austausch der Acryloder Metallplatten müssen Sie zuerst das Gitter D entfernen, indem Sie auf die beiden Seiten Tasten B drücken, wie in Abbildung5 dargestellt.
Entfernen Sie die beiden Befestigungselemente des Filters B (Abb.6) sowie die Acryl- oder Metallplatte C.
Zum Wiedereinbau der Teile gehen Sie in umgekehrter Reihenfolge vor.
Austausch der Gluh-/ Halogenlampen (Abb. 8)
Verwenden Sieausschließlich Lampen desselben Typs und
derselben Leistung wie die in dem Gerät installierten.
Für mögliche Schäden infolge der Nichtbeachtung dieser Anweisungen lehnen wir jegliche Haftung ab.
Technische Spezifikationen
| a | Lieferantenname oder Marke | HIGHONE | |
| b | Modellnummer des Lieferanten | HC 60 D 305 W/K/X TER | HC 60 W/K/X TER |
| c | Jährlicher Energieverbrauch (AEChood), gemäß Anhang II, Punkt 2 berechnet, in kWh/Jahr und auf eine Dezimalstelle gerundet | 108.7 | 86,8 |
| d | Energieeffizienzklasse des Modells | E | E |
| e | Fluiddynamische Effizienz (FDEhood), gerundet auf eine Dezimalstelle | 10,1 | 3,1 |
| f | Fluiddynamische Effizienzklasse des Modells | E | G |
| g | Beleuchtungseffizienz (LE hood) | 1,7 | 2 |
| h | Beleuchtungseffizienzklasse des Modells | G | G |
| i | Fettabscheidegrad | 66% | 81% |
| j | Fettabscheidegradklasse des Modells | D | |
| k | Luftstrom (in m3/h, gerundet auf die{nachste的各项Zahl) bei minimaler und maximaler Geschwindigkeitim Normalbetrieb, Intensiv- oder Boost-Modus ausgeschlossen | MIN: 150 m3/h MAX: 305 m3/h | MIN: 104 m3/h MAX: 175 m3/h |
| l | Gegebenenfalls Luftstrom (in m3/h gerundet auf den nachste的各项Zahl) im Intensiv- oder „Boost“-Modus | - | - |
| m | A-bewertete Luftschallemissionen (in dB, gerundet auf die{nachste各项Zahl) bei minimaler und maximaler Geschwindigkeit im Normalbetrieb | 70 | 61 |
| n | Gegebenenfalls A-bewertete Luftschallemissionen (in dB, gerundet auf die{nachste各项Zahl) Intensiv- oder „Boost“-Modus | - | - |
| o | Gegebenenfalls Energieverbrauch im Modus „Aus“ (Po) in Watt, gerundet auf zwei Dezimalstellen | 0 | 0 |
| p | Gegebenenfalls Energieverbrauch im Modus „Standby“ (Ps) in Watt, gerundet auf zwei Dezimalstellen | - | - |
Entsorgung Ihres Altgeräts
ENTSORGUNG VON ELEKTRISCHEN UND ELEKTRONISCHEN ABFÄLEN

Dieses Gerätträgt das Symbol WEEE (Elektrisches oder Elektronisches Altgerät), was bedeutet, dass es nach dem Ende des Lebenszyklus nicht mit dem Hausmüll entsorgt werden darf, sondern den örtlichen Sammelstellen zur Abfalltrennung zugeführrt werden muss. Abfallverwertungträgt zum Schutz der Umwelt bei.
UMWELTSCHUTZ - RICHTLINIE 2012/19/EG
Zum Schutz unserer Umwelt und Gesundheit müssen elektrische und elektronische Altgeräte nach den klar vorgegebenen Regeln entsorgt werden, die sowohl von Lieferanten als auch von Benutzern zu befolgen sind.
Daher scarf Ihr Gerät, welches auf seinem Typenschild oder der Verpackung mit
dem entsprechenden Symbol gekennzeichnet ist, keinesfalls in einer öffentlichen Mülltonne oder im Hausmüll entsorgt werden. Der Benutzer hat das Recht, das Gerät den örtlichen Abfall- Sortierstellen zum Recycling oder zur Wiederverwendung zu anderen Zwecken im Sinne der Richtlinie zu übergeben.
Gracias!
DE Für diesen Produkt wird ab dem Verkaufsdatum* eine Garantie von 2 Jahren für Mängel infolge von Herstellungs- oder Materialfehlern gewährt. Von dieser Garantie ausgeschlossen sind Mängel oder Schäden, die durch falsche Installation, Handhabungsfehler oder unsachgemäßen Gebrauch verursacht werden.
*gegen Vorlage des Kassenbelegs.
EinfachAnleitung