BIOLINE 1600 - Tuinversnipperaar ATIKA - Gratis gebruiksaanwijzing en handleiding
Vind de handleiding van het apparaat gratis BIOLINE 1600 ATIKA in PDF-formaat.
Gebruikersvragen over BIOLINE 1600 ATIKA
0 vraag over dit apparaat. Beantwoord die u kent of stel uw eigen vraag.
Stel een nieuwe vraag over dit apparaat
Download de handleiding voor uw Tuinversnipperaar in PDF-formaat gratis! Vind uw handleiding BIOLINE 1600 - ATIKA en neem uw elektronisch apparaat weer in handen. Op deze pagina staan alle documenten die nodig zijn voor het gebruik van uw apparaat. BIOLINE 1600 van het merk ATIKA.
GEBRUIKSAANWIJZING BIOLINE 1600 ATIKA
Bedieningsaanwijzing en reserveonderdelen voor tuinhakselaar BioLine
1
Opgelet! Voor gebruik de bedieningsaanwijzing lezen!
Motor loopt noch even door!
Lame in movimento!

Voor u an het snij-element gaat werkken, eerst de stekkeruit het stopcontact trekken !
Opgelet gevaar! Draaiend snij-element!
Veiligheidshandschoenen dragen!
Door de tuinhakselaar aan te schaffen hebt U gekozen voor een hoogwaardig, sterk apparaat.
Volg de navolgende punten zorgvuldig op, zodate du tuinhakselaar U vele jaren van Dienst za他们在

U mag het apparaat Niet in bedrijf nemen, voordat U deze bedieningsaanwijzing heeft gelezen, alle instruties hebt gevolgd en het apparaat volgens de beschrijving.haveft gemonteerd.
Regelmatig gebruik
De tuinhakselaar় geschikt voor privè gebruik in huis- en hobbytuin.
Hetলenmachine die in openbare plantsoenen,parken,sportplaaten of in de land- en bosbouw gebruikt kunnen worden.
Inhoudsopgave
- Montageaanwijzing type.. blz. 8
- Veiligheidsvoorschriften blz. 28
- Inbedrijfstelling. blz. 28
4.Het hakselen blz.29 - Onderhoud en verzorging blz. 29
6.Draaien van de messer blz.29 - Bedrijstoringen blz. 30
8.Garantiebepalingen blz.30 - Technische specificaties blz. 31
- Reserveonderdelen.. blz. 36

EG-Conformiteitsverklaring
overeenkomstig Richtlijn 98/37/EG
Wij ATIKAGmbH & Co. KG
Schinkelstraße 97
D-59227 Ahlen
verklaren enig in verantwoording, dat deze producten
waarop deze verklaring betrekking heeft, beantwoordt aan de van toepassing+zijnde funda- mentale veiligheids- en gezondheidseisen van de Richtlijn 98/37/EG, en aan de eisen van de andere van toepassing zijnde Richtlijnen:
89/336/EEG, 73/23/EEG en 2000/14EG.
Gemeten geluidsniveau L WA 105 dB (A) en gegardeerd geluidsniveau L WA 106 dB (A).
Ahlen, 14.01.2003

Pollmeier, bedrijfsleiding
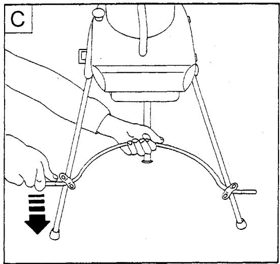
Anbau Fahrgestell (teilweise Sonderzubehr)
Assembly of the chassis (optional)
F Montage de l'axe roues (en option)
NL/B Opbouw van het onderstell (gedeeltelijke speziale onderdelen)
Montaggio dello chassis (in opizione)





Anbau Fahrgestell (teilweise Sonderzubehr)
Assembly of the chassis (optional)
F Montage de l'axe roues (en option)
NL/B Opbouw van het onderstell (gedeeltelijke speziale onderdelen)
Montaggio dello chassis (in opizione)




D Zusammenbauanleitung GB Assembly instructions F Instructions d'assemblage NL/B Montageaanwijzing type I Instruzione per il montaggio








D Anbau Trichter
GB Assembly of the funnel
F Montage de trémie
NL/B Opbouw van de trechter
I Montaggio dello imbuto


Öffnen des Gerätes
Open machine
Ouverture de l'appareil
Openen van het apparaat
Aprière la macchina


B
NL/B Voor het verbinden van de trechter (a) met het bovengedeelte van de mantel (b) de trechter draaien tot allegatenposities overeenstemmen en metde drie bijgesloten eenrichtingsschroeven (390130 - M 5 x 12) vastschroeven. Anders worden geen aansprakelijkheid aanvaard!!
verbinden van de trechter (a) met het bovengedeelte van de mantel (b)要去en steeds de bijgevoegde eenrichtingsschroeven (383543 - M 5 x 16) gezruikt worden. Anders worden geen aansprakelijkheid aanvaard!!
Voor het verbinden van de opsteekbuis (a) met het bovengedeelte van de mantel (b) de opsteekbuis draaien tot alle gatenposities overeenstemmen en met de drie bijgesloten enrichtings-schroeven (390130 - M 5 x 12) vastschroeven. Anders worden geen aansprakelijkheid aanvaard!!
Per fissare la prolunga di tubo (a) al tubo di carico (b) far ruotare la prolunga di tubo finché tutte le posizioni dei fori corrispondono ed avvitare con le tre viti monouso accluse (390130 - M 5 x 12). In caso contrario l'azienda declina agli responsabilità !!

2. Veiligheidsvoorschriften
Apparaat met veiligheidsuitschakeling
De aan deze hakselaar aangebrachte veiligheidsuitschakeling met automatische motorrem dient voor uweilighheid. Hij voorkomt dat de motor kan worden ingeschakeld wanner het apparaat geopend is en dat U met de hand in de draaiende messen kutn vrijpen.
Reparaties aan elektrische onderdelen van de machine, zowel als aan de veiligheidsschakeling要去en door de fabrikant fo een door hem aangewezen persoon worden uitgevoerd.

Volg de navolgende punten zorgvuldig op!
- De bedienenende persoon is binnen het arbeitsbereik van de machine verantwoordelijk ten opzichte van derden.
- Jongeren oder 16aar mogen het apparaat nicht bedieren.
- Kinderen dieren uit de buurt van het apparaat te worden geweerd.
- Tijdens het werknen met deze machine dienen veiligheidsbril, werkhand Schoenen en gehoorbeveiliging te worden gedragen.
- Deuitvoering van de aansluitleiding dient volgens IEC 60245 (H 07 RN-F) met rubberen insteekinrichting te worden gerealiseerd. De diameter van de leiding dient denminste 3 × 1,5 ~mm^2 te bedragen.
- Defecte aansluitleidingen mogen nooit worden benut.
- Het apparaat via een veiligheidsschakelaar aansluten.
- Bij onderhouds- en reinigingswerkzaamheden aan de tuinhakselaar moet de motor steedsuitgeschakeld zich en de stekker uit het stopcontact worden getrokken (eveneens bij het transport en wonneer u het apparaat verlaat).
- Het apparaat mag nicht zonder de vultrechter gebruikt worden.
- Defecte resp. beschadigde onderdelen aan het apparaat onmiddelijk UITwisselen.
- Nooit bij ingeschakeld apparaat uw hand in de vul- of uitworpopening steken.
- Apparaat resp. onderdelen van het apparaat Niet veranderen.
- Bij het inschakelen van de motor要去 het apparaat conform de voorschriften zich gesloten.
-
Het apparaat mag nicht met water worden afgespoten (bron van gevaar voor elektrische stroom).
-
Het apparaat uitsluitend inzetten voor het onder punt 4 "Het hakselen" beschreven gebruiken.
- Machine nicht in de regen latent staan. Niet in de regen mte die machine werken. Berg de machine op een droge plaats op.
- Om letsel aan vingers te vermijden bij montage en/of reinigen, het snijwerk vastzetten (bijv. een houten keg, aflb. zich blz. 29 en werkhandsschoenen dragen.
3. Inbedrijfstelling
- Overtuigt u zich er van, dat het apparaat compleet en volgens voorschrift is gemonteerd.
- Plaats de hakselmachine voor het gebruik op een horizontale en stevige ondergrond (kiepgevaar).
- Sluit het apparaat aan het desbeteffende reglementaire stopcontact aan.
-
Gebruik verlengsnoeren met voldoende diameter
-
Kabellengte 25 m: diameter tenminste 1,5 mm²
- Kabellengeer dan 25 m: diameter tenminste 2,5mm^2
- Beveiling
- 1100 W, 1200 W: 10 A
- 1300 W, 1400 W, 1500 W, 1600 W, 1700 W: 10 A traag
- 1800 W, 1900 W, 2000 W: 16 A
- 2100 W, 2200 W, 2300 W 2400 W: 16 A traag
- Controller voor ieder gebruik
- Aansluitleidingen op defecteplaatsen (scheuren, sneden o. d.)
- of alle schroeven goed zichn vastgodraaid
voor inbedrijfstelling het bovengedeelte van hetuis te sluiten en vast te schroeven.
In en uitschakelen

4. Het hakselen
Wat kan ik hakselen?
Ja:
- organisch afval uit huisbouden en tuin
bijv. heg- en boomafval, verwelkte bloemen en keukenafval
Nee:
- glas, metaaldelen, kunststoffen, plastic zaken, stenen, stofaval, wortelen met aarde, voedings-, vis- en vleesresten
Speciale aanwijzingen voor het hakselen:
Maak takken, twijgen en hout vlak na het snijden Klein
- dit hakselgoed wordenijdens het uitdrogen verzier hard, de maximum te verwerken tak-diameter worden hierdoorkleiner.
Verwijder zijtakken bij takken met veel twijgen.
Verwerken van zeer waterhoudende, aan elkaar plakkende tuin- en keukenafval
- deze afwisselend met houten hakselgoed Klein makes om een verstopping van het apparatusat te vermijden.
Let u er op dat bij uw apparaat alleen de max te verwerkende takmiddelijn bijgehonden word (Ø zie blz. 31).
De messen trekken het hakselgoed vrijwel zichstandig maar binnen.
Vermijd overbelasting van de motor bij dikkere takken door de tak wat vaker'erug te trekken.
Bij overbelasting van het apparaat schakelt de draaischakelaar die met een motorbe-veiliging is uitgerust vanzelf uit
- schakel de hakselmachine na ca. 5 minutes opniew aan
- wonneer het apparaat na deze wachtijd nicht kan worden ingeshakeld, dient u onder punt 7 „Bedrijfstoringen" na te kijken.
5. Onderhoud en verzorging
De tuinhakselaar zijn over het algemeen onderhoudsvrij. In het belang van het behoud van de waarde en een lange levensduur dient met het volgende rekening te worden gehonden:
- na ider gebruik, het apparaat van binnen en van buiten goed te reinigen.

- blanke metalen elementen dieren na elk gebruiklicht te worden ingevet (tegen roestvorming).
Let erop
- dat voor het sluiten van het apparaat verontreinigingen uit het schroefdraad van de bak van de behuizing worden ver-wijderd; door verontreinigungen blokkeert het schroef-draad en sluit het bovengedeelte van de behui-zing Niet goed motor draait nicht - dat bij het sluiten de schroefrecht in de bak van de behuizing worden gedraaid.
6. Draaien van de messer
Verminder snijvermogen:
- een kant van het mes is stomp
toepassing van de ongebruikte kant door het mes om te draaien

- beiden kanten van het mesল stomp
nieuw set messen (bestel-nr. 384547)
7. Bedrijffstoringen
| Storing | Mogelijk oorzaak | Oplossing |
| Motor draait Niet | - gen netspanning - aansluitkabel defect - bovenstuk huis Niet goed gesloten (veiligheidsschakeling actief) | - zekering controleren - laten controleren (elektrovakman) - bovenstuk huis goed afsluiten en vastschroeven, EVT. vuil verwijderen |
| Motor bromt, maar draait Niet | - messen geblokkeerd - condensator defect | - apparaat uitschakelen, stekker uittrekken en apparaat van binnen reinigen - apparaat ter reparatie�xbrikant of�xboficièle dealer |
| Apparaat draait, maar bloeert bij geringe belasting en schakelt via de motorveiligheidsschakelaar UIT. | Verlengsnoer te lang of tekleine doorsnede. Stekke te ver van hoofd-aansluiting verwijderd en tekleine doorsnede van de aansluitkabel. | Verlengsnoer min. 1,5 mm2, max. 25 m lang. Bij langere kabel doorsnede min. 2,5 mm2. |
8. Garantiebepalingen
- Wij aanvaarden 2aar garantie vanaf levering van het apparaat vanuit het magazijn van de handelaar en voor gebreken die+zijn opgetreden door materiaal- resp. fabricagefouten.
- Voor schade die ontstaat door onvakkundige behandeling of onvoldoende verpakking bij het terugzenden van de apparaten c.q. het Niet-inachtnemen van de bedieningshandleiding, zich aanspraken op garantie ookijdens de garantieperiode uitgesloten.
- Gebrekkige onderdelen dieren vrij van porto- resp. vrachtkosten an unsere fabrik te worden opgestuurd. De beslissing i. v. m. een Gratis le-vering van verrangende onderdelen ligt bij ons.
- Noodzakelijkde garantiewerkzaamheden worden door ons uitgevoerd. Het verhelpen van de schade door een andere firma dient uitge-drukklijk door ons te worden goedgekeurd.
- Alleen indien orginele reserveonderdelen worden gebruikt, bieden wij garantie.
- Wijzingen die de technische vooruitgang dienen, houden wij bij ons.
Netimpedantie
Bij ongunstige net voorwaarden kunnen erijdens het inschakelen van het apparaat korttijdige spanningsdalingen voorkomen, die andere apparaten kunnen belemmeren (bijv. flakkeren van een lamp).
Erলen storingen te verwachten, wanneer de in de tabel aangegeven maximale netimpedanties worden opgevolgd.
| Opgenomen vermogen P1 (W) | Netimpedantie Zmax(Ω) |
| 1300 – 1400 | 0,36 |
| 1600 – 1700 | 0,35 |
| 1800 – 2000 | 0,25 |
| 2200 – 2400 | 0,24 |
9. Technische specificaties
| Type | 1100 | 1200 | 1300 | 1400 | 1500 | 1600 | 1700 | 1800 |
| Typ | AH 207AH 208 | AH 215AH 216 | AH 200AH 209 | AH 213AH 214 | AH 238AH 235 | AH 201AH 210 | AH 225AH 226 | AH 202AH 211 |
| Motor | Wisselstroommotor 230 V, 50 Hz, S 6 = 40% ED, met automatische motorrem | |||||||
| Motorvermögen P1 | 1100 W | 1200 W | 1300 W | 1400 W | 1500 W | 1600 W | 1700 W | 1800 W |
| Motorvermögen P2 | zie typeplaatje | |||||||
| Stroomopname I | 5,3 A | 5,8 A | 6,3 A | 6,6 A | 7,0 A | 7,5 A | 7,9 A | 8,9 A |
| Toerental N ca. | 2800 min-1 | 2800 min-1 | 2800 min-1 | 2800 min-1 | 2800 min-1 | 2800 min-1 | 2800 min-1 | 2800 min-1 |
| Aan-/uitschakelaar | met geintegreerde motorbeveiligsschakelaar en elektrische veiligheidsuitschakeling | |||||||
| Gewicht | zie typeplaatje | |||||||
| Geluiddrukpegel bij het werk | 87dB (A) | 87dB (A) | 87dB (A) | 87dB (A) | 88dB (A) | 88dB (A) | 88dB (A) | 89dB (A) |
| Geluidsniveauaigemen/gerarandeerd | 105/ 106dB (A) | 105/ 106dB (A) | 105/ 106dB (A) | 105/ 106dB (A) | 105/ 106dB (A) | 105/ 106dB (A) | 105/ 106dB (A) | 105/ 106dB (A) |
| max.te verwerken-de takmiddeelijn * | Ø 2,0cm | Ø 2,0cm | Ø 2,5cm | Ø 2,5cm | Ø 3,0cm | Ø 3,0cm | Ø 3,0cm | Ø 3,5cm |
| Type | 1900 | 2000 | 2000 | 2100 | 2200 | 2300 | 2300 | 2400 |
| Typ | AH 239AH 236 | AH 222AH 227 | AH 224AH 240 | AH 241AH 242 | AH 203AH 212 | - AH 229 | AH 223AH 228 | AH 250AH 251 |
| Motor | Wisselstroommotor 230 V, 50 Hz, S 6 = 40% ED, met automatische motorrem | |||||||
| Motorvermögen P1 | 1900 W | 2000 W | 2000 W | 2100 W | 2200 W | 2300 W | 2300 W | 2400 W |
| Motorvermögen P2 | zie typeplaatje | |||||||
| Stroomopname I | 9,0 A | 9,3 A | 9,3 A | 9,5 A | 10,1 A | 10,5 A | 10,5 A | 10,5 A |
| Toerental N ca. | 2800 min-1 | 2800 min-1 | 2800 min-1 | 2800 min-1 | 2800 min-1 | 2800 min-1 | 2800 min-1 | 2800 min-1 |
| Aan-/uitschakelaar | met geintegreerde motorbeveiligsschakelaar en elektrische veiligheidsuitschakeling | |||||||
| Gewicht | zie typeplaatje | |||||||
| Geluiddrukpegel bij het werk | 89dB (A) | 89dB (A) | 89dB (A) | 88dB (A) | 88dB (A) | 88dB (A) | 88dB (A) | 88dB (A) |
| Geluidsniveauaigemen/gerarandeerd | 105/ 106dB (A) | 105/ 106dB (A) | 105/ 106dB (A) | 105/ 106dB (A) | 105/ 106dB (A) | 105/ 106dB (A) | 105/ 106dB (A) | 105/ 106dB (A) |
| max.te verwerken-de takmiddeelijn * | Ø 3,5cm | Ø 3,5cm | Ø 3,5cm | Ø 4,0cm | Ø 4,0cm | Ø 4,0cm | Ø 4,0cm | Ø 4,0cm |
- geldt alleen voor het snijden van vers hout

A

B

C

D

E
Afmetingen:
| length | breedte | hoogte | |
| A | 67 cm | 57 cm | 102 cm |
| B | 70 cm | 59 cm | 102 cm |
| C | 72 cm | 60 cm | 95 cm |
| D | 72 cm | 60 cm | 160 cm |
| E | 72 cm | 60 cm | 135 cm |
Voor de reserveonderdelen zich de reserveonderdelen tekening en -lijst.
Reserveonderdelen bestellen:
-bij de fabrikant
-oodzakelijkgegevens bij de bestelling:
- kleur van de het apparaat
- reserve-onderdel-nr.
- gewenste aantal
type tuinhakselaar - aanduiding van het tuinhakselaar
Voorbeeld: groen, 384761,1, type 1100, BioLine
SimpelGids