TWIN T2 AQUAFILTER - Waterfilter THOMAS - Gratis gebruiksaanwijzing en handleiding
Vind de handleiding van het apparaat gratis TWIN T2 AQUAFILTER THOMAS in PDF-formaat.
Questions des utilisateurs sur TWIN T2 AQUAFILTER THOMAS
0 question sur cet appareil. Repondez a celles que vous connaissez ou posez la votre.
Poser une nouvelle question sur cet appareil
Download de handleiding voor uw Waterfilter in PDF-formaat gratis! Vind uw handleiding TWIN T2 AQUAFILTER - THOMAS en neem uw elektronisch apparaat weer in handen. Op deze pagina staan alle documenten die nodig zijn voor het gebruik van uw apparaat. TWIN T2 AQUAFILTER van het merk THOMAS.
GEBRUIKSAANWIJZING TWIN T2 AQUAFILTER THOMAS
- Deksel van het apparaat
- Aanzuigstomp
- Draagbeugel
- Ver- resp. -ontgrendeling van de deeksel
- Toets kabelhaspel
- In-/ uitschakelaar pomp
- Signaillampje pomp
- Snelkoppeling sproeislang
- In-/ uitschakelaar apparaat incl. elektronische zuigkrachtregeling (One-Touch-toets)
- Signaallampje elektr. zugkrachtregeling
-
Meubelstootrand
-
AQUA-filter (12) met schuimstofffilter (12a) en aanzuigfilter (12b)
- Vuilwatertank (13) met natfilter (13a) en vlotter (13b)
- HEPA-filter
-
Motorveiligheidsfilter
-
Zuigbuishouder (rustpositie)
- Verswatertank met afneembare deksel
- Stekker
-
MKA-microfilter
-
Kleine beweeglijke loopwieltjes
- Zuigbuishouder (rustpositie)
- Grote loopwielen


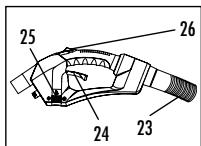
Zuigslang (23) met geintegreerde spre-eileiding, pijpbochtstuk met geintegreerd afsluitventiel (24), watervolumeregeling (25) en mech. zuigkrachtregeling (25)

In de hoogte verstelbare telescoopzuigbuis met rustpositiehouder

Tapijtzuiger, omstelbaar met borstels voor alle harde vloeren

Textielzüger (stoelen, sofa, auto)
Kierenzuiger (kieren, spleten, naden)
Kleine zuiger (meubels, telefoon, toetsen-bord), sifonsproeier (afvoerreiniging van wastafel en douche)

HEPA filter **

AQUA-filter compl. (12) met schuimstofffilter (12a) en aanzuigfilter (12b) **

Vuilwatertank (13) incl.
natifilter (13a) en vlotter (13b) **
Tapijsproeier met uitklap- en afneembare adapter voor harde vloeren (HBA) incl. spreieleiding

Textielsproeier
incl. korte spreieleiding

Wisadapter + microfiberpad voor laminaat / parket (wit, 2 stuk) + microfiberpad voor ramen (grijs, 1 stuk)

THOMAS ProTex
Tapijtreinigingsconcentraat
THOMAS ProFloor reinigings-concentraat voor harde vloeren

2 Buisklemmen voor spreoiangbevestiging aan de zuigbuis
Tabel toepassings-/gebruiksmogelijkheden
| Reinigings-methode | Toepassing | Accessoires | Filtratie |
| Stofzuigen | ·tapijt en harde vloeren | tapijtzuiger | vuilwatertank (13) incl. natfilter(13a) met AQUA-filter compl. (12)+ HEPA-filter (14)+ motorveiligheidsfilter (15)1 liter water opvullen |
| ·bekledingen, auto etc. | textielzuiger | ||
| ·kieren, hoeken, auto, algemeen moeilijkbereikbare plekken | kierenzuiger | ||
| Waszuigen | ·tapijtdieptereinigung+ vlekkenverwijdering·textieldieptereinigung+ vlekkenverwijdering·reinigung van stenen vloeren·reinigung van laminaaat/parket en laminaaat·vensterreinigung | tapijsproeiertextielsproeiertapijsproeier+ adapter voor harde vloerentapijsproeier + wisadapter+ microfiberpadtapijsproeier + wisadapter+ microfiberpad + korte spreeslang | vuilwatertank (13) incl. natfilter(13a) + anti-overloopinzetstuk +motorveiligheidsfilter (15)+ motorprotection filter (15) |
| Natzuigen | ·opzuigen van vloeistoffen op waterbasiszoals sap, koffie, water etc.- tapijt- stenen vloeren (segels, PVC)- parket en laminaaat | tapijsproeiertapijsproeier + adapter voor harde vloerentapijsproeier + wisadapter+ pad | vuilwatertank incl. natfilter (13a)+ anti-overloopinzetstuk+ motorveiligheidsfilter (15) |
Hartelijk gefeliciteerd ...
... met de aankoop van de THOMAS TWIN T2 AQUAFILTER, een waszuiger van buitengewone kwaliteit, waarmee u uw tapijt, harde vloeren en beklede meubelen kurz reinigen.
Met de aankoop van uw nieuwe THOMAS TWIN T2 AQUAFILTER heeft u voor een exclusief product gekozen, dat de bakens bij het dagelijkse stofzuigen verzet.
Een buitengewoon krachtige stofzuiger met een supereure technologie, die ervoor zorgt dat het reinigen van verschillende oppervlakken zoals harde vloeren, tapijt of beklede meubelen nu sneller, grondiger en gemakkelijker worden.
In zijn functie als stofzuiger is hij geschikt voor het verwijderen van droog vuil en stof en bij het natzuigen van vloeistoffen op waterbasis. Bij het gebruik als waszuiger voor de basisreiniging van uw tapijt, harde vloeren (segels, parket, laminaat, PVC), beklede meubels en vensters toont hij zich volledige kracht.
Lees a.u.b. zorgvuldig de gebruksaanwijzing, opdat u snel aan uw apparaat went en+zijn veelzijdigheid optimaal kunt benutten. Uw/Newe THOMAS apparaat za u vele jaren van dienst zichin, wanneer u het adequaat behandelt en verzorgt. Wij wensen u veel plezier bij het gebruik.
Uw THOMAS-Team
Ter wille van het milieu
Verpakkingsmaterial en uitgediende apparaten a.u.b. Niet eenvoudig weglooien!
Verpakking van het apparaat:
- het verpakkingskarton kan met het oud papier verwijderd worden;
- de kunststoffverpakking van polyethyleen (PE) bij een recycling-depot afgeven.
Verwijdering van het apparatusaat na het einde van de levenstijd:
- verwijder het apparaat a.u.b. volgens deplaatselijke voorschriften en snij eerst de stekker eraf, die u eerst uit het stopcontact getrokken heeft.

Het symbol op het product of de verpakking duidt erop dat dit product Niet als gewoon huisvuil kan worden behandeld, maar bij een recyclingdepot voor elektrische en elektronische apparaten要去 worden afgegeven.
Door uw bijdrage aan een correcte recycling beschermt u het milieu en de gezondheid van uw medemensen. Milieu en gezondheid worden door een foutieve verwijdering van het product in gevaar gebracht.
Nadere informaties betreffende de recycling van dit product krijgt u bij de bevoegde instanties, de vuilafvoer en in de winkel, waar u het product gekocht heeft.
Vórár de eerste inbedrijfstelling
Lees a.u.b. alle onderstaande informaties nauwlettend door.Zebevattenbelangrijkeaanwijzingenbetreffende de veiligheid, het gebruik en het onderhoud van het apparaat. Bewaar a.u.b. de gebruiksaanwijzing zorgvuldig en geef deze aan de volgende bezitter door.
Dit apparaat is Niet bestemd om door Personen (m.i.v.kinderen) met lichamelijke, sensorische of geestelijke gebreken of bij gebrek aan ervaring en/of kennis te worden gebruikt, tenzij een voor hun verigheid aanwezigere persoon toezicht houdt, of wanner ze van deze persoon aanwijzingen gekregen hebben, hoe ze het apparaat要去en gebruiken. Op kinderen要去zicht gehonden worden omervoorte zorgen dat ze Niet met het apparaat spelen.

Veiligheidsinstructies
- De THOMAS TWIN T2 AQUAFILTER worden uitsluitend in de huis-housing door volwassenen gelebruikt.
-
Het apparaat in geen geval in gebruik stellen, wanner:
-
de netaansluitkabel beschadigd is;
- het zichbare schade vertoont;
-
het eventueel op de grond gevaln is.
-
De spanningsopgave op het typeplaatje moet met de netspanning overeenkomen.
- Gebruik het apparaat nooit in vertrekken, waarin brandbare stoffen opgeslagen zijn of zich gassen gezvormd hebben.
- Laat het ingeschakelde apparaat nooit zonder toezicht staan en let er a.u.b. op dat kinderen er nicht mee spelen.
- U dient bijzonder voorzichtig teijken, wanneer u trapfreden reinigt. Zorg er a.u.b. voor dat het apparaat in een stabiele positie op de trap staat en de slang Niet verder dan de totale lenghte gespannen worden. Plaats het apparaatijdens het gebruik Niet op de smalle kant.
- Gebruik de TWIN T2 AQUAFILTER Niet voor droogzuigen, wonneer het aquafiltersystemen Niet overeenkomstig de gebruiksaanwijzing gemonteerd is, anders kan het apparaat beschadigd worden.
- Ga Niet op het apparaat staan en vermiid overexpansie en knikken van de slangen.
- Zuigmonden en buizen mogen (tijdens het gebruik) Niet in de buurt van het hoofd gebracht worden, bijv. gevaar voor ogen en oren.
- Nooit de reinigingsstraal op mensen of dieren, op stopcontacten of elektrische apparaten richten.
- Personen met een gevoelige huid dienen direct contact met de reinigingsoplossing te vermiiden; bij contact met slijmhuiden (ogen, mond etc.) meteen met veel water uitspoelen.
- In vochtige vertrekken geen verlengsnoer gebruiken.
- Let op! Deze uitvoering van het apparaat is nicht geschikt voor het afzuiigen van stoffen die een risico voor de gezondheid opleveren, alsmede van vloeistoffen die oplosmiddelen bevatten, zoals bijv. verfverdunner, olie, benzine en bijtende vloeistoffen.
- Zuig teneinde het filtervermogen van het apparaat Niet nadelig te beinvloeden en schade te vermijden geen fjinn stof zoals toner of roet op.
- Na de natmodus alle tanks leeg make. Chemicaliën (reinigings-middelen voor harde vloeren en tapijten) horen nicht in de handen van kinderen te komen.
- Uitsluitend bij het gebruik van originele THOMAS reinigingsmiddelen+knen de functies van het apparaat en de reinigingswerking gewaarborgd worden.
- Vórór de reiniging / het onderhoud / vullen en leeg make n alsmede bij storingen alle schakelaars uitschakelen en de stekker uit het stopcontact trekken.
- Het apparaat Niet buiten latent staan en Niet direct aan vochtigheid blootstellen of in vloeistoffen dompelen, en Niet direct naast verwarmingsaggregaten opbergen.
- Schade aan de THOMAS TWIN T2 AQUAFILTER, aan de accessoires of aan de netaansluiting (speciale kabeloodzakelijk) nooit zichelf repareren, maar door een geauthoriseerde serviceddienst lately repareren, want veranderingen aan het apparaat+kennen een risico voor uw gezondheid vormen. Zorg er a.u.b. voor dat uitsluitend originele verrangstukken en accessoires gebruikt worden.
- Let a.u.b. bovendien op de in de afzonderlijke hoofdstukken vermelde „Informaties betreffende het gebruik."
- Benut alle functies van het apparaat door het juist te gebruiken.
- De fabrikant is Niet aansprakelijk voor eventuele schade die door een Niet-reglementair gebruik of fouitieve bediening veroorzaakt worden.
- Nooit de stekker aan de kabel UIT het stopcontact trekken, maar uitsluitend aan de stekker.
- Zorg er a.u.b. voor dat de netaansluiting Niet aan ditte of chemische vloeistoffen blootgesteld worden en Niet over scherper Randen of vlakken getrokken worden.
Algemene aanwijzingen
Slang aansluten
- aansluitstuk van de slang in de aanzuigstomp steken maar achteren draaien tot het inklikt;
- spreoeileiding in de snelkoppeling schuiven en inklikken.
Slang verwijderen
- toets op het aansluitstuk indrukken; aansluitstuk een -draai opzij draaien en eruit trekken;
- spreieleiding losmaken; hiervoord de toets aan de selnkoppeling indrukken.
Het apparaat door een lichte druk op de Power ON/OFF toets aanen uitschakelen.
- Toets kort ingedrukt: het apparaat worden ingeschakeld; vermogen 900 Watt (Eco-niveau), signaallampje brandt groen
- Toets ingedrukt houden: traploze elektronische zuigkrachtregeling tussen 650 en 1700 Watt
Signaallampie groen: MIN. 650 tot 1125 Watt
Signaallampje geel: 1125 tot MAX. 1700 Watt
Bij het bereiken van het MIN. resp. MAX. vermogen gaat het signaallampje kortuit.
- Toets opniew kort ingedrukt: het apparaat wordenuitgeschakeld.

Het AQUAFILTER-systeem filtert bijzonder goed bij een vermogen zusammen 900 W (Eco-niveau) en MAX 1700 W.
Het MIN.-vermogen (650 W) waarom slechts kort kiezen (bijv. bij het afzuiigen van gordijnen.
Mechanische zuigkracht-regeling
Met de mechanische zuigkrachtregeling (bijluchtschuif) kan de zuigkracht eveneens verlaagd worden.
Bijluchtschuif gesloten = volle zuigkracht
Bijluchtschuf open =verlaagde zuigkracht

Bij elektronische zuigkrachtregeling en bij was- of waterzuigen要去 de bijluchtschuif algijd gesloten zich.
Mechanische sproeivolumeregeling
Aanwijzing: wordtuitsluitend bij waszuiigen toegepast.
Met de mechanische sproeivolumeregeling op de handgreep van de zuigslang kut u met het instelwieljtje het spreiovolume van 250 ml (min.) tot 800 ml (max.) traploos instellen.

Rustpositie
- De zuigbuis compleet met zuigmond en slang in de zuigbuishouder aan dechterkant van het apparaat ophangen;
Wonneer het apparaat op zijn smalle rant wordt opgeborgen, de zuigbuis aan de onderkant van het apparaat ophangen (alleen in lege toestand möglichk).
Opbergen van de accessoires
- In de droogzuigmodus kan de verswatertank ook als box voor de accessoires gezruikt worden.
Stofzuigen

Informaties betreffende het gebruik
- Gebruik de TWIN T2 AQUAFILTER Niet voor droogzuigen, wonneer het AQUAFILTER-systemeert Niet overeenkomstig de gebruiksaanwijzing gemonteerd is. Het apparaat kan anders beschadigd worden.
- Zuig in de droogzuigmodus geen große hoeveelheden vloeistof op.
- Zuig geen grote hoeveelheden fjne stof, bijv. cacao, meel enz. op.
Het AQUA-filter startklass make
De fabriek heeft uw TWIN T2 AQUAFILTER reeds voor droogzuiigen bedrijfsklaar gemaakt.
Deksel door omhoog trekken van de dekselontgrendeling openen.
Het AQUA-filter aan de beugeluit de vuilwatertank verwijderen. 1 Liter schoon water in de vuilwatertank vullen.
Het AQUA-filter compleet awhile de beide geleidesleuven van de vuilwatertank tot de aanslag erinplaaten. Let er a.u.b. op dat de omlopende dichting van het AQUA-filter stevig gegen de binnenkant van de vuilwatertank ligt en het natfilter gemonteerd is.
De zuigslang aansluiten en de telescoopzuigbuis monteren. De gewenste accessoires aanbrengen.

Om een optimale filterwerking te bereiken, adviseren wij om na ca. 40-60 minutescontinubedrijf, of wonneer zich zeer veel waterdruppels aan de onderkant van de deksel bevinden, het AQUA-filter kort met schoon water uit te spoelen en het water in de vuilwatertank te verversen.
Om reden van de hygiène het AQUAFILTER-systeem na ieder gebruik leeg maken en reinigen. Vuil water en vochtige elementen bevorderen de uitbreiding van bacteriën en schimmel (zie reiniging en onderhoud).

Informaties betreffende het gebruik

Met de THOMAS TWIN T2 AQUAFILTER kunt u gemorste, ongevaarlijke vloeistoffen op waterbasis (bijv. water, koffie enz.) opzuigen.
- Let op! Benzine, verdunners, stookolie enz. küssen door turbulentie met de zuglucht explosieve dampen en mengsels vormen.
- Aceton, zuren en oplosmiddelen konnen het aan het apparaat gebruekte materiaal aantasten. Schoonmaak- en vuil water kunnen+zonder bezwaar opgezogen worden.
- Na het opzuigen van vloeistoffen de vuilwatertank en alle gebruekte onderdelen reinigen en lately drogen.
- Nooit zonder vuilwatertank vloeistoffen opzuigen.
- Uw THOMAS TWIN T2 AQUAFILTER is nicht geschikt om grote hoeveelheden vloeistof uit tanks of bakken op te zuigen.
- Na iedere natte reiniging het apparaat leeg makeen reinigen. Vuil water en vochtige delen bevorderen de voortplanting van bacteriën en schimmel (zie reiniging en onderhoud).
Tweedelig anti-overloopinzetstuk in elkaar steken.
Het AQUA-filter aan de beugel uit de vuilwatertank trekken en het anti-overloopinzetstuk bevestigen.
Het HEPA-filter uit het apparaat nemen.
Het anti-overloopinzetstuk en de vuilwatertank in het apparaat plaatsen. Let er a.u.b. op dat het natfilter (13a) alsmede het motorveiligheidsfilter (15) gemonteerd zijn.
De zuigslang aansluten.
Kies een passende zuigmond en bevestig deze op de zuigbuis resp. op de handgreep.
De stekker uit het apparatusaat trekken en aansluiten.
Het apparaat inschakelen en de maximale zugracht instellen.
Let erop dat de mechanische zuigkrachtregeling (26) volledig aangesloten is.
Om bij een onderbreking van het gebruik het terugvloeien van de in de zuigbuis voorhanden vloeistof te vermijden, moet u de zuigbuis en zuigslang nog bij draaiende motor enige seconden schuin maar boven houden. Pas daarna het apparaat uitschaken.

Wonneer de bovenstaande aanwijzing nicht opgevolgd worden, onderbreekt de vlotter in de vuilwatertank automatisch het aanzuigen, wonneer de vuilwatertank bevuld is (een duidelijk hoger toerental van de motor worden hoortbaar). Het apparaat uitschakelen, de stekkeruit het stopcontact trekken en de vuilwatertank leeg maken.
Reiniging en onderhoud

Onderhoud en reiniging uitsluitend uitvoeren, wonneer het apparaat uitgeschakeld en de stekker uit het stopcontact getrokken is.

Om de kast van het apparaat te onderhonden, gebruikt u a.u.b. een vochtige, zachte doek.
Geen schurende reinigingsmiddelen of oplosmiddelen gebruiken.
Na het opzuigen van vloeistoffen
Vuilwatertank leeg maken.
Anti-overloopinzetstuk, vuilwatertank en natfilter met HOLDER, eventeel warm water reinigen.
Motorveiligheidsfilter op vuil controleren en eventueel onder stromend water reinigen, indien nodig verrangen.
Vlotter (13b) in de vuilwatertank steeds schoon en beweeglijk houden. Hij onderbreekt de aanzuiging, wanner de vuilwatertank vol is.
Waterspatten in de zuigruimte met een zachte doek afdrogen.
Vuil op de aanzuigstomp en aan de binnenkant van de deksel van de behuizing verwijderen.
- Om de reiniging te vergemakkelijken kan de deksel van de behui-zing verwijderd worden.
- In dit geval de deksel openen en verticaal maar boven draaien. De deksel maar voren drukken totdat hij uit de scharnier glijdt. Vervolgens de deksel maar boven verwijderen.
Ter bevestiging de deksel vertical erin zetten en sluiten. De deksel klikt automatisch in de scharnier.
Na de reiniging het apparaat en de accessoires goed lately drogen.

Informaties betreffende het gebruik
- Let op! Benzine, verdunners, stookolie enz. küssen door turbulentie met de zuiglucht explosieve dampen en mengsels vormen.
- Aceton, zuren en oplosmiddelen konnen het aan het apparaat gebruekte materiaal aantasten. Schoonmaak- en vuil water kunnen zonder bezwaar opgezogen worden.
- Na het opzuigen van vloeistoffen en waszuigen de vuilwatertank en alle gelebrekte onderdelen reinigen en latent drogen.
- Nooit zonder vuilwatertank waszuiigen of vloeistoffen opzuiigen.
- Uw THOMAS TWIN T2 AQUAFILTER is nicht geschikt om grote hoeveelheden vloeistofuit tanks of bakken op te zuigen.
- Let op! De pomp nooit zonder vloeistof gebruiken.
- Na iedere natte reiniging het apparaat leeg makeen reinigen. Vuil water en vochtige delen bevorderen de voortplanting van bacteriën en schimmel (zie reiniging en onderhoud).
Gebruikuitsluitend de originele middelen om een onberis-pelicijkresultaat te waarborgen.
Het reinigingsconcentraat kriigt u bij uw vakhandelaar of de THOMAS servicedienst.
Voor de tapijtreiniging
Zorg er a.u.b. voor dat alles, wat u nat wilt reinigen, waar ook geschikt voor is, bijv. geen gevoelige, met de hand geweven of Niet kleurechte tapiijten nat reinigen.
Ter controle doet u een beetje reinigingsmiddeloplossing op een witte doeck en u wrijft dit op een slecht zichtbare plek op het tapijt.
Wanner er geen kleursporen op de doek aanwezig zich, kan van kleurvastheid worden uitgegaan.
Anders mag het tapijt Niet nat gereinigd worden.
Wanneru twijfelt,richt u zich in dit verband tot een tapijtvakhandelaar.
Wanneer een tapijt erder geshamponeerd werk, kan bij het eerste gebruik van de THOMAS TWIN T2 AQUAFILTER een sterke schuimvorming in de vuilwatertank optreden. Om verdere schuimvorming te vermijden, giet u een half kopje azijn in de vuilwatertank.
Wanneer er schuim uit de luchtopening ontsnapt, schakelt u het apparaat onmiddelijk uit en u maakt de vuilwatertank leeg.
Een verhoogde schuimvorming is na een eenmalige basisreiniging met een THOMAS reinigingsconcentraat uitgesloten, waar dat dit een speciale schuimstop bevat.
Zolang het tapijt nog vochtig is, dient er nicht op te worden gelopen.
Tijdens de reiniging en daarna moet het vertrek goed gelucht worden om een snelle droging möglich te make.
Tapijtreiniging
Tweedelig anti-overloopinzetstuk in elkaar steken.
Het AQUA-filter aan de beugel uit de vuilwatertank trekken en het anti-overloopinzetstuk bevestigen.
Het HEPA-filter uit het apparaat nemen.
Het anti-overloopinzetstuk en de vuilwatertank in het apparaat plaatsen. Let er a.u.b. op dat het natfilter (13a) alsmede het motorveiligheidsfilter (15) gemonteerd zijn.
De verswatertank om te vullen verwijderen (verticalaar naar boven eruit trekken), of eenvoudig direct in het apparaat vullen; in dit geval de dekel van de verswatertank optillen.
Bij het vullen erop letten, dat geen vuil in de verswatertank komt, zodat het functioneren van het aflsuitventiel Niet nadelig beinvloed worden.
Met reinigingsconcentraat en water tot aan de beugelstrip vullen (max. 2,4 liter).
Voor de tapiijtreiniging adviseren wij THOMAS ProTex reinigingsconcentraat.
Gebruik en dosering: zie etikel van de reinigings-concentraatfles.
Lauw water (max. 30^ ) gebruiken.
De slang aansluiten en de telescoopzuigbuis bevestigen.
De tapijsproeier bevestigen, de spreieleiding met de snelkoppeling langs de zuigbuis waar boven voeren, gegen het aflsliutventielplaatsen en door draaien vergrendelen. Daarna de spreieleiding met de 2 buisklemmen aan de zuigbuis bevestigen.
De stekker uit het apparatusat trekken en aansluiten.
Het apparaat inschakelen en de max. zuigkracht instellen. De pomp inschakelen. Het signaallampje gaat branden.
Het sproei-extractiesystem
- Reinigingsoplosmedel met druk diep insproeien
Vul oplossen en gezeldiep uittwassen - Vuil water krachtig afzuigen en de pool weir oprichten
Alles in een werkbeurt.

De hendel van het aflsuitventiel (24) indrukken totdat de reingingsvloeistof maar buiten komt en de op het tapijt liggende zuigmond in een rechte baan over het tapijt trekken. Het spreivolume kan op de handgreep door middel van een stelwieltje traploos ingesteld worden. Aan het einde van een baan of bij onderbrekingen de hendel van het ventiel los lately om de spreistaal te stoppen. Wanner de opgesproeide vloeistof afgezogen is, de zuigmond optillen en met eenkleine overlapping een neue waan beginnen. Zo kan strook voor strook het gehele oppervlak behandeld worden.
Wanner op de gereinigde banen nog vloeistofsporen城县, kuren deze plekken zonder spreoen nogmaals afgezogen worden.
Let er a.u.b. op dat de mechanische zuigkrachtregeling (26) volledig gesloten is.
Bij sterk verruilde plekken Aunt u reeds bij de voorwaartse beweging van de tapijsproeier reinigingsvloeestof opsproeien. Er kan eveneens een Voorbehandeling uitgevoerd worden, wonneer u alleen de pomp in werkung stelt.
Let er a.u.b. op dat u Niet te Veel vloeistof verdweit, waar daardoor golven of deuken in het tapijk hunnen ontstaan, die pas na een lange droogperiode werk verdwijnen.
Om onderbreking van het zuigproces te vermijden de vuilwaterwank leeg makeen nadat de volledige reinigingsmiddelinhoud uit de verswatertank opgebruikt werk.
Wanner de bovenstaande aanwijzing Niet opgevolgd worden, onderbreekt de vlotter in de vuilwatertank automatisch het aanzuigen, wanner de vuilwatertank bevuld is (een duidelijk hoger toerental van de motor worden hoorbaar).
Het apparaat uitschakelen, de stekker uit het stopcontact trekken en de vuilwatertank leeg maken.
Reiniging van harde vloeren
De adapter voor harde vloeren op de tapijsproeier omklappen en met de schuif vastzetten.
Met dit systeem=kunt u uw harde vloeren zoals tegels,steen en PVC reinigen en indezelfde arbeidscclus drogen.

Methode: zietapiijtreiniging
Voor de reiniging van harde vloeren adviseren wij THOMAS ProFloor reinigingsconcentraat.
De onderhoudsreiniging van gladde vloeren zoals bijv. linoleum, PVC, tegels, gepolijste stenen vloeren en laminaat met de microfiberpad
- Algemene aanwijzingen:

De juiste verzorging van de vloer is een belangrijk onderdeel van onze garantiebepalingen!

Speciale verzorgingsinstrumentes van de fabrikant van de vloerbedekking要去en in ieder geval in acht genomen worden.
Bij reiniging en onderhoud met agressieve universele reinigings-middelen kan de oppervlaktebescherming beschadigd of vernield worden.
De onderhoudsreiniging worden door stofzuigen of spreewisissen uitgevoerd.
Sproeiwissen betekent: De vloer moet na 3-5 minuten volledig droog zich. Deze methode alleen bij laminaat toepassen, wanner dit door de fabrikant aanbevolen worden.
Microfiberpad voor het eerste gebruik wassen om residuen, die door het fabricageproces ontstaan, te verwijderen.
Voor de onderhoudsreiniging van gladde vloerbedekkingen zoals linoleum, PVC, tegels, gepolijste stenen vloeren en laminaat adviseren wij THOMAS ProFloor reinigingsconcentraat.
Demontage/Montage:


Demonteer de omklapbare adapter voor harde vloeren van de tapijsproeier door de schuif maar boven te trekken en verrolgens de rode borggrendel van de zuigmond waar binnen te drukken. De adapter voor harde vloeren uit zijn scharnier losmaken en verwijdenen.
De montage van de wisadapter worden in de omgekeerde volgordeuitgevoerd.
Microfiberpad op het frame bevestigen, zodate het zuigkanaal van de zuigmond open / vrij blift.

De watervolumeregelaar (25) op "min" zetten. Sproeiprocedé 2-3 seconden activeren en de microfiberpad (wit) vochtig make.
Een doorweekt oppervlak要去 algemeen vermeden worden, sondern eventueel de randen van de parketelementen resp. vloerplanken geen voldoende bescherming gegen vochtigkeit bezitten.
Vensterreiniging
DeWisadapter op de tapijtsproeier bevestigen.
Montage: zie onderhoudsreiniging van gladde vloeren.
De microfiberpad voor de vensterreiniging (grijs) aan het frame bevestigen.
Met dit systeem=kunt u uw vensters en glasvlakken reinigen en in dezelfde arbeitscysclus drogen.
Methode: zie tapijtreiniging
Reiniging van bekledingen
Voor de reiniging van beklede meubels, autostoelen enz. gebrukt u de textielsproeier. Deze op de handgreep schuiven. De spreislang op het afsluitventiel bevestigen.
Let bij bekledingen erop dat Niet te veel vloeistof opgesproeid worden, odomat al waar gelang de onderbouw met een lange droogtijd要去 worden gerekend. Volumeregeling op de handgreep.
Methode: zie tapijtreiniging
Voor de reiniging van bekledingen adviseren wij THOMAS ProTex reinigingsconcentraat.

Reiniging en onderhoud
Onderhoud en reiniging uitsluitend uityvoeren, wanneer het apparaat uitgeschakeld en de stekker uit het stopcontact getrokken is.
Na het waszuigen / vloeistoffen opzuigen
Om de kast van het apparaat te onderhouden, gebruikt u a.u.b. een vochtige, zachte doek.
Geenschurende reinigingsmiddelen op oplosmiddelen gebruiken.
Verswatertank verwijderen en leeg make.
Vuilwatertank leeg maken.
Anti-overloopinzetstuk, vuilwatertank en natfilter met schoon, eventeel warm water reinigen.
Het motorveiligheidsfilter op vuil controleren en eventueel onder stromend water reinigen; indien noodzakelijk vernieuwen.
De vlotter (13b) in de vuilwatertank steeds schoon en beweeglijk honden. Hij onderbreekt het aanzuigen, wonneer de vuilwatertank vol is.
Waterspatten in de zuigruimte met een zachte doek afdrogen.
Vuil op de aanzuigstomp en aan de binnenkant van de deksel van de behuizing verwijderen.
Om de reiniging te vergemakkelijnen kan de deksel van de behuizing verwijderd worden.
In dit geval de deksel openen en verticaal naar boven klappen. De deksel maar voren drukken totdat hij ut de scharnier glijdt. Vervolgens de deksel maar boven verwijderen.
Ter bevestiging de deksel vertical erin zetten en sluiten. De deksel klicht automatisch in de scharnier.
Voor het onderhoud van de pomp en de ventielen de verswatertank met schoon water vullen en het apparaat bedrijfsklaar make.
Het spreoesysteme bijv. boven een spoelbak in bedrijf stellen (hendel aan het aflsuitventiel bedieren).
Na de reiniging het apparaat en de accessoires goed latent drogen.
De hendel van het afsluitventiel bedieren en de resterende druk in het systeme afbouwen.
Na het stofzuigen
1. AQUA-filtersystem
Het deksel door omhoog trekken van de dekselontgrendeling openen.
De vuilwatertank verwijderen.
Het AQUA-filter (12) aan de beugel ut de vuilwatertank trekken en het vuile water wegieten (bijv. in het toilet).
Het schuimstofffilter (12a) verwijderen. Hiervoor het raam aan het AQUA-filter iets waar boven trekken en daarna zijdelings omklappen.
Het AQUA-filter, schuimstofffilter, natfilter en de vuilwatertank met schoon water zonder reinigings-middel grondig afspoelen.
De Aquafilterelementen voordat ze opnieuw gebruikt worden latent drogen.
Wanner het aanzuigfilter (12b) door vuil en pluizen verstopt is, kan dit ook verwijderd worden om het gemakkelijker te reinigen; daarna het aanzuigfiltereer monteren.

Vuil en pluizen aan de aanzuigopening verwijderen.
2. HEPA-filter
Uw TWIN T2 AQUAFILTER beschicht over een hoogwaardig HEPA-filter (14), dat, indienoodzakelijk, alaar gelang het huisstof meerdere malen kan worden gereinigd.
Reiniging alaar gelang gebruik en verminderde zuigkrach (uiterlijk om de 6 maanden)uitvoeren.
Het HEPA-filter uit het apparaat nemen en op een stabiele ondergrund uitkloppen.
Wanneer de verruiling sterker is, kan het filter ook met schoon water zonder reinigingsmiddel afgespoeld en daarnauitgeklopt worden.
Geen borstel voor de reiniging gebruiken. Het filter vór de hermontage goed latent drogen.
Bij de reiniging van het HEPA-filter de filterlamellen Niet beschadigen.
Wanneer door de reiniging van het HEPA-filter de zuigkracht van het apparaat Niet duidelijk versterkt worden, dan dient het filter door een新产品 filter te worden verrangen.
3. MKA-microfilter
Het MKA-microfilter (19) dient om de 6 maanden te worden verran-gen.
Hiervoor de beiden kunststoffpjes op de afblaasdeksel maar beneden drukken en de afblaasdeksel wegklappen.
Het MKA-microfilter verrangen. De afblaasdeksel wee sluiten.
Verdere benodigdheden/speciale accessoires
Voor uw THOMAS TWIN T2 AQUAFILTER is een uitgebrecht assortment speciale accessoires en verdere benodigdheden verkrijngbaar.
Informeer a.u.b. in dit verband met de biigesloten antwoordkaart of bij uw vakhandelaar, alsmede direct bij de THOMAS-klantenservice.
Aanwijzing!
Uitsluitend bij gebruik van originele THOMAS-accessoires+kunnen de functies van het apparaat en de reinigingswerking gegarandeerd worden.
Klantenservice
Vraag uw handelaar maar de voor uw in aanmerking komende THOMAS-klantenservice.
Geef hem a.u.b. meteen de gegevens van het typeplaatje van uw THOMAS TWIN T2 AQUAFILTER.
Omdeveiligheid van het apparaatte waarborgen, dient u de reparations, in het bijzonder aan stroomgeleidende onderdelen, uitsluitend door vakkundige electriciens te lately uitvoeren.
Bij storingen dient u zich om die reden tot uw vakhandelaar of direct tot de fabrieksklantenservice te richten.
Tel.: 02735/788-581 of 582
Fax: 02735/788-599
GARANTIE
Onafthankelijk van de garantieverplichtingen van de handelaar uit het koopcontract bieden wij voor dit apparaat een garantie volgens de navolgende voorwaarden:
- De garantieperiode bedraagt 24 maanden - gerekend vanaf de leveringsdag aan de eerste consument. Bij beroepsgebruik of bijdezelfde belasting worden dezeperiode tot 12 maanden beperkt. Bij het indieren van de claim moet de koopkwitantie getoond worden.
- Binnen de garantieperiode verhelpen wij alle wezenlijke functio-nele gebreken, die aantoonbaar door een gebrekkige uityvoering of materiaalfouten veroorzaakt werden, en wel door reparatie van de gebrekkige onderdelen of hun verranging, dit maar once keuze; verrangen onderdelen worden ons eigendom. De garantie heeft geen betrekking op gemakkelijk breekbare delen, Zoals bijv. glas, kunststof en lampen. Gebreken要去en ons binnen de garantieperiode onmiddelijk na constatering gemeld worden. Tijdens de garantietermijn worden de voor de reparatie van de opgetreden functiefouten benodigde verrangstukken alsmede de arbeitsstijd Niet berekend. Bij net gerechtvaardigde gebruikmaking van onze klantenservice zijn de daarmee verbonden kosten voor rekening van de klant. Reparatie bij de klant of op locatie kan uitsuitend voor gropte apparaten verlangd worden. Andere apparaten要去en bij de dichtst bijzijnde klantenservice of contractwerkplaats afgegeven resp. aan onze fabriek gestuurd worden.
- Een garantieverplichting ontstaat Niet door geringe afwijkingen, die voor de waarde en het gebruik van het apparaat Niet van belang zichin, door schade wegens chemische en elektrochemische inwerking van water alsmede in het algemeen door abnormale milieuomstandigheden. Een garantieclaim bestaat Niet bij schade als gevolg van abnormale slijtage, bovendien Niet bij het Niet in acht nemen van de gebruiksaanwijzing of oneskundig gebruik.
- De garantieaanspraak verliest zijn geldigheid, wanneer Niet door ons geauthoriseerde Personen een ingreep of reparatie aan het apparatusaat utvoeren.
- Garantiebetaling heeft noch voor het apparaat noch voor de ingebouwde verrangstukken tot gevolg dat de garantietermiin verlangd of vernieuwd worden. De garantietermiin voor ingebouwde verrangstukken eindigt met de garantietermiin voor het volledige apparaat.
-
Verdergaande of andere aanspraken, in het bijzonder op verrang ing van buiten het apparaat ontstane schade zich
-
inzoverre aansprakelijkheid nicht dwingend wettelijk voorgeschreveven is
-uitgesloten.
Ook na afloop van de garantietermijn bieden wij u once Diensten van de klantenservice. Richt u a.u.b. tot uw dealer of direct tot once afdeling klantenservice.
Wat要去 doen, wanner …
Indien uw THOMAS TWIN T2 AQUAFILTER onverhooptiensniet naar tevredenheid functioneert, controeert u erest aan de hand van het onderstaande overzicht of de storing slechts eenkleine oorzaak had, voordat u de klantenservice inschakelt.
Opgetreden storingen / foutieve functies
Oorzaak / remedie
Algemeen (alle functies)
-
Het apparaat kan nicht in bedriif gesteld worden.
-
is de stroomkabel, stekker en het stopcontact intact? voor contrôle de stekker uij het stopcontact trekken; eventuele reparatiesuitsluitend door geauthoriserdevaklieden lately uityoeren.
-
is het apparaat ingeschakeld controlleren
Stofzuigen (droogzuigen)
Bij het zuigen ontsnapt stof.
-
is het AQUAFILTER-systeme overeenkomstig de gebruksaanwijzing gemonteerd?
-
is genoeg water in de vuilwatertank en ligt het aanzuigfilter volledig in het waterbad controlleren
-
is het aanzuigfilter met vuil verstopt of zich de zuigmonden in de aanzuigopening verstopt? demonteren en reinigen resp. met water doorsp{oelen
-
De zugracht worden geleidelijk hinter.
-
is het HEPA-filter verstopt? reiniging van het HEPA-filter
-
zijn de zuigmond, zuigbuis of de zuigslang met grof vuil verstopt? de slang tijdens het gebruik strekken, maakt de verstopping los; verstopping verwijderen
-
De zuigkracht is te gering.
-
is het aqua-inspuitmondstuk in de aanzuigopening verstopt? demonteren en reinigen resp. met water doorspoelen
-
is het HEPA-filter verstopt? reiniging van het HEPA-filter
-
zijn de zuigmond, zuigbuis of de zuigslang met grof vuil verstopt? de slang tijdens het gebruik strekken, maakt de aver stopping los; verstopping verwijderen
-
is de deksel goed gesloten? controlleren
-
is de elektronische zuigkrachtregeling op MIN ingesteld? zuigkracht op MAX zetten (lampje brandt oranje)
-
is de mechanische zuigkrachtregeling op de handgreep geopend? schuif op de handgreep sluiten
Veel waterdruppels aan de binnenkant van de deksel.
- het AQUAFILTER-system is waarschijnlijk met veel stof gezuld AQUAFILTER- systemen reinigen, water verversen
Waszigen
-
De zugracht worden plotseling minder.
-
is de vuilwatertank vol (de vlotter heeft gereageerd)? leeg make
-
staat het apparaat schuin (de vlotter heeft gereageerd) het apparaat op een vlakke ondergrond zetten; apparaat uitschakelen en opnieuw inschakelen
-
Er ontsnapt water uit de afblaas-openingen van het apparaat.
-
is de vlotter in de vuilwatertank vuil en Niet meer beweeglijk, d.w.z. hij reageert nicht meer, wanneer de tankGVuld is? Vlotter en scharnier reinigen
-
is de vuilwatertank met het anti-overloopinzetstuk, natfilter en motorveiligheidsfilter uitgerust? het apparaat onmiddelijk uitschakelen en drogen, ontbrekende delen monteren
In de zuigruimte verschijnt een ongewoonlijk groe plas water (enige druppels zijn absolut normaal)
-ijd de dichtingen en dichtingsvlakken sterk verwild? reinigen
-WORD filter of het anti-overloopinzetuk vergeten controlleren
Er treedt ongewoonlijk sterke schuimvorming in de vuilwatertank op
-WORD origineel THOMAS-reinigingsconcentraat gebruikt? → verrangen
-
Er kommt geen reinigings-vloeistof, hoewel de pomp ingeschakeld is
-
is er nog reinigingsvloeistof in de spreimiddeltank? vullen
-
is de spreoeier verstopt? → spreoeier enige tijd in lauw water leggen en daarna krachtig doorblazen
-
is de tankaansluitopening verstopt? verswatertank verwijderen en de tankaansluitopening (verbinding verswatertankbehuizing) met de kierenzuiger grondig afzuiigen om event. vuil te verwijderen
Te hoge restvochtigheid; de vloeistof worden nicht goed opgezogen.
-
is de elektronische zugrachtregeling op MIN ingesteld? zugracht op MAX zetten (lampje brandt oranje)
-
is de mechanische zuigkrachtregeling aan de handgreep geopend? schuif aan de handgreep sluiten
-
ligt de spreieer vlak op de vloer? spreier voor het afzuiigen ieits verticalerplaatsen
Kundendienststellen
Deutschland:
Robert Thomas
SimpelGids