RFI2310 - Koelkast ACEC - Gratis gebruiksaanwijzing en handleiding
Vind de handleiding van het apparaat gratis RFI2310 ACEC in PDF-formaat.
Gebruikersvragen over RFI2310 ACEC
0 vraag over dit apparaat. Beantwoord die u kent of stel uw eigen vraag.
Stel een nieuwe vraag over dit apparaat
Download de handleiding voor uw Koelkast in PDF-formaat gratis! Vind uw handleiding RFI2310 - ACEC en neem uw elektronisch apparaat weer in handen. Op deze pagina staan alle documenten die nodig zijn voor het gebruik van uw apparaat. RFI2310 van het merk ACEC.
GEBRUIKSAANWIJZING RFI2310 ACEC
Garantie-uitsluitingen
8 Het kosteloos uitvoeren van herstel- en/of verrangingswerkzaamheden, zoals bedoeld in de betreffende hieraan voorafgaande punten, is Niet van toepassing indien:
- de aankoopnota of kwitantie, waaruit tenminste de aankoopdatum en de identificatie van het apparaat blijkt, Niet getoond kan worden of meegezonden werk;
- het apparaat voor andere, of ook voor andere dan de huishoudelijkde doeleinden, waaroor het apparaat bestemd is, gezruikt worden;
- het apparaat Niet volgens de aanwijzingen in het installmentievoorschrift of de gebruiksaanwijzing geinstalleer, bediend, behandeld of gebruikt worden;
- het apparaat op ondeskundige wijze door daartoe Niet bevoegde Personen hersteld of gewijzigd werk.
8a Indien het apparaat zodanig ingebouwd, ondergebouwd, opgehangen of geplaatst is dat de benodigdeijd voor het uit- en inbouwen samen meer dan dertig minuten bedraagt, dan worden de hierdoor ontstane extra kosten aan de eigenaar in rekening gebracht.
8b Schade welke ontstaat door het, met toestemming van de eigenaar, op abnormale wijze uit- of inbouwen van een apparaat, kan nicht op de fabrikant of haar servicedienst verhaald worden.
8c Beschadigingen, zoals krassen en deuken of zoals breuk van uit- of afneembare delen, welke nicht ten tijde van de aflevering ter kennis van de fabrikant gebracht worden, vallen nicht onder garantie.
Belangrijk advies
De constructie van dit apparaat is zodanig, dat de verilgheid waarvan gewaarborgd is. Ondeskundige reparations hunnenECHTER DE VEILGHEID IN GEAAR BRENGEN.Terwille van een blijvende veilgheid, en ook om mogelijke schade te voorkomen, is het raadzaam dat reparaties uitsluitend verricht worden door personen die waarvoordere vereiste vakbekwaamheid bezitten.Wij adviseren u herstel- en/of controlewerkzaamheden door uw vakhandelaar of door ELECTROLUX SERVICE te latent uitvoeren en uitsluitend originele DISTRIBUTPARTS onderdelen te latent plaatsen.
Electrolux
ELECTROLUX SERVICE
Nederland
Electrolux
ELECTROLUX SERVICE
Vennoootsweg 1
2404 CG Alphen aan den Rijn
Postbus 120
2400 AC Alphen aan den Rijn
Storingsmeldingen op werkdagens tijdens kantooruren:
Tel.: 0172-468300
Fax.: 0172-468255
Onderdelenverkoop op werkdagentijdens kantooruren:
Tel.: 0172-468400
Fax.: 0172-468376
België
Electrolux
ELECTROLUX SERVICE
Bergensesteenweg 719
1520 Halle (Lembeek)
Thuisherstellingen:
Tel.: 02-3630444
Fax: 02-3630400
Wisselstukken:
Tel.: 02-3630555
Fax: 02-3630500
Luxembourg
Luxemburg
Electrol
ELECTROLUX SERVICE
7, rue de Bitbourg
L-1273 Luxembourg-Hamm
Service après-vente:
Tel.: +352 - 042 4311
Fax: +352 - 042 4314 60
Bij aanspraak op kosteloos herstel dient het origineel van de betreffende aankoopnota of kwitantie te worden getoond of meegezonden.
Algemene garantiebepalingen
1 De fabrikant verleent eenaar garantie op het op de bijbehorende koopnota vermelde apparaat, gerekend vanaf de koopdatum. Indien zich binnen dezeperiode een storing voordoet, welke het gevolg is van een materiaal- en/of constructiefout, heeft de koper hetrecht op kosteloos herstel.
1a Voor stofzuigers, bedoeld voor huishoudelijk gebruik, geldt een algemene garantieperiode van tweeJAar. Accessoires ons aan directe slijtage onderhevig; deze verbruiksartikelen ons derhalve van garantieuitgesloten.
2 Indien binnen de garantietermijn door reparations worden verricht, worden de oorspronkelijke garantietermijn Niet verlengd. Op reparations buiten de garantietermijn door verricht, en op de hierbij geleverde, betaalde en gemonteerde onderdelen worden 1aar garantie verleend.
Indien na drie maal uitvoeren van eenzelfde reparatie, hetzelfde defect opnieuw optreedt en geen resultaat van een opnieuw uitvoeren van een reparatie verwacht mag worden, za een新模式 exemplaar of soortgelijk toestel worden aangeboden. De aanbieding geschiedt gegen bijbetaling op basis van een te bepalen staat alschrijvingspercentage.
3 Servicebezoeken aan huis worden alleen gebracht voor große, moeilijk transporteerbare apparaten, per definitie: wasautomaten, droogtrommelautomaten, atwasautomaten, koelkasten, diepvrieskastes/-kisten, ovens, fornuizen en inbouwapparaten.
3a De regeling als bedoeld onder punt 3 geldt ook voor caravankoelkasten, mits deplaats waar zich het apparaat bevindt binnen de landsgrenzen ligt en over normale, voor het autoverkeer opengestelde wegen bereikbaar is. Voorts dient tenijd de het bezoek het apparaat en de eigenaar, of diens gemachtigde plaatsvervanger, op de afgesproken bezoekplaats aanwezig te zjn.
4 Indien, maar het oordeel van de fabrikant, het apparaat zoals bedoeld onder punt 3aarhaar serviceworkplaats getransporteerd moet worden, dan geschiedt dit transport op de door de fabrikant vastgestelde wijze en voor rekening en risico van de fabrikant.
5 Alle nicht onder punt 3 en 3a genoemde apparaten, alsmede apparaten welke wel de betreffende functiole eigenschappen haben maar daarnaast juist bedoeld zijn voor gemakkelijk transport, dienen franco aan het adres van de servicedienst verzonden of aangeboden te worden. Binnen de algemene garantieperiode vindt terugzending voor rekening van de fabrikant plaats.
6 Indien een onder garantie en binnen de algemene garantieperiode vallend defect aan een apparaat nicht hersteld kan worden, vindt kosteloze verranging van het apparaat plaats.
Garantie-uitbreidingen
7 Voor koel/vries-motorcompressoren (exclusief startrelais en motorbeveiliging) geldt een aflopende garantiepiode, in geljke percentages van twintig procent perjaar, van vijfjaar na koopdatum van het op de bijbehorende koopnota vermelde apparaat, met inachtname van volledig kosteloos herstel binnen de algemene garantiepiode. Na de algemene garantiepiode worden bezoek-, arbeidsloon- en bijkomende materiaalkosten in rekening gebracht.
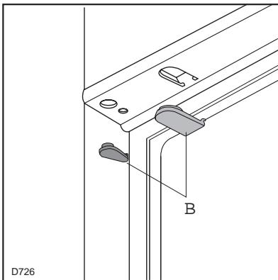
Afdekking (C) op geleider (A) vastklikken.
De deur van het apparaat en die van de kast met een hoek van ongeveer 90^ openen. IJzer (B) in geleider (A) aanbrengen. De deuren samen vasthouden en de gaten aangeven zoals in de tekening. De ijzers weghalen en gaten van 2mm . boren op een afstand van 8 mm. van de buitenrand van de deur.
Plaats het ijzer opnieuw op de geleider en bevestig het met de bijgeleverde schroeven.
Voor hetrechtstellen van de kastdeur kurz u gebruik makesen van de langwerpige gaten.
Tenslotte dient u te controleren of de deur van het apparaat goed sluit.
Afdekking (D) op geleider (B) vastklikken.





CONSEILS
Open de deur en druk het apparaat gegen de zijwand van de nis, aan de kant waar nicht de scharnieren zitten. Bevestig het apparaat met de vier rneegeleverde schrm even.
Bevestig het ventilatierooster (C).
Breng, onder lichte druk, het dekseltje (D) aan.
Breng, onder lichte druk, de voegafdichting:tussen apparaat en meubel aan.
Breng de affdichtstopsels (B) in de gaten in de eklijsten aan.
Onderdelen A, B, C, D scheiden zoals u in de tekening ziet.
Geleider (A) gegen de binnenkant van de kastdeur aan de boven- en onderkant honden volgens de tekening en deplaats van de buitenste gaten aangeven. Nadat u de gaten geboard heeft de geleider met de bijgeleverde schroeven vastzetten.





C E Dit apparaat voldoet aan de volgende EG-richtlijnen:
- 87/308 EG-richtlijn van 2.6.87 met betrekking tot de radio-ontstoring.
- 73/23 EG-richtlijn van 19/02/73 (Laagspanning) en opeenvolgende wijzingen;
- 89/336 EG-richtlijn van 03/05/89 (Elektromagnetische compatibiliteit) en opeenvolgende wijzingen.
Belangrijk: Het apparaat要去 van het elektriciteitsnet afgehaald hunnen worden; de stekker要去 dus ook na de installmentie bereikbaar blijven.
Aanwijzingen voor de geintegreerde inbouw
Nismaten
Hoopte 1225 mm
Diepte 550 mm
Breedte 560 mm
Als transportbeveiliging zijn asn beiden scharnierkanten scharnierpennen asngebracht. Afhankelijk van de gewenste deurdreirichting要去 aan een kant, zowel onder als boven, een scharnierpen verwijderd worden.
Om veiligheidsredenen要去 de ventilatie zodanig zich als aangegeven in Fig. 1.
Attentie: zorg ervoor dat de ventilatie openings tijdens gebruik Niet worden afgedekt.
De nis要去 tevens voorzien zijn van een luchtkanaal met de volgende afmetningen:
diepte 50 mm
breedte 540 mm
Schuif het apparaat in de nis totdat de aanslaglijk (A) met de voorkant van plafond van de kast aanlijnt.



Vervangen van de lamp
Het lampje van de koelkast is op de volgende wijze bereikbaar:
- Schroef het afschemkapje los;
- Verwijder het losse deel door er lichte druk op uit te oefenen (zie figuur).
Indien met open deur het lampje nicht brandt, kijk dan eerst of het soms los in de fitting zit.
! Als het lampje dan nog nicht brandt, verrang het dan door een lampje met hetzelfde vermogen. Het maximale vermogen is op het afschemkapje aangegeven.
Het ontdooien
Het ontdooien van de koelkast heeft automatisch plaats elke keer dat de kompressor stopt. Het dooiwater worden via een afvoerkanaaltje opgevangen in een bakje dat zich aan de achterkant van het apparaat boven de kompressor bevindt. Hier verdampt het water.
Wij raden u aan het gaatje in het afvoerkanaal regelmatig schoon te make, teneinde te voorkomen dat het dooiwater de levensmiddelen nat maakt. Gebruik voor het doorprikken het staafje dat zich in het gaatje bevindt.
STORING
Indien het apparaat Niet of Niet goed funkioneert, kontroleer dan:
of de steker goed in het stopkontakt zit;
of de elektriciteit soms uitgevallen is;
of dethermostaatknop op dejuiste stand staat;
- en indien er water op de bodem van de koeler ligt, of het afvoerkanaaltje soms verstopt is (zie hoofdstuk "Het ontdooien").
INSTALLATIE
Plaats van opstelling
Plaats het apparaat uit de buurt van warmtebronnen: centrale verwarming, kachels, felle zonnestralen enz. Zie voor inbouw de betreffende aanwijzingen.
Elektrische aansluiting
Overtuig u ervan dat de netspanning en de netfrekwentie, welke op het typeplaatje in de kast staan aangegeven, overeenkomen met de netspanning en de netfrekwentie in uw woning. Een afwijking op de netspanning tot plus of minus 6% is toegestaan. Bij aansluiting op een andere spanning


Kunt u de storing nicht zichl lokaliseren en verhelpen,raadpleeg dan de zichtsbijzijnde servicededienst.
Geef waar bij algijd het model en het typenummer van de kast op. Deze gegevens vindt u op het garantiebewijs of op het typeplaatje dat zich linksonder aan de binnenzijde van het apparaat bevindt.
dient u een geschikte transformator te gebruiken.
De steker mag alleen geplaatst worden in een geaard stopkontakt. De kast iskaarom voorzien van een speciaal drie-aderig snoer, geschikt voor een geaard stopkontakt. Mocht het stopkontakt in uw woning Niet geaard zich, dan dient een erkend installerateur het apparaat volgens de geldende normen te aarden.
Wij wijzen u er op dat schade of letsel,veroorzaakt door het Niet voldoen aan dit veiligheidsvoorschrift, Niet onder de verantwoordelijkheid van de fabrikant valt.
Verplaatsbare platen
De koelkastwanden zijn van richels voorzien, zodate platen maar wens op verschillende hoogten kuntplaatsen.
Het verplaatsen van deurvakken
De ruimte:tussen deurvakken kanaar behoefte aangepast worden. Ga daartoe als volgt te werk:
Trek het vak geleidelijk maar de door de pijlen aangegeven richting totdat het loskomt. Daarna verplaats het vak maar de gewenste hoogte.

TIPS
Tips het koelen
Enkele praktische tips:
Vlees (alle soorten): worden in plastic zakjes op de glazen plaat boven de groentelade geplaatst. Bewaar vlees Niet langer dan een of tweeagens.
Gekookt voedsel, koude schotels enz.: kennen, goed afgedekt, op elk rooster geplaatst worden. Fruit en groente: worden schoongemaakt in de
ONDERHOUD
! Neem voor iedere handeling alkijd eerst de steker uit de wandkontaktdoos.
Belangrijk: Dit apparaat bevat koolwaterstoffen in de koudekringloop; het onderhoud en het bijvullen dient waarom uitsluitend door door het bedrijf aangewezen deskundig personeel uitgevoerd te worden.
Schoonmaken
Gebruik nooit metalen voorwerpen voor het schoonmaken van het apparaat; dit zou beschadigingen tot gevolg hunnen hebben.
Reinig de binnenkant van de kast regelmatig met lauw sodawater. Lap de wanden na met schoon water en droog ze zorgvuldig.


groentelade(n) gelegd.
Boter en kaas: worden, om blootstelling aan de lucht te voorkomen, in speciale koeldozen bewaard of in plastic- of alluminiumfolie vegakt.
Flessen melk: worden, goed gesloten, in het flessenrek geplaatst.
Stop op de condensor verhoogt het energieverbruk.
Daarom eenmaal peraar de condensor aan de
achterkant van het apparaat met een zachtbe borstel
of met de stopzuiger voorzichtig schoonmaken.
Geprolongeerd stilstand
Wij adviseren u vór de période dat de koelkast nicht gebrukt worden de volgende handelingen UIT te voeren:
- neem de steker uit de wandkontaktdoos;
verwijder alle spijzen en dranken uit de kast; - waar de kast geheel ontdooien en maak de binnenwanden,rekken,korven en dergelijk goed schoon;
- waar de deuren open staan, teneinde het ontstaan van onaangename geur te voorkomen.
Waarschuwingen en Belangrijke adviezen 21
Aanwijzingzn voor het wegwerpen van verpakkingsmaterial 22
Het gebruik - Reinigung van de binnenkant - Ingebruikname - Temperatuurinstelling - Koelen van ... levensmiddelen 23
Het gebruik - Verplaatsbare platen - Het verplaatsen van deurvakken - Tips - Tips het koelen . . . . . .
Onderhoud - Schoonmaken - Geprolongeerd stilstand 24
Onderhoud - Vervangen van de lamp - Het ontdooien - Storing - Installatie - Plaats van opstelling . . . Elektrische aansluiting 25
Installatie - Aanwijzingen voor de geintegreerde inbouw 26
Garantiebepalingen en service 29
HET GEBRUIK
Reiniging van de binnenkant
Voor u de kast in gebruik neemt, dient u de binnenkant met lauw water en een neutraal schoonmaakmiddel te reinigen om de typische geur van een新模式 apparaat weg te nemen. Droog verwolgens de wanden goed af.
! Gebruik geen schurende schoonmaakmiddelen, waarmeu u de afwerkingen van het apparaat zou(AP)knen beschadigen.
Ingebruikname
Steek de steker in de wandkontaktdoos. Open de deur en draai de thermostaatknop, rechtsom uit de stand «O» (STOP-stand). De koelkast is nu in werkinq.
De werkking van de kast kan geheel gestopt worden door de knop in de stand «O» te draaien.
Temperatuurinstelling
De temperatuur worden automatisch geregeld en kan verhoogd worden (minder koud) door de knop maar een lager cijfer te draaien of verlaagd worden (kouder) door de knop maar een hoger cijfer te draaien. Bij het instellen van de juiste stand dient u er rekening mee te houden dat de temperatuur in het apparaat afhankelijk is van:
- de kamertemperatuur;
-
de frekwentie waarmee de deuren geopend worden;
-
de hoeveelheid levensmiddelen in de kast;
- deplaats van het apparatus.
Wij adviseren u de knop aanvankelijk op de midden-stand te draaien.

Attentie
Het kan voorkomen dat, indien dethermostatknop in de koudste stand gedraaid is, bijvoorbeeld ten gevolge van zeer warme omgevingstemperatuur of het snel wilten koelen van grothehoeveelheden dranken, de kompressor kontinu loopt, waardoor automatische ontdooiing van de koelverdamper Niet plaatsvindt en zich waarop ijs afzet. Draai, in dat geval, dethermostatknop maar een wat minder koude stand, zodat automatische ontdooing kan plaatsvinden; hierdoor spaart u tevens energia.
Koelen van levensmiddelen
Voor een optimaal gebruik van de koelruimte adviseren wij u de volgende eenvoudige regels in acht te nemen:
- Plaats geen warme of dampende spijzen of dranken in de koelruimte;
- dek vooral sterk geurend voedsel af of verpak het;
- plaats de levensmiddelen zo, dat de lucht vrij eromheen kan cirkuleren.
aansluitsnoor staat.
Belangrijk: als de voedingskabel beschadigd raakt,要去 de kabel, eventueel met stekers, verrangen worden;deze onderdelen zich verkrijngbaar bij de fabrikant of het servicecentrum.
- De warmte welke het apparaat aan de spijzen en dranken ontrecht, moet onbelemmerd aan de omgeving afgestaan hunnen worden. Slechte ventilatie onder, anschter en boven het apparaat resulteert in slechte koel-en/of vriesrestaties door ongewild tijdelijk iutschakelen van de kompressor of onjuiste werkking van de absorptieunit.
- Plaats het apparaat met z'n achterkant zo zichd mightelijk bij een muur. Hiermee voorkomt u verbrandingsletsel door aanraking van hete tot zeer hete delen.
- Afhankelijk van de wijze van transport kan olie vanuit de compressor in het koelcircuit gezloeid�. Wacht, na hetplaatsen van het apparaat, ten minste een half eervorens de steker in het stopcontact te steken. Na achefterverliggend vervoer ten minste een halve dag. Daarmee geeft u de olie de gelegenheid in de compressor terug te vloeien. Apparaten welke van een
absorptie-unit voorzien zijn kennen direct in bedrijf genomen worden. Controller cirka 24 uurna het in bedrijf stellen of het apparaat maar behoren werkt.

Milieubescherming
Dit apparatus bevat, zowel in het koelcircuit als in de isolatie, geen ozononvriendelijk stoffen.
Het apparaat mag Niet samen met huisvuil of gesloopte apparaten weggegooid worden.
Afgedankte koel- en vriesapparaten要去en volgens deplaatslijke regelingen op deskundige wijze verwerkt worden. Informeer bij uw gemeente maar de möglichkheden in uw woonplaets.
Vermijd dat het koelcircuit worden beschadigd, vooral aan de achterkant in de buurt van de warmtewisselaar.
De materialen in dit apparaat die voorzien zijn van het symbol zicht voor recycling.
AANWIJZINGZN VOOR HET WEGWERPEN VAN VERPAKKINGSMATERIALAAL
Het verpakkingsmaterial van onsze grote elektische huishoudelijkke apparaten kan met uitzondering van houten onderdelen, gerecycled worden en dus bij het kringloopafval worden gezet. Wij bevelen u aan om:
- Papier, karton en golfkarton in de speciale papierbakken te werpen.
- Plastik verpakkingsmaterial in de specialaal waar voor bestemde plastic-containers te gooien. Indien dit soort bakken in uw buurt nog nicht voorkomen mag u hat materialaal aan de vuilnisman meegeven.
Als verpakkingsmaterial gebruiken wij slechts recycleerbare kunststoffen, zoals bijv.:
In de voorbeelden staat


PE voor Polyethyleen ^** 02 = ^ PE-HD; 04 = ^ PE-LD
PP voor Polypropyleen
PS voor Polystyrol
PLASTIC BESTANDDELEN
Om er gemakkelijker anschter te komen hoe u het materiaal van dit apparaat要去 wegwerpen en /of recycleren zijn er op verschillende punten herkenbare symbolen op aangebracht.


Exclusions de la garantie
Het is uiterst belangrijk dat het bij het apparaat behorende instruktieboekje bewaard blijft. Zou het apparaat door u aan iemand anders gegeven of verkocht worden, of zou het apparaat in het huis van waaruit u verhuist achechterblijven, dan dient de neue gebruik(st)er over het instruktieboekje en de daarin opgenomen waarschuwingen te konnen beschikken.
Indien dit apparaat in deplaats van een oud model met haak- of veersluiting opgesteld worden, dan is het raadzaam de sluiting van het oude apparaat, dat terzijde gezet worden, onbruikbaar te make. Hiermee worden voorkomen dat spelende kinderen zich erin opsluiten, hetgeen levensgevaarlijk is.
Deze waarschuwingen zijn bedoeld voor uw en andermanseiligheid. U wordt geacht ze gelezen te hebben, alvorens u het apparaat installeert en/of in gebruik neemt.
Algemene veiligheid
- Dit apparaat is bedoeld en gemaakt voor het gebruik door volwassenen. Het is gevaarlijk om kinderen het apparaat te lien bedieren of als spelelgoed te lien gebruiken.
- Het is gevaarlijk om, in welke vorm dan ook, dit apparaat of de eigenschappen waarvan te veranderen.
- Neem vór u aan ontdooien, schoonmaakwerkzaamheden of het verwisselen van het, eventueel aanwezigie, verlichtingslampje begint.altijd de steker uit het stopcontact.
- Dit apparaat is zwaar. Delen van randen aanchter- en onderkant hunnen scherp zich. Wees voorzichtig bij het tilen.
- Plaats NOOIT explosieve stoffen in het apparaat, zoals gasvullingen, benzine, ether, aceton enzovoorts.
- Het direct vanuit een vriesvak, vriesgedeelte of vriezer consumeren van ijslollies en dergelijkke, kan verbranding van de mondhuid tot gevolg hebben; wacht even.
AFDANKEN. Verwijder de deur(en) of het deksel en knip het aansluitsnoor af, zodate, in afwachting van wegbrengen of weghalen, spelende kinderen er zich Niet in op kuren sluiten of aan een elektrische schok bloot+kunnen staan.
Onderhoud / Reparatie
- Een eventueleoodzakelijkwijzigang aan de elektrische huisinstallatie of het aansluitsnoer, ten behoeve van de installmentie van dit apparaat, mag uitsluitend door een daartoe bevoegt persoon uitgevoerd worden. Het betreffende stopcontact dient, ook na eventuele onder- of inbouw, gemakkelijk bereikbaar te zich. Werkzaamheden welke door personen zonder deoodzakelijkke kennis uitgevoerd worden, kunnen schade of letsel tot gevolg hebben.
-
Laat inspectie- en/of herstelwerkzaamheden uitvoeren door de ELGROEP FABRIEKSSERVICE en LAST geen andere dan originele DISTRIBUTIONS onderdelenplaatsen.
-
Tracht, in geval van storing of een defect, dit apparaat Niet zich te repareren. Reparations welke door Niet-deskundige Personen uitgevoerd worden, hunnen tot schade of letsel leiden. Raadpleeg ELGROEP FABRIEKSSERVICE.
Gebruik
- Huishoudelijkke koel- en/of vriesapparaten+zijn uitsluitend bedoeld voor het bewaren en/of invriezen van eet- of drinkbare producten.
- De Beste resultaten worden bereikt bij een omgevingstemperatuur:tussen +18^ en +43^ (klasse T);tussen +18^ en 38^ (klasse ST);tussen +16^ en 32^ (klasse N); +10^ en 32^ (klasse SN); de klasse staat op het kenplaatje vermeld.
Attentie: u dient Niet alleen rekening te houden met de omgevingstemperatuur voor dit type productaar tevens met de volgende aanwijzingen: wanner de omgevingstemperatuur onder de aangeduide minimum waarde daalt, wordt de conserveringstemperatuur in het vriesvak Nieteer meegegarandeerd; u kunt de bewaarde levensmiddelen dan het beste zo snel maybek nuttigen.
- Volg de raadgevingen van de fabrikant op met betrekking tot waar en hoe u spijzen en dranken bewaart of invriest. Ontdoide diepvriesproducten mogen, om gezondheidsredenen, nicht wederom ingevroren worden.
- De vriezende binnenwanden of -vlakken in het apparaat bevatten koelmiddel. Plaats geen scherpe voorwerpen gegen zo'n wand of vlak en schraap evenmin met metalen voorwerpen rijp of ijs af. Lekkage ken het gevolg zich, hetgeen een onherstelbare schade aan het apparaat en bederf van de levensmiddelen veroorzaakt.
- Plaats geen koolzuurhoudende of mousserende dranken in het vriesvak, het vriesgedeelte of de vriezer; de blikjes of flesjes kunnen door bevriezing van de inhoud exploderen.
Installatie
- Overtuig u er van dat het apparaat Niet op het
SimpelGids