E-2073 - Naaimachine EBENCH - Gratis gebruiksaanwijzing en handleiding
Vind de handleiding van het apparaat gratis E-2073 EBENCH in PDF-formaat.
Questions des utilisateurs sur E-2073 EBENCH
0 question sur cet appareil. Repondez a celles que vous connaissez ou posez la votre.
Poser une nouvelle question sur cet appareil
Download de handleiding voor uw Naaimachine in PDF-formaat gratis! Vind uw handleiding E-2073 - EBENCH en neem uw elektronisch apparaat weer in handen. Op deze pagina staan alle documenten die nodig zijn voor het gebruik van uw apparaat. E-2073 van het merk EBENCH.
GEBRUIKSAANWIJZING E-2073 EBENCH
Victoria automatische naaimachine met vrije arm
Inhoud
- Gebruiksdoel 59
- Technische gegevens 59
- Inhoud van het pakket 59
- Veiligheidsvoorschriften 60
- Plaatsen 61
- In-/uitschakelen 61
- Draad inrijgen 62
- Accessoires bevestigen 68
- Instellingen 70
- Naaien 72
- Onderhoud 83
- Problemen? 85
- Garantie en service 86
- Milieurichtlijnen 86
1. Gebruiksdoel
- voor gezruik als verplaatsbaar apparaat,
- voor het naaien van normalaal huishoudelijk textiel en ...
- uitsluitend voor gebruik in het privéhuishouden.
De naaimachine is nicht bestemd:
- voor een vaste opstelling,
- voor de verwerking van andere materialen (bijvoorbeeld leer, tentdoek, zeildoek en vergelijkbare zware stoffen)
- voor gezbruik in bedrijfsmatig of industrielle omgevingen.
Stroomvoorziening: 230 V / ~50 Hz
Vermogen max. 85 W
Motorvermogen : 70 W
Vermogen lampje: 15 W
Spanning lampje ....: 230 V / ~50 Hz
Schroefdraad lampje ....: E14-schroefdraad
Bveiligingsklasse ....: II
Afmetingen : 160 x 380 x 315 mm
Gewicht ca. 6 kg
3. Inhoud van het pakket (zie uittvouwagina)
1 naaimachine
1 voetschakelaar
3spoelen
2 vilschijven
1 zigzagvoetje (gemonteerd)
D 1 knoopsgatvoetje
A 1 blindzoomoetje
1 knoopvoetje
1 ritssluitingvoetje
B 1 zoomgeleider
1 stopplaat
G 1 tornmesje
F 1 naivoetje
1 set naalden
1 tube olie
2 schroevendraaiers
- Handleiding
4. Veiligheidsvoorschriften
Bij omgang met een naaimachine kan men net als bij elk ander elektrisch apparaat gewond raken en in levensgevaar geraken. Om dit te voorkomen en om veilig te werkken, dient u het volgende in acht te nemen:
- Haal.altijd de netstekkeruit het stopcontact wanner u Niet met demachine werkt. Zo voorkomtu gevaar voor ongelukken door onbedoeld inschakelen.
Haal erst de netstekker uit het stopcontact, voordat u het lampje verwisselt of onderhoud aan de machine pleegt.
Zo voorkomt u levensgevaar door een elektrische schok.
- Gebruik de naaimachine uitsluitend in droge ruimtes.
- Wonneer de naaimachine, de voetschakelaar of het netsnoer zichtbare schade vertoont: Laat deschade eerst door de klantendienst repareren, voordat u de naaimachine opnieuw gezruikt.
- Laat kinderen of verstelijk gehandicapten nicht zonder toezicht met het apparaat omgaan: zij kunnen möglichke bevaren nicht.altijd juist inschatten. Berg elektrische apparaten buiten het bereik van kinderen op.
Waarschuwing voor letsel en beschadiging:
Volgens de wet hebt u als gebruiker van elektrische apparaten de plicht om door verilgheidsbewust gedrag möglichke ongelukken te voorkomen:
Zorg dat de werkplek op orde is. Als de werkplek Niet op orde is, kan dat ongelukken tot gevolg hebben.
- Zorg voor goede verlichtingijdens het werkken!
- Draag geen wijde kleding of sieraden, sondern die door bewegende delen können worden gegren. Als u langhaar hebtsdraag dan tevens een haarnetje.
- Voorkom een onnatuurlijke lichaamshouding. Zorg voor een stevige ondersteuning en zorg.altijd voor evenwicht.
- Pas.altijd goed op! Let erop wat u doet. Werk.altijd met overleg. Gebruik de naaimachine in geen geval wanner u Niet geconcentreerd bent of wanner u zich nicht goed voelt.
Wanner engelukken können worden herleid tot onzorgvuldigheid in de omgang met het apparaat of wanner de veiligheidsvoorschriften in de handeiding Niet in acht+zijn genomen, aanvaardt de fabrikant geen aansprakelijkheid voor dergelijkke schade.



5. Plaatsen
- Plaats de naaimachine op een stabiele tafel.
Sluit de voetschakelaar O aan op de machine en ...
steek de netstekker in het stopcontact.
Haal de bevestigde box van de zijkant af.
Daaronder wordt een stelvoetje zichbaar. Hieraan kut u draaien voor een stabiele stand van de naaimachine.
De box=kunt u daarna gewoon weeberbevestigen, bijvoorbeeld wonneer udeze als "extra plateau" voor het naaien van grote stukken stof nodig hebt. U kunt de boxECHTER ook afgenomenlaten, bijvoorbeeld voor het naaien metvrije arm van mouwen, broekspijpen,enz.
6. In- / uitschakelen
Maak uzelf vertrouwd met deze in- en uitschakelmogelijkheden, zodate u in geval van nood juist=kunt handelen:
U kurz de lamp aan- en/of uitschakelen door de schakelaar te bedieren.
Wanner u de stekker van de voetschakelaar loshaalt, krijgt de machine geen stroom.
Wonneer u de netstekkeruit het stopcontact haalt, krijgen de machine en de voetschakelaar geen stroom.



7. Draad inrijgen
Waarschuwing:
Vergewis u ervan dat bij het inrijgen van de draad de naaimachine uitgeschakeld is of dat de netstekker uit het stopcontact is gehaal, om ongelukken door onbedoeld inschaken van de machine te voorkomen.
a) Spoel van de onderdraad vullen
U vult de spoel van de onderdraad als volgt met naigaren:
Trek boven een van beiden rolassenuit enplaats waarop een klosje garen.
U kunt onder het klosje garen een viltschijf leggen om de behuizing van de machine te sparen.
Plaats een lege spoel op de spoelas en wikkel het losse uiteinde van het garen eenaar slagen op met de wijzers van de klok mee.
Trek het handwiel een beetje waar buiten om het naaigedeelte los te koppelen van de motor.
Haal de draad door de geleiding voor de spoelvoorspanning.
10 Wonneer de eerste omwikkelingen van het garen strak op de spoel liggen, drukt u de spoel met de spoellas gegen de spoelaanslag.
- Schakel daarna de naaimachine in entrap op de voetschakelaar. Wanner de spoel vol is, knipt u de draad door.
Druk de spoelas waar maar voren en neem de volle spoel af.
Vergeet Niet het handwiei weer maar binnen te drukken - anders blijt het naaigedeelte losgekoppeld van de motor.



b) Onderdraad inrijgen
Draai met het handwiel de naald eerst helemaal maar boven.
Neem de bevestigde box van de zichkant af ...
en open de zich.daarachter bevindende grijperklep.
3 Trek de hevel van de spoeldop maar u toe ...
en trek de spoeldop maar buiten, zoals aufgebeeld.

5 Wikkel ongeveer 10 cm draad van de spoel af en schuif dit in de spoeldop.

Trek het afgewikkelde uiteinde van de draad door de opening aan de zichkant van de spoeldop...

⑦ onder de spanveer door
tot de draad tevoorschijn komt uit de sleuf van de spoeldop.

1 Plaats de spoeldop waar op de as en ...
draai de spoeldop zo ver dat de meenemer in de uitsparing grijpt.
- Leg de uitstekende draad zodanig dat die nergens klemt...
- en sluit de grijperklep weeR.

3 De box kunt u daarna gewoon wee bevestigen, bijvoorbeeld wonneer u deze als "extra plateau" voor het naaien van groe stukken stof nodig hebt. U=kunt de boxECHTER ook afgenomen latent, bijvoorbeeld voor het naaien met vrije arm van armstukken, broekspijpen, enz.

c) Bovendraad inrijgen
Voor het inrijgen van de bovendraad is het Nietoodzakelijk de voorzijde van de naaimachine te openen. De afbeelding hierboven dientuitsluitend ter oriendentering.
Trek boven een van beiden rolassenuit enplaats waarop een klosje garen.
U kunt onder het klosje garen een viltschijf leggen om de behuizing van de machine te sparen.
Leid de draad door de bovenste draadgeleiding, ...
6 dan over het instelwieljtje voor de bovendraad-voorspanning, ...
7 dan onder de draadaantrekveer door, ...
8 dan over de scharnierdraadgeber,
9 dan door de draadgeleiding op de naald, door het oog van de naald en verwolgens onder de naaivoet maarachten weg.



d) Onderdraad maar boven halen
Draai erst met het handwiel de naald helemaal maar boven.
Houd met de linkerhand het uit het oog van de naald komende uiteinde van de bovendraad vast.
- Draai daarna met de rechtterhand het handwiel een volle omwenteling gegen de wijzers van de klok in.
Nu trekt de bovendraad in een lus de onderdraad omhoog.
Zodra de onderdraad verschijnt, trekt u voorzichtig aan de bovendraad, die u in uw linkerhand vasthoudt. Trek op deze manier de onderdraad volledig maar buiten.
- Trek beiden draden ongeveer 10 cm maar buiten ...
en leg ze waar achteren weg, zoals afgebeeld. De naaimachine is nu gebruiksklaar.


e) Draad inbrengen bij twee naalden
Wanner u de dubbele naald gekruikt, zoals beschreiben in hoofdstuk 8:
- Trek aan de bovenkant de beiderolassen uit enplaats waarop tweeklosjes garen.
U kunt onder het klosje garen een viltschijf leggen om de behuizing van de machine te sparen.
Rijg de beiden bovendraden precies zo in als u bij een draad zou doen, ...
4 tot het punt waarop de draden in de naald moeten worden geleid: Hier steekt u de beiden uiteinden van de twee bovendraden gescheiden door de beiden naaldogen. - De onderdraad worden waar precies zo ingeregen en uitgetrokken als bij een draad.
8. Accessoires bevestigen
Waarschuwing:
Trek eerst de netstekker uit het stopcontact! Zo voorkomt u gevaar voor ongelukken, wonneer de machine tjden het werken onbedoeld in werkung worden gesteld!
a) Naalden verwisselen
- Draai eerst met het handwiel de naald helemaal maar boven.
Draai de klemschroef los en neem de oude naald UIT.
6 Plaats de nouveau naald met de vlakke ziche maar achteren. Schuif de naald helemaalaar boven
5 en draai tot slot de klemschroef\ weer goed vast.


b) Naivoetje verwisselen
- Draai erst met het handwiel de naald helemaal maar boven.
Draai de schroef van het voetje los en neem het voetje samen met de houder af.
Druk op de hevel van de naivoethouder. Het naivoetje kan nu van de houder worden gehaald.
3 Plaats het gewenste{nieuwenaaivoetje op de houder, bijvoorbèeld het ...
① voetje voor knoopsgaten
A voetje voor blinde zomen
③ voetje voor knopen
⑥ voetje voor ritssluitingen
en druk nogmaals op de hevel, tot het naivoetje vastzit in de houder.
1 Plaats nu het de naaivoetje samen met de houder weeer op de geleidestang en draai de schroef van het voetje weeer goed vast.

c) Steekplaat verwisselen
Standaard is de "zigzag"-steekplaat bevestigd, die geschickt is voor de meeste{naden met rechte steken,zigzagsteken en siernaden. U kunt echter als volgt de meegeleverde stopplaat gebruiken:
- Draai erst met het handwiel de naald helemaal maar boven.
Leg de stopplaat op de aanwezige zigzagsteekplaat, en wel zodanig dat de vlakke geleidepennen van de stopplaat in de openingsen van de zigzagsteekplaat vrijpen. - Wanner u de stopplaat Niet meer nodig heb, neemt u deze gewoon waar af.


9. Installingen
De spanning van de boven- en onderdraad is juist ingesteld, wonneer na het naaien de verstrengeling van de beiden draden zowel aan de boven- als onderkant van de stof Niet zichtaar is.
Als een van beiden spanningen nicht juist is ingesteld, dan resulteert dit in een onzuivere naad. De steken liggen dan plat op de stof. Er ontstaan geen naaiplooien en de stof worden ook nicht meegetrokken.
a) Spanning van de boendraad instellen
Door het instelwiel voor de voorspanning van de bovendraad te draaien,(Int u de spanning van de bovendraad instellen. Is deze ...
-
te vast (hoge waarde), dan ligt de bovendraad boven los op de stof. Er worden dan alleen nog "genaaid" met de onderdraad.
-
te los (lage waarde), dan ligt de onderdraad los op de stof. Er worden dan alleen nog "genaaid" met de bovendraad.
De spanning van de bovendraad ligt normaliter tussen 4-6.
b) Spanning van de onderdraad instellen
Door de schroef van de spoeldop te draaien,(Intu u de spanning van de onderdraad instellen.Draai...
-
met de wijzers van de klok mee voor een hogere spanning.
-
gegen de wijzers van de klok in voor een lagere spanning.
3 De spanning van de onderdraad is juist ingesteld wonneer de spoeldop langzaam en gelijkmatig worden afgewikkeld ("afval-test").


c) Druk van het voetje instellen
Hier stelt u de druk in waarmee de stof op de stekplaat worden aangedrukt.
- Draai met de meegeleverdekleine schroevendraaier de schroeven aan de bovenkant van het deksel aan de voorkant los.
1 Klap daarna het deksel op.
Stel met de hevel de druk in, bijvoorbeeld op...
"0" wonneer er geen druk要去
worden uitgeoefend, bijvoorbeeld
bij stoppen of vrij-handborduren
,1" bij lichte stoffen (gordijnen)
"2" bij middelzware stoffen (normaal)
,3" bij zware stoffen.
d) Steebreedte
Hier stelt u in hoe breed de naad moet worden bij zigzagpatronen.
3 Draai erst met het handwiel de naald helemaal maar boven.
Kies een steckbreedte van 0...5 met het keuzewiel ( 0 = smal / 5 = breed)
Let op: Wanner de dubbele naald is geplaatst, mag het keuzewiel hoogstens op "3" worden ingesteld. Bij een hogere instelling breekt de dubbele naald!
e) Steeklength
Hier stelt u in hoe snel de stof bij het naaien verder moet worden getransporteerd. Dit bepaalt de afstand:tussen de steekposities (length).
Kies de steeklengthe op het steeklengthewiel (0 = kort / 4 = lang).



10. Naaien
Wanner u naaigaren hebt ingeregen en alles juist hebt ingesteld, zoals in de voorgaande hoofdstuk beschreiben:
a) Stofplaatsen
3 Draai erst met het handwiel de naald helemaal maar boven.
Breng met de voethevel het de naaivoetje omhoog.
- Leg de stof onder het naivoetje en LAST het de naivoetje weeer zakken.
b) Met naad beginnen
Houd de beiden maar achefteren weggeleide draaduiteinden vast met de linkerhand.
- Trap nu heel voorzichtig op de voetschakelaar – en wel zo, dat de eerste 3-4 naaibewegingenplaatsvinden. Leid waar bij de stof met de rechterhand.
Wanner de eerste naibewegingen met succès zich uitgevoerd, houdt u de hevel voor terugwaarts naieren kort ingedrukt...
- en trapt u weeer even op de voetschakelaar, tot u weeer op het beginpunt van de naad bent. Wanneru van waaruit met de naad verdergaat, zit de naad stevig vast doordat er meertere malen overheen is genaaid.
c) Naad afluiten
Naai ook op het einde van de naad een aantal malen heb en weer. Gebruik hiervoor net als bij het begin van de naad de hevel voor terugwaarts naaien. Daardoor wordt de naad ook aan het uiteinde stevig vastgemaakt.



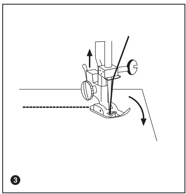
d) Stoffen leiden
leid normale stoffen alleen op de in de afbeelding getoonde wijze. Trek nooit aan de stof, odomat de naald hierdoor kan verbuigen of afbreken.
- Zeer fijn stoffen worden bij het naaien makkelijk meegetrokken. Om dit te voorkomen, kut u een dun stuk papier onder de stof leggen en dit meenaaien. Na het naaien trekt u het papier voorzichtig van de stof af. Dit resulteert in een zeer zuivere naad.
Bij stretch-stoffen kan hetoodzakelijk zijn om de stof voor en achefter het de naivoetje te leiden, om te voorkomen dat de stof worden megetrokken.
e) Naairichting veranderen
Wilt u op een bepaalde plek in een andere richting verder naaien?
Dat kan het makkelijkste door op het keerpunt te stoppen en de naald in de stof teLATEN STEKEN.
- Breng met de voethevel het de naaivoetje omhoog.
- Draai de stof om de naald Been in de gewenste richting
- en LAST het naaivoetje waar zakken.
Nu sunt u gewoon verder naaien in de neue wering.


f) Steekpatroon kiezen
Om een bepaald steekatroon te bereiken,要去en de volgende stappen worden uitgevoerd:
Kies het steekprogramma met de programmakiezer.
Stel de steeklengte in.
Kies de steekbreedte.
Bevestig het vereiste naaivoetje, zoals beschreiben in hoofdstuk 8.
In de tabel rechtskestu de gewenste instellingen aflezen. Wanner voor de steeklengte twee waarden zijn aangegeven, zich dit "van...tot"-waarden.
g) Rechte steck
Dit type steek worden het meest gezruikt. Het zigzag-naaivoetje dient zowel voor naden met rechte steek als zigzagnaden. Voor het naaien van fijne stoffen要去en Kleinere steekgroottes worden gekozen.
h) Zigzag
De zigzagsteek is een universe steek. Bij satijnsteekpatronen betreft het dicht opeenvolgende korte steken, die geschikt zijn voor het opnaaien van initiaalen, figuren, applicaties, enz.
Naden (keuze van steekatroon) & naaimachine-uitrusting
| Steekpatroon | Stecklengte | Naaivoetje | Steekbreedte | ||
| A | rechte steek | 04 | 0 | 0 | |
| Zigzag | 04 | 0 | 0-5 | ||
| B | Blinde steek | 13 | 0 | 3-5 | |
| C | Kaststeek | 13 | 0 | 5 | |
| d | Zigzag met 3 steken | 0,53 | 0 | 3-5 | |
| e | Blinde zoom | 13 | 0 | 5 | |
| F-H | Knoopsgat | 0,251 | 0 | 5 | |
| i | Tricotsteek | 4 | 0 | 5 | |
| j | Smok-steen | ||||
| k | Schuine over-handse steek | ||||
| L | Elastische zigzagsteek | ||||
| Elastische rechte steek | 0 | ||||
| m | Dubbele overlocksteek | 5 | |||
| Borduren uit vrijie hand | 0 | 0 | 0-5 | ||



i) Blinde zoom
Plooip de stof zoals afgebeeld. Leg de plooip op de bredte die de uiteindelijke zoom要去 krijgen: De onderste plooip要去 waar bij ongeveer 5 mm terugstaan.
Gebruik het voetje voor blinde zomen. Controller bij het naaien de zoombreedte en de naaldinstelling, om een gelijkmatige zoom te bereiken.
3 Naai de blinde zoom op de onderste stofbaan, en wel zodanig dat de bredere zigzagsteek alleen met de punt door de bovenste stofbaan gaat. Wanner u staat u het linkerstofdeel maar rechts en strijkt u het glad. De zoom is vrijwel onzichtbaar!
De tabel hiernaast bevat suggesties voor het instellen van de verschillende waarden op basis van het gebruikte materiaal.
Tabel stof-draad-naald
Neem de specificaties voor de verschillende stoffen in acht.
| Stof | Draad | Naald | Voetdruk | Steeklength | Bovenspanning | ||
| Zie blz. 19 | Rechte steek | ZZ | |||||
| Steeklength-keuze | |||||||
| Licht | |||||||
| ✓+ | Nylon | Katoen 80 | 70 (10) | 1-3 | 1-4 | ||
| Tricot | Kunstvezel 60 | ||||||
| Zijde | Zijde 50 | ||||||
| Wol-Zijde | Kunstvezel 50 Zijde | 80 (12) | |||||
| Middel | |||||||
| ✓+ | Popeline | Katoen 60-80 | 80-90 (12-14) | 0,5-3 | 0,5-4 | ||
| Fijne jersey | Kunstvezel 60 | 80 (12) | |||||
| Gabardine | Zijde 50 | ||||||
| Zwaar | |||||||
| ✓+ | Denim | Katoen 50 | 90-100 (14-16) | 0,5-3 | 0,5-4 | ||
| Jersey | Kunstvezel 50 | 80-90 (12-14) | |||||
| Tweed | Zijde 50 | 80-90 (12-14) | |||||



j) Zoomgeleiding
1 Gebruik de zoomgeleiding voor het naaien van langere zomen zichnaden, die een gelijkmatige afstand tot de stofrand要去en hebben.
- Schroef de zoomgeleiding vast in een van de schroefgaten rechts op de streekplaat. Stel de gewenste afstand in en draai de kartelschroeven vast.
- Bij het naaien要去 de stofrand de zoomgeleiding aanraken. Voor het naaien van bochten kan de zoomgeleiding ook schuin worden bevestigd.
k) Omzomen
Kies deze steken wonneer u wilt voorkomen dat knipkanten gaan rafe-len.
I) Stretchnaad
Kies deze steken voor stretch-stoffen, tricot en ander elastisch textiel. Een dergelijkke naad kan worden uitgerekt zonder dat de naad scheurt. De elastische rechte steek resulteert ook in een uiterst sterke rechte naad.

m) Knoopsgaten naaien
1 Bevestig het naaivoetje voor knoopsgaten, zoals beschreiben in hoofdstuk 8.
- Raadpleeg de tabel voor:
- de in te stellen steeklengthe
- het te kiezen steekpatroon
- en de procedure bij het naaien.
Tot slot kurz u het knoopsgat in het midden lostornen, zoals aufgebeeld.
| Patroonkiezer (steekatroon) | procedure | Instellingen/steeklength |
| H | 1. Kiezer op “1” zetten 2. Linkerzijde naaien 3. Naald omhoogbrengen | |
| G | 4. Kiezer op “2” zetten 5. 5-6 steken naaien 6. Naald omhoogbrengen | |
| F | 7. Kiezer op “3” zetten 8. Rechte zijde naaien 9. Naald omhoogbrengen | |
| G | 10. Kiezer op “4” zetten 11. 5-6 steken naaien 12. Naald omhoogbrengen |



n) Knopen aannaaien
1 Bevestig het voetje voor knopen en ...
leg de stopplaat op de aanwezige zigzagsteekplaat, zoals beschreiben in hoofdstuk 8.
Leg de knoop tussen het knoopvoetje en de stof en LAST het knoopvoetje zakken.
- Draai het zwenkwiel met de hand gegen de wijzers van de klok in. Test waar bij of de naald exact in de beiden knoopsgaten komt.
- Pas eventueel de steekbreedte voor zigzagsteken iets aan.
- Wonneer de naald van de naaimachine bij handbediening precies in beiden knoopsgaten komt,kest u nu door de voetschakelaar voorzichtig te bedieren,5-7 steken met demachine naaien.
o) "Rand-aanRAND"-naaien
4 Hiertoe kiest u de driesteeks-zigzag ("D") of de smok-steek ("J") als steekatroon.



p) Ritssluiting innaaien
Met het voetje voor ritssluitingen=kunt u rechts en links zich bij de ritsdelen komen zonder deze of de naald te beschadigen.
Het voetje voor ritssluitingen isECHTER ook practisch om kanten of parallel-naden te naaien.
1 Bevestig het naaivoetje voor ritss-luitingen, zoals beschreiben in hoofdstuk 8.
- Kies daarna als steekatroon de rechte streek.
Sla ongeveer 2 cm stof om en leg de ritssluiting zodanig onder de stofplooi, dat de ritsdelen net uisteken. Eventueel kan het handig+zijn de ritssluiting van tevoren zich te doeon
3 Naai dan zo dicht möglich langs de ritsdelen.
- Voor het naaien van de linkerkant van de ritssluiting要去 het voetje zich links van de naald bevinden.
- Voor het naaien van de rechterkant van de ritssluiting moet het voetje zich rechts van de naald bevinden.



q) Naaien met de dubbele naald
1 Plaats de dubbele naald met de vlakke zichde maar achteren.
- Rijg het garen in opdezelfde manier als bij normalaal naaien. Beide draden worden samen door de geleidingengeregen, tot aan de dubbele naald.
- Pas waar worden de beiden bovendraden gezende ingeregen.
- Vergewis u ervan dat de instelling voor de steekbreedte Niet groter is dan "3", waar dat anders de naald afbreekt.
r) Borduren
- Verwijder het naaivoetje en ...
- leg de stopplaat op de aanwezige zigzagsteekplaat, zoals beschreiben in hoofdstuk 8.
De borduurprocedure worden nu uitgevoerd met de vrije hand. Beweeg de in het borduurraam gespannen stof overeenkomstig het aangegeven motif, terwijl u met de voetschakelaar de snelheid van de naaldbewegingen bepaalt.
s) Tornmesje
Wonneer u de naad hebt afgesloten of om andere redenen de draden wilt scheiden:
3 Trek de draden gewoon over het scherpe mesje awhile het de naaivoetje om de draden af te snijden.




11. Onderhoud
Verwijder na het naaien algijd resten van draden, stof en pluizen. Alleen dan kan de naaimachine probleemloos en lang blijven werkken.
Waarschuwing:
Haal erst de stekker uit het stopcontact, voordat u werkzaamheden aan de naaimachine uitvoert. Zo voorkomt u gevaar voor ongelukken, wanner de machine tjden de werkzaamheden onbedoeld in werking worden gesteld.
a) Grijpergedeelteschoonmaken
Let op:
Haal in geen geval het mechanismisme van het grijpergedeelte uit elkaar! Om dit werk in elkaar te kunnen zetten, is veel ervaring in de omgang met mechanische constructies vereist.
De voorzieningen voor het uit elkaar halen van het grijpergedeelte zich uitsluitend bestemd voor de klantendienst. Het is voldoende wanner de gebruiker dit gedeelte schoonmaakt met een kwastje en eventueel met een stofzuiger.
Draai erst met het handwiel de naald helemaal maar boven.
Open verwolgens het deksel van de grijper
en neem de spoel UIT.
- Verwijder met een kwastje of een stofzuiger (met eenkleine zuigmond) alle vuil.
b) Stofschuiver schoonmaken
4 Neem de naald UIT en
5 verwijder het naaivoetje, zoals beschreiben in hoofdstuk 8.
Draai de schroeven in de streekplaat los en verwijder de streekplaat. Nu kurz u de stofschuiver schoonmakeen.
Open nooit andere delen van de behuizing dan in deze handleiding zich beschreiben. Hierin bevinden zich geen bedieningselementen. Anders kan er spreke zich van gevaar voor ongelukken en levensgevaar door elektrische schokken.
Maak alle kunststofvlakken schoon met een droge, zachte doek.
- Gebruik geen schoonmaak- of schuur-middel – hierdoor+kennen er krassen op de behuizing komen.
- De onderdelen van het apparatusat mogen in geen geval worden ondergedompeld in water of andere vloeistoffen! Hierdoor können de apparaten worden beschadigd

d) De grijperbaan smeren
Let op:
Wees zeer zuinig met olie. Als zich op de aandrijfelementen overmatig veel olie bevindt,{kunnen het naigaren en uw stoffen vuil worden.
Druppel 2-3 druppeltjes olie in de smalle opening:tussen de grijper en de grijperbaan...
en draai met de hand de grijper een paar keer helemaal rond. Hierdoor wordt de olie verdeld.
Het is voldoende om 1-2 keer peraar heel Licht te smeren. Daar bij gaat het hoofdzakteijk om de bescherming gegen roestvorming, die ontstaat wanner de naaimachine langereithdietniet wordt gebruikt.
e) Moet er nog iets worden gesmeerd?
Nee - alle andere aandrijfelementen hebben geen olie nodig. Er mag ook niets onnodig worden gesmeerd,,ondat gesmeerde delen stof aantrekken en dan vast können gaan zitten.
f) Opbergen
Berg de naaimachine op...
- op een droge plek, zodate zich op de metalen delen van het mechanismiek geen roest kan vormen,
- altijd met de meegeleverde hoes, zodat er geen stof in de naaimachine kankommen,
- buiten bereik vankleine kinderen of verstandelijk gehandicapten, om te voorkomen dat deze in gevaar komen door zonder toezicht met het apparaat om te gaan.
12. Problemen?
Wanner etis nicht werkt, kurz u aan de hand van deze tabel proberen het probleem te verhopen. Neem contact op met de klantendienst wanner u het probleem nicht zich kunt oplossen.
Waarschuwing:
Haal eerst de stekker uit het stopcontact, voordat u werkzaamheden aan de naaimachine uitvoert. Zo voorkomt u gevaar voor ongelukken, wanner de machineijd den de werkzaamheden onbedoeld in werking worden gesteld.
| Storing / probleem: | Controller: | Mogelijk oplossing: |
| Stof worden nicht getransporteerd | Machine maar Niet – alleen het handwiel draait?Wiel voor steenklengthe staat op “0”?Te weinig druk op de stof? | Handwiel opnieuw indrukken!Stel het in op “1” tot “4!”Stel hevel voor stofdruk hoger in! |
| Naald bredkt af | Naald verkeerd aangebracht?Naald is verbogen?Komen naald + garen + stof overeen met de tabel in hoofdstuk 10? | Vlakke zijde� aanchteren!Nieuwe naaldplaatsen!De juiste naald voor het garen en stof kiezen! |
| De bovendraad knapt | Juist ingeregen?Zigzag te breed ingesteld?Bovendraad te strak gespannen?Kieren / scheuren op griper? | Bij voorkeur opnieuw inrijgen!Kleinere breedte proberen!Middelste instelling kiezen!Grijper latentervangen! |
| Onderdraad knapt | Onderdraad te strak gespannen?Naald verkeerd geplaatst?Juist ingeregen?Stof en pluisjes in de griper? | Spanning verminderen!Vlakke zijde� aanchteren!Bij voorkeur opnieuw inrijgen!Grijpergedeelte schoonmaken! |
| Stof bolt op | Te strak gespannen?Voetdruk is te hoog?Komen naald + garen + stof in de tabel in hoofdstuk 10? | Spanning verminderen!Voetdruk verlagen!De juiste naald voor het garen en stof kiezen! |

Brandt het lampje nicht meer?
Wanner het ingebouwde lampje is doorgebrand, verrangt u het door een gelijkwaardig type lamp dat bij devakhandel verkrijgbaar is. De specificatie van het lampje is “15W - E14”.
- Draai met de meegeleverdekleine schroevendraaier de schroeven aan de bovenkant van het deksel aan de voorkant los.
Klap daarna het deksel op.
Draai het defecte lampje los en draai een新产品 lampje in de fitting.
13. Garantie en service
De garantiebepalingen en het service-adres vindt u op de afzonderlijke kaart.
14. Milieurrichtlijnen
Bewaar de transportverpakking van de naaimachine! De verpakking kan bijvoorbeeld van pas komen bij het opbergen van de naaimachine, maar vooral wanner u de naaimachine ter reparatie wilt opsturen. De meeste schade ontstaat namelijk pasijdens het transport.
Tip: Spaar het milieu! Wanner u de apparaten in de toekomst wilt weggooien, lever ze dan in bij een inzamelpunt voor recycleerbare elektronica ter verdere afvalverwerking.
SimpelGids